УСТРОЙСТВО ДЛЯ ГЕНЕРИРОВАНИЯ АЭРОЗОЛЯ Российский патент 2025 года по МПК A24F40/40 A24F40/42 

Описание патента на изобретение RU2839354C2

[Область техники]

[1] Настоящее изобретение относится к устройству для генерирования аэрозоля. [Предшествующий уровень техники]

[2] Устройство для генерирования аэрозоля представляет собой устройство, извлекающее определенные компоненты из среды или вещества путем образования аэрозоля. Среда может содержать многокомпонентное вещество. Вещество, содержащееся в среде, может представлять собой многокомпонентное ароматизирующее вещество. Например, вещество, содержащееся в среде, может содержать никотиновый компонент, растительный компонент и/или кофейный компонент.В последнее время проводятся различные исследования устройств для генерирования аэрозоля. Так в качестве ближайшего аналога может быть рассмотрен источник US 2020/0367568.

[Сущность изобретения]

[Техническая задача]

[3] Задачей настоящего изобретения является устранение вышеупомянутых и других недостатков.

[4] Другой задачей настоящего изобретения является разработка устройства для генерирования аэрозоля, содержащего пространство для введения, ограниченное корпусом, картриджем и колпачком таким образом, чтобы в него можно было вставить стик.

[5] Следующей задачей настоящего изобретения является разработка устройства для генерирования аэрозоля, позволяющего использовать стик в состоянии, в котором корпус, картридж и колпачок соединены друг с другом. [Техническое решение]

[6] Устройство для генерирования аэрозоля согласно одному из аспектов настоящего изобретения, предложенное для решения вышеуказанных и других задач, может содержать картридж, выполненный удлиненным и содержащий жидкость, колонку, сформированную на одной стороне картриджа таким образом, чтобы она была удлиненной, колпачок, выполненный с возможностью закрытия картриджа и колонки, и пространство для введения, в которое вставляют стик. Колпачок может содержать часть, поддерживающую стик, выполненную удлиненной и расположенную между картриджем и колонкой, и пространство для введения может быть определено внешней стенкой картриджа и частью, поддерживающей стик.

[Полезные эффекты изобретения]

[7] По меньшей мере в одном из вариантов осуществления настоящего изобретения пространство для введения, в которое вставляют стик, может быть определено корпусом, картриджем и колпачком.

[8] По меньшей мере в одном из вариантов осуществления настоящего изобретения положение стика может быть зафиксировано в состоянии, в котором корпус, картридж и колпачок соединены друг с другом.

[9] Дополнительные варианты осуществления настоящего изобретения станут очевидными из следующего подробного описания. Тем не менее, поскольку специалистам в данной области техники будут, несомненно, понятны различные изменения и модификации в рамках сущности и объема настоящего изобретения, следует понимать, что подробное описание и конкретные варианты осуществления изобретения, такие как предпочтительные варианты осуществления настоящего изобретения, приведены только в качестве примера.

[Описание чертежей]

[10] Вышеприведенные и другие цели, признаки и другие преимущества, согласно настоящему изобретению, следуют из приведенного ниже описания изобретения со ссылкой на прилагаемые чертежи, на которых изображено:

[11] На ФИГ. 1-12 изображены примеры устройства для генерирования аэрозоля согласно вариантам осуществления настоящего изобретения.

[Лучший вариант осуществления изобретения]

[12] Здесь и далее варианты осуществления, описанные в настоящей спецификации, будут подробно описаны со ссылкой на сопроводительные чертежи, причем одинаковые или подобные элементы имеют одинаковые ссылочные обозначения, даже если они изображены на разных чертежах, а излишние описания будут опущены.

[13] В отношении составляющих элементов, используемых в последующем описании, термины «модуль» и «блок» используются только с точки зрения облегчения описания и не имеют взаимно различающихся значений или функций.

[14] Кроме того, в последующем описании вариантов осуществления изобретения в настоящем документе подробное описание известных функций и конфигураций, являющихся частью настоящего описания, будет опущено, если это может сделать предмет описанных вариантов осуществления изобретения неясным. Кроме того, прилагаемые чертежи предназначены только для лучшего понимания описанных вариантов осуществления изобретения, но не для ограничения описанных технических идей. Следовательно, следует понимать, что прилагаемые чертежи содержат все модификации, эквиваленты и замены в пределах объема и сущности настоящего изобретения.

[15] Следует понимать, что, хотя термины «первый», «второй» и т.п. могут использоваться для описания различных компонентов, эти компоненты не могут ограничиваться этими терминами. Эти термины используются исключительно для отличия одного компонента от другого.

[16] Следует понимать, что, когда компонент упоминается как «соединенный с» или «связанный с» другим компонентом, он может быть непосредственно соединен или связан с другим компонентом, или могут присутствовать промежуточные компоненты. С другой стороны, когда компонент упоминается как «непосредственно соединенный с» или «непосредственно связанный с» другим компонентом, промежуточные компоненты отсутствуют.

[17] Форма единственного числа подразумевает как единственное, так и множественное число существительных, за исключением случаев, когда контекстом явно определено иное.

[18] Как показано на ФИГ. 1, устройство 10 для генерирования аэрозоля может содержать корпус 100 и/или картридж 200 и/или колпачок 300.

[19] Корпус 100 может содержать нижний корпус 110 и/или верхний корпус 120. В нижнем корпусе 110 могут быть размещены различные компоненты, необходимые для подачи питания или управления, такие как аккумулятор или контроллер. Нижний корпус 110 может определять внешний вид устройства 10 для генерирования аэрозоля. Верхний корпус 120 может быть расположен на нижнем корпусе 110. Картридж 200 может быть соединен с верхним корпусом 120. Корпус 100 может называться основным корпусом 100.

[20] Верхний корпус 120 может содержать крепление 130 и/или колонку 140. Крепление 130 может быть расположено на нижнем корпусе 110. В креплении 130 может быть предусмотрено пространство 134, в которое вставлена нижняя часть картриджа 200. Крепление 130 может иметь открытую верхнюю сторону и образовывать пространство 134. Крепление 130 может окружать нижнюю часть картриджа 200, вставленного в пространство 134. Крепление 130 может фиксировать картридж 200. Крепление 130 может поддерживать нижнюю часть картриджа 200.

[21] Колонка 140 может быть расположена на нижнем корпусе 110. Колонка 140 может иметь удлиненную форму. Колонка 140 может проходить вверх от одной стороны крепления 130. Колонка 140 может быть обращена к одной боковой стенке картриджа 200. Колонка 140 может быть расположена параллельно картриджу 200. Колонка 140 может иметь форму, позволяющую покрывать часть картриджа 200. Колонка 140 может поддерживать часть картриджа 200.

[22] Картридж 200 может быть соединен с корпусом 100 с возможностью разъединения. Внутри картриджа 200 может быть предусмотрено пространство для хранения жидкости. Пространство 214 для введения может быть определено внешней стенкой 211 картриджа 200. Пространство 214 для введения может быть расположено в картридже 200. По меньшей мере, часть пространства 214 для введения может быть определена как пространство, окруженное внешней стенкой 211 картриджа 200.

[23] Картридж 200 может содержать первый контейнер 210 и/или второй контейнер 220. Второй контейнер 220 может быть соединен с первым контейнером 210.

[24] Первый контейнер 210 может быть соединен с верхней стороной второго контейнера

220. В первом контейнере 210 может быть предусмотрено пространство для хранения жидкости. Первый контейнер 210 может иметь открытую верхнюю сторону и может содержать пространство 214 для введения, вытянутое в вертикальном направлении. Стик 400 (см. ФИГ. 7) может быть вставлен в пространство 214 для введения. Первый контейнер 210 может быть расположен на втором контейнере 130.

[25] Второй контейнер 220 может быть соединен с нижней стороной первого контейнера 210. Второй контейнер 220 может содержать пространство для установки фитиля 261 (см. ФИГ. 6) и нагреватель 262 (см. ФИГ. 6). Второй контейнер 220 может быть вставлен в пространство 134, образованное креплением 130. Пространство 134 в креплении 130 может называться пространством 134 для размещения картриджа. Крепление 130 может окружать второй контейнер 220. Второй контейнер 220 может быть соединен с креплением 130.

[26] Колпачок 300 может быть соединен с корпусом 100 с возможностью разъединения. Колпачок 300 может накрывать картридж 200. Колпачок 300 может накрывать, по меньшей мере, часть корпуса 100. Колпачок 300 может защищать картридж 200 и/или по меньшей мере часть корпуса 100 снаружи. Пользователь может отделить колпачок 300 от корпуса 100 для замены картриджа 200.

[27] Колпачок 300 может быть соединен с верхней частью корпуса 100. Колпачок 300 может быть соединен с верхней стороной нижнего корпуса 110. Колпачок 300 может накрывать верхний корпус 120. Колпачок 300 может накрывать картридж 200. Боковая стенка 301 колпачка 300 может окружать боковую часть картриджа 200. Боковая стенка 301 колпачка 300 может окружать боковую часть верхнего корпуса 120. Верхняя стенка 303 колпачка 300 может накрывать верхнюю часть картриджа 200. Верхняя стенка 303 колпачка 300 может накрывать верхнюю часть колонки 140.

[28] В колпачке 300 может быть выполнено отверстие 304 для введения. Верхняя стенка 303 колпачка 300 может быть открытой, образуя отверстие 304 для введения. Отверстие 304 для введения может быть выполнено в положении, соответствующем пространству 214 для введения. Отверстие 304 для введения может сообщаться с одним или верхним концом пространства 214 для введения.

[29] Колпачок 300 может содержать впускное отверстие 304а колпачка. Одна сторона колпачка 300 может быть открыта, образуя впускное отверстие 304а колпачка. Например, верхняя стенка 303 колпачка 300 может быть открыта, образуя впускное отверстие 304а колпачка. Например, боковая стенка 301 колпачка 300 может быть открыта, образуя впускное отверстие 304а колпачка. Впускное отверстие 304а колпачка может сообщаться с наружной средой. Воздух может поступать в устройство 10 для генерирования аэрозоля через впускное отверстие 304а колпачка.

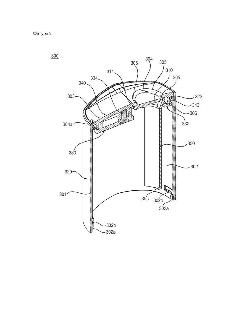
[30] Как показано на ФИГ. 2, в креплении 130 может быть предусмотрено пространство 134 с открытой верхней частью. Внутренняя боковая поверхность 131 и нижняя часть 133 крепления 130 могут окружать по меньшей мере часть пространства 134. Внутренняя боковая стенка 141 колонки 140 может окружать одну сторону пространства 134. Второй контейнер 220 может быть вставлен в пространство 134, образованное креплением 130. Крепление 130 может окружать второй контейнер 220, вставленный в пространство 134.

[31] Картридж 200 может быть соединен с креплением 130 посредством защелкивания. Второй контейнер 220 может быть соединен с креплением 130 посредством защелкивания. Второй контейнер 220 может быть соединен с креплением 130 с возможностью разъединения. Когда второй контейнер 220 вставлен в пространство 134 крепления 130, вдавленная часть 221а, сформированная во втором контейнере 220, и выступающая часть 131а, сформированная на креплении 130, могут входить в зацепление друг с другом.

[32] Вдавленная часть 221а может быть выполнена в форме выемки в боковой стенке 221 второго контейнера 220. Может быть предусмотрено несколько вдавленных частей 221а, которые могут быть соответственно сформированы на одной и противоположной стороне боковой стенки 221 контейнера 220. Выступающая часть 131а может выступать из внутренней боковой поверхности 131 крепления 130. Может быть предусмотрено несколько выступающих частей 131а, которые могут быть соответственно сформированы на одной и противоположной стороне внутренней боковой поверхности 131 крепления 130. Выступающие части 131а могут быть сформированы в положениях, соответствующих вдавленным частям 221а.

[33] Когда второй контейнер 220 соединен с креплением 130, первый контейнер 210 может быть расположен на креплении 130. Первый контейнер 210 может выступать в поперечном направлении дальше второго контейнера 220. Второй контейнер 220 может быть вставлен в пространство 134, окруженное креплением 130, а первый контейнер 210 может накрывать верхнюю часть крепления 130.

[34] Крепление 130 может поддерживать нижнюю часть картриджа 200. Крепление 130 может поддерживать боковую часть и нижнюю часть второго контейнера 220. Крепление 130 может поддерживать нижнюю кромку первого контейнера 210.

[35] Колонка 140 может проходить вверх от одной стороны крепления 130. Колонка 140 может окружать одну сторону пространства 134 в креплении 130. Внутренняя боковая стенка 141 колонки 140 может быть выполнена как единое целое с внутренней боковой поверхностью 131 крепления 130 и проходить в направлении от нее. Внешняя боковая стенка 142 колонки 140 может быть выполнена как единое целое с внешней боковой поверхностью 132 крепления 130 и проходить в направлении от нее.

[36] Высота колонки 140 может соответствовать высоте картриджа 200. Верхняя стенка 143 колонки 140 может иметь высоту, соответствующую верхнему концу картриджа 200. Колонка 140 может быть сформирована параллельно картриджу 200.

[37] Колонка 140 может накрывать часть картриджа 200, в которой образовано пространство 214 для введения. Часть картриджа 200 может скользить вдоль внутренней боковой стенки 141 колонки 140 и может быть вставлена в крепление 130.

[38] Как показано на ФИГ. 3-5, колпачок 300 может быть соединен с корпусом 100 с возможностью разъединения. Колпачок 300 может защищать картридж 200 и часть корпуса 100 снаружи. Пользователь может отделить колпачок 300 от корпуса для замены картриджа 200.

[39] Верхний корпус 120 может содержать соединительные выступы 132а и 132b, сформированные на его внешних боковых поверхностях 132 и 142. Соединительные выступы 132а и 132b могут быть сформированы на внешней боковой поверхности 132 крепления 130. Соединительные выступы 132а и 132b могут быть сформированы на внешней боковой стенке 142 колонки 140. Соединительные выступы 132а и 132b могут представлять собой первый соединительный выступ 132а и второй соединительный выступ 132b. Первый соединительный выступ 132а и второй соединительный выступ 132b могут быть расположены по вертикали друг относительно друга.

[40] Первый соединительный выступ 132а может быть выполнен таким образом, чтобы он выступал наружу из внешней боковой поверхности верхнего корпуса 120. Может быть предусмотрено несколько первых соединительных выступов 132а. Один из нескольких первых соединительных выступов 132а может быть выполнен таким образом, чтобы он выступал наружу из внешней боковой поверхности 132 крепления 130. Этот первый соединительный выступ 132а может быть сформирован напротив колонки 140. Другой из нескольких первых соединительных выступов 132а может быть выполнен таким образом, чтобы он выступал наружу из внешней боковой стенки 142 колонки 140.

[41] Первый соединительный выступ 132а может выступать наружу дальше, чем второй соединительный выступ 132b. Первый соединительный выступ 132а может быть расположен ниже второго соединительного выступа 132b. Первый соединительный выступ 132а может быть уже второго соединительного выступа 132b. Первый соединительный выступ 132а может иметь относительно небольшую ширину в поперечном направлении. Ширина первого соединительного выступа 132а может постепенно уменьшаться от нижней стороны к верхней стороне этого выступа.

[42] Второй соединительный выступ 132b может быть выполнен таким образом, чтобы он выступал наружу из внешней боковой поверхности верхнего корпуса 120. Второй соединительный выступ 132b может иметь выпуклую или закругленную форму. Может быть предусмотрено несколько вторых соединительных выступов 132b. Один из нескольких вторых соединительных выступов 132b может быть выполнен таким образом, чтобы он выступал наружу из внешней боковой поверхности 132 крепления 130. Этот второй соединительный выступ 132b может быть сформирован в положении, противоположном колонке 140. Этот второй соединительный выступ 132b может иметь форму, вытянутую по периметру внешней боковой поверхности 132 крепления 130. Другой из нескольких вторых соединительных выступов 132b может быть выполнен таким образом, чтобы он выступал наружу из внешней боковой стенки 142 колонки 140. Этот второй соединительный выступ 132b может иметь форму, вытянутую вдоль периметра внешней боковой стенки 142 колонки 140.

[43] Соединительные выемки 302а и 302b могут быть выполнены на внутренней боковой поверхности 302 колпачка 300. Соединительные выемки 302а и 302b могут быть сформированы в положениях, соответствующих соединительным выступам 132а и 132b. Когда колпачок 300 накрывает картридж 200 и верхний корпус 120, соединительные выступы 132а и 132b могут быть введены в соединительные выемки 302а и 302b, после чего колпачок 300 может быть соединен с верхним корпусом 120. Соединительные выемки 302а и 302b могут представлять собой первую соединительную выемку 302а и вторую соединительную выемку 302b. Первая соединительная выемка 302а и вторая соединительная выемка 302b могут быть расположены по вертикали друг относительно друга.

[44] Первая соединительная выемка 302а может быть выполнена в виде открытой наружу выемки на внутренней боковой поверхности 302 колпачка 300. Первая соединительная выемка 302а может быть выполнена на внутренней боковой поверхности 302 колпачка 300 в положении, соответствующем первому соединительному выступу 132а. Может быть предусмотрено несколько первых соединительных выемок 302а. Ширина первых соединительных выемка 302а может постепенно уменьшаться по направлению к верхней стороне выемок. Первый соединительный выступ 132а может быть вставлен в первую соединительную выемку 302а. Когда первый соединительный выступ 132а вставлен в первую соединительную выемку 302а, первый соединительный выступ 132а и первая соединительная выемка 302а могут направлять колпачок 300 в правильное положение.

[45] Вторая соединительная выемка 302b может быть выполнена в виде открытой наружу выемки на внутренней боковой поверхности 302 колпачка 300. Вторая соединительная выемка 302b может иметь выпуклую или круглую форму. Вторая соединительная выемка 302b может быть сформирована на внутренней боковой поверхности 302 колпачка 300 в положении, соответствующем второму соединительному выступу 132b. Может быть предусмотрено несколько вторых соединительных выемок 302b. Вторые соединительные выемки 302b могут иметь форму, вытянутую вдоль периметра внутренней боковой поверхности 302 колпачка 300. Второй соединительный выступ 132b может быть вставлен во вторую соединительную выемку 302b и защелкнут в ней. Второй соединительный выступ 132b и вторая соединительная выемка 302b могут входить в зацепление друг с другом с возможностью разъединения.

[46] Верхняя кромка 113 нижнего корпуса 110 может выступать наружу дальше, чем верхний корпус 120. Верхняя кромка 113 нижнего корпуса 110 может проходить по периметру верхнего корпуса 120. Верхняя кромка 113 нижнего корпуса 110 может быть расположена ниже верхнего корпуса 120. Когда колпачок 300 соединен с корпусом 100, нижний конец боковой стенки 301 колпачка 300 может входить в соприкосновение с верхней кромкой 113 нижнего корпуса 110. Верхняя кромка 113 нижнего корпуса 110 может препятствовать перемещению колпачка 300 в положение ниже верхнего корпуса 120.

[47] Как показано на ФИГ. 5, колпачок 300 может содержать корпус 320 колпачка и/или нижнюю головку 330 и/или верхнюю головку 340. Крышка 310 может быть установлена на колпачке 300 с возможностью поворота на 90 градусов. Крышка 310 может быть расположена таким образом, чтобы она закрывала отверстие 304 для введения. Крышка 310 может иметь форму пластины. Крышка 310 может содержать периферийную часть, закругленную по периметру отверстия 304 для введения.

[48] На конце крышки 310 может быть сформирован вал 311. Вал 311 может быть выполнен как единое целое с крышкой 310. Вал 311 может иметь форму, вытянутую в одном направлении. Крышка 310 может быть повернута на 90 градусов вокруг направления, в котором проходит вал 311. Вал 311 может служить поворотным валом крышки 310. Вал 311 может выступать из конца крышки 310 в двух противоположных направлениях. Вал 311 может называться валом 311 крышки.

[49] Пружина может быть намотана вокруг вала 311. Пружина может перемещать крышку 310 во втором направлении, используя свою силу упругости или восстанавливающую силу. Крышка 310 может быть перемещена во втором направлении под действием пружины 312, закрывая пространство 214 для введения и/или отверстие 304 для введения. Один конец пружины, намотанной вокруг вала 311, может проходить в сторону крышки 310, а другой конец может проходить в направлении, противоположном первому концу.

[50] Корпус 320 колпачка может образовывать боковую стенку 301 колпачка 300. Корпус 320 колпачка может иметь открытую по вертикали и полую форму. Корпус 320 колпачка может накрывать боковую часть картриджа 200 и боковую часть верхнего корпуса 120. Корпус 320 колпачка может содержать соединительное ребро 322. Соединительное ребро 322 может быть выполнено таким образом, чтобы оно выступало внутрь от внутренней боковой поверхности 302 корпуса 320 колпачка. Соединительное ребро 322 может проходить по периметру боковой стенки 301 корпуса 320 крышки. Соединительное ребро 322 может быть сформировано в верхней части корпуса 320 колпачка.

[51] Нижняя головка 330 и верхняя головка 340 могут быть соединены друг с другом в вертикальном направлении, образуя верхнюю часть колпачка 300. Нижняя головка 330 может быть соединена с нижней стороной верхней головки 340. Нижняя головка 330 может окружать нижнюю сторону отверстия 304 для введения.

[52] Нижняя головка 330 может содержать ребро 332 головки. Ребро 332 головки может проходить по периметру нижней головки 330. Ребро 332 головки может быть расположено ниже соединительного ребра 322. Ребро 332 головки может входить в зацепление с нижней частью соединительного ребра 322.

[53] Верхняя головка 340 может содержать защелку 343 головки. Защелка 343 второй головки может быть выполнена таким образом, чтобы она выступала вниз из периметра стенки 303 верхней головки. Когда периметр стенки 303 верхней головки входит в зацепление с соединительным ребром 322, защелка 343 головки может входить в зацепление с соединительным ребром 322.

[54] Винт 334 может жестко соединять нижнюю головку 330 и верхнюю головку 340.

Винт 334 может входить в нижнюю часть нижней головки 330 и фиксироваться на верхней головке 340.

[55] Колпачок 300 может содержать вторую направляющую 306. Вторая направляющая 306 может быть сформирована на нижней головке 330. Вторая направляющая 306 может быть сформирована рядом с отверстием 304 для введения. Вторая направляющая 306 может быть расположена ниже отверстия 304 для введения. Вторая направляющая 306 может быть расположена между отверстием 304 для введения и пространством 214 для введения. Вторая направляющая 306 может быть выполнена с наклоном вниз. Вторая направляющая 306 может проходить от части рядом с отверстием 304 для введения в колпачке 300 таким образом, чтобы она была наклонена в сторону одного или верхнего конца пространства 214 для введения (см. ФИГ. 6). Вторая направляющая 306 может называться направляющей 306 стика.

[56] Колпачок 300 может содержать третью направляющую 350. Третья направляющая 350 может быть сформирована на нижней головке 330. Третья направляющая 350 может быть сформирована рядом с отверстием 304 для введения. Третья направляющая 350 может иметь удлиненную форму. Третья направляющая 350 может быть соединена со второй направляющей 306. Третья направляющая 350 может проходить вниз от концевой части второй направляющей 306.

[57] Третья направляющая 350 может быть расположена между внешней стенкой 211 картриджа 200 и колонкой 140. Третья направляющая 350 может быть обращена к колонке 140. Внешняя боковая поверхность третьей направляющей 350 может соприкасаться с окном 170 (см. ФИГ. 6). Внешняя боковая поверхность третьей направляющей 350 может иметь форму, соответствующую окну 170. Внешняя боковая поверхность третьей направляющей 350 может иметь закругленную форму, соответствующую окну 170.

[58] Внутренняя боковая поверхность третьей направляющей 350 может определять пространство 214 для введения. Пространство 214 для введения может быть определено внешней стенкой 211 картриджа 200 и третьей направляющей 350. Внешняя стенка 211 картриджа 200 и третья направляющая 350 могут окружать боковую часть пространства 214 для введения. Внешняя стенка 211 картриджа 200 и третья направляющая 350 могут быть соединены друг с другом и проходить в окружном направлении, окружая тем самым пространство 214 для введения. Внутренняя боковая поверхность третьей направляющей 350 может иметь форму, соответствующую периметру стика 400. Внешняя стенка 211 картриджа 200 и третья направляющая 350 могут поддерживать стик 400, вставленный в пространство 214 для введения.

[59] Колпачок 300 может содержать стопорное устройство 355 для стика. Стопорное устройство 355 для стика может быть сформировано на третьей направляющей 350. Стопорное устройство 355 для стика может быть сформировано на нижней стороне третьей направляющей 350. Стопорное устройство 355 для стика может выступать в направлении внутренней части колпачка 300. Может быть предусмотрено несколько стопорных устройств 355 для стика.

[60] Третья направляющая 350 может называться частью 350, поддерживающей стик. Внутренняя боковая поверхность третьей направляющей 350 может называться передней поверхностью третьей направляющей 350. Внешняя боковая поверхность третьей направляющей 350 может называться задней поверхностью третьей направляющей 350.

[61] Верхняя головка 340 может быть соединена с верхней частью корпуса 320 колпачка, образуя верхнюю стенку 303 колпачка 300. Верхняя стенка 303 колпачка 300 может называться стенкой 303 верхней головки. Верхняя головка 340 может быть соединена с верхней стороной нижней головки 330. Периметр стенки 303 верхней головки может входить в зацепление с верхней стороной соединительного ребра 322.

[62] В колпачке 300 может быть образовано отверстие 304 для введения, сообщающееся с одним концом пространства 214 для введения. Колпачок 300 может содержать стенку 305 отверстия для введения, определяющую периметр отверстия 304 для введения. Часть стенки 303 верхней головки колпачка 300 может быть открыта, образуя отверстие 304 для введения. Стенка 305 отверстия для введения может проходить в окружном направлении. Внутренняя окружная поверхность стенки 305 отверстия для введения может окружать отверстие 304 для введения по периметру.

[63] Внутренняя окружная поверхность стенки 305 отверстия для введения может быть выполнена закругленной. Внутренняя окружная поверхность стенки 305 отверстия для введения может быть выполнена выпуклой внутрь. Внутренняя окружная поверхность стенки 305 отверстия для введения может иметь форму, постепенно сужающую и расширяющую отверстие 304 для введения в направлении от верхней стороны отверстия к нижней.

[64] Концевая часть или периметр крышки 310 может входить в зацепление с нижней стороной стенки 305 отверстия для введения. Когда крышка 310 закрывает отверстие 304 для введения, стенка 305 отверстия для введения может соприкасаться с крышкой 310, тем самым ограничивая перемещение крышки 310. Стенка 305 отверстия для введения может соприкасаться с концевой частью или периметром крышки 310, тем самым предотвращая поворот крышки 310 на 90 градусов в положение над отверстием 304 для введения. Крышка 310 может быть больше отверстия 304 для введения.

[65] Как показано на ФИГ. 6, картридж 200 может содержать первый контейнер 210 и/или второй контейнер 220, и/или уплотнительный элемент 250 и/или фитиль 261 и/или нагреватель 262. Второй контейнер 220 может содержать нижний корпус 230 и/или раму 240.

[66] Первый контейнер 210 может содержать первую камеру С1 и пространство 214 для введения. Пространство, окруженное внешней стенкой 211 первого контейнера 210, может быть использовано в качестве первой камеры С1. Пространство, окруженное внешней стенкой 211 первого контейнера 210 и третьей направляющей 350, может быть использовано в качестве пространства 214 для введения.

[67] Внешняя стенка 211 первого контейнера 210 может окружать боковую часть первой камеры С1. Внешняя стенка 211 первого контейнера 210 может быть ориентирована таким образом, чтобы оно окружала первую камеру С1 по периметру. Верхняя стенка 213 первого контейнера 210 может накрывать верхнюю часть первой камеры С1. Верхняя стенка 213 первого контейнера 210 может быть соединена с внешней стенкой 211 первого контейнера 210.

[68] Внешняя стенка 211 первого контейнера 210 может окружать боковую часть пространства 214 для введения. Пространство 214 для введения может иметь форму, вытянутую в вертикальном направлении. Пространство 214 для введения может иметь открытые верхнюю и нижнюю концевые части.

[69]

[70] Во втором контейнере 220 может быть предусмотрена вторая камера С2. Вторая камера С2 может быть расположена ниже пространства 214 для введения. Вторая камера С2 может сообщаться с пространством 214 для введения.

[71] Второй контейнер 220 может содержать нижний корпус 230 и/или раму 240. Нижний корпус 230 может определять внешний вид второго контейнера 220. Нижний корпус 230 может быть соединен с внешней стенкой 211 или периметром первого контейнера 210. В нижнем корпусе 230 может быть предусмотрено пространство для размещения. Нижний корпус 230 может поддерживать раму 240. Боковая стенка нижнего корпуса 230 может быть открыта для образования впускного отверстия 224 картриджа. Впускное отверстие 224 картриджа может быть выполнено в месте, расположенном выше нижней части нижнего корпуса 230.

[72] Соответственно, можно предотвратить утечку жидкости во второй камере С2 из картриджа 200 через впускное отверстие 224 картриджа.

[73] Нижний корпус 230 может содержать приемную часть 231 и/или удлинительную часть 232. Приемная часть 231 может содержать пространство для размещения. Приемная часть 231 может окружать пространство для размещения. Приемная часть 231 может вмещать по меньшей мере часть рамы 240. Боковая стенка приемной части 231 может представлять собой боковую стенку 221 второго контейнера 220. Боковая стенка приемной части 231 может быть открыта, образуя впускное отверстие 224 картриджа. Удлинительная часть 232 может проходить наружу от верхнего конца одной стороны приемной части 231. Удлинительная часть 232 может поддерживать часть рамы 240. Приемная часть 231 может называться частью 231 корпуса.

[74] Рама 240 может быть расположена в нижнем корпусе 230. Рама 240 может определять вторую камеру С2. Рама 240 может окружать, по меньшей мере, часть второй камеры С2. Нижний корпус 230 может окружать оставшуюся часть второй камеры С2. Рама 240 может образовывать нижнюю часть первой камеры С1.

[75] Рама 240 может содержать первую часть 241 рамы и/или вторую часть 242 рамы. Первая часть 241 рамы может определять нижнюю часть первой камеры С1. Первая камера С1 может быть окружена внешней стенкой 211, верхней стенкой 213 и первой частью 241 рамы первого контейнера 210. Первая часть 241 рамы также может называться первой рамой 241. Вторая часть 242 рамы может также называться второй рамой 242.

[76] Рама 240 может содержать первую часть 241 рамы и/или вторую часть 242 рамы. Первая часть 241 рамы может образовывать нижнюю часть первой камеры С1. Первая камера С1 может быть окружена внешней стенкой 211, внутренней стенкой 212, верхней стенкой 213 и первой частью 241 рамы первого контейнера 210.

[77] Вторая часть 242 рамы может окружать, по меньшей мере, часть второй камеры С2. Вторая часть 242 рамы может определять вторую камеру С2. Боковая стенка второй части 242 рамы может, по меньшей мере, частично окружать боковую часть второй камеры С2. Нижняя часть второй части 242 рамы может образовывать нижнюю часть второй камеры С2. Впускное отверстие 2424 камеры может быть выполнено в боковой стенке второй части 242 рамы. Впускное отверстие 2424 камеры может сообщаться со второй камерой С2. Вторая часть 242 рамы может быть расположена рядом с нижней стороной внешней стенки 211 первого контейнера 210. Впускное отверстие 2424 камеры может быть образовано в месте, расположенном выше нижней части второй камеры С2.

[78] Первая часть 241 рамы и вторая часть 242 рамы могут быть соединены друг с другом. Первая часть 241 рамы может проходить от второй части 242 рамы таким образом, чтобы она накрывала нижнюю часть первой камеры С1.

[79] В приемную часть 231 может быть введена вторая часть 242 рамы. Приемная часть 231 может поддерживать нижнюю часть второй части 242 рамы. Приемная часть 231 может определять вторую камеру С2 вместе со второй частью 242 рамы. Удлинительная часть 232 может поддерживать первую часть 241 рамы. Вторая часть 242 рамы может быть расположена в приемной части 231, а первая часть 241 рамы - на удлинительной части 232.

[80] Соединительный канал 2314 может быть образован в приемной части 231. Рама 240 может определять соединительный канал 2314 в нижнем корпусе 230. Соединительный канал 2314 может быть образован между впускным отверстием 224 картриджа и впускным отверстием 2424 камеры для соединения впускного отверстия 224 картриджа и впускного отверстия 2424 камеры. Первая часть 241 рамы может накрывать верхнюю часть соединительного канала 2314. Вторая часть 242 рамы может накрывать боковую часть соединительного канала 2314.

[81] В соединительном канале 2314 может быть сформирована блокирующая стенка 2317. Блокирующая стенка 2317 может быть образована между впускным отверстием 224 картриджа и впускным отверстием 2424 камеры. Блокирующая стенка 2317 может иметь вытянутую форму. Блокирующая стенка 2317 может проходить вверх от нижней части нижнего корпуса 230 или нижней части рамы 240. Блокирующая стенка 2317 может проходить до положения выше впускного отверстия 224 картриджа. Блокирующая стенка 2317 может проходить до положения выше впускного отверстия 2424 камеры.

[82] Соответственно, можно предотвратить утечку жидкости во второй камере С2 из картриджа 200 через впускное отверстие 224 картриджа.

[83] У плотните льны й элемент 250 может быть расположен между первой камерой С1 и вторым контейнером 220. Уплотнительный элемент 250 может окружать кромку первой камеры С1 и находиться в плотном контакте с ним. Уплотнительный элемент 250 может быть изготовлен из упругого материала. Например, уплотнительный элемент 250 может быть изготовлен из такого материала, как резина или силикон. Уплотнительный элемент 250 может предотвращать утечку жидкости, хранящейся в первой камере С1, из первой камеры С1 в зазоры между компонентами.

[84] Уплотнительный элемент 250 может содержать первую уплотнительную часть 251 и/или вторую уплотнительную часть 252. Первая уплотнительная часть 251 может проходить вдоль внешней стенки 211 первого контейнера 210. Первая уплотнительная часть 251 может окружать кромку внешней стенки 211 первого контейнера 210. Первая уплотнительная часть 251 может быть расположена между внешней стенкой 211 первого контейнера 210 и рамой 240 и находиться в плотном контакте с ними. Первая уплотнительная часть 251 может быть расположена между внешней стенкой 211 первого контейнера 210 и первой частью 241 рамы и находиться в плотном контакте с ними.

[85] Соответственно, можно предотвратить утечку жидкости, хранящейся в первой камере С1, через зазор между внешней стенкой 211 первого контейнера 210 и рамой 240.

[86] Вторая уплотнительная часть 252 может проходить от первой уплотнительной части 251 вдоль внешней стенки 211 первого контейнера 210. Вторая уплотнительная часть 252 может окружать кромку внешней стенки 211 первого контейнера 210 и находиться в плотном контакте с ней. Вторая уплотнительная часть 252 может быть расположена между внутренней стенкой первого контейнера 210 и рамой 240 и находиться в плотном контакте с ней. Вторая уплотнительная часть 252 может быть расположена между внутренней стенкой первого контейнера 210 и второй частью 242 рамы и находиться в плотном контакте с ними. Вторая уплотнительная часть 252 может быть вставлена в раму 240. Вторая уплотнительная часть 252 может быть вставлена во вторую часть 242 рамы. Нижний конец внешней стенки 211 первого контейнера 210 может прижимать вторую уплотнительную часть 252 в направлении рамы 240.

[87] Соответственно, можно предотвратить утечку жидкости, хранящейся в первой камере С1, в зазор между внешней стенкой 211 первого контейнера 210 и рамой 240.

[88] Крепление 130 может содержать часть 137 для размещения датчика. Часть 137 для размещения датчика может содержать пространство, сформированное в нижней части одной боковой стенки крепления 130. Второй датчик 180 может быть размещен в части 137 для размещения датчика. Нижний корпус 230 может накрывать часть 137 для размещения датчика. Нижний корпус 230 может окружать одну сторону части 137 для размещения датчика. Нижний корпус 230 может покрывать одну сторону части 137 для размещения датчика. Одна боковая стенка приемной части 231 нижнего корпуса 230 может быть обращена к боковой части в части 137 для размещения датчика. Удлинительная часть 232 нижнего корпуса 230 может накрывать верхнюю часть части 137 для размещения датчика.

[89] Между частью 137 для размещения датчиков и нижним корпусом 230 может быть образован зазор, через который проходит воздух. Воздух может проходить через зазор между частью 137 для размещения датчика и нижним корпусом 230 и поступать во впускное отверстие 224 картриджа. Второй датчик 180 может распознавать поток воздуха во впускное отверстие 224 картриджа через зазор между частью 137 для размещения датчика и нижним корпусом 230.

[90] Внутренняя боковая поверхность 131 части 137 для размещения датчика может быть открыта, образуя отверстие 137а для датчика. Отверстие 137а для датчика может быть образовано между пространством 137b для размещения датчика и пространством 134 для размещения картриджа с целью соединения пространства 137b для размещения датчика и пространства 134 для размещения картриджа. Отверстие 137а для датчика может находиться рядом с впускным отверстием 224 картриджа. Отверстие 137а для датчика может быть обращено к впускному отверстию 224 картриджа.

[91] Отверстие 137а для датчика может быть открыто в поперечном направлении. Боковая часть второго контейнера 220 может быть открыта, образуя впускное отверстие 224 картриджа, и отверстие 137а для датчика, открытое в поперечном направлении, может быть обращено к впускному отверстию 224 картриджа.

[92] Как показано на ФИГ. 6 и 7, картридж 200 может содержать стопорное устройство 217 для стика, выступающее внутрь из периметра пространства 214 для введения рядом с противоположным или нижним концом пространства 214 для введения. Стопорное устройство 217 для стика может выступать радиально внутрь. Стопорное устройство 217 для стика может быть сформировано на внешней стенке 211 первого контейнера 210.

[93] Может быть предусмотрено несколько стопорных устройств 217 для стика. Может быть предусмотрено три стопорных устройства 217 для стика. Несколько стопорных устройств 217 для стика может быть расположено по периметру пространства 214 для введения. Стопорные устройства 217 для стика могут быть расположены в окружном направлении. Стопорные устройства 217 для стика могут быть расположены на некотором удалении друг от друга. Стопорные устройства 217 для стика могут быть выполнены в форме ребра или кольца, проходящего в окружном направлении по периметру пространства 214 для введения. Стик 400 может быть установлен над стопорными устройствами 217 для стика. Стопорные устройства 217 для стика могут иметь форму, постепенно расширяющуюся вверх.

[94] Соответственно, когда стик 400 вставлен в пространство 214 для введения, конец стика 400 может входить в соприкосновение со стопорными устройствами 217 для стика, что позволяет предотвратить перемещение стика 400 во вторую камеру С2 далее пространства 214 для введения.

[95] Кроме того, можно свести к минимуму уменьшение количества воздуха, поступающего из второй камеры С2 в пространство 214 для введения.

[96] Кроме того, стопорные устройства 217 для стика могут не препятствовать извлечению определенного компонента аэрозолем, генерируемым во второй камере С2, из среды в стике 400.

[97] Как показано на ФИГ. 8-9, картридж 200 может содержать первый контейнер 210 и/или второй контейнер 220 и/или фитиль 261 и/или нагреватель 262. Картридж 200 может содержать уплотнительный элемент 250.

[98] Первый контейнер 210 может быть выполнен полым. Внешняя стенка 211 первого контейнера 210 может окружать внутреннее пространство. Первый контейнер 210 может содержать первую камеру С1, в которой хранится жидкость. Одна сторона или нижняя сторона первой камеры С1 может быть открытой.

[99] Внешняя стенка 211 первого контейнера 210 может проходить в окружном направлении и, по меньшей мере, частично окружать пространство 214 для введения по периметру.

[100] Второй контейнер 220 может быть соединен с первым контейнером 210. Второй контейнер 220 может быть соединен с одной стороной или нижней стороной первого контейнера 210. Второй контейнер 220 может перекрывать открытую сторону первой камеры С1. Во втором контейнере 220 может быть предусмотрена вторая камера С2, сообщающаяся с пространством 214 для введения. Фитиль 261 может быть расположен во втором контейнере 220.

[101] Впускное отверстие 224 картриджа может обеспечивать сообщение со второй камерой С2 и внешней стороной картриджа 200. Впускное отверстие 224 картриджа может обеспечивать сообщение второй камеры С2 с внешней стороной картриджа 200. Впускное отверстие 224 картриджа может быть сформировано на внешней стенке второго контейнера 220. Впускное отверстие 224 картриджа может быть образовано в боковой стенке 221 второго контейнера 220. Впускное отверстие 224 картриджа может быть открыто в поперечном направлении. Впускное отверстие 224 картриджа может быть выполнено в месте, расположенном выше нижней части 222 второго контейнера 220. Соответственно, можно предотвратить утечку капель в соединительном канале 2314 из картриджа 200 через впускное отверстие 224 картриджа.

[102] Второй контейнер 220 может содержать нижний корпус 230 и/или раму 240. Нижний корпус 230 может определять внешний вид второго контейнера 220. Нижний корпус 230 может быть расположен ниже первого контейнера 210. Нижний корпус 230 может быть соединен с первым контейнером 210. Нижний корпус 230 может быть соединен с внешней стенкой 211 первого контейнера 210. Нижний корпус 230 может вмещать, по меньшей мере, часть рамы 240 в пространстве 2310 для размещения. Нижний корпус 230 может поддерживать раму 240.

[103] Нижний корпус 230 может содержать периферийную часть 2322, соединенную с периметром первого контейнера 210. Периферийная часть 2322 может проходить от верхнего конца нижнего корпуса 230 по периметру нижнего корпуса 230. Периферийная часть 2322 может проходить по периметру как приемной части 231, так и удлинительной части 232. Периферийная часть 2322 может иметь форму непрерывной полосы. Периферийная часть 2322 может выступать вверх от периметра нижнего корпуса 230. Периферийная часть 2322 может быть соединена с нижним концом внешней стенки 211 первого контейнера 210. Нижний конец внешней стенки 211 первого контейнера 210 может быть углублен вверх таким образом, чтобы в него была вставлена периферийная часть 2322. Периферийная часть 2322 и внешняя стенка 211 первого контейнера 210 могут быть прикреплены друг к другу клейким элементом. Клейкий элемент может представлять собой, например, лист ленты или клей. Клейкий элемент не ограничивается этим вариантом.

[104] Как показано на ФИГ. 10, верхний корпус 120 может содержать колонку 140, выступающую вверх. Колонка 140 может проходить вверх от одной стороны крепления 130. Боковые стенки 141 и 142 колонки 140 могут быть соединены с боковыми стенками 131 и 132 крепления 130. Колонка 140 может накрывать часть пространства 134, образованного креплением 130. Внутренняя стенка 141 колонки 140 может иметь форму вогнутой наружу выемки.

[105] Колонка 140 может вмещать узел 150 печатной платы. Узел 150 печатной платы может подавать свет на картридж 200 или получать информацию о картридже 200. Например, информация о картридже 200 может содержать по меньшей мере информацию об изменении остаточного количества жидкости, хранящейся в первой камере С1 в картридже 200, информацию о типе жидкости, хранящейся в первой камере С1 в картридже 200, информацию о том, вставлен ли стик 400 в пространство 214 для введения в картридже 200, информацию о типе стика 400, вставленного в пространство 214 для введения в картридже 200, информацию о степени использования или доступности стика 400, вставленного в пространство 214 для введения в картридже 200, информацию о том, соединен ли картридж 200 со стиком 400, вставленным в пространство 214 для введения, с корпусом 100, или информацию о типе присоединенного картриджа 200. Информация о картридже 200 не ограничивается вышеупомянутой информацией. Колонка 140 может содержать источник 153 света, выполненный с возможностью излучения света. Колонка 140 может содержать первый датчик 154, выполненный с возможностью получения информации о картридже 200.

[106] В колонке 140 может быть предусмотрено монтажное пространство 144. Монтажное пространство 144 может проходить по вертикали вдоль колонки 140. Внутренняя боковая стенка 141 колонки 140 может окружать монтажное пространство 144. Монтажное пространство 144 может быть открыто в направлении пространства 134 в креплении 130. Монтажное пространство 144 может быть открыто в направлении одной боковой части картриджа 200.

[107] Узел 150 печатной платы может быть установлен в монтажном пространстве 144. Пластина 160 может накрывать узел 150 печатной платы и может быть расположена в монтажном пространстве 144. Окно 170 может накрывать узел 150 печатной платы и монтажное пространство 144. Узел 150 печатной платы, пластина 160 и окно 170 могут быть последовательно уложены друг на друга. Монтажное пространство 144 может называться пространством 144 для размещения узла.

[108] Узел 150 печатной платы может содержать печатную плату 151 и/или источник 153 света, и/или первый датчик 154. Источник 153 света может быть установлен на печатной плате 151. Может быть предусмотрен по меньшей мере один источник 153 света. Первый датчик 154 может быть установлен на печатной плате. Источник 153 света и первый датчик 154 могут быть установлены в разных положениях на одной печатной плате. Первый датчик 154 может быть установлен в области, в которой отсутствует по меньшей мере один источник 153 света.

[109] Узел 150 печатной платы может быть расположен внутри колонки 140 таким образом, чтобы он был обращен к картриджу 200. Узел 150 печатной платы может быть обращен к первому контейнеру 210, содержащему первую камеру С1 и пространство 214 для введения. Узел 150 печатной платы может быть вытянут по вертикали вдоль колонки 140. На одном конце узла 150 печатной платы может быть сформирован коннектор 152 для электрического соединения.

[110] Печатная плата 151 может быть вытянута по вертикали вдоль колонки 140. Печатная плата 151 может представлять собой гибкую печатную плату (FPCB). Коннектор 152 может быть сформирован на одном конце печатной платы 151. На печатной плате 151 может быть расположено несколько источников 153 света. Первый датчик 154 может быть расположен в центре печатной платы 151. Первый датчик 154 может быть расположен между источниками 153 света, и по меньшей мере один источник 153 света может быть расположен на каждой стороне первого датчика 154. Несколько источников 153 света могут быть расположены по вертикали вдоль печатной платы 151. Несколько источников 153 света могут быть расположены в продольном направлении колонки 140. Первый датчик 154 может быть расположен таким образом, чтобы он был обращен к пространству 214 для введения. Источники 153 света могут быть обращены наружу от пространства 214 для введения. Источники 153 света могут излучать свет наружу из пространства 214 для введения таким образом, чтобы свет поступал в первую камеру С1. Источники 153 света могут представлять собой светоизлучающие диоды.

[111] Соответственно, источники 153 света могут равномерно подавать свет в первую камеру С1.

[112] Кроме того, можно предотвратить блокирование пути света, обеспечиваемого источниками 153 света, стиком 400, вставленным в пространство 214 для введения.

[113] Первый датчик 154 может быть вытянут по вертикали вдоль печатной платы 151. Первый датчик 154 может быть вытянут вдоль первого контейнера 210 или пространства 214 для введения. Первый датчик 154 может быть обращен к пространству 214 для введения. Первый датчик 154 может получать информацию о картридже 200. Например, первый датчик 154 может получать по меньшей мере информацию об изменении остаточного количества жидкости, хранящейся в первой камере С1 в картридже 200, информацию о типе жидкости, хранящейся в первой камере С1 в картридже 200, информацию о том, вставлен ли стик 400 в пространство 214 для введения в картридже 200, информацию о типе стика 400, вставленного в пространство 214 для введения в картридже 200, информацию о степени использования или доступности стика 400, вставленного в пространство 214 для введения в картридже 200, информацию о том, соединен ли картридж 200 со стиком 400, вставленным в пространство 214 для введения, с корпусом 100, или информацию о типе присоединенного картриджа 200. Информация о картридже 200 не ограничивается вышеупомянутой информацией.

[114] Первый датчик 154 может распознавать изменение электромагнитных характеристик картриджа 200 для получения информации о картридже 200. Первый датчик 154 может распознавать изменение электромагнитных характеристик, вызванное соседним объектом. Например, первый датчик 154 может представлять собой емкостный датчик. Например, первый датчик 154 может представлять собой магнитный датчик приближения. Тип первого датчика 154 не ограничивается перечисленным. Например, когда стик 400 вставлен в пространство 214 для введения в картридже 200 или при изменении объема жидкости, хранящейся в первой камере С1, электромагнитные характеристики, распознаваемые первым датчиком 154, могут изменяться, и первый датчик 154 может измерять изменение получаемой информации о картридже 200.

[115] Первый датчик 154 может содержать проводник. Проводник может иметь длину, соответствующую пространству 214 для введения в направлении, в котором ориентировано пространство 214 для введения в картридже 200. Например, проводник может быть выполнен таким образом, чтобы его максимальная длина примыкала к верхней и нижней сторонам печатной платы 151 в продольном направлении колонки 140, соответственно.

[116] Первый датчик 154 может генерировать и передавать сигнал. Первый датчик 154 может генерировать сигнал, когда ток протекает через проводник. Первый датчик 154 может генерировать сигнал, соответствующий электромагнитной характеристике окружающей среды, например, емкости вокруг проводника.

[117] Окно 170 может быть соединено с колонкой 140. Окно 170 может быть выполнено из прозрачного материала. Окно 170 может пропускать свет. Окно 170 может быть соединено с колонкой 140, закрывая узел 150 печатной платы. Окно 170 может проходить по вертикали вдоль колонки 140. Окно 170 может быть расположено между колонкой 140 и картриджем 200. Окно 170 может быть расположено между колонкой 140 и третьей направляющей 350. Окно 170 может быть расположено рядом с внутренней боковой стенкой 141 колонки 140. Окно 170 может окружать заднюю поверхность третьей направляющей 350. Окно 170 может быть обращено к задней поверхности третьей направляющей 350. Окно 170 может быть выполнено тонким, чтобы узел 150 печатной платы прилегал к третьей направляющей 350. 18] Одна поверхность 171а окна 170 может вступать в контакт с задней поверхностью третьей направляющей 350, образуя опору третьей направляющей 350. Противоположная поверхность 171b окна 170 может находиться в плотном контакте с узлом 150 печатной платы. Поверхность 171а окна 170 может называться передней поверхностью окна 170. Противоположная поверхность 171b окна 170 может называться задней поверхностью окна 170.

[119] Поверхность 171а окна 170 может иметь форму, соответствующую третьей направляющей 350, образующей периметр пространства 214 для введения. Пространство 214 для введения может находиться рядом с колонкой 140 и узлом 150 печатной платы. Пространство 214 для введения может быть расположено между первой камерой С1 и колонкой 140. Внешняя стенка 211 первого контейнера 210, окружающая пространство 214 для введения по периметру, может иметь форму, соответствующую периметру пространства 214 для введения. Поверхность 171а окна 170 может иметь форму, позволяющую окружать внешнюю сторону пространства 214 для введения. Поверхность 171а окна 170 может иметь закругленную форму, позволяющую окружать третью направляющую 350, образующую периметр пространства 214 для введения. Поверхность 171а окна 170 может иметь форму, вогнутую в направлении, противоположном картриджу 200.

[120] В узле 150 печатной платы может быть выполнено несколько сквозных отверстий 151а. Сквозные отверстия 151а могут быть выполнены на одной стороне печатной платы 151. Сквозные отверстия 151а могут быть выполнены в верхней части печатной платы 151. Сквозные отверстия 151а могут быть расположены над источником 153 света и/или первым датчиком 154. Сквозные отверстия 151а могут быть расположены на обеих сторонах печатной платы 151.

[121] Пластина 160 может накрывать область узла 150 печатной платы, отличающуюся от области по меньшей мере одного источника 153 света. Пластина 160 может быть прикреплена к узлу 150 печатной платы, закрывая первый датчик 154. Пластина 160 может пропускать электромагнитную волну. Пластина 160, через которую проходит электромагнитная волна, может не пропускать видимый свет или быть полупрозрачной.

[122] Печатные схемы, подключенные к источникам 153 света, могут быть напечатаны в области печатной платы 151, находящейся рядом с источниками 153 света. Пластина 160 может накрывать печатные схемы, отпечатанные на печатной плате 151 в непосредственной близости от источников 153 света. Пластина 160 может проходить по вертикали вдоль первого датчика 154 и далее от ее вертикально ориентированной части к печатным платам.

[123] Пластина 160 может открывать источники 153 света, а не накрывать их. Источники 153 света могут быть расположены по обеим сторонам первого датчика 154, между которыми расположен первый датчик 154, и могут быть ориентированы в вертикальном направлении. Части пластины 160, соответствующие положениям источников 153 света, могут быть открытыми. Когда пластина 160 прикреплена к узлу 150 печатной платы, источники 153 света могут быть доступны через открытые участки пластины 160. Соответственно, свет, излучаемый источниками 153 света, не может быть заблокирован, и первый датчик 154 и/или печатные платы, напечатанные на печатной плате 151, могут не открываться наружу и могут быть защищены снаружи. Кроме того, первый датчик 154 может распознавать изменение электромагнитных характеристик окружающей среды в состоянии, накрытом пластиной 160.

[124] Как показано на ФИГ. 11, когда картридж 200 соединен с корпусом 100, внешняя стенка 211 картриджа 200 и колонка 140 могут соприкасаться друг с другом. Колонка 140 может поддерживать внешнюю стенку 211 картриджа 200.

[125] Когда колпачок 300 отделен от корпуса 100, между внешней стенкой 211 картриджа 200 и колонкой 140 может быть предусмотрено пространство 214 для введения и пространство 355. Пространство 355 может называться пространством 355 для размещения колпачка. Пространство 355 для размещения колпачка может иметь форму, соответствующую третьей направляющей 350. Пространство 355 для размещения колпачка может быть расположено снаружи пространства 214 для введения. Часть пространства 355 для размещения колпачка может быть окружена окном 170.

[126] Когда колпачок 300 соединен с корпусом 100, третья направляющая 350 может быть расположена в пространстве 355 для размещения колпачка. Когда третья направляющая 350 расположена в пространстве 355 для размещения колпачка, третья направляющая 350 и окно 170 могут соприкасаться друг с другом. Окно 170 может соприкасаться с задней поверхностью третьей направляющей 350, поддерживая третью направляющую 350. Когда третья направляющая 350 расположена в пространстве 355 для размещения колпачка, внешняя стенка 211 картриджа 200 и третья направляющая 350 могут быть соединены друг с другом в форме, позволяющей им проходить в окружном направлении и окружать периметр пространства 214 для введения. [127] Когда стик 400 вставлен в пространство 214 для введения в состоянии, в котором третья направляющая 350 расположена в пространстве 355 для размещения колпачка, часть боковой поверхности стика 400 может соприкасаться с внешней стенкой 211 картриджа 200, а его оставшаяся часть может соприкасаться с передней поверхностью третьей направляющей 350.

[128] Как показано на ФИГ. 12, когда стик 400 вставлен в пространство 214 для введения в состоянии, в котором колпачок 300 отделен от корпуса 100, часть боковой поверхности стика 400 может соприкасаться с внешней стенкой 211 картриджа 200. При этом, когда стик 400 вставлен в пространство 214 для введения в состоянии, в котором колпачок 300 отделен от корпуса 100, оставшаяся часть боковой поверхности стика 400 может быть открыта к пространству 355 для размещения колпачка.

[129] По меньшей мере, часть стика 400, расположенная в пространстве 214 для введения, может быть перемещена в пространство 355 для размещения колпачка. Например, когда верхняя сторона устройства 10 для генерирования аэрозоля наклонена в направлении, в котором расположена колонка 140, стик 400, находящийся в пространстве 214 для введения, также может быть наклонен в сторону пространства 355 для размещения колпачка. Таким образом, пользователь вставляет стик 400 в пространство 214 для введения после того, как третья направляющая 350 будет помещена в пространство 355 для размещения колпачка посредством соединения колпачка 300 с корпусом 100, тем самым фиксируя положение стика 400 в пространстве 214 для введения.

[130] Как было описано выше, по меньшей мере в одном из вариантов осуществления настоящего изобретения пространство 214 для введения, в которое вставлен стик 400, может быть определено корпусом 100, картриджем 200 и колпачком 300.

[131] По меньшей мере в одном из вариантов осуществления настоящего изобретения положение стика 400 может быть зафиксировано в состоянии, в котором корпус 100, картридж 200 и колпачок 300 соединены друг с другом.

[132] Как показано на ФИГ. 1-12, устройство 10 для генерирования аэрозоля согласно одному аспекту настоящего изобретения может содержать картридж 200, выполненный удлиненным и содержащий жидкость, колонку 140, сформированную на одной стороне картриджа 200 таким образом, чтобы она была удлиненной, колпачок 300, выполненный с возможностью закрытия картриджа 200 и колонки 140, и пространство 214 для введения, в которое вставлен стик 400. Колпачок 300 может содержать часть 350, поддерживающую стик,, выполненную удлиненной и расположенную между картриджем 200 и колонкой 140, и пространство 214 для введения может быть определено внешней стенкой 211 картриджа 200 и частью 350, поддерживающей стик,.

[133] Кроме того, в другом аспекте настоящего изобретения часть боковой поверхности стика 400 может соприкасаться с внешней стенкой 211 картриджа 200, и оставшаяся часть боковой поверхности стика 400 может соприкасаться с частью 350, поддерживающей стик.

[134] Кроме того, в другом аспекте настоящего изобретения внешняя стенка 211 картриджа 200 и часть 350, поддерживающая стик, могут расположены с возможностью соприкосновения друг с другом по периметру пространства 214 для введения.

[135] Кроме того, в другом аспекте настоящего изобретения передняя поверхность части 350, поддерживающей стик, может соприкасаться со стиком 400, и задняя поверхность части 350, поддерживающей стик, может соприкасаться с колонкой 140.

[136] Кроме того, в другом аспекте настоящего изобретения передняя поверхность части 350, поддерживающей стик, может иметь форму, соответствующую стику 400, и задняя поверхность части 350, поддерживающей стик, может иметь форму, соответствующую колонке 140.

[137] Кроме того, в другом аспекте настоящего изобретения колонка 140 может содержать окно 170, установленное на части внешней стенки 211 колонки 140, обращенной к пространству 214 для введения, и выполненное из светопрозрачного материала, и часть 350, поддерживающая стик, может соприкасаться с окном 170.

[138] Кроме того, в другом аспекте настоящего изобретения колонка 140 может дополнительно содержать датчик 154, установленный на колонке 140 и выполненный с возможностью передачи сигнала, соответствующего пространству 214 для введения, и датчик 154 может быть обращен к окну 170.

[139] Кроме того, в другом аспекте настоящего изобретения колпачок 300 может дополнительно содержать отверстие 304 для введения, выполненное в нем в положении, соответствующем пространству 214 для введения, и сообщающееся с пространством 214 для введения, и направляющую 306 стика, расположенную рядом с отверстием 304 для введения и проходящую под наклоном в сторону пространства 214 для введения.

[140] Кроме того, в другом аспекте настоящего изобретения часть 350, поддерживающая стик, может проходить от концевой части направляющей 306 стика в направлении продольной оси колонки 140.

[141] Кроме того, в другом аспекте настоящего изобретения внешняя стенка 211 картриджа 200 и/или часть 350, поддерживающая стик, может содержать стопорные устройства 217 и 335 для стика, выступающие в сторону пространства 214 для введения.

[142] Некоторые варианты осуществления или другие варианты осуществления изобретения, описанные выше, не являются взаимоисключающими или отличными друг от друга. Любые или все элементы вариантов осуществления описано выше изобретения могут быть объединены с другими или объединены друг с другом по конфигурации или функции.

[143] Например, конфигурация «А», описанная в одном варианте осуществления изобретения и/или на чертежах, может быть объединена с конфигурацией «В», описанной в другом варианте осуществления изобретения и/или на чертежах. А именно, хотя комбинация между конфигурациями прямо не описана, комбинация возможна, за исключением случая, когда описано, что комбинация невозможна.

[144] Хотя варианты осуществления изобретения были описаны со ссылкой на ряд иллюстративных вариантов осуществления изобретения, следует понимать, что специалисты в данной области техники могут разработать множество других модификаций и вариантов осуществления изобретения, которые будут подпадать под действие принципов настоящего изобретения. В частности, возможны различные варианты и изменения составных частей и/или компоновок рассматриваемого комбинированного устройства в пределах объема описания, чертежей и прилагаемой формулы изобретения. Помимо вариантов и изменений составных частей и/или компоновок, специалистам в данной области техники также будут очевидны альтернативные варианты использования.

Похожие патенты RU2839354C2

название год авторы номер документа
УСТРОЙСТВО ДЛЯ ГЕНЕРИРОВАНИЯ АЭРОЗОЛЯ (ВАРИАНТЫ) 2022
  • Ли, Чжонсоб
  • Ким, Минкю
  • Пак, Чуон
  • Чо, Пюнсун
RU2829096C2
КАРТРИДЖ И УСТРОЙСТВО ДЛЯ ГЕНЕРИРОВАНИЯ АЭРОЗОЛЯ, СОДЕРЖАЩЕЕ ТАКОЙ КАРТРИДЖ 2022
  • Ли, Чжонсоб
  • Ким, Минкю
  • Пак, Чуон
  • Чо, Пюнсун
RU2830108C2
УСТРОЙСТВО ДЛЯ ГЕНЕРИРОВАНИЯ АЭРОЗОЛЯ 2022
  • Ли, Чжонсоб
  • Ким, Минкю
  • Пак, Чуон
  • Чо, Пюнсу
RU2831273C2
УСТРОЙСТВО ДЛЯ ГЕНЕРИРОВАНИЯ АЭРОЗОЛЯ 2022
  • Пак, Чуон
  • Ким, Минкю
  • Ли, Чжонсоб
  • Чо, Пюнсун
RU2822055C2
УСТРОЙСТВО ДЛЯ ГЕНЕРИРОВАНИЯ АЭРОЗОЛЯ (ВАРИАНТЫ) 2022
  • Чо, Пюсун
  • Пак, Сангю
  • Ли, Чжонсуб
RU2831726C2
УСТРОЙСТВО ДЛЯ ГЕНЕРИРОВАНИЯ АЭРОЗОЛЯ (ВАРИАНТЫ) 2022
  • Ли, Чжонсоп
  • Ким, Минкю
  • Пак, Чуон
  • Чо, Пюнсун
RU2811532C1
УСТРОЙСТВО ДЛЯ ГЕНЕРИРОВАНИЯ АЭРОЗОЛЯ 2022
  • Ким, Тэхун
RU2838193C2
УСТРОЙСТВО ДЛЯ ГЕНЕРИРОВАНИЯ АЭРОЗОЛЯ 2022
  • Пак, Чуон
  • Ким, Минкю
  • Ли, Чжонсоб
  • Чо, Пюнсун
RU2830156C2
УСТРОЙСТВО ДЛЯ Э-ПАРЕНИЯ НИКОТИНА СО ВСТРОЕННЫМ НАГРЕВАТЕЛЕМ-ТЕРМОПАРОЙ 2021
  • Хоус, Эрик А.
  • Лау, Рэймонд В.
RU2839040C1
УСТРОЙСТВО ДЛЯ ГЕНЕРИРОВАНИЯ АЭРОЗОЛЯ 2022
  • Лим, Хениль
  • Ким, Тэхун
RU2812794C1

Иллюстрации к изобретению RU 2 839 354 C2

Реферат патента 2025 года УСТРОЙСТВО ДЛЯ ГЕНЕРИРОВАНИЯ АЭРОЗОЛЯ

Изобретение относится к устройству для генерирования аэрозоля. Технический результат заключается в возможности фиксации положения стика в состоянии, в котором корпус, картридж и колпачок соединены друг с другом. Устройство для генерирования аэрозоля содержит: удлиненный картридж, выполненный с возможностью хранения жидкости; удлиненную колонку, расположенную рядом с картриджем; колпачок, выполненный с возможностью закрытия картриджа и колонки; и пространство для введения, выполненное с возможностью размещения введенного стика. Колпачок содержит удлиненную часть, поддерживающую стик, выполненную с возможностью расположения между картриджем и колонкой. Пространство для введения определено внешней стенкой картриджа и частью, поддерживающей стик. 9 з.п. ф-лы, 12 ил.

Формула изобретения RU 2 839 354 C2

1. Устройство для генерирования аэрозоля, содержащее

удлиненный картридж, выполненный с возможностью хранения жидкости;

удлиненную колонку, расположенную рядом с картриджем;

колпачок, выполненный с возможностью закрытия картриджа и колонки; и

пространство для введения, выполненное с возможностью размещения введенного стика,

при этом колпачок содержит удлиненную часть, поддерживающую стик, выполненную с возможностью расположения между картриджем и колонкой, и

при этом пространство для введения определено внешней стенкой картриджа и частью, поддерживающей стик.

2. Устройство для генерирования аэрозоля по п. 1, в котором внешняя стенка картриджа и часть, поддерживающая стик, выполнены с возможностью соприкосновения с боковой поверхностью стика, когда стик вставлен в пространство для введения.

3. Устройство для генерирования аэрозоля по п. 1, в котором соответствующие боковые концы внешней стенки картриджа и части, поддерживающей стик, соприкасаются друг с другом, определяя пространство для введения.

4. Устройство для генерирования аэрозоля по п. 1, в котором часть, поддерживающая стик, содержит переднюю поверхность и заднюю поверхность, и в котором передняя поверхность части, поддерживающей стик, выполнена с возможностью соприкосновения со стиком, и задняя поверхность части, поддерживающей стик, выполнена с возможностью соприкосновения с колонкой.

5. Устройство для генерирования аэрозоля по п. 4, в котором передняя поверхность части, поддерживающей стик, имеет форму, соответствующую стику, а задняя поверхность части, поддерживающей стик, имеет форму, соответствующую колонке.

6. Устройство для генерирования аэрозоля по п. 1, в котором колонка содержит окно, обращенное к пространству для введения и выполненное из светопрозрачного материала, и в котором часть, поддерживающая стик, выполнена с возможностью соприкосновения с окном.

7. Устройство для генерирования аэрозоля по п. 6, в котором колонка дополнительно содержит датчик, обращенный к окну и выполненный с возможностью передачи сигнала, соответствующего пространству для введения.

8. Устройство для генерирования аэрозоля по п. 1, в котором колпачок дополнительно содержит

отверстие для введения, выполненное в колпачке в положении, соответствующем пространству для введения, и обеспечивающее доступ к пространству для введения; и

направляющую для стика, расположенную рядом с отверстием для введения и проходящую под углом к пространству для введения.

9. Устройство для генерирования аэрозоля по п. 7, в котором часть, поддерживающая стик, проходит от конца направляющей стика в продольном направлении колонки.

10. Устройство для генерирования аэрозоля по п. 1, в котором внешняя стенка картриджа и/или часть, поддерживающая стик, содержит стопорное устройство для стика, выступающее внутрь в пространство для введения.

Документы, цитированные в отчете о поиске Патент 2025 года RU2839354C2

US 20200367568 A1, 26.11.2020
УСТРОЙСТВО, СИСТЕМА И СПОСОБ ГЕНЕРИРОВАНИЯ ВДЫХАЕМОЙ СРЕДЫ 2018
  • Аццопарди, Анна
  • Спенсер, Альфред
RU2748183C1
WO 2020199217 A1, 08.10.2020
WO 2020128828 A1, 25.06.2020
US 20200359693 A1, 19.11.2020
KR 20200057490 A, 26.05.2020.

RU 2 839 354 C2

Авторы

Чо, Пюсун

Ли, Чжонсуб

Пак, Сангю

Чун, Вусок

Хан, Тэнам

Даты

2025-04-30Публикация

2022-10-19Подача