Изобретение относится к транспортному машиностроению, в частности к двигателям внутреннего сгорания (ДВС) автомобилей.
Известен двигатель автомобиля ВАЗ-2106 номинальной мощностью 75 л.с, развивающий максимальный крутящий момент 116 Нм при частоте вращения коленчатого вала 5400 об/мин. Ход поршня двигателя равен 80 мм («ВАЗ-2106. Руководство по эксплуатации, техническому обслуживанию и ремонту», Издательский дом «Третий Рим», 2008 г., стр. 10).
К недостаткам известного двигателя можно отнести размер плеча, на котором развивается крутящий момент: оно равно радиусу кривошипа коленчатого вала и составляет всего 40 мм. При столь малом плече для развития номинальной мощности ДВС необходима высокая частота вращения коленчатого вала, следствием чего является повышенный расход топлива, его неполное сгорание и значительное превышение экологических норм по вредным выбросам.
Другим недостатком поршневого рядного двигателя автомобиля ВАЗ-2106 являются относительно большие габариты (длина, ширина и высота, соответственно: 565 мм × 541 мм × 665 мм), которые определяют подкапотное пространство, как единственное место для его установки на автомобиле.
Известен оппозитный двигатель внутреннего сгорания, в котором цилиндры имеют горизонтальное расположение (патент РФ №2529290, F02B 75/28, F02B 61/04,10.01.2013 г), включающий в себя корпус, имеющий, по крайней мере, пару сопряженных цилиндров, к торцам которых примыкают разъемные картеры с размещенными в них коленчатыми валами, перпендикулярно расположенными к оси цилиндра, и передачу, включающую три цилиндрических зубчатых колеса, оси которых лежат в одной плоскости. Два крайних зубчатых колеса и имеют одинаковое число зубьев и закреплены на передних концах коленчатых валов, а центральное зубчатое колесо расположено между ними. Сопряженные цилиндры имеют общую головку, на торце которой консольно закреплена опорная ось с расположенной на ней ступицей. На ступице с одной стороны закреплено центральное зубчатое колесо, а с другой закреплен потребитель мощности.
В результате анализа известного решения следует отметить, что основной вклад в крутящий момент у двигателя данного типа создает высокая частота вращения коленчатого вала, а не плечо малого размера, образуемое радиусом кривошипа коленвала. Негативные последствия работы оппозитного двигателя на высоких оборотах коленчатого вала те же, что и у любого поршневого ДВС: неполное сгорание топлива, его повышенный расход и значительное превышение экологических норм по вредным выбросам.
Высота оппозитного двигателя заметно меньше, чем двигателя автомобиля ВАЗ-2106, но, тем не менее, у него есть проблемы с компактностью, и поэтому наиболее предпочтительно его размещение в подкапотном пространстве автомобиля. Практическое подтверждение оптимальности такого решения находится, например, в принятой в 1997 г. и реализуемой до настоящего времени компоновке оппозитного двигателя автомобиля «Субару Форестер» (http://wikimotors.ru/subaru-forester/).
Наиболее близким по технической сущности к заявляемому изобретению является роторно-турбинный двигатель внутреннего сгорания с активным ротором (патент РФ №2241130, F02C 5/04, 01.08.2002 г.). Двигатель содержит цилиндр с расположенными симметрично по его окружности камерами сгорания и с крышками, имеющими отверстия для продувки воздухом и выброса отработавших газов. В корпусе установлен ротор, на котором симметрично по окружности расположены насадки. Камера сгорания расположена под углом к направлению на ось вращения, а насадки ротора становятся активными в процессе работы за счет создания реактивной струи, выходящей из насадки и добавляющей момент вращения. Ротор выполнен со стойками, а насадки закреплены на стойках, при этом количество камер сгорания и число стоек выполнено четным, а струя газов выходит из насадки через сопло.
Существенное преимущество известного двигателя перед поршневыми ДВС в большом плече, на котором создается крутящий момент. Но недостатком роторно-турбинного двигателя является форма корпуса в виде цилиндра, с диаметром, соразмерным с его высотой, то есть отсутствие компактности, и поэтому размещение этого двигателя, например, в межосевом пространстве автомобиля или в его двойном днище нецелесообразно.
Техническими результатами изобретения являются получение высокого крутящего момента во всем диапазоне рабочих оборотов, развиваемых ДВС, что позволяет достичь высокой разгонной динамики автомобиля и получение компоновки, обеспечивающей возможность размещения относительно плоской тангенциальной турбины большого диаметра в межосевом пространстве на уровне днища, что полностью освобождает подкапотное пространство, увеличивая полезный объем автомобиля.
Указанные технические результаты достигаются двигателем внутреннего сгорания автомобиля, содержащим тангенциальную турбину, в периферийной области корпуса которой установлена камера сгорания постоянного объема, при этом ротор турбины имеет толщину меньше его диаметра, диаметр корпуса турбины не превышает ширину автомобиля, при этом корпус турбины расположен горизонтально на уровне днища автомобиля в межосевом пространстве таким образом, что ось ротора турбины направлена вертикально, вместе с тем корпус турбины размещен между лонжеронами рамы автомобиля, в пределах их высоты. В качестве элементов корпуса турбины используются элементы днища автомобиля, а в периферийной области турбины смонтированы две или более камеры сгорания.
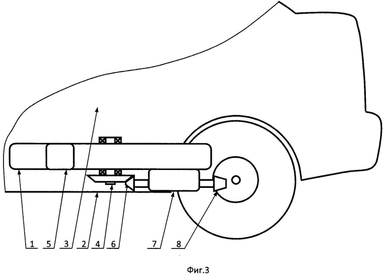
Сущность заявленного изобретения поясняется графическим материалом: на фиг. 1 - установка турбины на автомобиле, вид сбоку, на фиг. 2 - установка турбины на автомобиле, вид сверху, на фиг. 3 - установка турбины с одной камерой сгорания на автомобиле и ее связь с трансмиссией, увеличенный вид сбоку.
Устройство состоит из турбины 1, которая может быть размещена как в подкапотном пространстве автомобиля, так и в межосевом пространстве автомобиля, на уровне днища 2 кузова 3, или, в зависимости от конструкции, между элементами двойного днища или между лонжеронами рамы автомобиля, причем ось ротора 4 турбины направлена вертикально, а в периферийной области турбины установлена, как минимум, одна камера сгорания 5. Возможна конструкция турбины с большим количеством камер сгорания, что увеличивает крутящий момент, а, следовательно, мощность турбинного ДВС. Крутящий момент с турбины 1 передается на колеса автомобиля посредством трансмиссии, которая может состоять, например, из механической зубчатой или гибкой передачи 6, коробки передач 7, главной передачи 8 и полуосей 9 с шарнирами равных угловых скоростей (позицией не обозначены).
Работа тангенциальной турбины осуществляется по алгоритму, описанному в патенте РФ №2718097.
При горизонтальном размещении турбины обеспечивается удобный доступ к камерам сгорания, располагаемым в непосредственной близости к боковым поверхностям кузова автомобиля, где могут быть расположены окна, закрываемые съемными заглушками (не показаны), через которые осуществляется доступ к камерам сгорания.
Предпочтителен вариант, когда с вала турбины снимается крутящий момент, который посредством трансмиссии передается на колеса автомобиля, а отбор мощности для сервисных систем осуществляется от трансмиссии. Но не исключены и другие варианты, например, один конец вала турбины является приводным для ее сервисных систем (генератор, компрессор и др.), а с другого снимается крутящий момент.
Применение ротора малой толщины и большого диаметра, образующего плечо 600 мм и более, на котором развивается высокий крутящий момент, в турбине плоской формы, диаметр которой не превышает ширину автомобиля, позволяет разместить ее горизонтально на уровне днища автомобиля, преимущественно в межосевом пространстве и ближе к его задней оси. Возможны и иные варианты размещения турбинного ДВС, например, моторном отсеке, над задней осью или за ней, но они менее компактны. В перечисленных вариантах компоновки полностью используется преимущество плоской турбины большого диаметра, развивающей высокий крутящий момент во всем диапазоне рабочих частот вращения.
| название | год | авторы | номер документа |
|---|---|---|---|
| РОТОР ТУРБИНЫ ТРЕНИЯ | 2024 |
|
RU2831040C1 |
| ДВИГАТЕЛЬНАЯ УСТАНОВКА ТРАНСПОРТНОГО СРЕДСТВА | 2019 |
|
RU2718097C1 |
| КАМЕРА СГОРАНИЯ | 2024 |
|
RU2831041C1 |
| ДВИГАТЕЛЬ ВНУТРЕННЕГО СГОРАНИЯ | 1997 |
|
RU2146010C1 |
| АВТОМОБИЛЬНЫЙ РЕАКТИВНЫЙ ДВИГАТЕЛЬ | 2004 |
|
RU2283435C2 |
| СПОСОБ ПОВЫШЕНИЯ ЭФФЕКТИВНОСТИ СГОРАНИЯ ГОРЮЧЕЙ СМЕСИ В ДВИГАТЕЛЯХ | 2004 |
|
RU2267620C2 |
| ПОЛНОПРИВОДНЫЙ АВТОМОБИЛЬ | 2012 |
|
RU2497695C1 |
| ТУРБОКОМПРЕССОР С КИНЕМАТИЧЕСКОЙ СВЯЗЬЮ РОТОРА С КОЛЕНЧАТЫМ ВАЛОМ ДВС | 2023 |
|
RU2820574C1 |
| СИСТЕМА КОНЦЕНТРАЦИИ И ПРЕОБРАЗОВАНИЯ ЭНЕРГИИ В ДОПОЛНИТЕЛЬНУЮ ЭНЕРГИЮ ДВИГАТЕЛЯ ВНУТРЕННЕГО СГОРАНИЯ ТРАНСПОРТНОГО СРЕДСТВА (ВАРИАНТЫ) | 2006 |
|
RU2320880C1 |
| Двухтактный оппозитный двигатель внутреннего сгорания и способ управления им | 2024 |
|
RU2841440C1 |
Изобретение относится к транспортному машиностроению, в частности к двигателям внутреннего сгорания автомобилей. Двигатель внутреннего сгорания автомобиля содержит тангенциальную турбину (1), в периферийной области корпуса которой установлена камера (5) сгорания постоянного объема. Ротор (4) турбины (1) имеет толщину меньше его диаметра. Диаметр корпуса турбины (1) не превышает ширину автомобиля. Корпус турбины (1) расположен горизонтально на уровне днища автомобиля в межосевом пространстве таким образом, что ось ротора (4) турбины (1) направлена вертикально. Вместе с тем корпус турбины (1) размещен между лонжеронами рамы автомобиля, в пределах их высоты. Технический результат заключается в достижении высокой разгонной динамики автомобиля и освобождении подкапотного пространства. 2 з.п. ф-лы, 3 ил.
1. Двигатель внутреннего сгорания автомобиля, содержащий тангенциальную турбину, в периферийной области корпуса которой установлена камера сгорания постоянного объема, отличающийся тем, что ротор турбины имеет толщину меньше его диаметра, диаметр корпуса турбины не превышает ширину автомобиля, при этом корпус турбины расположен горизонтально на уровне днища автомобиля в межосевом пространстве таким образом, что ось ротора турбины направлена вертикально, вместе с тем корпус турбины размещен между лонжеронами рамы автомобиля, в пределах их высоты.
2. Двигатель по п. 1, отличающийся тем, что в качестве элементов корпуса турбины используются элементы днища автомобиля.
3. Двигатель по пп. 1, 2, отличающийся тем, что в периферийной области турбины смонтированы две или более камеры сгорания.
| ГАЗОТУРБИННЫЙ ТУРБОВАЛЬНЫЙ АВТОМОБИЛЬНЫЙ РАДИАЛЬНЫЙ ДВИГАТЕЛЬ С ЦЕНТРОБЕЖНЫМ ИСТЕЧЕНИЕМ ГАЗОВ И СПОСОБ ЕГО РАБОТЫ | 2017 |
|
RU2656540C1 |
| ГАЗОТУРБИННАЯ УСТАНОВКА СО СГОРАНИЕМ ТОПЛИВА В ПОСТОЯННОМ ОБЪЕМЕ | 1998 |
|
RU2147341C1 |
| Роторный детонационный газотурбинный двигатель и способ детонационного горения в нём | 2020 |
|
RU2745975C1 |
| Роторный двигатель внутреннего сгорания | 2016 |
|
RU2643274C1 |
| JP 2022523948 A, 27.04.2022 | |||
| CN 204921166 U, 30.12.2015. | |||
Авторы
Даты
2024-11-28—Публикация
2023-12-14—Подача