Изобретение относится к излучателю темного типа с первой горелкой, вентилятором и излучающей трубой, причем первая горелка соединена с подводом горючего газа, первый вентилятор служит для того, чтобы подавать к горелке воздух для горения, при этом горелка служит для того, чтобы производить пламя, проходящее внутри излучающей трубы.
В коммерческой и промышленной сфере для отопления производственных и складских объектов часто используются излучатели темного типа. Излучатели темного типа, как излучающие элементы, имеют одну или несколько излучающих труб, оснащенных, как минимум, одной горелкой. За счет сжигания смеси из горючего газа и воздуха внутри горелки создается пламя, которое может быть с помощью вентилятора распределено по всей длине излучающей трубы. В качестве горючего газа служит природный газ или сжиженный газ, который смешивается в смесительной камере в заданном соотношении, после чего подается через сопло в камеру сгорания и поджигается. Для блокировки обратного удара топливовоздушная смесь проводится через решетку или сетку, которая одновременно выполняет задачу стабилизации пламени. Излучающие трубы линейного или U-образного типа последовательно друг за другом подсоединены к горелке и должны равномерно излучать тепло, производимое пламенем, по всему ходу трубы. Излучающая труба равномерно нагревается пламенем и генерирует тепловое излучение, которое излучается на обогреваемую область. Здесь, для повышения эффективности, часто используются рефлекторы. Отработанные газы, возникающие при сгорании, удаляются из излучающей трубы с помощью вентилятора, например, выводятся во внешнюю среду через выпускные трубы.
Чтобы минимизировать вредные вещества, образующиеся при сгорании топлива, постоянно стремятся достичь оптимального стехиометрического соотношения между горючим газом и воздухом для обеспечения, по возможности, полного сгорания, при котором эмиссия вредных веществ будет сведена к минимуму. Для этого, например, в DE 102014019765 А1 предлагается управлять вентилятором и газовым клапаном с помощью регулирующего устройства, чтобы обеспечить полное сгорание смеси из горючего газа и воздуха. Далее в ЕР 2708814 А1 предлагается оборудовать горелку смесителем и минимум одним каналом вторичного воздуха, причем горелка устроена так, что часть воздуха, подаваемого вентилятором, подается в смеситель, а другая часть воздуха подается в канал вторичного воздуха, чтобы часть подаваемого воздуха для сгорания подводилась к пламени без топлива. Далее в DE 102014019766 А1 предлагается с помощью датчика фиксировать актуальное соотношение компонентов смеси и/или тип газа, особенно это касается примеси других видов газов, и подавать в горелку газ и/или воздух в зависимости от результата сравнения между измеренным и необходимым соотношением компонентов смеси, пока не будет достигнуто необходимое соотношение компонентов смеси.
Вышеуказанные решения зарекомендовали себя на практике, благодаря чему излучатели темного типа сегодня имеют относительно низкий уровень выброса вредных веществ при высоком уровне эффективности. В основе настоящего изобретения лежит задача обеспечить излучатель темного типа, у которого еще больше снижен выброс вредных веществ при минимум таком же уровне эффективности. В соответствии с изобретением данная задача решается за счет признаков из отличительной части формулы изобретения 1.
Излучатель темного типа, согласно изобретению, по сравнению с уровнем техники, имеет, как минимум, такой же неизменный уровень эффективности и сниженный уровень выброса вредных веществ. За счет того, что подвод горючего газа соединен с источником водорода, выступающим как источник горючего газа, и что ниже по направлению пламени на расстоянии от первой горелки, выступающей как первичная горелка, в излучающей трубе расположена вторичная горелка, у которой подвод горючего газа соединен с источником водорода, выступающим как источник горючего газа, причем к вторичной горелке в качестве воздуха для горения подается поток отработанных газов расположенной выше первичной горелки. Отработанный газ теоретически не будет содержать углеродосодержащих вредных веществ, таких как окись углерода, двуокись углерода или углеводороды, так как водород не содержит углерода. За счет вторичной горелки, расположенной после первичной горелки, обеспечивается дополнительная обработка отработанного газа от первичной горелки, благодаря чему значительно минимизируется эмиссия оксидов азота. Показано, что благодаря высокой химической активности водорода, остатков кислорода, содержащихся в отработанном газе от первичной горелки, вполне достаточно для сгорания водорода во вторичной горелке. Кроме того, температура потока отработанного газа от первичной горелки способствует процессу сгорания во вторичной горелке.
В усовершенствованном варианте изобретения вентилятор соединен с эжектором, у которого впускной патрубок соединен с подводом водорода, причем воздух для горения, всасываемый вентилятором, служит рабочей средой так, что к горелке с помощью вентилятора подается смесь водорода с воздухом для горения. Благодаря этому обеспечивается возможность подачи смеси водорода с воздухом для горения с заданным соотношением компонентов смеси, что позволяет регулировать температуру пламени. За счет настройки высокого коэффициента избытка воздуха, то есть при большом избытке воздуха, можно достичь снижения температуры пламени. Благодаря высокой химической активности водорода, возможен высокий коэффициент избытка воздуха, от 2,5 до 3. Таким образом, температура воздуха может быть уменьшена ниже предельной температуры образования оксидов азота, а также материалов излучающей трубы.
В другом варианте исполнения изобретения между первичной и вторичной горелками подключен корректирующий элемент в виде компенсатора для компенсации вызванных тепловыми эффектами изменений длины внутри излучающей трубы. Этот компенсатор, предпочтительно выполненный в виде осевого компенсатора, воспринимает движение излучающей трубы вдоль оси, тем самым предотвращая повреждения излучающей трубы.
В дополнительном варианте исполнения изобретения первичная горелка и/или вторичная горелка включают в себя газовое сопло, причем вентилятор служит для обдува газового сопла воздухом для горения, при этом смесительная камера горючего газа для предварительного смешивания горючего газа и воздуха для горения отсутствует, и газовое сопло питается исключительно горючим газом. Благодаря этому обеспечивается более простая и экономичная конструкция горелки. Вопреки ожиданиям было показано, что благодаря высокой химической активности водорода, достигается его полное сгорание без предварительного смешивания с воздухом для горения. При этом, до необходимого смешивания водорода с воздухом для горения, обтекающим газовое сопло, получается большое расстояние между пламенем и газовым соплом, что предотвращает термическое повреждение газового сопла. Кроме того, было показано, что также отсутствует опасность обратного удара пламени, благодаря чему не требуется необходимый, в соответствии с уровнем техники, стабилизатор пламени в виде перфорированной пластины или проволочной сетки.
В дополнительном варианте исполнения изобретения первичная горелка включает в себя газовое сопло, которое питает водородом смесительный патрубок, расположенный в излучающей трубе, причем смесительный патрубок с помощью вентилятора обтекается воздухом для горения, причем газовое сопло со смесительным патрубком образуют эжектор, а рабочей средой эжектора служит подаваемый газовым соплом водород. Средой, всасываемой в смесительный патрубок, является воздух для сгорания, находящийся в излучающей трубе, причем ниже по направлению пламени на расстоянии от смесительного патрубка расположено запальное устройство для поджигания смеси из водорода и воздуха для горения. Благодаря этому, в равной мере обеспечивается подача смеси водорода и воздуха для горения с заданным соотношением компонентов. Благодаря тому, что водород смешивается с воздухом для горения снаружи вентилятора только в смесительном патрубке, снижаются требования к материалу вентилятора, так как здесь отсутствует риск обратного удара пламени в вентилятор. Предпочтительно, чтобы в смесительном патрубке на конце, направленном в направлении пламени, располагалось устройство блокировки обратного удара. Это предотвращает обратный удар пламени в смесительный патрубок.
В усовершенствованном варианте изобретения перед первичной горелкой в направлении пламени располагается камера смешивания воздуха для горения, соединенная с источником воздуха и соединенным с излучающей трубой отводящим каналом для отработанного газа. Благодаря подаче отработанных газов в воздух для горения, обеспечивается снижение содержания кислорода, что позволяет снизить температуру пламени. Кроме того, за счет рециркуляции отработанного газа обеспечивается снижение эмиссии оксидов азота.
В другом варианте исполнения изобретения вентилятор расположен перед первичной горелкой по направлению пламени, а камера смешивания воздуха для горения расположена внутри вентилятора. Это обеспечивает хорошее смешивание воздуха для горения и отработанного газа внутри вентилятора.
В дополнительном варианте исполнения изобретения соединение между отводящим каналом для отработанного газа и камерой смешивания воздуха для горения включает в себя ответвительное устройство, которое определяет отношение объемного расхода отработанного газа, отведенного через ответвитель, и направленного в камеру смешивания воздуха для горения к общему объемному расходу отработанного газа. Это позволяет регулировать содержание кислорода в смеси воздуха для горения с отработанным газом. Предпочтительно, чтобы ответвительное устройство включало в себя регулирующее устройство, позволяющее регулировать отношение объемного расхода отработанного газа, отведенного через ответвитель, к объемному расходу воздуха для горения.
Другие усовершенствования и варианты исполнения изобретения указаны в остальных зависимых пунктах формулы изобретения. Примеры исполнения изобретения представлены на чертежах и далее описаны в деталях.
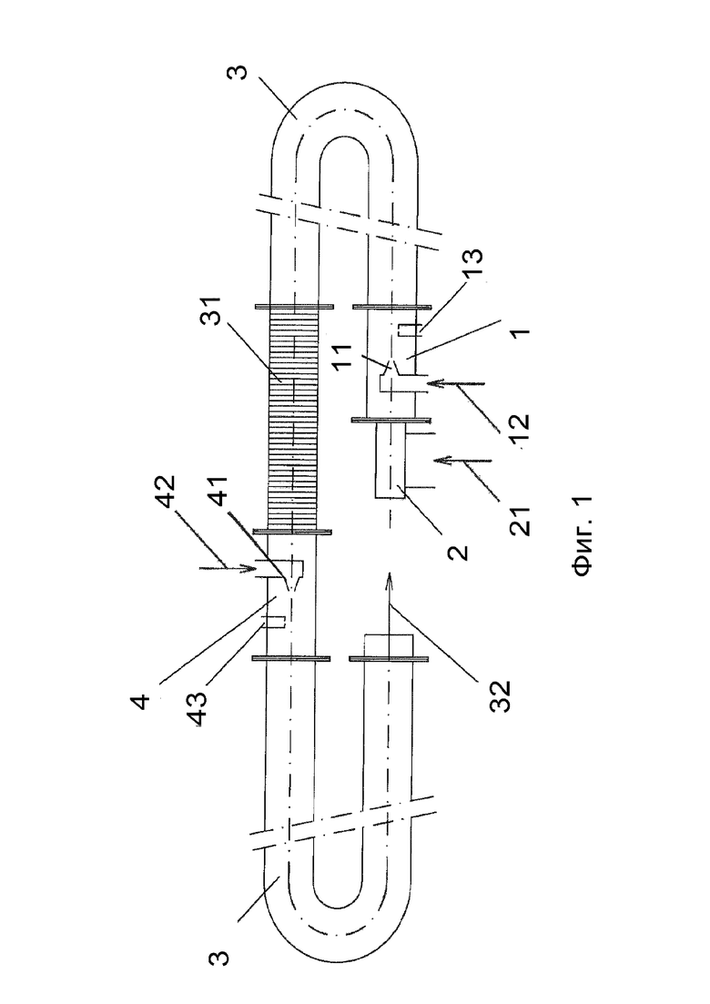
На фиг.1 представлено схематичное изображение излучателя темного типа,
На фиг.2 представлено схематичное изображение излучателя темного типа во втором варианте исполнения, и
На фиг.3 представлено схематичное изображение излучателя темного типа в третьем варианте исполнения.
Выбранный в качестве примера исполнения излучатель темного типа, согласно фиг. 1, включает в себя первичную горелку 1, которая соединена с вентилятором 2, к которой подключена излучающая труба 3. Излучающая труба 3 на фиг. 1 только намечена; излучающая труба 3 вполне может быть несколько метров в длину и состоять из нескольких излучающих отрезков трубы. В примере исполнения излучающая труба 3 выполнена в виде особо жаропрочной трубы из высококачественной стали. В качестве альтернативы также могут использоваться специальные стали с термически нанесенной оксидной пленкой из алюминия. Излучающая труба 3 в примере исполнения заключена внутри не представленного на фиг. отражателя, который в примере исполнения изготовлен из алюминиевого листа с рельефной поверхностью и имеет с обеих сторон листовые диафрагмы для снижения конвекционных потерь.
Первичная горелка 1 включает в себя газовое сопло 11, служащее в качестве смесительного сопла для газа и воздуха, которое в примере исполнения оснащено устройством блокировки обратного удара и соединено с подводом водорода 12. На расстоянии от газового сопла 11 в первичной горелке 1 расположен запальный электрод 13. Вентилятор 2 со стороны всасывания соединен с подводом воздуха для горения 21 и настроен на первичную горелку 1 таким образом, что он обеспечивает обтекание газового сопла 11 воздухом для горения. Газообразный водород, выходящий из газового сопла 11, после смешивания с воздухом для горения, подаваемым вентилятором 2, поджигается запальным электродом 13, что создает пламя, распространяющееся через излучающую трубу 3.
В качестве альтернативы газовое сопло также может быть соединено с вентилятором 2, причем вентилятор 2 со стороны всасывания соединен с эжектором, у которого подающий патрубок соединен с подводом воздуха для горения, а впускной патрубок с подводом водорода. Воздух для горения, всасываемый вентилятором 2, служит здесь в качестве рабочей среды, обеспечивающей всасывание водорода. Со стороны напора к газовому соплу 11, в данном случае, с помощью вентилятора 2 подается смесь водорода и воздуха для горения, которая после выхода из газового сопла 11 поджигается запальным электродом 12.
К первичной горелке 1 в направлении пламени примыкает U-образная излучающая труба 3, которая через корректирующий элемент 31 соединена со вторичной горелкой 4. Корректирующий элемент в примере исполнения представляет собой осевой компенсатор, воспринимающий движения трубопровода вдоль оси. К вторичной горелке 4, в свою очередь, примыкает вторая часть излучающей трубы 3, которая в примере исполнения также имеет U-образную форму.
Вторичная горелка, в свою очередь, включает в себя газовое сопло 41, соединенное с подводом водорода 42, причем на расстоянии от газового сопла 41 расположен запальный электрод 43.
Вентилятор 2 обдувает газовое сопло 11 первичной горелки 1 воздухом для горения. Смесь водорода и воздуха для горения, образующаяся перед газовым соплом 11, поджигается запальным электродом 13, за счет чего на расстоянии от водородного сопла 11 образуется первое пламя. Поток отработанного газа от первого пламени протекает через корректирующий элемент 31 и обтекает газовое сопло 41 вторичной горелки 4. Смесь потока отработанного газа и водорода, образующаяся перед газовым соплом 41, имеет достаточно высокое содержание кислорода, так что она может быть подожжена запальным электродом 43, за счет чего образуется второе пламя, распространяющееся вдоль второй части излучающей трубы 3. Поток отработанного газа 32 от второго пламени отводится из второй части излучающей трубы 3. Корректирующий элемент 31, расположенный в отрезке излучающей трубы 3, который из-за вторичной горелки 4 подвергается сильному перепаду температуры, служит для компенсации вызванных тепловыми эффектами изменений длины внутри излучающей трубы.
В данном примере исполнения к первичной горелке 1 с помощью вентилятора 2 подается воздух для горения, обтекающий газовое сопло 11 первичной горелки 1. В видоизмененном варианте исполнения вентилятор 2, подключенный перед первичной горелкой 1, также может быть соединен с эжектором, причем всасываемый воздух для горения служит рабочей средой, с помощью которой всасывается поток отработанного газа из второй части излучающей трубы 3. Таким образом, может регулироваться температура первого пламени первичной горелки 1. Кроме того, данный способ позволяет дополнительно снизить содержание оксидов азота в отводимом отработанном газе.
В примере исполнения, согласно фиг. 2, в первичной горелке 1 расположен смесительный патрубок 14, соединенный с излучающей трубой 3, а внутрь него вдается газовое сопло 11, причем между смесительным патрубком 14 и газовым соплом 11 образуется радиальный всасывающий зазор 15 эжектора, который сформирован газовым соплом 11 и смесительным патрубком 14.
Смесительный патрубок 14 удерживается в первичной горелке 1 с помощью зажимающего патрубка разделительной диафрагмы 16 с отверстиями для протекания газа. У смесительного патрубка 14 на конце, расположенном напротив газового сопла 11, размещено устройство блокировки обратного удара 141. В остальном конструкция излучателя темного типа в данном примере исполнения соответствует излучателю темного типа в вышеописанном примере исполнения согласно фиг. 1, причем приведенные примеры исполнения для добавления части потока отработанного газа от второй части излучающей трубы 3 к воздуху для горения, всасываемому вентилятором 2, возможны и в данном примере исполнения.
Вентилятор 2 ориентирован таким образом, что он обдувает воздухом для горения газовое сопло 11 и смесительный патрубок 14. За счет потока водорода, который подается газовым соплом 11 в смесительный патрубок 14, через всасывающий зазор 15 всасывается воздух для горения, который смешивается с водородом. Смесь водорода с воздухом для горения, выходящая из патрубка 14, поджигается запальным электродом 13, расположенным на расстоянии от смесительного патрубка 14, причем образуется пламя, распространяющееся в излучающую трубу 3 по длине трубы. Часть воздуха для горения 5, который вдувается в первичную горелку 1 вентилятором 2, протекает через отверстия для протекания газа разделительной диафрагмы 16 и обтекает пламя, распространяющееся в излучающую трубу 3, охлаждая его. Эжектор, образованный газовым соплом 11 и смесительным патрубком 14, устроен так, что в смесительном патрубке 14 к водороду подается воздух для горения с коэффициентом избытка воздуха 2,5, за счет чего достигается температура пламени около 900°С.
В примере исполнения, согласно фиг. 3, во вторичной горелке ниже по направлению пламени ко второй части излучающей трубы 3 подсоединяется эжекторная труба 5, соединенная с вентилятором 2 через всасывающую трубу 22.
Эжекторная труба 5 (ответвительное устройство) включает в себя основной участок трубы 51, через который излучающая труба 3 соединяется с всасывающей трубой 22. От основного участка трубы 51 отходит труба отвода отработанного газа 52, а также, на расстоянии от нее, труба подачи воздуха для горения 53. Между трубой подачи отработанного газа 52 и трубой подачи воздуха для горения 53 в основном участке трубы 51 расположена рециркуляционная диафрагма 54. Поток воздуха для горения 531, всасываемый вентилятором 2 через всасывающую трубу 22, служит в качестве рабочей среды эжекторной трубы 5, через которую сквозь рециркуляционную диафрагму 54 всасывается часть потока отработанного газа 521. Получаемая таким образом смесь отработанного газа с воздухом для горения, с помощью вентилятора 2 подается в первичную горелку 1, где она обтекает газовое сопло 11. С помощью рециркуляционной диафрагмы 54 можно настроить долю потока отработанного газа в потоке воздуха для горения, чем, в свою очередь, определяется содержание кислорода в смеси отработанного газа и воздуха для горения, обтекающей водородное сопло 11. Основной поток отработанного газа отводится через трубу для отвода отработанного газа 52.
Первичная горелка 1, части излучающей трубы 3, вторичная горелка 4, эжекторная труба 5 и вентилятор 2, соединенный с всасывающей трубой 22, соединены друг с другом фланцевыми соединениями.
| название | год | авторы | номер документа |
|---|---|---|---|
| ИЗЛУЧАТЕЛЬ ТЁМНОГО ТИПА | 2022 |
|
RU2838238C2 |
| ИНФРАКРАСНЫЙ ОБОГРЕВАТЕЛЬ | 2022 |
|
RU2837558C2 |
| Излучатель светлого типа | 2022 |
|
RU2830603C2 |
| ГАЗОВАЯ МНОГОФАКЕЛЬНАЯ ГОРЕЛКА | 2002 |
|
RU2234030C2 |
| КОНСТРУКЦИЯ ДЛЯ СМЕШИВАНИЯ ГАЗА И ВОЗДУХА И ГОРЕЛКА | 2022 |
|
RU2832147C2 |
| РАДИАЦИОННАЯ ГАЗОВАЯ ГОРЕЛКА И СПОСОБ ПРОВЕДЕНИЯ ПРОЦЕССА ГОРЕНИЯ В НЕЙ | 2011 |
|
RU2462661C1 |
| УНИВЕРСАЛЬНЫЙ ПОРИСТЫЙ НАСАДОК ДЛЯ БЕСПЛАМЕННОЙ ГАЗОВОЙ ГОРЕЛКИ | 2006 |
|
RU2310129C1 |
| СПОСОБ СЖИГАНИЯ ТОПЛИВНОГО ГАЗА И УСТРОЙСТВО ДЛЯ ЕГО ОСУЩЕСТВЛЕНИЯ | 1995 |
|
RU2093750C1 |
| Малоэмиссионная вихревая горелка | 2018 |
|
RU2693117C1 |
| ГОРЕЛКА | 2006 |
|
RU2306481C1 |
Изобретение относится к области энергетики. Излучатель темного типа с первой горелкой, вентилятором (2) и излучающей трубой (3), причем первая горелка соединена с подводом горючего газа, причем вентилятор (2) служит для того, чтобы подавать к первой горелке воздух для горения, причем первая горелка служит для того, чтобы подавать пламя в излучающую трубу (3). Подвод горючего газа соединен с источником водорода в качестве источника горючего газа, и что далее по направлению пламени на расстоянии от первой горелки, служащей в качестве первичной горелки (1), в излучающей трубе (3) расположена вторичная горелка (4), у которой подвод горючего газа соединен с источником водорода в качестве источника горючего газа, причем на вторичную горелку (4) в качестве воздуха для горения подается поток отработанного газа от расположенной выше первичной горелки (1). Изобретение позволяет снизить выбросы вредных веществ. 8 з.п. ф-лы, 3 ил.
1. Излучатель темного типа с первой горелкой, вентилятором (2) и излучающей трубой (3), причем первая горелка соединена с подводом горючего газа, причем вентилятор (2) служит для того, чтобы подавать к первой горелке воздух для горения, причем первая горелка служит для того, чтобы подавать пламя в излучающую трубу (3), отличающийся тем, что подвод горючего газа соединен с источником водорода в качестве источника горючего газа, и что далее по направлению пламени на расстоянии от первой горелки, служащей в качестве первичной горелки (1), в излучающей трубе (3) расположена вторичная горелка (4), у которой подвод горючего газа соединен с источником водорода в качестве источника горючего газа, причем на вторичную горелку (4) в качестве воздуха для горения подается поток отработанного газа от расположенной выше первичной горелки (1).
2. Излучатель по п. 1, отличающийся тем, что вентилятор (2) соединен с эжектором, у которого впускной патрубок соединен с подводом водорода, причем воздух для горения, всасываемый вентилятором (2), служит рабочей средой так, что на горелку (1) вентилятором (2) подается смесь водорода с воздухом для горения.
3. Излучатель по п. 1 или 2, отличающийся тем, что между первичной горелкой (1) и вторичной горелкой (4) включен корректирующий элемент (31) для вызванных тепловыми эффектами изменений длины внутри излучающей трубы (3).
4. Излучатель по любому из вышеприведенных пунктов, отличающийся тем, что первичная горелка (1) включает в себя газовое сопло, причем вентилятор (2) служит для обдува газового сопла (11) воздухом для горения и причем смесительная камера горючего газа для предварительного смешивания горючего газа и воздуха для горения отсутствует, и газовое сопло питается исключительно горючим газом.
5. Излучатель по любому из пп. 1-3, отличающийся тем, что первичная горелка (1) включает в себя газовое сопло (11) и смесительный патрубок (14), который питает водородом газовое сопло (11), причем вентилятор (2) обдувает смесительный патрубок (14) воздухом для горения, причем газовое сопло (11) со смесительным патрубком (14) образуют эжектор, причем рабочей средой эжектора является водород, подаваемый газовым соплом (11), а средой, всасываемой в смесительный патрубок (14) - воздух для горения, находящийся в излучающей трубе (3), причем ниже по направлению пламени на расстоянии от смесительного патрубка (14) расположено запальное устройство (13) для поджига смеси водорода с воздухом для горения.
6. Излучатель по одному из вышеприведенных пунктов, отличающийся тем, что выше по направлению пламени перед первичной горелкой (1) расположена камера смешивания воздуха для горения, которая соединена с источником воздуха для горения и отводящим каналом для отработанного газа.
7. Излучатель по п. 6, отличающийся тем, что выше по направлению пламени перед горелкой (1) расположен вентилятор (2) и камера смешивания воздуха для горения расположена внутри вентилятора (2).
8. Излучатель по п. 6 или 7, отличающийся тем, что соединение между отводящим каналом для отработанного газа и камерой смешивания воздуха для горения включает в себя ответвительное устройство (5), которое определяет отношение объемного расхода отработанного газа, отведенного через ответвительное устройство, к объемному расходу воздуха для горения.
9. Излучатель по п. 8, отличающийся тем, что ответвительное устройство (5) включает в себя регулирующее устройство, позволяющее регулировать отношение объемного расхода отработанного газа, отведенного через ответвительное устройство, к объемному расходу воздуха для горения.
| US 8475163 B2, 02.07.2013 | |||
| DE 20304733 U1, 18.09.2003 | |||
| US 10823403 B2, 03.11.2020 | |||
| JP 2005055098 A, 03.03.2005 | |||
| RU 2015127618 A, 13.01.2017. |
Авторы
Даты
2024-12-17—Публикация
2022-12-06—Подача