ПРИОРИТЕТНЫЕ ЗАЯВКИ
[0001] Настоящая заявка испрашивает приоритет и права, основанные на следующих заявках:
[0002] предварительная заявка на патент США № 62/614 930, озаглавленная «HIGH-THROUGHPUT SEQUENCING WITH SEMICONDUCTOR-BASED DETECTION», которая поданная 8 января 2018 г., (№ в реестре поверенного: ILLM 1003-1/IP-1653-PRV);
[0003] предварительная заявка на патент США № 62/614,934, озаглавленная «SYSTEMS AND DEVICES FOR HIGH-THROUGHPUT SEQUENCING WITH SEMICONDUCTOR-BASED DETECTION», поданная 8 января 2018 г., (№ в реестре поверенного: ILLM 1003-2/IP-1656-PRV); и
[0004] предварительная заявка на патент Нидерландов № 2020758, озаглавленная «HIGH-THROUGHPUT SEQUENCING WITH SEMICONDUCTOR-BASED DETECTION», поданная 12 апреля 2018 г., (№ в реестре поверенного: ILLM 1003-6/IP-1653-N).
[0005] Таким образом, приоритетные заявки включены посредством ссылки для всех целей.
ПЕРЕКРЕСТНЫЕ ССЫЛКИ НА РОДСТВЕННЫЕ ЗАЯВКИ
[0006] Следующие заявки на патент полностью включены в настоящий документ для всех целей:
[0007] основная заявка на патент США «SYSTEMS AND DEVICES FOR HIGH-THROUGHPUT SEQUENCING WITH SEMICONDUCOR-BASED DETECTION», поданная одновременно, (№ в реестре поверенного: ILLM 1003-4/IP-1656-PRV);
[0008] предварительная заявка на патент США, озаглавленная «MULTIPLEXING OF AN ACTIVE SENSOR DETECTOR USING STRUCTURED ILLUMINATION», поданная 8 января 2018 г, (№ в реестре поверенного: IP-1623-PRV);
[0009] основная заявка на патент США № 13/833,619, озаглавленная «BIOSENSORS FOR BIOLOGICAL OR CHEMICAL ANALYSIS AND SYSTEMS AND METHODS FOR SAME», поданная 15 марта 2013 г., (№ в реестре поверенного: IP-0626-US);
[0010] основная заявка на патент США № 15/175,489, озаглавленная «BIOSENSORS FOR BIOLOGICAL OR CHEMICAL ANALYSIS AND METHODS OF MANUFACTURING THE SAME», поданная 7 июня 2016 г., (№ в реестре поверенного: IP-0689-US);
[0011] основная заявка на патент США № 13/882,088, озаглавленная «MICRODEVICES AND BIOSENSOR CARTRIDGES FOR BIOLOGICAL OR CHEMICAL ANALYSIS AND SYSTEMS AND METHODS FOR THE SAME», поданная 26 апреля 2013 г., (№ в реестре поверенного: IP-0462-US); и
[0012] основная заявка на патент США № 13/624,200, озаглавленная «METHODS AND COMPOSITIONS FOR NUCLEIC ACID SEQUENCING», поданная 21 сентября 2012 г., (№ в реестре поверенного: IP-0538-US).
ОБЛАСТЬ ТЕХНИКИ
[0013] Варианты реализации раскрываемой технологии в целом относятся к секвенированию с детектированием на основе КМОП и, более конкретно, к системам и способам для повышения пропускной способности секвенирования с помощью детектирования на основе КМОП.
УРОВЕНЬ ТЕХНИКИ
[0014] Различные протоколы в биологических или химических исследованиях включают выполнение большого количества управляемых реакций на локальных опорных поверхностях или в предварительно определенных реакционных камерах (или лунках). При этом можно наблюдать или детектировать требуемые реакции, а последующий анализ может помочь в идентификации и выявлении свойств химических веществ, участвующих в реакции. Например, в некоторых мультиплексных анализах неизвестный аналит (например, кластеры клонально амплифицированных нуклеиновых кислот), имеющее идентифицируемую метку (например, флуоресцентную метку), может быть подвергнуто воздействию тысяч известных зондов в контролируемых условиях. Каждый известный зонд может быть помещен в соответствующую лунку микропланшета или проточной кюветы. Наблюдение за химическими реакциями, которые происходят между известными зондами и неизвестным аналитом в лунках, может помочь в идентификации или выявлении свойств анализируемого вещества. В число других примеров таких протоколов входят известные процессы секвенирования ДНК, такие как секвенирование путем синтеза (SBS) или секвенирование с циклическим массивом.
[0015] В некоторых стандартных протоколах флуоресцентного детектирования используют оптическую систему для направления возбуждающего света на флуоресцентно меченные аналиты, а также для обнаружения (детектирования) флуоресцентных сигналов, которые могут излучать аналиты. Однако такие оптические системы могут быть довольно дорогими и требуют больше места на рабочей поверхности стола. Например, оптическая система может содержать систему линз, фильтров и источников света. В других предлагаемых системах детектирования управляемые реакции происходят непосредственно на твердотельном формирователе изображения (например, датчик на основе прибора с зарядовой связью (ПЗС) или комплементарной структуры металл-оксид-полупроводник (КМОП)), который не требует большого оптического блока для детектирования флуоресцентных излучений.
[0016] Однако предлагаемые твердотельные системы формирования изображения могут иметь некоторые ограничения. Например, твердотельные формирователи изображений ограничиваются определением каждым датчиком (или пикселем) оснований одного кластера, и их пропускная способность зависит от плотности пикселей датчиков, которая является функцией от шага пикселей. Так как существуют ограничения на значительное уменьшение шага пикселей, возникает потребность в использовании других решений для повышения пропускной способности твердотельных формирователей изображения.
[0017] Появляется возможность повышения пропускной способности твердотельных систем формирования изображения за счет определения каждым датчиком (или пикселем) оснований нескольких кластеров и создания систем и устройств, которые способствуют определению каждым датчиком (или пикселем) оснований нескольких кластеров.
[0018] Варианты реализации настоящего изобретения в основном относятся к биологическому или химическому анализу и, более конкретно, к системам и способам, использующим устройства детектирования для биологического или химического анализа.
[0019] Различные протоколы в биологических или химических исследованиях включают выполнение большого количества управляемых реакций на локальных опорных поверхностях или в предварительно определенных реакционных камерах. При этом можно наблюдать или детектировать требуемые реакции, а последующий анализ может помочь в идентификации и выявлении свойств химических веществ, участвующих в реакции. Например, в некоторых мультиплексных анализах неизвестные аналиты, имеющее идентифицируемые метки (например, флуоресцентные метки), могут быть подвернуты воздействию тысяч известных зондов в контролируемых условиях. Каждый известный зонд может быть помещен в соответствующее место на поверхности. Наблюдение за химическими реакциями, которые происходят между известными зондами и неизвестным аналитом на поверхности, может помочь в идентификации или выявлении свойств аналита. В число других примеров таких протоколов входят известные процессы секвенирования ДНК, такие как секвенирование путем синтеза (SBS) или секвенирование с циклическим массивом.
[0020] В некоторых стандартных протоколах флуоресцентного детектирования используют оптическую систему для направления возбуждающего света на флуоресцентно меченные аналиты, а также для обнаружения (детектирования) флуоресцентных сигналов, которые могут излучать аналиты. Производительность стандартных методов формирования изображения ограничивается, среди прочего, количеством пикселей, имеющихся в устройстве детектирования. В силу этого такие оптические системы могут быть довольно дорогими и требуют относительно много места на рабочем столе при детектировании поверхностей, имеющих большие коллекции аналитов. Например, для чипов нуклеиновых кислот, используемых в анализах генотипирования, экспрессии или секвенирования, может потребоваться детектирование миллионов различных участков на каждый квадратный сантиметр чипа. Ограничения пропускной способности повышают стоимость и снижают точность этих анализов.
[0021] Таким образом, существует потребность в устройствах и способах с более высокой пропускной способностью, например, для детектирования чипов нуклеиновых кислот. Настоящее изобретение удовлетворяет эту потребность и также обеспечивает другие преимущества.
РАСКРЫТИЕ СУЩНОСТИ ИЗОБРЕТЕНИЯ
[0022] Согласно одному варианту реализации предложено устройство для определения оснований, которое содержит приемник, выполненный с возможностью удержания биодатчика. Биодатчик имеет (a) поверхность для образцов, которая содержит множество кластеров в процессе последовательности событий анализа образцов, (b) матрицу датчиков, выполненных с возможностью формирования множества последовательностей сигналов пикселей, и (c) порт связи, который выводит множество последовательностей сигналов пикселей. Матрица имеет N активных датчиков, причем датчики в матрице расположены относительно поверхности для образцов, чтобы формировать соответствующие сигналы пикселей во время последовательности событий анализа образцов из соответствующих N областей пикселей поверхности для образцов для создания множества последовательностей сигналов пикселей. Устройство также содержит процессор сигналов, соединенный с приемником. Процессор сигналов выполнен с возможностью приема и обработки множества последовательностей сигналов пикселей для классификации результатов последовательности событий анализа образцов в множестве кластеров, включая использование множества последовательностей сигналов пикселей от N активных датчиков для классификации результатов последовательности событий анализа образцов из N + M кластеров в множестве кластеров, где M является положительным целым числом.
[0023] Результаты последовательности событий анализа образцов могут соответствовать нуклеотидным основаниями в кластерах.
[0024] События анализа образцов могут содержать две стадии освещения во временной последовательности, а последовательности сигналов пикселей в множестве последовательностей сигналов пикселей могут содержать набор образцов сигналов для каждого события анализа образцов, причем набор содержит по меньшей мере один сигнал пикселя с каждой из двух стадий освещения.
[0025] Процессор сигналов может содержать логику для классификации результатов для двух кластеров на основании последовательностей сигналов пикселей с одного датчика в матрице датчиков. Логика для классификации результатов для двух кластеров может включать отображение первого сигнала пикселя из набора образцов сигналов для события анализа образцов с конкретного датчика в по меньшей мере четыре ячейки, и отображение второго сигнала пикселя из множества сигналов пикселей для события анализа образцов в по меньшей мере четыре ячейки, и логическое объединение отображения первого и второго сигналов пикселей для классификации результатов для двух кластеров.
[0026] Датчики в матрице датчиков могут быть выполнены в виде детекторов света.
[0027] События анализа образцов могут содержать две стадии освещения во временной последовательности, а последовательности сигналов пикселей в множестве последовательностей сигналов пикселей могут содержать набор образцов сигналов для каждого события анализа образцов, причем набор содержит по меньшей мере один сигнал пикселя с каждой из двух стадий освещения. Первая стадия освещения может вызывать (индуцировать) освещение из данного кластера, указывающее нуклеотидные основания A и T, а вторая стадия освещения может вызвать освещение из данного кластера, указывающее нуклеотидные основания C и T, и результаты классификации могут содержать определение одного из нуклеотидных оснований A, C, T или G.
[0028] Кластеры могут быть распределены неравномерно по областям пикселей поверхности для образцов, а процессор сигналов может исполнять анализ во временной последовательности и пространстве множества последовательностей сигналов пикселей для обнаружения структур освещения, соответствующих отдельным кластерам на поверхности для образцов, и классифицировать результаты событий анализа образцов для отдельных кластеров. Множество последовательностей сигналов пикселей кодируют дифференциальные перекрестные помехи, являющиеся результатом неравномерного распределения по областям пикселей.
[0029] Поверхность для образцов может содержать массив лунок, перекрывающих области пикселей, в том числе по две лунки на область пикселя, при этом две лунки на область пикселя могут включать основную лунку и второстепенную лунку, причем поперечное сечение основной лунки над областью пикселя может быть больше, чем у второстепенной лунки.
[0030] Поверхность для образцов может содержать массив лунок, перекрывающих области пикселей, а события анализа образцов могут включать по меньшей мере одну химическую стадию с K стадиями освещения, где K является положительным целым числом. Стадии освещения из K стадий освещения могут освещать области пикселей под разными углами освещения, а последовательности сигналов пикселей могут содержать набор выборок сигналов для каждого события анализа образцов, причем набор включает K сигналов пикселей для по меньшей мере одной химической стадии событий анализа образцов.
[0031] Поверхность для образцов может содержать массив лунок, перекрывающих области пикселей, а события анализа образцов могу включать первую химическую стадию с K стадиями освещения, где K является положительным целым числом. Стадии освещения из K стадий освещения могут освещать области пикселей под разными углами освещения, а вторая химическая стадия содержит J стадий освещения, где J является положительным целым числом. Стадии освещения из K стадий освещения в первой химической стадии и из J стадий освещения во второй химической стадии могут освещать лунки в массиве лунок под разными углами освещения, а последовательности сигналов пикселей могут содержать набор выборок сигналов для каждого события анализа образцов, причем набор содержит K сигналов пикселей для первой химической стадии плюс J сигналов пикселей для второй химической стадии событий анализа образцов.
[0032] В другом варианте реализации предложен биодатчик для определения оснований. Биодатчик содержит устройство анализа образцов. Устройство анализа образцов содержит поверхность для образцов, которая имеет массив областей пикселей, и твердотельный формирователь изображения, который имеет матрицу датчиков. Каждый датчик формирует сигналы пикселя в каждом цикле определения оснований. Каждый сигнал пикселя представляет свет, получаемый из соответствующей области пикселя поверхности образов. Биодатчик также содержит процессор сигналов, выполненный с возможностью соединения с устройством анализа образцов. Процессор сигналов принимает и обрабатывает сигналы пикселей с датчиков для определения оснований в цикле определения оснований и использует сигналы пикселей из меньшего числа датчиков, чем количество кластеров, основания которых определяют в цикле определения оснований.
[0033] Область пикселя может принимать свет из лунки на поверхности для образцов, а во время цикла определения оснований лунка может содержать более одного кластера.
[0034] Кластер может содержать множество однонитевых фрагментов дезоксирибонуклеиновой кислоты (сокращенно ДНК), которые имеют идентичную последовательность нуклеиновых кислот.
[0035] В другом варианте реализации предложен способ определения оснований. Для цикла определения состояний при секвенировании путем синтеза (сокращенно SBS) способ включает детектирование: (1) первого сигнала пикселя, который представляет свет, принятый из первой области пикселя во время первой стадии освещения цикла определения оснований, и (2) второго сигнала пикселя, который представляет свет, принятый из первой области пикселя во время второй стадии освещения цикла определения оснований. Первая область пикселя находится под множеством кластеров, для которых первая область пикселя является общей. Способ включает использование комбинации первого и второго сигналов пикселей для идентификации нуклеотидных оснований, включенных в каждый кластер множества кластеров, во время цикла определения оснований.
[0036] Способ может также включать отображение первого сигнала пикселя в по меньшей мере четыре ячейки и отображение второго сигнала пикселя в по меньшей мере четыре ячейки и объединение первого и второго отображения сигналов пикселей для идентификации включенных нуклеотидных оснований.
[0037] Способ может также включать применение данного способа для идентификации нуклеотидных оснований, включенных в множество кластеров на множестве областей пикселей во время цикла определения оснований.
[0038] Способ может также включать повторение данного способа в течение последовательных циклов определения оснований для идентификации нуклеотидных оснований, включенных в множество кластеров на множестве областей пикселей во время каждого из циклов определения оснований.
[0039] Для каждого из циклов определения оснований способ может включать детектирование и сохранение первого и второго сигналов пикселей, излучаемых множеством кластеров на множестве областей пикселей, и по завершении циклов определения оснований использование комбинации первого и второго сигналов пикселей для идентификации нуклеотидных оснований, включенных в множество кластеров на множестве областей пикселей во время каждого из предыдущих циклов определения оснований.
[0040] Первая область пикселя может принимать свет из связанной лунки на поверхности для образцов. Первая область пикселя может принимать свет из более чем одной связанной лунки на поверхности для образцов. Первый и второй сигналы пикселя могут быть получены первым датчиком из первой области пикселя. Первый и второй сигналы пикселя могут быть обнаружены процессором сигналов, выполненным с возможностью обработки сигналов пикселей, полученных первым датчиком. Первая стадия освещения может вызывать освещение из первого и второго кластеров для создания излучений из меченных нуклеотидных оснований A и T, а вторая стадия освещения может вызывать освещение из первого и второго кластеров для создания излучений из меченных нуклеотидных оснований C и T.
[0041] В другом варианте реализации предложен способ идентификации областей пикселей с более чем одним кластером на поверхности для образцов биодатчика и определения оснований кластеров в идентифицированных областях пикселей. Способ включает выполнение множества циклов определения оснований, причем каждый цикл определения оснований имеет первую стадию освещения и вторую стадию освещения. Способ включает фиксацию первым датчиком, связанным с областью пикселя поверхности для образцов, (1) первого набора значений интенсивности, формируемых во время первой стадии освещения циклов определения оснований, (2) второго набора значений интенсивности, формируемых во время второй стадии освещения циклов определения оснований. Способ включает подбор шестнадцати распределений для первого и второго наборов значений интенсивности с использованием процессора сигналов, и на основании этого подбора классификацию областей пикселей как имеющих более одного кластера. В течение последующего цикла определения оснований способ включает обнаружение первого и второго наборов значений интенсивности для группы кластеров в области пикселя с использованием процессора сигналов и выбор распределения для группы кластеров. Распределение идентифицирует нуклеотидное основание, присутствующее в каждом кластере группы кластеров.
[0042] Способ может включать подбор, выполняемый с использованием одного или более алгоритмов, в том числе алгоритма кластеризации методом k-средних, алгоритма кластеризации, подобного алгоритму методом k-средних, алгоритма максимизации ожидания и алгоритма на основе гистограммы.
[0043] Способ может включать нормировку значений интенсивности.
[0044] Область пикселя может принимать свет из связанной лунки на поверхности для образцов.
[0045] В другом варианте реализации предложено устройство для определения оснований. Устройство содержит приемник, выполненный с возможностью удержания биодатчика. Биодатчик имеет поверхность для образцов. Поверхность для образцов содержит области пикселей, лежащие под множеством кластеров во время последовательности событий анализа образцов так, что кластеры распределены неравномерно по всем областям пикселей. Биодатчик также имеет матрицу датчиков, выполненных с возможностью формирования множества последовательностей сигналов пикселей. Матрица имеет N активных датчиков. Датчики в матрице расположены относительно поверхности для образцов, чтобы формировать соответствующие сигналы пикселей во время последовательности событий анализа образцов из соответствующих N областей пикселей поверхности для образцов для создания множества последовательностей сигналов пикселей. Биодатчик также имеет порт связи, который выводит множество последовательностей сигналов пикселей. Устройство также содержит процессор сигналов, соединенный с приемником. Процессор сигналов выполнен с возможностью исполнения анализа во временной последовательности и пространстве множества последовательностей сигналов пикселей от N активных датчиков для обнаружения структур освещения, соответствующих N + M отдельным кластерам на поверхности для образцов, где M является положительным целым числом, и классификации результатов последовательностей событий анализа образцов для N + M отдельных кластеров. Множество последовательностей сигналов пикселей кодируют дифференциальные перекрестные помехи, являющиеся результатом неравномерного распределения по областям пикселей.
[0046] Процессор сигналов может использовать обнаруженные структуры освещения для определения местоположения N + M отдельных кластеров на поверхности для образцов на основе N активных датчиков.
[0047] В другом варианте реализации предложено устройство для определения оснований. Устройство содержит биодатчик. Биодатчик имеет поверхность для образцов. Поверхность для образцов содержит области пикселей и массив лунок, перекрывающих области пикселей, в том числе по две лунки на каждую область пикселя. Две лунки на каждую область пикселя содержат основную лунку и второстепенную лунку. Поперечное сечение основной лунки над областью пикселя больше, чем у второстепенной лунки.
[0048] Две лунки могут иметь разные смещения относительно центра области пикселя. Во время события анализа образцов область пикселя может принимать освещение разной величины из двух лунок. Во время события анализа образцов каждая из двух лунок может содержать по меньшей мере один кластер. Во время события анализа образцов область пикселя может принимать некоторую величину освещения из яркого кластера в основной лунке, которая больше величины освещения, принимаемой из тусклого кластера во второстепенной лунке.
[0049] Биодатчик может быть соединен с процессором сигналов. Процессор сигналов может быть выполнен с возможностью приема и обработки множества последовательностей сигналов пикселей от N активных датчиков для идентификации нуклеотидных оснований, присутствующих в N + M кластерах. Для яркого и затененного кластеров это может включать отображение в по меньшей мере четыре ячейки первого сигнала пикселя, формируемого датчиком в соответствии с областью пикселя во время первой стадии освещения события анализа образцов, отображение в по меньшей мере четыре ячейки второго сигнала пикселя, формируемого датчиком во время второй стадии освещения события анализа образцов и логическое объединение отображения первого и второго сигналов пикселей для идентификации нуклеотидных оснований, присутствующих в ярком кластере и тусклом кластере.
[0050] Биодатчик также имеет матрицу датчиков, выполненных с возможностью формирования множества последовательностей сигналов пикселей. Матрица имеет N активных датчиков. Датчики в матрице расположены относительно поверхности для образцов, чтобы формировать соответствующие сигналы пикселей во время последовательности событий анализа образцов из соответствующих N областей пикселей поверхности для образцов для создания множества последовательностей сигналов пикселей. Биодатчик также имеет порт связи, который выводит множество последовательностей сигналов пикселей.
[0051] В еще одном варианте реализации предложено устройство для определения оснований. Устройство содержит биодатчик. Биодатчик имеет поверхность для образцов. Поверхность анализа образцов содержит области пикселей и массив лунок, перекрывающих области пикселей. Устройство также содержит систему освещения. Во время последовательности событий анализа образцов система освещения освещает области пикселей под разными углами освещения, в том числе в течение события анализа образцов в последовательности событий анализа образцов, освещая каждую из лунок при помощи внеосевого освещения для создания несимметрично освещенных областей лунки в каждой лунке.
[0052] Асимметрично освещаемые области лунки могут содержать по меньшей мере основную область лунки и второстепенную область лунки так, что во время события анализа образцов основная область лунки освещена больше, чем второстепенная область лунки. Во время события анализа образцов лунка может содержать более одного кластера, причем каждая из основной и второстепенной областей лунки содержат кластер. Во время события анализа образцов область пикселя, перекрывающая лунку, может принимать некоторую величину освещения из яркого кластера в основной области лунки, которая больше величины освещения, принимаемой из тусклого кластера во второстепенной области лунки.
[0053] Внеосевое освещение может быть под углом сорок пять градусов. В некоторых вариантах реализации каждую область пикселя перекрывает одна лунка. В других вариантах реализации каждую область пикселя перекрывают две лунки.
[0054] Биодатчик может быть соединен с процессором сигналов. Процессор сигналов может быть выполнен с возможностью приема и обработки множества последовательностей сигналов пикселей от N активных датчиков для идентификации нуклеотидных оснований, присутствующих в N + M кластерах. Для яркого и затененного кластеров это может включать отображение в по меньшей мере четыре ячейки первого сигнала пикселя, формируемого датчиком в соответствии с областью пикселя во время первой стадии освещения события анализа образцов, отображение в по меньшей мере четыре ячейки второго сигнала пикселя, формируемого датчиком во время второй стадии освещения события анализа образцов и логическое объединение отображения первого и второго сигналов пикселей для идентификации нуклеотидных оснований, присутствующих в ярком кластере и тусклом кластере.
[0055] Биодатчик также имеет матрицу датчиков, выполненных с возможностью формирования множества последовательностей сигналов пикселей. Матрица имеет N активных датчиков. Датчики в матрице расположены относительно поверхности для образцов, чтобы формировать соответствующие сигналы пикселей во время последовательности событий анализа образцов из соответствующих N областей пикселей поверхности для образцов для создания множества последовательностей сигналов пикселей. Биодатчик также имеет порт связи, который выводит множество последовательностей сигналов пикселей.
[0056] Согласно другому варианту реализации предложено устройство для определения оснований, которое содержит приемник, выполненный с возможностью удержания биодатчика. Биодатчик имеет (a) поверхность для образцов, которая содержит множество кластеров в процессе последовательности событий анализа образцов, (b) матрицу датчиков, выполненных с возможностью формирования множества последовательностей сигналов пикселей, и (c) порт связи, который выводит множество последовательностей сигналов пикселей. Каждый датчик в матрице считывает информацию из одного или более кластеров, расположенных в соответствующих областях пикселей поверхности для образцов, для формирования сигнала пикселя в событии анализа образцов. Матрица имеет N активных датчиков, причем датчики в матрице расположены относительно поверхности для образцов, чтобы формировать соответствующие сигналы пикселей во время последовательности событий анализа образцов из соответствующих N областей пикселей поверхности для образцов для создания множества последовательностей сигналов пикселей. Устройство также содержит процессор сигналов, соединенный с приемником. Процессор сигналов выполнен с возможностью приема и обработки множества последовательностей сигналов пикселей для классификации результатов последовательности событий анализа образцов на кластерах в множестве кластеров. Сигнал пикселя для каждого события анализа образцов в по меньшей мере одной последовательности сигналов в множестве последовательностей сигналов пикселей представляет считанную информацию из по меньшей мере двух кластеров в соответствующей области пикселя. Процессор сигналов использует множество последовательностей сигналов пикселей от N активных датчиков для классификации результатов последовательности событий анализа образцов на N + M кластерах в множестве кластеров, где M является положительным целым числом.
[0057] Результаты последовательности событий анализа образцов могут соответствовать нуклеотидным основаниями в кластерах.
[0058] События анализа образцов могут содержать две стадии освещения во временной последовательности, а указанная по меньшей мере одна последовательность сигналов пикселей в множестве последовательностей сигналов пикселей может содержать один сигнал пикселя, содержащий информацию из по меньшей мере двух кластеров в соответствующей области пикселя с каждой из двух стадий освещения.
[0059] Процессор сигналов может содержать логику для классификации результатов для двух кластеров на основании последовательностей сигналов пикселей из упомянутой по меньшей мере одной последовательности сигналов пикселей. Логика для классификации результатов для двух кластеров может включать отображение первого сигнала пикселя в упомянутой по меньшей мере одной последовательности сигналов пикселей в по меньшей мере четыре ячейки и отображение второго сигнала пикселя в упомянутой по меньшей мере одной последовательности сигналов пикселей в по меньшей мере четыре ячейки и логическое объединение отображения первого и второго сигналов пикселей для классификации результатов двух кластеров.
[0060] Датчики в матрице датчиков могут быть выполнены в виде детекторов света.
[0061] События анализа образцов могут содержать две стадии освещения во временной последовательности, а последовательности сигналов пикселей в множестве последовательностей сигналов пикселей содержат по меньшей мере один сигнал пикселя с каждой из двух стадий освещения. Первая стадия освещения может вызывать освещение из одного или более кластеров в областях пикселей датчиков, указывающее нуклеотидные основания A и T, а вторая стадия освещения может вызывать освещение из одного или более кластеров в областях пикселей датчиков, указывающее нуклеотидные основания C и T, и упомянутая классификация включает определение одного из нуклеотидных оснований A, C, T или G для по меньшей мере двух кластеров с использованием по меньшей мере одной последовательности.
[0062] Кластеры могут быть распределены неравномерно по областям пикселей поверхности для образцов, а процессор сигналов может исполнять анализ во временной последовательности и пространстве множества последовательностей сигналов пикселей для обнаружения структур освещения, соответствующих отдельным кластерам на поверхности для образцов, и классифицировать результаты событий анализа образцов для отдельных кластеров. Множество последовательностей сигналов пикселей кодируют дифференциальные перекрестные помехи, являющиеся результатом неравномерного распределения по областям пикселей.
[0063] Поверхность для образцов может содержать массив лунок, перекрывающих области пикселей, в том числе по две лунки на область пикселя, при этом две лунки на область пикселя могут включать основную лунку и второстепенную лунку, причем поперечное сечение основной лунки над областью пикселя может быть больше, чем у второстепенной лунки.
[0064] Поверхность для образцов может содержать массив лунок, перекрывающих области пикселей, а события анализа образцов могут включать по меньшей мере одну химическую стадию с K стадиями освещения, где K является положительным целым числом. Стадии освещения из K стадий освещения могут освещать области пикселей под разными углами освещения, а последовательности сигналов пикселей могут содержать K сигналов пикселей для по меньшей мере одной химической стадии событий анализа образцов.
[0065] Поверхность для образцов может содержать массив лунок, перекрывающих области пикселей, а события анализа образцов могу включать первую химическую стадию с K стадиями освещения, где K является положительным целым числом. Стадии освещения из K стадий освещения могут освещать области пикселей под разными углами освещения, а вторая химическая стадия содержит J стадий освещения, где J является положительным целым числом. Стадии освещения из K стадий освещения в первой химической стадии и из J стадий освещения во второй химической стадии могут освещать лунки в массиве лунок под разными углами освещения, а последовательности сигналов пикселей могут содержать K сигналов пикселей для первой химической стадии плюс J сигналов пикселей для второй химической стадии событий анализа образцов.
[0066] В еще одном варианте реализации предложен биодатчик для определения оснований. Биодатчик содержит устройство анализа образцов. Устройство анализа образцов содержит поверхность для образцов, которая имеет массив областей пикселей, и твердотельный формирователь изображения, который имеет матрицу датчиков. Каждый датчик формирует сигналы пикселя в каждом цикле определения оснований. Каждый сигнал пикселя представляет свет, получаемый в одном цикле определения оснований из одного или более кластеров в соответствующей области пикселя поверхности образов. Биодатчик также содержит процессор сигналов, выполненный с возможностью соединения с устройством анализа образцов. Процессор сигналов принимает и обрабатывает сигналы пикселей с датчиков для определения оснований в цикле определения оснований и использует сигналы пикселей из меньшего числа датчиков, чем количество кластеров, основания которых определяют в цикле определения оснований. Сигналы пикселей с меньшего количества датчиков содержат по меньшей мере один сигнал пикселя, представляющий свет, принимаемый из по меньшей мере двух кластеров в соответствующей области пикселя.
[0067] Область пикселя может принимать свет из лунки на поверхности для образцов, а во время цикла определения оснований лунка может содержать более одного кластера.
[0068] Кластер может содержать множество однонитевых фрагментов, которые имеют идентичную последовательность оснований.
[0069] В еще одном варианте реализации предложен способ определения оснований. Для цикла определения состояний при секвенировании путем синтеза (сокращенно SBS) способ включает детектирование: (1) первого сигнала пикселя, который представляет свет, принятый из по меньшей мере двух кластеров в первой области пикселя во время первой стадии освещения цикла определения оснований, и (2) второго сигнала пикселя, который представляет свет, принятый из упомянутых по меньшей мере двух кластеров в первой области пикселя во время второй стадии освещения цикла определения оснований. Первая область пикселя находится под множеством кластеров, для которых первая область пикселя является общей. Способ включает использование комбинации первого и второго сигналов пикселей для идентификации нуклеотидных оснований, включенных в каждый кластер из по меньшей мере двух кластеров во время цикла определения оснований.
[0070] Способ может также включать отображение первого сигнала пикселя в по меньшей мере четыре ячейки и отображение второго сигнала пикселя в по меньшей мере четыре ячейки и объединение первого и второго отображения сигналов пикселей для идентификации включенных нуклеотидных оснований.
[0071] Способ может также включать применение данного способа для идентификации нуклеотидных оснований, включенных в множество кластеров на множестве областей пикселей во время цикла определения оснований.
[0072] Способ может также включать повторение данного способа в течение последовательных циклов определения оснований для идентификации нуклеотидных оснований, включенных в множество кластеров на множестве областей пикселей во время каждого из циклов определения оснований.
[0073] Для каждого из циклов определения оснований способ может включать детектирование и сохранение первого и второго сигналов пикселей, излучаемых множеством кластеров на множестве областей пикселей, и по завершении циклов определения оснований использование комбинации первого и второго сигналов пикселей для идентификации нуклеотидных оснований, включенных в множество кластеров на множестве областей пикселей во время каждого из предыдущих циклов определения оснований.
[0074] Первая область пикселя может принимать свет из связанной лунки на поверхности для образцов. Первая область пикселя может принимать свет из более чем одной связанной лунки на поверхности для образцов. Первый и второй сигналы пикселя могут быть получены первым датчиком из первой области пикселя. Первый и второй сигналы пикселя могут быть обнаружены процессором сигналов, выполненным с возможностью обработки сигналов пикселей, полученных первым датчиком. Первая стадия освещения может вызывать освещение из первого и второго кластеров для создания излучений из меченных нуклеотидных оснований A и T, а вторая стадия освещения может вызывать освещение из первого и второго кластеров для создания излучений из меченных нуклеотидных оснований C и T.
[0075] В другом варианте реализации предложен способ идентификации областей пикселей с более чем одним кластером на поверхности для образцов биодатчика и определения оснований кластеров в идентифицированных областях пикселей. Способ включает выполнение множества циклов определения оснований, причем каждый цикл определения оснований имеет первую стадию освещения и вторую стадию освещения. Способ включает фиксацию первым датчиком, связанным с областью пикселя поверхности для образцов, (1) первого набора значений интенсивности, формируемых во время первой стадии освещения циклов определения оснований, (2) второго набора значений интенсивности, формируемых во время второй стадии освещения циклов определения оснований. Способ включает подбор для первого и второго наборов значений интенсивности набора распределений с использованием процессора сигналов, и на основании этого подбора классификацию областей пикселей как имеющих более одного кластера. В течение последующего цикла определения оснований способ включает обнаружение первого и второго наборов значений интенсивности для группы кластеров в области пикселя с использованием процессора сигналов и выбор распределения для группы кластеров. Распределение идентифицирует нуклеотидное основание, присутствующее в каждом кластере группы кластеров.
[0076] Способ может включать подбор, выполняемый с использованием одного или более алгоритмов, в том числе алгоритма кластеризации методом k-средних, алгоритма кластеризации, подобного алгоритму методом k-средних, алгоритма максимизации ожидания и алгоритма на основе гистограммы.
[0077] Способ может включать нормировку значений интенсивности.
[0078] Область пикселя может принимать свет из связанной лунки на поверхности для образцов.
[0079] В другом варианте реализации предложено устройство для определения оснований. Устройство содержит приемник, выполненный с возможностью удержания биодатчика. Биодатчик имеет поверхность для образцов. Поверхность для образцов содержит области пикселей, лежащие под множеством кластеров во время последовательности событий анализа образцов так, что кластеры распределены неравномерно по всем областям пикселей. Биодатчик также имеет матрицу датчиков, выполненных с возможностью формирования множества последовательностей сигналов пикселей. Каждый датчик в матрице считывает информацию из одного или более кластеров, расположенных в соответствующих областях пикселей поверхности для образцов, для формирования сигнала пикселя в событии анализа образцов. Матрица имеет N активных датчиков. Датчики в матрице расположены относительно поверхности для образцов, чтобы формировать соответствующие сигналы пикселей во время последовательности событий анализа образцов из соответствующих N областей пикселей поверхности для образцов для создания множества последовательностей сигналов пикселей. Биодатчик также имеет порт связи, который выводит множество последовательностей сигналов пикселей. Устройство также содержит процессор сигналов, соединенный с приемником. Процессор сигналов выполнен с возможностью исполнения анализа во временной последовательности и пространстве множества последовательностей сигналов пикселей от N активных датчиков для обнаружения структур освещения, соответствующих N + M отдельным кластерам на поверхности для образцов, где M является положительным целым числом, и классификации результатов последовательностей событий анализа образцов для N + M отдельных кластеров. Сигнал пикселя для каждого события анализа образцов в по меньшей мере одной последовательности сигналов пикселей в множестве последовательностей сигналов пикселей представляет считанную информацию из по меньшей мере двух кластеров в соответствующей области пикселя, а множество последовательностей сигналов пикселей кодирует дифференциальные помехи между по меньшей мере двумя кластерами, являющиеся результатом их неравномерного распределения по областям пикселей.
[0080] Процессор сигналов может использовать обнаруженные структуры освещения для определения местоположения N + M отдельных кластеров на поверхности для образцов на основе N активных датчиков.
[0081] В другом варианте реализации предложено устройство для определения оснований. Устройство содержит биодатчик. Биодатчик имеет поверхность для образцов. Поверхность для образцов содержит области пикселей и массив лунок, перекрывающих области пикселей, причем биодатчик содержит по две лунки на каждую область пикселя. Две лунки на каждую область пикселя содержат основную лунку и второстепенную лунку. Поперечное сечение основной лунки над областью пикселя больше, чем у второстепенной лунки.
[0082] Биодатчик также имеет матрицу датчиков, выполненных с возможностью формирования множества последовательностей сигналов пикселей. Каждый датчик в матрице считывает информацию из двух кластеров, расположенных в соответствующих областях пикселей поверхности для образцов, для формирования сигнала пикселя в событии анализа образцов. Матрица имеет N активных датчиков. Датчики в матрице расположены относительно поверхности для образцов, чтобы формировать соответствующие сигналы пикселей во время последовательности событий анализа образцов из соответствующих N областей пикселей поверхности для образцов для создания множества последовательностей сигналов пикселей. Биодатчик также имеет порт связи, который выводит множество последовательностей сигналов пикселей.
[0083] Две лунки могут иметь разные смещения относительно центра области пикселя. Во время события анализа образцов область пикселя может принимать освещение разной величины из двух лунок. Сигнал пикселя для каждого события анализа образцов в по меньшей мере одной последовательности сигналов в множестве последовательностей сигналов пикселей представляет считанную информацию из двух кластеров в соответствующей области пикселя. Во время события анализа образцов каждая из двух лунок может содержать по меньшей мере один кластер. Во время события анализа образцов область пикселя может принимать некоторую величину освещения из яркого кластера в основной лунке, которая больше величины освещения, принимаемой из тусклого кластера во второстепенной лунке.
[0084] Биодатчик может быть соединен с процессором сигналов. Процессор сигналов может быть выполнен с возможностью приема и обработки множества последовательностей сигналов пикселей от N активных датчиков для идентификации нуклеотидных оснований, присутствующих в N + M кластерах. Для яркого и затененного кластеров это может включать отображение в по меньшей мере четыре ячейки первого сигнала пикселя, формируемого датчиком в соответствии с областью пикселя во время первой стадии освещения события анализа образцов, отображение в по меньшей мере четыре ячейки второго сигнала пикселя, формируемого датчиком во время второй стадии освещения события анализа образцов и логическое объединение отображения первого и второго сигналов пикселей для идентификации нуклеотидных оснований, присутствующих в ярком кластере и тусклом кластере.
[0085] В еще одном варианте реализации предложено устройство для определения оснований. Устройство содержит биодатчик. Биодатчик имеет поверхность для образцов. Поверхность для образцов содержит области пикселей и массив лунок, перекрывающих области пикселей, с по меньшей мере двумя кластерами в каждой области пикселя. Устройство также содержит систему освещения. Во время последовательности событий анализа образцов система освещения освещает области пикселей под разными углами освещения, в том числе в течение события анализа образцов в последовательности событий анализа образцов, освещая каждую из лунок при помощи внеосевого освещения для создания несимметрично освещенных областей лунки в каждой лунке.
[0086] Асимметрично освещаемые области лунки могут содержат по меньшей мере основную область лунки и второстепенную область лунки так, что во время события анализа образцов основная область лунки освещена больше, чем второстепенная область лунки. Во время события анализа образцов лунка может содержать более одного кластера, причем каждая из основной и второстепенной областей лунки содержат кластер. Во время события анализа образцов область пикселя, перекрывающая лунку, может принимать некоторую величину освещения из яркого кластера в основной области лунки, которая больше величины освещения, принимаемой из тусклого кластера во второстепенной области лунки.
[0087] Внеосевое освещение может быть под углом сорок пять градусов. В некоторых вариантах реализации каждую область пикселя перекрывает одна лунка. В других вариантах реализации каждую область пикселя перекрывают две лунки.
[0088] Биодатчик также имеет матрицу датчиков, выполненных с возможностью формирования множества последовательностей сигналов пикселей. Каждый датчик в матрице считывает информацию из по меньшей мере двух кластеров, расположенных в соответствующих областях пикселей поверхности для образцов, для формирования сигнала пикселя в событии анализа образцов. Матрица имеет N активных датчиков. Датчики в матрице расположены относительно поверхности для образцов, чтобы формировать соответствующие сигналы пикселей во время последовательности событий анализа образцов из соответствующих N областей пикселей поверхности для образцов для создания множества последовательностей сигналов пикселей. Биодатчик также имеет порт связи, который выводит множество последовательностей сигналов пикселей.
[0089] Биодатчик может быть соединен с процессором сигналов. Процессор сигналов может быть выполнен с возможностью приема и обработки множества последовательностей сигналов пикселей от N активных датчиков для идентификации нуклеотидных оснований, присутствующих в N + M кластерах. Для яркого и затененного кластеров это может включать отображение в по меньшей мере четыре ячейки первого сигнала пикселя, формируемого датчиком в соответствии с областью пикселя во время первой стадии освещения события анализа образцов, отображение в по меньшей мере четыре ячейки второго сигнала пикселя, формируемого датчиком во время второй стадии освещения события анализа образцов и логическое объединение отображения первого и второго сигналов пикселей для идентификации нуклеотидных оснований, присутствующих в ярком кластере и тусклом кластере.
[0090] Другие признаки и аспекты раскрываемой технологии будут очевидны из последующего подробного описания вместе с прилагаемыми чертежами, которые иллюстрируют на примерах признаки в соответствии с вариантами реализации раскрываемой технологии. Данное краткое описание не предназначено для ограничения объема каких бы то ни было изобретений, описанных в настоящем документе.
КРАТКОЕ ОПИСАНИЕ ЧЕРТЕЖЕЙ
[0091] Настоящее изобретение описано подробно в соответствии с одними или более вариантами реализации со ссылкой на следующие чертежи. Фигуры предоставлены только в целях иллюстрации и просто изображают примеры реализации. Кроме того, следует отметить, что для ясности и простоты иллюстрации элементы на фигурах не обязательно изображены в масштабе.
[0092] Некоторые из фигур, включенных в настоящий документ, иллюстрируют различные варианты реализации раскрываемой технологии под разными углами зрения. Хотя в прилагаемом описательном тексте такие представления могут упоминаться как виды «сверху», «снизу» или «сбоку», такие ссылки являются просто описательными и не означают и не требуют, реализации или использования раскрываемой технологии в конкретной пространственной ориентации, если иное не указано в явном виде.
[0093] На Фиг. 1 приведена блок-диаграмма системы определения оснований в соответствии с одним вариантом реализации.
[0094] На Фиг. 2 приведена блок-диаграмма системного контроллера, который может быть использован в системе, изображенной на Фиг. 1.
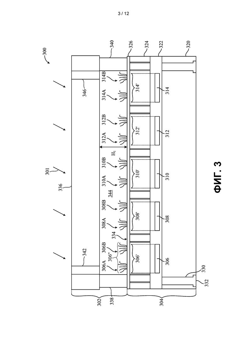
[0095] На Фиг. 3 показано поперечное сечение биодатчика, который может быть использован в различных вариантах реализации. Биодатчик, изображенный на Фиг. 3', имеет области пикселей, каждая из которых содержит более одного кластера во время цикла определения оснований (например, 2 кластера в каждой области пикселя).
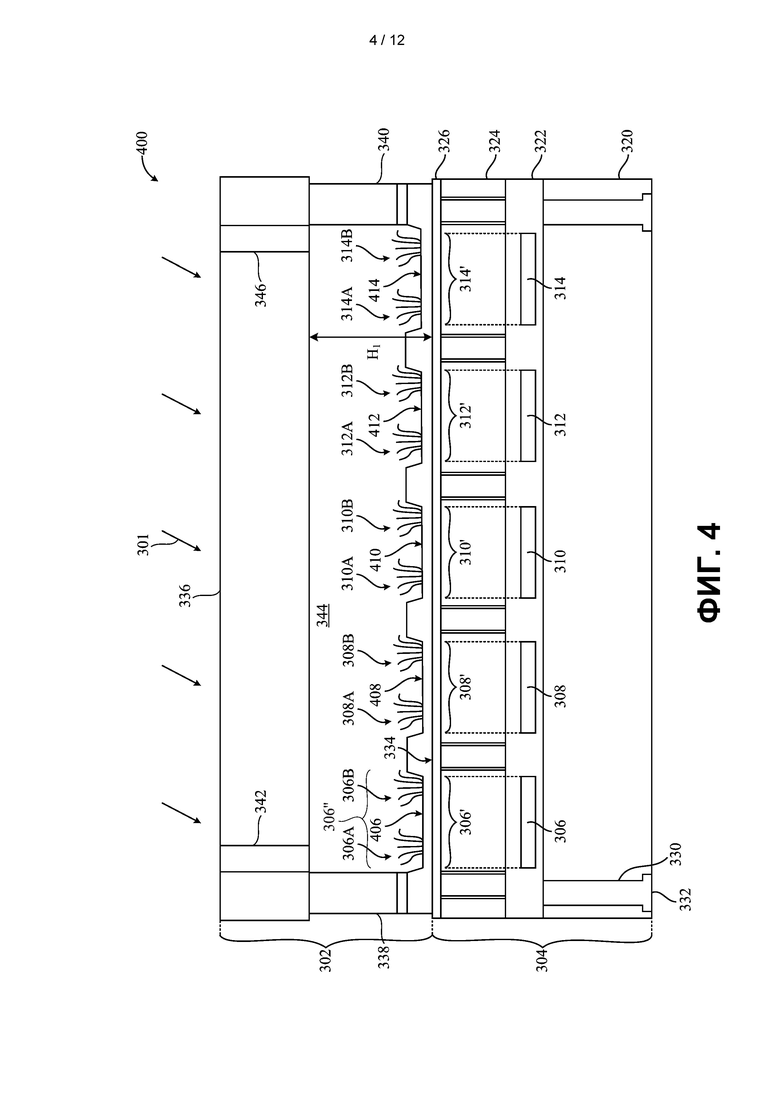
[0096] На Фиг. 4 показано поперечное сечение биодатчика, который может быть использован в различных вариантах реализации. Биодатчик, изображенный на Фиг. 4', имеет лунки, каждая из которых содержит более одного кластера во время цикла определения оснований (например, 2 кластера в каждой лунке).
[0097] На Фиг. 5A и 5B представлены графики рассеяния, которые изображают определение оснований яркого и тусклого кластеров из пары кластеров с использованием их соответствующих сигналов пикселей, обнаруженных общим датчиком (или пикселем), в соответствии с одним вариантом реализации.
[0098] На Фиг. 6 приведен график рассеяния, который изображает шестнадцать распределений, создаваемых из значений интенсивности из яркого и тусклого кластеров пары кластеров в соответствии с одним вариантом реализации.
[0099] На Фиг. 7A приведена таблица детектирования, которая иллюстрирует схему определения оснований для протокола секвенирования с одним красителем и двумя стадиями освещения в соответствии с одним вариантом реализации.
[00100] На Фиг. 7B приведена таблица определения оснований, которая показывает схему классификации для отнесения объединенных сигналов пикселей из яркого и тусклого кластеров пары кластеров к шестнадцати ячейкам в соответствии с одним вариантом реализации.
[00101] На Фиг. 8 показан способ определения основания путем анализа сигналов пикселей, излучаемых множеством кластеров с общей областью пикселя, в соответствии с одним вариантом реализации.
[00102] На Фиг. 9 изображен способ идентификации областей пикселей с более чем одним кластером на поверхности для образцов биодатчика и определения оснований кластеров в идентифицированных областях пикселя в соответствии с одним вариантом реализации.
[00103] На Фиг. 10 показан вид сверху в горизонтальной проекции поверхности для образцов, имеющей области пикселей, на которых неравномерно распределены множество кластеров, в соответствии с одним вариантом реализации.
[00104] На Фиг. 11A показан вид сбоку поверхности для образцов, имеющей по две лунки на область пикселя, в том числе основную лунку и второстепенную лунку, в соответствии с одним вариантом реализации.
[00105] На Фиг. 11B изображен вид сверху в горизонтальной проекции поверхности для образцов, приведенной на Фиг. 11A.
[00106] На Фиг. 12A и 12B показано внеосевое освещение лунки, перекрывающей область пикселя поверхности для образцов.
[00107] На Фиг. 12C показаны асимметрично освещаемые области лунки, создаваемые внеосевым освещением, изображенным на Фиг. 12A и 12B, в соответствии с одним вариантом реализации.
ОСУЩЕСТВЛЕНИЕ ИЗОБРЕТЕНИЯ
[00108] Варианты реализации, описанные в настоящем документе, могут быть использованы в различных биологических или химических процессах и системах для научного или коммерческого анализа. Точнее говоря, варианты реализации, описанные в настоящем документе, могут быть использованы в различных процессах и системах, где требуется определять событие, свойство, качество или характеристику, которые указывают на требуемую реакцию. Например, варианты реализации, описанные в настоящем документе, включают картриджи, биодатчики и другие компоненты, а также системы биологического анализа, которые работают с картриджами и биодатчиками. В конкретных вариантах реализации картриджи и биодатчики содержат проточную кювету и один или более датчиков, пикселей, детекторов света или фотодиодов, которые соединены вместе в по существу единой структуре.
[00109] Системы биологического анализа могут быть выполнены с возможностью осуществления множества требуемых реакций, которые могут быть обнаружены по отдельности или в совокупности. Биодатчики и системы биологического анализа могут быть выполнены с возможностью осуществления многочисленных циклов, в которых множество требуемых реакций происходят параллельно. Например, системы биологического анализа могут быть использованы для секвенирования плотного массива элементов ДНК посредством итеративных циклов ферментативного воздействия и сбора данных. По существу картриджи и биодатчики могут содержать один или более микрофлюидных каналов, которые доставляют реагенты или другие компоненты к зоне реакции. В некоторых вариантах реализации зоны реакции неравномерно распределены по всей по существу плоской поверхности. В других вариантах реализации зоны реакции структурированы по всей по существу плоской поверхности заданным образом. Каждая из зон реакции может быть связана с одним или более датчиками, пикселями, детекторами света или фотодиодами, которые обнаруживают свет из связанной зоны реакции. Еще в одних вариантах реализации зоны реакции находятся в реакционных камерах (или лунках), которые заключают в себе требуемые реакции.
[00110] Последующее подробное описание определенных вариантов реализации будет более понятным при прочтении вместе с прилагаемыми чертежами. В той степени, в которой фигуры иллюстрируют схемы функциональных блоков различных вариантов реализации, функциональные блоки необязательно указывают разделение между схемами аппаратных средств. Таким образом, например, один или более функциональных блоков (например, процессоры или памяти) могут быть реализованы в одном элементе оборудования (например, в процессоре сигналов общего назначения или оперативном запоминающем устройстве, жестком диске и т.п.). Аналогичным образом программы могут быть автономными программами, могут быть включены в качестве подпрограмм в операционную систему, могут быть функциями в устанавливаемом пакете программного обеспечения и т.п. Следует понимать, что различные варианты реализации не ограничиваются схемами расположения и средствами, показанными на чертежах.
[00111] В настоящем документе элемент или этап, упоминаемый в единственном числе с предшествующими средствами выражения единственного числа, не следует понимать как исключение множественного числа этих элементов или этапов, если такое исключение не указано в явном виде. При этом ссылка на «один вариант реализации» не предназначена для толкования ее как исключение существования дополнительных вариантов реализации, которые тоже включают изложенные признаки. Кроме того, если явно не указано обратное, варианты реализации, «содержащие», или «имеющие», или «включающие» элемент или множество элементов, обладающих конкретным свойством, могут содержать дополнительные элементы вне зависимости от того, обладают ли они этим свойством или нет.
[00112] Используемый в настоящем документе термин «требуемая реакция» включает изменение по меньшей мере одного из химического, электрического, физического или оптического свойства (или качества) аналита, представляющего интерес. В конкретных вариантах реализации требуемая реакция представляет собой положительное события связывания (например, объединение флуоресцентно меченной биомолекулы с аналитом, представляющим интерес). В более общем смысле требуемая реакция может быть химическим превращением, химическим изменением или химическим взаимодействием. Требуемая реакция может быть также изменением электрических свойств. Например, требуемая реакция может быть изменением концентрации ионов в растворе. В число примеров реакций входят, без ограничений, химические реакции, такие как восстановление, окисление, присоединение, отщепление, перегруппировка, эстерификация, амидирование, этерификация, циклизация или замещение; связывающие взаимодействия, в которых первое химическое вещество связывается со вторым химическим веществом; реакции диссоциации, в которых два или более химических веществ отделяются друг от друга; флуоресценция; люминесценция; биолюминесценция; хемилюминесценция; и биологические реакции, такие как репликация нуклеиновой кислоты, амплификация нуклеиновой кислоты, гибридизация нуклеиновой кислоты, лигирование нуклеиновой кислоты, фосфорилирование, ферментативный катализ, рецепторное связывание или связывание лигандов. Требуемая реакция может быть также добавлением или элиминированием протона, например, обнаруживаемым как изменение pH окружающего раствора или среды. Дополнительной требуемой реакцией может быть обнаружение потока ионов через мембрану (например, естественную или синтетическую двухслойную мембрану), например, при протекании ионов через мембрану электрический ток прерывается, и это прерывание может быть обнаружено.
[00113] В конкретных вариантах реализации требуемая реакция включает объединение флуоресцентно меченной молекулы с аналитом. Аналит может быть олигонуклеотидом, а флуоресцентно меченная молекула может быть нуклеотидом. Требуемая реакция может быть обнаружена при направлении возбуждающего света на олигонуклеотид, имеющий меченый нуклеотид, и излучении флуорофором флуоресцентного сигнала, который может быть обнаружен. В альтернативных вариантах реализации обнаруживаемая флуоресценция является результатом хемилюминесценции или биолюминесценции. Требуемая реакция может также увеличивать резонансный перенос энергии флуоресценции (или ферстеровский резонансный перенос энергии, FRET), например, за счет приближения донорного флуорофора к акцепторному флуорофору, уменьшать FRET за счет отделения донорного и акцепторного флуорофора, увеличивать флуоресценцию за счет отделения гасителя от флуорофора или уменьшать флуоресценцию за счет совмещения гасителя и флуорофора.
[00114] Используемый в настоящем документе термин «компонент реакции» или «реагирующее вещество» включает любое вещество, которое может быть использовано для получения требуемой реакции. Например, в число компонентов реакции входят реагенты, ферменты, образцы, другие биомолекулы и буферные растворы. Компоненты реакции обычно доставляют в зону реакции в растворе и/или иммобилизуют в зоне реакции. Компоненты реакции могут взаимодействовать непосредственно или опосредованно с другим веществом, таким как аналит, представляющее интерес.
[00115] Используемый в настоящем документе термин «зона реакции» представляет собой локализованную область, где может происходить требуемая реакция. Зона реакции может включать опорные поверхности подложки, на которых может быть иммобилизовано вещество. Например, зона реакции может включать по существу плоскую поверхность в канале проточной кюветы, на которой имеется колония нуклеиновых кислот. Как правило, но не всегда, нуклеиновые кислоты в колонии имеют одну и ту же последовательность, представляя собой, например, клональные копии однонитевой или двухнитевой матрицы. Тем не менее, в некоторых вариантах реализации зона реакции может содержать только одну молекулу нуклеиновой кислоты, например, в однонитевой или двухнитевой форме. Кроме того, множество зон реакции могут быть неравномерно распределены вдоль опорной поверхности или расположены предварительно определенным образом (например, рядом друг с другом в матрице, такой как микроматрицы). Зона реакции может также включать реакционную камеру (или лунку), которая по меньшей мере частично образует пространственную область или объем, выполненные с возможностью заключения в себе требуемой реакции.
[00116] В настоящей заявке термины «реакционная камера» и «лунка» являются взаимозаменяемыми. Используемый в настоящем документе термин «реакционная камера» или «лунка» включает пространственную область, сообщающуюся по текучей среде с проточным каналом. Реакционная камера может быть по меньшей мере частично отделена от окружающей среды или других пространственных областей. Например, множество реакционных камер могут быть отделены друг от друга общими стенками. В качестве более конкретного примера реакционная камера может содержать полость, образованную внутренними поверхностями лунки и иметь отверстие или проем, чтоб полость могла сообщаться по текучей среде с проточным каналом. Биодатчики, содержащие таки реакционные камеры, более подробно описаны в международной заявке № PCT/US2011/057111, поданной 20 октября 2011 г., которая полностью включена в настоящий документ путем ссылки.
[00117] В некоторых вариантах реализации реакционные камеры имеют размер и форму с учетом твердых веществ (включая полутвердые вещества), чтобы твердые вещества могли быть вставлены в них полностью или частично. Например, реакционная камера может иметь размер и форму для вмещения только одной гранулы для захвата. Гранула для захвата может иметь на себе клонально амплифицированную ДНК или другие вещества. В альтернативном варианте реализации реакционная камера может иметь размер и форму для приема приблизительного количества гранул или твердых веществ. В качестве другого примера реакционные камеры могут быть также заполнены пористым гелем или веществом, которое выполнено с возможностью регулирования диффузии или фильтрации текучих сред, которые могут протекать в реакционную камеру.
[00118] В некоторых вариантах реализации с соответствующими областями пикселей поверхности для образцов биодатчика связаны датчики (например, детекторы света, фотодиоды). Таким образом, область пикселя является геометрическим компонентом конструкции, который представляет область поверхности для образцов биодатчика для одного датчика (или пикселя). Датчик, который связан с областью пикселя, обнаруживает излучения света, принимаемые из связанной области пикселя, когда требуемая реакция произошла в зоне реакции или реакционной камере, перекрывающей связанную область пикселя. В варианте реализации с плоской поверхностью области пикселей могут перекрываться. В некоторых случаях множество датчиков может быть связано с одной зоной реакции или одной реакционной камерой. В других случаях один датчик может быть связан с группой зон реакции или группой реакционных камер.
[00119] Используемый в настоящем документе термин «биодатчик» включает структуру, имеющую множество зон реакции и/или реакционных камер (или лунок). Биодатчик может содержать твердотельное устройство формирования изображения (например, формирователь изображения на ПЗС или КМОП) и, необязательно, проточную кювету, установленную в биодатчик. Проточная кювета может содержать по меньшей мере один проточный канал, который сообщается по текучей среде с зонами реакции и/или реакционными камерами. В качестве одного конкретного примера биодатчик выполнен с возможностью соединения с системой биологического анализа по текучей среде и электрически. Система биологического анализа может подавать реагирующие вещества в зоны реакции и/или реакционные камеры в соответствии с предварительно определенным протоколом (например, секвенирования путем синтеза) и выполнять множество событий формирования изображения. Например, система биологического анализа может направлять потоки растворов вдоль зон реакции и/или реакционных камер. По меньшей мере один из растворов может содержать нуклеотиды четырех типов, имеющие одинаковые или разные флуоресцентные метки. Нуклеотиды могут привязываться к соответствующим олигонуклеотидам, находящимся в зонах реакции и/или реакционных камерах. После этого система биологического анализа может освещать зоны реакции и/или реакционные камеры с использованием источника возбуждающего света (например, твердотельных источников света, таких как светоизлучающие диоды, СИДы). Возбуждающий свет может иметь предварительно определенную длину волны или длины волн, в том числе диапазон длин волн. Возбужденные флуоресцентные метки обеспечивают сигналы эмиссии, которые могут быть захвачены датчиками.
[00120] В альтернативных вариантах реализации биодатчик может содержать электроды или датчики других типов, выполненные с возможностью обнаружения других свойств, которые могут быть идентифицированы. Например, датчики могут быть выполнены с возможностью обнаружения изменения концентрации иона. В другом примере датчики могут быть выполнены с возможностью обнаружения потока ионного тока через мембрану.
[00121] Используемый в настоящем документе термин «картридж» включает структуру, которая выполнена с возможностью удержания биодатчика. В некоторых вариантах реализации картридж может содержать дополнительные компоненты, такие как источник света (например, СИДы), которые выполнены с возможностью подачи возбуждающего света в зоны реакции и/или реакционные камеры биодатчика. Картридж может также содержать систему хранения текучих сред (например, хранения реагентов, образца и буфера) и систему управления текучими средами (например, насосы, клапаны и т.п.) для транспортировки по текучей среде компонентов реакции, образца и т.п. в зоны реакции и/или реакционные камеры. Например, после того, как биодатчик подготовлен или изготовлен, он может быть соединен с корпусом или контейнером картриджа. В некоторых вариантах реализации биодатчики и картриджи могут быть самодостаточными одноразовыми блоками. Однако другие варианты реализации могут включать узел со съемными частями, который позволяет пользователю получать доступ к внутренней части биодатчика или картриджа для технического обслуживания или замены компонентов или образцов. Биодатчик и картридж могут быть соединены или введены в контакт с возможностью разъединения с более крупными системами биологического анализа, такими как система секвенирования, которая выполняет в них управляемые реакции.
[00122] Термины «с возможностью разъединения» и «соединены» (или «введены в контакт»), используемые в настоящем документе вместе для описания взаимосвязи между биодатчиком (или картриджем) и приемником или интерфейсом системы биологического анализа, означают, что соединение между биодатчиком (или картриджем) и приемником системы может быть легко разъединено без разрушения или повреждения приемника системы и/или биодатчика (или картриджа). Компоненты легко разъединяются, когда компоненты могут быть отсоединены друг от друга без чрезмерного усилия или затраты значительного количества времени на разъединение компонентов. Например, биодатчик (или картридж) может быть соединен или введен в контакт с возможностью разъединения с приемником системы электрическим способом так, что ответные контакты системы биологического анализа не разрушаются и не повреждаются. Биодатчик (или картридж) может быть также соединен или введен в контакт с возможностью разъединения с приемником системы механическим способом так, что детали, которые удерживают биодатчик (или картридж), не разрушаются и не повреждаются. Биодатчик (или картридж) может быть также соединен или введен в контакт с возможностью разъединения с приемником системы посредством текучей среды так, что порты приемника системы не разрушаются и не повреждаются. Приемник или компонент системы не считается разрушенным или поврежденным, если, например, требуется лишь небольшая регулировка компонента (например, повторное выравнивание) или простая замена (например, замена насадки).
[00123] Используемый в настоящем документе термин «кластер» представляет собой колонию подобных или идентичных молекул, или нуклеотидные последовательности, или нити ДНК. Например, кластер может быть амплифицированным олигонуклеотидом или любой другой группой полинунклеотидов или полипептидов с одинаковой или подобной последовательностью. В других вариантах реализации кластер может быть любым элементом или группой элементов, которые занимают физическую область на поверхности для образцов. В вариантах реализации кластеры иммобилизуют в зоне реакции и/или реакционной камере во время цикла определения оснований.
[00124] Используемый в настоящем документе термин «иммобилизуют» применительно к биомолекуле либо биологическому или химическому веществу включает в себя по существу прикрепление биомолекулы, либо биологического или химического вещества на молекулярном уровне к поверхности. Например, биомолекула либо биологическое или химическое вещество может быть иммобилизовано на поверхности материала подложки с помощью методов адсорбции, включая нековалентные взаимодействия (например, электростатические силы, силы ван дер Ваальса и дегидрирование гидрофобных поверхностей раздела) и методы ковалентного связывания, где прикреплению биомолекул к поверхности способствуют функциональные группы или линкеры. Иммобилизация биомолекул либо биологических или химических веществ на поверхности материала подложки может быть основана на свойствах поверхности подложки, жидкой среде, содержащей биомолекулу либо биологическое или химическое вещество, и свойствах самих биомолекул либо биологических или химических веществ. В некоторых случаях поверхность подложки может быть функционализирована (например, химически или физически изменена) для способствования иммобилизации биомолекул (либо биологических или химических веществ) на поверхности подложки. Поверхность подложки может быть сначала изменена, чтобы привязать функциональные группы к поверхности. После этого функциональные группы могут быть привязаны к биомолекулам либо биологическим или химическим веществам для иммобилизации на них. Вещество может быть иммобилизовано на поверхности посредством геля, например, как описано в публикации патента США № US 2011/0059865 A1, который включен в настоящий документ путем ссылки.
[00125] В некоторых вариантах реализации нуклеиновые кислоты могут быть прикреплены к поверхности и амплифицированы с использованием мостиковой амплификации. Полезные способы мостиковой амплификации описаны, например, в патенте США № 5,641,658; WO 2007/010251, патенте США № 6,090,592; публикации патента США № 2002/0055100 A1; патенте США № 7,115,400; публикации патента США № 2004/0096853 A1; публикации патента США № 2004/0002090 A1; публикации патента США № 2007/0128624 A1; и публикации патента США № 2008/0009420 A1, каждые из которых полностью включены в настоящий документ. Другим полезным способом амплификации нуклеиновых кислот на поверхности является амплификация по типу катящегося кольца (RCA), например, с использованием способов, изложенных более подробно далее. В некоторых вариантах реализации нуклеиновые кислоты могут быть прикреплены к поверхности и амплифицированы с использованием одной или более пар праймеров. Например, один из праймеров может быть в растворе, а другой праймер может быть иммобилизован на поверхности (например, прикреплен к 5'-концу). В качестве примера молекула нуклеиновой кислоты может быть гибридизирована с одним из праймеров на поверхности с последующим удлинением иммобилизованного праймера для получения первой копии нуклеиновой кислоты. Затем праймер в растворе гибридизируется с первой копией нуклеиновой кислоты, которая может быть удлинена с использованием первой копии нуклеиновой кислоты в качестве матрицы. Необязательно, после получения первой копии нуклеиновой кислоты исходная молекула нуклеиновой кислоты может быть гибридизирована со вторым иммобилизованным праймером на поверхности и может быть удлинена, одновременно или после удлинения праймера в растворе. В любом варианте реализации повторные циклы удлинения (например, амплификации) с использованием иммобилизованного праймера и праймера в растворе обеспечивают несколько копий нуклеиновой кислоты.
[00126] В конкретных вариантах реализации протоколы анализа, выполняемые с помощью систем и способов, описанных в настоящем документе, включают использование нуклеотидов естественного происхождения, а также ферментов, которые выполнены с возможностью взаимодействия с нуклеотидами естественного происхождения. В число нуклеотидов естественного происхождения входят, например, рибонуклеотиды (РНК) и дезоксирибонуклеотиды (ДНК). Нуклеотиды естественного происхождения могут быть в виде моно-, ди- или трифосфата и могут иметь основание, выбранное из аденина (A), тимина (T), урацила (U), гуанина (G) или цитозина (C). Однако понятно, что могут быть использованы нуклеотиды неестественного происхождения, модифицированные нуклеотиды или аналоги вышеупомянутых нуклеотидов. Некоторые примеры полезных нуклеотидов неестественного происхождения представлены ниже в связи с секвенированием на основе обратимого терминатора с использованием способов синтеза.
[00127] В вариантах реализации, которые включают реакционные камеры, в реакционные камеры могут быть помещены объекты или твердые вещества (включая полутвердые вещества). При размещении объект или твердое вещество могут физически удерживаться или быть закреплены в реакционной камере посредством посадки с натягом, адгезии или захвата. В число примеров объектов или твердых веществ, которые могут быть размещены в реакционных камерах, входят полимерные гранулы, окатыши, агарозный гель, порошки, квантовые точки и другие твердые вещества, которые могут быть зажаты и/или удерживаться внутри реакционной камеры. В конкретных вариантах реализации в или на реакционную камеру может быть помещена суперструктура нуклеиновой кислоты, такая как шарик ДНК, например, путем прикрепления к внутренней поверхности реакционной камеры или посредством пребывания в жидкости внутри реакционной камеры. Шарик ДНК или другая суперструктура нуклеиновой кислоты могут быть предварительно сформированы и затем размещены в или на реакционной камере. В альтернативном варианте реализации шарик ДНК может быть синтезирован на месте в реакционной камере. Шарик ДНК может быть синтезирован посредством амплификации по типу катящегося кольца для создания конкатемера конкретной последовательности нуклеиновых кислот, и конкатемер может быть обработан в условиях, которые формируют относительно компактный шарик. Шарики ДНК и способы их синтеза описаны, например, в публикациях патентов США №№ 2008/0242560 A1 или 2008/0234136 A1, каждый из которых полностью включен в настоящий документ. Подложка, которая удерживается в реакционной камере или помещена в нее, может быть в твердом, жидком или газообразном состоянии.
[00128] Используемый в настоящем документе термин «определение оснований» означает идентификацию нуклеотидного основания в последовательности нуклеиновой кислоты. Определение оснований относится к процессу определения вариантов оснований (A, C, G, T) для каждого кластера в конкретном цикле. В качестве примера определение оснований может быть выполнено с использованием четырехканальных, двухканальных или одноканального способов и систем, описанных во включенных в настоящий документ материалах публикации заявки на патент США № 2013/0079232. В конкретных вариантах реализации цикл определения оснований называют «событием анализа образцов». В протоколе секвенирования с одним красителем и двумя каналами событие анализа образцов содержит две стадии освещения во временной последовательности, так что на каждой стадии формируют сигнал пикселя. Первая стадия освещения вызывает освещение из данного кластера, указывающее нуклеотидные основания A и T в сигнале пикселя AT, а вторая стадия освещения вызывает освещение из данного кластера, указывающее нуклеотидные основания C и T в сигнале пикселя CT.
Система определения оснований
[00129] На Фиг. 1 приведена блок-диаграмма системы 100 определения оснований в соответствии с одним вариантом реализации. Система 100 определения оснований может быть выполнена с возможностью получения любой информации или данных, которые относятся к по меньшей мере одному биологическому или химическому веществу. В некоторых вариантах реализации система 100 определения оснований представляет собой рабочую станцию, которая может быть аналогична настольному устройству или настольному компьютеру. Например, большинство (или все) систем и компонентов для выполнения требуемых реакций могут находиться в общем корпусе 116.
[00130] В конкретных вариантах реализации система 100 определения оснований представляет собой систему секвенирования (или секвенатор) нуклеиновой кислоты, выполненную с возможностью использования в различных областях применения, в том числе, без ограничений, для секвенирования de novo, повторного секвенирования целых геномов или целевых геномных областей и в метагеномике. Секвенатор может быть также использован для анализа ДНК или РНК. В некоторых вариантах реализации система 100 определения оснований может быть также выполнена с возможностью формирования зон реакции в биодатчике. Например, система 100 определения оснований может быть выполнена с возможностью приема образца и формирования прикрепленных к поверхности кластеров или клонально амплифицированных нуклеиновых кислот, полученных из образца. Каждый кластер может составлять или быть частью зоны реакции в биодатчике.
[00131] Иллюстративная система 100 определения оснований может содержать приемник или интерфейс 112 системы, который выполнен с возможностью взаимодействия с биодатчиком 102 для выполнения требуемых реакций в биодатчике 102. В последующем описании со ссылкой на Фиг. 1 биодатчик 102 загружают в приемник 112 системы. Однако понятно, что в приемник 112 системы может быть вставлен картридж, который содержит биодатчик 102, и в некоторых состояниях картридж может быть извлечен на временной или постоянной основе. Как описано выше, картридж может содержать, среди прочего, компоненты управления текучей средой и хранения текучей среды.
[00132] В конкретных вариантах реализации система 100 определения оснований выполнена с возможностью осуществления большого количества параллельных реакций в биодатчике 102. Биодатчик 102 содержит одну или больше зон реакции, где могут происходить требуемые реакции. Зона реакции может быть, например, иммобилизованной на твердой поверхности биодатчика или иммобилизованной на гранулах (или других подложках, которые могут быть перемещены), расположенных в соответствующих реакционных камерах биодатчика. Зоны реакции могут содержать, например, кластеры клонально амплифицированных нуклеиновых кислот. Биодатчик 102 может содержать твердотельное устройство формирования изображения (например, формирователь изображения на ПЗС или КМОП) и проточную кювету, установленную в биодатчик. Проточная кювета может содержать один или более проточных каналов, которые принимают раствор из системы 100 определения оснований и направляют раствор к зонам реакции. Необязательно, биодатчик 102 может быть выполнен с возможностью вхождения в контакт с тепловым элементом для передачи тепловой энергии в проточный канал или из него.
[00133] Система 100 определения оснований может содержать различные компоненты, узлы и системы (или подсистемы), которые взаимодействуют друг с другом для выполнения предварительно определенного способа или протокола анализа для биологического или химического анализа. Например, система 100 определения основания содержит системный контроллер 104, который может обмениваться данными с различными компонентами, узлами и подсистемами системы 100 определения оснований, а также с биодатчиком 102. Например, в дополнение к приемнику 112 системы система 100 определения оснований может также содержать систему 106 управления текучей средой для управления потоком текучей среды в сети текучей среды системы 100 определения оснований и биодатчика 102; систему 108 хранения текучей среды, выполненная с возможностью удержания всех текучих сред (например, газа или жидкостей), которые могут быть использованы системой биологического анализа; систему 110 управления температурой, которая может регулировать температуру текучей среды в сети текучей среды, системе 108 хранения текучей среды и/или биодатчике 102; и систему 109 освещения, которая выполнена с возможностью освещения биодатчика 102. Как описано выше, если в приемник 112 системы загружают картридж, имеющий биодатчик 102, картридж может тоже содержать компоненты управления текучей средой и хранения текучей среды.
[00134] Также показано, что система 100 определения оснований может содержать пользовательский интерфейс 114, который взаимодействует с пользователем. Например, пользовательский интерфейс 114 может содержать дисплей 113 для отображения или запроса информации от пользователя и пользовательское устройство 115 ввода для приема вводов пользователя. В некоторых вариантах реализации дисплей 113 и пользовательское устройство 115 ввода являются одним и тем же устройством. Например, пользовательский интерфейс 114 может содержать сенсорный дисплей, выполненный с возможностью обнаружения наличия касаний человека, а также определения местоположения касания на дисплее. Однако могут быть использованы другие пользовательские устройства 115 ввода, такие как мышь, сенсорная панель, клавиатура, кнопочная панель, ручной сканер, система распознавания речи, система распознавания движения и т.п. Как будет рассмотрено более подробно ниже, система 100 определения оснований может обмениваться данными с различными компонентами, включая биодатчик 102 (например, в форме картриджа), для выполнения требуемых реакций. Система 100 определения оснований может быть также выполнена с возможностью анализа данных, полученных из биодатчика, для предоставления требуемой информации пользователю.
[00135] Системный контроллер 104 может содержать любую основанную на процессоре или микропроцессоре систему, включая системы, использующие микроконтроллеры, компьютеры с сокращенным набором инструкций (RISC), специализированные интегральные схемы (ASIC), программируемые пользователем вентильные матрицы (FPGA), логические схемы и любую другую схему или процессор, выполненные с возможностью исполнения функций, описанных в настоящем документе. Приведенные выше примеры являются только примерами и поэтому не предназначены для ограничения каким бы то ни было образом определения и/или смысла термина «системный контроллер». В одном примере реализации системный контроллер 104 исполняет набор инструкций, которые хранятся в одном или более запоминающих элементах, памятях или модулях, для по меньшей мере одного из получения и анализа данных обнаружения. Данные обнаружения могут содержать множество последовательностей сигналов пикселей, так что в течение многих циклов определения оснований может быть обнаружена последовательность сигналов пикселей с каждого из миллионов датчиков (или пикселей). Запоминающие элементы могут быть в виде информационных ресурсов или физических элементов памяти в пределах системы 100 определения оснований.
[00136] Набор инструкций может содержать различные команды, которые вызывают выполнение системой 100 определения оснований или биодатчиком 102 конкретных операций, таких как способы и процессы различных вариантов реализации описанных в настоящем документе. Набор инструкций может быть в виде реализуемой программными средствами программы, которая может составлять часть материального некратковременного компьютерочитаемого носителя или носителей информации. Используемые в настоящем документе термины «программное обеспечение» и «встроенное программное обеспечение» являются взаимозаменяемыми и включают компьютерную программу, хранящуюся в памяти для исполнения компьютером, в том числе в ОЗУ, ПЗУ, СППЗУ, ЭСППЗУ и энергонезависимом ОЗУ (ЭНОЗУ). Вышеуказанные типы памяти являются только примерами и поэтому не ограничивают тип памяти, которая может быть использована для хранения компьютерной программы.
[00137] Программное обеспечением может быть в различных формах, таких как системной программное обеспечение или прикладное программное обеспечение. Кроме того, программное обеспечение может быть в виде подборки отдельных программ или программного модуля в более крупной программе или частью программного модуля. Программное обеспечение может включать модульное программирование в виде объектно-ориентированного программирования. После получения данных обнаружения они могут быть обработаны системой 100 определения оснований автоматически, в ответ на вводы пользователя или в ответ на запрос, сделанный другой обрабатывающей машиной (например, удаленный запрос через канал связи). В показанном варианте реализации системный контроллер 104 содержит процессор 138 сигналов. В других вариантах реализации системный контроллер 104 не содержит процессора 138 сигналов, а вместо этого имеет доступ к процессору 138 сигналов (например, процессор 138 сигналов может быть отдельно расположенным на облаке).
[00138] Системный контроллер 104 может быть соединен с биодатчиком 102 и другими компонентами системы 100 определения оснований посредством каналов связи. Системный контроллер 104 может быть также соединен с возможностью обмена данными с системами или серверами, находящимися в других местах. Каналы связи могут быть аппаратными, кабельными или беспроводными. Системный контроллер 104 может принимать вводы или команды пользователя из пользовательского интерфейса 114 и пользовательского устройства 115 ввода.
[00139] Система 106 управления текучей средой включает сеть текучей среды и выполнена с возможностью направления и регулирования потока одной или более текучих сред посредством сети текучей среды. Сеть текучей среды может сообщаться по жидкой среде с биодатчиком 102 и системой 108 хранения текучей среды. Например, выбранные текучие среды могут быть взяты из системы 108 хранения текучей среды и направлены в биодатчик 102 управляемым образом, или текучие среды могут быть взяты из биодатчика 102 и направлены, например, в резервуар для отходов в системе 108 хранения текучей среды. Хотя это не показано, система 106 управления текучей средой может содержать датчики потока, которые определяют расход текучих сред в пределах сети текучей среды. Датчики могут обмениваться данными с системным контроллером 104.
[00140] Система 110 управления температурой выполнена с возможностью регулирования температуры текучих сред в разных областях сети текучей среды, системы 108 хранения текучей среды и/или биодатчика 102. Например, система 110 управления температурой может содержать термоциклер, который взаимодействует с биодатчиком 102 и управляет температурой текучей среды, которая протекает по зонам реакции в биодатчике 102. Система 110 управления температурой может также регулировать температуру твердых элементов или компонентов системы 100 определения оснований или биодатчика 102. Хотя это не показано, система 110 управления температурой может содержать датчики для определения температуры текучей среды или других компонентов. Датчики могут обмениваться данными с системным контроллером 104.
[00141] Система 108 хранения текучей среды сообщается по текучей среде с биодатчиком 102 и может хранить различные компоненты реакции или реагирующие вещества, которые используют для проведения в нем требуемых реакций. Система 108 хранения текучей среды также хранит текучие среды для промывки или очистки сети текучей среды и биодатчика 102 и для растворения реагирующих веществ. Например, система 108 хранения текучей среды может содержать различные резервуары для хранения образцов, реагентов, ферментов, других биомолекул, буферных растворов, водных и неполярных растворов и т.п. Кроме того, система 108 хранения текучей среды может также содержать резервуары для отходов для приема побочных продуктов из биодатчика 102. В вариантах реализации, которые включают картридж, картридж может содержать одно или более из системы хранения текучей среды, системы управления текучей средой или системы управления температурой. Соответственно, один или более компонентов, указанных в настоящем документе как относящиеся к этим системам, могут содержаться внутри корпуса картриджа. Например, картридж может иметь различные резервуары для хранения образцов, реагентов, ферментов, других биомолекул, буферных растворов, водных и неполярных растворов, отходов и т.п. Таким образом, посредством картриджа или другого биодатчика одна или более из системы хранения текучей среды, системы управления текучей средой и системы управления температурой могут быть введены в контакт с возможностью разъединения с системой биологического анализа.
[00142] Система 109 освещения может содержать источник света (например, один или более СИДов) и множество оптических компонентов для освещения биодатчика. В число примеров источников света могут входить лазеры, дуговые лампы, СИДы или лазерные диоды. Оптические компоненты могут представлять собой, например, отражатели, дихроичные средства, расщепители пучка, коллиматоры, линзы, фильтры, клинья, призмы, зеркала, детекторы и т.п. В вариантах реализации, в которых используют систему освещения, система освещения 109 может быть выполнена с возможностью направления возбуждающего света в зоны реакции. В качестве одного примера флуорофоры могут возбуждаться длинами волны зеленой области видимого спектра, поэтому длина волны возбуждающего света может составлять приблизительно 532 нм. В одном варианте реализации система 109 освещения выполнена с возможностью создания освещения, которое параллельно нормали к поверхности биодатчика 102. В другом варианте реализации система 109 освещения выполнена с возможностью создания освещения, которое направлено под углом относительно нормали к поверхности биодатчика 102. В еще одном варианте реализации система 109 освещения выполнена с возможностью создания освещения, которое имеет множество углов, в том числа часть освещения параллельная и часть освещения направлена под углом.
[00143] Приемник или интерфейс 112 системы выполнен с возможностью введения в контакт с биодатчиком 102 по меньшей мере одним из механического, электрического и основанного на текучей среде способом. Приемник 112 системы может удерживать биодатчик 102 в требуемой ориентации, способствуя потоку текучей среды через биодатчик 102. Приемник 112 системы может также содержать электрические контакты, которые выполнены с возможностью введения в контакт с биодатчиком 102, чтобы система 100 определения оснований могла обмениваться данными с биодатчиком 102 и/или снабжать электропитанием биодатчик 102. Кроме того, приемник 112 системы может включать порты для текучей среды (например, патрубки), которые выполнены с возможностью введения в контакт с биодатчиком 102. В некоторых вариантах реализации биодатчик 102 соединен с возможностью разъединения с приемником 112 системы механически, электрически и также по текучей среде.
[00144] Кроме того, система 100 определения оснований может дистанционно обмениваться данными с другими системами или сетями или с другими системами 100 биологического анализа. Данные обнаружения, полученные системой (системами) 100 биологического анализа, могут быть сохранены в удаленной базе данных.
[00145] На Фиг. 2 приведена блок-диаграмма системного контроллера 104, который может быть использован в системе, изображенной на Фиг. 1. В одном варианте реализации системный контроллер 104 содержит один или более процессоров или модулей, которые могут обмениваться данными друг с другом. Каждый из процессоров или модулей может содержать алгоритм (например, инструкции, хранящиеся на материальном и/или некратковременном компьютерочитаемом носителе информации) или подалгоритмы для выполнения конкретных процессов. Системный контроллер 104 показан концептуально в виде набора модулей, но может быть реализован с использованием любой комбинации специализированных плат, цифровых процессоров сигналов, процессоров и т.п. В альтернативном варианте реализации системный контроллер 104 может быть реализован с использованием готового коммерческого ПК с одним процессором или несколькими процессорами с функциональными операциями, распределенными между процессорами. В качестве еще одного варианта модули, описанные далее, могут быть реализованы с использованием гибридной конфигурации, в которой определенные модульные функции выполняются специализированным оборудованием, тогда как остальные модульные функция выполняются с использованием готового коммерческого ПК и т.п. Модули могут быть также реализованы в виде программных модулей в блоке обработки.
[00146] Во время работы порт 120 связи может передавать информацию (например, команды) или принимать информацию (например, данные) из биодатчика 102 (Фиг. 1) и/или подсистем 106, 108, 110 (Фиг. 1). В вариантах реализации порт 120 связи может выводить множество последовательностей сигналов пикселей. Канал 122 связи может принимать пользовательский ввод из пользовательского интерфейса 114 (Фиг. 1) и передавать данные или информацию в пользовательский интерфейс 114. Данные из биодатчика 102 или подсистем 106, 108, 110 могут быть обработаны системным контроллером 104 в режиме реального времени во время сеанса биологического анализа. Дополнительно или в качестве альтернативы данные могут быть временно сохранены в системной памяти во время сеанса биологического анализа и обработаны не так быстро, как в режиме реального времени, или в автономном режиме.
[00147] Как показано на Фиг. 2, системный контроллер 104 может содержать множество модулей 131-139, которые обмениваются данными с главным модулем 130 управления. Главный модуль 130 управления может обмениваться данными с пользовательским интерфейсом 114 (Фиг. 1). Хотя показано, что модули 131-139 обмениваются данными непосредственно с главным модулем 130 управления, модули 131-139 могут также обмениваться данными напрямую друг с другом, пользовательским интерфейсом 114 и биодатчиком 102. Кроме того, модули 131-139 могут обмениваться данными с главным модулем 130 управления через другие модули.
[00148] Множество модулей 131-139 содержит системные модули 131-133, 139, которые обмениваются данными с подсистемами 106, 108, 110 и 111, соответственно. Модуль 131 управления текучей средой может обмениваться данными с системой 106 управления текучей средой для управления клапанами и датчиками потока сети текучей среды для управления потоком одной или более текучих сред через сеть. Модуль 132 хранения текучей среды может уведомлять пользователя, когда текучие среды заканчиваются, или когда резервуар для отходов заполнен или почти заполнен. Модуль 132 хранения текучей среды может также обмениваться данными с модулем 133 управления температурой, чтобы текучие среды могли храниться при требуемой температуре. Модуль 139 освещения может обмениваться данными с системой 109 освещения для освещения зон реакции в требуемые моменты времени во время выполнения протокола, например, после того, как требуемые реакции (например, события связывания) произошли. В некоторых вариантах реализации модуль 139 освещения может обмениваться данными с системой 109 освещения для освещения зон реакции под требуемыми углами.
[00149] Множество модулей 131-139 может также содержать модуль 134 устройства, который обменивается данными с биодатчиком 102, и модуль 135 идентификации, который определяет идентификационную информацию, относящуюся к биодатчику 102. Модуль 134 устройства может, например, обмениваться данными с приемником 112 системы для подтверждения того, что биодатчик установил электрическое соединение и соединение по текучей среде с системой 100 определения оснований. Модуль 135 идентификации может принимать сигналы, которые идентифицируют биодатчик 102. Модуль 135 идентификации может использовать идентификатор биодатчика 102 для предоставления другой информации пользователю. Например, модуль 135 идентификации может определять и затем отображать номер партии, дату изготовления или протокол, который рекомендуется использовать с биодатчиком 102.
[00150] Множество модулей 131-139 может также содержать модуль обработки сигналов или процессор 138 сигналов, который принимает и анализирует данные сигналов (например, данные изображения) из биодатчика 102. Процессор 138 сигналов содержит память 140 (например, ОЗУ или флэш-память) для хранения данных обнаружения. Данные обнаружения могут содержать множество последовательностей сигналов пикселей, так что в течение многих циклов определения оснований может быть обнаружена последовательность сигналов пикселей с каждого из миллионов датчиков (или пикселей). Данные сигналов могут быть сохранены для последующего анализа или могут быть переданы в пользовательский интерфейс 114 для отображения требуемой информации пользователю. В некоторых вариантах реализации данные сигналов перед получением их процессором 138 сигналов могут быть обработаны твердотельным формирователем изображения (например, КМОП-датчиком изображения).
[00151] Модули 136 и 137 протокола обмениваются данными с главным модулем 130 управления для управления работой подсистем 106, 108 и 110 при выполнении предварительно определенных протоколов анализа. Модули 136 и 137 протокола могут содержать наборы инструкций для подачи системе 100 определения оснований команд на выполнение конкретных операций в соответствии с предварительно определенными протоколами. Как показано, модуль протокола может быть модулем 136 секвенирования путем синтеза (SBS), который выполнен с возможностью выдачи различных команд для выполнения процессов секвенирования путем синтеза. В SBS для определения последовательности нуклеотидов в матрице контролируют удлинение праймера нуклеиновой кислоты вдоль матрицы нуклеиновой кислоты. Химическим процессом, лежащим в основе, может быть полимеризация (например, катализируемая ферментом полимеразой) или лигирование (например, катализируемое ферментом лигазой). В конкретном варианте реализации на основе полимеразы флуоресцентно меченные нуклеотиды добавляют к праймеру (тем самым удлиняя праймер) в зависимости от матрицы так, что обнаружение порядка следования и типа нуклеотидов, добавленных к праймеру, может быть использовано для определения последовательности матрицы. Например, чтобы инициировать первый цикл SBS, могут быть даны команды направить один или более меченных нуклеотидов, ДНК-полимеразу и т.д. в/через проточную кювету, которая содержит массив матриц нуклеиновой кислоты. Матрицы нуклеиновой кислоты могут находиться в соответствующих зонах реакции. Те зоны реакции, где удлинение праймера вызывает включение меченого нуклеотида, могут быть обнаружены посредством события формирования изображения. Во время события формирования изображения система 109 освещения может подавать возбуждающий свет в зоны реакции. Необязательно, нуклеотиды могу также обладать свойством обратимой терминации, которое прекращает дальнейшее удлинение праймера после того, как нуклеотид был добавлен к праймеру. Например, аналог нуклеотида, имеющий фрагмент обратимого терминатора, может быть добавлен к праймеру так, что последующее удлинение не может происходить до тех пор, пока не будет доставлен деблокирующий агент для удаления этого фрагмента. Таким образом, в случае вариантов реализации, в которых используют обратимую терминацию, может быть дана команда на доставку деблокирующего реагента в проточную кювету (до или после того, как происходит обнаружение). Между различными этапами доставки могут быть даны одна или более команд на осуществление промывки (промывок). Затем цикл может быть повторен n раз, чтобы удлинить праймер на n нуклеотидов для обнаружения тем самым последовательности длины n. Примеры методов секвенирования описаны, например, в статье Bentley et al., Nature 456:53-59 (2008), документах WO 2004/018497; US 7,057,026; WO 91/06678; WO 2007/123744; US 7,329,492; US 7,211,414; US 7,315,019; US 7,405,281 и US 2008/0108082, каждый из которых включены в настоящий документ путем ссылки.
[00152] На этапе доставки нуклеотида цикла SBS либо может быть доставлен нуклеотид одного типа единовременно, либо могут быть доставлены нуклеотиды нескольких разных типов (например, A, C, T и G вместе). В случае конфигурации доставки нуклеотида, где одновременно присутствует нуклеотид только одного типа, разные нуклеотиды необязательно должны иметь разные метки, т.к. их можно различать на основе временного разделения, присущего индивидуализированной доставке. Соответственно, в способе или устройстве секвенирования может быть использовано обнаружение одного цвета. Например, от источника возбуждения требуется только обеспечение возбуждения на одной длине волны или в одном диапазоне длин волн. В случае конфигурации доставки нуклеотида, где доставка приводит к присутствию в проточной кювете нескольких нуклеотидов одновременно, участки, в которые включены нуклеотиды разных типов, можно различать на основе разных флуоресцентных меток, которые прикреплены к нуклеотидам соответствующих типов в смеси. Например, могут быть использованы четыре разных нуклеотида, каждый из которых имеет один из четырех разных флуорофоров. В одном варианте реализации четыре разных флуорофора могут быть отличены друг от друга с использованием возбуждения в четырех разных областях спектра. Например, могут быть использованы четыре разных источника возбуждающего излучения. В альтернативном варианте реализации могут быть использованы менее четырех разных источников возбуждения, но может быть использована оптическая фильтрация возбуждающего излучения для получения разных диапазонов возбуждающего излучения в проточной кювете.
[00153] В некоторых вариантах реализации в смеси, имеющей четыре разных нуклеотида, могут быть обнаружены менее четырех разных цветов. Например, пары нуклеотидов могут быть обнаружены на одной и той же длине волны, но различаться на основе разницы в интенсивности одного члена пары в сравнении с другим, или на основе внесения изменения в одного из членов пары (например, посредством химической модификации, фотохимической модификации или физической модификации), которое вызывает обнаружение явного появления или исчезновения сигнала для другого члена пары. Примеры устройства и способов различения четырех разных нуклеотидов с использованием обнаружения менее четырех цветов описаны, например, в заявках на патент США с серийными №№ 61/538,294 и 61/619,878, которые полностью включены в настоящий документ путем ссылки. В данном контексте уместна также заявка на патент США № 13/624,200, которая была подана 21 сентября 2012 г. и тоже полностью включена в настоящий документ путем ссылки.
[00154] Множество модулей протоколов может также содержать модуль 137 подготовки (или формирования) образца, который выполнен с возможностью подачи команд системе 106 управления текучей средой и системе 110 управления температурой для амплификации продукта в биодатчике 102. Например, биодатчик 102 может быть введен в контакт с системой 100 определения оснований. Модуль 137 амплификации может выдавать системе 106 управления текучей средой инструкции на доставку необходимых компонентов амплификации в реакционную камеру в биодатчике 102. В других вариантах реализации зоны реакции уже могут содержать некоторые компоненты для амплификации, такие как матрица ДНК и/или праймеры. После доставки компонентов амплификации в реакционные камеры модуль 137 амплификации может выдать системе 110 управления температурой инструкцию на циклическое прохождение разных стадий температуры в соответствии с известными протоколами амплификации. В некоторых вариантах реализации амплификацию и/или включение нуклеотидов выполняют изотермически.
[00155] Модуль 136 SBS может выдавать команды на выполнение мостиковой ПЦР, в которой кластеры клональных ампликонов формируют на локализованных областях в канале проточной кюветы. После формирования ампликонов посредством мостиковой ПЦР ампликоны могут быть «линеаризованы» для получения однонитевой матричной ДНК, или онмДНК, и секвенирующий праймер может быть гибридизирован с универсальной последовательностью, которая примыкает к области, представляющей интерес. Например, указанный выше способ секвенирования на основе обратимого терминатора путем синтеза может быть использован следующим образом.
[00156] Каждый цикл определения оснований или секвенирования может удлинять онмДНК на одно основание, что может быть осуществлено, например, с использованием модифицированной ДНК-полимеразы и смеси из нуклеотидов четырех типов. Нуклеотиды разных типов могут иметь уникальные флуоресцентные метки, и каждый нуклеотид может также иметь обратимый терминатор, благодаря которому в каждом цикле может происходить включение только одного основания. После добавления одного основания к онмДНК в зоны реакции может быть подан возбуждающий свет и могут быть обнаружены флуоресцентные излучения. После обнаружения флуоресцентная метка и терминатор могут быть химически отщеплены от онмДНК. Затем может последовать следующий цикл определения оснований или секвенирования. В таком протоколе секвенирования модуль 136 SBS может выдавать системе 106 управления текучей средой инструкцию на направление потока реагентов и растворов ферментов через биодатчик 102. Примеры способов основанного на обратных терминаторах SBS, которые могут быть использованы в устройстве и способах, изложенных в настоящем документе, описаны в публикации заявки на патент США № 2007/0166705 A1, публикации заявки на патент США № 2006/0188901 A1, патенте США № 7,057,026, публикации заявки на патент США № 2006/0240439 A1, публикации заявки на патент США № 2006/0281109 A1, публикации PCT № WO 2005/065814, публикации заявки на патент США № 2005/0100900 A1, публикации PCT № WO 2006/064199 и публикации PCT № WO 2007/010251, каждая из которых полностью включена в настоящий документ путем ссылки. Примеры реагентов для основанной на обратимом терминаторе SBS описаны в документах US 7,541,444; US 7,057,026; US 7,414,116; US 7,427,673; US 7,566,537; US 7,592,435 и WO 2007/135368, каждый из которых полностью включен в настоящий документ путем ссылки.
[00157] В некоторых вариантах реализации модули амплификации или SBS могут работать в одном протоколе анализа, когда, например, матричную нуклеиновую кислоту амплифицируют и затем секвенируют в одном и том же картридже.
[00158] Система 100 определения оснований может также позволять пользователю изменять конфигурацию протокола анализа. Например, система 100 определения оснований может посредством пользовательского интерфейса 114 предоставлять пользователю возможности выбора для изменения определенного протокола. Например, если определено, что биодатчик 102 подлежит использованию для амплификации, система 100 определения оснований может запросить температуру для цикла отжига. Кроме того, система 100 определения оснований может выдавать пользователю предупреждения, если введенное пользователем в целом неприемлемо для выбранного протокола анализа.
[00159] В вариантах реализации биодатчик 102 содержит миллионы датчиков (или пикселей), каждый из которых формирует множество последовательностей сигналов пикселей в течение последовательных циклов определения оснований. Процессор 130 сигналов обнаруживает множество последовательностей сигналов пикселей и относит их к соответствующим датчикам (или пикселям) в соответствии с положением датчиков в строке и/или столбце матрицы датчиков.
Биодатчик
[00160] На Фиг. 3 показано поперечное сечение биодатчика 300, который может быть использован в различных вариантах реализации. Биодатчик 300 имеет области 306', 308', 310', 312' и 314' пикселей, каждая из которых может содержать более одного кластера во время цикла определения оснований (например, 2 кластера в каждой области пикселя). Биодатчик 300 может иметь признаки, аналогичные признакам биодатчика 102 (Фиг. 1), описанного выше, и может быть использован, например, в картридже. Как показано, биодатчик 300 может содержать проточную кювету 302, которая установлена на устройство 304 анализа образцов. В показанном варианте реализации проточная кювета 302 прикреплена непосредственно к устройству 304 анализа образцов. Однако в альтернативных вариантах реализации проточная кювета 302 может быть соединена с возможностью разъединения с устройством 304 анализа образцов. Устройство 304 анализа образцов имеет поверхность 334 для образцов, которая может быть функционализирована (например, химически или физически изменена подходящим образом для выполнения требуемых реакций). Например, поверхность 334 для образцов может быть функционализирована и может содержать множество областей пикселей 306', 308', 310', 312' и 314', каждая из которых может содержать один или более кластеров во время цикла определения оснований (например, каждая имеет соответствующую пару кластеров 306AB, 308AB, 310AB, 312AB и 314AB, иммобилизованных на ней). Каждая область пикселя связана с соответствующим датчиком (или пикселем, или фотодиодом) 306, 308, 310, 312 и 314, так что свет, принимаемый областью пикселя, фиксируется соответствующим датчиком. Область 306' пикселя может быть также связана с соответствующей зоной 306'' реакции на поверхности 334 для образцов, которая удерживает пару кластеров, так что свет, излучаемый из зоны 306'' реакции, принимается областью 306' пикселя и фиксируется соответствующим датчиком 306. В результате такой сенсорной структуры в случае наличия двух или более кластеров в области пикселя конкретного датчика во время цикла определения основания (например, каждый имеет соответствующую пару кластеров) сигнал пикселя в этом цикле определения оснований содержит информацию, основанную на всех двух или более кластерах. В результате для различения каждого кластера, когда в данном событии анализа образцов конкретного цикла определения состояний кластеров больше, чем сигналов пикселей, используют обработку сигналов, описанную в настоящем документе.
[00161] В показанном варианте реализации проточная кювета 302 содержит боковые стенки 338, 340 и крышку 336 проточной части, которая поддерживается боковыми стенками 338, 340. Боковые стенки 338, 340 соединены с поверхностью 334 для образцов и проходят между крышкой 336 проточной части и боковыми стенками 338, 340. В некоторых вариантах реализации боковые стенки 338, 340 сформированы из способного к отверждению адгезивного слоя, который связывает крышку 336 с устройством 304 анализа образцов.
[00162] Боковые стенки 338, 340 имеют такие размер и форму, чтобы между крышкой 336 проточной части и устройством 304 анализа образцов имелся проточный канал 344. Как показано, проточный канал 344 может иметь высоту H1, которая определяется боковыми стенками 338, 340. Высота H1 может составлять около 50-400 мкм (микрометров) или, более конкретно, 80-200 мкм. В показанном варианте реализации высота H1 составляет около 100 мкм. Крышка 336 проточной части содержит материал, который прозрачен для возбуждающего света 301, распространяющегося снаружи биодатчика 300 в проточный канал 344. Как показано на Фиг. 3, возбуждающий свет 301 достигает крышки 336 проточной части под неортогональным углом. Однако это только в иллюстративных целях, так как возбуждающий свет 301 может достигать крышки 336 проточной части под разными углами.
[00163] Также показано, что крышка 336 проточной части может содержать впускной и выпускной порты 342, 346, которые выполнены с возможностью введения в контакт по текучей среде с другими портами (не показаны). Например, другие порты могут быть из картриджа или рабочей станции. Проточный канал 344 имеет размер и форму для направления текучей среды вдоль поверхности 334 для образцов. Высота H1 и другие размеры проточного канала 344 могут быть сконфигурированы таким образом, чтобы поддерживать по существу равномерный поток текучей среды вдоль поверхности 334 для образцов. Размеры проточного канала 344 могут быть также сконфигурированы таким образом, чтобы подавлять образование пузырьков.
[00164] Как показано в примере на Фиг. 3, боковые стенки 338, 340 и крышка 336 проточной части являются отдельными компонентами, которые соединены друг с другом. В альтернативных вариантах реализации боковые стенки 338, 340 и крышка 336 проточной части могут сформированы как единое цело так, чтобы боковые стенки 338, 340 и крышка 336 проточной части были образованы из цельного куска материала. В качестве примера крышка 336 проточной части (или проточная кювета 302) может быть выполнена из прозрачного материала, такого как стекло или пластмасса. Крышка 336 проточной части может представлять собой по существу прямоугольный блок, имеющий плоскую внешнюю поверхность и плоскую внутреннюю поверхность, которая образует проточный канал 344. Блок может быть установлен на боковые стенки 338, 340. В альтернативном варианте реализации проточная кювета 302 может быть протравлена для образования крышки 336 проточной части и боковых стенок 338, 340. Например, в прозрачном материале может быть вытравлена выемка. При установке протравленного материала на поверхность 304 для образцов выемка может стать проточным каналом 344.
[00165] Устройство 304 анализа образцов может быть аналогичным, например, интегральной схеме, содержащей множество уложенных друг на друга слоев 320-326 подложки. Слои 320-326 подложки могут включать базовую подложку 320, твердотельный формирователь 322 изображения (например, КМОП-датчик изображения), фильтр или слой 324 управления светом и пассивирующий слой 326. Следует отметить, что приведенное выше является только иллюстрацией, и другие варианты реализации могут включать меньше слоев или дополнительные слои. Кроме того, каждый из слоев 320-326 подложки может содержать множество подслоев. Как будет описано более подробно ниже, устройство 304 анализа образцов может быть изготовлено с использованием процессов, которые аналогичны используемым при изготовлении интегральных схем, таких как КМОП-датчики изображения и ПЗС. Например, слои 320-326 подложки или их части могут быть выращены, осаждены, вытравлены и т.п. для образования устройства 304 анализа образцов.
[00166] Пассивирующий слой 326 выполнен с возможностью защиты фильтрующего слоя 324 от воздействия текучей среды в проточном канале 344. В некоторых случаях пассивирующий слой 326 также выполнен с возможностью обеспечения твердой поверхности (т.е. поверхности 334 для образцов), которая позволяет иммобилизовать на ней биомолекулы или другие представляющие интерес аналиты. Например, каждая из зон реакции может содержать кластер биомолекул, которые иммобилизованы на поверхности 334 для образцов. Таким образом, пассивирующий слой 326 может быть сформирован из материала, которые позволяет иммобилизовать на нем зоны реакции. Пассивирующий слой 326 может также быть выполнен из материала, который прозрачен по меньшей мере для требуемого флуоресцентного света. В качестве примера пассивирующий слой 326 может содержать нитрид кремния (Si3N4) и/или оксид кремния (SiO2). Однако могут быть использованы другие подходящие материалы. В показанном примере реализации пассивирующий слой 326 может быть по существу плоским. Однако в альтернативных вариантах реализации пассивирующий слой 326 может содержать выемки, такие как ямки, лунки, канавки и т.п. В показанном варианте реализации пассивирующий слой 326 имеет толщину около 150-200 нм, более конкретно, около 170 нм.
[00167] Фильтрующий слой 324 может содержать различные элементы, которые влияют на передачу света. В некоторых вариантах реализации фильтрующий слой 324 может выполнять несколько функций. Например, фильтрующий слой 324 может быть выполнен с возможностью (a) фильтрации нежелательных световых сигналов, таких как световые сигналы из источника возбуждающего света; (b) направления сигналов излучения из зон реакции на соответствующие датчики 306, 308, 310, 312 и 314, которые выполнены с возможностью обнаружения сигналов излучения из зон реакции; или (c) блокировки или предотвращения обнаружения нежелательных сигналов излучения из прилегающих зон реакции. Таким образом, фильтрующий слой 324 может также называться слоем управления светом. В показанном варианте реализации фильтрующий слой 324 имеет толщину около 1-5 мкм, более конкретно, около 3-4 мкм. В альтернативных вариантах осуществления фильтрующий слой 324 может содержать матрицу микролинз или других оптических компонентов. Каждая из микролинз может быть выполнена с возможностью направления сигналов излучения из связанной зоны реакции на датчик.
[00168] В некоторых вариантах реализации твердотельный формирователь 322 изображения и основная подложка 320 могут быть обеспечены вместе в виде предварительного созданного твердотельного устройства формирования изображения (например, КМОП-чипа). Например, основная подложка 320 может быть кремниевой пластиной, а твердотельный формирователь 322 изображения может быть установлен на ней. Твердотельный формирователь 322 изображения содержит слой полупроводникового материала (например, кремния) и датчики 306, 308, 310, 312 и 314. В показанном варианте реализации датчики являются фотодиодами, выполненными с возможностью обнаружения света. В других вариантах реализации датчики выполнены в виде детекторов света. Твердотельный формирователь 322 изображения может быть изготовлен в виде одного кристалла посредством производственных процессов на основе КМОП.
[00169] Твердотельный формирователь 322 изображения может содержать твердую матрицу датчиков 306, 308, 310, 312 и 314, которые выполнены с возможностью обнаружения действия, указывающего на требуемую реакцию в пределах или вдоль проточного канала 344. В некоторых вариантах реализации каждый датчик имеет область пикселя (или область обнаружения), которая составляет около 1-3 квадратных микрометров (мкм2). Матрица может содержать 500 000 датчиков, 5 миллионов датчиков, 10 миллионов датчиков или даже 130 миллионов датчиков. Датчики 306, 308, 310, 312 и 314 могут быть выполнены с возможностью обнаружения света предварительно определенной длины волны, который указывает на требуемую реакцию.
[00170] В некоторых вариантах реализации устройство 304 анализа образцов содержит структуру микросхем, такую как структура микросхем, описанная в патенте США № 7,595,883, который полностью включен в настоящий документ путем ссылки. Точнее говоря, устройство 304 анализа образцов может содержать интегральную схему, имеющую плоскую матрицу датчиков 306, 308, 310, 312 и 314. Матрица датчиков 306, 308, 310, 312 и 314 может быть соединена с возможностью обмена данными со строковым декодером и столбцовым усилителем или декодером. Столбцовый усилитель может быть также соединен с возможностью обмена данными со столбцовым аналогово-цифровым преобразователем (столбцовым АЦП/мультиплексором). С вышеуказанными компонентами могут быть соединены другие схемы, в том числе цифровой процессор сигналов и память. Схема, сформированная внутри устройства 304 анализа образцов, может быть выполнена с возможностью по меньшей мере усиления, оцифровывания, сохранения и обработки сигнала. Схема может собирать и анализировать данные обнаруженного флуоресцентного света и формировать сигналы пикселей (или сигналы детектирования) для передачи данных детектирования процессору 138 сигналов. Схема может также выполнять дополнительную обработку аналогового и/или цифрового сигнала в устройстве 304 анализа образцов. Устройство 304 анализа образцов может содержать электропроводящие сквозные отверстия 330, которые выполняют маршрутизацию сигналов (например, передают сигналы пикселей процессору 138 сигналов). Сигналы пикселей могут быть также переданы посредством электрических контактов 332 устройства 304 анализа образцов.
[00171] Однако устройство 304 анализа образцов не ограничено вышеуказанными конструкциями или способами использования, описанными выше. В альтернативных вариантах реализации устройство 304 анализа образцов может принимать другие формы. Например, устройство 304 анализа образцов может быть выполнено в виде ПЗС-устройства, такого как ПЗС-камера, которое соединено с проточной кюветой или перемещается для сопряжения с проточной кюветой, имеющей зоны реакции. В других вариантах реализации устройство 304 анализа образцов может быть изготовленным на основе КМОП датчиком, в том числе химически чувствительными полевыми транзисторами (chemFET), чувствительными к определенным ионам полевыми транзисторами (ISFET) и/или полевыми транзисторами со структурой металл-оксид-полупроводник (MOSFET). Такие варианты реализации могут включать матрицу полевых транзисторов (FET), которые могут быть выполнены с возможностью обнаружения изменения электрических свойств в реакционных камерах. Например, полевые транзисторы могут обнаруживать по меньшей мере присутствие и изменение концентрации различных аналитов. В качестве примера матрица полевых транзисторов может контролировать изменения концентрации иона водорода. Такие устройства анализа образцов описаны более подробно в публикации заявки на патент США № 2009/0127589, которая полностью включена в настоящий документ путем ссылки для использования в целях лучшего понимания таких матриц полевых транзисторов.
[00172] На Фиг. 4 показано поперечное сечение биодатчика 400, который может быть использован в различных вариантах реализации. Биодатчик 400 имеет лунки 406, 408, 410, 412 и 414, каждая из которых может содержать более одного кластера во время цикла определения оснований (например, 2 кластера в каждой лунке). Поверхность 334 для образцов может быть по существу плоской, как показано на Фиг. 3. Однако в альтернативных вариантах реализации поверхности 334 для образцов может быть придана форма с образованием лунок (или реакционных камер), в которой каждая лунка имеет одну или более зон реакции. Лунки могут быть образованы, например, стенками лунки, которые по существу отделяют зоны реакции одной лунки от зон реакции примыкающей лунки.
[00173] Как показано на Фиг. 4, лунки 406, 408, 410, 412 и 414 могут быть распределены по некоторой схеме вдоль поверхности 334 для образцов. Например, лунки 406, 408, 410, 412 и 414 могут находиться в строках и столбцах вдоль поверхности 334 для образцов таким образом, который напоминает микроматрицу. Однако понятно, что могут быть использованы различные схемы лунок 406, 408, 410, 412 и 414. В конкретных вариантах реализации каждая из лунок 406, 408, 410, 412 и 414 содержит более одного кластера биомолекул (например, олигонуклеотиды), которые иммобилизованы на поверхности 334 для образцов. Например, лунка 406 содержит пару кластеров 306AB, лунка 408 содержит пару кластеров 308AB, лунка 410 содержит пару кластеров 310AB, лунка 412 содержит пару кластеров 312AB и лунка 414 содержит пару кластеров 314AB.
[00174] Датчики выполнены с возможностью обнаружения световых сигналов, излучаемых из лунок. В конкретных вариантах реализации с соответствующими лунками 406, 408, 410, 412 и 414 на поверхности 334 для образов могут быть также связаны области 306', 308', 310', 312' и 314' пикселей, так что свет, излучаемый из лунок 406, 408, 410, 412 и 414, принимается соответствующими областями 306', 308', 310', 312' и 314' пикселей и фиксируется соответствующими датчиками 306, 308, 310, 312 и 314.
[00175] В вариантах реализации поверхность 334 для образцов имеет фиксированное положение относительно устройства 304 анализа образцов, так что лунки 406, 408, 410, 412 и 414 имеют известные пространственные местоположения относительно по меньшей мере одного предварительно определенного датчика (или пикселя). По меньшей мере один предварительно определенный датчик обнаруживает активность требуемых реакций в перекрывающей лунке. Таким образом, лунки 406, 408, 410, 412 и 414 могут быть связаны с по меньшей мере одним из датчиков 306, 308, 310, 312 и 314. Для этого схема устройства 304 анализа образцов может содержать ядра, которые автоматически связывают сигналы пикселей (или сигналы обнаружения), обеспечиваемые предварительно определенными датчиками 306, 308, 310, 312 и 314, с назначенными лунками 406, 408, 410, 412 и 414. В качестве примера, когда сигналы пикселей формируются датчиком 306, показанным на Фиг. 4, сигналы пикселей будут автоматически связаны с лункой 406, показанной на Фиг. 4. Такая конфигурация может способствовать обработке и анализу данных обнаружения. Например, сигналы пикселя из одной лунки могут быть автоматически найдены в определенной позиции на матрице, исходя из построчного и/или постолбцового декодирования.
[00176] В некоторых вариантах реализации датчики (или пиксели) лежат под кластерами или находятся под ними. В других вариантах реализации датчики (или пиксели) лежат над или находятся сверху них. В еще одних вариантах реализации датчики (или пиксели) находятся сбоку кластеров (например, справа и/или слева).
Определение оснований для нескольких кластеров на датчик (или пиксель)
[00177] В вариантах реализации раскрываемая технология увеличивает пропускную способность биодатчика 300 за счет использования сигналов пикселей с меньшего количества датчиков (или пикселей), чем количество кластеров, для которых определяют основания в цикле определения основания. В конкретных вариантах реализации, если биодатчик 300 имеет N активных датчиков, то в раскрываемой технологии сигналы пикселей от N активных датчиков используют для определения оснований N + M кластеров, где M является положительным целым числом. В вариантах реализации этого достигают путем определения оснований нескольких кластеров на датчик (или пиксель), как описано ниже.
[00178] В вариантах реализации датчик (или пиксель) на поверхности 334 для образцов выполнен с возможностью приема световых излучений из по меньшей мере двух кластеров. В некоторых вариантах реализации датчик одновременно принимает световые излучения из по меньшей мере двух кластеров.
[00179] В конкретных вариантах реализации интенсивность соответствующих световых излучений двух кластеров значительно отличается, так что один из двух кластеров является «ярким» кластером, а другой является «тусклым» кластером. В вариантах реализации значения интенсивности меняются между циклами определения оснований и, следовательно, классификация яркого и тусклого тоже меняется между циклами. В других вариантах реализации яркий кластер называют «старшим» или «основным» кластером, а тусклый кластер называют «младшим» или «второстепенным» кластером. Некоторые примеры отношений значений интенсивности между яркими и тусклыми кластерами включают 0,55:0,45, 0,60:0,40, 0,65:0,35, 0,70:0,30, 0,75:0,25, 0,80:0,20, 0,85:0,15, 0,90:0,10 и 0,95:0,05.
[00180] В еще одних вариантах реализации по меньшей мере два кластера являются не яркими и тусклыми кластерами, а кластерами с разными интенсивностями или кластерами, формирующие сигналы разных типов.
[00181] Во время каждого события анализа образцов (например, каждой стадии освещения или каждой стадии получения изображения) процессор 138 сигналов принимает общий единый сигнал пикселя для по меньшей мере двух кластеров (например, как яркого, так и тусклого кластеров). Общий единый сигнал пикселя, сформированный при каждом событии анализа образцов, включает/представляет/отражает/содержит световые излучения/сигналы интенсивности/зафиксированный свет/считанную информацию для или из по меньшей мере двух кластеров (например, как яркого, так и тусклого кластеров). Другими словами, по меньшей мере два кластера (например, как яркий, так и тусклый кластеры) вносят вклад в общий единый сигнал пикселя, формируемый при каждом событии анализа образцов. Соответственно, при каждом событии анализа образцов одновременно детектируют световые излучения из по меньшей мере двух кластеров (например, как яркого кластера, так и тусклого кластера), и общий единый сигнал пикселя отражает световые излучения из по меньшей мере двух кластеров (например, как яркого, так и тусклого кластеров).
[00182] Например, на Фиг. 3 и 4 пара 306AB кластеров содержит кластеры 306A и 306B, у которых общий датчик 306. Таким образом, кластер 306A может быть тусклым кластером, а кластер 306B может быть ярким кластером в зависимости от их соответствующих значений интенсивности. После этого процессор 138 сигналов с помощью алгоритма классификации относит сигналы пикселя из яркого и тусклого кластеров к одному из шестнадцати распределений, как описано ниже. В конкретных вариантах реализации яркий и тусклый кластер занимают одну лунку, например, лунку 406. Таким образом объединение кластеров в пары может быть определено на основе общей области пикселя или общей лунки, либо того и другого.
[00183] На Фиг. 5A и 5B представлены графики 500A и 500B рассеяния, которые изображают определение оснований яркого и тусклого кластеров с использованием их соответствующих сигналов пикселя, обнаруженных общим датчиком, в соответствии с одним вариантом реализации. Ось X графиков 500A и 500B рассеяния представляет сигналы AT пикселя, обнаруженные во время второй стадии освещения события анализа образцов, которая вызывает освещение из данного кластера, указывающее нуклеотидные основания A и T. Ось Y графиков 500A и 500B рассеяния представляет сигналы CT пикселя, обнаруженные во время первой стадии освещения события анализа образцов, которая вызывает освещение из данного кластера, указывающее нуклеотидные основания C и T.
[00184] График 500A рассеяния показывает распределения 502, 504, 506 и 508, к которым процессор 138 сигналов относит сигналы пикселя из яркого кластера. В показанном варианте реализации распределение 502 представляет нуклеотидное основание C в ярком кластере, распределение 504 представляет нуклеотидное основание T в ярком кластере, распределение 506 представляет нуклеотидное основание G в ярком кластере и распределение 508 представляет нуклеотидное основание A в ярком кластере.
[00185] График 500B показывает шестнадцать подраспределений (или распределений) 502A-D, 504A-D, 506A-D и 508A-D с четырьмя подраспределениями для каждого из четырех распределений 502, 504, 506 и 508 графика 500A рассеяния, к которым процессор 138 сигналов относит сигналы пикселя из тусклого кластера. В показанном варианте реализации подраспределения, обозначенные буквой «A», представляют нуклеотидное основание C в тусклом кластере, подраспределения, обозначенные буквой «B», представляют нуклеотидное основание T в тусклом кластере, подраспределения, обозначенные буквой «C», представляют нуклеотидное основание G в тусклом кластере, и подраспределения, обозначенные буквой «D», представляют нуклеотидное основание A в тусклом кластере. В других вариантах реализации могут быть использованы другие кодировки оснований. Когда процессор сигналов относит сигналы пикселя из тусклого кластера к одному из шестнадцати подраспределений, классификацию соответствующего яркого кластера определяют по распределению, которое содержит подраспределение тусклого класса. Например, если тусклый кластер отнесен к подраспределению 508B (нуклеотидное основание T), то распределением соответствующего яркого класса является 508 (нуклеотидное основание A). В результате процессор 138 сигналов определяет основание яркого кластера как A, а основание тусклого класса как T.
[00186] На Фиг. 6 приведен график 600 рассеяния, который изображает шестнадцать распределений (или ячеек), создаваемых с помощью значений интенсивности из яркого и тусклого кластеров пары кластеров в соответствии с одним вариантом реализации. В вариантах реализации шестнадцать ячеек создают в течение множества циклов определения оснований. Процессор 138 сигналов объединяет сигналы пикселя из яркого из тусклого кластера и отображает их в одну из шестнадцати ячеек. При отображении объединенных сигналов пикселя в ячейку 612 для цикла определения оснований процессор 138 сигналов определяет яркий кластер как C и тусклый кластер как C. При отображении объединенных сигналов пикселя в ячейку 614 для цикла определения оснований процессор 138 сигналов определяет яркий кластер как C и тусклый кластер как T. При отображении объединенных сигналов пикселя в ячейку 616 для цикла определения оснований процессор 138 сигналов определяет яркий кластер как C и тусклый кластер как G. При отображении объединенных сигналов пикселя в ячейку 618 для цикла определения оснований процессор 138 сигналов определяет яркий кластер как C и тусклый кластер как A.
[00187] При отображении объединенных сигналов пикселя в ячейку 622 для цикла определения оснований процессор 138 сигналов определяет яркий кластер как T и тусклый кластер как C. При отображении объединенных сигналов пикселя в ячейку 624 для цикла определения оснований процессор 138 сигналов определяет яркий кластер как T и тусклый кластер как T. При отображении объединенных сигналов пикселя в ячейку 626 для цикла определения оснований процессор 138 сигналов определяет яркий кластер как T и тусклый кластер как G. При отображении объединенных сигналов пикселя в ячейку 628 для цикла определения оснований процессор 138 сигналов определяет яркий кластер как T и тусклый кластер как A.
[00188] При отображении объединенных сигналов пикселя в ячейку 632 для цикла определения оснований процессор 138 сигналов определяет яркий кластер как G и тусклый кластер как C. При отображении объединенных сигналов пикселя в ячейку 634 для цикла определения оснований процессор 138 сигналов определяет яркий кластер как G и тусклый кластер как T. При отображении объединенных сигналов пикселя в ячейку 636 для цикла определения оснований процессор 138 сигналов определяет яркий кластер как G и тусклый кластер как G. При отображении объединенных сигналов пикселя в ячейку 638 для цикла определения оснований процессор 138 сигналов определяет яркий кластер как G и тусклый кластер как A.
[00189] При отображении объединенных сигналов пикселя в ячейку 642 для цикла определения оснований процессор 138 сигналов определяет яркий кластер как A и тусклый кластер как C. При отображении объединенных сигналов пикселя в ячейку 644 для цикла определения оснований процессор 138 сигналов определяет яркий кластер как A и тусклый кластер как T. При отображении объединенных сигналов пикселя в ячейку 646 для цикла определения оснований процессор 138 сигналов определяет яркий кластер как A и тусклый кластер как G. При отображении объединенных сигналов пикселя в ячейку 648 для цикла определения оснований процессор 138 сигналов определяет яркий кластер как A и тусклый кластер как A.
[00190] На Фиг. 7A приведена таблица 700A детектирования, которая иллюстрирует схему определения оснований для протокола секвенирования с одним красителем и двумя стадиями освещения в соответствии с одним вариантом реализации. Одним из отличий между разными стратегиями обнаружения включения нуклеотида в реакции секвенирования с использованием одного флуоресцентного красителя (или двух или более красителей с одинаковыми или подобными спектрами возбуждения/излучения), является охарактеризование включений с точки зрения присутствия или относительного отсутствия, или уровней между ними, флуоресцентного перехода, который происходит во время цикла секвенирования. Таким образом, стратегии секвенирования могут быть представлены их флуоресцентным профилем для цикла секвенирования. Для стратегий секвенирования, описанных в настоящем документе, «1» и «0» обозначают флуоресцентное состояние, в котором находится нуклеотид: в состоянии сигнала (например, может быть обнаружен с помощью флуоресценции), или в темном состоянии (например, не обнаруживается или минимально обнаруживается на этапе формирования изображения). Состояние «0» необязательно означает полное отсутствие или неимение сигнала. Также предполагается, что минимальный или ослабленный флуоресцентный сигнал (например, фоновый сигнал) охватывается состоянием «0» при условии, что изменение флуоресценции при переходе от первого ко второму событию освещения (или наоборот) можно легко различить. Используемая в одном варианте реализации стратегия обнаружения и определения включения нуклеотида в реакции секвенирования с использованием одного флуоресцентного красителя (или двух красителей с одинаковыми или подобными спектрами возбуждения/излучения) и двух событий освещения показана на примере таблицы 700A детектирования.
[00191] В показанном варианте реализации во время первой стадии освещения (сигнал AT) нуклеотидное основание A помечено или включено (обозначено битом 1), нуклеотидное основание C не помечено или выключено (обозначено битом 0), нуклеотидное основание G не помечено или выключено (обозначено битом 0) и нуклеотидное основание T помечено или включено (обозначено битом 1). Во время второй стадии освещения (сигнал CT) нуклеотидное основание A не помечено или выключено (обозначено битом 0), нуклеотидное основание C помечено или включено (обозначено битом 1), нуклеотидное основание G не помечено или выключено (обозначено битом 0) и нуклеотидное основание T помечено или включено (обозначено битом 1).
[00192] На Фиг. 7B приведена таблица 700B определения оснований, которая показывает схему классификации для отнесения объединенных сигналов пикселей, причем каждый сигнал пикселя содержит информацию из яркого и тусклого кластеров пары кластеров, к шестнадцати ячейкам в соответствии с одним вариантом реализации.
[00193] Согласно раскрываемой технологии формируют сигнал пикселя, который представляет информацию, считанную из всего множества кластеров в области пикселя общего датчика. Затем последовательность таких общекластерных сигналов пикселей отображают в ячейки, чтобы определить основания всех кластеров. Таким образом, отдельный дискретный сигнал пикселя для каждого кластера не формируют. Это обеспечивает преимущество, заключающееся в многократном сокращении количества получений изображения и тем самым уменьшении времени секвенирования и ускорении обработки последовательности.
[00194] Обратимся к Фиг. 7B, на которой определяют основания яркого кластера и тусклого кластера в области пикселя. В каждом цикле отбирают пробы двух сигналов пикселя: сигнал AT и сигнал CT. Во время первого события анализа образцов световые излучения яркого и тусклого кластеров для флуоресцентно меченных аденинов (A) и тиминов (T) регистрируют в сигнале AT вместо двух отдельных сигналов AT, т.е. одного для яркого кластера и другого для тусклого кластера. Аналогичным образом во время второго события анализа образцов световые излучения яркого и тусклого кластеров для флуоресцентно меченных цитозинов (C) и тиминов (T) регистрируют в сигнале СT вместо двух отдельных сигналов AT, т.е. одного для яркого кластера и другого для тусклого кластера.
[00195] Таким образом, во время одного события анализа образцов принимают световые излучения из обоих кластеров и получают общий единый сигнал пикселя. Поэтому в каждом событии анализа образцов излучения из яркого и тусклого кластеров совместно представлены в общем едином сигнале пикселя.
[00196] Кроме того, в каждом цикле для совместного определения оснований яркого и тусклого кластера используют общую единую последовательность сигналов пикселей. На Фиг. 7B сигналы AT и CT вместе образуют общую единую последовательность сигналов пикселей. Таким образом, в раскрываемой технологии не используют две отдельные последовательности сигналов пикселей, т.е. одну для яркого кластера и другую для тусклого кластера, чтобы по отдельности определять основания яркого и тусклого кластеров. Это обеспечивает преимущество, заключающееся в многократном сокращении обработки сигналов и тем самым уменьшении времени секвенирования и ускорении обработки последовательности.
[00197] Раскрываемое определение оснований включает отображение общей единой последовательности сигналов пикселей в ячейки. Например, на Фиг. 7B в случае значений 1 и 0 последовательность сигналов AT и CT отображена в ячейку 1, а яркому и тусклому кластеру назначены определенные основания A и A, соответственно.
[00198] В примере, показанном на Фиг. 7B, используют детерминированное отношение интенсивностей яркого и тусклого кластеров 0,7:0,3. В вариантах реализации отношение интенсивности является неопределенным, поэтому оно дает пригодные для обнаружения яркий и тусклый кластеры, у которых общая область пикселя или лунка, либо и то, и другое.
[00199] В результате отношения интенсивностей, составляющего 0,7:0,3 (т.е. значительно отличающихся значений интенсивности световых излучений яркого и тусклого кластеров) сигналы пикселя, считанные с общего датчика во время двух стадий освещения в течение множества циклов определения оснований, дают шестнадцать ячеек 701 (ячейки 1-16). Каждая ячейка имеет уникальную пару значений сигналов пикселя (например, уникальная пара 710 для ячейки 1), причем пара содержит первое значение 706 сигнала пикселя для двух кластеров на первой стадии освещения (сигнал AT) и второе значение 708 сигнала пикселя для двух кластеров на второй стадии освещения (сигнал CT).
[00200] Каждое значение 706 или 708 сигнала пикселя, в свою очередь, состоит из двух частей 706A и 706B или 708A и 708B сигнала, которые в сумме дают соответствующие значения 706 или 708 сигнала пикселя. Таким образом, для яркого и тусклого кластеров формируют общий единый сигнал пикселя.
[00201] Для каждого значения 706 или 708 сигнала пикселя первую часть 706A или 708A сигнала определяют из значения интенсивности световых излучений первого кластера, а вторую часть 706B или 708B сигнала определяют из значения интенсивности световых излучений второго кластера. В показанном примере в таблице 700B определения оснований первый кластер является ярким кластером 702, а второй кластер является тусклым кластером 704.
[00202] Так как отношение интенсивностей составляет 0,7:0,3, первый и второй сигнал пикселя принимают дно из четырех возможных значений - 1, 0, 0,7 или 0,3. Кроме того, когда яркий кластер дает бит «включен», его вклад или часть сигнала (706A, 708A) составляет 0,7. В отличие от этого, когда тусклый кластер дает бит «включен», его вклад или часть сигнала (706B, 708B) составляет 0,3. Вклад или часть сигнала, представляющие бит «выключен», обозначаются как 0 для обоих кластеров. Шестнадцать уникальных комбинаций из четырех возможных значений 1, 0, 0,7 и 0,3 дают шестнадцать ячеек 701.
[00203] После того, как в течение несколько циклов определения оснований процессором 138 идентифицированы шестнадцать ячеек 701 для пары кластеров яркий-тусклый, расположенной поверх общего датчика или лунки, процессор 138 использует таблицу 700B определения оснований для определения оснований яркого и тусклого кластеров в последующих цикла определения оснований. В одном варианте реализации эта идентификация приводит к классификации лунки как содержащей более одного кластера (т.е. яркий кластер и тусклый кластер). Таким образом, в последующих цикла определения оснований процессор сигналов выполняет первое считывание пикселя общего датчика для первой стадии освещения (сигнал AT). Первое считывание пикселя дает первый сигнал пикселя. Аналогичным образом второе считывание пикселя для второй стадии освещения (сигнал CT) дает второй сигнал пикселя. Первый и второй сигналы пикселя дают значения интенсивности, которые объединяют для образования пары значений. Эту пару значений можно сравнить с одной из уникальных пар значений в таблице 700B определения оснований. На основе сравнения выбирают одну из шестнадцати ячеек. Определение оснований для яркого и тусклого кластеров осуществляют в соответствии с нуклеотидными основаниями, назначенными выбранной ячейке. Этот процесс повторяют для последующих циклов определения оснований, чтобы идентифицировать нуклеотидные основания, присутствующие в соответствующих нуклеотидных последовательностях яркого и тусклого кластеров.
[00204] Следовательно, в раскрываемой технологии излучения из всех кластеров считают полезными для определения оснований вне зависимости от их относительной мощности. Причина в том, что для кластеров, которые имеют более слабые излучения (например, тусклый кластер), основания не определяют отдельно; вместо этого их основания определяют совместно с кластерами, которые имеют более мощные излучения (например, яркий кластер), используя общую единую последовательность сигналов пикселя, содержащих как более мощные, так и слабые излучения.
[00205] Как отмечалось выше, общий датчик захватывает фотоны из двух разных кластеров (например, яркий кластер и тусклый кластер). В некоторых вариантах реализации части сигнала обнаруживают путем обращения свертки показаний сигнала с общего датчика, чтобы различать отдельные части сигнала, формируемые каждым кластером.
[00206] На Фиг. 8 показан способ 800 определения основания путем анализа сигналов пикселей, излучаемых множеством кластеров с общей областью пикселя, в соответствии с одним вариантом реализации. На этапе 802 обнаруживают первый сигнал пикселя, который представляет свет, получаемый из нескольких кластеров в первой области пикселя во время первой стадии освещения цикла определения оснований. В некоторых вариантах реализации первая область пикселя принимает свет из связанной лунки на поверхности 334 для образцов. В других вариантах реализации первая область пикселя принимает свет из более чем одной связанной лунки на поверхности 334 для образцов.
[00207] На этапе 804 обнаруживают второй сигнал пикселя, который представляет свет, получаемый из нескольких кластеров в первой области пикселя во время второй стадии освещения цикла определения оснований.
[00208] В вариантах реализации первая область пикселя находится под множеством кластеров, для которых первая область пикселя является общей. Первый и второй сигналы пикселя могут быть получены первым датчиком из первой области пикселя. Первый и второй сигналы пикселя могут быть обнаружены процессором 138 сигналов, который выполнен с возможностью обработки сигналов пикселей, полученных первым датчиком.
[00209] В некоторых вариантах реализации первая стадия освещения может вызывать освещение из первого и второго кластеров для создания излучений из меченых нуклеотидных оснований A и T, а вторая стадия освещения может вызывать освещение из первого и второго кластеров для создания излучений из меченых нуклеотидных оснований C и T.
[00210] На этапе 806 комбинацию первого и второго сигналов пикселей используют для идентификации нуклеотидных оснований, включенных в каждый кластер множества кластеров во время цикла определения оснований. В вариантах реализации это включает отображение первого сигнала пикселя в по меньшей мере четыре ячейки и отображение второго сигнала пикселя в по меньшей мере четыре ячейки и объединение первого и второго отображения сигналов пикселей для определения оснований.
[00211] В вариантах реализации способ 800 применяют для идентификации нуклеотидных оснований, включенных в множество кластеров на множестве областей пикселей во время цикла определения оснований. В вариантах реализации способ 800 повторяют в течение последовательных циклов определения оснований для идентификации нуклеотидных оснований, включенных в множество кластеров на множестве областей пикселей во время каждого из циклов определения оснований.
[00212] В некоторых вариантах реализации для каждого из циклов определения оснований первый и второй сигналы пикселя, излучаемые множеством кластеров на множестве областей пикселей, детектируют и сохраняют. По завершении циклов определения оснований комбинацию первого и второго сигналов пикселя используют для идентификации нуклеотидных оснований, включенных в множество кластеров на множестве областей пикселей во время каждого из предшествующих циклов определения оснований.
[00213] На Фиг. 9 изображен способ 900 идентификации областей пикселей с более чем одним кластером на поверхности 334 для образцов биодатчика 300 и определения оснований кластеров в идентифицированных областях пикселя в соответствии с одним вариантом реализации. На этапе 902 выполняют множество циклов определения оснований. Каждый цикл определения оснований имеет первую стадию освещения и вторую стадию освещения.
[00214] На этапе 904 датчик, связанный с областью пикселя поверхности 334 для образцов, фиксирует (a) первый набор значений интенсивности, формируемых во время первой стадии освещения циклов определения оснований, (b) второй набор значений интенсивности, формируемых во время второй стадии освещения циклов определения оснований. В вариантах реализации значения интенсивности нормализуют. Кроме того, в некоторых вариантах реализации область пикселя принимает свет из связанной лунки на поверхности 334 для образцов.
[00215] На этапе 906 процессор сигналов 138 подбирает (показано на Фиг. 6) для первого и второго наборов значений интенсивности один из наборов распределений (где распределение представляет собой область на двухмерном графике, изображенном на Фиг. 6), содержащий шестнадцать распределений в данном примере, и на основе подбора классифицирует область пикселя как имеющую более одного кластера. В вариантах реализации процессор 138 сигналов использует один или более алгоритмов для подбора шестнадцати распределений. В число примеров алгоритмов входят алгоритм кластеризации методом k-средних, алгоритм кластеризации, подобный алгоритму методом k-средних, алгоритм максимизации ожидания и алгоритм на основе гистограммы.
[00216] На этапе 908 в течение последующего цикла определения оснований процессор 138 сигналов обнаруживает первый и второй наборы значений интенсивности для группы кластеров в этой области пикселя. На этапе 910 процессор 138 сигналов выбирает распределение для группы кластеров из шестнадцати распределений. Распределение идентифицирует нуклеотидное основание, присутствующее в каждом кластере группы кластеров.
[00217] В некоторых вариантах реализации отношения интенсивности являются неотъемлемым свойством яркого и тусклого кластеров, которые создают значительно отличающиеся световые излучения. В других вариантах реализации отношения интенсивности и значительно отличающиеся световые излучения между кластерами задействуют в следующих вариантах реализации, таких как неравномерное распределение кластеров на плоской поверхности, двойные лунки на датчик (или пиксель) и внеосевое освещение.
Основанный на плоской поверхности пространственный анализ неравномерно распределенных кластеров
[00218] На Фиг. 10 показан вид 1000 сверху в горизонтальной проекции поверхности 334 для образцов, имеющей области пикселей (изображенные в виде прямоугольников), на которых неравномерно распределены множество кластеров (изображенных в виде кружков), в соответствии с одним вариантом реализации. Позиции кластеров на поверхности 334 могут быть не ограничены лунками относительно местоположений датчиков (или пикселей). Такое расположение кластеров на поверхности 334 для образов называют неравномерным распределением. В конкретных вариантах реализации кластеры неравномерно распределены на «плоской» конфигурации поверхности 334 для образцов, которая не содержит лунок. В таком варианте реализации с плоской поверхностью области пикселей могут перекрываться.
[00219] В показанном варианте реализации рассмотрим два примера кластеров 1002 и 1004, у которых общие области пикселей A, B, C и D. В зависимости от положения кластера относительно центров областей пикселей A, B, C и D соответствующие датчики (или пиксели) принимают световые излучения разной величины. В результате получаются схемы освещения, которые создают дифференциальные перекрестные помехи между кластерами 1002 и 1004 в течение множества циклов определения оснований прогона секвенирования, которые могут быть использованы для построения карты местоположений кластеров на поверхности 334 для образцов, как описано ниже. Дифференциальные помехи воплощаются в сигналах пикселей в виде информации из двух или более кластеров в одном сигнале пикселя.
[00220] Процессор 138 сигналов выполняет анализ во временной последовательности и пространстве множества последовательностей сигналов пикселей для кластеров, чтобы определить схемы освещения, соответствующие отдельным кластерам, неравномерно распределенным на поверхности 334 для образцов. Множество последовательностей сигналов пикселей кодируют дифференциальные перекрестные помехи, являющиеся результатом неравномерного распределения по областям пикселей.
[00221] Пространственный анализ включает использование последовательностей сигналов пикселей, получаемых из группы областей пикселей, для определения пространственных характеристик данного кластера, в том числе местоположения данного кластера на поверхности 334 для образцов. После того, как местоположения кластеров и их схемы освещения идентифицированы в течение множества циклов определения оснований, основания кластеров могут быть определены процессором 138 сигналов с использованием одного из протоколов, рассмотренных выше.
[00222] В варианте реализации пространственного анализа раскрываемая технология увеличивает пропускную способность биодатчика 300 за счет использования N датчиков (или пикселей) для определения местоположения и определения оснований N + M неравномерно распределенных кластеров на поверхности 334 для образцов, где M является положительным целым числом. В некоторых вариантах реализации M равно N или почти равно N. В других вариантах реализации, когда два кластера, которые совместно используют (или вместе занимают) область пикселя и/или лунку, невозможно детектировать по отдельности ввиду недостаточной разницы в значениях интенсивности, M может быть не равно N или даже быть меньше N.
Двойные лунки на датчик (или пиксель)
[00223] На Фиг. 11A показан вид 1100A сбоку поверхности для образцов, имеющей по две лунки на область пикселя, в том числе основную (или старшую) лунку и второстепенную (или младшую) лунку, в соответствии с одним вариантом реализации. На Фиг. 11B изображен вид 1100B сверху в горизонтальной проекции поверхности для образцов, приведенной на Фиг. 11A.
[00224] В показанном варианте реализации общий датчик (или пиксель) 1106 соответствует двум лункам 1102 и 1104 на поверхности 334 для образцов. Поперечное сечение основной лунки над областью пикселя больше, чем у второстепенной лунки. Лунка 1104 является основной лункой, а лунка 1102 является второстепенной лункой, т. к. лунка 1104 имеет большее поперечное сечение над датчиком 1106.
[00225] В вариантах реализации две лунки имеют разные смещения относительно центра области 1106' пикселя. В показанном варианте реализации основная лунка 1104 находится ближе к центру 1106A области пикселя, чем второстепенная лунка 1102 (т.е. основная лунка 1104 имеет меньшее смещение относительно центра 1106A области пикселя, чем второстепенная лунка 1102).
[00226] Во время стадий освещения цикла определения оснований (или события анализа образцов) датчик 1106 принимает освещение разной величины из двух лунок из-за разного покрытия поперечным сечением и разных относительных смещений. Поскольку каждая из лунок 1102 и 1104 содержит соответствующий кластер 1102A и 1104A, разные величины освещения позволяют идентифицировать один из кластеров как яркий (или старший), а другой как тусклый (или младший). В показанном варианте реализации кластер 1102A в основной лунке 1102 идентифицируют как яркий кластер, а кластер 1104A во второстепенной лунки 1104 идентифицируют как тусклый кластер. В вариантах реализации датчик 1106 принимает из яркого кластера 1102A освещение, величина которого больше, освещения, принимаемого из тусклого кластера 1104A во второстепенной луке 1104.
[00227] После того, как яркий и тусклый кластеры идентифицированы, их основания могут быть определены процессором 138 сигналов с использованием одного из протоколов, рассмотренных выше. В некоторых вариантах реализации с двойными лунками на датчик (или пиксель) раскрываемая технология увеличивает пропускную способность биодатчика 300 за счет определения оснований двух кластеров 1102A и 1102B, содержащихся в двух лунках 1102 и 1104, с использованием одного общего датчика 1106. В других вариантах реализации с двойными лунками на датчик (или пиксель) раскрываемая технология увеличивает пропускную способность биодатчика 300 за счет использования N датчиков для определения оснований N + M кластеров в соответствующих N + M лунках поверхности 334 для образцов, где M является положительным целым числом. В некоторых вариантах реализации M равно N или почти равно N. В других вариантах реализации M может быть не равно N или даже быть меньше N.
Внеосевое освещение
[00228] На Фиг. 12A и 12B показано внеосевое освещение 1200A и 1200B лунки, перекрывающей область пикселя поверхности для образцов. Система 109 освещения выполнена с возможностью освещения областей 1204' и 1214' пикселей (связанных с датчиками 1204 и 1214) под разными углами сигналов 1201 и 1211 освещения в течение стадий освещения цикла определения оснований. В результате лунки 1202 и 1212 освещаются внеосевыми или неортогональными сигналами освещения. Это дает асимметрично освещенные области лунки в каждой из лунок 1202 и 1212, изображенные на Фиг. 12A и 12B светлыми и затемненными областями в каждой лунке. Асимметрично освещаемые области лунки содержат по меньшей мере основную область 1202B' или 1212A' лунки (изображенную более светлым оттенком) и второстепенную область 1202A' или 1212 B' лунки (изображенную более темным оттенком) так, что во время цикла определения оснований основная область лунки освещена больше, чем второстепенная область лунки.
[00229] Каждая лунка выполнена с возможностью содержания более одного кластера во время цикла определения оснований, причем каждая из основной и второстепенной областей лунки содержат кластер. В показанном варианте реализации лунка 1202 содержит два кластера 1202A и 1202B, причем кластер 1202A во второстепенной области 1202A' лунки, а кластер 1202B в основной области 1202B' лунки. Лунка 1212 содержит два кластера 1212A и 1212B, причем кластер 1212A в основной области 1212A' лунки, а кластер 1212B во второстепенной области 1202B' лунки.
[00230] Вследствие внеосевого освещения области пикселей 1204' и 1214' лунок 1202 и 1212 принимают освещение разной величины из основной и второстепенной областей лунки. В результате во время цикла определения оснований кластеры в основных областях лунок создают освещение большей величины, чем кластеры во второстепенных областях. Это позволяет для каждой лунки идентифицировать один из кластеров как яркий (или старший), а другой как тусклый (младший). В показанном варианте реализации для лунки 1202 кластер 1202B в основной области 1202B' лунки идентифицируют как яркий кластер, а кластер 1202A во второстепенной области 1202A' лунки идентифицируют как тусклый кластер. Для лунки 1212 кластер 1212A в основной области 1212A' лунки идентифицируют как яркий кластер, а кластер 1212B во второстепенной области 1212B' лунки идентифицируют как тусклый кластер.
[00231] После того, как яркий и тусклый кластеры идентифицированы для каждой лунки, их основания могут быть определены процессором 138 сигналов с использованием одного из протоколов, рассмотренных выше. В варианте реализации с внеосевым освещением раскрываемая технология увеличивает пропускную способность биодатчика 300 за счет использования N датчиков (или пикселей) для определения оснований N + M кластеров в N + M неортогонально освещаемых лунках на поверхности 334 для образцов, где M является положительным целым числом. В некоторых вариантах реализации M равно N или почти равно N. В других вариантах реализации, когда два кластера, которые совместно используют (или вместе занимают) область пикселя и/или лунку, невозможно детектировать по отдельности ввиду недостаточной разницы в значениях интенсивности, M может быть не равно N или даже быть меньше N.
[00232] В одном варианте реализации внеосевое освещение выполняют под углом сорок пять градусов. В некоторых вариантах реализации каждую область пикселя перекрывает одна лунка. В других вариантах реализации каждую область пикселя перекрывают две лунки.
[00233] На Фиг. 12C показаны асимметрично освещаемые области 1200C лунки, создаваемые внеосевым освещением, изображенным на Фиг. 12A и 12B, в соответствии с одним вариантом реализации. Как показано на Фиг. 12C, область 1220 лунки более освещена, чем область 1230 лунки.
Пункты
[00234] Изобретение также включает следующие пункты:
1. Устройство для определения оснований, содержащее:
приемник и биодатчик, причем приемник удерживает биодатчик, а биодатчик имеет
поверхность для образцов, которая содержит множество кластеров во время последовательности событий анализа образцов,
матрицу датчиков, выполненную с возможностью формирования множества последовательностей сигналов пикселей, причем матрица имеет N активных датчиков, датчики в матрице расположены относительно поверхности для образцов, чтобы формировать соответствующие сигналы пикселей во время последовательности событий анализа образцов из соответствующих N областей пикселей поверхности для образцов для создания множества последовательностей сигналов пикселей, и
порт связи, который выводит множество последовательностей сигналов пикселей;
процессор сигналов, соединенный с приемником и выполненный с возможностью приема и обработки множества последовательностей сигналов пикселей для классификации результатов последовательности событий анализа образцов в множестве кластеров, включая использование множества последовательностей сигналов пикселей от N активных датчиков для классификации результатов последовательности событий анализа образцов из N + M кластеров в множестве кластеров, где M является положительным целым числом.
2. Устройство по пункту 1, в котором результаты последовательности событий анализа образцов соответствуют нуклеотидным основаниям в кластерах.
3. Устройство по пункту 1 или 2, в котором события анализа образцов могут включать две стадии освещения во временной последовательности, а последовательности сигналов пикселей в множестве последовательностей сигналов пикселей содержат набор образцов сигналов для каждого события анализа образцов, причем набор содержит по меньшей мере один сигнал пикселя с каждой из двух стадий освещения.
4. Устройство по пункту 3, в котором процессор сигналов содержит логику для классификации результатов для двух кластеров на основании последовательностей сигналов пикселей из одного датчика в матрице датчиков.
5. Устройство по пункту 4, в котором логика для классификации результатов для двух кластеров включает отображение первого сигнала пикселя из набора образцов сигналов для события анализа образцов из конкретного датчика в по меньшей мере четыре ячейки, и отображение второго сигнала пикселя из множества сигналов пикселей для события анализа образцов в по меньшей мере четыре ячейки, и логическое объединение отображения первого и второго сигналов пикселей для классификации результатов для двух кластеров.
6. Устройство по любому из пунктов 1-5, в котором датчики в матрице датчиков выполнены в виде детекторов света.
7. Устройство по любому из пунктов 1-6, в котором события освещения включают две стадии освещения во временной последовательности, а последовательности сигналов пикселей в множестве последовательностей сигналов пикселей содержат набор проб сигналов для каждого события анализа образцов, причем набор содержит по меньшей мере один сигнал пикселя с каждой из двух стадий освещения, и при этом первая стадия освещения вызывает освещение из данного кластера, указывающее нуклеотидные основания A и T, а вторая стадия освещения вызывает освещение из данного кластера, указывающее нуклеотидные основания C и T, и результаты упомянутой классификации содержат определение одного из нуклеотидных оснований A, C, T или G.
8. Устройство по любому из пунктов 1-7, в котором поверхность для образцов содержит кластеры, которые распределены неравномерно по всем областям пикселей, а процессор сигналов исполняет анализ во временной последовательности и пространстве множества последовательностей сигналов пикселей для обнаружения структур освещения, соответствующих отдельным кластерам на поверхности для образцов, и классифицирует результаты событий анализа образцов для отдельных кластеров, причем множество последовательностей сигналов пикселей кодирует дифференциальные помехи между по меньшей мере двумя кластерами, являющиеся результатом их неравномерного распределения по областям пикселей.
9. Устройство по любому из пунктов 1-8, в котором поверхность для образцов содержит массив лунок, перекрывающих области пикселей, в том числе по две лунки на область пикселя, при этом две лунки на область пикселя включают основную лунку и второстепенную лунку, причем поперечное сечение основной лунки над областью пикселя больше, чем у второстепенной лунки.
10. Устройство по любому из пунктов 1-9, в котором поверхность для образцов содержит массив лунок, перекрывающих области пикселей, а события анализа образцов включают по меньшей мере одну химическую стадию с K стадиями освещения, где K является положительным целым числом, причем стадии освещения из K стадий освещения освещают области пикселей под разными углами освещения, а последовательности сигналов пикселей содержат набор проб сигналов для каждого события анализа образцов, при этом набор содержит K сигналов пикселей для по меньшей мере одной химической стадии событий анализа образцов.
11. Устройство по любому из пунктов 1-10, в котором поверхность для образцов содержит массив лунок, перекрывающих области пикселей, а события анализа образцов включат первую химическую стадию с K стадиями освещения, где K является положительным целым числом, причем стадии освещения из K стадий освещения освещают области пикселей под разными углами освещения, и вторую химическую стадию с J стадиями освещения, где J является положительным целым числом, причем стадии освещения из K стадий освещения в первой химической стадии и из J стадий освещения во второй химической стадии освещают лунки в массиве лунок под разными углами освещения, а последовательности сигналов пикселей содержат набор проб сигналов для каждого события анализа образцов, при этом набор содержит K сигналов пикселей для первой химической стадии плюс J сигналов пикселей для второй химической стадии событий анализа образцов.
12. Биодатчик для определения оснований, содержащий:
устройство анализа образцов, которое содержит поверхность для образцов, имеющую массив областей пикселей, и твердотельный формирователь изображения, имеющий матрицу датчиков, причем каждый датчик формирует сигналы пикселя в каждом цикле определения оснований, каждый сигнал пикселя представляет свет, получаемый из соответствующей области пикселя поверхности для образцов; и
процессор сигналов, выполненный с возможностью соединения с устройством анализа образцов, которое принимает и обрабатывает сигналы пикселей с датчиков для определения оснований в цикле определения оснований и использует сигналы пикселей из меньшего числа датчиков, чем количество кластеров, основания которых определяют в цикле определения оснований.
13. Биодатчик по пункту 12, в котором область пикселя принимает свет из лунки на поверхности для образцов, а лунка выполнена с возможностью содержания более одного кластера во время цикла определения оснований.
14. Биодатчик по пункту 13, в котором кластер содержит множество однонитевых фрагментов дезоксирибонуклеиновой кислоты (сокращенно ДНК), имеющих идентичную последовательность нуклеиновых кислот.
15. Компьютеризованный способ определения оснований, включающий:
Для цикла определения состояний при секвенировании путем синтеза (сокращенно SBS) прием из порта связи
множества последовательностей сигналов пикселей, причем множество последовательностей сигналов пикселей формируются матрицей датчиков, матрица имеет N активных датчиков, датчики в матрице расположены относительно поверхности для образцов, чтобы формировать соответствующие сигналы пикселей во время последовательности событий анализа образцов из соответствующих N областей пикселей поверхности для образцов для создания множества последовательностей сигналов пикселей; и
обработку множества последовательностей сигналов пикселей для классификации результатов последовательности событий анализа образцов на кластерах в множестве кластеров, включая использование множества последовательностей сигналов пикселей для классификации результатов последовательности событий анализа образцов на кластерах в множестве кластеров, в том числе использование множества последовательностей сигналов пикселей от N активных датчиков для классификации результатов последовательности событий анализа образцов из N + M кластеров в множестве кластеров, где M является положительным целым числом.
16. Способ по пункту 15, также включающий:
отображение первого сигнала пикселя, который представляет свет, принятый из первой области пикселя во время первой стадии освещения цикла определения оснований, в по меньшей мере четыре ячейки и отображение второго сигнала пикселя, который представляет свет, принятый из первой области пикселя во время второй стадии освещения цикла определения оснований, в по меньшей мере четыре ячейки, и
объединение отображений первого и второго сигналов пикселей для идентификации включенных нуклеотидных оснований.
17. Способ по пункту 15 или 16, также включающий применение данного способа для идентификации нуклеотидных оснований, включенных в множество кластеров на множестве областей пикселей во время цикла определения оснований.
18. Способ по пункту 17, также включающий повторение данного способа в течение последовательных циклов определения оснований для идентификации нуклеотидных оснований, включенных в множество кластеров на множестве областей пикселей во время каждого из циклов определения оснований.
19. Способ по пункту 18, также включающий:
для каждого из циклов определения оснований определение и сохранение первого и второго сигналов пикселя, излучаемых множеством кластеров на множестве областей пикселей, и
по завершении циклов определения оснований использование комбинации первого и второго сигналов пикселя для идентификации нуклеотидных оснований, включенных в множество кластеров на множестве областей пикселей во время каждого из предшествующих циклов определения оснований.
20. Способ по любому из пунктов 16-19, в котором первая область пикселя принимает свет из связанной лунки на поверхности для образцов.
21. Способ по пункту 20, в котором первая область пикселя принимает свет из более чем одной связанной лунки на поверхности для образцов.
22. Способ по любому из пунктов 16-21, в котором первый и второй сигналы пикселя получают с помощью первого датчика из первой области пикселя.
23. Способ по пункту 22, в котором первый и второй сигналы пикселя обнаруживают с помощью процессора сигналов, выполненного с возможностью обработки сигналов пикселей, полученных первым датчиком.
24. Способ по любому из пунктов 15-23, в котором первая стадия освещения вызывает освещение из первого и второго кластеров для создания излучений из меченых нуклеотидных оснований A и T, а вторая стадия освещения вызывает освещение из первого и второго кластеров для создания излучений из меченых нуклеотидных оснований C и T.
25. Способ по любому из пунктов 15-24, в котором указанное определение оснований включает использование устройства по любому из пунктов 1-11.
26. Способ идентификации областей пикселей с более чем одним кластером на поверхности для образцов биодатчика и определения оснований кластеров в идентифицированных областях пикселей, включающий:
выполнение множества циклов определения оснований, причем каждый цикл определения оснований имеет первую стадию освещения и вторую стадию освещения;
фиксацию на датчике, связанном с областью пикселя поверхности для образов,
первого набора значений интенсивности во время первой стадии освещения циклов определения оснований, и
второго набора значений интенсивности во время второй стадии освещения циклов определения оснований;
подбор шестнадцати распределений для первого и второго наборов значений интенсивности с использованием процессора сигналов и на основании этого подбора классификацию областей пикселей как имеющих более одного кластера; и
в течение последующего цикла определения оснований
определение первого и второго наборов значений интенсивности для группы кластеров в области пикселя с использованием процессора сигнала, и
выбор распределения для группы кластеров, причем этого распределение идентифицирует нуклеотидное основание, присутствующее в каждом кластере группы кластеров.
27. Способ по пункту 26, в котором побор включает использование одного или более алгоритмов, в том числе алгоритма кластеризации методом k-средних, алгоритма кластеризации, подобного алгоритму методом k-средних, алгоритма максимизации ожидания и алгоритма на основе гистограммы.
28. Способ по пункту 26 или пункту 27, дополнительно включающий нормировку значений интенсивности.
29. Способ по любому из пунктов 26-28, в котором область пикселя принимает свет из связанной лунки на поверхности для образцов.
30. Способ по любому из пунктов 26-29, в котором указанные идентификация и определение оснований включают использование устройства по любому из пунктов 1-11 или биодатчика по любому из пунктов 12-14.
31. Компьютеризованный способ определения оснований, включающий:
обеспечение первого сигнала пикселя, который представляет свет, полученный из первой области пикселя во время первой стадии освещения цикла определения оснований прогона секвенирования путем синтеза (сокращенно SBS), и второго сигнала пикселя, которые представляет свет, полученный из первой области пикселя во время второй стадии освещения определения оснований прогона SBS, причем первая область пикселя находится под первым и вторым кластерами, для которых первая область пикселя является общей;
обеспечение процессора сигналов, выполненного с возможностью обработки по меньшей мере первого и второго сигналов пикселя;
отображение первого сигнала пикселя в по меньшей мере четыре ячейки и отображение второго сигнала пикселя в по меньшей мере четыре ячейки с использованием процессора сигналов; и
логическое объединение отображения первого и второго сигналов пикселя для идентификации нуклеотидного основания, включенного в каждый кластер из первого и второго кластеров во время цикла определения оснований.
32. Компьютеризованный способ идентификации областей пикселей с более чем одним кластером на поверхности для образцов биодатчика и определения оснований кластеров в идентифицированных областях пикселей, включающий:
обеспечение первого набора значений интенсивности, формируемых во время первой стадии освещения цикла определения оснований, и второго набора значений интенсивности, формируемого во время второй стадии освещения цикла определения оснований, причем первый и второй наборы значений интенсивности представляют интенсивность света, получаемого датчиком, связанным с областью пикселя поверхности для образцов;
подбор шестнадцати распределений для первого и второго наборов значений интенсивности с использованием процессора сигналов и на основании этого подбора классификацию областей пикселей как имеющих более одного кластера; и
в течение последующего цикла определения оснований
обеспечение первого и второго наборов значений интенсивности для группы кластеров в области пикселя с использованием процессора сигнала, и
выбор распределения для группы кластеров, причем этого распределение идентифицирует нуклеотидное основание, присутствующее в каждом кластере группы кластеров.
33. Компьютеризованный способ по пункту 32, в котором подбор включает использование одного или более алгоритмов, в том числе алгоритма кластеризации методом k-средних, алгоритма кластеризации, подобного алгоритму методом k-средних, алгоритма максимизации ожидания и алгоритма на основе гистограммы.
34. Устройство для определения оснований, содержащее:
приемник и биодатчик, причем приемник удерживает биодатчик, а биодатчик имеет
поверхность для образцов, выполненную с возможностью удержания множества кластеров во время последовательности событий анализа образцов, причем поверхность для образцов содержит N областей пикселей, а события анализа образцов включают два стадии освещения во временной последовательности,
матрицу датчиков, содержащую детекторы света, выполненные с возможностью формирования множества последовательностей сигналов пикселей, содержащих по меньшей мере один сигнал пикселя для каждой области пикселя и стадии освещения, причем матрица имеет N активных датчиков, каждый из которых связан с соответствующей областью пикселя и выполнен с возможностью обнаружения световых излучений, получаемых из связанной области пикселя, датчики выполнены с возможностью формирования во время последовательности событий анализа образцов соответствующих сигналов пикселя, представляющих световые излучения, получаемые из соответствующей области пикселя, для создания множества последовательностей сигналов пикселей, причем поверхность для образцов выполнена таким образом, что по меньшей мере один активный датчик обнаруживает световые излучения из по меньшей мере двух кластеров, образующих пару кластеров из множества кластеров, при этом интенсивность соответствующих световых излучений двух кластеров значительно отличается, и
порт связи, который выводит множество последовательностей сигналов пикселей;
процессор сигналов, соединенный с приемником и выполненный с возможностью приема и обработки множества последовательностей сигналов пикселей для классификации результатов последовательности событий анализа образцов в множестве кластеров, включая использование множества последовательностей сигналов пикселей от N активных датчиков для классификации результатов последовательности событий анализа образцов из N + M кластеров в множестве кластеров, где M является положительным целым числом, путем классификации результатов для двух кластеров, образующих пару кластеров, из последовательностей сигналов пикселей с по меньшей мере одного активного датчика в матрице датчиков.
35. Устройство по пункту 34, в котором результаты последовательности событий анализа образцов соответствуют нуклеотидным основаниям в кластерах, причем предпочтительно первая стадия освещения вызывает освещение из данного кластера, указывающее нуклеотидные основания A и T, а вторая стадия освещения вызывает освещение из данного кластера, указывающее нуклеотидные основания C и T, и результаты классификации содержат определение одного из нуклеотидных оснований A, C, T или G.
36. Устройство по любому из пунктов 34 и 35, в котором логика для классификации результатов для двух кластеров включает отображение первого сигнала пикселя из набора образцов сигналов для события анализа образцов из конкретного датчика в по меньшей мере четыре ячейки, и отображение второго сигнала пикселя из множества сигналов пикселей для события анализа образцов в по меньшей мере четыре ячейки, и логическое объединение отображения первого и второго сигналов пикселей для классификации результатов для двух кластеров.
37. Устройство по любому из пунктов 34-36, в котором поверхность для образцов содержит кластеры, которые распределены неравномерно по всем областям пикселей, а процессор сигналов исполняет анализ во временной последовательности и пространстве множества последовательностей сигналов пикселей для обнаружения структур освещения, соответствующих отдельным кластерам на поверхности для образцов, и классифицирует результаты событий анализа образцов для отдельных кластеров, причем множество последовательностей сигналов пикселей кодирует дифференциальные помехи между по меньшей мере двумя кластерами, являющиеся результатом их неравномерного распределения по областям пикселей.
38. Устройство по любому из пунктов 34-37, в котором поверхность для образцов содержит массив лунок, перекрывающих области пикселей, в том числе по две лунки на область пикселя, при этом две лунки на область пикселя включают основную лунку и второстепенную лунку, причем поперечное сечение основной лунки над областью пикселя больше, чем у второстепенной лунки.
39. Устройство по любому из пунктов 34-38, в котором поверхность для образцов содержит массив лунок, перекрывающих области пикселей, а события анализа образцов включают по меньшей мере первую химическую стадию с K стадиями освещения, где K является положительным целым числом, причем стадии освещения из K стадий освещения освещают области пикселей под разными углами освещения и последовательности сигналов пикселей содержат набор проб сигналов для каждого события анализа образцов, причем набор содержит K сигналов пикселей для по меньшей мере одной химической стадии событий анализа образцов; при этом предпочтительно события анализа образцов также сдержат вторую химическую стадию с J стадиями освещения, где J является положительным целым числом, причем стадии освещения из K стадий освещения в первой химической стадии и из J стадий освещения во второй химической стадии освещают лунки в массиве лунок под разными углами освещения, а набор проб сигналов также содержит J сигналов пикселей для второй химической стадии событий анализа образцов.
40. Устройство по любому из пунктов 34-39, в котором матрица датчиков включена в твердотельный формирователь изображения.
41. Устройство по любому из пунктов 34-40, в котором область пикселя принимает свет из лунки на поверхности для образцов, а лунка выполнена с возможностью содержания более одного кластера во время цикла определения оснований, причем кластер предпочтительно содержит множество фрагментов однонитевой дезоксирибонуклеиновой кислоты (сокращенно ДНК), имеющих идентичную последовательность нуклеиновых кислот.
42. Компьютеризованный способ определения оснований, включающий:
Для цикла определения состояний при секвенировании путем синтеза (SBS) прием из порта связи
множества последовательностей сигналов пикселей, которые формируют для последовательности событий анализа образцов, включающих две стадии освещения во временной последовательности, на основе света, излучаемого множеством кластеров, содержащихся в N областях пикселей поверхности для образцов, с помощью матрицы датчиков, выполненных в виде детекторов света, причем матрица имеет N активных датчиков, каждый из которых связан с соответствующей областью пикселя из N областей пикселей и выполнен с возможностью обнаружения световых излучений, получаемых из связанной области пикселя, датчики выполнены с возможностью формирования соответствующих сигналов пикселя во время последовательности событий анализа образцов из N соответствующих областей пикселей поверхности для образов для создания множества последовательностей сигналов пикселей, последовательности сигналов пикселей содержат по меньшей мере один сигнал пикселя для каждой области пикселя и стадии освещения, причем по меньшей мере один активных датчик обнаруживает световые излучения из по меньшей мере двух кластеров, образующих пару кластеров из множества кластеров, при этом интенсивность соответствующих световых излучений двух кластеров значительно отличается; и
обработку множества последовательностей сигналов пикселей для классификации результатов последовательности событий анализа образцов на кластерах в множестве кластеров, включая использование множества последовательностей сигналов пикселей для классификации результатов последовательности событий анализа образцов на кластерах в множестве кластеров, в том числе использование множества последовательностей сигналов пикселей от N активных датчиков для классификации результатов последовательности событий анализа образцов на N + M кластерах в множестве кластеров, где M является положительным целым числом, путем классификации результатов для двух кластеров, образующих пару кластеров, из последовательностей сигналов пикселей с по меньшей мере одного активного датчика в матрице датчиков.
43. Компьютеризованный способ по пункту 42, также включающий:
отображение первого сигнала пикселя, который представляет свет, принятый из первой области пикселя во время первой стадии освещения цикла определения оснований, в по меньшей мере четыре ячейки и отображение второго сигнала пикселя, который представляет свет, принятый из первой области пикселя во время второй стадии освещения цикла определения оснований, в по меньшей мере четыре ячейки, и
объединение отображений первого и второго сигналов пикселей для идентификации включенных нуклеотидных оснований.
44. Компьютеризованный способ по любому из пунктов 42 и 43, также включающий применение способа для идентификации нуклеотидных оснований, включенных в множество кластеров на множестве областей пикселей во время цикла определения оснований, предпочтительно также включающий повтор способа в течение последующих циклов определения оснований для идентификации нуклеотидных оснований, включенных в множество кластеров на множестве областей пикселей во время каждого из циклов определения оснований, более предпочтительно также включающий:
для каждого из циклов определения оснований определение и сохранение первого и второго сигналов пикселя, излучаемых множеством кластеров на множестве областей пикселей, и
по завершении циклов определения оснований использование комбинации первого и второго сигналов пикселя для идентификации нуклеотидных оснований, включенных в множество кластеров на множестве областей пикселей во время каждого из предшествующих циклов определения оснований.
45. Компьютеризованный способ по любому из пунктов 42-44, в котором по меньшей мере применяют одно из следующего:
первая область пикселя принимает свет из связанной лунки на поверхности для образцов; предпочтительно свет из более чем одной связанной лунки на поверхности для образцов;
получают первый и второй сигналы пикселя с помощью первого датчика из первой области пикселя, причем первый и второй сигналы пикселя предпочтительно обнаруживают с помощью процессора сигналов, выполненного с возможностью обработки сигналов пикселей, получаемых первым датчиком, и
первая стадия освещения вызывает освещение из первого и второго кластеров для создания излучений из меченных нуклеотидных оснований A и T, а вторая стадия освещения вызывает освещение из первого и второго кластеров для создания излучений из меченных нуклеотидных оснований C и T.
46. Компьютеризованный способ по любому из пунктов 42-45, в котором указанное определение оснований включает использование устройства по любому из пунктов 34-41.
47. Способ идентификации областей пикселей с более чем одним кластером на поверхности для образцов биодатчика и определения оснований кластеров в идентифицированных областях пикселей, предпочтительно способ по любому из пунктов 34-46, включающий:
выполнение множества циклов определения оснований, причем каждый цикл определения оснований имеет первую стадию освещения и вторую стадию освещения;
фиксацию на датчике, связанном с областью пикселя поверхности для образов,
первого набора значений интенсивности во время первой стадии освещения циклов определения оснований, и
второго набора значений интенсивности во время второй стадии освещения циклов определения оснований;
подбор шестнадцати распределений для первого и второго наборов значений интенсивности с использованием процессора сигналов и на основании этого подбора классификацию областей пикселей как имеющих более одного кластера; и
в течение последующего цикла определения оснований
определение первого и второго наборов значений интенсивности для группы кластеров в области пикселя с использованием процессора сигнала, и
выбор распределения для группы кластеров, причем этого распределение идентифицирует нуклеотидное основание, присутствующее в каждом кластере группы кластеров,
при этом предпочтительно по меньшей мере применяют одно из следующего:
подбор включает использование одного или более алгоритмов, в том числе алгоритма кластеризации методом k-средних, алгоритма кластеризации, подобного алгоритму методом k-средних, алгоритма максимизации ожидания и алгоритма на основе гистограммы;
способ также включает нормировку значений интенсивности;
область пикселя принимает свет из связанной лунки на поверхности для образцов; и
идентификация и определение оснований включают использование устройства по любому из пунктов 34-41.
48. Компьютеризованный способ определения оснований, предпочтительно способ по любому из пунктов 42-46, включающий:
обеспечение первого сигнала пикселя, который представляет свет, полученный из первой области пикселя во время первой стадии освещения цикла определения оснований прогона секвенирования путем синтеза (сокращенно SBS), и второго сигнала пикселя, которые представляет свет, полученный из первой области пикселя во время второй стадии освещения определения оснований прогона SBS, причем первая область пикселя находится под первым и вторым кластерами, для которых первая область пикселя является общей;
обеспечение процессора сигналов, выполненного с возможностью обработки по меньшей мере первого и второго сигналов пикселя;
отображение первого сигнала пикселя в по меньшей мере четыре ячейки и отображение второго сигнала пикселя в по меньшей мере четыре ячейки с использованием процессора сигналов; и
логическое объединение отображения первого и второго сигналов пикселя для идентификации нуклеотидного основания, включенного в каждый кластер из первого и второго кластеров, во время цикла определения оснований, или представляющий собой способ идентификации областей пикселей с более чем одним кластером на поверхности для образцов биодатчика и определение оснований кластеров в идентифицированных областях пикселей, включающий:
обеспечение первого набора значений интенсивности, формируемых во время первой стадии освещения цикла определения оснований, и второго набора значений интенсивности, формируемого во время второй стадии освещения цикла определения оснований, причем первый и второй наборы значений интенсивности представляют интенсивность света, получаемого датчиком, связанным с областью пикселя поверхности для образцов;
подбор шестнадцати распределений для первого и второго наборов значений интенсивности с использованием процессора сигналов и на основании этого подбора классификацию областей пикселей как имеющих более одного кластера; и
в течение последующего цикла определения оснований
обеспечение первого и второго наборов значений интенсивности для группы кластеров в области пикселя с использованием процессора сигнала, и
выбор распределения для группы кластеров, причем распределение идентифицирует нуклеотидное основание, присутствующее в каждом кластере группы кластеров, при этом подбор предпочтительно включает использование одного или более алгоритмов, в том числе алгоритма кластеризации методом k-средних, алгоритма кластеризации, подобного алгоритму методом k-средних, алгоритма максимизации ожидания и алгоритма на основе гистограммы.
| название | год | авторы | номер документа |
|---|---|---|---|
| СИСТЕМЫ И УСТРОЙСТВА ДЛЯ СЕКВЕНИРОВАНИЯ С ВЫСОКОЙ ПРОПУСКНОЙ СПОСОБНОСТЬЮ С ДЕТЕКТИРОВАНИЕМ НА ОСНОВЕ ПОЛУПРОВОДНИКОВ | 2019 |
|
RU2755738C2 |
| СЕКВЕНИРОВАНИЕ С ВЫСОКОЙ ПРОПУСКНОЙ СПОСОБНОСТЬЮ С ДЕТЕКТИРОВАНИЕМ НА ОСНОВЕ ПОЛУПРОВОДНИКА | 2019 |
|
RU2742975C1 |
| МУЛЬТИПЛЕКСИРОВАНИЕ АКТИВНОГО СЕНСОРНОГО ДЕТЕКТОРА С ИСПОЛЬЗОВАНИЕМ СТРУКТУРИРОВАННОГО ОСВЕЩЕНИЯ | 2019 |
|
RU2738756C1 |
| УСТРОЙСТВО И СПОСОБ ОЦЕНКИ ЗНАЧЕНИЙ ПО ИЗОБРАЖЕНИЯМ | 2020 |
|
RU2825348C1 |
| УСТРОЙСТВО И СПОСОБ ОБЕСПЕЧЕНИЯ ОЦЕНКИ ПАРАМЕТРОВ | 2020 |
|
RU2825597C1 |
| МИКРОСКОПИЯ СТРУКТУРИРОВАННОГО ОСВЕЩЕНИЯ УМЕНЬШЕННОЙ РАЗМЕРНОСТИ СО СТРУКТУРИРОВАННЫМИ МАССИВАМИ НАНОРАЗМЕРНЫХ ЛУНОК | 2019 |
|
RU2740776C1 |
| БИОДАТЧИКИ ДЛЯ БИОЛОГИЧЕСКОГО ИЛИ ХИМИЧЕСКОГО АНАЛИЗА И СПОСОБЫ ИХ ИЗГОТОВЛЕНИЯ | 2014 |
|
RU2675775C1 |
| Сменный картридж для проведения биохимических реакций | 2015 |
|
RU2785864C2 |
| КОРРЕКЦИЯ ФАЗИРОВАНИЯ | 2018 |
|
RU2805952C2 |
| СИСТЕМЫ И СПОСОБЫ БИОХИМИЧЕСКОГО АНАЛИЗА, ВКЛЮЧАЮЩИЕ ОСНОВНОЙ ПРИБОР И СЪЕМНЫЙ КАРТРИДЖ | 2015 |
|
RU2682546C2 |
Изобретение относится к секвенированию на основе КМОП-матриц. Устройство для определения оснований в последовательности нуклеиновой кислоты содержит: приемник, удерживающий биодатчик, причем биодатчик имеет поверхность для образцов, которая содержит множество кластеров в процессе последовательности событий анализа образца, матрицу датчиков, выполненную с возможностью формирования множества последовательностей сигналов пикселей, при этом матрица имеет N активных датчиков, причем датчики в матрице расположены относительно поверхности для образцов, чтобы формировать соответствующие сигналы пикселей в процессе последовательности событий анализа образцов из N соответствующих областей пикселей поверхности для образцов для создания указанного множества последовательностей сигналов пикселей, и порт связи, выполненный с возможностью вывода указанного множества последовательностей сигналов пикселей; процессор сигналов, соединенный с портом связи и выполненный с возможностью приема и обработки указанного множества последовательностей сигналов пикселей для классификации результатов последовательности событий анализа образца на кластерах в указанном множестве кластеров, в том числе объединения сигналов пикселей для каждого события анализа образца от N активных датчиков для классификации результатов последовательности событий анализа образца из N+М кластеров в указанном множестве кластеров, где М является положительным целым числом. Техническим результатом является повышение пропускной способности секвенирования с помощью детектирования на основе КМОП. 4 н. и 24 з.п. ф-лы, 12 ил.
1. Устройство для определения оснований в последовательности нуклеиновой кислоты, содержащее:
приемник, удерживающий биодатчик, причем биодатчик имеет
поверхность для образцов, которая содержит множество кластеров в процессе последовательности событий анализа образца,
матрицу датчиков, выполненную с возможностью формирования множества последовательностей сигналов пикселей, при этом матрица имеет N активных датчиков, причем датчики в матрице расположены относительно поверхности для образцов, чтобы формировать соответствующие сигналы пикселей в процессе последовательности событий анализа образцов из N соответствующих областей пикселей поверхности для образцов для создания указанного множества последовательностей сигналов пикселей, и
порт связи, выполненный с возможностью вывода указанного множества последовательностей сигналов пикселей; и
процессор сигналов, соединенный с портом связи и выполненный с возможностью приема и обработки указанного множества последовательностей сигналов пикселей для классификации результатов последовательности событий анализа образца на кластерах в указанном множестве кластеров, в том числе объединения сигналов пикселей для каждого события анализа образца от N активных датчиков для классификации результатов последовательности событий анализа образца из N+М кластеров в указанном множестве кластеров, где М является положительным целым числом.
2. Устройство по п. 1, в котором результаты последовательности событий анализа образца соответствуют нуклеотидным основаниям в кластерах.
3. Устройство по п. 1, в котором события анализа образца содержат две стадии освещения во временной последовательности, а последовательность сигналов пикселей в указанном множестве последовательностей сигналов пикселей содержит набор образцов сигналов для каждого события анализа образца, причем набор содержит по меньшей мере один сигнал пикселя с каждой из двух стадий освещения.
4. Устройство по п. 3, в котором процессор сигналов содержит логику для классификации результатов для двух кластеров от последовательностей сигналов пикселей от каждого датчика в матрице датчиков.
5. Устройство по п. 4, в котором логика для классификации результатов для двух кластеров включает отображение первого сигнала пикселя набора образцов сигналов для события анализа образца от конкретного датчика по меньшей мере в четыре ячейки и отображение второго сигнала пикселя набора образцов сигналов для события анализа образца по меньшей мере в четыре ячейки, а также логическое объединение отображения первого и второго сигналов пикселей для классификации результатов двух кластеров.
6. Устройство по п. 1, в котором датчики в матрице датчиков содержат детекторы света.
7. Устройство по п. 1, в котором события анализа образца включают две стадии освещения во временной последовательности, а последовательности сигналов пикселей в указанном множестве последовательностей сигналов пикселей содержат набор образцов сигналов для каждого события анализа образца, причем набор содержит по меньшей мере один сигнал пикселя с каждой из двух стадий освещения, и при этом первая стадия освещения вызывает освещение из заданного кластера, указывающее нуклеотидные основания А и Т, а вторая стадия освещения вызывает освещение из заданного кластера, указывающее нуклеотидные основания С и Т, и указанные результаты классификации содержат определение одного из нуклеотидных оснований А, С, Т или G.
8. Устройство по п. 1, в котором поверхность для образцов содержит кластеры, которые распределены неравномерно по областям пикселей, а процессор сигналов исполняет анализ во временной последовательности и пространстве указанного множества последовательностей сигналов пикселей для обнаружения структур освещения, соответствующих отдельным кластерам на поверхности для образцов, и классифицирует результаты событий анализа образца для этих отдельных кластеров.
9. Устройство по п. 1, в котором поверхность для образцов содержит матрицу лунок, перекрывающих области пикселей, в том числе по две лунки на область пикселя, при этом указанные две лунки на область пикселя включают основную лунку и второстепенную лунку, причем поперечное сечение основной лунки над областью пикселя больше, чем у второстепенной лунки.
10. Устройство по п. 1, в котором поверхность для образцов содержит матрицу лунок, перекрывающих области пикселей, а события анализа образца включают по меньшей мере одну химическую стадию с K стадиями освещения, где K является положительным целым числом, причем стадии освещения из K стадий освещения освещают области пикселей под разными углами освещения, а последовательности сигналов пикселей содержат набор образцов сигналов для каждого события анализа образца, причем набор содержит K сигналов пикселей для указанной по меньшей мере одной химической стадии событий анализа образца.
11. Устройство по п. 1, в котором поверхность для образцов содержит матрицу лунок, перекрывающих области пикселей, а события анализа образца включают первую химическую стадию с K стадиями освещения, где K является положительным целым числом, причем стадии освещения из K стадий освещения освещают области пикселей под разными углами освещения, и вторую химическую стадию с J стадиями освещения, где J является положительным целым числом, причем стадии освещения из K стадий освещения на первой химической стадии и из J стадий освещения на второй химической стадии освещают лунки в матрице лунок под разными углами освещения, а последовательности сигналов пикселей содержат набор образцов сигналов для каждого события анализа образца, причем набор содержит K сигналов пикселей для первой химической стадии плюс J сигналов пикселей для второй химической стадии событий анализа образца.
12. Биодатчик для определения оснований в последовательности нуклеиновой кислоты, содержащий:
устройство анализа образца, которое содержит поверхность для образцов, имеющую матрицу областей пикселей, и твердотельный формирователь изображения, имеющий матрицу датчиков, причем каждый датчик формирует сигналы пикселей в каждом цикле определения оснований, а каждый сигнал пикселя представляет свет, получаемый в соответствующей области пикселя поверхности для образцов; и
процессор сигналов, выполненный с возможностью соединения с устройством анализа образцов и с возможностью приема, обработки и объединения сигналов пикселей с датчиков для определения оснований в цикле определения оснований и использования объединенных сигналов пикселей из меньшего числа датчиков, чем количество кластеров, основания которых определяют в цикле определения оснований.
13. Биодатчик по п. 12, в котором область пикселя выполнена с возможностью приема света из лунки на поверхности для образцов, а лунка выполнена с возможностью содержания более одного кластера во время цикла определения оснований.
14. Биодатчик по п. 13, в котором кластер содержит множество однонитевых фрагментов дезоксирибонуклеиновой кислоты (сокращенно ДНК), имеющих идентичную последовательность нуклеиновой кислоты.
15. Способ определения оснований в последовательности нуклеиновой кислоты, включающий:
в течение цикла определения состояний прогона секвенирования путем синтеза (SBS) детектирование
первого сигнала пикселя, который представляет свет, получаемый из первой области пикселя во время первой стадии освещения цикла определения оснований,
второго сигнала пикселя, который представляет свет, получаемый из первой области пикселя во время второй стадии освещения цикла определения оснований,
причем первая область пикселя находится под множеством кластеров, для которых первая область пикселя является общей; и
использование объединенных сигналов пикселей, содержащих считанную информацию, полученную от первого и второго сигналов пикселей для идентификации нуклеотидных оснований, включенных в каждый кластер из указанного множества кластеров во время цикла определения оснований.
16. Способ по п. 15, также включающий:
отображение первого сигнала пикселя по меньшей мере в четыре ячейки и отображение второго сигнала пикселя по меньшей мере в четыре ячейки; и
объединение отображений первого и второго сигналов пикселей для идентификации включенных нуклеотидных оснований.
17. Способ по п. 15, также включающий применение данного способа для идентификации нуклеотидных оснований, включенных в указанное множество кластеров на множестве областей пикселей во время цикла определения оснований.
18. Способ по п. 17, также включающий повторение данного способа в течение последовательных циклов определения оснований для идентификации нуклеотидных оснований, включенных в указанное множество кластеров на указанном множестве областей пикселей во время каждого из циклов определения оснований.
19. Способ по п. 18, также включающий:
для каждого из циклов определения оснований определение и сохранение первого и второго сигналов пикселей, излучаемых указанным множеством кластеров на указанном множестве областей пикселей, и
после циклов определения оснований использование комбинации первого и второго сигналов пикселей для идентификации нуклеотидных оснований, включенных в указанное множество кластеров на указанном множестве областей пикселей во время каждого из предшествующих циклов определения оснований.
20. Способ по п. 15, в котором первая область пикселя принимает свет из связанной лунки на поверхности для образцов.
21. Способ по п. 20, в котором первая область пикселя принимает свет из более чем одной связанной лунки на поверхности для образцов.
22. Способ по п. 15, в котором первый и второй сигналы пикселя получают с помощью первого датчика, находящегося под первой областью пикселя.
23. Способ по п. 22, в котором первый и второй сигналы пикселей обнаруживают с помощью процессора сигналов, выполненного с возможностью обработки сигналов пикселей, полученных первым датчиком.
24. Способ по п. 15, в котором первая стадия освещения вызывает освещение из первого и второго кластеров для создания излучений из меченых нуклеотидных оснований А и Т, а вторая стадия освещения вызывает освещение из первого и второго кластеров для создания излучений из меченых нуклеотидных оснований С и Т.
25. Способ идентификации областей пикселей с более чем одним кластером на поверхности для образцов биодатчика и определения оснований кластеров в идентифицированных областях пикселей, включающий:
выполнение множества циклов определения оснований, причем каждый цикл определения оснований имеет первую стадию освещения и вторую стадию освещения; фиксацию на датчике, связанном с областью пикселя поверхности для образцов,
первого набора значений интенсивности, выработанных во время первой стадии освещения циклов определения оснований, и
второго набора значений интенсивности, выработанных во время второй стадии освещения циклов определения оснований;
подбор набора распределений для первого и второго наборов значений интенсивности и на основании этого подбора классификацию области пикселя как имеющей более одного кластера; и
в течение последующего цикла определения оснований
определение первого и второго наборов значений интенсивности для группы кластеров в области пикселя с использованием процессора сигнала, и
выбор распределения для этой группы кластеров, которое идентифицирует нуклеотидное основание, присутствующее в каждом кластере этой группы кластеров.
26. Способ по п. 25, в котором подбор включает использование одного или более алгоритмов, в том числе алгоритма кластеризации методом k-средних, алгоритма кластеризации, подобного алгоритму методом k-средних, алгоритма максимизации ожидания и алгоритма на основе гистограммы.
27. Способ по п. 25, дополнительно включающий нормировку значений интенсивности.
28. Способ по п. 25, в котором область пикселя принимает свет из связанной лунки на поверхности для образцов.
| WO 2017184997 A1, 26.10.2017 | |||
| US 20140274746 A1, 18.09.2014 | |||
| US 20090075838 A1, 19.03.2009 | |||
| US 20140001341 A1, 02.01.2014 | |||
| WO 2012031234 A2, 08.03.2012. |
Авторы
Даты
2024-12-17—Публикация
2019-01-07—Подача