ПЕРЕКРЕСТНЫЕ ССЫЛКИ НА РОДСТВЕННЫЕ ЗАЯВКИ
[0001] Настоящая заявка испрашивает приоритет по предварительной заявке на патент США 62/959,681, поданной 10 января 2020 г. и озаглавленной «ФУНКЦИОНАЛЬНОСТЬ АВТОФОКУСИРОВКИ В ОПТИЧЕСКОМ АНАЛИЗЕ ПРОБ». Настоящая заявка также испрашивает приоритет по предварительной заявке на патент США 62/956,083, поданной 31 декабря 2019 г. и озаглавленной «ФУНКЦИОНАЛЬНОСТЬ АВТОФОКУСИРОВКИ В ОПТИЧЕСКОМ АНАЛИЗЕ ПРОБ». Содержание обеих упомянутых выше заявок включено в настоящий документ путем ссылки.
Уровень техники
[0002] Образцы различных материалов могут быть проанализированы с использованием одного или более типов оптических систем. Оптическая система иногда включает в себя функцию отслеживания фокуса, которая позволяет регулировать оптические компоненты для улучшения качества измерений и, таким образом, анализа полученной пробы. Системы отслеживания фокуса, как правило, интегрированы в оптическую систему, но в том смысле, что они функционируют независимо от функций оптической системы. Например, в компоненте отслеживания фокуса может использоваться специальный источник света, один или более оптических компонентов (например, линз) и/или детектор света. Таким образом, эти компоненты можно использовать исключительно для целей отслеживания фокуса. Наличие специальных компонентов для системы отслеживания фокуса может привести к увеличению производственной стоимости оптической системы. Кроме этого, наличие большего количества компонентов может повысить необходимость в систематическом обслуживании системы.
ИЗЛОЖЕНИЕ СУЩНОСТИ ИЗОБРЕТЕНИЯ
[0003] В первом аспекте способ включает: направление с использованием объектива и первой отражающей поверхности первого света автофокусировки на датчик, причем первый свет автофокусировки отражается от первой поверхности подложки; предотвращение попадания второго света автофокусировки на датчик, причем второй свет автофокусировки отражается от второй поверхности подложки; и направление с использованием объектива и второй отражающей поверхности излучаемого света на датчик, причем излучаемый свет исходит от пробы, расположенной на подложке.
[0004] Варианты реализации могут включать в себя любой или все из следующих признаков. Способ дополнительно включает направление первого света автофокусировки на вторую отражающую поверхность, причем вторая отражающая поверхность прозрачна для первого света автофокусировки, при этом первая отражающая поверхность расположена за второй отражающей поверхностью относительно направления хода первого света автофокусировки. Способ дополнительно включает направление второго света автофокусировки на вторую отражающую поверхность, причем вторая отражающая поверхность прозрачна для второго света автофокусировки, причем первая отражающая поверхность прозрачна для второго света автофокусировки для предотвращения попадания второго света автофокусировки на датчик. Первая отражающая поверхность расположена на первом отражающем компоненте, причем вторая отражающая поверхность расположена на втором отражающем компоненте, и при этом первый отражающий компонент отделен от второго отражающего компонента, при этом способ дополнительно включает ориентацию первого отражающего компонента независимо от ориентации второго отражающего компонента. Ориентация первого отражающего компонента включает управление первым светом автофокусировки на датчике независимо от положения излучаемого света на датчике. Способ дополнительно включает: формирование с помощью призмы бокового смещения левого света автофокусировки и правого света автофокусировки, которые расходятся под заданным углом друг к другу, причем первый свет автофокусировки содержит первый левый свет автофокусировки из отражения левого света автофокусировки от первой поверхности подложки, причем первый свет автофокусировки дополнительно содержит первый правый свет автофокусировки из отражения правого света автофокусировки на первой поверхности подложки, при этом второй свет автофокусировки содержит второй левый свет автофокусировки из отражения левого света автофокусировки на второй поверхности подложки, и при этом второй свет автофокусировки дополнительно содержит второй правый свет автофокусировки от отражения правого света от второй поверхности подложки; причем направление первого света автофокусировки на датчик включает в себя направление с использованием объектива и первой отражающей поверхности первого левого света автофокусировки и первого правого света автофокусировки на датчик; и при этом предотвращение попадания второго света автофокусировки на датчик включает предотвращение попадания второго левого света автофокусировки и второго правого света автофокусировки на датчик. Подложка дополнительно содержит третью поверхность, причем левый свет автофокусировки формирует третий левый свет автофокусировки при отражении от третьей поверхности, причем правый свет автофокусировки формирует третий правый свет автофокусировки при отражении от третьей поверхности, способ дополнительно включает направление с использованием объектива и первой отражающей поверхности третьего левого света автофокусировки и третьего правого света автофокусировки на датчик. Способ дополнительно включает регулировку расстояния между объективом и подложкой на основании первого света автофокусировки.
[0005] Во втором аспекте система содержит: подложку для удерживания образца для анализа; датчик; объектив; первую отражающую поверхность для направления первого света автофокусировки на датчик, причем первый свет автофокусировки отражается от первой поверхности подложки и передается объективом; вторую отражающую поверхность для направления излучаемого света на датчик, причем излучаемый свет исходит от образца и передается объективом; и структуру, которая предотвращает попадание второго света автофокусировки на датчик, причем второй свет автофокусировки отражается от второй поверхности подложки и передается объективом.
[0006] Варианты реализации могут включать в себя любой или все из следующих признаков. Первая отражающая поверхность расположена за второй отражающей поверхностью относительно направления хода первого света автофокусировки, и при этом вторая отражающая поверхность прозрачна для первого света автофокусировки. Первая отражающая поверхность расположена на первом отражающем компоненте, причем вторая отражающая поверхность расположена на втором отражающем компоненте, и при этом первый отражающий компонент отделен от второго отражающего компонента. Вторая отражающая поверхность расположена на передней поверхности отражающего компонента относительно направления перемещения первого света автофокусировки, причем первая отражающая поверхность покрывает первую часть задней поверхности отражающего компонента относительно направления прохождения первого света автофокусировки, и при этом структура покрывает вторую часть задней поверхности отражающего компонента. Система дополнительно содержит призму бокового смещения, причем призма бокового смещения образует левый свет автофокусировки и правый свет автофокусировки, которые расходятся под заданным углом друг к другу, причем первый свет автофокусировки содержит первый левый свет автофокусировки из отражения левого света автофокусировки от первой поверхности подложки, причем первый свет автофокусировки дополнительно содержит первый правый свет автофокусировки из отражения правого света автофокусировки на первой поверхности подложки, при этом второй свет автофокусировки содержит второй левый свет автофокусировки из отражения левого света автофокусировки на второй поверхности подложки, и при этом второй свет автофокусировки дополнительно содержит второй правый свет автофокусировки от отражения правого света автофокусировки со второй поверхности подложки. Призма бокового смещения включает в себя выходные поверхности с ненулевым углом относительно друг друга. Призма бокового смещения содержит: первую поверхность; вторую поверхность, параллельную первой поверхности; третью поверхность; четвертую поверхность; пятую поверхность, имеющую границу с четвертой поверхностью, причем каждая из четвертой поверхности и пятой поверхности образует общий угол с третьей поверхностью; и частично отражающий слой, проходящий между третьей поверхностью и границей четвертой поверхности и пятой поверхности. Первая поверхность имеет границы с третьей поверхностью, четвертой поверхностью и пятой поверхностью; а вторая поверхность имеет границы с третьей поверхностью, четвертой поверхностью и пятой поверхностью. Третья поверхность представляет собой входную поверхность, причем четвертая поверхность представляет собой выходную поверхность для левого света автофокусировки, и при этом пятая поверхность представляет собой выходную поверхность для правого света автофокусировки. Призма бокового смещения содержит: первую призму, имеющую первый клиновидный профиль, причем первый клиновидный профиль включает первую сторону, образующую ненулевой угол относительно первой выходной стороны; вторую призму, имеющую второй клиновидный профиль, причем второй клиновидный профиль включает вторую сторону, образующую ненулевой угол со второй выходной стороной; и третью призму, имеющую параллелограммовидный профиль, причем параллелограммовидный профиль включает в себя третью сторону, параллельную четвертой стороне, и пятую сторону, параллельную шестой стороне, при этом третья сторона параллелограммовидного профиля является частью поверхности входа призмы бокового смещения; причем каждая из первой стороны первой призмы и второй стороны второй призмы обращена к четвертой стороне третьей призмы. Система выполнена с возможностью анализа нуклеотидного материала на подложке.
[0007] В третьем аспекте способ включает: формирование левого света автофокусировки и правого света автофокусировки, которые расходятся под заданным углом друг к другу; направление левого света автофокусировки и правого света автофокусировки через объектив на первую поверхность подложки; и после отражения от первой поверхности направление по меньшей мере первой части левого света автофокусировки и по меньшей мере первой части правого света автофокусировки на датчик, причем заданное разделение между первой частью левого света автофокусировки и первой частью правого света автофокусировки на датчике указывает на то, что подложка находится в фокусе объектива.
[0008] Варианты реализации могут включать в себя любой или все из следующих признаков. Подложка дополнительно включает в себя вторую поверхность, причем отражение левого света автофокусировки от первой поверхности формирует первый левый свет автофокусировки, причем отражение левого света автофокусировки со второй поверхности формирует второй левый свет автофокусировки, при этом на датчике первая часть левого света автофокусировки содержит первый левый свет автофокусировки и второй левый свет автофокусировки, причем отражение правого света автофокусировки с первой поверхности образует первый правый свет автофокусировки, причем отражение правого света автофокусировки со второй поверхности образует второй правый свет автофокусировки, причем на датчике первая часть правого света автофокусировки содержит первый правый свет автофокусировки и второй правый свет автофокусировки. Первое заданное разделение между первым левым светом автофокусировки и первым правым светом автофокусировки на датчике указывает на то, что первая поверхность подложки находится в фокусе объектива. Второе заданное разделение между вторым левым светом автофокусировки и вторым правым светом автофокусировки на датчике указывает на то, что вторая поверхность подложки находится в фокусе объектива. Направление первой части левого света автофокусировки и первой части правого света автофокусировки на датчик включает направление с использованием первой отражающей поверхности первой части левого света автофокусировки и первой части правого света автофокусировки на датчик. Способ дополнительно включает направление с использованием объектива и второй отражающей поверхности излучаемого света на датчик, причем излучаемый свет исходит от пробы, расположенной на подложке. Способ дополнительно включает направление первой части левого света автофокусировки и первой части правого света автофокусировки ко второй отражающей поверхности, причем вторая отражающая поверхность прозрачна для первой части левого света автофокусировки и первой части правого света автофокусировки, причем первая отражающая поверхность расположена за второй отражающей поверхностью относительно направления перемещения первой части левого света автофокусировки и первой части правого света автофокусировки. Подложка дополнительно содержит вторую поверхность, причем вторая часть левого света автофокусировки образована при отражении левого света от второй поверхности, и при этом вторая часть правого света автофокусировки образована при отражении правого света автофокусировки со второй поверхности, причем способ дополнительно включает направление второй части левого света автофокусировки и второй части правого света автофокусировки на вторую отражающую поверхность, вторая отражающая поверхность также прозрачна для второй части левого света автофокусировки и второй части правого света автофокусировки, причем первая отражающая поверхность является прозрачной для второй части левого света автофокусировки и второй части правого света автофокусировки для предотвращения попадания на датчик второй части левого света автофокусировки и второй части правого света автофокусировки. Первая отражающая поверхность расположена на первом отражающем компоненте, причем вторая отражающая поверхность расположена на втором отражающем компоненте, и при этом первый отражающий компонент отделен от второго отражающего компонента, при этом способ дополнительно включает ориентацию первого отражающего компонента независимо от ориентации второго отражающего компонента. Ориентация первого отражающего компонента приводит к управлению первой частью левого света автофокусировки и первой частью правого света автофокусировки на датчике независимо от положения излучаемого света на датчике. Способ дополнительно включает регулировку расстояния между объективом и подложкой на основании первой части левого света автофокусировки и первой части правого света автофокусировки.
[0009] В четвертом аспекте система содержит: светоделитель для формирования левого света автофокусировки и правого света автофокусировки, которые расходятся под заданным углом друг к другу; объектив передает левый свет автофокусировки и правый свет автофокусировки на первую поверхность подложки; и датчик для приема по меньшей мере первой части левого света автофокусировки и по меньшей мере первой части правого света автофокусировки после отражения от первой поверхности, причем заданное разделение между первой частью левого света автофокусировки и первой частью правого света автофокусировки на датчике указывает на то, что подложка находится в фокусе объектива.
[0010] Варианты реализации могут включать в себя любой или все из следующих признаков. Светоделитель является частью призмы бокового смещения. Призма бокового смещения включает в себя выходные поверхности с ненулевым углом относительно друг друга. Призма бокового смещения содержит: первую поверхность; вторую поверхность, параллельную первой поверхности; третью поверхность; четвертую поверхность; пятую поверхность, имеющую границу с четвертой поверхностью, причем каждая из четвертой поверхности и пятой поверхности образует общий угол с третьей поверхностью; и частично отражающий слой, проходящий между третьей поверхностью и границей четвертой поверхности и пятой поверхности. Первая поверхность имеет границы с третьей поверхностью, четвертой поверхностью и пятой поверхностью; а вторая поверхность имеет границы с третьей поверхностью, четвертой поверхностью и пятой поверхностью. Третья поверхность представляет собой входную поверхность, причем четвертая поверхность представляет собой выходную поверхность для левого света автофокусировки, и при этом пятая поверхность представляет собой выходную поверхность для правого света автофокусировки. Призма бокового смещения содержит: первую призму, имеющую первый клиновидный профиль, причем первый клиновидный профиль включает первую сторону, образующую ненулевой угол относительно первой выходной стороны; вторую призму, имеющую второй клиновидный профиль, причем второй клиновидный профиль включает вторую сторону, образующую ненулевой угол со второй выходной стороной; и третью призму, имеющую параллелограммовидный профиль, причем параллелограммовидный профиль включает в себя третью сторону, параллельную четвертой стороне, и пятую сторону, параллельную шестой стороне, при этом третья сторона параллелограммовидного профиля является частью поверхности входа призмы бокового смещения; причем каждая из первой стороны первой призмы и второй стороны второй призмы обращена к четвертой стороне третьей призмы. Светоделитель содержит: первую отражающую поверхность, на которую падает первоначальный свет автофокусировки; частично отражающий слой, на который падает первоначальный свет автофокусировки после отражения на первой отражающей поверхности, причем частично отражающий слой формирует левый свет автофокусировки и правый свет автофокусировки; и вторую отражающую поверхность, на которую падает один из левого света автофокусировки или правого света автофокусировки после формирования на частично отражающем слое. Система дополнительно содержит первую отражающую поверхность для направления первой части левого света автофокусировки и первой части правого света автофокусировки на датчик. Система дополнительно содержит вторую отражающую поверхность для направления излучаемого света на датчик, причем излучаемый свет исходит от пробы, расположенной на подложке, и передается объективом. Подложка дополнительно включает в себя вторую поверхность, причем вторая часть левого света автофокусировки образована при отражении левого света от второй поверхности подложки, и при этом вторая часть правого света автофокусировки образована при отражении правого света автофокусировки со второй поверхности подложки, причем система дополнительно содержит структуру для предотвращения попадания второй части левого света автофокусировки и второй части правого света на датчик. Первая отражающая поверхность расположена за второй отражающей поверхностью относительно направления перемещения первой части левого света автофокусировки, второй части левого света автофокусировки, первой части правого света автофокусировки, и вторую часть правого света автофокусировки, причем вторая отражающая поверхность является прозрачной для первой части левого света автофокусировки, второй части левого света автофокусировки, первой части правого света автофокусировки и второй части правого света автофокусировки. Первая отражающая поверхность расположена на первом отражающем компоненте, причем вторая отражающая поверхность расположена на втором отражающем компоненте, и при этом первый отражающий компонент отделен от второго отражающего компонента. Вторая отражающая поверхность расположена на передней поверхности второго отражающего компонента относительно направления перемещения первой части левого света автофокусировки, второй части левого света автофокусировки, первой части правого света автофокусировки и второй части правого света автофокусировки, причем первая отражающая поверхность покрывает первую часть задней поверхности второго отражающего компонента относительно направления перемещения первой части левого света автофокусировки, второй части левого света автофокусировки, первой части правого света автофокусировки и второй части правого света автофокусировки, и при этом структура покрывает вторую часть задней поверхности второго отражающего компонента. Система выполнена с возможностью анализа нуклеотидного материала на подложке.
[0011] В пятом аспекте узел автофокусировки содержит: призму, содержащую: первую поверхность; вторую поверхность, параллельную первой поверхности; третью поверхность; четвертую поверхность; пятую поверхность, имеющую границу с четвертой поверхностью, причем каждая из четвертой поверхности и пятой поверхности образует общий угол с третьей поверхностью; и частично отражающий слой, проходящий между третьей поверхностью и границей четвертой поверхности и пятой поверхности; и источник света для направления света на призму, причем призма образует первый свет автофокусировки и второй свет автофокусировки, при этом первый свет автофокусировки и второй свет автофокусировки расходятся под заданным углом друг к другу.
[0012] Варианты реализации могут включать в себя любой или все из следующих признаков. Четвертая поверхность и пятая поверхности образуют выходные поверхности, имеющие ненулевой угол относительно друг друга. Первая поверхность имеет границы с третьей поверхностью, четвертой поверхностью и пятой поверхностью; а вторая поверхность имеет границы с третьей поверхностью, четвертой поверхностью и пятой поверхностью. Третья поверхность представляет собой входную поверхность. Призма содержит: первую призму, имеющую первый клиновидный профиль, причем первая призма образует четвертую поверхность, причем первый клиновидный профиль включает первую сторону, образующую ненулевой угол относительно четвертой поверхности; вторую призму, имеющую второй клиновидный профиль, причем вторая призма образует пятую поверхность, при этом второй клиновидный профиль включает вторую сторону, образующую ненулевой угол относительно пятой поверхности; и третью призму, имеющую параллелограммовидный профиль, причем параллелограммовидный профиль включает в себя третью сторону, параллельную четвертой стороне, при этом третья сторона образует третью поверхность, и пятую сторону, параллельную шестой стороне; причем каждая из первой стороны первой призмы и второй стороны второй призмы обращена к четвертой стороне третьей призмы.
[0013] Следует понимать, что все комбинации вышеуказанных концепций и дополнительных концепций, более подробно описанных ниже (при условии, что такие концепции не являются взаимно противоречащими), рассматриваются как часть объекта изобретения, описанного в данном документе. В частности, все комбинации заявленного объекта изобретения, появляющиеся в конце данного описания, считаются частью объекта изобретения, описанного в данном документе.
КРАТКОЕ ОПИСАНИЕ ГРАФИЧЕСКИХ МАТЕРИАЛОВ
[0014] На ФИГ. 1 показан вариант осуществления системы, который можно использовать для анализа пробы.
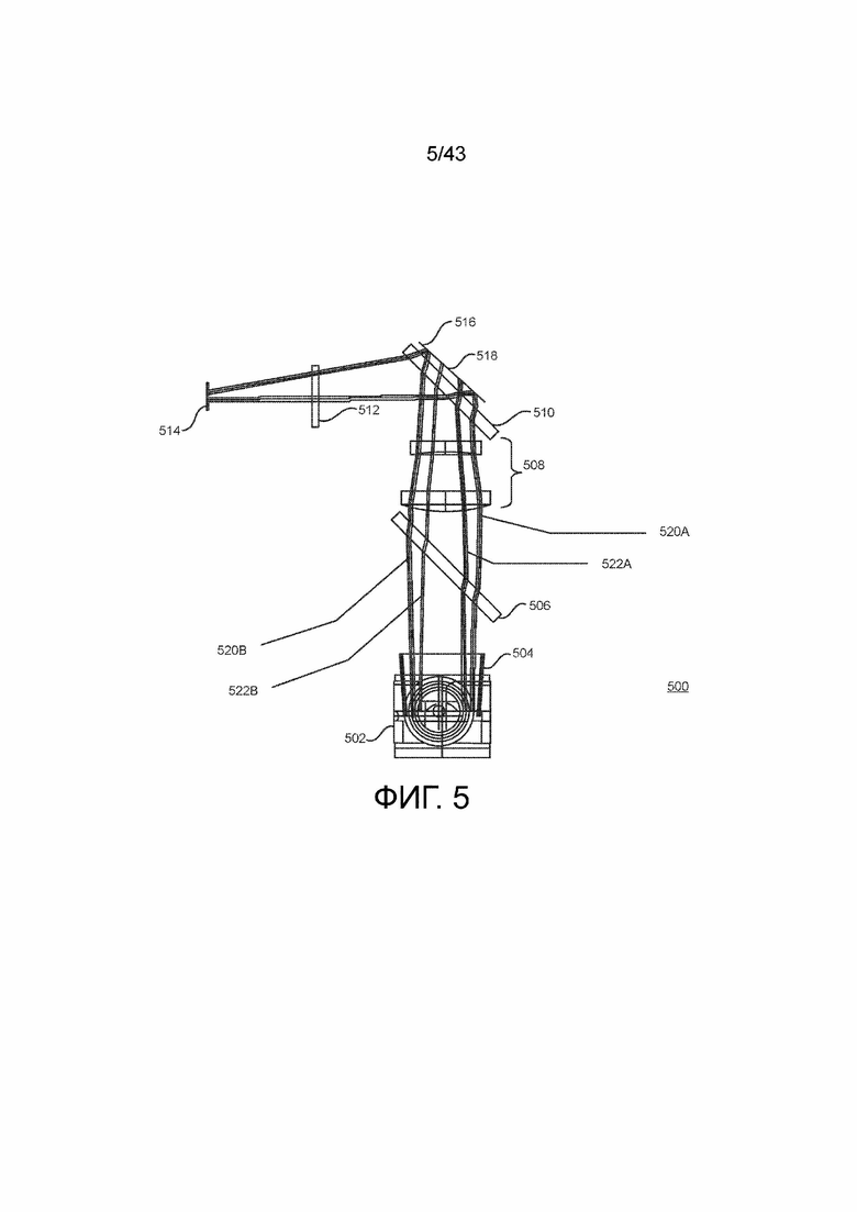
[0015] На ФИГ. 2 представлен вариант осуществления оптической системы.
[0016] На ФИГ. 3 представлена схема, иллюстрирующая пример создания требуемых и нежелательных отражений на множестве поверхностей многослойной подложки пробы в некоторых вариантах осуществления.
[0017] На ФИГ. 4A-4C показан свет автофокусировки, зарегистрированный на датчике.
[0018] На ФИГ. 5 представлен вариант осуществления оптической системы.
[0019] На ФИГ. 6A-6C показан свет автофокусировки, зарегистрированный на датчике.
[0020] На ФИГ. 7A-7C представлен свет автофокусировки, зарегистрированный на датчике.
[0021] На ФИГ. 8A представлен вариант осуществления оптической системы.
[0022] На ФИГ. 8B представлен вариант осуществления оптической системы.
[0023] На ФИГ. 9A-9B представлены схемы, иллюстрирующие примеры создания требуемых и нежелательных отражений на множестве поверхностей многослойной подложки для пробы в некоторых вариантах осуществления.
[0024] На ФИГ. 10A-10C представлены варианты осуществления призмы бокового смещения.
[0025] На ФИГ. 11 схематически представлена оптическая система с призмой бокового смещения.
[0026] На ФИГ. 12 схематически представлена оптическая система с призмой бокового смещения.
[0027] На ФИГ. 13 схематически представлена оптическая система с призмой бокового смещения.
[0028] На ФИГ. 14 схематически представлена оптическая система с призмой бокового смещения.
[0029] На ФИГ. 15 представлен вариант осуществления света автофокусировки на датчике.
[0030] На ФИГ. 16A-16В показаны варианты осуществления призмы бокового смещения.
[0031] На ФИГ. 17 показан вариант осуществления светоделителя.
[0032] На ФИГ. 18 представлен вариант осуществления модуля визуализации.
[0033] На ФИГ. 19A-19В представлен вариант осуществления модуля визуализации, показанного на ФИГ. 18.
[0034] На ФИГ. 20 представлен вариант осуществления узла, выполненного с возможностью микроскопии структурированного освещения (SIM).
[0035] На ФИГ. 21 представлен вариант осуществления модуля визуализации.
[0036] На ФИГ. 22 представлен вариант осуществления модуля визуализации.
[0037] На ФИГ. 23 представлен график частоты ошибок.
[0038] На ФИГ. 24 представлен вариант осуществления модуля визуализации.
[0039] На ФИГ. 25 представлен вариант осуществления оптической системы.
[0040] На ФИГ. 26 представлен вариант осуществления оптической системы.
[0041] На ФИГ. 27 показан вариант осуществления отражающего компонента.
[0042] На ФИГ. 28 показан вариант осуществления отражающего компонента.
[0043] На ФИГ. 29 показан пример света автофокусировки, обнаруженного датчиком.
[0044] На ФИГ. 30 показан пример света автофокусировки, обнаруженного датчиком.
[0045] На ФИГ. 31A-31С показаны примеры света автофокусировки, обнаруженного датчиком.
[0046] На ФИГ. 32A-32C представлен вариант осуществления теплопоглотителя лазерного двигателя.
[0047] На ФИГ. 33A-33C представлен вариант осуществления теплопоглотителя лазерного двигателя.
[0048] На ФИГ. 34 показан вариант осуществления SIM-узла.
[0049] На ФИГ. 35 показан пример поворотного переключателя на плоской решетке (RIGS).
[0050] На ФИГ. 36 показан пример RIGS.
[0051] На ФИГ. 37 представлен вариант осуществления пьезофазовращателя.
[0052] На ФИГ. 38 представлен вариант осуществления пьезофазовращателя.
[0053] На ФИГ. 39 показан вариант осуществления проекционной линзы.
[0054] На ФИГ. 40 показан вариант осуществления проекционной линзы.
[0055] На ФИГ. 41 показан пример поле обзора.
[0056] На ФИГ. 42 показан схематический вид примера системы, которую можно использовать для биологического и/или химического анализа.
[0057] На ФИГ. 43 проиллюстрирован пример вычислительного устройства, которое можно использовать для реализации аспектов настоящего изобретения.
ПОДРОБНОЕ ОПИСАНИЕ
[0058] В настоящем изобретении описываются системы, методики и/или изделия, относящиеся к соответствующим усовершенствованиям в отношении функциональности автофокусировки. При использовании систем отслеживания фокуса или других систем автофокусировки на детекторах множества оптических интерфейсов (например, слоев или других поверхностей) могут появиться рассредоточенные отражения, возникающие, что может препятствовать алгоритму отслеживания фокуса. В некоторых реализациях может использоваться дополнительная оптика для управления лучом, чтобы направлять отражения, относящиеся к автофокусировке, к датчику изображения, предотвращая попадание на датчик нерелевантных отражений. Такие подходы могут обеспечить, что отражения с отслеживанием фокуса, которые представляют интерес, могут выборочно направляться в заранее заданную область детектора, свободную от помех от и нежелательных отражений. Это может улучшить систему отслеживания фокуса. Один или более вариантов реализации, описанных в настоящем документе, могут облегчать интеграцию системы отслеживания фокуса в оптическую систему для визуализации пробы, например использование модуля автофокусировки. Например, оптическая система может быть выполнена с возможностью сбора флуоресценции, генерируемой в пробе.
[0059] В некоторых вариантах реализации оптическая система может включать в себя фильтр, имеющий покрытие, которое отражает излучаемый свет к датчику, причем фильтр передает релевантные и нерелевантные отражения. Оптика управления лучом может быть расположена за фильтром и может включать в себя отражающий материал (например, зеркало), расположенный на пути релевантных отражений и за пределами пути нерелевантных отражений. Абсорбирующий материал может быть размещен на пути нерелевантных отражений. Отражающий материал может быть выполнен с возможностью перемещения для направления релевантных отражений относительно датчика (например, для направления от излучаемого света). В другом варианте реализации отражающий материал может включать покрытие на задней поверхности фильтра, и может использоваться покрытие с высоким коэффициентом пропускания, чтобы позволить нерелевантным отражениям выходить из фильтра.
[0060] В некоторых вариантах реализации лучи света автофокусировки могут быть сформированы таким образом, чтобы они расходились друг от друга после разделения. Например, расходящиеся лучи света автофокусировки можно обеспечить, используя угловые выходные поверхности в компоненте светоделения, например, с помощью специальной призмы или с помощью стандартной призмы с добавленными клиновыми призмами. В качестве другого примера расходящиеся лучи света автофокусировки можно обеспечить, используя компоновку зеркал, 50% отражающий фильтр и пластины из стекла, образующие наклонные выходные поверхности. Каждый из расходящихся AFM-лучей образует соответствующие зоны на датчике, смещенные к противоположным сторонам от центра поля обзора. Наклонные выходные поверхности компонента светоделения выполнены с возможностью создавать заданное расстояние между пятнами, отраженными от одной и той же поверхности, так что мера разницы между измеренным расстоянием между пятнами и заданным расстоянием используется для расчета расстояния по оси Z между объективом и проточной кюветой; предварительно заданное расстояние соответствует наилучшему значению фокуса, который легче измерять, не влияя на выравнивания излучающих оптических элементов.
[0061] Примеры, описанные в настоящем документе, относятся к анализу одного или более проб. Используемый в настоящем документе термин «проба» включает в себя различные интересующие материалы, которые подвергаются визуализации с целью выявления оптических сигналов, исходящих от пробы. В конкретных вариантах осуществления проба может включать в себя интересующее биологическое вещество и/или интересующее химическое вещество. Необязательно проба может включать в себя оптическую подложку или опорную конструкцию, поддерживающую биологическое вещество или химическое вещество. Таким образом, проба может включать или не включать в себя оптическую подложку или опорную конструкцию. При использовании в настоящем документе термины «биологическое вещество» или «химическое вещество» могут включать в себя множество биологических или химических веществ, подходящих для визуализации или изучения с помощью оптических систем, описанных в настоящем документе. Например, биологические или химические вещества включают в себя одно или более биологических или химических веществ, таких как нуклеозиды, нуклеиновые кислоты, полинуклеотиды, олигонуклеотиды, белки, ферменты, полипептиды, антитела, антигены, лиганды, рецепторы, полисахариды, углеводы, полифосфаты, нанопоры, органеллы, липидные слои, клетки, ткани, организмы и биологически активное(-ые) химическое(-ие) соединение(-я), такие как аналоги или миметики вышеупомянутых компонентов. Другие химические вещества включают метки, которые можно использовать для идентификации, примеры которых включают флуоресцентные метки. Анализ пробы может включать в себя, без ограничений, генетическое секвенирование (например, определение структуры генетического материала), генотипирование (например, определение различий в генотипе субъекта), анализ экспрессии генов (например, синтез генного продукта с использованием информации о генах), протеомику (например, крупномасштабное исследование белков) или их комбинации.
[0062] В качестве примеров в настоящем документе используются подложки. Подложка может относиться к любому материалу, который обеспечивает по меньшей мере, по существу, жесткую структуру, или к структуре, которая сохраняет свою форму вместо того, чтобы принимать форму сосуда, с которым она контактирует. Материал может иметь поверхность, к которой может быть прикреплен другой материал, включая, например, гладкие подложки (например, металлические, стеклянные, пластиковые, кремниевые и керамические поверхности), а также текстурированные и (или) пористые материалы. Возможные подложки включают без ограничения стекло и модифицированное или функционализированное стекло, пластмассы (включая акрилы, полистирол и сополимеры стирола и других материалов, полипропилен, полиэтилен, полибутилен, полиуретаны, Teflon™ и т. п.), полисахариды, нейлон или нитроцеллюлозу, смолы, кремнезем или материалы на основе кремнезема, в том числе кремний и модифицированный кремний, углерод, металлы, неорганические стекла, пластик, волоконно-оптические жгуты и множество других полимеров. Как правило, подложки обеспечивают оптическое обнаружение и сами по себе заметно не флуоресцируют.
[0063] Примеры, описанные в настоящем документе, относятся к проточным кюветам. Проточную кювету можно рассматривать как подложку, которую можно использовать для подготовки и размещения или удержания одного или более проб по меньшей мере на одной стадии процесса анализа. Проточная кювета изготовлена из материала, совместимого как с материалом пробы (например, генетическим материалом), так и с химическими реакциями, воздействию которых она будет подвергаться. Подложка может иметь один или более каналов, в которые может быть помещен материал пробы. Вещество (например, жидкость) может проходить через канал, в котором присутствует генетический материал образца для запуска одной или более химических реакций и/или удаления нежелательного материала. Проточная кювета может обеспечивать визуализацию, облегчая, чтобы проба в канале проточной кюветы могла подвергаться воздействию направленного света и чтобы можно было обнаружить любые флуоресцентные ответы пробы. Некоторые варианты реализации систем могут быть выполнены с возможностью использования с по меньшей мере одной проточной кюветой, но могут не включать в себя проточную(-ые) ячейку(-и) на одном или более этапах, например, во время транспортировки или при доставке клиенту. Проточная кювета может иметь одну или более поверхностей, выполненных с возможностью размещения проб, таких как, без ограничений, пробы материала нуклеиновых кислот. В некоторых вариантах реализации поверхность(-и) покрыта(-ы) одним или более полимерами. Например, полимер может содержать поли(N- (5-азидоацетамидилпентил) акриламид-соакриламид), иногда называемый PAZAM.
[0064] Примеры, описанные в настоящем документе, относятся к свету автофокусировки. Модуль автофокусировки в системе анализа пробы может использовать свет автофокусировки для облегчения относительной регулировки между оптическим компонентом (например, объективом) и подложкой (например, удерживанием анализируемого образца). Модуль автофокусировки может оптически измерять расстояние между двумя или более объектами (например, оптическим компонентом и подложкой) с помощью света автофокусировки. В некоторых вариантах реализации модуль автофокусировки использует свет автофокусировки для выполнения триангуляции относительно двух или более объектов. Например, источник света автофокусировки (например, лазерный диод) может генерировать световой луч, который направляется на по меньшей мере одну поверхность подложки и отражается от нее. Детектор света (например, светочувствительный датчик) может регистрировать отражение светового луча от по меньшей мере одной поверхности. Положение отражения (например, световое пятно) на светодетекторе является показателем расстояния до подложки. Свет автофокусировки может иметь любую длину волн(-ы), подходящих(-ей) с учетом типа материала пробы (т. е. так, что свет автофокусировки, по существу, не разрушает пробу или не изменяет ее химические свойства) и/или с учетом светового детектора (т. е. так, что световой детектор способен обнаруживать свет автофокусировки). В некоторых вариантах реализации свет автофокусировки может иметь одну или более длин волн в диапазоне от примерно 770 нанометров (нм) до примерно 880 нм.
[0065] Примеры, описанные в настоящем документе, относятся к излучаемому свету. Один или более типов излучаемого света могут испускаться материалом пробы в рамках выполнения или подготовки пробы к анализу одной или более характеристик. В некоторых вариантах реализации излучаемый свет включает в себя флуоресцентный свет (иногда называемый флуоресценцией), излучаемый одним или более флуоресцентными маркерами или метками в материале пробы. Например, излучение флуоресцентного света может быть инициировано или иным образом стимулировано путем воздействия на пробу возбуждающего света, включая, без ограничений, направление лазерного света на пробу.
[0066] Описанные в настоящем документе примеры относятся как к поверхности способной отражать, так и к отражающей поверхности. Поверхность может быть отражающей для по меньшей мере, по существу, всех длин волн света или может быть отражающей для только одной или более заданных длин волн (например, для одного или более диапазонов длин волн). Поверхность может демонстрировать зеркальное отражение, что означает, что изображение, реализованное в падающем свете, по меньшей мере, по существу, сохраняется в отраженном свете. Отражающая способность необязательно включает отражение всего падающего света или отражение всего падающего света с предварительно заданной длиной волн(-ы). Напротив, поверхность может считаться отражающей, если она отражает некоторую величину (например, более нуля) падающего света или света, имеющего предварительно заданную длину волн(-ы). Отражающая поверхность может быть образована на подложке любого типа, и поверхность может включать любой из множества отражающих материалов. Отражающая поверхность может быть образована путем нанесения одного или более слоев на подложку. В некоторых вариантах реализации отражающая поверхность работает на основе тонкопленочных помех, включающих верхнюю поверхность слоя и верхнюю поверхность подложки.
[0067] Отражающая поверхность в оптической системе может называться фильтром. Например, отражающая поверхность может включать дихроичный фильтр. Используемый в настоящем документе термин «фильтр» в оптической системе означает устройство для избирательного пропускания или отклонения излучения, которое зависит от длины волны, поляризации или частоты. Термин может включать в себя интерференционный фильтр, в котором множество слоев диэлектрических материалов проходят или отражают свет в соответствии с усиливающей или ослабляющей интерференцией между отражениями от различных слоев. Интерферирующие фильтры также называются в данной области дихроичными фильтрами или диэлектрическими фильтрами. Термин может включать поглощающий фильтр, который предотвращает прохождение излучения, имеющего селективную длину волны или диапазон длин волн, посредством поглощения. Абсорбционные фильтры включают в себя, например, окрашенное стекло или жидкость.
[0068] Примеры, описанные в настоящем документе, относятся к поверхности, которая может быть прозрачной, или к прозрачной поверхности. Поверхность может быть прозрачной для по меньшей мере, по существу, всех длин волн света или может быть прозрачной для только одной или более заданных длин волн (например, для одного или более диапазонов длин волн). Прозрачность необязательно включает в себя пропускание всего падающего света или пропускание всего падающего света с заданной длиной волн(-ы). Вместо этого поверхность может считаться прозрачной, если она передает некоторое количество (например, более нуля) падающего света или света, имеющего предварительно заданную длину волн(-ы). Прозрачная поверхность может быть образована на подложке любого типа, и поверхность может включать в себя любой из множества прозрачных материалов. Прозрачная поверхность может быть образована путем нанесения одного или более противоотражающих материалов на подложку. Примеры подходящих противоотражающих материалов, которые можно использовать, включают в себя, без ограничений, любой прозрачный материал с показателем преломления, равным квадратному корню из произведения показателей преломления подложки и окружающей среды. Некоторые примеры противоотражающих материалов включают фторид магния (MgF2), фторполимеры, мезопористые наночастицы диоксида кремния, чередующиеся слои диоксида кремния и материал с более высоким показателем преломления или другие противоотражающие материалы, которые проявляют требуемое противоотражающее свойство в пределах используемой полосы/длин волн излучения.
[0069] Примеры, описанные в настоящем документе, относятся к одной или более структурам, которые предотвращают пропускание света (например, света автофокусировки) к заданному компоненту или в заданном направлении. В некоторых вариантах реализации структура может предотвращать пропускание света на заданный компонент или в заданном направлении путем поглощения света. Например, структура может включать в себя абсорбирующий материал для поглощения по меньшей мере, по существу, всей энергии света, падающего на структуру. В некоторых вариантах реализации структура может предотвращать пропускание света на предварительно заданный компонент или в предварительно заданном направлении, не отражая свет по отношению к предварительно заданному компоненту или в предварительно заданном направлении. Например, структура может включать в себя прозрачный материал, который не должен пропускать волну к заранее заданному компоненту или в заранее заданном направлении.
[0070] Примеры, описанные в настоящем документе, относятся к участку света с использованием модификатора, такого как «левый» или «правый». Термины «левый» и «правый» используются в настоящем документе только в иллюстративных целях и не обязательно отражают пространственное расположение любого компонента или относительное местоположение любого участка света. В некоторых вариантах реализации термины «первый» и «второй» соответственно могут представлять собой альтернативу модификаторам «левый» и «правый». Например, левый свет автофокусировки и правый свет автофокусировки в некоторых обстоятельствах вместо этого могут называться первым светом автофокусировки и вторым светом автофокусировки соответственно.
[0071] Примеры, описанные в настоящем документе, относятся к участку света с использованием модификатора, такого как «верхний» или «нижний». Термины «верхний» и «нижний» используются в настоящем документе только в иллюстративных целях и не обязательно отражают пространственное расположение любых компонентов. В некоторых вариантах реализации термины «первый» и «второй» соответственно могут представлять собой альтернативу модификаторам «верхний» и «нижний». Например, верхняя поверхность и нижняя поверхность в некоторых обстоятельствах могут называться первой поверхностью и второй поверхностью соответственно.
[0072] Употребляемые в описанных в настоящем документе примерах термины «за», «перед» или «позади», «спереди» употребляемые при описании компонента относятся к другому компоненту. Термины «за», «перед» и «позади», «спереди» используются в настоящем документе только в иллюстративных целях и не обязательно отражают только одно из множества пространственных расположений или единственное возможное пространственное расположение любых компонентов. В некоторых вариантах реализации термины «за», «перед» и «позади», «спереди» используются в относительном смысле касаемо одного или более указанных эталонных элементов. Например, первый элемент можно охарактеризовать как находящийся позади второго элемента относительно направления перемещения света, что означает, что свет достигает второго элемента до достижения первого элемента. В качестве другого примера первый элемент можно охарактеризовать как находящийся перед вторым элементом относительно направления перемещения света, что означает, что свет достигает первого элемента до достижения второго элемента. В другом примере поверхность компонента может называться передней поверхностью относительно направления света, что означает, что свет достигает передней поверхности до достижения других аспектов компонента. В другом примере поверхность компонента может называться задней поверхностью относительно направления хода света, что означает, что свет достигает других аспектов компонента до достижения передней поверхности.
[0073] Примеры, описанные в настоящем документе, относятся к детектору света. В некоторых вариантах реализации детектор света может быть чувствительным к одной или более формам электромагнитного излучения. Детектор может включать в себя устройство или устройство, имеющее несколько элементов, которые преобразуют энергию контактных фотонов в электрическую реакцию. Такие элементы могут называться датчиками, или массив элементов в совокупности может называться датчиком. Датчик может включать в себя прибор с зарядовой связью (ПЗС), причем элементы представляют собой фоточувствительные участки сбора заряда, накапливающие заряд в ответ на воздействие фотонов. Датчик может включать в себя матрицу комплементарного металло-оксидного полупроводника (КМОП) детектора, матрицу фотодиодов, матрицу лавинного фотодиода (ЛФД) детектора и/или матрицу фотонового счетчика режима Гейгера. Элементы датчика могут иметь любое из множества расположений. Например, элементы прямоугольной матрицы датчиков расположены в двухмерной ортогональной конфигурации, в которой первое измерение, называемое «горизонтальным» размером, может быть длиннее второго измерения, называемого «вертикальным» размером. Элементы квадратной матрицы датчиков расположены в двухмерной ортогональной конфигурации, в которой первый и второй размеры конструкции имеют одинаковую длину. Датчик может обнаруживать свет и генерировать соответствующий выходной сигнал от одного или более пикселей. В некоторых вариантах реализации может быть определено разделение между двумя или более участками света на датчике (например, в рамках операции автофокусировки). Например, разделение можно измерять с помощью расстояния в пикселях или с помощью подходящего линейного блока расстояний.
[0074] Примеры, описанные в настоящем документе, относятся к объективу. Объектив представляет собой часть оптической системы и может включать в себя один или более оптических компонентов. В настоящем документе термин «оптические компоненты» включает в себя, без ограничений, различные элементы, которые влияют на распространение оптических сигналов. Например, оптические компоненты могут, по меньшей мере, перенаправлять, фильтровать, формировать, увеличивать или концентрировать оптические сигналы. Оптические сигналы, которые могут быть затронуты, включают в себя оптические сигналы, расположенные выше по потоку от пробы, и оптические сигналы, расположенные ниже по потоку от пробы. В системе обнаружения флуоресценции расположенные выше по потоку компоненты включают в себя компоненты, которые направляют возбуждающее излучение на пробу, а расположенные ниже по потоку компоненты включают в себя компоненты, которые направляют излучение от пробы. Оптические компоненты могут представлять собой, например, отражатели, дихроичные фильтры, дихроичные зеркала, светоделители, коллиматоры, линзы, фильтры, клинья, призмы, зеркала, детекторы и т. п. Оптические компоненты могут включать полосовые фильтры, оптические клинья и оптические устройства, аналогичные описанным в настоящем документе. В некоторых вариантах реализации оптическая система может включать в себя проекционную линзу. Термин «проекционная линза» может включать в себя оптический элемент, выполненный с возможностью передачи изображения объекта на детектор. Например, линза может быть помещена для передачи изображения, исходящего от линзы объектива, на детекторную матрицу. Объектив может поддерживать глубину контроля поля зрения (DFC). В некоторых вариантах реализации DFC может облегчать выбор на разных глубинах поля. Например, DFC управляет расстоянием между наиболее близкими и наиболее удаленными объектами, которые находятся в фокусе.
[0075] Описанные здесь примеры относятся к компоненту, находящемуся в фокусе объектива. Из-за неотъемлемых ограничений в физических оптических системах (в отличие от идеальных систем) может отсутствовать точная точка фокусировки относительно компонента и объектива. Напротив, может существовать диапазон наилучшего фокуса, применимый к компоненту и объективу, и это иногда называют компонентом, который находится в наилучшем фокусе объектива. В настоящем документе термин «фокус» или «вне фокуса» (например, «наилучший фокус» или «вне наилучшего фокуса») включает в себя процесс регулировки системы обнаружения для получения требуемой характеристики для представления обнаруживаемого объекта. Например, система оптического обнаружения может быть скорректирована для увеличения остроты, контраста или частотно-контрастной характеристики (ЧКХ) для визуализации пробы. В качестве дополнительного примера система оптического обнаружения может быть отрегулирована для получения изображения, имеющего требуемую однородность, и в конкретных вариантах осуществления изображение может иметь как требуемую однородность, так и ЧКХ, превышающую заданное минимальное значение. ЧКХ для изображения может варьироваться в разных местах пробы. Например, ЧКХ может отличаться в двух разных местах пробы, чтобы изображение могло иметь одну или несколько других характеристик, которые аналогичны или находятся в требуемом диапазоне в каждом из местоположений.
[0076] Примеры, описанные в настоящем документе, относятся к светоделителю. Светоделитель означает оптический элемент, который проходит через первую часть луча излучения и отражает вторую часть луча. В некоторых вариантах реализации светоделитель может быть выполнен с возможностью избирательно пропускать излучение в первом диапазоне длин волн и отражать излучение во втором, отличном от него диапазоне длин волн. Например, светоделитель может разделять свет автофокусировки на два отдельных (например, по меньшей мере, по существу, эквивалентных друг другу) пучка света. Светоделитель может включать в себя частично отражающий слой. Частично отражающий слой может включать любой материал, обладающий оптическими свойствами (например, показателем преломления и/или толщиной), чтобы отражать часть света и пропускать другую часть света из-за усеченного полного внутреннего отражения. В некоторых вариантах реализации частично отражающий слой может иметь отражающую способность примерно 45-55%. Отражающая способность может применяться к заданной длине волны или диапазону длин волн. Например, отражающую способность можно измерить для одной или более длин волн в диапазоне от примерно 77 нм до примерно 880 нм. Отражающая способность может применяться при одном или более углах падения. Например, отражающая способность может применяться при одном или более углах падения от примерно 45 градусов до примерно 55 градусов.
[0077] Примеры в настоящем документе относятся к призме. Призма представляет собой оптический элемент с плоскими и гладкими поверхностями, образующими между собой углы, причем призма прозрачна для света по меньшей мере одной длины волны. Две смежные поверхности призмы, образующие между собой угол, разделены границей. Например, граница может представлять собой край, образованный плоскостью одной из поверхностей, пересекающих плоскость другой поверхности на границе. Призма может включать в себя один или более оптически эффективных компонентов. В некоторых вариантах реализации призма включает в себя частично отражающий слой.
[0078] Призма может упоминаться как имеющая заданный профиль, то есть геометрическая структура по меньшей мере части призмы, демонстрируемая по меньшей мере некоторыми границами призмы. В некоторых вариантах реализации профиль призмы соответствует форме призмы (т. е. форме по меньшей мере некоторых видимых границ), если смотреть по меньшей мере с одного направления. В некоторых вариантах реализации призма может иметь клиновидный профиль. Призма с клиновидным профилем может иметь первую сторону клиновидного профиля, образующую ненулевой угол со второй стороной клиновидного профиля, причем первая сторона и вторая сторона либо имеют общую границу, либо не имеют общей границы. В некоторых вариантах реализации призма может иметь параллелограммовидный профиль. Призма с параллелограммовидным профилем может иметь первую сторону параллелограммовидного профиля и вторую сторону параллелограммовидного профиля, которые параллельны друг другу, и может иметь третью сторону параллелограммовидного профиля и четвертую сторону параллелограммовидного профиля, которые параллельны друг другу.
[0079] Призма, предназначенная для формирования соответствующих пучков света, может называться призмой бокового смещения из-за бокового смещения одного или более пучков света относительно по меньшей мере одного другого пучка света. Призма бокового смещения может включать в себя светоделитель, включая, без ограничений, частично отражающий слой. В некоторых вариантах реализации призма может быть изготовлена из любого материала, прозрачного для одной или более длин волн света. Например, призма может быть изготовлена из одного или более из стекла (например, оптического боросиликатного стекла), пластика или флюорита. Поверхности призмы могут быть полированы до заданной плоскостности и гладкости.
[0080] В настоящем документе примеры относятся к микроскопии структурированного освещения (SIM). SIM-визуализация основана на пространственно структурированном свете. Например, структура может состоять из или включать узор в освещающем свете, который помогает увеличить разрешение полученного(-ых) изображения(изображений). В некоторых вариантах реализации структура может включать в себя интерференционные полосы. Интерференционные полосы света могут генерироваться путем направления пучка света на дифракционную решетку (называемую решеткой для простоты) таким образом, чтобы происходила отражающая или пропускающая дифракция. Структурированный свет может падать на пробу, освещая ее а основании соответствующих полос, которые могут возникать с некоторой периодичностью. Например, изображения пробы могут быть получены на разных фазах интерференционных полос структурированного света, иногда называемых соответствующими фазами узора изображений. Это позволяет подвергать разнообразные местоположения пробы воздействию множества интенсивностей освещения. Узор структурированного света может поворачиваться относительно пробы, и только что упомянутые изображения могут быть захвачены для каждого из углов поворота.
[0081] В настоящем документе примеры относятся к синему каналу излучаемого света (например, для обнаружения узлом синего датчика) и/или к зеленому каналу излучаемого света (например, для обнаружения узлом зеленого датчика). Излучаемое освещение можно определить диапазонами длин волн, каждый из которых можно отнести к соответствующему цветовому каналу. Например, диапазоны длин волн излучаемого освещения могут соответствовать синему цвету (например, 450-525 нм) и/или зеленому цвету (например, 525-570 нм. В некоторых вариантах реализации диапазоны длин волн могут быть определены на основе двух или более длин волн света, присутствующих во время одновременного освещения. Например, если необходимо проанализировать только синий и зеленый цвета, диапазон длин волн, соответствующий синему и зеленому цветам, может определяться как диапазоны длин волн, отличные от указанных выше диапазонов. Например, диапазон длин волн синего света может быть установлен как излучаемый свет от около 450 нм до 510 нм, например 486-506 нм. В некоторых примерах диапазон длин волн синего цвета может просто иметь верхний предел, например около 500-510 нм или около 506 нм. Аналогичным образом, диапазон длин волн зеленого цвета может быть задан как излучаемый свет от около 525 нм до 650 нм, например 584-637 нм. В то время как вышеупомянутый диапазон длин волн может охватывать желтый и красный цвета, при анализе излучаемого света, который, как ожидается, будет находиться только в диапазоне синего и зеленого цветов, верхний и/или нижний концы диапазона длин волн могут быть продлены для захвата дополнительного излучаемого света, который излучается выше или ниже длины волны для цвета. В некоторых примерах диапазон длин волн зеленого цвета может просто иметь нижний предел, например около 550-600 нм или около 584 нм.
[0082] На ФИГ. 1 показан пример системы 100, которую можно использовать для создания графических файлов. Система 100 может включать или использоваться с одним или более другими вариантами осуществления, описанными в данном документе. В некоторых вариантах реализации система 100 может включать в себя систему 4200, показанную на ФИГ. 42, или может использоваться с ней. В некоторых вариантах реализации система 100 может включать в себя или использоваться с по меньшей мере некоторыми компонентами вычислительного устройства 4300, показанного на ФИГ. 43. В некоторых вариантах реализации система 100 может включать в себя оптическую систему 200, показанную на ФИГ. 2, или может использоваться с ней. В некоторых вариантах реализации система 100 может включать в себя оптическую систему 500, показанную на ФИГ. 5, или может использоваться с ней. В некоторых вариантах реализации система 100 может включать в себя оптическую систему 800, показанную на ФИГ. 8A, или может использоваться с ней. В некоторых вариантах реализации система 100 может включать в себя оптическую систему 820, показанную на ФИГ. 8B, или может использоваться с ней. В некоторых вариантах реализации система 100 может включать в себя призму бокового смещения 1000, показанную на ФИГ. 10A-10C. В некоторых вариантах реализации система 100 может включать в себя оптическую систему 1100, показанную на ФИГ. 11, или может использоваться с ней. В некоторых вариантах реализации система 100 может включать в себя оптическую систему 1200, показанную на ФИГ. 12, или может использоваться с ней. В некоторых вариантах реализации система 100 может включать в себя оптическую систему 1300, показанную на ФИГ. 13, или может использоваться с ней. В некоторых вариантах реализации система 100 может включать в себя оптическую систему 1400, показанную на ФИГ. 14, или может использоваться с ней. В некоторых вариантах реализации система 100 может включать в себя призму бокового смещения 1600, показанную на ФИГ. 16A-16В. В некоторых вариантах реализации система 100 может включать в себя или использоваться со светоделителем 1700 на ФИГ. 17. В некоторых вариантах реализации система 100 может включать в себя модуль 1800 визуализации, показанный на ФИГ. 18 и 19A-19В. В некоторых вариантах реализации система 100 может включать в себя или использоваться с SIM-узлом 2000, показанным на ФИГ. 20. В некоторых вариантах реализации система 100 может включать в себя модуль 2100 визуализации, показанный на ФИГ. 21, или может использоваться с ним. В некоторых вариантах реализации система 100 может включать в себя модуль 2200 визуализации, показанный на ФИГ. 22, или может использоваться с ним. В некоторых вариантах реализации система 100 может включать в себя модуль 2400 визуализации, показанный на ФИГ. 24, или может использоваться с ним. В некоторых вариантах реализации система 100 может включать в себя оптическую систему 2500, показанную на ФИГ. 25, или может использоваться с ней. В некоторых вариантах реализации система 100 может включать в себя оптическую систему 2600, показанную на ФИГ. 26, или может использоваться с ней. В некоторых вариантах реализации система 100 может включать в себя отражающий компонент 2700, показанный на ФИГ. 27, или может использоваться с ним. В некоторых вариантах реализации система 100 может включать в себя отражающий компонент 2800, показанный на ФИГ. 28, или может использоваться с ним. В некоторых вариантах реализации система 100 может генерировать свет 2900 автофокусировки, показанный на ФИГ. 29. В некоторых вариантах реализации система 100 может генерировать свет 3000 автофокусировки, показанный на ФИГ. 30. В некоторых вариантах реализации система 100 может генерировать свет 3100 автофокусировки, показанный на ФИГ. 31A-31C. В некоторых вариантах реализации система 100 может включать в себя теплопоглотитель 3200 лазерного двигателя, показанный на ФИГ. 32А-32С. В некоторых вариантах реализации система 100 может включать в себя теплопоглотитель 3300 лазерного двигателя, показанный на ФИГ. 33A-33C. В некоторых вариантах реализации система 100 может включать в себя или использоваться с SIM-узлом 3400, показанным на ФИГ. 34. В некоторых вариантах реализации система 100 может включать в себя RIGS 3500, показанный на ФИГ. 35, или может использоваться с ним. В некоторых вариантах реализации система 100 может включать в себя RIGS 3600, показанный на ФИГ. 36, или может использоваться с ним. В некоторых вариантах реализации система 100 может включать в себя или использоваться с пьезофазовращателем 3700, показанным на ФИГ. 37. В некоторых вариантах реализации система 100 может включать в себя или использоваться с пьезофазовращателем 3800, показанным на ФИГ. 38. В некоторых вариантах реализации система 100 может включать в себя или использоваться с проекционной линзой 3900, показанной на ФИГ. 39. В некоторых вариантах реализации система 100 может включать в себя или использоваться с проекционной линзой 4000, показанной на ФИГ. 40. В некоторых вариантах реализации система 100 может генерировать поле 4100 обзора, показанное на ФИГ. 41.
[0083] Систему 100 можно использовать для анализа одного или более типов материалов пробы и можно называть системой анализа пробы. В некоторых вариантах реализации система 100 может быть выполнена с возможностью анализа нуклеотидного материала на подложке. Система 100 включает в себя модуль автофокусировки 102 и систему 104 оптических элементов с возможностью сбора флуоресценции. Модуль 102 автофокусировки может выполнять одну или более функций автофокусировки в отношении визуализации, выполняемой с использованием системы 104 оптических элементов с возможностью сбора флуоресценции. В некоторых вариантах реализации система 104 оптических элементов с возможностью сбора флуоресценции осуществляет сбор флуоресценции (иногда называемой излучающим светом), генерируемой в пробе, для выполнения анализа. Например, модуль автофокусировки 102 может автоматически определять наилучший фокус, который должен быть применен системой 104 оптических элементов с возможностью сбора флуоресценции для анализируемой пробы, и система 104 оптических элементов с возможностью сбора флуоресценци может соответственно применять наилучший фокус.
[0084] Модуль 102 автофокусировки включает в себя один или более компонентов 106 автофокусировки. В некоторых вариантах реализации компоненты 106 автофокусировки включают в себя источник света автофокусировки (например, лазерный диод). В некоторых вариантах реализации компоненты автофокусировки 106 включают в себя светоделитель (например, как часть призмы бокового смещения). В некоторых вариантах реализации компоненты 106 автофокусировки включают в себя асферическую линзу (например, для коллимирования света от источника света). Один или более других компонентов, используемых модулем автофокусировки 102, могут использоваться совместно с системой 104 оптических элементов с возможностью сбора флуоресценци, например, как будет описано ниже.
[0085] Система 104 оптических элементов с возможностью сбора флуоресценци включает в себя один или более флуоресцентных компонентов 108. Флуоресцентные компоненты 108 участвуют в сборе флуоресценции одним или более способами. В некоторых вариантах реализации флуоресцентные компоненты 108 могут запускать излучение флуоресценции. Например, флуоресцентные компоненты 108 могут включать в себя один или более лазеров, генерирующих возбуждающий свет с длиной волны и энергией, которые активируют одну или более флуоресцентных меток в материале пробы, причем активация приводит к излучению флуоресцентной(-ыми) меткой(-ами) флуоресцентного света. В некоторых вариантах реализации флуоресцентные компоненты 108 могут управлять пробой при подготовке к визуализации и/или во время нее. Например, флуоресцентные компоненты 108 могут подготавливать пробу для анализа (например, путем термической обработки и/или применения химических веществ) и/или размещать подложку, удерживающую пробу, для визуализации. В некоторых вариантах реализации флуоресцентные компоненты 108 могут анализировать флуоресценцию, полученную из пробы. Например, собранную флуоресценцию можно анализировать для идентификации флуоресцентной метки(меток) образца и, таким образом, определения одной или более характеристик пробы.
[0086] Система 100 может включать один или более общих компонентов 110. Общие компоненты 110 могут использоваться модулем автофокусировки 102, системой 104 оптических элементов с возможностью сбора флуоресценци, или как модулем автофокусировки 102, так и системой 104 оптических элементов с возможностью сбора флуоресценци. Применение может осуществляться одновременно или может происходить в разные моменты времени. Например, модуль 102 автофокусировки может использовать общие компоненты 110 в процессе автофокусировки, выполняемой перед анализом (например, с использованием визуализации пробы), \системой 104 оптических элементов с возможностью сбора флуоресценци.
[0087] Общие компоненты 110 могут включать в себя один или более объективов 112. Например, объектив 112 можно использовать для направления света автофокусировки на подложку и для передачи отраженного света автофокусировки от подложки для выполнения процедуры автофокусировки. Например, объектив 112 можно использовать для направления возбуждающего света на пробу и для передачи испускаемой флуоресценции от пробы для ее сбора.
[0088] Общие компоненты 110 могут включать один или более отражающих/прозрачных компонентов 114. Отражающий/прозрачный компонент 114 может включать в себя один или более компонентов, которые являются отражающими (например, зеркалом), и/или один или более компонентов, которые являются прозрачными (например, фильтром), и/или один или более компонентов, которые являются как отражающими, так и прозрачными (например, частично отражающим слоем), и/или рефракционным компонентом (например, линзу). В некоторых вариантах реализации отражающий/прозрачный компонент 114 используется для отведения одного или более типов света от одного или более других типов света. Например, отражающий/прозрачный компонент 114 может включать, по меньшей мере, один фильтр 116. Такое управление, осуществляемое отражающим/прозрачным компонентом 114, может служить для отличия текущего релевантного света от текущего нерелевантного света и, таким образом, улучшения обнаружения света автофокусировки модулем 102 автофокусировки.
[0089] Общие компоненты 110 могут содержать один или более детекторов 118. Детектор 118 можно использовать для регистрации света автофокусировки, отраженного от пробы, в целях процесса автофокусировки. Детектор 118 можно использовать для регистрации излучаемого света (например, флуоресценции) в процессе анализа. Детектор 118 может включать в себя один или более датчиков 120. Например, датчики 120 включают в себя светочувствительные элементы, расположенные в виде прямоугольной матрицы.
[0090] На ФИГ. 2 представлен вариант осуществления оптической системы 200. Оптическая система 200 может включать или использоваться с одним или более другими вариантами осуществления, описанными в данном документе. В некоторых вариантах реализации оптическая система 200 может включать в себя оптическую систему 500, показанную на ФИГ. 5, или может использоваться с ней. В некоторых вариантах реализации оптическая система 200 может быть включена в систему 100, показанную на ФИГ. 1. В некоторых вариантах реализации оптическая система 200 может включать в себя оптическую систему 800, показанную на ФИГ. 8A, или использоваться с ней. В некоторых вариантах реализации оптическая система 200 может включать в себя оптическую систему 820, показанную на ФИГ. 8B, или может использоваться с ней. В некоторых вариантах реализации оптическая система 200 может включать в себя призму бокового смещения 1000, показанную на ФИГ. 10A-10C. В некоторых вариантах реализации оптическая система 200 может включать в себя оптическую систему 1100, показанную на ФИГ. 11, или может использоваться с ней. В некоторых вариантах реализации оптическая система 200 может включать в себя оптическую систему 1200, показанную на ФИГ. 12, или может использоваться с ней. В некоторых вариантах реализации оптическая система 200 может включать в себя оптическую систему 1300, показанную на ФИГ. 13, или может использоваться с ней. В некоторых вариантах реализации оптическая система 200 может включать в себя оптическую систему 1400, показанную на ФИГ. 14, или может использоваться с ней. В некоторых вариантах реализации оптическая система 200 может включать в себя призму бокового смещения 1600, показанную на ФИГ. 16A-16В. В некоторых вариантах реализации оптическая система 200 может включать в себя или использоваться со светоделителем 1700 на ФИГ. 17. В некоторых вариантах реализации оптическая система 200 может включать в себя или использоваться с модулем 1800 визуализации, показанным на ФИГ. 18 и 19A-19В. В некоторых вариантах реализации оптическая система 200 может включать в себя или использоваться с SIM-узлом 2000, показанным на ФИГ. 20. В некоторых вариантах реализации оптическая система 200 может включать в себя или использоваться с модулем 2100 визуализации, показанным на ФИГ. 21. В некоторых вариантах реализации оптическая система 200 может включать в себя или использоваться с модулем 2200 визуализации, показанным на ФИГ. 22. В некоторых вариантах реализации оптическая система 200 может включать в себя или использоваться с модулем 2400 визуализации, показанным на ФИГ. 24. В некоторых вариантах реализации оптическая система 200 может включать в себя оптическую систему 2500, показанную на ФИГ. 25, или может использоваться с ней. В некоторых вариантах реализации оптическая система 200 может включать в себя оптическую систему 2600, показанную на ФИГ. 26, или может использоваться с ней. В некоторых вариантах реализации оптическая система 200 может включать в себя отражающий компонент 2700, показанный на ФИГ. 27, или может использоваться с ним. В некоторых вариантах реализации оптическая система 200 может включать в себя отражающий компонент 2800, показанный на ФИГ. 28, или может использоваться с ним. В некоторых вариантах реализации оптическая система 200 может генерировать свет 2900 автофокусировки, показанный на ФИГ. 29. В некоторых вариантах реализации оптическая система 200 может генерировать свет 3000 автофокусировки, показанный на ФИГ. 30. В некоторых вариантах реализации оптическая система 200 может генерировать свет 3100 автофокусировки, показанный на ФИГ. 31A-31C. В некоторых вариантах реализации оптическая система 200 может включать в себя теплопоглотитель 3200 лазерного двигателя, показанный на ФИГ. 32А-32С. В некоторых вариантах реализации оптическая система 200 может включать в себя теплопоглотитель 3300 лазерного двигателя, показанный на ФИГ. 33A-33C. В некоторых вариантах реализации оптическая система 200 может включать в себя или использоваться с SIM-узлом 3400, показанным на ФИГ. 34. В некоторых вариантах реализации оптическая система 200 может включать в себя или использоваться с RIGS 3500, показанным на ФИГ. 35. В некоторых вариантах реализации оптическая система 200 может включать в себя или использоваться с RIGS 3600, показанным на ФИГ. 36. В некоторых вариантах реализации оптическая система 200 может включать в себя или использоваться с пьезофазовращателем 3700, показанным на ФИГ. 37. В некоторых вариантах реализации оптическая система 200 может включать в себя или использоваться с пьезофазовращателем 3800, показанным на ФИГ. 38. В некоторых вариантах реализации оптическая система 200 может включать в себя или использоваться с проекционной линзой 3900, показанной на ФИГ. 39. В некоторых вариантах реализации оптическая система 200 может включать в себя или использоваться с проекционной линзой 4000, показанной на ФИГ. 40. В некоторых вариантах реализации оптическая система 200 может генерировать поле 4100 обзора, показанное на ФИГ. 41.
[0091] Оптическая система 200 включает в себя подложку 202. Подложку 202 можно использовать для удержания одного или более анализируемых образцов. В некоторых вариантах реализации проба, расположенная на подложке 202, может включать в себя нуклеотидный материал. Например, подложка 202 может включать в себя проточную кювету для визуализации нуклеотидного вещества.
[0092] Оптическая система 200 включает в себя объектив 204. Объектив 204 может находиться непосредственно перед подложкой 202. Например, объектив 204 можно использовать для направления света автофокусировки на подложку 202 и для передачи отраженного света автофокусировки от подложки 202 для выполнения процедуры автофокусировки. Например, объектив 204 можно использовать для направления возбуждающего света на пробу на подложке 202 и для передачи испускаемой флуоресценции от образца для сбора.
[0093] Оптическая система 200 включает фильтр 206. Фильтр 206 может находиться непосредственно перед объективом 204. Фильтр 206 может представлять собой дихроичный фильтр. Фильтр 206 может обеспечивать прохождение света одного или более типов в поток. Например, возбуждающий свет от источника возбуждающего света (не показан) может быть добавлен через фильтр 206 и, таким образом, передан к подложке 202.
[0094] Оптическая система 200 включает фильтр 208. Фильтр 208 может находиться непосредственно перед фильтром 206. Фильтр 206 может представлять собой дихроичный фильтр. В некоторых вариантах реализации фильтр 208 может отражать свет автофокусировки, отраженный от подложки 202, и излучаемый свет, генерируемый образцом, и тем самым облегчать передачу света автофокусировки и излучаемого света в дополнительные аспекты оптической системы 200. Фильтр 208 может обеспечивать прохождение света одного или более типов в поток. Например, свет автофокусировки может быть добавлен через фильтр 208 и, таким образом, передан к подложке 202.
[0095] Оптическая система 200 включает в себя структуру 210. Конструкция 210 может находиться непосредственно перед фильтром 208. Конструкция 210 может служить для блокирования передачи одного или более лучей, поступающих от фильтра 208, к дополнительным аспектам системы 100. В некоторых вариантах реализации структура 210 может блокировать один или более аспектов автофокусировки света, которые были отражены на подложке 202. Например, структура 210 может блокировать свет автофокусировки, отраженный от верхней поверхности проточной кюветы.
[0096] Оптическая система 200 включает фильтр 212. Фильтр 212 может находиться непосредственно перед строительной конструкцией 210. Фильтр 212 может представлять собой дихроичный фильтр. В некоторых вариантах реализации фильтр 212 может передавать свет автофокусировки, отраженный от подложки 202, и излучаемый свет, генерируемый образцом, и тем самым облегчать передачу света автофокусировки и излучаемого света на дополнительные аспекты оптической системы 200. Фильтр 212 может разделять излучаемый свет от подложки 202 между двумя или более путями. В некоторых вариантах реализации каждый путь может быть связан с соответствующим цветовым каналом. Например, компоненты, расположенные выше по потоку от фильтра 212, могут быть связаны с одним цветовым каналом (например, синим или зеленым цветовым каналом), а другие компоненты (не показаны) могут быть связаны с другим цветовым каналом.
[0097] Оптическая система 200 включает в себя по меньшей мере одну трубчатую линзу 214. Трубчатая(-ые) линза(-ы) 214 может(могут) представлять собой компонент(-ы) непосредственно перед фильтром 212. В некоторых вариантах реализации трубчатая линза 214 может служить для фокусировки падающего света при подготовке к его обнаружению. Например, трубчатая линза 214 может фокусировать свет с автофокусировкой для обнаружения в рамках процесса автофокусировки. В качестве другого примера, трубчатая линза 214 может фокусировать излучаемый свет для обнаружения в рамках процесса анализа.
[0098] Оптическая система 200 включает фильтр 216. Фильтр 216 может быть компонентом непосредственно перед трубчатой линзой 214. Фильтр 216 может представлять собой дихроичный фильтр. Фильтр 216 может, отдельно или вместе с, по меньшей мере, одним другим компонентом, облегчать управление одним или более типами света. В некоторых вариантах реализации фильтр 216 может отражать излучаемый свет и передавать свет автофокусировки. Например, фильтр 216 может иметь противоотражающее покрытие, которое предотвращает отражение (т. е. облегчает передачу) света автофокусировки и которое отражает излучаемый свет. В других вариантах реализации фильтр 216 может быть выполнен с возможностью предотвращения отражения (т. е. облегчения передачи) излучаемого света и отражения света автофокусировки.
[0099] Оптическая система 200 включает фильтр 218. Фильтр 218 может находиться непосредственно перед фильтром 216. Фильтр 218 может представлять собой дихроичный фильтр. В некоторых вариантах реализации фильтр 218 может подготавливать свет одним или более факторами при подготовке к обнаружению. Например, фильтр 218 может обеспечивать полосовую фильтрацию на основании длины волн(-ы) отраженного света автофокусировки и длины волн(-ы) излучаемого света, чтобы устранить шум.
[00100] Оптическая система 200 включает датчик 220. Датчик 220 может находиться непосредственно перед фильтром 218. Датчик 220 может обнаруживать отраженный свет автофокусировки во время процедуры автофокусировки и/или обнаруживать излучаемый свет во время процедуры анализа. Например, датчик 220 включает в себя прямоугольную матрицу светочувствительных элементов, которая может обнаруживать соответствующие местоположения одной или более частей света, падающего на датчик 220.
[00101] Оптическая система 200 включает в себя один или более источников света автофокусировки (не показан). Соединитель 222 может представлять собой точку входа в оптическую систему 200 для лазерного света, которое служит в качестве света автофокусировки. В некоторых вариантах реализации лазерное излучение может обеспечиваться посредством инфракрасного кабеля суперлюминесцентным диодом, который обеспечивает свет автофокусировки на основе суперлюминесценции (например, спонтанно излучаемого света, усиленного стимулированным излучением). Например, свет автофокусировки может быть коллимирован путем пропускания через асферическую линзу.
[00102] Первоначальный свет автофокусировки можно разделять (или смещать в боковом направлении) на две или более частей света автофокусировки. Оптическая система 200 включает в себя призму бокового смещения 224. Призма бокового смещения 224 может быть расположена вблизи фильтра 208. Например, призма бокового смещения 224 расположена на противоположной стороне фильтра 208 стороне, которая отражает свет автофокусировки и излучаемый свет, генерируемый образцом. Сторона фильтра 208, обращенная к призме бокового смещения 224, может быть прозрачной для света автофокусировки от призмы бокового смещения 224, чтобы позволить свету автофокусировки передаваться к подложке 202. Призма бокового смещения 224 может образовывать соответствующие участки света автофокусировки, которые расходятся друг от друга, например, как описано ниже.
[00103] Оптическая система 200 включает в себя один или более отражающий компонент 226. Отражающий компонент 226 может включать в себя одну или более отражающих поверхностей и может быть расположен позади фильтра 216 в направлении прохождения света, поступающего от трубчатой линзы 214. В некоторых вариантах реализации отражающий компонент 226 отражает свет, который был пропущен через фильтр 216, при этом отражение вызывает направление света к датчику 220. Например, отражающий компонент 226 может отражать некоторый (но не весь) свет автофокусировки, который был отражен на подложке 202. Отражающий компонент 226 может иметь оптические свойства в зависимости от типа используемого света автофокусировки. В некоторых вариантах реализации отражающий компонент 226 является отражающим по меньшей мере в части диапазона длин волн ближнего инфракрасного диапазона (например, отражающим где-либо в диапазоне от примерно 750 нм до примерно 1400 нм).
[00104] Оптическая система 200 включает в себя одну или более структур 228. Конструкция 228 может быть расположена позади фильтра 216 в направлении прохождения света, поступающего от трубчатой линзы 214. В некоторых вариантах реализации структура 228 поглощает свет, который был пропущен через фильтр 216, при этом поглощение предотвращает попадание света на датчик 220 или другую область оптической системы 200. Например, структура 228 может поглощать некоторый (но не весь) свет автофокусировки, который был отражен на подложке 202.
[00105] В процессе работы оптической системы 200 призмой бокового смещения 224 можно сформировать свет автофокусировки 230A и свет автофокусировки 230B. Свет 230A автофокусировки и свет 230B автофокусировки расходятся под заданным углам друг к другу. Свет автофокусировки 230A или свет автофокусировки 230B может передаваться через фильтр 208 и объектив 204 и падать на подложку 202. В некоторых вариантах реализации отражение света автофокусировки 230A и света автофокусировки 230B на подложке 202 может формировать свет автофокусировки 232A, свет автофокусировки 232B, свет автофокусировки 234A и свет автофокусировки 234B. Например, свет 232A-232B автофокусировки может быть результатом отражения света 230A-230B автофокусировки соответственно на первом слое или другой поверхности подложки 202. Таким образом, оптическая система 200 может направлять свет 232a-232B автофокусировки к фильтру 216. В качестве другого примера свет 234A-234B автофокусировки может быть результатом отражения света 230A-230B автофокусировки соответственно на втором слое или другой поверхности подложки 202. Таким образом, оптическая система 200 может направлять свет 234A-234B автофокусировки к фильтру 216.
[00106] Лампы 232a-232B автофокусировки и лампы 234A-234B автофокусировки могут передаваться через фильтр 216. Например, свет 232A-232B автофокусировки и свет 234A-234B автофокусировки может иметь длины волн за пределами диапазона(-ов) длин волн, для которого(-ых) фильтр 216 является отражающим. Отражающий компонент 226 может быть расположен в пространственном местоположении таким образом, что один или более, но не все, свет 232a-232B автофокусировки и свет 234A-234B автофокусировки будут падать на отражающий компонент 226. Например, свет автофокусировки 232A и свет автофокусировки 232B могут падать на отражающий компонент 226. Таким образом, отражающий компонент 226 может направлять свет автофокусировки 232A и свет автофокусировки 232B к датчику 220. С другой стороны, свет автофокусировки 234A и свет автофокусировки 234B могут не падать на отражающий компонент 226. Вместо этого свет автофокусировки 234A и свет автофокусировки 234B могут падать на структуру 228. В некоторых вариантах реализации структура 228 поглощает свет 234A автофокусировки и свет 234B автофокусировки. Например, это может предотвратить достижение датчика 220 светом 234A автофокусировки и светом 234B автофокусировки.
[00107] Процесс автофокусировки может быть выполнен на основании одной или более частей света автофокусировки, обнаруженного датчиком 220. В некоторых вариантах реализации расстояние между светом автофокусировки 232A и светом автофокусировки 232B на датчике 220 может указывать на расстояние между объективом 204 (например, линзой) и подложкой 202. Например, может быть указано заданное расстояние на датчике 220, которое соответствует фокусировке подложки 202 в объективе. Таким образом, оптическая система 200 может автоматически регулировать расстояние между объективом 204 и подложкой 202 на основании обнаруженного расстояния между светом 232A автофокусировки и светом 232B автофокусировки на датчике 220.
[00108] Оптическая система 200 иллюстрирует пример способа, который включает направление первого света автофокусировки на датчик с использованием объектива и первой отражающей поверхности. Например, оптическая система 200 направляет свет 232A автофокусировки и свет 232B автофокусировки к датчику 220 с использованием объектива 204 и отражающей поверхности отражающего компонента 226. Первый свет автофокусировки отражается от первой поверхности подложки. Способ включает в себя предотвращение попадания второго света автофокусировки на датчик, причем второй свет автофокусировки отражается от второй поверхности подложки. Например, оптическая система 200 включает в себя структуру 210, которая может блокировать некоторое количество света автофокусировки, отраженного на подложке 202. В качестве другого примера, оптическая система 200 включает в себя структуру 228, которая может предотвращать достижение датчика 220 светом 234A автофокусировки и светом 234B автофокусировки.
[00109] Оптическая система 200 иллюстрирует пример системы, которая включает в себя подложку для удержания образца для анализа, датчик и объектив. Например, оптическая система 200 содержит подложку 202, датчик 220 и объектив 204. Система включает в себя первую отражающую поверхность для направления первого света автофокусировки на датчик, причем первый свет автофокусировки отражается от первой поверхности подложки и передается объективом. Например, оптическая система 200 включает в себя отражающую поверхность на отражающем компоненте 226. Система включает в себя вторую отражающую поверхность для направления излучаемого света на датчик, причем излучаемый свет исходит от образца и передается объективом. Например, оптическая система 200 включает в себя фильтр 216, который может направлять излучаемый свет (не показан) к датчику 220. Система включает в себя структуру, которая предотвращает попадание второго света автофокусировки на датчик, причем второй свет автофокусировки отражается от второй поверхности подложки и передается объективом. Например, оптическая система 200 включает в себя структуру 210, которая может блокировать некоторое количество света автофокусировки, отраженного на подложке 202. В качестве другого примера, оптическая система 200 включает в себя структуру 228, которая может предотвращать достижение датчика 220 светом 234A автофокусировки и светом 234B автофокусировки.
[00110] Оптическая система 200 иллюстрирует пример системы, которая включает в себя светоделитель для формирования левого света автофокусировки и правого света автофокусировки, которые расходятся под заданным углом друг к другу. Например, оптическая система 200 включает в себя светоделитель в пределах призмы бокового смещения 224 для формирования света автофокусировки 230A и света автофокусировки 230B, которые расходятся под заданным углом друг к другу. Система включает в себя объектив для передачи левого света автофокусировки и правого света автофокусировки на первую поверхность подложки. Например, оптическая система 200 включает в себя объектив 204, который передает свет 230A-230B автофокусировки к подложке 202. Система включает в себя датчик для приема по меньшей мере первой части левого света автофокусировки и по меньшей мере первой части правого света автофокусировки после отражения от первой поверхности. Например, оптическая система 200 включает в себя датчик 220. Заданное разделение между первой частью левого света автофокусировки и первой частью правого света автофокусировки на датчике указывает на то, что подложка находится в фокусе объектива. Например, оптическая система 200 может определять расстояние между лампами 230A-230B автофокусировки на датчике 220.
[00111] На ФИГ. 3 представлена схема, иллюстрирующая пример создания требуемых и нежелательных отражений 300 на множестве поверхностей многослойной подложки образца в некоторых вариантах осуществления. Отражения 300 могут быть созданы с помощью одного или более вариантов осуществления, описанных в настоящем документе. В некоторых вариантах реализации отражения 300 могут быть созданы с использованием системы 100, показанной на ФИГ. 1. В некоторых вариантах реализации отражения 300 могут быть созданы с использованием оптической системы 200, показанной на ФИГ. 2. В некоторых вариантах реализации отражения 300 могут быть созданы с использованием оптической системы 500, показанной на ФИГ. 5. В некоторых вариантах реализации отражения 300 могут быть созданы с использованием оптической системы 800, показанной на ФИГ. 8A. В некоторых вариантах реализации отражения 300 могут быть созданы с использованием оптической системы 820, показанной на ФИГ. 8B. В некоторых вариантах реализации отражения 300 могут быть созданы с использованием оптической системы 1100, показанной на ФИГ. 11. В некоторых вариантах реализации отражения 300 могут быть созданы с использованием оптической системы 1200, показанной на ФИГ. 12. В некоторых вариантах реализации отражения 300 могут быть созданы с использованием оптической системы 1300, показанной на ФИГ. 13. В некоторых вариантах реализации отражения 300 могут быть созданы с использованием оптической системы 1400, показанной на ФИГ. 14. В некоторых вариантах реализации отражения 300 могут быть созданы с использованием модуля 1800 визуализации, показанного на ФИГ. 18 и 19A-19В. В некоторых вариантах реализации отражения 300 могут быть созданы с использованием SIM-узла 2000, показанного на ФИГ. 20. В некоторых вариантах реализации отражения 300 могут быть созданы с использованием модуля 2100 визуализации, показанного на ФИГ. 21. В некоторых вариантах реализации отражения 300 могут быть созданы с использованием модуля 2200 визуализации, показанного на ФИГ. 22. В некоторых вариантах реализации отражения 300 могут быть созданы с использованием модуля 2400 визуализации, показанного на ФИГ. 24. В некоторых вариантах реализации отражения 300 могут быть созданы с использованием оптической системы 2500, показанной на ФИГ. 25. В некоторых вариантах реализации отражения 300 могут быть созданы с использованием оптической системы 2600, показанной на ФИГ. 26. В некоторых вариантах реализации отражения 300 могут быть созданы с использованием отражающего компонента 2700, показанного на ФИГ. 27. В некоторых вариантах реализации отражения 300 могут быть созданы с использованием отражающего компонента 2800, показанного на ФИГ. 28. В некоторых вариантах реализации отражения 300 могут быть созданы с использованием SIM-узла 3400, показанного на ФИГ. 34. В некоторых вариантах реализации отражения 300 могут быть созданы с использованием RIGS 3500, показанного на ФИГ. 35. В некоторых вариантах реализации отражения 300 могут быть созданы с использованием RIGS 3600, показанного на ФИГ. 36. В некоторых вариантах реализации отражения 300 могут быть созданы с использованием пьезофазовращателя 3700, показанного на ФИГ. 37. В некоторых вариантах реализации отражения 300 могут быть созданы с использованием пьезофазовращателя 3800, показанного на ФИГ. 38. В некоторых вариантах реализации отражения 300 могут быть созданы с использованием проекционной линзы 3900, показанной на ФИГ. 39. В некоторых вариантах реализации отражения 300 могут быть созданы с использованием проекционной линзы 4000, показанной на ФИГ. 40. В некоторых вариантах реализации отражения 300 могут быть созданы с использованием поля 4100 обзора, показанного на ФИГ. 41.
[00112] Отражения 300 создаются в результате того, что свет 302 передается от объектива 304 к проточной кювете 306, объектив 304 и проточная кювета 306 схематически изображены для простоты. В некоторых вариантах реализации свет 302 представляет собой свет автофокусировки. Например, свет 302 может представлять собой один луч (например, левый луч) из пары лучей света автофокусировки, образованных таким образом, что свет 302 расходится от другого луча (не показан) на заданный угол (например, другой луч может представлять собой правый луч).
[00113] В некоторых вариантах реализации проточная кювета 306 включает в себя подложку 308 (например, облицовку прозрачного материала), подложку 310 (например, облицовку прозрачного материала) и канал 312 (например, жидкостный канал), образованный между подложками 308 и 310. Например, образец (например, из нуклеотидного материала) и/или одно или более химических веществ (например, реагента для секвенирования) могут быть размещены в канале 312 и/или протекают через него. Один или более дополнительных слоев или других поверхностей могут быть связаны с проточной кюветой 306. В данном случае слой 314 расположен с одной стороны подложки 310 напротив канала 312. В некоторых вариантах реализации слой 314 соединяет проточную кювету 306 с другой структурой. Например, слой 314 может включать в себя чувствительный к давлению адгезив, который соединяет проточную кювету 306 с несущей пластиной.
[00114] Проточная кювета 306 включает в себя множество слоев или других поверхностей. В данном случае поверхность S1 может быть охарактеризована как верхняя поверхность подложки 308. Поверхность S2 может называться нижней поверхностью подложки 308, или верхней поверхностью канала 312, или обеими. Поверхность S3 может называться нижней поверхностью канала 312, верхней поверхностью подложки 310, или обеими. Поверхность S4 может характеризоваться как нижняя поверхность подложки 310. Поверхность S5 может характеризоваться как нижняя поверхность слоя 314.
[00115] При падении света 302 на проточную кювету 306 свет 302 может отражаться одной или более поверхностями S1-S5, причем отражение дает начало соответствующему одному из отражений 300. В некоторых вариантах реализации отражение 300A образовано путем отражения света 302 от поверхности S1. В некоторых вариантах реализации отражение 300B образовано путем отражения света 302 от поверхности S2. В некоторых вариантах реализации отражение 300C образовано путем отражения света 302 от поверхности S3. В некоторых вариантах реализации отражение 300D образовано путем отражения света 302 от поверхности S4. В некоторых вариантах реализации отражение 300E образовано путем отражения света 302 от поверхности S5.
[00116] Одна или более отраженных частей света автофокусировки могут считаться более актуальными, чем другая часть. В некоторых вариантах реализации свет автофокусировки, отраженный от поверхности, на которой размещен или предназначен для размещения материала образца, может быть относительно более актуальным, чем поверхность, на которой не следует размещать материал образца. Например, отражения 300B-300C (т. е. от поверхностей S2 и S3) в настоящем документе можно считать относительно более значимыми, чем отражение 300A (т. е. от S1), отражение 300D (т. е. от S4) или отражение 300E (т. е. от S5).
[00117] Процесс автофокусировки может быть более сложным для выполнения и/или может давать менее удовлетворительные результаты, если появляется релевантный свет автофокусировки вместе с менее релевантным светом автофокусировки на датчике. На ФИГ. 4A-4C показан свет автофокусировки, зарегистрированный на датчике. Обнаружение света проиллюстрировано с помощью графиков 400, 402 и 404. Здесь график 400 соответствует регулировке оптической системы, которая не сфокусирована, при этом z-расстояние между объективом и подложкой на 25 микрометров (мкм) больше оптимального. График 402 соответствует регулировке оптической системы, которая имеет наилучший фокус, причем z-расстояние между объективом и подложкой является оптимальным. График 404 соответствует регулировке оптической системы, которая не сфокусирована, причем z-расстояние между объективом и подложкой составляет 25 мкм меньше оптимального.
[00118] Однако вышеуказанные обстоятельства фокусировки (т. е. то, находится ли объектив на расстоянии -25 мкм от наилучшего фокуса, или на лучшем фокусе, или на расстоянии +25 мкм от наилучшего фокуса) могут быть неизвестны в процессе автофокусировки. Вместо этого процесс автофокусировки стремится определить, когда оптическая система находится в наилучшем фокусе или не находится в нем. Оптическая система, на основе которой построены графики 400, 402 и 404, не имеет преимуществ некоторых аспектов объекта настоящего изобретения. Например, оптическая система не была оснащена так, чтобы направлять соответствующий свет автофокусировки от менее соответствующего света автофокусировки. На каждом из графиков 400, 402 и 404 точки отражений от поверхностей S4-S5 (ФИГ. 3) будут перекрываться с точками отражений от поверхностей S2-S3 (ФИГ. 3). Например, хотя каждое пятно в узком кластере 400A начинается с одного и того же луча автофокусировки света (например, правого луча), эти пятна пространственно распределены и их трудно отличить друг от друга. В качестве другого примера, хотя каждое пятно в узком кластере 400B начинается с одного и того же луча автофокусировки света (например, левого луча), эти пятна пространственно распределены и их трудно отличить друг от друга. Из-за перекрытия модулю автофокусировки может быть сложно определить, когда соответствующие аспекты пятен 400A-400B, такие как пятна от отражения от поверхностей S2-S3, разделены на предварительно заданное расстояние. Это может нарушить автофокусировку или другие процессы отслеживания фокуса.
[00119] В некоторых вариантах реализации соответствующий свет автофокусировки можно отвести от менее релевантного света автофокусировки. На ФИГ. 5 представлен вариант осуществления оптической системы 500. Оптическая система 500 может включать или использоваться с одним или более другими вариантами осуществления, описанными в данном документе. В некоторых вариантах реализации оптическая система 500 может быть включена в систему 100, показанную на ФИГ. 1. В некоторых вариантах реализации оптическая система 500 может включать в себя оптическую систему 200, показанную на ФИГ. 2, или может использоваться с ней. В некоторых вариантах реализации оптическая система 500 может включать в себя оптическую систему 800, показанную на ФИГ. 8A, или использоваться с ней. В некоторых вариантах реализации оптическая система 500 может включать в себя оптическую систему 820, показанную на ФИГ. 8B, или может использоваться с ней. В некоторых вариантах реализации оптическая система 500 может включать в себя призму бокового смещения 1000, показанную на ФИГ. 10A-10C. В некоторых вариантах реализации оптическая система 500 может включать в себя оптическую систему 1100, показанную на ФИГ. 11, или может использоваться с ней. В некоторых вариантах реализации оптическая система 500 может включать в себя оптическую систему 1200, показанную на ФИГ. 12, или может использоваться с ней. В некоторых вариантах реализации оптическая система 500 может включать в себя оптическую систему 1300, показанную на ФИГ. 13, или может использоваться с ней. В некоторых вариантах реализации оптическая система 500 может включать в себя оптическую систему 1400, показанную на ФИГ. 14, или может использоваться с ней. В некоторых вариантах реализации оптическая система 500 может включать в себя призму бокового смещения 1600, показанную на ФИГ. 16A-16В. В некоторых вариантах реализации оптическая система 500 может включать в себя или использоваться со светоделителем 1700 на ФИГ. 17. В некоторых вариантах реализации оптическая система 500 может включать в себя или использоваться с модулем 1800 визуализации, показанным на ФИГ. 18 и 19A-19В. В некоторых вариантах реализации оптическая система 500 может включать в себя или использоваться с SIM-узлом 2000, показанным на ФИГ. 20. В некоторых вариантах реализации оптическая система 500 может включать в себя или использоваться с модулем 2100 визуализации, показанным на ФИГ. 21. В некоторых вариантах реализации оптическая система 500 может включать в себя или использоваться с модулем 2200 визуализации, показанным на ФИГ. 22. В некоторых вариантах реализации оптическая система 500 может включать в себя или использоваться с модулем 2400 визуализации, показанным на ФИГ. 24. В некоторых вариантах реализации оптическая система 500 может включать в себя оптическую систему 2500, показанную на ФИГ. 25, или может использоваться с ней. В некоторых вариантах реализации оптическая система 500 может включать в себя оптическую систему 2600, показанную на ФИГ. 26, или может использоваться с ней. В некоторых вариантах реализации оптическая система 500 может включать в себя отражающий компонент 2700, показанный на ФИГ. 27, или может использоваться с ним. В некоторых вариантах реализации оптическая система 500 может включать в себя отражающий компонент 2800, показанный на ФИГ. 28, или может использоваться с ним. В некоторых вариантах реализации оптическая система 500 может генерировать свет 2900 автофокусировки, показанный на ФИГ. 29. В некоторых вариантах реализации оптическая система 500 может генерировать свет 3000 автофокусировки, показанный на ФИГ. 30. В некоторых вариантах реализации оптическая система 500 может генерировать свет 3100 автофокусировки, показанный на ФИГ. 31A-31C. В некоторых вариантах реализации оптическая система 500 может включать в себя теплопоглотитель 3200 лазерного двигателя, показанный на ФИГ. 32А-32С. В некоторых вариантах реализации оптическая система 500 может включать в себя теплопоглотитель 3300 лазерного двигателя, показанный на ФИГ. 33A-33C. В некоторых вариантах реализации оптическая система 500 может включать в себя или использоваться с SIM-узлом 3400, показанным на ФИГ. 34. В некоторых вариантах реализации оптическая система 500 может включать в себя или использоваться с RIGS 3500, показанным на ФИГ. 35. В некоторых вариантах реализации оптическая система 500 может включать в себя или использоваться с RIGS 3600, показанным на ФИГ. 36. В некоторых вариантах реализации оптическая система 500 может включать в себя или использоваться с пьезофазовращателем 3700, показанным на ФИГ. 37. В некоторых вариантах реализации оптическая система 500 может включать в себя или использоваться с пьезофазовращателем 3800, показанным на ФИГ. 38. В некоторых вариантах реализации оптическая система 500 может включать в себя или использоваться с проекционной линзой 3900, показанной на ФИГ. 39. В некоторых вариантах реализации оптическая система 500 может включать в себя или использоваться с проекционной линзой 4000, показанной на ФИГ. 40. В некоторых вариантах реализации оптическая система 500 может генерировать поле 4100 обзора, показанное на ФИГ. 41.
[00120] Оптическая система 500 включает в себя оптический компонент 502. Оптический компонент 502 может включать в себя подложку (не показана). Подложку можно использовать для удержания одного или более анализируемых образцов. В некоторых вариантах реализации проба, расположенная на подложке, может включать в себя нуклеотидный материал. Например, подложка может включать в себя проточную кювету для визуализации нуклеотидного вещества.
[00121] Оптический компонент 502 включает в себя объектив (не показан). Например, объектив может быть использована для направления света автофокусировки на подложку и для передачи отраженного света автофокусировки от подложки для выполнения процедуры автофокусировки. Например, объектив может быть использован для направления возбуждающего света на образец, расположенный на подложке, и для передачи излучаемой флуоресценции от образца для сбора данных.
[00122] Оптический компонент 502 может включать в себя один или более фильтров (не показаны). Фильтр может представлять собой дихроичный фильтр. В некоторых вариантах реализации фильтр можно использовать для удаления одного или более нерелевантных участков света, передаваемого к подложке и/или от нее. Например, фильтр может служить для удаления возбуждающего света, который был отражен на подложке. В качестве другого примера фильтр может отражать свет автофокусировки, отраженный на подложке, и излучаемый свет, генерируемый образцом, и тем самым упрощать передачу света автофокусировки и излучаемого света в дополнительные аспекты оптической системы 500. Фильтр позволяет попадать в поток излучения одного или более типов. Например, через фильтр может быть добавлен свет автофокусировки и, таким образом, передан на подложку.
[00123] Оптическая система 500 включает в себя структуру 504. Структура 504 может находиться непосредственно перед оптическим компонентом 502. Структура 504 может служить для блокирования передачи одного или более лучей, поступающих от оптического компонента 502, к дополнительным аспектам оптической системы 500. В некоторых вариантах реализации структура 504 может блокировать один или более аспектов света автофокусировки, которые были отражены на подложке. Например, структура 504 может блокировать свет автофокусировки, отраженный от верхней поверхности проточной кюветы (например, поверхности S1 на ФИГ. 3).
[00124] Оптическая система 500 включает фильтр 506. Фильтр 506 может находиться непосредственно перед строительной конструкцией 504. Фильтр 506 может представлять собой дихроичный фильтр. В некоторых вариантах реализации фильтр 506 может передавать свет автофокусировки, отраженный от подложки, и излучаемый свет, генерируемый образцом, и тем самым облегчать передачу света автофокусировки и излучаемого света на дополнительные аспекты оптической системы 500. Фильтр 506 может разделять излучаемый свет от подложки между двумя или более путями. В некоторых вариантах реализации каждый путь может быть связан с соответствующим цветовым каналом. Например, компоненты, расположенные выше по потоку от фильтра 506, могут быть связаны с одним цветовым каналом (например, синим или зеленым цветовым каналом), а другие компоненты (не показаны) могут быть связаны с другим цветовым каналом.
[00125] Оптическая система 500 включает в себя по меньшей мере одну трубчатую линзу 508. Трубчатая(-ые) линза(-ы) 508 может(могут) представлять собой компонент(-ы) непосредственно перед фильтром 506. В некоторых вариантах реализации трубчатая линза 508 может служить для фокусировки падающего света при подготовке к его обнаружению. Например, трубчатая линза 508 может фокусировать свет с автофокусировкой для обнаружения в рамках процесса автофокусировки. В качестве другого примера, трубчатая линза 508 может фокусировать излучаемый свет для обнаружения в рамках процесса анализа.
[00126] Оптическая система 200 включает фильтр 510. Фильтр 510 может быть компонентом непосредственно перед трубчатой линзой 508. Фильтр 510 может представлять собой дихроичный фильтр. Фильтр 510 может, отдельно или вместе с, по меньшей мере, одним другим компонентом, облегчать управление одним или более типами света. В некоторых вариантах реализации фильтр 510 может отражать излучаемый свет и передавать свет автофокусировки. Например, фильтр 510 может иметь противоотражающее покрытие, которое предотвращает отражение (т. е. облегчает передачу) света автофокусировки и которое отражает излучаемый свет. В других вариантах реализации фильтр 510 может быть выполнен с возможностью предотвращения отражения (т. е. облегчения передачи) излучаемого света и отражения света автофокусировки.
[00127] Оптическая система 500 включает фильтр 512. Фильтр 512 может находиться непосредственно перед фильтром 510. Фильтр 512 может представлять собой дихроичный фильтр. В некоторых вариантах реализации фильтр 512 может подготавливать свет одним или более факторами при подготовке к обнаружению. Например, фильтр 512 может обеспечивать полосовую фильтрацию на основании длины волн(-ы) отраженного света автофокусировки и длины волн(-ы) излучаемого света, чтобы устранить шум.
[00128] Оптическая система 500 включает датчик 514. Датчик 514 может находиться непосредственно перед фильтром 512. Датчик 514 может обнаруживать отраженный свет автофокусировки во время процедуры автофокусировки и/или обнаруживать излучаемый свет во время процедуры анализа. Например, датчик 514 включает в себя прямоугольную матрицу светочувствительных элементов, которая может обнаруживать соответствующие местоположения одной или более частей света, падающего на датчик 514.
[00129] Оптическая система 500 включает в себя один или более источников света автофокусировки (не показан). В некоторых вариантах реализации лазерное излучение может обеспечиваться посредством инфракрасного кабеля суперлюминесцентным диодом, который обеспечивает свет автофокусировки на основе суперлюминесценции (например, спонтанно излучаемого света, усиленного стимулированным излучением). Например, свет автофокусировки может быть коллимирован путем пропускания через асферическую линзу.
[00130] Первоначальный свет автофокусировки можно разделять (или смещать в боковом направлении) на две или более частей света автофокусировки. Оптическая система 500 включает в себя светоделитель (не показан). Светоделитель может быть включен в призму бокового смещения. Светоделитель может быть расположен вблизи оптического компонента 502 так, чтобы подавать свет автофокусировки, подлежащий передаче на подложку. Светоделитель может образовывать соответствующие участки света автофокусировки, которые расходятся друг от друга, например, как описано ниже.
[00131] Оптическая система 200 включает в себя один или более отражающий компонент 516. Отражающий компонент 516 может включать в себя одну или более отражающих поверхностей и может быть расположен позади фильтра 510 в направлении прохождения света, поступающего от трубчатой линзы 508. В некоторых вариантах реализации отражающий компонент 516 отражает свет, который был пропущен через фильтр 510, при этом отражение вызывает направление света к датчику 514. Например, отражающий компонент 516 может отражать некоторый (но не весь) свет автофокусировки, который был отражен на подложке. Отражающий компонент 516 может иметь оптические свойства в зависимости от типа используемого света автофокусировки. В некоторых вариантах реализации отражающий компонент 516 является отражающим по меньшей мере в части диапазона длин волн ближнего инфракрасного диапазона (например, отражающим где-либо в диапазоне от примерно 750 нм до примерно 1400 нм).
[00132] Оптическая система 500 включает в себя одну или более структур 518. Конструкция 518 может быть расположена позади фильтра 510 в направлении прохождения света, поступающего от трубчатой линзы 508. В некоторых вариантах реализации структура 518 поглощает свет, который был пропущен через фильтр 510, при этом поглощение предотвращает попадание света на датчик 514 или другую область оптической системы 500. Например, структура 518 может поглощать некоторый (но не весь) свет автофокусировки, который был отражен на подложке.
[00133] При работе оптической системы 500 левый свет автофокусировки и правый свет автофокусировки могут формироваться светоделителем. Левый свет автофокусировки и правый свет автофокусировки расходятся под заданным углом друг к другу. Левый свет автофокусировки и правый свет автофокусировки могут передаваться через оптический компонент 502 и падать на подложку. В некоторых вариантах реализации отражение левого света автофокусировки и правого света автофокусировки на подложке может формировать свет автофокусировки 520A, свет автофокусировки 520B, свет автофокусировки 522A и свет автофокусировки 522B. Например, свет 520A-520B автофокусировки может быть результатом отражения левого света автофокусировки и правого света автофокусировки соответственно на первом слое или другой поверхности подложки (например, поверхности S2 и/или поверхности S3 на ФИГ. 3). Таким образом, оптическая система 500 может направлять свет с автофокусировкой 520A-520B к фильтру 510. В качестве другого примера, свет 522A-522B автофокусировки может быть результатом отражения левого света автофокусировки и правого света автофокусировки соответственно на втором слое или другой поверхности подложки (например, поверхности S4 и/или поверхности S5 на ФИГ. 3). Таким образом, оптическая система 500 может направлять свет 522A-522B автофокусировки к фильтру 510.
[00134] Свет 520A-520B автофокусировки и свет 522A-522B автофокусировки может передаваться через фильтр 510. Например, свет 520A-520B автофокусировки и свет 522A-522B могут иметь длины волн за пределами диапазона(-ов) длин волн, для которого(-ых) фильтр 510 является отражающим. Отражающий компонент 516 может быть расположен в пространственном местоположении таким образом, что один или более, но не все из света 520A-520B автофокусировки и света 522A-522B автофокусировки будут падать на отражающий компонент 516. Например, свет автофокусировки 520A и свет автофокусировки 520B могут падать на отражающий компонент 516. Таким образом, отражающий компонент 516 может направлять свет автофокусировки 520A и свет автофокусировки 520B к датчику 514. С другой стороны, свет автофокусировки 522A и свет автофокусировки 522B могут не падать на отражающий компонент 516. Вместо этого свет автофокусировки 522A и свет автофокусировки 522B могут падать на структуру 518. В некоторых вариантах реализации структура 518 поглощает свет 522A автофокусировки и свет 522B автофокусировки. Например, это может предотвратить достижение датчика 514 светом 522A автофокусировки и светом 522B автофокусировки.
[00135] Процесс автофокусировки может быть выполнен на основании одной или более частей света автофокусировки, обнаруженного датчиком 514. В некоторых вариантах реализации расстояние между светом 520A автофокусировки и светом 520B автофокусировки на датчике 514 может указывать на расстояние между объективом оптического компонента 502 и подложкой. Например, может быть указано предварительно заданное расстояние на датчике 514, которое соответствует фокусировке подложки в объективе. Таким образом, оптическая система 500 может автоматически регулировать расстояние между объективом и подложкой на основании обнаруженного расстояния между светом автофокусировки 520A и светом автофокусировки 520B на датчике 514.
[00136] На ФИГ. 6A-6C показан свет автофокусировки, зарегистрированный на датчике. Регистрация света автофокусировки проиллюстрирована с помощью графиков 600, 602 и 604. Графики 600, 602 и 604 можно построить с использованием одного или более вариантов осуществления, описанных в настоящем документе. В некоторых вариантах реализации графики 600, 602 и 604 могут быть созданы с использованием системы 100, показанной на ФИГ. 1. В некоторых вариантах реализации графики 600, 602 и 604 могут быть созданы с использованием оптической системы 200, показанной на ФИГ. 2. В некоторых вариантах реализации графики 600, 602 и 604 могут быть созданы с использованием оптической системы 500, показанной на ФИГ. 5. В некоторых вариантах реализации графики 600, 602 и 604 могут быть созданы с использованием оптической системы 800, показанной на ФИГ. 8A. В некоторых вариантах реализации графики 600, 602 и 604 могут быть созданы с использованием оптической системы 820, показанной на ФИГ. 8B. В некоторых вариантах реализации графики 600, 602 и 604 могут быть созданы с использованием оптической системы 1100, показанной на ФИГ. 11. В некоторых вариантах реализации графики 600, 602 и 604 могут быть созданы с использованием оптической системы 1200, показанной на ФИГ. 12. В некоторых вариантах реализации графики 600, 602 и 604 могут быть созданы с использованием оптической системы 1300, показанной на ФИГ. 13. В некоторых вариантах реализации графики 600, 602 и 604 могут быть созданы с использованием оптической системы 1400, показанной на ФИГ. 14. В некоторых вариантах реализации графики 600, 602 и 604 могут быть созданы с использованием оптической системы 1800, показанной на ФИГ. 18 и 19А-19В. В некоторых вариантах реализации графики 600, 602 и 604 могут быть созданы с использованием SIM-узла 2000, показанного на ФИГ. 20. В некоторых вариантах реализации графики 600, 602 и 604 можно построить с использованием модуля 2100 визуализации, показанного на ФИГ. 21. В некоторых вариантах реализации графики 600, 602 и 604 можно построить с использованием модуля 2200 визуализации, показанного на ФИГ. 22. В некоторых вариантах реализации графики 600, 602 и 604 можно построить с использованием модуля 2400 визуализации, показанного на ФИГ. 24. В некоторых вариантах реализации графики 600, 602 и 604 могут быть созданы с использованием оптической системы 2500, показанной на ФИГ. 25. В некоторых вариантах реализации графики 600, 602 и 604 могут быть созданы с использованием оптической системы 2600, показанной на ФИГ. 26. В некоторых вариантах реализации графики 600, 602 и 604 могут быть созданы с использованием отражающего компонента 2700, показанного на ФИГ. 27. В некоторых вариантах реализации графики 600, 602 и 604 могут быть созданы с использованием отражающего компонента 2800, показанного на ФИГ. 28. В некоторых вариантах реализации графики 600, 602 и 604 могут быть созданы с использованием SIM-узла 3400, показанного на ФИГ. 34. В некоторых вариантах реализации графики 600, 602 и 604 могут быть созданы с использованием RIGS 3500, показанного на ФИГ. 35. В некоторых вариантах реализации графики 600, 602 и 604 могут быть созданы с использованием RIGS 3600, показанного на ФИГ. 36. В некоторых вариантах реализации графики 600, 602 и 604 могут быть созданы с использованием пьезофазовращателя 3700, показанного на ФИГ. 37. В некоторых вариантах реализации графики 600, 602 и 604 могут быть созданы с использованием пьезофазовращателя 3800, показанного на ФИГ. 38. В некоторых вариантах реализации графики 600, 602 и 604 можно построить с использованием проекционной линзы 3900, показанной на ФИГ. 39. В некоторых вариантах реализации графики 600, 602 и 604 можно построить с использованием проекционной линзы 4000, показанной на ФИГ. 40. В некоторых вариантах реализации графики 600, 602 и 604 могут быть созданы с использованием поля 4100 обзора, показанного на ФИГ. 41.
[00137] На графиках 600, 602 и 604 точка 606A соответствует отражению одного пучка света автофокусировки (например, левого света автофокусировки) от одной поверхности подложки (например, поверхности S2 на ФИГ. 3), а точка 606B соответствует отражению другого пучка света автофокусировки (например, правого света автофокусировки) от поверхности подложки (например, поверхности S2 на ФИГ. 3). На графиках 600, 602 и 604 точка 608A соответствует отражению одного пучка света автофокусировки (например, левого света автофокусировки) от другой поверхности подложки (например, поверхности S3 на ФИГ. 3), а точка 608B соответствует отражению другого пучка света автофокусировки (например, правого света автофокусировки) от другой поверхности подложки (например, поверхности S3 на ФИГ. 3).
[00138] В данном случае графики 600, 602 и 604 помечены в зависимости от того, находится ли поверхность S2 (ФИГ. 3) в настоящий момент в фокусе; таким образом, в зависимости от того, равно ли расстояние между точками 606A-606B на графиках 600, 602 и 604 предварительно заданному разделению 610, связанному с оптической системой. На графике 600 расстояние между точками 606А-606B больше предварительно заданного разделения 610; таким образом, график 600 соответствует регулировке вне фокуса оптической системы, при этом z-расстояние между объективом и подложкой составляет 25 микрометров (мкм) меньше оптимального. На графике 602 расстояние между точками 606a-606B равно предварительно заданному разделению 610; таким образом, график 602 соответствует регулировке оптической системы, которая имеет наилучший фокус, причем z-расстояние между объективом и подложкой является оптимальным. На графике 604 расстояние между точками 606a-606B короче предварительно заданного разделения 610; таким образом, график 604 соответствует регулировке вне фокуса оптической системы, где z-расстояние между объективом и подложкой на 25 мкм больше, чем оптимально.
[00139] Однако вышеуказанные обстоятельства фокусировки (т. е. то, находится ли объектив на расстоянии -25 мкм от наилучшего фокуса, или на лучшем фокусе, или на расстоянии +25 мкм от наилучшего фокуса) могут быть неизвестны в процессе автофокусировки. Вместо этого процесс автофокусировки стремится определить, когда оптическая система находится в наилучшем фокусе или не находится в нем. Оптическая система, на основе которой построены графики 600, 602 и 604, обладает преимуществом по меньшей мере некоторых аспектов объекта настоящего изобретения. Например, оптическая система выполнена с возможностью направления релевантного света автофокусировки от менее релевантного света автофокусировки. На каждом из графиков 600, 602 и 604 точки отражений от поверхностей S4-S5 (ФИГ. 3) не видны и поэтому не перекрываются с точками отражений от поверхностей S2-S3 (ФИГ. 3). Таким образом, модуль автофокусировки может более точно определять, когда расстояние между пятнами 606А-606B равно заданному разделению 610. Это может улучшить автофокусировку или другие процессы отслеживания фокуса.
[00140] На ФИГ. 7A-7C представлен свет автофокусировки, зарегистрированный на датчике. Регистрация света автофокусировки проиллюстрирована с помощью графиков 700, 702 и 704. Графики 700, 702 и 704 можно построить с использованием одного или более вариантов осуществления, описанных в настоящем документе. В некоторых вариантах реализации графики 700, 702 и 704 могут быть созданы с использованием системы 100, показанной на ФИГ. 1. В некоторых вариантах реализации графики 700, 702 и 704 могут быть созданы с использованием оптической системы 200, показанной на ФИГ. 2. В некоторых вариантах реализации графики 700, 702 и 704 могут быть созданы с использованием оптической системы 500, показанной на ФИГ. 5. В некоторых вариантах реализации графики 700, 702 и 704 могут быть созданы с использованием оптической системы 800, показанной на ФИГ. 8A. В некоторых вариантах реализации графики 700, 702 и 704 могут быть созданы с использованием оптической системы 820, показанной на ФИГ. 8B. В некоторых вариантах реализации графики 700, 702 и 704 могут быть созданы с использованием оптической системы 1100, показанной на ФИГ. 11. В некоторых вариантах реализации графики 700, 702 и 704 могут быть созданы с использованием оптической системы 1200, показанной на ФИГ. 12. В некоторых вариантах реализации графики 700, 702 и 704 могут быть созданы с использованием оптической системы 1300, показанной на ФИГ. 13. В некоторых вариантах реализации графики 700, 702 и 704 могут быть созданы с использованием оптической системы 1400, показанной на ФИГ. 14. В некоторых вариантах реализации графики 700, 702 и 704 можно построить с использованием модуля 1800 визуализации, показанного на ФИГ. 18 и 19A-19В. В некоторых вариантах реализации графики 700, 702 и 704 могут быть созданы с использованием SIM-узла 2000, показанного на ФИГ. 20. В некоторых вариантах реализации графики 700, 702 и 704 можно построить с использованием модуля 2100 визуализации, показанного на ФИГ. 21. В некоторых вариантах реализации графики 700, 702 и 704 можно построить с использованием модуля 2200 визуализации, показанного на ФИГ. 22. В некоторых вариантах реализации графики 700, 702 и 704 можно построить с использованием модуля 2400 визуализации, показанного на ФИГ. 24. В некоторых вариантах реализации графики 700, 702 и 704 могут быть созданы с использованием оптической системы 2500, показанной на ФИГ. 25. В некоторых вариантах реализации графики 700, 702 и 704 могут быть созданы с использованием оптической системы 2600, показанной на ФИГ. 26. В некоторых вариантах реализации графики 700, 702 и 704 могут быть созданы с использованием отражающего компонента 2700, показанного на ФИГ. 27. В некоторых вариантах реализации графики 700, 702 и 704 могут быть созданы с использованием отражающего компонента 2800, показанного на ФИГ. 28. В некоторых вариантах реализации графики 700, 702 и 704 могут быть созданы с использованием SIM-узла 3400, показанного на ФИГ. 34. В некоторых вариантах реализации графики 700, 702 и 704 могут быть созданы с использованием RIGS 3500, показанного на ФИГ. 35. В некоторых вариантах реализации графики 700, 702 и 704 могут быть созданы с использованием RIGS 3600, показанного на ФИГ. 36. В некоторых вариантах реализации графики 700, 702 и 704 могут быть созданы с использованием пьезофазовращателя 3700, показанного на ФИГ. 37. В некоторых вариантах реализации графики 700, 702 и 704 могут быть созданы с использованием пьезофазовращателя 3800, показанного на ФИГ. 38. В некоторых вариантах реализации графики 700, 702 и 704 можно построить с использованием проекционной линзы 3900, показанной на ФИГ. 39. В некоторых вариантах реализации графики 700, 702 и 704 можно построить с использованием проекционной линзы 4000, показанной на ФИГ. 40. В некоторых вариантах реализации графики 700, 702 и 704 могут быть созданы с использованием поля 4100 обзора, показанного на ФИГ. 41.
[00141] На графиках 700, 702 и 704 точка 706A соответствует отражению одного пучка света автофокусировки (например, левого света автофокусировки) от одной поверхности подложки (например, поверхности S2 на ФИГ. 3), а точка 706B соответствует отражению другого пучка света автофокусировки (например, правого света автофокусировки) от поверхности подложки (например, поверхности S2 на ФИГ. 3). На графиках 700, 702 и 704 точка 708A соответствует отражению одного пучка света автофокусировки (например, левого света автофокусировки) от другой поверхности подложки (например, поверхности S3 на ФИГ. 3), а точка 708B соответствует отражению другого пучка света автофокусировки (например, правого света автофокусировки) от другой поверхности подложки (например, поверхности S3 на ФИГ. 3).
[00142] В данном случае графики 700, 702 и 704 помечены в зависимости от того, находится ли поверхность S3 (ФИГ. 3) в настоящий момент в фокусе; таким образом, в зависимости от того, равно ли расстояние между точками 708A-708B на графиках 700, 702 и 704 предварительно заданному разделению 710, связанному с оптической системой. На графике 700 расстояние между точками 708A-708B больше предварительно заданного разделения 710; таким образом, график 700 соответствует регулировке вне фокуса оптической системы, при этом z-расстояние между объективом и подложкой составляет 25 микрометров (мкм) меньше оптимального. На графике 702 расстояние между точками 708A-708B равно предварительно заданному разделению 710; таким образом, график 702 соответствует регулировке оптической системы, которая имеет наилучший фокус, причем z-расстояние между объективом и подложкой является оптимальным. На графике 704 расстояние между точками 708A-708B короче предварительно заданного разделения 710; таким образом, график 704 соответствует регулировке вне фокуса оптической системы, где z-расстояние между объективом и подложкой на 25 мкм больше, чем оптимально.
[00143] Однако вышеуказанные обстоятельства фокусировки (т. е. то, находится ли объектив на расстоянии -25 мкм от наилучшего фокуса, или на лучшем фокусе, или на расстоянии +25 мкм от наилучшего фокуса) могут быть неизвестны в процессе автофокусировки. Вместо этого процесс автофокусировки стремится определить, когда оптическая система находится в наилучшем фокусе или не находится в нем. Оптическая система, на основе которой построены графики 700, 702 и 704, обладает преимуществом по меньшей мере некоторых аспектов объекта настоящего изобретения. Например, оптическая система выполнена с возможностью направления релевантного света автофокусировки от менее релевантного света автофокусировки. На каждом из графиков 700, 702 и 704 точки отражений от поверхностей S4-S5 (ФИГ. 3) не видны и поэтому не перекрываются с точками отражений от поверхностей S2-S3 (ФИГ. 3). Таким образом, модуль автофокусировки может более точно определять, когда расстояние между пятнами 708A-708B равно заданному разделению 710. Это может улучшить автофокусировку или другие процессы отслеживания фокуса.
[00144] На ФИГ. 8A представлен вариант осуществления оптической системы 800. Оптическая система 800 может включать или использоваться с одним или более другими вариантами осуществления, описанными в данном документе. В некоторых вариантах реализации оптическая система 800 может быть включена в систему 100, показанную на ФИГ. 1. В некоторых вариантах реализации оптическая система 800 может включать в себя оптическую систему 200, показанную на ФИГ. 2, или может использоваться с ней. В некоторых вариантах реализации оптическая система 800 может включать в себя оптическую систему 500, показанную на ФИГ. 5, или может использоваться с ней. В некоторых вариантах реализации оптическая система 800 может включать в себя оптическую систему 820, показанную на ФИГ. 8B, или может использоваться с ней. В некоторых вариантах реализации оптическая система 800 может включать в себя призму бокового смещения 1000, показанную на ФИГ. 10A-10C. В некоторых вариантах реализации оптическая система 800 может включать в себя оптическую систему 1100, показанную на ФИГ. 11, или может использоваться с ней. В некоторых вариантах реализации оптическая система 800 может включать в себя оптическую систему 1200, показанную на ФИГ. 12, или может использоваться с ней. В некоторых вариантах реализации оптическая система 800 может включать в себя оптическую систему 1300, показанную на ФИГ. 13, или может использоваться с ней. В некоторых вариантах реализации оптическая система 800 может включать в себя оптическую систему 1400, показанную на ФИГ. 14, или может использоваться с ней. В некоторых вариантах реализации оптическая система 800 может включать в себя призму бокового смещения 1600, показанную на ФИГ. 16A-16В. В некоторых вариантах реализации оптическая система 800 может включать в себя или использоваться со светоделителем 1700 на ФИГ. 17. В некоторых вариантах реализации оптическая система 800 может включать в себя или использоваться с модулем 1800 визуализации, показанным на ФИГ. 18 и 19A-19В. В некоторых вариантах реализации оптическая система 800 может включать в себя или использоваться с SIM-узлом 2000, показанным на ФИГ. 20. В некоторых вариантах реализации оптическая система 800 может включать в себя или использоваться с модулем 2100 визуализации, показанным на ФИГ. 21. В некоторых вариантах реализации оптическая система 800 может включать в себя или использоваться с модулем 2200 визуализации, показанным на ФИГ. 22. В некоторых вариантах реализации оптическая система 800 может включать в себя или использоваться с модулем 2400 визуализации, показанным на ФИГ. 24. В некоторых вариантах реализации оптическая система 800 может включать в себя оптическую систему 2500, показанную на ФИГ. 25, или может использоваться с ней. В некоторых вариантах реализации оптическая система 800 может включать в себя оптическую систему 2600, показанную на ФИГ. 26, или может использоваться с ней. В некоторых вариантах реализации оптическая система 800 может включать в себя отражающий компонент 2700, показанный на ФИГ. 27, или может использоваться с ним. В некоторых вариантах реализации оптическая система 800 может включать в себя отражающий компонент 2800, показанный на ФИГ. 28, или может использоваться с ним. В некоторых вариантах реализации оптическая система 800 может генерировать свет 2900 автофокусировки, показанный на ФИГ. 29. В некоторых вариантах реализации оптическая система 800 может генерировать свет 3000 автофокусировки, показанный на ФИГ. 30. В некоторых вариантах реализации оптическая система 800 может генерировать свет 3100 автофокусировки, показанный на ФИГ. 31A-31C. В некоторых вариантах реализации оптическая система 800 может включать в себя теплопоглотитель 3200 лазерного двигателя, показанный на ФИГ. 32А-32С. В некоторых вариантах реализации оптическая система 800 может включать в себя теплопоглотитель 3300 лазерного двигателя, показанный на ФИГ. 33A-33C. В некоторых вариантах реализации оптическая система 800 может включать в себя или использоваться с SIM-узлом 3400, показанным на ФИГ. 34. В некоторых вариантах реализации оптическая система 800 может включать в себя или использоваться с RIGS 3500, показанным на ФИГ. 35. В некоторых вариантах реализации оптическая система 800 может включать в себя или использоваться с RIGS 3600, показанным на ФИГ. 36. В некоторых вариантах реализации оптическая система 800 может включать в себя или использоваться с пьезофазовращателем 3700, показанным на ФИГ. 37. В некоторых вариантах реализации оптическая система 800 может включать в себя или использоваться с пьезофазовращателем 3800, показанным на ФИГ. 38. В некоторых вариантах реализации оптическая система 800 может включать в себя или использоваться с проекционной линзой 3900, показанной на ФИГ. 39. В некоторых вариантах реализации оптическая система 800 может включать в себя или использоваться с проекционной линзой 4000, показанной на ФИГ. 40. В некоторых вариантах реализации оптическая система 800 может генерировать поле 4100 обзора, показанное на ФИГ. 41.
[00145] Для ясности показана только часть оптической системы 800. Оптическая система 800 включает в себя по меньшей мере одну трубчатую линзу 802. В некоторых вариантах реализации трубчатая линза 802 может служить для фокусировки падающего света при подготовке к его обнаружению. Например, трубчатая линза 802 может фокусировать свет с автофокусировкой для обнаружения в рамках процесса автофокусировки. В качестве другого примера, трубчатая линза 802 может фокусировать излучаемый свет для обнаружения в рамках процесса анализа.
[00146] Оптическая система 800 включает фильтр 804. Фильтр 804 может быть компонентом непосредственно перед трубчатой линзой 802. Фильтр 804 может представлять собой дихроичный фильтр. Фильтр 804 может, отдельно или вместе с, по меньшей мере, одним другим компонентом, облегчать управление одним или более типами света. В некоторых вариантах реализации фильтр 804 может отражать излучаемый свет и передавать свет автофокусировки. Например, фильтр 804 может иметь противоотражающее покрытие, которое предотвращает отражение (т. е. облегчает передачу) света автофокусировки и которое отражает излучаемый свет. В других вариантах реализации фильтр 804 может быть выполнен с возможностью предотвращения отражения (т. е. облегчения передачи) излучаемого света и отражения света автофокусировки.
[00147] Оптическая система 800 включает фильтр 806. Фильтр 806 может находиться непосредственно перед фильтром 804. Фильтр 806 может представлять собой дихроичный фильтр. В некоторых вариантах реализации фильтр 806 может подготавливать свет одним или более факторами при подготовке к обнаружению. Например, фильтр 806 может обеспечивать полосовую фильтрацию на основании длины волн(-ы) отраженного света автофокусировки и длины волн(-ы) излучаемого света, чтобы устранить шум.
[00148] Оптическая система 800 включает датчик 808. Датчик 808 может находиться непосредственно перед фильтром 806. Датчик 808 может обнаруживать отраженный свет автофокусировки во время процедуры автофокусировки и/или обнаруживать излучаемый свет во время процедуры анализа. Например, датчик 808 включает в себя прямоугольную матрицу светочувствительных элементов, которая может обнаруживать соответствующие местоположения одной или более частей света, падающего на датчик 808.
[00149] Оптическая система 800 может включать в себя подложку (не показана). Подложку можно использовать для удержания одного или более анализируемых образцов. В некоторых вариантах реализации проба, расположенная на подложке, может включать в себя нуклеотидный материал. Например, подложка может включать в себя проточную кювету для визуализации нуклеотидного вещества. Оптическая система 800 может включать в себя один или более других оптических компонентов (не показаны). Другие оптические компоненты могут включать в себя, без ограничений, одно или более из объектива, фильтра, структуры для блокировки одного или более лучей, источника света автофокусировки или светоделителя.
[00150] Оптическая система 800 включает в себя один или более отражающих компонентов. В данном случае оптическая система 800 включает в себя отражающий компонент 810A и отражающий компонент 810B. Каждый из отражающих компонентов 810A-810B может включать в себя одну или более отражающих поверхностей и может быть расположен позади фильтра 804 в направлении прохождения света, поступающего от трубчатой линзы 802. В некоторых вариантах реализации один или оба из отражающих компонентов 810A-810B отражают свет, который был передан через фильтр 804, при этом отражение вызывает направление света к датчику 808. Например, любой или оба из отражающих компонентов 810A-810B могут отражать некоторый (но не весь) свет автофокусировки, который был отражен на подложке. Каждый из отражающих компонентов 810A-810B может иметь оптические свойства, основанные на типе используемого света автофокусировки. В некоторых вариантах реализации каждый из отражающих компонентов 810A-810B является отражающим по меньшей мере в части ближнего инфракрасного диапазона длин волн (например, отражающим где-либо в диапазоне от примерно 750 нм до примерно 1400 нм).
[00151] Один или более отражающих компонентов 810A-810B могут быть выполнены с возможностью перемещения. Подвижность может включать одно или более из поступательного перемещения или вращения по меньшей мере одного из отражающих компонентов 810A-810B. Отражающий компонент 810A может быть отделен от фильтра 804. В некоторых вариантах реализации отражающий компонент 810A может быть ориентирован независимо от ориентации фильтра 804. Например, отражающий компонент 810A может быть соединен с двигателем или исполнительным механизмом, который управляет ориентацией отражающего компонента 810A, не влияя на ориентацию фильтра 804. Отражающий компонент 810B может быть отделен от фильтра 804. Отражающий компонент 810B может быть отделен от отражающего компонента 810A. В некоторых вариантах реализации отражающий компонент 810B может быть ориентирован независимо от ориентации фильтра 804. Например, отражающий компонент 810B может быть соединен с двигателем или исполнительным механизмом, который управляет ориентацией отражающего компонента 810B, не влияя на ориентацию фильтра 804.
[00152] Оптическая система 800 включает в себя одну или более структур 812. Конструкция 812 может быть расположена позади фильтра 804 в направлении прохождения света, поступающего от трубчатой линзы 802. В некоторых вариантах реализации структура 812 поглощает свет, который был пропущен через фильтр 804, при этом поглощение предотвращает попадание света на датчик 808 или другую область оптической системы 800. Например, структура 812 может поглощать некоторый (но не весь) свет автофокусировки, который был отражен на подложке.
[00153] При работе оптической системы 800 левый свет автофокусировки и правый свет автофокусировки могут формироваться светоделителем. Левый свет автофокусировки и правый свет автофокусировки расходятся под заданным углом друг к другу. Левый свет автофокусировки и правый свет автофокусировки могут передаваться через один или более оптических компонентов и попадать на подложку. В некоторых вариантах реализации отражение левого света автофокусировки и правого света автофокусировки на подложке может формировать свет автофокусировки 814A, свет автофокусировки 814B, свет автофокусировки 816A и свет автофокусировки 816B. Например, свет 814A-814B автофокусировки может быть результатом отражения левого света автофокусировки и правого света автофокусировки соответственно на первом слое или другой поверхности подложки (например, поверхности S2 и/или поверхности S3 на ФИГ. 3). Таким образом, оптическая система 800 может направлять свет автофокусировки 814A-814B к фильтру 804. В качестве другого примера, свет 816A-816B автофокусировки может быть результатом отражения левого света автофокусировки и правого света автофокусировки соответственно на втором слое или другой поверхности подложки (например, поверхности S4 и/или поверхности S5 на ФИГ. 3). Таким образом, оптическая система 800 может направлять свет 816A-816B автофокусировки к фильтру 804.
[00154] Свет 814A-814B автофокусировки и свет 816A-816B автофокусировки могут передаваться через фильтр 804. Например, свет 814A-814B автофокусировки и свет 816A-816B могут иметь длины волн за пределами диапазона(-ов) длин волн, для которого(-ых) фильтр 804 является отражающим. Отражающий компонент 810A может быть расположен в пространственном местоположении так, что свет 814A автофокусировки, но не свет 814B автофокусировки или свет 816A-816B автофокусировки, будут падать на отражающий компонент 810A. Таким образом, отражающий компонент 810A может направлять свет автофокусировки 814A к датчику 808. Например, перемещение (например, вращение) отражающего компонента 810A может направлять свет 814A автофокусировки на датчик 808. Отражающий компонент 810B может быть расположен в пространственном местоположении так, что свет 814B автофокусировки, но не свет 814A автофокусировки или свет 816A-816B автофокусировки, будут падать на отражающий компонент 810B. Таким образом, отражающий компонент 810B может направлять свет автофокусировки 814B к датчику 808. Например, перемещение (например, вращение) отражающего компонента 810B может направлять свет 814B автофокусировки на датчик 808. Свет 816A автофокусировки и свет 816B автофокусировки могут падать на структуру 812. В некоторых вариантах реализации структура 812 поглощает свет 816A автофокусировки и свет 816B автофокусировки. Например, это может предотвратить достижение датчика 808 светом 816A автофокусировки и светом 816B автофокусировки.
[00155] Процесс автофокусировки может быть выполнен на основании одной или более частей света автофокусировки, обнаруженного датчиком 808. В некоторых вариантах реализации расстояние между светом 814A автофокусировки и светом 814B автофокусировки на датчике 808 может указывать на расстояние между объективом оптической системы 800 и подложкой. Например, может быть указано предварительно заданное расстояние на датчике 808, которое соответствует фокусировке подложки в объективе. Таким образом, оптическая система 800 может автоматически регулировать расстояние между объективом и подложкой на основании обнаруженного расстояния между светом автофокусировки 814A и светом автофокусировки 814B на датчике 808.
[00156] На ФИГ. 8B представлен вариант осуществления оптической системы 820. Оптическая система 820 может быть использована с одним или более другими вариантами осуществления, описанными в настоящем документе, или включена в них. В некоторых вариантах реализации оптическая система 820 может быть включена в систему 100, показанную на ФИГ. 1. В некоторых вариантах реализации оптическую систему 820 можно использовать с оптической системой 200, показанной на ФИГ. 2, или включить в нее. В некоторых вариантах реализации оптическую систему 820 можно использовать с оптической системой 500, показанной на ФИГ. 5, или включить в нее. В некоторых вариантах реализации оптическую систему 820 можно использовать с оптической системой 820, показанной на ФИГ. 8B, или включить в нее. В некоторых вариантах реализации оптическую систему 820 можно использовать с оптической системой 1100, показанной на ФИГ. 11, или включить в нее. В некоторых вариантах реализации оптическую систему 820 можно использовать с оптической системой 1200, показанной на ФИГ. 12, или включить в нее. В некоторых вариантах реализации оптическую систему 820 можно использовать с оптической системой 1300, показанной на ФИГ. 13, или включить в нее. В некоторых вариантах реализации оптическую систему 820 можно использовать с оптической системой 1400, показанной на ФИГ. 14, или включить в нее. В некоторых вариантах реализации оптическую систему 820 можно использовать с модулем 1800 визуализации, показанным на ФИГ. 18 и 19A-19В. В некоторых вариантах реализации оптическую систему 820 можно использовать с модулем 2100 визуализации, показанным на ФИГ. 21, или можно включить в него. В некоторых вариантах реализации оптическую систему 820 можно использовать с модулем 2200 визуализации, показанным на ФИГ. 22, или можно включить в него. В некоторых вариантах реализации оптическую систему 820 можно использовать с модулем 2400 визуализации, показанным на ФИГ. 24, или можно включить в него. В некоторых вариантах реализации оптическую систему 820 можно использовать с оптической системой 2500, показанной на ФИГ. 25, или включить в нее. В некоторых вариантах реализации оптическую систему 820 можно использовать с оптической системой 2600, показанной на ФИГ. 26, или включить в нее. В некоторых вариантах реализации оптическая система 820 может включать в себя отражающий компонент 2700, показанный на ФИГ. 27, или может использоваться с ним. В некоторых вариантах реализации оптическая система 820 может включать в себя отражающий компонент 2800, показанный на ФИГ. 28, или может использоваться с ним. В некоторых вариантах реализации оптическая система 820 может генерировать свет 2900 автофокусировки, показанный на ФИГ. 29. В некоторых вариантах реализации оптическая система 820 может генерировать свет 3000 автофокусировки, показанный на ФИГ. 30. В некоторых вариантах реализации оптическая система 820 может генерировать свет 3100 автофокусировки, показанный на ФИГ. 31A-31C. В некоторых вариантах реализации оптическую систему 820 можно использовать с теплопоглотителем 3200 лазерного двигателя, показанным на ФИГ. 32А-32С. В некоторых вариантах реализации оптическую систему 820 можно использовать с теплопоглотителем 3300 лазерного двигателя, показанным на ФИГ. 33A-33C. В некоторых вариантах реализации оптическую систему 820 можно использовать с SIM-узлом 3400, показанным на ФИГ. 34. В некоторых вариантах реализации оптическую систему 820 можно использовать с RIGS 3500, показанным на ФИГ. 35. В некоторых вариантах реализации оптическую систему 820 можно использовать с RIGS 3600, показанным на ФИГ. 36. В некоторых вариантах реализации оптическую систему 820 можно использовать с пьезофазовращателем 3700, показанным на ФИГ. 37. В некоторых вариантах реализации оптическую систему 820 можно использовать с пьезофазовращателем 3800, показанным на ФИГ. 38. В некоторых вариантах реализации оптическую систему 820 можно использовать с проекционной линзой 3900, показанной на ФИГ. 39. В некоторых вариантах реализации оптическую систему 820 можно использовать с проекционной линзой 4000, показанной на ФИГ. 40. В некоторых вариантах реализации оптическая система 820 может генерировать поле 4100 обзора, показанное на ФИГ. 41.
[00157] Для ясности показана только часть оптической системы 820. Оптическая система 820 включает фильтр 822. Фильтр 822 может представлять собой дихроичный фильтр. Фильтр 822 может, отдельно или вместе с, по меньшей мере, одним другим компонентом, облегчать управление одним или более типами света. В некоторых вариантах реализации фильтр 822 может иметь противоотражающее покрытие 824, которое предотвращает отражение (т. е. облегчает передачу) света автофокусировки и которое отражает излучаемый свет. Например, противоотражающее покрытие 824 может быть расположено на передней поверхности фильтра 822 в направлении прохождения света, поступающего на фильтр 822. В других вариантах реализации противоотражающее покрытие 824 может быть выполнено с возможностью предотвращения отражения (т. е. облегчения пропускания) излучаемого света и отражения света автофокусировки.
[00158] Оптическая система 820 включает в себя один или более отражающих компонентов. В данном случае оптическая система 820 включает в себя отражающий компонент 826A и отражающий компонент 826B. Каждый из отражающих компонентов 826A-826B может включать одну или более отражающих поверхностей и может быть расположен на поверхности фильтра 822. Например, отражающие компоненты 826A-826B могут быть расположены на задней поверхности фильтра 822 в направлении прохождения света, поступающего на фильтр 822. В некоторых вариантах реализации один или оба из отражающих компонентов 826A-826B отражают свет, который был передан через фильтр 822, при этом отражение приводит к направлению света к другой части оптической системы 820 (например, к датчику). Например, отражающий компонент 826A может отражать свет автофокусировки 828A. Каждый из отражающих компонентов 826A-826B может иметь оптические свойства, основанные на типе используемого света автофокусировки. В некоторых вариантах реализации каждый из отражающих компонентов 826A-826B является отражающим по меньшей мере в части ближнего инфракрасного диапазона длин волн (например, отражающим где-либо в диапазоне от примерно 750 нм до примерно 1400 нм).
[00159] Оптическая система 820 включает в себя одну или более структур 830. Структура 830 может быть расположена на задней поверхности фильтра 822 в направлении хода света автофокусировки 828A. В некоторых вариантах реализации структура 830 поглощает свет, который был пропущен через фильтр 822, при этом поглощение предотвращает попадание света на датчик или другую область оптической системы 820. Например, структура 830 может поглощать некоторый (но не весь) свет автофокусировки 828B. В качестве другого примера структура 830 может передавать свет 828B автофокусировки, как схематически показано светом 828B’ автофокусировки. В некоторых примерах осуществления изобретения структура 830 может быть исключена из оптической системы 820.
[00160] Таким образом, в процессе работы оптической системы 820 отражающий компонент 826A может отражать свет 828A автофокусировки, таким образом позволяя управлять светом 828A автофокусировки на датчике оптической системы 820. В качестве другого примера отражающий компонент 826B может отражать другой свет автофокусировки (не показан), таким образом позволяя управлять другим светом автофокусировки на датчике оптической системы 820. Одновременно с только что упомянутым(-ыми) отражением(-ями) и/или в другой момент времени противоотражающее покрытие 824 может отражать излучаемый свет 832 к другой части оптической системы 820 (например, к датчику). Например, излучаемый свет 832 может включать в себя флуоресценцию, генерируемую образцом для визуализации образца для анализа.
[00161] На ФИГ. 9A-9B представлены схемы, иллюстрирующие примеры создания требуемых и нежелательных отражений 900 и 900’ на множестве поверхностей подложки для пробы в некоторых вариантах осуществления. Отражения 900 и 900’ могут быть созданы с помощью одного или более вариантов осуществления, описанных в настоящем документе. В некоторых вариантах реализации отражения 900 и 900’ могут быть созданы с использованием системы 100, показанной на ФИГ. 1. В некоторых вариантах реализации отражения 900 и 900’ могут быть созданы с использованием оптической системы 200, показанной на ФИГ. 2. В некоторых вариантах реализации отражения 900 и 900’ могут быть созданы с использованием оптической системы 500, показанной на ФИГ. 5. В некоторых вариантах реализации отражения 900 и 900’ могут быть созданы с использованием оптической системы 800, показанной на ФИГ. 8A. В некоторых вариантах реализации отражения 900 и 900’ могут быть созданы с использованием оптической системы 820, показанной на ФИГ. 8B. В некоторых вариантах реализации отражения 900 и 900’ могут быть созданы с использованием оптической системы 1100, показанной на ФИГ. 11. В некоторых вариантах реализации отражения 900 и 900’ могут быть созданы с использованием оптической системы 1200, показанной на ФИГ. 12. В некоторых вариантах реализации отражения 900 и 900’ могут быть созданы с использованием оптической системы 1300, показанной на ФИГ. 13. В некоторых вариантах реализации отражения 900 и 900’ могут быть созданы с использованием оптической системы 1400, показанной на ФИГ. 14. В некоторых вариантах реализации отражения 900 и 900’ могут быть созданы с использованием модуля 1800 визуализации, показанного на ФИГ. 18 и 19A-19В. В некоторых вариантах реализации отражения 900 и 900’ могут быть созданы с использованием SIM-узла 2000, показанного на ФИГ. 20. В некоторых вариантах реализации отражения 900 и 900’ могут быть созданы с использованием модуля 2100 визуализации, показанного на ФИГ. 21. В некоторых вариантах реализации отражения 900 и 900’ могут быть созданы с использованием модуля 2200 визуализации, показанного на ФИГ. 22. В некоторых вариантах реализации отражения 900 и 900’ могут быть созданы с использованием модуля 2400 визуализации, показанного на ФИГ. 24. В некоторых вариантах реализации отражения 900 и 900’ могут быть созданы с использованием оптической системы 2500, показанной на ФИГ. 25. В некоторых вариантах реализации отражения 900 и 900’ могут быть созданы с использованием оптической системы 2600, показанной на ФИГ. 26. В некоторых вариантах реализации отражения 900 и 900’ могут быть созданы с использованием отражающего компонента 2700, показанного на ФИГ. 27. В некоторых вариантах реализации отражения 900 и 900’ могут быть созданы с использованием отражающего компонента 2800, показанного на ФИГ. 28. В некоторых вариантах реализации отражения 900 и 900’ могут быть созданы с использованием SIM-узла 3400, показанного на ФИГ. 34. В некоторых вариантах реализации отражения 900 и 900’ могут быть созданы с использованием RIGS 3500, показанного на ФИГ. 35. В некоторых вариантах реализации отражения 900 и 900’ могут быть созданы с использованием RIGS 3600, показанного на ФИГ. 36. В некоторых вариантах реализации отражения 900 и 900’ могут быть созданы с использованием пьезофазовращателя 3700, показанного на ФИГ. 37. В некоторых вариантах реализации отражения 900 и 900’ могут быть созданы с использованием пьезофазовращателя 3800, показанного на ФИГ. 38. В некоторых вариантах реализации отражения 900 и 900’ могут быть созданы с использованием проекционной линзы 3900, показанной на ФИГ. 39. В некоторых вариантах реализации отражения 900 и 900’ могут быть созданы с использованием проекционной линзы 4000, показанной на ФИГ. 40. В некоторых вариантах реализации отражения 900 и 900’ могут быть созданы с использованием поля 4100 обзора, показанного на ФИГ. 41.
[00162] В некоторых вариантах реализации отражения 900 и 900’ могут генерироваться соответствующими частями света автофокусировки, падающего на подложку. Например, отражения 900 создаются в результате передачи света 902 от объектива 904 к проточной кювете 906, причем свет 902 представляет собой левый свет автофокусировки (например, одну часть выходного сигнала от светоделителя). Например, отражения 900’ создаются в результате передачи света 902’ от объектива 904 к проточной кювете 906, причем свет 902’ представляет собой правый свет автофокусировки (например, другую часть выхода светоделителя). Свет 902 и свет 902’ могут отклоняться друг от друга на заданный угол. Объектив 904 и проточная кювета 906 проиллюстрированы схематически для простоты восприятия.
[00163] В некоторых вариантах реализации проточная кювета 906 включает в себя подложку 908 (например, облицовку прозрачного материала), подложку 910 (например, облицовку прозрачного материала) и канал 912 (например, жидкостный канал), образованный между подложками 908 и 910. Например, образец (например, из нуклеотидного материала) и/или одно или более химических веществ (например, реагента для секвенирования) могут быть размещены в канале 912 и/или протекают через него. Один или более дополнительных слоев или других поверхностей могут быть связаны с проточной кюветой 906. В данном случае слой 914 расположен с одной стороны подложки 910 напротив канала 912. В некоторых вариантах реализации слой 914 соединяет проточную кювету 906 с другой структурой. Например, слой 914 может включать в себя чувствительный к давлению адгезив, который соединяет проточную кювету 906 с несущей пластиной.
[00164] Проточная кювета 906 включает в себя множество слоев или других поверхностей. В данном случае поверхность S1 может быть охарактеризована как верхняя поверхность подложки 908. Поверхность S2 может называться нижней поверхностью подложки 908, или верхней поверхностью канала 912, или обеими. Поверхность S3 может называться нижней поверхностью канала 912, верхней поверхностью подложки 910, или обеими. Поверхность S4 может характеризоваться как нижняя поверхность подложки 910. Поверхность S5 может характеризоваться как нижняя поверхность слоя 914.
[00165] При падении света 902 на проточную кювету 906 свет 902 может отражаться одной или более поверхностями S1-S5, причем отражение дает начало соответствующему одному из отражений 900. В некоторых вариантах реализации отражение 900A образовано путем отражения света 902 от поверхности S1. В некоторых вариантах реализации отражение 900B образовано путем отражения света 902 от поверхности S2. В некоторых вариантах реализации отражение 900C образовано путем отражения света 902 от поверхности S3. В некоторых вариантах реализации отражение 900D образовано путем отражения света 902 от поверхности S4. В некоторых вариантах реализации отражение 900E образовано путем отражения света 902 от поверхности S5.
[00166] Одна или более отраженных частей света автофокусировки могут считаться более актуальными, чем другая часть. В некоторых вариантах реализации свет автофокусировки, отраженный от поверхности, на которой размещен или предназначен для размещения материала образца, может быть относительно более актуальным, чем поверхность, на которой не следует размещать материал образца. Например, отражения 900B-900C (т. е. от поверхностей S2 и S3) в настоящем документе можно считать относительно более актуальными, чем отражение 900A (т. е. от S1), отражение 900D (т. е. от S4) или отражение 900E (т. е. от S5).
[00167] При падении света 902’ на проточную кювету 906 свет 902’ может отражаться одной или более поверхностями S1-S5, причем отражение приводит к появлению соответствующего одного из отражений 900’. В некоторых вариантах реализации отражение 900A’ образовано за счет отражения света 902’ от поверхности S1. В некоторых вариантах реализации отражение 900B’ образовано путем отражения света 902’ от поверхности S2. В некоторых вариантах реализации отражение 900C’ образовано за счет отражения света 902’ от поверхности S3. В некоторых вариантах реализации отражение 900D’ образовано за счет отражения света 902’ от поверхности S4. В некоторых вариантах реализации отражение 900E’ образовано путем отражения света 902’ от поверхности S5.
[00168] Одна или более отраженных частей света автофокусировки могут считаться более актуальными, чем другая часть. В некоторых вариантах реализации свет автофокусировки, отраженный от поверхности, на которой размещен или предназначен для размещения материала образца, может быть относительно более актуальным, чем поверхность, на которой не следует размещать материал образца. Например, отражения 900B’ - 900C’ (т. е. от поверхностей S2 и S3) в настоящем документе можно считать относительно более актуальными, чем отражение 900A’ (т. е. от S1), отражение 900D’ (т. е. от S4) или отражение 900E’ (т. е. от S5).
[00169] На ФИГ. 10A-10C представлены варианты осуществления призмы бокового смещения 1000. Призма бокового смещения 1000 может использоваться с одним или более другими вариантами осуществления, описанными в настоящем документе, или быть включена в них. В некоторых вариантах реализации призма бокового смещения 1000 может использоваться с системой 100, показанной на ФИГ. 1, или быть включена в нее. В некоторых вариантах реализации призма бокового смещения 1000 может использоваться с оптической системой 200, показанной на ФИГ. 2, или быть включена в нее. В некоторых вариантах реализации призма бокового смещения 1000 может использоваться с оптической системой 500, показанной на ФИГ. 5, или быть включена в нее. В некоторых вариантах реализации призма бокового смещения 1000 может использоваться с оптической системой 800, показанной на ФИГ. 8A, или быть включена в нее. В некоторых вариантах реализации призма бокового смещения 1000 может использоваться с оптической системой 820, показанной на ФИГ. 8B, или быть включена в нее. В некоторых вариантах реализации призма бокового смещения 1000 может использоваться с оптической системой 1100, показанной на ФИГ. 11, или быть включена в нее. В некоторых вариантах реализации призма бокового смещения 1000 может использоваться с оптической системой 1200, показанной на ФИГ. 12, или быть включена в нее. В некоторых вариантах реализации призма бокового смещения 1000 может использоваться с оптической системой 1300, показанной на ФИГ. 13, или быть включена в нее. В некоторых вариантах реализации призма бокового смещения 1000 может использоваться с оптической системой 1400, показанной на ФИГ. 14, или быть включена в нее. В некоторых вариантах реализации призма бокового смещения 1000 может использоваться с модулем визуализации 1800, показанным на ФИГ. 18 и 19A-19В. В некоторых вариантах реализации призма бокового смещения 1000 может использоваться с модулем визуализации 2100, показанным на ФИГ. 21, или быть включена в него. В некоторых вариантах реализации призма бокового смещения 1000 может использоваться с модулем визуализации 2200, показанным на ФИГ. 22, или быть включена в него. В некоторых вариантах реализации призма бокового смещения 1000 может использоваться с модулем визуализации 2400, показанным на ФИГ. 24, или быть включена в него. В некоторых вариантах реализации призма бокового смещения 1000 может использоваться с оптической системой 2500, показанной на ФИГ. 25, или быть включена в нее. В некоторых вариантах реализации призма бокового смещения 1000 может использоваться с оптической системой 2600, показанной на ФИГ. 26, или быть включена в нее. В некоторых вариантах реализации призма бокового смещения 1000 может использоваться с отражающим компонентом 2700, показанным на ФИГ. 27. В некоторых вариантах реализации призма бокового смещения 1000 может использоваться с отражающим компонентом 2800, показанным на ФИГ. 28. В некоторых вариантах реализации призма бокового смещения 1000 может генерировать свет 2900 автофокусировки, показанный на ФИГ. 29. В некоторых вариантах реализации призма бокового смещения 1000 может генерировать свет 3000 автофокусировки, показанный на ФИГ. 30. В некоторых вариантах реализации призма бокового смещения 1000 может генерировать свет 3100 автофокусировки, показанный на ФИГ. 31A-31C. В некоторых вариантах реализации призма бокового смещения 1000 может использоваться с теплопоглотителем 3200 лазерного двигателя, показанным на ФИГ. 32А-32С. В некоторых вариантах реализации призма бокового смещения 1000 может использоваться с теплопоглотителем 3300 лазерного двигателя, показанным на ФИГ. 33A-33C. В некоторых вариантах реализации призма бокового смещения 1000 может использоваться с узлом SIM 3400, показанным на ФИГ. 34. В некоторых вариантах реализации призма бокового смещения 1000 может использоваться со RIGS 3500, показанного на ФИГ. 35. В некоторых вариантах реализации призма бокового смещения 1000 может использоваться с RIGS 3600, показанными на ФИГ. 36. В некоторых вариантах реализации призма 1000 бокового смещения может использоваться с пьезофазовращателем 3700, показанным на ФИГ. 37. В некоторых вариантах реализации призма 1000 бокового смещения может использоваться с пьезофазовращателем 3800, показанным на ФИГ. 38. В некоторых вариантах реализации призма бокового смещения 1000 может использоваться с проекционной линзой 3900, показанной на ФИГ. 39. В некоторых вариантах реализации призма бокового смещения 1000 может использоваться с проекционной линзой 4000, показанной на ФИГ. 40.
[00170] Призма бокового смещения 1000 включает в себя поверхность 1002. В некоторых вариантах реализации поверхность 1002 может рассматриваться как верхняя поверхность призмы бокового смещения 1000. Призма бокового смещения 1000 включает в себя поверхность 1004, параллельную поверхности 1002. В некоторых вариантах реализации поверхность 1004 может рассматриваться как нижняя поверхность призмы 1000 бокового смещения. Призма бокового смещения 1000 включает в себя поверхность 1006. В некоторых вариантах реализации поверхность 1006 может рассматриваться как боковая поверхность призмы бокового смещения 1000. Например, поверхность 1006 может представлять собой входную поверхность призмы бокового смещения 1000. Призма бокового смещения 1000 включает в себя поверхность 1008A. В некоторых вариантах реализации поверхность 1008А может рассматриваться как выходная поверхность призмы бокового смещения 1000. Призма бокового смещения 1000 включает в себя поверхность 1008B. В некоторых вариантах реализации поверхность 1008B можно рассматривать как выходную поверхность призмы бокового смещения 1000. Каждая из поверхностей 1008A-1008B образует общий угол с поверхностью 1006. В некоторых примерах реализации поверхности 1008A-1008B могут иметь ненулевой угол относительно друг друга. Призма бокового смещения 1000 включает в себя частично отражающий слой 1010. В некоторых вариантах реализации призма бокового смещения 1000 может быть изготовлена путем сборки двух элементов призмы, которые по меньшей мере по существу, идентичны друг другу, причем частично отражающий слой 1010 расположен на соединении между двумя элементами призмы. Поверхность 1002 может иметь границы по меньшей мере с поверхностями 1006, 1008A и 1008B. Поверхность 1004 может иметь границы по меньшей мере с поверхностями 1006, 1008A и 1008B.
[00171] Свет 1012 может поступать в призму бокового смещения 1000 через поверхность 1006. Например, свет 1012 представляет собой свет автофокусировки, генерируемый источником света (например, лазерным диодом). После по меньшей мере одного отражения в пределах призмы бокового смещения 1000 или после отсутствия отражения в пределах призмы бокового смещения 1000 свет 1012 может падать на частично отражающий слой 1010. В результате свет 1012A, отраженный от частично отражающего слоя 1010, может выходить из призмы бокового смещения 1000 через поверхность 1008A. Кроме того, свет 1012B, прошедший через частично отражающий слой 1010, может выходить из призмы бокового смещения 1000 через поверхность 1008B после, по меньшей мере, одного отражения в призме бокового смещения 1000 или после отсутствия отражения в призме бокового смещения 1000. Свет 1012A и свет 1012B расходятся под заданным углом друг к другу. В некоторых примерах осуществления каждый из света 1012A-1012B отклоняются от нормали поверхности 1006 на угол от примерно одного градуса до примерно трех градусов. Например, каждый из света 1012A-1012B может отклоняться от нормали поверхности 1006 на угол примерно 1,4 градуса (например, примерно 1,464 градуса). Таким образом, свет 1012A-1012B автофокусировки может отклоняться друг от друга на угол от примерно двух градусов до примерно шести градусов. Например, свет 1012A-1012B автофокусировки может отклоняться друг от друга на угол, составляющий примерно 2,9 градуса (например, примерно 2,928 градуса). Поверхности 1008A-1008B могут иметь границу 1014 друг с другом. В некоторых вариантах реализации частично отражающий слой 1010 может проходить между поверхностью 1006 и границей 1014. Например, частично отражающий слой 1010 может разделять поверхность 1006 на две части, которые по меньшей мере, по существу, имеют одинаковый размер. В качестве другого примера, поверхности 1008A-1008B могут иметь по меньшей мере, по существу, одинаковый размер.
[00172] Призма бокового смещения 1000 может быть включена в узел автофокусировки. В некоторых вариантах реализации узел автофокусировки включает в себя по меньшей мере призму бокового смещения 1000 и источник света для направления света (например, света 1012) в призму бокового смещения 1000. Например, источник света может быть частью компонента 106 автофокусировки (ФИГ. 1). В таком узле автофокусировки призма бокового смещения 1000 может формировать первый свет автофокусировки (например, свет 1012A) и второй свет автофокусировки (например, свет 1012B) от света таким образом, что первый свет автофокусировки и второй свет автофокусировки расходятся под заданным углом друг к другу.
[00173] На ФИГ. 11 схематически представлена оптическая система 1100 с призмой бокового смещения 1102. Оптическая система 1100 может включать или использоваться с одним или более другими вариантами осуществления, описанными в данном документе. В некоторых вариантах реализации оптическая система 1100 может быть включена в систему 100, показанную на ФИГ. 1. В некоторых вариантах реализации оптическая система 1100 может включать в себя оптическую систему 200, показанную на ФИГ. 2, или может использоваться с ней. В некоторых вариантах реализации оптическая система 1100 может включать в себя оптическую систему 500, показанную на ФИГ. 5, или может использоваться с ней. В некоторых вариантах реализации оптическая система 1100 может включать в себя оптическую систему 800, показанную на ФИГ. 8A, или использоваться с ней. В некоторых вариантах реализации оптическая система 1100 может включать в себя оптическую систему 820, показанную на ФИГ. 8B, или может использоваться с ней. В некоторых вариантах реализации оптическая система 1100 может включать в себя призму бокового смещения 1000, показанную на ФИГ. 10A-10C. В некоторых вариантах реализации оптическая система 1100 может включать в себя оптическую систему 1200, показанную на ФИГ. 12, или может использоваться с ней. В некоторых вариантах реализации оптическая система 1100 может включать в себя оптическую систему 1300, показанную на ФИГ. 13, или может использоваться с ней. В некоторых вариантах реализации оптическая система 1100 может включать в себя оптическую систему 1400, показанную на ФИГ. 14, или может использоваться с ней. В некоторых вариантах реализации оптическая система 1100 может включать в себя призму бокового смещения 1600, показанную на ФИГ. 16A-16В. В некоторых вариантах реализации оптическая система 1100 может включать в себя или использоваться со светоделителем 1700 на ФИГ. 17. В некоторых вариантах реализации оптическая система 1100 может быть включена в модуль 1800 визуализации, показанный на ФИГ. 18 и 19A-19В. В некоторых вариантах реализации оптическую систему 1100 можно использовать с SIM-узлом 2000, показанным на ФИГ. 20. В некоторых вариантах реализации оптическая система 1100 может быть включена в модуль 2100 визуализации, показанный на ФИГ. 21. В некоторых вариантах реализации оптическая система 1100 может быть включена в модуль 2200 визуализации, показанный на ФИГ. 22. В некоторых вариантах реализации оптическая система 1100 может быть включена в модуль 2400 визуализации, показанный на ФИГ. 24. В некоторых вариантах реализации оптическая система 1100 может быть включена в оптическую систему 2500, показанную на ФИГ. 25. В некоторых вариантах реализации оптическая система 1100 может быть включена в оптическую систему 2600, показанную на ФИГ. 26. В некоторых вариантах реализации оптическая система 1100 может включать в себя отражающий компонент 2700, показанный на ФИГ. 27, или может использоваться с ним. В некоторых вариантах реализации оптическая система 1100 может включать в себя отражающий компонент 2800, показанный на ФИГ. 28, или может использоваться с ним. В некоторых вариантах реализации оптическая система 1100 может генерировать свет 2900 автофокусировки, показанный на ФИГ. 29. В некоторых вариантах реализации оптическая система 1100 может генерировать свет 3000 автофокусировки, показанный на ФИГ. 30. В некоторых вариантах реализации оптическая система 1100 может генерировать свет 3100 автофокусировки, показанный на ФИГ. 31A-31C. В некоторых вариантах реализации оптическая система 1100 может включать в себя теплопоглотитель 3200 лазерного двигателя, показанный на ФИГ. 32А-32С. В некоторых вариантах реализации оптическая система 1100 может включать в себя теплопоглотитель 3300 лазерного двигателя, показанный на ФИГ. 33A-33C. В некоторых вариантах реализации оптическая система 1100 может включать в себя или использоваться с SIM-узлом 3400, показанным на ФИГ. 34. В некоторых вариантах реализации оптическая система 1100 может включать в себя или использоваться с RIGS 3500, показанным на ФИГ. 35. В некоторых вариантах реализации оптическая система 1100 может включать в себя или использоваться с RIGS 3600, показанным на ФИГ. 36. В некоторых вариантах реализации оптическая система 1100 может включать в себя или использоваться с пьезофазовращателем 3700, показанным на ФИГ. 37. В некоторых вариантах реализации оптическая система 1100 может включать в себя или использоваться с пьезофазовращателем 3800, показанным на ФИГ. 38. В некоторых вариантах реализации оптическая система 1100 может включать в себя или использоваться с проекционной линзой 3900, показанной на ФИГ. 39. В некоторых вариантах реализации оптическая система 1100 может включать в себя или использоваться с проекционной линзой 4000, показанной на ФИГ. 40. В некоторых вариантах реализации оптическая система 1100 может генерировать поле 4100 обзора, показанное на ФИГ. 41.
[00174] Свет 1104 может поступать в призму бокового смещения 1102 через входную поверхность. Например, свет 1104 представляет собой свет автофокусировки, генерируемый источником света (например, лазерным диодом). Свет 1104A может выходить из призмы бокового смещения 1102 через выходную поверхность. Свет 1104B может выходить из призмы бокового смещения 1102 через другую выходную поверхность. Свет 1104A и свет 1104B расходятся под заданным углом друг к другу.
[00175] Оптическая система 1100 включает в себя подложку 1106. Подложку 1106 можно использовать для удержания одного или более анализируемых образцов. В некоторых вариантах реализации проба, расположенная на подложке 1106 может включать в себя нуклеотидный материал. Например, подложка 1106 может включать в себя проточную кювету для визуализации нуклеотидного вещества. Отражение света 1104A на поверхности подложки 1106 может формировать свет 1108A. Отражение света 1104B на поверхности подложки 1106 может формировать свет 1108B.
[00176] Свет 1108A-1108B автофокусировки может передаваться, и/или отражаться, и/или преломляться по меньшей мере одним другим компонентом (не показан) в оптической системе 1100. Здесь линия 1110 схематически иллюстрирует дополнительный(-ые) компонент(-ы) оптической системы 1100 и обработку света 1108A-1108B, выполняемую на дополнительном(-ых) компоненте(-ах).
[00177] Оптическая система 1100 включает датчик 1112. Датчик 1112 может обнаруживать отраженный свет автофокусировки во время процедуры автофокусировки и/или обнаруживать излучаемый свет во время процедуры анализа. В некоторых вариантах реализации датчик 1112 включает в себя прямоугольную матрицу светочувствительных элементов, которая может обнаруживать соответствующие местоположения одной или более частей света, падающего на датчик 1112. Например, свет 1108A-1108B автофокусировки может падать на датчик 1112.
[00178] Датчик 1112 можно применять для определения одной или более характеристик света 1108A-1108B. В некоторых вариантах реализации расстояние 1114 между лампами 1108A-1108B на датчике 1112 может указывать на расстояние между объективом оптической системы 1100 и подложкой 1106. Например, может быть указано заданное расстояние на датчике 1112, которое соответствует фокусировке подложки 1106 в объективе.
[00179] Оптическая система 1100 иллюстрирует пример осуществления способа, причем способ включает в себя формирование (например, с помощью призмы бокового смещения 1102) левого света автофокусировки (например, света 1104A) и правого света автофокусировки (например, света 1104B), которые расходятся под заданным углом друг к другу. Способ включает направление левого света автофокусировки и правого света автофокусировки через объектив на первую поверхность подложки (например, подложки 1106). Способ включает направление по меньшей мере первой части левого света автофокусировки и по меньшей мере первой части правого света автофокусировки на датчик (например, датчик 1112) после отражения от первой поверхности. Заданное разделение между первой частью левого света автофокусировки и первой частью правого света автофокусировки на датчике указывает на то, что подложка находится в фокусе объектива. Например, расстояние 1114 в данный момент может быть равно или не быть равно предварительно заданному разделению.
[00180] На ФИГ. 12 схематически представлена оптическая система 1200 с призмой бокового смещения 1202. Оптическая система 1200 может включать или использоваться с одним или более другими вариантами осуществления, описанными в данном документе. В некоторых вариантах реализации оптическая система 1200 может быть включена в систему 100, показанную на ФИГ. 1. В некоторых вариантах реализации оптическая система 1200 может включать в себя оптическую систему 200, показанную на ФИГ. 2, или может использоваться с ней. В некоторых вариантах реализации оптическая система 1200 может включать в себя оптическую систему 500, показанную на ФИГ. 5, или может использоваться с ней. В некоторых вариантах реализации оптическая система 1200 может включать в себя оптическую систему 800, показанную на ФИГ. 8A, или использоваться с ней. В некоторых вариантах реализации оптическая система 1200 может включать в себя оптическую систему 820, показанную на ФИГ. 8B, или может использоваться с ней. В некоторых вариантах реализации оптическая система 1200 может включать в себя призму бокового смещения 1000, показанную на ФИГ. 10A-10C. В некоторых вариантах реализации оптическая система 1200 может включать в себя оптическую систему 1100, показанную на ФИГ. 11, или может использоваться с ней. В некоторых вариантах реализации оптическая система 1200 может включать в себя оптическую систему 1300, показанную на ФИГ. 13, или может использоваться с ней. В некоторых вариантах реализации оптическая система 1200 может включать в себя оптическую систему 1400, показанную на ФИГ. 14, или может использоваться с ней. В некоторых вариантах реализации оптическая система 1200 может включать в себя призму бокового смещения 1600, показанную на ФИГ. 16A-16В. В некоторых вариантах реализации оптическая система 1200 может включать в себя или использоваться со светоделителем 1700 на ФИГ. 17. В некоторых вариантах реализации оптическая система 1200 может быть включена в модуль 1800 визуализации, показанный на ФИГ. 18 и 19A-19В. В некоторых вариантах реализации оптическую систему 1200 можно использовать с SIM-узлом 2000, показанным на ФИГ. 20. В некоторых вариантах реализации оптическая система 1200 может быть включена в модуль 2100 визуализации, показанный на ФИГ. 21. В некоторых вариантах реализации оптическая система 1200 может быть включена в модуль 2200 визуализации, показанный на ФИГ. 22. В некоторых вариантах реализации оптическая система 1200 может быть включена в модуль 2400 визуализации, показанный на ФИГ. 24. В некоторых вариантах реализации оптическая система 1200 может быть включена в оптическую систему 2500, показанную на ФИГ. 25. В некоторых вариантах реализации оптическая система 1200 может быть единственной системой в оптической системе 2600 на ФИГ. 26. В некоторых вариантах реализации оптическая система 1200 может включать в себя отражающий компонент 2700, показанный на ФИГ. 27, или может использоваться с ним. В некоторых вариантах реализации оптическая система 1200 может включать в себя отражающий компонент 2800, показанный на ФИГ. 28, или может использоваться с ним. В некоторых вариантах реализации оптическая система 1200 может генерировать свет 2900 автофокусировки, показанный на ФИГ. 29. В некоторых вариантах реализации оптическая система 1200 может генерировать свет 3000 автофокусировки, показанный на ФИГ. 30. В некоторых вариантах реализации оптическая система 1200 может генерировать свет 3100 автофокусировки, показанный на ФИГ. 31A-31C. В некоторых вариантах реализации оптическая система 1200 может включать в себя теплопоглотитель 3200 лазерного двигателя, показанный на ФИГ. 32А-32С. В некоторых вариантах реализации оптическая система 1200 может включать в себя теплопоглотитель 3300 лазерного двигателя, показанный на ФИГ. 33A-33C. В некоторых вариантах реализации оптическая система 1200 может включать в себя или использоваться с SIM-узлом 3400, показанным на ФИГ. 34. В некоторых вариантах реализации оптическая система 1200 может включать в себя или использоваться с RIGS 3500, показанным на ФИГ. 35. В некоторых вариантах реализации оптическая система 1200 может включать в себя или использоваться с RIGS 3600, показанным на ФИГ. 36. В некоторых вариантах реализации оптическая система 1200 может включать в себя или использоваться с пьезофазовращателем 3700, показанным на ФИГ. 37. В некоторых вариантах реализации оптическая система 1200 может включать в себя или использоваться с пьезофазовращателем 3800, показанным на ФИГ. 38. В некоторых вариантах реализации оптическая система 1200 может включать в себя или использоваться с проекционной линзой 3900, показанной на ФИГ. 39. В некоторых вариантах реализации оптическая система 1200 может включать в себя или использоваться с проекционной линзой 4000, показанной на ФИГ. 40. В некоторых вариантах реализации оптическая система 1200 может генерировать поле 4100 обзора, показанное на ФИГ. 41.
[00181] Свет 1204 может поступать в призму бокового смещения 1202 через входную поверхность. Например, свет 1204 представляет собой свет автофокусировки, генерируемый источником света (например, лазерным диодом). Свет 1204A может выходить из призмы бокового смещения 1202 через выходную поверхность. Свет 1204B может выходить из призмы бокового смещения 1202 через другую выходную поверхность. Свет 1204A и свет 1204B расходятся под заданным углом друг к другу.
[00182] Оптическая система 1200 включает в себя подложку 1206. Подложку 1206 можно использовать для удержания одного или более анализируемых образцов. В некоторых вариантах реализации проба, расположенная на подложке 1206 может включать в себя нуклеотидный материал. Например, подложка 1206 может включать в себя проточную кювету для визуализации нуклеотидного вещества. Подложка 1206 может включать по меньшей мере поверхность 1206A и поверхность 1206B. Отражение света 1204A на поверхности 1206A может формировать свет 1208A. Отражение света 1204A на поверхности 1206B может формировать свет 1210A. Отражение света 1204B на поверхности 1206A может формировать свет 1208B. Отражение света 1204B на поверхности 1206B может формировать свет 1210B.
[00183] Свет 1208A-1208B и 1210A-1210B автофокусировки может передаваться, и/или отражаться, и/или преломляться по меньшей мере одним другим компонентом (не показан) в оптической системе 1200. В данном случае линия 1212 схематически иллюстрирует дополнительный(-ые) компонент(-ы) оптической системы 1200 и обработку света 1208A-1208B и 1210A-1210B, выполненного на дополнительном(-ых) компоненте(-ах).
[00184] Оптическая система 1200 включает датчик 1214. Датчик 1214 может обнаруживать отраженный свет автофокусировки во время процедуры автофокусировки и/или обнаруживать излучаемый свет во время процедуры анализа. В некоторых вариантах реализации датчик 1214 включает в себя прямоугольную матрицу светочувствительных элементов, которая может обнаруживать соответствующие местоположения одной или более частей света, падающего на датчик 1214. Например, лампы 1208A-1208B и 1210A-1210B могут падать на датчик 1214.
[00185] Датчик 1214 можно применять для определения одной или более характеристик света 1208A-1208B и 1210A-1210B. В некоторых вариантах реализации может быть указано заданное разделение 1216, которое соответствует фокусировке подложки 1206 на объективе оптической системы 1200. Например, оптическая система 1200 может определять, является ли расстояние между светом 1208A-1208B на датчике 1214, по меньшей мере, по существу, равным заданному разделению 1216, что указывает на то, что поверхность 1206A в данный момент находится в фокусе. В качестве другого примера оптическая система 1200 может определять, является ли расстояние между светом 1210A-1210B на датчике 1214, по меньшей мере, по существу, равным заданному разделению 1216, что указывает на то, что в данный момент поверхность 1206B находится в фокусе.
[00186] На ФИГ. 13 схематически представлена оптическая система 1300 с призмой бокового смещения 1302. Оптическая система 1300 может включать или использоваться с одним или более другими вариантами осуществления, описанными в данном документе. В некоторых вариантах реализации оптическая система 1300 может быть включена в систему 100, показанную на ФИГ. 1. В некоторых вариантах реализации оптическая система 1300 может включать в себя оптическую систему 200, показанную на ФИГ. 2, или может использоваться с ней. В некоторых вариантах реализации оптическая система 1300 может включать в себя оптическую систему 500, показанную на ФИГ. 5, или может использоваться с ней. В некоторых вариантах реализации оптическая система 1300 может включать в себя оптическую систему 800, показанную на ФИГ. 8A, или использоваться с ней. В некоторых вариантах реализации оптическая система 1300 может включать в себя оптическую систему 820, показанную на ФИГ. 8B, или может использоваться с ней. В некоторых вариантах реализации оптическая система 1300 может включать в себя призму бокового смещения 1000, показанную на ФИГ. 10A-10C. В некоторых вариантах реализации оптическая система 1300 может включать в себя оптическую систему 1100, показанную на ФИГ. 11, или может использоваться с ней. В некоторых вариантах реализации оптическая система 1300 может включать в себя оптическую систему 1200, показанную на ФИГ. 12, или может использоваться с ней. В некоторых вариантах реализации оптическая система 1300 может включать в себя оптическую систему 1400, показанную на ФИГ. 14, или может использоваться с ней. В некоторых вариантах реализации оптическая система 1300 может включать в себя призму бокового смещения 1600, показанную на ФИГ. 16A-16В. В некоторых вариантах реализации оптическая система 1300 может включать в себя или использоваться со светоделителем 1700 на ФИГ. 17. В некоторых вариантах реализации оптическая система 1300 может быть включена в модуль 1800 визуализации, показанный на ФИГ. 18 и 19A-19В. В некоторых вариантах реализации оптическую систему 1300 можно использовать с SIM-узлом 2000, показанным на ФИГ. 20. В некоторых вариантах реализации оптическая система 1300 может быть включена в модуль 2100 визуализации, показанный на ФИГ. 21. В некоторых вариантах реализации оптическая система 1300 может быть включена в модуль 2200 визуализации, показанный на ФИГ. 22. В некоторых вариантах реализации оптическая система 1300 может быть включена в модуль 2400 визуализации, показанный на ФИГ. 24. В некоторых вариантах реализации оптическая система 1300 может быть включена в оптическую систему 2500, показанную на ФИГ. 25. В некоторых вариантах реализации оптическая система 1300 может быть единственной системой в оптической системе 2600 на ФИГ. 26. В некоторых вариантах реализации оптическая система 1300 может включать в себя отражающий компонент 2700, показанный на ФИГ. 27, или может использоваться с ним. В некоторых вариантах реализации оптическая система 1300 может включать в себя отражающий компонент 2800, показанный на ФИГ. 28, или может использоваться с ним. В некоторых вариантах реализации оптическая система 1300 может генерировать свет 2900 автофокусировки, показанный на ФИГ. 29. В некоторых вариантах реализации оптическая система 1300 может генерировать свет 3000 автофокусировки, показанный на ФИГ. 30. В некоторых вариантах реализации оптическая система 1300 может генерировать свет 3100 автофокусировки, показанный на ФИГ. 31A-31C. В некоторых вариантах реализации оптическая система 1300 может включать в себя теплопоглотитель 3200 лазерного двигателя, показанный на ФИГ. 32А-32С. В некоторых вариантах реализации оптическая система 1300 может включать в себя теплопоглотитель 3300 лазерного двигателя, показанный на ФИГ. 33A-33C. В некоторых вариантах реализации оптическая система 1300 может включать в себя или использоваться с SIM-узлом 3400, показанным на ФИГ. 34. В некоторых вариантах реализации оптическая система 1300 может включать в себя или использоваться с RIGS 3500, показанным на ФИГ. 35. В некоторых вариантах реализации оптическая система 1300 может включать в себя или использоваться с RIGS 3600, показанным на ФИГ. 36. В некоторых вариантах реализации оптическая система 1300 может включать в себя или использоваться с пьезофазовращателем 3700, показанным на ФИГ. 37. В некоторых вариантах реализации оптическая система 1300 может включать в себя или использоваться с пьезофазовращателем 3800, показанным на ФИГ. 38. В некоторых вариантах реализации оптическая система 1300 может включать в себя или использоваться с проекционной линзой 3900, показанной на ФИГ. 39. В некоторых вариантах реализации оптическая система 1300 может включать в себя или использоваться с проекционной линзой 4000, показанной на ФИГ. 40. В некоторых вариантах реализации оптическая система 1300 может генерировать поле 4100 обзора, показанное на ФИГ. 41.
[00187] Свет 1304 может поступать в призму бокового смещения 1302 через входную поверхность. Например, свет 1304 представляет собой свет автофокусировки, генерируемый источником света (например, лазерным диодом). Свет 1304A может выходить из призмы бокового смещения 1302 через выходную поверхность. Свет 1304B может выходить из призмы бокового смещения 1302 через другую выходную поверхность. Свет 1304A и свет 1304B расходятся под заданным углом друг к другу.
[00188] Оптическая система 1300 включает в себя подложку 1306. Подложку 1306 можно использовать для удержания одного или более анализируемых образцов. В некоторых вариантах реализации проба, расположенная на подложке 1306, может включать в себя нуклеотидный материал. Например, подложка 1306 может включать в себя проточную кювету для визуализации нуклеотидного вещества. Подложка 1306 может включать по меньшей мере поверхность 1306A и поверхность 1306B. Отражение света 1304A на поверхности 1306A может формировать свет 1308A. Отражение света 1304A на поверхности 1306B может формировать свет 1310A. Отражение света 1304B на поверхности 1306A может формировать свет 1308B. Отражение света 1304B на поверхности 1306B может формировать свет 1310B.
[00189] Свет 1308A-1308B и 1310A-1310B автофокусировки может передаваться, и/или отражаться, и/или преломляться по меньшей мере одним другим компонентом (не показан) в оптической системе 1300. В данном случае линия 1312 схематически иллюстрирует дополнительный(-ые) компонент(-ы) оптической системы 1300 и обработку света 1308A-1308B и 1310A-1310B, выполненную на дополнительном(-ых) компоненте(-ах).
[00190] Оптическая система 1300 включает датчик 1314. Датчик 1314 может обнаруживать отраженный свет автофокусировки во время процедуры автофокусировки и/или обнаруживать излучаемый свет во время процедуры анализа. В некоторых вариантах реализации датчик 1314 включает в себя прямоугольную матрицу светочувствительных элементов, которая может обнаруживать соответствующие местоположения одной или более частей света, падающего на датчик 1314. Например, свет 1310A-1310B автофокусировки может падать на датчик 1214.
[00191] Оптическая система 1300 может включать в себя одну или более структур. В данном случае оптическая система 1300 включает в себя структуру 1316A и структуру 1316B. Конструкция 1316A может служить для блокирования передачи одного или более лучей к датчику 1314. В некоторых вариантах реализации структура 1316A может блокировать один или более аспектов автофокусировки света, которые были отражены на подложке 1306. Например, структура 1316A может блокировать свет 1308A. Конструкция 1316B может служить для блокирования передачи одного или более лучей к датчику 1314. В некоторых вариантах реализации структура 1316B может блокировать один или более аспектов автофокусировки света, которые были отражены на подложке 1306. Например, структура 1316B может блокировать свет 1308B.
[00192] Датчик 1314 можно применять для определения одной или более характеристик света 1310A-1310B. В некоторых вариантах реализации может быть указано заданное разделение 1318, которое соответствует фокусировке подложки 1306 на объективе оптической системы 1300. Например, оптическая система 1300 может определять, является ли расстояние между светом 1310A-1310B на датчике 1314, по меньшей мере, по существу, равным заданному разделению 1216, что указывает на то, что поверхность 1306B в данный момент находится в фокусе.
[00193] На ФИГ. 14 схематически представлена оптическая система 1400 с призмой бокового смещения 1402. Оптическая система 1400 может использоваться с одним или более другими примерами, описанными в других разделах данного документа. В некоторых вариантах реализации оптическая система 1400 может быть включена в систему 100, показанную на ФИГ. 1. В некоторых вариантах реализации оптическая система 1400 может включать в себя оптическую систему 200, показанную на ФИГ. 2, или может использоваться с ней. В некоторых вариантах реализации оптическая система 1400 может включать в себя оптическую систему 500, показанную на ФИГ. 5, или может использоваться с ней. В некоторых вариантах реализации оптическая система 1400 может включать в себя оптическую систему 800, показанную на ФИГ. 8A, или использоваться с ней. В некоторых вариантах реализации оптическая система 1400 может включать в себя оптическую систему 820, показанную на ФИГ. 8B, или может использоваться с ней. В некоторых вариантах реализации оптическая система 1400 может включать в себя призму бокового смещения 1000, показанную на ФИГ. 10A-10C. В некоторых вариантах реализации оптическая система 1400 может включать в себя оптическую систему 1100, показанную на ФИГ. 11, или может использоваться с ней. В некоторых вариантах реализации оптическая система 1400 может включать в себя оптическую систему 1200, показанную на ФИГ. 12, или может использоваться с ней. В некоторых вариантах реализации оптическая система 1400 может включать в себя оптическую систему 1300, показанную на ФИГ. 13, или может использоваться с ней. В некоторых вариантах реализации оптическая система 1400 может включать в себя призму бокового смещения 1600, показанную на ФИГ. 16A-16В. В некоторых вариантах реализации оптическая система 1400 может включать в себя или использоваться со светоделителем 1700 на ФИГ. 17. В некоторых вариантах реализации оптическая система 1400 может быть включена в модуль 1800 визуализации, показанный на ФИГ. 18 и 19A-19В. В некоторых вариантах реализации оптическую систему 1400 можно использовать с SIM-узлом 2000, показанным на ФИГ. 20. В некоторых вариантах реализации оптическая система 1400 может быть включена в модуль 2100 визуализации, показанный на ФИГ. 21. В некоторых вариантах реализации оптическая система 1400 может быть включена в модуль 2200 визуализации, показанный на ФИГ. 22. В некоторых вариантах реализации оптическая система 1400 может быть включена в модуль 2400 визуализации, показанный на ФИГ. 24. В некоторых вариантах реализации оптическая система 1400 может быть включена в оптическую систему 2500, показанную на ФИГ. 25. В некоторых вариантах реализации оптическая система 1400 может быть единственной системой в оптической системе 2600 на ФИГ. 26. В некоторых вариантах реализации оптическая система 1400 может включать в себя отражающий компонент 2700, показанный на ФИГ. 27, или может использоваться с ним. В некоторых вариантах реализации оптическая система 1400 может включать в себя отражающий компонент 2800, показанный на ФИГ. 28, или может использоваться с ним. В некоторых вариантах реализации оптическая система 1400 может генерировать свет 2900 автофокусировки, показанный на ФИГ. 29. В некоторых вариантах реализации оптическая система 1400 может генерировать свет 3000 автофокусировки, показанный на ФИГ. 30. В некоторых вариантах реализации оптическая система 1400 может генерировать свет 3100 автофокусировки, показанный на ФИГ. 31A-31C. В некоторых вариантах реализации оптическая система 1400 может включать в себя теплопоглотитель 3200 лазерного двигателя, показанный на ФИГ. 32А-32С. В некоторых вариантах реализации оптическая система 1400 может включать в себя теплопоглотитель 3300 лазерного двигателя, показанный на ФИГ. 33A-33C. В некоторых вариантах реализации оптическая система 1400 может включать в себя или использоваться с SIM-узлом 3400, показанным на ФИГ. 34. В некоторых вариантах реализации оптическая система 1400 может включать в себя или использоваться с RIGS 3500, показанным на ФИГ. 35. В некоторых вариантах реализации оптическая система 1400 может включать в себя или использоваться с RIGS 3600, показанным на ФИГ. 36. В некоторых вариантах реализации оптическая система 1400 может включать в себя или использоваться с пьезофазовращателем 3700, показанным на ФИГ. 37. В некоторых вариантах реализации оптическая система 1400 может включать в себя или использоваться с пьезофазовращателем 3800, показанным на ФИГ. 38. В некоторых вариантах реализации оптическая система 1400 может включать в себя или использоваться с проекционной линзой 3900, показанной на ФИГ. 39. В некоторых вариантах реализации оптическая система 1400 может включать в себя или использоваться с проекционной линзой 4000, показанной на ФИГ. 40. В некоторых вариантах реализации оптическая система 1400 может генерировать поле 4100 обзора, показанное на ФИГ. 41.
[00194] Свет 1404 может поступать в призму бокового смещения 1402 через входную поверхность. Например, свет 1404 представляет собой свет автофокусировки, генерируемый источником света (например, лазерным диодом). Свет 1404A может выходить из призмы бокового смещения 1402 через выходную поверхность. Свет 1404B может выходить из призмы бокового смещения 1402 через другую выходную поверхность. Свет 1404A и свет 1404B расходятся под заданным углом друг к другу.
[00195] Оптическая система 1400 включает в себя подложку 1406. Подложку 1406 можно использовать для удержания одного или более анализируемых образцов. В некоторых вариантах реализации проба, расположенная на подложке 1406 может включать в себя нуклеотидный материал. Например, подложка 1406 может включать в себя проточную кювету для визуализации нуклеотидного вещества. Подложка 1406 может включать в себя по меньшей мере поверхность 1406A, поверхность 1406B и поверхность 1406C. Отражение света 1404A на поверхности 1406A может формировать свет 1408A. Отражение света 1404A на поверхности 1406B может формировать свет 1410A. Отражение света 1404A на поверхности 1406C может формировать свет 1412A. Отражение света 1404B на поверхности 1406A может формировать свет 1408B. Отражение света 1404B на поверхности 1406B может формировать свет 1410B. Отражение света 1404B на поверхности 1406C может формировать свет 1412B.
[00196] Свет 1408A-1408B, 1410A-1410B и 1412A-1412B автофокусировки может передаваться, и/или отражаться, и/или преломляться по меньшей мере одним другим компонентом (не показан) в оптической системе 1400. В данном случае линия 1414 схематически иллюстрирует дополнительный(-ые) компонент(-ы) оптической системы 1400 и обработку света 1408A-1408B, 1410A-1410B и 1412A-1412B, выполненного на дополнительном(-ых) компоненте(-ах).
[00197] Оптическая система 1400 включает датчик 1416. Датчик 1416 может обнаруживать отраженный свет автофокусировки во время процедуры автофокусировки и/или обнаруживать излучаемый свет во время процедуры анализа. В некоторых вариантах реализации датчик 1416 включает в себя прямоугольную матрицу светочувствительных элементов, которая может обнаруживать соответствующие местоположения одной или более частей света, падающего на датчик 1416. Например, лампы 1408A-1408B и 1410A-1410B могут падать на датчик 1416.
[00198] Оптическая система 1400 может включать в себя одну или более структур. В данном случае оптическая система 1400 включает в себя структуру 1418A и структуру 1418B. Конструкция 1418A может служить для блокирования передачи одного или более лучей к датчику 1416. В некоторых вариантах реализации структура 1418A может блокировать один или более аспектов автофокусировки света, которые были отражены на подложке 1406. Например, структура 1418A может блокировать свет 1412A. Конструкция 1418B может служить для блокирования передачи одного или более лучей к датчику 1416. В некоторых вариантах реализации структура 1418B может блокировать один или более аспектов автофокусировки света, которые были отражены на подложке 1406. Например, структура 1418B может блокировать свет 1412B.
[00199] Датчик 1416 можно применять для определения одной или более характеристик света 1408A-1408B и 1410A-1410B. В некоторых вариантах реализации может быть указано заданное разделение 1420, которое соответствует фокусировке подложки 1406 на объективе оптической системы 1400. Например, оптическая система 1400 может определять, является ли расстояние между светом 1408A-1408B на датчике 1416, по меньшей мере, по существу, равным заданному разделению 1420, что указывает на то, что поверхность 1406A в данный момент находится в фокусе. В качестве другого примера оптическая система 1400 может определять, является ли расстояние между светом 1410A-1410B на датчике 1416, по меньшей мере, по существу, равным заданному разделению 1420, что указывает на то, что в данный момент поверхность 1406B находится в фокусе.
[00200] На ФИГ. 15 представлен вариант осуществления света автофокусировки на датчике 1500. Датчик 1500 может использоваться с одним или более другими вариантами осуществления, описанными в настоящем документе, или может быть включен в них. В некоторых вариантах реализации датчик 1500 может быть включен в систему 100, показанную на ФИГ. 1. В некоторых вариантах реализации датчик 1500 может использоваться с оптической системой 200, показанной на ФИГ. 2, или быть включен в нее. В некоторых вариантах реализации датчик 1500 может использоваться с оптической системой 500, показанной на ФИГ. 5, или быть включен в нее. В некоторых вариантах реализации датчик 1500 может использоваться с оптической системой 800, показанной на ФИГ. 8A, или быть включен в нее. В некоторых вариантах реализации датчик 1500 может использоваться с оптической системой 820, показанной на ФИГ. 8B, или быть включен в нее. В некоторых вариантах реализации датчик 1500 может использоваться с оптической системой 1100, показанной на ФИГ. 11, или быть включен в нее. В некоторых вариантах реализации датчик 1500 может использоваться с оптической системой 1200, показанной на ФИГ. 12, или быть включен в нее. В некоторых вариантах реализации датчик 1500 может использоваться с оптической системой 1300, показанной на ФИГ. 13, или быть включен в нее. В некоторых вариантах реализации датчик 1500 может использоваться с оптической системой 1400, показанной на ФИГ. 14, или быть включен в нее. В некоторых вариантах реализации датчик 1500 можно использовать с модулем 1800 визуализации, показанным на ФИГ. 18 и 19A-19В. В некоторых вариантах реализации датчик 1500 может использоваться с модулем 2100 визуализации, показанным на ФИГ. 21, или может быть включен в него. В некоторых вариантах реализации датчик 1500 может использоваться с модулем 2200 визуализации, показанным на ФИГ. 22, или может быть включен в него. В некоторых вариантах реализации датчик 1500 может использоваться с модулем 2400 визуализации, показанным на ФИГ. 24, или может быть включен в него. В некоторых вариантах реализации датчик 1500 может использоваться с оптической системой 2500, показанной на ФИГ. 25, или быть включен в нее. В некоторых вариантах реализации датчик 1500 может использоваться с оптической системой 2600, показанной на ФИГ. 26, или быть включен в нее. В некоторых вариантах реализации датчик 1500 можно использовать с отражающим компонентом 2700, показанным на ФИГ. 27. В некоторых вариантах реализации датчик 1500 можно использовать с отражающим компонентом 2800, показанным на ФИГ. 28. В некоторых вариантах реализации датчик 1500 может принимать свет 2900 автофокусировки, показанный на ФИГ. 29. В некоторых вариантах реализации датчик 1500 может принимать свет 3000 автофокусировки, показанный на ФИГ. 30. В некоторых вариантах реализации датчик 1500 может принимать свет 3100 автофокусировки, показанный на ФИГ. 31A-31C. В некоторых вариантах реализации датчик 1500 может использоваться с теплопоглотителем 3200 лазерного двигателя, показанным на ФИГ. 32А-32С. В некоторых вариантах реализации датчик 1500 может использоваться с теплопоглотителем 3300 лазерного двигателя, показанным на ФИГ. 33A-33C. В некоторых вариантах реализации датчик 1500 можно использовать с SIM-узлом 3400, показанным на ФИГ. 34. В некоторых вариантах реализации датчик 1500 может использоваться с RIGS 3500, показанным на ФИГ. 35. В некоторых вариантах реализации датчик 1500 может использоваться с RIGS 3600, показанным на ФИГ. 36. В некоторых вариантах реализации датчик 1500 может использоваться с пьезофазовращателем 3700, показанным на ФИГ. 37. В некоторых вариантах реализации датчик 1500 может использоваться с пьезофазовращателем 3800, показанным на ФИГ. 38. В некоторых вариантах реализации датчик 1500 можно использовать с проекционной линзой 3900, показанной на ФИГ. 39. В некоторых вариантах реализации датчик 1500 можно использовать с проекционной линзой 4000, показанной на ФИГ. 40. В некоторых вариантах реализации датчик 1500 может захватывать поле 4100 обзора, показанное на ФИГ. 41.
[00201] Датчик 1500 показывает световые пятна, соответствующие регистрации датчиком 1500 падающего света. В некоторых вариантах реализации световые пятна соответствуют частям света автофокусировки, которые были отражены от соответствующих поверхностей подложки. Например, пятна, обозначенные «S2», могут быть отражены от верхней поверхности жидкостного канала в проточной кювете. В качестве другого примера пятна, обозначенные «S3», могут быть отражены от нижней поверхности жидкостного канала в проточной кювете. Разделение между двумя пятнами S2 отслеживает расстояние между поверхностью S2 и объективом оптической системы. Разделение между двумя пятнами S3 отслеживает расстояние между поверхностью S3 и объективом оптической системы. Датчик 1500 иллюстрирует, что формирование расхождения между лучами света автофокусировки (например, с использованием призмы бокового смещения) и/или управление по меньшей мере одним из требуемого отражения автофокусировки или нежелательного отражения автофокусировки может обеспечивать четкое изображение, которое облегчает эффективное и точное отслеживание фокуса в оптической системе.
[00202] На ФИГ. 16A-16В показаны варианты осуществления призмы бокового смещения 1600. Призма бокового смещения 1600 может использоваться с одним или более другими вариантами осуществления, описанными в настоящем документе, или быть включена в них. В некоторых вариантах реализации призма бокового смещения 1600 может использоваться с системой 100, показанной на ФИГ. 1, или быть включена в нее. В некоторых вариантах реализации призма бокового смещения 1600 может использоваться с оптической системой 200, показанной на ФИГ. 2, или быть включена в нее. В некоторых вариантах реализации призма бокового смещения 1600 может использоваться с оптической системой 500, показанной на ФИГ. 5, или быть включена в нее. В некоторых вариантах реализации призма бокового смещения 1600 может использоваться с оптической системой 800, показанной на ФИГ. 8A, или быть включена в нее. В некоторых вариантах реализации призма бокового смещения 1600 может использоваться с оптической системой 820, показанной на ФИГ. 8B, или быть включена в нее. В некоторых вариантах реализации призма бокового смещения 1600 может использоваться с оптической системой 1100, показанной на ФИГ. 11, или быть включена в нее. В некоторых вариантах реализации призма бокового смещения 1600 может использоваться с оптической системой 1200, показанной на ФИГ. 12, или быть включена в нее. В некоторых вариантах реализации призма бокового смещения 1600 может использоваться с оптической системой 1300, показанной на ФИГ. 13, или быть включена в нее. В некоторых вариантах реализации призма бокового смещения 1600 может использоваться с оптической системой 1400, показанной на ФИГ. 14, или быть включена в нее. В некоторых вариантах реализации призма бокового смещения 1600 может использоваться с модулем визуализации 1800, показанным на ФИГ. 18 и 19A-19В. В некоторых вариантах реализации призма бокового смещения 1600 может использоваться с модулем визуализации 2100, показанным на ФИГ. 21, или быть включена в него. В некоторых вариантах реализации призма бокового смещения 1600 может использоваться с модулем визуализации 2200, показанным на ФИГ. 22, или быть включена в него. В некоторых вариантах реализации призма бокового смещения 1600 может использоваться с модулем визуализации 2400, показанным на ФИГ. 24, или быть включена в него. В некоторых вариантах реализации призма бокового смещения 1600 может использоваться с оптической системой 2500, показанной на ФИГ. 25, или быть включена в нее. В некоторых вариантах реализации призма бокового смещения 1600 может использоваться с оптической системой 2600, показанной на ФИГ. 26, или быть включена в нее. В некоторых вариантах реализации призма бокового смещения 1600 может использоваться с отражающим компонентом 2700, показанным на ФИГ. 27. В некоторых вариантах реализации призма бокового смещения 1600 может использоваться с отражающим компонентом 2800, показанным на ФИГ. 28. В некоторых вариантах реализации призма бокового смещения 1600 может генерировать свет 2900 автофокусировки, показанный на ФИГ. 29. В некоторых вариантах реализации призма бокового смещения 1600 может генерировать свет 3000 автофокусировки, показанный на ФИГ. 30. В некоторых вариантах реализации призма бокового смещения 1600 может генерировать свет 3100 автофокусировки, показанный на ФИГ. 31A-31C. В некоторых вариантах реализации призма бокового смещения 1600 может использоваться с теплопоглотителем 3200 лазерного двигателя, показанным на ФИГ. 32А-32С. В некоторых вариантах реализации призма бокового смещения 1600 может использоваться с теплопоглотителем 3300 лазерного двигателя, показанным на ФИГ. 33A-33C. В некоторых вариантах реализации призма бокового смещения 1600 может использоваться с узлом SIM 3400, показанным на ФИГ. 34. В некоторых вариантах реализации призма бокового смещения 1600 может использоваться со RIGS 3500, показанным на ФИГ. 35. В некоторых вариантах реализации призма бокового смещения 1600 может использоваться со RIGS 3600, показанным на ФИГ. 36. В некоторых вариантах реализации призма 1600 бокового смещения может использоваться с пьезофазовращателем 3700, показанным на ФИГ. 37. В некоторых вариантах реализации призма 1600 бокового смещения может использоваться с пьезофазовращателем 3800, показанным на ФИГ. 38. В некоторых вариантах реализации призма бокового смещения 1600 может использоваться с проекционной линзой 3900, показанной на ФИГ. 39. В некоторых вариантах реализации призма бокового смещения 1600 может использоваться с проекционной линзой 4000, показанной на ФИГ. 40.
[00203] Призма бокового смещения 1600 включает в себя частично отражающий слой 1602. В некоторых вариантах реализации призма бокового смещения 1600 может быть изготовлена путем сборки элемента призмы 1604A и элемента призмы 1604B друг с другом с частично отражающим слоем 1602, расположенным на соединении между двумя элементами призмы, причем элементы призмы 1604A-1604B по меньшей мере, по существу, идентичны друг другу. Каждый из элементов призмы 1604A-1604B имеет параллелограммовидный профиль, если смотреть на текущую иллюстрацию. В некоторых примерах осуществления элемент призмы 1604A является четырехсторонним, имеющим параллельные друг другу стороны 1606A и сторону 1606B и параллельные друг другу стороны 1606C и сторону 1606D. В некоторых примерах осуществления элемент призмы 1604B является четырехсторонним, имеющим параллельные друг другу стороны 1608A и сторону 1608B и параллельные друг другу стороны 1608C и сторону 1608D. Узел элементов призмы 1604A-1604B с частично отражающим слоем 1602 также имеет параллелограммовидный профиль, если смотреть на текущую иллюстрацию.
[00204] Призма бокового смещения 1600 включает в себя призму 1610 и призму 1612. Каждая из призм 1610-1612 может иметь клиновидный профиль. Например, клиновидный профиль может иметь треугольную форму. В некоторых вариантах реализации призма 1610 имеет сторону 1610A, которую можно считать выходной стороной призмы 1610. Например, сторона 1610B может быть противоположна стороне 1610A в призме 1610, и стороны 1610A-1610B могут образовывать ненулевой угол относительно друг друга. В некоторых вариантах реализации призма 1612 имеет сторону 1612A, которую можно считать выходной стороной призмы 1612. Например, сторона 1612B может быть противоположна стороне 1612A в призме 1612, и стороны 1612A-1612B могут образовывать ненулевой угол относительно друг друга. Призма бокового смещения 1600 может быть собрана путем помещения стороны 1610B призмы 1610 на сторону 1606B элемента призмы 1604A и помещения стороны 1612B призмы 1612 на сторону 1608B элемента призмы 1604B. В некоторых вариантах реализации это облегчает работу сторон 1610A и 1612A в качестве выходных поверхностей призмы бокового смещения 1600. Например, такая конструкция может обеспечивать призму бокового смещения 1600 выходными поверхностями, имеющими ненулевой угол относительно друг друга.
[00205] Призма бокового смещения 1600 может также или вместо этого включать в себя призму 1610’ и призму 1612’, например, как показано на ФИГ. 16B. Каждая из призм 1610’ и 1612’ может иметь клиновидный профиль. Например, клиновидный профиль может иметь форму усеченного треугольника. В некоторых вариантах реализации призма 1610’ имеет сторону 1610А’, которую можно рассматривать как выходную сторону призмы 1610’. Например, сторона 1610B’ может быть противоположна стороне 1610A’ в призме 1610’, а стороны 1610A’ и 1610B’ могут образовывать ненулевой угол относительно друг друга. В некоторых вариантах реализации призма 1612’ имеет сторону 1612A’, которую можно считать выходной стороной призмы 1612’. Например, сторона 1612B’ может быть противоположна стороне 1612A’ в призме 1612’, а стороны 1612A’ и 1612B’ могут образовывать ненулевой угол относительно друг друга. Призма бокового смещения 1600 может быть собрана путем помещения стороны 1610B призмы 1610 на сторону 1606B элемента призмы 1604A и помещения стороны 1612B призмы 1612 на сторону 1608B элемента призмы 1604B. В некоторых вариантах реализации это облегчает работу сторон 1610A’ и 1612A’ в качестве выходных поверхностей призмы бокового смещения 1600. Например, такая конструкция может обеспечивать призму бокового смещения 1600 выходными поверхностями, имеющими ненулевой угол относительно друг друга.
[00206] На ФИГ. 17 показан вариант светоделителя 1700. Разветвитель 1700 луча может использоваться с одним или более другими вариантами осуществления, описанными в настоящем документе, или может быть включен в них. В некоторых вариантах реализации светоделитель 1700 может использоваться с системой 100, показанной на ФИГ. 1, или может быть включен в нее. В некоторых вариантах реализации светоделитель 1700 может использоваться с оптической системой 200, показанной на ФИГ. 2, или может быть включен в нее. В некоторых вариантах реализации светоделитель 1700 может использоваться с оптической системой 500, показанной на ФИГ. 5, или может быть включен в нее. В некоторых вариантах реализации светоделитель 1700 может использоваться с оптической системой 800, показанной на ФИГ. 8A, или может быть включен в нее. В некоторых вариантах реализации светоделитель 1700 может использоваться с оптической системой 820, показанной на ФИГ. 8B, или может быть включен в нее. В некоторых вариантах реализации светоделитель 1700 может использоваться с оптической системой 1100, показанной на ФИГ. 11, или может быть включен в нее. В некоторых вариантах реализации светоделитель 1700 может использоваться с оптической системой 1200, показанной на ФИГ. 12, или может быть включен в нее. В некоторых вариантах реализации светоделитель 1700 может использоваться с оптической системой 1300, показанной на ФИГ. 13, или может быть включен в нее. В некоторых вариантах реализации светоделитель 1700 может использоваться с оптической системой 1400, показанной на ФИГ. 14, или может быть включен в нее. В некоторых вариантах реализации светоделитель 1700 может использоваться с модулем 1800 визуализации, показанным на ФИГ. 18 и 19A-19В. В некоторых вариантах реализации светоделитель 1700 может использоваться с модулем 2100 визуализации, показанным на ФИГ. 21, или может быть включен в него. В некоторых вариантах реализации светоделитель 1700 может использоваться с модулем 2200 визуализации, показанным на ФИГ. 22, или может быть включен в него. В некоторых вариантах реализации светоделитель 1700 может использоваться с модулем 2400 визуализации, показанным на ФИГ. 24, или может быть включен в него. В некоторых вариантах реализации светоделитель 1700 может использоваться с оптической системой 2500, показанной на ФИГ. 25, или может быть включен в нее. В некоторых вариантах реализации светоделитель 1700 может использоваться с оптической системой 2600, показанной на ФИГ. 26, или может быть включен в нее. В некоторых вариантах реализации светоделитель 1700 может использоваться с отражающим компонентом 2700, показанным на ФИГ. 27. В некоторых вариантах реализации светоделитель 1700 может использоваться с отражающим компонентом 2800, показанным на ФИГ. 28. В некоторых вариантах реализации светоделитель 1700 может генерировать свет 2900 автофокусировки на ФИГ. 29. В некоторых вариантах реализации светоделитель 1700 может генерировать свет 3000 автофокусировки на ФИГ. 30. В некоторых вариантах реализации светоделитель 1700 может генерировать свет 3100 автофокусировки, показанный на ФИГ. 31A-31C. В некоторых вариантах реализации светоделитель 1700 может использоваться с теплопоглотителем 3200 лазерного двигателя, показанным на ФИГ. 32А-32С. В некоторых вариантах реализации светоделитель 1700 может использоваться с теплопоглотителем 3300 лазерного двигателя, показанным на ФИГ. 33A-33C. В некоторых вариантах реализации светоделитель 1700 может использоваться с SIM-узлом 3400 на ФИГ. 34. В некоторых вариантах реализации светоделитель 1700 может использоваться с RIGS 3500, показанным на ФИГ. 35. В некоторых вариантах реализации светоделитель 1700 может использоваться с RIGS 3600, показанным на ФИГ. 36. В некоторых вариантах реализации светоделитель 1700 может использоваться с пьезофазовращателем 3700 на ФИГ. 37. В некоторых вариантах реализации светоделитель 1700 может использоваться с пьезофазовращателем 3800 на ФИГ. 38. В некоторых вариантах реализации светоделитель 1700 луча может использоваться с проекционной линзой 3900 на ФИГ. 39. В некоторых вариантах реализации светоделитель 1700 луча может использоваться с проекционной линзой 4000 на ФИГ. 40.
[00207] Светоделитель 1700 включает в себя частично отражающий слой 1702. Светоделитель 1700 включает в себя отражающую поверхность 1704 и отражающую поверхность 1706. Свет 1708 может поступать в светоделитель 1700. Например, свет 1708 представляет собой свет автофокусировки, генерируемый источником света (например, лазерным диодом). После отражения на отражающей поверхности 1704 свет 1708 может падать на частично отражающий слой 1702. В результате свет 1708A, отраженный от частично отражающего слоя 1702, может быть образован светоделителем 1700. Кроме того, свет 1708B может проходить на частично отражающем слое 1702 и отражаться на отражающей поверхности 1706. Свет 1708A и свет 1708B расходятся под заданным углом друг к другу.
[00208] На ФИГ. 18 представлен вариант осуществления модуля визуализации 1800. Модуль 1800 визуализации может включать один или более других вариантов осуществления, описанных в настоящем документе, или может использоваться с ними. В некоторых вариантах реализации модуль 1800 визуализации может включать в себя или использоваться с системой 4200, показанной на ФИГ. 42. В некоторых вариантах реализации модуль 1800 визуализации может включать в себя или использоваться с по меньшей мере некоторыми компонентами вычислительного устройства 4300, показанного на ФИГ. 43. В некоторых вариантах реализации модуль 1800 визуализации может быть включен в систему 100, показанную на ФИГ. 1. В некоторых вариантах реализации модуль 1800 визуализации может включать или использоваться с оптической системой 200, показанной на ФИГ. 2. В некоторых вариантах реализации модуль 1800 визуализации может включать в себя оптическую систему 500, показанную на ФИГ. 5, или использоваться с ней. В некоторых вариантах реализации модуль 1800 визуализации может включать в себя оптическую систему 800, показанную на ФИГ. 8A, или использоваться с ней. В некоторых вариантах реализации модуль 1800 визуализации может включать или использоваться с оптической системой 820, показанной на ФИГ. 8B. В некоторых вариантах реализации модуль 1800 визуализации может включать в себя или использоваться с призмой бокового смещения 1000, показанной на ФИГ. 10A-10C. В некоторых вариантах реализации модуль 1800 визуализации может включать в себя оптическую систему 1100, показанную на ФИГ. 11, или использоваться с ней. В некоторых вариантах реализации модуль 1800 визуализации может включать в себя оптическую систему 1200, показанную на ФИГ. 12, или использоваться с ней. В некоторых вариантах реализации модуль 1800 визуализации может включать в себя оптическую систему 1300, показанную на ФИГ. 13, или использоваться с ней. В некоторых вариантах реализации модуль 1800 визуализации может включать в себя оптическую систему 1400, показанную на ФИГ. 14, или использоваться с ней. В некоторых вариантах реализации модуль 1800 визуализации может включать в себя или использоваться с призмой бокового смещения 1600, показанной на ФИГ. 16A-16В. В некоторых вариантах реализации модуль 1800 визуализации может включать в себя или использоваться со светоделителем 1700 на ФИГ. 17. В некоторых вариантах реализации модуль 1800 визуализации может включать или использоваться с модулем 1800 визуализации, показанным на ФИГ. 18 и 19A-19В. В некоторых вариантах реализации модуль 1800 визуализации может включать в себя или использоваться с SIM-узлом 2000, показанным на ФИГ. 20. В некоторых вариантах реализации модуль 1800 визуализации может включать или использоваться с модулем 2100 визуализации, показанным на ФИГ. 21. В некоторых вариантах реализации модуль 1800 визуализации может включать или использоваться с модулем 2200 визуализации, показанным на ФИГ. 22. В некоторых вариантах реализации модуль 1800 визуализации может включать или использоваться с модулем 2400 визуализации, показанным на ФИГ. 24. В некоторых вариантах реализации модуль 1800 визуализации может включать в себя оптическую систему 2500, показанную на ФИГ. 25, или использоваться с ней. В некоторых вариантах реализации модуль 1800 визуализации может включать в себя оптическую систему 2600, показанную на ФИГ. 26, или использоваться с ней. В некоторых вариантах реализации модуль 1800 визуализации может включать в себя отражающий компонент 2700, показанный на ФИГ. 27, или может использоваться с ним. В некоторых вариантах реализации модуль 1800 визуализации может включать в себя отражающий компонент 2800, показанный на ФИГ. 28, или может использоваться с ним. В некоторых вариантах реализации модуль 1800 визуализации может генерировать свет 2900 автофокусировки, показанный на ФИГ. 29. В некоторых вариантах реализации модуль 1800 визуализации может генерировать свет 3000 автофокусировки, показанный на ФИГ. 30. В некоторых вариантах реализации модуль 1800 визуализации может генерировать свет 3100 автофокусировки, показанный на ФИГ. 31A-31C. В некоторых вариантах реализации модуль визуализации 1800 может включать в себя теплопоглотитель лазерного двигателя 3200, показанный на ФИГ. 32А-32С. В некоторых вариантах реализации модуль визуализации 1800 может включать в себя теплопоглотитель лазерного двигателя 3300, показанный на ФИГ. 33A-33C. В некоторых вариантах реализации модуль 1800 визуализации может включать в себя или использоваться с SIM-узлом 3400, показанным на ФИГ. 34. В некоторых вариантах реализации модуль 1800 визуализации может включать в себя или использоваться с RIGS 3500, показанным на ФИГ. 35. В некоторых вариантах реализации модуль 1800 визуализации может включать в себя или использоваться с RIGS 3600, показанным на ФИГ. 36. В некоторых вариантах реализации модуль 1800 визуализации может включать в себя или использоваться с пьезофазовращателем 3700, показанным на ФИГ. 37. В некоторых вариантах реализации модуль 1800 визуализации может включать в себя или использоваться с пьезофазовращателем 3800, показанным на ФИГ. 38. В некоторых вариантах реализации модуль 1800 визуализации может включать в себя или использоваться с проекционной линзой 3900, показанной на ФИГ. 39. В некоторых вариантах реализации модуль 1800 визуализации может включать в себя или использоваться с проекционной линзой 4000, показанной на ФИГ. 40. В некоторых вариантах реализации модуль 1800 визуализации может генерировать поле 4100 обзора, показанное на ФИГ. 41.
[00209] Модуль 1800 визуализации включает множество компонентов и/или устройств, которые могут быть интегрированы для когерентного функционирования в качестве системы для выполнения одной или более задач. В некоторых вариантах реализации модуль 1800 визуализации выполняет визуализацию в рамках анализа пробы. Например, модуль 1800 визуализации может обнаруживать флуоресценцию, испускаемую образцом генетического материала. Модуль 1800 визуализации включает SIM-узел 1802, который лишь частично виден на настоящем виде. Например, SIM-узел может генерировать пространственно структурированный свет для освещения материала пробы. Модуль 1800 визуализации включает объектив 1804. В некоторых вариантах реализации объектив 1804 может передавать SIM-свет от SIM-узла 1802 и подавать SIM-свет на подложку (не показана), содержащую пробу. Модуль визуализации 1800 включает z-ступень 1806. В некоторых вариантах реализации z-ступень 1806 может изменять (например, увеличивать или уменьшать) расстояние (в настоящем документе называемое z-расстоянием) между объективом 1804 и подложкой, содержащей образец.
[00210] Модуль 1800 визуализации может включать одну или более частей корпуса. В некоторых вариантах реализации корпус может, по существу, заключать в себе компоненты модуля 1800 визуализации. Например, корпус 1808 может по меньшей мере частично заключать в себе SIM-узел 1802. В качестве другого примера корпус 1810 может по меньшей мере частично охватывать излучающие оптические элементы модуля 1800 визуализации (например, одну или более трубчатых линз и/или датчик.) В качестве другого примера, корпус 1812 может по меньшей мере частично заключать в себе SIM-узел 1802 и/или по меньшей мере частично заключать в себе обнаруживающие оптические элементы.
[00211] Один или более корпусов могут отсутствовать в модуле 1800 визуализации, что может сделать некоторые из компонентов видимыми. Это может происходить в процессе сборки и/или в процессе технического обслуживания или ремонта, и это лишь несколько примеров. На ФИГ. 19A-19В представлен вариант осуществления модуля 1800 визуализации, показанного на ФИГ. 18. Модуль 1800 визуализации показан в частично или полностью разобранном состоянии. Например, корпуса 1808 и 1810 (ФИГ. 18) в настоящее время отсутствуют в модуле 1800 визуализации. По меньшей мере частично на данном виде виден SIM-узел 1802, модуль 1814 автофокусировки, компенсатор 1816 и излучающие оптические элементы 1818. SIM-узел 1802, модуль 1814 автофокусировки, компенсатор 1816 и излучающие оптические элементы 1818, а также объектив 1804 можно использовать, когда модуль 1800 визуализации (в рабочем состоянии) выполняет визуализацию подложки 1820, показанной в иллюстративных целях. Например, модуль 1814 автофокусировки может выполнять одну или более функций автофокусировки, описанных в других разделах настоящего документа.
[00212] В некоторых вариантах реализации излучающие оптические элементы 1818 включают в себя узел 1822 фильтров. Узел 1822 фильтров может включать в себя, по меньшей мере, один фильтр. Например, узел 1822 фильтров может включать в себя один или более фильтров 212, показанных на ФИГ. 2, или фильтров 506, показанных на ФИГ. 5. В некоторых вариантах реализации излучающие оптические элементы 1818 включают в себя трубчатую линзу 1824. Например, трубчатая линза 1824 может представлять собой одну или более из трубчатой линзы 214, показанной на ФИГ. 2, трубчатой линзы 508, показанной на ФИГ. 5, или трубчатой линзы 802, показанной на ФИГ. 8A. Трубчатая линза 1824 может быть назначена каналу детектора синего цвета. В некоторых вариантах реализации излучающие оптические элементы 1818 включают в себя трубчатую линзу 1826. Трубчатая линза 1826 может быть назначена зеленому каналу детектора. Например, трубчатая линза 1826 может представлять собой одну или более из трубчатой линзы 214, показанной на ФИГ. 2, трубчатой линзы 508, показанной на ФИГ. 5, или трубчатой линзы 802, показанной на ФИГ. 8A. В некоторых вариантах реализации излучающие оптические элементы 1818 включают в себя узел 1828 фильтров. Например, узел 1828 фильтров может включать в себя одно или более из: фильтра 216, отражающего компонента 226 или структуры 228, показанной на ФИГ. 2. В качестве другого примера узел 1828 фильтров может включать в себя одно или более из: фильтра 510, отражающего компонента 516 или структуры 518, показанной на ФИГ. 5. В качестве другого примера узел 1828 фильтров может включать в себя одно или более из: фильтра 804, отражающих компонентов 810A-810B или структуры 812, показанной на ФИГ. 8A.
[00213] В некоторых вариантах реализации излучающие оптические элементы 1818 включают в себя узел 1830 датчиков. Узел 1830 датчиков может быть назначен каналу детектора синего цвета. Узел 1830 датчиков может включать в себя один или более датчиков для излучения света и/или света автофокусировки. Например, узел 1830 датчиков может включать в себя один или более датчиков 120, показанных на ФИГ. 1; датчик 220, показанный на ФИГ. 2; датчик 514, показанный на ФИГ. 5; датчик 808, показанный на ФИГ. 5; датчик 1112, показанный на ФИГ. 11; датчик 1214, показанный на ФИГ. 12; датчик 1314, показанный на ФИГ. 13; или датчик 1416, показанный на ФИГ. 14. В некоторых вариантах реализации излучающие оптические элементы 1818 включают в себя узел 1832 датчиков. Узел 1832 датчиков может быть назначен каналу зеленого детектора. Узел 1832 датчиков может включать в себя один или более датчиков для излучения света и/или света автофокусировки. Например, узел 1832 датчиков может включать в себя один или более датчиков 120, показанных на ФИГ. 1; датчик 220, показанный на ФИГ. 2; датчик 514, показанный на ФИГ. 5; датчик 808, показанный на ФИГ. 5; датчик 1112, показанный на ФИГ. 11; датчик 1214, показанный на ФИГ. 12; датчик 1314, показанный на ФИГ. 13; или датчик 1416, показанный на ФИГ. 14.
[00214] На ФИГ. 20 показан вариант осуществления SIM-узла 2000. SIM-узел 2000 может использоваться с одним или более другими вариантами осуществления, описанными в настоящем документе, или может быть включен в них. В некоторых вариантах реализации SIM-узел 2000 может использоваться с системой 100, показанной на ФИГ. 1, или быть включен в нее. В некоторых вариантах реализации SIM-узел 2000 может использоваться с оптической системой 200, показанной на ФИГ. 2, или быть включен в нее. В некоторых вариантах реализации SIM-узел 2000 может использоваться с оптической системой 500, показанной на ФИГ. 5, или быть включен в нее. В некоторых вариантах реализации SIM-узел 2000 может использоваться с оптической системой 820, показанной на ФИГ. 8B, или быть включен в нее. В некоторых вариантах реализации SIM-узел 2000 может использоваться с оптической системой 1100, показанной на ФИГ. 11, или быть включен в нее. В некоторых вариантах реализации SIM-узел 2000 может использоваться с оптической системой 1200, показанной на ФИГ. 12, или быть включен в нее. В некоторых вариантах реализации SIM-узел 2000 может использоваться с оптической системой 1300, показанной на ФИГ. 13, или быть включен в нее. В некоторых вариантах реализации SIM-узел 2000 может использоваться с оптической системой 1400, показанной на ФИГ. 14, или быть включен в нее. В некоторых вариантах реализации SIM-узел 2000 можно использовать с модулем 1800 визуализации, показанным на ФИГ. 18 или 19A-19В. В некоторых вариантах реализации SIM-узел 2000 может использоваться с модулем 2100 визуализации, показанным на ФИГ. 21, или быть включен в него. В некоторых вариантах реализации SIM-узел 2000 может использоваться с модулем 2200 визуализации, показанным на ФИГ. 22, или быть включен в него. В некоторых вариантах реализации SIM-узел 2000 может включать в себя или использоваться с модулем 2400 визуализации, показанным на ФИГ. 24. В некоторых вариантах реализации SIM-узел 2000 может включать в себя оптическую систему 2500, показанную на ФИГ. 25, или может использоваться с ней. В некоторых вариантах реализации SIM-узел 2000 может включать в себя оптическую систему 2600, показанную на ФИГ. 26, или может использоваться с ней. В некоторых вариантах реализации SIM-узел 2000 может включать в себя отражающий компонент 2700, показанный на ФИГ. 27, или может использоваться с ним. В некоторых вариантах реализации SIM-узел 2000 может включать в себя отражающий компонент 2800, показанный на ФИГ. 28, или может использоваться с ним. В некоторых вариантах реализации SIM-узел 2000 может генерировать свет 2900 автофокусировки, показанный на ФИГ. 29. В некоторых вариантах реализации SIM-узел 2000 может генерировать свет 3000 автофокусировки, показанный на ФИГ. 30. В некоторых вариантах реализации SIM-узел 2000 может генерировать свет 3100 автофокусировки, показанный на ФИГ. 31A-31C. В некоторых вариантах реализации SIM-узел 2000 можно использовать с теплопоглотителем 3200 лазерного двигателя, показанным на ФИГ. 32А-32С. В некоторых вариантах реализации SIM-узел 2000 можно использовать с теплопоглотителем 3300 лазерного двигателя, показанным на ФИГ. 33A-33C. В некоторых вариантах реализации SIM-узел 2000 может включать в себя или использоваться с SIM-узлом 3400, показанным на ФИГ. 34. В некоторых вариантах реализации SIM-узел 2000 может включать в себя или использоваться с RIGS 3500, показанным на ФИГ. 35. В некоторых вариантах реализации SIM-узел 2000 может включать в себя или использоваться с RIGS 3600, показанным на ФИГ. 36. В некоторых вариантах реализации SIM-узел 2000 может включать в себя или использоваться с пьезофазовращателем 3700, показанным на ФИГ. 37. В некоторых вариантах реализации SIM-узел 2000 может включать в себя или использоваться с пьезофазовращателем 3800, показанным на ФИГ. 38. В некоторых вариантах реализации SIM-узел 2000 может включать в себя или использоваться с проекционной линзой 3900, показанной на ФИГ. 39. В некоторых вариантах реализации SIM-узел 2000 может включать в себя или использоваться с проекционной линзой 4000, показанной на ФИГ. 40. В некоторых вариантах реализации SIM-узел 2000 может генерировать поле 4100 обзора, показанное на ФИГ. 41.
[00215] SIM-узел 2000 включает в себя поворотное зеркало 2002. SIM-узел 2000 включает в себя источник света 2004. В некоторых вариантах реализации источник 2004 света подает свет, который он, в свою очередь, принимает через по меньшей мере один оптоволоконный кабель 2006. Например, источник 2004 света и оптоволоконный кабель 2006 в совокупности можно рассматривать как модуль запуска волокон. SIM-узел 2000 содержит корпус 2008 и решетку 2010. В некоторых вариантах реализации решетка 2008 и/или 2010 может служить дифракционным компонентом в отношении света, исходящего от источника света 2004. Например, решетка 2008 и/или 2010 может содержать подложку с периодической структурой, которая сочетается с призмой. Решетки 2008 и 2010 могут быть расположены относительно друг друга в соответствии с одной или более конструкциями. Здесь решетки 2008 и 2010 обращены друг к другу в SIM-узле 2000. Решетки 2008 и 2010 могут быть, по существу, идентичными друг другу или могут иметь одно или более отличий. Размер, периодичность или другой пространственный аспект одной из решеток 2008 и 2010 могут отличаться от размера/периодичности другой. Ориентация решетки (т. е. пространственная ориентация периодической структуры) одной из решеток 2008 и 2010 может отличаться от ориентации решетки/другой. В некоторых вариантах реализации соответствующие ориентации решеток 2008 и 2010, в которых сами решетки обращены друг к другу, могут быть, по существу, перпендикулярны друг другу или расположены под любым другим углом относительно друг друга. В некоторых вариантах реализации решетки 2008 и 2010 могут находиться в смещенных положениях относительно поворотного зеркала 2002. В некоторых вариантах реализации решетки 2008 и/или 2010 могут находиться в фиксированном положении относительно источника света 2004.
[00216] SIM-узел 2000 может включать в себя один или более компонентов (например, в качестве селектора фазы) для облегчения выбора фазы в отношении света, который должен быть применен к пробе. В данном случае SIM-узел 2000 включает в себя фазовращатель 2012. В некоторых вариантах реализации фазовращатель 2012 включает в себя пьезофазовращатель. Например, фазовращатель 2012 может принимать свет от решетки 2008 и/или 2010 и может выполнять выбор фазы по отношению к некоторым или всем данному свету. Например, фазовращатель 2012 можно использовать для управления фазой рисунка структурированного света, с помощью которого следует захватить конкретное изображение. Фазовращатель 2012 может включать в себя пьезопривод. Например, для осуществления выбора фазы можно использовать пьезопоршневую систему. Можно использовать и другие подходы. Например, для выбора фазы можно использовать наклонную оптическую пластину. Например, SIM-узел 2000 реализован в настоящем документе на плате 2014, и одна или более зон платы 2014 могут быть наклонены для осуществления выбора фазы. В качестве другого примера, одна или более решеток 2008 и 2010 могут перемещаться (например, преобразовываться) для выбора фазы, например, с помощью пьезопривода. Свет, исходящий от фазовращателя 2012, иногда называют выбранным по фазе светом, чтобы указывать на то, что свет был кондиционирован в соответствии с конкретным выбором фазы. В некоторых вариантах реализации решетки 2008 и/или 2010 могут находиться в фиксированном положении относительно источника света 2004.
[00217] SIM-узел 2000 включает в себя проекционную линзу 2016, которая может включать в себя один или более оптических компонентов (например, линзу) для нормирования света, принятого от фазовращателя 2012. Например, проекционная линза 2016 может управлять характеристиками света до того, как свет попадет в линзу объектива (например, объектив 204 на ФИГ. 2).
[00218] Поворотное зеркало 2002 можно использовать для перенаправления по меньшей мере одного пучка света к одной или более решеткам 2008 или 2010 и/или от них. Поворотное зеркало 2002 может включать в себя один или более материалов, чтобы обеспечивать достаточную отражающую электромагнитные волны, с помощью которых подлежит освещению пробы. В некоторых вариантах реализации свет от источника 2004 света включает в себя лазерный луч одной или более длин волн. Например, можно использовать зеркало с металлическим покрытием и/или диэлектрическое зеркало. Поворотное зеркало 2002 может быть двусторонним. Например, поворотное зеркало 2002 может считаться двусторонним, если оно способно выполнять отражение по меньшей мере на части обеих его сторон (например, отражение на первом конце для первого пути луча и отражение на втором конце, противоположном первому концу, для второго пути луча).
[00219] Поворотное зеркало 2002 может включать в себя удлиненный элемент. Поворотное зеркало 2002 может иметь любой из множества форм-факторов или других форм-характеристик. Поворотное зеркало 2002 может иметь, по существу, плоскую конфигурацию. Поворотное зеркало 2002 может иметь, по существу, квадратную или иную прямоугольную форму. Поворотное зеркало 2002 может иметь закругленные углы. Поворотное зеркало 2002 может иметь, по существу, постоянную толщину. Отражающие поверхности поворотного зеркала 2002 могут быть, по существу, плоскими.
[00220] Поворотное зеркало 2002 может поддерживаться осью 2018 SIM-узла 2000. Ось 2018 может обеспечивать поворот поворотного зеркала 2002 вокруг оси 2018 в любом или обоих направлениях. Ось 2018 может быть изготовлена из материала с достаточной жесткостью, чтобы удерживать поворотное зеркало 2002 и манипулировать им, причем такой(-ие) материал(-ы) включает(-ют) в себя, без ограничений, металл. Ось 2018 может быть связана, по существу, с центром поворотного зеркала 2002. Например, поворотное зеркало 2002 может иметь отверстие в центре или вырез с одной стороны, достигающий центра, для облегчения соединения с осью 2018. Ось 2018 может проходить, по меньшей мере, по существу, к одной стороне поворотного зеркала 2002. В качестве другого примера ось 2018 может включать в себя отдельные части оси, которые связаны с соответствующими поверхностями поворотного зеркала 2002, без необходимости в каком-либо отверстии во вращающемся зеркале 2002. Ось 2018 может иметь по меньшей мере одну подвеску относительно панели 2014. Подвеска может быть расположена на концах оси 2018 с обеих сторон поворотного зеркала 2002. Подвеска может включать в себя подшипник или другой элемент, облегчающий работу с низким трением.
[00221] Поворотное зеркало 2002 может быть активировано для принятия одного или более положений. Для управления поворотным зеркалом 2002 можно использовать любую форму двигателя или другого исполнительного механизма. В некоторых вариантах реализации используется шаговый двигатель 2020. Шаговый двигатель 2020 может быть связан с осью 2018 и может применяться для обеспечения поворота оси 2018 и, таким образом, поворотного зеркала 2002 и принятия требуемого(-ых) положения(-й). В некоторых вариантах реализации поворотное зеркало 2002 вращается в том же направлении к новым положениям (например, всегда по часовой стрелке или всегда против часовой стрелки вокруг оси 2018 вращения). В некоторых вариантах реализации поворотное зеркало 2002 совершает возвратно-поступательные движения между двумя или более положениями (например, попеременно по часовой стрелке или против часовой стрелки вокруг оси 2018 вращения).
[00222] В некоторых вариантах реализации источник 2004 света может генерировать свет, который изначально проходит к зеркалу 2024. После отражения от зеркала 2024 свет распространяется на решетку 2010. Поворотное зеркало 2002 может быть расположено (например, ориентировано оси 2018 вращения) таким образом, что первый конец 2022 поворотного зеркала 2002 не прерывает свет. В настоящее время первый конец 2022 может быть расположен так же близко к объективу, как и свет, который может распространяться в плоскости чертежа. Таким образом, отражающая поверхность поворотного зеркала 2002, обращенная к источнику света 2004, в настоящее время не прерывает свет, поскольку первый конец 2022 не блокирует путь света. Таким образом, свет распространяется (через воздух, вакуум или другую жидкость) до достижения решетки 2010.
[00223] Свет взаимодействует с решеткой 2010 одним или более способами. В некоторых вариантах реализации свет подвергается дифракции на основании решетки 2010. Здесь свет, исходящий от решетки 2010, может представлять собой структурированный свет (например, свет, имеющий один или более структурированных разломов) на основании взаимодействия со светом. Свет, который исходит от решетки 2010, сначала распространяется, по существу, в направлении, по существу, к проекционной линзе 2016. Однако положение поворотного зеркала 2002 является таким, что второй конец 2026 поворотного зеркала 2002 прерывает свет. Второй конец 2026 может быть противоположен первому концу 2022. В некоторых вариантах реализации первый конец 2022 и второй конец 2026 могут быть расположены под любым углом относительно друг друга, например под любым углом от 0 градусов до 180 градусов. В настоящее время второй конец 2026 может быть расположен примерно так же близко к объективу, как и свет. Таким образом, отражающая поверхность поворотного зеркала 2002, обращенная к решетке 2010, прерывает свет, исходящий от решетки 2010, поскольку второй конец 2026 блокирует путь света. Таким образом, поворотное зеркало 2002 направляет свет к фазовращателю 2012.
[00224] Фазовращатель 2012 выполняет выбор фазы для света. Например, фазовращатель 2012 выбирает фазу шаблона, которой должна подвергаться проба при текущем освещении (например, для целей захвата одного или более конкретных изображений). Свет исходит от фазовращателя 2012 и распространяется к проекционной линзе 2016 и поступает в нее. Свет соответствует конкретному выбору фазы, выполненному с использованием фазовращателя 2012. Таким образом, свет можно охарактеризовать как выбранный по фазе свет. Затем свет может продолжать распространяться через систему, например, для освещения пробы.
[00225] В данном случае характеристики выбранных по фазе электромагнитных волн света, поступающего в проекционную линзу 2016, соответствуют тому, что свет рассеивается решеткой 2010 и что выбор фазы выполняется фазовращателем 2012. Кроме того, в данном случае решетка 2010 была задействована в результате расположения поворотного зеркала 2002 таким образом, что его второй конец 2026 прерывал свет, тогда как его первый конец 2022 не прерывал свет.
[00226] Предположим, что вместо этого поворачиваемое зеркало 2002 размещено в другом положении. В данном случае источник света 2004 излучает свет, который изначально отражается зеркалом 2024, а затем распространяется на решетку 2010. Поворотное зеркало 2002 расположено (например, ориентировано вокруг оси вращения оси 2018) так, что первый конец 2022 поворотного зеркала 2002 не прерывает свет. Первый конец 2022 может быть расположен также близко к объективу, как и свет. Таким образом, отражающая поверхность поворотного зеркала 2002, обращенная к источнику света 2004, прерывает свет, поскольку первый конец 2022 блокирует траекторию света. Таким образом, свет распространяется (через воздух, вакуум или другую жидкость) до достижения решетки 2008.
[00227] Свет взаимодействует с решеткой 2008 одним или более способами. В некоторых вариантах реализации свет подвергается дифракции на основании решетки 2008. Здесь свет представляет собой структурированный свет (например, имеющий один или более структурированных разломов), исходящий от решетки 2008 на основании взаимодействия со светом. Свет распространяется, по существу, в направлении к фазовращателю 2012. Положение поворотного зеркала 2002 такое, что второй конец 2026 поворотного зеркала 2002 не заслоняет свет. В настоящее время второй конец 2026 может быть расположен так же близко к объективу, как и свет. Таким образом, ни одна отражающая поверхность поворотного зеркала 2002 в настоящее время не заслоняет свет, поскольку второй конец 2026 не блокирует путь света. Таким образом, свет распространяется до фазовращателя 2012.
[00228] Фазовращатель 2012 выполняет выбор фазы для света. Например, фазовращатель 2012 выбирает фазу шаблона, которой должна подвергаться проба при текущем освещении (например, для целей захвата одного или более конкретных изображений). Свет исходит от фазовращателя 2012 и распространяется к проекционной линзе 2016 и поступает в нее. Свет соответствует конкретному выбору фазы, выполненному с использованием фазовращателя 2012. Таким образом, свет можно охарактеризовать как выбранный по фазе свет. Затем свет может продолжать распространяться через систему, например, для освещения пробы.
[00229] В данном случае характеристики выбранных по фазе электромагнитных волн света соответствуют тому факту, что излучение рассеивается решеткой 2008 и что выбор фазы выполняется фазовращателем 2012. Кроме того, в данном случае решетка 2008 была задействована в результате расположения поворотного зеркала 2002 таким образом, что его первый конец 2022 прерывает свет, тогда как его второй конец 2026 не заслоняет свет. Поворотное зеркало 2002 может многократно принимать различные положения за счет различных поворотов. Например, поворотное зеркало 2002 может совершать возвратно-поступательные движения между положениями. В качестве другого примера, поворотное зеркало 2002 может вращаться в одном и том же направлении (например, по часовой стрелке или против часовой стрелки, если смотреть на шаговый двигатель 2020) для многократного принятия положений.
[00230] SIM-узел 2000 может включать одну или более анаморфных призм 2028. Когда используется одиночная анаморфная призма, свет может выходить из призмы под углом. Пара анаморфных призм может быть расположена таким образом, чтобы выходящий свет был параллельным входящему свету. В некоторых вариантах реализации анаморфная(-ые) призма(-ы) 2028 может(могут) преобразовывать свет от источника 2004 света в один или более факторов. Свет от источника света 2004 (например, выходная поверхность оптоволоконного кабеля 2006) может иметь определенную геометрическую форму (например, квадратную форму), и этот свет следует визуализировать на проточной кювете и затем на датчик системы. Более того, датчик может иметь другую геометрическую форму (например, прямоугольную), чем свет от источника света 2004, а анаморфная(-ые) призма(-ы) может(могут) изменять форму света в зависимости от геометрической формы датчика. Например, анаморфная(-ые) призма(-ы) 2028 может(могут) растягивать поверхность из волокна квадратного сечения в волокно прямоугольного сечения. В качестве другого примера, анаморфная(-ые) призма(-ы) 2028 может(могут) преобразовывать эллиптический пучок в круговой пучок света и/или может (могут) преобразовывать круговой пучок света в эллиптический пучок. Недостаточная освещенность на плоскости образца может возникнуть в результате проблем, связанных с созданием прямоугольного освещающего пространства с использованием квадратного многомодового лазерного волокна для источника возбуждения. Такие технические проблемы могут приводить к снижению эффективности секвенирования, обусловленному меньшим сигналом от кластеров ДНК, достигающих датчика. Этого достигают путем уменьшения размера волокна квадратного сечения по одной оси путем применения по меньшей мере одной анаморфной призмы, включая, без ограничений, одну или более пар анаморфных призм. Хотя в некоторых случаях может быть реализовано специальное лазерное волокно прямоугольного сечения, волокно квадратного сечения может быть предпочтительным из-за технологичности и/или удобства обслуживания. То есть проблема, связанная с индивидуальным волокном, может быть связана с переносимостью. Согласование требуемой числовой апертуры может быть трудным и/или менее надежным на этапе предварительного формования волокна. Кроме того, из нестандартного прямоугольного волокна также может быть сложно сформировать сердцевину с размерами, необходимыми для получения требуемой площади освещения. Наконец, радиусы изгиба волокна относительно обеих осей специального волокна прямоугольного сечения могут быть менее известны, чем волокно квадратного сечения.
[00231] Площадь прямоугольного освещенного участка гарантирует, что вся мощность лазера достигает пробы, при этом все потери при прохождении сигнала возбуждения будут учитываться. Площадь лазерного освещения преобразуется из квадрата в прямоугольник с помощью пары анаморфных призм для данного проекта. Квадратная площадь не соответствовала размерам плитки плоскости пробы. Если полное квадратноге освещение достигает датчика, это может привести к ненужному освещению соседних плиток, что может преждевременно снизить интенсивность процесса. На ранних стадиях прототипа на пути возбуждения включали перегородку для фиксации верхней и нижней частей квадратной площади освещения, но это приводило к уменьшению плотности потока излучения волокном квадратного сечения. Вместо этого набор анаморфных пар призм включен в путь прохождения SIM-луча. Подразумевается, что размер плитки пробы, который составляет 0,9 × 1,2 мм, соответствует соотношению сторон датчика интегрированного модуля формирования изображения. Введение анаморфной пары призм приводит к увеличению выхода волокна квадратного сечения и формованию его в волокно прямоугольного сечения. Это позволяет оптимизировать мощность лазера, которая возбуждает образец. Это продемонстрировано сравнением поля обзора прямоугольного сечения и поля обзора квадратного сечения с площадью визуализирующей плитки. Это необходимо для того, чтобы определить, насколько большую мощность лазера может обеспечить прямоугольная площадь по сравнению с квадратной:
Перекрытие цилиндрического сечения с прямоугольным [%]=(Area_barrel)/(Area_rect)=0,968/1,08=0,896=89,6%.
Перекрытие цилиндрического сечения с квадратным [%]=(Area_barrel)/(Area_square)=0,968/1,44=0,672=67,2%.
[00232] Таким образом, при использовании пары анаморфных призм для изменения формы выхода волокна квадратного сечения увеличение оптической силы в процентах осуществляется по формуле: (% перекрытия прямоугольного сечения к цилиндрическому)/(% перекрытия квадратного сечения к цилиндрическому %)=89,6/67,2= 1,3333%. В результате реализации пары анаморфных призм ограничение верхней и нижней секций лазера больше не требуется, в то же время увеличивается освещенность в плоскости образца на 33%.
[00233] Шаговый двигатель 2020 может называться поворотным переключателем на плоской решетке (RIGS). В некоторых вариантах реализации шаговый двигатель 2020 приводит в действие ось 2018, которая вызывает вращение поворотного зеркала 2002 (т. е. «вращение» в RIGS). Поворотное зеркало 2002 вращается в пределах плоскости (т. е. «на плоскости» RIGS). Вращение поворотного зеркала 2002 приводит к использованию решетки 2008 или решетки 2010 (т. е. «переключателя решетки» RIGS).
[00234] На ФИГ. 21 представлен вариант осуществления модуля визуализации 2100. Модуль 2100 визуализации может использоваться с одним или более другими вариантами осуществления, описанными в настоящем документе, или может быть включен в них. В некоторых вариантах реализации модуль 2100 визуализации может включать в себя или использоваться с системой 4200, показанной на ФИГ. 42. В некоторых вариантах реализации модуль 2100 визуализации может включать в себя или использоваться с по меньшей мере некоторыми компонентами вычислительного устройства 4300, показанного на ФИГ. 43. В некоторых вариантах реализации модуль 2100 визуализации может использоваться с системой 100, показанной на ФИГ. 1, или может быть включен в нее. В некоторых вариантах реализации модуль 2100 визуализации может использоваться с оптической системой 200, показанной на ФИГ. 2, или может быть включен в нее. В некоторых вариантах реализации модуль 2100 визуализации может использоваться с оптической системой 500, показанной на ФИГ. 5, или может быть включен в нее. В некоторых вариантах реализации модуль 2100 визуализации может использоваться с оптической системой 820, показанной на ФИГ. 8B, или может быть включен в нее. В некоторых вариантах реализации модуль 2100 визуализации может использоваться с оптической системой 1100, показанной на ФИГ. 11, или может быть включен в нее. В некоторых вариантах реализации модуль 2100 визуализации может использоваться с оптической системой 1200, показанной на ФИГ. 12, или может быть включен в нее. В некоторых вариантах реализации модуль 2100 визуализации может использоваться с оптической системой 1300, показанной на ФИГ. 13, или может быть включен в нее. В некоторых вариантах реализации модуль 2100 визуализации может использоваться с оптической системой 1400, показанной на ФИГ. 14, или может быть включен в нее. В некоторых вариантах реализации модуль 2100 визуализации может использоваться с модулем 1800 визуализации, показанным на ФИГ. 18 или 19A-19В. В некоторых вариантах реализации модуль 2100 визуализации можно использовать с SIM-узлом 2000, показанным на ФИГ. 20. В некоторых вариантах реализации модуль 2100 визуализации можно использовать с модулем 2200 визуализации, показанным на ФИГ. 22. В некоторых вариантах реализации модуль 2100 визуализации может включать или использоваться с модулем 2400 визуализации, показанным на ФИГ. 24. В некоторых вариантах реализации модуль 2100 визуализации может включать в себя оптическую систему 2500, показанную на ФИГ. 25, или использоваться с ней. В некоторых вариантах реализации модуль 2100 визуализации может включать в себя оптическую систему 2600, показанную на ФИГ. 26, или использоваться с ней. В некоторых вариантах реализации модуль 2100 визуализации может включать в себя отражающий компонент 2700, показанный на ФИГ. 27, или может использоваться с ним. В некоторых вариантах реализации модуль 2100 визуализации может включать в себя отражающий компонент 2800, показанный на ФИГ. 28, или может использоваться с ним. В некоторых вариантах реализации модуль 2100 визуализации может генерировать свет 2900 автофокусировки, показанный на ФИГ. 29. В некоторых вариантах реализации модуль 2100 визуализации может генерировать свет 3000 автофокусировки, показанный на ФИГ. 30. В некоторых вариантах реализации модуль 2100 визуализации может генерировать свет 3100 автофокусировки, показанный на ФИГ. 31A-31C. В некоторых вариантах реализации модуль визуализации 2100 можно использовать с теплопоглотителем 3200 лазерного двигателя, показанным на ФИГ. 32А-32С. В некоторых вариантах реализации модуль визуализации 2100 можно использовать с теплопоглотителем 3300 лазерного двигателя, показанным на ФИГ. 33A-33C. В некоторых вариантах реализации модуль 2100 визуализации может включать в себя или использоваться с SIM-узлом 3400, показанным на ФИГ. 34. В некоторых вариантах реализации модуль 2100 визуализации может включать в себя или использоваться с RIGS 3500, показанным на ФИГ. 35. В некоторых вариантах реализации модуль 2100 визуализации может включать в себя или использоваться с RIGS 3600, показанным на ФИГ. 36. В некоторых вариантах реализации модуль 2100 визуализации может включать в себя или использоваться с пьезофазовращателем 3700, показанным на ФИГ. 37. В некоторых вариантах реализации модуль 2100 визуализации может включать в себя или использоваться с пьезофазовращателем 3800, показанным на ФИГ. 38. В некоторых вариантах реализации модуль 2100 визуализации может включать в себя или использоваться с проекционной линзой 3900, показанной на ФИГ. 39. В некоторых вариантах реализации модуль 2100 визуализации может включать в себя или использоваться с проекционной линзой 4000, показанной на ФИГ. 40. В некоторых вариантах реализации модуль 2100 визуализации может генерировать поле 4100 обзора, показанное на ФИГ. 41.
[00235] Модуль 2100 визуализации включает множество компонентов и/или устройств, которые могут быть интегрированы для когерентного функционирования в качестве системы для выполнения одной или более задач. В некоторых вариантах реализации модуль 2100 визуализации выполняет визуализацию в рамках анализа пробы. Например, модуль 2100 визуализации может обнаруживать флуоресценцию, испускаемую образцом генетического материала. Модуль 2100 визуализации включает SIM-узел 2102, который лишь частично виден на настоящем виде. Например, SIM-узел 2102 может генерировать пространственно структурированный свет для освещения материала пробы. Модуль 2100 визуализации включает объектив 2104. В некоторых вариантах реализации объектив 2104 может передавать SIM-свет от SIM-узла 2102 и подавать SIM-свет на подложку 2114, содержащую пробу. Модуль визуализации 2100 включает z-ступень 2106. В некоторых вариантах реализации z-ступень 2106 может изменять (например, увеличивать или уменьшать) расстояние (в настоящем документе называемое z-расстоянием) между объективом 2104 и подложкой, содержащей пробу.
[00236] Модуль 2100 визуализации может включать одну или более частей корпуса. В некоторых вариантах реализации корпус может, по существу, заключать в себе компоненты модуля 2100 визуализации. Например, корпус 2108 может по меньшей мере частично заключать в себе SIM-узел 2102. В качестве другого примера корпус 2110 может по меньшей мере частично охватывать излучающие оптические элементы модуля 2100 визуализации (например, одну или более трубчатых линз и/или датчик.) В качестве другого примера, корпус 2112 может по меньшей мере частично заключать в себе SIM-узел 2102 и/или по меньшей мере частично заключать в себе обнаруживающие оптические элементы.
[00237] Один или более корпусов могут отсутствовать в модуле 2100 визуализации, что может сделать некоторые из компонентов видимыми. Это может происходить в процессе сборки и/или в процессе технического обслуживания или ремонта, и это лишь несколько примеров.
[00238] В некоторых вариантах реализации один или более корпусов 2108, 2110 или 2112 модуля 2100 визуализации могут включать алюминий. Например, корпуса 2108, 2110 или 2112 могут включать в себя два куска приваренного алюминия, которые могут быть собраны с помощью боковых крепежных элементов. Допуски могут быть определены для монтажных отверстий, и сборка может включать в себя согласованное сверление в зависимости от ситуации. Варианты осуществления могут быть выполнены с возможностью уменьшения или устранения абсолютных наклонов камер, которые в противном случае могли бы привести к единичным колебаниям сил, приложенных к основной опорной пластине модуля 2100 визуализации.
[00239] На ФИГ. 22 представлен вариант осуществления модуля визуализации 2200. Модуль 2200 визуализации может использоваться с одним или более другими вариантами осуществления, описанными в настоящем документе, или может быть включен в них. В некоторых вариантах реализации модуль 2200 визуализации может включать в себя или использоваться с системой 4200, показанной на ФИГ. 42. В некоторых вариантах реализации модуль 2200 визуализации может включать в себя или использоваться с по меньшей мере некоторыми компонентами вычислительного устройства 4300, показанного на ФИГ. 43. В некоторых вариантах реализации модуль 2200 визуализации может использоваться с системой 100, показанной на ФИГ. 1, или может быть включен в нее. В некоторых вариантах реализации модуль 2200 визуализации может использоваться с оптической системой 200, показанной на ФИГ. 2, или может быть включен в нее. В некоторых вариантах реализации модуль 2200 визуализации может использоваться с оптической системой 500, показанной на ФИГ. 5, или может быть включен в нее. В некоторых вариантах реализации модуль 2200 визуализации может использоваться с оптической системой 820, показанной на ФИГ. 8B, или может быть включен в нее. В некоторых вариантах реализации модуль 2200 визуализации может использоваться с оптической системой 1100, показанной на ФИГ. 11, или может быть включен в нее. В некоторых вариантах реализации модуль 2200 визуализации может использоваться с оптической системой 1200, показанной на ФИГ. 12, или может быть включен в нее. В некоторых вариантах реализации модуль 2200 визуализации может использоваться с оптической системой 1300, показанной на ФИГ. 13, или может быть включен в нее. В некоторых вариантах реализации модуль 2200 визуализации может использоваться с оптической системой 1400, показанной на ФИГ. 14, или может быть включен в нее. В некоторых вариантах реализации модуль 2200 визуализации может использоваться с модулем 1800 визуализации, показанным на ФИГ. 18 или 19A-19В. В некоторых вариантах реализации модуль 2200 визуализации может быть использован с SIM-узлом 2000, показанным на ФИГ. 20, или включен в него. В некоторых вариантах реализации модуль 2200 визуализации может использоваться с модулем 2100 визуализации, показанным на ФИГ. 21, или может быть включен в него. В некоторых вариантах реализации модуль 2200 визуализации может включать или использоваться с модулем 2400 визуализации, показанным на ФИГ. 24. В некоторых вариантах реализации модуль 2200 визуализации может включать в себя оптическую систему 2500, показанную на ФИГ. 25, или использоваться с ней. В некоторых вариантах реализации модуль 2200 визуализации может включать в себя оптическую систему 2600, показанную на ФИГ. 26, или использоваться с ней. В некоторых вариантах реализации модуль 2200 визуализации может включать в себя отражающий компонент 2700, показанный на ФИГ. 27, или может использоваться с ним. В некоторых вариантах реализации модуль 2200 визуализации может включать в себя отражающий компонент 2800, показанный на ФИГ. 28, или может использоваться с ним. В некоторых вариантах реализации модуль 2200 визуализации может генерировать свет 2900 автофокусировки, показанный на ФИГ. 29. В некоторых вариантах реализации модуль 2200 визуализации может генерировать свет 3000 автофокусировки, показанный на ФИГ. 30. В некоторых вариантах реализации модуль 2200 визуализации может генерировать свет 3100 автофокусировки, показанный на ФИГ. 31A-31C. В некоторых вариантах реализации модуль визуализации 2200 можно использовать с теплопоглотителем 3200 лазерного двигателя, показанным на ФИГ. 32А-32С. В некоторых вариантах реализации модуль визуализации 2200 можно использовать с теплопоглотителем 3300 лазерного двигателя, показанным на ФИГ. 33A-33C. В некоторых вариантах реализации модуль 2200 визуализации может включать в себя или использоваться с SIM-узлом 3400, показанным на ФИГ. 34. В некоторых вариантах реализации модуль 2200 визуализации может включать в себя или использоваться с RIGS 3500, показанным на ФИГ. 35. В некоторых вариантах реализации модуль 2200 визуализации может включать в себя или использоваться с RIGS 3600, показанным на ФИГ. 36. В некоторых вариантах реализации модуль 2200 визуализации может включать в себя или использоваться с пьезофазовращателем 3700, показанным на ФИГ. 37. В некоторых вариантах реализации модуль 2200 визуализации может включать в себя или использоваться с пьезофазовращателем 3800, показанным на ФИГ. 38. В некоторых вариантах реализации модуль 2200 визуализации может включать в себя или использоваться с проекционной линзой 3900, показанной на ФИГ. 39. В некоторых вариантах реализации модуль 2200 визуализации может включать в себя или использоваться с проекционной линзой 4000, показанной на ФИГ. 40. В некоторых вариантах реализации модуль 2200 визуализации может генерировать поле 4100 обзора, показанное на ФИГ. 41.
[00240] Модуль 2200 визуализации включает множество компонентов и/или устройств, которые могут быть интегрированы для когерентного функционирования в качестве системы для выполнения одной или более задач. В некоторых вариантах реализации модуль 2200 визуализации выполняет визуализацию в рамках анализа пробы. Например, модуль 2200 визуализации может обнаруживать флуоресценцию, испускаемую пробой генетического материала. Модуль 2200 визуализации включает SIM-узел 2202, который лишь частично виден в текущем представлении. Например, SIM-узел 2202 может генерировать пространственно структурированный свет для освещения материала пробы. Модуль 2200 визуализации включает объектив 2204. В некоторых вариантах реализации объектив 2204 может передавать SIM-свет от SIM-узла 2202 и подавать SIM-свет на подложку (не показана), содержащую пробу. Модуль визуализации 2200 включает z-ступень 2206. В некоторых вариантах реализации z-ступень 2206 может изменять (например, увеличивать или уменьшать) расстояние (в настоящем документе называемое z-расстоянием) между объективом 2204 и подложкой, содержащей пробу.
[00241] Модуль 2200 визуализации может включать одну или более частей корпуса. В некоторых вариантах реализации корпус может, по существу, заключать в себе компоненты модуля 2200 визуализации. Например, корпус 2208 может по меньшей мере частично заключать в себе SIM-узел 2202. В качестве другого примера корпус 2210 может по меньшей мере частично охватывать излучающие оптические элементы модуля 2200 визуализации (например, одну или более трубчатых линз и/или датчик.) В качестве другого примера, корпус 2212 может по меньшей мере частично заключать в себе SIM-узел 2202 и/или по меньшей мере частично заключать в себе элементы оптического обнаружения.
[00242] Один или более корпусов могут отсутствовать в модуле 2200 визуализации, что может сделать некоторые из компонентов видимыми. Это может происходить в процессе сборки и/или в процессе технического обслуживания или ремонта, и это лишь несколько примеров.
[00243] В некоторых вариантах реализации один или более корпусов 2208, 2210 или 2212 модуля 2200 визуализации могут включать алюминий. Корпуса 2208, 2210 или 2212 могут включать в себя алюминиевые компоненты, собранные (например, соединенные болтами) без сварки. Например, такой подход может обеспечить большую терпимость к изменчивости компонентов. В некоторых вариантах реализации может быть обеспечена герметизация от проникновения и/или выхода света и/или герметизация от проникновения и/или выхода частиц. Например, для герметизации можно использовать клейкую ленту.
[00244] На ФИГ. 23 представлен график 2300 частоты ошибок. Частота ошибок (например, измеренная в виде положительного числа) показана относительно вертикальной оси, которая в данном случае имеет масштабирование в диапазоне от 0 до 10. Число циклов показано относительно горизонтальной оси, которая в данном случае имеет масштабирование в диапазоне от 0 до 110. В некоторых вариантах реализации воздействие вибрации оптического компонента, вызванной движением RIGS (например, шагового двигателя 2020 на ФИГ. 20), может быть уменьшено или устранено. Например, такая вибрация в противном случае может влиять на устойчивость к разлому и, таким образом, на качество визуализации. RIGS могут работать в соответствии с профилем перемещения S-кривой. Например, это может предотвратить внезапное ускорение или замедление RIGS. В некоторых вариантах реализации профиль перемещения S-кривой может быть оптимизирован для сведения к минимуму генерации вибраций. В некоторых вариантах реализации порядок, в котором RIGS принимает свои состояния, может быть указан для снижения влияния вибраций. Например, в одном состоянии RIGS отражающий компонент, подвергаемый вибрации, может находиться ниже (например, позади) применимой решетки в потоке света, тогда как в другом состоянии RIGS отражающий компонент (или другой отражающий компонент), подвергаемый вибрации, может находиться спереди (например, перед) решеткой. Верхнее положение может быть более чувствительным к вибрациям отражающего компонента, чем нижнее положение. В некоторых вариантах реализации воздействие вибрации может быть устранено или уменьшено путем задания времени и/или порядка, в котором RIGS принимает соответствующие состояния. Например, позиция восходящего потока может быть обработана перед позицией нисходящего потока при работе RIGS, или наоборот. В другом примере задержка может быть реализована после перемещения RIGS или последовательности сброса RIGS. В некоторых вариантах реализации один или более подходов в отношении RIGS могут уменьшать или устранять влияние вибраций на процесс визуализации. Например, частота ошибок может быть уменьшена.
[00245] На ФИГ. 24 представлен вариант осуществления модуля визуализации 2400. Модуль 2400 визуализации может использоваться с одним или более другими вариантами осуществления, описанными в настоящем документе, или может быть включен в них. В некоторых вариантах реализации модуль 2400 визуализации может включать в себя или использоваться с системой 4200, показанной на ФИГ. 42. В некоторых вариантах реализации модуль 2400 визуализации может включать в себя или использоваться с по меньшей мере некоторыми компонентами вычислительного устройства 4300, показанного на ФИГ. 43. В некоторых вариантах реализации модуль 2400 визуализации может использоваться с системой 100, показанной на ФИГ. 1, или может быть включен в нее. В некоторых вариантах реализации модуль 2400 визуализации может использоваться с оптической системой 200, показанной на ФИГ. 2, или может быть включен в нее. В некоторых вариантах реализации модуль 2400 визуализации может использоваться с оптической системой 500, показанной на ФИГ. 5, или может быть включен в нее. В некоторых вариантах реализации модуль 2400 визуализации может использоваться с оптической системой 820, показанной на ФИГ. 8B, или может быть включен в нее. В некоторых вариантах реализации модуль 2400 визуализации может использоваться с оптической системой 1100, показанной на ФИГ. 11, или может быть включен в нее. В некоторых вариантах реализации модуль 2400 визуализации может использоваться с оптической системой 1200, показанной на ФИГ. 12, или может быть включен в нее. В некоторых вариантах реализации модуль 2400 визуализации может использоваться с оптической системой 1300, показанной на ФИГ. 13, или может быть включен в нее. В некоторых вариантах реализации модуль 2400 визуализации может использоваться с оптической системой 1400, показанной на ФИГ. 14, или может быть включен в нее. В некоторых вариантах реализации модуль 2400 визуализации может использоваться с модулем 1800 визуализации, показанным на ФИГ. 18 или 19A-19В. В некоторых вариантах реализации модуль 2400 визуализации можно использовать с SIM-узлом 2000, показанным на ФИГ. 20. В некоторых вариантах реализации модуль 2400 визуализации может включать или использоваться с модулем 2100 визуализации, показанным на ФИГ. 21. В некоторых вариантах реализации модуль 2400 визуализации можно использовать с модулем 2200 визуализации, показанным на ФИГ. 22. В некоторых вариантах реализации модуль 2400 визуализации может включать в себя оптическую систему 2500, показанную на ФИГ. 25, или использоваться с ней. В некоторых вариантах реализации модуль 2400 визуализации может включать в себя оптическую систему 2600, показанную на ФИГ. 26, или использоваться с ней. В некоторых вариантах реализации модуль 2400 визуализации может включать в себя отражающий компонент 2700, показанный на ФИГ. 27, или может использоваться с ним. В некоторых вариантах реализации модуль 2400 визуализации может включать в себя отражающий компонент 2800, показанный на ФИГ. 28, или может использоваться с ним. В некоторых вариантах реализации модуль 2400 визуализации может генерировать свет 2900 автофокусировки, показанный на ФИГ. 29. В некоторых вариантах реализации модуль 2400 визуализации может генерировать свет 3000 автофокусировки, показанный на ФИГ. 30. В некоторых вариантах реализации модуль 2400 визуализации может генерировать свет 3100 автофокусировки, показанный на ФИГ. 31A-31C. В некоторых вариантах реализации модуль визуализации 2400 можно использовать с теплопоглотителем 3200 лазерного двигателя, показанным на ФИГ. 32А-32С. В некоторых вариантах реализации модуль визуализации 2400 можно использовать с теплопоглотителем 3300 лазерного двигателя, показанным на ФИГ. 33A-33C. В некоторых вариантах реализации модуль 2400 визуализации может включать в себя или использоваться с SIM-узлом 3400, показанным на ФИГ. 34. В некоторых вариантах реализации модуль 2400 визуализации может включать в себя или использоваться с RIGS 3500, показанным на ФИГ. 35. В некоторых вариантах реализации модуль 2400 визуализации может включать в себя или использоваться с RIGS 3600, показанным на ФИГ. 36. В некоторых вариантах реализации модуль 2400 визуализации может включать в себя или использоваться с пьезофазовращателем 3700, показанным на ФИГ. 37. В некоторых вариантах реализации модуль 2400 визуализации может включать в себя или использоваться с пьезофазовращателем 3800, показанным на ФИГ. 38. В некоторых вариантах реализации модуль 2400 визуализации может включать в себя или использоваться с проекционной линзой 3900, показанной на ФИГ. 39. В некоторых вариантах реализации модуль 2400 визуализации может включать в себя или использоваться с проекционной линзой 4000, показанной на ФИГ. 40. В некоторых вариантах реализации модуль 2400 визуализации может генерировать поле 4100 обзора, показанное на ФИГ. 41.
[00246] Модуль 2400 визуализации включает множество компонентов и/или устройств, которые могут быть интегрированы для когерентного функционирования в качестве системы для выполнения одной или более задач. В некоторых вариантах реализации модуль 2400 визуализации выполняет визуализацию в рамках анализа пробы. Например, модуль 2400 визуализации может обнаруживать флуоресценцию, испускаемую образцом генетического материала. Модуль 2400 визуализации включает SIM-узел 2402, который лишь частично виден на настоящем виде. В некоторых вариантах реализации SIM-узел 2402 может генерировать пространственно структурированный свет для освещения материала пробы. Например, SIM-узел 2402 может включать в себя RIGS. Модуль 2400 визуализации включает объектив 2404. В некоторых вариантах реализации объектив 2404 может передавать SIM-свет от SIM-узла 2402 и подавать SIM-свет на подложку 2406, содержащую пробу. Модуль 2400 визуализации может включать z-ступень. В некоторых вариантах реализации z-ступень может изменять (например, увеличивать или уменьшать) расстояние (в настоящем документе называемое z-расстоянием) между объективом 2404 и подложкой 2406.
[00247] Модуль 2400 визуализации может включать одну или более частей корпуса. В некоторых вариантах реализации корпус может, по существу, заключать в себе компоненты модуля 2400 визуализации. Например, корпус 2408 может по меньшей мере частично заключать в себе SIM-узел 2402. Один или более корпусов могут отсутствовать в модуле 2400 визуализации, что может сделать некоторые из компонентов видимыми. Это может происходить в процессе сборки и/или в процессе технического обслуживания или ремонта, и это лишь несколько примеров.
[00248] Модуль 2400 визуализации может включать излучающие оптические элементы 2410. В некоторых вариантах реализации излучающие оптические элементы 2410 включают в себя узел 2412 фильтров. Узел 2412 фильтров может включать в себя, по меньшей мере, один фильтр. Например, узел 2412 фильтров может включать в себя один или более фильтров 212, показанных на ФИГ. 2, или фильтров 506, показанных на ФИГ. 5. В некоторых вариантах реализации излучающие оптические элементы 2410 включают в себя трубчатую линзу 2414. Например, трубчатая линза 2414 может представлять собой одну или более из трубчатой линзы 214, показанной на ФИГ. 2, трубчатой линзы 508, показанной на ФИГ. 5, или трубчатой линзы 802, показанной на ФИГ. 8A. Трубчатая линза 2414 может быть назначена каналу детектора синего цвета. В некоторых вариантах реализации излучающие оптические элементы 2410 включают в себя трубчатую линзу 2416. Трубчатая линза 2416 может быть назначена зеленому каналу детектора. Например, трубчатая линза 2416 может представлять собой одну или более из трубчатой линзы 214, показанной на ФИГ. 2, трубчатой линзы 508, показанной на ФИГ. 5, или трубчатой линзы 802, показанной на ФИГ. 8A. В некоторых вариантах реализации излучающие оптические элементы 2410 включают в себя узел 2418 фильтров. Например, узел 2418 фильтров может включать в себя одно или более из: фильтра 216, отражающего компонента 226 или структуры 228, показанной на ФИГ. 2. В качестве другого примера узел 2418 фильтров может включать в себя одно или более из: фильтра 510, отражающего компонента 516 или структуры 518, показанной на ФИГ. 5. В качестве другого примера узел 2418 фильтров может включать в себя одно или более из: фильтра 804, отражающих компонентов 810A-810B или структуры 812, показанной на ФИГ. 8A.
[00249] В некоторых вариантах реализации излучающие оптические элементы 2410 включают в себя узел 2420 датчиков. Узел 2420 датчиков может быть назначен каналу детектора синего цвета. Узел 2420 датчиков может включать в себя один или более датчиков для излучения света и/или света автофокусировки. Например, узел 2420 датчиков может включать в себя один или более датчиков 120, показанных на ФИГ. 1; датчик 220, показанный на ФИГ. 2; датчик 514, показанный на ФИГ. 5; датчик 808, показанный на ФИГ. 5; датчик 1112, показанный на ФИГ. 11; датчик 1214, показанный на ФИГ. 12; датчик 1314, показанный на ФИГ. 13; или датчик 1416, показанный на ФИГ. 14. В некоторых вариантах реализации излучающие оптические элементы 2410 включают в себя узел 2422 датчиков. Узел 2422 датчиков может быть назначен каналу зеленого детектора. Узел 2422 датчиков может включать в себя один или более датчиков для излучения света и/или света автофокусировки. Например, узел 2422 датчиков может включать в себя один или более датчиков 120, показанных на ФИГ. 1; датчик 220, показанный на ФИГ. 2; датчик 514, показанный на ФИГ. 5; датчик 808, показанный на ФИГ. 5; датчик 1112, показанный на ФИГ. 11; датчик 1214, показанный на ФИГ. 12; датчик 1314, показанный на ФИГ. 13; или датчик 1416, показанный на ФИГ. 14.
[00250] На ФИГ. 25 представлен вариант осуществления оптической системы 2500. Оптическая система 2500 может включать или использоваться с одним или более другими вариантами осуществления, описанными в данном документе. В некоторых вариантах реализации оптическая система 2500 может включать в себя или использоваться с системой 4200, показанной на ФИГ. 42. В некоторых вариантах реализации оптическая система 2500 может включать в себя или использоваться с по меньшей мере некоторыми компонентами вычислительного устройства 4300, показанного на ФИГ. 43. В некоторых вариантах реализации оптическую систему 2500 можно использовать с системой 100, показанной на ФИГ. 1, или включить в нее. В некоторых вариантах реализации оптическая система 2500 может включать в себя оптическую систему 200, показанную на ФИГ. 2, или может использоваться с ней. В некоторых вариантах реализации оптическая система 2500 может включать в себя оптическую систему 500, показанную на ФИГ. 5, или может использоваться с ней. В некоторых вариантах реализации оптическая система 2500 может включать в себя оптическую систему 800, показанную на ФИГ. 8A, или использоваться с ней. В некоторых вариантах реализации оптическая система 2500 может включать в себя оптическую систему 820, показанную на ФИГ. 8B, или может использоваться с ней. В некоторых вариантах реализации оптическая система 2500 может включать в себя призму бокового смещения 1000, показанную на ФИГ. 10A-10C. В некоторых вариантах реализации оптическая система 2500 может включать в себя оптическую систему 1100, показанную на ФИГ. 11, или может использоваться с ней. В некоторых вариантах реализации оптическая система 2500 может включать в себя оптическую систему 1200, показанную на ФИГ. 12, или может использоваться с ней. В некоторых вариантах реализации оптическая система 2500 может включать в себя оптическую систему 1300, показанную на ФИГ. 13, или может использоваться с ней. В некоторых вариантах реализации оптическая система 2500 может включать в себя оптическую систему 1400, показанную на ФИГ. 14, или может использоваться с ней. В некоторых вариантах реализации оптическая система 2500 может включать в себя призму бокового смещения 1600, показанную на ФИГ. 16A-16В. В некоторых вариантах реализации оптическая система 2500 может включать в себя или использоваться со светоделителем 1700 на ФИГ. 17. В некоторых вариантах реализации оптическую систему 2500 можно использовать с модулем 1800 визуализации, показанным на ФИГ. 18 или 19A-19В. В некоторых вариантах реализации оптическую систему 2500 можно использовать с SIM-узлом 2000, показанным на ФИГ. 20. В некоторых вариантах реализации оптическая система 2500 может включать в себя или использоваться с модулем 2100 визуализации, показанным на ФИГ. 21. В некоторых вариантах реализации оптическую систему 2500 можно использовать с модулем 2200 визуализации, показанным на ФИГ. 22. В некоторых вариантах реализации оптическая система 2500 может включать в себя или использоваться с модулем 2400 визуализации, показанным на ФИГ. 24. В некоторых вариантах реализации оптическая система 2500 может включать в себя оптическую систему 2600, показанную на ФИГ. 26, или может использоваться с ней. В некоторых вариантах реализации оптическая система 2500 может включать в себя отражающий компонент 2700, показанный на ФИГ. 27, или может использоваться с ним. В некоторых вариантах реализации оптическая система 2500 может включать в себя отражающий компонент 2800, показанный на ФИГ. 28, или может использоваться с ним. В некоторых вариантах реализации оптическая система 2500 может генерировать свет 2900 автофокусировки, показанный на ФИГ. 29. В некоторых вариантах реализации оптическая система 2500 может генерировать свет 3000 автофокусировки, показанный на ФИГ. 30. В некоторых вариантах реализации оптическая система 2500 может генерировать свет 3100 автофокусировки, показанный на ФИГ. 31A-31C. В некоторых вариантах реализации оптическую систему 2500 можно использовать с теплопоглотителем 3200 лазерного двигателя, показанным на ФИГ. 32А-32С. В некоторых вариантах реализации оптическую систему 2500 можно использовать с теплопоглотителем 3300 лазерного двигателя, показанным на ФИГ. 33A-33C. В некоторых вариантах реализации оптическая система 2500 может включать в себя или использоваться с SIM-узлом 3400, показанным на ФИГ. 34. В некоторых вариантах реализации оптическая система 2500 может включать в себя или использоваться с RIGS 3500, показанным на ФИГ. 35. В некоторых вариантах реализации оптическая система 2500 может включать в себя или использоваться с RIGS 3600, показанным на ФИГ. 36. В некоторых вариантах реализации оптическая система 2500 может включать в себя или использоваться с пьезофазовращателем 3700, показанным на ФИГ. 37. В некоторых вариантах реализации оптическая система 2500 может включать в себя или использоваться с пьезофазовращателем 3800, показанным на ФИГ. 38. В некоторых вариантах реализации оптическая система 2500 может включать в себя или использоваться с проекционной линзой 3900, показанной на ФИГ. 39. В некоторых вариантах реализации оптическая система 2500 может включать в себя или использоваться с проекционной линзой 4000, показанной на ФИГ. 40. В некоторых вариантах реализации оптическая система 2500 может генерировать поле 4100 обзора, показанное на ФИГ. 41.
[00251] Оптическая система 2500 включает в себя объектив 2502. В некоторых вариантах реализации объектив 2502 может быть использован для направления возбуждающего света на пробу, расположенную на подложке, и приема излучаемого от нее света. Оптическая система 2500 включает фильтр 2504. В некоторых вариантах реализации фильтр 2504 можно использовать для добавления одного или более типов света к пропускаемому свету, и/или для удаления одного или более типов света из пропускаемого света. Например, фильтр 2504 может позволять вводить и передавать возбуждающий свет (например, от SIM-узла 2402 на ФИГ. 24) к объективу 2502. Оптическая система 2500 включает фильтр 2506. Фильтр 2506 может перенаправлять свет на другой уровень оптической системы 2500. Например, фильтр 2506 может перенаправлять излучаемый свет в горизонтальном направлении. Оптическая система 2500 включает фильтр 2508. Фильтр 2508 может перенаправлять свет на другой уровень оптической системы 2500. В некоторых вариантах реализации фильтр 2508 может перенаправлять излучаемый свет в вертикальном направлении. Например, фильтр 2508 может ответвлять свет синего цветового канала от света зеленого цветового канала или наоборот. Оптическая система 2500 включает фильтр 2510. Фильтр 2510 может перенаправлять свет в горизонтальном направлении. Оптическая система 2500 включает трубчатую линзу 2512. Например, трубчатая линза 2512 может формировать свет для обнаружения. Оптическая система 2500 включает датчик 2514. В некоторых вариантах реализации датчик 2514 можно использовать для приема излучаемого света и/или света автофокусировки. Оптическая система 2500 включает фильтр 2516. Фильтр 2516 может перенаправлять свет в горизонтальном направлении. Оптическая система 2500 включает трубчатую линзу 2518. Например, трубчатая линза 2518 может формировать свет для обнаружения. Оптическая система 2500 включает датчик 2520. В некоторых вариантах реализации датчик 2520 можно использовать для приема излучаемого света и/или света автофокусировки. В некоторых вариантах реализации оптическая система 2500 соответствует компоновке системы для модуля 2400 визуализации, показанного на ФИГ. 24.
[00252] На ФИГ. 26 представлен вариант осуществления оптической системы 2600. Оптическая система 2600 может включать или использоваться с одним или более другими вариантами осуществления, описанными в данном документе. В некоторых вариантах реализации оптическая система 2600 может включать в себя или использоваться с системой 4200, показанной на ФИГ. 42. В некоторых вариантах реализации оптическая система 2600 может включать в себя или использоваться с по меньшей мере некоторыми компонентами вычислительного устройства 4300, показанного на ФИГ. 43. В некоторых вариантах реализации оптическую систему 2600 можно использовать с системой 100, показанной на ФИГ. 1, или включить в нее. В некоторых вариантах реализации оптическая система 2600 может включать в себя оптическую систему 200, показанную на ФИГ. 2, или может использоваться с ней. В некоторых вариантах реализации оптическая система 2600 может включать в себя оптическую систему 500, показанную на ФИГ. 5, или может использоваться с ней. В некоторых вариантах реализации оптическая система 2600 может включать в себя оптическую систему 800, показанную на ФИГ. 8A, или использоваться с ней. В некоторых вариантах реализации оптическая система 2600 может включать в себя оптическую систему 820, показанную на ФИГ. 8B, или может использоваться с ней. В некоторых вариантах реализации оптическая система 2600 может включать в себя призму бокового смещения 1000, показанную на ФИГ. 10A-10C. В некоторых вариантах реализации оптическая система 2600 может включать в себя оптическую систему 1100, показанную на ФИГ. 11, или может использоваться с ней. В некоторых вариантах реализации оптическая система 2600 может включать в себя оптическую систему 1200, показанную на ФИГ. 12, или может использоваться с ней. В некоторых вариантах реализации оптическая система 2600 может включать в себя оптическую систему 1300, показанную на ФИГ. 13, или может использоваться с ней. В некоторых вариантах реализации оптическая система 2600 может включать в себя оптическую систему 1400, показанную на ФИГ. 14, или может использоваться с ней. В некоторых вариантах реализации оптическая система 2600 может включать в себя призму бокового смещения 1600, показанную на ФИГ. 16A-16В. В некоторых вариантах реализации оптическая система 2600 может включать в себя или использоваться со светоделителем 1700 на ФИГ. 17. В некоторых вариантах реализации оптическую систему 2600 можно использовать с модулем 1800 визуализации, показанным на ФИГ. 18 или 19A-19В. В некоторых вариантах реализации оптическую систему 2600 можно использовать с SIM-узлом 2000, показанным на ФИГ. 20. В некоторых вариантах реализации оптическая система 2600 может включать в себя или использоваться с модулем 2100 визуализации, показанным на ФИГ. 21. В некоторых вариантах реализации оптическую систему 2600 можно использовать с модулем 2200 визуализации, показанным на ФИГ. 22. В некоторых вариантах реализации оптическая система 2600 может включать в себя или использоваться с модулем 2400 визуализации, показанным на ФИГ. 24. В некоторых вариантах реализации оптическая система 2600 может включать в себя оптическую систему 2500, показанную на ФИГ. 25, или может использоваться с ней. В некоторых вариантах реализации оптическая система 2600 может включать в себя отражающий компонент 2700, показанный на ФИГ. 27, или может использоваться с ним. В некоторых вариантах реализации оптическая система 2600 может включать в себя отражающий компонент 2800, показанный на ФИГ. 28, или может использоваться с ним. В некоторых вариантах реализации оптическая система 2600 может генерировать свет 2900 автофокусировки, показанный на ФИГ. 29. В некоторых вариантах реализации оптическая система 2600 может генерировать свет 3000 автофокусировки, показанный на ФИГ. 30. В некоторых вариантах реализации оптическая система 2600 может генерировать свет 3100 автофокусировки, показанный на ФИГ. 31A-31C. В некоторых вариантах реализации оптическую систему 2600 можно использовать с теплопоглотителем 3200 лазерного двигателя, показанным на ФИГ. 32А-32С. В некоторых вариантах реализации оптическую систему 2600 можно использовать с теплопоглотителем 3300 лазерного двигателя, показанным на ФИГ. 33A-33C. В некоторых вариантах реализации оптическая система 2600 может включать в себя или использоваться с SIM-узлом 3400, показанным на ФИГ. 34. В некоторых вариантах реализации оптическая система 2600 может включать в себя или использоваться с RIGS 3500, показанным на ФИГ. 35. В некоторых вариантах реализации оптическая система 2600 может включать в себя или использоваться с RIGS 3600, показанным на ФИГ. 36. В некоторых вариантах реализации оптическая система 2600 может включать в себя или использоваться с пьезофазовращателем 3700, показанным на ФИГ. 37. В некоторых вариантах реализации оптическая система 2600 может включать в себя или использоваться с пьезофазовращателем 3800, показанным на ФИГ. 38. В некоторых вариантах реализации оптическая система 2600 может включать в себя или использоваться с проекционной линзой 3900, показанной на ФИГ. 39. В некоторых вариантах реализации оптическая система 2600 может включать в себя или использоваться с проекционной линзой 4000, показанной на ФИГ. 40. В некоторых вариантах реализации оптическая система 2600 может генерировать поле 4100 обзора, показанное на ФИГ. 41.
[00253] Оптическая система 2600 включает в себя объектив 2602. В некоторых вариантах реализации объектив 2602 может быть использован для направления возбуждающего света на пробу, расположенную на подложке, и приема излучаемого от нее света. Оптическая система 2600 включает фильтр 2604. В некоторых вариантах реализации фильтр 2604 можно использовать для добавления одного или более типов света к пропускаемому свету, и/или для удаления одного или более типов света из пропускаемого света. Например, фильтр 2604 может позволять вводить и передавать возбуждающий свет (например, от SIM-узла 2402 на ФИГ. 24) к объективу 2602. Оптическая система 2600 включает фильтр 2606. Фильтр 2606 может перенаправлять свет на другой уровень оптической системы 2600. Например, фильтр 2606 может перенаправлять излучаемый свет в горизонтальном направлении. Оптическая система 2600 включает фильтр 2608. Фильтр 2608 может перенаправлять свет на другой уровень оптической системы 2600. В некоторых вариантах реализации фильтр 2608 может перенаправлять излучаемый свет в горизонтальном направлении. Например, фильтр 2608 может ответвлять свет синего цветового канала от света зеленого цветового канала или наоборот. Оптическая система 2500 включает трубчатую линзу 2610. Например, трубчатая линза 2610 может подготавливать свет для обнаружения. Оптическая система 2600 включает датчик 2612. В некоторых вариантах реализации датчик 2612 можно использовать для приема излучаемого света и/или света автофокусировки. Оптическая система 2600 включает трубчатую линзу 2614. Например, трубчатая линза 2614 может подготавливать свет для обнаружения. Оптическая система 2600 включает фильтр 2616. Фильтр 2616 может перенаправлять свет в горизонтальном направлении. Оптическая система 2600 включает датчик 2618. В некоторых вариантах реализации датчик 2618 можно использовать для приема излучаемого света и/или света автофокусировки. В некоторых вариантах реализации оптическая система 2600 соответствует компоновке системы для модуля 1800 визуализации, показанного на ФИГ. 18 и ФИГ. 19A-19В.
[00254] Можно сравнивать оптические характеристики между двумя или более системами. Сравнение может включать в себя одно или более смоделированных измерений. В следующей таблице представлены значения для трех систем, обозначенных A, B и C соответственно. В некоторых вариантах реализации система А может соответствовать варианту реализации, включающему модуль 1800 визуализации, показанный на ФИГ. 18 и 19A-19В, SIM-узел 2000, показанный на ФИГ. 20, и оптическую систему 2600, показанную на ФИГ. 26. В некоторых вариантах реализации система B может соответствовать системе координат. Например, система координат может включать в себя объектив, поддерживающий DFC. В некоторых вариантах реализации система C может соответствовать варианту реализации, включающему модуль 2400 визуализации, показанный на ФИГ. 24, и оптическую систему 2500, показанную на ФИГ. 25.
от примерно 583 до примерно 660 нм
(спектр 188 нм)
от примерно 583 до примерно 660 нм
(спектр 198 нм)
от примерно 583 до примерно 660 нм
(спектр 198 нм)
Увеличение 10,63
Поле 1,1 мм
Увеличение 10,63
Поле 1,1 мм
Увеличение 10,63
Поле 1,1 мм
Фактическое значение <0,077 λ
Фактическое значение <0,094 λ
Фактическое значение <0,073 λ
Фактическое значение <0,6 пикс
Фактическое значение <0,6 пикс
Фактическое значение <0,5 пикс
[00255] На ФИГ. 27 показан вариант осуществления отражающего компонента 2700. Отражающий компонент 2700 может использоваться с одним или более другими вариантами осуществления, описанными в настоящем документе, или может быть включен в них. В некоторых вариантах реализации отражающий компонент 2700 может использоваться с системой 100, показанной на ФИГ. 1, или может быть включен в нее. В некоторых вариантах реализации отражающий компонент 2700 может использоваться с оптической системой 200, показанной на ФИГ. 2, или может быть включен в нее. В некоторых вариантах реализации отражающий компонент 2700 может использоваться с оптической системой 500, показанной на ФИГ. 5, или может быть включен в нее. В некоторых вариантах реализации отражающий компонент 2700 может использоваться с оптической системой 800, показанной на ФИГ. 8A, или быть включен в нее. В некоторых вариантах реализации отражающий компонент 2700 может использоваться с оптической системой 820, показанной на ФИГ. 8B, или может быть включен в нее. В некоторых вариантах реализации отражающий компонент 2700 может использоваться с оптической системой 1100, показанной на ФИГ. 11, или может быть включен в нее. В некоторых вариантах реализации отражающий компонент 2700 может использоваться с оптической системой 1200, показанной на ФИГ. 12, или может быть включен в нее. В некоторых вариантах реализации отражающий компонент 2700 может использоваться с оптической системой 1300, показанной на ФИГ. 13, или может быть включен в нее. В некоторых вариантах реализации отражающий компонент 2700 может использоваться с оптической системой 1400, показанной на ФИГ. 14, или может быть включен в нее. В некоторых вариантах реализации отражающий компонент 2700 может использоваться с модулем 1800 визуализации, показанным на ФИГ. 18 и 19A-19В. В некоторых вариантах реализации отражающий компонент 2700 может использоваться с модулем 2100 визуализации, показанным на ФИГ. 21, или может быть включен в него. В некоторых вариантах реализации отражающий компонент 2700 может использоваться с модулем 2200 визуализации, показанным на ФИГ. 22, или может быть включен в него. В некоторых вариантах реализации отражающий компонент 2700 может использоваться с модулем 2400 визуализации, показанным на ФИГ. 24, или может быть включен в него. В некоторых вариантах реализации отражающий компонент 2700 может использоваться с оптической системой 2500, показанной на ФИГ. 25, или может быть включен в нее. В некоторых вариантах реализации отражающий компонент 2700 может использоваться с оптической системой 2600, показанной на ФИГ. 26, или может быть включен в нее. В некоторых вариантах реализации отражающий компонент 2700 может включать в себя отражающий компонент 2800, показанный на ФИГ. 28, или может использоваться с ним. В некоторых вариантах реализации отражающий компонент 2700 может генерировать свет 2900 автофокусировки, показанный на ФИГ. 29. В некоторых вариантах реализации отражающий компонент 2700 может генерировать свет 3000 автофокусировки, показанный на ФИГ. 30. В некоторых вариантах реализации отражающий компонент 2700 может генерировать свет 3100 автофокусировки, показанный на ФИГ. 31A-31C. В некоторых вариантах реализации отражающий компонент 2700 можно использовать с теплопоглотителем 3200 лазерного двигателя, показанным на ФИГ. 32А-32С. В некоторых вариантах реализации отражающий компонент 2700 можно использовать с теплопоглотителем 3300 лазерного двигателя, показанным на ФИГ. 33A-33C. В некоторых вариантах реализации отражающий компонент 2700 можно использовать с SIM-узлом 3400, показанным на ФИГ. 34. В некоторых вариантах реализации отражающий компонент 2700 может использоваться с RIGS 3500, показанным на ФИГ. 35. В некоторых вариантах реализации отражающий компонент 2700 может использоваться с RIGS 3600, показанным на ФИГ. 36. В некоторых вариантах реализации отражающий компонент 2700 можно использовать с пьезофазовращателем 3700, показанным на ФИГ. 37. В некоторых вариантах реализации отражающий компонент 2700 можно использовать с пьезофазовращателем 3800, показанным на ФИГ. 38. В некоторых вариантах реализации отражающий компонент 2700 можно использовать с проекционной линзой 3900, показанной на ФИГ. 39. В некоторых вариантах реализации отражающий компонент 2700 можно использовать с проекционной линзой 4000, показанной на ФИГ. 40.
[00256] Отражающий компонент 2700 включает в себя фильтр 2702. Фильтр 2702 может представлять собой дихроичный фильтр. Фильтр 2702 может, отдельно или вместе с, по меньшей мере, одним другим компонентом, облегчать управление одним или более типами света. В некоторых вариантах реализации фильтр 2702 может отражать излучаемый свет и передавать свет автофокусировки. Например, фильтр 2702 может иметь противоотражающее покрытие, которое предотвращает отражение (т. е. облегчает передачу) света автофокусировки и которое отражает излучаемый свет. В других вариантах реализации фильтр 2702 может быть выполнен с возможностью предотвращения отражения (т. е. облегчения передачи) излучаемого света и отражения света автофокусировки.
[00257] Отражающий компонент 2700 включает в себя направляющую призму 2704. Направляющая призма 2704 может включать одну или более отражающих поверхностей и может быть расположена позади фильтра 2702 в направлении прохождения света. Направляющая призма может иметь треугольную форму. В некоторых вариантах реализации направляющая призма 2704 отражает свет, который был пропущен через фильтр 2702, при этом отраженный свет направляется к датчику. Например, направляющая призма 2704 может отражать некоторый (но не весь) свет автофокусировки, который был отражен на подложке. Направляющая призма 2704 может иметь оптические свойства, основанные на типе используемого света автофокусировки. В некоторых вариантах реализации направляющая призма 2704 является отражающей по меньшей мере в части диапазона длин волн ближнего инфракрасного диапазона (например, отражающей где-либо между примерно 750 нм и примерно 1400 нм). В некоторых вариантах реализации свет 2706, проходящий через фильтр 2702, отражается направляющей призмой 2704. Например, свет 2706 включает в себя свет автофокусировки, отраженный от поверхности S1 и/или поверхности S2 подложки пробы. В некоторых вариантах реализации свет 2708, проходящий через фильтр 2702, не отражается (например, поглощается) отражающим компонентом 2700. Отражающий компонент 2700 может включать в себя поглощающий материал 2710, на который падает свет 2708. Например, свет 2708 включает в себя свет автофокусировки, отраженный от поверхности S4 и/или поверхности S5 подложки пробы.
[00258] На ФИГ. 28 показан вариант осуществления отражающего компонента 2800. Отражающий компонент 2800 может использоваться с одним или более другими вариантами осуществления, описанными в настоящем документе, или может быть включен в них. В некоторых вариантах реализации отражающий компонент 2800 может использоваться с системой 100, показанной на ФИГ. 1, или может быть включен в нее. В некоторых вариантах реализации отражающий компонент 2800 может использоваться с оптической системой 200, показанной на ФИГ. 2, или может быть включен в нее. В некоторых вариантах реализации отражающий компонент 2800 может использоваться с оптической системой 500, показанной на ФИГ. 5, или может быть включен в нее. В некоторых вариантах реализации отражающий компонент 2800 может использоваться с оптической системой 800, показанной на ФИГ. 8A, или быть включен в нее. В некоторых вариантах реализации отражающий компонент 2800 может использоваться с оптической системой 820, показанной на ФИГ. 8B, или может быть включен в нее. В некоторых вариантах реализации отражающий компонент 2800 может использоваться с оптической системой 1100, показанной на ФИГ. 11, или может быть включен в нее. В некоторых вариантах реализации отражающий компонент 2800 может использоваться с оптической системой 1200, показанной на ФИГ. 12, или может быть включен в нее. В некоторых вариантах реализации отражающий компонент 2800 может использоваться с оптической системой 1300, показанной на ФИГ. 13, или может быть включен в нее. В некоторых вариантах реализации отражающий компонент 2800 может использоваться с оптической системой 1400, показанной на ФИГ. 14, или может быть включен в нее. В некоторых вариантах реализации отражающий компонент 2800 может использоваться с модулем 1800 визуализации, показанным на ФИГ. 18 и 19A-19В. В некоторых вариантах реализации отражающий компонент 2800 может использоваться с модулем 2100 визуализации, показанным на ФИГ. 21, или может быть включен в него. В некоторых вариантах реализации отражающий компонент 2800 может использоваться с модулем 2200 визуализации, показанным на ФИГ. 22, или может быть включен в него. В некоторых вариантах реализации отражающий компонент 2800 может использоваться с модулем 2400 визуализации, показанным на ФИГ. 24, или может быть включен в него. В некоторых вариантах реализации отражающий компонент 2800 может использоваться с оптической системой 2500, показанной на ФИГ. 25, или может быть включен в нее. В некоторых вариантах реализации отражающий компонент 2800 может использоваться с оптической системой 2600, показанной на ФИГ. 26, или может быть включен в нее. В некоторых вариантах реализации отражающий компонент 2800 может включать в себя отражающий компонент 2700, показанный на ФИГ. 27, или может использоваться с ним. В некоторых вариантах реализации отражающий компонент 2800 может генерировать свет 2900 автофокусировки, показанный на ФИГ. 29. В некоторых вариантах реализации отражающий компонент 2800 может генерировать свет 3000 автофокусировки, показанный на ФИГ. 30. В некоторых вариантах реализации отражающий компонент 2800 может генерировать свет 3100 автофокусировки, показанный на ФИГ. 31A-31C. В некоторых вариантах реализации отражающий компонент 2800 можно использовать с теплопоглотителем 3200 лазерного двигателя, показанным на ФИГ. 32А-32С. В некоторых вариантах реализации отражающий компонент 2800 можно использовать с теплопоглотителем 3300 лазерного двигателя, показанным на ФИГ. 33A-33C. В некоторых вариантах реализации отражающий компонент 2800 можно использовать с SIM-узлом 3400, показанным на ФИГ. 34. В некоторых вариантах реализации отражающий компонент 2800 может использоваться с RIGS 3500, показанным на ФИГ. 35. В некоторых вариантах реализации отражающий компонент 2800 может использоваться с RIGS 3600, показанным на ФИГ. 36. В некоторых вариантах реализации отражающий компонент 2800 можно использовать с пьезофазовращателем 3700, показанным на ФИГ. 37. В некоторых вариантах реализации отражающий компонент 2800 можно использовать с пьезофазовращателем 3800, показанным на ФИГ. 38. В некоторых вариантах реализации отражающий компонент 2800 можно использовать с проекционной линзой 3900, показанной на ФИГ. 39. В некоторых вариантах реализации отражающий компонент 2800 можно использовать с проекционной линзой 4000, показанной на ФИГ. 40.
[00259] Отражающий компонент 2800 включает в себя фильтр 2802. Фильтр 2802 может представлять собой дихроичный фильтр. Фильтр 2802 может, отдельно или вместе с, по меньшей мере, одним другим компонентом, облегчать управление одним или более типами света. В некоторых вариантах реализации фильтр 2802 может отражать излучаемый свет и передавать свет автофокусировки. Например, фильтр 2802 может иметь противоотражающее покрытие, которое предотвращает отражение (т. е. облегчает передачу) света автофокусировки и которое отражает излучаемый свет. В других вариантах реализации фильтр 2802 может быть выполнен с возможностью предотвращения отражения (т. е. облегчения передачи) излучаемого света и отражения света автофокусировки.
[00260] Отражающий компонент 2800 включает в себя отражающую поверхность 2804. Отражающая поверхность 2804 может включать одну или более отражающих поверхностей и может быть расположена позади фильтра 2802 в направлении прохождения света. В некоторых вариантах реализации отражающая поверхность 2804 отражает свет, который был пропущен через фильтр 2802, при этом отраженный свет направляется к датчику. Например, отражающая поверхность 2804 может отражать некоторый (но не весь) свет автофокусировки, который был отражен на подложке. Отражающая поверхность 2804 может иметь оптические свойства, основанные на типе используемого света автофокусировки. В некоторых вариантах реализации отражающая поверхность 2804 является отражающей по меньшей мере в части ближнего инфракрасного диапазона длин волн (например, отражающей некоторый диапазон от примерно 750 нм до примерно 1400 нм). В некоторых вариантах реализации свет 2806, проходящий через фильтр 2802, отражается отражающей поверхностью 2804. Например, свет 2806 включает в себя свет автофокусировки, отраженный от поверхности S1 и/или поверхности S2 подложки пробы. В некоторых вариантах реализации свет 2808, проходящий через фильтр 2802, не отражается (например, поглощается) отражающим компонентом 2800. Отражающий компонент 2800 может включать в себя поглощающий материал 2810, на который падает свет 2808. Например, свет 2808 включает в себя свет автофокусировки, отраженный от поверхности S4 и/или поверхности S5 подложки пробы.
[00261] Отражающий компонент 2800 может включать в себя один или более экземпляров отражающей поверхности 2804, расположенных позади фильтра 2802 в направлении прохождения света. В некоторых вариантах реализации два экземпляра отражающей поверхности 2804 используют (например, как показано на ФИГ. 28) таким образом, чтобы каждый отражал по меньшей мере один соответствующий луч света 2806. В других вариантах реализации один экземпляр отражающей поверхности 2804 расположен позади фильтра 2802 в направлении прохождения света. Затем отражающая поверхность 2804 может отражать один или более лучей света 2806. Например, как также кратко показано на ФИГ. 10B-10C, углы поверхностей 1008A-1008B (например, относительно поверхности 1006) можно регулировать таким образом, чтобы две или более точек света автофокусировки были относительно ближе друг к другу на проточной кювете, таким образом позволяя использовать один экземпляр отражающей поверхности 2804 для отражения.
[00262] На ФИГ. 29 показан пример света 2900 автофокусировки, обнаруженного датчиком. Свет автофокусировки 2900 может быть обнаружен с помощью одного или более вариантов реализации, описанных в настоящем документе. В некоторых вариантах реализации свет 2900 автофокусировки может быть обнаружен с помощью системы 100, показанной на ФИГ. 1. В некоторых вариантах реализации свет 2900 автофокусировки может быть обнаружен с помощью оптической системы 200, показанной на ФИГ. 2. В некоторых вариантах реализации свет 2900 автофокусировки может быть обнаружен с помощью оптической системы 500, показанной на ФИГ. 5. В некоторых вариантах реализации свет 2900 автофокусировки может быть обнаружен с помощью оптической системы 800, показанной на ФИГ. 8A. В некоторых вариантах реализации свет 2900 автофокусировки может быть обнаружен с помощью оптической системы 820, показанной на ФИГ. 8B. В некоторых вариантах реализации свет 2900 автофокусировки может быть обнаружен с помощью оптической системы 1100, показанной на ФИГ. 11. В некоторых вариантах реализации свет 2900 автофокусировки может быть обнаружен с помощью оптической системы 1200, показанной на ФИГ. 12. В некоторых вариантах реализации свет 2900 автофокусировки может быть обнаружен с помощью оптической системы 1300, показанной на ФИГ. 13. В некоторых вариантах реализации свет 2900 автофокусировки может быть обнаружен с помощью оптической системы 1400, показанной на ФИГ. 14. В некоторых вариантах реализации свет 2900 автофокусировки может быть обнаружен с помощью модуля 1800 визуализации, показанного на ФИГ. 18 и 19A-19В. В некоторых вариантах реализации свет 2900 автофокусировки может создаваться с использованием SIM-узла 2000, показанного на ФИГ. 20. В некоторых вариантах реализации свет 2900 автофокусировки может быть обнаружен с помощью модуля 2100 визуализации, показанного на ФИГ. 21. В некоторых вариантах реализации свет 2900 автофокусировки может быть обнаружен с помощью модуля 2200 визуализации, показанного на ФИГ. 22. В некоторых вариантах реализации свет 2900 автофокусировки может быть обнаружен с помощью модуля 2400 визуализации, показанного на ФИГ. 24. В некоторых вариантах реализации свет 2900 автофокусировки может быть обнаружен с помощью оптической системы 2500, показанной на ФИГ. 25. В некоторых вариантах реализации свет 2900 автофокусировки может быть обнаружен с помощью оптической системы 2600, показанной на ФИГ. 26. В некоторых вариантах реализации свет 2900 автофокусировки может быть обнаружен с помощью отражающего компонента 2700, показанного на ФИГ. 27. В некоторых вариантах реализации свет 2900 автофокусировки может быть обнаружен с помощью отражающего компонента 2800, показанного на ФИГ. 28. В некоторых вариантах реализации свет 2900 автофокусировки может создаваться с использованием SIM-узла 3400, показанного на ФИГ. 34. В некоторых вариантах реализации свет 2900 автофокусировки может создаваться с использованием RIGS 3500, показанного на ФИГ. 35. В некоторых вариантах реализации свет 2900 автофокусировки может создаваться с использованием RIGS 3600, показанного на ФИГ. 36. В некоторых вариантах реализации свет 2900 автофокусировки может быть создан с использованием пьезофазовращателя 3700, показанного на ФИГ. 37. В некоторых вариантах реализации свет 2900 автофокусировки может быть создан с использованием пьезофазовращателя 3800, показанного на ФИГ. 38. В некоторых вариантах реализации свет 2900 автофокусировки можно обнаружить с помощью проекционной линзы 3900, показанной на ФИГ. 39. В некоторых вариантах реализации свет 2900 автофокусировки можно обнаружить с помощью проекционной линзы 4000, показанной на ФИГ. 40. В некоторых вариантах реализации свет 2900 автофокусировки может быть обнаружен с помощью поля 4100 обзора, показанного на ФИГ. 41.
[00263] В настоящем документе свет 2900 автофокусировки показан в моделировании как обнаруженный внутри плитки 2902, которая определена по отношению к подложке 2904. Например, свет 2900 автофокусировки может быть захвачен с использованием варианта реализации, включающего модуль 2400 визуализации, показанный на ФИГ. 24, и оптическую систему 2500, показанную на ФИГ. 25. Свет 2900 автофокусировки может включать в себя два или более пятна света автофокусировки, которые соответствуют отражениям от слоя или другой поверхности подложки. Расстояние между пятнами может указывать на расстояние между подложкой и объективом, который захватывает свет 2900 автофокусировки. Например, в данном случае расстояние между пятнами света 2900 автофокусировки составляет примерно 0,390 мм.
[00264] На ФИГ. 30 показан пример света 3000 автофокусировки, обнаруженного датчиком. Свет 3000 автофокусировки может быть обнаружен с помощью одного или более вариантов осуществления, описанных в настоящем документе. В некоторых вариантах реализации свет 3000 автофокусировки может быть обнаружен с помощью системы 100, показанной на ФИГ. 1. В некоторых вариантах реализации свет 3000 автофокусировки может быть обнаружен с помощью оптической системы 200, показанной на ФИГ. 2. В некоторых вариантах реализации свет 3000 автофокусировки может быть обнаружен с помощью оптической системы 500, показанной на ФИГ. 5. В некоторых вариантах реализации свет 3000 автофокусировки может быть обнаружен с помощью оптической системы 800, показанной на ФИГ. 8A. В некоторых вариантах реализации свет 3000 автофокусировки может быть обнаружен с помощью оптической системы 820, показанной на ФИГ. 8B. В некоторых вариантах реализации свет 3000 автофокусировки может быть обнаружен с помощью оптической системы 1100, показанной на ФИГ. 11. В некоторых вариантах реализации свет 3000 автофокусировки может быть обнаружен с помощью оптической системы 1200, показанной на ФИГ. 12. В некоторых вариантах реализации свет 3000 автофокусировки может быть обнаружен с помощью оптической системы 1300, показанной на ФИГ. 13. В некоторых вариантах реализации свет 3000 автофокусировки может быть обнаружен с помощью оптической системы 1400, показанной на ФИГ. 14. В некоторых вариантах реализации свет 3000 автофокусировки может быть обнаружен с помощью модуля 1800 визуализации, показанного на ФИГ. 18 и 19A-19В. В некоторых вариантах реализации свет 3000 автофокусировки может создаваться с использованием SIM-узла 2000, показанного на ФИГ. 20. В некоторых вариантах реализации свет 3000 автофокусировки может быть обнаружен с помощью модуля 2100 визуализации, показанного на ФИГ. 21. В некоторых вариантах реализации свет 3000 автофокусировки может быть обнаружен с помощью модуля 2200 визуализации, показанного на ФИГ. 22. В некоторых вариантах реализации свет 3000 автофокусировки может быть обнаружен с помощью модуля 2400 визуализации, показанного на ФИГ. 24. В некоторых вариантах реализации свет 3000 автофокусировки может быть обнаружен с помощью оптической системы 2500, показанной на ФИГ. 25. В некоторых вариантах реализации свет 3000 автофокусировки может быть обнаружен с помощью оптической системы 2600, показанной на ФИГ. 26. В некоторых вариантах реализации свет 3000 автофокусировки может быть обнаружен с помощью отражающего компонента 2700, показанного на ФИГ. 27. В некоторых вариантах реализации свет 3000 автофокусировки может быть обнаружен с помощью отражающего компонента 2800, показанного на ФИГ. 28. В некоторых вариантах реализации свет 3000 автофокусировки может создаваться с использованием SIM-узла 3400, показанного на ФИГ. 34. В некоторых вариантах реализации свет 3000 автофокусировки может создаваться с использованием RIGS 3500, показанного на ФИГ. 35. В некоторых вариантах реализации свет 3000 автофокусировки может создаваться с использованием RIGS 3600, показанного на ФИГ. 36. В некоторых вариантах реализации свет 3000 автофокусировки может быть создан с использованием пьезофазовращателя 3700, показанного на ФИГ. 37. В некоторых вариантах реализации свет 3000 автофокусировки может быть создан с использованием пьезофазовращателя 3800, показанного на ФИГ. 38. В некоторых вариантах реализации свет 3000 автофокусировки можно обнаружить с помощью проекционной линзы 3900, показанной на ФИГ. 39. В некоторых вариантах реализации свет 3000 автофокусировки можно обнаружить с помощью проекционной линзы 4000, показанной на ФИГ. 40. В некоторых вариантах реализации свет 3000 автофокусировки может быть обнаружен с помощью поля 4100 обзора, показанного на ФИГ. 41.
[00265] В настоящем документе свет 3000 автофокусировки показан в моделировании как обнаруженный внутри плитки 3002, которая определена по отношению к подложке 3004. Например, свет 3000 автофокусировки можно захватить с использованием варианта реализации, включающего модуль 1800 визуализации, показанный на ФИГ. 18 и 19A-19В, SIM-узел 2000, показанный на ФИГ. 20, и оптическую систему 2600, показанную на ФИГ. 26. В качестве другого примера, свет 3000 автофокусировки может быть захвачен с использованием варианта реализации, включающего модуль 2200 визуализации, показанный на ФИГ. 22. Свет 3000 автофокусировки может включать в себя два или более пятна света автофокусировки, которые соответствуют отражениям от слоя или другой поверхности подложки. Расстояние между пятнами может указывать на расстояние между подложкой и объективом, который захватывает свет 3000 автофокусировки. Например, расстояние между пятнами света автофокусировки 3000 в данном случае составляет примерно 1,067 мм. В некоторых вариантах реализации процедура автофокусировки может быть адаптирована для устранения или уменьшения количества случаев, когда одно или более пятен света 3000 автофокусировки выходят за пределы плитки 3002.
[00266] На ФИГ. 31A-31С показаны примеры света автофокусировки, обнаруженного датчиком. Свет автофокусировки можно обнаружить с помощью одного или более вариантов осуществления, описанных в настоящем документе. В некоторых вариантах реализации свет автофокусировки может быть обнаружен с помощью системы 100, показанной на ФИГ. 1. В некоторых вариантах реализации свет автофокусировки может быть обнаружен с помощью оптической системы 200, показанной на ФИГ. 2. В некоторых вариантах реализации свет автофокусировки может быть обнаружен с помощью оптической системы 500, показанной на ФИГ. 5. В некоторых вариантах реализации свет автофокусировки может быть обнаружен с помощью оптической системы 800, показанной на ФИГ. 8A. В некоторых вариантах реализации свет автофокусировки может быть обнаружен с помощью оптической системы 820, показанной на ФИГ. 8B. В некоторых вариантах реализации свет автофокусировки может быть обнаружен с помощью оптической системы 1100, показанной на ФИГ. 11. В некоторых вариантах реализации свет автофокусировки может быть обнаружен с помощью оптической системы 1200, показанной на ФИГ. 12. В некоторых вариантах реализации свет автофокусировки может быть обнаружен с помощью оптической системы 1300, показанной на ФИГ. 13. В некоторых вариантах реализации свет автофокусировки может быть обнаружен с помощью оптической системы 1400, показанной на ФИГ. 14. В некоторых вариантах реализации свет автофокусировки может быть обнаружен с помощью модуля 1800 визуализации, показанного на ФИГ. 18 и 19A-19В. В некоторых вариантах реализации свет автофокусировки может создаваться с использованием SIM-узла 2000, показанного на ФИГ. 20. В некоторых вариантах реализации свет автофокусировки может быть обнаружен с помощью модуля 2100 визуализации, показанного на ФИГ. 21. В некоторых вариантах реализации свет автофокусировки может быть обнаружен с помощью модуля 2200 визуализации, показанного на ФИГ. 22. В некоторых вариантах реализации свет автофокусировки может быть обнаружен с помощью модуля 2400 визуализации, показанного на ФИГ. 24. В некоторых вариантах реализации свет автофокусировки может быть обнаружен с помощью оптической системы 2500, показанной на ФИГ. 25. В некоторых вариантах реализации свет автофокусировки может быть обнаружен с помощью оптической системы 2600, показанной на ФИГ. 26. В некоторых вариантах реализации свет автофокусировки может быть обнаружен с помощью отражающего компонента 2700, показанного на ФИГ. 27. В некоторых вариантах реализации свет автофокусировки может быть обнаружен с помощью отражающего компонента 2800, показанного на ФИГ. 28. В некоторых вариантах реализации свет автофокусировки может создаваться с использованием SIM-узла 3400, показанного на ФИГ. 34. В некоторых вариантах реализации свет автофокусировки можно создавать с использованием RIGS 3500, показанного на ФИГ. 35. В некоторых вариантах реализации свет автофокусировки можно создавать с использованием RIGS 3600, показанного на ФИГ. 36. В некоторых вариантах реализации свет автофокусировки может быть создан с использованием пьезофазовращателя 3700, показанного на ФИГ. 37. В некоторых вариантах реализации свет автофокусировки может быть создан с использованием пьезофазовращателя 3800, показанного на ФИГ. 38. В некоторых вариантах реализации свет автофокусировки можно обнаружить с помощью проекционной линзы 3900, показанной на ФИГ. 39. В некоторых вариантах реализации свет автофокусировки можно обнаружить с помощью проекционной линзы 4000, показанной на ФИГ. 40. В некоторых вариантах реализации свет автофокусировки может быть обнаружен с помощью поля 4100 обзора, показанного на ФИГ. 41.
[00267] На ФИГ. 31A показан свет 3100 автофокусировки. В настоящем документе свет 3100 автофокусировки показан в моделировании как обнаруженный внутри плитки 3102, которая определена по отношению к подложке 3104. Например, свет автофокусировки может быть захвачен с использованием варианта реализации, включающего модуль 2400 визуализации, показанный на ФИГ. 24, и оптическую систему 2500, показанную на ФИГ. 25. Свет 3100 автофокусировки может включать в себя два или более пятна света автофокусировки, которые соответствуют отражениям от слоя или другой поверхности подложки. Расстояние между пятнами может указывать на расстояние между подложкой и объективом, который захватывает свет 3100 автофокусировки. Например, в данном случае расстояние между пятнами света автофокусировки 3100 составляет примерно 0,390 мм.
[00268] На ФИГ. 31B показан свет автофокусировки 3106. В настоящем документе свет 3106 автофокусировки показан в моделировании как обнаруженный внутри плитки 3108, которая определена по отношению к подложке 3110. Например, свет автофокусировки 3106 можно захватить с использованием варианта реализации, включающего модуль 1800 визуализации, показанный на ФИГ. 18 и 19A-19В, SIM-узел 2000, показанный на ФИГ. 20, и оптическую систему 2600, показанную на ФИГ. 26. В качестве другого примера, свет 3106 автофокусировки может быть захвачен с использованием варианта реализации, включающего модуль 2200 визуализации, показанный на ФИГ. 22. Свет 3106 автофокусировки может включать в себя два или более пятна света автофокусировки, которые соответствуют отражениям от слоя или другой поверхности подложки. Расстояние между пятнами может указывать на расстояние между подложкой и объективом, который захватывает свет 3106 автофокусировки. Например, расстояние между пятнами света 3106 автофокусировки в данном случае составляет примерно 1,067 мм. в некоторых вариантах реализации процедура автофокусировки может быть адаптирована для устранения или уменьшения случаев, когда одно или более пятен света автофокусировки 3106 выходят за пределы плитки 3108.
[00269] На ФИГ. 31C показан свет 3112 автофокусировки. В настоящем документе свет 3112 автофокусировки показан в моделировании как обнаруженный внутри плитки 3114, которая определена по отношению к подложке 3116. Например, свет автофокусировки 3106 можно захватить с использованием варианта реализации, включающего модуль 1800 визуализации, показанный на ФИГ. 18 и 19A-19В, SIM-узел 2000, показанный на ФИГ. 20, и оптическую систему 2600, показанную на ФИГ. 26. В качестве другого примера, свет 3106 автофокусировки может быть захвачен с использованием варианта реализации, включающего модуль 2200 визуализации, показанный на ФИГ. 22. Свет 3106 автофокусировки может включать в себя два или более пятна света автофокусировки, которые соответствуют отражениям от слоя или другой поверхности подложки. Расстояние между пятнами может указывать на расстояние между подложкой и объективом, который захватывает свет автофокусировки 3106. Например, расстояние между пятнами света автофокусировки 3106 в данном случае составляет примерно 1,067 мм. в некоторых вариантах реализации процедура автофокусировки может быть адаптирована для устранения или уменьшения случаев, когда одно или более пятен света 3112 автофокусировки выходят за пределы плитки 3114.
[00270] В одном или более вариантах реализации, описанных в настоящем документе, может осуществляться управление мощностью. В некоторых вариантах реализации управление питанием включает в себя применение одного или более алгоритмов мощности. Алгоритм мощности может быть связан с одним или более цветовыми каналами. Например, комбинированный алгоритм мощности Green для лазерного двигателя можно определить как:
G1
МАКСИМАЛЬНАЯ МОЩНОСТЬ GREEN 1, СЧИТАННАЯ FW
G2
МАКСИМАЛЬНАЯ МОЩНОСТЬ GREEN 2, СЧИТАННАЯ FW В ОБРАТНОМ НАПРАВЛЕНИИ.
[00271] На ФИГ. 32а-32с представлен вариант осуществления теплопоглотителя с лазерным двигателем 3200. На ФИГ. 33A-33C представлен вариант осуществления теплопоглотителя с лазерным двигателем 3300. Теплопоглотитель лазерного двигателя 3200 и/или 3300 может использоваться с одним или более другими вариантами осуществления, описанными в настоящем документе, или быть включен в них. В некоторых вариантах реализации теплопоглотитель 3200 и/или 3300 лазерного двигателя может использоваться с системой 100, показанной на ФИГ. 1, или может быть включен в нее. В некоторых вариантах реализации теплопоглотитель лазерного двигателя 3200 и/или 3300 может использоваться с оптической системой 200, показанной на ФИГ. 2, или может быть включен в нее. В некоторых вариантах реализации теплопоглотитель 3200 и/или 3300 может использоваться с оптической системой 500, показанной на ФИГ. 5, или быть включен в нее. В некоторых вариантах реализации теплопоглотитель лазерного двигателя 3200 и/или 3300 может использоваться с оптической системой 820, показанной на ФИГ. 8B, или может быть включен в нее. В некоторых вариантах реализации теплопоглотитель лазерного двигателя 3200 и/или 3300 может использоваться с оптической системой 1100, показанной на ФИГ. 11, или может быть включен в нее. В некоторых вариантах реализации теплопоглотитель лазерного двигателя 3200 и/или 3300 может использоваться с оптической системой 1200, показанной на ФИГ. 12, или может быть включен в нее. В некоторых вариантах реализации теплопоглотитель лазерного двигателя 3200 и/или 3300 может использоваться с оптической системой 1300, показанной на ФИГ. 13, или может быть включен в нее. В некоторых вариантах реализации теплопоглотитель лазерного двигателя 3200 и/или 3300 может использоваться с оптической системой 1400, показанной на ФИГ. 14, или может быть включен в нее. В некоторых вариантах реализации теплопоглотитель 3200 и/или 3300 может использоваться с модулем визуализации 1800, показанным на ФИГ. 18 и 19A-19В. В некоторых вариантах реализации теплопоглотитель 3200 и/или 3300 лазерного двигателя может использоваться с модулем 2100 визуализации, показанным на ФИГ. 21, или быть включен в него. В некоторых вариантах реализации теплопоглотитель 3200 и/или 3300 лазерного двигателя может использоваться с модулем 2200 визуализации, показанным на ФИГ. 22, или быть включен в него. В некоторых вариантах реализации теплопоглотитель 3200 и/или 3300 лазерного двигателя может использоваться с модулем 2400 визуализации, показанным на ФИГ. 24, или быть включен в него. В некоторых вариантах реализации теплопоглотитель лазерного двигателя 3200 и/или 3300 может использоваться с оптической системой 2500, показанной на ФИГ. 25, или может быть включен в нее. В некоторых вариантах реализации теплопоглотитель лазерного двигателя 3200 и/или 3300 может использоваться с оптической системой 2600, показанной на ФИГ. 26, или может быть включен в нее. В некоторых вариантах реализации теплопоглотитель 3200 и/или 3300 лазерного двигателя можно использовать с отражающим компонентом 2700, показанным на ФИГ. 27. В некоторых вариантах реализации теплопоглотитель 3200 и/или 3300 лазерного двигателя можно использовать с SIM-узлом 3400, показанным на ФИГ. 34. В некоторых вариантах реализации теплопоглотитель 3200 и/или 3300 лазерного двигателя может использоваться с RIGS 3500, показанного на ФИГ. 35. В некоторых вариантах реализации теплопоглотитель 3200 и/или 3300 лазерного двигателя может использоваться с RIGS 3600, показанным на ФИГ. 36. В некоторых вариантах реализации теплопоглотитель 3200 и/или 3300 лазерного двигателя можно использовать с пьезофазовращателем 3700, показанным на ФИГ. 37. В некоторых вариантах реализации теплопоглотитель 3200 и/или 3300 лазерного двигателя можно использовать с пьезофазовращателем 3800, показанным на ФИГ. 38. В некоторых вариантах реализации теплопоглотитель 3200 и/или 3300 может использоваться с проекционной линзой 3900, показанной на ФИГ. 39. В некоторых вариантах реализации теплопоглотитель 3200 и/или 3300 может использоваться с проекционной линзой 4000, показанной на ФИГ. 40.
[00272] Теплопоглотитель лазерного двигателя 3200 может включать теплопоглотитель 3202. Теплопоглотитель лазерного двигателя 3300 может включать теплопоглотитель 3302. Теплопоглотитель 3200 и/или 3300 может включать в себя один или более теплопоглощающих материалов. В некоторых вариантах реализации материал теплопоглотителя может представлять собой алюминий или медь. Например, теплопоглотитель 3202 может включать медь, а теплопоглотитель 3302 может включать алюминий. Теплопоглотитель 3202 и/или 3302 может иметь ребра теплопоглотителя заданного размера. В некоторых вариантах реализации размер ребер теплопоглотителя 3302 может быть больше размера ребер теплопоглотителя 3202. Например, размер ребер теплопоглотителя 3302 может быть примерно на 20 мм больше, чем размер ребер теплопоглотителя 3202. В некоторых вариантах реализации тепловое сопротивление теплопоглотителя 3302 может быть ниже, чем тепловое сопротивление теплопоглотителя 3302. Например, тепловое сопротивление теплопоглотителя 3302 может быть примерно на 30-40% ниже, например, примерно на 36% ниже, чем тепловое сопротивление теплопоглотителя 3302. В некоторых вариантах реализации поток воздуха из теплопоглотителя лазерного двигателя 3300 может быть выше потока воздуха из теплопоглотителя лазерного двигателя 3200. Например, поток воздуха в теплопоглотителе лазерного двигателя 3300 может быть примерно на 40-50% выше, в частности примерно на 45% выше, чем поток воздуха в теплопоглотителе лазерного двигателя 3200. В некоторых вариантах реализации теплопоглотитель 3202 может иметь размер примерно 80 × 80 × 30 мм. В некоторых вариантах реализации теплопоглотитель 3302 может иметь размер примерно 80 × 90 × 50 мм. В некоторых вариантах реализации размер канала теплопоглотителя 3302 может быть больше размера канала теплопоглотителя 3202. В некоторых вариантах реализации теплопоглотитель 3302 может иметь каналы, изготовленные из материала, отличного от материала каналов теплопоглотителя 3202. Например, теплопоглотитель 3302 может содержать каналы из формованного пластика. Например, теплопоглотитель 3202 может содержать каналы из листового металла. Теплопоглотитель 3200 лазерного двигателя может включать корпус 3204. Теплопоглотитель 3300 лазерного двигателя может включать корпус 3304. В некоторых вариантах реализации теплопоглотитель 3300 лазерного двигателя может включать прокладку 3306. Например, прокладка 3306 может обеспечивать герметизацию канала между теплопоглотителем 3302 и корпусом 3304.
[00273] На ФИГ. 34 показан вариант осуществления SIM-узла 3400. SIM-узел 3400 может использоваться с одним или более другими вариантами осуществления, описанными в настоящем документе, или может быть включен в них. В некоторых вариантах реализации SIM-узел 3400 может использоваться с системой 100, показанной на ФИГ. 1, или быть включен в нее. В некоторых вариантах реализации SIM-узел 3400 может использоваться с оптической системой 200, показанной на ФИГ. 2, или быть включен в нее. В некоторых вариантах реализации SIM-узел 3400 может использоваться с оптической системой 500, показанной на ФИГ. 5, или быть включен в нее. В некоторых вариантах реализации SIM-узел 3400 может использоваться с оптической системой 820, показанной на ФИГ. 8B, или быть включен в нее. В некоторых вариантах реализации SIM-узел 3400 может использоваться с оптической системой 1100, показанной на ФИГ. 11, или быть включен в нее. В некоторых вариантах реализации SIM-узел 3400 может использоваться с оптической системой 1200, показанной на ФИГ. 12, или быть включен в нее. В некоторых вариантах реализации SIM-узел 3400 может использоваться с оптической системой 1300, показанной на ФИГ. 13, или быть включен в нее. В некоторых вариантах реализации SIM-узел 3400 может использоваться с оптической системой 1400, показанной на ФИГ. 14, или быть включен в нее. В некоторых вариантах реализации SIM-узел 3400 можно использовать с призмой бокового смещения 1600, показанной на ФИГ. 16A-16В. В некоторых вариантах реализации SIM-узел 3400 может включать в себя или использоваться со светоделителем 1700 на ФИГ. 17. В некоторых вариантах реализации SIM-узел 3400 можно использовать с модулем 1800 визуализации, показанным на ФИГ. 18 или 19A-19В. В некоторых вариантах реализации SIM-узел 3400 может включать в себя или быть включен в SIM-узел 2000, показанный на ФИГ. 20. В некоторых вариантах реализации SIM-узел 3400 может быть включен в модуль 2100 визуализации, показанный на ФИГ. 21, или может использоваться с ним. В некоторых вариантах реализации SIM-узел 3400 может быть включен в модуль 2200 визуализации, показанный на ФИГ. 22. В некоторых вариантах реализации SIM-узел 3400 может быть включен в модуль 2400 визуализации, показанный на ФИГ. 24. В некоторых вариантах реализации SIM-узел 3400 может быть включен в оптическую систему 2500, показанную на ФИГ. 25. В некоторых вариантах реализации SIM-узел 3400 может быть включен в оптическую систему 2600, показанную на ФИГ. 26. В некоторых вариантах реализации SIM-узел 3400 может включать в себя отражающий компонент 2700, показанный на ФИГ. 27, или может использоваться с ним. В некоторых вариантах реализации SIM-узел 3400 может включать в себя отражающий компонент 2800, показанный на ФИГ. 28, или может использоваться с ним. В некоторых вариантах реализации SIM-узел 3400 может генерировать свет 2900 автофокусировки, показанный на ФИГ. 29. В некоторых вариантах реализации SIM-узел 3400 может генерировать свет 3000 автофокусировки, показанный на ФИГ. 30. В некоторых вариантах реализации SIM-узел 3400 может генерировать свет 3100 автофокусировки, показанный на ФИГ. 31A-31C. В некоторых вариантах реализации SIM-узел 3400 можно использовать с теплопоглотителем 3200 лазерного двигателя, показанным на ФИГ. 32А-32С. В некоторых вариантах реализации SIM-узел 3400 можно использовать с теплопоглотителем 3300 лазерного двигателя, показанным на ФИГ. 33A-33C. В некоторых вариантах реализации SIM-узел 3400 может включать в себя или использоваться с RIGS 3500, показанным на ФИГ. 35. В некоторых вариантах реализации SIM-узел 3400 может включать в себя или использоваться с RIGS 3600, показанным на ФИГ. 36. В некоторых вариантах реализации SIM-узел 3400 может включать в себя или использоваться с пьезофазовращателем 3700, показанным на ФИГ. 37. В некоторых вариантах реализации SIM-узел 3400 может включать в себя или использоваться с пьезофазовращателем 3800, показанным на ФИГ. 38. В некоторых вариантах реализации SIM-узел 3400 можно использовать с проекционной линзой 3900, показанной на ФИГ. 39. В некоторых вариантах реализации SIM-узел 3400 можно использовать с проекционной линзой 4000, показанной на ФИГ. 40. В некоторых вариантах реализации SIM-узел 3400 может генерировать поле 4100 обзора, показанное на ФИГ. 41.
[00274] SIM-узел 3400 включает в себя поворотное зеркало 3402. SIM-узел 3400 включает в себя источник света 3404. В некоторых вариантах реализации источник 3404 света подает свет, который он, в свою очередь, принимает через по меньшей мере один оптоволоконный кабель 3406. Например, источник 3404 света и оптоволоконный кабель 3406 в совокупности можно рассматривать как модуль запуска волокон. SIM-узел 3400 содержит решетку 3408 и решетку 3410. В некоторых вариантах реализации решетка 3408 и/или 3410 может служить дифракционным компонентом в отношении света, исходящего от источника света 3404. Например, решетка 3408 и/или 3410 может содержать подложку с периодической структурой, которая сочетается с призмой. Решетки 3408 и 3410 могут быть расположены относительно друг друга в соответствии с одной или более конструкциями. Здесь решетки 3408 и 3410 обращены друг к другу в SIM-узле 3400. Решетки 3408 и 3410 могут быть, по существу, идентичными друг другу или могут иметь одно или более отличий. Размер, периодичность или другой пространственный аспект одной из решеток 3408 и 3410 могут отличаться от размера/периодичности другой. Ориентация решетки (т. е. пространственная ориентация периодической структуры) одной из решеток 3408 и 3410 может отличаться от таковых у другой. В некоторых вариантах реализации соответствующие ориентации решеток 3408 и 3410, в которых сами решетки обращены друг к другу, могут быть, по существу, перпендикулярны друг другу или расположены под любым другим углом относительно друг друга. В некоторых вариантах реализации решетки 3408 и 3410 могут находиться в смещенных положениях относительно поворотного зеркала 3402. В некоторых вариантах реализации решетки 3408 и/или 3410 могут находиться в фиксированном положении относительно источника света 3404.
[00275] SIM-узел 3400 может включать в себя один или более компонентов (например, в качестве селектора фазы) для облегчения выбора фазы в отношении света, который должен быть применен к пробе. В данном случае SIM-узел 3400 включает в себя фазовращатель 3412. В некоторых вариантах реализации фазовращатель 3412 включает в себя пьезофазовращатель. Например, фазовращатель 3412 может принимать свет от решетки 3408 и/или 3410 и может выполнять выбор фазы по отношению к некоторым или всем данному свету. Например, фазовращатель 3412 можно использовать для управления фазой рисунка структурированного света, с помощью которого следует захватить конкретное изображение. Фазовращатель 3412 может включать в себя пьезопривод. Например, для осуществления выбора фазы можно использовать пьезопоршневую систему. Можно использовать и другие подходы. Например, для выбора фазы можно использовать наклонную оптическую пластину. Например, SIM-узел 3400 реализован в настоящем документе на плате 3414, и одна или более зон платы 3414 могут быть наклонены для осуществления выбора фазы. В качестве другого примера, одна или более решеток 3408 и 3410 могут перемещаться (например, преобразовываться) для выбора фазы, например, с помощью пьезопривода. Свет, исходящий от фазовращателя 3412, иногда называют выбранным по фазе светом, чтобы указывать на то, что свет был подготовлен в соответствии с конкретным выбором фазы. В некоторых вариантах реализации решетки 3408 и/или 3410 могут находиться в фиксированном положении относительно источника света 3404.
[00276] SIM-узел 3400 включает в себя проекционную линзу 3416, которая может включать в себя один или более оптических компонентов (например, линзу) для нормирования света, принятого от фазовращателя 3412. Например, проекционная линза 3416 может управлять характеристиками света до того, как свет попадет в линзу объектива (например, объектив 204 на ФИГ. 2).
[00277] Поворотное зеркало 3402 можно использовать для перенаправления по меньшей мере одного пучка света к одной или более решеткам 3408 или 3410 и/или от них. Поворотное зеркало 3402 может включать в себя один или более материалов, чтобы в достаточной степени отражать электромагнитные волны, которыми должна быть освещена проба. В некоторых вариантах реализации свет, исходящий от источника 3404 света, включает в себя лазерный луч одной или более длин волн. Например, можно использовать зеркало с металлическим покрытием и/или диэлектрическое зеркало. Поворотное зеркало 3402 может быть двусторонним. Например, поворотное зеркало 3402 может считаться двусторонним, если оно способно выполнять отражение по меньшей мере на части обеих его сторон (например, отражение на первом конце для первого пути луча и отражение на втором конце, противоположном первому концу, для второго пути луча).
[00278] Поворотное зеркало 3402 может включать в себя удлиненный элемент. Поворотное зеркало 3402 может иметь любой из множества форм-факторов или других форм-характеристик. Поворотное зеркало 3402 может иметь, по существу, плоскую конфигурацию. Поворотное зеркало 3402 может иметь, по существу, квадратную или иную прямоугольную форму. Поворотное зеркало 3402 может иметь закругленные углы. Поворотное зеркало 3402 может иметь, по существу, постоянную толщину. Отражающие поверхности поворотного зеркала 3402 могут быть, по существу, плоскими.
[00279] Поворотное зеркало 3402 может поддерживаться осью 3418 SIM-узла 3400. Ось 3418 может обеспечивать поворот поворотного зеркала 3402 вокруг оси 3418 в любом или обоих направлениях. Ось 3418 может быть изготовлена из материала с достаточной жесткостью, чтобы удерживать поворотное зеркало 3402 и манипулировать им, причем такой(-ие) материал(-ы) включает(-ют) в себя, без ограничений, металл. Ось 3418 может быть связана, по существу, с центром поворотного зеркала 3402. Например, поворотное зеркало 3402 может иметь отверстие в центре или вырез с одной стороны, достигающий центра, для облегчения соединения с осью 3418. Ось 3418 может проходить, по меньшей мере, по существу, к одной стороне поворотного зеркала 3402. В качестве другого примера ось 3418 может включать в себя отдельные части оси, которые связаны с соответствующими поверхностями поворотного зеркала 3402, без необходимости в каком-либо отверстии во поворотном зеркале 3402. Ось 3418 может иметь по меньшей мере одну подвеску относительно панели 3414. Подвеска может быть расположена на концах оси 3418 с обеих сторон поворотного зеркала 3402. Подвеска может включать в себя подшипник или другой элемент, облегчающий работу с низким трением.
[00280] Поворотное зеркало 3402 может быть активировано для принятия одного или более положений. Для управления поворотным зеркалом 3402 можно использовать любую форму двигателя или другого исполнительного механизма. В некоторых вариантах реализации используется шаговый двигатель 3420. Шаговый двигатель 3420 может быть связан с осью 3418 и может применяться для обеспечения поворота оси 3418 и, таким образом, поворотного зеркала 3402 и принятия требуемого(-ых) положения(-й). В некоторых вариантах реализации поворотное зеркало 3402 вращается в том же направлении к новым положениям (например, всегда по часовой стрелке или всегда против часовой стрелки вокруг оси 3418 вращения). В некоторых вариантах реализации поворотное зеркало 3402 совершает возвратно-поступательные движения между двумя или более положениями (например, попеременно по часовой стрелке или против часовой стрелки вокруг оси 3418 вращения).
[00281] В некоторых вариантах реализации источник 3404 света может генерировать свет, который изначально проходит к зеркалу 3424. После отражения от зеркала 3424 свет распространяется на решетку 3410. Поворотное зеркало 3402 может быть расположено (например, ориентировано оси 3418 вращения) таким образом, что первый конец 3422 поворотного зеркала 3402 не прерывает свет. В настоящее время первый конец 3422 может быть расположен так же близко к объективу, как и свет, который может распространяться в плоскости чертежа. Таким образом, отражающая поверхность поворотного зеркала 3402, обращенная к источнику света 3404, в настоящее время не заслоняет свет, поскольку первый конец 3422 не блокирует путь света. Таким образом, свет распространяется (через воздух, вакуум или другую жидкость) до достижения решетки 3410.
[00282] Свет взаимодействует с решеткой 3410 одним или более способами. В некоторых вариантах реализации свет подвергается дифракции на основании решетки 3410. Здесь свет, исходящий от решетки 3410, может представлять собой структурированный свет (например, свет, имеющий один или более структурированных разломов) на основании взаимодействия с ним светом. Излучение, исходящее от решетки 3410, сначала распространяется, по существу, в направлении, по существу, к проекционной линзе 3416. Однако положение поворотного зеркала 3402 является таким, что второй конец 3426 поворотного зеркала 3402 заслоняет свет. Второй конец 3426 может быть противоположен первому концу 3422. В некоторых вариантах реализации первый конец 3422 и второй конец 3426 могут быть расположены под любым углом относительно друг друга, например под любым углом от 0 градусов до 180 градусов. В настоящее время второй конец 3426 может быть расположен примерно так же близко к объективу, как и свет. Таким образом, отражающая поверхность поворотного зеркала 3402, обращенная к решетке 3410, заслоняет свет, исходящий от решетки 3410, поскольку второй конец 3426 блокирует путь света. Таким образом, поворотное зеркало 3402 направляет свет к фазовращателю 3412.
[00283] Фазовращатель 3412 выполняет выбор фазы для света. Например, фазовращатель 3412 выбирает фазу шаблона, которому должен подвергаться проба в настоящем освещении (например, для целей захвата одного или более конкретных изображений). Свет исходит от фазовращателя 3412 и распространяется к проекционной линзе 3416 и поступает в нее. Свет соответствует конкретному выбору фазы, выполненному с использованием фазовращателя 3412. Таким образом, свет можно охарактеризовать как выбранный по фазе свет. Затем свет может продолжать распространяться через систему, например, для освещения пробы.
[00284] В данном случае характеристики выбранных по фазе электромагнитных волн света, поступающего в проекционную линзу 3416, соответствуют тому, что свет рассеивается решеткой 3410 и что выбор фазы выполняется фазовращателем 3412. Кроме того, в данном случае решетка 3410 была задействована в результате расположения поворотного зеркала 3402 таким образом, что его второй конец 3426 прерывает свет, тогда как его первый конец 3422 не прерывает свет.
[00285] Предположим, что вместо этого поворачиваемое зеркало 3402 размещено в другом положении. В данном случае источник света 3404 излучает свет, который изначально отражается зеркалом 3424, а затем распространяется на решетку 3410. Поворотное зеркало 3402 расположено (например, ориентировано вокруг оси вращения оси 3418) так, что первый конец 3422 поворотного зеркала 3402 не прерывает свет. Первый конец 3422 может быть расположен примерно так же близко к объективу, как и свет. Таким образом, отражающая поверхность поворотного зеркала 3402, обращенная к источнику света 3404, прерывает свет, поскольку первый конец 3422 блокирует траекторию света. Таким образом, свет распространяется (через воздух, вакуум или другую жидкость) до достижения решетки 2008.
[00286] Свет взаимодействует с решеткой 3408 одним или более способами. В некоторых вариантах реализации свет подвергается дифракции на основании решетки 3408. Здесь свет представляет собой структурированный свет (например, имеющий один или более структурированных разломов), исходящий от решетки 3408 на основании взаимодействия с ним светом. Свет распространяется, по существу, в направлении к фазовращателю 3412. Положение поворотного зеркала 3402 такое, что второй конец 3426 поворотного зеркала 3402 не прерывает свет. В настоящее время второй конец 3426 может быть расположен так же близко к объективу, как и свет. Таким образом, ни одна отражающая поверхность поворотного зеркала 3402 в настоящее время не прерывает свет, поскольку второй конец 3426 не блокирует путь света. Таким образом, свет распространяется до достижения фазовращателя 3412.
[00287] Фазовращатель 3412 выполняет выбор фазы для света. Например, фазовращатель 3412 выбирает фазу шаблона, которому должен подвергаться проба в настоящем освещении (например, для целей захвата одного или более конкретных изображений). Свет исходит от фазовращателя 3412 и распространяется к проекционной линзе 3416 и поступает в нее. Свет соответствует конкретному выбору фазы, выполненному с использованием фазовращателя 3412. Таким образом, свет можно охарактеризовать как выбранный по фазе свет. Затем свет может продолжать распространяться через систему, например, для освещения пробы.
[00288] В данном случае характеристики выбранных по фазе электромагнитных волн света соответствуют тому факту, что излучение рассеивается решеткой 3408 и что выбор фазы выполняется фазовращателем 3412. Кроме того, в данном случае решетка 3408 была задействована в результате расположения поворотного зеркала 3402 таким образом, что его первый конец 3422 прерывает свет, тогда как его второй конец 3426 не прерывает свет. Поворотное зеркало 3402 может многократно принимать различные положения за счет различных поворотов. Например, поворотное зеркало 3402 может совершать возвратно-поступательные движения между положениями. В качестве другого примера, поворачиваемое зеркало 3402 может поворачиваться в одном и том же направлении (например, по часовой стрелке или против часовой стрелки, если смотреть на шаговый двигатель 3420) для многократного принятия положений.
[00289] На ФИГ. 35 показан пример RIGS 3500. RIGS 3500 может быть использован с одним или более другими вариантами осуществления, описанными в настоящем документе, или может быть включен в них. В некоторых вариантах реализации RIGS 3500 может быть использован с системой 100, показанной на ФИГ. 1, или может быть включен в нее. В некоторых вариантах реализации RIGS 3500 может быть использован с оптической системой 200, показанной на ФИГ. 2, или может быть включен в нее. В некоторых вариантах реализации RIGS 3500 может быть использован с оптической системой 500, показанной на ФИГ. 5, или может быть включен в нее. В некоторых вариантах реализации RIGS 3500 может быть использован с оптической системой 820, показанной на ФИГ. 8B, или может быть включен в нее. В некоторых вариантах реализации RIGS 3500 может быть использован с оптической системой 1100, показанной на ФИГ. 11, или может быть включен в нее. В некоторых вариантах реализации RIGS 3500 может быть использован с оптической системой 1200, показанной на ФИГ. 12, или может быть включен в нее. В некоторых вариантах реализации RIGS 3500 может быть использован с оптической системой 1300, показанной на ФИГ. 13, или может быть включен в нее. В некоторых вариантах реализации RIGS 3500 может быть использован с оптической системой 1400, показанной на ФИГ. 14, или может быть включен в нее. В некоторых вариантах реализации RIGS 3500 можно использовать с призмой бокового смещения 1600, показанной на ФИГ. 16A-16В. В некоторых вариантах реализации RIGS 3500 может включать в себя или использоваться со светоделителем 1700 на ФИГ. 17. В некоторых вариантах реализации RIGS 3500 можно использовать с модулем 1800 визуализации, показанным на ФИГ. 18 или 19A-19В. В некоторых вариантах реализации RIGS 3500 может быть включен в SIM-узел 2000, показанный на ФИГ. 20. В некоторых вариантах реализации RIGS 3500 может быть включен в модуль 2100 визуализации, показанный на ФИГ. 21, или может использоваться с ним. В некоторых вариантах реализации RIGS 3500 может быть включен в модуль 2200 визуализации, показанный на ФИГ. 22. В некоторых вариантах реализации RIGS 3500 может быть включен в модуль 2400 визуализации, показанный на ФИГ. 24. В некоторых вариантах реализации RIGS 3500 может быть включен в оптическую систему 2500, показанную на ФИГ. 25. В некоторых вариантах реализации RIGS 3500 может быть включен в оптическую систему 2600, показанную на ФИГ. 26. В некоторых вариантах реализации RIGS 3500 можно использовать с отражающим компонентом 2700, показанным на ФИГ. 27. В некоторых вариантах реализации RIGS 3500 можно использовать с отражающим компонентом 2800, показанным на ФИГ. 28. В некоторых вариантах реализации RIGS 3500 может генерировать свет 2900 автофокусировки, показанный на ФИГ. 29. В некоторых вариантах реализации RIGS 3500 может генерировать свет 3000 автофокусировки, показанный на ФИГ. 30. В некоторых вариантах реализации RIGS 3500 может генерировать свет 3100 автофокусировки, показанный на ФИГ. 31A-31C. В некоторых вариантах реализации RIGS 3500 можно использовать с теплопоглотителем 3200 лазерного двигателя, показанным на ФИГ. 32А-32С. В некоторых вариантах реализации RIGS 3500 можно использовать с теплопоглотителем 3300 лазерного двигателя, показанным на ФИГ. 33A-33C. В некоторых вариантах реализации RIGS 3500 может быть включен в SIM-узел 3400, показанный на ФИГ. 34. В некоторых вариантах реализации RIGS 3500 можно использовать с RIGS 3600, показанными на ФИГ. 36. В некоторых вариантах реализации RIGS 3500 может включать в себя или использоваться с пьезофазовращателем 3700, показанным на ФИГ. 37. В некоторых вариантах реализации RIGS 3500 может включать в себя или использоваться с пьезофазовращателем 3800, показанным на ФИГ. 38. В некоторых вариантах реализации RIGS 3500 можно использовать с проекционной линзой 3900, показанной на ФИГ. 39. В некоторых вариантах реализации RIGS 3500 можно использовать с проекционной линзой 4000, показанной на ФИГ. 40. В некоторых вариантах реализации RIGS 3500 может генерировать поле 4100 обзора, показанное на ФИГ. 41.
[00290] RIGS 3500 включают в себя двигатель RIGS 3502. Двигатель 3502 RIGS может представлять собой электрический двигатель, имеющий индивидуальные обмотки. Двигатель 3502 RIGS может быть связан со шпинделем 3504, который, в свою очередь, связан с осью 3506, на которой установлено поворотное зеркало 3508. Двигатель 3502 RIGS, шпиндель 3504 и ось 3506 могут инициировать вращение поворотного зеркала 3508 и принятие требуемого(-ых) положения(-й). В некоторых вариантах реализации поворотное зеркало 3508 вращается в том же направлении к новым положениям (например, всегда по часовой стрелке или всегда против часовой стрелки вокруг оси 3506 вращения). В некоторых вариантах реализации поворотное зеркало 3508 совершает возвратно-поступательные движения между двумя или более положениями (например, попеременно по часовой стрелке или против часовой стрелки вокруг оси 3506 вращения). Время перехода лопасти поворотного зеркала 3508 может частично зависеть от двигателя RIGS 3502 и шпинделя 3504. Например, время перехода лопасти может составлять примерно 47 мс.
[00291] На ФИГ. 36 показан пример RIGS 3600. RIGS 3600 может быть использован с одним или более другими вариантами осуществления, описанными в настоящем документе, или может быть включен в них. В некоторых вариантах реализации RIGS 3600 может быть использован с системой 100, показанной на ФИГ. 1, или может быть включен в нее. В некоторых вариантах реализации RIGS 3600 может быть использован с оптической системой 200, показанной на ФИГ. 2, или может быть включен в нее. В некоторых вариантах реализации RIGS 3600 может быть использован с оптической системой 500, показанной на ФИГ. 5, или может быть включен в нее. В некоторых вариантах реализации RIGS 3600 может быть использован с оптической системой 820, показанной на ФИГ. 8B, или может быть включен в нее. В некоторых вариантах реализации RIGS 3600 может быть использован с оптической системой 1100, показанной на ФИГ. 11, или может быть включен в нее. В некоторых вариантах реализации RIGS 3600 может быть использован с оптической системой 1200, показанной на ФИГ. 12, или может быть включен в нее. В некоторых вариантах реализации RIGS 3600 может быть использован с оптической системой 1300, показанной на ФИГ. 13, или может быть включен в нее. В некоторых вариантах реализации RIGS 3600 может быть использован с оптической системой 1400, показанной на ФИГ. 14, или может быть включен в нее. В некоторых вариантах реализации RIGS 3600 можно использовать с призмой бокового смещения 1600, показанной на ФИГ. 16A-16В. В некоторых вариантах реализации RIGS 3600 может включать в себя или использоваться со светоделителем 1700 на ФИГ. 17. В некоторых вариантах реализации RIGS 3600 можно использовать с модулем 1800 визуализации, показанным на ФИГ. 18 или 19A-19В. В некоторых вариантах реализации RIGS 3600 может быть включен в SIM-узел 2000, показанный на ФИГ. 20. В некоторых вариантах реализации RIGS 3600 может быть включен в модуль 2100 визуализации, показанный на ФИГ. 21, или может использоваться с ним. В некоторых вариантах реализации RIGS 3600 может быть включен в модуль 2200 визуализации, показанный на ФИГ. 22. В некоторых вариантах реализации RIGS 3600 может быть включен в модуль 2400 визуализации, показанный на ФИГ. 24. В некоторых вариантах реализации RIGS 3600 может быть включен в оптическую систему 2500, показанную на ФИГ. 25. В некоторых вариантах реализации RIGS 3600 может быть включен в оптическую систему 2600, показанную на ФИГ. 26. В некоторых вариантах реализации RIGS 3600 можно использовать с отражающим компонентом 2700, показанным на ФИГ. 27. В некоторых вариантах реализации RIGS 3600 можно использовать с отражающим компонентом 2800, показанным на ФИГ. 28. В некоторых вариантах реализации RIGS 3600 может генерировать свет 2900 автофокусировки, показанный на ФИГ. 29. В некоторых вариантах реализации RIGS 3600 может генерировать свет 3000 автофокусировки, показанный на ФИГ. 30. В некоторых вариантах реализации RIGS 3600 может генерировать свет 3100 автофокусировки, показанный на ФИГ. 31A-31C. В некоторых вариантах реализации RIGS 3600 можно использовать с теплопоглотителем 3200 лазерного двигателя, показанным на ФИГ. 32А-32С. В некоторых вариантах реализации RIGS 3500 можно использовать с теплопоглотителем 3300 лазерного двигателя, показанным на ФИГ. 33A-33C. В некоторых вариантах реализации RIGS 3600 может быть включен в SIM-узел 3400, показанный на ФИГ. 34. В некоторых вариантах реализации RIGS 3600 можно использовать с RIGS 3500, показанным на ФИГ. 35. В некоторых вариантах реализации RIGS 3600 может включать в себя или использоваться с пьезофазовращателем 3700, показанным на ФИГ. 37. В некоторых вариантах реализации RIGS 3600 может включать в себя или использоваться с пьезофазовращателем 3800, показанным на ФИГ. 38. В некоторых вариантах реализации RIGS 3600 можно использовать с проекционной линзой 3900, показанной на ФИГ. 39. В некоторых вариантах реализации RIGS 3600 можно использовать с проекционной линзой 4000, показанной на ФИГ. 40. В некоторых вариантах реализации RIGS 3600 может генерировать поле 4100 обзора, показанное на ФИГ. 41.
[00292] RIGS 3600 включают в себя двигатель RIGS 3602. Двигатель 3602 RIGS может представлять собой электрический двигатель с индивидуальной обмоткой. Двигатель 3602 RIGS может быть связан со шпинделем 3604, на котором установлено поворотное зеркало 3606. Двигатель 3602 RIGS и шпиндель 3604 могут инициировать вращение поворотного зеркала 3606 и принятие требуемого(-ых) положения(-й). В некоторых вариантах реализации поворотное зеркало 3606 вращается в том же направлении к новым положениям (например, всегда по часовой стрелке или всегда против часовой стрелки вокруг оси вращения шпинделя 3604). В некоторых вариантах реализации поворотное зеркало 3606 совершает возвратно-поступательные движения между двумя или более положениями (например, попеременно по часовой стрелке или против часовой стрелки вокруг оси вращения шпинделя 3604). RIGS 3600 может иметь уменьшенное количество частей по сравнению с другой RIGS, включая, без ограничений, RIGS 3500, показанный на ФИГ. 35. Например, RIGS 3600 может не иметь шпинделя 3504 на ФИГ. 35 и двух подшипников. Время перехода лопасти поворотного зеркала 3606 может частично зависеть от двигателя 3602 RIGS и шпинделя 3604. Например, время перехода лопасти может составлять примерно 40 мс. RIGS 3600 включает в себя призму 3608. Например, призма 3608 может быть соединена с подпластиной 3610 RIGS 3600.
[00293] На ФИГ. 37 представлен вариант осуществления пьезофазовращателя 3700. Пьезофазовращатель 3700 может использоваться с одним или более другими вариантами осуществления, описанными в настоящем документе, или может быть включен в них. В некоторых вариантах реализации пьезофазовращатель 3700 может использоваться с системой 100, показанной на ФИГ. 1, или может быть включен в нее. В некоторых вариантах реализации пьезофазовращатель 3700 может использоваться с оптической системой 200, показанной на ФИГ. 2, или может быть включен в нее. В некоторых вариантах реализации пьезофазовращатель 3700 может использоваться с оптической системой 500, показанной на ФИГ. 5, или может быть включен в нее. В некоторых вариантах реализации пьезофазовращатель 3700 может использоваться с оптической системой 820, показанной на ФИГ. 8B, или может быть включен в нее. В некоторых вариантах реализации пьезофазовращатель 3700 может использоваться с оптической системой 1100, показанной на ФИГ. 11, или может быть включен в нее. В некоторых вариантах реализации пьезофазовращатель 3700 может использоваться с оптической системой 1200, показанной на ФИГ. 12, или может быть включен в нее. В некоторых вариантах реализации пьезофазовращатель 3700 может использоваться с оптической системой 1300, показанной на ФИГ. 13, или может быть включен в нее. В некоторых вариантах реализации пьезофазовращатель 3700 может использоваться с оптической системой 1400, показанной на ФИГ. 14, или может быть включен в нее. В некоторых вариантах реализации пьезофазовращатель 3700 может использоваться с модулем 1800 визуализации, показанным на ФИГ. 18 и 19A-19В. В некоторых вариантах реализации пьезофазовращатель 3700 может использоваться с модулем 2100 визуализации, показанным на ФИГ. 21, или может быть включен в него. В некоторых вариантах реализации пьезофазовращатель 3700 может использоваться с модулем 2200 визуализации, показанным на ФИГ. 22, или может быть включен в него. В некоторых вариантах реализации пьезофазовращатель 3700 может использоваться с модулем 2400 визуализации, показанным на ФИГ. 24, или может быть включен в него. В некоторых вариантах реализации пьезофазовращатель 3700 может использоваться с оптической системой 2500, показанной на ФИГ. 25, или может быть включен в нее. В некоторых вариантах реализации пьезофазовращатель 3700 может использоваться с оптической системой 2600, показанной на ФИГ. 26, или может быть включен в нее. В некоторых вариантах реализации пьезофазовращатель 3700 может использоваться с отражающим компонентом 2700, показанным на ФИГ. 27. В некоторых вариантах реализации пьезофазовращатель 3700 может использоваться с отражающим компонентом 2800, показанным на ФИГ. 28. В некоторых вариантах реализации пьезофазовращатель 3700 может генерировать свет 2900 автофокусировки, показанный на ФИГ. 29. В некоторых вариантах реализации пьезофазовращатель 3700 может генерировать свет 3000 автофокусировки, показанный на ФИГ. 30. В некоторых вариантах реализации пьезофазовращатель 3700 может генерировать свет 3100 автофокусировки, показанный на ФИГ. 31A-31C. В некоторых вариантах реализации пьезофазовращатель 3700 может использоваться с теплопоглотителем 3200 лазерного двигателя, показанным на ФИГ. 32А-32С. В некоторых вариантах реализации пьезофазовращатель 3700 может использоваться с теплопоглотителем 3300 лазерного двигателя, показанным на ФИГ. 33A-33C. В некоторых вариантах реализации пьезофазовращатель 3700 может быть включен в SIM-узел 3400, показанный на ФИГ. 34. В некоторых вариантах реализации пьезофазовращатель 3700 может быть включен в RIGS 3500, показанный на ФИГ. 35. В некоторых вариантах реализации пьезофазовращатель 3700 может быть включен в RIGS 3600, показанный на ФИГ. 36. В некоторых вариантах реализации пьезофазовращатель 3700 может использоваться с пьезофазовращателем 3800, показанным на ФИГ. 38. В некоторых вариантах реализации пьезофазовращатель 3700 может использоваться с проекционной линзой 3900, показанной на ФИГ. 39. В некоторых вариантах реализации пьезофазовращатель 3700 может использоваться с проекционной линзой 4000, показанной на ФИГ. 40.
[00294] На ФИГ. 38 представлен вариант осуществления пьезофазовращателя 3800. Пьезофазовращатель 3800 может использоваться с одним или более другими вариантами осуществления, описанными в настоящем документе, или может быть включен в них. В некоторых вариантах реализации пьезофазовращатель 3800 может использоваться с системой 100, показанной на ФИГ. 1, или может быть включен в нее. В некоторых вариантах реализации пьезофазовращатель 3800 может использоваться с оптической системой 200, показанной на ФИГ. 2, или может быть включен в нее. В некоторых вариантах реализации пьезофазовращатель 3800 может использоваться с оптической системой 500, показанной на ФИГ. 5, или может быть включен в нее. В некоторых вариантах реализации пьезофазовращатель 3800 может использоваться с оптической системой 820, показанной на ФИГ. 8B, или может быть включен в нее. В некоторых вариантах реализации пьезофазовращатель 3800 может использоваться с оптической системой 1100, показанной на ФИГ. 11, или может быть включен в нее. В некоторых вариантах реализации пьезофазовращатель 3800 может использоваться с оптической системой 1200, показанной на ФИГ. 12, или может быть включен в нее. В некоторых вариантах реализации пьезофазовращатель 3800 может использоваться с оптической системой 1300, показанной на ФИГ. 13, или может быть включен в нее. В некоторых вариантах реализации пьезофазовращатель 3800 может использоваться с оптической системой 1400, показанной на ФИГ. 14, или может быть включен в нее. В некоторых вариантах реализации пьезофазовращатель 3800 может использоваться с модулем 1800 визуализации, показанным на ФИГ. 18 и 19A-19В. В некоторых вариантах реализации пьезофазовращатель 3800 может использоваться с модулем 2100 визуализации, показанным на ФИГ. 21, или может быть включен в него. В некоторых вариантах реализации пьезофазовращатель 3800 может использоваться с модулем 2200 визуализации, показанным на ФИГ. 22, или может быть включен в него. В некоторых вариантах реализации пьезофазовращатель 3800 может использоваться с модулем 2400 визуализации, показанным на ФИГ. 24, или может быть включен в него. В некоторых вариантах реализации пьезофазовращатель 3800 может использоваться с оптической системой 2500, показанной на ФИГ. 25, или может быть включен в нее. В некоторых вариантах реализации пьезофазовращатель 3800 может использоваться с оптической системой 2600, показанной на ФИГ. 26, или может быть включен в нее. В некоторых вариантах реализации пьезофазовращатель 3800 может использоваться с отражающим компонентом 2700, показанным на ФИГ. 27. В некоторых вариантах реализации пьезофазовращатель 3800 может использоваться с отражающим компонентом 2800, показанным на ФИГ. 28. В некоторых вариантах реализации пьезофазовращатель 3800 может генерировать свет 2900 автофокусировки, показанный на ФИГ. 29. В некоторых вариантах реализации пьезофазовращатель 3800 может генерировать свет 3000 автофокусировки, показанный на ФИГ. 30. В некоторых вариантах реализации пьезофазовращатель 3800 может генерировать свет 3100 автофокусировки, показанный на ФИГ. 31A-31C. В некоторых вариантах реализации пьезофазовращатель 3800 может использоваться с теплопоглотителем 3200 лазерного двигателя, показанным на ФИГ. 32А-32С. В некоторых вариантах реализации пьезофазовращатель 3800 может использоваться с теплопоглотителем 3300 лазерного двигателя, показанным на ФИГ. 33A-33C. В некоторых вариантах реализации пьезофазовращатель 3800 может быть включен в SIM-узел 3400, показанный на ФИГ. 34. В некоторых вариантах реализации пьезофазовращатель 3800 может быть включен в RIGS 3500, показанный на ФИГ. 35. В некоторых вариантах реализации пьезофазовращатель 3800 может быть включен в RIGS 3600, показанный на ФИГ. 36. В некоторых вариантах реализации пьезофазовращатель 3800 может использоваться с пьезофазовращателем 3700, показанным на ФИГ. 37. В некоторых вариантах реализации пьезофазовращатель 3800 может использоваться с проекционной линзой 3900, показанной на ФИГ. 39. В некоторых вариантах реализации пьезофазовращатель 3800 может использоваться с проекционной линзой 4000, показанной на ФИГ. 40.
[00295] Фазофазовращатель 3800 может иметь один или более рабочих параметров. В некоторых вариантах реализации общее перемещение пьезофазовращателя 3800 составляет более примерно 5 мкм. В некоторых вариантах реализации пьезофазовращатель 3800 обеспечивает управление с замкнутым контуром. Например, на изгибе могут быть установлены один или более датчиков напряжения. В некоторых вариантах реализации пьезофазовращатель 3800 может иметь уступ и заданный параметр примерно 1,165 мкм менее чем за примерно 4-9 мс. В некоторых вариантах реализации пьезофазовращатель 3800 может иметь прямолинейность перемещения (электрической оси антенны) примерно 0,25 мкрад до 2,5 мкм перемещения. В некоторых вариантах реализации пьезофазовращатель 3800 управляется аналоговым контроллером.
[00296] На ФИГ. 39 показан вариант осуществления проекционной линзы 3900. Проекционная линза 3900 может использоваться с одним или более другими вариантами осуществления, описанными в настоящем документе, или может быть включена в них. В некоторых вариантах реализации проекционная линза 3900 может использоваться с системой 100, показанной на ФИГ. 1, или быть включена в нее. В некоторых вариантах реализации проекционная линза 3900 может использоваться с оптической системой 200, показанной на ФИГ. 2, или быть включена в нее. В некоторых вариантах реализации проекционная линза 3900 может использоваться с оптической системой 500, показанной на ФИГ. 5, или быть включена в нее. В некоторых вариантах реализации проекционная линза 3900 может использоваться с оптической системой 820, показанной на ФИГ. 8B, или быть включена в нее. В некоторых вариантах реализации проекционная линза 3900 может использоваться с оптической системой 1100, показанной на ФИГ. 11, или быть включена в нее. В некоторых вариантах реализации проекционная линза 3900 может использоваться с оптической системой 1200, показанной на ФИГ. 12, или быть включена в нее. В некоторых вариантах реализации проекционная линза 3900 может использоваться с оптической системой 1300, показанной на ФИГ. 13, или быть включена в нее. В некоторых вариантах реализации проекционная линза 3900 может использоваться с оптической системой 1400, показанной на ФИГ. 14, или быть включена в нее. В некоторых вариантах реализации проекционную линзу 3900 можно использовать с модулем 1800 визуализации, показанным на ФИГ. 18 и 19A-19В. В некоторых вариантах реализации проекционная линза 3900 может использоваться с модулем 2100 визуализации, показанным на ФИГ. 21, или быть включена в него. В некоторых вариантах реализации проекционная линза 3900 может использоваться с модулем 2200 визуализации, показанным на ФИГ. 22, или быть включена в него. В некоторых вариантах реализации проекционная линза 3900 может использоваться с модулем 2400 визуализации, показанным на ФИГ. 24, или быть включена в него. В некоторых вариантах реализации проекционная линза 3900 может использоваться с оптической системой 2500, показанной на ФИГ. 25, или быть включена в нее. В некоторых вариантах реализации проекционная линза 3900 может использоваться с оптической системой 2600, показанной на ФИГ. 26, или быть включена в нее. В некоторых вариантах реализации проекционная линза 3900 может использоваться с отражающим компонентом 2700, показанным на ФИГ. 27. В некоторых вариантах реализации проекционная линза 3900 может использоваться с отражающим компонентом 2800, показанным на ФИГ. 28. В некоторых вариантах реализации проекционная линза 3900 может генерировать свет 2900 автофокусировки, показанный на ФИГ. 29. В некоторых вариантах реализации проекционная линза 3900 может генерировать свет автофокусировки 3000, показанный на ФИГ. 30. В некоторых вариантах реализации проекционная линза 3900 может генерировать свет 3100 автофокусировки, показанный на ФИГ. 31A-31C. В некоторых вариантах реализации проекционная линза 3900 может использоваться с теплопоглотителем 3200 лазерного двигателя, показанным на ФИГ. 32А-32С. В некоторых вариантах реализации проекционная линза 3900 может использоваться с теплопоглотителем 3300 лазерного двигателя, показанным на ФИГ. 33A-33C. В некоторых вариантах реализации проекционную линзу 3900 можно использовать с SIM-узлом 3400, показанным на ФИГ. 34. В некоторых вариантах реализации проекционная линза 3900 может использоваться с RIGS 3500, показанным на ФИГ. 35. В некоторых вариантах реализации проекционная линза 3900 может использоваться с RIGS 3600, показанным на ФИГ. 36. В некоторых вариантах реализации проекционная линза 3900 может использоваться с пьезофазовращателем 3700, показанным на ФИГ. 37. В некоторых вариантах реализации проекционная линза 3900 может использоваться с пьезофазовращателем 3800, показанным на ФИГ. 38. В некоторых примерах осуществления проекционная линза 3900 может использоваться с проекционной линзой 4000, показанной на ФИГ. 40.
[00297] На ФИГ. 40 показан вариант осуществления проекционной линзы 4000. Проекционная линза 4000 может использоваться с одним или более другими вариантами осуществления, описанными в настоящем документе, или может быть включена в них. В некоторых вариантах реализации проекционная линза 4000 может использоваться с системой 100, показанной на ФИГ. 1, или быть включена в нее. В некоторых вариантах реализации проекционная линза 4000 может использоваться с оптической системой 200, показанной на ФИГ. 2, или быть включена в нее. В некоторых вариантах реализации проекционная линза 4000 может использоваться с оптической системой 500, показанной на ФИГ. 5, или быть включена в нее. В некоторых вариантах реализации проекционная линза 4000 может использоваться с оптической системой 820, показанной на ФИГ. 8B, или быть включена в нее. В некоторых вариантах реализации проекционная линза 4000 может использоваться с оптической системой 1100, показанной на ФИГ. 11, или быть включена в нее. В некоторых вариантах реализации проекционная линза 4000 может использоваться с оптической системой 1200, показанной на ФИГ. 12, или быть включена в нее. В некоторых вариантах реализации проекционная линза 4000 может использоваться с оптической системой 1300, показанной на ФИГ. 13, или быть включена в нее. В некоторых вариантах реализации проекционная линза 4000 может использоваться с оптической системой 1400, показанной на ФИГ. 14, или быть включена в нее. В некоторых вариантах реализации проекционную линзу 4000 можно использовать с модулем 1800 визуализации, показанным на ФИГ. 18 и 19A-19В. В некоторых вариантах реализации проекционная линза 4000 может использоваться с модулем 2100 визуализации, показанным на ФИГ. 21, или быть включена в него. В некоторых вариантах реализации проекционная линза 4000 может использоваться с модулем 2200 визуализации, показанным на ФИГ. 22, или быть включена в него. В некоторых вариантах реализации проекционная линза 4000 может использоваться с модулем 2400 визуализации, показанным на ФИГ. 24, или быть включена в него. В некоторых вариантах реализации проекционная линза 4000 может использоваться с оптической системой 2500, показанной на ФИГ. 25, или быть включена в нее. В некоторых вариантах реализации проекционная линза 4000 может использоваться с оптической системой 2600, показанной на ФИГ. 26, или быть включена в нее. В некоторых вариантах реализации проекционная линза 4000 может использоваться с отражающим компонентом 2700, показанным на ФИГ. 27. В некоторых вариантах реализации проекционная линза 4000 может использоваться с отражающим компонентом 2800, показанным на ФИГ. 28. В некоторых вариантах реализации проекционная линза 4000 может генерировать свет 2900 автофокусировки, показанный на ФИГ. 29. В некоторых вариантах реализации проекционная линза 4000 может генерировать свет 3000 автофокусировки, показанный на ФИГ. 30. В некоторых вариантах реализации проекционная линза 4000 может генерировать свет 3100 автофокусировки, показанный на ФИГ. 31A-31C. В некоторых вариантах реализации проекционная линза 4000 может использоваться с теплопоглотителем 3200 лазерного двигателя, показанным на ФИГ. 32А-32С. В некоторых вариантах реализации проекционная линза 4000 может использоваться с теплопоглотителем 3300 лазерного двигателя, показанным на ФИГ. 33A-33C. В некоторых вариантах реализации проекционную линзу 4000 можно использовать с SIM-узлом 3400, показанным на ФИГ. 34. В некоторых вариантах реализации проекционная линза 4000 может использоваться с RIGS 3500, показанным на ФИГ. 35. В некоторых вариантах реализации проекционная линза 4000 может использоваться с RIGS 3600, показанным на ФИГ. 36. В некоторых вариантах реализации проекционная линза 4000 может использоваться с пьезофазовращателем 3700, показанным на ФИГ. 37. В некоторых вариантах реализации проекционная линза 4000 может использоваться с пьезофазовращателем 3800, показанным на ФИГ. 38. В некоторых примерах осуществления проекционная линза 4000 может использоваться с проекционной линзой 3900, показанной на ФИГ. 39.
[00298] На ФИГ. 41 показан пример поле 4100 обзора. Поле 4100 обзора может быть создано с помощью одного или более других вариантов осуществления, описанных в настоящем документе. В некоторых вариантах реализации система 100, показанная на ФИГ. 1, может генерировать поле 4100 обзора. В некоторых вариантах реализации поле 4100 обзора может генерироваться оптической системой 200, показанной на ФИГ. 2. В некоторых вариантах реализации поле 4100 обзора может генерироваться оптической системой 500, показанной на ФИГ. 5. В некоторых вариантах реализации поле 4100 обзора может генерироваться оптической системой 820, показанной на ФИГ. 8B. В некоторых вариантах реализации поле 4100 обзора может содержать отражения 900 и 900’, показанные на ФИГ. 9A-9B. В некоторых вариантах реализации поле 4100 обзора может генерироваться оптической системой 1100, показанной на ФИГ. 11. В некоторых вариантах реализации поле 4100 обзора может генерироваться оптической системой 1200, показанной на ФИГ. 12. В некоторых вариантах реализации поле 4100 обзора может генерироваться оптической системой 1300, показанной на ФИГ. 13. В некоторых вариантах реализации поле 4100 обзора может генерироваться оптической системой 1400, показанной на ФИГ. 14. В некоторых вариантах реализации поле 4100 обзора может быть обнаружено с использованием модуля 1800 визуализации, показанного на ФИГ. 18 и 19A-19В. В некоторых вариантах реализации поле 4100 обзора может быть создано с использованием SIM-узла 2000, показанного на ФИГ. 20. В некоторых вариантах реализации поле 4100 обзора может быть создано с использованием модуля 2100 визуализации, показанного на ФИГ. 21. В некоторых вариантах реализации поле 4100 обзора может быть создано с использованием модуля 2200 визуализации, показанного на ФИГ. 22. В некоторых вариантах реализации поле 4100 обзора может быть создано с использованием модуля 2400 визуализации, показанного на ФИГ. 24. В некоторых вариантах реализации поле 4100 обзора может быть создано с использованием оптической системы 2500, показанной на ФИГ. 25. В некоторых вариантах реализации поле 4100 обзора может быть создано с использованием оптической системы 2600, показанной на ФИГ. 26. В некоторых вариантах реализации поле 4100 обзора может быть создано с использованием отражающего компонента 2700, показанного на ФИГ. 27. В некоторых вариантах реализации поле 4100 обзора может быть создано с использованием отражающего компонента 2800, показанного на ФИГ. 28. В некоторых вариантах реализации поле 4100 обзора может быть создано с использованием SIM-узла 3400, показанного на ФИГ. 34. В некоторых вариантах реализации поле 4100 обзора может быть создано с использованием RIGS 3500, показанного на ФИГ. 35. В некоторых вариантах реализации поле 4100 обзора может быть создано с использованием RIGS 3600, показанного на ФИГ. 36. В некоторых вариантах реализации поле 4100 обзора может быть создано с использованием пьезофазовращателя 3700, показанного на ФИГ. 37. В некоторых вариантах реализации поле 4100 обзора может быть создано с использованием пьезофазовращателя 3800, показанного на ФИГ. 38. В некоторых вариантах реализации поле 4100 обзора может быть создано с использованием проекционной линзы 3900, показанной на ФИГ. 39. В некоторых вариантах реализации поле 4100 обзора может быть создано с использованием проекционной линзы 4000, показанной на ФИГ. 40.
[00299] Поле 4100 обзора может быть определено относительно области 4102 датчика. В некоторых вариантах реализации область датчика может включать в себя примерно 5472 × 3694 пикселей. В некоторых вариантах реализации поле 4100 обзора содержит множество фрагментов. Например, поле 4100 обзора может включать в себя область плитки 7 × 7. Например, одна плитка может включать в себя примерно 512 × 512 пикселей (примерно 116 × 116 мкм). В некоторых вариантах реализации поле 4100 обзора может иметь ширину примерно 814 мкм (примерно 3600 пикселей). В некоторых вариантах реализации поле 4100 обзора может иметь высоту примерно 814 мкм (примерно 3600 пикселей).
[00300] На ФИГ. 42 показан схематический вид примера системы 4200, которую можно использовать для биологического и/или химического анализа. Система 4200 позволяет получать любую информацию или данные, относящиеся по меньшей мере к одному биологическому и/или химическому веществу. В некоторых вариантах реализации носитель 4202 поставляет материал для анализа. Например, носитель 4202 может включать в себя картридж или любой другой компонент, содержащий материал. В некоторых вариантах реализации система 4200 имеет приемный отсек 4204 для размещения носителя 4202 по меньшей мере во время анализа. Приемный отсек 4204 может образовывать отверстие в корпусе 4206 системы 4200. Например, некоторые или все компоненты системы 4200 могут находиться внутри корпуса 4206.
[00301] Система 4200 может включать в себя оптическую систему 4208 для биологического и/или химического анализа материала(-ов) носителя 4202. Оптическая система 4208 может выполнять одну или более оптических операций, включая, без ограничений, освещение и/или визуализацию материала(-ов). Например, оптическая система 4208 может включать в себя любую или все системы, описанные в других разделах настоящего документа. В качестве другого примера оптическая система 4208 может выполнять любую или все операции, описанные в других разделах настоящего документа.
[00302] Система 4200 может включать в себя термическую систему 4210 для обеспечения термической обработки, связанной с биологическим и/или химическим анализом. В некоторых вариантах реализации термическая система 4210 регулирует температуру по меньшей мере части анализируемого(-ых) материала(-ов) и/или носителя 4202.
[00303] Система 4200 может включать в себя гидравлическую систему 4212 для управления одной или более текучими средами, связанными с биологическим и/или химическим анализом. В некоторых вариантах реализации текучая(-ие) среда(-ы) может(могут) быть обеспечена(-ы) для носителя 4202 или его(их) материала(-ов). Например, текучая среда может быть добавлена в материал носителя 4202 и/или удалена из него.
[00304] Система 4200 включает в себя интерфейс 4214 пользователя, который облегчает ввод и/или вывод данных, относящихся к биологическому и/или химическому анализу. Интерфейс пользователя может использоваться для указания одного или более параметров работы системы 4200 и/или для вывода результатов биологического и/или химического анализа, и многие другие примеры. Например, интерфейс 4214 пользователя может включать в себя один или более устройств отображения (напр., сенсорный экран), клавиатуру и/или указывающее устройство (напр., мышь или сенсорная панель).
[00305] Система 4200 может включать системный контроллер 4216, который может управлять одним или более аспектами системы 4200 для выполнения биологического и/или химического анализа. Системный контроллер 4216 может управлять приемным отсеком 4204, оптической системой 4208, термической системой 4210, гидравлической системой 4212 и/или интерфейсом 4214 пользователя. Системный контроллер 4216 может включать в себя по меньшей мере один процессор и по меньшей мере один носитель данных (напр., запоминающее устройство) с исполняемыми инструкциями для процессора.
[00306] На ФИГ. 43 показан пример архитектуры вычислительного устройства 4300, которое может быть использовано для реализации аспектов настоящего изобретения, включая любые из систем, устройств и/или методик, описанных в настоящем документе, или любые другие системы, устройства и/или методики, которые могут быть использованы в различных возможных вариантах реализации.
[00307] Вычислительное устройство, показанное на ФИГ. 43, можно использовать для выполнения операционной системы, прикладных программ и/или программных модулей (включая программные подсистемы), описанные в настоящем документе.
[00308] Вычислительное устройство 4300 в некоторых вариантах реализации включает в себя по меньшей мере одно устройство 4302 обработки (напр., процессор), такое как центральный процессор (CPU). Существует множество устройств обработки, поставляемых различными производителями, например, Intel или Advanced Micro Devices. В этом примере вычислительное устройство 4300 также включает в себя системную память 4304 и системную шину 4306, соединяющую различные компоненты системы, включая системную память 4304, с устройством 4302 обработки. Системная шина 4306 представляет собой один из любого числа типов конструкций шин, которые можно использовать, включая, без ограничений, шину памяти или контроллер памяти; периферийную шину; и локальную шину с использованием любой из множества архитектур шин.
[00309] Примеры вычислительных устройств, которые могут быть реализованы с использованием вычислительного устройства 4300, включают в себя настольный компьютер, портативный компьютер, планшетный компьютер, мобильное вычислительное устройство (такое как смартфон, мобильное цифровое устройство с сенсорной панелью или другие мобильные устройства) или другие устройства, выполненные с возможностью обработки цифровых команд.
[00310] Системная память 4304 включает в себя постоянное запоминающее устройство 4308 и оперативное запоминающее устройство 4310. Базовая система ввода/вывода 4312, содержащая базовые подпрограммы, выполняющие функцию передачи информации внутри вычислительного устройства 4300, например, во время запуска, может храниться в постоянном запоминающем устройстве 4308.
[00311] Вычислительное устройство 4300 в некоторых вариантах реализации также включает в себя вторичное устройство хранения 4314, такое как жесткий диск, для хранения цифровых данных. Вторичное устройство хранения 4314 соединено с системной шиной 4306 с помощью интерфейса вторичного хранения 4316. Вторичное устройство хранения 4314 и связанные с ним машиночитаемые носители обеспечивают энергонезависимое и долговременное хранение машиночитаемых команд (включая прикладные программы и программные модули), структуры данных и другие данные для вычислительного устройства 4300.
[00312] Хотя в примере среды, описанной в настоящем документе, в качестве вторичного устройства хранения используется жесткий диск, в других вариантах реализации используются другие типы машиночитаемых носителей данных. Примеры таких других типов машиночитаемых носителей данных включают магнитные кассеты, карты флэш-памяти, цифровые видеодиски, картриджи Бернулли, память на компакт-дисках, память на компакт-диске формата DVD, оперативные запоминающие устройства или постоянные запоминающие устройства. Некоторые варианты реализации включают в себя энергонезависимый носитель. Например, компьютерный программный продукт может быть материально реализован на энергонезависимом носителе данных. Кроме того, такие машиночитаемые носители данных могут включать в себя локальные или облачные запоминающие устройства.
[00313] Ряд программных модулей может храниться на вторичном устройстве хранения 4314 и/или системной памяти 4304, включая операционную систему 4318, одну или более прикладных программ 4320, другие программные модули 4322 (такие как программные подсистемы, описанные в настоящем документе) и программные данные 4324. Вычислительное устройство 4300 может использовать любую подходящую операционную систему, такую как Microsoft WindowsTM, ОС Google ChromeTM, ОС Apple, Unix или Linux и другие варианты и любую другую операционную систему, подходящую для вычислительного устройства. Другие примеры могут включать операционные системы Microsoft, Google или Apple или любую другую подходящую операционную систему, используемую в планшетных вычислительных устройствах.
[00314] В некоторых вариантах реализации пользователь подает входные данные на вычислительное устройство 4300 через одно или более устройств ввода 4326. Примеры устройств ввода 4326 включают клавиатуру 4328, мышь 4330, микрофон 4332 (напр. для голосового и/или другого звукового ввода), датчик касания 4334 (такой как сенсорная панель или сенсорный дисплей) и датчик графических знаков 4335 (напр. для ввода графических знаков. В некоторых вариантах реализации устройство(-а) ввода 4326 обеспечивает (-ют) обнаружение на основании наличия, близости и/или движения. В некоторых вариантах реализации пользователь может проходить домой, чем может запускать ввод данных в устройство обработки. Например, устройство(-а) ввода 4326 может(-гут) затем облегчить автоматическое взаимодействие с пользователем. Другие варианты реализации включают в себя другие устройства ввода 4326. Устройства ввода могут быть подключены к устройству 4302 обработки через интерфейс 4336 ввода/вывода, который соединен с системной шиной 4306. Эти устройства ввода 4326 могут быть соединены с помощью любого числа интерфейсов ввода/вывода, таких как параллельный порт, последовательный порт, игровой порт или универсальная последовательная шина. Также возможна беспроводная связь между устройствами ввода 4326 и интерфейсом ввода/вывода 4336, и она включает в себя инфракрасную, беспроводную технологию BLUETOOTH®, 802.11 a/b/g/n, сотовую, сверхширокополосную (UWB), ZigBee или другие системы радиочастотной связи в некоторых возможных вариантах реализации и многие другие примеры.
[00315] В данном варианте реализации устройство 4338 отображения, такое как монитор, жидкокристаллический дисплей, проектор или сенсорное устройство отображения, также подключено к системной шине 4306 посредством интерфейса, такого как видеоадаптер 4340. Помимо устройства 4338 отображения вычислительное устройство 4300 может включать в себя различные другие периферийные устройства (не показаны), такие как динамики или принтер.
[00316] Вычислительное устройство 4300 может быть подключено к одной или более сетям через сетевой интерфейс 4342. Сетевой интерфейс 4342 может обеспечивать проводную и/или беспроводную связь. В некоторых вариантах реализации сетевой интерфейс 4342 может включать в себя одну или более антенн для передачи и/или приема радиосигналов. При использовании в среде локальной сети или среде глобальной сети (такой как Интернет) сетевой интерфейс 4342 может включать в себя интерфейс Ethernet. В других возможных вариантах реализации используются другие устройства связи. Например, некоторые варианты реализации вычислительного устройства 4300 включают в себя модем для обмена данными по сети.
[00317] Вычислительное устройство 4300 может включать в себя по меньшей мере некоторую форму машиночитаемых носителей. Машиночитаемые носители включают в себя любые доступные носители, к которым может иметь доступ вычислительное устройство 4300. В качестве примера, к машиночитаемым носителям относятся машиночитаемые носители данных и машиночитаемые средства передачи данных.
[00318] К машиночитаемым носителям данных относятся энергозависимые и энергонезависимые съемные и несъемные носители, реализованные в любом устройстве, выполненном с возможностью хранения информации, такой как машиночитаемые команды, структуры данных, программные модули или другие данные. К машиночитаемым носителям данных относятся, без ограничений, оперативное запоминающее устройство, постоянное запоминающее устройство, электрически стираемое программируемое постоянное запоминающее устройство, флэш-память или другие технологии памяти, постоянное запоминающее устройство на компакт-диске, универсальные цифровые диски или другое оптическое запоминающее устройство, магнитные кассеты, магнитная лента, запоминающее устройство на магнитных дисках или другие магнитные запоминающие устройства или любой другой носитель, который может использоваться для хранения требуемой информации и к которому может обращаться вычислительное устройство 4300.
[00319] Машиночитаемые средства передачи данных, как правило, могут включать в себя машиночитаемые команды, структуры данных, программные модули или другие данные в модулированном сигнале данных, таком как несущая волна или другой механизм переноса, и включать в себя любые средства доставки информации. Термин «модулированный сигнал данных» в настоящем документе означает сигнал, у которого одна или более характеристик настроены или изменены таким образом, что они кодируют информацию в сигнале. В качестве примера, машиночитаемые средства передачи данных включают в себя проводные средства, такие как проводная сеть или прямое проводное соединение, и беспроводные средства, такие как акустические, радиочастотные, инфракрасные и другие беспроводные средства. Комбинации любого из вышеперечисленных также включены в объем машиночитаемых носителей.
[00320] Вычислительное устройство, показанное на ФИГ. 43, также является примером программируемого электронного устройства, которое может включать в себя одно или более таких вычислительных устройств, и в случае включения множества вычислительных устройств такие вычислительные устройства могут быть соединены с подходящей сетью передачи данных для совместного выполнения различных функций, способов или операций, описанных в настоящем документе.
[00321] Следующие примеры иллюстрируют некоторые аспекты настоящего объекта изобретения.
[00322] Пример 1: Способ, включающий: направление с использованием объектива и первой отражающей поверхности первого света автофокусировки на датчик, причем первый свет автофокусировки отражен от первой поверхности подложки; предотвращение попадания второго света автофокусировки на датчик, причем второй свет автофокусировки отражается от второй поверхности подложки; и направление с использованием объектива и второй отражающей поверхности излучаемого света на датчик, причем излучаемый свет исходит от пробы, расположенной на подложке.
[00323] Пример 2: Способ по примеру 1, дополнительно включающий направление первого света автофокусировки ко второй отражающей поверхности, причем вторая отражающая поверхность прозрачна для первого света автофокусировки, причем первая отражающая поверхность расположена за второй отражающей поверхностью относительно направления хода первого света автофокусировки.
[00324] Пример 3: Способ по примеру 2, дополнительно включающий направление второго света автофокусировки ко второй отражающей поверхности, причем вторая отражающая поверхность прозрачна для второго света автофокусировки, причем первая отражающая поверхность прозрачна для второго света автофокусировки для предотвращения попадания второго света автофокусировки на датчик.
[00325] Пример 4: Способ по примеру 1, в котором первая отражающая поверхность расположена на первом отражающем компоненте, причем вторая отражающая поверхность расположена на втором отражающем компоненте, и при этом первый отражающий компонент отделен от второго отражающего компонента, при этом способ дополнительно включает ориентацию первого отражающего компонента независимо от ориентации второго отражающего компонента.
[00326] Пример 5: Способ по примеру 4, в котором ориентация первого отражающего компонента включает управление первым светом автофокусировки на датчике независимо от положения излучаемого света на датчике.
[00327] Пример 6: Способ по примеру 1, дополнительно включающий: формирование с помощью призмы бокового смещения левого света автофокусировки и правого света автофокусировки, которые расходятся под заданным углом друг к другу, причем первый свет автофокусировки содержит первый левый свет автофокусировки из отражения левого света автофокусировки от первой поверхности подложки, причем первый свет автофокусировки дополнительно содержит первый правый свет автофокусировки из отражения правого света автофокусировки на первой поверхности подложки, при этом второй свет автофокусировки содержит второй левый свет автофокусировки из отражения левого света автофокусировки на второй поверхности подложки, и при этом второй свет автофокусировки дополнительно содержит второй правый свет автофокусировки от отражения правого света от второй поверхности подложки; причем направление первого света автофокусировки на датчик включает в себя направление с использованием объектива и первой отражающей поверхности первого левого света автофокусировки и первого правого света автофокусировки на датчик; и при этом предотвращение попадания второго света автофокусировки на датчик включает предотвращение попадания второго левого света автофокусировки и второго правого света автофокусировки на датчик.
[00328] Пример 7: Способ по примеру 6, в котором подложка дополнительно содержит третью поверхность, причем левый свет автофокусировки при отражении от третьей поверхности формирует третий левый свет автофокусировки, причем правый свет автофокусировки образует третий правый свет автофокусировки при отражении от третьей поверхности, при этом способ дополнительно включает направление третьего левого света автофокусировки и третьего правого света автофокусировки на датчик с использованием объектива и первой отражающей поверхности.
[00329] Пример 8: Способ по любому из примеров 1-7, дополнительно включающий регулирование расстояния между объективом и подложкой на основании первого света автофокусировки.
[00330] Пример 9: Система, содержащая: подложку для удержания образца для анализа; датчик; объектив; первую отражающую поверхность для направления первого света автофокусировки на датчик, причем первый свет автофокусировки отражается от первой поверхности подложки и передается объективом; вторую отражающую поверхность для направления излучаемого света на датчик, причем излучаемый свет исходит от образца и передается объективом; и структуру, которая предотвращает попадание второго света автофокусировки на датчик, причем второй свет автофокусировки отражается от второй поверхности подложки и передается объективом.
[00331] Пример 10: Система по примеру 9, в которой первая отражающая поверхность расположена за второй отражающей поверхностью относительно направления хода первого света автофокусировки, и при этом вторая отражающая поверхность является прозрачной для первого света автофокусировки.
[00332] Пример 11: Система по примеру 10, в которой первая отражающая поверхность расположена на первом отражающем компоненте, причем вторая отражающая поверхность расположена на втором отражающем компоненте, и причем первый отражающий компонент отделен от второго отражающего компонента.
[00333] Пример 12: Система по примеру 10, в которой вторая отражающая поверхность расположена на передней поверхности отражающего компонента относительно направления хода первого света автофокусировки, причем первая отражающая поверхность покрывает первую часть задней поверхности отражающего компонента относительно направления прохождения первого света автофокусировки, и при этом структура покрывает вторую часть задней поверхности отражающего компонента.
[00334] Пример 13: Система по любому из примеров 9-12, дополнительно содержащая призму бокового смещения, причем призма бокового смещения образует левый свет автофокусировки и правый свет автофокусировки, которые расходятся под заданным углом друг к другу, причем первый свет автофокусировки содержит первый левый свет автофокусировки из отражения левого света автофокусировки от первой поверхности подложки, причем первый свет автофокусировки дополнительно содержит первый правый свет автофокусировки из отражения правого света автофокусировки на первой поверхности подложки, при этом второй свет автофокусировки содержит второй левый свет автофокусировки из отражения левого света автофокусировки на второй поверхности подложки, и при этом второй свет автофокусировки дополнительно содержит второй правый свет автофокусировки от отражения правого света автофокусировки со второй поверхности подложки.
[00335] Пример 14: Система по примеру 13, в которой призма бокового смещения включает в себя выходные поверхности с ненулевым углом относительно друг друга.
[00336] Пример 15: Система по примеру 13, в которой призма бокового смещения содержит: первую поверхность; вторую поверхность, параллельную первой поверхности; третью поверхность; четвертую поверхность; пятую поверхность, имеющую границу с четвертой поверхностью, причем каждая из четвертой поверхности и пятой поверхности образует общий угол с третьей поверхностью; и частично отражающий слой, проходящий между третьей поверхностью и границей четвертой поверхности и пятой поверхности.
[00337] Пример 16: Система по примеру 15, в которой: первая поверхность имеет границы с третьей поверхностью, четвертой поверхностью и пятой поверхностью; а вторая поверхность имеет границы с третьей поверхностью, четвертой поверхностью и пятой поверхностью.
[00338] Пример 17: Система по любому из примеров 15-16, в которой третья поверхность представляет собой входную поверхность, причем четвертая поверхность представляет собой выходную поверхность для левого света автофокусировки, и при этом пятая поверхность представляет собой выходную поверхность для правого света автофокусировки.
[00339] Пример 18: Система по примеру 13, в которой призма бокового смещения содержит: первую призму, имеющую первый клиновидный профиль, причем первый клиновидный профиль включает первую сторону, образующую ненулевой угол относительно первой выходной стороны; вторую призму, имеющую второй клиновидный профиль, причем второй клиновидный профиль включает вторую сторону, образующую ненулевой угол со второй выходной стороной; и третью призму, имеющую параллелограммовидный профиль, причем параллелограммовидный профиль включает в себя третью сторону, параллельную четвертой стороне, и пятую сторону, параллельную шестой стороне, при этом третья сторона параллелограммовидного профиля является частью поверхности входа призмы бокового смещения; причем каждая из первой стороны первой призмы и второй стороны второй призмы обращена к четвертой стороне третьей призмы.
[00340] Пример 19: Система по любому из примеров 9-18, выполненная с возможностью анализа нуклеотидного материала на подложке.
[00341] Пример 20: Способ, включающий этапы, на которых происходит: формирование левого света автофокусировки и правого света автофокусировки, которые расходятся под заданным углом друг к другу; направление левого света автофокусировки и правого света автофокусировки через объектив на первую поверхность подложки; и после отражения от первой поверхности направление по меньшей мере первой части левого света автофокусировки и по меньшей мере первой части правого света автофокусировки на датчик, причем заданное разделение между первой частью левого света автофокусировки и первой частью правого света автофокусировки на датчике указывает на то, что подложка находится в фокусе объектива.
[00342] Пример 21: Способ по примеру 20, в котором подложка дополнительно включает в себя вторую поверхность, причем отражение левого света автофокусировки от первой поверхности формирует первый левый свет автофокусировки, причем отражение левого света автофокусировки со второй поверхности формирует второй левый свет автофокусировки, при этом на датчике первая часть левого света автофокусировки содержит первый левый свет автофокусировки и второй левый свет автофокусировки, причем отражение правого света автофокусировки с первой поверхности образует первый правый свет автофокусировки, причем отражение правого света автофокусировки со второй поверхности образует второй правый свет автофокусировки, причем на датчике первая часть правого света автофокусировки содержит первый правый свет автофокусировки и второй правый свет автофокусировки.
[00343] Пример 22: Способ по примеру 21, в котором первое заданное разделение между первым левым светом автофокусировки и первым правым светом автофокусировки на датчике указывает на то, что первая поверхность подложки находится в фокусе объектива.
[00344] Пример 23: Способ по примеру 22, в котором второе заданное разделение между вторым левым светом автофокусировки и вторым правым светом автофокусировки на датчике указывает на то, что вторая поверхность подложки находится в фокусе объектива.
[00345] Пример 24: Способ по примеру 20, в котором направление первой части левого света автофокусировки и первой части правого света автофокусировки на датчик включает направление с помощью первой отражающей поверхности первой части левого света автофокусировки и первой части правого света автофокусировки на датчик.
[00346] Пример 25: Способ по примеру 24, дополнительно включающий направление с использованием объектива и второй отражающей поверхности излучаемого света на датчик, причем излучаемый свет исходит от пробы, расположенной на подложке.
[00347] Пример 26: Способ по примеру 25, дополнительно включающий направление первой части левого света автофокусировки и первой части правого света автофокусировки ко второй отражающей поверхности, причем вторая отражающая поверхность прозрачна для первой части левого света автофокусировки и первой части правого света автофокусировки, причем первая отражающая поверхность расположена за второй отражающей поверхностью относительно направления перемещения первой части левого света автофокусировки и первой части правого света автофокусировки.
[00348] Пример 27: Способ по примеру 26, в котором подложка дополнительно содержит вторую поверхность, причем вторая часть левого света автофокусировки образована при отражении левого света от второй поверхности, и при этом вторая часть правого света автофокусировки образована при отражении правого света автофокусировки со второй поверхности, причем способ дополнительно включает направление второй части левого света автофокусировки и второй части правого света автофокусировки на вторую отражающую поверхность, вторая отражающая поверхность также прозрачна для второй части левого света автофокусировки и второй части правого света автофокусировки, причем первая отражающая поверхность является прозрачной для второй части левого света автофокусировки и второй части правого света автофокусировки для предотвращения попадания на датчик второй части левого света автофокусировки и второй части правого света автофокусировки.
[00349] Пример 28: Способ по примеру 25, в котором первая отражающая поверхность расположена на первом отражающем компоненте, причем вторая отражающая поверхность расположена на втором отражающем компоненте, и при этом первый отражающий компонент отделен от второго отражающего компонента, при этом способ дополнительно включает ориентацию первого отражающего компонента независимо от ориентации второго отражающего компонента.
[00350] Пример 29: Способ по примеру 28, в котором ориентация первого отражающего компонента приводит к управлению первой частью левого света автофокусировки и первой частью правого света автофокусировки на датчике независимо от положения излучаемого света на датчике.
[00351] Пример 30: Способ по любому из примеров 20-29, дополнительно включающий регулирование расстояния между объективом и подложкой на основании первой части левого света автофокусировки и первой части правого света автофокусировки.
[00352] Пример 31: Система, содержащая: светоделитель для формирования левого света автофокусировки и правого света автофокусировки, которые расходятся под заданным углом друг к другу; объектив передает левый свет автофокусировки и правый свет автофокусировки на первую поверхность подложки; и датчик для приема по меньшей мере первой части левого света автофокусировки и по меньшей мере первой части правого света автофокусировки после отражения от первой поверхности, причем заданное разделение между первой частью левого света автофокусировки и первой частью правого света автофокусировки на датчике указывает на то, что подложка находится в фокусе объектива.
[00353] Пример 32: Система по примеру 31, в которой светоделитель является частью призмы бокового смещения.
[00354] Пример 33: Система по примеру 32, в которой призма бокового смещения включает в себя выходные поверхности с ненулевым углом относительно друг друга.
[00355] Пример 34: Система по примеру 32, в которой призма бокового смещения содержит: первую поверхность; вторую поверхность, параллельную первой поверхности; третью поверхность; четвертую поверхность; пятую поверхность, имеющую границу с четвертой поверхностью, причем каждая из четвертой поверхности и пятой поверхности образует общий угол с третьей поверхностью; и частично отражающий слой, проходящий между третьей поверхностью и границей четвертой поверхности и пятой поверхности.
[00356] Пример 35: Система по примеру 34, в которой: первая поверхность имеет границы с третьей поверхностью, четвертой поверхностью и пятой поверхностью; а вторая поверхность имеет границы с третьей поверхностью, четвертой поверхностью и пятой поверхностью.
[00357] Пример 36: Система по любому из примеров 34-35, в которой третья поверхность представляет собой входную поверхность, причем четвертая поверхность представляет собой выходную поверхность для левого света автофокусировки, и при этом пятая поверхность представляет собой выходную поверхность для правого света автофокусировки.
[00358] Пример 37: Система по примеру 32, в которой призма бокового смещения содержит: первую призму, имеющую первый клиновидный профиль, причем первый клиновидный профиль включает первую сторону, образующую ненулевой угол относительно первой выходной стороны; вторую призму, имеющую второй клиновидный профиль, причем второй клиновидный профиль включает вторую сторону, образующую ненулевой угол со второй выходной стороной; и третью призму, имеющую параллелограммовидный профиль, причем параллелограммовидный профиль включает в себя третью сторону, параллельную четвертой стороне, и пятую сторону, параллельную шестой стороне, при этом третья сторона параллелограммовидного профиля является частью поверхности входа призмы бокового смещения; причем каждая из первой стороны первой призмы и второй стороны второй призмы обращена к четвертой стороне третьей призмы.
[00359] Пример 38: Система по примеру 31, в которой светоделитель содержит: первую отражающую поверхность, на которую падает первоначальный свет автофокусировки; частично отражающий слой, на который падает первоначальный свет автофокусировки после отражения на первой отражающей поверхности, причем частично отражающий слой формирует левый свет автофокусировки и правый свет автофокусировки; и вторую отражающую поверхность, на которую падает один из левого света автофокусировки или правого света автофокусировки после формирования на частично отражающем слое.
[00360] Пример 39: Система по примеру 31, дополнительно содержащая первую отражающую поверхность для направления первой части левого света автофокусировки и первой части правого света автофокусировки на датчик.
[00361] Пример 40: Система по примеру 39, дополнительно содержащая вторую отражающую поверхность для направления излучаемого света на датчик, причем излучаемый свет исходит от пробы, расположенной на подложке, и передается объективом.
[00362] Пример 41: Система по примеру 40, в которой подложка дополнительно включает в себя вторую поверхность, причем вторая часть левого света автофокусировки образована при отражении левого света от второй поверхности подложки, и при этом вторая часть правого света автофокусировки образована при отражении правого света автофокусировки со второй поверхности подложки, причем система дополнительно содержит структуру для предотвращения попадания второй части левого света автофокусировки и второй части правого света на датчик.
[00363] Пример 42: Система по примеру 41, в которой первая отражающая поверхность расположена за второй отражающей поверхностью относительно направления перемещения первой части левого света автофокусировки, второй части левого света автофокусировки, первой части правого света автофокусировки, и вторую часть правого света автофокусировки, причем вторая отражающая поверхность является прозрачной для первой части левого света автофокусировки, второй части левого света автофокусировки, первой части правого света автофокусировки и второй части правого света автофокусировки.
[00364] Пример 43: Система по примеру 42, в которой первая отражающая поверхность расположена на первом отражающем компоненте, причем вторая отражающая поверхность расположена на втором отражающем компоненте, и причем первый отражающий компонент отделен от второго отражающего компонента.
[00365] Пример 44: Система по примеру 42, в которой вторая отражающая поверхность расположена на передней поверхности второго отражающего компонента относительно направления перемещения первой части левого света автофокусировки, второй части левого света автофокусировки, первой части правого света автофокусировки и второй части правого света автофокусировки, причем первая отражающая поверхность покрывает первую часть задней поверхности второго отражающего компонента относительно направления перемещения первой части левого света автофокусировки, второй части левого света автофокусировки, первую часть правого света автофокусировки и вторую часть правого света автофокусировки, и при этом структура покрывает вторую часть задней поверхности второго отражающего компонента.
[00366] Пример 45: Система по любому из примеров 31-44, выполненная с возможностью анализа нуклеотидного материала на подложке.
[00367] Пример 46: Узел автофокусировки, содержащий: призму, содержащую: первую поверхность; вторую поверхность, параллельную первой поверхности; третью поверхность; четвертую поверхность; пятую поверхность, имеющую границу с четвертой поверхностью, причем каждая из четвертой поверхности и пятой поверхности образует общий угол с третьей поверхностью; и частично отражающий слой, проходящий между третьей поверхностью и границей четвертой поверхности и пятой поверхности; и источник света для направления света на призму, причем призма образует первый свет автофокусировки и второй свет автофокусировки, при этом первый свет автофокусировки и второй свет автофокусировки расходятся под заданным углом друг к другу.
[00368] Пример 47: Узел автофокусировки по примеру 46, в котором четвертая поверхность и пятая поверхность образуют выходные поверхности, имеющие ненулевой угол относительно друг друга.
[00369] Пример 48: Автоматический узел по примеру 46, в котором: первая поверхность имеет границы с третьей поверхностью, четвертой поверхностью и пятой поверхностью; а вторая поверхность имеет границы с третьей поверхностью, четвертой поверхностью и пятой поверхностью.
[00370] Пример 49: Узел автофокусировки по любому из примеров 46-48, в котором третья поверхность представляет собой входную поверхность.
[00371] Пример 50: Узел автофокусировки по примеру 46, в котором призма содержит: первую призму, имеющую первый клиновидный профиль, причем первая призма образует четвертую поверхность, причем первый клиновидный профиль включает первую сторону, образующую ненулевой угол относительно четвертой поверхности; вторую призму, имеющую второй клиновидный профиль, причем вторая призма образует пятую поверхность, при этом второй клиновидный профиль включает вторую сторону, образующую ненулевой угол относительно пятой поверхности; и третью призму, имеющую параллелограммовидный профиль, причем параллелограммовидный профиль включает в себя третью сторону, параллельную четвертой стороне, при этом третья сторона образует третью поверхность, и пятую сторону, параллельную шестой стороне; причем каждая из первой стороны первой призмы и второй стороны второй призмы обращена к четвертой стороне третьей призмы.
[00372] Термины «по существу» и «около», используемые в данном описании, используются для описания и учета небольших колебаний, например, из-за вариаций при обработке. Например, они могут относиться к меньшим или равным ± 5%, например, меньшим или равным ± 2%, например, меньшим или равным ± 1%, например, меньшим или равным ± 0,5%, например, меньшим или равным ± 0,2%, например, меньшим или равным ± 0,1%, например, меньшим или равным ± 0,05%. Кроме того, в контексте данного документа употребление единственного числа означает «по меньшей мере один».
[00373] Следует понимать, что все комбинации вышеуказанных концепций и дополнительных концепций, более подробно описанных ниже (при условии, что такие концепции не являются взаимно противоречащими), рассматриваются как часть объекта изобретения, описанного в данном документе. В частности, все комбинации заявленного объекта изобретения, появляющиеся в конце данного описания, считаются частью объекта изобретения, описанного в данном документе.
[00374] Описан ряд вариантов реализации. Тем не менее будет очевидно, что могут быть сделаны различные модификации без отклонения от сущности и объема данного описания.
[00375] Кроме того, логические потоки, изображенные на фигурах, не требуют показанного определенного или последовательного порядка для достижения желаемых результатов. Кроме того, могут быть предусмотрены другие процессы, или же процессы могут быть исключены из описанных потоков, и в описанные системы могут быть добавлены или удалены из них другие компоненты. Соответственно, нижеследующая формула изобретения охватывает другие варианты реализации.
[00376] Хотя определенные признаки описанных вариантов реализации проиллюстрированы так, как описано в данном документе, специалистам в данной области будет очевидно множество модификаций, замен, изменений и эквивалентов. Таким образом, следует понимать, что прилагаемая формула изобретения охватывает все такие модификации и изменения, которые входят в объем вариантов реализации. Следует понимать, что они представлены только в качестве примера, но не ограничения, и могут быть внесены разнообразные изменения в форму и детали. Любую часть устройства и/или способов, описанных в данном документе, можно комбинировать в любой комбинации, за исключением взаимоисключающих комбинаций. Варианты реализации, описанные в данном документе, могут включать в себя разнообразные комбинации и/или подкомбинации функций, компонентов и/или признаков различных описанных вариантов реализации.
| название | год | авторы | номер документа |
|---|---|---|---|
| УСТРОЙСТВО И СПОСОБ ОЦЕНКИ ЗНАЧЕНИЙ ПО ИЗОБРАЖЕНИЯМ | 2020 |
|
RU2825348C1 |
| УСТРОЙСТВО И СПОСОБ ОБЕСПЕЧЕНИЯ ОЦЕНКИ ПАРАМЕТРОВ | 2020 |
|
RU2825597C1 |
| СТРУКТУРИРОВАННОЕ ОСВЕЩЕНИЕ ОБРАЗЦА | 2019 |
|
RU2800625C2 |
| ФОРМИРОВАНИЕ ИЗОБРАЖЕНИЙ ПРИ СТРУКТУРИРОВАННОМ ОСВЕЩЕНИИ С ПРОСТРАНСТВЕННЫМ ВЫБОРОМ УГЛА РИСУНКА | 2019 |
|
RU2740206C1 |
| МИКРОСКОПИЯ СТРУКТУРИРОВАННОГО ОСВЕЩЕНИЯ УМЕНЬШЕННОЙ РАЗМЕРНОСТИ СО СТРУКТУРИРОВАННЫМИ МАССИВАМИ НАНОРАЗМЕРНЫХ ЛУНОК | 2019 |
|
RU2740776C1 |
| ВИЗУАЛИЗАЦИЯ ПРЕПАРАТОВ С ПОМОЩЬЮ МИКРОСКОПИИ СТРУКТУРИРОВАННОГО ОСВЕЩЕНИЯ С ДВУМЯ ОПТИЧЕСКИМИ РЕШЕТКАМИ | 2019 |
|
RU2740858C1 |
| ПРОЕКЦИОННАЯ СИСТЕМА И СПОСОБ С РЕГУЛИРУЕМЫМ УГЛОМ ОСВЕЩЕНИЯ С ИСПОЛЬЗОВАНИЕМ СМЕЩЕНИЯ ЦЕНТРА ЛИНЗЫ | 2021 |
|
RU2804461C1 |
| МИКРОСКОПИЯ СТРУКТУРИРОВАННОГО ОСВЕЩЕНИЯ С ЛИНЕЙНЫМ СКАНИРОВАНИЕМ | 2019 |
|
RU2736104C1 |
| СИСТЕМЫ И СПОСОБЫ МИКРОСКОПИИ СТРУКТУРИРОВАННОГО ОСВЕЩЕНИЯ | 2020 |
|
RU2829111C1 |
| ПРОЕКЦИОННАЯ СИСТЕМА И СПОСОБ С РЕГУЛИРОВКОЙ СКЛАДНОГО ЗЕРКАЛА И ИНТЕГРИРУЮЩЕГО СТЕРЖНЯ | 2021 |
|
RU2837799C1 |
Изобретение относится к области оптических измерений и касается способа автофокусировки. Способ включает в себя генерирование света автофокусировки с использованием первого источника света оптической системы и направление света автофокусировки через объектив оптической системы на подложку, имеющую первую и вторую поверхности. При этом свет автофокусировки отражается как первый свет автофокусировки на первой поверхности и как второй свет автофокусировки на второй поверхности. Направляют первый свет автофокусировки на датчик с использованием объектива и первой отражающей поверхности и предотвращают попадание второго света автофокусировки на датчик. Возбуждающий свет генерируют с использованием второго источника света оптической системы и направляют через объектив на подложку. Исходящий от расположенной на подложке пробы излучаемый свет направляют на датчик с использованием объектива и второй отражающей поверхности. Технический результат заключается в упрощении способа автофокусировки. 2 н. и 16 з.п. ф-лы, 61 ил.
1. Способ автофокусировки, включающий в себя:
генерирование света автофокусировки с использованием первого источника света оптической системы;
направление света автофокусировки через объектив оптической системы и после этого на подложку, имеющую первую и вторую поверхности, при этом свет автофокусировки отражается как первый свет автофокусировки на первой поверхности, и при этом свет автофокусировки отражается как второй свет автофокусировки на второй поверхности;
генерирование возбуждающего света с использованием второго источника света оптической системы;
направление возбуждающего света через объектив и затем на подложку;
направление первого света автофокусировки на датчик с использованием объектива и первой отражающей поверхности;
предотвращение попадания второго света автофокусировки на датчик; и
направление излучаемого света на датчик с использованием объектива и второй отражающей поверхности, причем излучаемый свет исходит от пробы, расположенной на подложке, принимающей возбуждающий свет.
2. Способ по п. 1, дополнительно включающий в себя направление первого света автофокусировки ко второй отражающей поверхности, причем вторая отражающая поверхность прозрачна для первого света автофокусировки, причем первая отражающая поверхность расположена за второй отражающей поверхностью относительно направления хода первого света автофокусировки.
3. Способ по п. 2, дополнительно включающий в себя направление также второго света автофокусировки ко второй отражающей поверхности, причем вторая отражающая поверхность прозрачна для второго света автофокусировки, причем первая отражающая поверхность прозрачна для второго света автофокусировки для предотвращения попадания второго света автофокусировки на датчик.
4. Способ по п. 1, в котором первая отражающая поверхность расположена на первом отражающем компоненте, причем вторая отражающая поверхность расположена на втором отражающем компоненте, и при этом первый отражающий компонент отделен от второго отражающего компонента, при этом способ дополнительно включает в себя ориентацию первого отражающего компонента независимо от ориентации второго отражающего компонента.
5. Способ по п. 4, в котором ориентация первого отражающего компонента включает в себя управление первым светом автофокусировки на датчике независимо от положения излучаемого света на датчике.
6. Способ по п. 1, дополнительно включающий в себя:
формирование, с помощью призмы бокового смещения, левого света автофокусировки и правого света автофокусировки, которые расходятся под заданным углом друг к другу, причем первый свет автофокусировки содержит первый левый свет автофокусировки из отражения левого света автофокусировки от первой поверхности подложки, причем первый свет автофокусировки дополнительно содержит первый правый свет автофокусировки из отражения правого света автофокусировки на первой поверхности подложки, при этом второй свет автофокусировки содержит второй левый свет автофокусировки из отражения левого света автофокусировки от второй поверхности подложки, и при этом второй свет автофокусировки дополнительно содержит второй правый свет автофокусировки от отражения правого света от второй поверхности подложки;
причем направление первого света автофокусировки на датчик включает в себя направление с использованием объектива и первой отражающей поверхности, первого левого света автофокусировки и первого правого света автофокусировки на датчик; и
при этом предотвращение попадания второго света автофокусировки на датчик включает в себя предотвращение попадания второго левого света автофокусировки и второго правого света автофокусировки на датчик.
7. Способ по п. 6, в котором подложка дополнительно содержит третью поверхность, причем левый свет автофокусировки при отражении от третьей поверхности формирует третий левый свет автофокусировки, причем правый свет автофокусировки образует третий правый свет автофокусировки при отражении от третьей поверхности, при этом способ дополнительно включает в себя направление с использованием объектива и первой отражающей поверхности, третьего левого света автофокусировки и третьего правого света автофокусировки на датчик.
8. Способ по п. 1, дополнительно включающий в себя регулирование расстояния между объективом и подложкой на основании первого света автофокусировки.
9. Способ автофокусировки, содержащий:
формирование с использованием первого источника света оптической системы, левого света автофокусировки и правого света автофокусировки, которые расходятся под заданным углом друг к другу;
направление левого света автофокусировки и правого света автофокусировки через объектив на первую поверхность подложки;
после отражения от первой поверхности, направление по меньшей мере первой части левого света автофокусировки и по меньшей мере первой части правого света автофокусировки на датчик, причем заданное разделение между первой частью левого света автофокусировки и первой частью правого света автофокусировки на датчике указывает на то, что подложка находится в фокусе объектива;
генерирование возбуждающего света с использованием второго источника света оптической системы;
направление возбуждающего света через объектив и затем на подложку; и
направление излучаемого света на датчик с использованием объектива и отражающей поверхности, причем излучаемый свет исходит от пробы, расположенной на подложке, принимающей возбуждающий свет.
10. Способ по п. 9, в котором подложка дополнительно включает в себя вторую поверхность, причем отражение левого света автофокусировки от первой поверхности формирует первый левый свет автофокусировки, причем отражение левого света автофокусировки от второй поверхности формирует второй левый свет автофокусировки, при этом на датчике первая часть левого света автофокусировки содержит первый левый свет автофокусировки и второй левый свет автофокусировки, причем отражение правого света автофокусировки с первой поверхности образует первый правый свет автофокусировки, причем отражение правого света автофокусировки от второй поверхности образует второй правый свет автофокусировки, причем на датчике первая часть правого света автофокусировки содержит первый правый свет автофокусировки и второй правый свет автофокусировки.
11. Способ по п. 10, в котором первое заданное разделение между первым левым светом автофокусировки и первым правым светом автофокусировки на датчике указывает на то, что первая поверхность подложки находится в фокусе объектива.
12. Способ по п. 11, в котором второе заданное разделение между вторым левым светом автофокусировки и вторым правым светом автофокусировки на датчике указывает на то, что вторая поверхность подложки находится в фокусе объектива.
13. Способ по п. 9, в котором направление первой части левого света автофокусировки и первой части правого света автофокусировки на датчик включает в себя направление с помощью первой отражающей поверхности первой части левого света автофокусировки и первой части правого света автофокусировки на датчик.
14. Способ по п. 9, дополнительно включающий в себя направление первой части левого света автофокусировки и первой части правого света автофокусировки ко второй отражающей поверхности, причем вторая отражающая поверхность прозрачна для первой части левого света автофокусировки и первой части правого света автофокусировки, причем первая отражающая поверхность расположена за второй отражающей поверхностью относительно направления перемещения первой части левого света автофокусировки и первой части правого света автофокусировки.
15. Способ по п. 14, в котором подложка дополнительно содержит вторую поверхность, причем вторая часть левого света автофокусировки образована при отражении левого света от второй поверхности, и при этом вторая часть правого света автофокусировки образована при отражении правого света автофокусировки со второй поверхности, причем способ дополнительно включает в себя направление второй части левого света автофокусировки и второй части правого света автофокусировки на вторую отражающую поверхность, вторая отражающая поверхность также прозрачна для второй части левого света автофокусировки и второй части правого света автофокусировки, причем первая отражающая поверхность является прозрачной для второй части левого света автофокусировки и второй части правого света автофокусировки для предотвращения попадания на датчик второй части левого света автофокусировки и второй части правого света автофокусировки.
16. Способ по п. 9, в котором первая отражающая поверхность расположена на первом отражающем компоненте, причем вторая отражающая поверхность расположена на втором отражающем компоненте, и при этом первый отражающий компонент отделен от второго отражающего компонента, при этом способ дополнительно включает в себя ориентацию первого отражающего компонента независимо от ориентации второго отражающего компонента.
17. Способ по п. 16, в котором ориентация первого отражающего компонента приводит к управлению первой частью левого света автофокусировки и первой частью правого света автофокусировки на датчике независимо от положения излучаемого света на датчике.
18. Способ по п. 9, дополнительно включающий в себя регулирование расстояния между объективом и подложкой на основании первой части левого света автофокусировки и первой части правого света автофокусировки.
| US 20160109693 A1, 21.04.2016 | |||
| US 7109459 B2, 19.09.2006 | |||
| US 2014313315 A1, 23.10.2014 | |||
| ДВУХФОТОННЫЙ СКАНИРУЮЩИЙ МИКРОСКОП С АВТОМАТИЧЕСКОЙ ТОЧНОЙ ФОКУСИРОВКОЙ ИЗОБРАЖЕНИЯ И СПОСОБ АВТОМАТИЧЕСКОЙ ТОЧНОЙ ФОКУСИРОВКИ ИЗОБРАЖЕНИЯ | 2012 |
|
RU2515341C2 |
Авторы
Даты
2024-12-18—Публикация
2020-12-22—Подача