Светильник, устройство и способ выращивания растений Российский патент 2024 года по МПК A01G9/20 

Описание патента на изобретение RU2832068C1

В данный документ посредством ссылки включено содержание заявки на патент Германии DE 10 2021 202 877.2.

Изобретение относится к светильнику и устройству для выращивания растений. Кроме того, изобретение относится к способу выращивания растений.

Из уровня техники известны светильники для выращивания растений.

Задачей настоящего изобретения является улучшение светильника для выращивания растений, в частности создание светильника, который обеспечивает эффективное освещение выращиваемого растения.

Эта задача решается с помощью светильника по пункту 1 формулы изобретения. Светильник имеет по меньшей мере один источник света для генерирования света для выращивания по меньшей мере одного выращиваемого растения и по меньшей мере одно устройство обнаружения для обнаружения по меньшей мере одного параметра состояния по меньшей мере одного выращиваемого растения. Кроме того, светильник имеет по меньшей мере одно регулировочное устройство для перемещения по меньшей мере одного источника света относительно по меньшей мере одного выращиваемого растения в зависимости от по меньшей мере одного параметра состояния, обнаруживаемого по меньшей мере одним устройством обнаружения. По меньшей мере одно регулировочное устройство выполнено в частности с возможностью автоматического перемещения по меньшей мере одного источника света относительно по меньшей мере одного выращиваемого растения в зависимости от по меньшей мере одного обнаруживаемого параметра состояния. За счет перемещения по меньшей мере одного источника света его относительное положение, в частности его расстояние, по отношению к по меньшей мере одному выращиваемому растению может быть установлено в зависимости от по меньшей мере одного параметра состояния, в частности оптимизировано. Светильник для растений, в частности его геометрия, может быть адаптирован к потребностям, по меньшей мере, одного выращиваемого растения. Это способствует здоровому и эффективному росту растений.

Кроме того, за счет перемещения по меньшей мере одного источника света относительно по меньшей мере одного выращиваемого растения уменьшается, в частности, предотвращается ненужный рассеянный свет, не попадающий на растение. Таким образом, повышается энергоэффективность светильника. Светильник обеспечивает эффективное и недорогое выращивание растений.

Перемещение по меньшей мере одного источника света относительно по меньшей мере одного выращиваемого растения может, в частности, происходить непрерывно или пошагово в зависимости от изменения по меньшей мере одного параметра состояния, предпочтительно в зависимости от роста по меньшей мере одного выращиваемого растения. Относительное положение по меньшей мере одного источника света предпочтительно можно адаптировать непрерывно или пошагово к росту по меньшей мере одного выращиваемого растения. Например, перемещение по меньшей мере одного источника света может происходить так, чтобы обеспечить наилучший охват по меньшей мере одного выращиваемого растения световым конусом по меньшей мере одного источника света. По меньшей мере одно выращиваемое растение может быть оптимально освещено в любой момент времени.

Свет используется для выращивания по меньшей мере одного растения. Рост растения может охватывать одну или более фаз вегетации по меньшей мере одного выращиваемого растения, в частности, фазу рассады, фазу роста, фазу цветения, фазу размножения и/или фазу сбора урожая. Наличие по меньшей мере одного выращиваемого растения может быть обеспечено по меньшей мере в начале роста растения, в частности, как семя растения, проросшее семя растения, саженец и/или зрелое растение. Относительное положение по меньшей мере одного источника света можно адаптировать с помощью по меньшей мере одного регулировочного устройства, в частности, к различным фазам вегетации по меньшей мере одного выращиваемого растения.

По меньшей мере один параметр состояния может, в частности, представлять собой размер, индекс листовой поверхности (LAI), содержание воды, содержание питательных веществ, в частности содержание сахара, фазу вегетации, в частности фазу роста, и/или температуру по меньшей мере одного выращиваемого растения. Дополнительно или альтернативно, в качестве параметра состояния также учитывается содержание влаги в растительном субстрате и/или окружающем воздухе, и/или температура окружающего воздуха и/или растительного субстрата. По меньшей мере один параметр состояния предпочтительно представляет собой параметр роста по меньшей мере одного выращиваемого растения. Здесь и ниже под параметром роста понимается параметр состояния, который позволяет делать выводы о росте по меньшей мере одного выращиваемого растения. Примерными параметрами роста являются, в частности, размер, фаза вегетации, в частности фаза роста, и/или индекс листовой поверхности по меньшей мере одного выращиваемого растения. Перемещение по меньшей мере одного источника света предпочтительно может происходить в зависимости от размера растения и/или фазы его вегетации, в частности фазы роста. Перемещение по меньшей мере одного источника света может, в частности, происходить непрерывно или пошагово в зависимости от размера и/или фазы вегетации по меньшей мере одного выращиваемого растения.

По меньшей мере одно регулировочное устройство выполнено с возможностью в частности перемещать по меньшей мере один источник света, автоматически, в частности полностью автоматически, относительно по меньшей мере одного выращиваемого растения в зависимости от по меньшей мере одного обнаруживаемого параметра состояния. Например, по меньшей мере одно регулировочное устройство имеет блок оценки для оценки по меньшей мере одного параметра состояния и/или для управления перемещением по меньшей мере одного источника света в зависимости от по меньшей мере одного параметра состояния.

Перемещение по меньшей мере одного источника света может осуществляться, в частности, моторизованным, гидравлическим и/или пневматическим способом. Перемещение по меньшей мере одного источника света предпочтительно осуществляется посредством привода по меньшей мере одного регулировочного устройства. По меньшей мере одно регулировочное устройство предпочтительно имеет моторизованный, в частности электромоторный, гидравлический и/или пневматический привод. Привод может быть активирован, например, блоком оценки по меньшей мере одного регулировочного устройства в зависимости от по меньшей мере одного параметра состояния.

Светильник имеет по меньшей мере один источник света для генерирования света для роста по меньшей мере одного выращиваемого растения. Свет, генерируемый с помощью по меньшей мере одного источника света, излучается на по меньшей мере одно выращиваемое растение. Светильник предпочтительно имеет множество источников света. Множество источников света обеспечивает лучший охват по меньшей мере одного выращиваемого растения облучаемым светом.

По меньшей мере один источник света предпочтительно включает в себя по меньшей мере один светодиод. Светодиоды являются надежными и энергоэффективными. В частности, по меньшей мере один источник света включает в себя по меньшей мере один многоцветный светодиод.

В частности предпочтительно характеристика излучения по меньшей мере одного источника света является изменяемой. Например, световой спектр и/или интенсивность света, который может генерироваться по меньшей мере одним источником света, могут быть изменяемыми. В частности, характеристика излучения по меньшей мере одного источника света может быть адаптирована в зависимости от по меньшей мере одного параметра состояния по меньшей мере одного выращиваемого растения. Например, световой спектр по меньшей мере одного источника света может быть адаптирован к соответствующей фазе вегетации, в частности фазе роста, по меньшей мере, одного выращиваемого растения. Светодиоды, имеющие адаптируемые характеристики излучения, в частности адаптируемый спектр света, в частности оказались подходящими.

Светильник по пункту 2 формулы изобретения является надежным и обеспечивает точное перемещение по меньшей мере одного источника света. В частности, шпиндельный привод обеспечивает непрерывное перемещение по меньшей мере одного источника света. Светильник, в частности его геометрия, может быть непрерывно адаптирован к по меньшей мере одному параметру состояния растения. Линейный привод, в частности шпиндельный привод, обеспечивает линейное перемещение по меньшей мере частей светильника. В частности, таким образом можно осуществлять регулировку высоты светильника, в частности, по меньшей мере, одного источника света. Светильник, в частности, может быть хорошо адаптирован к изменяющемуся размеру по меньшей мере одного выращиваемого растения.

Линейный привод, в частности шпиндельный привод, может включать в себя двигатель, например, в частности электрический двигатель. В частности, подходящим оказался моментный двигатель. Вращательное перемещение двигателя может быть преобразовано в линейное перемещение, в частности, с помощью шпиндельного привода.

Светильник по пункту 3 формулы изобретения является в частности гибко устанавливаемым и стабильным. Установленная с возможностью поворота балка обеспечивает перемещение по меньшей мере одного источника света относительно базового тела светильника. Перемещение базового тела не требуется. В частности, по меньшей мере одно базовое тело светильника может быть зафиксировано на месте. Таким образом повышается стабильность лампы. Базовое тело светильника может представлять собой, например, стойку светильника.

Установленная с возможностью поворота балка обеспечивает простое и целенаправленное перемещение по меньшей мере одного светильника. В частности, по меньшей мере одна балка выполнена с возможностью поворота вокруг горизонтальной оси.

Светильник предпочтительно имеет множество балок, установленных с возможностью поворота на базовом теле светильника. Например, балки могут выходить в форме звезды от базового тела светильника, выполненного как стойка. В частности, балки могут быть расположены симметрично относительно базового тела светильника. Например, светильник имеет четыре балки, каждая из которых смещена на 90° друг от друга.

В частности, несколько балок могут быть расположены в виде зонтика на базовом теле светильника. Таким образом, поворот балок вызывает открытие или закрытие зонтика, образованного балками. Таким способом возможна простая регулировка геометрии лампы по высоте и ширине.

Светильник по пункту 4 формулы изобретения является стабильным и точно регулируемым. По меньшей мере одна балка может быть повернута простым и точным способом с помощью соединительного элемента. Поворот происходит, в частности, управляемым образом. Линейное перемещение, создаваемое с помощью линейного привода, в частности шпиндельного привода, может быть преобразовано соединительным элементом в поворотное перемещение по меньшей мере одной балки. Предпочтительно на каждой балке расположен один соединительный элемент.

Соединительный элемент выполнен, в частности, в виде соединительной штанги. Соединительная штанга функционально соединена, в частности, с соответствующими балками и линейным приводом, в частности со шпиндельной гайкой. Соединительная штанга может быть закреплена, например, закреплена с возможностью поворота, на соответствующей балке и/или линейном приводе, в частности, на шпиндельной гайке.

Соединительная штанга предпочтительно образует направляющую передачу для по меньшей мере одной балки. Соединительная штанга может быть, например, жестко соединена с линейным приводом, в частности со шпиндельной гайкой шпиндельного привода. Соединительная штанга может быть, например, расположена с возможностью смещения, в частности с возможностью смещения вдоль направляющей, и/или с возможностью поворота на соответствующей балке. Например, соединительная штанга расположена, в частности, закреплена посредством элемента компенсации скручивания на соответствующей балке. Направляющая передача имеет простую конструкцию, является стабильной и надежной.

Светильник по пункту 5 формулы изобретения является, в частности, гибким. Возможность перемещения по меньшей мере одного источника света вдоль по меньшей мере одной балки регулировочного устройства обеспечивает дополнительную степень свободы перемещения. В частности, перемещение с дополнительной степенью свободы может происходить в дополнение к регулировке высоты базового тела и повороту по меньшей мере одной балки. Это увеличивает гибкость перемещения по меньшей мере одного источника света. Положение по меньшей мере одного источника света, в частности, может быть точно адаптировано к по меньшей мере одному параметру состояния, в частности размеру, по меньшей мере одного выращиваемого растения. Перемещение по меньшей мере одного источника света вдоль по меньшей мере одной балки предпочтительно происходит в зависимости от поворотного положения балки.

По меньшей мере один источник света предпочтительно расположен на по меньшей мере одной подложке, в частности на по меньшей мере одной гибкой подложке. По меньшей мере одна подложка в частности предпочтительно выполнена с возможностью перемещения вдоль по меньшей мере одной балки, в частности, с возможностью направленного перемещения. По меньшей мере одна подложка, имеющая по меньшей мере один источник света, может образовывать, например, по меньшей мере одну световую ленту.

По меньшей мере один источник света, в частности, выполнен с возможностью направленного перемещения вдоль балки, в частности с возможностью направленного смещения. Например, по меньшей мере одна балка может иметь направляющую для по меньшей мере одной подложки, на которой расположен по меньшей мере один источник света, в частности для световой ленты.

Светильник по пункту 6 формулы изобретения имеет простую конструкцию и является надежным. За счет соединения по меньшей мере одного источника света с линейным приводом, в частности со шпиндельной гайкой шпиндельного привода, обеспечивается перемещение по меньшей мере одного источника света с помощью линейного привода. Не требуется отдельный привод для перемещения по меньшей мере одного источника света вдоль по меньшей мере одной балки.

В частности, по меньшей мере одна подложка, в частности по меньшей мере одна гибкая подложка, на которой предпочтительно может быть расположен по меньшей мере один источник света, соединена с линейным приводом, в частности, со шпиндельной гайкой шпиндельного привода. По меньшей мере одна подложка может быть закреплена, например, на конце, в частности на переднем конце, на линейном приводе, в частности на шпиндельной гайке.

По меньшей мере одна балка и по меньшей мере один источник света, в частности по меньшей мере одна подложка, предпочтительно соединены с линейным приводом, в частности со шпиндельной гайкой. Этим обеспечивается синхронное перемещение, согласованное друг с другом, по меньшей мере одной балки и по меньшей мере одного источника света. В частности, обеспечивается перемещение по меньшей мере одного источника света вдоль по меньшей мере одной балки в зависимости от ее поворотного положения.

Светильник по пункту 7 формулы изобретения является гибким и долговечным. Гибкая подложка может быть легко и надежно адаптирована к перемещению, вызываемому регулировочным устройством. Тем самым обеспечивается надежное закрепление по меньшей мере одного источника света во время его перемещения. Предотвращается ненужный износ.

По меньшей мере одна гибкая подложка, в частности, имеет гибкую монтажную плату. Гибкая монтажная плата обеспечивает надежное электропитание и активацию по меньшей мере одного источника света. Предпочтительно, на по меньшей мере одной гибкой подложке расположено множество источников света, в частности множество светодиодов. Гибкая подложка может представлять собой световую ленту, в частности светодиодную ленту. Светильник предпочтительно имеет одну гибкую подложку, в частности одну световую ленту, на одну балку.

Светильник по пункту 8 формулы изобретения является в частности гибким. Подвижность по меньшей мере одной гибкой подложки вдоль по меньшей мере одной балки регулировочного устройства увеличивает гибкость перемещения по меньшей мере одного источника света. Положение по меньшей мере одного источника света, в частности, может быть точно адаптировано к по меньшей мере одному параметру состояния, в частности размеру, по меньшей мере одного выращиваемого растения. Перемещение по меньшей мере одной гибкой подложки вдоль по меньшей мере одной балки предпочтительно происходит в зависимости от поворотного положения балки.

По меньшей мере одна гибкая подложка выполнена в частности с возможностью направленного перемещения, в частности с возможностью направленного смещения, вдоль балки. Например, по меньшей мере одна балка может иметь направляющую для по меньшей мере одной гибкой подложки, в частности световой ленты. Предпочтительно одна гибкая подложка, в частности одна световая полоса, выполнена с возможностью направленного смещения на каждую балку в соответствующей направляющей.

Светильник по пункту 9 формулы изобретения имеет простую конструкцию и является надежным. За счет соединения по меньшей мере одной гибкой подложки с линейным приводом, в частности со шпиндельной гайкой шпиндельного привода, обеспечивается перемещение по меньшей мере одной гибкой подложки с помощью линейного привода. Отдельный привод для перемещения по меньшей мере одной гибкой подложки не требуется. По меньшей мере одна гибкая подложка может быть закреплена, например, на конце, в частности на переднем конце, на линейном приводе, в частности на шпиндельной гайке.

По меньшей мере одна балка и по меньшей мере одна гибкая подложка предпочтительно соединены с линейным приводом, в частности со шпиндельной гайкой. Этим обеспечивается синхронное перемещение, согласованное друг с другом, по меньшей мере одной балки и по меньшей мере одной гибкой подложки. В частности, обеспечивается перемещение по меньшей мере одной гибкой подложки вдоль по меньшей мере одной балки в зависимости от ее поворотного положения.

Светильник по пункту 10 формулы изобретения обеспечивает, в частности, эффективное излучение света на по меньшей мере одно выращиваемое растение. Излучение света, по меньшей мере с двух сторон, на по меньшей мере одно выращиваемое растение улучшает световой выход растения. В частности, светом облучаются не только краевые, например верхние листья растения. Расположение по меньшей мере двух источников света, в частности, таково, что по меньшей мере один из источников света излучает свет на растение сверху и по меньшей мере один дополнительный источник света излучает свет на по меньшей мере одно растение сбоку. Излучение света предпочтительно может происходить с помощью множества источников света сверху и по меньшей мере с двух сторон.

Светильник, в частности, предпочтительно имеет по меньшей мере два источника света на каждую гибкую подложку, в частности на каждую световую ленту. По меньшей мере одна гибкая подложка может быть расположена, в частности, так, что свет облучается по меньшей мере с двух сторон на по меньшей мере одно выращиваемое растение посредством по меньшей мере двух источников света гибкой подложки. Например, световая полоса может быть изогнута по внешнему контуру растения. В частности, за счет расположения гибкой подложки обеспечивается, что по меньшей мере один из источников света излучает свет на растение сверху и по меньшей мере один дополнительный источник света излучает свет на по меньшей мере одно растение сбоку.

Светильник по пункту 11 формулы изобретения, в частности, может быть хорошо адаптирован к по меньшей мере одному выращиваемому растению. Датчики расстояния позволяют простым и эффективным способом позиционировать по меньшей мере один источник света относительно по меньшей мере одного выращиваемого растения. 3D-сканеры, в частности лазерные сканеры, позволяют измерить размер растения. Подходящими 3D-сканерами являются, например, лидарные системы, ладарные системы и/или ToF-камеры. Лидар (lidar) - это аббревиатура английского термина «light detection and ranging» или «light imaging, detection, and ranging» («обнаружение и определение дальности с помощью света» или «обработка изображений, обнаружение и определение дальности с помощью света»). Ладар (ladar) - это аббревиатура английского термина «light amplification by stimulated emission of irradiation detection and ranging» (усиление света за счет стимулированного излучения для обнаружения и определения дальности облучения). ToF - это аббревиатура английского термина «time-of-flight» (время полета). В частности, ход роста растения можно отслеживать, в частности точно, с использованием 3D-сканеров. Светильник может быть адаптирован, в частности точно, к размеру растения.

Спектрометр, в частности спектрометр ближней инфракрасной области (БИК), также называемый БИК-спектрометром, позволяет проводить спектральный анализ излучения, исходящего от по меньшей мере одного выращиваемого растения. Спектральный анализ позволяет делать выводы о различных параметрах состояния по меньшей мере одного выращиваемого растения, например, о содержании питательных веществ, содержании воды, размере и/или индексе листовой поверхности. В частности, может быть определена соответствующая фаза вегетации, в частности соответствующая фаза роста растения.

По меньшей мере одно устройство обнаружения предпочтительно имеет по меньшей мере один спектрометр, в частности инфракрасный спектрометр, в частности БИК-спектрометр. Отражательная способность частей растений, в частности листьев, в частности высока в инфракрасном диапазоне. Таким образом, размер растения, в частности покрытие листвой, в частности индекс листовой поверхности, может быть определен в частности точно. Таким образом, возможны простые и надежные выводы о размере растения и/или фазе вегетации, в частности фазе роста. Положение и/или характеристика излучения по меньшей мере одного источника света могут быть адаптированы, в частности точно, к соответствующему состоянию по меньшей мере одного выращиваемого растения. БИК-спектроскопия оказалась в частности подходящей для измерения содержания воды и/или питательных веществ по меньшей мере одного выращиваемого растения. Могут быть сделаны выводы о соответствующей фазе вегетации, в частности фазе роста растения, на основании содержания воды и/или питательных веществ. Кроме того, эта информация может быть использована для управления, в частности для регулирования, автоматическим орошением и/или удобрением по меньшей мере одного выращиваемого растения. Например, количество и/или качество питательных веществ в растении может быть определено, в частности, на основании спектра поглощения БИК по меньшей мере одного выращиваемого растения. Параметры освещения, в частности характеристика излучения по меньшей мере одного источника света, предпочтительно световой спектр по меньшей мере одного источника света, могут быть адаптированы к количеству и/или качеству питательных веществ в растении, так что растение стимулируется для выработки необходимых питательных веществ.

В частности, для БИК-спектроскопии подходят длины волн от 700 до 10000 нм, в частности от 760 до 2500 нм, в частности от 850 до 2500 нм. Инфракрасный спектрометр, в частности БИК-спектрометр, в частности предпочтительно обеспечивает широкополосный спектральный анализ длин волн от 700 до 10000 нм, в частности от 850 до 2500 нм.

Для ближней инфракрасной спектроскопии БИК-спектрометр регистрирует ближнее инфракрасное излучение, отраженное от по меньшей мере одного выращиваемого растения. БИК-спектрометр может представлять собой, например, БИК-датчик. Пример подходящего NIR-датчика описан, например, в DE 102019102176 A1.

Инфракрасное излучение, исходящее от по меньшей мере одного выращиваемого растения, в частности его листьев, представляет собой, в частности, отраженное инфракрасное излучение. Для этой цели по меньшей мере одно выращиваемое растение можно облучать инфракрасным излучением, в частности БИК-излучением. Например, свет, генерируемый посредством по меньшей мере одного источника света и излучаемый на растение, может содержать инфракрасное излучение. Например, световой спектр по меньшей мере одного источника света содержит БИК-излучение. Альтернативно или дополнительно устройство обнаружения может иметь по меньшей мере один источник БИК-излучения, например, БИК-светодиоды и/или БИК-лазеры. Источник БИК-излучения предпочтительно имеет широкополосный БИК-излучатель. Пример подходящего источника инфракрасного излучения описан в DE 10 2018 101 974 А1. БИК-излучение с длинами волн от 700 до 10000 нм, в частности от 760 до 2500 нм, в частности от 850 до 2500 нм, предпочтительно может генерироваться посредством источника БИК-излучения. С помощью источника БИК-излучения можно в частности целенаправленно излучать БИК-излучение, необходимое для БИК-спектроскопии. За счет этого повышается эффективность и точность измерений спектрометра.

По меньшей мере одно устройство обнаружения предпочтительно перемещается при перемещении по меньшей мере одного источника света с помощью по меньшей мере одного регулировочного устройства. Обнаружение учитывает смещение по меньшей мере одного источника света. По меньшей мере одно устройство обнаружения, в частности по меньшей мере один спектрометр, по меньшей мере один датчик расстояния и/или по меньшей мере один 3D-сканер, могут быть расположены, например, на одной или более балках регулировочного устройства. Например, по меньшей мере одно устройство обнаружения может быть расположено непосредственно на по меньшей мере одной балке. Дополнительно или альтернативно по меньшей мере одно устройство обнаружения может быть расположено на гибкой подложке по меньшей мере одного источника света.

Кроме того, подвижность по меньшей мере одного устройства обнаружения, в частности по меньшей мере одного БИК-спектрометра, обладает тем преимуществом, что можно изменять положение по меньшей мере одного датчика относительно по меньшей мере одного выращиваемого растения. Например, измерения можно проводить в различных относительных положениях. Этим обеспечиваются в частности точные измерения. Повторное измерение возможно, например, в начале роста соответствующего растения. Таким образом, можно определять точное начальное состояние растения. Исходя из этого определения, можно устанавливать дополнительные параметры роста растений. Например, можно установить, от какого размера растения варьируется характеристика излучения по меньшей мере одного источника света.

Светильник может содержать интерфейс данных для приема и/или передачи данных. Интерфейс данных может быть проводным и/или беспроводным. В частности, интерфейс данных может быть выполнен для обмена данными через Bluetooth, WLAN и/или мобильную беспроводную связь, в частности 3G, 4G и/или 5G. В частности, подключение к приложению на устройстве, в частности смартфоне, пользователя светильника для растений может быть осуществлено через интерфейс данных. С помощью интерфейса данных, например, к светильнику могут передаваться рабочие параметры и/или данные о росте. Например, к светильнику может передаваться информация о выращиваемом растении, в частности о его роде и/или виде растения. На основе данных о росте светильник может быть оптимально адаптирован к росту соответствующего растения. Например, могут передаваться специальные рабочие параметры, относящиеся, в частности, к регулировке светильника и/или изменению характеристик излучения. Альтернативно, такие рабочие параметры уже могут храниться в памяти светильника для различных родов и/или видов растений. Данные также могут выводиться через интерфейс данных. Например, могут выводиться данные по меньшей мере об одном обнаруживаемом параметре состояния. Например, может выводиться сообщение пользователю при достижении новой фазы вегетации.

Светильник по пункту 12 формулы изобретения является, в частности, гибким в использовании и удобным для пользователя. В частности, растения могут выращиваться полностью автоматически. Например, по меньшей мере одно вспомогательное устройство обнаружения имеет датчик влажности и/или датчик температуры. С помощью датчика влажности может быть определено, например, содержание влаги в растительном субстрате, воздухе и/или по меньшей мере одном выращиваемом растении. Можно управлять орошением, в частности, полностью автоматически, в зависимости от определенного содержания влаги. Можно осуществлять мониторинг температуры, необходимой для роста растений, в частности контролировать ее, с помощью датчика температуры.

Другой задачей изобретения является усовершенствование устройства для выращивания растений.

Эта задача решается с помощью устройства, имеющего признаки, указанные в пункте 13 формулы изобретения. Устройство имеет по меньшей мере один светильник для выращивания растений, как описано выше, и по меньшей мере один контейнер для размещения по меньшей мере одного растительного субстрата. Устройство обладает преимуществами вышеописанного светильника. Контейнер может быть выполнен, в частности, для размещения растительного субстрата для гидрокультуры. Устройство пригодно, в частности, для выращивания растений гидропонным способом.

В частности, устройство может быть выполнено модульным. Например, различные светильники и различные контейнеры можно комбинировать для адаптации к различным способам выращивания растений, в частности к разным размерам растений и/или разному количеству выращиваемых растений. Различные контейнеры могут быть пригодны, например, для гидрокультур и/или использования горшечной почвы в качестве растительного субстрата. Кроме того, могут быть учтены различные размеры растений с помощью различных контейнеров и/или светильников для растений.

Устройство по пункту 14 формулы изобретения является в частности универсальным. В частности, с помощью устройства можно выращивать растения в полностью автоматическом режиме. С помощью резервуара для жидкости и/или резервуара для удобрений может осуществляться орошение и/или удобрение растения, которые адаптированы к соответствующим параметрам состояния. Например, с помощью датчика влажности можно определять, нужно ли поливать растение. Содержание воды и/или содержание питательных веществ также можно определять простым и точным способом с помощью БИК-спектрометра. Орошение и/или внесение удобрений можно оптимально адаптировать к соответствующему состоянию по меньшей мере одного выращиваемого растения. За счет этого улучшается рост растений и эффективность способа выращивания.

Резервуар для воды и/или резервуар для удобрений может представлять собой, в частности, часть светильника. Например, светильник в базовом теле светильника может иметь заправочное отверстие для заполнения резервуара для воды и/или резервуара для удобрений.

Устройство, в частности контейнер, может также иметь оросительное устройство для автоматического орошения. В частности, оросительное устройство может быть выполнено для капельного орошения.

Устройство, в частности контейнер, может иметь регулировочное устройство температуры, в частности нагреватель. Оптимальная температура для выращивания растений может обеспечиваться с помощью терморегулирующего устройства.

Другой задачей изобретения является улучшение способа выращивания растений.

Эта задача решается с помощью способа, включающего этапы, указанные в пункте 15 формулы изобретения. Сначала обеспечивают наличие по меньшей мере одного выращиваемого растения и светильника, как описано выше. Предпочтительно обеспечивают наличие вышеописанного устройства для выращивания растений. С помощью по меньшей мере одного источника света свет используют для излучения на по меньшей мере одно выращиваемое растение. С помощью по меньшей мере одного устройства обнаружения света определяют по меньшей мере один параметр состояния по меньшей мере одного выращиваемого растения. С помощью по меньшей мере одного регулировочного устройства по меньшей мере один источник света перемещают относительно по меньшей мере одного выращиваемого растения в зависимости от по меньшей мере одного параметра состояния. Способ обладает преимуществами, описанными в отношении светильника. С использованием этого способа можно, в частности, эффективно стимулировать рост растений. Выращивание растений является эффективным и энергосберегающим.

По меньшей мере одно выращиваемое растение может быть обеспечено, в частности, как семя растения, проросшее семя растения, саженец и/или зрелое растение. Способ выращивания растений может охватывать одну или более фаз вегетации по меньшей мере одного выращиваемого растения, в частности фазу рассады, фазу роста, фазу цветения, фазу размножения и/или фазу сбора урожая.

Способ по пункту 16 формулы изобретения может быть адаптирован, в частности точно, к различным стадиям роста растения. Измерение могут проводить, в частности, с использованием по меньшей мере одного спектрометра, предпочтительно спектрометра ближней инфракрасной области, по меньшей мере одного датчика расстояния и/или по меньшей мере одного 3D-сканера.

Способ по пункту 17 формулы изобретения может быть адаптирован, в частности хорошо, к соответствующим требованиям растения. В частности, могут быть приняты во внимание различные стадии роста по меньшей мере одного выращиваемого растения. Характеристика излучения, в частности спектр и/или интенсивность по меньшей мере одного источника света, может быть адаптирована к соответствующему состоянию, в частности, фазе вегетации по меньшей мере одного выращиваемого растения.

Способ по пункту 18 формулы изобретения пригоден для использования в частности гибким и универсальным образом. Определение по меньшей мере одного дополнительного параметра состояния позволяет еще более точно учитывать соответствующее состояние растения. В частности, определение содержания воды и/или питательных веществ в по меньшей мере одном выращиваемом растении позволяет полностью автоматизировать орошение и/или удобрение растения. Не только освещение, но и снабжение растения водой и/или питательными веществами может быть оптимально адаптировано к виду растения и/или его соответствующему состоянию.

Способ по пункту 19 формулы изобретения является в частности универсальным и точным. Этап калибровки может включать, например, ввод исходных параметров. Например, вид или род выращиваемого растения и/или конкретные требования к выращиванию растения могут быть переданы через интерфейс данных. Дальнейший способ выращивания может осуществляться в зависимости от этих исходных параметров.

Автоматическое определение исходного состояния, в частности вида или рода и/или начального размера выращиваемого растения, предпочтительно происходит на этапе калибровки. Таким образом, может автоматически выбираться оптимальная исходная конфигурация, в частности характеристика положения и/или расстояния по меньшей мере одного источника света. На этапе калибровки по меньшей мере один параметр состояния предпочтительно может быть измерен повторно с помощью по меньшей мере одного устройства обнаружения, в частности предпочтительно с различными положениями по меньшей мере одного устройства обнаружения относительно по меньшей мере одного выращиваемого растения.

Этап калибровки в частности предпочтителен для модульных устройств для выращивания растений. Независимо от комбинации светильника и контейнера таким образом обеспечивается оптимальная адаптация светильника к выращиваемому растению.

Способ по пункту 20 формулы изобретения является в частности гибким. Несколько степеней свободы позволяют, в частности, эффективно адаптировать положение по меньшей мере одного источника света относительно растения. Возможными степенями свободы являются, в частности, возможность вертикальной регулировки светильника, в частности базового тела светильника, возможность поворота по меньшей мере одной балки и/или подвижность, в частности возможность смещения, по меньшей мере одного источника света вдоль балки, в частности поворотной балки.

Способ по пункту 21 формулы изобретения является в частности точным и безотказным. Сочетание перемещения с различными степенями свободы, в частности по меньшей мере с тремя различными степенями свободы, обеспечивает точное и согласованное перемещение по меньшей мере одного источника света. Использование одного привода обеспечивает простую конструкцию светильника и делает его надежным.

Дополнительные признаки, преимущества и детали изобретения следуют из нижеследующего описания предпочтительных примерных вариантов осуществления на основе чертежей. На чертежах:

На фиг. 1 показан вид в перспективе устройства для выращивания растений, имеющего светильник, где геометрия светильника адаптирована к небольшому размеру выращиваемого растения.

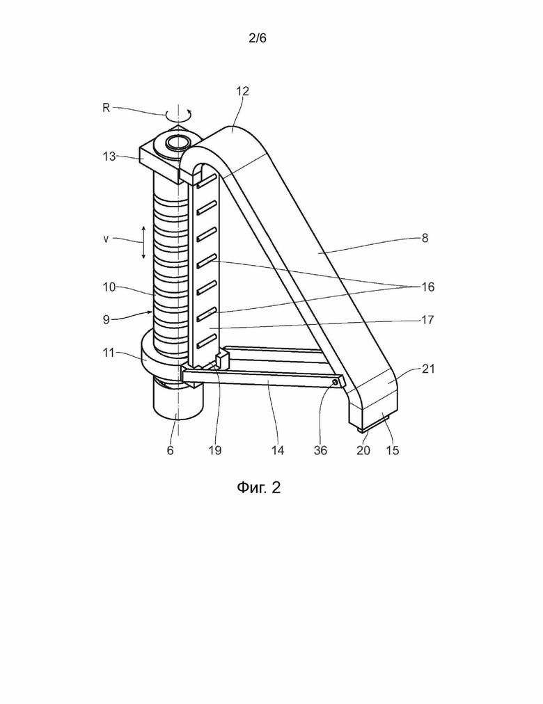
На фиг. 2 показаны балка и шпиндельный привод светильника согласно фиг. 1.

На фиг. 3 показан вид в перспективе устройства согласно фиг. 1, где геометрия светильника адаптирована к большему размеру выращиваемого растения.

На фиг. 4 показан вид сбоку устройства согласно фиг. 3.

На фиг. 5 показан вид в перспективе по диагонали снизу устройства согласно фиг. 3, и

на фиг. 6 схематически показана последовательность способа выращивания растений.

Примерный вариант устройства 1 для выращивания растений описывается на основе фиг. 1-5. Устройство 1 имеет светильник 2 для выращивания растений и контейнер 3. Геометрия светильника 2 может быть адаптирована к росту схематически показанного выращиваемого растения 4. На фиг. 1 растение 4 показано в начале выращивания растения. Геометрия светильника 2 адаптирована к размеру растения 4, которое является очень маленьким. На фиг. 2 показаны отдельные компоненты светильника 2 в начале выращивания растения. На фиг. 3-5 светильник адаптирован к происходившему в это время росту растения 4 и, таким образом, к большему размеру растения 4. Для ясности выращенное растение 4 показано на фиг. 4 только схематически.

Контейнер 3 образует емкость для растительного субстрата 5, схематически показанного на фиг. 1 и 3. Растение 4 посажено в растительный субстрат 5. Растительный субстрат 5 может представлять собой, например, горшечную смесь или субстрат для гидрокультуры. На фигурах схематически показано только одно выращиваемое растение 4. Однако благодаря размеру контейнера 3 в содержащийся в нем растительный субстрат также может быть высажено несколько растений. Например, несколько растений могут быть сгруппированы вокруг светильника 2.

Контейнер 3 выполнен за одно целое со светильником 2. Светильник 2 имеет базовое тело 6 светильника. Базовое тело светильника выполнено в виде стойки, расположенной по центру контейнера 3.

Светильник 2 имеет регулировочное устройство 7. Регулировочное устройство 7 имеет четыре балки 8 и шпиндельный привод 9. Шпиндельный привод 9 имеет нарезной шпиндель 10 и шпиндельную гайку 11. Нарезной шпиндель 10 встроен в базовое тело 6 растения. При вращении шпиндельной гайки 11 он перемещается в вертикальном направлении v вдоль резьбового шпинделя (см. фиг. 2).

Балки 8 расположены звездообразно вокруг базового тела 6 светильника. Балки 8 установлены с возможностью поворота на буртике 13 посредством гибкого соединения 12 (см. фиг. 2). Буртик 13 расположен на базовом теле 6 светильника с возможностью вращения. С помощью гибкого соединения 12 балки 8 могут поворачиваться относительно буртика 13 и, следовательно, относительно базового тела 6 светильника. В показанном примерном варианте осуществления поворот происходит вокруг горизонтальной оси поворота. Поворот происходит с помощью шпиндельного привода 9.

Балки 8 расположены на базовом теле 6 светильника в виде зонтика. Во время адаптации геометрии светильника зонтик, образованный балками 8, открывается или закрывается.

Каждая балка 8 соединена посредством соединительного элемента, выполненного в виде соединительной штанги 14, со шпиндельной гайкой 11. Каждая соединительная штанга 14 жестко расположена на шпиндельной гайке 11. Соединительные штанги 14 расположены на соответствующей балке 8 таким образом, что соединительные штанги 14 используются в качестве направляющей передачи при повороте балки 8. Соединительные штанги 14 расположены на соответствующей балке 8 посредством элемента 36 компенсации скручивания.

Регулировочное устройство 13 имеет электродвигатель в форме моментного двигателя (не показан). Моментный двигатель расположен в области базового тела 6 светильника на высоте буртика 13. Буртик 13 может быть приведен во вращение относительно базового тела 6 посредством вращательного привода моментного двигателя. Балки 8 начинают вращаться с буртиком 13. Вращение передается на шпиндельную гайку 11 через соединительные штанги 14. Вращение схематически показано на фиг.2 стрелкой Р. Вращение передается на нарезной шпиндель 11, при этом он перемещается в вертикальном направлении v. Шпиндельная гайка перемещается вверх или вниз по нарезному шпинделю 10 в зависимости от направления вращения. Соединительные штанги 14 также перемещаются вверх за счет вертикального перемещения нарезного шпинделя. Соединительные штанги 14 действуют в этом случае как направляющие передачи, которые вызывают поворот балок 8 относительно буртика 13 и, следовательно, относительно базового тела 6 светильника. Поворот происходит вокруг горизонтальной оси поворота, определяемой гибким соединением 12. Поворот приводит к перемещению конца 15 балок 8, обращенного от базового тела 6 светильника.

При перемещении шпиндельной гайки 11 вверх конец 15 балок 8 перемещается вверх и вбок от базового тела 6 светильника. Зонтик, образованный балками 8, открывается. При противоположном перемещении шпиндельной гайки 11, т.е. при перемещении вниз вдоль нарезного шпинделя 10, конец балки перемещается вниз и вбок к базовому телу 6 светильника. Зонтик, образованный балками 8, закрывается.

В примерных вариантах осуществления, показанных на фигурах, балки 8 и, посредством этого, шпиндельная гайка 11 приводятся во вращение, чтобы вызвать перемещение. В других примерных вариантах осуществления (не показаны) базовое тело 6 светильника или по меньшей мере нарезной шпиндель 10 установлены с возможностью вращения. Нарезной шпиндель 10 приводится во вращение посредством двигателя так, что происходит поворот балок 8, но не их вращение. В других примерных вариантах линейное смещение осуществляется с использованием других линейных приводов. Например, вместо шпиндельного привода может быть использован пневматический и/или гидравлический привод. Общая концепция перемещения источников света относительно растения не зависит от регулировочного устройства 7, конкретно описанного в этом документе. Может быть предусмотрено любое другое регулировочное устройство, обеспечивающее такое перемещение.

Светильник 2 имеет множество источников света в виде светодиодов 16. Для ясности на фигурах только отдельные из светодиодов 16 имеют номера позиций. Светодиоды 16 расположены вдоль гибких подложек 17. Гибкие подложки 17 образованы гибкими печатными платами. Гибкие подложки 17 выполнены в виде световой ленты. На каждой балке 8 предусмотрена одна световая лента 17, имеющая светодиоды 16. Каждая световая лента 17 направляется в линейных направляющих 18 балки 8. Световые ленты 17 могут смещаться направленно вдоль балок 18.

Один конец 19 световых лент 17 закреплен на шпиндельной гайке 11. Концы 19 световых лент 17 увлекаются при перемещении шпиндельной гайки 11 вдоль нарезного шпинделя 10. Увлечение концов 19 световых лент 17 вызывает относительное смещение световых лент 17 относительно соответствующей балки 8. Следовательно, поворот балок 8 и относительное линейное перемещение световых лент 17 относительно балок 8 осуществляется с помощью вращательного привода. Вращательное перемещение вызывает перемещение светодиодов 16 относительно базового тела 6 светильника и, следовательно, относительно выращиваемого растения 4.

Регулировочное устройство 7 используется для адаптации положения светодиодов 16 относительно выращиваемого растения 4. Геометрия светильника 2 может быть изменена с помощью регулировочного устройства 7. Различные геометрии светильника 2 показаны в качестве примера на фиг. 1 или 3-5. Регулировочное устройство 7 обеспечивает непрерывное изменение геометрии светильника. Ниже различные геометрии светильника также называются состояниями регулировки. Плавная регулировка и адаптация светильника 2 к растению 4 возможна с помощью шпиндельного привода 9.

Состояние регулировки показано на фиг. 1, где балки 8 повернуты вниз насколько это возможно. Шпиндельная гайка 11 находится в области нижнего конца нарезного шпинделя 10. Световые ленты 17 проходят над шпиндельной гайкой 11 вдоль нарезного шпинделя 10. Таким образом, световые ленты 17 проходят над частью базового тела 6 светильника, которое выполнено в виде стойки. Кроме того, световые ленты 17 направляются внутри линейных направляющих 18 соответствующих балок 8. Таким образом, светодиоды 16 излучают свет на растение 4 со стороны базового тела 6 светильника и сверху со стороны балок 8. Благодаря сложенному вниз состоянию свет также излучается на растение 4 со стороны, противоположной базовому телу светильника. Благодаря сложенному состоянию регулировки свет, генерируемый с помощью светодиодов 16, по существу направляется на растение 4. Рассеянный свет уменьшается. Таким образом, светильник является энергоэффективным. Свет, генерируемый с помощью светодиодов 16, может быть оптимально использован для освещения растения 4.

В состоянии регулировки, показанном на фиг. 3-5, шпиндельная гайка 11 перемещена в направлении верхнего конца нарезного шпинделя 10. В результате балки 8 повернуты вверх. В этом состоянии регулировки балки 8 проходят по существу наружу в горизонтальном направлении от базового тела 6 светильника. Таким образом, балки 8 позволяют охватить более высокое и широкое растение 4. В то же время концы 19 световых лент 17 расположены в области верхнего конца нарезного шпинделя 10. Таким образом, световые ленты 17 смещены относительно балок 8. Конец 20 световых лент 17, противоположный концу 19, выступает, таким образом, из линейных направляющих 18 за свободный конец 15 балок 8. На конце 15 балки расположено гибкое соединение 21. За счет гибкого соединения 21 обеспечивается, что концы 15 балки свисают вниз под действием силы тяжести. Соответственно, световые ленты 17 свисают сбоку вниз. За счет такого расположения световых лент 17 растение 4 освещается сверху и со стороны, обращенной от базового тела 6 светильника.

В каждом из различных состояний регулировки светильника 2 растение 4 освещается по меньшей мере с двух сторон. За счет этого увеличивается световой выход при выращивании растений. Нижележащие листья не затеняются вышележащими листьями. Скорее, свет поступает с разных сторон.

Перемещение светодиодов 16 относительно растения 4 осуществляется с помощью регулировочного устройства 7. Таким образом, расположение светодиодов 16 может быть оптимально адаптировано к соответствующему состоянию растения 4, в частности к размеру растения 4. Перемещение происходит полностью автоматически в светильнике 2.

Светильник 2 имеет устройство 22 обнаружения для определения параметра состояния растения 4 (см. фиг. 5). Устройство 22 обнаружения имеет БИК-спектрометры 24 и широкополосные БИК-излучатели 23. Широкополосные БИК-излучатели 23 излучают широкополосное инфракрасное излучение на растение 4. Инфракрасное излучение, отраженное от растения 4, в частности от его листвы, обнаруживается с помощью БИК-спектрометров. 24. Спектр отраженного инфракрасного излучения позволяет сделать выводы о листве и, следовательно, о размере растения 4. Кроме того, за счет этого можно определить индекс листовой поверхности. Кроме того, по БИК-спектру можно определить содержание воды и/или питательных веществ в растении 4. Эти параметры состояния растения 4 позволяют определить состояние роста, в частности размер, и различные фазы вегетации, в частности фазы роста. В зависимости от размера растения и/или фазы вегетации, в частности фазы роста, геометрия светильника 2 адаптируется для обеспечения оптимального освещения растения 4 с помощью светодиодов 16.

Светодиоды 16 являются адаптируемыми в отношении характеристики излучения. Это означает, что интенсивность и спектр света, генерируемого светодиодами 16, адаптируются к соответствующему параметру состояния, определенному с помощью устройства 22 обнаружения. За счет этого обеспечивается оптимальный рост растений.

Устройство 7 регулировки имеет блок оценки (не показан), определяющий по меньшей мере один параметр состояния, в частности размер, индекс листовой поверхности, содержание воды и/или содержание питательных веществ в растении 4 из БИК-спектра. Регулировочное устройство активируется для перемещения светодиодов 16 относительно растения 4 в зависимости от этого параметра состояния.

В примерном варианте осуществления, показанном на чертежах, широкополосные БИК-излучатели 23 расположены в двух из четырех балок 8 на высоте соединения между соединительными штангами 14 и соответствующей балкой 8. На каждой из двух других балок 8 в соответствующей точке расположен БИК-спектрометр 24. В других примерных вариантах осуществления (не показаны) на каждой балке 8 могут быть расположены один БИК-излучатель 23 и один БИК-спектрометр 24.

В других примерных вариантах осуществления (не показаны) дополнительно или альтернативно БИК-спектрометрам могут быть предусмотрены другие датчики. Например, датчики расстояния могут использоваться для определения расстояния между светодиодами 16 и растением 4. О размере растения может быть сделан вывод, например, на основе определенного расстояния и состояния регулировки. В других примерных вариантах форма и размер растения 4 могут обнаруживаться с помощью 3D-сканеров, в частности лазерных сканеров, например, лазерных БИК-сканеров. Устройство обнаружения в частности предпочтительно имеет по меньшей мере один БИК-спектрометр и по меньшей мере один 3D-сканер. В предпочтительном варианте осуществления 3D-сканеры, в частности лазерные сканеры, и БИК-спектрометры могут быть расположены на балках попеременно.

Светильник 2 имеет вспомогательное устройство 25 обнаружения для обнаружения по меньшей мере одного дополнительного параметра состояния растения 4. Вспомогательное устройство 25 обнаружения расположено на нижней стороне шпиндельной гайки 11 (см. фиг. 5). Вспомогательное устройство 25 обнаружения имеет датчики 26 температуры и датчики 27 влажности. Температура растения 4 и/или его окружения может быть измерена с помощью датчиков 26 температуры. Температуру, необходимую для выращивания растений, можно контролировать с помощью датчиков температуры 26. В некоторых примерных вариантах осуществления температура также может регулироваться. Для этой цели контейнер 3 может иметь нагреватель (не показан).

С помощью датчиков 27 влажности можно определять влажность окружающей среды, влажность почвы и/или содержание воды в растении 4. Орошение растения 4 может быть адаптировано на основе определенных значений влажности.

Контейнер 3 имеет автоматическое оросительное устройство 28 с разбрызгивателями 29. Устройство 1 обеспечивает целенаправленное орошение растения 4, в частности капельное орошение. Орошение происходит автоматически на основе значений влажности, определенных с помощью датчиков 27 влажности, и/или содержания воды в растении 4, определенного с помощью БИК-спектрометров 24. Оросительное устройство 28 имеет резервуар 30 для жидкости. Резервуар 30 для жидкости образован внутри базового тела 6 светильника. Резервуар 30 для жидкости можно наполнять через заправочное отверстие 32, закрывающееся посредством клапана 31.

Кроме того, устройство 1 имеет резервуар 35 для удобрений. Резервуар для удобрений схематически показан на фиг. 4. Резервуар 35 для удобрений обеспечивает автоматическое внесение удобрений в растение, в частности, на основе содержания питательных веществ в растении 4, определенного с помощью БИК-спектрометров 24. В других примерных вариантах осуществления (не показаны) удобрение также может подаваться через резервуар для воды и оросительное устройство.

Устройство 1 имеет разъем 33 питания, сформированный в контейнере 3. Устройство 1 может получать питание через разъем 33 питания. Световые ленты 17 соединены на своих концах 19 с проводными петлями 34 для подачи питания на светодиоды 16. Проволочные петли 34 обеспечивают возможность подключения питания независимо от перемещения концов 19 световых лент 17 вдоль шпиндельного привода 10. В области буртика 13 подключение питания осуществляется посредством скользящих контактов, в частности для заземления и/или положительного полюса. Дополнительный опциональный скользящий контакт используется для передачи данных, в частности для передачи данных, обнаруживаемых посредством устройств 22 обнаружения и/или вспомогательных устройств 25 обнаружения.

Светильник 2 имеет интерфейс данных (явно не показан) для обмена данными. Интерфейс данных выполнен как беспроводное соединение для передачи данных. В других примерных вариантах осуществления (не показаны) может быть реализован проводной интерфейс данных, например, через разъем 33 питания. С помощью интерфейса данных на светильник 2 могут передаваться рабочие параметры и/или данные выращивания по отношению к растению 4. Альтернативно или дополнительно могут выводиться рабочие состояния светильника 2. В частности, могут выводиться параметры состояния растения 4, определенные с помощью устройства 22 обнаружения и/или вспомогательного устройства 25 обнаружения. Например, вывод может осуществляться, когда растение 4 достигло новой стадии роста. Ввод или вывод данных может осуществляться, например, через терминал пользователя, в частности смартфон и/или планшет. Например, для этой цели может быть предусмотрено специальное приложение.

Ниже со ссылкой на фиг. 6 описывается способ 40 выращивания растений.

На этапе 41 обеспечения обеспечивают наличие по меньшей мере одно выращиваемого растения и светильника для выращивания растений. Обеспеченный светильник может представлять собой описанный выше светильник 2. Светильник предпочтительно обеспечивают как часть устройства 1.

На этапе 42 калибровки калибруют обеспеченный светильник. Например, на светильник могут передавать рабочие параметры и/или данные выращивания, в частности вид или род выращиваемого растения. Светильник также может выполнять автоматическую идентификацию соответствующих рабочих параметров и/или данных выращивания. В частности, параметры состояния выращиваемого растения могут определять путем повторных измерений.

На этапе 43 выращивания растений излучают свет на по меньшей мере одно выращиваемое растение с помощью по меньшей мере одного источника света светильника. На этапе 43 выращивания растений по меньшей мере один параметр растения обнаруживают на этапе 44 обнаружения. В зависимости от обнаруживаемого параметра состояния на этапе 45 регулировки по меньшей мере один источник света перемещают относительно выращиваемого растения с помощью регулировочного устройства светильника. Таким образом происходит зависимая от состояния адаптация геометрии светильника.

Этап 44 обнаружения и этап 45 регулировки выполняют повторно, как указано циклом 46 повторения. В частности, может происходить непрерывная и/или пошаговая адаптация геометрии светильника.

В зависимости от по меньшей мере одного параметра состояния выращиваемого растения, обнаруживаемого на этапе 44 обнаружения, также адаптируют характеристику излучения, в частности спектр и/или интенсивность по меньшей мере одного источника света. В частности, адаптируют характеристику излучения к фазе вегетации, в частности фазе роста растения. Адаптация может осуществляться на этапе 45 регулировки.

На вспомогательном этапе 47 обнаружения обнаруживают по меньшей мере один дополнительный параметр состояния выращиваемого растения. Соответствующую адаптацию выполняют на этапе 48 адаптации в зависимости от дополнительного параметра состояния. Например, на вспомогательном этапе 47 обнаружения могут определять содержание воды и/или питательных веществ в выращиваемом растении. Затем на этапе 48 адаптации происходит автоматическое орошение и/или удобрение растения. Вспомогательный этап 47 обнаружения и этап адаптации 48 циклически повторяют, как указано циклом 49 повторения. В частности, могут осуществлять непрерывный и/или пошаговый мониторинг и/или регулировку водного баланса и/или питательного баланса по меньшей мере одного выращиваемого растения.

На вспомогательном этапе обнаружения 47 также могут обнаруживать дополнительные параметры состояния, например, температуру окружающей среды. Дополнительную адаптацию, например, адаптацию температуры, могут осуществлять в зависимости от дополнительных параметров состояния на этапе 48 адаптации.

Похожие патенты RU2832068C1

название год авторы номер документа
РАСТЕНИЕВОДЧЕСКОЕ ОСВЕТИТЕЛЬНОЕ УСТРОЙСТВО И СПОСОБ СТИМУЛИРОВАНИЯ РОСТА РАСТЕНИЙ И БИОРИТМА РАСТЕНИЯ 2014
  • Ван Элмпт Роб Франсискус Мария
  • Петерс Хенрикус Мари
  • Хикмет Рифат Ата Мустафа
  • Петерс Мартинус Петрус Йозеф
  • Вельдман Дирк
  • Ван Хал Паулус Альбертус
  • Вег Рене Теодорус
RU2667769C2
УСТРОЙСТВО ДЛЯ УПРАВЛЕНИЯ РОСТОМ ИЛИ СВОЙСТВАМИ РАСТЕНИЙ 2008
  • Дубе Силвейн
RU2462025C2
ДИНАМИЧЕСКАЯ РЕЦЕПТУРА СВЕТА ДЛЯ РАСТЕНИЕВОДСТВА 2014
  • Николь Селин Катрин Сара
  • Онак Габриэль-Юджин
  • Крейн Марселлинус Петрус Каролус Михал
  • Ван Эчтелт Эстер Мария
RU2654259C2
Облучательная установка для теплиц 2023
  • Терехов Владислав Геннадьевич
RU2823303C1
Способ освещения теплиц 2023
  • Терехов Владислав Геннадьевич
RU2811128C1
ТЕПЛИЦА 1993
  • Шарупич В.П.
  • Шарупич Т.С.
  • Смехун О.В.
  • Михайличенко А.В.
RU2038746C1
Устройство для культивирования растений 2023
  • Карпов Вячеслав Русланович
  • Мингалиев Евгений Альбертович
RU2818347C1
СПОСОБ ВЫРАЩИВАНИЯ ЛИСТОВЫХ ОВОЩЕЙ И УСТРОЙСТВО-ИСТОЧНИК СВЕТА ДЛЯ ВЫРАЩИВАНИЯ ЛИСТОВЫХ ОВОЩЕЙ 2014
  • Такасима Кацунори
  • Мацудзаки Дайсуке
RU2671163C2
СИСТЕМА ИСКУССТВЕННОГО ФИТООСВЕЩЕНИЯ 2019
  • Ремизова Марина Вячеславовна
RU2723725C1
СИСТЕМА ОБЛУЧЕНИЯ РАСТЕНИЙ В ТЕПЛИЦЕ 2019
  • Ракутько Сергей Анатольевич
  • Аюпов Марат Равильевич
  • Тимохин Вадим Николаевич
RU2725003C1

Иллюстрации к изобретению RU 2 832 068 C1

Реферат патента 2024 года Светильник, устройство и способ выращивания растений

Светильник для выращивания растений имеет по меньшей мере один источник света для генерирования света для выращивания по меньшей мере одного выращиваемого растения, по меньшей мере одно устройство обнаружения для обнаружения по меньшей мере одного параметра состояния растения и по меньшей мере одно регулировочное устройство для перемещения по меньшей мере одного источника света относительно растения в зависимости от по меньшей мере одного параметра состояния. По меньшей мере одно регулировочное устройство имеет по меньшей мере одну балку, установленную с возможностью поворота относительно базового тела светильника, и по меньшей мере один источник света выполнен с возможностью перемещения вдоль по меньшей мере одной балки. Изобретение касается также устройства для выращивания растений, имеющего упомянутый светильник. Техническим результатом является повышение эффективности освещения выращиваемого растения. 2 н. и 11 з.п. ф-лы, 6 ил.

Формула изобретения RU 2 832 068 C1

1. Светильник для выращивания растений, имеющий

- по меньшей мере один источник (16) света для генерирования света для выращивания по меньшей мере одного выращиваемого растения (4),

- по меньшей мере одно устройство (22) обнаружения для обнаружения по меньшей мере одного параметра состояния по меньшей мере одного выращиваемого растения (4), и

- по меньшей мере одно регулировочное устройство (7) для перемещения по меньшей мере одного источника (16) света относительно по меньшей мере одного выращиваемого растения (4) в зависимости от по меньшей мере одного параметра состояния, обнаруживаемого по меньшей мере одним устройством обнаружения (22),

отличающийся тем, что

- по меньшей мере одно регулировочное устройство (7) имеет по меньшей мере одну балку (8), установленную с возможностью поворота относительно базового тела (6) светильника, и

- по меньшей мере один источник (16) света выполнен с возможностью перемещения вдоль по меньшей мере одной балки (8).

2. Светильник по п.1, отличающийся тем, что

по меньшей мере одно регулировочное устройство (7) имеет линейный привод, в частности шпиндельный привод (9).

3. Светильник по п.1 или 2, отличающийся тем, что

по меньшей мере одна балка (8) соединена посредством соединительного элемента (14) с линейным приводом, в частности со шпиндельной гайкой (11) шпиндельного привода (9), по меньшей мере одного регулировочного устройства (7).

4. Светильник по меньшей мере по одному из предыдущих пунктов, отличающийся тем, что

по меньшей мере один источник (16) света выполнен с возможностью направленного перемещения вдоль по меньшей мере одной балки (8).

5. Светильник по меньшей мере по одному из предыдущих пунктов, отличающийся тем, что

по меньшей мере один источник (16) света соединен с линейным приводом по меньшей мере одного регулировочного устройства (7), в частности со шпиндельной гайкой (11) шпиндельного привода (9).

6. Светильник по меньшей мере по одному из предыдущих пунктов, отличающийся тем, что

по меньшей мере один источник (16) света расположен на по меньшей мере одной гибкой подложке (17).

7. Светильник по п.6, отличающийся тем, что

по меньшей мере одна гибкая подложка (17) выполнена с возможностью перемещения, в частности с возможностью направленного перемещения, вдоль по меньшей мере одной балки (8) по меньшей мере одного регулировочного устройства (7).

8. Светильник по меньшей мере по одному из пп.6 или 7, отличающийся тем, что

по меньшей мере одна гибкая подложка (17) соединена с линейным приводом по меньшей мере одного регулировочного устройства (7), в частности со шпиндельной гайкой (11) шпиндельного привода (9).

9. Светильник по меньшей мере по одному из предыдущих пунктов, отличающийся тем, что

он имеет по меньшей мере два источника (16) света, причем по меньшей мере два источника (16) света расположены таким образом, что обеспечена возможность излучения света от по меньшей мере двух сторон на по меньшей мере одно выращиваемое растение (4) посредством по меньшей мере двух источников (16) света.

10. Светильник по меньшей мере по одному из предыдущих пунктов, отличающийся тем, что

по меньшей мере одно устройство (22) обнаружения имеет по меньшей мере один спектрометр, в частности по меньшей мере один спектрометр (24) ближней инфракрасной области, по меньшей мере один датчик расстояния и/или по меньшей мере один 3D-сканер.

11. Светильник по меньшей мере по одному из предыдущих пунктов, отличающийся тем, что

он имеет по меньшей мере одно вспомогательное устройство (25) обнаружения для обнаружения по меньшей мере одного дополнительного параметра состояния по меньшей мере одного выращиваемого растения (4).

12. Устройство для выращивания растений, имеющее

- по меньшей мере один светильник (2) по меньшей мере по одному из предыдущих пунктов и

- по меньшей мере один контейнер (3) для размещения по меньшей мере одного растительного субстрата (5).

13. Устройство по п.12, отличающееся тем, что оно имеет по меньшей мере один резервуар (30) для жидкости и/или один резервуар (35) для удобрений для снабжения по меньшей мере одного выращиваемого растения (4) жидкостью и/или удобрением, в частности в зависимости от по меньшей мере одного обнаруживаемого параметра состояния по меньшей мере одного выращиваемого растения (4).

Документы, цитированные в отчете о поиске Патент 2024 года RU2832068C1

US 10842082 B1, 24.11.2020
US 10667468 B1, 02.06.2020
CN 206637333 U, 14.11.2017
Способ защиты переносных электрических установок от опасностей, связанных с заземлением одной из фаз 1924
  • Подольский Л.П.
SU2014A1
Способ восстановления спиралей из вольфрамовой проволоки для электрических ламп накаливания, наполненных газом 1924
  • Вейнрейх А.С.
  • Гладков К.К.
SU2020A1
CN 103563685 B, 11.02.2015
СПОСОБ ИЗМЕРЕНИЯ ПЕРЕДАВАЕМОЙ ВРАЩАЮЩИМСЯ ВАЛОМ МОЩНОСТИ 0
SU167332A1

RU 2 832 068 C1

Авторы

Андреев, Желио

Озгюр, Харун

Рихтер, Клаус

Даты

2024-12-18Публикация

2022-01-31Подача