Область техники
Настоящее изобретение относится к такой области техники, как устройства для охлаждения и замораживания, и, в частности, к холодильнику.
Уровень техники
В повседневной жизни употребление холодной воды является базовой человеческой потребностью в отношении воды. Например, жарким летом люди часто пьют холодную воду, чтобы облегчить воздействие жары. Холодильник, будучи обычным бытовым прибором, является обычным средством для получения холодной воды. У современных холодильников, имеющих модуль для охлаждения воды, встречается, как правило, два варианта исполнения модуля для охлаждения воды. Один из вариантов – использовать отдельный резервуар для воды в качестве средства для получения холодной воды, уже после выпуска холодильника на заводе; резервуар для воды обычно имеет независимую конструкцию и размещается внутри выдвижного ящика или параллельно выдвижному ящику холодильника; в процессе использования резервуар для воды из холодильника вручную вынимают, затем, наполнив резервуар водой, помещают обратно в холодильник, а после того, как вода остынет, резервуар для воды вынимают, чтобы налить воду в кружку. Другой вариант – поместить модуль охлаждения воды в корпус двери, и при этом модуль охлаждения воды, как правило, объединен с ледогенератором, расположенным в корпусе двери. В первом варианте резервуар для воды в холодильнике является независимым, и в него необходимо доливать воду вручную; после доливания воды резервуар для воды становится тяжелым, и его неудобно брать и размещать, и потому в настоящее время по своему замыслу данный вариант не соответствует современной концепции жизни и не удовлетворяет потребности людей в более комфортных жизненных условиях. Во втором варианте, поскольку модуль охлаждения воды размещен в корпусе двери холодильника, корпус двери согласно этому решению является габаритным и тяжелым и занимает больше места во внутреннем пространстве холодильника; правда, воду можно наливать снаружи прямоугольного корпуса холодильника, не открывая его дверь.
Краткое изложение сущности изобретения
Цель настоящего изобретения заключается в предоставлении съемного устройства для хранения воды.
Дополнительная цель настоящего изобретения заключается в предоставлении холодильника, в который устройство для хранения воды было бы удобно устанавливать и из которого его было бы удобно вынимать.
В частности, в настоящем изобретении предложен холодильник, который содержит:
прямоугольный корпус, внутренний контейнер которого образует в холодильнике камеру для хранения, при этом внутренний контейнер выступает наружу, образуя гнездо;
устройство для хранения воды, расположенное в камере для хранения и содержащее корпус сосуда и крышку сосуда, где корпус сосуда выполнен с возможностью хранения воды, крышка сосуда расположена наверху корпуса сосуда и выполнена с возможностью открывать и закрывать корпус сосуда, при этом крышка сосуда разъемно соединена с внутренним контейнером; при этом крышка сосуда снабжена корпусной частью и крепежной частью, расположенной на боковой стороне корпусной части рядом с внутренним контейнером; и
крепежную коробку, установленную в гнезде и прикрепленную к гнезду; при этом крепежная часть разъемно соединена с крепежной коробкой.
В одном варианте осуществления, в верхней стенке и/или нижней стенке крепежной части образован паз, а в передней стенке и/или задней стенке крепежной части образован проем; и
в передней части верхней стенки и/или нижней стенки крепежной коробки выполнен соответствующий пазу фланец, и данный фланец вставлен в паз через проем для осуществления вставного крепления крепежной части к крепежной коробке.
В еще одном варианте осуществления, проем образован на задней стенке крепежной части;
паз образован таким образом, что ширина боковой стенки паза слева и справа со стороны, близкой к внутреннему контейнеру, постепенно уменьшается в направлении спереди назад; и
фланец выполнен таким образом, что ширина фланца слева и справа постепенно увеличивается в направлении спереди назад.
В еще одном варианте осуществления в пазу дополнительно образована зажимная выемка; и
на фланце, соответствующем зажимной выемке, образован выступ, и данный выступ входит в зажимную выемку.
В еще одном варианте осуществления предусмотрена защитная крышка, выполненная с возможностью установки в крепежную коробку, для защиты крепежной коробки после вынимания крышки сосуда из внутреннего контейнера.
В еще одном варианте осуществления устройство для хранения воды дополнительно содержит водозаборную трубку, расположенную в крышке сосуда и снабженную выпускным концом, проходящим в корпус сосуда, и впускным концом, соединенным с внешней водоподводящей трубкой для подачи воды в корпус сосуда;
в крепежной части образовано сообщающееся отверстие; и
в боковой стенке гнезда образовано сквозное отверстие, в боковой стенке крепежной коробки образовано отверстие для вставки трубки, соответствующее сквозному отверстию, и внешняя водоподводящая трубка проходит через сквозное отверстие и отверстие для вставки трубки и подсоединяется к водозаборной трубке.
В еще одном варианте осуществления предусмотрена заглушка для предотвращения перелива с образованным в ней отверстием для крепления трубки, при этом заглушка для предотвращения перелива проходит через сквозное отверстие на наружной стороне внутреннего контейнера, а внешняя водоподводящая трубка проходит через отверстие для крепления трубки с целью крепления к заглушке для предотвращения перелива.
В еще одном варианте осуществления в боковой стенке гнезда образовано по меньшей мере одно первое крепежное отверстие, и на наружной стороне боковой стенки образована соответствующая первому крепежному отверстию притяжная головка;
в боковой стенке крепежной коробки образовано второе крепежное отверстие, соответствующее первому крепежному отверстию; и
холодильник дополнительно содержит резьбовой поворотный элемент, который соответствует притяжной головке и крепится на ней, при этом крепежный элемент проходит через второе крепежное отверстие, первое крепежное отверстие и притяжную головку для крепления крепежной коробки к внутреннему контейнеру.
В еще одном варианте осуществления впускной конец водозаборной трубки с помощью быстроразъемного соединения разъемно соединен с внешней водоподводящей трубкой; и
быстроразъемное соединение содержит первую соединительную трубку и вторую соединительную трубку, при этом впускной конец водозаборной трубки вставлен в первую соединительную трубку, вторая соединительная трубка снабжена соединенными друг с другом первой секцией трубки и второй секцией трубки, причем концевая часть первой секции трубки вставлена во вторую соединительную трубку, выпускной конец внешней водоподводящей трубки вставлен во вторую секцию трубки, и внутренний диаметр второй секции трубки больше внутреннего диаметра первой секции трубки.
В еще одном варианте осуществления водозаборная трубка представляет собой гибкую трубку, по меньшей мере некоторые секции которой имеют спирально-изогнутую конструкцию.
В еще одном варианте осуществления на нижней закрывающей части крышки сосуда предусмотрен патрубок для подключения, и в патрубок для подключения вставляется выпускной конец водозаборной трубки; и
на нижней закрывающей части рядом с патрубком для подключения дополнительно предусмотрена опорная пластина, при этом в данной опорной пластине последовательно в направлении вверх и вниз образованы первый вырез и второй вырез, причем размер второго выреза больше размера первого выреза, и некоторые секции водозаборной трубки вставляются во второй вырез через первый вырез.
В холодильнике, предусмотренном настоящим изобретением, устройство для хранения воды расположено внутри камеры для хранения, благодаря чему устройство для хранения воды занимает лишь небольшое пространство внутри холодильника и не влияет на корпус двери холодильника. При этом крышка сосуда разъемно соединена с внутренним контейнером, благодаря чему устройство для хранения воды может, если в нем нет необходимости, быть полностью убрано из холодильника, что увеличит внутреннее пространство холодильника.
Вышеизложенные и другие цели, преимущества и признаки настоящего изобретения станут более понятны специалистам в данной области техники из следующего подробного описания конкретных вариантов осуществления настоящего изобретения со ссылкой на прилагаемые графические материалы.
Краткое описание графических материалов
Далее будут подробно описаны некоторые конкретные варианты осуществления настоящего изобретения в качестве примера, а не ограничения, со ссылкой на прилагаемые графические материалы. Одинаковые обозначения ссылок на графических материалах обозначают одинаковые и аналогичные компоненты и части. Специалистам в данной области техники будет понятно, что эти графические материалы не обязательно могут быть выполнены в масштабе. На графических материалах:
на фиг. 1 представлена структурная схема холодильника, снабженного устройством для хранения воды согласно варианту осуществления настоящего изобретения;
на фиг. 2 представлена структурная схема устройства для хранения воды, внутреннего контейнера и т. д., показанных на фиг. 1;
на фиг. 3 представлена еще одна структурная схема устройства для хранения воды, внутреннего контейнера и т. д., показанных на фиг. 2;
на фиг. 4 представлен схематический вид сверху устройства для хранения воды, внутреннего контейнера и т. д., показанных на фиг. 2;
на фиг. 5 представлен схематический вид в разрезе устройства для хранения воды, внутреннего контейнера и т. д., показанных на фиг. 2, по линии A-A, показанной на фиг. 1;
на фиг. 6 представлено схематическое изображение в разобранном виде устройства для хранения воды, внутреннего контейнера и т. д., показанных на фиг. 2;
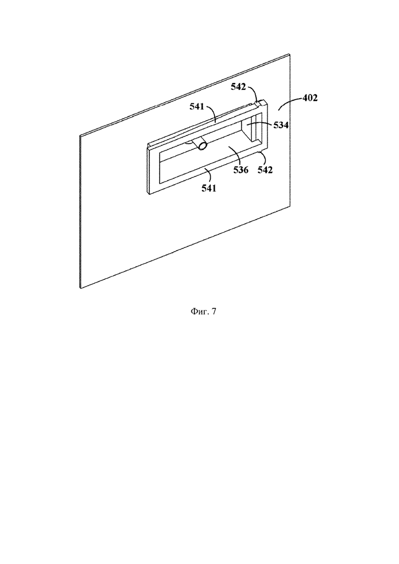
на фиг. 7 представлена структурная схема внутреннего контейнера, показанного на фиг. 2, а также крепежной коробки;
на фиг. 8 представлена структурная схема защитной крышки;
на фиг. 9 представлена структурная схема некоторых их компонентов водозаборной трубки и корпуса крышки устройства для хранения воды, показанного на фиг. 2;
на фиг. 10 представлен частичный вид в разрезе водозаборной трубки, быстроразъемного соединения и внешней водоподводящей трубки устройства для хранения воды, показанных на фиг. 2;
на фиг. 11 представлена принципиальная электрическая схема устройства для хранения воды, показанного на фиг. 2;
на фиг. 12 представлена блок-схема алгоритма помещения корпуса сосуда устройства для хранения воды, показанного на фиг. 2, во внутренний контейнер.
Подробное описание
На фиг. 1 представлена структурная схема холодильника 400, снабженного устройством 100 для хранения воды согласно варианту осуществления настоящего изобретения. На фиг. 2 представлена структурная схема устройства 100 для хранения воды, внутреннего контейнера 402 и т. д., показанных на фиг. 1. На фиг. 3 представлена еще одна структурная схема устройства 100 для хранения воды, внутреннего контейнера 402 и т. д., показанных на фиг. 2. На фиг. 4 представлен схематический вид сверху устройства 100 для хранения воды, внутреннего контейнера 402 и т. д., показанных на фиг. 2. На фиг. 5 представлен схематический вид в разрезе устройства 100 для хранения воды, внутреннего контейнера 402 и т. д., показанных на фиг. 2, по линии A-A, показанной на фиг. 1.
В варианте осуществления настоящего изобретения предлагается холодильник 400, который представляет собой устройство для хранения, содержащее холодильную систему, и обычно включает прямоугольный корпус 401, корпус двери (на фигуре не показан), холодильную систему (на фигуре не показана) и устройство 100 для хранения воды. Прямоугольный корпус 401 содержит кожух, внутренний контейнер 402, теплоизоляционный слой, расположенный между кожухом и внутренним контейнером 402, и т. д. Во внутреннем контейнере 402 прямоугольного корпуса 401 образована по меньшей мере одна камера для хранения с открытой передней стороной. Обычно имеется несколько камер для хранения, например холодильная камера 403, морозильная камера 404 и камера с регулируемой температурой. Выбор конкретного количества и функций камер хранения может быть обусловлен предварительными требованиями; например, температура хранения в холодильной камере 403 может составлять от 2 °С до 9 °С или от 4 °С до 7 °С, а температура хранения в морозильной камере 404 может составлять от -22 °С до -14 °С или от -20 °С до -16 °С. Как показано на фиг. 1, камера для хранения включает холодильную камеру 403 и морозильную камеру 404, и при этом морозильная камера 404 располагается под холодильной камерой 403. Холодильная система может представлять собой систему компрессионного холодильного цикла, состоящую из компрессора, конденсатора, дроссельного устройства, испарителя и т. д.
Как показано на фиг. 1, согласно варианту осуществления настоящего изобретения устройство 100 для хранения воды расположено в камере для хранения холодильника 400 и содержит корпус 200 сосуда и крышку 300 сосуда. Корпус 200 сосуда выполнен с возможностью хранения воды. Крышка 300 сосуда расположена в верхней части корпуса 200 сосуда и выполнена с возможностью открывать и закрывать корпус 200 сосуда. Крышка 300 сосуда разъемно соединена с внутренним контейнером 402. На фиг. 1 устройство 100 для хранения воды расположено на перегородке 431 в холодильной камере 403. В холодильнике 400, предусмотренного вариантом осуществления настоящего изобретения, устройство 100 для хранения воды расположено в камере для хранения, благодаря чему устройство 100 для хранения воды занимает лишь небольшое пространство внутри холодильника 400 и не влияет на корпус двери холодильника 400. При этом крышка 300 сосуда разъемно соединена с внутренним контейнером 402, благодаря чему устройство 100 для хранения воды может, если в нем нет необходимости, быть убрано из холодильника 400, что увеличит внутреннее пространство холодильника 400.
На фиг. 7 представлена структурная схема внутреннего контейнера 402, показанного на фиг. 2, а также крепежной коробки 500. На фиг. 8 представлена структурная схема защитной крышки 700. На фиг. 10 представлен частичный вид в разрезе водозаборной трубки 304, быстроразъемного соединения 600 и внешней водоподводящей трубки 800 устройства 100 для хранения воды, показанных на фиг. 2. Водозаборная конструкция устройства 100 для хранения воды и сопряженная с нею конструкция внутри холодильника 400, предусмотренные вариантом осуществления настоящего изобретения, будут подробно описаны ниже со ссылками на фигуры 6–10.
В некоторых вариантах осуществления согласно варианту осуществления настоящего изобретения внутренний контейнер 402 холодильника 400 выступает наружу, образуя гнездо 420. Холодильник 400 дополнительно содержит крепежную коробку 500, вставленную в гнездо 420 и прикрепленную к гнезду 420; и крышка 300 сосуда снабжена корпусной частью 301 и крепежной частью 302, расположенной на боковой стороне корпусной части 301 рядом с внутренним контейнером 402, при этом крепежная часть 302 разъемно соединена с крепежной коробкой 500. Вставив крепежную коробку 500, можно сперва прикрепить крепежную коробку 500 к внутреннему контейнеру 402, после чего крышку 300 сосуда можно прикрепить к крепежной коробке 500, чтобы осуществить крепление крышки 300 сосуда к внутреннему контейнеру 402. В одном аспекте устройство 100 для хранения воды может иметь съемную конструкцию, чтобы пользователь мог снимать устройство 100 для хранения воды, когда нет необходимости в холодной воде, чтобы получить больше свободного пространства внутри холодильника 400; и в другом аспекте, в отличие от образования сопряженной конструкции путем непосредственного формования внутреннего контейнера 402, крепежная коробка 500 может быть более сложной и совершенной конструкции, обеспечивающей стабильность установки крышки 300, крепежной коробки 500 и внутреннего контейнера 402, а также герметичность стыкового соединения.
Согласно варианту осуществления настоящего изобретения, в верхней стенке и/или нижней стенке крепежной части 302 крышки 300 сосуда устройства 100 для хранения воды образован паз 321, а возле передней стенки и/или задней стенки крепежной части 302 образован проем 320. В передней части верхней стенки 532 и/или нижней стенки 536 крепежной коробки 500 выполнен соответствующий пазу 321 фланец 541, и данный фланец 541 вставлен в паз 321 через проем 320 для осуществления вставного крепления крепежной части 302 к крепежной коробке 500. Благодаря пазу 321, проему 320 в крепежной части 302 и фланцу 541 на крепежной коробке 500 крепежную часть 302 можно простым и удобным образом прикрепить к крепежной коробке 500. Паз 321 может во всех секциях иметь первую боковую стенку со стороны, близкой к внутреннему контейнеру 402, и вторую боковую стенку со стороны, удаленной от внутреннего контейнера 402, т. е. иметь левую боковую стенку и правую боковую стенку, или же в некоторых секциях иметь только боковую стенку со стороны, близкой к внутреннему контейнеру 402. Как показано на фиг. 6, пазы 321 образованы, соответственно, в верхней стенке и нижней стенке крепежной части 302 крышки 300 сосуда, а проем 320 образован на задней стенке крепежной части 302. Паз 321, расположенный на верхней стенке крепежной части 302, за исключением проема 320, имеет только боковую стенку со стороны, близкой к внутреннему контейнеру 402, в то время как паз 321, расположенный на нижней стенке крепежной части 302, имеет и левую боковую стенку, и правую боковую стенку. Как изображено на фиг. 6 и 7, крепежная коробка 500 имеет боковую стенку 531, верхнюю стенку 532, переднюю стенку 533, заднюю стенку 534 и нижнюю стенку 536. Передняя стенка 533 и задняя стенка 534 расположены напротив друг друга спереди и сзади, а верхняя стенка 532 и нижняя стенка 536 расположены напротив друг друга сверху и снизу. В передней части верхней стенки 532 и нижней стенки 536 соответственно выполнены фланцы 541.
В некоторых вариантах осуществления проем 320 образован на задней стенке крепежной части 302; паз 321 образован таким образом, что ширина слева и справа боковой стенки паза 321 со стороны, близкой к внутреннему контейнеру 402, постепенно уменьшается в направлении спереди назад; и при этом фланец 541 выполнен таким образом, что ширина фланца 541 слева и справа в направлении спереди назад постепенно увеличивается. Как показано на фиг. 7, после того, как крепежная коробка 500 и внутренний контейнер 402 установлены и скреплены вместе, между фланцем 541 и внутренним контейнером 402 остается пространство, при этом фланец 541 образован таким образом, что ширина фланца 541 слева и справа в направлении спереди назад постепенно увеличивается т. е. расстояние между фланцем 541 и внутренним контейнером 402 в направлении спереди назад постепенно уменьшается; паз 321 образован таким образом, что ширина боковой стенки слева и справа со стороны, близкой к внутреннему контейнеру 402, в направлении спереди назад постепенно уменьшается. Это означает, что ширина паза 321 слева и справа постепенно увеличивается. Боковая стенка паза 321 со стороны, близкой к внутреннему контейнеру 402, и фланец 541 спроектированы таким образом, что повторяют форму друг друга, чтобы при установке крышки 300 сосуда крепежная часть 302 и крепежная коробка 500 крепились более плотно по мере сдвига крышки 300 сосуда назад вдоль фланца 541.
В некоторых вариантах осуществления в пазу 321 образована зажимная выемка 322; и на фланце 541 образован выступ 542, соответствующий зажимной выемке 322, и при этом выступ 542 вставляется в зажимную выемку 322. Как правило, зажимная выемка 322 образована только в пазу 321, расположенном на нижней стенке крепежной части 302, а выступы 542 образованы на фланцах 541 на верхней стенке 532 и нижней стенке 536 соответственно. Благодаря зажимной выемке 322 в пазу 321 и выступу 542 на фланце 541 становится удобнее устанавливать и разбирать крышку 300 сосуда. Когда устройство 100 для хранения воды не используется, пользователь непосредственно тянет за крышку 300 сосуда вперед, чтобы отсоединить крышку 300 сосуда от крепежной коробки 500.
В соответствии с вариантом осуществления настоящего изобретения, холодильник 400 дополнительно содержит защитную крышку 700, выполненную с возможностью установки в крепежную коробку 500, для защиты крепежной коробки 500 после вынимания крышки 300 сосуда из внутреннего контейнера 402. После вынимания крышки 300 сосуда из внутреннего контейнера 402 крепежная коробка 500 и внешняя водоподводящая трубка 800 могут быть доступны для обзора. С помощью защитной крышки 700 можно предотвратить загрязнение внешней водоподводящей трубки 800, а также сделать холодильник 400 внешне более привлекательным. На фиг. 8 представлена структурная схема защитной крышки 700. Конструкция защитной крышки 700 аналогична конструкции крепежной части 302, а основное их отличие состоит в том, что в боковой стенке 701 защитной крышки 700 не образовано сообщающееся отверстие 323 для соединения с внешней водоподводящей трубкой 800. Как показано на фиг. 8, пазы 321 образованы в верхней стенке и нижней стенке защитной крышки 700, а проем 320 образован на задней стенке.
Как показано на фиг. 9, в соответствии с вариантом осуществления настоящего изобретения устройство 100 для хранения воды дополнительно содержит водозаборную трубку 304, расположенную в крышке 300 сосуда и снабженную выпускным концом, проходящим в корпус 200 сосуда, и впускным концом, соединенным с внешней водоподводящей трубкой 800 для подачи воды в корпус 200 сосуда. Благодаря наличию водозаборной трубки 304 в крышке 300 сосуда устройство 100 для хранения воды само по себе снабжено водозаборной трубкой 304, что делает удобной подачу воды в корпус 200 сосуда. Как показано на фиг. 6, в корпусной части 301 крышки 300 сосуда образована вмещающая полость 311, а во вмещающей полости 311 расположена водозаборная трубка 304. Согласно варианту осуществления настоящего изобретения, в крепежной части 302 крышки 300 сосуда устройства 100 для хранения воды образовано сообщающееся отверстие 323. В боковой стенке гнезда 420 внутреннего контейнера 402 образовано сквозное отверстие 421. В боковой стенке 531 крепежной коробки 500 образовано отверстие 5311 для вставки трубки, соответствующее сквозному отверстию 421. Через сквозное отверстие 421 и отверстие 5311 для вставки трубки проходит внешняя водоподводящая трубка 800, которая затем соединяется с водозаборной трубкой 304.
Согласно варианту осуществления настоящего изобретения, холодильник 400 дополнительно содержит заглушку 801 для предотвращения перелива с образованным в ней отверстием 811 для крепления трубки, при этом заглушка 801 для предотвращения перелива проходит через сквозное отверстие 421 на наружной стороне внутреннего контейнера 402, а внешняя водоподводящая трубка 800 проходит через отверстие 811 для крепления трубки с целью крепления к заглушке 801 для предотвращения перелива. В заглушке 801 для предотвращения перелива может быть образован паз (на фигуре не показан) для прокладки кабельного жгута 802.
Согласно варианту осуществления настоящего изобретения, в боковой стенке гнезда 420 внутреннего контейнера 402 холодильника 400 образовано по меньшей мере одно первое крепежное отверстие (на фигуре не показано), а на наружной стороне боковой стенки образована соответствующая первому крепежному отверстию притяжнпритяжная головка 422. В боковой стенке 531 крепежной коробки 500 образовано второе крепежное отверстие 5312, соответствующее первому крепежному отверстию. Холодильник 400 дополнительно содержит резьбовой поворотный элемент 803, который подходит к притяжнпритяжной головке 422 и крепится к ней. Крепежный элемент 505 проходит через второе крепежное отверстие 5312, первое крепежное отверстие и притяжнпритяжную головку 422 для осуществления крепления крепежной коробки 500 к внутреннему контейнеру 402.
Наличие первого крепежного отверстия в боковой стенке гнезда 420 и второго крепежного отверстия 5312 в боковой стенке 531 крепежной коробки 500 позволяет прочно прикрепить друг к другу крепежную коробку 500 и внутренний контейнер 402. Наличие притяжнпритяжной головки 422 и резьбового поворотного элемента 803 позволяет установить крепежную коробку 500 после запенивания. Как показано на фиг. 6, гнездо 420 устанавливается на внутренний контейнер 402, притяжнпритяжные головки 422 для установки резьбового поворотного элемента 803 при предварительной сборке располагаются на внешней стороне гнезда 420 в соответствии с первым крепежным отверстием и вторым крепежным отверстием 5312, и, после запенивания, крепежная коробка 500 крепится с помощью крепежного элемента 505, например винта, к внутренней части гнезда 420, установленного на внутренний контейнер 402. Внешняя водоподводящая трубка 800 и кабельный жгут сначала проходят через заглушку 801 для предотвращения перелива, после чего заглушка 801 для предотвращения перелива вставляется в сквозное отверстие 421 внутреннего контейнера 402 и отверстие 5311 для вставки трубки, расположенное в крепежной коробке 500. Заглушка 801 для предотвращения перелива может представлять собой резиновую заглушку. Кроме того, между резьбовым поворотным элементом 803 и внешней стороной гнезда 420 может быть предусмотрено уплотнительное кольцо 831.
В некоторых вариантах осуществления согласно варианту осуществления настоящего изобретения впускной конец водозаборной трубки 304 устройства 100 для хранения воды разъемно соединен с внешней водоподводящей трубкой 800 посредством быстроразъемного соединения 600. Быстроразъемное соединение 600 содержит первый соединительный трубный узел 601 и второй соединительный трубный узел 602, при этом впускной конец водозаборной трубки 304 вставлен в первый соединительный трубный узел 601, а второй соединительный трубный узел 602 снабжен соединенными друг с другом первой секцией 621 трубки и второй секцией 622 трубки, причем концевая часть первой секции 621 трубки вставлена во второй соединительный трубный узел 602, выпускной конец внешней водоподводящей трубки 800 вставлен во вторую секцию 622 трубки, и внутренний диаметр второй секции 622 трубки больше внутреннего диаметра первой секции 621 трубки. Благодаря разъемному соединению водозаборной трубки 304 с внешней водоподводящей трубкой 800 посредством быстроразъемного соединения 600, в тех случаях, когда доступ к воде не требуется, устройство 100 для хранения воды можно отсоединять от внешней водоподводящей трубки 800, что позволяет хранить и использовать устройство 100 для хранения воды независимо. Водозаборная трубка 304 и внешняя водоподводящая трубка 800 соединены с помощью быстроразъемного соединения 600, снабженного первым соединительным трубным узлом 601 и вторым соединительным трубным узлом 602, что позволяет их многократно соединять и разъединять. При наличии доступа к воде водозаборная трубка 304 может быть вставлена непосредственно в первый соединительный трубный узел 601, внешняя водоподводящая трубка 800 может быть вставлена непосредственно во второй соединительный трубный узел 602, после чего первая секция 621 трубки второго соединительного трубного узла 602 может быть вставлена в первый соединительный трубный узел 601. Если доступа к воде нет, следует потянуть за быстроразъемное соединение 600, чтобы разъединить первый соединительный трубный узел 601 и второй соединительный трубный узел 602 быстроразъемного соединения 600, отсоединив таким образом в прямоугольном корпусе 401 водозаборную трубку 304 от внешней водоподводящей трубки 800.
Согласно варианту осуществления настоящего изобретения предпочтительно, чтобы водозаборная трубка 304 устройства 100 для хранения воды представляла собой гибкую трубку и чтобы по меньшей мере некоторые из ее секций имели спирально-изогнутую конструкцию. Водозаборная трубка 304 выполнена в виде гибкой трубки и имеет спирально-изогнутую конструкцию, благодаря чему за водозаборную трубку 304 удобно тянуть, тем самым способствуя стыковке первого соединительного трубного узла 601 со вторым соединительным трубным узлом 602.
Как показано на фиг. 6, согласно варианту осуществления настоящего изобретения на нижней закрывающей пластине 306 крышки 300 сосуда устройства 100 для хранения воды выполнен патрубок 362 для подключения, причем в патрубок 362 для подключения вставляется выпускной конец водозаборной трубки 304. При этом на нижней закрывающей пластине 306, рядом с патрубком 362 для подключения предусмотрена также опорная пластина 363. В опорной пластине 363 последовательно в направлении вверх и вниз образованы первый вырез 3631 и второй вырез 3632. Размер второго выреза 3632 больше размера первого выреза 3631. Некоторые из секций водозаборной трубки 304 вставляются во второй вырез 3632 через первый вырез 3631. При наличии у опорной пластины 363 как первого выреза 3631, так и второго выреза 3632 возле патрубка 362 для подключения водозаборная трубка 304 и нижняя закрывающая пластина 306 могут быть надежно соединены как при наличии, так и в отсутствие воды; это нужно, чтобы предотвратить отсоединение выпускного конца водозаборной трубки 304 от патрубка 362 для подключения во время вытягивания водозаборной трубки 304.
В некоторых вариантах осуществления согласно варианту осуществления настоящего изобретения на корпусе 200 сосуда устройства 100 для хранения воды расположен магнитный элемент 214. Крышка 300 сосуда оборудована магниточувствительным выключателем 305, позволяющим определять позиционные состояния корпуса 200 сосуда и крышки 300 сосуда с помощью сигнала обнаружения магнитного элемента 214 магниточувствительным выключателем 305. В отношении устройства 100 для хранения воды и холодильника 400 согласно варианту осуществления настоящего изобретения предусмотрено, что устройство 100 для хранения воды содержит корпус 200 сосуда и крышку 300 сосуда, причем корпус 200 сосуда оборудован магнитным элементом 214, а крышка 300 сосуда оборудована магниточувствительным выключателем 305, позволяющим определять позиционные состояния корпуса 200 сосуда и крышки 300 сосуда с помощью сигнала обнаружения магнитного элемента 214 магниточувствительным выключателем 305. Включение магниточувствительного выключателя 305 после обнаружения магнитного элемента 214 указывает на то, что корпус 200 сосуда установлен на место; в ином случае это указывает на то, что корпус 200 сосуда на место не установлен; таким образом гарантируется, что крышка 300 сосуда и корпус 200 сосуда находятся на своем месте.
Согласно варианту осуществления настоящего изобретения, корпус 200 сосуда устройства 100 для хранения воды снабжен ручкой 211, причем в ручке 211 образована выемка 213 для размещения магнита; и магнитный элемент 214 размещен в выемке 213 для размещения магнита. В крышке 300 сосуда образована выемка 3321 для размещения выключателя, соответствующая выемке 213 для размещения магнита; магниточувствительный выключатель 305 размещен в выемке 3321 для размещения выключателя. Благодаря размещению магнитного элемента 214 в выемке 213 для размещения магнита, расположенной на ручке 211, для добавления магнитного элемента 214 достаточно немного изменить конструкцию на ручке 211, не затрагивая внутреннюю конструкцию корпуса 200 сосуда. Согласно варианту осуществления настоящего изобретения, устройство 100 для хранения воды определяет, установлен или не установлен в нем корпус 200 сосуда, в зависимости от того, включен или выключен магниточувствительный выключатель 305; соответственно, когда корпус 200 сосуда установлен правильно, магниточувствительный выключатель 305 должен находиться в пределах диапазона эффективного магнитного действия магнитного элемента 214. Магнитная сила магнитного элемента 214 зависит от типа магнитного элемента 214. Магнитный элемент 214 может представлять собой магнит. Магниты с разными характеристиками имеют разные эффективные магнитные радиусы r. Обычно, с учетом стоимости, в устройстве 100 для хранения воды согласно варианту осуществления настоящего изобретения в качестве магнитного элемента 214 используется магнит с эффективным магнитным радиусом r не больше 20 мм. Соответственно, расстояние между магниточувствительным выключателем 305 и магнитом также должно быть в пределах 20 мм.
Как показано на фиг. 5, в некоторых вариантах осуществления в устройстве 100 для хранения воды согласно варианту осуществления настоящего изобретения выемка 213 для размещения магнита имеет обращенное вверх отверстие. Корпус 200 сосуда дополнительно содержит крепежную крышку 215, закрывающую выемку 213 для размещения магнита после размещения в выемке 213 для размещения магнита 214. Поскольку выемка 213 для размещения магнита имеет обращенное вверх отверстие, общий внешний вид устройства 100 для хранения воды остается гладким, а процесс изготовления упрощается; и с помощью крепежной крышки 215 магнитный элемент 214 может удерживаться в выемке 213 для размещения магнита для взаимодействия с магниточувствительным выключателем 305. Крепежная крышка 215 может быть прикреплена к ручке 211 посредством конструкции с крючками и пазами.
В некоторых вариантах осуществления согласно варианту осуществления настоящего изобретения крышка 300 сосуда устройства 100 для хранения воды дополнительно содержит выступ 332 для выключателя, выступающий наружу из корпусной части 301, причем выступ 332 для выключателя выступает над выемкой 213 для размещения магнита, и в выступе 332 для выключателя образована выемка 3321 для размещения выключателя. Крышка 300 сосуда дополнительно содержит нижнюю закрывающую пластину 306, которая расположена под корпусной частью 301 и выступом 332 для выключателя, чтобы закрывать корпусную часть 301 и выступ 332 для выключателя. Благодаря прохождению выступа 332 для выключателя над ручкой 211, формированию выемки 3321 для размещения выключателя в выступе 332 для выключателя, а также тому, что нижней закрывающей пластиной 306 закрывается корпусная часть 301 и выступ 332 для выключателя, магниточувствительный выключатель 305 может быть просто и удобно размещен в крышке 300 сосуда. Кроме того, благодаря выступу 332 для выключателя саму по себе крышку 300 можно выполнить в определенном стиле, чтобы в целом улучшить внешний вид устройства 100 для хранения воды. На фиг. 6 представлено схематическое изображение в разобранном виде устройства 100 для хранения воды, внутреннего контейнера 402 и т. д., показанных на фиг. 2. На фиг. 9 представлена структурная схема некоторых их компонентов водозаборной трубки 304 и корпуса крышки устройства 100 для хранения воды, показанного на фиг. 2. Как показано на фиг. 6, нижняя закрывающая пластина 306 снабжена множеством крючков 361 и, соответственно, на внутренней части корпусной части 301 образовано множество выступов (на фигуре не отмеченных). Крючки 361 и выступы корпусной части 301 взаимодействуют, осуществляя крепление нижней закрывающей пластины 306 к корпусной части 301.
В некоторых вариантах осуществления согласно варианту осуществления настоящего изобретения на передней стороне корпуса 200 сосуда устройства 100 для хранения воды расположена ручка 211. Выступ 332 для выключателя образован посредством прохождения и выступания наружу из передней стороны корпусной части 301, и примыкающая выемка 3322 с обращенным вниз отверстием дополнительно образована в нижней части выступа 332 для выключателя, в результате чего, когда корпус 200 сосуда установлен под крышкой 300 сосуда, примыкающая выемка 3322 проходит по левой и по правой сторонам ручки 211. Благодаря образованию примыкающей выемки 3322 с обращенным вниз отверстием в нижней части выступа 332 для выключателя, примыкающая выемка 3322 может, когда корпус 200 сосуда установлен под крышкой 300 сосуда, проходить по левой и по правой сторонам ручки 211, в результате чего к корпусу 200 сосуда и крышке 300 сосуда возле ручки 211 может быть добавлена ограничивающая конструкция, что позволяет пользователю быстро и точно расположить корпус 200 сосуда на месте под крышкой 300 сосуда.
В некоторых вариантах осуществления согласно варианту осуществления настоящего изобретения верхняя часть задней стороны корпуса 200 сосуда устройства 100 для хранения воды является проходит и выступает наружу, образуя носик 212. Крышка 300 сосуда дополнительно содержит выступ 333 горловины, проходящий и выступающий в направлении вниз и наружу от нижней части задней стороны корпусной части 301, благодаря чему, когда корпус 200 сосуда установлен под крышкой 300 сосуда, носик 212 входит в выступ 333 горловины. Благодаря образованию выступа 333 горловины на задней стороне корпуса 200 сосуда, соответствующего носику 212, носик 212 может, когда корпус 200 сосуда установлен под крышкой 300 сосуда, быть установлен в выступе 333 горловины, в результате чего к корпусу 200 сосуда и крышке 300 сосуда возле носика 212 может быть добавлена ограничивающая конструкция, что также позволяет пользователю быстро и точно расположить корпус 200 сосуда под крышкой 300 сосуда.
Как изображено на фиг. 3–5, согласно варианту осуществления настоящего изобретения у устройства 100 для хранения воды на передней стороне корпуса 200 сосуда расположена ручка 211. Выступ 332 для выключателя образован путем прохождения и выступания наружу из передней стороны корпусной части 301, а примыкающая выемка 3322 с обращенным вниз отверстием дополнительно образована в нижней части выступа 332 для выключателя. Носик 212 располагается на задней стороне корпуса 200 сосуда. Выступ 333 горловины образован путем прохождения и выступа наружу и вниз от нижней части задней стороны корпусной части 301 с покрытием верхней части носика 212. В предпочтительном варианте осуществления внешний контур проекции выступа 333 горловины на горизонтальную плоскость имеет ту же форму, что и внешний контур проекции носика 212 на горизонтальную плоскость. Поскольку внешний контур проекции выступа 333 горловины на горизонтальную плоскость имеет ту же форму, что и внешний контур проекции носика 212 на горизонтальную плоскость, ограничение становится точнее; носик 212 и крышка 300 сосуда прилегают друг к другу, повторяя форму друг друга после того, как корпус 200 сосуда помещается под корпус 200 сосуда, благодаря чему общий внешний вид устройства 100 для хранения воды становится более привлекательным.
На фиг. 11 представлена принципиальная электрическая схема устройства 100 для хранения воды, показанного на фиг. 2. На фиг. 12 представлена блок-схема алгоритма помещения корпуса 200 сосуда устройства 100 для хранения воды, показанного на фиг. 2, во внутренний контейнер 402. Текущий контроль над уровнем воды и управление устройством 100 для хранения воды согласно вариантам осуществления настоящего изобретения будут подробно описаны ниже со ссылкой на фиг. 6, фиг. 9, фиг. 11 и фиг. 12.
Согласно варианту осуществления настоящего изобретения, крышка 300 сосуда устройства 100 для хранения воды дополнительно содержит выступ 331 для датчика, отходящий вниз от корпусной части 301. Согласно варианту осуществления настоящего изобретения, устройство 100 для хранения воды дополнительно содержит ультразвуковой датчик 309, расположенный в выступе 331 для датчика и выполненный с возможностью осуществлять текущий контроль над уровнем воды в корпусе 200 сосуда. Благодаря выступу 331 для датчика на крышке 300 сосуда и наличию ультразвукового датчика 309 в выступе 331 для датчика удобно осуществлять текущий контроль над уровнем воды в корпусе 200 сосуда.
Как показано на фиг. 9, в выступе 331 для датчика образована выемка 3311 для размещения датчика; и ультразвуковой датчик 309 закреплен в выемке 3311 для размещения датчика. Кроме того, в месте соединения между выступом 331 для датчика и корпусной частью 301 образовано проходящее через линию отверстие 3313.
Как показано на фиг. 6, в выступе 331 для датчика имеется отверстие, обращенное к одной из сторон корпуса 200 сосуда. Согласно варианту осуществления настоящего изобретения, крышка 300 сосуда устройства 100 для хранения воды дополнительно содержит боковую закрывающую пластину 308, разъемно соединенную с выступом 331 для датчика и выполненную с возможностью открывать и закрывать выступ 331 для датчика. В частности, внутри выступа 331 для датчика c определенными интервалами образовано множество зажимных выступов 3312; на боковой закрывающей пластине 308 образованы стопорные кольца 381, соответствующие зажимным выступам 3312; и стопорные кольца 381 совмещены с зажимными выступами 3312 для крепления боковой закрывающей пластины 308 к выступу 331 для датчика. При наличии боковой закрывающей пластины 308, имеющей множество стопорных колец 381, боковая закрывающая пластина 308 может быть разъемно соединена с выступом 331 для датчика, что облегчает размещение ультразвукового датчика 309.
Расстояние между ультразвуковым датчиком 309 и внутренней стенкой корпуса 200 сосуда (т. е. расстояние между ультразвуковым датчиком 309 и поверхностью воды) определяют в соответствии с рабочими характеристиками ультразвукового датчика 309. Как правило, расстояние между ультразвуковым датчиком 309 и поверхностью воды не превышает 20 мм. Как было сказано выше, ручка 211 расположена на передней стороне корпуса 200 сосуда. Выступ 332 для выключателя образуется посредством прохождения и выступа наружу из передней стороны корпусной части 301, и примыкающая выемка 3322 с обращенным вниз отверстием также образована в нижней части выступа 332 для выключателя. Носик 212 расположен на задней стороне корпуса 200 сосуда. Выступ 333 горловины образован посредством прохождения и выступа наружу и вниз от нижней части задней стороны корпусной части 301 с покрытием верхней части носика 212. Наличие в этих двух позициях ограничительных конструкций может обеспечить быструю установку на требуемое место корпуса 200 сосуда, и относительное взаимное расположение между ультразвуковым датчиком 309 и корпусом 200 сосуда всегда сохраняется неизменным, обеспечивая таким образом расстояние между ультразвуковым датчиком 309 и поверхностью воды и в то же время позволяя добиться большей точности и стабильности текущего контроля.
Согласно варианту осуществления настоящего изобретения, устройство 100 для хранения воды может дополнительно содержать электрическое переключающее устройство 901 и управляющее устройство 900. Электрическое переключающее устройство 901 выполнено с возможностью начинать и останавливать подачу воды на водозаборную трубку 304. Управляющее устройство 900 соединено с ультразвуковым датчиком 309 и электрическим переключающим устройством 901 и выполнено с возможностью управлять, в зависимости от сигнала от ультразвукового датчика 309, действиями электрического переключающего устройства 901 по подаче или неподаче воды в корпус 200 сосуда. Благодаря электрическому переключающему устройству 901 и управляющему устройству 900 устройство 100 для хранения воды согласно варианту осуществления настоящего изобретения способно выполнять интеллектуальное управление текущим контролем уровня воды и автоматическую подачу воды с целью более удобного и разумного для пользователя удовлетворения спроса на пресную воду для бытовых нужд.
Согласно варианту осуществления настоящего изобретения, устройство 100 для хранения воды может также быть оборудовано устройством 902 подсказки, выполненным с возможностью выдачи напоминающего сообщения о ненадлежащем положении корпуса 200 сосуда, когда он не находится на своем штатном месте. Устройство 902 подсказки может быть интегрировано внутрь крышки 300 сосуда. Управляющее устройство 900 соединено с устройством 902 подсказки и выполнено с возможностью управления устройством 902 подсказки для выдачи напоминающего сообщения о ненадлежащем положении, когда магниточувствительный выключатель 305 не включен. Напоминающее сообщение может, например, звучать как щебетание.
На фиг. 12 представлена блок-схема алгоритма помещения корпуса 200 сосуда устройства 100 для хранения воды, показанного на фиг. 2, во внутренний контейнер 402. После помещения корпуса 200 сосуда в холодильник 400, способ управления устройством 100 для хранения воды согласно варианту осуществления настоящего изобретения включает:
S102: определение того, включен или не включен магниточувствительный выключатель 305, и выполнение S104, если включен, или S110, если не включен;
S104: определение выявления ультразвуковым датчиком 309, того, что достигнут требуемый уровень воды, и выполнение S106, если достигнут, или S108, если не достигнут;
S106: управление электрическим переключающим устройством 901, чтобы оно выключилось для остановки подачи воды в корпус 200 сосуда;
S108: управление электрическим переключающим устройством 901, чтобы оно включилось для подачи воды в корпус 200 сосуда;
S110: управление устройством 902 подсказки для выдачи напоминающего сообщения о ненадлежащем положении.
После помещения корпуса 200 сосуда в холодильник 400, в первую очередь определяется, установлен ли корпус 200 сосуда на свое место. Поскольку магниточувствительный выключатель 305 не может быть включен до тех пор, пока корпус 200 не установлен на свое место, факт установки корпуса 200 на свое место можно определить, проверив, включен ли магниточувствительный выключатель 305. Соответственно, если магниточувствительный выключатель 305 не включен, значит, корпус 200 сосуда не установлен точно под крышкой 300 сосуда, и в это время выполняется управление устройством 902 подсказки для выдачи напоминающего сообщения о ненадлежащем положении. Если магниточувствительный выключатель 305 включен, значит, корпус 200 сосуда находится на своем месте, и в это время определяется, нужно ли подавать воду в корпус 200 сосуда. Когда ультразвуковой датчик 309 выявляет, что требуемый уровень воды достигнут, выполняется управление электрическим переключающим устройством 901, чтобы оно выключилось для остановки подачи воды в корпус 200 сосуда. Когда ультразвуковой датчик 309 выявляет, что требуемый уровень воды не достигнут, выполняется управление электрическим переключающим устройством 901, чтобы оно включилось для подачи воды в корпус 200 сосуда вплоть до выявления ультразвуковым датчиком 309 достижения требуемого уровня воды.
Согласно варианту осуществления настоящего изобретения, устройство 100 для хранения воды дополнительно содержит плату 307 обработки сигналов, которая расположена в крышке 300 сосуда, прикреплена к верхней стенке корпусной части 301, соединена с ультразвуковым датчиком 309 и управляющим устройством 900 и выполнена с возможностью приема сигнала ультразвукового датчика 309 и передачи принятого сигнала на управляющее устройство 900. В корпусной части 301, между платой 307 обработки сигналов и водозаборной трубкой 304, расположена перегородка 314. Перегородка 314 отходит сверху вниз от верхней стенки корпусной части 301 и снабжена первой секцией 3141, расположенной посередине, а также второй секцией 3142 и третьей секцией 3143, расположенными, соответственно, с двух сторон от первой секции 3141. Нижний конец первой секции 3141 находится не ниже платы 307 обработки сигналов, а нижние концы второй секции 3142 и третьей секции 3143 находятся ниже первой секции 3141. Вторая секция 3142 и третья секция 3143 огибают, предохраняя, плату 307 обработки сигналов рядом с водозаборной трубкой 304. U-образная перегородка 314 способна защитить плату 307 обработки сигналов от царапин со стороны водозаборной трубки 304 при ее расширении и сжатии. Нижний конец первой секции 3141, расположенный в средней части перегородки 314, находится не ниже платы 307 обработки сигналов, что облегчает установку и крепление платы 307 обработки сигналов.
Как показано на фиг. 6 и фиг. 9, на нисходящей линии на верхней стенки корпусной части 301 образованы вставной стержень 312 и крепежный стержень 313, причем вставной стержень 312 и крепежный стержень 313 расположены по диагонали. В плате 307 обработки сигналов образованы крепежные отверстия 371, соответствующие вставному стержню 312 и крепежному стержню 313 соответственно. Для скрепления платы 307 схемы обработки сигналов и корпусной части 301 в крепежное отверстие 371 вдевают крепежный элемент 372 и в это же крепежное отверстие 371 вставляют вставной стержень 312.
Как показано на фиг. 11, плата 307 обработки сигналов может получать питание от управляющего устройства 900 (которое может являться основной платой управления холодильника 400), и между ними имеется линия передачи сигналов. Ультразвуковой датчик 309 получает питание от платы 307 обработки сигналов, и между ними имеется линия передачи сигналов, а также магниточувствительный выключатель 305, управляющий включением и выключением подачи питания на ультразвуковой датчик 309. Состояние включения/выключения электрического переключающего устройства 901 (например, электромагнитного клапана) управляется управляющим устройством 900 по сигналу, получаемому от платы 307 обработки сигналов. Устройство 902 подсказки управляется управляющим устройством 900 по сигналу, получаемому от платы 307 обработки сигналов.
В описаниях вариантов осуществления следует понимать, что взаимные направления и расположения, обозначаемые такими терминами, как «верхний», «нижний», «передний», «задний», «левый», «правый», «вертикальный», «горизонтальный», «верх» и «низ» представляют собой взаимные направления и расположения, показанные в графических материалах исключительно для облегчения описания настоящего изобретения и упрощения его описаний, но не указывают и не подразумевают, что конкретное устройство или элемент должны располагаться в определенном направлении, быть структурированы и работать в определенном направлении, и, следовательно, эти термины не следует понимать как накладывающие ограничения на настоящее изобретение.
Термины «первый» и «второй» предназначены лишь для описания, и их не следует истолковывать как указывающие или подразумевающие относительную важность или подразумевающие количество указанных технических признаков. Из этого следует, что признаки, определяемые как «первый» и «второй», могут указывать или подразумевать, что содержится один признак или большее количество признаков. Если конкретно не определено иное, то в описаниях настоящего изобретения термин «множество» означает два или более.
Таким образом, специалистам в данной области техники должно быть понятно, что, несмотря на то, что несколько иллюстративных вариантов осуществления настоящего изобретения были подробно изображены и описаны, многие другие изменения или модификации, соответствующие принципу настоящего изобретения, могут, тем не менее, быть определены непосредственно или получены из содержимого, раскрытого настоящим изобретением, без отступления от сущности и объема настоящего изобретения. Таким образом, объем настоящего изобретения следует понимать и рассматривать как включающий эти и другие изменения или модификации.
| название | год | авторы | номер документа |
|---|---|---|---|
| ХОЛОДИЛЬНОЕ И МОРОЗИЛЬНОЕ УСТРОЙСТВО | 2020 |
|
RU2829350C2 |
| ХОЛОДИЛЬНОЕ И МОРОЗИЛЬНОЕ УСТРОЙСТВО | 2020 |
|
RU2777607C1 |
| МОРОЗИЛЬНАЯ КАМЕРА | 2022 |
|
RU2838692C2 |
| ХОЛОДИЛЬНОЕ И МОРОЗИЛЬНОЕ УСТРОЙСТВО | 2020 |
|
RU2780767C1 |
| НАГРЕВАТЕЛЬНОЕ УСТРОЙСТВО И ХОЛОДИЛЬНИК С НАГРЕВАТЕЛЬНЫМ УСТРОЙСТВОМ | 2020 |
|
RU2778872C1 |
| ХОЛОДИЛЬНОЕ И МОРОЗИЛЬНОЕ УСТРОЙСТВО | 2020 |
|
RU2770813C1 |
| ХОЛОДИЛЬНОЕ И МОРОЗИЛЬНОЕ УСТРОЙСТВО | 2020 |
|
RU2770871C1 |
| НАГРЕВАТЕЛЬНОЕ УСТРОЙСТВО И ХОЛОДИЛЬНИК | 2020 |
|
RU2773955C1 |
| МНОГОФУНКЦИОНАЛЬНАЯ КАМЕРА И ХОЛОДИЛЬНИК | 2015 |
|
RU2639328C1 |
| ДВУХДВЕРНЫЙ ХОЛОДИЛЬНИК С УСТРОЙСТВОМ ДЛЯ ПОЛУЧЕНИЯ ИЗОБРАЖЕНИЯ | 2017 |
|
RU2711583C1 |
Изобретение относится к устройствам для охлаждения и замораживания. Холодильник (100) содержит прямоугольный корпус (401), внутренний контейнер (402) которого образует в нем камеру для хранения. При этом внутренний контейнер выступает наружу, образуя гнездо. Устройство для хранения воды (100) расположено в камере для хранения и содержит корпус сосуда и крышку сосуда. При этом корпус сосуда выполнен с возможностью хранения воды. Крышка сосуда расположена наверху корпуса сосуда и выполнена с возможностью открывания и закрывания корпус сосуда. При этом крышка сосуда разъемно соединена с внутренним контейнером. Крышка сосуда снабжена корпусной частью и крепежной частью, расположенной на боковой стороне корпусной части рядом с внутренним контейнером. Крепежная коробка установлена в гнезде и прикреплена к гнезду. При этом крепежная часть разъемно соединена с крепежной коробкой. Повышается удобство установки и извлечения устройства для хранения воды. 10 з.п. ф-лы, 12 ил.
1. Холодильник, содержащий прямоугольный корпус, внутренний контейнер которого образует в нем камеру для хранения, при этом внутренний контейнер выступает наружу, образуя гнездо; устройство для хранения воды, расположенное в камере для хранения и содержащее корпус сосуда и крышку сосуда; при этом корпус сосуда выполнен с возможностью хранения воды; при этом крышка сосуда расположена наверху корпуса сосуда и выполнена с возможностью открывать и закрывать корпус сосуда; при этом крышка сосуда разъемно соединена с внутренним контейнером; при этом крышка сосуда снабжена корпусной частью и крепежной частью, расположенной на боковой стороне корпусной части рядом с внутренним контейнером; и крепежную коробку, установленную в гнезде и прикрепленную к гнезду; при этом крепежная часть разъемно соединена с крепежной коробкой.
2. Холодильник по п. 1, отличающийся тем, что в верхней стенке и/или нижней стенке крепежной части образован паз, и в передней стенке и/или задней стенке крепежной части образован проем; и в передней части верхней стенки и/или нижней стенки крепежной коробки выполнен соответствующий пазу фланец, и данный фланец вставлен в паз через проем для осуществления вставного крепления крепежной части к крепежной коробке.
3. Холодильник по п. 2, отличающийся тем, что проем выполнен на задней стенке крепежной части; паз образован таким образом, что ширина боковой стенки паза слева и справа со стороны, близкой к внутреннему контейнеру, постепенно уменьшается в направлении спереди назад; и фланец выполнен таким образом, что ширина фланца слева и справа постепенно увеличивается в направлении спереди назад.
4. Холодильник по п. 2 или 3, отличающийся тем, что в пазу также образована зажимная выемка; и на фланце, соответствующем зажимной выемке, образован выступ, и данный выступ входит в зажимную выемку.
5. Холодильник по любому из пп. 1–4, отличающийся тем, что дополнительно содержит: защитную крышку, выполненную с возможностью установки в крепежную коробку для защиты крепежной коробки после вынимания крышки сосуда из внутреннего контейнера.
6. Холодильник по любому из пп. 1–4, отличающийся тем, что устройство для хранения воды дополнительно содержит водозаборную трубку, расположенную в крышке сосуда и снабженную выпускным концом, проходящим в корпус сосуда, и впускным концом, соединенным с внешней водоподводящей трубкой для подачи воды в корпус сосуда; в крепежной части образовано сообщающееся отверстие; и в боковой стенке гнезда образовано сквозное отверстие, в боковой стенке крепежной коробки образовано отверстие для вставки трубки, соответствующее сквозному отверстию, и внешняя водоподводящая трубка проходит через сквозное отверстие и отверстие для вставки трубки с возможностью подсоединения к водозаборной трубке.
7. Холодильник по п. 6, отличающийся тем, что дополнительно содержит заглушку для предотвращения перелива с образованным в ней отверстием для крепления трубки, при этом заглушка для предотвращения перелива проходит через сквозное отверстие на наружной стороне внутреннего контейнера, а внешняя водоподводящая трубка проходит через отверстие для крепления трубки с возможностью крепления к заглушке для предотвращения перелива.
8. Холодильник по п. 7, отличающийся тем, что в боковой стенке гнезда образовано по меньшей мере одно первое крепежное отверстие, а на наружной стороне боковой стенки образована соответствующая первому крепежному отверстию притяжная головка; в боковой стенке крепежной коробки образовано второе крепежное отверстие, соответствующее первому крепежному отверстию; и холодильник дополнительно содержит резьбовой поворотный элемент, который соответствует притяжной головке и крепится на ней, и при этом крепежный элемент проходит через второе крепежное отверстие, первое крепежное отверстие и притяжную головку для крепления крепежной коробки к внутреннему контейнеру.
9. Холодильник по любому из пп. 6–8, отличающийся тем, что впускной конец водозаборной трубки с помощью быстроразъемного соединения разъемно соединен с внешней водоподводящей трубкой; и быстроразъемное соединение содержит первую соединительную трубку и вторую соединительную трубку, при этом впускной конец водозаборной трубки вставлен в первую соединительную трубку, вторая соединительная трубка снабжена соединенными друг с другом первой секцией трубки и второй секцией трубки, причем концевая часть первой секции трубки вставлена во вторую соединительную трубку, выпускной конец внешней водоподводящей трубки вставлен во вторую секцию трубки, и внутренний диаметр второй секции трубки больше внутреннего диаметра первой секции трубки.
10. Холодильник по любому из пп. 6–9, отличающийся тем, что водозаборная трубка представляет собой гибкую трубку, по меньшей мере некоторые секции которой имеют спирально-изогнутую конструкцию.
11. Холодильник по любому из пп. 6–10, отличающийся тем, что на нижней стороне крышки сосуда предусмотрен патрубок для подключения, и в патрубок для подключения вставляется выпускной конец водозаборной трубки; и на нижней стороне рядом с патрубком для подключения дополнительно предусмотрена опорная пластина, при этом в данной опорной пластине последовательно в направлении вверх и вниз образованы первый вырез и второй вырез, причем размер второго выреза больше размера первого выреза, и некоторые секции водозаборной трубки вставляются во второй вырез через первый вырез.
| CN 112033064 A, 04.12.2020 | |||
| US 20070278141 A1, 06.12.2007 | |||
| CN 212205301 U, 22.12.2020 | |||
| ХОЛОДИЛЬНЫЙ АППАРАТ С УСТРОЙСТВОМ ВЫДАЧИ | 2007 |
|
RU2419047C2 |
| УСТРОЙСТВО ДЛЯ ПОДАЧИ ВОДЫ ИЗ ХОЛОДИЛЬНИКА (ВАРИАНТЫ) | 1996 |
|
RU2144166C1 |
Авторы
Даты
2024-12-20—Публикация
2022-03-31—Подача