1. ОБЛАСТЬ ТЕХНИКИ
[0001] Настоящее изобретение в основном относится к многополосному устройству связи, многополосной точке доступа и способам связи для многополосной работы, а более конкретно, относится к многополосным устройствам связи, которые работают во множестве полос частот в беспроводной сети.
2. УРОВЕНЬ ТЕХНИКИ
[0002] В беспроводных сетях, которые обеспечивают осуществление многополосной связи, электронные устройства могут обмениваться данными во множестве различных полос частот. Такие сети имеют преимущества перед другими беспроводными сетями, в которых беспроводная связь ограничена одной полосой частот.
РАСКРЫТИЕ СУЩНОСТИ ИЗОБРЕТЕНИЯ
[0003] Один неограничивающий пример осуществления способствует осуществлению связи во множестве полос частот между электронными устройствами в беспроводной сети. В качестве примера эта связь включает аутентификацию и/или ассоциирование с помощью одной полосы частот многополосных устройств связи во множестве различных полос частот.
[0004] В одном общем аспекте раскрытые в настоящем документе способы включают применение многополосного устройства связи, которое содержит передатчик и приемник. Передатчик в процессе работы передает в полосе частот в беспроводной сети на многополосные устройства связи кадры, которые включают в себя действия, относящиеся к указанной полосе частот и по меньшей мере к одной другой полосе частот, в которой многополосное устройство связи осуществляет передачу. Приемник в процессе работы принимает в указанной полосе частот в беспроводной сети от многополосных устройств связи кадры, которые включают в себя действия, относящиеся к указанной полосе частот и к указанной по меньшей мере одной другой полосе частот, в которой многополосное устройство связи осуществляет прием.
[0005] Следует отметить, что общие или конкретные варианты осуществления могут быть реализованы в виде системы, способа, интегральной схемы, компьютерной программы, носителя данных или любой их выборочной комбинации.
[0006] Дополнительные достоинства и преимущества раскрытых вариантов осуществления станут очевидными из описания и чертежей. Такие достоинства и/или преимущества могут быть получены отдельно с помощью различных вариантов осуществления и признаков из описания и чертежей, все из которых не обязательно должны присутствовать для получения одного или более из таких достоинств и/или преимуществ.
КРАТКОЕ ОПИСАНИЕ ЧЕРТЕЖЕЙ
[0007] Сопроводительные чертежи, на которых подобные номера позиций относятся к идентичным или функционально аналогичным элементам на отдельных изображениях и которые вместе с подробным описанием, представленным ниже, включены в настоящее изобретение и составляют его часть, служат для иллюстрации различных вариантов осуществления и для объяснения различных принципов и преимуществ в соответствии с настоящими вариантами осуществления.
[0008] На фиг. 1 показана многополосная беспроводная сеть, в которой беспроводной передатчик/приемник работает во множестве разных полос частот с многополосными устройствами связи.
[0009] На фиг. 2 показана многополосная беспроводная сеть, в которой беспроводной передатчик/приемник работает во множестве разных полос частот с многополосными устройствами связи.
[0010] На фиг. 3 представлен элемент, объявляющий о возможности работы во множестве полос.
[0011] На фиг. 4 представлен элемент, объявляющий о возможностях работы соседних точек доступа во множестве полос.
[0012] На фиг. 5 представлена блок-схема, на которой показано, что станция, не являющаяся точкой доступа, аутентифицируется и/или ассоциируется со всеми базовыми наборами услуг совместно расположенной точки доступа с очень высокой пропускной способностью путем обмена одним кадром «Аутентификация» и/или кадром «Ассоциирование» в любой одной полосе частот, в которой работает точка доступа.
[0013] На фиг. 6 показан кадр для аутентификации и/или ассоциирования многополосных станций во множестве различных полос частот.
[0014] На фиг. 7 представлен пример записи ассоциирования, поддерживаемой многополосной точкой доступа с очень высокой пропускной способностью.
[0015] На фиг. 8 представлена эталонная модель трехполосной точки доступа с очень высокой пропускной способностью и/или станции.
[0016] На фиг. 9 показан способ для элементарных процедур и обмена кадрами, включенных в многополосную аутентификацию между станцией и точкой доступа.
[0017] На фиг. 10 показан способ для элементарных процедур и обмена кадрами, включенных в многополосное ассоциирование между станцией и точкой доступа.
[0018] На фиг. 11 показан элемент, используемый для аутентификации и/или ассоциирования многополосной станции с многополосной точкой доступа.
[0019] На фиг. 12 представлена таблица записей ассоциирования полосы 2,4 ГГц для станции.
[0020] На фиг. 13 представлена таблица записей ассоциирования полосы 5 ГГц для двух станций, STA1 и STA2.
[0021] На фиг. 14 представлена таблица записей ассоциирования полосы 6 ГГц для двух станций, STA1 и STA2.
[0022] На фиг. 15 представлена таблица, в которой показаны примеры данных идентификатора ассоциирования станции для двух станций (STA1 и STA2) для идентификатора ассоциирования 2,4 ГГц, идентификатора ассоциирования 5 ГГц и идентификатора ассоциирования 6 ГГц.
[0023] На фиг. 16 показан способ для элементарных процедур и обмена кадрами, включенных в многополосное ассоциирование между станцией и точкой доступа.
[0024] На фиг. 17 показана беспроводная сеть, в которой точка доступа устанавливает единый унифицированный базовый набор услуг во множестве разных полос частот.
[0025] На фиг. 18 показан сигнальный кадр сигнала и/или кадр ответа на пробный запрос, используемый для объявления многополосного базового набора услуг.
[0026] На фиг. 19 представлена эталонная модель многополосного устройства связи (многополосной точки доступа с очень высокой пропускной способностью и/или станции).
[0027] На фиг. 20 представлена упрощенная эталонная модель многополосного устройства связи.
[0028] На фиг. 21 представлена упрощенная блок-схема многополосного устройства связи, которое работает во множестве разных полос частот (показанных как n полос, где n является целым числом больше единицы).
[0029] На фиг. 22 представлена подробная блок-схема многополосного устройства связи, которое работает во множестве разных полос частот (показанных как n полос, где n является целым числом больше единицы).
[0030] Для специалистов в данной области техники будет очевидно, что элементы на фигурах показаны для простоты и ясности, и не обязательно изображены в масштабе.
ОСУЩЕСТВЛЕНИЕ ИЗОБРЕТЕНИЯ
[0031] Многополосные устройства связи выполнены с возможностью передачи и приема данных во множестве различных полос частот в беспроводной сети. Эти электронные устройства имеют много преимуществ перед обычными электронными устройствами, которые могут работать в одной полосе частот. Однако использование многополосных устройств связи в беспроводных сетях сопряжено с многочисленными техническими проблемами.
[0032] В качестве одного примера проблемы многополосные устройства связи, работающие в многополосной беспроводной сети, необходимо отдельно или независимо обнаруживать, аутентифицировать и ассоциировать в каждой полосе частот беспроводной сети. Например, если точка доступа (Access Point, AP) работает в трех разных полосах частот, многополосное устройство связи должно быть обнаружено, аутентифицировано и ассоциировано три раза, по одному разу для каждой полосы частот, в которой работает устройство. Обнаружение, аутентификация и ассоциирование этого типа предполагает создание излишнего сетевого трафика и неэффективно с точки зрения потребления ресурсов обработки, ресурсов запоминающего устройства и сетевых ресурсов.
[0033] Еще одной, приведенной в качестве примера проблемой, имеющей место при аутентификации многополосного устройства связи и его ассоциировании в беспроводной сети, является то, что многополосная точка доступа хранит различные записи ассоциирования по каждой полосе частот для каждого многополосного устройства связи. Точка доступа рассматривает каждое из электронных устройств, работающих в разных полосах частот, как отдельное электронное устройство. В этой ситуации требуется, чтобы точка доступа хранила большое количество записей ассоциирования и управляла ними, и, следовательно, такой подход является неэффективным.
[0034] Еще одной, приведенной в качестве примера проблемой, является то, что точка доступа должна постоянно осуществлять широковещательную передачу или объявлять о своем присутствии в каждой полосе частот, в которой она работает. Кроме того, многополосные устройства связи должны постоянно отслеживать или сканировать эти широковещательные передачи на различных частотах. Таким образом, широковещательная передача и сканирование создают излишний сетевой трафик.
[0035] Другие технические проблемы проявляются вследствие использования многополосных устройств связи в беспроводных сетях. Некоторые из этих проблем относятся к одному или более из обнаружения, аутентификации, деаутентификации, ассоциирования, деассоциирования и управления, осуществляемых в отношении многополосных устройств связи, работающих в беспроводной сети.
[0036] Примеры вариантов осуществления решают эти и другие технические проблемы, возникающие при работе многополосных устройств связи в многополосных беспроводных сетях.
[0037] Примеры осуществления включают в себя аппаратуру и способы, которые работают с многополосными устройствами связи в многополосных беспроводных сетях. Такое устройство и такие способы включают в себя электронные устройства с передатчиками и/или приемниками, которые осуществляют связь во множестве различных полос частот с многополосными электронными устройствами в одной или более беспроводных сетях. Это осуществление связи включает в себя одно или более из аутентификации, ассоциирования, деаутентификации и деассоциирования многополосных электронных устройств с одним или более многополосными устройствами связи, такими как точка доступа.
[0038] В примере осуществления многополосные устройства связи обнаруживают, аутентифицируют, ассоциируют, деаутентифицируют и/или деассоциируют во множестве различных полос частот с помощью одной полосы частот. Такие варианты осуществления включают усовершенствования по сравнению с традиционными способами, в которых многополосное устройство связи должно быть обнаружено, аутентифицировано, ассоциировано, деаутентифицировано и деассоциировано отдельно для каждой другой полосы частот, в которой работает многополосное устройство связи.
[0039] В примере осуществления многополосная точка доступа хранит единую запись ассоциирования для каждого многополосного устройства связи независимо от количества различных полос частот, в которых работает устройство. Таким образом, многополосная точка доступа хранит единую запись ассоциирования для многополосного устройства связи во всех рабочих полосах частот. Такие варианты осуществления включают усовершенствования по сравнению с традиционными способами, которые предполагают хранение различных или уникальных записей ассоциирования для каждого многополосного устройства связи в каждой полосе частот, в которой работает устройство.
[0040] В примере осуществления многополосная точка доступа широковещательно передает информацию или объявляет о своей доступности во множестве полос частот посредством одной полосы частот. Многополосная точка доступа также может широковещательно передавать информацию на соседние многополосные точки доступа или уведомлять их. Этот способ позволяет уменьшить сетевой трафик и перегруженность, ускорить аутентификацию и ассоциирование, а также обеспечить более эффективное выполнение операций в беспроводной сети.
[0041] На фиг. 1 показана многополосная беспроводная сеть 100, в которой беспроводной передатчик/приемник 110 работает во множестве разных полос частот с многополосными устройствами 120A и 120B связи. В качестве примера многополосное устройство 110 связи показано в виде точки доступа, а многополосные устройства 120A и 120B связи показаны в виде станций STA1 и STA2, не являющихся точками доступа (station, STA). Множество различных полос частот включают, без ограничений, 6 ГГц, 5 ГГц и 2,4 ГГц. Как показано на чертеже, точка 110 доступа предоставляет три базовых набора услуг (basis service set, BSS): 6 ГГц (BSS) 130A, 5 ГГц BSS 130B и 2,4 ГГц BSS 130C.
[0042] Таким образом, точка 110 доступа функционирует как многополосное устройство связи, которое работает во множестве различных полос частот, в отличие от точки доступа, выполненной с возможностью работы в одной полосе частот с однополосными устройствами. Точка 110 доступа может функционировать как независимая точка доступа в каждой из различных полос частот. Кроме того, хотя станции 120A и 120B являются многополосными устройствами связи (например, выполнены с возможностью работы в одной или более, чем одной полосе частот), однополосные устройства связи также могут работать в беспроводной сети 100.
[0043] В примере осуществления точка доступа представляет собой точку доступа с очень высокой пропускной способностью (Extremely High Throughput, EHT), например, трехполосную точку доступа, работающую на частотах 2,4 ГГц, 5 ГГц и 6 ГГц. Станции могут быть однополосными, двухполосными, трехполосными и т.д. Например, STA1 120A представляет собой двухполосную станцию, работающую на частотах 5 ГГц и/или 6 ГГц, а STA2 120B представляет собой трехполосную станцию, работающую на частотах 2,4 ГГц, 5 ГГц и 6 ГГц. Точка доступа с очень высокой пропускной способностью устанавливает базовые наборы услуг во множестве полос частот (например, 2,4 ГГц, 5 ГГц и 6 ГГц) в виде отдельных базовых наборов услуг.
[0044] Рассмотрим пример осуществления, в котором беспроводная сеть представляет собой беспроводную локальную сеть (WLAN), работающую в соответствии со стандартами IEEE 802.11, с повышенной пиковой пропускной способностью и возможностью выполнения многополосной передачи. Базовый набор 130C услуг 2,4 ГГц и базовый набор 130B услуг 5 ГГц включают передачу независимых сигнальных кадров (например, с интервалами 100 мс или другим интервалом) и позволяют обнаружить точку 110 доступа путем активного и/или пассивного сканирования. Однако работа в базовом наборе 130A услуг 6 ГГц ограничена для уменьшения трафика администрирования и/или управления (например, сеансов обмена кадрами предассоциирования). Сигнальные кадры в базовом наборе 130A услуг 6 ГГц могут вообще не передаваться или передаваться на гораздо более низкой частоте (например, один раз в секунду или с другим интервалом). Активное сканирование путем отправки кадров пробного запроса может быть запрещено в базовом наборе 130A услуг 6 ГГц. Вместо этого полосу 2,4 ГГц используют для объявления присутствия точки доступа 110, работающей в полосе 6 ГГц. В этом примере станции принимают основную информацию (например, рабочий канал, MAC-адрес и т.д.) о точках доступа в полосе 6 ГГц посредством сигнальных кадров и/или кадров ответа на пробный запрос в полосах 2,4 ГГц и/или 5 ГГц.
[0045] В этом примере осуществления после приема основной информации о совместно расположенных точках доступа в другой полосе частот многополосная станция может собирать дополнительную информацию (например, о конкретных возможностях полосы и т.д.) о точках доступа, выполняя активное/пассивное сканирование или обмениваясь пробными запросами/ответами на пробный запрос с совместно расположенными точками доступа.
[0046] Во-первых, станция, не являющаяся точкой доступа, может выполнять активное и/или пассивное сканирование в указанной полосе (в этом примере 6 ГГц). В этом случае станция, не являющаяся точкой доступа, может оценивать качество линии соединения в этой полосе на основании принятых кадров (например, сигнального кадра или кадра ответа на пробный запрос).
[0047] Во-вторых, станция, не являющаяся точкой доступа, может обмениваться кадрами пробных запросов и/или ответов на пробные запросы с совместно расположенными точками доступа в другой полосе, используя, например, туннелирование в канале (On-Channel Tunneling, OCT). Туннелирование в канале обеспечивает туннелирование в первой полосе кадров управления, адресованных объекту управления подуровнем MAC (MAC sublayer management entity, MLME) точки доступа/станции во второй полосе, с использованием кадра запроса туннелирования в канале. В этом случае, поскольку фактический обмен кадрами происходит в одной полосе, станция, не являющаяся точкой доступа, может быть не в состоянии оценить качество линии соединения в других полосах. Это может быть проблемой, в частности, если полосы более низких частот (2,4 ГГц или 5 ГГц) используют для обнаружения полос более высоких частот (5 ГГц или 6 ГГц), поскольку диапазон передачи в полосах более высоких частот, как правило, является меньшим.
[0048] Например, станция, не являющаяся точкой доступа, может обнаружить многополосную точку доступа, используя туннелирование в канале на 2,4 ГГц, но нельзя с уверенностью сказать, может ли точка доступа быть обнаружена в других полосах. В таком случае станция, не являющаяся точкой доступа, может включать элемент «Запрос управления мощностью передачи (Transmit Power Control, TPC)» в кадр пробного запроса, чтобы запросить включение точкой доступа элемента отчета по TPC в кадр ответа на пробный запрос. На основании значения мощности передачи, сообщенного в элементе «Отчет об управлении мощностью передачи», а также фактической принятой мощности, с которой был принят кадр ответа на пробный запрос, станция, не являющаяся точкой доступа, может приблизительно определить качество линии соединения в других полосах.
[0049] На основании конкретной информации о полосе, полученной, как объяснено выше, а также качества линии связи станция, не являющаяся точкой доступа, может выбрать полосы частот для инициирования установления многополосного соединения, как объяснено в настоящем документе. Что касается поддержки устаревших устройств, ожидается, что все точки доступа с очень высокой пропускной способностью также будут поддерживать устаревшие станции 802.11 (HT (11n), VHT (11ac), HE (11ax)) и, следовательно, будут поддерживать соответствующие функциональные возможности. Поскольку большинство, если не все, устаревшие станции, не являющиеся точками доступа, являются однополосными устройствами, точка доступа с очень высокой пропускной способностью также будет доступна и будет действовать как однополосная HE, VHT или точка доступа HE в каждой из соответствующих полос.
[0050] На фиг. 2 показана многополосная беспроводная сеть 200, в которой многополосное устройство связи с беспроводным передатчиком/приемником 210 работает во множестве разных полос частот с многополосными устройствами 220A и 220B связи. В качестве примера многополосное устройство 110 связи показано в виде точки доступа с тремя антеннами 230A, 230B и 230C. Многополосные устройства связи показаны в виде станции STA1 с двумя антеннами 240A и 240B и станции STA2 с тремя антеннами 250A, 250B и 250C. Хотя многополосные точки доступа очень распространены, многополосные станции менее распространены и даже несколько станций, работающих во множестве полос, как правило, обмениваются данными только в одной полосе частот за один раз. Одновременный обмен данными (передача или прием, либо и то, и другое) по множеству каналов в разных полосах частот может упоминаться как многополосная связь и является эффективным средством для значительного увеличения пропускной способности передачи.
[0051] Рассмотрим пример, в котором точка доступа 210 представляет собой трехполосную точку доступа (2,4 ГГц, 5 ГГц и 6 ГГц); станция STA1 220A представляет собой двухполосную станцию (5 ГГц и 6 ГГц); а станция STA2 220B представляет собой трехполосную станцию (2,4 ГГц, 5 ГГц и 6 ГГц). Точка доступа 210 может осуществлять многополосную связь со станцией STA1 220A в полосах 5 ГГц и 6 ГГц, в то же время точка доступа 210 может осуществлять многополосную связь со станцией STA2 220B в полосах 2,4 ГГц, 5 ГГц и 6 ГГц.
[0052] На фиг. 3 представлен элемент 300, объявляющий о возможности работы во множестве полос. В качестве примера элемент 300 может представлять собой многополосный элемент и включает в себя одно или более из следующих полей: «Идентификатор элемента», «Длина», «Многополосное управление», «Идентификатор полосы», «Класс функционирования», «Номер канала», «Идентификатор базового набора услуг (Basic Service Set Identifier, BSSID)», «Сигнальный интервал», «Смещение функции временной синхронизации (TSF)», «Возможности многополосного соединения», «Время ожидания сеанса при быстрой передаче сеанса (FST)», «MAC-адрес станции», «Количество парных наборов шифров», «Список парных наборов шифров» и «Дополнительные подэлементы» (например, «Поддерживаемые каналы», «Поддерживаемые классы функционирования», элемент «Допустимая мощность» и др.).
[0053] Рассмотрим пример, в котором точка доступа широковещательно передает или объявляет, что она является многополосной точкой доступа за счет включения многополосного элемента 300 в один или более из сигнальных кадров и/или кадров ответа на пробный запрос. Например, кадры могут включать в себя один или более многополосных элементов, по одному элементу для каждой полосы (кроме полосы, в которой передают сигнальный/пробный кадр), идентифицируемой полем 302 «Идентификатор полосы», в которой точка доступа также осуществляет базовый набор услуг. Например, многополосный элемент включает в себя необязательные элементы 310, которые содержат дополнительную специфическую для полосы информацию, необходимую для работы в полосе, идентифицированной полем 302 «Идентификатор полосы» (например, возможности, элемент операции, набор параметров EDCA, переключатели поддерживаемых скоростей передачи и подписки на базовый набор услуг, расширенные переключатели поддерживаемых скоростей передачи и подписки на базовый набор услуг и т.д.). Например, элемент 312 «Допустимая мощность» указывает возможности в отношении мощности передачи в полосе.
[0054] На фиг. 4 представлен элемент 400, объявляющий о возможностях работы соседних точек доступа во множестве полос. В качестве примера элемент 400 включает в себя одно или более из следующих полей: «Идентификатор элемента», «Длина», «BSSID», «Информация BSSID», «Класс функционирования», «Номер канала», «Тип физического слоя (PHY)» и «Необязательные элементы». «Информация BSSID» 402 включает в себя одно или более из следующих полей: «Достижимость точки доступа», «Безопасность», «Область ключей», «Возможности», «Домен мобильности», «Высокая пропускная способность», «Очень высокая пропускная способность», «FTM», «Высокая эффективность», «HE ER BSS», «EHT BSS», «Совместно расположенные» и «Зарезервированные».
[0055] Рассмотрим пример, в котором точка доступа передает кадр 400 для объявления многополосных соседних точек доступа с очень высокой пропускной способностью (которые также включают в себя совместно расположенные точки доступа). Например, точка доступа использует элемент «Отчет о соседях». Например, в элементе 410 бит «EHT BSS» идентифицирует конкретный базовый набор услуг с очень высокой пропускной способностью (EHT BSS). В элемент 420 добавлен бит совместного расположения базового набора услуг для идентификации того, что объявляемая точка доступа совместно расположена с точкой доступа, передающей элемент «Отчет о соседях». Поле «Класс функционирования» и поле «Номер канала» вместе косвенным образом идентифицируют полосу частот.
[0056] В альтернативном варианте точка доступа также может использовать элемент «Сокращенный отчет о соседях» для объявления многополосных соседних точек доступа с очень высокой пропускной способностью. Зарезервированный бит в подполе «Заголовок информации TBTT» может быть использован для идентификации того, что объявляемая точка доступа совместно расположена с точкой доступа, которая передает элемент «Сокращенный отчет о соседях». Поле «Класс функционирования» и поле «Номер канала» вместе косвенным образом идентифицируют полосу частот.
[0057] На фиг. 5 представлена блок-схема 500, на которой показано, что станция 502, не являющаяся точкой доступа, аутентифицируется и/или ассоциируется со всеми базовыми наборами услуг совместно расположенной точки 504 доступа с очень высокой пропускной способностью путем обмена одним кадром «Аутентификация» и/или кадром «Ассоциирование» в любой одной полосе частот, в которой работает точка доступа. Например, станция 502 аутентифицируется и/или ассоциируется в трех полосах частот: 2,4 ГГц, 5 ГГц и 6 ГГц. Примером точки 504 доступа с очень высокой пропускной способностью является точка 200 доступа, а примером станции 502, не являющейся точкой доступа, является станция STA2 220B.
[0058] Рассмотрим пример, в котором для осуществления связи во множестве полос требуется, чтобы станция 502, не являющаяся точкой доступа, была аутентифицирована и/или ассоциирована во всех применимых полосах частот. Точка 504 доступа широковещательно передает сигнальный кадр 508 в полосе 5 ГГц, с помощью которого станция 502, в настоящий момент работающая в полосе 5 ГГц, обнаруживает возможности для работы точки доступа во множестве полос, например, путем проверки включенных многополосных элементов 300, и принимает решение в отношении прохождения аутентификации во всех полосах частот (2,4 ГГц, 5 ГГц и 6 ГГц), на которых работает точка 504 доступа, а также принимает решение в отношении частот, подлежащих ассоциированию, в этом примере они представляют собой все три полосы (2,4 ГГц, 5 ГГц и 6 ГГц). Станция 502 передает кадр 510 «Аутентификация» в полосе 5 ГГц, запрашивая на точке 504 доступа аутентификацию станции в полосе 5 ГГц, а также полосах 2,4 ГГц и 6 ГГц. На основании этой передачи (которая в этом примере произошла на частоте 5 ГГц) точка доступа аутентифицирует станцию во всех трех полосах (2,4 ГГц, 5 ГГц и 6 ГГц) и передает кадр 520 «Аутентификация» на станцию 502, чтобы подтвердить успешную аутентификацию.
[0059] Затем станция 502 передает кадр 530 «Запрос ассоциирования» на точку 504 доступа в полосе 5 ГГц, запрашивая на точке 504 доступа ассоциирование станции в полосе 5 ГГц, а также в полосах 2,4 ГГц и 6 ГГц. На основании этой передачи (которая в этом примере произошла на частоте 5 ГГц) точка доступа ассоциирует станцию во всех трех полосах (2,4 ГГц, 5 ГГц и 6 ГГц) и отправляет в ответ кадр 540 «Ответ об ассоциировании», чтобы подтвердить успешное ассоциирование.
[0060] На фиг. 5 представлено усовершенствование по сравнению с традиционными способами аутентификации и/или ассоциирования многополосных точек доступа и многополосных станций. Например, в традиционных беспроводных локальных сетях 802.11 необходимо выполнить аутентификацию/ассоциирование станции для базовых наборов услуг в каждой полосе частот независимо от других полос. Этот традиционный способ требует и/или включает обмен кадрами «Аутентификация»/«Ассоциирование» в каждой полосе, поддержание одновременной многополосной работы точки доступа во множестве полос и ведение отдельных записей ассоциирования (переменной состояния ассоциирования, идентификатора ассоциирования (Association ID, AID), ключей безопасности и т.д.) для каждой ассоциированной станции в разных полосах.
[0061] В отличие от этого традиционного способа, в примере осуществления обеспечивается многополосная работа, которая упрощается благодаря применению точки доступа, поддерживающей единственный экземпляр ассоциирования для обеспечения возможности работы станции во множестве полос. Точка доступа поддерживает этот единственный экземпляр ассоциирования независимо от полосы, используемой для ассоциирования. Вместо того, чтобы рассматривать многополосную станцию в виде независимых объектов в разных полосах частот, точка доступа с очень высокой пропускной способностью в примере осуществления рассматривает многополосную станцию как один объект, который выполнен с возможностью работы во множестве полос частот.
[0062] Хотя способ 500 включает аутентификацию, ассоциирование, а также настройки безопасности, для упрощения весь способ 500 может быть назван многополосным соединением. Хотя это не показано на чертеже, многополосная работа также применима к обратной операции деаутентификации/деассоциирования. Точка доступа может деаутентифицировать/деассоциировать многополосную станцию во множестве полос, отправив один кадр, соответственно, деаутентификации/деассоциирования, в любой активной полосе.
[0063] На фиг. 6 показан кадр 600 для аутентификации и/или ассоциирования многополосных станций во множестве различных полос частот. В качестве примера кадр 600 включает в себя поля: «Заголовок MAC» 610, содержащий одно или более из следующих полей: «Управление кадром», «Продолжительность», «Адрес 1», «Адрес 2», «Адрес 3», «Управление последовательностью», «Управление HT», и «Тело кадра» 620, содержащее одно или более из следующих полей: «Многополосный элемент» 630 (который может быть элементом 300, показанным на фиг. 3), элемент «Дополнительные возможности EHT» 640 и «FCS». Элемент «Дополнительные возможности EHT» включает в себя одно или более из следующих полей: «Идентификатор элемента», «Длина», «Расширение идентификатора элемента» и «Битовая карта управления EHT» 650, которая включает в себя «Многополосную аутентификацию», «Многополосное ассоциирование» и «Зарезервированные».
[0064] Многополосный элемент 630 содержит дополнительную специфическую для полосы частот информацию, используемую для многополосной аутентификации и/или ассоциирования. «Битовая карта управления EHT» 650 указывает, запрашивается ли многополосная аутентификация и/или ассоциирование для указанных полос (в «Многополосном элементе» 630).
[0065] В примере осуществления кадры аутентификации, ассоциирования, деаутентификации, деассоциирования и/или повторного ассоциирования имеют аналогичные форматы кадров. Дополнительные полосы (помимо полосы частот, в которой передается кадр), которые должны быть аутентифицированы, ассоциированы, повторно ассоциированы, деаутентифицированы и/или деассоциированы, указывают путем включения одного или более многополосных элементов 630 в соответствующий кадр, причем каждый элемент идентифицирует одну полосу. Необязательное поле подэлемента (например, 310 на фиг. 3) содержит дополнительный подэлемент (подэлементы), требуемый для аутентификации и/или ассоциирования в полосе, указанной в поле «Идентификатор полосы» (например, 302 на фиг. 3) многополосного элемента. Некоторые общие параметры могут быть указаны с помощью других полей в кадре (например, элементов HT/VHT/операции HT/возможностей и т.д.). Поскольку многие параметры могут быть специфическими для конкретной полосы частот (например, поддерживаемые скорости MCS, количество поддерживаемых пространственных потоков, параметры EDCA), если какие-либо из общих параметров отличаются, специфические для полосы параметры также могут быть включены в многополосный элемент.
[0066] В кадре 510 «Аутентификация» и кадре 520 «Запрос ассоциирования» на фиг. 5 станция, не являющаяся точкой доступа, также может включать в себя элемент «Допустимая мощность» (например, 312 на фиг. 3) для указания своих возможностей в отношении мощности передачи в полосе. Точка доступа может использовать такую специфическую для полосы информацию, чтобы решить, следует ли разрешить станции, не являющейся точкой доступа, работу в какой-либо конкретной полосе.
[0067] Хотя для многополосного соединения (способ 500 на фиг. 5) показан пример успешной аутентификации/успешного ассоциирования во всех трех полосах частот, также возможно, что аутентификация/ассоциирование будут успешными в некоторых полосах и неуспешными в других полосах. Точка доступа может указывать полосы, в которых аутентификация/ассоциирование были успешными, путем включения многополосного элемента для этой полосы в кадр 520 «Аутентификация» и кадры 540 «Ответ об ассоциировании».
[0068] На фиг. 7 представлен пример записи 700 ассоциирования, поддерживаемой многополосной точкой доступа с очень высокой пропускной способностью. Такая запись включает в себя одно или более из следующих полей: «Идентификатор ассоциирования станции», «Состояние ассоциирования», «MAC-адрес 2,4 ГГц», «MAC-адрес 5 ГГц», «MAC-адрес 6 ГГц», «Закрытый ключ шифрования» и «Ключ шифрования для группы». В некоторых из этих полей для двух станций STA1 и STA2 запись содержит пример данных.
[0069] Поскольку станция может использовать разные MAC-адреса для осуществления связи по каналам в разных полосах частот, AP также ведет запись специфических для полосы MAC-адресов станции (например, извлеченных из многополосного элемента). Строка 1 записи может относиться к записи STA1, а строка 2 может относиться к записям STA2.
[0070] Хотя это и не указано в записи, точка доступа также может поддерживать другие специфические для полосы параметры для каждой станции (например, поддерживаемые скорости, набор параметров EDCA и т.д.). Что касается устаревших станций, не являющихся точками доступа (устройств 11n, 11ac, 11ax), которые являются однополосными устройствами, точка доступа с очень высокой пропускной способностью будет по-прежнему поддерживать однополосную аутентификацию/однополосное ассоциирование в соответствии с базовыми правилами. Точка доступа с очень высокой пропускной способностью также может выбрать использование одной и той же записи 700 ассоциирования для таких устройств или может выбрать поддержку единой записи для ассоциированных однополосных устройств. Чтобы упростить осуществление операций в разных полосах, точка доступа может выбрать поддержку унифицированной схемы назначения идентификатора ассоциирования, с помощью которой идентификатор ассоциирования назначают ассоциированным устройствам независимо от полос, с которыми они ассоциированы. Кроме того, идентификатор ассоциирования не используют повторно в разных полосах для упрощения управления идентификатором ассоциирования.
[0071] На фиг. 8 представлена эталонная модель трехполосной точки доступа с очень высокой пропускной способностью и/или станции 800. Например, точка доступа/станция 800 работает во множестве полос частот, включая 2,4 ГГц, 5 ГГц и 6 ГГц. Таким образом, точка доступа/станция 800 включает в себя три отдельных станции 810A, 810B и 810C, по одной для каждой полосы частот.
[0072] Как показано на чертеже, каждая станция включает в себя один или более из физического уровня (Physical layer, PHY), подуровня MAC, объекта управления PHY уровнем (PHY Management Entity, PLME) и объекта управления подуровнем MAC (MAC Sublayer Management Entity, MLME) для каждой полосы частот, в то время как общий объект управления станцией (Station Management Entity, SME) обеспечивает управление уровнями PHY и MAC во всех трех полосах.
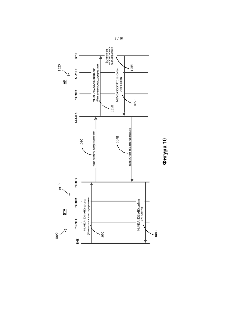
[0073] В примере осуществления один объект управления станцией имеет доступ к уровням MAC и PHY каждой полосы посредством соответствующего объекта управления уровнем MAC (MLME) и объекта управления PHY уровнем (PLME). Точки доступа к услугам MAC (MAC Service Access Point, SAP) каждой станции обеспечивают протоколы верхнего уровня с интерфейсом для специфических для полосы подуровней MAC и PHY.
[0074] Как показано на фиг. 8, совместно используемая информация о состоянии включает в себя одно или более соглашений о подтверждении блока, TS, состояний ассоциирования, RSNA, ключи безопасности, счетчик последовательностей и счетчик PN.
[0075] На фиг. 9 показан способ 900 для элементарных процедур и обмена кадрами, включенных в многополосную аутентификацию между станцией 910 и точкой 920 доступа.
[0076] Для способа 900 флаг «Многополосная аутентификация» в элементарных процедурах MLME-AUTHENTICATE может быть использован для различения элементарных процедур многополосной аутентификации от обычной однополосной аутентификации. Объект управления станцией станции 910, не являющейся точкой доступа, инициирует многополосную аутентификацию путем выдачи элементарной процедуры 930 MLME-AUTHENTICATE.request (с установленным флагом «Многополосная аутентификация») в объект управления подуровнем MAC любой из активных полос частот, которая, в свою очередь, инициирует кадр 940 «Аутентификация» (который может представлять собой кадр 510 аутентификации, показанный на фиг. 5), подлежащий передаче по рабочему каналу в этой полосе частот. После приема кадра 940 «Аутентификация» объект управления подуровнем MAC точки доступа для этой полосы генерирует элементарную процедуру 950 MLME-AUTHENTICATE.indication (с установленным флагом «Многополосная аутентификация», а также с указанными дополнительными полосами частот, в которых запрашивается аутентификация). Когда объект управления станцией точки доступа принимает элементарную процедуру 950 MLME-AUTHENTICATE.indication, в которой установлен флаг «Многополосная аутентификация», точка доступа выполняет многополосную аутентификацию 955 и аутентифицирует станцию в полосе частот, в которой был принят кадр 940 «Аутентификация», а также во всех остальных полосах, указанных в многополосных элементах, содержащихся в кадре 940 аутентификации. После успешного завершения многополосной аутентификации объект управления станцией точки доступа подтверждает успешную многополосную аутентификацию путем выдачи элементарной процедуры 960 MLME-AUTHENTICATE.response (с установленным кодом состояния SUCCESS (УСПЕШНО)) в объект управления подуровнем MAC для полосы частот, в которой был принят кадр 940 «Аутентификация», которая, в свою очередь, инициирует кадр 970 аутентификации (который может представлять собой кадр 520 аутентификации, показанный на фиг. 5), подлежащий передаче по рабочему каналу в этой полосе частот. После приема кадра 970 «Аутентификация» объект управления подуровнем MAC станции, не являющейся точкой доступа, для этой полосы генерирует элементарную процедуру 980 MLME-AUTHENTICATE.confirm для уведомления об успешной многополосной аутентификации.
[0077] На фиг. 10 показан способ 1000 для элементарных процедур и обмена кадрами, включенных в многополосное ассоциирование между станцией 1010 и точкой 1020 доступа.
[0078] Для способа 1000 флаг многополосного ассоциирования в элементарных процедурах MLME-ASSOCIATE может быть использован для различения элементарных процедур многополосного ассоциирования от обычного (однополосного) ассоциирования. Объект управления станцией станции 1010, не являющейся точкой доступа, инициирует многополосное ассоциирование путем выдачи элементарной процедуры 1030 MLME-ASSOCIATE.request (с установленным флагом многополосного ассоциирования, а также с указанными дополнительными полосами частот, в которых запрашивается ассоциирование) в объект управления подуровнем MAC любой из активных полос частот, которая, в свою очередь, инициирует кадр 1040 «Запрос ассоциирования» (который может представлять собой кадр 530 «Запрос ассоциирования», показанный на фиг. 5), подлежащий передаче по рабочему каналу в этой полосе частот. После приема кадра 1040 «Ассоциирование» объект управления подуровнем MAC точки доступа для этой полосы генерирует элементарную процедуру 1050 MLME-ASSOCIATE.indication (с установленным флагом «Многополосное ассоциирование», а также с указанными дополнительными полосами частот, в которых запрашивается ассоциирование). Когда объект управления станцией точки доступа принимает элементарную процедуру 1050 MLME-ASSOCIATE.indication, в которой установлен флаг «Многополосное ассоциирование», точка доступа выполняет многополосное ассоциирование 1055 и ассоциирует станцию в полосе частот, в которой был принят кадр 1040 «Ассоциирование», а также во всех остальных полосах, указанных в многополосных элементах, содержащихся в кадре 1040 «Ассоциирование». После успешного завершения многополосного ассоциирования объект управления станцией точки доступа подтверждает успешное многополосное ассоциирование путем выдачи элементарной процедуры 1060 MLME-ASSOCIATION.response (с установленным кодом состояния SUCCESS (УСПЕШНО)) в объект управления подуровнем MAC для полосы частот, в которой был принят кадр 1040 «Ассоциирование», которая, в свою очередь, инициирует кадр 1070 «Ассоциирование» (который может представлять собой кадр 540 «Ответ об ассоциировании», показанный на фиг. 5), подлежащий передаче по рабочему каналу в этой полосе частот. После приема кадра 1070 «Ассоциирование» объект управления подуровнем MAC станции, не являющейся точкой доступа, для этой полосы генерирует элементарную процедуру 1080 MLME-ASSOCIATION.confirm для уведомления об успешном многополосном ассоциировании. Хотя это не показано на фиг. 9 или 10, многополосная работа также применима к элементарным процедурам MLME-DEAUTHENTICATE/MLME-DISASSOCIATE, используемым для выполнения обратной операции деаутентификации/деассоциирования. Точка доступа может деаутентифицировать/деассоциировать многополосную станцию во множестве полос, отправив один кадр, соответственно, деаутентификации/деассоциирования, в любой активной полосе.
[0079] На фиг. 11 показан элемент 1100, используемый для аутентификации и/или ассоциирования многополосной станции с помощью многополосной точки доступа. В качестве примера элемент 110 может представлять собой многополосный элемент 300 и включает в себя следующие поля: «Идентификатор элемента», «Длина», «Многополосное управление», «Идентификатор полосы», «Класс функционирования», «Номер канала» (не показан), «BSSID» (не показан), «Сигнальный интервал» (не показан), «Смещение TSF» (не показано), «Возможности многополосного соединения», «Время ожидания сеанса при FST», «MAC-адрес станции» (необязательно), «Количество парных наборов шифров» (необязательно), «Список парных наборов шифров» (необязательно) и «Необязательные элементы». Поле «Многополосное управление» 1110 дополнительно включает в себя «Роль станции», «Наличие MAC-адреса станции», «Наличие парных наборов шифров», «Многополосное действие» и «Зарезервированные».
[0080] Вместо использования элемента 640 «Дополнительные возможности по управлению EHT» в кадрах «Аутентификация»/«Ассоциирование», как показано на фиг. 6, станция или точка доступа также могут использовать бит 1120 «Многополосное действие» в поле 1110 «Многополосное управление» многополосного элемента для указания того, что кадр, содержащий многополосный элемент, представляет собой часть многополосной аутентификации или многополосного ассоциирования по отношению к полосе, указанной полем 1130 «Идентификатор полосы». Бит 1120 «Многополосное действие» указывает на многополосную аутентификацию, когда многополосный элемент 1140 содержится в кадре «Аутентификация», и указывает многополосное ассоциирование, когда многополосный элемент 1140 содержится в кадре «Запрос ассоциирования» или кадре «Ответ об ассоциировании» и т.д.
[0081] Поле 1150 «Необязательный подэлемент» содержит дополнительные подэлементы, которые требуются для аутентификации/ассоциирования в полосе, указанной в поле «Идентификатор полосы» многополосного элемента.
[0082] На фиг. 12 представлена таблица 1200 записей ассоциирования 2,4 ГГц для станции. Таблица включает идентификатор ассоциирования станции, состояние ассоциирования, MAC-адрес, парный ключ шифрования и ключ шифрования для группы. Пример данных представлен для STA2.
[0083] На фиг. 13 представлена таблица 1300 записей ассоциирования полосы 5 ГГц для двух станций, STA1 и STA2. Таблица включает идентификатор ассоциирования станции, состояние ассоциирования, MAC-адрес, парный ключ шифрования и ключ шифрования для группы. Пример данных представлен для STA1 и STA2.
[0084] На фиг. 14 представлена таблица 1400 записей ассоциирования полосы 6 ГГц для двух станций, STA1 и STA2. Таблица включает идентификатор ассоциирования станции, состояние ассоциирования, MAC-адрес, парный ключ шифрования и ключ шифрования для группы. Пример данных представлен для STA1 и STA2.
[0085] На фиг. 15 представлена таблица 1500, в которой представлены примеры данных идентификатора ассоциирования станции для двух станций (STA1 и STA2) для идентификатора ассоциирования 2,4 ГГц, идентификатора ассоциирования 5 ГГц и идентификатора ассоциирования 6 ГГц.
[0086] В многополосном соединении 500 на фиг. 5 предполагалось, что многополосная станция 502 не была ассоциирована ни с одной из полос с помощью многополосной точки 504 доступа при инициировании с помощью нее многополосного соединения 500. Однако также возможно, что станция уже ассоциирована с точкой доступа по меньшей мере в одной полосе, например, полосе 5 ГГц. В ходе или после процесса ассоциирования в полосе 5 ГГц она обнаруживает многополосные возможности точки доступа и решает также ассоциироваться в других полосах, чтобы иметь возможность использовать многополосную связь. Или также возможно, что первоначально она находилась только в диапазоне полосы 5 ГГц, но за пределами покрытия полосы 6 ГГц, а впоследствии, вследствие мобильности, она также оказалась в зоне покрытия полосы 6 ГГц. В таких случаях многополосное соединение 500 также может относиться к новой аутентификации/ассоциированию в других дополнительных полосах вдобавок к полосе, в которой станция уже ассоциирована. Если бы такое динамическое добавление ассоциирования в разных полосах было разрешено, это означало бы, что состояние ассоциирования станции, поддерживаемое точкой доступа, может иметь разные состояния в разных полосах и, соответственно, для точки доступа может быть более эффективным поддерживать отдельные экземпляры ассоциирования для разных полос. В примере осуществления и на фиг. 12-15 точка доступа поддерживает отдельные экземпляры ассоциирования, по одному на полосу частот: специфическую для полосы переменную состояния, идентификатор ассоциирования, ассоциирование безопасности и т. д. В качестве примера станция 502 может быть первоначально ассоциирована с точкой 504 доступа в полосе 5 ГГц с использованием базовой процедуры (однополосного) ассоциирования. Впоследствии она решает инициировать многополосное соединение 500, чтобы «объединить» полосы 2,4 и 6 ГГц. После завершения многополосной аутентификации записи ассоциирования для станции 502 могут выглядеть таким образом, как показано в строке 1210 для полосы 2,4 ГГц и в строке 1410 для полосы 6 ГГц (состояние 2 ассоциирования указывает, что STA 502 успешно аутентифицирована). Чтобы отслеживать параметры станции в разных полосах, точка доступа также может хранить таблицу 1500, в которой перечислены идентификаторы многополосных станций (например, идентификатор ассоциирования) в разных полосах, и использовать ее для перекрестных ссылок на соответствующие записи ассоциирования в каждой полосе для специфических для полосы параметров. Впоследствии, после успешного завершения многополосного ассоциирования в полосах 2,4 ГГц и 6 ГГц записи ассоциирования для станции 502 (строки 1210 и 1410) будут обновлены для отражения нового состояния ассоциирования (4) и назначенных идентификаторов ассоциирования. Аналогичным образом, в таблице 1500 также будут обновлены назначенные идентификаторы ассоциирования в полосах 2,4 ГГц и 6 ГГц.
[0087] На фиг. 16 показан способ 1600 для элементарных процедур и обмена кадрами, включенных в многополосное ассоциирование между станцией 1610 и точкой 1620 доступа. Ассоциирование выполняют в каждой применимой полосе частот, а точка доступа поддерживает отдельный экземпляр ассоциирования для каждой полосы. Точка доступа может деаутентифицировать и/или деассоциировать многополосную станцию во множестве полос, отправив один кадр деаутентификации и/или кадр деассоциирования, соответственно, в любой активной полосе, либо деаутентификация и/или деассоциирование могут быть выполнены в отдельных полосах независимо от других полос.
[0088] Для способа 1600 флаг многополосного ассоциирования в элементарных процедурах MLME-ASSOCIATE может быть использован для различения элементарных процедур многополосного ассоциирования от обычного (однополосного) ассоциирования. Объект управления станцией станции 1610, не являющейся точкой доступа, инициирует многополосное ассоциирование путем выдачи элементарной процедуры 1630 MLME-ASSOCIATE.request (с установленным флагом многополосного ассоциирования) в объект управления подуровнем MAC любой из активных полос частот, которая, в свою очередь, инициирует кадр 1640 «Запрос ассоциирования», подлежащий передаче по рабочему каналу в этой полосе частот. После приема кадра 1640 «Запрос ассоциирования» объект управления подуровнем MAC точки доступа для этой полосы генерирует элементарную процедуру 1650 MLME-ASSOCIATE.indication. Когда объект управления станцией точки доступа принимает элементарную процедуру 1650 MLME-ASSOCIATE.indication, в которой установлен флаг «Многополосное ассоциирование», точка доступа выполняет многополосное ассоциирование 1655, выполняя или осуществляя ассоциирование в первой полосе, ассоциирование в второй полосе и ассоциирование в третьей полосе. После успешного завершения многополосного ассоциирования объект управления станцией точки доступа подтверждает успешное многополосное ассоциирование путем выдачи элементарной процедуры 1660 MLME-ASSOCIATION.response (с установленным кодом состояния SUCCESS (УСПЕШНО)) в объект управления подуровнем MAC для полосы частот, в которой был принят кадр 1640 «Ассоциирование», которая, в свою очередь, инициирует кадр 1670 «Ответ об ассоциировании», подлежащий передаче по рабочему каналу в этой полосе частот. После приема кадра 1670 «Ответ об ассоциировании» объект управления подуровнем MAC станции, не являющейся точкой доступа, для этой полосы генерирует элементарную процедуру 1680 MLME-ASSOCIATION.confirm для уведомления об успешном многополосном ассоциировании.
[0089] Вместо того, чтобы поддерживать отдельные базовые наборы услуг в разных полосах частот, операции базового набора услуг можно упростить, поддерживая один базовый набор услуг во всех рабочих полосах частот точки доступа. На фиг. 17 показана беспроводная сеть 1700, в которой точка 1710 доступа устанавливает один единый унифицированный базовый набор услуг во множестве разных полос частот для множества станций, показанных как STA1 1720A и STA2 1720B. Например, беспроводная сеть 1700 работает в трех полосах частот: 2,4 ГГц, 5 ГГц и 6 ГГц.
[0090] В одном примере осуществления независимо от количества поддерживаемых полос частот ниже 7 ГГц точка доступа с очень высокой пропускной способностью устанавливает единые унифицированные базовые наборы услуг во всех полосах. Например, на фиг. 17 представлен один многополосный базовый набор услуг, который одновременно действует в полосах частот 2,4 ГГц, 5 ГГц и 6 ГГц. Точка доступа с очень высокой пропускной способностью (например, точка 1710 доступа) передает сигнальные кадры в некоторых или всех своих рабочих полосах. Все сигнальные кадры и/или кадры ответа на пробный запрос указывают один и тот же базовый набор услуг независимо от полосы частот, в которой передают эти кадры. Один идентификатор базового набора услуг (BSSID) используют для представления унифицированного базового набора услуг в применимых полосах частот. Точка 1710 доступа может использовать MAC-адрес любого из своих беспроводных интерфейсов ниже 7 ГГц в качестве идентификатора базового набора услуг.
[0091] На фиг. 18 показан сигнальный кадр и/или кадр 1800 ответа на пробный запрос, используемый для объявления многополосного базового набора услуг. Кадр 1800 включает в себя поля «Заголовок MAC» 1810 и «Тело кадра» 1820. Заголовок MAC включает в себя следующие поля: «Управление кадром», «Продолжительность», «Адрес 1 (DA)», «Адрес 2 (SA)», «Адрес 3 (BSSID)», «Управление последовательностью», «Тело кадра» и «FCS». «Тело кадра» 1820 включает в себя, среди других полей, поле «Временная метка» и один или более «Многополосных элементов».
[0092] Независимо от полосы частот, используемой для передачи сигнального кадра и/или кадров 1800 ответа на пробный запрос, в поле 1830 «Адрес 3» устанавливается значение «BSSID», которое представляет многополосный базовый набор услуг. «Адрес 2» 1840 содержит адрес источника и может быть установлен как аппаратный MAC-адрес беспроводного интерфейса в полосе частот, в которой передают кадр.
[0093] Чтобы упростить работу в различных полосах, точка доступа может выбрать поддержку единого тактового сигнала для синхронизации. В этом случае поле 1850 «Временная метка» содержит унифицированное значение функции временной синхронизации (TSF).
[0094] Точка доступа объявляет о том, что она поддерживает работу во множестве полос, в сигнальном кадре и/или кадре ответа на пробный запрос. Например, кадр 1800 включает в себя один или более многополосных элементов 1860, по одному элементу для каждой полосы (кроме полосы, в которой передают сигнальный/пробный кадр), идентифицируемой полем «Идентификатор полосы», в которой также работает точка доступа. Хотя это не показано на фиг. 18, кадр 1800 также содержит тот же идентификатор набора услуг (Service Set Identifier, SSID), который представляет беспроводную сеть независимо от полосы частот. Это означает, что идентификатор базового набора услуг однозначно сопоставлен с единым идентификатором набора услуг и дополнительно упрощает управление беспроводными сетями. Однако возможно, что, как и в случае с текущими операциями, более одного идентификатора базового набора услуг сопоставлены с одним и тем же идентификатором набора услуг.
[0095] Независимо от полосы частот, используемой для передачи сигнальных кадров/кадров ответа на пробный запрос, поскольку сигнальные кадры/кадры ответа на пробный запрос объявляют одни и те же идентификатор базового набора услуг и идентификатор набора услуг, для станции, не являющейся точкой доступа, будет доступен один базовый набор услуг. Однако это может создать некоторые проблемы для устаревших (не многополосных) станций, не являющихся точками доступа, поскольку они могут не иметь возможности явным образом указать полосу частот, в которой они хотят выполнить ассоциирование. Эту проблему можно решить, если станция, не являющаяся точкой доступа, будет передавать кадры аутентификации и ассоциирования в полосе частот, в которой требуется создать соединение. Независимо от идентификатора базового набора услуг/идентификатора набора услуг, указанного в кадре «Ассоциирование», точка доступа будет выполнять ассоциирование для станции, не являющейся точкой доступа, в полосе частот, в которой были приняты кадры. Многополосное соединение в этом случае выполнить еще проще. Независимо от полосы частот, используемой, например, для аутентификации и/или ассоциирования, между многополосной точкой доступа и многополосной станцией требуется один экземпляр ассоциирования, а специфическое для полосы ассоциирование не требуется. Из-за различных возможностей во время аутентификации и/или ассоциирования станции, не являющиеся точками доступа, все же могут указать поддерживаемые ими полосы с использованием одного или более многополосных элементов, как объяснено в настоящем документе.
[0096] На фиг. 19 представлена модель многополосной точки доступа с очень высокой пропускной способностью и/или станции 1900. Например, точка доступа/станция 1900 поддерживает три полосы: 1910A (полосу 1), 1910B (полосу 2), 1910C (полосу 3). Каждая полоса включает в себя одно или более из физического уровня (PHY), подуровня MAC, объекта управления PHY уровнем (PLME) и объекта управления подуровнем MAC (MLME), в то время как один объект управления станцией (SME) имеет доступ ко всем специфическим для полосы уровням PHY и MAC.
[0097] Как показано на фиг. 19, многополосное устройство состоит из отдельных наборов уровней PHY и MAC, по одному или более наборов для каждой полосы частот. Для упрощения на фиг. 19 показано трехполосное устройство, но примеры осуществления также включают многополосные устройства других типов, такие как двухполосные устройства, четырехполосные устройства и т.д.
[0098] Рассмотрим пример четырехполосного устройства, которое включает в себя четыре различных набора уровней PHY и MAC, один набор для полосы 2,4 ГГц, один набор для полосы 5 ГГц, один набор для нижней части полосы 6 ГГц (например, 6 ГГц ~ 6,49 ГГц) и один набор для верхней части полосы 6 ГГц (например, 6,5 ГГц ~ 6,99 ГГц). Однако они представляют собой только один объект управления станцией, который имеет доступ к уровням MAC и PHY каждой полосы посредством соответствующего объекта управления уровнем MAC (MLME) и объекта управления PHY уровнем (PLME). Чтобы упростить управление различными специфическими для полосы уровнями PHY и MAC, подуровень 1920 многополосной адаптации применяют поверх специфических для полосы уровней MAC и обеспечивают унифицированную точку 1930 доступа к услугам MAC на верхних уровнях. Подуровень 1920 многополосной адаптации взаимодействует со специфическими для полосы подуровнями MAC и PHY посредством точек доступа к услугам MAC (SAP) каждого специфического для полосы уровня MAC.
[0099] Одним из преимуществ этой модели является то, что уровень MAC с очень высокой пропускной способностью возникает как один объект MAC для верхних уровней и верхние уровни взаимодействуют с одним уровнем (подуровнем 1920 многополосной адаптации), который, в свою очередь, обеспечивает управление специфическими для полосы уровнями MAC/PHY.
[00100] В одном примере осуществления многополосная работа изначально разрешена и ее возможность согласовывают во время многополосного соединения. Многополосная станция считается включенной посредством WM (т.е. станция может начать установление связи посредством беспроводной среды (WM)) во всех применимых полосах частот после успешного ассоциирования и может продолжать осуществлять многополосную связь в любой ассоциированной полосе/во всех ассоциированных полосах без каких-либо дальнейших согласований между точкой доступа и станцией. Например, быстрая передача сеанса (Fast Session Transfer, FST) не требуется для многополосной связи между устройствами, которые завершили многополосное соединение.
[00101] Для устройств с дополнительным интерфейсом 60 ГГц указанным интерфейсом 60 ГГц можно управлять с применением базовых функций, например, с использованием быстрой передачи сеанса (FST), туннелирования в канале (OCT) и т.д. Можно сказать, что такие устройства включают в себя две станции: станцию ниже 7 ГГц (выполненную с возможностью осуществления многополосной связи в полосах частот ниже 7 ГГц) и станцию 60 ГГц.
[00102] На фиг. 20 представлена модель многополосного устройства 2000 связи. Устройство включает в себя верхние уровни 2010, подуровень 2020 управления логическим каналом (Logical Link Control, LLC), унифицированный верхний уровень MAC (UMAC) 2030 и подуровень 2040 многополосной адаптации. Подуровень 2040 устанавливает соединение и/или обменивается данными с нижним уровнем MAC (LMAC) 2,4 ГГц (со своим собственным MAC-идентификатором оборудования, HMAC-ID 1), PHY 2,4 ГГц, LMAC 5 ГГц (со своим собственным MAC-идентификатором оборудования, HMAC-ID 2), 5 ГГц PHY, 6 ГГц LMAC (со собственным MAC-идентификатором оборудования, HMAC-ID 3) и 6 ГГц PHY. Подуровень 2020 управления логическим каналом устанавливает соединение и/или обменивается данными с верхним уровнем MAC (UMAC) 2050, LMAC 60 ГГц (со своим собственным MAC-идентификатором оборудования, HMAC-ID4) и PHY 60 ГГц. UMAC 2030 обменивается данными с верхним уровнем 2050 MAC посредством многополосного управления 2060.
[00103] Как показано на фиг. 20, верхние уровни 2010, а также подуровни 2020 управления логическим каналом могут совместно использоваться всеми полосами. В нижнем левом углу показаны уровни, специфические для полос ниже 7 ГГц, а справа - уровни, специфические для полосы 60 ГГц. Уровни MAC могут быть дополнительно разделены на верхний уровень MAC (UMAC) и нижний уровень MAC (LMAC). Нижние уровни MAC обеспечивают функции MAC, которые могут зависеть от фактической полосы частот, используемой для осуществления связи, такие как агрегирование/деагрегирование A-MDPU, создание CRC, фильтрация адреса 1, шифрование/дешифрование MPDU, обнаружение дублирования, передачи ACK, проведение оценки подтверждения блока, адаптация MCS и т.д. Верхний уровень MAC обеспечивает функции MAC, не зависящие от полосы, такие как агрегирование/деагрегирование A-MDPU, назначение номера последовательности, повторные передачи и т.д.
[00104] Поскольку функции MAC 60 ГГц могут сильно отличаться от функций MAC ниже 7 ГГц, поддерживаются отдельные верхние уровни MAC. Однако один верхний уровень 2030 MAC обеспечивает интерфейс между верхними уровнями и специфическими для полосы нижними уровнями MAC. Традиционно каждому беспроводному интерфейсу назначают MAC-адрес оборудования (HMAC-ID). Таким образом, каждый специфический для полосы нижний уровень MAC может иметь свой собственный MAC-адрес, который он использует в качестве своего адреса передатчика/приемника. Устройство с очень высокой пропускной способностью может выбрать любой из своих MAC-идентификаторов оборудования в качестве своего унифицированного MAC-адреса (U-MAC-ID) и U-MAC-ID может быть использован для идентификации устройства с очень высокой пропускной способностью. Точка доступа с очень высокой пропускной способностью может выбрать унифицированный MAC-адрес U-MAC-ID в качестве идентификатора базового набора услуг для многополосного базового набора услуг с очень высокой пропускной способностью (EHT BSS).
[00105] Уровень MAC ниже 7 ГГц возникает как единый объект MAC для верхних уровней. Фактическая полоса, используемая для осуществления связи, является прозрачной для верхних уровней. Подуровень 2040 многополосной адаптации обеспечивает выбор фактической полосы, которая будет использоваться для исходящих пакетов. Подуровень 2040 многополосной адаптации также обеспечивает переключение MAC-адреса (между унифицированным MAC-адресом U-MAC-ID и MAC-идентификатором оборудования, и наоборот) во время передачи/приема, если это необходимо.
[00106] Точка доступа с очень высокой пропускной способностью также может записывать унифицированный MAC-адрес U-MAC-ID ассоциированной станции в качестве части своей записи ассоциирования. Таким образом, для верхнего уровня MAC не требуется информация о фактическом MAC-идентификаторе оборудования, используемом устройством-адресатом в конкретной полосе частот, а он может непосредственно использовать унифицированный MAC-адрес U-MAC-ID устройства-адресата в качестве адреса назначения (Destination Address, DA) любых исходящих MPDU. Подуровень 1720 многополосной адаптации обеспечивает замену адреса назначения исходящих MPDU на правильный MAC-идентификатор оборудования. Что касается полосы 60 ГГц, базовое многополосное управление 2060 и соответствующие протоколы, такие как быстрая передача сеанса (FST), могут быть использованы для передачи сеансов между полосами ниже 7 ГГц и полосой 60 ГГц.
[00107] При наличии связанных однополосных станций, не являющихся точками доступа, работающих в разных полосах (например, STA1 в полосе 5 ГГц и STA2 в полосе 6 ГГц), традиционно обмен данными между STA1 и STA2 должен происходить через точку доступа перед его перенаправлением на маршрутизатор в системе распределения (Distribution System, DS), который направит его обратно на станцию через ту же точку доступа. Чтобы избежать этого, многополосная точка доступа также может выбрать реализацию простой функции маршрутизации L3 внутри нее самой, которая осуществляет запись адресов L3 (например, IP) всех ассоциированных устройств в разных полосах. Если точка доступа находит адрес назначения L3 в своей собственной таблице маршрутизации, вместо пересылки пакета в систему распределения точка доступа может просто отправить пакет в полосе, с которой ассоциировано устройство.
[00108] На фиг. 21 представлена упрощенная блок-схема многополосного устройства 2100 связи, которое работает во множестве разных полос частот (показанных как n полос, где n является целым числом больше единицы). Антенна 2110 подключается и/или обменивается данными с аппаратным/программным обеспечением в полосе 1, которое включает в себя RF/аналоговый входной блок 2112, блок обработки 2114 PHY и блок обработки 2116 нижнего уровня MAC. Антенна 2120 подключается и/или обменивается данными с аппаратным/программным обеспечением в полосе 2, которое включает в себя RF/аналоговый входной блок 2122, блок обработки 2124 PHY и блок обработки 2126 нижнего уровня MAC. Антенна 2130 подключается и/или обменивается данными с аппаратным/программным обеспечением в полосе n, которое включает в себя RF/аналоговый входной блок 2132, блок обработки 2134 PHY и блок обработки 2136 нижнего уровня MAC. Хотя на фиг. 21 в каждой полосе частот показана одна антенна, также возможно, что в каждой полосе частот может быть применено множество антенн, например, используемых для пространственного разнесения, многопользовательского MIMO (MU-MIMO) и т.д. Блоки обработки 2116/2126/2136 нижнего уровня MAC подключаются и/или обмениваются данными друг с другом, а также с блоком 2140 многополосной адаптации и блоком обработки 2150 верхнего уровня MAC, который содержит записи 2152 ассоциирования. Записи 2152 ассоциирования содержатся в устройствах точки доступа, но не в устройствах, не являющихся точками доступа.
[00109] На фиг. 22 представлена подробная блок-схема многополосного устройства 2200 связи, которое работает во множестве разных полос частот (показанных как n полос, где n является целым числом больше единицы). Беспроводной интерфейс 2250 для полосы 1 подключается и/или обменивается данными с передатчиком/приемником 2252 и включает уровни MAC 2254 и PHY 2256. Беспроводной интерфейс 2260 для полосы 2 подключается и/или обменивается данными с передатчиком/приемником 2262 и включает уровни MAC 2264 и PHY 2266. Беспроводной интерфейс 2270 для полосы n подключается и/или обменивается данными с передатчиком/приемником 2272 и включает уровни MAC 2274 и PHY 2276. Беспроводные интерфейсы 2250/2260/2270 для полос подключаются и/или обмениваются данными друг с другом и с центральным процессором (ЦП) 2230, запоминающим устройством 2220, вторичным хранилищем 2240, проводным интерфейсом 2080 связи. Схема питается от источника 2210 питания, который может представлять собой аккумулятор для устройств, не являющихся точками доступа, в то время как устройства точки доступа в большинстве случаев могут питаться от электросети. Хотя блок-схема 2200 применима как к устройствам точки доступа так и к устройствам, не являющимся точками доступа, каждый из компонентов, используемых в устройстве точки доступа, может быть намного более сложным и мощным, чем компоненты, используемые в устройствах, не являющихся точками доступа. Если блок-схема 2200 является применимой к устройству точки доступа, ЦП 2230 генерирует кадры, которые включают в себя действия, относящиеся к первой полосе частот (например, полосе 1) и по меньшей мере к одной другой полосе частот (например, полосе 2), в которой устройство точки доступа выполняет передачу. Если блок-схема 2200 является применимой к устройству, не являющемуся точкой доступа, ЦП 2230 генерирует кадры в ответ на прием кадров от устройства точки доступа.
[00110] На фиг. 22 функции нижнего уровня MAC могут быть реализованы в беспроводных интерфейсах (аппаратных/программно-аппаратных), в то время как уровень многополосной адаптации, а также функции верхнего уровня MAC могут быть реализованы в виде программного обеспечения в ЦП.
[00111] Настоящее изобретение может быть реализовано с помощью программного, аппаратного или программного обеспечения во взаимодействии с аппаратным обеспечением. Каждый функциональный блок, используемый в описании каждого варианта осуществления, представленного выше, может быть частично или полностью реализован с помощью большой интегральной схемы (БИС), такой как интегральная схема, а каждым процессом, описанным в каждом варианте осуществления, может частично или полностью управлять одна и та же БИС или комбинация БИС. БИС может быть отдельно изготовлена в виде микросхем, или одна микросхема может быть изготовлена таким образом, чтобы включать в себя часть функциональных блоков или все функциональные блоки. БИС может включать в себя вход и выход для данных, соединенные с ней. БИС в настоящем документе может упоминаться как интегральная схема, системная БИС, супер-БИС или сверх-БИС в зависимости от степени интеграции. Однако способ реализации интегральной схемы не ограничивается БИС и может быть реализован с использованием специализированной схемы, процессора общего назначения или специализированного процессора. Кроме того, может быть использована FPGA (Field Programmable Gate Array, программируемая пользователем вентильная матрица), которая может быть запрограммирована после изготовления БИС, или процессор с перестраиваемой конфигурацией, в котором может быть перестроена конфигурация соединений и настроек ячеек схемы, расположенных внутри БИС. Настоящее изобретение может быть реализовано с применением цифровой обработки или аналоговой обработки. Если будущая технология интегральных схем заменит БИС в результате развития полупроводниковой технологии или другой производной технологии, функциональные блоки могут быть объединены с использованием будущей технологии интегральных схем. Также может быть применена биотехнология.
[00112] Другие примеры осуществления включают, без ограничений, следующие примеры.
[00113] Многополосное устройство связи содержит передатчик и приемник. Передатчик передает в полосе частот в беспроводной сети на многополосные устройства связи кадры, которые включают в себя действия, относящиеся к указанной полосе частот и по меньшей мере к одной другой полосе частот, в которой многополосное устройство связи осуществляет передачу. Приемник принимает в указанной полосе частот в беспроводной сети от многополосных устройств связи кадры, которые включают в себя действия, относящиеся к указанной полосе частот и к указанной по меньшей мере одной другой полосе частот, в которой многополосное устройство связи осуществляет прием.
[00114] Для многополосного устройства связи действия в кадрах в полосе частот включают в себя аутентификацию многополосных устройств связи в указанной полосе частот и в указанной по меньшей мере одной другой полосе частот многополосного устройства связи.
[00115] Для многополосного устройства связи действия в кадрах в полосе частот включают в себя ассоциирование или повторное ассоциирование многополосных устройств связи в указанной полосе частот и в указанной по меньшей мере одной другой полосе частот многополосного устройства связи.
[00116] Для многополосного устройства связи действия в кадрах в полосе частот включают в себя деаутентификацию многополосных устройств связи в указанной полосе частот и в указанной по меньшей мере одной другой полосе частот многополосного устройства связи.
[00117] Для многополосного устройства связи действия в кадрах в полосе частот включают в себя деассоциирование многополосных устройств связи в указанной полосе частот и в указанной по меньшей мере одной другой полосе частот многополосного устройства связи.
[00118] Что касается многополосного устройства связи, многополосное устройство связи представляет собой многополосную точку доступа (access point, AP) и хранит единую запись ассоциирования для многополосного устройства связи, которая применима к указанной полосе частот и к другим полосам частот.
[00119] Для многополосного устройства связи единая запись ассоциирования для многополосного устройства связи включает в себя переменную состояния ассоциирования, идентификатор ассоциирования (Association ID, AID) и ключи безопасности.
[00120] Многополосная точка доступа (AP) содержит передатчик и приемник. Передатчик передает кадры на точки доступа, не являющиеся станциями (STA), в одной беспроводной сети, которая одновременно работает во множестве полос частот. Приемник принимает кадры от точек доступа, не являющихся станциями (STA), в одной беспроводной сети, которая одновременно работает во множестве полос частот.
[00121] Для многополосной точки доступа одну беспроводную сеть идентифицируют с помощью единого идентификатора базового набора услуг (Basic Service Set Identifier, BSSID) во всем множестве полос частот.
[00122] Для многополосной точки доступа идентификатор базового набора услуг представляет собой MAC-адрес беспроводного интерфейса в любой из множества полос частот.
[00123] Что касается многополосной точки доступа, многополосная точка доступа имеет связь с точкой доступа, не являющейся станцией, в одной или нескольких из множества полос частот после успешного ассоциирования точки доступа, не являющейся станцией, в отдельной одной из множества полос частот.
[00124] Для многополосной точки доступа во всех сигнальных кадрах и кадрах ответа на пробный запрос, передаваемых многополосной точкой доступа во множестве полос частот, объявлен один и тот же идентификатор базового набора услуг (BSSID).
[00125] Способ связи включает прием точкой доступа (AP) в беспроводной сети от станций (STA), не являющихся точками доступа, кадров запроса в одной полосе частот, которые запрашивают аутентификацию и ассоциирование станций, не являющихся точками доступа, во множестве различных полос частот, в которых точка доступа работает в беспроводной сети; и передачу с точки доступа на станции, не являющиеся точками доступа, кадров ответа в одной полосе частот, которые аутентифицируют и ассоциируют станции, не являющиеся точками доступа, во множестве различных полос частот, в которых точка доступа работает в беспроводной сети.
[00126] Способ связи также включает передачу с точки доступа в беспроводной сети на станции, не являющиеся точками доступа, в одной полосе частот сигнальных кадров и кадров ответа на пробный запрос, которые объявляют, что точка доступа работает во множестве различных полос частот, которые включают в себя по меньшей мере две из 2,4 ГГц, 5 ГГц и 6 ГГц.
[00127] Способ связи также включает передачу с точки доступа в беспроводной сети на станции, не являющиеся точками доступа, в одной полосе частот кадров ответа на пробный запрос, которые объявляют, что соседние точки доступа работают во множестве различных полос частот.
[00128] Многополосное устройство связи для осуществления связи с многополосными устройствами связи содержит процессор и приемопередатчик. Процессор генерирует кадры, которые включают в себя действия, относящиеся к первой полосе частот и по меньшей мере к одной другой полосе частот, в которой многополосное устройство связи осуществляет передачу. Приемопередатчик передает кадры в первой полосе частот.
[00129] Хотя в вышеприведенном подробном описании настоящих вариантов осуществления были представлены примеры осуществления, следует понимать, что существует огромное количество вариаций. Кроме того, следует понимать, что примеры осуществления являются лишь примерами и никоим образом не предназначены для ограничения объема, применимости, принципов функционирования или конфигурации настоящего раскрытия. Напротив, вышеприведенное подробное описание представляет собой для специалистов в данной области техники удобный план действий для реализации примеров осуществления согласно настоящему изобретению, причем следует понимать, что в функции и расположение этапов, а также в способ функционирования, описанные в примере осуществления, могут быть внесены различные изменения без отступления от объема настоящего изобретения, изложенного в прилагаемой формуле изобретения.
[00130] Настоящее изобретение может быть реализовано с помощью программного, аппаратного или программного обеспечения во взаимодействии с аппаратным обеспечением. Каждый функциональный блок, используемый в описании каждого варианта осуществления, представленного выше, может быть частично или полностью реализован с помощью большой интегральной схемы (БИС), такой как интегральная схема (ИС), а каждым процессом, описанным в каждом варианте осуществления, может частично или полностью управлять одна и та же БИС или комбинация БИС. БИС может быть отдельно изготовлена в виде микросхем, или одна микросхема может быть изготовлена таким образом, чтобы включать в себя часть функциональных блоков или все функциональные блоки. БИС может включать в себя вход и выход для данных, соединенные с ней. БИС в настоящем случае может упоминаться как интегральная схема, системная БИС, супер-БИС или сверх-БИС в зависимости от степени интеграции. Однако способ реализации интегральной схемы не ограничивается БИС и может быть реализован с использованием специализированной схемы, процессора общего назначения или специализированного процессора. Кроме того, может быть использована FPGA (Field Programmable Gate Array, программируемая пользователем вентильная матрица), которая может быть запрограммирована после изготовления БИС, или процессор с перестраиваемой конфигурацией, в котором может быть перестроена конфигурация соединений и настроек ячеек схемы, расположенных внутри БИС. Настоящее изобретение может быть реализовано с применением цифровой обработки или аналоговой обработки. Если будущая технология интегральных схем заменит БИС в результате развития полупроводниковой технологии или другой производной технологии, функциональные блоки могут быть объединены с использованием будущей технологии интегральных схем. Также может быть применена биотехнология.
[00131] Кроме того, настоящее изобретение может быть реализовано с помощью аппаратуры, устройства или системы любого типа, имеющих функцию осуществления связи, которые упоминаются как устройство связи. Некоторые неограничивающие примеры такого устройства связи включают телефон (например, мобильный (сотовый) телефон, смартфон), планшет, персональный компьютер (ПК) (например, ноутбук, настольный компьютер, нетбук), камеру (например, цифровую фотокамеру/видеокамеру), цифровой проигрыватель (цифровой аудио/видеопроигрыватель), носимое устройство (например, носимую камеру, умные часы, отслеживающее устройство), игровую консоль, цифровое устройство для чтения книг, устройство для дистанционного проведения диагностических и лечебных манипуляций/телемедицины (удаленной диагностики здоровья и оказания медицинских услуг) и транспортное средство, имеющее функциональные возможности связи (например, автомобиль, воздушное судно, корабль), а также различные их комбинации.
[00132] Устройство связи не ограничивается носимыми или переносными устройствами и может также включать в себя аппарат, устройство или систему любого типа, которые не являются переносными или стационарными, например, устройство «Умный дом» (например, прибор, устройство для освещения, интеллектуальное измерительное устройство, панель управления), торговый автомат и любые другие «физические объекты» в сети «Интернета физических объектов (IoT)».
[00133] Связь может включать в себя обмен данными посредством, например, сотовой системы, системы беспроводной LAN, спутниковой системы и т.д., а также различных их комбинаций.
[00134] Устройство связи может содержать устройство, такое как контроллер или датчик, который соединен с устройством связи, выполняющим функцию осуществления связи, описанную в настоящем раскрытии. Например, устройство связи может содержать контроллер или датчик, который генерирует сигналы управления или сигналы данных, используемые устройством связи, выполняющим функцию осуществления связи аппаратуры связи.
[00135] Устройство связи также может включать в себя объект инфраструктуры, такой как базовая станция, точка доступа и любой другой аппарат, устройство или система, которые осуществляют связь с аппаратурой или управляют аппаратурой, например, упоминавшейся в приведенных выше неограничивающих примерах.
Изобретение относится к многополосному устройству связи, многополосной точке доступа и способам связи для многополосной работы, а именно к многополосным устройствам связи, которые работают во множестве полос частот в беспроводной сети. Техническим результатом изобретения является уменьшение сетевого трафика и перегруженности, ускорение аутентификации и ассоциирования, а также обеспечение более эффективного выполнения операций в беспроводной сети. Многополосное устройство связи содержит передатчик и приемник. Передатчик в процессе работы передает кадр «Запрос ассоциирования» на многополосное устройство связи точки доступа (Access point, АР) на одной полосе частот. Приемник в процессе работы принимает от многополосного устройства связи точки доступа кадр «Ответ об ассоциировании» на указанной одной полосе частот. Кадр «Запрос ассоциирования» указывает множество полос частот, запрошенных для многополосной настройки. Кадр «Ответ об ассоциировании» указывает полосу (полосы) частот, которая успешно принята или которые успешно приняты. 2 н. и 16 з.п. ф-лы, 22 ил.
1. Многополосное устройство связи, не являющееся точкой доступа (non-Access point, non-АР), содержащее:
передатчик, который в процессе работы передает кадр «Запрос ассоциирования» на многополосное устройство связи точки доступа (Access point, АР) на одной полосе частот, причем кадр «Запрос ассоциирования» указывает множество полос частот, запрошенных для многополосной настройки, и
приемник, который в процессе работы принимает от многополосного устройства связи точки доступа кадр «Ответ об ассоциировании» на указанной одной полосе частот, причем кадр «Ответ об ассоциировании» указывает полосу (полосы) частот, которая успешно принята или которые успешно приняты.
2. Многополосное устройство связи, не являющееся точкой доступа (non-Access point, non-АР), по п. 1, в котором обеспечена возможность выполнения многополосной настройки на любой из множества полос частот.
3. Многополосное устройство связи, не являющееся точкой доступа (non-Access point, non-АР), по п. 1, в котором кадр «Запрос ассоциирования» включает в себя общее информационное поле и множество специфических для полосы полей.
4. Многополосное устройство связи, не являющееся точкой доступа (non-Access point, non-АР), по п. 1, в котором единая запись ассоциирования хранится на многополосном устройстве связи точки доступа для множества полос частот.
5. Многополосное устройство связи, не являющееся точкой доступа (non-Access point, non-АР), по п. 4, в котором единая запись ассоциирования включает в себя по меньшей мере одно из следующего: переменная состояния ассоциирования, идентификатор ассоциирования (Association ID, AID) и ключи безопасности для каждой из множества полос частот.
6. Многополосное устройство связи, не являющееся точкой доступа (non-Access point, non-АР), по п. 1, в котором для идентификации многополосного устройства связи, не являющегося точкой доступа, используют унифицированный МАС-адрес.
7. Многополосное устройство связи, не являющееся точкой доступа (non-Access point, non-АР), по п. 1, в котором многополосному устройству связи, не являющемуся точкой доступа, назначен единый идентификатор ассоциирования (Association ID, AID).
8. Многополосное устройство связи, не являющееся точкой доступа (non-Access point, non-АР), по п. 1, в котором для управления множеством специфических для полосы уровней MAC и множеством специфических для полосы уровней PHY используют единую точку доступа к услугам MAC (MAC Service Access Point, SAP).
9. Многополосное устройство связи, не являющееся точкой доступа (non-Access point, non-АР), по п. 1, в котором после выполнения многополосной настройки приемник выполнен с возможностью одновременного приема множества сигналов по успешно принятой полосе частот или по успешно принятым полосам частот.
10. Способ связи для многополосного устройства связи, не являющегося точкой доступа (non-Access point, non-АР), включающий:
передачу кадра «Запрос ассоциирования» на многополосное устройство связи точки доступа (Access point, АР) на одной полосе частот, причем кадр «Запрос ассоциирования» указывает множество полос частот, запрошенных для многополосной настройки, и
прием от многополосного устройства связи точки доступа кадра «Ответ об ассоциировании» на указанной одной полосе частот, причем кадр «Ответ об ассоциировании» указывает полосу (полосы) частот, которая успешно принята или которые успешно приняты.
11. Способ связи по п. 10, в котором обеспечена возможность выполнения многополосной настройки на любой из множества полос частот.
12. Способ связи по п. 10, в котором кадр «Запрос ассоциирования» включает в себя общее информационное поле и множество специфических для полосы полей.
13. Способ связи по п. 10, в котором единая запись ассоциирования хранится на многополосном устройстве связи точки доступа для множества полос частот.
14. Способ связи по п. 13, в котором единая запись ассоциирования включает в себя по меньшей мере одно из следующего: переменная состояния ассоциирования, идентификатор ассоциирования (Association ID, AID) и ключи безопасности для каждой из множества полос частот.
15. Способ связи по п. 10, в котором для идентификации многополосного устройства связи, не являющегося точкой доступа, используют унифицированный МАС-адрес.
16. Способ связи по п. 10, в котором многополосному устройству связи, не являющемуся точкой доступа, назначен единый идентификатор ассоциирования (Association ID, AID).
17. Способ связи по п. 10, в котором для управления множеством специфических для полосы уровней MAC и множеством специфических для полосы уровней PHY используют единую точку доступа к услугам MAC (MAC Service Access Point, SAP).
18. Способ связи по п. 10, включающий
после выполнения многополосной настройки, одновременный прием множества сигналов по успешно принятой полосе частот или по успешно принятым полосам частот.
| US 20170019785 A1, 19.01.2017 | |||
| US 20160044711 A1, 11.02.2016 | |||
| US 2018092039 A1, 29.03.2018 | |||
| US 2012094706 A1, 19.04.2012 | |||
| US 2014010186 A1, 09.01.2014 | |||
| US 2018054847 A1, 22.02.2018 | |||
| СПОСОБ И УСТРОЙСТВО ДЛЯ ПРИЕМА И ПЕРЕДАЧИ МАЯКА СИСТЕМЕ БЕСПРОВОДНОЙ ЛВС | 2013 |
|
RU2574600C1 |
| МНОЖЕСТВЕННЫЙ ДОСТУП С ПРОСТРАНСТВЕННЫМ РАЗДЕЛЕНИЕМ И ОЦЕНКА КАНАЛА ДЛЯ БЕСПРОВОДНОЙ ЛОКАЛЬНОЙ СЕТИ | 2009 |
|
RU2463720C1 |
| СПОСОБ И СИСТЕМА ДЛЯ ВЫБОРА РЕТРАНСЛЯЦИОННОЙ СТАНЦИИ-ОТВЕТЧИКА В СЕТЯХ БЕСПРОВОДНОЙ СВЯЗИ | 2011 |
|
RU2529891C2 |
Авторы
Даты
2024-12-24—Публикация
2019-06-12—Подача