Изобретение относится к способу и устройству для изготовления изделий путем компрессионного формования формуемого материала.
Формуемый материал, с которым можно манипулировать в способе и устройстве, выполненными в соответствии с изобретением, представляет собой, например, синтетический полимерный материал.
Устройства для компрессионного формования, предназначенные для изготовления изделий из полимерного материала, известны. Известные устройства содержат экструдер, из которого вытекает непрерывный экструдат полимерного материала, и один или несколько режущих элементов для разрезания непрерывного экструдата с целью отделения от последнего последовательных доз полимерного материала. Известные устройства дополнительно содержат одну или несколько форм для приема соответствующих доз полимерного материала и изготовления изделия из каждой дозы.
Дозы, используемые в известных устройствах, обычно имеют простую форму, например, сферическую или цилиндрическую, по причинам, связанным со способами их изготовления. Форма доз часто сильно отличается от формы изготавливаемых изделий. В некоторых случаях это может создавать неудобства из-за трудностей с правильным введением дозы в пресс-форму.
В частности, могут иметь место случаи, когда пресс-форма имеет формовочную полость, имеющую малый поперечный размер по сравнению с размерами дозы, поскольку соответствующий размер изготавливаемого изделия мал. Может даже случиться так, что доза не может быть введена в формовочную полость, потому что поперечный размер формовочной полости меньше, чем соответствующий поперечный размер дозы.
Если это происходит, то изделие не может быть получено компрессионным формованием, если только не используются дозы, имеющие относительно сложную форму, более близкую к форме формовочной полости, что не всегда возможно и в любом случае требует сложных устройств для изготовления дозы.
В документе US 2006/0034973 описана пресс-форма для изготовления контейнеров, таких как ящики, путем формования пластмассового материала. Пластмассовый материал впрыскивается в полость пресс-формы, пока пресс-форма находится в закрытом положении. Затем часть боковой стенки полости пресс-формы перемещают для уменьшения объема полости и формования контейнера.
В патенте US 5378416 описан способ изготовления пресс-формы из порошка, причем пресс-форма имеет поднутренную часть. Используется пресс-форма, которая содержит два подвижных пластинчатых элемента, отодвигающихся друг от друга, чтобы выйти из взаимодействия с поднутренной частью изделия и обеспечить возможность извлечения изделия из пресс-формы. Таким образом, пластинчатые элементы являются подвижными для увеличения объема формовочной камеры, из которой должно быть извлечено отформованное изделие.
В документе FR 1549502 описано устройство для уплотнения оптических волокон, содержащее шесть секторов, расположенных вокруг оси, и стальное кольцо, которое воздействует на сектора, приближая их к оси, уменьшая расстояние между парами обращенных друг к другу секторов. Устройство содержит корпус и крышку, которую можно снять, чтобы ввести оптические волокна между секторами, а затем снова надеть. В документе FR 1549502 невозможно определить направление формования. Кроме того, устройство, раскрытое в документе FR 1549502, не оказывает никакого осевого сжатия на оптические волокна, поскольку расстояние между двумя графитовыми блоками, которые расположены, соответственно, над оптическими волокнами и под ними, является постоянным.
Целью изобретения является усовершенствование устройств и способов компрессионного формования для изготовления изделий из формуемого материала, например, из синтетического полимерного материала.
Еще одна цель состоит в усовершенствование способов введения дозированного количества формуемого материала в пресс-форму, используемую для изготовления изделия.
Другая цель состоит в том, чтобы обеспечить возможность, путем компрессионного формования дозированного количества (дозы) формуемого материала, также производить изделия, имеющие малый поперечный размер по сравнению с размером указанной дозы формуемого материала.
В первом аспекте изобретения предложен способ формования изделия, включающий следующие этапы:
- использование пресс-формы, содержащей первую часть и вторую часть, расположенные напротив друг друга, причем одна часть, выбранная между первой и второй частями пресс-формы, содержит несколько секторов для придания формы по меньшей мере боковой части изделия, причем указанные секторы ограничивают формовочную область пресс-формы переменного объема;
- размещение дозированного количества (дозы) формуемого материала между первой и второй частями пресс-формы;
- перемещение первой и второй частей пресс-формы навстречу друг другу в направлении формования, чтобы сформировать между первой и второй частями пресс-формы закрытую формовочную камеру, путем приведения в контакт соответствующих контактных поверхностей первой и второй частей пресс-формы, причем контактные поверхности проходят поперечно направлению формования,
при этом способ дополнительно включает этап перемещения указанных секторов поперечно направлению формования для уменьшения объема формовочной области переменного объема.
Благодаря первому аспекту изобретения в пресс-форме может быть выполнена формовочная область переменного объема. В формовочную камеру переменного объема может вводиться дозированное количество или доза формуемого материала, имеющая относительно большой размер и форму, совершенно отличную от формы получаемого изделия. Это обеспечивает возможность производить с помощью технологии компрессионного формования большое количество изделий различных форм и размеров, начиная с доз, имеющих простую геометрию, которые, следовательно, легко получить и которыми легко манипулировать.
В одном варианте выполнения дозу формуемого материала помещают между первой и второй частями пресс-формы, когда пресс-форма находится в открытом положении, т.е. когда первая и вторая части пресс-формы отстоят друг от друга на некоторое расстояние.
В одном варианте выполнения пресс-форма содержит формовочный компонент, который проходит в формовочную область переменного объема, сжимая формуемый материал в направлении формования.
Формовочный компонент обеспечивает возможность постепенного уменьшения размера формовочной камеры в направлении формования. Другими словами, формовочный компонент обеспечивает возможность постепенного уменьшения толщины изделия, которое должно быть отформовано, при этом указанная толщина измеряется в направлении, параллельном направлению формования.
Таким образом, можно сжимать формуемый материал как параллельно направлению формования, так и поперечно направлению формования.
В одном варианте выполнения этап перемещения указанных секторов поперечно направлению формования начинают до того, как будет образована замкнутая формовочная камера, т.е. до того, как соответствующие контактные поверхности первой и второй частей пресс-формы будут приведены во взаимный контакт.
Это обеспечивает возможность начать уменьшение объема формовочной области переменного объема сразу после подачи дозированного количества (дозы) формуемого материала в пресс-форму, не дожидаясь закрытия формовочной камеры.
В частности, этап перемещения указанных секторов также может начинаться до того, как первая и вторая части пресс-формы начнут перемещаться друг к другу, образуя закрытую формовочную камеру.
В одном варианте выполнения указанные секторы могут перемещаться между первым положением и вторым положением. В первом положении указанные секторы ограничивают увеличенную конфигурацию формовочной области переменного объема. Во втором положении указанные секторы ограничивают окончательную конфигурацию формовочной области переменного объема.
В одном варианте выполнения дозированное количество, или дозу, наносят на часть, выбранную из первой и второй частей пресс-формы, при этом указанная доза имеет поперечно (точнее, перпендикулярно) направлению формования меньшие размеры, чем соответствующие размеры формовочной области переменного объема в увеличенной конфигурации поперечно (точнее, перпендикулярно) направлению формования.
Это предотвращает преждевременное касание указанной дозой секторов, что могло бы вызвать нежелательные деформации дозы и/или поставить под угрозу правильное расположение дозы в пресс-форме.
В одном варианте выполнения второе положение достигается до того, как будет образована закрытая формовочная камера.
В этом случае первая и вторая части пресс-формы вступают в контакт только после достижения конечной конфигурации формовочной области с переменным объемом.
В одном варианте выполнения указанные секторы (которые включены в часть пресс-формы, выбранную из первой и второй частей пресс-формы) обращены к другой части пресс-формы, выбранной из второй части пресс-формы и первой части пресс-формы, так чтобы находиться в контакте с указанной другой частью пресс-формы после образования закрытой формовочной камеры.
Путем перевода секторов во второе положение, соответствующее конечной конфигурации формовочной области переменного объема, перед образованием закрытой формовочной камеры можно предотвратить скольжение секторов в контакте с обращенной к ним частью пресс-формы во время их приведения во второе положение. Таким образом, уменьшается трение, которое должны преодолеть сектора, чтобы переместиться из первого положения во второе положение.
В одном варианте выполнения часть пресс-формы, обращенная к указанным секторам, может содержать блокирующую часть, предназначенную для взаимодействия с краевой зоной дозы для прижатия краевой зоны к формовочному компоненту части пресс-формы, с которой связаны сектора, таким образом, чтобы заблокировать указанную дозу в контакте с формовочным компонентом, когда ей придается форма.
Блокирующая часть предотвращает нежелательное смещение дозы во время формования.
В альтернативном варианте выполнения возможно, чтобы этап перемещения указанных секторов поперечно направлению формования начинался до образования закрытой формовочной камеры, но второе положение секторов достигалось после того, как формовочная камера была закрыта.
В другом альтернативном варианте выполнения этап перемещения указанных секторов поперечно направлению формования начинается после образования закрытой формовочной камеры.
Это предотвращает нежелательное вытекание формуемого материала из пресс-формы из-за перемещения секторов.
В одном варианте выполнения первая часть пресс-формы представляет собой охватывающую часть пресс-формы, тогда как вторая часть пресс-формы представляет собой охватываемую часть пресс-формы.
Первая часть пресс-формы может быть расположена ниже второй части пресс-формы.
В качестве альтернативы, первая часть пресс-формы может быть расположена над второй частью пресс-формы.
Поэтому может случиться, что охватывающая часть пресс-формы расположена ниже охватываемой части пресс-формы или, в качестве альтернативы, охватывающая часть пресс-формы расположена над охватываемой частью пресс-формы.
Этап размещения дозы формуемого материала между первой и второй частями пресс-формы может включать нанесение дозы на часть пресс-формы, выбранную из первой и второй частей пресс-формы, которая находится ниже другой части пресс-формы, выбранной из второй части пресс-формы и первой части пресс-формы.
Указанные секторы могут быть включены в первую часть пресс-формы или, в качестве альтернативы, во вторую часть пресс-формы.
Следовательно, возможно, что указанные секторы связаны с охватывающей частью пресс-формы или с охватываемой частью пресс-формы.
В одном варианте выполнения этап перемещения первой и второй частей пресс-формы навстречу друг другу в направлении формования происходит посредством приводного устройства, которое перемещает по меньшей мере одну часть пресс-формы, выбранную между первой и второй частями пресс-формы в направлении другой части пресс-формы, выбранной между второй частью пресс-формы и первой частью пресс-формы.
В одном варианте выполнения указанные секторы связаны с частью пресс-формы, перемещаемой приводным устройством.
Этот вариант выполнения обеспечивает возможность использовать перемещение, создаваемое приводным устройством, также для перемещения указанных секторов поперечно направлению формования. С этой целью указанные секторы могут перемещаться поперечно направлению формования благодаря взаимодействию с механическими устройствами управления, связанными с другой частью пресс-формы, т.е. частью пресс-формы, противоположной той, которая перемещается приводным устройством.
Во втором аспекте изобретения предложено устройство для формования изделия, содержащее по меньшей мере одну пресс-форму, которая содержит первую часть и вторую часть, расположенные напротив друг друга, причем часть, выбранная из первой и второй частей пресс-формы, содержит несколько секторов для по меньшей мере частичного формования боковой поверхности изделия, причем указанные секторы ограничивают формовочную область пресс-формы с переменным объемом, при этом устройство дополнительно содержит приводное устройство для приближения первой и второй частей пресс-формы по отношению друг к другу вдоль направления формования, чтобы привести эти части пресс-формы во взаимный контакт вдоль соответствующих контактных поверхностей, расположенных поперечно направлению формования, образуя между первой и второй частями пресс-формы закрытую формовочную камеру, при этом устройство дополнительно содержит толкающие средства для перемещения секторов поперечно направлению формования для уменьшения объема формовочной области с переменным объемом.
Устройство, предложенное во втором аспекте изобретения, обеспечивает возможность получения преимуществ, описанных выше применительно к способу в соответствии с первым аспектом изобретения.
В третьем аспекте изобретения предложен способ формования изделия, включающий следующие этапы:
- использование пресс-формы, содержащей первую часть и вторую часть, расположенные напротив друг друга, причем одна часть, выбранная из первой и второй частей пресс-формы, содержит несколько секторов для формования по меньшей мере боковой части изделия;
- размещение дозы формуемого материала между первой и второй частями пресс-формы;
- перемещение первой и второй частей пресс-формы навстречу друг другу в направлении формования до тех пор, пока первая и вторая части пресс-формы не войдут в контакт, тем самым образуя между собой закрытую формовочную камеру,
- уменьшение объема закрытой формовочной камеры для формования изделия,
при этом этап уменьшения объема закрытой формовочной камеры включает перемещение указанных секторов поперечно направлению формования после образования закрытой формовочной камеры.
В способе, в соответствии с третьим аспектом изобретения, до закрытия формовочной камеры секторы могут быть расположены на относительно большом взаимном расстоянии. Это также обеспечивает возможность размещения в пресс-форме дозированных количеств (доз) формуемого материала, имеющих большие размеры по отношению к размеру формируемого изделия. Таким образом, путем компрессионного формования можно изготавливать изделия, которые невозможно получить с помощью традиционных машин для компрессионного формования.
Благодаря секторам, которые могут перемещаться поперечно направлению формования для уменьшения объема закрытой формовочной камеры, формовочная камера может первоначально иметь форму, сильно отличающуюся от формы готового изделия. Это обеспечивает возможность использования доз простой формы, которую легко получить, а также изготавливать изделия, имеющие достаточно сложную геометрию.
Благодаря формовочной камере большего размера, чем изготавливаемое изделие, снижается риск нежелательного взаимодействия формуемого материала с пресс-формой, например, из-за преждевременного прилипания к боковой поверхности формовочной камеры, что может повлиять на качество получаемого изделия. Таким образом, можно значительно улучшить введение дозы в пресс-форму.
В одном варианте выполнения, когда первая и вторая части пресс-формы находятся в контакте, упорный элемент, включенный во вторую часть пресс-формы, упирается в контактную поверхность секторов, которые входят в первую часть пресс-формы.
В одном варианте выполнения упорный элемент представляет собой трубчатый элемент, окружающий формовочный компонент, включенный во вторую часть пресс-формы.
В одном варианте выполнения после закрытия формовочной камеры предусмотрено взаимное перемещение формовочного компонента и трубчатого элемента для проникновения формовочного компонента в первую часть пресс-формы.
Таким образом можно придать форму формуемому материалу, помещенному в первую часть пресс-формы.
В одном варианте выполнения указанные секторы включены в первую часть пресс-формы, при этом первая часть пресс-формы дополнительно содержит элемент для формования торца, который вместе с секторами ограничивает формовочную полость.
Таким образом, можно формировать внешнюю поверхность изделия, которое должно быть изготовлено в первой части пресс-формы.
В частности, формовочная полость может иметь боковую поверхность и поперечную поверхность, расположенную на одном конце боковой поверхности, чтобы закрывать боковую поверхность на этом конце.
Боковая поверхность может быть полностью ограничена секторами, и в этом случае элемент для формования торца ограничивает только указанную поперечную поверхность формовочной полости.
В альтернативном варианте выполнения боковая поверхность частично образована секторами и частично образована элементом для формования торца.
В этом случае элемент для формования торца имеет углубление, в котором может быть частично отформована боковая стенка изделия.
Элемент для формования торца также ограничивает указанную поперечную поверхность формовочной полости.
Это обеспечивает возможность получения изделий, имеющих значительный размер в направлении формования, как это происходит, например, в случае заготовок для контейнеров.
В одном варианте выполнения изготавливаемое изделие имеет отверстие.
Первая часть пресс-формы имеет выступающий элемент, выступающий из элемента для формования торца, для формования внутренней части указанного отверстия.
В одном варианте выполнения этап размещения включает размещение указанной дозы в нецентральном положении по отношению к указанным секторам сбоку от выступающего элемента.
При перемещении секторов поперечно направлению формования для уменьшения объема закрытой формовочной камеры указанная доза выравнивается вокруг выступающего элемента, что обеспечивает возможность сформировать отверстие в изготавливаемом изделии.
Это обеспечивает возможность получения перфорированных изделий, не отталкиваясь от доз формуемого материала кольцевой формы, которые достаточно сложно изготовить.
В четвертом аспекте изобретения предложено устройство для формования изделия, содержащее пресс-форму, которая содержит первую часть и вторую часть, расположенные напротив друг друга, причем часть, выбранная из первой и второй частей пресс-формы, содержит несколько секторов для по меньшей мере частичного формования боковой поверхности изделия, при этом устройство дополнительно содержит приводное устройство для приведения первой и второй частей пресс-формы во взаимный контакт, тем самым образуя между этими частями пресс-формы закрытую формовочную камеру, при этом устройство дополнительно содержит толкающие средства для перемещения секторов поперечно направлению формования после того, как формовочная камера была закрыта, чтобы уменьшить объем закрытой формовочной камеры.
Как уже было описано со ссылкой на третий аспект изобретения, устройство, выполненное в соответствии с четвертым аспектом изобретения, также обеспечивает возможность улучшения позиционирования указанной дозы между первой и второй частями пресс-формы, а также расширения ассортимента изделий, которые можно изготовить.
В пятом аспекте изобретения предложен способ формования изделия, включающий следующие этапы:
- использование пресс-формы, содержащей первую часть и вторую часть, расположенные напротив друг друга;
- размещение дозы формуемого материала между первой и второй частями пресс-формы;
- перемещение первой и второй частей пресс-формы навстречу друг другу в направлении формования для формования изделия из указанной дозы путем компрессионного формования,
при этом краевая зона указанной дозы блокируется между первой и второй частями пресс-формы до начала деформации центральной зоны указанной дозы.
Это обеспечивает возможность избежать нежелательных деформаций указанной дозы при формовании. Например, можно предотвратить усадку указанной дозы или ее расположение не по центру в форме при деформации между первой и второй частями пресс-формы.
В шестом аспекте изобретения предложено устройство для формования изделия из дозы формуемого материала, содержащее по меньшей мере одну пресс-форму, содержащую первую часть и вторую часть, расположенные напротив друг друга, приводное устройство для перемещения первой и второй частей пресс-формы друг к другу в направлении формования, чтобы сформировать изделие из указанной дозы посредством компрессионного формования, при этом часть пресс-формы, выбранная между первой и второй частями пресс-формы, содержит блокирующую часть, предназначенную для взаимодействия с краевой зоной указанной дозы для прижимания краевой зоны к другой части пресс-формы, выбранной между второй частью пресс-формы и первой частью пресс-формы, чтобы блокировать дозу в контакте с указанной другой частью пресс-формы когда дозе придается форма.
Блокирующая часть предотвращает нежелательное перемещение указанной дозы во время формования.
Изобретение можно понять более полно и реализовать со ссылкой на прилагаемые чертежи, которые иллюстрируют некоторые варианты его реализации в качестве неограничивающих примеров и на которых:
Фиг. 1 изображает разрез пресс-формы для изготовления изделия, сделанный по плоскости, содержащей ось пресс-формы,
Фиг. 2 изображает разрез по плоскости II-II, показанной на Фиг. 1, на котором дозированное количество скользящего материала не показано;
Фиг. 3 изображает разрез, аналогичный показанному на Фиг. 1, относящийся к этапу, на котором ограничена закрытая формовочная камера в форме;
Фиг. 4 изображает разрез, аналогичный показанному на Фиг. 2, относящийся к этапу, проиллюстрированному на Фиг. 3;
Фиг. 5 изображает разрез, аналогичный показанному на Фиг. 1, относящийся к этапу, на котором указанные секторы взаимно сближают для уменьшения объема закрытой формовочной камеры;
Фиг. 6 изображает разрез, аналогичный показанному на Фиг. 1, относящийся к этапу формования концов;
Фиг. 7 изображает разрез, аналогичный показанному на Фиг. 2, относящийся к ситуации, показанной на Фиг. 6;
Фиг. 8 изображает разрез пресс-формы для изготовления изделия в соответствии с альтернативным вариантом выполнения, взятый по плоскости, содержащей ось пресс-формы;
Фиг. 9 изображает вид сверху на первую часть пресс-формы, показанной на Фиг. 8;
Фиг. 10 изображает разрез, аналогичный показанному на Фиг. 8, относящийся к этапу, на котором в форме ограничена закрытая формовочная камера;
Фиг. 11 изображает вид сверху, как на Фиг. 9, относящийся к этапу, проиллюстрированному на Фиг. 10;
Фиг. 12 изображает разрез, аналогичный показанному на Фиг. 8, относящийся к этапу, на котором указанные секторы взаимно сближают для уменьшения объема закрытой формовочной камеры;
Фиг. 13 изображает вид сверху, как на Фиг. 9, относящийся к этапу, проиллюстрированному на Фиг. 12;
Фиг. 14 изображает разрез, аналогичный показанному на Фиг. 8, относящийся к этапу формования концов;
Фиг. 15 изображает вид сверху, как на Фиг. 9, относящийся к этапу, проиллюстрированному на Фиг. 14;
Фиг. 16 изображает разрез пресс-формы для изготовления изделия в соответствии с другим вариантом выполнения, выполненный в плоскости, содержащей ось пресс-формы;
Фиг. 17 изображает вид сверху на первую часть пресс-формы, показанной на Фиг. 16;
Фиг. 18 изображает разрез, аналогичный показанному на Фиг. 16, относящийся к этапу, на котором в форме ограничена закрытая формовочная камера;
Фиг. 19 изображает вид сверху, как на Фиг. 17, относящийся к этапу, проиллюстрированному на Фиг. 18;
Фиг. 20 изображает разрез, аналогичный показанному на Фиг. 16, относящийся к этапу, на котором указанные секторы взаимно сближают для уменьшения объема закрытой формовочной камеры;
Фиг. 21 изображает вид сверху, как на Фиг. 17, относящийся к этапу, проиллюстрированному на Фиг. 20;
Фиг. 22 изображает разрез, аналогичный показанному на Фиг. 16, относящийся к этапу формования конца;
Фиг. 23 изображает вид сверху, как на Фиг. 17, относящийся к этапу, проиллюстрированному на Фиг. 22;
Фиг. 24-26 изображают разрезы пресс-формы для изготовления изделия в соответствии с еще одним альтернативным вариантом выполнения, взятые на плоскости, содержащей ось пресс-формы и относящиеся к трем последовательным рабочим этапам пресс-формы.
Фиг. 27 изображает схематический вид в разрезе, как и на Фиг. 1, относящийся к пресс-форме, в которой обрабатывается многослойный материал;
Фиг. 28 изображает схематический вид в разрезе, как и на Фиг. 27, относящийся к этапу, на котором образована закрытая формовочная камера;
Фиг. 29 изображает схематический вид в разрезе, как и на Фиг. 27, относящийся к этапу, на котором указанные секторы взаимно сближают для уменьшения объема закрытой формовочной камеры;
Фиг. 30 изображает схематический вид в разрезе, как и на Фиг. 27, относящийся к этапу формования конца;
Фиг. 31 изображает схематический вид, показывающий пресс-форму в соответствии с альтернативным вариантом выполнения в открытой конфигурации;
Фиг. 32 изображает схематический вид пресс-формы, показанной на Фиг. 31, относящийся к этапу, на котором указанные секторы взаимно сближают для уменьшения объема формовочной области с переменным объемом;
Фиг. 33 изображает схематический вид пресс-формы, показанной на Фиг. 31, относящийся к этапу, на котором была образована закрытая формовочная камера;
Фиг. 34 изображает схематический вид пресс-формы, показанной на Фиг. 31, относящийся к этапу формования концов;
Фиг. 35 изображает схематический, увеличенный и частичный вид, показывающий фрагмент Фиг. 34.
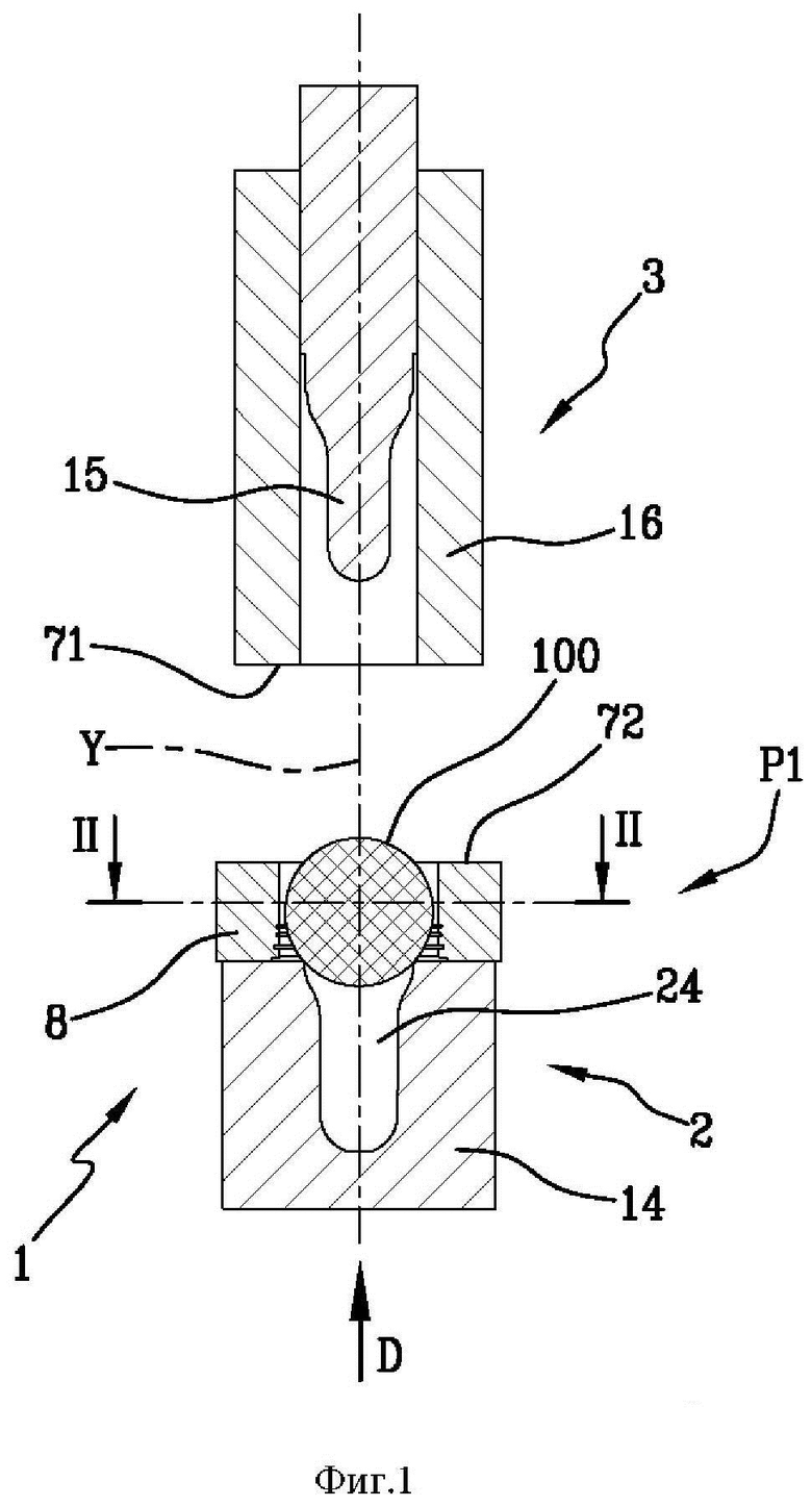
На Фиг. 1-7 схематически показана пресс-форма 1 формовочного устройства для изготовления изделия путем компрессионного формования формуемого материала.
В показанном примере формуемый материал представляет собой синтетический термопластический материал, который был предварительно экструдирован в экструзионном устройстве, которое не показано. Затем экструдированный материал разрезают на отдельные дозы или дозированные количества 100 формуемого материала, имеющие заданную массу. Каждая доза 100 предназначена для создания изделия.
В показанном примере доза 100 имеет по существу сферическую форму, но также возможны другие формы дозы 100, например, цилиндрическая или призматическая.
Формовочное устройство может содержать не показанное транспортное устройство для транспортировки каждой дозы 100 в пресс-форму 1 после отделения дозы 100 от материала, выходящего из экструдера.
Формовочное устройство может содержать несколько пресс-форм 1, например, установленных в периферийной области карусели, выполненной с возможностью вращения вокруг оси вращения.
В показанном примере пресс-форма 1 предназначена для формования заготовки для контейнера. Заготовка предназначена для формования раздувом или формования с раздувом с вытяжкой для получения контейнера. Заготовка представляет собой полое тело, имеющее боковую стенку, которая может быть цилиндрической или в форме усеченного конуса. Боковая стенка закрыта поперечной стенкой, которая может иметь куполообразную форму. Заготовка дополнительно содержит горлышко, которое снаружи может иметь фиксирующие средства для съемного крепления крышки к горлышку контейнера, полученного из заготовки. Крепежное средство может содержать, например, один или несколько витков резьбы.
Пресс-форма 1 содержит первую часть 2 и вторую часть 3, обращенные друг к другу. Непоказанное приводное устройство выполнено с возможностью перемещения первой 2 и второй 3 частей пресс-формы относительно друг друга вдоль направления D формования для взаимного сближения или, в качестве альтернативы, взаимного разнесения первой части 2 и второй части 3 друг от друга. Приводное устройство может быть гидравлическим, механическим или другого типа. Одним из примеров приводного устройства гидравлического типа является гидравлический привод. Одним из примеров приводного устройства механического типа является кулачковое устройство.
Приводное устройство может быть связано с первой частью 2 пресс-формы, чтобы приближать ее ко второй части 3 пресс-формы, в качестве альтернативы, отодвигать первую часть 2 пресс-формы от второй части 3 пресс-формы, которая остается неподвижной вдоль направления D формования. В качестве альтернативы, приводное устройство может быть связано со второй частью 3 пресс-формы, когда первая часть 2 пресс-формы остается неподвижной вдоль направления D формования. Приводное устройство также может быть связано как с первой частью 2 пресс-формы, так и со второй частью 3 пресс-формы, что таким образом, оба могут перемещаться вдоль направления D формования.
Кроме того, направление D формования, которое в показанном примере является вертикальным, также может быть невертикальным, например, горизонтальным или наклонным.
В показанном примере первая часть 2 пресс-формы представляет собой охватывающую часть пресс-формы, тогда как вторая часть 3 пресс-формы представляет собой охватываемую часть пресс-формы.
В показанном примере первая часть 2 пресс-формы расположена ниже второй части 3 пресс-формы, но это условие не является обязательным, и возможны другие взаимные расположения первой части 2 пресс-формы и второй части 3 пресс-формы.
Первая часть 2 пресс-формы имеет формовочную полость 24, в которой может быть придана форма внешней поверхности изделия. Формовочная полость 24 может иметь ось Y.
В показанном примере первая часть 2 пресс-формы содержит несколько секторов 8 и элемент 14 для формования торца, которые взаимодействуют с образованием формовочной полости 24.
В частности, секторы 8 выполнены с возможностью ограничения формовочной области 4 переменного объема формовочной полости 24, примыкающей ко второй части 3 пресс-формы. Элемент 14 выполнен с возможностью формования по меньшей мере одной торцевой стенки изделия, которая проходит поперечно направлению D формования.
В показанном примере в элементе 14 выполнено углубление 70, которое включено в формовочную полость 24. Углубление 70 ограничивает часть формовочной полости 24 постоянного объема.
Секторы 8 расположены между элементом 14 и второй частью 3 пресс-формы.
Секторы 8 и элемент 14 расположены так, чтобы придавать форму внешней поверхности изготавливаемого изделия. Более конкретно, если изготавливаемое изделие представляет собой заготовку, то секторы 8 предназначены для формования по меньшей мере горлышка заготовки снаружи, а элемент 14 предназначен для формования торцевой стенки заготовки снаружи, в дополнение к полому корпусу, расположенному между горлышком и торцевой стенкой.
Формовочная область 4 переменного объема ограничена боковой поверхностью 5, которая окружает центральную зону 6. Боковая поверхность 5 предназначена для придания внешней формы по меньшей мере горлышку заготовки.
Секторы 8 выполнены с возможностью ограничения боковой поверхности 5 формовочной области 4.
В показанном примере имеется четыре сектора 8, а именно первый сектор 8а, второй сектор 8b, третий сектор 8 с и четвертый сектор 8d.
Каждый сектор 8 находится в контакте с двумя соседними секторами 8. Например, в показанном варианте выполнения первый сектор 8а находится в контакте со вторым сектором 8b и четвертым сектором 8d, которые являются смежными с первым сектором 8а.
В не показанном альтернативном варианте выполнения также возможно предусмотреть количество секторов 8, отличное от четырех.
Секторы 8 могут иметь одинаковую форму.
Каждый сектор 8 содержит корпус 9, который может иметь по существу форму параллелепипеда. Из корпуса 9 выступает формовочный выступ 10, выступающий из части корпуса 9, обращенной к центральной зоне 6.
Корпус 9 ограничен формовочной поверхностью 11, обращенной к формовочной области 4 и предназначен для ограничения вместе с формовочными поверхностями 11 всех секторов 8 боковой поверхности 5 формовочной области 4.
В показанном примере формовочная поверхность 11 ограничивает формовочный выступ 10 соответствующего сектора 8.
Формовочная поверхность 11 может быть криволинейной.
В показанном примере каждая формовочная поверхность 11 имеет форму части цилиндра, более конкретно, четверти цилиндра, имеющей углубленные части и/или выступающие части для формования резьбы или других фиксирующих средств на горлышке заготовки.
Каждый сектор 8 дополнительно ограничен поверхностью 12 скольжения, расположенной рядом с формовочной поверхностью 11. Смежный сектор 8 скользит по поверхности 12 скольжения сектора 8, как будет более подробно описано ниже. Поверхность 12 скольжения имеет форму продолжения формовочной поверхности 11. Поверхность 12 скольжения может плавно примыкать к формовочной поверхности 11. Поверхность 12 скольжения может касаться формовочной поверхности 11. В показанном примере каждая поверхность 12 скольжения имеет по существу плоскую форму.
Каждый сектор 8 также имеет контактную поверхность 13, расположенную на противоположной от формовочной поверхности 11 стороне по отношению к поверхности 12 скольжения, т.е. на части формовочного выступа 10, обращенной в сторону от формовочной полости 24. Контактная поверхность 13 сектора 8 предназначена для скольжения по поверхности 12 скольжения соседнего сектора 8. В показанном примере контактная поверхность 13 имеет по существу плоскую форму.
Формовочное устройство дополнительно содержит несколько толкающих устройств, не показанных на чертежах, предназначенных для приложения силы к соответствующим секторам 8, чтобы толкать каждый сектор 8 к центральной зоне 6 формовочной области 4.
Каждое толкающее устройство может содержать привод, например, гидравлический, электрический или пневматический. В качестве альтернативы, каждое толкающее устройство может содержать механический привод, например, кулачкового типа.
Толкающие устройства позволяют перемещать секторы 8 между первым положением Р1, показанным на Фиг. 1 и 2, и вторым положением Р2, показанным на Фиг. 6 и 7. В первом положении Р1 секторы 8 образуют увеличенную конфигурацию С1 формовочной области 4. Во втором положении Р2 секторы 8 определяют окончательную конфигурацию С2 формовочной области 4.
В конечной конфигурации С2 формовочная область 4 имеет форму, соответствующую внешней форме горлышка заготовки. Вместо этого в увеличенной конфигурации С1 формовочная область 4 имеет большие размеры, чем размеры горлышка заготовки, то есть большие размеры по сравнению с размерами, которые имеет формовочная область 4 в конечной конфигурации С2. Для перехода от увеличенной конфигурации С1 к конечной конфигурации С2 объем формовочной области 4 уменьшается.
Можно предусмотреть количество толкающих устройств, равное количеству секторов 8, то есть по одному толкающему устройству, связанному с каждым сектором 8, так что каждый сектор 8 перемещается соответствующим толкающим устройством.
Например, как показано на Фиг. 4, первое толкающее устройство, не показанное, может быть выполнено с возможностью приложения первой силы F1 к первому сектору 8а, направленной вдоль первого направления D1. Первая сила F1 является такой, что она перемещает первый сектор 8а по направлению к центральной зоне 6 формовочной области 4, в частности, за счет уменьшения расстояния между поверхностью 12 скольжения первого сектора 8а и осью Y.
По мере того как первый сектор 8а перемещается в направлении оси Y формования, контактная поверхность 13 первого сектора 8а скользит по поверхности 12 скольжения второго сектора 8b. Первая сила F1, а также соответствующее первое направление D1 фактически направлены параллельно контактной поверхности 13 первого сектора 8а и поверхности 12 скольжения второго сектора 8b.
Кроме того, часть поверхности 12 скольжения первого сектора 8а, которая находится в контакте с четвертым сектором 8d, давит на четвертый сектор 8d (в частности, на его контактную поверхность 13) путем перемещения формовочного выступа 10 четвертого сектора 8d. к оси Y формования, т.е. к центральной зоне 6 формовочной области 4. Это происходит потому, что поверхность 12 скольжения первого сектора 8а и контактная поверхность 13 четвертого сектора 8d расположены поперечно, в частности, перпендикулярно первому направлению D1 действия первой силы F1.
Одновременно второе толкающее устройство воздействует на второй сектор 8b, прикладывая к последнему вторую силу F2, направленную во втором направлении D2, проходящему поперек первого направления D1.
В показанном примере второе направление D2 перпендикулярно первому направлению D1.
Таким образом, второй сектор 8b толкается к центральной зоне 6 формовочной области 4, т.е. к оси Y. При этом контактная поверхность 13 второго сектора 8b скользит по поверхности 12 скольжения третьего сектора 8с.
Второй сектор 8b находится в контакте с первым сектором 8а, поскольку контактная поверхность 13 первого сектора 8а находится в контакте с поверхностью 12 скольжения второго сектора 8b. Эти две поверхности расположены поперек, в частности, перпендикулярно второму направлению D2. Таким образом, под действием второго толкающего устройства второй сектор 8b передает вторую силу F2 первому сектору 8а.
Таким образом, к первому сектору 8а прикладывается результирующая сила, определяемая комбинацией первой силы F1 и второй силы F2, которая толкает формовочную поверхность 11 (в частности формовочный выступ 10) первого сектора 8а по направлению к оси Y вдоль траектории, расположенной наклонно по отношению к первому направлению D1 и второму направлению D2. Например, формовочная поверхность 11 первого сектора 8а может перемещаться к оси Y в направлении, наклоненном на 45° по отношению к первому направлению D1 и второму направлению D2.
Такая же ситуация возникает и в отношении других пар секторов 8. Например, третья сила F3, направленная в третьем направлении D3, прикладывается к третьему сектору 8 с благодаря третьему толкающему устройству. Третье направление D3 может быть таким же, как и первое направление D1, и противоположным ему.
Третья сила F3 толкает третий сектор 8 с к центральной зоне 6 формовочной области 4, когда контактная поверхность 13 третьего сектора 8 с скользит по поверхности 12 скольжения четвертого сектора 8d. Одновременно третья сила F3 передается второму сектору 8b, который находится в контакте с третьим сектором 8 с, поскольку поверхность 12 скольжения третьего сектора 8 с касается контактной поверхности 13 второго сектора 8b. Результирующая сила, создаваемая комбинацией второй силы F2 и третьей силы F3, прикладывается ко второму сектору 8b.
Четвертое толкающее устройство воздействует на четвертый сектор 8d четвертой силой F4, направленной в четвертом направлении D4, которое в показанном примере совпадает со вторым направлением D2 и противоположно ему. Таким образом, четвертое направление D4 расположено поперечно, в частности, перпендикулярно первому направлению D1 и третьему направлению D3.
Таким образом, четвертый сектор 8d перемещается к оси Y, скользя вдоль первого сектора 8а в направлении, параллельном четвертому направлению D4. Одновременно четвертый сектор 8d передает четвертую силу F4 третьему сектору 8 с.Результирующая сила, заданная комбинацией третьей силы F3 и четвертой силы F4, направленной вдоль направления, наклонного относительно третьего направления D3 и четвертого направления D4, затем действует на последнее.
Первая сила F1 от первого сектора 8а также передается четвертому сектору 8d, так что формовочный выступ 10 четвертого сектора 8d перемещается в направлении оси Y под совместным действием первой силы F1 и четвертой силы F4.
Как правило, к каждому из секторов 8 прикладывается сила, направленная по оси Y, которая толкает формовочный выступ 10 соответствующего сектора 8 по направлению к центральной зоне 6 формовочной области 4.
Одновременно контактная поверхность 13 рассматриваемого сектора 8, которая может быть параллельна силе, приложенной к этому сектору, скользит по поверхности 12 скольжения соседнего сектора 8. Поверхность 12 скольжения рассматриваемого сектора 8, которая расположена поперечно (например, перпендикулярно) контактной поверхности 13 следующего соседнего сектора 8, передает следующему соседнему сектору 8 силу, приложенную к рассматриваемому сектору 8, так, чтобы толкать формовочный выступ 10 следующего соседнего сектора в направлении ось Y.
Таким образом, на каждый сектор 8 воздействуют две силы, одна из которых обусловлена толкающим устройством, связанным с рассматриваемым сектором 8, а другая приложена сектором 8, смежным с рассматриваемым. Результат действия этих двух сил толкает формовочную поверхность 11 рассматриваемого сектора 8 в направлении оси Y по траектории, которая может быть радиальной по отношению к оси Y.
Таким образом, секторы 8 позволяют уменьшить объем формовочной области 4, в которой уже размещен формуемый материал.
В описанном выше примере для каждого сектора 8 предусмотрено толкающее устройство. В не показанном альтернативном варианте выполнения количество толкающих устройств может быть другим, в частности, меньшим количества секторов 8.
Например, в непоказанном варианте выполнения могут быть предусмотрены только два толкающих устройства, воздействующие, соответственно, на первый сектор 8а и второй сектор 8b, тогда как третий сектор 8 с и четвертый сектор 8d расположены в фиксированном положении.
Секторы 8 могут скользить в контакте с элементом 14 для формования торца для перемещения из первого положения Р1 во второе положение Р2.
Вторая часть 3 пресс-формы содержит охватываемый формовочный компонент 15, имеющий форму пуансона, который проходит вдоль оси Y и выполнен с возможностью проникновения в формовочную область 4, чтобы придать изготавливаемому изделию форму изнутри. Другими словами, охватываемый формовочный компонент 15 обеспечивает возможность сжатия формуемого материала в направлении, параллельном оси Y.
Упорный элемент 16, относительно которого может скользить охватываемый формовочный компонент 15, расположен снаружи охватываемого формовочного компонента 15. Упорный элемент 16 упирается в первую часть 2 пресс-формы по причинам, которые будут изложены ниже. Упорный элемент 16 может быть выполнен в виде трубчатого элемента, т.е. иметь отверстие, в котором размещается охватываемый формовочный компонент 15.
В альтернативном варианте выполнения, не показанном, охватываемый формовочный компонент 15 расположен внутри упорного элемента 16, при этом один или несколько компонентов располагаются между охватываемым формовочным компонентом 15 и упорным элементом 16.
Упорный элемент 16 ограничен передней поверхностью 71, которая проходит поперечно, в частности, перпендикулярно оси Y. Передняя поверхность 71 обращена к секторам 8, в частности к упорной поверхности 72, которая ограничивает секторы 8.
Во время работы пресс-форма 1 изначально находится в открытом положении, т.е. первая часть 2 пресс-формы и вторая часть 3 пресс-формы первоначально находятся в раздвинутом положении, показанном на Фиг. 1, в котором упорный элемент 16 не касается первой части 2 пресс-формы. В частности, передняя поверхность 71 трубчатого элемента 16 не соприкасается с упорной поверхностью 72 секторов 8. Формовочная полость 24 открыта сверху, при этом между первой частью 2 пресс-формы и второй частью 3 пресс-формы может быть введено не показанное транспортное устройство для размещения дозы 100 формуемого материала в формовочной полости 24. Охватываемый формовочный компонент 15 находится в убранном положении по отношению к упорному элементу 16 и не выступает из упорного элемента 16.
Секторы 8 расположены в первом положении Р1, в котором они определяют увеличенную конфигурацию С1 формовочной области 4. Таким образом, секторы 8 ограничивают формовочную область 4 переменного объема, имеющую относительно большой объем, который может получать дозу 100 формуемого материала, имеющую значительный размер, измеренный поперечно направлению D формования. В частности, доза 100 может иметь поперечный размер (например, диаметр в случае сферической дозы 100) больше чем наружный диаметр горлышка заготовки, предназначенной для формования из дозы 100.
В показанном примере доза 100 размещается между секторами 8 и первоначально опирается на верхнюю зону элемента 14 для формования торца. Таким образом, доза 100 первоначально размещается на расстоянии от дна углубления 70.
Кроме того, доза 100 имеет поперечный размер (например, диаметр в случае сферической дозы 100), меньший, чем соответствующий поперечный размер формовочной области 4, когда последняя находится в увеличенной конфигурации С1. Соответственно, когда доза 100 размещается в первой части 2 пресс-формы, доза 100 отстоит от секторов, в частности, от боковой поверхности 5 формовочной области 4.
Первая часть 2 пресс-формы и вторая часть 3 пресс-формы сближают до тех пор, пока упорный элемент 16 не упрется в секторы 8, как показано на Фиг. 3. В показанном примере приводное устройство, не показанное, воздействует на первую часть 2 пресс-формы и перемещает первую часть 2 пресс-формы по направлению ко второй части 3 пресс-формы, приводя контактную поверхность 72 секторов 8 в контакт с упорным элементом 16, в частности, с передней поверхностью 71 последнего. Таким образом, передняя поверхность 71 действует как дополнительная упорная поверхность, с которой контактирует упорная поверхность 72.
Когда секторы 8 и вторая часть 3 пресс-формы входят во взаимный контакт, т.е. когда соответствующие упорные поверхности 71,72 первой части 2 пресс-формы и второй части 3 пресс-формы соприкасаются, между первой частью 2 пресс-формы и второй частью 3 пресс-формы образуется закрытая формовочная камера 17, имеющая намного больший объем, чем конечный объем изготавливаемого изделия, т.е. заготовки, как показано на Фиг. 3. Более конкретно, формовочная камера 17 расположена между элементом 14 для формования торца, секторами 8, упорным элементом 16 и охватываемым формовочным компонентом 15.
Охватываемый формовочный компонент 15 все еще находится в убранном положении, в котором он не выступает из упорного элемента 16.
Секторы 8 все еще находятся в первом положении Р1, как показано на Фиг. 4. Следовательно, доза 100 еще не претерпела значительной деформации.
Приводное устройство продолжает толкать первую часть 2 пресс-формы к охватываемому формовочному компоненту 15. Таким образом, упорный элемент 16, который теперь находится в контакте с первой частью 2 пресс-формы, также отводится назад, например, путем сжатия одной или нескольких не показанных пружин.
Охватываемый формовочный компонент 15 может быть расположен в фиксированном положении в направлении D формования. Соответственно, поскольку упорный элемент 16 продолжает перемещаться назад (т.е. вверх на Фиг. 5) от первой части 2 пресс-формы, охватываемый формовочный компонент 15 начинает выступать из упорного элемента 16 и проходить в формовочную полость 24. Сначала охватываемый формовочный компонент 15 проходит в формовочную область 4, после чего он также входит в углубление 70, как показано на Фиг. 5. Таким образом, формуемый материал постепенно сжимается вдоль направления D формования, т.е. параллельно оси Y.
Одновременно секторы 8, находившиеся изначально в первом положении Р1, начинают сближаться друг с другом, в соответствии с описанным выше способами, как показано на Фиг. 5. В частности, каждый сектор 8 под действием силы, приложенной к нему соответствующим толкающим устройством и приложенной к нему смежным сектором 8, перемещается так, что соответствующая формовочная поверхность 11 приближается к оси Y, перемещаясь, например, по траектории, которая может быть прямолинейной, например, с наклоном под углом 45° относительно направлений двух сил, приложенных к рассматриваемому сектору 8.
Объем формовочной камеры 17 постепенно уменьшается, при этом формуемому материалу, который не показан на Фиг. 5-7, постепенно придается форма между первой частью 2 пресс-формы и второй частью 3 пресс-формы.
Первую часть 2 пресс-формы продолжают толкать к охватываемому формовочному компоненту 15, а секторы 8 продолжают перемещать по оси Y до тех пор, пока не будет достигнуто состояние, показанное на Фиг. 6 и 7. В этом состоянии секторы 8 достигли второго положения Р2, а охватываемый формовочный компонент 15 находится на расстоянии от нижней области углубления 70, которое по существу равно толщине торцевой стенки заготовки.
Таким образом, заготовка получается из дозы 100. Последнее остается в пресс-форме 1 и охлаждается благодаря не показанным охлаждающим средствам в течение времени, достаточного для достижения степени затвердевания, при которой с ней можно обращаться без ее повреждения. Затем с помощью последовательности этапов, противоположных описанной выше, пресс-форму 1 открывают, заготовку извлекают и можно начинать новый цикл формования.
Как видно при сравнении Фиг. 4 и 7, не только объем, но и форма формовочной области 4 изменяется от увеличенной конфигурации С1 до конечной конфигурации С2.
Более конкретно, в показанном примере в увеличенной конфигурации С1 боковая поверхность 5 формовочной области 4 ограничена несколькими криволинейными частями, соответствующими формовочным поверхностям 11, между которыми находятся соответствующие плоские части, соответствующие поверхностям 12 скольжения.
В конечной конфигурации С2 каждая формовочная поверхность 11 граничит с формовочной поверхностью 11 соседнего сектора 8, а поверхности 12 скольжения больше не обращены к формовочной области 4, поскольку каждая поверхность 12 скольжения закрыта или скрыта формовочным выступом 10 соседнего сектора.
Пресс-форма 1 обеспечивает возможность получать изделия хорошего качества, имеющие криволинейную боковую стенку, например, круглую.
На Фиг. 8-15 показана пресс-форма 301, выполненная в соответствии с альтернативным вариантом выполнения, которая обеспечивает возможность получения изделий, имеющих на виде сверху некруглую форму, например, многоугольную форму. В показанном примере, в частности, пресс-форма 301 обеспечивает возможность изготовления ложки, имеющей форму совка, в частности, для мороженого, йогурта или других сливочных продуктов. Однако пресс-форма, подобная пресс-форме 301, также может быть использована для изготовления других предметов, кроме ложек.
Части пресс-формы 301, аналогичные частям пресс-формы 1, описанным выше, будут обозначаться теми же номерами позиций, которые уже использовались для Фиг. 1-7, и не будут далее подробно описываться.
Пресс-форма 301 также особенно подходит для изготовления предметов из синтетического полимерного материала из дозы 100 синтетического полимерного материала. Доза 100 была отделена от непрерывного экструдата, вытекающего из экструзионного устройства, и затем оттранспортирована к пресс-форме 301 с помощью не показанного транспортировочного устройства.
В показанном примере доза 100 имеет по существу сферическую форму, но для дозы 100 возможны и другие формы.
Доза 100 имеет относительно большой размер по сравнению с размерами изделия, которое необходимо получить. В показанном примере доза 100 имеет диаметр, превышающий поперечный размер W формируемого изделия, как показано на Фиг. 15.
Пресс-форма 301 также содержит первую часть 302 и вторую часть 303, выполненные с возможностью перемещения относительно друг друга в направлении D формования, которое в показанном примере является вертикальным. Первая часть 302 пресс-формы и вторая часть 303 пресс-формы аналогичны первой части 2 пресс-формы и второй части 3 пресс-формы, описанным выше.
В частности, в показанном примере первая часть 302 пресс-формы представляет собой охватьшающую часть пресс-формы и расположена ниже второй части 303 пресс-формы.
Первая часть 302 пресс-формы содержит несколько секторов 308, выполненных с возможностью ограничения боковой поверхности 5, ограничивающей формовочную область 4 переменного объема.
В показанном примере секторы 308 имеют форму, отличающуюся друг от друга.
В частности, в показанном примере имеется четыре сектора 308, но количество секторов 308 может отличаться от четырех.
В показанном примере могут быть использованы первый сектор 308а, второй сектор 308b, третий сектор 308 с и четвертый сектор 308d, как показано на Фиг. 11.
Каждый сектор 308 ограничен формовочной поверхностью 311, обращенной к формовочной области 4.
В показанном примере первый сектор 308а и третий сектор 308 с имеют соответствующие по существу плоские формовочные поверхности 311. Второй сектор 308b и четвертый сектор 308d, с другой стороны, имеют формовочные поверхности 311, которые не являются плоскими, но имеют, например, ступеньку 56 для формования увеличенной части формируемой ложки. Увеличенная часть представляет собой часть для извлечения вещества, например, пищи, из контейнера.
Каждый сектор 308 также имеет поверхность 312 скольжения, расположенную рядом с формовочной поверхностью 311 этого сектора. Поверхность 312 скольжения может представлять собой продолжение формовочной поверхности 311. Поверхность 312 скольжения обращена к формовочной области 4.
Каждый сектор также имеет контактную поверхность 313, выполненную с возможностью скольжения по поверхности 312 скольжения соседнего сектора.
Поверхность 312 скольжения и контактная поверхность 313 могут быть плоскими. Контактная поверхность 313 сектора 308 расположена поперечно, в частности, перпендикулярно поверхности 312 скольжения того же сектора 308. Формовочная поверхность 311 расположена между контактной поверхностью 313 и поверхностью 312 скольжения сектора 308. Таким образом, концевая зона формовочной поверхности 311 примыкает к поверхности 312 скольжения, а дополнительная концевая зона формовочной поверхности 311, противоположная вышеупомянутой концевой зоне, примыкает к контактной поверхности 313.
Кроме того, имеется несколько не показанных толкающих устройств для приложения соответствующих сил к секторам 308, направленных к центральной зоне 6 формовочной области 4.
В частности, толкающие устройства выполнены с возможностью приложения к первому сектору 308а, второму сектору 308b, третьему сектору 308 с и четвертому сектору 308d, соответственно, первой силы F1, второй силы F2, третьей силы F3 и четвертой силы F4, как уже было описано выше со ссылкой на Фиг. 1-7.
Каждый сектор 308 выполнен с возможностью перемещения в направлении центральной зоны 6 формовочной области 4 за счет результирующей силы двух различных сил. Одна из этих сил прикладывается к сектору 308 соответствующим толкающим устройством, а другая сила, направленная поперечно (в частности, перпендикулярно) предыдущей, передается сектору 308 соседним сектором.
Под действием силы, приложенной соответствующим толкающим устройством к каждому сектору 308, последний перемещается в сторону центральной зоны 6, так что контактная поверхность 313 рассматриваемого сектора 308 скользит по поверхности 312 скольжения соседнего сектора. При этом соседний сектор 308 передает рассматриваемому сектору 308 силу, в результате чего поверхность 312 скольжения рассматриваемого сектора 308 «обтекает» контактную поверхность 313 следующего сектора 308, смежного с рассматриваемым сектором 308.
Первая часть 302 пресс-формы дополнительно содержит элемент 314 для формования торца, при контакте с которым секторы 308 могут скользить. Элемент 314 ограничивает формовочную область 4 поперечно направлению D формования со стороны, противоположной второй части 303 пресс-формы.
Элемент 314 вместе с секторами 308 ограничивает формовочную полость 24, которая в показанном примере открыта вверх.
В показанном примере торцевой элемент 314 представляет собой пластину.
В отличие от пресс-формы 1, показанной на Фиг. 1-7, элемент 314 не имеет никакого углубления, в котором можно формовать формуемый материал.
Таким образом, в пресс-форме 301, показанной на Фиг. 8-15, формовочная полость 24 имеет боковую поверхность, которая проходит вокруг оси Y и образована секторами 308. Формовочная полость 24 дополнительно имеет поперечную поверхность, образованную элементом 314 для формования торца. Поперечная поверхность формовочной полости 24 может быть плоской.
Вторая часть 303 пресс-формы содержит формовочный компонент 315, выполненный с возможностью проходить в формовочную полость 24 для придания формы желаемому изделию путем приложения сжимающего действия к формуемому материалу в направлении, параллельном оси Y, то есть вдоль направления D формования.
Формовочный компонент 315 расположен внутри упорного элемента 316, который в показанном примере имеет центральное отверстие, в котором размещается формовочный компонент 315. Упорный элемент 316 выполнен с возможностью упираться в секторы 308, закрывая формовочную камеру 17, расположенную между первой частью 302 пресс-формы и второй частью 303 пресс-формы.
Формовочный компонент 315 выполнен с возможностью перемещения скольжением вдоль направления D формования относительно упорного элемента 316.
Во время работы пресс-форма 301 первоначально находится в открытом положении, т.е. первая часть 302 пресс-формы и вторая часть 303 пресс-формы первоначально находятся в отстоящем друг от друга положении, как показано на Фиг. 8. Передняя поверхность 71 упорного элемента 316 отстоит от контактной поверхности 72 секторов 308. Таким образом, не показанное транспортировочное устройство может поместить дозированное количество (дозу) 100 формуемого материала в формовочную полость 24.
Секторы 308 находятся в первом положении Р1, как показано на Фиг. 9. Таким образом, между секторами 308 образована формовочная область 4 переменного объема, размеры которой превышают размер дозы 100, так что доза 100 может быть размещена в формовочной области 4, не мешая секторам 308.
Приводное устройство перемещает первую часть 302 пресс-формы и вторую часть 303 пресс-формы навстречу друг другу в направлении D формования, так что первая часть 302 пресс-формы и вторая часть 303 пресс-формы входят в контакт, образуя между собой закрытую формовочную камеру 17. В частности, первая часть 302 пресс-формы и вторая часть 303 пресс-формы входят в контакт друг с другом, когда упорная поверхность 72 касается передней поверхности 71, которую можно рассматривать как дополнительную упорную поверхность.
В показанном примере приводное устройство связано с первой частью 302 пресс-формы и толкает последнюю ко второй части 303 пресс-формы. Когда упорная поверхность 72 секторов 308 находится в контакте с передней поверхностью 71 упорного элемента 316, закрытая формовочная камера 17 образуется между элементом 314 для формования торца, секторами 308, упорным элементом 316 и формовочным компонентом 315. Последний все еще находится во втянутом положении, в котором он не выступает из упорного элемента 316 в направлении элемента 314, как показано на Фиг. 10.
Секторы 308 все еще находятся в первом положении Р1 и еще не начали существенно взаимодействовать с дозой 100, как показано на Фиг. 11.
Не показанные толкающие устройства воздействуют теперь на секторы 308, переводя секторы 308 во второе положение Р2, как показано на Фиг. 12 и 13. Это вызывает постепенное уменьшение объема формовочной области 4 и, таким образом, закрытой формовочной камеры 17.
Пока секторы 308 переводятся во втором положении Р2, приводное устройство продолжает перемещать первую часть 302 пресс-формы по направлению ко второй части 303 пресс-формы. Секторы 308, толкаемые приводным устройством ко второй части 303 пресс-формы, приводят к отведению упорного элемента 316 по отношению к формовочному компоненту 315. Таким образом, формовочный компонент 315 начинает выступать из упорного элемента 316 и может проходить в формовочную полость 24, чтобы протолкнуть формуемый материал к элементу 314 для формования торца в направлении D формования. Формуемый материал постепенно заполняет всю закрытую формовочную камеру 17 для получения требуемого изделия. Следует отметить, что формовочный компонент 315 может проходить в формовочную полость 24 путем скольжения в контакте с секторами 308 с образованием плоского изделия, т.е. без заполнения формуемым материалом области между формовочным компонентом и секторами 308.
Приводное устройство продолжает толкать первую часть 302 пресс-формы ко второй части 303 пресс-формы, когда формовочный компонент 315 все больше и больше выступает из упорного элемента 316. Таким образом, формовочный компонент 315 продолжает приближаться к элементу 314 для формования торца до тех пор, пока он не достигнет расстояния от элемента 314, равного толщине изделия, которое должно быть получено, как показано на Фиг. 14. Пресс-форма 301 остается в этом состоянии в течение времени, достаточного для того, чтобы изделие стало достаточно жестким для того, чтобы оно могло быть обработано без повреждений, после чего первая часть 302 пресс-формы и вторая часть 303 пресс-формы отодвигаются друг от друга, а изделие удаляется, чтобы можно было ввести новую дозу 100 в формовочную область 4.
Это обеспечивает возможность получения компрессионным формованием также таких изделий, которые имеют относительно небольшой размер поперечно направлению D формования, которые, однако, требуют относительно больших доз, т.е. имеющих первоначальный поперечный размер, превышающий соответствующий размер готового изделия.
На Фиг. 16-23 показана пресс-форма 101, выполненная в соответствии с альтернативным вариантом выполнения, позволяющая получать перфорированные изделия, в частности изделия, имеющие сквозное отверстие.
Пресс-форма 101 содержит первую часть 102 и вторую часть 103, обращенные друг к другу и выполненные с возможностью перемещения друг относительно друга в направлении D формования, аналогично тому, что описано для первой части 2 пресс-формы и второй части 3 пресс-формы, показанных на Фиг. с 1 по 7.
Первая часть 102 пресс-формы содержит несколько секторов 108, выполненных с возможностью ограничения боковой стенки 5 формовочной области 4. В показанном примере имеются четыре сектора 108, имеющие одинаковую форму друг с другом
Секторы 108 функционально аналогичны секторам 8, описанным со ссылкой на Фиг. 1-7, хотя их форма отличается от формы секторов 8, поскольку она специфична для конкретного изделия, которое необходимо изготовить.
В частности, каждый сектор 108 содержит формовочную поверхность 111, которая в показанном примере имеет форму части цилиндра. Формовочные поверхности 111 предназначены для взаимодействия друг с другом для формования боковой стенки изделия снаружи. Каждый сектор 108 дополнительно имеет поверхность 112 скольжения, которая может быть плоской. Поверхность 112 скольжения сектора 108 примыкает к формовочной поверхности 111.
Когда секторы 108 находятся в первом положении Р1, определяя увеличенную конфигурацию С1 формовочной полости 24, формовочная поверхность 111 и поверхность 112 скольжения каждого сектора 108 ограничивают боковую поверхность 5 формовочной области 4.
Каждый сектор 108 также имеет контактную поверхность 113, которая предназначена для скольжения по поверхности 112 скольжения соседнего сектора 108, когда секторы 108 перемещаются для уменьшения объема формовочной области 4, как уже описано со ссылкой на Фиг. 1-7.
Контактная поверхность 113, которая может быть плоской, не обращена к формовочной области 4, а обращена к поверхности 112 скольжения соседнего сектора 108.
Секторы 108 могут перемещаться между первым положением Р1, показанным на Фиг. 17 и 19, и вторым положением Р2, показанным на Фиг. 21 и 23, с помощью непоказанных толкающих устройств, как описано ранее со ссылкой на Фиг. 1-7.
Первая часть 102 пресс-формы дополнительно содержит элемент 114 для формования торца, который ограничивает формовочную область 4 переменного объема поперечно направлению D формования со стороны, противоположной второй части 103 пресс-формы.
Секторы 108 расположены в контакте с элементом 114 и могут скользить относительно последнего.
Сердечник 73 выступает из элемента 114, и выступает в направлении второй части 103 пресс-формы. Сердечник 73 предназначен для придания формы внутренней части отверстия изготавливаемого изделия. В показанном примере сердечник 73 имеет цилиндрическую форму.
Размер сердечника 73 вдоль направления D формования может превышать соответствующий размер секторов 108. В этом случае сердечник 73 выступает в сторону второй части 103 пресс-формы по отношению к секторам 108.
Формовочная полость 24, имеющая кольцеобразную форму, образована между сердечником 73 и секторами 108. Формовочная полость 24 открыта сверху.
Вторая часть 103 пресс-формы содержит упорный элемент 116, выполненный с возможностью упирания в секторы 108 для закрытия формовочной камеры 24. Формовочный компонент 115 размещен внутри упорного элемента 116 и предназначен для формования краевой зоны изделия, противоположной краевой зоне, которая будет отформована в контакте с элементом 114 для формования торца.
Формовочный компонент 115 имеет направляющее отверстие 74, предназначенное для приема части сердечника 73, связанного с элементом 114. Направляющее отверстие 74, в частности, может входить в фасонное соединение с сердечником 73.
В формовочном компоненте 115 может быть выполнено сквозное отверстие 75. Сквозное отверстие 75 может проходить между направляющим отверстием 74 и поверхностью формовочного компонента 115 дальше от формовочной полости 24. Сквозное отверстие 75 может, например, служить вентиляционным отверстием для выходящего воздуха между сердцевиной 73 и формовочным компонентом 115.
Формовочный компонент 115 может скользить относительно упорного элемента 116 параллельно направлению D формования.
Во время работы пресс-форма 101 изначально открыта. Первая часть 102 пресс-формы и вторая часть 103 пресс-формы расположены на расстоянии друг от друга, как показано на Фиг. 16. В этом положении между первой частью 102 пресс-формы и второй частью 103 пресс-формы может быть включено не показанное транспортировочное устройство, которое транспортирует дозу 100, отделяемую от непрерывного экструдата, выходящего из экструзионного устройства и помещаемого в полость 24.
Секторы 108 находятся в первом положении Р1, как показано на Фиг. 17. Таким образом, объем формовочной области 4 является максимальным, так что формовочная область 4 может легко вместить дозу 100.
В частности, расстояние между сердечником 73 и боковой поверхностью 5 формовочной области 4, по меньшей мере в некоторых точках, больше, чем поперечный размер дозы 100. В показанном примере формовочная область 4 имеет на виде сверху приблизительно форму четырехугольника (в частности, квадрата) со скругленными вершинами. Каждая сторона четырехугольника определяется поверхностью 112 скольжения и формовочной поверхностью 111 сектора 108. Закругленные вершины четырехугольника соответствуют формовочным поверхностям 111, расположенным вблизи вершин четырехугольника.
Расстояние между зонами вершин четырехугольника и сердечником 73 больше, чем поперечный размер дозы 100. Как показано на Фиг. 17, доза 100 формуемого материала может быть затем размещена в нецентральном положении в формовочной области 4, близко к краевой зоне формовочной области 4.
В показанном примере расстояние между боковой поверхностью 5 формовочной области 4 и сердечником 73 фактически превышает поперечный размер дозы 100, в частности диаметр последнего, по меньшей мере вдоль диагонали четырехугольника, ограниченного на виде сверху боковой поверхностью 5.
После размещения дозы 100 в формовочной области 4, первая часть 102 пресс-формы и вторая часть 103 пресс-формы перемещаются навстречу друг другу до тех пор, пока они не войдут в контакт друг с другом. В частности, в показанном примере приводное устройство перемещает первую часть 102 пресс-формы по направлению ко второй части 103 пресс-формы в направлении D формования, как показано на Фиг. 16. Таким образом, секторы 108 входят в контакт с упорным элементом 116, как показано на Фиг. 18. Формовочный компонент 115 размещен внутри упорного элемента 116 и, в показанном примере, еще не выступает на этом этапе из упорного элемента 116 по направлению к первой части 102 пресс-формы.
Сердечник 73 уже частично проник в направляющее отверстие 74, образуя с ним фасонное соединение. Это обеспечивает возможность удерживания первой части 102 пресс-формы более эффективно, чем вторую часть 103 пресс-формы.
Секторы 108 все еще находятся в первом положении Р1, как показано на Фиг. 19.
Когда первая часть 102 пресс-формы и вторая часть 103 пресс-формы входят в контакт друг с другом, между первой частью 102 пресс-формы и второй частью 103 пресс-формы образуется закрытая формовочная камера 17, как показано на Фиг. 18. Формовочная камера 17 на своем конце (который в показанном примере является нижним концом) ограничена с помощью элемента 114 для формования торца. Формовочная камера 17 дополнительно ограничена на противоположном своем конце упорным элементом 116 и формовочным компонентом 115. Наконец, формовочная камера 17 ограничена сбоку секторами 108 (снаружи) и сердечником 73 (внутри).
Затем секторы 108 перемещаются поперечно направлению D формования, например, в соответствии со способами, ранее описанными со ссылкой на Фиг. 1-7, и приближаются к сердечнику 73. Таким образом, доза 100 начинает деформироваться между секторами 108 и сердечником 73 для заполнения формовочной камеры 17.
По мере приближения секторов 108 к сердечнику 73 объем формовочной области 4 уменьшается, как и объем закрытой формовочной камеры 17.
Кроме того, первая часть 102 пресс-формы и вторая часть 103 пресс-формы продолжают перемещаться навстречу друг другу. Более подробно, приводное устройство продолжает перемещать первую часть 102 пресс-формы по направлению ко второй части 103 пресс-формы. Таким образом, упорный элемент 116, который упирается в секторы 108, перемещается в направлении D формования вместе с первой частью 102 пресс-формы (вверху в показанном примере). Вместо этого формовочный компонент 115 остается в фиксированном положении вдоль направления D формования. Таким образом, сердечник 73 глубже проходит в направляющее отверстие 74 формовочного компонента 115. Последний начинает поступать в формовочную полость 24, т.е. секторы 108 и сердечник 73 для формования концевой зоны изделия, противоположной дополнительной концевой зоне, которая отформована частью элемента 114 для формования торца, из которого выступает сердечник 73.
Этот этап проиллюстрирован на Фиг. 20 и 21.
В одном варианте выполнения секторы 108 сначала переводятся во второе положение Р2, после чего формовочный компонент 115 начинает выступать из упорного элемента 116 и вставляется между секторами 108 и сердечником 73. Однако это условие не является обязательным, при этом формовочный компонент 115 может начать размещаться между секторами 108 и сердечником 73 еще до того, как секторы 108 достигнут второго положения Р2.
Приводное устройство продолжает перемещать первую часть 102 пресс-формы, которая толкает упорный элемент 116 к формовочному компоненту 115. Таким образом, последний проходит дальше в формовочную область 4, пока не достигнет конечного положения формования, в котором формовочная камера 17 имеет форму, соответствующую изготавливаемому изделию, показанному на Фиг. 22. На этом этапе объем формовочной камеры 17, который был ранее закрыт, дополнительно уменьшается. В частности, при уменьшении объема формовочной камеры 17 формовочный компонент 115 сжимает формуемый материал в направлении D формования, когда секторы 108 сжимают формуемый материал поперечно направлению D формования.
Пресс-форма 101 остается в положении, показанном на Фиг. 22 и 23, в течение времени, достаточного для закрепления изделия. Затем пресс-форму 101 возвращают в открытое положение, и отформованное изделие извлекают из пресс-формы 101, чтобы можно было сформировать новое изделие.
Таким образом, было получено трубчатое изделие со сквозным отверстием, идущим от сердечника 73.
Оно было сделано не из дозы формовочного материала, имеющей кольцеобразную форму, которая достаточно сложна в изготовлении и обращении, а из дозы формуемого материала, имеющей полную форму, в частности, сферическую или цилиндрическую, которую можно производить и транспортировать относительно легко.
В не показанном альтернативном варианте выполнения пресс-форма 101 может использоваться для изготовления не только перфорированных изделий, но и полых изделий, имеющих несквозное углубление, например, заготовок контейнеров или головок для раздавливаемых трубчатых контейнеров, имеющих закрытый конец. В этом случае первая часть 102 пресс-формы содержит сердечник 73, который, однако, в положении конечной формовки не соприкасается со второй частью 103 пресс-формы, чтобы сформировать закрытый коне изделия.
На Фиг. 24-26 показана пресс-форма 201, выполненная в соответствии с альтернативным вариантом выполнения. Пресс-форма 201 содержит первую часть 202 и вторую часть 203, которые можно перемещать навстречу друг другу или, в качестве альтернативы, перемещать друг от друга в направлении D формования. Это может происходить благодаря непоказанному приводному устройству, аналогичному описанному выше со ссылкой на уже описанные варианты выполнения. В показанном примере приводное устройство соединено со второй частью 203 пресс-формы, которая, таким образом, может перемещаться в направлении D формования, когда первая часть 202 пресс-формы остается неподвижной в этом направлении.
Первая часть 202 пресс-формы представляет собой охватывающую часть пресс-формы, тогда как вторая часть 203 пресс-формы представляет собой охватываемую часть пресс-формы. В отличие от вариантов выполнения, описанных со ссылкой на Фиг. 1-23, первая часть 202 пресс-формы расположена над второй частью 203 пресс-формы.
Пресс-форма 201 выполнена с возможностью формования вогнутого изделия, например, контейнера, такого как капсула для кофе или других веществ, исходя из дозы 100 формуемого материала, которая в показанном примере имеет сферическую форму. Однако возможны и другие формы дозы 100.
Доза 100 может быть отрезана от непрерывного экструдата, выходящего из непоказанного экструзионного устройства, и оттранспортирована в пресс-форму 201 с помощью не показанного транспортировочного устройства.
Первая часть 202 пресс-формы содержит несколько секторов 208, предназначенных для ограничения боковой поверхности 5 формовочной области 4 переменного объема. Секторы 208 могут иметь форму, аналогичную секторам 8, показанным на Фиг. 1-17. Секторы 208 может перемещаться между первым положением Р1, показанным на Фиг. 24, и вторым положением Р2, показанным на Фиг. 26, с помощью соответствующих толкающих устройств, аналогично тому, что описано со ссылкой на предыдущие чертежи.
Первая часть 202 пресс-формы дополнительно содержит элемент 214 для формования торца, который ограничивает формовочную область 4 поперечно направлению D формования со стороны, противоположной второй части 203 пресс-формы. Формовочная полость 24 образована между секторами 208, а элемент 214 в показанном примере обращен вниз.
Вторая часть 203 пресс-формы содержит охватываемый формовочный компонент 215, ограниченный на своем верхнем конце упорной поверхностью 76, на которую может быть помещена доза 100 формуемого материала.
Вторая часть 203 пресс-формы дополнительно содержит упорный элемент 216, окружающий охватываемый формовочный компонент 215. Упорный элемент 216 может иметь трубчатую форму. Упорный элемент 216 выполнен с возможностью упираться в секторы 208, закрывая формовочную камеру 17, расположенную между первой частью 202 пресс-формы и второй частью 203 пресс-формы. В частности, упорный элемент 216 ограничен поперечно направлению D формования передней поверхностью 71, выполненной с возможностью упираться в упорную поверхность 72 секторов 208.
Передняя поверхность 71 и упорная поверхность 72 проходят поперечно, в частности, перпендикулярно направлению D формования. В показанном примере передняя поверхность 71 и упорная поверхность 72 являются по существу плоскими.
Во время работы пресс-форма 201 первоначально находится в открытом положении, то есть первая часть 202 и вторая часть 203 пресс-формы первоначально находятся в разнесенном положении, показанном на Фиг. 24, в котором между первой частью 202 пресс-формы и второй частью 203 пресс-формы можно ввести транспортировочное устройство, транспортирующее дозу 100 формуемого материала. Секторы 208 расположены в первом положении Р1, где объем формовочной области 4 максимален.
Транспортировочное устройство помещает дозу 100 в пресс-форму 201, в частности, путем размещения дозы 100 на упорной поверхности 76 охватываемого формовочного компонента 215. Последний выступает из упорного элемента 216 по направлению к первой части 202 пресс-формы.
Затем приводное устройство начинает перемещать вторую часть 203 пресс-формы по направлению к первой части 202 пресс-формы. Охватываемый формовочный компонент 215 приближается к формовочной полости 24 и в определенный момент начинает проходить в последнюю, сжимая формуемый материал в направлении D формования. Затем упорный элемент 216 упирается в секторы 208. Когда это происходит, формовочная камера 17 образуется между первой частью 202 пресс-формы и второй частью 203 пресс-формы, которая закрыта, как показано на Фиг. 25. Формовочная камера 17, в частности, ограничена элементом 214 для формования торца, секторами 208, охватываемым формовочным элементом 215 и упорным элементом 216. Секторы 208 все еще находятся в первом положении Р1.
После закрытия формовочной камеры 17 упорный элемент 216 остается в фиксированном положении вдоль направления D формования, так как он упирается в секторы 208, которые, в свою очередь, контактируют с элементом 214.
Секторы 208 перемещаются поперечно направлению D формования, чтобы приблизиться к охватываемому формовочному компоненту 215 и достичь второго положения Р2, показанного на Фиг. 26. Таким образом, объем формовочной области 4 постепенно уменьшается.
Приводное устройство далее перемещает охватываемый формовочный элемент 215 в направлении элемента 214 для формования торца до тех пор, пока охватываемый формовочный элемент 215 не достигнет расстояния от элемента 214, равного толщине поперечной стенки изготавливаемого изделия. В этот момент пресс-форма 201 находится в положении конечного формования. Первая часть 202 пресс-формы и вторая часть 203 пресс-формы остаются в этом положении в течение времени, достаточного для надлежащего охлаждения отформованного изделия, после чего пресс-форма 201 открывается, и изделие может быть удалено.
На Фиг. 27-30 показана пресс-форма 401, полностью аналогичная пресс-форме 1, показанной на Фиг. 1-7, используемая для изготовления изделия, в частности заготовки, путем компрессионного формования, начиная с дозы 400 формуемого материала, имеющей геометрию, отличную от геометрии доз 100, показанных выше.
Более конкретно, доза 400 имеет плоскую геометрию с формой на виде сверху, которая может быть квадратной, прямоугольной, цилиндрической или многоугольной. Высота дозы 400, то есть ее размер вдоль направления D формования, может быть меньше, чем размеры дозы 400 поперечно направлению D формования.
Доза 400 может быть сформирована из одного материала или, как в показанном примере, иметь многослойную структуру.
В частности, доза 400 может содержать промежуточный слой 77, расположенный между двумя наружными слоями 78. Промежуточный слой 77 может содержать материал, обладающий барьерными свойствами, например, по отношению к кислороду, и/или к газам, и/или к свету, и/или к ароматизаторам. В качестве альтернативы промежуточный слой 77 может быть, по меньшей мере частично, изготовлен из переработанного полимерного материала.
Наружные слои 78 могут быть образованы материалом, предназначенным для придания изделию желаемых механических и эстетических свойств. Между наружными слоями 78 и промежуточным слоем 77 может быть размещен один или несколько слоев материала, улучшающего совместимость, предназначенных для улучшения сцепления между промежуточным слоем 77 и наружными слоями 78.
Форма 401 первоначально находится в открытом положении, как показано на Фиг. 27, в котором первая часть 2 пресс-формы находится на расстоянии от второй части 3 пресс-формы. Секторы 8 находятся в первом положении Р1, соответствующем увеличенной конфигурации С1 формовочной области 4. Теперь дозу 400 вводят в пресс-форму 401, в частности, путем доставки ее к первой части 2 пресс-формы, так что доза 400 поддерживается на упорной поверхности 79 элемента 14 для формования торца, в положении, отстоящем от дна углубления 70. Более конкретно, упорная поверхность 79 имеет кольцеобразную форму, и на нее может опираться краевая область дозы 400. Поверхность 79 окружена секторами 8.
В показанном примере упорная поверхность 79 имеет площадь, уменьшающуюся при переходе секторов 8 из первого положения Р1 во второе положение Р2. Во втором положении Р2 упорная поверхность 79 предназначена для формования внутренней поверхности кольца, выступающего в радиальном направлении из горлышка заготовки.
Таким образом, доза 400 окружена секторами 8, которые, будучи все еще расположенными в первом положении Р1, ограничивают относительно широкую формовочную область 4, в которую может быть помещена доза 400, не касаясь секторов 8. Более конкретно, несмотря на большие поперечные размеры, чем поперечный размер углубления 70, дозу 400 вводят в пресс-форму без существенной деформации, поскольку секторы 8 в первом положении Р1 ограничивают формовочную область 4, поперечные размеры которой больше, чем у дозы 400.
Дозу 400 вводят в первую часть 2 пресс-формы, например, поддерживая ее на выступе 79 с ориентацией, при которой промежуточный слой 77 расположен поперек, в частности, перпендикулярно направлению D формования.
Первая часть 2 пресс-формы и вторая часть 3 пресс-формы теперь перемещаются навстречу друг другу, образуя между первой частью 2 пресс-формы и второй частью 3 пресс-формы закрытую формовочную камеру 17, показанную на Фиг. 28. Закрытая формовочная камера 17 образуется, когда секторы 8 упираются в упорный элемент 16. В частности, упорная поверхность 72 секторов 8 упирается в дополнительную упорную поверхность или переднюю поверхность 71 упорного элемента 16.
В этот момент, как показано на Фиг. 29, секторы 8 перемещаются во второе положение Р2 путем приложения к секторам 8 соответствующих сил Fi, направленных поперек, в частности, перпендикулярно направлению D формования. Силы Fi могут быть приложены как описано со ссылкой на Фиг. 1-7. Также можно использовать секторы 8, имеющие другую геометрию, чем показанные на Фиг. 1-7, и которые проходят от первого положения Р1 во второе положение Р2 по разным траекториям.
В любом случае силы Fi перемещают секторы 8 в соответствующих направлениях, расположенных поперечно направлению D формования. В показанном примере секторы 8 перемещаются перпендикулярно направлению D формования по отношению к элементу 14 для формования торца.
Во втором положении Р2 секторы 8 ограничивают боковую поверхность 5 формовочной области 4, при этом боковая поверхность 5 имеет форму части наружной поверхности получаемого изделия, в частности, горлышка заготовки.
Когда секторы 8 проходят из первого положения Р1 во второе положение Р2, первая часть 2 пресс-формы и вторая часть 3 пресс-формы продолжают двигаться навстречу друг другу. В частности, первая часть 2 пресс-формы перемещается в направлении D формования по направлению к охватываемому формовочному компоненту 15. Упорный элемент 16, который находится в контакте с секторами 8, также перемещается в направлении D формования по отношению к охватываемому формовочному компоненту. 15. Таким образом, охватываемый формовочный компонент 15 проходит между секторами 8 и затем в углубление 70, придавая форму изделию изнутри.
На Фиг. 29 показана ситуация, в которой доза 400, деформированная охватываемым формовочным компонентом, достигла дна углубления 70 и постепенно образует заготовку. Во время деформации дозы 400 промежуточный слой 77 также деформируется и распределяется по существу по всему формуемому изделию. Таким образом, свойства, придаваемые промежуточным слоем 77, практически однородны по всему изделию.
Охватываемый формовочный компонент 15 продолжает проходить в углубление 70 в результате перемещения вверх (т.е. к охватываемому формовочному компоненту 50) первой части 2 пресс-формы и упорного элемента 16 до тех пор, пока заготовка не приобретет свою окончательную форму, как показано на Фиг. 30. Когда это происходит, к первой части 2 пресс-формы прикладывается максимальное сжимающее усилие, чтобы удерживать пресс-форму 401 в положении для формования и получать требуемое изделие.
После того как заготовка достаточно остынет внутри пресс-формы 401, пресс-форму возвращают в открытое положение, а заготовку извлекают из пресс-формы для дальнейшей обработки.
В примерах, описанных до сих пор, секторы перемещались поперечно направлению D формования, чтобы быть приведенными во второе положение Р2, только после того, как была образована закрытая формовочная камера 17, т.е. после того, как первая и вторая части пресс-формы вступили во взаимный контакт.
Однако это условие не является обязательным, и можно начать перемещение секторов для уменьшения объема формовочной области 4, даже когда первая и вторая части пресс-формы все еще находятся на расстоянии друг от друга.
Пример вышеизложенного показан на Фиг. 31-34, где показана пресс-форма 501, выполненная в соответствии с альтернативным вариантом выполнения, в котором секторы достигают второго положения Р2 перед закрытием пресс-формы.
В показанном примере пресс-форма 501 выполнена с возможностью изготовления капсул для кофе или других веществ, предназначенных для приготовления напитков или пищевых продуктов, путем пропускания экстрагирующей жидкости через капсулу. Понятно, что пресс-форма, подобная той, что изображена на Фиг. 31-34, может, однако, использоваться для изготовления других предметов, особенно вогнутых предметов, таких как крышки, контейнеры, заготовки для контейнеров и т.п.
Пресс-форма 501 также содержит первую часть 502 и вторую часть 503, выполненные с возможностью перемещения относительно друг друга в направлении D формования, которое в показанном примере является вертикальным.
В показанном примере первая часть 502 пресс-формы расположена ниже второй части 503 пресс-формы, но это условие не является обязательным.
Первая часть 502 пресс-формы представляет собой охватывающую часть пресс-формы, тогда как вторая часть 503 пресс-формы представляет собой охватываемую часть пресс-формы.
Первая часть 502 пресс-формы может содержать элемент 514 для формования торца, в котором образовано углубление 570. Углубление 570 выполнено с возможностью образовывать снаружи нижнюю стенку капсулы, например, по существу плоскую, и боковую стенку капсулы, например, в форме усеченного конуса.
Первая часть 502 пресс-формы дополнительно содержит несколько секторов 508, например, аналогичных секторам 8, описанным выше. Более подробно, секторы 508 могут скользить в контакте с верхней поверхностью элемента 514 для формования торца поперечно (в частности, перпендикулярно) направлению D формования.
Элемент 514 ограничен в своей верхней части опорной поверхностью 579, предназначенной для приема дозы 500 формуемого материала. Опорная поверхность 579 может быть плоской и расположена поперек, в частности, перпендикулярно направлению D формования.
Опорная поверхность 579 окружает углубление 570 и расположена между секторами 508. Опорная поверхность 579 имеет кольцеобразную форму.
Секторы 508 могут перемещаться между первым положением Р1 и вторым положением Р2, например, способом, аналогичным описанному для предшествующих вариантов выполнения, благодаря не показанным толкающим средствам.
Когда секторы 508 перемещаются из первого положения Р1 во второе положение Р2, объем формовочной области 4, образованной между секторами 508, уменьшается. Одновременно площадь опорной поверхности 579 уменьшается. Во втором положении Р2 опорная поверхность 579 выполнена с возможностью формования нижней поверхности фланца капсулы. Фланец выступает наружу из верхней области корпуса капсулы.
Секторы 508 выполнены с возможностью формования боковой поверхности фланца, т.е. поверхности фланца, которая проходит вокруг оси капсулы и может быть параллельной этой оси.
Вторая часть 503 пресс-формы содержит охватываемый формовочный компонент 515, выполненный с возможностью прохождения в углубление 570 для придания формы нижней стенке и боковой стенке капсулы изнутри. Охватываемый формовочный компонент 515 обеспечивает возможность сжимать формуемый материал в направлении, параллельном направлению D формования.
Вторая часть 503 пресс-формы дополнительно содержит упорный элемент 516, выполненный с возможностью вхождения в контакт с первой частью 502 пресс-формы, в частности, с секторами 508, для закрытия пресс-формы 501, т.е. для образования внутри пресс-формы 501 закрытой формовочной камеры 17.
Более конкретно, каждый сектор 508 ограничен упорной поверхностью 572, расположенной в положении, обращенном к упорному элементу 516.
Упорная поверхность 572 выполнена с возможностью упираться в дополнительную упорную поверхность 571 (или переднюю поверхность), которая ограничивает упорный элемент 516 в положении, обращенном к первой части 502 пресс-формы.
Упорная поверхность 572 и дополнительная упорная поверхность 571 проходят поперечно, в частности, перпендикулярно направлению D формования.
Упорный элемент 516 окружает охватываемый формовочный компонент 515. В непоказанном варианте выполнения между упорным элементом 516 и охватываемым формовочным компонентом 515 могут находиться дополнительные компоненты.
Упорный элемент 516 содержит блокирующую часть 580, которая выступает из дополнительной упорной поверхности 571 по направлению к первой части 502 пресс-формы. Блокирующая часть 580 имеет кольцевую геометрию и может иметь, например, форму круглой короны.
Блокирующая часть 580 может быть ограничена блокирующей поверхностью 581, например, плоской, которая проходит поперечно, в частности, перпендикулярно направлению D формования.
Блокирующая часть 580 выполнена с возможностью вхождения в контакт с дозой 500 для прижатия ее к элементу 514 для формования торца, в частности, к опорной поверхности 579. Более подробно, блокирующая часть 580 предназначена для блокирования краевой зоны дозы 500 относительно элемента 514, так что доза 500 остается в центральном положении по отношению к углублению 570, даже когда охватываемый формовочный компонент 515 деформирует дозу 500.
Во время работы пресс-форма 501 изначально находится в открытом положении, как показано на Фиг. 31. Первая часть 502 пресс-формы находится на расстоянии от второй части 503 пресс-формы, так что доза 500 полимерного материала может быть помещена в пресс-форму 501. Доза 500 может быть, например, выпущена в пресс-форму 501 транспортирующим элементом, который не показан, временно помещенным между первой частью 502 и второй частью 503.
В показанном примере доза 500 имеет многослойную структуру и содержит промежуточный слой, расположенный между по меньшей мере двумя наружными слоями полимерного материала, как уже описано со ссылкой на дозу 400, показанную на Фиг. 27 и 28.
Доза 500 поддерживается на опорной поверхности 579, так что только ее краевая зона находится в контакте с первой частью 502 пресс-формы, когда центральная область дозы 500 первоначально отстоит от дна углубления 570 и не касается первой части 502 пресс-формы.
Когда доза помещается на опорную поверхность 579, промежуточный слой располагается поперечно, в частности, перпендикулярно направлению D формования.
В не показанном варианте выполнения пресс-форма 501 также может использоваться в сочетании с дозами, имеющими однослойную структуру, т.е. сформированными из одного синтетического полимерного материала.
Секторы 508 расположены в первом положении Р1, соответствующем увеличенной конфигурации С1 формовочной области 4. В первом положении Р1 формовочная область 4 имеет большие поперечные размеры (т.е. измеренные поперечно направлению D формования), чем поперечные размеры дозы 500. Следовательно, доза 500 не деформируется преждевременно секторами 508, когда ее вводят в пресс-форму 501, поддерживая ее на опорной поверхности 579.
Затем толкающие средства прикладывают к секторам 508 соответствующие силы Fi, чтобы приблизить секторы 508 к центральной зоне формовочной области 4, пока секторы 508 не достигнут второго положения Р2, как показано на Фиг. 32. Силы Fi можно прикладывать способами, показанными на Фиг. 1-7, или другими способами, например, путем приложения к каждому сектору 508 одной силы, направленной к центральной зоне формовочной области 4.
Таким образом, секторы 508 начинают деформировать краевую зону дозы 500.
Когда секторы 508 достигают второго положения Р2, первая часть 502 пресс-формы все еще находится на расстоянии от второй части 503 пресс-формы. Точнее, первая часть 502 пресс-формы и вторая часть 503 пресс-формы еще не начали перемещаться навстречу друг другу.
Затем первая часть 502 пресс-формы и вторая часть 503 пресс-формы начинают приближаться друг к другу. В показанном примере это происходит путем перемещения первой части 502 пресс-формы в направлении D формования и удерживания второй части 503 пресс-формы в фиксированном положении в направлении D формования.
Это приводит к ситуации, показанной на Фиг. 33, в которой упорная поверхность 572 секторов 508 находится в контакте с дополнительной упорной поверхностью 571 упорного элемента 516.
В этот момент между первой частью 502 пресс-формы и второй частью 503 пресс-формы образуется закрытая формовочная камера 17.
Блокирующая часть 580 вставлена между секторами 508, так что блокирующая поверхность 579 воздействует на краевую зону дозы 500, раздавливая такую краевую зону и прижимая ее к элементу 514 для формования торца.
На практике блокирующая часть 580 оказывает своего рода «скрепляющее» действие на краевую зону дозы 500, которая, таким образом, остается надежно заблокированной между блокирующей частью 580 и элементом 514 для формования торца, даже когда доза 500 деформируется охватываемым формовочным компонентом 515.
Первая часть 502 пресс-формы вместе с упорным элементом 516, в который упирается первая часть 502 пресс-формы, продолжает перемещаться относительно охватываемого формовочного компонента 515, в частности, приближаясь к такому компоненту. Поскольку охватываемый формовочный компонент 515 расположен в фиксированном положении вдоль направления D формования, охватываемый формовочный компонент 515 проходит в углубление 570, деформируя дозу также в ее центральной зоне, пока не будет достигнуто конечное положение формования, показанное на Фиг. 34. В этом положении капсула полностью отформована и после достаточного охлаждения может быть извлечена из пресс-формы 501.
Зажимая краевую зону дозы 500 между блокирующим участком 580 и первой частью 502 пресс-формы, можно удерживать дозу 500 в центральном положении по отношению к углублению 570, даже когда центральная зона дозы 500 деформируется охватываемым формовочным компонентом 515. Кроме того, если доза 500 имеет многослойную структуру, можно предотвратить появление промежуточного слоя дозы, вытекающего наружу из дозы в краевой зоне, на внешней поверхности отформованного изделия и быть видимым на таком изделие.
Следует отметить, что блокирующая часть 580, которая блокирует краевую зону дозы 500 относительно первой части 503 пресс-формы, может также использоваться в пресс-формах, в которых секторы 508 отсутствуют, т.е. в пресс-формах, в которых в первой части 503 пресс-формы формовочная полость имеет фиксированные размеры поперечно направлению D формования.
Следует отметить, что не только в варианте выполнения пресс-формы, описанном со ссылкой на Фиг. 31-35, но также и в пресс-формах такого типа, который показан на Фиг. 1-30, можно начать перемещение секторов поперечно направлению D формования, чтобы привести секторы во второе положение Р2 еще до закрытия формовочной камеры, то есть еще до того, как закрытая формовочная камера 17 будет образована между первой и второй частями пресс-формы. Если секторы перемещаются перед закрытием формовочной камеры, второе положение Р2 может быть достигнуто до или после образования закрытой формовочной камеры 17.
Во всех упомянутых вариантах выполнения пресс-формы секторы могут перемещаться между первым положением и вторым положением благодаря взаимодействию между частью пресс-формы, в которую они включены, и другой частью пресс-формы. Например, каждый сектор может иметь ролик или набор рычагов, которые взаимодействуют с частью пресс-формы, противоположной той, в которую включен сектор, для перемещения сектора из первого положения во второе положение. Следовательно, сектора, связанные с одной частью пресс-формы, могут перемещаться между первым положением и вторым положением по другой части пресс-формы.
В одном варианте выполнения секторы могли перемещаться из первого положения во второе положение также неаксиально-симметричным образом, например, по траекториям, не ориентированным под углом 45° к направлениям приложенных сил, или имеющим разную длину от друг друга.
Кроме того, секторы могут перемещаться между первым положением и вторым положением также с помощью способов перемещения, отличных от описанных до сих пор, например, благодаря эффекту простых исполнительных механизмов, которые перемещают соответствующий сектор в направлении приложенной силы.
В вышеприведенном описании всегда делались ссылки на сектора, включенные в охватывающую часть пресс-формы. В не показанном альтернативном варианте выполнения секторы, ограничивающие формовочную область с переменным объемом, могут быть включены в охватываемую часть пресс-формы.
В приведенном выше описании всегда делалась ссылка на дозированное количество (дозу) формуемого материала, в частности, синтетического полимерного материала, полученного путем разрезания непрерывного экструдата, выходящего из экструзионного устройства. Однако возможно также использование дозированного количества (доз) синтетического полимерного материала, полученных другими способами, например, путем разрезания листа или пленки синтетического полимерного материала.
В качестве альтернативы, формуемый материал, образующий дозированное количество, или дозу, может представлять собой материал, по меньшей мере часть которого получена из натуральных волокон, например, целлюлозы, в виде порошка, гранул или дополнена определенными жидкими веществами, например, для получения вида из пасты, либо в виде ваты, либо заготовки, либо другого элемента, вырезанного из пленки.
В этом случае исходный материал имеет относительно низкую плотность и нуждается в прессовании с высокой степенью уплотнения для получения готового изделия хорошего качества. Это означает, что исходный объем материала, по меньшей мере часть которого получена из натуральных волокон, значительно превышает объем готового изделия. Соответственно, полезно иметь пресс-форму, содержащую описанные выше сектора, перемещаемые между первым положением, в котором формовочная область с переменным объемом относительно велика и, следовательно, может вмещать материал низкой плотности, занимающий много места, и вторым положением, в котором материал уплотнился и достиг формы и размера готового изделия.
В заключение,
Доза может быть предварительно упакована, т.е. приготовлена отдельно от пресс-формы (например, путем разрезания, прессования или иным образом) и помещена в открытую пресс-форму.
Описанные здесь способ и устройство позволяют получать изделие хорошего качества, начиная с дозы, имеющей размер, в частности, измеренный поперечно направлению D формования, больший, чем соответствующий поперечный размер отформованного изделия.
Таким образом, в первом варианте выполнения первого аспекта изобретения предложен способ формования изделия, включающий:
- использование пресс-формы (1; 101; 201; 301; 401; 501), содержащей первую часть (2; 102; 202; 302; 502) и вторую часть (3; 103; 203; 303; 503), расположенные напротив друг друга, причем одна часть, выбранная из первой части (2; 102; 202; 302; 502) пресс-формы и второй части (3; 103; 203; 303; 503) пресс-формы, содержит несколько секторов (8; 108; 208; 308; 508) для придания формы по меньшей мере боковой части изделия, при этом указанные секторы (8; 108; 208; 308; 508) ограничивают формовочную область (4) переменного объема пресс-формы;
- размещение дозы (100; 400; 500) формуемого материала между первой частью (2; 102; 202; 302; 502) и второй частью (3; 103; 203; 303; 503) пресс-формы;
- перемещение первой части (2; 102; 202; 302; 502) и второй части (3; 103; 203; 303; 503) пресс-формы навстречу друг другу в направлении (D) формования, чтобы образовать между первой частью (2; 102; 202; 302; 502) и второй частью (3; 103; 203; 303; 503) пресс-формы закрытую формовочную камеру (17),
при этом способ дополнительно включает перемещение секторов (8; 108; 208; 308; 508) поперечно направлению (D) формования для уменьшения объема формовочной области (4).
Дозированное количество (доза) (100; 400; 500) формуемого материала может быть расположено между первой частью (2; 102; 202; 302; 502) пресс-формы и второй частью (3; 103; 203; 303; 503) пресс-формы, когда пресс-форма находится в открытом положении.
Закрытая формовочная камера (17) может быть образована путем приведения в контакт соответствующих упорных поверхностей (71, 72; 571, 572) первой части (2; 102; 202; 302; 502) пресс-формы и второй части (3; 103; 203; 303; 503) пресс-формы, причем упорные поверхности (71, 72; 571, 572) проходят поперечно направлению (D) формования.
Во втором варианте выполнения предложен способ в соответствии с первым вариантом выполнения, в котором секторы (8; 108; 208; 308; 508) выполнены с возможностью перемещения поперечно направлению (D) формования между увеличенной конфигурацией (С1) и конечной конфигурацией. (С2), при этом доза (100; 400; 500) высвобождается между первой частью (2; 102; 202; 302; 502) пресс-формы и второй частью (3; 103; 203; 303; 503) пресс-формы, причем поперечные размеры дозы (100; 400; 500), измеренные перпендикулярно направлению (D) формования, меньше, чем поперечные размеры формовочной области (4) переменного объема в увеличенной конфигурации (С1).
В третьем варианте выполнения предложен способ в соответствии с первым или вторым вариантом выполнения, в котором этап перемещения секторов (8; 108; 208; 308; 508) поперечно направлению (D) формования начинают до образования закрытой формовочной камеры (7).
В четвертом варианте выполнения предложен способ в соответствии с одним из вариантов выполнения с первого по третий, в котором этап перемещения секторов (8; 108; 208; 308; 508) поперечно направлению (D) формования начинают после образования закрытой формовочной камеры (7).
В пятом варианте выполнения предложен способ в соответствии с первым или вторым вариантом выполнения, в котором этап перемещения секторов (8; 108; 208; 308; 508) поперечно направлению (D) формования начинают после образования закрытой формовочной камеры (7).
В шестом варианте выполнения предложен способ в соответствии с одним из вариантов выполнения с первого по пятый, в котором этап перемещения первой части (2; 102; 202; 302; 502) пресс-формы и второй части (3; 103; 203; 303; 503) пресс-формы навстречу друг другу в направлении (D) формования осуществляют с помощью приводного устройства, которое перемещает по меньшей мере одну часть пресс-формы, выбранную из первой части (2; 102; 202; 302; 502) пресс-формы и второй части (3; 103; 203; 303; 503) пресс-формы, по направлению к другой части пресс-формы, выбранной из второй части (3; 103; 203; 303; 503) пресс-формы и первой части (2; 102; 202; 302; 502) пресс-формы, причем секторы (8; 108; 208; 308; 508) входят в состав части пресс-формы, перемещаемой приводным устройством.
В седьмом варианте выполнения предложен способ в соответствии с одним из вариантов выполнения с первого по шестой, в котором закрытую формовочную камеру (17) формируют приведением во взаимный контакт секторов (8; 108; 208; 308; 508) и упорного элемента (16; 116; 216; 316; 516) части пресс-формы, противоположный секторам и выбранной из второй части (3; 103; 203; 303; 503) пресс-формы и первой части (2; 102; 202; 302; 502) пресс-формы, причем часть пресс-формы, обращенная к секторам (8; 108; 208; 308; 508), дополнительно содержит формовочный компонент (15; 115; 215; 315; 515), по меньшей мере частично окруженный упорным элементом (16; 116; 216; 316; 516).
В восьмом варианте выполнения предложен способ в соответствии с седьмым вариантом выполнения, в котором указанные соответствующие упорные поверхности (71, 72; 571, 572) содержат упорную поверхность (72; 572) и дополнительную упорную поверхность (71; 571) упорного элемента (16; 116; 216; 316; 516), при этом указанная упорная поверхность (72; 572) и указанная дополнительная упорная поверхность (71; 571) приводятся во взаимный контакт для закрытия формовочной камеры (17).
В девятом варианте выполнения предложен способ в соответствии с седьмым или восьмым вариантом выполнения, в котором после приведения секторов (8; 108; 208; 308; 508) и упорного элемента (16; 116; 216; 316; 516) во взаимный контакт, по меньшей мере указанную часть, выбранную из первой части (2; 102; 202; 302; 502) пресс-формы и второй части (3; 103; 203; 303; 503) пресс-формы, перемещают дальше в направлении (D) формования, так что формовочный компонент (15, 115, 215, 315, 515) проходит между указанными секторами (8, 108, 208, 308, 508) для формования изделия.
В десятом варианте выполнения предложен способ в соответствии с одним из вариантов выполнения с седьмого по девятый, в котором формовочный компонент (15; 115; 215; 315; 515) представляет собой охватываемый формовочный компонент (15; 215; 515), причем формуемый материал течет между секторами (8; 108; 208; 308; 508) и охватываемым формовочным компонентом (15; 215; 515) для формования боковой стенки изделия.
В одиннадцатом варианте выполнения предложен способ в соответствии десятым вариантом выполнения, в котором охватываемый формовочный компонент (215) включен во вторую часть (3; 103; 203; 303; 503) пресс-формы и расположен ниже первой части (2; 102; 302: 402; 502) пресс-формы, и при этом дозу (100) располагают на опорной поверхности (76), ограничивающей верхний конец охватываемого формовочного компонента (215).
В двенадцатом варианте выполнения способ в соответствии с одним из вариантов выполнения с седьмого по десятый, в котором в конечном положении формования формовочный элемент (315) ограничивает закрытую формовочную камеру (17) поперечно направлению (D) формования и находится в контакте с секторами (8; 108; 208; 308; 508) для предотвращения протекания формуемого материала между формовочным компонентом (315) и секторами (8; 108; 208; 308; 508).
В тринадцатом варианте выполнения предложен способ в соответствии с одним из предшествующих вариантов выполнения, в котором между первой частью (2; 102; 302: 402; 502) пресс-формы и второй частью (3; 103; 203; 303; 503) пресс-формы блокируют краевую зону дозы (500) перед началом деформации центральной зоны дозы (500).
В четырнадцатом варианте выполнения предложен способ в соответствии с тринадцатым вариантом выполнения, когда тринадцатый вариант выполнения включает признаки седьмого варианта выполнения, при этом в первую часть (2; 102; 302: 402; 502) пресс-формы включены секторы (8; 108; 208; 308; 508), и при этом краевую зону дозы (500) размещают на первой части (2; 102; 302: 402; 502) пресс-формы и блокируют между первой частью (2; 102; 302: 402; 502) пресс-формы и второй частью (3; 103; 203; 303; 503) пресс-формы перед началом взаимодействия формовочного элемента (15; 115; 215; 315; 515) с центральной зоной дозы (500).
В пятнадцатом варианте выполнения предложен способ в соответствии с тринадцатым вариантом выполнения, когда тринадцатый вариант выполнения включает признаки седьмого варианта выполнения, или в соответствии с четырнадцатым вариантом выполнения, в котором секторы (8; 108; 208; 308; 508) включены в первую часть (2; 102; 302: 402; 502) пресс-формы, и при этом краевую зону дозы (500) блокируют между первой частью (2; 102; 302: 402; 502) пресс-формы и второй часть (3; 103; 203; 303; 503) пресс-формы, зажимая дозу (500) между блокирующей частью (580), выступающей из упорного элемента (16; 116; 216; 316; 516), и опорной поверхностью (79; 579) первой части (2; 102; 302: 402; 502) пресс-формы, причем секторы (8; 108; 208; 308; 508) могут скользить по опорной поверхности (79; 579) для уменьшения объема формовочной области (4).
В шестнадцатом варианте выполнения предложен способ в соответствии с пятнадцатым вариантом выполнения, в котором блокирующую часть (580) размещают между секторами (8; 108; 208; 308; 508) для прижатия дозы (500) к опорной поверхности (79; 579).
В семнадцатом варианте выполнения предложен способ в соответствии с одним из предшествующих вариантов выполнения, в котором секторы (8; 108; 208; 308; 508) перемещают между первым положением (Р1), в котором объем формовочной области (4) переменного объема является максимальным, и вторым положением (Р2), в котором объем формовочной области (4) минимален, и в котором доза (100; 400; 500) расположена между первой частью (2; 102; 202; 302; 502) пресс-формы и второй частью (3; 103; 203; 303; 503) пресс-формы, а секторы (8; 108; 208; 308; 508) находятся в первом положении (Р1).
В восемнадцатом варианте выполнения предложен способ в соответствии с одним из предшествующих вариантов выполнения, в котором первая часть (2; 102; 202; 302; 502) пресс-формы содержит секторы (8; 108; 208; 308; 508) и элемент (14; 114; 214; 314; 514) для формования и торца, ограничивающий закрытую формовочную камеру (17) поперечно направлению (D) формования на противоположной стороне по отношению ко второй части (3; 103; 203; 303; 503) пресс-формы.
В девятнадцатом варианте выполнения предложен способ в соответствии с восемнадцатым вариантом выполнения, в котором секторы (8; 108; 208; 308; 508) скользят поперечно направлению (D) формования в контакте с элементом (14; 114; 214; 314; 514) для формования торца для уменьшения объема закрытой формующей области (4).
В двадцатом варианте выполнения предложен способ в соответствии с восемнадцатым или девятнадцатым вариантом выполнения, в котором первая часть (2; 102; 202; 302; 502) пресс-формы имеет формовочную полость (24), причем формовочная полость (24) содержит формовочную область (4) переменного объема, ограниченную секторами (8; 508) и углублением (70), выполненным в элементе (14; 514) для формования торца.
В двадцать первом варианте выполнения предложен способ в соответствии с восемнадцатым или девятнадцатым вариантом выполнения, в котором первая часть (2; 102; 202; 302; 502) пресс-формы содержит выступающий сердечник (73), выступающий из элемента (14; 114; 214; 314; 514) для формования торца по направлению ко второй части (3; 103; 203; 303; 503) пресс-формы, и при этом доза (100; 400; 500) расположена в первой части (2; 102; 202; 302; 402) пресс-формы в нецентральном положении по отношению к секторам (8; 108; 208; 308; 508), на стороне выступающего сердечника (73), так что формуемый материал течет между секторами (8; 108; 208; 308; 508) и выступающим сердечником (73) для создания изделия, имеющего отверстие или углубление.
В двадцать втором варианте выполнения предложен способ в соответствии с двадцать первым вариантом выполнения, когда восемнадцатый вариант выполнения содержит признаки седьмого варианта выполнения, при этом выступающий сердечник (73) выступает из секторов (8; 108; 208; 308; 508) по направлению ко второй части (3; 103; 203; 303; 503) пресс-формы для взаимодействия с направляющим отверстием (74), выполненным в формовочном компоненте (115).
В двадцать третьем варианте выполнения предложен способ в соответствии с предыдущими вариантами выполнения, в котором каждый сектор (8; 108; 208; 308; 508) перемещают поперечно направлению (D) формования для уменьшения объема формовочной области (4) переменного объема под действием результирующей силы, определяемой сочетанием первой силы (F1), приложенной к указанному сектору (8; 108; 208; 308; 508) толкающим устройством, и второй силы (F2), приложенной к указанному сектору (8; 108; 208; 308; 508) соседним сектором (8; 108; 208; 308; 508) из указанных нескольких секторов.
В двадцать четвертом варианте выполнения предложен способ в соответствии с одним из предшествующих вариантов выполнения, дополнительно включающий экструзию формуемого материала, получение непрерывного экстру дата формуемого материала, отделение дозы (100; 400; 500) из непрерывного экстру дата и транспортировку дозы (100; 400; 500) в пресс-форму (1; 101; 201; 301; 401; 501).
В двадцать пятом варианте выполнения предложен способ в соответствии с двадцать четвертым вариантом выполнения, в котором непрерывный экструдат содержит не менее двух слоев (78, 79) полимерного материала, дозу (400; 500) вводят в пресс-форму (401; 501), так что каждый из указанных двух слоев (78, 79) проходит поперечно, предпочтительно по существу перпендикулярно направлению (D) формования.
В первом варианте выполнения второго аспекта изобретения предложено устройство для формования изделия, содержащее по меньшей мере одну пресс-форму (1; 101; 201; 301; 401; 501), которая содержит первую часть (2; 102; 202; 302; 402; 502) и вторую часть (3; 103; 203; 303; 403; 503), расположенные напротив друг друга, причем часть пресс-формы, выбранная из первой части (2; 102; 202; 302; 402; 502) и второй части (3; 103; 203; 303; 403; 503), содержит несколько секторов (8; 108; 208; 308; 508) для по меньшей мере частичного формования боковой поверхности изделия, причем секторы (8; 108; 208; 308; 508) ограничивают формовочную область (4) переменного объема пресс-формы (1; 101; 201; 301; 401; 501), при этом устройство дополнительно содержит приводное устройство для приведения первой части (2; 102; 202; 302; 402; 502) пресс-формы и второй части (3; 103; 203; 303; 403; 503) пресс-формы ближе друг к другу в направлении (D) формования, чтобы привести во взаимный контакт первую часть (2; 102; 202; 302; 402; 502) пресс-формы и вторую часть (3; 103; 203; 303; 403; 503) пресс-формы вдоль соответствующих упорных поверхностей (71, 72; 571, 572), расположенных поперечно направлению (D) формования, образуя закрытую формовочную камеру (17) между первой частью (2; 102; 202; 302; 402; 502) пресс-формы и второй частью (3; 103; 203; 303; 403; 503) пресс-формы, и при этом устройство дополнительно содержит толкающие средства для перемещения секторов (8; 108; 208; 308; 508) поперечно направлению (D) формования для уменьшения объема формовочной области (4).
Во втором варианте выполнения второго аспекта предложено устройство в соответствии с первым вариантом выполнения второго аспекта, в котором секторы (8; 108; 208; 308; 508) включены в первую часть (2; 102; 202; 302; 402; 502) пресс-формы, а вторая часть (3; 103; 203; 303; 503) пресс-формы содержит упорный элемент (16; 116; 216; 316; 516), выполненный с возможностью вхождения в контакт с секторами (8; 108; 208; 308; 508) для образования закрытой формовочной камеры (17), и формовочный компонент (15; 115; 215; 315; 515), по меньшей мере частично окруженный упорным элементом (16; 116; 216; 316; 516), при этом формовочный компонент (15; 115; 215; 315; 515) и упорный элемент (16; 116; 216; 316; 516) отличаются друг от друга и выполнены с возможностью перемещения друг относительно друга.
В третьем варианте выполнения второго аспекта предложено устройство в соответствии со вторым вариантом выполнения второго аспекта, в котором вторая часть пресс-формы содержит блокирующую часть (280), выполненную с возможностью размещения между секторами (8; 108; 208; 308; 508) для блокирования краевой зоны дозы (500) перед началом деформации центральной зоны дозы (500).
В четвертом варианте выполнения второго аспекта предложено устройство в соответствии с третьим вариантом выполнения второго аспекта, в котором блокирующая часть (280) выступает из упорного элемента (16; 116; 216; 316; 516) для зажатия дозы (500) относительно опорной поверхности (79; 579) первой части (2; 102; 302; 402; 502) пресс-формы, при этом указанные секторы (8; 108; 208; 308; 508) выполнены с возможностью скольжения вдоль опорной поверхности (79; 579) для уменьшения объема формовочной области (4).
В пятом варианте выполнения второго аспекта предложено устройство в соответствии с одним из вариантов выполнения с первого по четвертый второго аспекта, в котором секторы (8; 108; 208; 308; 508) включены в первую часть (2; 102; 202; 302; 402; 502) пресс-формы, при этом первая часть (2; 102; 202; 302; 502) пресс-формы дополнительно содержат элемент (14; 114; 214; 314; 514) для формования и торца, ограничивающий закрытую формовочную камеру (17) поперечно направлению (D) формования на стороне, противоположной второй части (3; 103; 203; 303; 503) пресс-формы, и в которой выступающий сердечник (73) выступает из элемента (14; 114; 214; 314; 514) для формования и торца по направлению ко второй части (3; 103; 203; 303; 503) пресс-формы для создания изделия, имеющего отверстие или углубление, начиная с дозы (100; 400; 500), расположенной в первой части (2; 102; 202; 302; 502) пресс-формы в нецентральном положении по отношению к указанным секторам (8; 108; 208; 308; 508) со стороны выступающего сердечника (73).
В первом варианте выполнения третьего аспекта изобретения предложен способ формования изделия, включающий этапы:
- использование пресс-формы (501), содержащей первую часть (502) и вторую часть (503), расположенные напротив друг друга;
- размещение дозы (500) формуемого материала между первой частью (502) пресс-формы и второй частью (503) пресс-формы;
- перемещение первой части (502) пресс-формы и второй части (503) пресс-формы навстречу друг другу в направлении (D) формования для формования изделия из дозы (500) путем компрессионного формования,
при этом краевую зону дозы (500) блокируют между первой частью (502) пресс-формы и второй частью (503) пресс-формы до начала деформации центральной зоны дозы (500).
Во втором варианте выполнения третьего аспекта изобретения предложен способ в соответствии с первым вариантом выполнения третьего аспекта изобретения, в котором первая часть (502) пресс-формы содержит формовочную полость (24), краевая зона дозы (500) заблокирована между первой частью (502) пресс-формы и второй частью (503) пресс-формы, когда центральная зона дозы отделена дном формовочной полости (24).
В третьем варианте выполнения третьего аспекта изобретения предложен способ в соответствии с первым или вторым вариантом выполнения третьего аспекта изобретения, в котором вторая часть (503) пресс-формы содержит упорный элемент (516), выполненный с возможностью вступления в контакт с первой частью (502) пресс-формы для образования закрытой формовочной камеры (17) между первой частью (502) пресс-формы и второй частью (503) пресс-формы, причем вторая часть (503) пресс-формы дополнительно содержит формовочный компонент (515), по меньшей мере частично окруженный упорным элементом (516), формовочный компонент (515) и упорный элемент (516) отделены друг от друга и выполнены с возможностью перемещения друг относительно друга, и при этом дозу (500) блокируют между первой частью (502) пресс-формы и второй частью (503) пресс-формы блокирующей частью (280), выступающей из упорного элемента (516) и прижимающей дозу (500) к первой части (502) пресс-формы.
В первом варианте выполнения четвертого аспекта изобретения предложено устройство для формования изделия из дозы (500) формуемого материала, содержащее по меньшей мере одну пресс-форму, которая содержит первую часть (502) и вторую часть (503), расположенные напротив друг друга, приводное устройство для перемещения первой части (502) пресс-формы и второй части (503) пресс-формы навстречу друг другу в направлении (D) формования для формования изделия из дозы (500) путем компрессионного формования, при этом часть пресс-формы, выбранная из первой части (502) пресс-формы и второй части (503) пресс-формы, содержит блокирующую часть (280), предназначенную для взаимодействия с краевой зоной дозы (500), для прижатия краевой зоны к другой части пресс-формы, выбранной из второй части (503) пресс-формы и первой части (502) пресс-формы, чтобы заблокировать дозу (500) в контакте с указанной другой частью пресс-формы, когда доза (500) формуется.
Во втором варианте выполнения четвертого аспекта изобретения предложено устройство в соответствии с первым вариантом выполнения четвертого аспекта изобретения, в котором блокирующая часть (280) включена во вторую часть (503) пресс-формы, а первая часть (502) пресс-формы представляет собой охватывающую часть пресс-формы.
В третьем варианте выполнения четвертого аспекта изобретения предложено устройство в соответствии со вторым вариантом выполнения четвертого аспекта изобретения, в котором вторая часть (503) пресс-формы содержит упорный элемент (516), выполненный с возможностью вступления в контакт с первой частью (502) пресс-формы для образования закрытой формовочной камеры (17) между первой частью (502) пресс-формы и второй частью (503) пресс-формы, причем вторая часть (503) пресс-формы дополнительно содержит формовочный компонент (515), по меньшей мере частично окруженный упорным элементом (516), при этом формовочный компонент (515) и упорный элемент (516) отличаются друг от друга и выполнены с возможностью перемещения друг относительно друга, причем блокирующая часть (280) выступает из упорного элемента (516) к первой части (502) пресс-формы.
| название | год | авторы | номер документа |
|---|---|---|---|
| Формовочное устройство и способ | 2021 |
|
RU2817733C1 |
| Крышка для емкости | 2021 |
|
RU2778573C1 |
| КРЫШКА ДЛЯ КОНТЕЙНЕРА | 2022 |
|
RU2830257C2 |
| КОМБИНАЦИЯ КОЛПАЧКА ДЛЯ КОНТЕЙНЕРА И ГОРЛЫШКА КОНТЕЙНЕРА | 2021 |
|
RU2762330C1 |
| ЗАКРЫВАЮЩИЙ КОЛПАЧОК ДЛЯ КОНТЕЙНЕРА | 2020 |
|
RU2780426C1 |
| КОНТЕЙНЕР ДЛЯ ХРАНЕНИЯ ПРОДУКТОВ И ПРИГОТОВЛЕНИЯ ИЗ НИХ САЛАТА И УПАКОВКА, СОДЕРЖАЩАЯ КОНТЕЙНЕР | 2009 |
|
RU2401234C1 |
| ВЕРХНИЙ КОЖУХ ГИРАЦИОННОЙ ДРОБИЛКИ | 2013 |
|
RU2619240C1 |
| СПОСОБ ОСУЩЕСТВЛЕНИЯ ДЕМПФИРОВАННОГО ПРОКОЛА | 2007 |
|
RU2416361C2 |
| Крышка для емкости и способ ее изготовления | 2020 |
|
RU2765791C1 |
| ПРОКАЛЫВАЮЩЕЕ УСТРОЙСТВО С ДЕМПФЕРОМ | 2007 |
|
RU2419386C2 |
Изобретение относится к способу компрессионного формования. Техническим результатом является обеспечение возможности формования путем компрессионного формования дозированного количества (дозы) формуемого материала и производить изделия, имеющие малый поперечный размер по сравнению с размером дозы формуемого материала. Технический результат достигается способом формования изделия, который включает следующие этапы. Использование пресс-формы (1; 101; 201; 301; 401; 501), содержащей первую часть (2; 102; 202; 302; 502) и вторую часть (3; 103; 203; 303; 503), расположенные напротив друг друга. Причем одна часть, выбранная из первой и второй частей пресс-формы, содержит несколько секторов (8; 108; 208; 308; 508) для придания формы по меньшей мере боковой части изделия. При этом секторы ограничивают в пресс-форме формовочную область (4) переменного объема. Размещение дозированного количества (100; 400; 500) формуемого материала между первой и второй частями пресс-формы, когда пресс-форма находится в открытом положении. Перемещение первой и второй частей пресс-формы навстречу друг другу в направлении (D) формования, чтобы образовать между этими частями пресс-формы закрытую формовочную камеру (17) путем приведения в контакт соответствующих упорных поверхностей (71, 72; 571, 572) первой и второй частей пресс-формы. Причем упорные поверхности проходят поперечно направлению (D) формования. Предложенный способ дополнительно включает этап перемещения секторов поперечно направлению (D) формования для уменьшения объема формовочной области переменного объема. Пресс-форма содержит формовочный компонент (15; 115; 215; 315; 515), который проходит в указанную формовочную область переменного объема, тем самым сжимая формуемый материал в направлении формования. 2 н. и 26 з.п. ф-лы, 35 ил.
1. Способ формования изделия, включающий следующие этапы:
использование пресс-формы (1; 101; 201; 301; 401; 501), содержащей первую часть (2; 102; 202; 302; 502) и вторую часть (3; 103; 203; 303; 503), расположенные напротив друг друга, причем одна часть, выбранная из первой части (2; 102; 202; 302; 502) пресс-формы и второй части (3; 103; 203; 303; 503) пресс-формы, содержит несколько секторов (8; 108; 208; 308; 508) для придания формы по меньшей мере боковой части изделия, при этом указанные секторы (8; 108; 208; 308; 508) ограничивают в пресс-форме формовочную область (4) переменного объема, причем каждый сектор (8; 108; 208; 308; 508) ограничен формовочной поверхностью (11; 111; 311), обращенной к формовочной области (4) переменного объема, и поверхностью (12; 112; 312) скольжения, примыкающей к формовочной поверхности (11; 111; 311),
размещение дозы (100; 400; 500) формуемого материала между первой частью (2; 102; 202; 302; 502) пресс-формы и второй частью (3; 103; 203; 303; 503) пресс-формы при нахождении пресс-формы в открытом положении,
перемещение первой части (2; 102; 202; 302; 502) пресс-формы и второй части (3; 103; 203; 303; 503) пресс-формы навстречу друг другу в направлении (D) формования с образованием между этими частями (2; 102; 202; 302; 502; 3; 103; 203; 303; 503) пресс-формы закрытой формовочной камеры (17) путем приведения в контакт соответствующих упорных поверхностей (71, 72; 571, 572) первой части (2; 102; 202; 302; 502) пресс-формы и второй части (3; 103; 203; 303; 503) пресс-формы, причем упорные поверхности (71, 72; 571, 572) проходят поперечно направлению (D) формования,
при этом способ дополнительно включает этап перемещения указанных секторов (8; 108; 208; 308; 508) поперечно направлению (D) формования, причем пресс-форма содержит формовочный компонент (15; 115; 215; 315; 515), который проходит в формовочную область (4) переменного объема, тем самым сжимая формуемый материал в направлении (D) формования, при этом во время этапа перемещения секторов (8; 108; 208; 308; 508) каждый сектор (8; 108; 208; 308; 508) скользит по поверхности скольжения смежного сектора (8; 108; 208; 308; 508) для уменьшения объема формовочной области (4) переменного объема.
2. Способ по п.1, в котором указанные секторы (8; 108; 208; 308; 508) ограничивают боковую поверхность (5) формовочной области (4) переменного объема, причем указанные секторы (8; 108; 208; 308; 508) выполнены с возможностью перемещения между первым положением (P1), в котором объем формовочной области (4) переменного объема максимален, и вторым положением (P2), в котором объем формовочной области (4) переменного объема минимален, при этом дозу (100; 400; 500) располагают между первой частью (2; 102; 202; 302; 502) пресс-формы и второй частью (3; 103; 203; 303; 503) пресс-формы, когда указанные секторы (8; 108; 208; 308; 508) находятся в первом положении (P1).
3. Способ по п.1 или 2, в котором закрытую формовочную камеру (17) формируют путем приведения во взаимный контакт указанных секторов (8; 108; 208; 308; 508) и упорного элемента (16; 116; 216; 316; 516) части пресс-формы, выбранной из второй части (3; 103; 203; 303; 503) пресс-формы и первой части (2; 102; 202; 302; 502) пресс-формы и обращенной к указанным секторам (8; 108; 208; 308; 508), при этом указанный формовочный компонент (15; 115; 215; 315; 515) включен в часть пресс-формы, обращенную к секторам, и расположен внутри упорного элемента (16; 116; 216; 316; 516).
4. Способ по п.3, в котором после приведения во взаимный контакт указанных секторов (8; 108; 208; 308; 508) и упорного элемента (16; 116; 216; 316; 516) одну часть пресс-формы, выбранную из первой части (2; 102; 202; 302; 502) пресс-формы и второй части (3; 103; 203; 303; 503) пресс-формы, перемещают дальше в направлении (D) формования, так что формовочный компонент (15; 115; 215; 315; 515) проходит между указанными секторами (8; 108; 208; 308; 508) для формования изделия.
5. Способ по любому из предшествующих пунктов, в котором формовочный компонент (15; 115; 215; 315; 515) представляет собой охватываемый формовочный компонент (15; 215; 515), при этом формуемый материал протекает между указанными секторами (8; 108; 208; 308; 508) и охватываемым формовочным компонентом (15; 215; 515) для формования боковой стенки изделия.
6. Способ по п.5, в котором охватываемый формовочный компонент (215) расположен ниже первой части (2; 102; 302; 402; 502) пресс-формы, а дозу (100) располагают на опорной поверхности (76), ограничивающей верхний конец охватываемого формовочного компонента (215).
7. Способ по любому из пп.1-4, в котором в конечном положении формования формовочный компонент (315) ограничивает закрытую формовочную камеру (17) поперечно направлению (D) формования и находится в контакте с указанными секторами (8; 108; 208; 308; 508) для предотвращения протекания формуемого материала между формовочным компонентом (315) и секторами (8; 108; 208; 308; 508).
8. Способ по любому из предшествующих пунктов, в котором первая часть (2; 102; 202; 302; 502) пресс-формы дополнительно содержит элемент (14; 114; 214; 314; 514) для формования торца, ограничивающий закрытую формовочную камеру (17) поперечно направлению (D) формования на стороне, противоположной второй части (2; 102; 202; 302; 502) пресс-формы.
9. Способ по п.8, в котором указанные секторы (8; 108; 208; 308; 508) выполнены с возможностью скольжения поперечно направлению (D) формования в контакте с элементом (14; 114; 214; 314; 514) для формования торца для уменьшения объема закрытой формовочной камеры (70).
10. Способ по п.8 или 9, в котором первая часть (2; 102; 202; 302; 502) пресс-формы имеет формовочную полость (24), которая содержит формовочную область (4) переменного объема, ограниченную указанными секторами (8; 108; 208; 308; 508) и углублением (70), выполненным в элементе (14, 114, 214, 314, 514) для формования торца.
11. Способ по любому из пп.8-10, в котором первая часть (2; 102; 202; 302; 502) пресс-формы содержит выступающий сердечник (73), выступающий из элемента (14; 114; 214; 314; 514) для формования торца по направлению ко второй части пресс-формы, при этом указанную дозу (100; 400; 500) располагают в первой части (2; 102; 202; 302; 502) пресс-формы в нецентральном положении относительно указанных секторов (8; 108; 208; 308; 508) со стороны выступающего сердечника (73), так что формуемый материал протекает между указанными секторами (8; 108; 208; 308; 508) и выступающим сердечником (73) для создания изделия, имеющего отверстие или углубление.
12. Способ по п.11, в котором выступающий сердечник (73) выступает из указанных секторов (8; 108; 208; 308; 508) по направлению ко второй части (3; 103; 203; 303; 505) пресс-формы для взаимодействия с направляющим отверстием (74), выполненным в формовочном компоненте (115).
13. Способ по любому из предшествующих пунктов, в котором каждый сектор (8; 108; 208; 308; 508) из указанных нескольких секторов перемещают поперечно направлению (D) формования для уменьшения объема закрытой формовочной камеры (17) под действием результирующей силы, определяемой комбинацией первой силы (F1), прикладываемой к указанному сектору (8; 108; 208; 308; 508) толкающим устройством, и второй силы (F2), прикладываемой к указанному сектору (8; 108; 208; 308; 508) соседним сектором (8; 108; 208; 308; 508) из указанных нескольких секторов.
14. Способ по любому из предшествующих пунктов, дополнительно включающий экструзию формуемого материала с получением таким образом непрерывного экструдата формуемого материала, отделение дозы (100; 400; 500) от непрерывного экструдата, транспортировку указанной дозы (100; 400; 500) в пресс-форму (1; 101; 201; 301; 501).
15. Способ по п.14, в котором непрерывный экструдат содержит по меньшей мере два слоя (78, 79) полимерного материала, причем дозу (400; 500) вводят в пресс-форму (401; 501) таким образом, что каждый из указанных двух слоев (78, 79) проходит поперечно направлению (D) формования.
16. Способ по любому из предшествующих пунктов, в котором указанные секторы (8; 108; 208; 308; 508) выполнены с возможностью перемещения поперечно направлению (D) формования между увеличенной конфигурацией (С1) и конечной конфигурацией (С2) формовочной области (4) переменного объема пресс-формы, при этом указанную дозу (100; 400; 500) высвобождают между первой частью (2; 102; 202; 302; 502) пресс-формы и второй частью (3; 103; 203; 303; 503) пресс-формы, когда секторы (8; 108; 208; 308; 508) находятся в увеличенной конфигурации (С1), причем поперечные размеры указанной дозы (100; 400; 500) меньше поперечных размеров формовочной области (4) переменного объема в увеличенной конфигурации (С1), при этом поперечные размеры указанной дозы (100; 400; 500) и формовочной области (4) переменного объема в увеличенной конфигурации (С1) измеряют перпендикулярно направлению (D) формования.
17. Способ по любому из предшествующих пунктов, в котором на этапе размещения дозы (100; 400; 500) формуемого материала между первой частью (2; 102; 202; 302; 502) пресс-формы и второй частью (3; 103; 203; 303; 503) пресс-формы указанную дозу (100; 400; 500) размещают на части пресс-формы, выбранной из первой части (2; 102; 202; 302; 502) пресс-формы и второй части (3; 103; 203; 303; 503) пресс-формы, в положении, в котором доза (100; 400; 500) по меньшей мере частично окружена указанными секторами (8; 108; 208; 308; 508) и удалена от секторов (8; 108; 208; 308; 508), причем указанные секторы (8; 108; 208; 308; 508) последовательно перемещают поперечно направлению формования для контакта с дозой (100; 400; 500).
18. Способ по любому из предшествующих пунктов, в котором этап перемещения секторов (8; 108; 208; 308; 508) поперечно направлению (D) формования начинают до образования закрытой формовочной камеры (7).
19. Способ по п.14, в котором этап перемещения секторов (8; 108; 208; 308; 508) поперечно направлению (D) формования оканчивают до образования закрытой формовочной камеры (7).
20. Способ по любому из пп.1-17, в котором этап перемещения секторов (8; 108; 208; 308; 508) поперечно направлению (D) формования начинают после образования закрытой формовочной камеры (7).
21. Способ по любому из предшествующих пунктов, в котором этап перемещения первой части (2; 102; 202; 302; 502) пресс-формы и второй части (3; 103; 203; 303; 503) пресс-формы навстречу друг другу в направлении (D) формования осуществляют с помощью приводного устройства, которое перемещает по меньшей мере одну часть пресс-формы, выбранную из первой части (2; 102; 202; 302; 502) пресс-формы и второй части (3; 103; 203; 303; 503) пресс-формы, по направлению к другой части пресс-формы, выбранной между второй частью (3; 103; 203; 303; 503) пресс-формы и первой частью (2; 102; 202; 302; 502) пресс-формы, причем указанные секторы (8; 108 ; 208; 308; 508) включены в часть пресс-формы, перемещаемую приводным устройством.
22. Способ по любому из предшествующих пунктов, дополнительно включающий этап блокирования краевой зоны дозы (500) между первой частью (2; 102; 302: 402; 502) пресс-формы и второй частью (3; 103; 203; 303; 503) пресс-формы перед началом деформации центральной зоны дозы (500).
23. Способ по п.22, в котором первая часть (2; 102; 302: 402; 502) пресс-формы имеет формовочную полость, при этом краевую зону дозы (500) блокируют между первой частью (2; 102; 302: 402; 502) пресс-формы и второй частью (3; 103; 203; 303; 503) пресс-формы, когда центральная зона дозы (500) расположена на расстоянии от дна формовочной полости.
24. Способ по п.22 или 23, в котором указанные секторы (8; 108; 208; 308; 508) включены в первую часть (2; 102; 302; 402; 502) пресс-формы, при этом краевую зону дозы (500) размещают на первой части пресс-формы (2; 102; 302: 402; 502) и блокируют между первой частью (2; 102; 302: 402; 502) пресс-формы и второй частью (3; 103; 203; 303; 503) пресс-формы до начала взаимодействия формовочного компонента (15; 115; 215; 315; 515) с центральной зоной дозы (500).
25. Способ по п.3, дополнительно включающий этап блокирования краевой зоны дозы (500) между первой частью (2; 102; 302: 402; 502) пресс-формы и второй частью (3; 103; 203; 303; 503) пресс-формы перед началом деформации центральной зоны дозы (500), причем указанные секторы (8; 108; 208; 308; 508) включены в первую часть (2; 102; 302: 402; 502) пресс-формы, при этом краевую зону дозы (500) блокируют между первой частью (2; 102; 302: 402; 502) пресс-формы и второй частью (3; 103; 203; 303; 503) пресс-формы, зажимая дозу (500) между блокирующим участком (580), выступающим из упорного элемента (16; 116; 216; 316; 516), и опорной поверхностью (79; 579) первой части (2; 102; 302: 402; 502) пресс-формы, причем указанные секторы (8; 108; 208; 308; 508) выполнены с возможностью скольжения по опорной поверхности (79; 579) для уменьшения объема формовочной области (4) переменного объема.
26. Способ по п.25, в котором блокирующая часть (580) проходит между секторами (8; 108; 208; 308; 508) для прижатия дозы (500) к опорной поверхности (79; 579).
27. Устройство для формования изделия, содержащее по меньшей мере одну пресс-форму (1; 101; 201; 301; 401; 501), которая содержит первую часть (2; 102; 202; 302; 402; 502) и вторую часть (3; 103; 203; 303; 403; 503), расположенные напротив друг друга, причем часть пресс-формы, выбранная из первой части (2; 102; 202; 302; 402; 502) и второй части (3; 103; 203; 303; 403; 503), содержит несколько секторов (8; 108; 208; 308; 508) для по меньшей мере частичного формования боковой поверхности изделия, при этом указанные секторы (8; 108; 208; 308; 508) ограничивают формовочную область (4) переменного объема пресс-формы (1; 101; 201; 301; 401; 501), причем каждый сектор (8; 108; 208; 308; 508) ограничен формовочной поверхностью (11; 111; 311), обращенной к формовочной области (4) переменного объема, и поверхностью (12; 112; 312) скольжения, примыкающей к формовочной поверхности (11; 111; 311), при этом устройство дополнительно содержит приводное устройство для перемещения первой части (2; 102; 202; 302; 402; 502) пресс-формы и второй части (3; 103; 203; 303; 403; 503) пресс-формы относительно друг друга вдоль направления (D) формования между открытым положением, в котором доза (100; 400; 500) формуемого материала расположена между первой частью (2; 102; 202; 302; 402; 502) пресс-формы и второй частью (3; 103; 203; 303; 403; 503) пресс-формы, и положением взаимного контакта, в котором первая часть (2; 102; 202; 302; 402; 502) пресс-формы и вторая часть (3; 103; 203; 303; 403; 503) пресс-формы находятся в контакте вдоль соответствующих опорных поверхностей (71, 72; 571, 572), расположенных поперечно направлению (D) формования, и между первой частью (2; 102; 202; 302; 402; 502) пресс-формы и второй частью (3; 103; 203; 303; 403; 503) пресс-формы образована закрытая формовочная камера (17), причем устройство дополнительно содержит толкающие средства для перемещения секторов (8; 108; 208; 308; 508) поперечно направлению (D) формования, так что каждый сектор (8; 108; 208; 308; 508) скользит по поверхности скольжения смежного сектора (8; 108; 208; 308; 508) для уменьшения объема формовочной области (4) переменного объема.
28. Устройство по п.27, в котором первая часть (2; 102; 202; 302; 502) пресс-формы дополнительно содержит элемент (14; 114; 214; 314; 514) для формования торца, который ограничивает закрытую формовочную камеру (17) поперечно направлению (D) формования на стороне, противоположной второй части (2; 102; 202; 302; 502) пресс-формы, при этом от элемента (14; 114; 214; 314) для формования торца проходит выступающий сердечник (73) по направлению ко второй части пресс-формы для создания изделия, имеющего отверстие или углубление, начиная с дозы (100), расположенной в первой части (2; 102; 202; 302; 502) пресс-формы в нецентральном положении по отношению к указанным секторам (8; 108; 208; 308; 508) со стороны выступающего сердечника (73).
| US 6416312 B1, 09.07.2002 | |||
| КУЛАЧКОВЫЙ ИМПУЛЬСНЫЙ ВАРИАТОР | 1997 |
|
RU2127843C1 |
| Упаковка для хранения чеснока | 1987 |
|
SU1549502A1 |
| WO 2020121190 A1, 18.06.2020 | |||
| WO 2005058572 A1, 30.06.2005 | |||
| DE 10235845 A1, 26.02.2004 | |||
| МАШИНА ДЛЯ КОМПРЕССИОННОГО ФОРМОВАНИЯ КРЫШЕК | 2006 |
|
RU2412808C2 |
Авторы
Даты
2024-12-25—Публикация
2021-08-05—Подача