ПЕРЕКРЕСТНАЯ ССЫЛКА НА РОДСТВЕННЫЕ ЗАЯВКИ
Настоящая заявка испрашивает приоритет согласно предварительной заявке на патент США №62/969,935, поданной 4 февраля 2020 г., которая включена в данный документ посредством ссылки.
ОБЛАСТЬ ИЗОБРЕТЕНИЯ
Настоящая заявка относится к устройствам, системам и способам нагрева посредством электромагнитных волн, в том числе микроволн.
УРОВЕНЬ ТЕХНИКИ
Энергия микроволн может использоваться для обработки или нагрева различных материалов в ряде отраслей, включая производство продуктов питания и напитков, а также различные химические отрасли. Например, были проведены испытания, и микроволны были применены в плазменных процессах (например, обработка порошка, химическая инфильтрация из паровой фазы, модификация поверхности и т.д.), химической обработке и синтезе, а также переработке отходов. Хотя были предприняты значительные усилия для расширения промышленного использования микроволновой энергии, достигнут лишь незначительный прогресс.
Недостатки, обычно связанные с использованием микроволновой энергии, включают (i) трудности, возникающие при разработке устройства или процесса, (ii) потребность в дорогостоящем оборудовании, (iii) общее ограниченное количество применений, (iv) изменение диэлектрических свойств, которые могут происходить при повышении температуры, или (v) их комбинация.
Остается потребность в устройствах, системах и способах нагрева микроволнами, которые преодолевают один или большее количество из этих недостатков, включая устройства и способы получения нагретой текучей среды, которую можно использовать, например, в дополнительных процессах в качестве источника тепла.
КРАТКОЕ ОПИСАНИЕ ИЗОБРЕТЕНИЯ
В настоящем документе предложены устройства, системы и способы, направленные на устранение одного или большего количества из вышеупомянутых недостатков, включая способы нагрева, которые не полностью основаны на диэлектрических свойствах текучей среды. В результате варианты реализации способов, представленных в настоящем документе, не являются специфическими для конкретного материала и применимы к широкому диапазону текучих сред, как описано в настоящем документе, включая органические текучие среды, неорганические текучие среды, водные текучие среды и т.д., каждая из которых может быть полярной или неполярной. Устройства и способы, представленные в настоящем документе, могут включать или основываться, соответственно, на системе с неподвижным слоем, в которой поток текучей среды контактирует с токоприемным материалом, на который воздействуют электромагнитные волны, такие как микроволны. Электромагнитные волны могут быть преобразованы в тепло токоприемным материалом, тем самым нагревая текучую среду в техпроцессе, который может быть непрерывным. Текучая среда может пропускаться через систему с неподвижным слоем один, два или большее количество раз, пока не будет достигнута желаемая температура текучей среды. Устройства и системы, описанные в настоящем документе, также могут позволять прикладывать давление по меньшей мере к части устройств или систем, такое как давление, превышающее критическое давление текучей среды, которое может удерживать всю или по меньшей мере часть текучей среды в жидкой фазе и/или сверхкритической фазе.
В одном аспекте в настоящем документе предложены устройства. В некоторых вариантах реализации настоящего изобретения устройства содержат трубку; и аппликатор, причем (i) первый конец трубки неподвижно или подпружинено прикреплен к аппликатору, и (ii) по меньшей мере часть трубки расположена в аппликаторе. В некоторых вариантах реализации настоящего изобретения устройства содержат трубку; токоприемный материал, расположенный в трубке; и аппликатор, причем (i) первый конец трубки неподвижно или подпружинено прикреплен к аппликатору, и (ii) по меньшей мере часть трубки и по меньшей мере часть токоприемного материала в трубке расположены в аппликаторе. В некоторых вариантах реализации настоящего изобретения второй конец трубки неподвижно или подпружинено прикреплен к аппликатору. Трубка может иметь вход, выход или вход и выход. Устройства также могут содержать один или большее количество микроволновых генераторов, при этом один или большее количество микроволновых генераторов расположены с возможностью направления множества микроволн в аппликатор для воздействия по меньшей мере на часть токоприемного материала множеством микроволн.
В некоторых вариантах реализации настоящего изобретения устройства содержат контейнер, определяющий внутренний объем, предназначенный для приема токоприемных частиц; по меньшей мере одно удерживающее устройство, расположенное во внутреннем объеме или рядом с ним и выполненное с возможностью удержания токоприемных частиц во внутреннем объеме, позволяя текучей среде вытекать из внутреннего объема; и конструкцию для излучения электромагнитных волн, выполненную с возможностью введения электромагнитных волн во внутренний объем для воздействия на токоприемные частицы, содержащиеся во внутреннем объеме. Конструкция для излучения электромагнитных волн может содержать прозрачную для электромагнитных волн секцию контейнера, через которую электромагнитные волны могут проходить снаружи контейнера во внутренний объем. Контейнер может содержать трубчатую секцию, выполненную из материала, прозрачного для электромагнитных волн, который образует прозрачную для электромагнитных волн секцию контейнера. Устройство может содержать аппликатор для направления электромагнитных волн через прозрачную для электромагнитных волн секцию во внутренний объем. В некоторых вариантах реализации настоящего изобретения конструкция для излучения электромагнитных волн по меньшей мере частично расположена в контейнере.
В другом аспекте в настоящем документе предложены системы. В некоторых вариантах реализации настоящего изобретения системы содержат источник текучей среды, в котором находится текучая среда, при этом источник текучей среды сообщается по текучей среде с трубкой; и насос, выполненный с возможностью обеспечения (i) текучей среды в трубке и/или (ii) давления внутри трубки, при этом насос сообщается по текучей среде с устройством и источником текучей среды.
В еще одном аспекте предусмотрены способы нагревания материала, такого как текучая среда.
В некоторых вариантах реализации настоящего изобретения способы включают приведение текучей среды в контакт с нагретым токоприемным материалом, таким как токоприемные частицы, для нагревания таким образом текучей среды со скоростью по меньшей мере 100 °С/мин °С/мин °С, по меньшей мере 200 °С/мин °С, по меньшей мере 300 °С/мин °С, по меньшей мере 400 °С/мин°С или по меньшей мере 500 °С/мин°С.
В некоторых вариантах реализации настоящего изобретения способы включают предоставление устройства или системы, как описано в настоящем документе; размещение текучей среды на входе трубки с некоторой скоростью потока; направление множества электромагнитных волн в аппликатор для воздействия по меньшей мере на часть токоприемного материала множеством электромагнитных волн для генерирования тепла, пока текучая среда находится в трубке, для получения нагретой текучей среды; и сбор нагретой текучей среды на выходе трубки. В некоторых вариантах реализации настоящего изобретения способы также включают (i) размещение по меньшей мере части нагретой текучей среды на входе трубки; (ii) направление множества электромагнитных волн в аппликатор для воздействия по меньшей мере на часть токоприемного материала множеством электромагнитных волн для генерирования тепла, пока нагретая текучая среда находится в трубке, для получения дополнительно нагретой текучей среды; и (iii) сбор дополнительно нагретой текучей среды на выходе трубки.
В некоторых вариантах реализации настоящего изобретения способы включают предоставление устройства или системы, как описано в настоящем документе; размещение материала рядом с трубкой; направление множества электромагнитных волн в аппликатор для воздействия по меньшей мере на часть токоприемного материала множеством электромагнитных волн для генерирования тепла, пока материал находится рядом с трубкой, для получения нагретого материала. Материал может содержать текучую среду, твердое вещество или их комбинацию. В некоторых вариантах реализации настоящего изобретения размещение материала рядом с трубкой включает контакт трубки с материалом.
Дополнительные аспекты будут изложены частично в последующем описании, а частично будут очевидны из описания или могут быть изучены при применении на практике аспектов, описанных в настоящем документе. Описанные в настоящем документе преимущества могут быть реализованы и достигнуты посредством элементов и комбинаций, конкретно указанных в прилагаемой формуле изобретения. Следует понимать, что приведенное далее общее описание и следующее за ним подробное описание дают лишь примеры и пояснения и не являются ограничивающими.
КРАТКОЕ ОПИСАНИЕ ГРАФИЧЕСКИХ МАТЕРИАЛОВ
ФИГ. 1А представляет собой изображение вида сбоку варианта реализации трубки.
ФИГ. 1В представляет собой изображение вида с торца варианта реализации трубки.
ФИГ. 1С представляет собой изображение вида с торца варианта реализации трубки.
ФИГ. 1D представляет собой изображение вида в поперечном сечении трубки согласно ФИГ. 1А.
ФИГ. 1Е представляет собой изображение вида в поперечном сечении трубки согласно ФИГ. 1А.
ФИГ. 1F представляет собой изображение варианта реализации трубки.
ФИГ. 1G представляет собой изображение варианта реализации трубки, имеющей монолитную конструкцию.
ФИГ. 1Н представляет собой изображение вида с торца варианта реализации трубки.
ФИГ. 1I представляет собой изображение варианта реализации трубки.
ФИГ. 1J представляет собой изображение возможного вида в поперечном сечении трубки согласно ФИГ. 1I.
ФИГ. 1K представляет собой изображение возможного вида в поперечном сечении трубки согласно ФИГ. 1I.
ФИГ. 2А представляет собой изображение варианта реализации микроволнового прерывателя.
ФИГ. 2В представляет собой изображение варианта реализации микроволнового прерывателя.
ФИГ. 2С представляет собой изображение варианта реализации микроволнового прерывателя.
ФИГ. 2D представляет собой изображение варианта реализации микроволнового прерывателя.
ФИГ. 3А представляет собой изображение вида сбоку варианта реализации аппликатора.
ФИГ. 3В представляет собой изображение вида в поперечном сечении варианта реализации аппликатора.
ФИГ. 4А представляет собой изображение вида в перспективе варианта реализации модульного блока аппликатора.
ФИГ. 4В представляет собой изображение вида в поперечном сечении модульного блока аппликатора согласно ФИГ. 4 В.
ФИГ. 4С и ФИГ. 4D представляют собой изображения видов сбоку варианта реализации аппликатора, содержащего варианты реализации модульных блоков аппликатора.
ФИГ. 5А представляет собой изображение варианта головного блока.
ФИГ. 5В представляет собой изображение вида спереди варианта реализации головного блока.
ФИГ. 5С представляет собой изображение вида в поперечном сечении головного блока согласно ФИГ. 5В.
ФИГ. 5D представляет собой изображение вида сбоку варианта реализации головного блока.
ФИГ. 5Е представляет собой изображение вида сбоку головного блока согласно ФИГ. 5D.
ФИГ. 6А представляет собой изображение вида сбоку варианта реализации устройства.
ФИГ. 6В представляет собой изображение вида сбоку варианта реализации устройства.
ФИГ. 6С представляет собой изображение вида с торца варианта реализации устройства.
ФИГ. 7 представляет собой изображение варианта реализации устройства, содержащего вариант реализации неподвижно прикрепленного головного блока.
ФИГ. 8 представляет собой изображение варианта реализации устройства, содержащего вариант реализации неподвижно прикрепленного головного блока.
ФИГ. 9А представляет собой изображение варианта реализации устройства, содержащего вариант реализации неподвижно прикрепленного головного блока.
ФИГ. 9В представляет собой изображение варианта реализации устройства, содержащего вариант реализации неподвижно прикрепленного головного блока и вариант реализации разделительного блока.
ФИГ. 10 представляет собой изображение варианта реализации устройства, содержащего вариант реализации подпружинено прикрепленного головного блока.
ФИГ. 11 представляет собой изображение варианта реализации системы.
ФИГ. 12А представляет собой изображение варианта реализации аппликатора и варианта реализации трубки, у которой первый конец и второй конец присоединены к аппликатору.
ФИГ. 12В представляет собой изображение варианта реализации аппликатора и варианта реализации трубки, у которой первый конец и второй конец присоединены к аппликатору.
ФИГ. 12С представляет собой изображение варианта реализации аппликатора и варианта реализации трубки, у которой первый конец присоединен к аппликатору.
ФИГ. 12D представляет собой изображение варианта реализации аппликатора и варианта реализации трубки, у которой первый конец присоединен к аппликатору.
ФИГ. 12Е представляет собой изображение варианта реализации аппликатора и варианта реализации трубки, у которой первый конец присоединен к аппликатору.
ФИГ. 12F представляет собой изображение вида в поперечном сечении варианта реализации аппликатора согласно ФИГ. 12А.
ФИГ. 12G представляет собой изображение варианта реализации трубки, расположенной в варианте реализации отверстия, определяемого аппликатором.
ФИГ. 12Н представляет собой изображение варианта реализации трубки, расположенной в варианте реализации отверстия, определяемого аппликатором.
ФИГ. 12I представляет собой изображение варианта реализации трубки, расположенной в варианте реализации отверстия, определяемого аппликатором.
ПОДРОБНОЕ ОПИСАНИЕ ИЗОБРЕТЕНИЯ
В настоящем документе предложены устройства, системы и способы для нагрева текучей среды с помощью электромагнитной энергии, такой как микроволновая энергия. Устройства содержат трубку, в которой расположен токоприемный материал, и трубка может быть по меньшей мере частично размещена в аппликаторе.
Контейнеры/Трубки
Устройства согласно настоящему документу могут содержать контейнер. Контейнер может определять внутренний объем, выполненный с возможностью приема токоприемного материала, такого как частицы токоприемного материала. Контейнер может иметь вход, выход или вход и выход. Вход может быть входом для приема текучей среды во внутренний объем, а выход может представлять собой выход для выпуска текучей среды из внутреннего объема. Устройство может содержать один контейнер (например, трубку) или более одного (например, два) контейнера (например, трубок). Если трубка описана в данном документе как имеющая некий признак, то такой признак может быть признаком контейнера; и наоборот, если контейнер описан в данном документе как имеющий некий признак, то такой признак может быть признаком трубки.
Контейнер может представлять собой трубку. Используемый в данном документе термин «трубка» относится к контейнеру, который (i) является продолговатым (например, имеет отношение длины к ширине по меньшей мере 1,1:1, по меньшей мере 1,5:1 или по меньшей мере 2:1) или содержит продолговатую часть, (ii) определяет внутренний объем, имеющий в любой точке форму поперечного сечения, которая не является многоугольной (например, круглой, эллиптической и т.д.), или (iii) их комбинации.
Внутренний резервуар контейнера, такого как трубка, может иметь соединение по текучей среде с входом и выходом, если вход и выход присутствуют. Контейнер, такой как трубка, может быть (i) прямым, криволинейным (например, иметь один или большее количество витков), изогнутым или их комбинацией, (ii) иметь любую внешнюю или внутреннюю форму поперечного сечения (например, многоугольную, немногоугольную и т.д.) или площадь, или (iii) иметь какие-либо внешние или внутренние размеры. «Внутренняя форма поперечного сечения» и «внутренние размеры» могут относиться к форме поперечного сечения, размерам и/или объемной емкости внутреннего резервуара. «Внешние или внутренние размеры» представляют собой внешний или внутренний диаметры, соответственно, если трубка является по существу цилиндрической или внутренний резервуар имеет по существу круглую форму поперечного сечения.
Контейнер, такой как трубка, может иметь любой(ые) внешний(ие) размер(ы) и любой(ые) внутренний(ие) размер(ы). Поскольку разница между внешним(и) размером(ами) и внутренним(и) размером(ами) определяет толщину стенки контейнера, внешний(ие) размер(ы) и внутренний(ые) размер(ы) могут быть выбраны таким образом, чтобы стенка контейнера могла (i) выдерживать один или большее количество параметров описанных в настоящем документе способов, таких как давление, (ii) позволять эффективно или в желаемой степени воздействовать на токоприемный материал микроволнами (например, микроволнами определенной частоты и/или длины волны), (iii) сохранять по меньшей мере часть токоприемного материала в желаемом месте или (iv) их комбинация. Контейнер, такой как трубка, может иметь внешний размер от около 5 мм до около 3 м, от около 10 мм до около 3 м, от около 20 мм до около 3 м, от около 50 мм до около 3 м, от около 100 мм до около 3 м, от около 250 мм до около 3 м, от около 500 мм до около 3 м, от около 1 м до около 3 м или от около 2 м до около 3 м, и внутренний размер может быть выбран для обеспечения желаемой толщины стенки контейнера (например, трубки).
В некоторых вариантах реализации настоящего изобретения трубка или по меньшей мере ее часть имеет по существу цилиндрическую форму и имеет внутренний резервуар, имеющий по существу круглую форму поперечного сечения. Используемое в данном документе выражение «по существу цилиндрический» относится к объекту или его части, имеющей по существу круглую форму поперечного сечения снаружи, при этом наименьший внешний диаметр объекта в любой точке его длины меньше, чем его наибольший внешний диаметр в любой точке по его длине не более чем на 20% (например, 100 и по меньшей мере 80), 15% (например, 100 и по меньшей мере 85), 10% (например, 100 и по меньшей мере 90), 5% (например, 100 и по меньшей мере 95) или 1% (например, 100 и по меньшей мере 99). Используемое в данном документе выражение «по существу круглый» относится к форме, имеющей наименьший диаметр (например, наружный диаметр трубки, внутренний диаметр внутреннего резервуара), который меньше ее наибольшего диаметра (например, наружный диаметр трубки, внутренний диаметр внутреннего резервуара) не более чем на 20% (например, 10 и по меньшей мере 8), 15% (например, 10 и по меньшей мере 8,5), 10% (например, 10 и по меньшей мере 9), 5% (например, 10 и по меньшей мере 9,5) или 1% (например, 10 и по меньшей мере 9,9).
В некоторых вариантах реализации настоящего изобретения часть контейнера, такая как трубка, выполненная из прозрачного для электромагнитных волн материала, является по существу цилиндрической и имеет внешний диаметр от около 3 мм до около 200 мм и внутренний диаметр - от около 2 мм до около 150 мм. В некоторых вариантах реализации настоящего изобретения часть контейнера, такая как трубка, выполненная из прозрачного для электромагнитных волн материала, является по существу цилиндрической и имеет внешний диаметр от около 3 мм до около 150 мм и внутренний диаметр - от около 2 мм до около 100 мм. В некоторых вариантах реализации настоящего изобретения часть контейнера, такая как трубка, выполненная из прозрачного для электромагнитных волн материала, является по существу цилиндрической и имеет внешний диаметр от около 3 мм до около 75 мм и внутренний диаметр - от около 2 мм до около 60 мм. В некоторых вариантах реализации настоящего изобретения часть контейнера, такая как трубка, выполненная из прозрачного для электромагнитных волн материала, является по существу цилиндрической и имеет внешний диаметр от около 15 мм до около 75 мм и внутренний диаметр - от около 10 мм до около 60 мм. В некоторых вариантах реализации настоящего изобретения часть контейнера, такая как трубка, выполненная из прозрачного для электромагнитных волн материала, является по существу цилиндрической и имеет внешний диаметр от около 45 мм до около 60 мм и внутренний диаметр - от около 30 мм до около 44 мм. В некоторых вариантах реализации настоящего изобретения часть контейнера, такая как трубка, выполненная из прозрачного для электромагнитных волн материала, является по существу цилиндрической и имеет внешний диаметр от около 50 мм до около 54 мм и внутренний диаметр - от около 40 мм до около 44 мм. Однако предусмотрены и другие размеры, поскольку устройства, представленные в данном документе, включая контейнеры (например, трубки), могут быть масштабированы для приспособления к любому потоку текучей среды. Например, часть контейнера, такая как трубка, выполненная из прозрачного для электромагнитных волн материала, может быть по существу цилиндрической и иметь внешний диаметр от около 0,5 м до около 3 м, от около 1 м до 3 м или от около 2 м до около 3 м и внутренний диаметр от около 0,4 м до около 2,9 м, от около 0,9 м до около 2,9 м или от около 1,9 м до около 2,9 м.
Контейнер (например, трубка) может быть контейнером под давлением. «Контейнер под давлением» означает контейнер, выполненный с возможностью выдерживать давление по меньшей мере 1 бар, по меньшей мере 5 бар, по меньшей мере 10 бар, по меньшей мере 15 бар, по меньшей мере 20 бар или по меньшей мере 25 бар.
Вход и выход, если они имеются, могут включать общее отверстие или два отверстия любого размера и в любом месте, которые позволяют текучей среде входить в контейнер (например, трубку) и выходить из него, соответственно. Если, например, контейнер представляет собой трубку, она может иметь вход, расположенный на первом конце или втором конце трубки, и трубка может иметь выход, расположенный на втором или первом конце трубки, соответственно. В альтернативном варианте трубка может иметь вход и выход, расположенные на первом конце трубки, или вход и выход, расположенные на втором конце трубки. Используемые в данном документе термины «первый конец», «на первом конце», «второй конец», «на втором конце» и т.п.относятся к областям, начинающимся в одной из конечных точек контейнера, такого как трубка, и простирающимся на величину, меньшую или равную 50% длины контейнера (например, трубки) по направлению к противоположному концу контейнера (например, трубки).
Контейнер, такой как трубка, может быть расположен в любой ориентации, если он присутствует в устройствах и системах, описанных в настоящем документе, или если он используется в описанных в данном документе способах. Например, контейнер, такой как трубка, может быть расположен так, что продольная ось контейнера (например, трубки) параллельна (0°) поверхности (например, земле, полу, потолку, стене и т.д.), поддерживающей устройство. В качестве дополнительного примера контейнер (например, трубка) может быть расположен так, что его продольная ось перпендикулярна (90°) к поверхности (например, земле, полу, потолку, стене и т.д.), поддерживающей устройство. В некоторых вариантах реализации настоящего изобретения контейнер (например, трубка) расположен под любым углом от 0° до 90° относительно поверхности (например, земли, пола, потолка, стены и т.д.), поддерживающей устройство. Например, угол между продольной осью контейнера (например, трубки) и поверхностью (например, землей, полом, потолком, стеной и т.д.), поддерживающей устройство, может составлять от 0° до 90°, от 10° до 90°, от 20° до 90°, от 30° до 90°, от 40° до 90°, от 50° до 90°, от 60° до 90°, от 70° до 90° или от 80° до 90°. Следовательно, если контейнер (например, трубка) содержит вход и выход, вход и выход контейнера могут быть расположены на одинаковой или разной высоте относительно поверхности (например, земли, пола, потолка и т.д.), поддерживающей устройство. Например, вход трубки может быть расположен ближе к поддерживающей поверхности, чем выход контейнера, что позволяет контейнеру (например, трубке) работать в режиме «восходящего потока». В альтернативном варианте выход контейнера (например, трубки) может быть расположен ближе к поддерживающей поверхности, чем вход контейнера (например, трубки), что позволяет контейнеру (например, трубке) работать в режиме «нисходящего потока».
Контейнер (например, трубка) может иметь любую длину, т.е. расстояние по прямой линии от конечной точки первого конца или, если имеется, первой крышки до второго конца или, если имеется, второй крышки контейнера (например, трубки). Контейнер (например, трубка), например, может иметь длину от около 0,1 м до около 5 м, от около 0,1 м до около 4 м, от около 0,1 м до около 3 м, от около 0,5 м до около 3 м, от около 0,5 м до около 2 м, от около 0,5 м до около 1,5 м или от около 1 м до около 1,5 м. Однако предусмотрены и другие длины, поскольку устройства, представленные в данном документе, включая контейнеры, могут быть масштабированы для приспособления к любому потоку текучей среды.
Контейнер (например, трубка) может содержать (например, может быть изготовленным из него) любой материал, позволяющий воздействовать на токоприемный материал в контейнере электромагнитными волнами, такими как микроволны. В некоторых вариантах реализации настоящего изобретения контейнер по меньшей мере частично выполнен из одного или большего количества материалов, которые включают прозрачный для электромагнитных волн материал. Используемое в данном документе выражение «прозрачный для электромагнитных волн материал» относится к материалам, которые остаются по существу ненагретыми (т.е. повышение температуры равно или меньше 5%) при воздействии на них одного или большего количества типов электромагнитных волн, таких как описанные в настоящем документе, в течение времени, достаточного для повышения температуры 1 л воды (первоначально имеющей температуру окружающей среды) по меньшей мере на 5%. Другими словами, прозрачный для электромагнитных волн материал прозрачен в отношении одного или большего количества типов электромагнитных волн, выбранных для использования, и не обязательно для всех электромагнитных волн. В некоторых вариантах реализации настоящего изобретения контейнер (например, трубка) по меньшей мере частично выполнен из одного или большего количества материалов, которые включают прозрачный для микроволн материал. Используемое в данном документе выражение «прозрачный для микроволн материал» относится к материалам, обычно диэлектрическим материалам с малыми потерями, которые остаются по существу ненагретыми (т.е. повышение температуры равно или меньше 5%) при воздействии на них микроволнам в течение времени, достаточного для повышения температуры 1 л воды (первоначально имеющей температуру окружающей среды) по меньшей мере на 5%. Прозрачный для электромагнитных волн материал, такой как прозрачный для микроволн материал, может быть выбран из керамики, полимера, стекла, стекловолокна, неорганического соединения (например, минерала) или их комбинации. В некоторых вариантах реализации настоящего изобретения неорганическое соединение содержит плавленый кварц, который обычно называют кварцем. В некоторых вариантах реализации настоящего изобретения прозрачный для электромагнитных волн материал, такой как прозрачный для микроволн материал, содержит нитрид кремния. В некоторых вариантах реализации настоящего изобретения прозрачный для электромагнитных волн материал, такой как прозрачный для микроволн материал, содержит керамику. В некоторых вариантах реализации настоящего изобретения керамика содержит кремний, алюминий, азот и кислород, и этот материал может называться керамикой SiAION. В некоторых вариантах реализации настоящего изобретения керамика содержит оксид алюминия. Оксид алюминия может представлять собой коммерчески доступный оксид алюминия, который может содержать до 10 масс. %, до 5 масс. % или до 1 масс. % примесей, таких как оксид кремния, оксид кальций, оксид магния, оксид железа, оксид натрия, оксид титана, оксид хрома, оксид калия, оксид бора или их комбинацию. В некоторых вариантах реализации настоящего изобретения содержание оксида алюминия составляет 99,8% (McDaniel Advanced Ceramic Technologies, Пенсильвания, США).
Контейнер (например, трубка) может быть изготовлен из одного или большего количества материалов. Например, по меньшей мере часть трубки, расположенной в аппликаторе, может быть изготовлена из одного или большего количества прозрачных для электромагнитных волн материалов, в то время как один или большее количество других материалов могут быть использованы для изготовления остальной части контейнера. Например, контейнер может быть изготовлен из керамики и металла.
В некоторых вариантах реализации настоящего изобретения контейнер (например, трубка) представляет собой монолитную конструкцию, выполненную из одного или большего количества прозрачных для электромагнитных волн материалов. Используемое в данном документе выражение «монолитная структура» относится к структуре, образованной из цельного куска материала (например, керамики, металла и т.д.). Например, контейнер, имеющий монолитную структуру, может представлять собой трубку, которая содержит единую трубчатую деталь, полностью выполненную из керамики. Керамическая монолитная конструкция может содержать вход и выход на первом и втором концах, соответственно. В некоторых вариантах реализации настоящего изобретения монолитная конструкция содержит один или большее количество конструктивных элементов (например, углубление, канавка, гребень, фланец и т.д.) для размещения другой части устройств, предусмотренных в настоящем документе, например зажима или другой части головного блока. Однако в монолитной конструкции может отсутствовать один или большее количество конструктивных элементов, предназначенных для размещения другой части устройств, предусмотренных в настоящем документе.
В некоторых вариантах реализации настоящего изобретения контейнер (например, трубка) содержит первую крышку, расположенную на первом конце контейнера (например, трубки), вторую крышку, расположенную на втором конце контейнера (например, трубки), или первую крышку и вторую крышку, расположенные на первом конце и втором конце контейнера (например, трубки), соответственно. В некоторых вариантах реализации настоящего изобретения вход контейнера (например, трубки) обеспечивается первой крышкой. В некоторых вариантах реализации настоящего изобретения выход контейнера (например, трубки) обеспечивается второй крышкой. Например, первая крышка и/или вторая крышка могут образовывать отверстие, позволяющее текучей среде входить во внутренний резервуар контейнера (например, трубки) или выходить из него, соответственно. Первая крышка и/или вторая крышка могут быть изготовлены из любого материала. В некоторых вариантах реализации настоящего изобретения первая крышка и/или вторая крышка выполнены из материала, имеющего коэффициент теплового расширения, который идентичен или близок (например, в пределах 10%) к коэффициенту теплового расширения прозрачного для электромагнитных волн материала, например прозрачного для микроволн материала контейнера (например, трубки). В некоторых вариантах реализации настоящего изобретения первая крышка и/или вторая крышка выполнены из металла. Металл может представлять собой сплав, такой как сплав, содержащий железо, кобальт и никель (например, сплав KOVAR®). В некоторых вариантах реализации настоящего изобретения первая крышка и/или вторая крышка выполнены из металла, часть трубки содержит керамику, и первая крышка, вторая крышка или как первая крышка, так и вторая крышка соединены любым образом, включая способ, предусматривающий образование уплотнение между трубкой и первой крышкой, второй крышкой или как первой крышкой, так и второй крышкой. Например, контейнер (например, трубка) может быть соединен с первой крышкой, второй крышкой или первой крышкой и второй крышкой с помощью (i) припоя керамики к металлу, (ii) адгезива, (iii) закрепления резьбового конца трубки в первой крышке и/или второй крышке, которые также могут иметь резьбу, или (iv) их комбинации. Пайка может обеспечивать уплотнение, которое может быть достаточным, чтобы выдержать один или большее количество параметров описанных в данном документе способов, таких как давление. В некоторых вариантах реализации настоящего изобретения часть контейнера (например, трубка) содержит оксид алюминия, а первая крышка, вторая крышка или как первая крышка, так и вторая крышка содержат сплав KOVAR®. Сплав KOVAR® может быть присоединен к керамике, такой как оксид алюминия, посредством (i) припоя керамики к металлу, (ii) нарезания резьбы на одном или обоих из керамики и сплава KOVAR®, или (iii) их комбинации. Адгезив может быть керамическим адгезивом, таким как коммерчески доступный от Sauereisen, Inc. (Пенсильвания, США). Первая крышка и/или вторая крышка в целом могут иметь любую форму. Например, первая крышка и/или вторая крышка могут иметь элемент (например, углубление, канавку, ребро, фланец и т.д.), который соответствует другой части контейнера (например, трубки), системы или устройства согласно настоящему документу. В некоторых вариантах реализации настоящего изобретения первая крышка и/или вторая крышка имеет один или большее количество элементов (например, углубление, канавку, ребро, фланец и т.д. любой многоугольной или немногоугольной формы), которые могут позволить использовать первую крышку и/или вторую крышку для размещения зажима или другого устройства, которое можно использовать в качестве или как часть уплотнения, как описано в настоящем документе, такого как уплотнение между первой крышкой и/или второй крышкой и другой частью (например, головным блоком) указанных в данном документе устройств или систем.
Вариант реализации трубки изображен на ФИГ. 1А (вид сбоку), ФИГ. 1В (вид с торца) и ФИГ. 1С (вид с торца). Трубка 100 согласно ФИГ. 1А по существу цилиндрическая и имеет первый конец 101 и второй конец 102. Трубка 100 содержит среднюю часть 110, выполненную из прозрачного для микроволн материала, первую крышку 120 на первом конце 101, и вторую крышку 130 на втором конце 102. Как показано на ФИГ. 1В, первый конец 101 трубки 100 имеет вход 121, обеспечиваемый первой крышкой 120. Как показано на ФИГ. 1С, второй конец 102 трубки 100 имеет выход 131, обеспечиваемый второй крышкой 130. Хотя вход 121 на ФИГ. 1В и выход 131 на ФИГ. 1С расположены по центру первой крышки 120 и второй крышки 130, соответственно, предусмотрены и другие варианты реализации, такие как варианты реализации, в которых по меньшей мере один из входа 121 и выхода 131 расположен не по центру.
Другой вариант реализации трубки изображен на ФИГ. 1F (вид сбоку). Трубка 160 согласно ФИГ. 1F по существу цилиндрическая и имеет первый конец 161 и второй конец 162. Трубка 160 содержит среднюю часть 163, выполненную из прозрачного для микроволн материала, первую крышку 164 на первом конце 161, и вторую крышку 165 на втором конце 162. Первая крышка 164 и вторая крышка 165 содержат фланец (166, 167). Фланец (166, 167) может вмещать зажим или другое устройство. Виды с торца трубки 160 на ФИГ. 1F идентичны таковым на ФИГ. 1В и ФИГ. 1С, так как первый конец 161 трубки 160 имеет вход, обеспечиваемый первой крышкой 164, и второй конец 162 трубки 160 имеет выход, обеспечиваемый второй крышкой 165. В некоторых вариантах реализации настоящего изобретения одна или обе и первой крышки 164 и второй крышки 165 может содержать фланец, имеющий некруглую форму, такой как квадратный или прямоугольный фланец, и такие варианты реализации будут иметь виды с торца, которые отличаются от изображенных на ФИГ. 1В и ФИГ. 1С.
Еще один вариант трубки изображен на ФИГ. 1G (вид сбоку) и ФИГ. 1Н (вид с торца). Трубка 170 согласно ФИГ. 1G по существу цилиндрическая и имеет первый конец 171 и второй конец 172. Трубка 170 имеет монолитную структуру, образованную из прозрачного для микроволн материала, такого как керамика. Монолитная конструкция содержит фланец (173, 174) на первом конце 171 и втором конце 172. Фланцы (173, 174) могут вмещать зажим или другое устройство. Вид трубки 170 с торца на ФИГ. 1G предоставлен на ФИГ. 1Н, где изображен фланец 173 и вход 175. В некоторых вариантах реализации настоящего изобретения (не показаны) вход 175 отсутствует.
Внешние размеры контейнера (например, трубки) могут быть выбраны в соответствии с размерами аппликатора. Аппликатор, например, может содержать конструкцию, определяющую одно или большее количество отверстий, в которых расположена трубка. Контейнер (например, трубка) может иметь внешний размер, позволяющий контейнеру (например, трубке) контактировать по меньшей мере с частью одного или большего количества отверстий аппликатора. Контейнер (например, трубка) может иметь внешний размер, который меньше соответствующего размера отверстия аппликатора на величину от около 0,1 мм до около 10 мм, от около 0,1 мм до около 5 мм, от около 2 мм до около 4 мм или от около 3 мм до около 3,5 мм. Аппликатор может содержать одну или большее количество камер, образованных стенками, при этом каждая из стенок образует отверстие, в котором расположена трубка, и относительно небольшая разница между внешним размером трубки и размером отверстия может уменьшить или устранить утечку микроволнового излучения.
Контейнер (например, трубка) также может содержать микроволновый прерыватель. Используемый в данном документе термин «микроволновый прерыватель» относится к устройству, выполненному с возможностью уменьшения или устранения способности микроволн нагревать по меньшей мере часть одного или большего количества компонентов устройства. Например, микроволновый прерыватель может быть выполнен с возможностью нарушения резонанса микроволн. В некоторых вариантах реализации настоящего изобретения микроволновый прерыватель размещается внутри контейнера (например, трубки). Микроволновый прерыватель может быть установлен любым способом на любой части контейнера (например, трубки). Например, микроволновый прерыватель может быть закреплен на любой части контейнера (например, трубки). В некоторых вариантах реализации настоящего изобретения микроволновый прерыватель расположен на первом конце контейнера (например, трубки), входе контейнера (например, трубки), втором конце контейнера (например, трубки), выходе контейнера (например, трубки) или их комбинации. Размещение микроволнового прерывателя на первом конце контейнера (например, трубки) и/или на входе контейнера (например, трубки), имеющего первую крышку на первом конце, может уменьшить или исключить нагрев первой крышки микроволнами. Размещение микроволнового прерывателя на втором конце контейнера (например, трубки) и/или на выходе контейнера (например, трубки), имеющего вторую крышку на втором конце, может уменьшить или исключить нагрев второй крышки микроволнами.
Используемые в данном документе термины «неподвижно установленный», «неподвижно соединенный» и т.п. описывают прикрепленное или закрепленное соединение, которое выполнено неэластичным, включая соединение, которое (i) выполнено как постоянное (например, два объекты соединены сваркой, или объект после формирования включает в себя два элемента, например вторую крышку, содержащую микроволновый прерыватель), и/или (ii) содержит один или большее количество креплений или элементов, которые (а) (1) не могут быть сняты вручную (например, резьбовое соединение, затянутое с помощью инструмента, некоторые виды адгезива, затянутый хомут, материал, обеспечивающий трение между двумя объектами и т.д.) или (2) могут быть сняты вручную без помощи инструмента для ослабления соединения (например, объекты, соединенные соответствующими ответными элементами, такими как язычок и прорезь, гребень и паз, некоторые виды адгезива, материал, обеспечивающий трение между объектами и т.д.), и/или (b) могут выдерживать без нарушения один или большее количество параметров способов, описанных в настоящем документе, таких как давление, тепло, сила(ы), вызванные тепловым расширением, и т.д.
Микроволновый прерыватель обычно может содержать (например, может быть выполнен из него) любой материал и иметь любую форму, способную уменьшить или устранить нагревательную способность микроволн в месте расположения микроволнового прерывателя или рядом с ним. В некоторых вариантах реализации настоящего изобретения микроволновый прерыватель содержит металл, такой как медь, нержавеющая сталь и т.д. Микроволновый прерыватель может содержать проволоку (т.е. гибкую и продолговатую) или стержень (т.е. жесткий и продолговатую), который(ая) может быть прямым(ой), криволинейным(ой), изогнутым(ой) или их комбинацией. Если микроволновый прерыватель содержит проволоку или стержень, фланец, одну или большее количество выступающих конструкций или их комбинацию можно расположить на любой части проволоки или стержня.
Несколько вариантов микроволновых прерывателей изображены на ФИГ. 2А-ФИГ. 2D. Микроволновый прерыватель 200 на ФИГ. 2А содержит изогнутую проволоку 202, имеющую первый конец 201, который может быть прикреплен в любом месте контейнера (например, трубки). Микроволновый прерыватель 210 на ФИГ. 2В содержит по существу цилиндрический стержень 212, имеющий первый конец 211, который может быть прикреплен в любом месте контейнера (например, трубки). Микроволновый прерыватель 210 также содержит по существу круглый фланец 213. Микроволновый прерыватель 220 на ФИГ. 2С содержит стержень 222, имеющий первый конец 221, который может быть установлен в любом месте на контейнере (например, трубке). Микроволновый прерыватель 220 также содержит три выступающие конструкции 223. Микроволновый прерыватель 230 на ФИГ. 2D содержит проволоку 232, имеющую множество кривых и первый конец 231, который может быть установлен в любом месте на контейнере (например, трубке).
Устройство, система или ее часть, например трубка, может содержать одно или большее количество удерживающих устройств для (i) предотвращения утечки токоприемного материала из внутреннего резервуара и/или крышки контейнера (например, трубки), (ii) контроля расположения токоприемного материала в устройстве, системе или их части, такой как внутренний резервуар, крышка, головной блок и т.д., (iii) предотвращения контакта токоприемного материала с текучей средой или (iv) их комбинации. Одно или большее количество удерживающих устройств могут содержать материал, проницаемый или непроницаемый для текучей среды, находящейся на входе контейнера (например, трубки). Одно или большее количество удерживающих устройств могут быть расположены в любом месте системы или устройства. Одно или большее количество удерживающих устройств могут быть (i) расположены во внутреннем объеме, образованном контейнером, таком как трубка, или рядом с ним, и/или (ii) выполнены с возможностью удерживать токоприемные частицы во внутреннем объеме, образованном контейнером, при этом позволяя текучей среде вытекать из внутреннего объема. В некоторых вариантах реализации настоящего изобретения удерживающее устройство содержит мембрану. В некоторых вариантах реализации настоящего изобретения удерживающее устройство содержит множество отверстий, через которые может проходить текучая среда, но не может проходить токоприемный материал, такой как токоприемные частицы. В некоторых вариантах реализации настоящего изобретения одно или большее количество удерживающих устройств содержат сетку. Удерживающее устройство (например, мембрана, сетка и т.д.), которое может содержать раму, может быть расположено (например, неподвижно закреплено) (i) внутри контейнера (например, трубки) или рядом с ним, например, на одном или обоих концах внутреннего резервуара, в крышке или рядом с крышкой, (ii) в головном блоке или рядом с ним (например, в головном блоке, между головным блоком и крышкой и/или в трубе или другом устройстве, через которое текучая среда выходит из головного блока), или (iii) их комбинацию. Для удерживающего устройства может быть выбран любой показатель сита; например, удерживающее устройство может иметь любое подходящее значение меш. В некоторых вариантах реализации настоящего изобретения удерживающее устройство представляет собой сетку от 4 до 400, от 10 до 200, от 20 до 100 или от 20 до 50 меш. В некоторых вариантах реализации настоящего изобретения удерживающее устройство содержит сетку 30 меш. В некоторых вариантах реализации настоящего изобретения средняя открытая площадь отверстий в удерживающем механизме составляет менее 20 кв. мм, 15 кв. мм, 10 кв. мм, 5 кв. мм или 2 кв. мм. В некоторых вариантах реализации настоящего изобретения удерживающее устройство содержит сетку, соединенную с контейнером, перфорированную пластину, соединенную с контейнером, или перфорированную стенку контейнера. В некоторых вариантах реализации настоящего изобретения по меньшей мере одно удерживающее устройство имеет положение первой удерживающей конструкции рядом со входом для текучей среды контейнера (например, трубки) и положение второй удерживающей конструкции рядом с выходом для текучей среды. В дополнение к проницаемости для текучей среды, расположенной во входе контейнера (например, трубки), одно или большее количество удерживающих устройств также могут вмещать через отверстие или иным образом один или большее количество других компонентов контейнера (например, трубки), таких как микроволновый прерыватель. Микроволновый прерыватель, например, может содержать часть, расположенную в отверстии, образованном одним или большим количеством удерживающих устройств. В некоторых вариантах реализации настоящего изобретения одно или большее количество удерживающих устройств содержат один или большее количество корпусов, выполненных, по меньшей мере частично, из прозрачного для электромагнитных волн материала, такого как прозрачный для микроволн материал, который может быть (i) непроницаемым для текучей среды, и (ii) идентичным или отличным от прозрачного для электромагнитных волн материала трубки. Токоприемный материал может быть расположен в одном или большем количестве корпусов. Корпус, как правило, может иметь любую форму, а контейнер (например, трубка) может содержать один или большее количество корпусов, в которых расположен токоприемный материал. В некоторых вариантах реализации настоящего изобретения корпус, в котором расположен токоприемный материал, представляет собой удлиненный корпус, имеющий отношение длины к ширине по меньшей мере 3:1 (например, цилиндрической формы), тем самым образуя конфигурацию «трубка в трубке», в которой текучая среда пересекает площадь, ограниченную по меньшей мере частично внешней поверхностью удлиненного корпуса и внутренней поверхностью трубки. В некоторых вариантах реализации настоящего изобретения два или большее количество удлиненных корпусов любым образом расположены в контейнере (например, в трубке). В некоторых вариантах реализации настоящего изобретения один или большее количество корпусов содержат одну или большее количество капсул, имеющих отношение длины к ширине менее 3:1 (например, сферической, эллиптической, квадратной, прямоугольной формы), расположенных любым образом в контейнере (например, в трубке). Токоприемный материал, расположенный в корпусе, может быть в любой форме, включая формы, описанные в данном документе, такие как форма частиц, монолитная форма или их комбинация.
Вид в поперечном сечении трубки согласно ФИГ. 1А изображен на ФИГ. 1D. Трубка 100 содержит внутренний резервуар 151 и сетки (141, 142), расположенные на обоих концах внутреннего резервуара 151, которые удерживают токоприемный материал 150 во внутреннем резервуаре 151. Сетка 142, расположенная ближе всего ко второму концу 102 трубки 100, определяет отверстие, вмещающее микроволновый прерыватель 210 согласно ФИГ. 2В. Первый конец 211 микроволнового прерывателя 210 неподвижно прикреплен ко второй крышке 130 трубки 100, и, как показано на ФИГ. 2В, микроволновый прерыватель 210 содержит стержень 212 и фланец 213. Микроволновый прерыватель 210 может уменьшать или устранять способность микроволн нагревать часть трубки, такую как вторая крышка 130, обеспечивающая выход 131. В некоторых вариантах реализации настоящего изобретения сетка 142 может быть расположена ближе к первому концу 101 трубки 100 так что нет необходимости в том, чтобы микроволновый прерыватель 210 проходит сквозь сетку 142.
Другой вид поперечного сечения трубки согласно ФИГ. 1А изображен на ФИГ. 1Е, который содержит токоприемный материал 150, расположенный во внутреннем резервуаре 151.
Аппликатор
Устройства согласно настоящему документу могут содержать аппликатор, такой как микроволновый аппликатор. Аппликаторы могут содержать любые устройства, к которым каким-либо образом прикреплен контейнер (например, трубка), в то время как на токоприемный материал воздействует множество электромагнитных волн, таких как множество микроволн. Множество электромагнитных волн, подаваемых в аппликатор, может включать в себя множество радиоволн, множество микроволн, множество инфракрасных волн, множество гамма-лучей, любой другой тип электромагнитных волн или их комбинацию. Множество электромагнитных волн может генерироваться, по меньшей мере частично, лазером. Любой из аппликаторов, представленных в настоящем документе, включая упомянутые (i) как «микроволновый аппликатор», (ii) как размещающие микроволны или (iii) используемые с одним или большим количеством микроволновых генераторов, можно использовать с каждым из вышеупомянутых типов электромагнитных волн.
Один или большее количество контейнеров (например, трубок) могут быть расположены по меньшей мере частично в аппликаторе. По меньшей мере часть контейнера (например, трубки) и/или по меньшей мере часть токоприемного материала расположена «внутри» аппликатора, когда находится в положении, которое позволяет по меньшей мере части электромагнитных волн, находящихся в аппликаторе, контактировать, пересекать и/или воздействовать по меньшей мере на часть контейнера и/или по меньшей мере часть токоприемного материала, соответственно. В некоторых вариантах реализации настоящего изобретения аппликатор содержит более одного компонента, и один или большее количество контейнеров (и, если он присутствует, токоприемный материал в одном или большем количестве контейнеров) расположены по меньшей мере частично в компоненте аппликатора, в котором находятся электромагнитные волны (например, сосуд, модульный блок и т.д.). Например, один контейнер, два контейнера, три контейнера, четыре контейнера или большее их количество могут быть расположены в аппликаторе по меньшей мере частично. Каждый контейнер может быть независимо полностью или частично размещен в аппликаторе. Например, если контейнер представляет собой трубку, трубка может быть полностью расположена внутри аппликатора (например, ни одна из трубок не выступает из аппликатора) или частично внутри аппликатора (например, первый конец или оба конца, первый и второй, трубки выступают из аппликатора).
Аппликатор может содержать единую деталь, к которой крепится контейнер (например, трубка) и в который вводятся электромагнитные волны, такие как микроволны (например, сосуд, модульный блок и т.д.). В альтернативном варианте аппликатор может содержать две или большее количество частей, таких как сосуд или модульный блок, в которые вводятся микроволны, и по меньшей мере одну отдельную деталь, такую как крепежное устройство, как описано в настоящем документе (например, отдельный кронштейн и/или другую конструкцию) (например, основание, удлиненная опора (например, подвеска, проволока, стержень, трос, цепь, трубопровод (например, трубопровод, обеспечивающий связь компонентов системы по текучей среде и т.д.) и т.д.)), к которому прикреплен контейнер (например, трубка) любым способом. Аппликатор может содержать сосуд и по меньшей мере один отдельный элемент, и сосуд и по меньшей мере один отдельный элемент могут быть расположены в одном и том же или в разных местах. Например, сосуд может быть расположен на полу, основании, первой опоре и т.д., и по меньшей мере одна отдельная деталь (к которой трубка может быть прикреплена любым образом) может быть расположена на полу, основании, опоре или в другом месте, например потолке, стене, втором основании, второй опоре и т.д. или отходить от него/нее.
В дополнение к примерам, изображенным на ФИГ. 3А, 3В, 4С, 4D, 6А, 6В, 6С, 7, 8, 9А, 9В, 10 и 11 дополнительные неограничивающие примеры того, как первый конец (или первый конец и второй конец) контейнера (например, трубки) может быть неподвижно или подпружинено прикреплен к аппликатору, изображены на ФИГ. 12А, 12В, 12С, 12D и 12Е. Предусмотрены и другие конфигурации.
ФИГ. 12А представляет собой изображение варианта реализации аппликатора (1202А, 1202В), расположенного на опорной конструкции 1203. Аппликатор (1202А, 1202В) содержит сосуд, в который вводятся микроволны 1202А и два основания 1202В. Первый конец и второй конец трубки 1201 установлена на основаниях 1202В. Основания 1202В могут быть выполнены с возможностью неподвижного или подпружиненного прикрепления одного или обоих концов трубки 1201 на аппликаторе (1202А, 1202В). В альтернативных вариантах реализации аппликатор согласно ФИГ. 12А имеет только одно основание 1202В. Один или оба основания (1202В) могут содержать колеса и/или другие элементы, способствующие или облегчающие снятие трубки 1201 с сосуда 1202А. Хотя оба конца трубки 1201 на ФИГ. 12А выступают из сосуда 1202А, это не является обязательным для одного или обоих концов. Вид в поперечном сечении сосуда 1202А на ФИГ. 12А изображен на ФИГ. 12F. ФИГ. 12F иллюстрирует отверстие 1210, определяемое сосудом 1202А, и трубка 1201, прикрепленная к аппликатору (1202А, 1202В) расположена в отверстии, но трубка 1201 не касается сосуда 1202А, тем самым делая возможной «плавающую» конфигурацию трубки. В альтернативном варианте основание(я) 1202В на ФИГ. 12А может(могут) быть выполнено(ы) таким образом, чтобы позволять части трубки 1201 контактировать с сосудом 1202А в одном или большем количестве мест; пример такой конфигурации изображен на ФИГ. 12G. Дополнительно или в альтернативном варианте аппликатор (1202А, 1202В), как показано, например, на ФИГ. 12Н и ФИГ. 12I, может содержать материал 1220, расположенный между и в контакте с сосудом 1202А, и трубку 1201, расположенную в отверстии 1210. Материал 1220 может полностью или частично огибать трубу. Материал 1220, например, может быть выполнен так, как показано на ФИГ. 12Н, или материал 1220 может содержать одну или большее количество дискретных частей, как показано, например, на ФИГ. 12I. Материал 1220 может иметь одну или большее количество характеристик (например, жесткость, гибкость, адгезивность и т.д.), которые неподвижно или подпружинено прикреплять трубку 1201 к аппликатору (1202А, 1202В), как описано в настоящем документе, с основанием(ями) 1202В или без него(них) (см., например, ФИГ. 3А, ФИГ. 3В). Материал 1220, например, может быть эластичным материалом, компенсирующим возможное расширение и сжатие трубки 1201. В некоторых вариантах реализации настоящего изобретения материал 1220 размещается в одном или большем количестве отверстий, определяемых сосудом 1202А аппликатора (1202А, 1202В).
ФИГ. 12В представляет собой изображение варианта реализации аппликатора (1202А, 1202В, 1202С), расположенного на опорной конструкции 1203. Аппликатор (1202А, 1202В, 1202С) содержит сосуд, в который вводятся микроволны 1202А, два кронштейна 1202 В и две удлиненные опоры 1202С.Две удлиненные опоры 1202С соединены с кронштейнами 1202В и продолжаются от кронштейнов 1202В к первому концу и второму концу трубки 1201. Две продолговатые опоры могут содержать любой материал и могут быть жесткими или гибкими, что позволяет подпружинено или неподвижно прикреплять трубку на аппликаторе (1202А, 1202В, 1202С). Кронштейны 1202В могут быть прикреплены к любой конструкции или поверхности или, в альтернативном варианте, удлиненные опоры 1202С могут быть прикреплены непосредственно к любой конструкции или поверхности без кронштейнов 1202 В. Первый конец и второй конец трубки 1201 могут крепиться к удлиненным опорам 1202С любым способом. Аппликатор (1202А, 1202В, 1202С), опорная конструкция 1203 и/или необязательный дополнительный материал 1220 могут быть выполнены с возможностью размещения трубки 1201 каким-либо образом, как изображено на ФИГ. 12F, ФИГ. 12G, ФИГ. 12Н и/или ФИГ. 12I.
ФИГ. 12С представляет собой изображение варианта реализации аппликатора (1202А, 1202В, 1202С), расположенного на опорной конструкции 1203. Аппликатор (1202А, 1202В, 1202С) содержит сосуд, в который вводятся микроволны 1202А, два кронштейна 1202В и две удлиненные опоры 1202С. Две удлиненные опоры 1202С соединены с кронштейнами 1202В и продолжаются от кронштейнов 1202В к первому концу трубки 1201. Две продолговатые опоры могут содержать любой материал и могут быть жесткими или гибкими, что позволяет подпружинено или неподвижно прикреплять трубку на аппликаторе (1202А, 1202В, 1202С). Кронштейны 1202В могут быть прикреплены к любой конструкции или поверхности или, в альтернативном варианте, удлиненные опоры 1202С могут быть прикреплены непосредственно к любой конструкции или поверхности без кронштейнов 1202В. Первый конец трубки 1201 может быть прикреплен к удлиненным опорам 1202С любым способом, например, с помощью муфты или элемента трубки 1201. В альтернативных вариантах реализации (i) аппликатор согласно ФИГ. 12С имеет только один кронштейн 1202В и только одну удлиненную опору 1202С, (ii) аппликатор поддерживается не опорной конструкцией 1203, а так, как показано на ФИГ. 12D. Удлиненные опоры 1202С можно использовать для подъема трубки 1201 частично или полностью из сосуда 1202А, что может облегчить очистку, техобслуживание, удаление/пополнение содержимого трубки 1201 и т.д. Хотя оба конца трубки 1201 на ФИГ. 12С выступают из сосуда 1202А, это не является обязательным для одного или обоих концов. Аппликатор (1202А, 1202В, 1202С), опорная конструкция 1203 и/или необязательный дополнительный материал 1220 могут быть выполнены с возможностью размещения трубки 1201 каким-либо образом, как изображено на ФИГ. 12F, ФИГ. 12G, ФИГ. 12Н и/или ФИГ. 12I. Хотя кронштейны 1202В и удлиненные опоры 1202С изображены на ФИГ. 12С на «верхнем» конце сосуда 1202А, кронштейн 1202В и удлиненные опоры 1202С могут располагаться на «нижнем» конце сосуда 1202А, особенно если удлиненные опоры 1202С жесткие.
ФИГ. 12D представляет собой изображение варианта реализации аппликатора 1202, который поддерживается кронштейнами 1205 и удлиненными опорами 1204, проходящими от кронштейнов 1205 к аппликатору 1202. Первый конец трубки 1201 неподвижно закреплен на аппликаторе 1202 головным блоком 1206 и крепежом 1207, как описано в настоящем документе (см., например, ФИГ. 7 и 8). В альтернативных вариантах реализации первый конец трубки 1201 подпружинено прикреплен к аппликатору 1202, как показано, например, на ФИГ. 6А, 6В, 6С, 9А, 9В, 10 и 11. Хотя оба конца трубки 1201 на ФИГ. 12D выступают из сосуда 1202, это не является обязательным для одного или обоих концов. Аппликатор (1202), кронштейны 1205, удлиненные опоры 1204 и/или необязательный дополнительный материал 1220 могут быть выполнены с возможностью размещения трубки 1201 каким-либо образом, как изображено на ФИГ. 12F, ФИГ. 12G, ФИГ. 12Н и/или ФИГ. 12I. Хотя головной блок 1206 изображен в «верхней» части аппликатора 1202, головной блок 1206 может быть расположен в нижней части аппликатора 1202.
ФИГ. 12Е представляет собой изображение варианта реализации аппликатора (1202А, 1202В), который поддерживается кронштейнами 1205 и удлиненными опорами 1204, проходящими от кронштейнов 1205 к аппликатору 1202. Аппликатор (1202А, 1202В) содержит сосуд, в который вводятся микроволны 1202А и два основания 1202В. Первый конец трубки 1201 установлен на основаниях 1202В. В альтернативных вариантах реализации аппликатор согласно ФИГ. 12Е имеет только одно основание (1202В). Основание(я) согласно ФИГ. 12Е может(гут) иметь отверстие или другой элемент, обеспечивающий доступ к отверстию на первом конце трубки. Основание(я) 1202В на ФИГ. 12Е может быть выполнено(ы) с возможностью размещения контейнера (например, трубки), который содержит или не содержит головной блок, как описано в настоящем документе. Удлиненные опоры 1204 могут использоваться для подъема сосуда 1202А, тем самым разделяя трубку 1201 и сосуд 1202А. Хотя оба конца трубки 1201 на ФИГ. 12Е выступают из сосуда 1202А, это не является обязательным для одного или обоих концов. Аппликатор (1202А, 1202В), кронштейны 1205, удлиненные опоры 1204 и/или необязательный дополнительный материал 1220 могут быть выполнены с возможностью размещения трубки 1201 каким-либо образом, как изображено на ФИГ. 12F, ФИГ. 12G, ФИГ. 12Н и/или ФИГ. 12I.
В некоторых вариантах реализации настоящего изобретения аппликатор содержит сосуд, имеющий первый конец и второй конец и содержащий одну или большее количество камер, образованных одной или большим количеством внешних стенок сосуда, одной или большим количеством стенок внутри сосуда или их комбинацией. Первый конец и второй конец сосуда могут содержать, например, любые две противоположные наружные стенки сосуда. Первый конец сосуда, второй конец сосуда, одна или большее количество стенок внутри сосуда или их комбинация могут образовывать отверстие. Отверстие(я) может(гут) вмещать трубку. Например, трубка может быть расположена в отверстиях, образованных (а) первым концом сосуда, (b) вторым концом сосуда, (с) одной или большим количеством стенок внутри сосуда или (d) их комбинацией.
В некоторых вариантах реализации настоящего изобретения аппликатор содержит одну, от одной до тридцати, от одной до двадцати пяти, от одной до пятнадцати, от одной до десяти, от двух до десяти, от двух до восьми, от четырех до восьми или от четырех до шести камер. Микроволновый генератор может быть расположен так, чтобы подавать в камеру множество микроволн.
Количество камер может быть больше, равно или меньше количества микроволновых генераторов. Множество электромагнитных волн, таких как микроволны, может вводиться в камеру (i) через отверстие, образованное внешней стенкой сосуда, (ii) компонентом микроволнового генератора, расположенным в камере, (iii) посредством компонента микроволнового генератора, расположенного в волноводе, или (iv) их комбинации. Используемый в данном документе термин «микроволновый генератор» относится к устройствам, которые генерируют микроволны, включая компоненты устройств, такие как антенна, коаксиальный кабель, линии передачи и т.д. В некоторых вариантах реализации настоящего изобретения конструкция для излучения электромагнитных волн содержит один или большее количество компонентов микроволнового генератора, таких как антенна, коаксиальный кабель и т.д. Если способы, описанные в настоящем документе, выполняются с электромагнитными волнами, отличными от микроволн, «микроволновые генераторы» могут быть заменены генераторами других типов электромагнитных волн, предусмотренных в настоящем документе.
Используемое в данном документе выражение «вводится в камеру через отверстие, образованное внешней стенкой сосуда», относится к введению микроволн при расположении микроволнового генератора вне камеры и введению микроволн в камеру через отверстие, определенное наружной стенкой сосуда. Прежде чем пересечь отверстие, микроволна может пройти через волновод, коаксиальный кабель или другую линию передачи.
Используемое в данном документе выражение «вводится в камеру посредством микроволнового генератора, расположенного в камере» относится к введению микроволн в камеру с помощью микроволнового генератора, имеющего по меньшей мере один компонент, такой как антенна, который расположен в камере. Другие компоненты такого микроволнового генератора могут быть расположены вне камеры и могут быть соединены кабелем с одним или большим количеством компонентов, таких как антенна, которые расположены в камере. Если микроволны вводятся внутрь камеры с помощью антенны или иным образом, микроволны могут не проходить через волновод, расположенный снаружи камеры, и, следовательно, камера может не содержать волновод.
Используемое в данном документе выражение «вводится в камеру микроволновым генератором, расположенным в волноводе» относится к генерированию микроволн с помощью микроволнового генератора, имеющего по меньшей мере один компонент, такой как антенна, который расположен в волноводе. Другие компоненты такого микроволнового генератора могут быть расположены вне волновода и могут быть соединены кабелем с одним или большим количеством компонентов, таких как антенна, которые расположены в волноводе. Если микроволны генерируются внутри волновода антенной или иным образом, микроволны, прежде чем войти в камеру через отверстие, образованное внешней стенкой сосуда, могут пересечь по меньшей мере часть волновода, включая часть волновода между (i) компонентом микроволнового генератора в волноводе и (ii) камерой или отверстием камеры.
В некоторых вариантах реализации настоящего изобретения по меньшей мере один из одного или большего количества микроволновых генераторов расположен так, чтобы подавать множество микроволн по меньшей мере в одну из камер. Каждая камера может быть связана с одним или большим количеством микроволновых генераторов. В некоторых вариантах реализации настоящего изобретения первый, второй, третий и т.д. микроволновый генератор расположен так, чтобы вводить множество микроволн в первую, вторую, третью и т.д. камеру, соответственно. В некоторых вариантах реализации настоящего изобретения количество камер превышает количество микроволновых генераторов. Поэтому микроволновый генератор может не располагаться у каждой камеры. В некоторых вариантах реализации настоящего изобретения устройство содержит от трех до шести микроволновых генераторов и от четырех до шести камер. В некоторых вариантах реализации настоящего изобретения количество камер меньше количества микроволновых генераторов. Следовательно, два или большее количество микроволновых генераторов могут быть расположены у одной или большего количества камер. Камеры аппликатора могут быть одномодовыми камерами или многомодовыми камерами. В некоторых вариантах реализации настоящего изобретения камеры аппликатора, содержащего сосуд, представляют собой многомодовые камеры.
В некоторых вариантах реализации настоящего изобретения на токоприемный материал воздействует множество электромагнитных волн, которое включают электромагнитные волны, отличные от микроволн, и эти немикроволновые электромагнитные волны могут создаваться одним или большим количеством источников (например, генератором, антенной и т.д.), которые могут быть расположены в любом одном или большем количестве мест, описанных в данном документе для микроволнового генератора.
Аппликаторы также могут содержать один или большее количество волноводов. Используемый в данном документе термин «волновод» относится к устройству, которое (i) расположено между микроволновым генератором и камерой и (ii) содержит проход, через который микроволны проходят перед входом в камеру, при этом проход устроен так, чтобы уменьшить или устранить потери энергии микроволн, когда они проходят по проходу. Поэтому волновод может иметь любую внешнюю форму, а форма и размеры прохода могут быть выполнены таким образом, чтобы уменьшить или исключить потери энергии микроволн. Если волновод присутствует, он может проходить от и/или быть прикрепленным к отверстию камеры или рядом с ним. Микроволновый генератор может быть расположен и/или прикреплен к другому концу волновода. Отверстие камеры, из которого выходит и/или к котором крепится волновод, может быть, по меньшей мере частично, закрыто прозрачным для электромагнитных волн материалом (например, прозрачным для микроволн материалом), таким как плитка из оксида алюминия, политетрафторэтилен TEFLON®, плавленый диоксид кремния и т.д. В некоторых вариантах реализации настоящего изобретения между каждой камерой и микроволновым генератором расположен волновод. Один или большее количество волноводов могут содержать по меньшей мере один регулировочный винт, который может быть признаком, обеспечивающим согласование импедансов.
Вариант реализации аппликатора и трубки, прикрепленной к аппликатору, изображен на ФИГ. 3А и ФИГ. 3В. ФИГ. 3А представляет собой вид сбоку и ФИГ. 3В представляет собой поперечное сечение аппликатора 300, содержащего первый конец 301 и второй конец 302. Трубка согласно ФИГ. 1А расположена в отверстии 310, образованным первым концом 301, отверстии 311, образованным вторым концом 302, и отверстиях 321, образованных тремя стенками 320, которые делят аппликатор 300 на четыре камеры (351, 352, 353, 354). Хотя это и не показано, аппликатор 300 согласно ФИГ. 3А и 3В может содержать одну или большее количество дополнительных трубок, расположенных в отверстиях (310, 311, 321). В альтернативном варианте или дополнительно аппликатор 300, хотя это и не изображено, может определять второй набор отверстий, в которых расположены одна или большее количество дополнительных трубок. Из каждой из четырех камер (351, 352, 353, 354) выходит волновод 315. Волноводы 315 изображенного варианта реализации расположены на разных сторонах аппликатора 300 в порядке чередования, но возможны и предусмотрены другие конфигурации. Микроволновый генератор 316 расположен у каждого из волноводов 315. Хотя микроволновый генератор 316 расположен у каждого из волноводов в изображенных вариантах реализации настоящего изобретения, возможны другие конфигурации; например, микроволновый генератор может быть расположен для подачи микроволн в любую комбинацию четырех камер, например, (i) 351-353, (ii) 352-354, (iii) 351, 353, (iv) 352, 354 и т.д. Если микроволновый генератор не расположен у волновода, волновод может быть удален, и/или соответствующее отверстие камеры может быть закрыто любым способом. В некоторых вариантах реализации настоящего изобретения (не показаны) трубка 160 согласно ФИГ. 1F расположена в отверстии 310, образованным первым концом 301, отверстии 311, образованным вторым концом 302, и отверстиях 321, образованных тремя стенками 320, которые делят аппликатор 300 на четыре камеры (351, 352, 353, 354). Хотя микроволновые генераторы 316 представлены на ФИГ. 3А и ФИГ. 3В, генераторы других электромагнитных волн, такие как описанные в данном документе, могут использоваться в других вариантах реализации устройства, изображенного на ФИГ. 3А и ФИГ. 3В. Устройство согласно ФИГ. 3А и ФИГ. 3В также может быть расположено под любым углом, как описано в данном документе, от 0° (как показано) до 90° во время работы, что позволяет устройству работать в режиме восходящего или нисходящего потока. Хотя оба конца (120, 130) трубки выступают из аппликатора 300 на ФИГ. 3А и 3В, это не является обязательным для одного или обоих концов. Аппликатор 300 и трубка согласно ФИГ. 3А и 3В могут быть расположены в соответствии с любой одной или большим количеством конфигураций, изображенных на ФИГ. 12F-12I. Например, аппликатор и трубка могут быть расположены так, как показано на ФИГ. 12G (например, трубка контактирует с аппликатором в одном или большем количестве отверстий, определяемых аппликатором), и такое расположение может обеспечивать подпружиненное крепление трубки, или, другими словами, трубка может расширяться/сжиматься относительно аппликатора при воздействии на него сил описанных в данном документе способов. В качестве дополнительного примера аппликатор и трубка могут быть расположены так, как показано на ФИГ. 12Н или 12I, и такое расположение может обеспечивать неподвижное или подпружиненное крепление трубки, в зависимости, например, от характеристик материала и/или соотношениях между материалом, трубкой и аппликатором. Например, материал может представлять собой адгезив или содержать адгезив, в результате чего крепление трубки является неподвижным. В качестве дополнительного примера материал может представлять собой эластичный материал, который может приспосабливаться к движению (например, расширению/сжатию) трубки, в результате чего получается подпружиненное крепление трубки. Аппликатор согласно ФИГ. 3А и 3В может содержать любой один или большее количество элементов, таких как один или большее количество изображенных на ФИГ. 12А-12Е.
Аппликатор может содержать твердотельный микроволновый аппликатор. Твердотельный микроволновый аппликатор может содержать по меньшей мере одну антенну, компонент питания и кабель (например, коаксиальный кабель), соединяющий компонент питания и каждую из по меньшей мере одной антенны. Одна или большее количество антенн могут быть расположены в камере аппликаторов, раскрытых в данном документе, а стенка, по меньшей мере частично определяющая каждую камеру, может определять отверстие, которое может вмещать кабель твердотельного микроволнового аппликатора. Например, аппликатор может содержать шесть камер, и любое количество из шести камер может содержать по меньшей мере одну антенну, и антенна может быть подключена к одному или большему количеству компонентов питания. Одна или большее количество антенн могут быть расположены в волноводе раскрытых в данном документе аппликаторов, и любая стенка, определяющая каждый волновод, может определять отверстие, которое может вмещать кабель твердотельного микроволнового аппликатора. Например, аппликатор может содержать шесть волноводов, и любое количество из шести волноводов может содержать по меньшей мере одну антенну, а антенна может быть подключена к одному или большему количеству компонентов питания. В качестве дополнительного примера аппликатор может содержать шесть камер и от одного до шести волноводов, и любое количество из шести камер и от одного до шести волноводов может содержать по меньшей мере одну антенну, а антенна может быть подключена к одному или большему количеству компонентов питания.
Аппликатор также может состоять из одного модульного блока аппликатора или по меньшей мере из двух модульных блоков аппликатора. В некоторых вариантах реализации настоящего изобретения аппликатор содержит от одного до тридцати модульных блоков аппликатора, от одного до двадцати пяти модульных блоков аппликатора, от одного до двадцати модульных блоков аппликатора, от одного до пятнадцати модульных блоков аппликатора, от одного до десяти модульных блоков аппликатора, от двух до десяти модульных блоков аппликатора. В некоторых вариантах реализации настоящего изобретения аппликатор содержит от четырех до шести модульных блоков аппликатора.
Каждый модульный блок может содержать (i) камеру, имеющую первую сторону и вторую сторону, (ii) первое отверстие, образованное первой стороной, (iii) второе отверстие, образованное второй стороной, и (iv) волновод, проходящий из третьего отверстия камеры. Каждый модульный блок аппликатора может быть идентичным, или по меньшей мере два модульных блока аппликатора могут отличаться каким-либо образом, например размерами камеры, размерами волновода, ориентацией камеры, волновода и/или отверстия, или их комбинацией. Независимо от того, идентичны они или различны, любые два модульных блока аппликатора могут быть ориентированы одинаково. Камера каждого модульного блока может быть одномодовой камерой или многомодовой камерой. В некоторых вариантах реализации настоящего изобретения камера каждого модульного блока представляет собой одномодовую камеру.
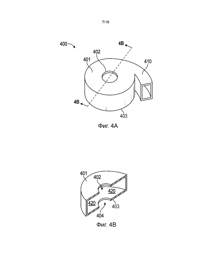
Вариант модульного блока аппликатора показан на ФИГ. 4А (вид в перспективе) и ФИГ. 4В (вид в поперечном сечении). Модульный блок аппликатора 400 содержит первую сторону 401 и вторую сторону 403, и первое отверстие 402 и второе отверстие 404, образованные первой стороной 401 и второй стороной 403, соответственно. Модульный блок аппликатора 400 также содержит волновод 410 и камеру 420. Камера 420 согласно ФИГ. 4А и ФИГ. 4В является примером немногоугольной камеры, но предусмотрены и другие камеры. Хотя это не изображено, модульный блок аппликатора 400 может определять второй набор отверстий (например, третье отверстие, образованное первой стороной 401, и четвертое отверстие, образованное второй стороной 403), что позволяет двум трубкам проходить через модульный блок аппликатора 400.
В некоторых вариантах реализации настоящего изобретения по меньшей мере два модульных блока аппликатора расположены рядом друг с другом, и в первом и втором отверстиях соседних модульных блоков аппликатора размещена трубка. В некоторых вариантах реализации настоящего изобретения от одного до тридцати модульных блоков аппликатора или от двух до десяти модульных блоков аппликатора расположены рядом друг с другом, и трубка расположена в первом отверстии и во втором отверстии каждого модульного блока аппликатора. Если два модульных блока аппликатора расположены рядом друг с другом, два модульных блока аппликатора могут соприкасаться или не соприкасаться друг с другом. Если два модульных блока аппликатора контактируют друг с другом, два модульных блока аппликатора могут быть соединены любым образом. Например, два модульных блока аппликатора могут быть скреплены друг с другом неподвижные соединением. В некоторых вариантах реализации настоящего изобретения модульные блоки аппликатора содержат один или большее количество конструктивных элементов, таких как соответствующие конструкционные элементы охватываемого и охватывающего элементов, которые могут позволить или упростить размещение и/или соединение двух модульных блоков аппликатора.
В некоторых вариантах реализации настоящего изобретения по меньшей мере один из одного или большего количества микроволновых генераторов расположен так, чтобы подавать множество микроволн по меньшей мере в один из от одного до тридцати модульных блоков аппликатора. В некоторых вариантах реализации настоящего изобретения устройство содержит от трех до шести микроволновых генераторов, а аппликатор представляет собой аппликатор, содержащий от четырех до шести модульных блоков аппликатора.
Вариант реализации аппликатора и трубки, прикрепленной к аппликатору, изображен на ФИГ. 4С (вид сбоку) и ФИГ. 4D (вид сбоку). Аппликатор 490 содержит 6 смежных модульных блоков аппликатора 400, изображенных на ФИГ. 4А и ФИГ. 4В. Блоки аппликаторов 400 примыкают друг к другу и соприкасаются. Первая сторона 401 каждого модульного блока аппликатора 401 контактирует со второй стороной 403 каждого соседнего модульного блока аппликатора 400. Трубка 100, изображенная на ФИГ. 1А, расположена в первом отверстии 402 и втором отверстии 404 (см. ФИГ. 4 В) каждого модульного блока аппликатора 400. Хотя это и не показано, аппликатор 490 согласно ФИГ. 4С и 4D может содержать одну или большее количество дополнительных трубок, расположенных в отверстиях (402, 404). В альтернативном варианте или дополнительно аппликатор 490, хотя это и не изображено, может определять дополнительные отверстия (как описано выше применительно к ФИГ. 4А), в которых расположены одна или большее количество дополнительных трубок. Модульные блоки аппликатора 400 ориентированы так, что три волновода 410 проходят от стороны устройства, изображенного на ФИГ. 4С, и три волновода 410 проходят от другой стороны устройства, изображенного на ФИГ. 4D. Однако возможны и предусмотрены другие ориентации. Как показано, например, на ФИГ. 3А и ФИГ. 3В, микроволновый генератор может быть расположен на одном или большем количестве волноводов 410. В некоторых вариантах реализации настоящего изобретения (не показаны) трубка 160, изображенная на ФИГ. 1F, расположена в первом отверстии 402 и втором отверстии 404 (см. ФИГ. 4В) каждого модульного блока аппликатора 400. Устройство согласно ФИГ. 4С и ФИГ. 4D также может быть расположено под любым углом, как описано в данном документе, от 0° (как показано) до 90° во время работы, что позволяет устройству работать в режиме восходящего или нисходящего потока. Хотя оба конца (120, 130) трубки выступают из аппликатора 490 на ФИГ. 4С и 4D, это не является обязательным для одного или обоих концов. Аппликатор 490 и трубка согласно ФИГ. 4С и 4D могут быть расположены в соответствии с любой одной или большим количеством конфигураций, изображенных на ФИГ. 12F-12I. Например, аппликатор и трубка могут быть расположены так, как показано на ФИГ. 12G (например, трубка контактирует с аппликатором в одном или большем количестве отверстий, образованных аппликатором), и такое расположение обеспечивает подпружиненное крепление трубки, поскольку трубка может двигаться относительно аппликатора. В качестве дополнительного примера аппликатор и трубка могут быть расположены так, как показано на ФИГ. 12Н или 12I, и такое расположение может обеспечивать неподвижное или подпружиненное крепление трубки, в зависимости, например, от характеристик материала и/или соотношениях между материалом, трубкой и аппликатором. Аппликатор согласно ФИГ. 4С и 4D может содержать любой один или большее количество элементов, таких как один или большее количество изображенных на ФИГ. 12А-12Е.
Трубка может быть прикреплена к аппликатору любым способом. Как описано в настоящем документе, трубка может быть прикреплена к аппликатору путем установки (i) части трубки, такой как крышка, на аппликатор и/или (ii) отдельного устройства, которое контактирует с трубкой, такого как головной блок, на аппликатор (см., например, ФИГ. 12А-12Е). В некоторых вариантах реализации настоящего изобретения трубка подпружинено прикреплена к аппликатору. В некоторых вариантах реализации настоящего изобретения трубка неподвижно прикреплена к аппликатору. В некоторых вариантах реализации настоящего изобретения одна часть трубки, такая как первый конец, неподвижно или подпружинено прикреплена к аппликатору, и другая часть трубки, такая как второй конец, неподвижно или подпружинено прикреплена к аппликатору.
Если трубка неподвижно или подпружинено прикреплена к аппликатору, часть трубки, такая как первая или вторая крышка, или другая часть устройства, такая как первый или второй головной блок, контактирующий с трубкой, может быть прикреплена (i) непосредственно к сосуду аппликатора или к одному из модульных блоков аппликатора либо (ii) к другой части аппликатора, такой как крепежное устройство. Крепежное устройство может быть отдельной частью (т.е. не соединенной с сосудом или модульным блоком аппликатора), которая позволяет прикрепить часть трубки к аппликатору. Неограничивающие примеры крепежных устройств включают основания, кронштейны и удлиненные опоры (например, подвески, цепи, кабели, тросы, проволока, трубопроводы, шланги и т.д.) согласно ФИГ. 12А-12Е. Следовательно, крепежные устройства могут содержать трубопроводы, шланги или любые соединительные линии, используемые в системах, представленных в настоящем документе.
Используемый в данном документе термин «подпружиненное крепление» означает соединение между двумя объектами, которое выполнено упругим и, следовательно, позволяет первому из двух объектов (i) перемещаться относительно второго объекта при приложении силы к первому объекту и (ii) возвращаться в исходное положение или близкое к нему после прекращения воздействия силы. Сила, например, может быть приложена за счет расширения части устройства, такой как трубка, которое может произойти во время нагревания. Если конец трубки подпружинено прикреплен к аппликатору, устройства согласно данному документу могут содержать одно или большее количество устройств для обнаружения (i) силы, создаваемой тепловым расширением трубки, (ii) расстояния, на которое перемещается подпружинено прикрепленный объект, или (iii) их комбинации. Например, лазер для определения расстояния может быть неподвижно закреплен на подпружинено прикрепленном объекте (например, на головном блоке, как описано в настоящем документе), и изменение расстояния, определяемое лазером, и постоянная пружины могут использоваться для расчета силы. В качестве дополнительного примера можно использовать тензодатчик для обнаружения или определения одной или большего количества сил.
В некоторых вариантах реализации настоящего изобретения (i) первый конец трубки подпружинено прикреплен к аппликатору, (ii) второй конец трубки неподвижно прикреплен к аппликатору, (iii) первый конец трубки подпружинено прикреплен к аппликатору, а второй конец трубки неподвижно прикреплен к аппликатору, (iv) первый конец трубки неподвижно прикреплен к аппликатору, (v) второй конец трубки подпружинено прикреплен к аппликатору, (vi) первый конец трубки неподвижно прикреплен к аппликатору, а второй конец трубки подпружинено прикреплен к аппликатору, или (vii) первый конец трубки подпружинено прикреплен к аппликатору, а второй конец трубки подпружинено прикреплен к аппликатору.
Устройства согласно данному документу могут содержать по меньшей мере один головной блок, выполненный с возможностью (i) контактировать с трубкой, например с концом трубки, и (ii) крепиться любым способом к аппликатору. Головной блок, например, может быть прикреплен к сосуду, модульному блоку аппликатора или крепежному устройству. Головной блок может быть прикреплен с помощью одного или большего количества креплений, таких как резьбовой крепеж (например, болт с резьбой или частичной резьбой, винт и т.д.). Если для крепления компонента к аппликатору используется резьбовое или частично резьбовое крепление, аппликатор может содержать соответствующий элемент для приема резьбового или частично резьбового крепления, такой как резьбовое или частично резьбовое углубление, резьбовое или частично резьбовое гнездо, выступающее из аппликатора, отверстие, в котором размещается крепление и фиксируется гайкой и т.д. В некоторых вариантах реализации настоящего изобретения головной блок крепится с помощью от одного до тридцати креплений, от одного до двадцати пяти креплений, от одного до двадцати креплений, от одного до пятнадцати креплений, от одного до десяти креплений, от одного до восьми креплений, от одного до шести креплений, от одного до четырех креплений, от одного до трех креплений, двух креплений или одного крепления. Головной блок может быть закреплен посредством сварки. Головной блок может быть неотъемлемым компонентом сосуда или модульного блока аппликатора. Устройство может содержать один головной блок, два головных блока или большее количество, и любой признак, описанный в данном документе как относящийся к «первому головному блоку» или «второму головному блоку», может относиться ко «второму головному блоку» или «первому головному блоку», соответственно, или любому другому головному блоку.
В некоторых вариантах реализации настоящего изобретения устройства в данном документе содержат (i) первый головной блок, образующий первое отверстие, (ii) первое крепление, имеющее первый конец и второй конец, при этом первое крепление расположено с возможностью скольжения в первом отверстии, а второй конец первого крепления неподвижно прикреплен к аппликатору, и (iii) первое упруго сжимаемое устройство, расположенное между первым головным блоком и первым концом и/или вторым концом первого крепления.
В некоторых вариантах реализации настоящего изобретения устройства в данном документе содержат (i) первый головной блок, образующий первое отверстие и второе отверстие, (ii) первое крепление, имеющее первый конец и второй конец, при этом первое крепление расположено с возможностью скольжения в первом отверстии, а второй конец первого крепления неподвижно прикреплен к аппликатору, (iii) второе крепление, имеющее первый конец и второй конец, при этом второе крепление расположено с возможностью скольжения во втором отверстии, а второй конец первого крепления неподвижно прикреплен к аппликатору, (iv) первое упруго сжимаемое устройство, расположенное между первым головным блоком и первым концом и/или вторым концом первого крепления; и (v) второе упруго сжимаемое устройство, расположенное между первым головным блоком и первым концом и/или вторым концом второго крепления, при этом первый конец трубки и первый головной блок контактируют друг с другом. В некоторых вариантах реализации настоящего изобретения устройство также содержит (i) третье отверстие, образованное первым головным блоком, (ii) третье крепление, имеющее первый конец и второй конец, причем третье крепление расположено с возможностью скольжения в третьем отверстии, а второй конец третьего крепления неподвижно прикреплен к аппликатору, (iii) третье упруго сжимаемое устройство, расположенное между первым головным блоком и первым концом и/или вторым концом третьего крепления. В некоторых вариантах реализации настоящего изобретения устройство также содержит (i) четвертое отверстие, образованное первым головным блоком, (ii) четвертое крепление, имеющее первый конец и второй конец, при этом четвертое крепление расположено с возможностью скольжения в четвертом отверстии, а второй конец четвертого крепления неподвижно прикреплен к аппликатору, и (iii) четвертое упруго сжимаемое устройство, расположенное между первым головным блоком и первым концом и/или вторым концом четвертого крепления. Если для крепления головного блока используется более четырех креплений, имеющих первый конец и второй конец, то между первым головным блоком и каждым из первых концов и/или вторых концов более чем четырех креплений может быть расположено упруго сжимаемое устройство.
Используемые в данном документе выражения «установлен с возможностью скольжения», «расположен с возможностью скольжения» и т.п.описывают соединение между двумя объектами, которое облегчает перемещение по меньшей мере одного из объектов относительно другого объекта либо свободно, либо при приложении силы.
Используемое в данном документе выражение «упруго сжимаемое устройство» относится к активному или пассивному устройству, которое выполнено с возможностью отклонения от исходной формы и/или положения и возвращения к исходной форме и/или положению при приложении или устранении одной или большего количества сил. Как правило, упруго сжимаемые устройства могут быть расположены в любом положении в устройствах, предусмотренных в настоящем документе (например, между головным блоком и сосудом, между головным блоком и разделительным блоком, между головным блоком и первым концом крепления, между головным блоком и вторым концом крепления и т.д.). Упруго сжимаемые устройства могут быть расположены в местах, обеспечивающих компенсацию расширения любого компонента устройств, предусмотренных в настоящем документе, включая, помимо прочего, трубку, головной блок, разделительный блок и т.д. Упруго сжимаемые устройства (такие как первое, второе, третье и четвертое упруго сжимаемые устройства) могут быть одинаковыми или разными. Упруго сжимаемые устройства (такие как первое, второе, третье и четвертое упруго сжимаемые устройства) могут содержать пружину, пневматическое устройство, такое как пневматический поршень, гидравлическое устройство, такое как гидравлический цилиндр и т.д. Пружина может содержать винтовую пружину. Пружина в некоторых вариантах реализации настоящего изобретения содержит одну или большее количество тарельчатых пружин, установленных с возможностью скольжения на одном или большем количестве креплений, таких как первое крепление, второе крепление, третье крепление или четвертое крепление, соответственно. Пружина в некоторых вариантах реализации настоящего изобретения содержит две или большее количество тарельчатых пружин, установленных с возможностью скольжения на одном или большем количестве креплений, таких как первое крепление, второе крепление, третье крепление или четвертое крепление, соответственно. В некоторых вариантах реализации настоящего изобретения от 1 до 1000, от 1 до 750, от 1 до 500, от 1 до 250, от 1 до 100, от 1 до 50, от 1 до 25 или от 2 до 24 тарельчатых пружин установлены с возможностью скольжения на одном или большем количестве креплений, таких как первое крепление, второе крепление, третье крепление или четвертое крепление, соответственно.
В некоторых вариантах реализации настоящего изобретения головной блок содержит по меньшей мере одну пластину и часть, выполненную с возможностью приема конца трубки. В некоторых вариантах реализации настоящего изобретения устройство содержит первый головной блок, содержащий (i) часть, выполненную с возможностью приема конца трубки, и (ii) пластину, определяющую первое отверстие, (iii) первое крепление, имеющее первый конец и второй конец, при этом первое крепление установлено с возможностью скольжения в первом отверстии, а второй конец первого крепления неподвижно прикреплен к аппликатору, и (iv) первое упруго сжимаемое устройство, расположенное между пластиной и первым концом и/или вторым концом первого крепления, при этом часть, выполненная с возможностью приема конца трубки, (а) расположена между аппликатором и пластиной и (b) находится в контакте с пластиной и трубкой. Часть, выполненная с возможностью приема конца трубки, может иметь неплоскую поверхность (например, закругленную, изогнутую, конусообразную и т.д.), которая контактирует с пластиной. Пластина может иметь по существу плоскую поверхность, которая контактирует с неплоской поверхностью части, выполненной с возможностью приема конца трубки. Неплоская поверхность может позволить части, выполненной с возможностью приема конца трубки, перемещаться относительно пластины, когда к части, выполненной с возможностью приема конца трубки, приложена сила, такая как сила, которая может быть приложена при реализации описанных в данном документе способов. Пластина может иметь неплоскую поверхность (например, закругленную, изогнутую, конусообразную и т.д.), которая контактирует с частью, выполненной с возможностью приема конца трубки. Часть, выполненная с возможностью приема конца трубки, может иметь по существу плоскую поверхность, контактирующую с неплоской поверхностью пластины. Неплоская поверхность пластины может позволить части, выполненной с возможностью приема конца трубки, перемещаться относительно пластины, когда к части, выполненной с возможностью приема конца трубки, приложена сила, такая как сила, которая может быть приложена при реализации описанных в данном документе способов. В некоторых вариантах реализации настоящего изобретения часть, выполненная с возможностью приема конца трубки, имеет плоскую поверхность, которая контактирует с соответствующей плоской поверхностью пластины.
В некоторых вариантах реализации настоящего изобретения устройство содержит первый головной блок, содержащий (i) часть, выполненную с возможностью приема конца трубки, и (ii) пластину, определяющую первое отверстие и второе отверстие, первое крепление, имеющее первый конец и второй конец, при этом первое крепление расположено с возможностью скольжения в первом отверстии, а второй конец первого крепления неподвижно прикреплен к аппликатору, второе крепление имеет первый конец и второй конец, при этом второе крепление установлено с возможностью скольжения во втором отверстии, а второй конец первого крепления неподвижно прикреплен к аппликатору, первое упруго сжимаемое устройство, расположенное между пластиной и первым концом и/или вторым концом первого крепления, и второе упруго сжимаемое устройство, расположенное между пластиной и первым концом и/или вторым концом второго крепления, при этом часть, выполненная с возможностью приема конца трубки, расположена (а) между аппликатором и пластиной и (b) находится в контакте с пластиной и трубкой. В некоторых вариантах реализации настоящего изобретения устройство содержит третье отверстие, образованное пластиной, третье крепление, имеющее первый конец и второй конец, причем третье крепление расположено с возможностью скольжения в третьем отверстии, а второй конец третьего крепления неподвижно прикреплен к аппликатору, третье упруго сжимаемое устройство, расположенное между пластиной и первым концом и/или вторым концом третьего крепления. В некоторых вариантах реализации настоящего изобретения устройство содержит четвертое отверстие, образованное пластиной, четвертое крепление, имеющее первый конец и второй конец, причем четвертое крепление расположено с возможностью скольжения в четвертом отверстии, а второй конец четвертого крепления неподвижно прикреплен к аппликатору, четвертое упруго сжимаемое устройство, расположенное между пластиной и первым концом и/или вторым концом четвертого крепления. Первое, второе, третье и четвертое упруго сжимаемые устройства могут быть одинаковыми или разными. В некоторых вариантах реализации настоящего изобретения первое, второе, третье или четвертое упруго сжимаемое устройство содержит одну или большее количество тарельчатых пружин, установленных с возможностью скольжения на первом креплении, втором креплении, третьем креплении или четвертом креплении, соответственно, первого головного блока. В некоторых вариантах реализации настоящего изобретения устройство содержит от 1 до 1000, от 1 до 750, от 1 до 500, от 1 до 250, от 1 до 100, от 1 до 50, от 1 до 25 или от 2 до 24 тарельчатых пружин, установленных с возможностью скольжения на первом креплении, втором креплении, третьем креплении или четвертом креплении, соответственно, первого головного блока.
В некоторых вариантах реализации настоящего изобретения одна или большее количество тарельчатых пружин устройств, описанных в данном документе, содержат тарельчатые пружины KEY BELLEVILLES® (США), которые обычно называют «шайбами BELLEVILLE®».
Первый головной блок может контактировать с частью трубки, например с первым концом трубки. Первый головной блок может содержать первое уплотнение, при этом часть трубки, например первый конец трубки, контактирует с первым уплотнением. Первое уплотнение может содержать любое известное уплотнение и может быть выбрано для предотвращения или устранения вероятности утечки текучей среды и/или чтобы выдерживать один или большее количество параметров описанных в данном документе способов, таких как давление. Первое уплотнение может быть расположено в любом положении, которое позволяет ему соприкасаться с первым концом трубки и первым головным блоком. Например, первое уплотнение может (i) охватывать внешнюю поверхность трубки (например, окружность по существу цилиндрической трубки), (ii) контактировать с конечным участком трубки (например, поверхностью, образующей вход), или (iii) их комбинация.
В некоторых вариантах реализации настоящего изобретения первое уплотнение содержит резину. Например, первое уплотнение может содержать резиновое кольцо, которое может быть по существу круглым, когда часть трубки, такая как первый конец (например, первая крышка), которая контактирует с первым головным блоком, является по существу цилиндрической. В некоторых вариантах реализации настоящего изобретения первое уплотнение содержит металл, такой как металлическое кольцо. В некоторых вариантах реализации настоящего изобретения первый головной блок содержит углубление, выполненное с возможностью приема части трубки, например, первого конца трубки (например, первой крышки). Первое уплотнение, если оно имеется, может быть расположено в углублении. В некоторых вариантах реализации настоящего изобретения первый головной блок содержит углубление, выполненное с возможностью приема по меньшей мере части уплотнения, и уплотнение расположено в углублении первого головного блока. В некоторых вариантах реализации настоящего изобретения трубка (например, крышка) содержит углубление, выполненное с возможностью приема по меньшей мере части уплотнения, и уплотнение расположено в углублении трубки. Углубление трубки может быть расположено в крышке или другой части трубки и может в некоторых вариантах реализации настоящего изобретения охватывать внешнюю поверхность трубки (например, окружность по существу цилиндрической трубки). В некоторых вариантах реализации настоящего изобретения первый головной блок содержит углубление, выполненное с возможностью приема первой части уплотнения, а трубка (например, крышка) содержит углубление, предназначенное для приема второй части уплотнения, и уплотнение расположено в углублениях первого головного блока и трубки. Первый головной блок как правило может иметь любую форму, позволяющую разместить отверстия и контактировать с трубкой.
Используемые в данном документе термин «уплотнение», выражения «первое уплотнение», «второе уплотнение» и т.п.относятся к заделке между двумя объектами, которая устраняет или снижает вероятность утечки текучей среды между двумя объектами. «Уплотнение» может содержать (i) контакт между двумя объектами (например, два объекта, которые соединены сваркой, пайкой, креплением, зажимом, склеены между собой с помощью адгезива и т.д.), (ii) устройство, расположенное между двумя объектами и контактирующее с обоими, или (iii) их комбинацию. Устройство, расположенное между двумя объектами и контактирующее с ними, может содержать, например, резиновое уплотнение (например, резиновое уплотнение VITON®), металлическое уплотнение (например, металлическое уплотнение PARKER HANNIFIN®), прокладку и т.д.
Головной блок может иметь одно или большее количество отверстий, выполненных с возможностью подачи текучей среды во вход трубки или позволяющих текучей среде выходить из выхода трубки, чтобы покинуть головной блок. Одно или большее количество отверстий могут содержать один или большее количество каналов, таких как изображенные на ФИГ. 5С. Головной блок может иметь одно или большее количество отверстий, в которых с возможностью скольжения расположено крепление для фиксации зажима или другого устройства.
Вариант реализации головного блока изображен на ФИГ. 5А. Головной блок 500 содержит углубление 510, выполненное с возможностью приема первого конца трубки, и кольцеобразное уплотнение 520, которое может быть металлическим или резиновым уплотнением, расположенным в углублении 510. Головной блок 500 также определяет четыре отверстия (530, 531, 532, 533), в которых могут располагаться с возможностью скольжения крепления. Головной блок 500 также определяет отверстие 534, позволяющее подавать текучую среду на вход трубки. Первый головной блок, второй головной блок или как первый головной блок, так и второй головной блок могут иметь конструкцию, изображенную на ФИГ. 5А.
Другой вариант реализации головного блока изображен на ФИГ. 5В (вид спереди) и ФИГ. 5С (вид в поперечном сечении). Головной блок 540 определяет первое круглое углубление 541, выполненное с возможностью приема кольцеобразного уплотнения, которое может быть металлическим или резиновым уплотнением, расположенным в первом круглом углублении 541. Головной блок 540 также определяет четыре отверстия (542, 543, 544, 545), в которых могут располагаться с возможностью скольжения крепления. Головной блок 540 также определяет второе круглое углубление 546 и содержит сетку 547, неподвижно закрепленную во втором круглом углублении 546 винтом 548. Головной блок 540 также определяет четыре отверстия (549, 550, 551, 552), которые могут вмещать часть зажима или другого приспособления. Головной блок 540 содержит два канала (555, 556), один или оба из которых могут использоваться для направления текучей среды во второе круглое углубление 546 либо удаления текучей среды из второго кругового углубления 546.
Другой вариант реализации головного блока изображен на ФИГ. 5D (вид сбоку) и ФИГ. 5Е (вид сбоку). Головной блок 560 содержит два элемента: часть 561, выполненная с возможностью приема конца трубки, и пластина 562. Часть 561, выполненная с возможностью приема конца трубки, имеет закругленную поверхность 563, контактирующую с плоской поверхностью 564 пластины 562, когда головной блок 560 развернут, например, как показано на ФИГ. 10. Головной блок 560 определяет первое круглое углубление 565, выполненное с возможностью приема кольцеобразного уплотнения, которое может быть металлическим или резиновым уплотнением, расположенным в первом круглом углублении 565. Пластина 562 головного блока 560 также определяет четыре отверстия (566, 567, 568, 569), в которых могут располагаться с возможностью скольжения крепления. Головной блок 560 также определяет второе круглое углубление 570, которое может принимать конец трубки и позволяет направлять текучую среду в трубку или удалять из головного блока 560 через отверстие 571 согласно ФИГ. 5D, сообщающееся по текучей среде со вторым круговым углублением 570. Головной блок 560 также определяет четыре отверстия (572, 573, 574, 575), которые могут вмещать часть зажима или другого приспособления.
В некоторых вариантах реализации настоящего изобретения трубка может иметь крышку, а крышка может быть приварена, прижата к головному блоку или содержать головной блок (например, крышка и головной блок являются неотъемлемыми частями одного объекта). Поэтому уплотнение может отсутствовать.
В некоторых вариантах реализации настоящего изобретения устройство также содержит второй головной блок, образующий первое отверстие, первое крепление, имеющее первый конец и второй конец, при этом первое крепление расположено с возможностью скольжения в первом отверстии, а второй конец первого крепления неподвижно прикреплен к аппликатору, и первое упруго сжимаемое устройство, расположенное между вторым головным блоком и первым концом и/или вторым концом первого крепления.
В некоторых вариантах реализации настоящего изобретения устройство также содержит второй головной блок, образующий первое отверстие и второе отверстие, первое крепление, имеющее первый конец и второй конец, при этом первое крепление расположено с возможностью скольжения в первом отверстии, а второй конец первого крепления неподвижно прикреплен к аппликатору, второе крепление имеет первый конец и второй конец, при этом второе крепление установлено с возможностью скольжения во втором отверстии, а второй конец первого крепления неподвижно прикреплен к аппликатору, первое упруго сжимаемое устройство, расположенное между вторым головным блоком и первым концом и/или вторым концом первого крепления, и второе упруго сжимаемое устройство, расположенное между вторым головным блоком и первым концом и/или вторым концом второго крепления, при этом второй конец трубки и второй головной блок контактируют друг с другом. В некоторых вариантах реализации настоящего изобретения устройство содержит третье отверстие, образованное вторым головным блоком, третье крепление, имеющее первый конец и второй конец, причем третье крепление расположено с возможностью скольжения в третьем отверстии, а второй конец третьего крепления неподвижно прикреплен к аппликатору, и третье упруго сжимаемое устройство, расположенное между вторым головным блоком и первым концом и/или вторым концом третьего крепления. В некоторых вариантах реализации настоящего изобретения устройство содержит четвертое отверстие, образованное вторым головным блоком, четвертое крепление, имеющее первый конец и второй конец, при этом четвертое крепление расположено с возможностью скольжения в четвертом отверстии, а второй конец четвертого крепления неподвижно прикреплен к аппликатору, и четвертое упруго сжимаемое устройство, расположенное между вторым головным блоком и первым концом и/или вторым концом четвертого крепления. Первое, второе, третье и четвертое упруго сжимаемые устройства могут быть такими же или отличными от устройств, выбранных для первого головного блока. В некоторых вариантах реализации настоящего изобретения первое, второе, третье или четвертое упруго сжимаемое устройство содержит одну или большее количество тарельчатых пружин, установленных с возможностью скольжения на первом креплении, втором креплении, третьем креплении или четвертом креплении, соответственно, второго головного блока. В некоторых вариантах реализации настоящего изобретения устройство содержит от 1 до 1000, от 1 до 750, от 1 до 500, от 1 до 250, от 1 до 100, от 1 до 50, от 1 до 25 или от 2 до 24 тарельчатых пружин, установленных с возможностью скольжения на первом креплении, втором креплении, третьем креплении или четвертом креплении, соответственно, второго головного блока.
Второй головной блок может контактировать с частью трубки, например с вторым концом трубки. Второй головной блок может содержать второе уплотнение, при этом часть трубки, такая как второй конец (например, вторая крышка) трубки, контактирует со вторым уплотнением. Второе уплотнение может содержать любое известное уплотнение и может быть выбрано для предотвращения или устранения вероятности утечки текучей среды и/или чтобы выдерживать один или большее количество параметров описанных в данном документе способов, таких как давление. В некоторых вариантах реализации настоящего изобретения второе уплотнение содержит резину. Например, второе уплотнение может содержать резиновое кольцо, которое может быть по существу круглым, когда часть трубки, такая как второй конец (например, вторая крышка), которая контактирует со вторым головным блоком, является по существу цилиндрической. В некоторых вариантах реализации настоящего изобретения второе уплотнение содержит металл, такой как металлическое кольцо. В некоторых вариантах реализации настоящего изобретения второй головной блок содержит углубление, выполненное с возможностью приема части трубки, например, второго конца трубки (например, второй крышки). Второе уплотнение, если оно имеется, может быть расположено в углублении. В некоторых вариантах реализации настоящего изобретения второй головной блок содержит углубление, выполненное с возможностью приема по меньшей мере части уплотнения, и уплотнение расположено в углублении второго головного блока. В некоторых вариантах реализации настоящего изобретения трубка (например, крышка) содержит углубление, выполненное с возможностью приема по меньшей мере части уплотнения, и уплотнение расположено в углублении трубки. В некоторых вариантах реализации настоящего изобретения второй головной блок содержит углубление, выполненное с возможностью приема первой части уплотнения, а трубка (например, крышка) содержит углубление, предназначенное для приема второй части уплотнения, и уплотнение расположено в углублениях второго головного блока и трубки. Второй головной блок как правило может иметь любую форму, позволяющую разместить отверстия и контактировать с трубкой. Второй головной блок как правило может иметь любую форму, позволяющую разместить отверстия и контактировать с трубкой.
Виды противоположных сторон варианта реализации устройства изображены на ФИГ. 6А и ФИГ. 6В, а вид устройства с торца изображен на ФИГ. 6С. Устройство 600 содержит (i) сосуд 610 восьмикамерного микроволнового аппликатора и (ii) восемь микроволновых генераторов 620, расположенных для подачи микроволн через волновод 621 в каждую камеру сосуда 610. Трубка 630 размещена в сосуде 610. Хотя это и не показано, сосуд 610 согласно ФИГ. 6А и 6В может содержать одну или большее количество дополнительных трубок, расположенных в сосуде 610. В альтернативном варианте или дополнительно сосуд 610, хотя это и не изображено, может определять второй набор отверстий, в которых расположены одна или большее количество дополнительных трубок. Трубка 630 подпружинено прикреплена к сосуду 610 двумя головными блоками 500, изображенными на ФИГ. 5А. Восемь креплений 640 используются в этом варианте реализации, и каждое из восьми креплений 640 расположено с возможностью скольжения в отдельном отверстии (530, 531, 532, 533) головных устройств 500. Восемь креплений 640 этого варианта реализации представляют собой болты, имеющие резьбовой конец, который крепится к сосуду, и второй конец 641 с расширением, позволяющим удерживать восемь пар тарельчатых пружин 650, которые установлены с возможностью скольжения на каждом из креплений 640 между головными блоками 500 и вторыми концами 641 креплений 640. Устройство согласно ФИГ. 6А и ФИГ. 6В также может быть расположено под любым углом, как описано в данном документе, от 0° (как показано) до 90° во время работы, что позволяет устройству работать в режиме восходящего или нисходящего потока.
В некоторых вариантах реализации настоящего изобретения устройство содержит головной блок, неподвижно прикрепленный к аппликатору. В некоторых вариантах реализации настоящего изобретения устройство содержит первый головной блок и второй головной блок, и один или оба из первого и второго головных блоков неподвижно закреплен(ы) на аппликаторе.
Например, вариант реализации головного блока, изображенный на ФИГ. 5А, может быть неподвижно закреплен на аппликаторе, как показано на ФИГ. 7. ФИГ. 7 представляет собой изображение вида справа сосуда 610 согласно ФИГ. 6А, но с неподвижно закрепленным головным блоком 500 согласно ФИГ. 5А. Устройство 700 согласно ФИГ. 7 содержит сосуд 610 согласно ФИГ. 6А и второй головной блок 500, неподвижно прикрепленный к сосуду креплениями 740, расположенными с возможностью скольжения в отверстиях (531, 533 (показано), 530, 532 (не показано)) головного блока 500. Крепления имеют резьбовые концы (не показаны), соединенные с сосудом 610, и увеличенный конец, удерживающий головной блок 500. Левая сторона устройства согласно ФИГ. 7 идентична левой стороне на ФИГ. 6А.
Вариант реализации головного блока, изображенный на ФИГ. 5А, может быть неподвижно закреплен на аппликаторе, как показано на ФИГ. 8. ФИГ. 8 представляет собой изображение вида справа сосуда 610 согласно ФИГ. 6А, но с неподвижно закрепленным головным блоком 500 согласно ФИГ. 5А. Устройство 800 согласно ФИГ. 8 содержит сосуд 610 согласно ФИГ. 6А и второй головной блок 500, неподвижно прикрепленный к катушке 800 креплениями 740, расположенными с возможностью скольжения в отверстиях (531, 533 (показано), 530, 532 (не показано)) головного блока 500. Катушка 800, в свою очередь крепится к аппликатору креплениями 801. Крепления 740 имеют резьбовые концы (не показаны), соединенные с катушкой 800, и увеличенный конец, удерживающий головной блок 500. Левая сторона устройства согласно ФИГ. 7 идентична левой стороне на ФИГ. 6А. В некоторых вариантах реализации настоящего изобретения (не показаны) упруго сжимаемое устройство (например, одна или большее количество тарельчатых пружин) устанавливается на каждое из креплений 740 в положении между катушкой 800 и вторым головным блоком 500.
Вариант реализации головного блока, изображенный на ФИГ. 5В и ФИГ. 5С, может быть неподвижно закреплен на аппликаторе, как показано на ФИГ. 9А. ФИГ. 9А представляет собой изображение вида справа сосуда 610 согласно ФИГ. 6А, но с (i) трубкой 160 согласно ФИГ. 1F, расположенной в сосуде 610, и (ii) головным блоком 540 согласно ФИГ. 5В и ФИГ. 5С, неподвижно прикрепленном к сосуду 610. Устройство 810 согласно ФИГ. 9А содержит сосуд 610 согласно ФИГ. 6А и второй головной блок 540, неподвижно прикрепленный к сосуду 610 креплениями 740, расположенными с возможностью скольжения в отверстиях (543, 545 (показано), 542, 544 (не показано)) головного блока 540. Фланец 167 крышки 165 трубки 160 контактирует с головным блоком 540 и круглым уплотнением (например, металлическое кольцо (не показано)), расположенным в первом круглом углублении 541 (не показано). Уплотнение согласно ФИГ. 9А также содержит зажим 811, контактирующий с фланцем 167 крышки 165. Зажим 811 неподвижно крепится к головному блоку 540 креплениями 812, расположенными с возможностью скольжения в отверстиях (550, 552 (показаны), 549, 551 (не показаны)). Последовательность тарельчатых пружин 813 расположена с возможностью скольжения на креплениях 812. Крепления (740, 812) имеют резьбовые концы (не показаны), соединенные с сосудом 610 и зажимом 811, соответственно, и увеличенный конец, имеющий размеры, превышающие размеры соответствующих отверстий головного блока 540. Левая сторона устройства согласно ФИГ. 9А идентична левой стороне на ФИГ. 6А. В некоторых вариантах реализации настоящего изобретения устройство, изображенное на ФИГ. 9А содержит одно или большее количество упруго сжимаемых устройств, расположенных между головным блоком 540 и увеличенными концами креплений 740. В некоторых вариантах реализации настоящего изобретения устройство, изображенное на ФИГ. 9А, содержит катушку, такую как катушка на ФИГ. 8, расположенную между головным блоком 540 и сосудом 610. В случае наличии катушки одно или большее количество упруго сжимаемых устройств могут быть установлены с возможностью скольжения на одном или большем количестве креплений 740 в месте между катушкой и головным блоком 540. В некоторых вариантах реализации настоящего изобретения устройство, изображенное на ФИГ. 9А, содержит экранирующий материал, такой как экранирующий микроволны материал, расположенный между головным блоком 540 и сосудом 610 (см., например, ФИГ. 9В). В некоторых вариантах реализации настоящего изобретения один или большее количество увеличенных концов креплений 740 приварен или припаян к головному блоку 540. Хотя зажим 811, изображенный на ФИГ. 9А, контактирует только с частью фланца 167, зажим обычно может контактировать с любым или всем фланцем или другим элементом крышки.
Вариант реализации головного блока, изображенный на ФИГ. 5В и ФИГ. 5С, может быть неподвижно закреплен на аппликаторе, как показано на ФИГ. 9В. ФИГ. 9 В, содержит те же компоненты, что и на ФИГ. 9А, а также разделительный блок 743, который может служить в качестве экранирующего материала, такого как экранирующий микроволны материал. Разделительный блок 743 содержит отверстия, выполненные с возможностью размещения трубки 163, крышки 165 и креплений 740, а в некоторых вариантах реализации настоящего изобретения представляет собой металлический разделительный блок. Крепления 740 содержат увеличенные части 741, которые поддерживают зазор между разделительным блоком 743 и сосудом 610. В некоторых вариантах реализации настоящего изобретения разделительный блок или другой экранирующий материал может контактировать с сосудом, таким как сосуд 610 на ФИГ. 9В. Устройство, изображенное на ФИГ. 9В, также содержит последовательность тарельчатых пружин 742, расположенных с возможностью скольжения на креплениях 740 между разделительным блоком 743 и вторым головным блоком 540. Тарельчатые пружины 742 могут адаптироваться к расширению первого головного блока 540 и/или разделительного блока 743, которое может происходить при реализации способов, предложенных в настоящем документе.
Вариант реализации головного блока, изображенный на ФИГ. 5D и ФИГ. 5Е, может быть неподвижно закреплен на аппликаторе, как показано на ФИГ. 10. ФИГ. 10 представляет собой изображение вида слева сосуда 610 согласно ФИГ. 6А, но с (i) трубкой 160 согласно ФИГ. 1F, расположенной в сосуде 610, и (ii) головным блоком 560 согласно ФИГ. 5D и ФИГ. 5Е, подпружинено прикрепленном к сосуду 610. Устройство 820 согласно ФИГ. 10 содержит сосуд 610 согласно ФИГ. 6А и первый головной блок 560, подпружинено прикрепленный к сосуду 610 креплениями 740, расположенными с возможностью скольжения в отверстиях (566, 568 (показано), 567, 569 (не показано)) пластины 562 головного блока 560. Фланец 167 крышки 165 трубки 160 контактирует (i) с частью 561 головного блока, выполненной с возможностью приема трубки 160, и (ii) круглым уплотнением (например, металлическое или резиновое кольцо (не показано)), расположенным в первом круглом углублении 565 (не показано). Уплотнение согласно ФИГ. 10 также содержит зажим 821, который соприкасается с фланцем 167 крышки 165. Зажим 821 неподвижно крепится к головному блоку 560 креплениями 822, расположенными с возможностью скольжения в отверстиях (572, 574 (показаны), 573, 575 (не показаны)). Крепления (740, 822) имеют резьбовые концы (не показаны), соединенные с сосудом 610 и зажимом 821, соответственно, и увеличенный конец, имеющий размеры, превышающие размеры соответствующих отверстий пластины 562 головного блока 560. Устройство 820, изображенное на ФИГ. 10, содержит восемь пар тарельчатых пружин 823, расположенных с возможностью скольжения на креплениях 740 между пластиной 562 головного блока 560 и увеличенными концами креплений 740. Правая сторона устройства согласно ФИГ. 10 может быть идентична ФИГ. 9А или ФИГ. 9В. В некоторых вариантах реализации настоящего изобретения устройство, изображенное на ФИГ. 10, содержит катушку, такую как катушка на ФИГ. 8, расположенную между головным блоком 560 и сосудом 610. В случае наличии катушки одно или большее количество упруго сжимаемых устройств могут быть установлены с возможностью скольжения на одном или большем количестве креплений 740 в месте между катушкой и головным блоком 560. В некоторых вариантах реализации настоящего изобретения устройство, изображенное на ФИГ. 10, содержит экранирующий материал, такой как экранирующий микроволны материал, расположенный между головным блоком 560 и сосудом 610. Хотя зажим 821, изображенный на ФИГ. 10, контактирует только с частью фланца 167, зажим обычно может контактировать с любым или всем фланцем или другим элементом крышки.
В некоторых вариантах реализации настоящего изобретения головной блок неподвижно прикреплен к трубе. Например, (i) первый головной блок может быть неподвижно закреплен на первом конце трубки, (ii) второй головной блок может быть неподвижно закреплен на втором конце трубки, или (iii) первый головной блок может быть неподвижно закреплен на первом конце трубки, а второй головной блок может быть неподвижно закреплен на втором конце трубки. Головной блок может быть неподвижно прикреплен к трубе путем приваривания по меньшей мере части головного блока к по меньшей мере части трубки. Если трубка, например, имеет металлическую крышку (например, металлическая крышка из сплава KOVAR®), металлическая крышка может быть приварена к головному блоку. В некоторых вариантах реализации настоящего изобретения (i) первый головной блок приварен к первому концу трубки, (ii) второй головной блок приварен ко второму концу трубки или (iii) первый головной блок приварен к первому концу трубки, а второй головной блок приварен ко второму концу трубки.
Аппликатор обычно может быть изготовлен из любого материала, включая материал, способный удерживать микроволны. В некоторых вариантах реализации настоящего изобретения аппликатор выполнен из металла, такого как нержавеющая сталь.
Аппликатор может иметь наружные стенки и/или внутренние стенки (например, разделяющие камеры сосуда) любой толщины. В некоторых вариантах реализации настоящего изобретения наружные стенки и/или внутренние стенки имеют толщину от около 0,0002 м до около 0,05 м, от около 0,0005 м до около 0,05 м, от около 0,001 м до около 0,04 м, от около 0,002 м до около 0,03 м, от около 0,002 м до около 0,02 м, от около 0,002 м до около 0,01 м, от около 0,002 м до около 0,05 м, от около 0,002 м до около 0,005 м, от около 0,003 м до около 0,004 м или от около 0,003 м до около 0,0032 м. Сосуд и камера(ы) сосуда обычно могут иметь любые размеры. Если сосуд содержит две или большее количество камер, то каждая из камер может иметь одинаковые размеры или разные размеры. Камера сосуда или модульного блока может быть многоугольной (например, с квадратной, прямоугольной, треугольной и т.д. формой поперечного сечения) или немногоугольной камерой (например, с круглой, эллиптической и др. формой поперечного сечения). Сосуд и/или камера в сосуде или модульном блоке могут быть сконфигурированы (например, по размеру) как многомодовая камера или одномодовая камера. Сосуд и/или камера в сосуде или модульном блоке могут быть сконфигурированы (например, по размеру) таким образом, чтобы по меньшей мере часть электромагнитных волн, таких как множество микроволн, направлялась на трубку или токоприемный материал в трубке, что может улучшить эффективность нагрева.
В некоторых вариантах реализации настоящего изобретения аппликаторы могут содержать один или большее количество датчиков. Один или большее количество датчиков могут содержать датчик температуры, такой как инфракрасный датчик температуры. Датчик температуры можно использовать для контроля или определения температуры трубки, например температуры трубки снаружи. Одна или большее количество камер аппликатора могут содержать датчик температуры, который позволяет определять и/или отслеживать градиент температуры вдоль трубки. Поскольку текучая среда, проходящая через трубку, нагревается, температура трубки может повышаться от ее первого конца ко второму концу. Отслеживая или определяя этот градиент, можно осуществлять регулирование для управления градиентом температуры любым желаемым способом. Один или большее количество датчиков могут содержать датчик для определения расстояния. Один или большее количество датчиков могут быть связаны с контроллером, который регулирует один или большее количество параметров компонента, такого как микроволновый генератор, устройства или системы в ответ на данные, собранные одним или большим количеством датчиков. Например, контроллер может регулировать один или большее количество параметров (например, мощность, частоту и т.д.) микроволнового генератора в ответ на данные, полученные от одного или большего количества датчиков, таких как датчик температуры.
Конструкция для излучения электромагнитных волн
В некоторых вариантах реализации настоящего изобретения устройства, представленные в настоящем документе, содержат конструкцию для излучения электромагнитных волн. Конструкция для излучения электромагнитных волн может быть выполнена с возможностью введения электромагнитных волн во внутренний объем контейнера (например, трубки) для воздействия на токоприемные частицы, содержащиеся во внутреннем объеме.
В некоторых вариантах реализации настоящего изобретения конструкция для излучения электромагнитных волн содержит прозрачную для электромагнитных волн секцию контейнера (например, трубки), через которую электромагнитные волны могут проходить снаружи контейнера во внутренний объем контейнера (например, трубки).
В некоторых вариантах реализации настоящего изобретения контейнер, описанный в данном документе, содержит трубчатую секцию, выполненную из материала, прозрачного для электромагнитных волн, который образует прозрачную для электромагнитных волн секцию контейнера.
В некоторых вариантах реализации настоящего изобретения конструкция для излучения электромагнитных волн содержит или также содержит аппликатор для направления электромагнитных волн через прозрачную для электромагнитных волн секцию во внутренний объем.
Контейнер (например, трубка), описанный в данном документе, может содержать две металлические торцевые крышки, по одной соединенной с каждым концом трубчатой секции. Трубчатая секция может быть монолитной трубчатой секцией, такой как описанные в данном документе.
В некоторых вариантах реализации настоящего изобретения конструкция для излучения электромагнитных волн по меньшей мере частично расположена в контейнере (например, трубке).
Токоприемный материал
Используемое в данном документе выражение «токоприемный материал» относится к материалу, который преобразует электромагнитную энергию, такую как микроволны, в тепло. Токоприемный материал может содержать металл, полуметалл, диэлектрик или их комбинацию. Токоприемный материал может содержать оксид металла, такой как оксид железа. В некоторых вариантах реализации настоящего изобретения токоприемный материал содержит карбид кремния. В некоторых вариантах реализации настоящего изобретения токоприемный материал содержит карбид кремния, магнетит, цеолит, кварц, феррит, сажу, графит, гранит или их комбинацию. В некоторых вариантах реализации настоящего изобретения токоприемный материал содержит магнетит. В некоторых вариантах реализации настоящего изобретения токоприемный материал содержит магнетит в количестве по меньшей мере 25%, по меньшей мере 50%, по меньшей мере 75% или 100% по массе в расчете на массу токоприемного материала. Например, токоприемный материал может содержать (i) магнетит в количестве по меньшей мере 25%, по меньшей мере 50%, по меньшей мере 75% по массе в расчете на массу токоприемного материала, и (ii) наполнитель и/или второй токоприемный материал, такой как оксид железа, отличный от магнетита. В некоторых вариантах реализации настоящего изобретения токоприемный материал содержит металл, полуметалл, диэлектрик или их комбинацию в количестве по меньшей мере 5%, по меньшей мере 10%, по меньшей мере 15%, по меньшей мере 20%, по меньшей мере 25%, по меньшей мере 50%, по меньшей мере 75% или 100% по массе в расчете на массу токоприемного материала.
Токоприемный материал может быть в любой форме. Например, токоприемный материал может быть в форме частиц, монолитной форме или их комбинации. Если токоприемные частицы имеют форму частиц, частицы могут быть или не быть физически связанными друг с другом. Токоприемный материал может содержать спеченный материал, такой как множество спеченных частиц токоприемного материала. Токоприемный материал может содержать пористый материал, такой как пористые частицы токоприемного материала и/или пористый монолит токоприемного материала. В некоторых вариантах реализации настоящего изобретения токоприемный материал находится в форме, позволяющей направлять текучую среду в трубу и/или проходить через нее. В некоторых вариантах реализации настоящего изобретения токоприемный материал находится в форме, позволяющей нагревать текучую среду или другой материал вне трубки. Например, текучая среда или материал, такой как текстиль, могут контактировать с внешней поверхностью трубки, тем самым нагревая текучую среду или материал.
Если токоприемный материал находится в форме частиц, частицы могут иметь по существу однородный размер или неоднородный размер; и частицы могут иметь любую правильную или неправильную форму (например, сферы, пробки, стружка, иголки и т.д.). Токоприемный материал в форме частиц может иметь средний наибольший размер от около 1 нм до около 10 мм, от около 5 нм до около 10 мм, от около 10 нм до около 10 мм, от около 50 нм до около 10 мм, от около 100 мм до около 10 мм, от около 500 нм до около 10 мм, от около 1 мкм до около 10 мм, от около 25 мкм до около 10 мм, от около 75 мкм до около 10 мм, от около 0,1 мм до около 10 мм, от около 0,5 мм до около 10 мм, от около 0,5 мм до около 8 мм, от около 0,5 мм до около 7 мм, от около 0,1 мм до около 5 мм, от около 0,5 мм до около 5 мм, от около 0,5 мм до около 4 мм, от около 0,5 мм до около 3 мм или от около 0,5 мм до около 2 мм. В некоторых вариантах реализации настоящего изобретения токоприемный материал находится в форме частиц, и токоприемный материал имеет средний наибольший размер от около 1 нм до около 50 нм, от около 3 нм до около 40 нм или от около 3 нм до около 35 нм. Например, токоприемный материал может содержать наночастицы Fe3O4, имеющие средний диаметр от около 3 нм до около 32 нм. Токоприемный материал может содержать наночастицы, синтезированные любым известным методом, таким как метод термолиза без затравки (см., например, Mohapatra, J. et al. Phys. Спет.Chem. Phys., 2018, 20, 12879-12887). Если частицы токоприемного материала являются по существу сферическими или сферическими, средний наибольший размер представляет собой средний наибольший диаметр. Не желая быть связанными какой-либо конкретной теорией, авторы полагают, что выбор размера частиц токоприемного материала может изменять одну или большее количество характеристик описанных в данном документе способов, такие как эффективность нагрева, перепад давления и т.д., и, следовательно, размер частиц может быть выбран соответствующим образом.
Внутренний резервуар трубки может содержать любое количество токоприемного материала. В некоторых вариантах реализации настоящего изобретения токоприемный материал присутствует во внутреннем резервуаре трубки (или доступной части трубки внутреннего резервуара, если присутствует одно или большее количество удерживающих устройств и, следовательно, определяют доступную часть) в количестве около 30% до около 100% от объема внутреннего резервуара или его доступной части, от около 50% до около 100% от объема внутреннего резервуара или его доступной части, от около 70% до около 100% от объема внутреннего резервуара или его доступной части, от около 90% до около 100% от объема внутреннего резервуара или его доступной части или около 100% от объема внутреннего резервуара или его доступной части.
В некоторых вариантах реализации настоящего изобретения внутренний резервуар трубки содержит такое количество токоприемного материала, которое позволяет размещать текучую среду в трубке. В некоторых вариантах реализации настоящего изобретения токоприемный материал присутствует во внутреннем резервуаре трубки (или доступной части трубки внутреннего резервуара, если присутствует одно или большее количество удерживающих устройств и, следовательно, определяют доступную часть) в количестве около 30% до около 90% от объема внутреннего резервуара или его доступной части, от около 30% до около 80% от объема внутреннего резервуара или его доступной части, от около 30% до около 70% от объема внутреннего резервуара или его доступной части, от около 40% до около 60% от объема внутреннего резервуара или его доступной части или около 50% от объема внутреннего резервуара или его доступной части.
Если токоприемный материал находится в монолитной форме, монолит токоприемного материала, как правило, может иметь любой размер или форму, которые позволяют (i) разместить его в трубке или корпусе внутри трубки, (ii) текучей среде проходить через трубку или (iii) их комбинация. В некоторых вариантах реализации настоящего изобретения монолит токоприемного материала одержит один или большее количество удлиненных монолитов, имеющих отношение длины к ширине по меньшей мере 3:1 (например, цилиндрической формы), тем самым образуя конфигурацию «трубка в трубке», в которой текучая среда может пересекать площадь, ограниченную по меньшей мере частично внешней поверхностью удлиненного монолита и внутренней поверхностью трубки. В некоторых вариантах реализации настоящего изобретения два или большее количество удлиненных монолитов любым образом расположены в трубке. В некоторых вариантах реализации настоящего изобретения монолит токоприемного материала имеет размер или форму, которые соответствуют размерам внутреннего резервуара трубки или ее доступной части, что может быть желательным, если трубка выполнена с возможностью нагревания текучей среды или материала снаружи трубки (например, текучей среды или материала, контактирующих с внешней поверхностью трубки). В некоторых вариантах реализации настоящего изобретения один или большее количество монолитов содержат один или большее количество монолитов в форме капсул, имеющих отношение длины к ширине менее 3:1 (например, сферической, прямоугольной, квадратной или эллиптической формы), расположенных любым образом в трубке. Если в трубке присутствуют два или большее количество монолитов, эти два или большее количество монолитов могут быть расположены в трубке любым упорядоченным или неупорядоченным образом.
Вариант реализации трубки изображен на ФИГ. 11 (вид сбоку). Трубка 180 согласно ФИГ. 11 по существу цилиндрическая и имеет первый конец 181 и второй конец 182. Трубка 180 содержит среднюю часть 183, выполненную из прозрачного для микроволн материала, первую крышку 184 на первом конце 181, и вторую крышку 185 на втором конце 182. Первая крышка 184 и вторая крышка 185 могут необязательно содержать вход и выход, как показано, например, на ФИГ. 1В и ФИГ. 1С. Альтернативные виды в поперечном сечении трубки 180 согласно ФИГ. 1I изображены на ФИГ. 1J и ФИГ. 1K. В некоторых вариантах реализации настоящего изобретения трубка 180 имеет вид в поперечном сечении, изображенный на ФИГ. 1J. ФИГ. 1J представляет собой изображение корпуса 186, в котором расположены частицы токоприемного материала 187, и канал 188 между корпусом 186 и внутренней поверхностью трубки 180, по которому может течь текучая среда, если трубка 180 содержит вход и выход. В некоторых вариантах реализации настоящего изобретения трубка 180 имеет вид в поперечном сечении, изображенный на ФИГ. 1K. ФИГ. 1K изображает массив цилиндрических монолитов токоприемного материала 189, расположенных в трубке 180. Если трубка 180 содержит вход и выход, текучая среда может течь в канале 190, который содержит пространство между цилиндрическими монолитами токоприемного материала 189 и внутренней поверхностью трубки 180. В некоторых вариантах реализации настоящего изобретения (не показаны) один или большее количество монолитов токоприемного материала 189 расположены в корпусе 186 согласно ФИГ. 1J.
Токоприемный материал может содержать одну или большее количество добавок. Одна или большее количество добавок могут содержать любой материал, такой как наполнитель, который (i) расположен в трубке с токоприемным материалом (например, равномерно или неравномерно диспергирован в токоприемном материале) и (ii) не способен преобразовывать множество микроволн в тепло. Наполнитель может быть включен в состав по любой причине, например, для облегчения обращения с токоприемным материалом, уменьшения сопротивления потоку текучей среды в трубке, достижения различной дисперсии токоприемного материала в трубке и т.д. Наполнитель можно использовать для достижения градиента концентрации токоприемного материала внутри трубки. Например, наполнитель может позволить текучей среде, находящейся в трубке, столкнуться с концентрацией или количеством токоприемного материала, которые непрерывно или периодически увеличиваются (или уменьшаются) по мере того, как текучая среда проходит по трубке. Одна или большее количество добавок могут присутствовать в токоприемном материале в общем количестве, не превышающем 50 масс. % в расчете на массу токоприемного материала. Другими словами, если токоприемный материал, включая две добавки, имеет массу 100 г, то сумма масс двух добавок не превысит 50 г. В некоторых вариантах реализации настоящего изобретения одна или большее количество добавок присутствуют в токоприемном материале в количестве от около 0,001% до 10% по массе в расчете на массу токоприемного материала.
Микроволновые генераторы
Любые известные микроволновые генераторы могут быть включены в устройства или использоваться в описанных в данном документе способах. Если устройство содержит два или большее количество микроволновых генераторов, два или большее количество микроволновых генераторов могут быть одинаковыми или разными. Если устройство содержит два или большее количество микроволновых генераторов, два или большее количество микроволновых генераторов могут работать с одинаковыми или разными параметрами (например, мощностью, частотой, длиной волны и т.д.) при реализации описанных в данном документе способов.
Один или большее количество микроволновых генераторов могут содержать магнетронные генераторы незатухающих колебаний (CW) или импульсные микроволновые генераторы, твердотельные микроволновые генераторы фиксированной частоты или переменной частоты или их комбинацию. Один или большее количество микроволновых генераторов обычно могут иметь любую мощность (например, от 200 Вт до 100 кВт) и/или работать на любой частоте (например, от 915 МГц до 28 ГГц) и/или длине волны (от 1 мм до 1 м). Один или большее количество микроволновых генераторов могут содержать коммерчески доступные микроволновые генераторы, такие как микроволновые генераторы SAIREM® (Десин-Шарпьё, Франция). Один или большее количество микроволновых генераторов могут содержать один или большее количество микроволновых генераторов, выбранных из следующей таблицы:
         
      
         
      
В некоторых вариантах реализации настоящего изобретения один или большее количество микроволновых генераторов включают в себя от одного до десяти микроволновых генераторов, независимо выбранных из вариантов реализации 1-12 в приведенной выше таблице.
Способы
Описываемые в данном документе устройства могут использоваться для реализации способа нагревания материала, такого как текучая среда, твердое вещество или их комбинация. Способы могут включать пропускание текучей среды через трубку, содержащую токоприемный материал, на который воздействуют электромагнитные волны. Способы могут включать размещение материала, такого как твердое тело или текучая среду, рядом с трубкой, содержащей токоприемный материал, на который воздействуют электромагнитные волны.
Текучую среду или ее часть можно пропускать через трубку один или большее количество раз, пока не будет достигнута желаемая температура. Текучую среду, нагретую с использованием описанных в данном документе устройств и способов, можно собирать и использовать любым способом, например для обеспечения тепла для дальнейшего техпроцесса.
В некоторых вариантах реализации настоящего изобретения способы включают приведение текучей среды в контакт с нагретым токоприемным материалом, таким как токоприемные частицы, для нагревания таким образом текучей среды со скоростью по меньшей мере 100 °С/мин °С, по меньшей мере 200 °С/мин °С, по меньшей мере 300 °С/мин °С, по меньшей мере 400 °С/мин °С или по меньшей мере 500 °С/мин °С. Способы могут включать периодический процесс или непрерывный процесс. В некоторых вариантах реализации настоящего изобретения этап (b) включает протекание текучей среды через объем нагретых токоприемных частиц. В некоторых вариантах реализации настоящего изобретения этапы (а) и (b) проводят в общем контейнере (например, в трубке), принимающем токоприемные частицы и текучую среду.
В некоторых вариантах реализации настоящего изобретения способы включают предоставление устройства, как описано в настоящем документе; размещение текучей среды на входе контейнера (например, трубки) с некоторой скоростью потока; направление множества электромагнитных волн в аппликатор для воздействия по меньшей мере на часть токоприемного материала множеством электромагнитных волн для генерирования тепла, пока текучая среда находится в трубке, для получения нагретой текучей среды; и сбор нагретой текучей среды на выходе трубки. В некоторых вариантах реализации настоящего изобретения способы также включают (i) размещение по меньшей мере части нагретой текучей среды на входе трубки; (ii) направление множества электромагнитных волн в аппликатор для воздействия по меньшей мере на часть токоприемного материала множеством электромагнитных волн для генерирования тепла, пока нагретая текучая среда находится в трубке, для получения дополнительно нагретой текучей среды; и (iii) сбор дополнительно нагретой текучей среды на выходе трубки. Этапы (i)-(iii) могут быть повторены один или большее количество раз для получения дополнительного нагретой текучей среды, имеющей повышенную температуру. В некоторых вариантах реализации настоящего изобретения способ также включает снижение температуры нагретой текучей среды по меньшей мере на 5% перед помещением нагретой текучей среды во вход.
Этапы способов, описанных в данном документе, могут выполняться одновременно, по существу непрерывно, или в виде их комбинацией.
Текучая среда может находиться в контейнере (например, трубке) в течение любого времени. Время нахождения текучей среды может составлять не более 10 минут, 8 минут, 5 минут, 3 минуты или 1 минуту. В некоторых вариантах реализации настоящего изобретения время нахождения текучей среды составляет от 0,1 до 5 минут. Используемое в данном документе выражение «время нахождения» относится к (i) времени, которое текучая среда проводит в контейнере (например, трубке) во время одного прохода текучей среды через контейнер, если способ является непрерывным, или (ii) времени, в течение которого текучая среда поддерживает контакт с нагретыми токоприемными частицами.
Текучая среда может быть помещена в трубку или может проходить через объем токоприемного материала с любой скоростью потока. Скорость потока может быть выбрана на основе ряда параметров, таких как размер трубки и т.д. В некоторых вариантах реализации настоящего изобретения скорость потока составляет от около 0,1 л/мин до около 1000 л/мин. В некоторых вариантах реализации настоящего изобретения скорость потока составляет от около 0,1 л/мин до около 750 л/мин. В некоторых вариантах реализации настоящего изобретения скорость потока составляет от около 0,1 л/мин до около 500 л/мин. В некоторых вариантах реализации настоящего изобретения скорость потока составляет от около 0,1 л/мин до около 250 л/мин. В некоторых вариантах реализации настоящего изобретения скорость потока составляет от около 0,1 л/мин до около 100 л/мин. В некоторых вариантах реализации настоящего изобретения скорость потока составляет от около 0,1 л/мин до около 50 л/мин. В некоторых вариантах реализации настоящего изобретения скорость потока составляет от около 0,1 л/мин до около 25 л/мин. В некоторых вариантах реализации настоящего изобретения скорость потока составляет от около 0,1 л/мин до около 10 л/мин. В некоторых вариантах реализации настоящего изобретения скорость потока составляет от около 0,1 л/мин до около 5 л/мин. В некоторых вариантах реализации настоящего изобретения скорость потока составляет от около 0,2 л/мин до около 3 л/мин. В некоторых вариантах реализации настоящего изобретения скорость потока составляет от около 0,2 л/мин до около 1,2 л/мин. В некоторых вариантах реализации настоящего изобретения скорость потока составляет от около 900 л/мин до около 1000 л/мин. В некоторых вариантах реализации настоящего изобретения скорость потока составляет от около 800 л/мин до около 1000 л/мин. В некоторых вариантах реализации настоящего изобретения скорость потока составляет от около 700 л/мин до около 1000 л/мин. В некоторых вариантах реализации настоящего изобретения скорость потока составляет от около 600 л/мин до около 1000 л/мин. В некоторых вариантах реализации настоящего изобретения скорость потока составляет от около 500 л/мин до около 1000 л/мин. В некоторых вариантах реализации настоящего изобретения скорость потока составляет от около 400 л/мин до около 1000 л/мин. В некоторых вариантах реализации настоящего изобретения скорость потока составляет от около 300 л/мин до около 1000 л/мин. В некоторых вариантах реализации настоящего изобретения скорость потока составляет от около 250 л/мин до около 1000 л/мин. В некоторых вариантах реализации настоящего изобретения скорость потока составляет от около 200 л/мин до около 1000 л/мин. В некоторых вариантах реализации настоящего изобретения скорость потока составляет от около 100 л/мин до около 1000 л/мин. В некоторых вариантах реализации настоящего изобретения скорость потока составляет от около 75 л/мин до около 1000 л/мин. В некоторых вариантах реализации настоящего изобретения скорость потока составляет от около 50 л/мин до около 1000 л/мин. В некоторых вариантах реализации настоящего изобретения скорость потока составляет от около 10 л/мин до около 1000 л/мин. В некоторых вариантах реализации настоящего изобретения скорость потока составляет по меньшей мере 5 л/мин, по меньшей мере 10 л/мин, по меньшей мере 15 л/мин или по меньшей мере 20 л/мин. Используемый в данном документе термин «скорость потока» относится к скорости, с которой текучая среда поступает на вход трубки. По мере повышения температуры текучей среды вязкость текучей среды может уменьшаться, тем самым повышая вероятность того, что скорость потока может увеличиться. Устройство или способ могут иметь один или большее количество признаков, которые обеспечивают учитывают это явление и/или противодействуют тенденции увеличения скорости потока. Не желая быть связанными какой-либо конкретной теорией, авторы считают, что массовый расход текучей среды может оставаться постоянным, даже если объемный расход изменяется из-за изменения вязкости и/или по другой причине.
Текучая среда может подаваться в контейнер (например, в трубку) с помощью любого известного оборудования. Например, насос, такой как диафрагменный насос или центробежный насос, может быть использован для помещения текучей среды в трубку. В некоторых вариантах реализации настоящего изобретения насос, такой как поршневой насос, используется для подачи текучей среды в трубу со скоростью потока. В некоторых вариантах реализации настоящего изобретения клапан используется для придания требуемой скорости потока текучей среде, находящейся в трубке.
Внутри контейнера (например, трубки) может быть любое давление при реализации всех или части способов, предусмотренных в настоящем документе. В некоторых вариантах реализации настоящего изобретения давление внутри контейнера (например, трубки) меньше или равно критическому давлению текучей среды. В некоторых вариантах реализации настоящего изобретения давление внутри трубки превышает критическое давление текучей среды. В некоторых вариантах реализации настоящего изобретения давление внутри трубки превышает критическое давление текучей среды по меньшей мере на 1%, по меньшей мере на 5%, по меньшей мере на 10%, по меньшей мере на 25% или по меньшей мере на 50%. В некоторых вариантах реализации настоящего изобретения давление внутри контейнера (например, трубки) превышает критическое давление текучей среды на величину от около 1% до около 50%, от около 5% до около 50%, от около 10% до около 50% или от около 25% до около 50%. Этот параметр может исключать или уменьшать вероятность того, что жидкая текучая среда преобразуется в газовую фазу. Текучая среда может находиться под давлением, превышающим ее критическое давление, до, во время и после помещения в контейнер (например, трубку). В некоторых вариантах реализации настоящего изобретения текучая среда находится под давлением (i) перед помещением в контейнер (например, трубку), (ii) во время и/или после ее сбора на втором конце контейнера (например, трубки) или (iii) их комбинация. Поэтому нагретую текучую среду или дополнительно нагретую текучую среду можно держать под давлением, которое превышает критическое давление текучей среды после ее сбора для дальнейшего использования. Например, если способ включает протекание текучей среды через объем нагретых токоприемных частиц, протекание текучей среды через объем нагретых токоприемных частиц может осуществляться при повышенном давлении для предотвращения испарения текучей среды. В некоторых вариантах реализации настоящего изобретения давление внутри контейнера (например, трубки) во время реализации всех или части способов, представленных в настоящем документе, составляет от около 1 бар до около 250 бар, от около 1,1 бар до около 250 бар, от около 5 бар до около 250 бар, от около 5 до около 225 бар, от около 5 до около 200 бар, от около 5 до около 150 бар, от около 5 до около 100 бар или от около 10 до около 100 бар. В некоторых вариантах реализации настоящего изобретения давление внутри контейнера (например, трубки) во время реализации всех или части способов, предусмотренных в настоящем документе, составляет по меньшей мере 2 бар, по меньшей мере 5 бар, по меньшей мере 10 бар, по меньшей мере 25 бар, по меньшей мере 50 бар, по меньшей мере 100 бар, по меньшей мере 150 бар или по меньшей мере 200 бар. При размещении в трубке текучая среда может иметь температуру окружающей среды, превышающую точку замерзания текучей среды. В некоторых вариантах реализации настоящего изобретения текучая среда имеет температуру от около 15°С до около 35°С, когда ее впервые помещают в трубку. В некоторых вариантах реализации настоящего изобретения текучая среда имеет температуру от около 20°С до около 30°С, когда ее впервые помещают в трубку. В некоторых вариантах реализации настоящего изобретения нагретая текучая среда или дополнительно нагретая текучая среда имеет температуру от около 50°С до около 1500°С, от около 100°С до около 1250°С, от около 100°С до около 1000°С, от около 100°С до около 900°С, от около 100°С до около 800°С, от около 100°С до около 700°С, от около 100°С до около 600°С, от около 100°С до около 500°С, от около 200°С до около 500°С, от около 300°С до около 500°С или от около 400°С до около 500°С. В некоторых вариантах реализации настоящего изобретения нагретая текучая среда или дополнительно нагретая текучая среда имеет температуру от около 100°С до около 600°С, от около 200°С до около 600°С, от около 300°С до около 600°С, от около 400°С до около 600°С или от около 500°С до около 600°С. В некоторых вариантах реализации настоящего изобретения нагретая текучая среда или дополнительно нагретая текучая среда имеет температуру от около 100°С до около 700°С, от около 200°С до около 700°С, от около 300°С до около 700°С, около 400°С до около 700°С, от около 500°С до около 700°С, от около 600°С до около 700°С.
В некоторых вариантах реализации настоящего изобретения предложенные в данном документе способы обеспечивают нагрев текучей среды по меньшей мере на 200°С, по меньшей мере на 250°С, по меньшей мере на 300°С, по меньшей мере на 400°С или по меньшей мере на 500°С.
В некоторых вариантах реализации настоящего изобретения токоприемный материал, на который воздействуют электромагнитные волны, как описано в настоящем документе, имеет температуру от около 50°С до около 1500°С, от около 100°С до около 1250°С, от около 100°С до около 1000°С, от около 100°С до около 900°С, от около 100°С до около 800°С, от около 100°С до около 700°С, от около 100°С до около 600°С, от около 100°С до около 500°С, от около 200°С до около 500°С, от около 300°С до около 500°С, от около 400°С до около 500°С, от около 250°С до около 1500°С, от около 350°С до около 1500°С, от около 450°С до около 1500°С, от около 300°С до около 1000°С, от около 300°С до около 800°С или от около 300°С до около 700°С.
В некоторых вариантах реализации настоящего изобретения предложенные в данном документе способы обеспечивают нагрев текучей среды преимущественно за счет прямого теплообмена с нагретым токоприемным материалом. Другими словами, большая часть (>50%) тепла или повышения температуры, сообщаемого текучей среде, является результатом прямого теплообмена с нагретым токоприемным материалом. В некоторых вариантах реализации настоящего изобретения менее 25 процентов, менее 20 процентов, менее 15 процентов, менее 10 процентов или менее 5 процентов нагревания текучей среды вызвано прямым поглощением электромагнитной энергии. Способность текучей среды напрямую поглощать электромагнитную энергию может снижаться по мере повышения ее температуры. Повышение температуры, например, может привести к уменьшению диэлектрической проницаемости текучей среды, тем самым увеличивая процент нагрева, достигаемый токоприемным материалом, на который воздействуют волны.
В некоторых вариантах реализации настоящего изобретения способы включают предоставление устройства или системы, как описано в настоящем документе; размещение материала рядом с трубкой; направление множества электромагнитных волн в аппликатор для воздействия по меньшей мере на часть токоприемного материала множеством электромагнитных волн для генерирования тепла, пока материал находится рядом с трубкой, для получения нагретого материала. Материал может содержать текучую среду, твердое вещество или их комбинацию.
Предусмотренные в данном документе устройства и системы могут быть выполнены с возможностью размещения материала рядом с трубкой. Трубка, например, может простираться от аппликатора на расстояние, подходящее для размещения материала рядом с трубкой. Аппликатор может иметь зазор (например, зазор между камерами или модульными блоками, зазор между трубкой и отверстием и т.д.), который позволяет располагать материал рядом с трубкой. Аппликатор может содержать камеру с одним или большим количеством отверстий, позволяющих размещать материал рядом с трубкой, и такая камера может быть связана или не связана с генератором электромагнитных волн.
В некоторых вариантах реализации настоящего изобретения размещение материала рядом с трубкой включает контакт трубки с материалом. Например, текучая среда или твердое вещество, такое как ткань или другой гибкий материал, могут контактировать с внешней поверхностью трубки. В некоторых вариантах реализации настоящего изобретения вся или часть ленты или полоски из твердого материала, такого как ткань или другой гибкий материал, может контактировать с трубкой. Например, твердое тело, такое как ткань или другой гибкий материал, может быть приведено в контакт с трубкой, когда ткань или другой гибкий материал протягивается одним или большим количеством роликов или иным образом. В качестве дополнительного примера текучая среда может проходить через участок, смежный с трубой. В некоторых вариантах реализации настоящего изобретения текущая текучая среда может контактировать с внешней поверхностью трубки.
Системы
Также в настоящем документе предложены системы, содержащие устройства, описанные в настоящем документе, включая системы, которые могут использоваться для осуществления способов, описанных в настоящем документе. В некоторых вариантах реализации настоящего изобретения системы содержат источник текучей среды, насос или компрессор, теплообменник или их комбинацию.
Вариант реализации системы изображен на ФИГ. 11. Система 900 содержит устройство (901, 902), имеющее первый конец 901, как показано на ФИГ. 6А, ФИГ. 6В и ФИГ. 6С, и второй конец 902, как показано на ФИГ. 8. Система 900 также содержит источник текучей среды 910, сообщающийся по текучей среде с насосом 920. Насос 920 подает текучую среду 950 от источника текучей среды 910 к устройству (901, 902), которое нагревается для получения нагретой текучей среды 951. Нагретую текучую среду 951 можно собрать в резервуар 930. В некоторых вариантах реализации настоящего изобретения нагретая текучая среда 951 передается в другой техпроцесс или систему 960, обеспечивая теплом техпроцесс или систему. По меньшей мере, часть нагретой текучей среды 951 может быть направлена в теплообменник 940, чтобы снизить ее температуру перед подачей в устройство (901, 902) для дальнейшего нагрева. Насос 920 может быть выполнен с возможностью повышения давления по меньшей мере в части системы. Например, давление внутри трубки может превышать или не превышать критическое давление текучей среды. Система 900 может быть выполнена таким образом, чтобы устройство 901 устанавливалось под любым углом от 0° (как показано) до 90° во время работы, что позволяет устройству работать в режиме восходящего или нисходящего потока. В других вариантах реализации система согласно ФИГ. 11 содержит любое одно или комбинацию устройств, признаков и/или конфигураций согласно ФИГ. 1А-1K, 2А-2D, 3А-3В, 4A-4D, 5А-5Е, 7, 8, 9А-9В, 10 и/или 12A-12I.
Предложенные в данном документе системы могут также содержать один или большее количество измерителей, таких как измеритель давления, расходомер или их комбинацию. Давление может использоваться, например, для обеспечения того, чтобы давление по меньшей мере в части системы превышало критическое давление текучей среды. Расходомер может использоваться, например, для обеспечения желаемой скорости потока текучей среды или отслеживания изменений скорости потока, которые могут происходить, когда нагревание текучей среды приводит к соответствующему снижению вязкости.
Текучая среда
Любая текучая среда может нагреваться описанными в данном документе способами. В некоторых вариантах реализации настоящего изобретения текучая среда содержит органическую текучую среду. В некоторых вариантах реализации настоящего изобретения текучая среда содержит неорганическую текучую среду. В некоторых вариантах реализации настоящего изобретения текучая среда содержит водную текучую среду. Используемое в данном документе выражение «водная текучая среда» относится к текучей среде, которая содержит воду в количестве более 50 масс. %. В некоторых вариантах реализации настоящего изобретения текучая среда содержит ионную текучую среду. В некоторых вариантах реализации настоящего изобретения текучая среда содержит воду и по меньшей мере одну органическую текучую среду. В некоторых вариантах реализации настоящего изобретения текучая среда содержит воду, по меньшей мере одну органическую текучую среду, по меньшей мере одну неорганическую текучую среду, по меньшей мере одну ионную текучую среду или их комбинацию. Текучая среда может быть полярной текучей средой, неполярной текучей средой или их комбинацией. Текучая среда может содержать одно или большее количество твердых веществ, которые могут быть диспергированы и/или растворены в текучей среде. Текучая среда может быть в любой фазе, такой как жидкая фаза, газовая фаза или их комбинация. Текучая среда, например, может находиться в жидкой фазе при размещении в трубе, а получающаяся в результате нагретая текучая среда может находиться в жидкой фазе, газовой фазе или их комбинации. В некоторых вариантах реализации настоящего изобретения текучая среда содержит диоксид углерода. Органическая текучая среду может быть углеводородом.
Используемый в данном документе термин «углеводород» относится к соединениям, имеющим структуры, образованные углеродом и водородом, и, необязательно, одним или большим количеством заместителей, если углеводород является замещенным. В некоторых вариантах реализации настоящего изобретения углеводород представляет собой С1-С40 углеводород. В некоторых вариантах реализации настоящего изобретения углеводород представляет собой C1-C30 углеводород. В некоторых вариантах реализации настоящего изобретения углеводород представляет собой C1-C20 углеводород.
Используемые в данном документе выражения «C1-C40 углеводород», «С1-С30 углеводород», «С1-С20 углеводород» и т.п.в целом относятся к алифатическим углеводородам и/или ароматическим углеводородам, содержащим от 1 до 40 атомов углерода, от 1 до 30 атомов углерода или от 1 до 20 атомов углерода, соответственно. Примеры C1-C40 углеводородов включают, но не ограничиваются перечисленными: алкан, циклоалкан, алкен, циклоалкен, алкин, циклоалкин и т.п., и включают все их замещенные, незамещенные, разветвленные и неразветвленные аналоги или производные, в каждом случае с 1-40 атомами углерода. Примеры циклических алифатических или ароматических углеводородов включают, но не ограничиваются перечисленными: антрацен, азулен, бифенил, флуорен, индан, инден, фенантрен, бензол, нафталин, толуол, ксилол, мезитилен и т.п., включая все замещенные, незамещенные, гидрированные и/или их гетероатомзамещенные производные.
Если не указано иное, термин «замещенный» при использовании для описания химической структуры или фрагмента относится к производному этой структуры или фрагмента, в котором один или большее количество атомов водорода замещены химическим фрагментом или функциональной группой, такой как спирт, алкокси, алканоилокси, алкоксикарбон ил, алкенил, алкил, циклоалкил, алкенил, циклоалкенил, алкинил, циклоалкинил, алкилкарбонилокси (-ОС(О)алкил), амид (-С(O)NH-алкил- или -алкилNНС(O)алкил), третичный амин (такой как алкиламино, ариламино, арилалкиламино), арил, арилалкил, арилокси, азо, карбамоил (-NHC(O)O-алкил- или -ОС(O)NH-алкил), карбамил (например, CONH2, а также CONH-алкил, CONH-арил и CONH-арилалкил), карбоксил, карбоновая кислота, циано, сложный эфир, простой эфир (например, метокси, этокси), галоген, галогеналкил (например, -CCI3, -CF3, -C(CF3)3), гетероалкил, изоцианат, изотиоцианат, нитрил, нитро, фосфодиэфир, сульфид, сульфонамидо (например, SO2NH2, SO2NR**'R"), сульфон, сульфонил (включая алкилсульфонил, арилсульфонил и арилалкилсульфонил), сульфоксид, тиол (например, сульфгидрил, тиоэфир) или мочевина.
Если углеводород является галогензамещенным, этот углеводород может быть частично или полностью замещен галогеном, выбранным из фтора, хлора, брома, йода или их комбинации. Если соединение полностью замещено одним или большим количеством типов атомов галогена, оно может называться «пергалогенуглеродом». Например, фторзамещенный углеводород может быть частично замещен атомами фтора или полностью замещен атомами фтора; и если он полностью замещен атомами фтора, соединение можно назвать перфторуглеродом.
Примеры алкильных групп включают, но не ограничиваются перечисленными: метил, этил, пропил, изопропил, н-бутил, трет-бутил, изобутил, пентил, гексил, изогексил, гептил, 4,4-диметилпентил, октил, 2,2, 4-триметилпентил, нонил, децил, ундецил и додецил. Циклоалкильные фрагменты могут быть моноциклическими или полициклическими, и их примеры включают циклопропил, циклобутил, циклопентил, циклогексил и адамантил. Дополнительные примеры алкильных фрагментов имеют неразветвленные, разветвленные и/или циклические части (например, 1-этил-4-метилциклогексил). Типичные алкенильные фрагменты включают винил, аллил, 1-бутенил, 2-бутенил, изобутиленил, 1-пентенил, 2-пентенил, 3-метил-1-бутенил, 2-метил-2-бутенил, 2,3-диметил-2-бутенил. бутенил, 1-гексенил, 2-гексенил, 3-гексенил, 1-гептенил, 2-гептенил, 3-гептенил, 1-октенил, 2-октенил, 3-октенил, 1-ноненил, 2-ноненил, 3-ноненил, 1-деценил, 2-деценил и 3-деценил. Типичные алкинильные фрагменты включают ацетиленил, пропинил, 1-бутинил, 2-бутинил, 1-пентинил, 2-пентинил, 3-метил-1-бутинил, 4-пентинил, 1-гексинил, 2-гексинил, 5-гексинил, 1- гептинил, 2-гептинил, 6-гептинил, 1-октинил, 2-октинил, 7-октинил, 1-нонинил, 2-нонинил, 8-нонинил, 1-децинил, 2-децинил и 9-децинил. Примеры арильных или арилалкильных фрагментов включают, но не ограничиваются перечисленными: антраценил, азуленил, бифенил, флуоренил, индан, инденил, нафтил, фенантренил, фенил, 1,2,3,4-тетрагидронафталин, толил, ксилил, мезитил, бензил и т.п., включая любое его производное, замещенное гетероатомом.
Текучая среда может содержать одну или большее количество добавок. В некоторых вариантах реализации настоящего изобретения одна или большее количество добавок включают индикатор, такой как краситель. Одна или большее количество добавок могут присутствовать в текучей среде в общем количестве, не превышающем 10 масс. % в расчете на массу текучей среды. Другими словами, если текучая среда с двумя добавками имеет массу 100 г, то сумма масс двух добавок не превышает 10 г. В некоторых вариантах реализации настоящего изобретения одна или большее количество добавок присутствуют в текучей среде в количестве от около 0,001% до 5% по массе в расчете на массу текучей среды.
Все упомянутые публикации включены в данный документ в полном объеме посредством ссылки. Кроме того, если определение или использование термина в материалах, включенных в настоящий документ посредством ссылки, не соответствует или противоречит определению этого термина, приведенному в настоящем документе, применяется определение этого термина, приведенное в настоящем документе, а определение этого термина, используемое в материалах, не применяется.
Хотя некоторые аспекты известных технологий были рассмотрены для облегчения раскрытия различных вариантов реализации настоящего изобретения, авторы никоим образом не отказываются от этих технических аспектов, и предполагается, что настоящее изобретения может охватывать один или большее количество обсуждаемых в данном документе традиционных технических аспектов.
Настоящее изобретения может решить одну или большее количество проблем и недостатков известных способов и процессов. Однако предполагается, что различные варианты реализации могут оказаться полезными при решении других проблем и недостатков в ряде технических областей. Следовательно, настоящее изобретения не обязательно следует рассматривать как ограниченное решением каких-либо конкретных проблем или недостатков, обсуждаемых в данном документе.
Если в данном описании упоминается или обсуждается документ, действие или элемент знаний, это упоминание или обсуждение не является признанием того, что документ, действие или элемент знаний или любая их комбинация были на дату приоритета общедоступными, известными общественности, частью общеизвестных сведений или иным образом представляет собой предшествующий уровень техники в соответствии с применимыми законодательными положениями; или известно, что они имеют отношение к попытке решить любую проблему, с которой связано данное описание.
В приведенных в данном документе описаниях термины «содержит», «является», «содержащий», «имеющий» и «включает» используются в неограничивающем смысле и, таким образом, должны интерпретироваться как означающие «включая, но не ограничиваясь этим». Если способы или устройства заявлены или описаны как «содержащие» различные этапы или компоненты, способы или устройства также могут «по существу состоять из» или «состоит из» различных этапов или компонентов, если не указано иное.
Термины в единственном числе включают и альтернативы во множественном числе, например, по меньшей мере один. Например, термины «текучая среда», «токоприемный материал», «трубка» и т.п. должны охватывать один/одну, сочетания или комбинации более чем одной текучей среды, токоприемного материала, трубки и т.п., если не указано иное.
В данном документе приведены различные числовые диапазоны. Если автор указывает или заявляет диапазон любого типа, его намерение состоит в том, чтобы раскрыть или заявить по отдельности каждое возможное число, которое может разумно охватывать такой диапазон, включая конечные точки диапазона, а также любые поддиапазоны и комбинации охватываемых поддиапазонов, если не указано иное. Кроме того, все численные конечные точки диапазонов, указанные в данном документе, являются приблизительными. В качестве репрезентативного примера автор раскрывает в некоторых вариантах реализации настоящего изобретения, что трубка имеет внутренний диаметр от около 30 мм до около 44 мм. Этот диапазон следует интерпретировать как охватывающий около 30 мм и около 44 мм, а также предусматривает наличие термина «около» у каждого из следующих значений: 31 мм, 32 мм, 33 мм, 34 мм, 35 мм, 36 мм, 37 мм, 38 мм, 39 мм, 40 мм, 41 мм, 42 мм и 43 мм, включая любые диапазоны и поддиапазоны между любыми из этих значений.
В данном документе термин «около» означает диапазон плюс или минус 10% от указанного с ним числового значения.
Примеры вариантов реализации
Следующие варианты реализации являются неограничивающими примерами описанных в данном документе устройств, систем и способов. Предусматриваются и другие варианты реализации.
Вариант реализации 1. Устройство
(A) содержащее трубку, выполненную по меньшей мере частично из прозрачного для электромагнитных волн материала; и аппликатор; при этом (i) первый конец трубки неподвижно или подпружинено прикреплен к аппликатору, (ii) по меньшей мере часть трубки расположена в аппликаторе, или (iii) их комбинация; или
(B) содержащее трубку, выполненную по меньшей мере частично из прозрачного для электромагнитных волн материала; токоприемный материал, расположенный в трубке; и аппликатор, причем (i) первый конец трубки неподвижно или подпружинено прикреплен к аппликатору, и (ii) по меньшей мере часть трубки и по меньшей мере часть токоприемного материала в трубке расположены в аппликаторе; или
(C) содержащее трубку, выполненную по меньшей мере частично из прозрачного для электромагнитных волн материала; токоприемный материал, расположенный в трубке; и аппликатор, причем (i) первый конец трубки неподвижно или подпружинено прикреплен к аппликатору, (ii) второй конец трубки неподвижно или подпружинено прикреплен к аппликатору, и (iii) по меньшей мере часть трубки и по меньшей мере часть токоприемного материала в трубке размещены в аппликаторе; или
(D) устройство для нагрева текучих сред с использованием множества токоприемных частиц, на которые воздействует электромагнитная энергия, содержащее: контейнер, определяющий внутренний объем, предназначенный для приема токоприемных частиц; по меньшей мере одно удерживающее устройство, расположенное во внутреннем объеме или рядом с ним и выполненное с возможностью удержания токоприемных частиц во внутреннем объеме, позволяя текучей среде вытекать из внутреннего объема; и конструкцию для излучения электромагнитных волн, выполненную с возможностью введения электромагнитных волн во внутренний объем для воздействия на токоприемные частицы, содержащиеся во внутреннем объеме; или
(E) содержащее трубку, выполненную по меньшей мере частично из прозрачного для электромагнитных волн материала; и аппликатор; при этом (i) по меньшей мере первая часть трубки выступает из аппликатора и (ii) по меньшей мере вторая часть трубки расположена в аппликаторе;
Вариант реализации 2. Устройство согласно варианту реализации 1, в котором трубка имеет вход и выход.
Вариант реализации 3. Устройство согласно варианту реализации 1 или 2, дополнительно содержащее один или большее количество микроволновых генераторов, при этом один или большее количество микроволновых генераторов расположены с возможностью направления множества микроволн в аппликатор для воздействия по меньшей мере на часть токоприемного материала множеством микроволн.
Вариант реализации 4. Устройство согласно любому из вариантов реализации 1-3, в котором прозрачный для электромагнитных волн материал содержит прозрачный для микроволн материал.
Вариант реализации 5. Устройство согласно варианту реализации 4, в котором прозрачный для микроволн материал содержит керамику, полимер, стекло или их комбинацию.
Вариант реализации 6. Устройство согласно варианту реализации 4, в котором прозрачный для микроволн материал содержит (i) оксид алюминия, (ii) плавленый кварц, (iii) нитрид кремния, (iv) керамику, включающую кремний, алюминий, азот, кислород или их комбинацию, или (v) их комбинацию.
Вариант реализации 7. Устройство согласно любому из вариантов реализации 1-6, в котором трубка имеет монолитную конструкцию.
Вариант реализации 8. Устройство согласно любому из вариантов реализации 1-6, в котором трубка содержит первую крышку, расположенную на первом конце трубки, вторую крышку, расположенную на втором конце трубки, или первую крышку и вторую крышку, расположенные на первом конце и втором конце трубки, соответственно.
Вариант реализации 9. Устройство согласно варианту реализации 8, в котором первая крышка, вторая крышка или как первая крышка, так и вторая крышка содержат металл.
Вариант реализации 10, Устройство согласно варианту реализации 9, в котором металл представляет собой сплав, содержащий железо, кобальт и никель (например, сплав KOVAR®).
Вариант реализации 11. Устройство согласно варианту реализации 9 или 10, в котором часть трубки содержит керамику, а первая крышка, вторая крышка или и первая крышка, и вторая крышка соединены с керамикой припоем керамики к металлу, адгезивом или их комбинацией.
Вариант реализации 12. Устройство согласно любому из вариантов реализации 1-11, в котором (А) токоприемный материал содержит металл, полуметалл, диэлектрик или их комбинацию, или (В) токоприемный материал содержит металл, полуметалл, диэлектрик или их комбинацию в количестве по меньшей мере 5%, по меньшей мере 10%, по меньшей мере 15%, по меньшей мере 20%, по меньшей мере 25%, по меньшей мере 50%, по меньшей мере 75% или 100% по массе в расчете на массу токоприемного материала.
Вариант реализации 13. Устройство согласно любому из вариантов реализации 1-12, в котором токоприемный материал содержит оксид металла, такой как оксид железа.
Вариант реализации 14. Устройство согласно любому из вариантов реализации 1-13, в котором токоприемный материал содержит карбид кремния, магнетит, цеолит, кварц, феррит, сажу, графит, гранит или их комбинацию.
Вариант реализации 15. Устройство согласно любому из вариантов реализации 1-14, в котором (i) первый конец трубки подпружинено прикреплен к аппликатору, (ii) второй конец трубки неподвижно прикреплен к аппликатору, (iii) первый конец трубки подпружинено прикреплен к аппликатору, а второй конец трубки неподвижно прикреплен к аппликатору, (iv) первый конец трубки неподвижно прикреплен к аппликатору, (v) второй конец трубки подпружинен прикреплен к аппликатору, или (vi) первый конец трубки подпружинено прикреплен к аппликатору, и второй конец трубки подпружинено прикреплен к аппликатору.
Вариант реализации 16. Устройство согласно варианту реализации 15, в котором первый конец трубки подпружинено прикреплен к аппликатору, и устройство дополнительно содержит (i) первый головной блок, образующий первое отверстие, первое крепление, имеющее первый конец и второй конец, при этом первое крепление расположено с возможностью скольжения в первом отверстии, а второй конец первого крепления неподвижно прикреплен к аппликатору, и первое упруго сжимаемое устройство, расположенное между первым головным блоком и первым концом и/или вторым концом первого крепления, при этом первый конец трубки и первый головной блок контактируют друг с другом; или (ii) первый головной блок, образующий первое отверстие и второе отверстие, первое крепление, имеющее первый конец и второй конец, при этом первое крепление расположено с возможностью скольжения в первом отверстии, а второй конец первого крепления неподвижно прикреплен к аппликатору, второе крепление имеет первый конец и второй конец, при этом второе крепление установлено с возможностью скольжения во втором отверстии, а второй конец первого крепления неподвижно прикреплен к аппликатору, первое упруго сжимаемое устройство, расположенное между первым головным блоком и первым концом и/или вторым концом первого крепления, и второе упруго сжимаемое устройство, расположенное между первым головным блоком и первым концом и/или вторым концом второго крепления; при этом первый конец трубки и первый головной блок контактируют друг с другом.
Вариант реализации 17. Устройство согласно варианту реализации 16, дополнительно содержащее: третье отверстие, образованное первым головным блоком; третье крепление, имеющее первый конец и второй конец, причем третье крепление расположено с возможностью скольжения в третьем отверстии, а второй конец третьего крепления неподвижно прикреплен к аппликатору; и третье упруго сжимаемое устройство, расположенное между первым головным блоком и первым концом и/или вторым концом третьего крепления.
Вариант реализации 18. Устройство согласно варианту реализации 17, дополнительно содержащее: четвертое отверстие, образованное первым головным блоком; четвертое крепление, имеющее первый конец и второй конец, причем четвертое крепление расположено с возможностью скольжения в четвертом отверстии, а второй конец четвертого крепления неподвижно прикреплен к аппликатору; и четвертое упруго сжимаемое устройство, расположенное между первым головным блоком и первым концом и/или вторым концом четвертого крепления.
Вариант реализации 19. Устройство согласно любому из вариантов реализации 16-18, в котором первое упруго сжимаемое устройство, второе упруго сжимаемое устройство, третье упруго сжимаемое устройство, четвертое упруго сжимаемое устройство или их комбинация содержат одну или большее количество тарельчатых пружин, установленных с возможностью скольжения на первом креплении, втором креплении, третьем креплении или четвертом креплении, соответственно.
Вариант реализации 20. Устройство согласно любому из вариантов реализации 16-18, в котором первое упруго сжимаемое устройство, второе упруго сжимаемое устройство, третье упруго сжимаемое устройство, четвертое упруго сжимаемое устройство или их комбинация содержат от 1 до 24 тарельчатых пружин, установленных с возможностью скольжения на первом креплении, втором креплении, третьем креплении или четвертом креплении, соответственно.
Вариант реализации 21. Устройство согласно любому из вариантов реализации 16-20, дополнительно содержащее первое уплотнение, которое обеспечивает закрытие между первым головным блоком и первым концом трубки.
Вариант реализации 22. Устройство согласно варианту реализации 21, в котором первое уплотнение содержит (i) резину, расположенную между первым головным блоком и первым концом трубки и контактирующую с ними, (ii) зажим и/или крепление, поддерживающий контакт между первым головным блоком и первым концом трубки или (iii) их комбинацию.
Вариант реализации 23. Устройство согласно любому из вариантов реализации 16-22, в котором первый головной блок содержит углубление, выполненное с возможностью приема первого конца трубки.
Вариант реализации 24. Устройство согласно любому из вариантов реализации 16-23, в котором устройство дополнительно содержит второй головной блок, неподвижно прикрепленный к аппликатору; при этом второй конец трубки и второй головной блок контактируют друг с другом.
Вариант реализации 25. Устройство согласно варианту реализации 24, дополнительно содержащее второе уплотнение между вторым головным блоком и вторым концом трубки.
Вариант реализации 26. Устройство согласно варианту реализации 25, в котором второе уплотнение содержит (i) металл, расположенный между вторым головным блоком и вторым концом трубки и контактирующий со вторым концом трубки, (ii) зажим и/или крепление, поддерживающий контакт между вторым головным блоком и вторым концом трубки или (iii) их комбинацию.
Вариант реализации 27. Устройство согласно любому из вариантов реализации 24-26, в котором второй головной блок содержит углубление, выполненное с возможностью приема второго конца трубки.
Вариант реализации 28. Устройство согласно любому из вариантов реализации 15-23, в котором второй конец трубки подпружинено прикреплен к аппликатору, и устройство дополнительно содержит (i) второй головной блок, образующий первое отверстие, первое крепление, имеющее первый конец и второй конец, при этом первое крепление расположено с возможностью скольжения в первом отверстии, а второй конец первого крепления неподвижно прикреплен к аппликатору, и первое упруго сжимаемое устройство, расположенное между вторым головным блоком и первым концом и/или вторым концом первого крепления, при этом второй конец трубки и второй головной блок контактируют друг с другом; или (ii) второй головной блок, образующий первое отверстие и второе отверстие, первое крепление, имеющее первый конец и второй конец, при этом первое крепление расположено с возможностью скольжения в первом отверстии, а второй конец первого крепления неподвижно прикреплен к аппликатору, второе крепление имеет первый конец и второй конец, при этом второе крепление установлено с возможностью скольжения во втором отверстии, а второй конец первого крепления неподвижно прикреплен к аппликатору, первое упруго сжимаемое устройство, расположенное между вторым головным блоком и первым концом и/или вторым концом первого крепления, и второе упруго сжимаемое устройство, расположенное между вторым головным блоком и первым концом и/или вторым концом второго крепления;
при этом второй конец трубки и второй головной блок контактируют друг с другом.
Вариант реализации 29. Устройство согласно варианту реализации 28, дополнительно содержащее третье отверстие, образованное вторым головным блоком; третье крепление, имеющее первый конец и второй конец, причем третье крепление расположено с возможностью скольжения в третьем отверстии, а второй конец третьего крепления неподвижно прикреплен к аппликатору; и третье упруго сжимаемое устройство, расположенное между вторым головным блоком и первым концом и/или вторым концом третьего крепления.
Вариант реализации 30. Устройство согласно варианту реализации 29, дополнительно содержащее четвертое отверстие, образованное вторым головным блоком; четвертое крепление, имеющее первый конец и второй конец, причем четвертое крепление расположено с возможностью скольжения в четвертом отверстии, а второй конец четвертого крепления неподвижно прикреплен к аппликатору; и четвертое упруго сжимаемое устройство, расположенное между вторым головным блоком и первым концом и/или вторым концом четвертого крепления.
Вариант реализации 31. Устройство согласно любому из вариантов реализации 28-30, в котором первое упруго сжимаемое устройство, второе упруго сжимаемое устройство, третье упруго сжимаемое устройство, четвертое упруго сжимаемое устройство или их комбинация содержат одну или большее количество тарельчатых пружин, установленных с возможностью скольжения на первом креплении, втором креплении, третьем креплении или четвертом креплении, соответственно.
Вариант реализации 32. Устройство согласно любому из вариантов реализации 28-30, в котором первое упруго сжимаемое устройство, второе упруго сжимаемое устройство, третье упруго сжимаемое устройство, четвертое упруго сжимаемое устройство или их комбинация содержат от 1 до 24 тарельчатых пружин, установленных с возможностью скольжения на первом креплении, втором креплении, третьем креплении или четвертом креплении, соответственно.
Вариант реализации 33. Устройство согласно любому из вариантов реализации 28-32, дополнительно содержащее второе уплотнение между вторым головным блоком и вторым концом трубки.
Вариант реализации 34. Устройство согласно варианту реализации 33, в котором второе уплотнение содержит (i) металл, расположенный между вторым головным блоком и вторым концом трубки и контактирующий со вторым концом трубки, (ii) зажим и/или крепление, поддерживающий контакт между вторым головным блоком и вторым концом трубки или (iii) их комбинацию.
Вариант реализации 35. Устройство согласно любому из вариантов реализации 15-34, в котором (i) первый головной блок неподвижно прикреплен к первому концу трубки, (ii) второй головной блок неподвижно прикреплен ко второму концу трубки, или (iii) первый головной блок неподвижно прикреплен к первому концу трубки, а второй головной блок неподвижно прикреплен ко второму концу трубки.
Вариант реализации 36. Устройство согласно варианту реализации 35, в котором (i) первый головной блок приварен или припаян к первому концу трубки, (ii) второй головной блок приварен или припаян ко второму концу трубки, или (iii) первый головной блок приварен или припаян к первому концу трубки, а второй головной блок приварен ко второму концу трубки.
Вариант реализации 37. Устройство согласно любому из предшествующих вариантов реализации, в котором аппликатор содержит сосуд, (i) имеющий первый конец и второй конец, и (ii) содержащий от одной до тридцати камер, образованных (а) одной или большим количеством наружных стенок сосуда, (b) одной или большим количеством стенок внутри сосуда или (с) их комбинацию, при этом первый конец сосуда, второй конец сосуда, одна или большее количество стенок внутри сосуда или их комбинация образуют отверстие, и трубка расположена в отверстиях, образованных (а) первым концом сосуда, (b) вторым концом сосуда, (с) одной или большим количеством стенок внутри сосуда или (d) их комбинацией.
Вариант реализации 38. Устройство согласно варианту реализации 37, в котором сосуд дополнительно содержит по меньшей мере один волновод, содержащий проход, через который проходит множество микроволн перед входом в одну из от одной до тридцати камер.
Вариант реализации 39. Устройство согласно варианту реализации 37 или 38, в котором сосуд содержит от четырех до шести камер.
Вариант реализации 40. Устройство согласно варианту реализации 37 или 38, в котором устройство содержит от трех до шести микроволновых генераторов, а аппликатор содержит от четырех до шести камер.
Вариант реализации 41. Устройство согласно любому из вариантов реализации 37-40, в котором по меньшей мере один из одного или большего количества микроволновых генераторов (i) расположен для подачи множества микроволн по меньшей мере в одну из от одной до тридцати камер через отверстие, образованное одной или большим количеством наружных стенок сосуда, (ii) расположенное по меньшей мере в одной из от одной до тридцати камер, или (iii) в их комбинации.
Вариант реализации 42. Устройство согласно варианту реализации 41, в котором один или большее количество микроволновых генераторов расположены так, чтобы вводить множество микроволн по меньшей мере в одну из от одной до тридцати камер через отверстие, образованное одной или большим количеством внешних стенок, и один или большее количество микроволновых генераторов расположен по меньшей мере в одном волноводе.
Вариант реализации 43. Устройство согласно любому из вариантов реализации 1-36, в котором аппликатор содержит от одного до тридцати модульных блоков аппликатора, при этом каждый модульный блок аппликатора содержит (i) камеру, имеющую первую сторону и вторую сторону, (ii) первое отверстие, образованное первой стороной, (iii) второе отверстие, образованное второй стороной, и (iv) волновод, проходящий из третьего отверстия камеры, при этом от одного до тридцати модульных блоков аппликатора расположены рядом друг с другом, а трубка расположена в первом отверстии и во втором отверстии каждого модульного блока аппликатора.
Вариант реализации 44. Устройство согласно варианту реализации 43, в котором аппликатор содержит от четырех до шести модульных блоков аппликатора.
Вариант реализации 45. Устройство согласно варианту реализации 43 или 44, в котором по меньшей мере один из одного или большего количества микроволновых генераторов расположен так, чтобы подавать множество микроволн по меньшей мере в один из от одного до тридцати модульных блоков аппликатора.
Вариант реализации 46. Устройство согласно любому из вариантов реализации 43-45, в котором устройство содержит от трех до шести микроволновых генераторов, а аппликатор содержит от четырех до шести модульных блоков аппликатора.
Вариант реализации 47. Устройство согласно любому из вариантов реализации 1-46, в котором часть трубки, выполненная из материала, прозрачного для электромагнитных волн, является по существу цилиндрической.
Вариант реализации 48. Устройство согласно варианту реализации 47, в котором трубка имеет внешний диаметр от около 45 мм до около 60 мм и внутренний диаметр от около 30 мм до около 44 мм.
Вариант реализации 49. Устройство согласно варианту реализации 47, в котором трубка имеет внешний диаметр от около 50 мм до около 54 мм и внутренний диаметр от около 40 мм до около 44 мм.
Вариант реализации 50. Устройство согласно любому из вариантов реализации 1-49, в котором длина трубки составляет от около 0,1 м до около 5 м, от около 0,1 м до около 4 м, от около 0,1 м до около 3 м, от около 0,5 м до около 3 м, от около 0,5 м до около 2 м, от около 0,5 м до около 1,5 м или от около 1 м до около 1,5 м.
Вариант реализации 51. Устройство согласно любому из вариантов реализации 1-50, в котором трубка дополнительно содержит микроволновый прерыватель.
Вариант реализации 52. Устройство согласно варианту реализации 51, в котором микроволновый прерыватель неподвижно установлен на втором конце трубки.
Вариант реализации 53. Устройство согласно варианту реализации 51 или 52, в котором микроволновый прерыватель содержит проволоку или стержень и, необязательно, (i) одну или большее количество выступающих частей и/или (ii) фланец, расположенный на проволоке или стержне.
Вариант реализации 54. Устройство согласно любому из вариантов реализации 1-53, в котором токоприемный материал расположен во внутреннем резервуаре трубки, и устройство дополнительно содержит одно или большее количество удерживающих устройств, расположенных в положении, позволяющем (i) предотвратить утечку токоприемного материала из внутреннего резервуара трубки, (ii) контролировать расположение токоприемного материала во внутреннем резервуаре трубки, (iii) предотвращать контакт токоприемного материала с текучей средой или (iv) их комбинацию.
Вариант реализации 55. Устройство согласно варианту реализации 54, в котором одно или большее количество удерживающих устройств содержат сетку, корпус или их комбинацию.
Вариант реализации 56. Устройство согласно любому из вариантов реализации 1-55, в котором токоприемный материал находится в монолитной форме, в форме частиц или в их комбинации.
Вариант реализации 57. Устройство согласно любому из вариантов реализации 1-56, в котором продольная ось трубки параллельна (0°) или перпендикулярна (90°) поверхности (например, земле, полу, потолку, стене и т.д.), поддерживающей устройство.
Вариант реализации 58. Устройство согласно любому из вариантов реализации 1-56, в котором угол между продольной осью трубки и поверхностью (например, землей, полом, потолком, стеной и т.д.), поддерживающей устройство, составляет от 0° до 90°, от 10° до 90°, от 20° до 90°, от 30° до 90°, от 40° до 90°, от 50° до 90°, от 60° до 90°, от 70° до 90° или от 80° до 90°.
Вариант реализации 59. Устройство согласно любому из вариантов реализации 1-58, в котором конструкция для излучения электромагнитных волн содержит прозрачную для электромагнитных волн секцию контейнера, через которую электромагнитные волны могут проходить снаружи контейнера во внутренний объем.
Вариант реализации 60. Устройство согласно любому из вариантов реализации 1-59, в котором контейнер содержит трубчатую секцию, выполненную из материала, прозрачного для электромагнитных волн, который образует прозрачную для электромагнитных волн секцию контейнера.
Вариант реализации 61. Устройство согласно любому из вариантов реализации 1-60, дополнительно содержащее аппликатор для направления электромагнитных волн через прозрачную для электромагнитных волн секцию во внутренний объем.
Вариант реализации 62. Устройство согласно варианту реализации 60 или 61, в котором (А) контейнер дополнительно содержит две металлические торцевые крышки, по одной соединенной с каждым концом трубчатой секции, или (В) трубчатая секция является монолитной.
Вариант реализации 63. Устройство согласно любому из вариантов реализации 1-62, в котором конструкция для излучения электромагнитных волн по меньшей мере частично расположена в контейнере.
Вариант реализации 64. Устройство согласно любому из вариантов реализации 1-63, в котором удерживающее устройство имеет множество отверстий, через которые может проходить текучая среда, но не могут проходить токоприемные частицы.
Вариант реализации 65. Устройство согласно варианту реализации 64, в котором средняя открытая площадь отверстий в удерживающем механизме составляет менее 20 кв. мм, 15 кв. мм, 10 кв. мм, 5 кв. мм или 2 кв. мм.
Вариант реализации 66. Устройство согласно любому из вариантов реализации 1-65, в котором удерживающее устройство содержит сетку, соединенную с контейнером, перфорированную пластину, соединенную с контейнером, или перфорированную стенку контейнера.
Вариант реализации 67. Устройство согласно любому из вариантов реализации 1-66, в котором контейнер дополнительно содержит вход для приема текучей среды во внутренний объем и выход для выпуска текучей среды из внутреннего объема.
Вариант реализации 68. Устройство согласно варианту реализации 67, в котором по меньшей мере одно удерживающее устройство имеет положение первой удерживающей конструкции вблизи входа для текучей среды и положение второй удерживающей конструкции вблизи выхода для текучей среды.
Вариант реализации 69. Устройство согласно любому из вариантов реализации 1-68, в котором контейнер представляет собой контейнер под давлением.
Вариант реализации 70. Устройство согласно варианту реализации 69, в котором контейнер под давлением выполнен с возможностью выдерживать давление по меньшей мере 1 бар, по меньшей мере 5 бар, по меньшей мере 10 бар, по меньшей мере 15 бар, по меньшей мере 20 бар или по меньшей мере 25 бар.
Вариант реализации 71. Устройство согласно любому из вариантов реализации 1-70, дополнительно содержащее источник текучей среды для подачи текучей среды во внутренний объем и генератор электромагнитных волн для подачи электромагнитных волн во внутренний объем.
Вариант реализации 72. Устройство согласно варианту реализации 71, в котором генератор электромагнитных волн представляет собой микроволновый генератор.
Вариант реализации 73. Устройство согласно любому из вариантов реализации 1-72, в котором аппликатор содержит (i) сосуд или модульный блок и (ii) отдельное крепежное устройство, при этом отдельное крепежное устройство позволяет неподвижно или подпружинено прикреплять первый конец трубки к аппликатору.
Вариант реализации 74. Система, содержащая устройство согласно любому из вариантов реализации 1-73; источник текучей среды, в котором находится текучая среда, при этом источник текучей среды сообщается по текучей среде с трубкой; и насос, выполненный с возможностью подачи (i) текучей среды из источника текучей среды в трубку, (ii) обеспечения давления в трубке, при этом насос сообщается по текучей среде с устройством и источником текучей среды, или (iii) их комбинации.
Вариант реализации 75. Система согласно варианту реализации 74, дополнительно содержащая теплообменник, сообщающийся по текучей среде со вторым концом трубки, и насос.
Вариант реализации 76. Способ
(A) для нагревания материала, включающий обеспечение (i) устройства согласно любому из вариантов реализации с 1-73 или (ii) системы согласно варианту реализации 74 или 75; размещение текучей среды на входе трубки с некоторой скоростью потока; направление множества электромагнитных волн в аппликатор для воздействия по меньшей мере на часть токоприемного материала множеством электромагнитных волн для генерирования тепла, пока текучая среда находится в трубке, для получения нагретой текучей среды; и сбор нагретой текучей среды на выходе трубки; или
(B) обеспечение устройства, содержащего контейнер, имеющий вход и выход, токоприемный материал, расположенный в контейнере, и аппликатор, в котором расположены по меньшей мере часть контейнера и по меньшей мере часть аппликатора; размещение текучей среды на входе трубки с некоторой скоростью потока; направление множества электромагнитных волн в аппликатор для воздействия по меньшей мере на часть токоприемного материала множеством электромагнитных волн для генерирования тепла, пока текучая среда находится в трубке, для получения нагретой текучей среды; и сбор нагретой текучей среды на выходе трубки; или
(С) способ нагрева текучих сред с использованием электромагнитной энергии, включающий (а) воздействие на множество токоприемных частиц электромагнитной энергии для получения таким образом нагретых токоприемных частиц; и (b) приведение текучей среды в контакт с нагретыми токоприемными частицами для нагревания таким образом текучей среды со скоростью по меньшей мере 100 °С/мин °С, по меньшей мере 200 °С/мин °С, по меньшей мере 300 °С/мин °С, по меньшей мере 400 °С/мин °С или по меньшей мере 500 °С/мин °С.
Вариант реализации 77. Способ согласно варианту реализации 76, в котором этап (b) включает протекание текучей среды через объем нагретых токоприемных частиц.
Вариант реализации 78. Способ согласно варианту реализации 76 или 77, в котором скорость потока текучей среды через объем нагретых токоприемных частиц составляет по меньшей мере 5 л/мин, по меньшей мере 10 л/мин, по меньшей мере 15 л/мин или по меньшей мере 20 л/мин.
Вариант реализации 79. Способ согласно любому из вариантов реализации 76-78, в котором текучая среда поддерживает контакт с нагретыми токоприемными частицами не более 10 минут, 8 минут, 5 минут, 3 минут или 1 минуты.
Вариант реализации 80. Способ согласно любому из вариантов реализации 76-79, отличающийся тем, что на этапе (b) текучая среда нагревается по меньшей мере на 200°С, по меньшей мере на 250°С, по меньшей мере на 300°С, по меньшей мере на 400°С или по меньшей мере на 500°С.
Вариант реализации 81. Способ согласно любому из вариантов реализации 76-80, в котором текучая среда представляет собой жидкость, и этап (b) проводят при повышенном давлении для предотвращения испарения текучей среды.
Вариант реализации 82. Способ согласно любому из вариантов реализации 76-81, отличающийся тем, что токоприемные частицы физически не связаны друг с другом.
Вариант реализации 83. Способ согласно любому из вариантов реализации 76-82, отличающийся тем, что средний размер токоприемных частиц находится в диапазоне от 0,1 до 5 миллиметров.
Вариант реализации 84. Способ согласно любому из вариантов реализации 76-83, отличающийся тем, что этапы (а) и (b) осуществляют в общем контейнере (например, трубке), принимающем токоприемные частицы и текучую среду.
Вариант реализации 85. Способ согласно любому из вариантов реализации 76-84, отличающийся тем, что контейнер содержит прозрачную для электромагнитных волн секцию, через которую проходит электромагнитная энергия для нагрева токоприемных частиц.
Вариант реализации 86. Способ согласно любому из вариантов реализации 76-85, в котором прозрачная для электромагнитных волн секция представляет собой трубчатый элемент, изготовленный из прозрачного для электромагнитных волн материала.
Вариант реализации 87. Способ согласно любому из вариантов реализации 76-86, отличающийся тем, что на этапах (а) и (b) токоприемные частицы удерживаются в контейнере, в то время как текучая среда течет через контейнер.
Вариант реализации 88. Способ согласно любому из вариантов реализации 76-87, отличающийся тем, что скорость потока текучей среды через контейнер составляет по меньшей мере 10 л/мин, при этом время нахождения текучей среды в контейнере находится в диапазоне от 0,1 до 5 минут, и при этом температура текучей среды в контейнере повышается по меньшей мере на 250°С.
Вариант реализации 89. Способ согласно любому из вариантов реализации 76-88, отличающийся тем, что этапы (а) и (b) осуществляют одновременно.
Вариант реализации 90. Способ согласно любому из вариантов реализации 76-89, отличающийся тем, что этапы (а) и (b) осуществляют по существу непрерывно.
Вариант реализации 91. Способ согласно любому из вариантов реализации 76-90, в котором текучая среда нагревается преимущественно за счет прямого теплообмена с нагретыми токоприемными частицами.
Вариант реализации 92. Способ согласно любому из вариантов реализации 76-91, в котором менее 25 процентов, менее 20 процентов, менее 15 процентов, менее 10 процентов или менее 5 процентов нагревания текучей среды вызвано прямым поглощением электромагнитной энергии.
Вариант реализации 93. Способ согласно любому из вариантов реализации 76-92, в котором электромагнитная энергия включает микроволновую энергию.
Вариант реализации 94. Способ согласно любому из вариантов реализации 76-93, дополнительно включающий (i) размещение по меньшей мере части нагретой текучей среды во входе трубки; (ii) направление множества электромагнитных волн в аппликатор для воздействия по меньшей мере на часть токоприемного материала множеством электромагнитных волн для генерирования тепла, пока нагретая текучая среда находится в трубке, для получения дополнительно нагретой текучей среды; и (iii) сбор дополнительно нагретой текучей среды на выходе трубки.
Вариант реализации 95. Способ согласно варианту реализации 94, дополнительно включающий повторение этапов (i)-(iii) один или большее количество раз для получения дополнительно нагретой текучей среды, имеющей повышенную температуру.
Вариант реализации 96. Способ обработки текучей среды, включающий обеспечение (i) устройства согласно любому из вариантов реализации 1-73, (ii) системы согласно варианту реализации 74 или 75 или (iii) устройства, содержащего контейнер, имеющий вход и выход, токоприемный материал, расположенный в контейнере, и аппликатор, при этом по меньшей мере часть токоприемного материала и по меньшей мере часть контейнера расположены в аппликаторе; при этом токоприемный материал содержит магнетит и оксид железа, отличный от магнетита; размещение текучей среды на входе трубки с некоторой скоростью потока; при этом текучая среда представляет собой воду или водную текучую среду, и эта текучая среда контактирует с токоприемным материалом; и направление множества электромагнитных волн в аппликатор для воздействия по меньшей мере на часть токоприемного материала множеством электромагнитных волн для генерирования тепла, пока текучая среда находится в трубке.
Вариант реализации 98. Способ согласно варианту реализации 96, дополнительно включающий сбор нагретой текучей среды на выходе из трубки, при этом нагретая текучая среда представляет собой газ.
Вариант реализации 99. Способ согласно любому из вариантов реализации 75-98, в котором текучая среда имеет температуру от около 15°С до около 35°С или от около 20°С до около 30°С.
Вариант реализации 100. Способ согласно любому из вариантов реализации 75-99, в котором нагретая текучая среда или дополнительно нагретая текучая среда имеет температуру от около 400°С до около 600°С.
Вариант реализации 101. Способ согласно любому из вариантов реализации 75-100, в котором нагретая текучая среда или дополнительно нагретая текучая среда имеет температуру от около 50°С до около 1500°С, от около 100°С до около 1250°С, от около 100°С до около 1000°С, от около 100°С до около 900°С, от около 100°С до около 800°С, от около 100°С до около 700°С, от около 100°С до около 600°С, от около 100°С до около 500°С, от около 200°С до около 500°С, от около 300°С до около 500°С или от около 400°С до около 500°С.
Вариант реализации 102. Способ согласно любому из вариантов реализации 75-101, в котором нагретый токоприемный материал или токоприемный материал, на который воздействует электромагнитное излучение, имеет температуру от около 50°С до около 1500°С, от около 100°С до около 1250°С, от около 100°С до около 1000°С, от около 100°С до около 900°С, от около 100°С до около 800°С, от около 100°С до около 700°С, от около 100°С до около 600°С, от около 100°С до около 500°С, от около 200°С до около 500°С, от около 300°С до около 500°С, от около 400°С до около 500°С, от около 250°С до около 1500°С, от около 350°С до около 1500°С, от около 450°С до около 1500°С, от около 300°С до около 1000°С, от около 300°С до около 800°С или от около 300°С до около 700°С.
Вариант реализации 103. Способ согласно любому из вариантов реализации 75-102, в котором (А) текучая среда имеет критическое давление, и давление внутри трубки больше, чем критическое давление текучей среды, (В) давление внутри контейнера (например, трубки) во время реализации всех или части способов, представленных в настоящем документе, составляет от около 1 бар до около 250 бар, от около 1,1 бар до около 250 бар, от около 5 бар до около 250 бар, от около 5 до около 225 бар, от около 5 до около 200 бар, от около 5 до около 150 бар, от около 5 до около 100 бар или от около 10 до около 100 бар, или (С) давление внутри контейнера (например, трубки) во время реализации всех или части предлагаемых в данном документе способов составляет по меньшей мере 2 бар, по меньшей мере 5 бар, по меньшей мере 10 бар, по меньшей мере 25 бар, по меньшей мере 50 бар, по меньшей мере 100 бар, по меньшей мере 150 бар или по меньшей мере 200 бар.
Вариант реализации 104. Способ согласно любому из вариантов реализации 75-103, в котором скорость потока составляет от около 0,1 л/мин до около 1000 л/мин, от около 0,1 л/мин до около 750 л/мин, от около 0,1 л/мин до около 500 л/мин, от около 0,1 л/мин до около 250 л/мин, от около 0,1 л/мин до около 100 л/мин, от около 0,1 л/мин до около 50 л/мин, от около 0,1 л/мин до около 25 л/мин, от около 0,1 л/мин до около 10 л/мин, от около 0,1 л/мин до около 5 л/мин, от около 0,2 л/мин до около 3 л/мин, от около 0,2 л/мин до около 1,2 л/мин, от около 900 л/мин до около 1000 л/мин, от около 800 л/мин до около 1000 л/мин, от около 700 л/мин до около 1000 л/мин, от около 600 л/мин до около 1000 л/мин, от около 500 л/мин до около 1000 л/мин, от около 400 л/мин до около 1000 л/мин, от около 300 л/мин до около 1000 л/мин, от около 250 л/мин до около 1000 л/мин, от около 200 л/мин до около 1000 л/мин, от около 100 л/мин до около 1000 л/мин, от около 75 л/мин до около 1000 л/мин, от около 50 л/мин до около 1000 л/мин, от около 10 л/мин до около 1000 л/мин, по меньшей мере 5 л/мин, по меньшей мере 10 л/мин, по меньшей мере 15 л/мин или по меньшей мере 20 л/мин.
Вариант реализации 105. Способ согласно любому из вариантов реализации 75-103, в котором скорость потока составляет от около 0,2 л/мин до около 3 л/мин.
Вариант реализации 106. Способ согласно любому из вариантов реализации 75-103, в котором скорость потока составляет от около 0,2 л/мин до около 1,2 л/мин.
Вариант реализации 107. Способ согласно любому из вариантов реализации 75-106, в котором текучая среда содержит органическую текучую среду, водную текучую среду, ионную текучую среду или их комбинацию.
Вариант реализации 108. Способ согласно варианту реализации 107, в котором органическая текучая среда представляет собой C1-C40 углеводород, С1-С30 углеводород или C1-C20 углеводород.
Вариант реализации 109. Способ согласно варианту реализации 107 или 108, в котором органическая текучая среда представляет собой галогензамещенную органическую текучую среду.
Вариант реализации 110. Способ согласно варианту реализации 109, в котором галогензамещенная органическая текучая среда представляет собой пергалогенуглерод, такой как перфторуглерод.
Вариант реализации 111. Способ нагревания материала, включающий обеспечение (i) устройства согласно любому из вариантов реализации 1-73, (ii) системы согласно варианту реализации 74 или 75 или (iii) устройства, содержащего контейнер, токоприемный материал, расположенный в контейнере, и аппликатор, при этом по меньшей мере часть токоприемного материала и по меньшей мере часть контейнера расположены в аппликаторе; размещение материала рядом с трубкой; направление множества электромагнитных волн в аппликатор для воздействия по меньшей мере на часть токоприемного материала множеством электромагнитных волн для генерирования тепла, пока материал находится рядом с трубкой, для получения нагретого материала.
Вариант реализации 112. Способ согласно варианту реализации 111, в котором материал представляет собой твердое вещество.
Вариант реализации 113. Способ согласно варианту реализации 111 или 112, в котором расположение материала рядом с трубкой включает приведение трубки в контакт с материалом.
Вариант реализации 114. Способ согласно любому из вариантов реализации 76-113, в котором токоприемный материал содержит магнетит и оксид железа, отличный от магнетита; текучая среда представляет собой воду или водную текучую среду, текучая среда контактирует с токоприемным материалом, а нагретая текучая среда представляет собой газ.
Вариант реализации 115. Способ согласно любому из вариантов реализации 76-114, в котором множество электромагнитных волн включает множество микроволн.
Вариант реализации 116. Способ согласно варианту реализации 115, в котором один или большее количество микроволновых генераторов включают магнетронный генератор, твердотельный генератор или их комбинацию.
Вариант реализации 117. Способ согласно варианту реализации 115 или 116, в котором один или большее количество микроволновых генераторов имеют мощность от около 200 Вт до около 100 кВт или от около 200 Вт до около 54 кВт.
Вариант реализации 118. Способ согласно одному из вариантов реализации 115-117, в котором одна или большее количество микроволн из множества микроволн имеют частоту 915 МГц, 2,45 ГГц, 14 ГГц, 18 ГГц или 28 ГГц.
Вариант реализации 119. Способ согласно любому из вариантов реализации 76-118, в котором множество электромагнитных волн включает множество радиоволн, множество инфракрасных волн, множество гамма-лучей или их комбинацию.
| название | год | авторы | номер документа | 
|---|---|---|---|
| АППЛИКАТОР И СИСТЕМА МИКРОВОЛНОВОЙ КОАГУЛЯЦИИ | 2010 | 
 | RU2562287C2 | 
| МИКРОВОЛНОВОЕ УСТРОЙСТВО НАГРЕВАНИЯ | 2001 | 
 | RU2263420C2 | 
| МИКРОВОЛНОВАЯ ПЕЧЬ КОМБИНИРОВАННОГО НАГРЕВА | 2015 | 
 | RU2705701C2 | 
| УСТРОЙСТВО ДЛЯ ПЛАЗМЕННОГО ХИМИЧЕСКОГО ОСАЖДЕНИЯ ИЗ ГАЗОВОЙ ФАЗЫ И СПОСОБ ИЗГОТОВЛЕНИЯ ЗАГОТОВКИ | 2004 | 
 | RU2366758C2 | 
| ЦИЛИНДРИЧЕСКИЙ РЕЗОНАТОР УСТРОЙСТВА ПЛАЗМЕННОГО ХИМИЧЕСКОГО ОСАЖДЕНИЯ СТЕКЛОМАТЕРИАЛА ИЗ ПАРОВОЙ ФАЗЫ НА ВНУТРЕННЮЮ ПОВЕРХНОСТЬ ПОДЛОЖКИ В ВИДЕ ТРУБКИ | 2012 | 
 | RU2613252C2 | 
| ЭЛЕКТРОХИРУРГИЧЕСКИЙ ЗОНД ДЛЯ ДОСТАВКИ РАДИОЧАСТОТНОЙ И МИКРОВОЛНОВОЙ ЭНЕРГИИ | 2017 | 
 | RU2740678C2 | 
| УСТРОЙСТВО, ГЕНЕРИРУЮЩЕЕ АЭРОЗОЛЬ, С ПЕТЛЕВЫМ РЕЗОНАТОРОМ С ЗАЗОРОМ | 2022 | 
 | RU2813166C1 | 
| УСТРОЙСТВО И СПОСОБ ИНДУЦИРУЕМОЙ МИКРОВОЛНАМИ ПЛАЗМЕННОЙ ОЧИСТКИ ГЕНЕРАТОРНОГО ГАЗА | 2014 | 
 | RU2642563C1 | 
| МИКРОВОЛНОВЫЙ АППЛИКАТОР | 1999 | 
 | RU2250118C2 | 
| АВТОМАТ И СПОСОБ ОБРАБОТКИ ОТХОДОВ | 2013 | 
 | RU2649864C2 | 
 
		
		 
		
		 
		
		 
		
		 
		
		 
		
		 
		
		 
		
		 
		
		 
		
		 
		
		 
		
		 
		
		 
		
		 
		
		 
		
		 
		
		 
		
         
         
            Изобретение относится к устройствам, системам и способам нагрева посредством электромагнитных волн, в том числе микроволн. Устройство содержит трубку, токоприемный материал, расположенный в трубке, и аппликатор. Первый конец трубки неподвижно или подпружиненно прикреплен к аппликатору, и часть токоприемного материала в трубке расположены в аппликаторе. Токоприемный материал расположен во внутреннем резервуаре трубки. Устройство дополнительно содержит одно или большее количество удерживающих устройств, расположенных в положении, позволяющем предотвратить утечку токоприемного материала из внутреннего резервуара трубки, контролировать расположение токоприемного материала во внутреннем резервуаре трубки, предотвращать контакт токоприемного материала с текучей средой во внутреннем резервуаре трубки или их комбинацию. Изобретение обеспечивает нагрев текучей среды с помощью принимающих электромагнитную энергию токоприемных частиц посредством устройства, которое способно выдерживать силы, воздействующие на устройство при нагреве текучей среды. 7 н. и 105 з.п. ф-лы, 44 ил.
1. Устройство для нагрева посредством электромагнитных волн, содержащее:
трубку, выполненную по меньшей мере частично из прозрачного для электромагнитных волн материала;
токоприемный материал, расположенный в трубке; и
аппликатор, причем (i) первый конец трубки неподвижно или подпружинено прикреплен к аппликатору и (ii) по меньшей мере часть трубки и по меньшей мере часть токоприемного материала в трубке расположены в аппликаторе,
при этом токоприемный материал расположен во внутреннем резервуаре трубки и устройство дополнительно содержит одно или большее количество удерживающих устройств, расположенных в положении, позволяющем (a) предотвратить утечку токоприемного материала из внутреннего резервуара трубки, (b) контролировать расположение токоприемного материала во внутреннем резервуаре трубки, (c) предотвращать контакт токоприемного материала с текучей средой во внутреннем резервуаре трубки или (d) их комбинацию.
2. Устройство по п. 1, отличающееся тем, что токоприемный материал находится в форме частиц.
3. Устройство по п. 1, отличающееся тем, что второй конец трубки неподвижно или подпружиненно прикреплен к аппликатору.
4. Устройство по п. 3, отличающееся тем, что первый конец трубки подпружиненно прикреплен к аппликатору, второй конец трубки подпружиненно прикреплен к аппликатору или как первый конец трубки, так и второй конец трубки подпружиненно прикреплены к аппликатору.
5. Устройство по п. 1, отличающееся тем, что аппликатор содержит (i) сосуд или один или большее количество модульных блоков и (ii) отдельное крепежное устройство, при этом отдельное крепежное устройство позволяет неподвижно или подпружиненно прикреплять первый конец трубки к аппликатору.
6. Устройство по п. 1, дополнительно содержащее один или большее количество микроволновых генераторов, при этом один или большее количество микроволновых генераторов расположены с возможностью направления множества микроволн в аппликатор для воздействия по меньшей мере на часть токоприемного материала множеством микроволн.
7. Устройство по п. 1, отличающееся тем, что прозрачный для электромагнитных волн материал содержит прозрачный для микроволн материал.
8. Устройство по п. 7, отличающееся тем, что прозрачный для микроволн материал содержит керамику, полимер, стекло или их комбинацию.
9. Устройство по п. 7, отличающееся тем, что прозрачный для микроволн материал содержит (i) оксид алюминия, (ii) плавленый кварц, (iii) нитрид кремния, (iv) керамику, включающую кремний, алюминий, азот, кислород или их комбинацию, или (v) их комбинацию.
10. Устройство по п. 1, отличающееся тем, что трубка имеет монолитную конструкцию.
11. Устройство по п. 1, отличающееся тем, что трубка содержит первую крышку, расположенную на первом конце трубки, вторую крышку, расположенную на втором конце трубки, или первую крышку и вторую крышку, расположенные на первом конце и втором конце трубки соответственно.
12. Устройство по п. 11, отличающееся тем, что первая крышка, вторая крышка или как первая крышка, так и вторая крышка содержат металл.
13. Устройство по п. 12, отличающееся тем, что металл содержит (i) сплав KOVAR® или (ii) сплав, содержащий железо, кобальт и никель.
14. Устройство по п. 12, отличающееся тем, что часть трубки содержит керамику, а первая крышка, вторая крышка или и первая крышка, и вторая крышка соединены с керамикой припоем керамики к металлу, адгезивом или их комбинацией.
15. Устройство по п. 1, отличающееся тем, что (i) первый конец трубки подпружиненно прикреплен к аппликатору, (ii) второй конец трубки неподвижно прикреплен к аппликатору, (iii) первый конец трубки подпружиненно прикреплен к аппликатору, а второй конец трубки неподвижно прикреплен к аппликатору, (iv) первый конец трубки неподвижно прикреплен к аппликатору, (v) второй конец трубки подпружиненно прикреплен к аппликатору или (vi) первый конец трубки подпружиненно прикреплен к аппликатору и второй конец трубки подпружиненно прикреплен к аппликатору.
16. Устройство по п. 15, отличающееся тем, что первый конец трубки подпружиненно прикреплен к аппликатору и устройство дополнительно содержит:
(i) первый головной блок, образующий первое отверстие,
первое крепление, имеющее первый конец и второй конец, причем первое крепление расположено с возможностью скольжения в первом отверстии, а второй конец первого крепления неподвижно прикреплен к аппликатору, и
первое упруго сжимаемое устройство, расположенное между первым головным блоком и первым концом и/или вторым концом первого крепления,
при этом первый конец трубки и первый головной блок контактируют друг с другом; или
(ii) первый головной блок, образующий первое отверстие и второе отверстие,
первое крепление, имеющее первый конец и второй конец, причем первое крепление расположено с возможностью скольжения в первом отверстии, а второй конец первого крепления неподвижно прикреплен к аппликатору,
второе крепление, имеющее первый конец и второй конец, причем второе крепление расположено с возможностью скольжения во втором отверстии, а второй конец первого крепления неподвижно прикреплен к аппликатору,
первое упруго сжимаемое устройство, расположенное между первым головным блоком и первым концом и/или вторым концом первого крепления, и второе упруго сжимаемое устройство, расположенное между первым головным блоком и первым концом и/или вторым концом второго крепления;
при этом первый конец трубки и первый головной блок контактируют друг с другом.
17. Устройство по п. 16, дополнительно содержащее:
третье отверстие, образованное первым головным блоком;
третье крепление, имеющее первый конец и второй конец, причем третье крепление расположено с возможностью скольжения в третьем отверстии, а второй конец третьего крепления неподвижно прикреплен к аппликатору; и
третье упруго сжимаемое устройство, расположенное между первым головным блоком и первым концом и/или вторым концом третьего крепления.
18. Устройство по п. 17, дополнительно содержащее:
четвертое отверстие, образованное первым головным блоком;
четвертое крепление, имеющее первый конец и второй конец, причем четвертое крепление расположено с возможностью скольжения в четвертом отверстии, а второй конец четвертого крепления неподвижно прикреплен к аппликатору; и
четвертое упруго сжимаемое устройство, расположенное между первым головным блоком и первым концом и/или вторым концом четвертого крепления.
19. Устройство по любому из пп. 16–18, отличающееся тем, что первое упруго сжимаемое устройство, второе упруго сжимаемое устройство, третье упруго сжимаемое устройство, четвертое упруго сжимаемое устройство или их комбинация содержат одну или большее количество тарельчатых пружин, установленных с возможностью скольжения на первом креплении, втором креплении, третьем креплении или четвертом креплении соответственно.
20. Устройство по любому из пп. 16–18, отличающееся тем, что первое упруго сжимаемое устройство, второе упруго сжимаемое устройство, третье упруго сжимаемое устройство, четвертое упруго сжимаемое устройство или их комбинация содержат от 1 до 24 тарельчатых пружин, установленных с возможностью скольжения на первом креплении, втором креплении, третьем креплении или четвертом креплении соответственно.
21. Устройство по любому из пп. 16–18, дополнительно содержащее первое уплотнение, которое обеспечивает закрытие между первым головным блоком и первым концом трубки.
22. Устройство по п. 21, отличающееся тем, что первое уплотнение содержит (i) резину, расположенную между первым головным блоком и первым концом трубки и контактирующую с ними, (ii) зажим и/или крепление, поддерживающие контакт между первым головным блоком и первым концом трубки, или (iii) их комбинацию.
23. Устройство по любому из пп. 16–18, отличающееся тем, что первый головной блок содержит углубление, выполненное с возможностью приема первого конца трубки.
24. Устройство по любому из пп. 16–18, отличающееся тем, что устройство дополнительно содержит:
второй головной блок, неподвижно прикрепленный к аппликатору;
при этом второй конец трубки и второй головной блок контактируют друг с другом.
25. Устройство по п. 24, дополнительно содержащее второе уплотнение между вторым головным блоком и вторым концом трубки.
26. Устройство по п. 25, отличающееся тем, что второе уплотнение содержит (i) металл, расположенный между вторым головным блоком и вторым концом трубки и контактирующий со вторым концом трубки, (ii) зажим и/или крепление, поддерживающие контакт между вторым головным блоком и вторым концом трубки, или (iii) их комбинацию.
27. Устройство по п. 24, отличающееся тем, что второй головной блок содержит углубление, выполненное с возможностью приема второго конца трубки.
28. Устройство по п. 16, отличающееся тем, что второй конец трубки подпружиненно прикреплен к аппликатору и устройство дополнительно содержит:
(i) второй головной блок, образующий первое отверстие,
первое крепление, имеющее первый конец и второй конец, причем первое крепление расположено с возможностью скольжения в первом отверстии, а второй конец первого крепления неподвижно прикреплен к аппликатору, и
первое упруго сжимаемое устройство, расположенное между вторым головным блоком и первым концом и/или вторым концом первого крепления,
при этом второй конец трубки и второй головной блок контактируют друг с другом; или
(ii) второй головной блок, образующий первое отверстие и второе отверстие,
первое крепление, имеющее первый конец и второй конец, причем первое крепление расположено с возможностью скольжения в первом отверстии, а второй конец первого крепления неподвижно прикреплен к аппликатору,
второе крепление, имеющее первый конец и второй конец, причем второе крепление расположено с возможностью скольжения во втором отверстии, а второй конец первого крепления неподвижно прикреплен к аппликатору,
первое упруго сжимаемое устройство, расположенное между вторым головным блоком и первым концом и/или вторым концом первого крепления, и
второе упруго сжимаемое устройство, расположенное между вторым головным блоком и первым концом и/или вторым концом второго крепления,
при этом второй конец трубки и второй головной блок контактируют друг с другом.
29. Устройство по п. 28, дополнительно содержащее:
третье отверстие, образованное вторым головным блоком;
третье крепление, имеющее первый конец и второй конец, причем третье крепление расположено с возможностью скольжения в третьем отверстии, а второй конец третьего крепления неподвижно прикреплен к аппликатору; и
третье упруго сжимаемое устройство, расположенное между вторым головным блоком и первым концом и/или вторым концом третьего крепления.
30. Устройство по п. 29, дополнительно содержащее:
четвертое отверстие, образованное вторым головным блоком;
четвертое крепление, имеющее первый конец и второй конец, причем четвертое крепление расположено с возможностью скольжения в четвертом отверстии, а второй конец четвертого крепления неподвижно прикреплен к аппликатору; и
четвертое упруго сжимаемое устройство, расположенное между вторым головным блоком и первым концом и/или вторым концом четвертого крепления.
31. Устройство по любому из пп. 28–30, отличающееся тем, что первое упруго сжимаемое устройство, второе упруго сжимаемое устройство, третье упруго сжимаемое устройство, четвертое упруго сжимаемое устройство или их комбинация содержат одну или большее количество тарельчатых пружин, установленных с возможностью скольжения на первом креплении, втором креплении, третьем креплении или четвертом креплении соответственно.
32. Устройство по любому из пп. 28–30, отличающееся тем, что первое упруго сжимаемое устройство, второе упруго сжимаемое устройство, третье упруго сжимаемое устройство, четвертое упруго сжимаемое устройство или их комбинация содержат от 1 до 24 тарельчатых пружин, установленных с возможностью скольжения на первом креплении, втором креплении, третьем креплении или четвертом креплении соответственно.
33. Устройство по любому из пп. 28–30, дополнительно содержащее второе уплотнение между вторым головным блоком и вторым концом трубки.
34. Устройство по п. 33, отличающееся тем, что второе уплотнение содержит (i) металл, расположенный между вторым головным блоком и вторым концом трубки и контактирующий со вторым концом трубки, (ii) зажим и/или крепление, поддерживающие контакт между вторым головным блоком и вторым концом трубки, или (iii) их комбинацию.
35. Устройство по п. 15, отличающееся тем, что (i) первый головной блок неподвижно прикреплен к первому концу трубки, (ii) второй головной блок неподвижно прикреплен ко второму концу трубки или (iii) первый головной блок неподвижно прикреплен к первому концу трубки, а второй головной блок неподвижно прикреплен ко второму концу трубки.
36. Устройство по п. 35, отличающееся тем, что (i) первый головной блок приварен или припаян к первому концу трубки, (ii) второй головной блок приварен или припаян ко второму концу трубки или (iii) первый головной блок приварен или припаян к первому концу трубки, а второй головной блок приварен ко второму концу трубки.
37. Устройство по п. 1, отличающееся тем, что аппликатор содержит:
сосуд, (i) имеющий первый конец и второй конец и (ii) содержащий от одной до тридцати камер, образованных (a) одной или большим количеством внешних стенок сосуда, (b) одной или большим количеством стенок внутри сосуда или (с) их комбинацией,
при этом первый конец сосуда, второй конец сосуда, одна или большее количество стенок внутри сосуда или их комбинация образуют отверстие и трубка расположена в отверстиях, образованных (а) первым концом сосуда, (b) вторым концом сосуда, (с) одной или большим количеством стенок внутри сосуда или (d) их комбинацией.
38. Устройство по п. 37, отличающееся тем, что сосуд дополнительно содержит по меньшей мере один волновод, содержащий проход, через который проходит множество микроволн перед входом в одну из от одной до тридцати камер.
39. Устройство по п. 38, дополнительно содержащее один или большее количество микроволновых генераторов, причем один или большее количество микроволновых генераторов расположены так, чтобы вводить множество микроволн по меньшей мере в одну из от одной до тридцати камер через отверстие, образованное одной или большим количеством внешних стенок, и один или большее количество микроволновых генераторов расположены по меньшей мере в одном волноводе.
40. Устройство по п. 37, отличающееся тем, что сосуд содержит от четырех до шести камер.
41. Устройство по п. 37, отличающееся тем, что устройство содержит от трех до шести микроволновых генераторов, а аппликатор содержит от четырех до шести камер.
42. Устройство по п. 37, дополнительно содержащее один или большее количество микроволновых генераторов, причем по меньшей мере один из одного или большего количества микроволновых генераторов (i) расположен для подачи множества микроволн по меньшей мере в одну из от одной до тридцати камер через отверстие, образованное одной или большим количеством наружных стенок сосуда, (ii) расположен по меньшей мере в одной из от одной до тридцати камер или (iii) в их комбинации.
43. Устройство по п. 1, отличающееся тем, что аппликатор содержит:
от одного до тридцати модульных блоков аппликатора, при этом каждый модульный блок аппликатора содержит (i) камеру, имеющую первую сторону и вторую сторону, (ii) первое отверстие, образованное первой стороной, (iii) второе отверстие, образованное второй стороной, и (iv) волновод, проходящий из третьего отверстия камеры;
при этом от одного до тридцати модульных блоков аппликатора расположены рядом друг с другом, а трубка расположена в первом отверстии и во втором отверстии каждого модульного блока аппликатора.
44. Устройство по п. 43, отличающееся тем, что аппликатор содержит от четырех до шести модульных блоков аппликатора.
45. Устройство по п. 43, дополнительно содержащее один или большее количество микроволновых генераторов, причем по меньшей мере один из одного или большего количества микроволновых генераторов расположен так, чтобы подавать множество микроволн по меньшей мере в один из от одного до тридцати модульных блоков аппликатора.
46. Устройство по п. 45, отличающееся тем, что устройство содержит от трех до шести микроволновых генераторов, а аппликатор содержит от четырех до шести модульных блоков аппликатора.
47. Устройство по п. 1, отличающееся тем, что часть трубки, выполненная из материала, прозрачного для электромагнитных волн, является по существу цилиндрической.
48. Устройство по п. 47, отличающееся тем, что трубка имеет внешний диаметр от около 45 мм до около 60 мм и внутренний диаметр от около 30 мм до около 44 мм.
49. Устройство по п. 47, отличающееся тем, что трубка имеет внешний диаметр от около 50 мм до около 54 мм и внутренний диаметр от около 40 мм до около 44 мм.
50. Устройство по п. 1, отличающееся тем, что длина трубки составляет от около 0,1 м до около 5 м.
51. Устройство по п. 1, отличающееся тем, что трубка дополнительно содержит микроволновый прерыватель.
52. Устройство по п. 51, отличающееся тем, что микроволновый прерыватель неподвижно установлен на втором конце трубки.
53. Устройство по п. 51, отличающееся тем, что микроволновый прерыватель содержит проволоку или стержень и, необязательно, (i) одну или большее количество выступающих частей и/или (ii) фланец, расположенный на проволоке или стержне.
54. Устройство по п. 1, отличающееся тем, что одно или большее количество удерживающих устройств содержат мембрану, сетку, корпус или их комбинацию.
55. Устройство по п. 1, отличающееся тем, что токоприемный материал имеет монолитную форму.
56. Устройство по п. 1, отличающееся тем, что токоприемный материал содержит карбид кремния, магнетит, цеолит, кварц, феррит, сажу, графит, гранит или их комбинацию.
57. Устройство по любому из пп. 1–18, 28–30 или 35–56, отличающееся тем, что трубка имеет вход и выход.
58. Устройство для нагрева текучих сред с использованием множества токоприемных частиц, на которые воздействует электромагнитная энергия, содержащее:
контейнер, определяющий внутренний объем, предназначенный для приема токоприемных частиц, при этом контейнер представляет собой контейнер под давлением, выполненный с возможностью выдерживать давление по меньшей мере 5 бар;
по меньшей мере одно удерживающее устройство, расположенное во внутреннем объеме или рядом с ним и выполненное с возможностью удержания токоприемных частиц во внутреннем объеме, позволяя текучей среде вытекать из внутреннего объема; и
конструкцию для излучения электромагнитных волн, выполненную с возможностью введения электромагнитных волн во внутренний объем для воздействия на токоприемные частицы, содержащиеся во внутреннем объеме.
59. Устройство по п. 58, отличающееся тем, что конструкция для излучения электромагнитных волн содержит прозрачную для электромагнитных волн секцию контейнера, через которую электромагнитные волны могут проходить снаружи контейнера во внутренний объем.
60. Устройство по п. 59, дополнительно содержащее аппликатор для направления электромагнитных волн через прозрачную для электромагнитных волн секцию во внутренний объем.
61. Устройство по п. 59, отличающееся тем, что контейнер содержит трубчатую секцию, выполненную из материала, прозрачного для электромагнитных волн, который образует прозрачную для электромагнитных волн секцию контейнера.
62. Устройство по п. 61, отличающееся тем, что контейнер дополнительно содержит две металлические торцевые крышки, по одной соединенной с каждым концом трубчатой секции.
63. Устройство по п. 58, отличающееся тем, что конструкция для излучения электромагнитных волн по меньшей мере частично расположена в контейнере.
64. Устройство по п. 58, отличающееся тем, что удерживающее устройство имеет множество отверстий, через которые может проходить текучая среда, но не могут проходить токоприемные частицы.
65. Устройство по п. 64, отличающееся тем, что средняя открытая площадь отверстий в удерживающем механизме составляет менее 5 квадратных миллиметров.
66. Устройство по п. 58, отличающееся тем, что удерживающее устройство содержит сетку, соединенную с контейнером, перфорированную пластину, соединенную с контейнером, или перфорированную стенку контейнера.
67. Устройство по п. 58, отличающееся тем, что контейнер дополнительно содержит вход для приема текучей среды во внутренний объем и выход для выпуска текучей среды из внутреннего объема.
68. Устройство по п. 58, отличающееся тем, что по меньшей мере одно удерживающее устройство имеет положение первой удерживающей конструкции вблизи входа для текучей среды и положение второй удерживающей конструкции вблизи выхода для текучей среды.
69. Устройство по п. 58, дополнительно содержащее источник текучей среды для подачи текучей среды во внутренний объем и генератор электромагнитных волн для подачи электромагнитных волн во внутренний объем.
70. Устройство по п. 69, отличающееся тем, что генератор электромагнитных волн представляет собой микроволновый генератор.
71. Система для нагрева посредством электромагнитных волн, содержащая:
устройство по любому из пп. 1–18, 28–30 или 35–56;
источник текучей среды, в котором находится текучая среда, при этом источник текучей среды сообщается по текучей среде с трубкой; и
насос, выполненный с возможностью подачи (i) текучей среды из источника текучей среды в трубку, (ii) обеспечения давления в трубке, при этом насос сообщается по текучей среде с устройством и источником текучей среды.
72. Система по п. 71, дополнительно содержащая теплообменник, сообщающийся по текучей среде с трубкой, и насос.
73. Способ нагрева текучих сред с использованием электромагнитной энергии, включающий:
(a) воздействие на множество токоприемных частиц электромагнитной энергии для получения таким образом нагретых токоприемных частиц; и
(b) приведение текучей среды в контакт с нагретыми токоприемными частицами для нагревания таким образом текучей среды со скоростью по меньшей мере 100 °C/мин, причем текучая среда поддерживает контакт с нагретыми токоприемными частицами не более 5 минут.
74. Способ по п. 73, отличающийся тем, что этап (b) включает протекание текучей среды через объем нагретых токоприемных частиц.
75. Способ по п. 73, отличающийся тем, что скорость потока текучей среды через объем нагретых токоприемных частиц составляет по меньшей мере 10 л/мин.
76. Способ по п. 73, отличающийся тем, что на этапе (b) текучая среда нагревается по меньшей мере на 250 °C.
77. Способ по п. 73, отличающийся тем, что текучая среда представляет собой жидкость и этап (b) проводят при повышенном давлении для предотвращения испарения текучей среды.
78. Способ по п. 73, отличающийся тем, что токоприемные частицы физически не связаны друг с другом.
79. Способ по п. 73, отличающийся тем, что средний размер токоприемных частиц находится в диапазоне от 0,1 до 5 мм.
80. Способ по п. 73, отличающийся тем, что этапы (а) и (b) осуществляют в общем контейнере, принимающем токоприемные частицы и текучую среду.
81. Способ по п. 73, отличающийся тем, что контейнер содержит прозрачную для электромагнитных волн секцию, через которую проходит электромагнитная энергия для нагрева токоприемных частиц.
82. Способ по п. 81, отличающийся тем, что прозрачная для электромагнитных волн секция представляет собой трубчатый элемент, изготовленный из прозрачного для электромагнитных волн материала.
83. Способ по п. 82, отличающийся тем, что на этапах (а) и (b) токоприемные частицы удерживаются в контейнере, в то время как текучая среда течет через контейнер.
84. Способ по п. 73, отличающийся тем, что скорость потока текучей среды через контейнер составляет по меньшей мере 10 л/мин, при этом время нахождения текучей среды в контейнере находится в диапазоне от 0,1 до 5 минут, и при этом температура текучей среды в контейнере повышается по меньшей мере на 250 °С.
85. Способ по п. 73, отличающийся тем, что этапы (а) и (b) осуществляют одновременно.
86. Способ по п. 73, отличающийся тем, что этапы (а) и (b) осуществляют по существу непрерывно.
87. Способ по п. 73, отличающийся тем, что текучая среда нагревается преимущественно за счет прямого теплообмена с нагретыми токоприемными частицами.
88. Способ по п. 73, отличающийся тем, что менее 25 % нагрева текучей среды вызвано прямым поглощением электромагнитной энергии.
89. Способ по п. 73, отличающийся тем, что электромагнитная энергия включает микроволновую энергию.
90. Способ нагрева материала, включающий:
обеспечение устройства по п. 57;
размещение текучей среды на входе трубки или контейнера с некоторой скоростью потока;
направление множества электромагнитных волн в аппликатор для воздействия по меньшей мере на часть токоприемного материала множеством электромагнитных волн для генерирования тепла, пока текучая среда находится в трубке или контейнере, для получения нагретой текучей среды; и
сбор нагретой текучей среды на выходе из трубки или контейнера.
91. Способ по п. 90, отличающийся тем, что текучая среда имеет температуру от около 15 °С до около 35 °С.
92. Способ по п. 90, отличающийся тем, что текучая среда имеет температуру от около 100 °С до около 1000 °С.
93. Способ по п. 90, отличающийся тем, что текучая среда имеет температуру от около 400 °С до около 600 °С.
94. Способ по п. 90, отличающийся тем, что текучая среда имеет критическое давление и давление внутри трубки или контейнера превышает критическое давление текучей среды.
95. Способ по п. 90, отличающийся тем, что скорость потока составляет от около 0,1 л/мин до около 1000 л/мин.
96. Способ по п. 90, отличающийся тем, что текучая среда содержит органическую текучую среду, водную текучую среду, ионную текучую среду или их комбинацию.
97. Способ по п. 96, отличающийся тем, что органическая текучая среда представляет собой C1-С40 углеводород.
98. Способ по п. 96, отличающийся тем, что органическая текучая среда представляет собой C1-С30 углеводород.
99. Способ по п. 96, отличающийся тем, что органическая текучая среда представляет собой C1-С20 углеводород.
100. Способ по п. 90, отличающийся тем, что множество электромагнитных волн содержит множество микроволн и устройство дополнительно содержит один или большее количество микроволновых генераторов.
101. Способ по п. 100, отличающийся тем, что один или большее количество микроволновых генераторов включают магнетронный генератор, твердотельный генератор или их комбинацию.
102. Способ по п. 100, отличающийся тем, что один или большее количество микроволновых генераторов имеют мощность от около 200 Вт до около 100 кВт.
103. Способ по п. 100, отличающийся тем, что один или большее количество микроволновых генераторов имеют мощность от около 200 Вт до около 54 кВт.
104. Способ по п. 100, отличающийся тем, что одна или большее количество микроволн из множества микроволн имеют частоту 915 МГц, 2,45 ГГц, 14 ГГц, 18 ГГц или 28 ГГц.
105. Способ по п. 90, отличающийся тем, что множество электромагнитных волн включает множество радиоволн, множество инфракрасных волн, множество гамма-лучей или их комбинацию.
106. Способ по п. 90, дополнительно включающий:
(i) размещение по меньшей мере части нагретой текучей среды на входе трубки или контейнера;
(ii) направление множества электромагнитных волн в аппликатор для воздействия по меньшей мере на часть токоприемного материала множеством электромагнитных волн для генерирования тепла, пока нагретая текучая среда находится в трубке или контейнере, для получения дополнительно нагретой текучей среды; и
(iii) сбор дополнительно нагретой текучей среды на выходе из трубки или контейнера.
107. Способ по п. 106, дополнительно включающий повторение этапов (i)–(iii) один или большее количество раз для получения дополнительно нагретой текучей среды, имеющей повышенную температуру.
108. Способ нагрева материала, включающий:
обеспечение устройства по п. 57, в котором токоприемный материал содержит магнетит и оксид железа, отличный от магнетита;
подачу текучей среды во вход трубки с некоторой скоростью потока, при этом текучая среда представляет собой воду или водную текучую среду и текучая среда контактирует с токоприемным материалом;
направление множества электромагнитных волн в аппликатор для воздействия по меньшей мере на часть токоприемного материала множеством электромагнитных волн для генерирования тепла, пока текучая среда находится в трубке, для получения нагретой текучей среды; и
сбор нагретой текучей среды на выходе из трубки, при этом нагретая текучая среда представляет собой газ.
109. Способ по п. 108, отличающийся тем, что температура текучей среды составляет от около 100 °C до около 500 °C после введения множества электромагнитных волн.
110. Способ нагрева материала, включающий:
обеспечение устройства по п. 57;
размещение материала рядом с трубкой;
направление множества электромагнитных волн в аппликатор для воздействия по меньшей мере на часть токоприемного материала множеством электромагнитных волн для генерирования тепла, пока материал находится рядом с трубкой или контейнером, для получения нагретого материала.
111. Способ по п. 110, отличающийся тем, что материал содержит твердое вещество.
112. Способ по п. 110, отличающийся тем, что размещение материала рядом с трубкой или контейнером включает приведение в контакт трубки или контейнера с материалом.
| US 9642193 B2, 02.05.2017 | |||
| US 7767943 B2, 03.08.2010 | |||
| EP 3524072 A1, 14.08.2019 | |||
| АППЛИКАТОР И СИСТЕМА МИКРОВОЛНОВОЙ КОАГУЛЯЦИИ | 2010 | 
 | RU2562287C2 | 
| WO 2012164350 A2, 06.12.2012. | |||
Авторы
Даты
2024-12-28—Публикация
2021-02-04—Подача