ОБЛАСТЬ ТЕХНИКИ
[0001] Данное изобретение относится к катализатору, используемому для полимеризации олефинов.
УРОВЕНЬ ТЕХНИКИ
[0002] Полиолефины могут быть получены полимеризацией олефинового мономера в реакторе полимеризации, в который вводят сырьевые материалы, например, олефиновый мономер, олефиновый сомономер, катализатор, активатор, агент переноса цепи и разбавитель катализатора. Реакцией полимеризации в реакторе получают полипропилен как часть продукта полимеризации.
[0003] Концентрация катализатора в реакторе полимеризации может влиять на условия в реакторе и характеристики полиолефинов, например, плотность и молекулярную массу. Например, изменение концентрации катализатора от первой концентрации до второй концентрации может привести к тому, что реактор полимеризации, который производил первый полиолефин при первой концентрации катализатора, будет производить второй полиолефин при второй концентрации, который будет иметь другую плотность и молекулярную массу. Следовательно, частицы полиолефина, выгружаемые из реактора, могут иметь плотность и молекулярно-массовое распределение, отличные от желаемых, из-за присутствия второго полиолефина в выгружаемой массе частиц полиолефина. Таким образом, концентрацию катализатора в реакторах следует поддерживать как можно более постоянной, и существует постоянная потребность в улучшении контроля концентрации катализатора в реакторах.
СУЩНОСТЬ ИЗОБРЕТЕНИЯ
[0004] В данном документе описан способ, включающий приготовление суспензии катализатора, содержащей катализатор в виде твердых частиц и жидкость-носитель в системе приготовления суспензии катализатора. Суспензия катализатора может быть приготовлена в первой смесительной емкости или во второй смесительной емкости, которая находится перед первой смесительной емкостью. В альтернативном варианте, суспензию первого катализатора готовят в первой смесительной емкости, а суспензию второго катализатора готовят во второй смесительной емкости, расположенной перед первой смесительной емкостью, при этом суспензия первого катализатора отличается от суспензии второго катализатора концентрацией катализатора в соответствующей суспензии.
[0005] Также описана система приготовления суспензии катализатора, которая может включать смесительную емкость, систему вращающихся крыльчаток, соединенную со смесительной емкостью, и двигатель, соединенный с системой вращающихся крыльчаток. Система вращающихся крыльчаток может включать вал мешалки и первую ступицу, соединенную с валом мешалки, при этом первая ступица и по меньшей мере часть вала мешалки расположены внутри смесительной емкости вдоль продольной оси смесительной емкости, и при этом первая ступица имеет по меньшей мере три лопасти. Система вращающихся крыльчаток может также включать одну или более дополнительных ступиц, соединенных с валом мешалки ниже первой ступицы. Каждая из дополнительных ступиц может иметь две лопасти или более. Система также может включать суспензию катализатора в смесительной емкости и может быть выполнена с возможностью перемешивания суспензии катализатора в смесительной емкости.
[0006] Также описана другая система приготовления суспензии катализатора, которая может включать 1) первую смесительную емкость, первую систему вращающихся крыльчаток, соединенную с первой смесительной емкостью, и первый двигатель, соединенный с первой системой вращающихся крыльчаток, и 2) вторую смесительную емкость, вторую систему вращающихся крыльчаток, соединенную со второй смесительной емкостью, и второй двигатель, соединенный со второй системой вращающихся крыльчаток. Первая и вторая системы вращающихся крыльчаток могут включать вал мешалки и первую ступицу, соединенную с валом мешалки, причем первая ступица и по меньшей мере часть вала мешалки расположены внутри соответствующей смесительной емкости вдоль продольной оси смесительной емкости, и при этом первая ступица имеет по меньшей мере три лопасти. Первая и/или вторая система вращающихся крыльчаток может также включать одну или более дополнительных ступиц, соединенных с валом мешалки ниже первой ступицы. Каждая из дополнительных ступиц может иметь две лопасти или более. Система приготовления суспензии катализатора может также включать суспензию катализатора в смесительных емкостях и может быть выполнена с возможностью перемешивания суспензии катализатора в смесительных емкостях; или система приготовления суспензии катализатора может также включать первую суспензию катализатора в первой смесительной емкости и вторую суспензию катализатора во второй смесительной емкости, причем каждая смесительная емкость выполнена с возможностью перемешивания соответствующей содержащейся в ней суспензии катализатора.
КРАТКОЕ ОПИСАНИЕ ЧЕРТЕЖЕЙ
[0007] Приведенные ниже чертежи являются частью данного описания изобретения и включены для дополнительной демонстрации определенных аспектов данного изобретения. Изобретение может быть более понятным со ссылками на один или более из этих чертежей в комбинации с подробным описанием конкретных вариантов осуществления изобретения, представленных в данном документе.
[0008] На Фиг. 1 проиллюстрирована принципиальная технологическая схема варианта осуществления описанной системы приготовления суспензии катализатора с изображением смесительной емкости в поперечном разрезе.
[0009] На Фиг. 2 проиллюстрирована принципиальная технологическая схема другого варианта осуществления описанной системы приготовления суспензии катализатора с изображением смесительной емкости в поперечном разрезе.
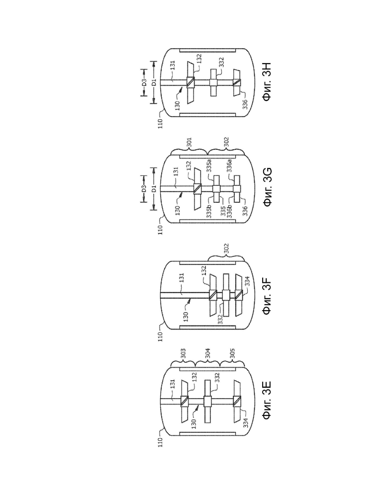
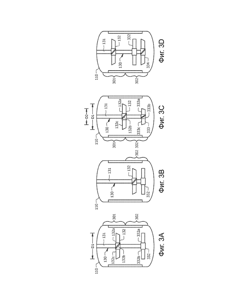
[0010] На Фиг. 3А-3Н проиллюстрирован вид в поперечном разрезе смесительной емкости, имеющей различные конфигурации ступиц, представленных в изобретении.
[0011] На Фиг. 4A-4D проиллюстрирован вид сбоку ступиц, имеющих вогнутую верхнюю сторону или вогнутую нижнюю сторону.
[0012] На Фиг. 5A-5D проиллюстрирован вид сверху ступиц, имеющих две, три, четыре и пять лопастей.
[0013] На Фиг. 6A-6D проиллюстрирован вид сбоку лопасти, соединенной с центральной частью ступицы.
[0014] Хотя описанные в данном документе объекты изобретения допускают различные модификации и альтернативные формы, только несколько конкретных вариантов осуществления были проиллюстрированы на чертежах в качестве примера и подробно описаны ниже. Фигуры и подробное описание этих конкретных вариантов осуществления изобретения никоим образом не предназначены для ограничения широты или объема идей изобретения или прилагаемой формулы изобретения. Скорее, фигуры и подробное записанное описание предложены для иллюстрации идей изобретения для специалиста в данной области техники и для того, чтобы дать возможность такому специалисту создавать и использовать идеи изобретения.
ПОДРОБНОЕ ОПИСАНИЕ
[0015] Фигуры, описанные выше, и записанное описание конкретных структур и функций, представленное ниже, не предназначены для ограничения объема изобретения, представленного Заявителем, или объема прилагаемой формулы изобретения. Напротив, фигуры и записанное описание предложены для обучения любого специалиста в данной области техники выполнению и использованию объектов изобретения, для которого испрашивается патентная защита. Специалистам в данной области техники будет понятно, что в целях ясности и понимания описаны или проиллюстрированы не все признаки коммерческого варианта осуществления объектов изобретения. Специалистам в этой области техники также будет понятно, что разработка действительного коммерческого варианта осуществления изобретения, включающего аспекты данного изобретения, потребует многочисленных решений, связанных с конкретной реализацией, для достижения конечной цели разработчика для указанного коммерческого варианта осуществления изобретения. Такие решения, связанные с конкретной реализацией, могут включать, и, вероятно, не ограничиваются соблюдением системных, деловых, правительственных и других ограничений, которые могут различаться в зависимости от конкретной реализации, местоположения и время от времени. Несмотря на то, что усилия разработчика могут быть сложными и трудоемкими в абсолютном смысле, такие усилия, тем не менее, будут рутинной задачей для специалистов в данной области техники, пользующихся этим изобретением. Следует понимать, что объекты изобретения, описанные и изложенные в данном документе, поддаются многочисленным и разнообразным модификациям и альтернативным формам. В заключение, использование термина в единственном числе не предназначено для ограничения количества элементов. Кроме того, использование относительных терминов, например, среди прочего, «верх», «днище», «левый», «правый», «верхний», «нижний», «вниз», «вверх», «сбоку» и аналогичных терминов, применяется в данном описании для ясности в конкретной ссылке на фигуры и не предназначено для ограничения объема данного изобретения или приложенной формулы изобретения.
[0016] Термины «выполненный с возможностью», «выполненный с возможностью использования», «приспособленный с возможностью использования» и аналогичные формулировки используются в контексте данного документа для отражения того, что конкретная описанная конструкция или процедура используется в описанной в системе или способе. Например, если не указано иное, конкретная конструкция, «выполненная с возможностью использования», означает, что она «выполнена с возможностью использования в системе приготовления суспензии катализатора» и, следовательно, разработана, сформирована, скомпонована, сконструирована и/или приспособлена для приготовления суспензии катализатора, как это должно быть понятно специалисту в данной области техники.
[0017] Термины «трубопровод» и «линия» являются взаимозаменяемыми и в контексте данного документа относятся к физической конструкции, выполненной с возможностью протекания через нее материалов, например, трубе или трубной обвязке. Материалы, которые протекают по «трубопроводу» или «линии», могут находиться в газовой фазе, жидкой фазе, твердой фазе или в комбинации этих фаз.
[0018] В контексте данного документа термин «поток» относится к физической композиции материалов, которые протекают по «трубопроводу» или «линии».
[0019] В контексте данного документа термин «каталитическая суспензия» относится к композиции, содержащей катализатор в виде твердых частиц и жидкость-носитель (например, жидкий разбавитель).
[0020] В контексте данного документа термин «угол наклона» относится к углу между центральной плоскостью лопасти и вертикалью.
[0021] Термин «диаметр» по отношению к ступице, описанной в данном документе, представляет собой диаметр окружности, образованной окружностью вращения лопастей ступицы.
[0022] В данном документе описаны способ и система приготовления суспензии катализатора для использования в одном или более реакторах полимеризации. Полимеризация олефинов включает полимеризацию олефинового мономера в реакторе в присутствии катализатора полимеризации. Подходящие катализаторы для получения полиолефинов включают хромсодержащие катализаторы, катализаторы Циглера-Натта и металлоценовые катализаторы. В случае, если катализатор используют в форме частиц, то катализатор может быть смешан с несущей жидкостью (например, жидким разбавителем), с образованием суспензии катализатора, причем суспензия катализатора может быть впоследствии введена в реактор полимеризации. Градиенты концентрации и/или карманы с более высокой или более низкой концентрацией катализатора в смесительной емкости для суспензии катализатора могут привести к отклонениям в концентрации катализатора, подаваемого в реактор полимеризации, что затрудняет контроль температуры реактора, поскольку концентрация катализатора, превышающая желаемую, вызывает протекание большего количества экзотермических реакций полимеризации (что приводит к повышению температуры в реакторе), а более низкая, чем желаемая, концентрация катализатора вызывает протекание меньшего количества экзотермических реакций полимеризации (что приводит к снижению температуры в реакторе). Поскольку свойства образованного полиолефина зависят от условий в реакторе полимеризации, включая концентрацию катализатора в реакторе и температуру реакций полимеризации, описанные способ и система выполнены с возможностью улучшения перемешивания суспензии катализатора, которую затем вводят в реактор полимеризации, таким образом, чтобы концентрацию катализатора в реакторе можно было поддерживать около желаемого значения в течение всей продолжительности цикла полимеризации. Считается, что ступица, имеющая по меньшей мере три лопасти, в комбинации с другими аспектами описанных способа и системы дает дополнительную возможность сохранения концентрации катализатора в реакторе около желаемого значения в течение всей продолжительности цикла полимеризации.
[0023] Было обнаружено, что включение по меньшей мере одной ступицы, имеющей три или более лопастей, в описанные способ и систему приготовления катализатора улучшает перемешивание суспензии катализатора по сравнению со способами и системами приготовления катализатора, в которых используется(ются) ступица(ы), имеющая(ие) только две лопасти. То есть использование по меньшей мере одной ступицы, имеющей три или более лопастей, уменьшает осаждение катализатора из суспензии перед введением в реактор полимеризации и улучшает в течение более длительных периодов времени гомогенность суспензии катализатора, которую вводят в реактор полимеризации. Конфигурация, расстояние и размер дополнительных ступиц также обеспечивают преимущества при перемешивании суспензии катализатора, как поясняется в данном документе. Наконец, другие аспекты системы и способа обеспечивают преимущества, включая последовательность смесительных емкостей, концентрацию катализатора в смесительных емкостях, расположение выпускных трубопроводов для смесительных емкостей, контур ступиц, количество лопастей на ступицах и шаг лопастей.
[0024] Обратимся к Фиг. 1, где проиллюстрирована принципиальная технологическая схема варианта осуществления описанной системы 100 приготовления суспензии катализатора с изображением смесительной емкости 110 в поперечном разрезе. Как можно видеть, система 100 приготовления суспензии катализатора может включать смесительную емкость 110, систему 130 вращающихся крыльчаток, соединенную со смесительной емкостью 110, и двигатель 140, соединенный с системой 130 вращающихся крыльчаток. Система 100 приготовления суспензии катализатора может дополнительно включать реактор 150 полимеризации, соединенный по текучей среде со смесительной емкостью 110.
[0025] Смесительная емкость 110 может представлять собой любую емкость, подходящую для перемешивания суспензий и, в частности, для перемешивания суспензий катализатора, которые используются при полимеризации олефинов, например, для подачи в петлевой суспензионный реактор или газофазный реактор. Смесительная емкость 110, как правило, может иметь цилиндрическую форму. Верх и днище смесительной емкости 110 могут быть плоскими или могут иметь контур, подходящий для удержания содержимого под давлением, например, при давлении, подходящем для сопряжения с реактором полимеризации. В некоторых аспектах, отношение высоты к диаметру смесительной емкости 110 может находиться в диапазоне от около 1 до около 5; в альтернативном варианте, от около 1 до около 4; в альтернативном варианте, от около 1 до около 3; в альтернативном варианте, от около 1,5 до около 2,5; в альтернативном варианте, около 2. В некоторых аспектах, высота смесительной емкости 110 может составлять 5-20 футов (1,5-6 м); или в альтернативном варианте, 8-12 футов (2,4-3,7 м); или, в альтернативном варианте, 9-10 футов (2,7-3 м), измеренных по касательной. В некоторых аспектах, диаметр смесительной емкости 110 может составлять 2-20 футов (0,6-6,1 м); в альтернативном варианте, 3-12 футов (0,9-3,7 м); в альтернативном варианте, 4-10 футов (1,2-3 м); или в альтернативном варианте, 4-5 футов (1,2-1,5 м); или в альтернативном варианте, 9-10 футов (2,7-3 м).
[0026] Смесительная емкость может включать впускной трубопровод 111, необязательный второй впускной трубопровод 112 и выпускной трубопровод 113. В аспектах, где суспензию катализатора готовят на месте в смесительной емкости 110, впускной трубопровод 111 может быть выполнен с возможностью подачи суспензии катализатора в смесительную емкость 110. В аспектах, где суспензию катализатора готовят на месте в смесительной емкости 110, впускной трубопровод 111 может быть выполнен с возможностью подачи твердых частиц катализатора в смесительную емкость 110, а второй впускной трубопровод 112 может быть выполнен с возможностью подачи жидкости-носителя в смесительную емкость 110. В таких аспектах, впускной трубопровод 111 может быть соединен по текучей среде со шлюзовым затвором, содержащим катализатор в виде твердых частиц, который вводится в смесительную емкость 110 через впускной трубопровод 111. Выпускной трубопровод 113 (также может называться отводящим трубопроводом) проиллюстрирован на Фиг. 1 соединенным с внутренней стенкой 115 на днище смесительной емкости 110 и проходящий через нее. В альтернативных аспектах предполагается, что выпускной трубопровод 113 может быть соединен с внутренней стенкой 115 и проходить через нее в любом месте нижней половины смесительной емкости 110. Участок 113а выпускного трубопровода 113 выполнен с возможностью прохождения внутрь смесительной емкости 110, таким образом, чтобы отвода суспензии катализатора не происходило вблизи внутренней стенки 115 смесительной емкости 110. Участок 113а проиллюстрирован на Фиг. 1 проходящим вертикально; однако предполагается, что в альтернативных конфигурациях участок 113а может проходить под углом менее 90° относительно вертикали через внутреннюю стенку 115 на днище смесительной емкости 110; в альтернативном варианте, участок 113а может проходить через внутреннюю стенку 115 сбоку смесительной емкости 110 горизонтально или под углом менее 90° по отношению к горизонтали. Кроме того, участок 113а проиллюстрирован на Фиг. 1, как входящий в смесительную емкость 110 вне центра продольной оси L1 смесительной емкости 110.
[0027] Катализатор в виде твердых частиц может представлять собой любой катализатор, известный для полимеризации олефинов в петлевых суспензионных реакторах и газофазных реакторах, например, хромсодержащий катализатор, катализатор Циглера-Натта или металлоценовый катализатор. Катализатор может иметь любую производительность, определяемую, как масса на массу катализатора или полимера на массу катализатора. Неограничивающие примеры значений производительности катализатора включают значения производительности катализатора, превышающие 1000, 10000, 20000, 50000 или 100000. В некоторых аспектах, катализатор может включать форполимер. Примеры форполимера включают полиэтилен, полипропилен или любой другой полиолефин. Массовое отношение форполимера к необработанному катализатору может составлять 0,1-20, в альтернативном варианте, 1-10 или в альтернативном варианте, 3-8.
[0028] Подходящие жидкости-носители для суспензии катализатора включают углеводороды, которые являются инертными разбавителями и находятся в жидкой фазе в условиях подачи и полимеризации или являются сверхкритическими жидкостями в условиях суспензионной полимеризации. Подходящие жидкие разбавители включают углеводороды, например, алифатические, циклоалифатические и ароматические углеводороды. Например, подходящие жидкие разбавители включают насыщенные углеводороды с прямой или разветвленной цепью С12 или ниже, насыщенные алициклические или ароматические углеводороды С5-С9 или галогенированные углеводороды С2-С6. Конкретные примеры включают пропан, н-бутан, изобутан, н-пентан, изопентан, неопентан, н-гексан, н-гептан, циклопентан, циклогексан, циклогептан, метилциклопентан, метилциклогексан, изооктан, бензол, толуол, ксилол или их комбинацию. Подходящая жидкость-носитель может включать галогенированные углеводороды, включая насыщенные углеводороды с прямой или разветвленной цепью С12 или ниже, насыщенные алициклические или ароматические углеводороды С5-С9 или галогенированные углеводороды С2-С6. Конкретные примеры галогенированных углеводородов включают хлороформ, хлорбензолы, тетрахлорэтилен, дихлорэтан и трихлорэтан.
[0029] В некоторых аспектах смесительная емкость 110 может быть выполнена с возможностью работы в режиме полного заполнения жидкостью, что означает, что в процессе работы смесительная емкость 110 полностью заполнена суспензией катализатора и по существу не содержит газообразной фазы. Режим полного заполнения жидкостью включает аспекты, при которых газовая фаза присутствует в смесительной емкости 110 в количестве, меньшем или равном около 5%, около 4%, около 3%, около 2%, около 1%, около 0,5%, около 0,1% или 0% по объему в пересчете на объем смесительной емкости 110. Режим полного заполнения жидкостью может также включать аспекты, когда суспензия катализатора присутствует в смесительной емкости 110 в количестве, превышающем около 95%, 96%, 97%, 98%, 99%, 99,5%, 99,9% или 100% по объему в пересчете на объем смесительной емкости 110. В режиме работы при полном заполнении жидкостью катализатор и жидкость-носитель могут быть введены в смесительную емкость 110 по трубопроводам 111 и 112, когда объем суспензии катализатора в смесительной емкости 110 падает ниже около 99,9%, 99,5%, 99%, 98%, 97%, 96% или 95% по объему в пересчете на объем смесительной емкости 110.
[0030] В других аспектах, смесительная емкость 110 может быть оснащена системой контроля уровня, которая выполнена с возможностью введения катализатора и жидкости-носителя по трубопроводам 111 и 112 с периодическими интервалами времени, или когда уровень суспензии катализатора в смесительной емкости 110 падает ниже порогового уровня, например, когда объем суспензии катализатора падает ниже 50%, 40%, 30% или 20% по объему в пересчете на объем смесительной емкости 110.
[0031] В аспектах, смесительная емкость 110 может быть выполнена с возможностью удержания объема суспензии катализатора, подходящего для подачи суспензии катализатора в реактор 150 полимеризации в течение периода времени в диапазоне от около 12 до около 72 часов. В дополнительных аспектах, объем смесительной емкости 110 может составлять по меньшей мере 200 л (литров); в альтернативном варианте, по меньшей мере 400 л; в альтернативном варианте, по меньшей мере 450 л; дополнительно или в альтернативном варианте, 2000 л или менее; дополнительно или в альтернативном варианте, 1000 л или менее; дополнительно или в альтернативном варианте, 600 л или менее; дополнительно или в альтернативном варианте, 550 л или менее; дополнительно или в альтернативном варианте, около 500 л или менее; дополнительно или в альтернативном варианте, около 500 л.
[0032] В аспектах, смесительная емкость 110 системы 100 приготовления суспензии катализатора может включать одну или более перегородок 114, причем каждая перегородка 114 закреплена в продольном направлении и проходит радиально внутрь от внутренней стенки 115 смесительной емкости 110. Каждая перегородка 114 может проходить вдоль внутренней стенки 115 смесительной емкости 110 по меньшей мере на две трети высоты смесительной емкости 110. В контексте данного документа, перегородка 114 может представлять собой плоский твердый материал или плоский экран, выполненный с возможностью отклонения или прерывания потока суспензии катализатора вдоль внутренней стенки 115 смесительной емкости 110, например, для создания турбулентности в суспензии катализатора в смесительной емкости 110. В некоторых аспектах, каждая перегородка 114 может проходить радиально внутрь от внутренней стенки 115 смесительной емкости 110 на расстояние в диапазоне от около 5% до около 20%, в альтернативном варианте, около 10% и около 20%, в альтернативном варианте, около 5% и около 15% диаметра смесительной емкости 110.
[0033] В аспектах, смесительная емкость 110 может быть выполнена с возможностью поддержания температуры суспензии катализатора в диапазоне от около 75°F до около 125°F (от около 23,8°С до около 51,7°С); в альтернативном варианте, в диапазоне от около 85°F до около 115°F (от около 29,4°С до около 46,1°С); в альтернативном варианте, в диапазоне от около 95°F до около 105°F (от около 35°С до около 40,6°С); в альтернативном варианте, около 100°F (около 37,7°С).
[0034] В аспектах, смесительная емкость 110 может быть выполнена с возможностью поддержания суспензии катализатора при давлении в диапазоне от около 0 фунтов на кв. дюйм до около 300 фунтов на кв. дюйм (от около 0 МПа изб. до около 2,07 МПа изб.); в альтернативном варианте, в диапазоне от около 0 фунтов на кв. дюйм до около 200 фунтов на кв. дюйм (от около 0 МПа изб. до около 1,38 МПа изб.).
[0035] Система 130 вращающихся крыльчаток может включать в себя вал 131 мешалки и ступицу 132, соединенную с валом 131 мешалки. Как правило, ступица 132 и по меньшей мере часть вала 131 мешалки расположены внутри смесительной емкости 110 вдоль продольной оси L1-L1 смесительной емкости 110. Длина вала 131 мешалки, который находится внутри смесительной емкости 110, может составлять от около 75% до около 95% высоты смесительной емкости 110. На Фиг. 1 видно, что ступица 132 имеет три лопасти 132а, 132b и 132с. В некоторых вариантах осуществления изобретения ступица 132 может иметь более трех лопастей, например, четыре лопасти, пять лопастей или шесть лопастей. На Фиг. 1 ступица 132 проиллюстрирована соединенной с валом 131 мешалки в нижней половине смесительной емкости 110; однако в других аспектах, ступица 132 может быть соединена с валом 131 мешалки в верхней половине смесительной емкости 110, в верхней части смесительной емкости 110, в средней части смесительной емкости 110 или в нижней части смесительной емкости 110.
[0036] Система 130 вращающихся крыльчаток может дополнительно включать подшипниковый узел 133 мешалки, имеющий магнитные элементы. Подшипниковый узел 133 мешалки может быть соединен с двигателем 140. В процессе работы двигатель 140 может генерировать энергию, которая преобразуется подшипниковым узлом 133 мешалки во вращение вала 131 мешалки в направлении стрелки R. Лопасти 132а, 132b и 132с ступицы 132 (и лопасти любой другой ступицы, соединенной с валом 131 мешалки), в свою очередь, вращаются вместе с вращением вала 131 мешалки.
[0037] В некоторых аспектах, система 130 вращающейся крыльчатки (например, вал 131 мешалки и любая соединенная с ним ступица) может вращаться со скоростью в диапазоне от 1 до 10000 об/мин.
[0038] Как описано выше, двигатель 140 может быть выполнен с возможностью генерирования энергии, которая преобразуется подшипниковым узлом 133 мешалки во вращение вала 131 мешалки. В некоторых аспектах, двигатель 140 может представлять собой электродвигатель, который приводит в действие регулируемую магнитную муфту между подшипниковым узлом 133 мешалки и валом 131 мешалки для передачи крутящего момента на вал 131 мешалки. В аспектах, двигатель 140 может иметь 2, 4, 8, 12 или 16 полюсов. В альтернативных или дополнительных аспектах, двигатель 140 может быть выполнен с возможностью работы с частотой 50 Гц или 60 Гц. В альтернативных или дополнительных аспектах, двигатель 140 может быть выполнен с возможностью работы в условиях без нагрузки при 900, 1200, 1500, 1800, 3000 или 3600 об/мин.
[0039] Реактор 150 полимеризации может быть реализован в виде одного или более реакторов полимеризации, например, одного или более петлевых суспензионных реакторов, одного или более реакторов с псевдоожиженным слоем, одного или более автоклавных реакторов, одного или более трубчатых реакторов, одного или более горизонтальных газофазных реакторов, одного или более реакторов с мешалкой непрерывного действия, одного или более растворных реакторов или их комбинации. Например, в некоторых аспектах, реактор 150 полимеризации может представлять собой два петлевых реактора, два или три реактора непрерывного действия с мешалкой или по меньшей мере один петлевой реактор, соединенный последовательно с по меньшей мере одним газофазным реактором. Газофазный реактор может представлять собой реактор с псевдоожиженным слоем или горизонтальный реактор. Известны конфигурации для этих типов реакторов полимеризации, при каждой из которых можно производить полиолефин посредством приведения в контакт олефинового мономера с суспензией катализатора, которая вводится через описанную систему 100 приготовления суспензии катализатора. В аспектах, где реактор 150 полимеризации представляет собой более одного реактора, реакторы могут быть выполнены с возможностью работы параллельно или последовательно. В аспектах, производительность каждого из реакторов 150 полимеризации может превышать 20000, 50000, 100000, 200000, 300000 или 500000 фунтов/час (9072, 22680, 45359, 90719, 136078 или 226796 кг/час). Объем предмета изобретения не ограничивается производительностью реактора или реакторной системы. Олефиновым мономером может быть этилен или пропилен, а полиолефином может быть полиэтилен или полипропилен. Реактор 150 полимеризации, как правило, имеет впускной трубопровод 151 и трубопровод 152 выпуска продукта. Продукт полимеризации, содержащий полиолефин, может вытекать из реактора 150 полимеризации по трубопроводу 152 выпуска продукта в систему разделения продукта, которая может иметь любую конфигурацию, известную в данной области техники. Полиолефин может представлять собой полиэтилен высокой плотности, линейный полиэтилен низкой плотности, полиэтилен средней плотности, мультимодальный полиэтилен, блок-сополимер, гомополимер, сополимер или их комбинацию
[0040] В некоторых аспектах, насос 160 может быть соединен с выпускным трубопроводом 113 смесительной емкости 110 и с впускным трубопроводом 151 полимеризационного реактора 150. Насос 160 может быть выполнен с возможностью управления потоком суспензии катализатора в реактор 150. В аспектах, управление потоком посредством насоса 160 может включать подачу суспензии катализатора, поступающей из выпускного трубопровода 113, под давлением, подходящим для подачи в реактор 150 полимеризации по трубопроводу 151. Подходящие давления для суспензии катализатора в трубопроводе 151 включают любое давление, превышающее давление в полимеризационном реакторе 150.
[0041] В аспектах, концентрация катализатора в суспензии катализатора в смесительной емкости 110 на Фиг. 1 может составлять более 0,0, 0,1, 0,2, 0,3, 0,4 или 0,5 мас. % и менее 20, 15, 12, 10, 9, 8, 7, 6, 5, 4 или 3 мас. % в пересчете на общую массу суспензии катализатора в смесительной емкости 110. В конкретных аспектах, концентрация хромсодержащего катализатора в суспензии катализатора в смесительной емкости 110 на Фиг. 1, может составлять более 5, 6, 7 или 8 мас. % и менее 20, 19, 18, 17, 16 или 15 мас. % в пересчете на общую массу суспензии катализатора в смесительной емкости 110. В других конкретных аспектах, концентрация катализатора Циглера-Натта или металлоценового катализатора в суспензии катализатора в смесительной емкости 110 может составлять более 0,0, 0,1, 0,2, 0,3, 0,4 или 0,5 мас. % и менее 5, 4 или 3 мас. % в пересчете на общую массу суспензии катализатора в смесительной емкости 110.
[0042] В аспектах, ступица 132, имеющая три лопасти 132а, 132b и 132с, позволяет системе 100 приготовления суспензии катализатора иметь значение коэффициента вариации (CoV) в одном или более поперечных сечениях смесительной емкости 110, которое указывает на хорошо перемешанную суспензию катализатора в смесительной емкости 110. CoV описывает отклонение локальной концентрации суспензии катализатора в смесительной емкости 110 от средней концентрации в пределах одного или более поперечных сечений смесительной емкости 110. Коэффициент вариации (CoV) для концентрации суспензии катализатора в смесительной емкости 110 в системе 100 приготовления суспензии катализатора, в контексте данного документа, определяется по формуле (1), как:
где Ci представляет собой пробную концентрацию катализатора в суспензии катализатора, взятую в первом месте отбора проб в смесительной емкости 110, Сусредн. представляет собой усредненную концентрацию катализатора в суспензии катализатора во всех пробах, отобранных во всех местах отбора проб в смесительной емкости 110, Ссреднее представляет собой среднюю концентрацию катализатора в суспензии катализатора во всех пробах, отобранных в первом месте отбора проб в смесительной емкости 110, и n = количеству мест отбора проб суспензии катализатора. Наличие ступицы 132, имеющей по меньшей мере три лопасти (например, лопасти 132а, 132b и 132с), преимущественно обеспечивает значение CoV в смесительной емкости 110 в системе 100 приготовления суспензии катализатора, которое составляет менее около 0,4, 0,3, 0,2, 0,1, 0,05 или 0,01.
[0043] На Фиг. 2 проиллюстрирована принципиальная технологическая схема другого варианта осуществления описанной системы 200 приготовления суспензии катализатора с изображением смесительных емкостей 110 и 210 в поперечном разрезе. Необязательная смесительная емкость 110n в поперечном разрезе также проиллюстрирована на Фиг. 2 пунктирными линиями, представляющими одно из любого количества «n» смесительных емкостей 110n, которые могут быть подключены параллельно к смесительной емкости 110. Смесительная емкость 110 системы 100 приготовления суспензии катализатора может быть такой же, как в системе 200, описанной для системы 100 на Фиг. 1, за исключением Фиг. 2, впускной трубопровод 111 соединен с выпускным трубопроводом 213 смесительной емкости 210 и, таким образом, выполнен с возможностью приема суспензии катализатора, а необязательный трубопровод 116 жидкости-носителя выполнен с возможностью подачи свежей жидкости-носителя (например, жидкости-носителя, которая не является уже смешанной с суспензией катализатора) в смесительную емкость 110, если это необходимо (например, для разбавления концентрации катализатора в суспензии катализатора, для промывки смесительной емкости 110 и т.д.). Кроме того, полимеризационный реактор 150 и соединение полимеризационного реактора 150 со смесительной емкостью 110 в системе 200 такие же, как описано для системы 100 на Фиг. 1. Необязательная смесительная емкость 110n по Фиг. 2 может быть такой же в системе 200, как описано для смесительной емкости 110 в системе 100 по Фиг. 1, с аналогичными частями смесительной емкости 110n, обозначенными буквой «п» после ссылочной позиции. Как видно на Фиг. 2, необязательная дополнительная смесительная емкость 110n соединена со смесительной емкостью 210 параллельно со смесительной емкостью 110 по отдельному выпускному трубопроводу 213n смесительной емкости 210, а выпускной трубопровод 113n смесительной емкости 110n может соединяться с выпускным трубопроводом 113 смесительной емкости 110. На Фиг. 2 каждая из смесительной емкости 110 и смесительной емкости 110n может иметь ступицу 132/132n, имеющую по меньшей мере три лопасти. Конфигурации ступицы 132 (и, следовательно, ступицы 132n), конфигурации ступицы 232, а также конфигурации дополнительных ступиц рассмотрены на Фиг. 3А-3Н, 4A-4D, 5A-5D и 6A-6D.
[0044] Смесительная емкость 210 системы 200 приготовления суспензии катализатора на Фиг. 2 может представлять собой любую емкость, подходящую для перемешивания суспензий и, в частности, для перемешивания суспензий катализатора, которые используются при полимеризации олефинов, например, для подачи в петлевой суспензионный реактор или газофазный реактор. Смесительная емкость 210, как правило, может иметь цилиндрическую форму. Верх и днище смесительной емкости 210 могут быть плоскими или могут иметь контур, подходящий для удержания содержимого под давлением, например, при давлении, подходящем для сопряжения с реактором полимеризации. В некоторых аспектах, отношение высоты к диаметру смесительной емкости 210 может находиться в диапазоне от около 1 до около 5; в альтернативном варианте, от около 1 до около 4; в альтернативном варианте, от около 1 до около 3; в альтернативном варианте, от около 1,5 до около 2,5; в альтернативном варианте, около 2. В некоторых аспектах, высота смесительной емкости 210 может составлять 5-20 футов; или в альтернативном варианте, 8-12 футов; или в альтернативном варианте, 9-10 футов, измеренных по касательной. В некоторых аспектах, диаметр смесительной емкости 110 может составлять 2-20 футов; в альтернативном варианте, 3-12 футов; в альтернативном варианте 4-10 футов; в альтернативном варианте, 4-5 футов; или в альтернативном варианте, 9-10 футов.
[0045] Смесительная емкость может содержать впускной трубопровод 211, второй впускной трубопровод 212 и выпускной трубопровод 213. Впускной трубопровод 211 может быть выполнен с возможностью подачи катализатора в виде твердых частиц в смесительную емкость 210, а второй впускной трубопровод 212 может быть выполнен с возможностью подачи жидкости-носителя в смесительную емкость 210, таким образом, суспензия катализатора образуется на месте в смесительной емкости 210 (в таких вариантах осуществления изобретения суспензия катализатора производится за пределами смесительной емкости 110). В таких аспектах, впускной трубопровод 211 может быть соединен по текучей среде со шлюзовым затвором, содержащим катализатор в виде твердых частиц, который вводится в смесительную емкость 210 по впускному трубопроводу 211. Выпускной трубопровод 213 (также может называться отводящим трубопроводом) проиллюстрирован на Фиг. 2 соединенным с внутренней стенкой 215 на днище смесительной емкости 210 и проходящий через нее; однако предполагается, что выпускной трубопровод 213 может быть соединен с внутренней стенкой 215 и проходить через нее в любом месте нижней половины смесительной емкости 210. Участок 213а выпускного трубопровода 213 выполнен с возможностью прохождения внутрь смесительной емкости 210 таким образом, чтобы отвода суспензии катализатора не происходило вблизи внутренней стенки 215 смесительной емкости 210. Участок 213а проиллюстрирован на Фиг. 2 проходящим вертикально; однако предполагается, что в альтернативных конфигурациях участок 213а может проходить под углом менее 90° относительно вертикали через внутреннюю стенку 215 на днище смесительной емкости 210; в альтернативном варианте участок 213а может проходить через внутреннюю стенку 215 сбоку смесительной емкости 210 горизонтально или под углом менее 90° по отношению к горизонтали.
[0046] В некоторых аспектах, смесительная емкость 210 может быть выполнена с возможностью работы в режиме полного заполнения жидкостью, что означает, что в процессе работы смесительная емкость 210 полностью заполнена суспензией катализатора и по существу не содержит газообразной фазы. Режим полного заполнения жидкостью включает аспекты, при которых газовая фаза присутствует в смесительной емкости 210 в количестве, меньшем или равном около 5%, около 4%, около 3%, около 2%, около 1%, около 0,5%, около 0,1% или 0% по объему в пересчете на объем смесительной емкости 210. Режим полного заполнения жидкостью может также включать аспекты, когда суспензия катализатора присутствует в смесительной емкости 210 в количестве, превышающем около 95%, 96%, 97%, 98%, 99%, 99,5%, 99,9% или 100% по объему в пересчете на объем смесительной емкости 210.
[0047] В некоторых аспектах, объем смесительной емкости 210 может приблизительно в четыре-восемь раз превышать объем смесительной емкости 110. В дополнительных аспектах, смесительная емкость 210 может быть выполнена с возможностью удержания объема суспензии катализатора, который в четыре-восемь раз превышает объем суспензии катализатора, удерживаемый в смесительной емкости 110. В некоторых аспектах, объем смесительной емкости 210 может составлять по меньшей мере 800 л (литров); в альтернативном варианте, по меньшей мере 1600 л; в альтернативном варианте, по меньшей мере 1800 л; в альтернативном варианте, по меньшей мере 3200 л; в альтернативном варианте, по меньшей мере 3600 л; дополнительно или в альтернативном варианте, 16000 л или менее; дополнительно или в альтернативном варианте, 8000 л или менее; дополнительно или в альтернативном варианте, 4800 л или менее; дополнительно или в альтернативном варианте, 4400 л или менее; дополнительно или в альтернативном варианте, 4000 л или менее; дополнительно или в альтернативном варианте, 2400 л или менее; дополнительно или в альтернативном варианте, 2200 л или менее; дополнительно или в альтернативном варианте, около 2000 л или менее; в альтернативном варианте, около 4000 л; в альтернативном варианте, около 3000 л; в альтернативном варианте, около 2000 л.
[0048] В аспектах, смесительная емкость 210 может быть выполнена с возможностью поддержания температуры суспензии катализатора в диапазоне от около 75°F до около 125°F (от около 23,8°С до около 51,7°С); в альтернативном варианте, в диапазоне от около 85°F до около 115°F (от около 29,4°С до около 46,1°С); в альтернативном варианте, в диапазоне от около 95°F до около 105°F (от около 35°С до около 40,6°С); в альтернативном варианте, около 100°F (около 37,7°С).
[0049] В аспектах, смесительная емкость 210 может быть выполнена с возможностью поддержания суспензии катализатора при давлении в диапазоне от около 0 фунтов на кв. дюйм до около 300 фунтов на кв. дюйм (от около 0 МПа изб. до около 2,07 МПа изб.); в альтернативном варианте, в диапазоне от около 0 фунтов на кв. дюйм до около 200 фунтов на кв. дюйм (от около 0 МПа изб. до около 1,38 МПа изб.).
[0050] В аспектах, смесительная емкость 210 системы 200 приготовления суспензии катализатора может включать одну или более перегородок 214, причем каждая перегородка 214 закреплена в продольном направлении и проходит радиально внутрь от внутренней стенки 215 смесительной емкости 210. Каждая перегородка 214 может проходить вдоль внутренней стенки 215 смесительной емкости 210 по меньшей мере на две трети высоты смесительной емкости 210. В контексте данного документа, перегородка 214 может представлять собой плоский твердый материал или плоский экран, выполненный с возможностью отклонения или прерывания потока суспензии катализатора в смесительной емкости 210, например, для создания турбулентности в суспензии катализатора в смесительной емкости 210. В некоторых аспектах, каждая перегородка 214 может проходить радиально внутрь от внутренней стенки 215 смесительной емкости 210 на расстояние в диапазоне от около 5% до около 20%, в альтернативном варианте, около 10% и около 20%, в альтернативном варианте, около 5% и около 15% диаметра смесительной емкости 110.
[0051] Система 230 вращающихся крыльчаток системы 200 приготовления суспензии катализатора может включать в себя вал 231 мешалки и ступицу 232, соединенную с валом 231 мешалки. Как правило, ступица 232 и по меньшей мере часть вала 231 мешалки расположены внутри смесительной емкости 210 вдоль продольной оси L2-L2 смесительной емкости 210. Длина вала 231 мешалки, который находится внутри смесительной емкости 210, может находиться в диапазоне от около 75% до около 95% высоты смесительной емкости 110. На Фиг. 2 видно, что ступица 232 имеет три лопасти 232а, 232b и 232с. В некоторых вариантах осуществления изобретения ступица 232 может иметь более трех лопастей, например, четыре лопасти, пять лопастей или шесть лопастей. На Фиг. 2 ступица 232 проиллюстрирована, как соединенная с валом 231 мешалки в нижней половине смесительной емкости 210; однако, в других аспектах, ступица 232 может быть соединена с валом 231 мешалки в верхней половине смесительной емкости 210, в верхней части смесительной емкости 210, в средней части смесительной емкости 210 или в нижней части смесительной емкости 210.
[0052] Система 230 вращающихся крыльчаток может дополнительно включать подшипниковый узел 233 мешалки, имеющий магнитные элементы. Подшипниковый узел 233 мешалки может быть соединен с двигателем 240. При работе двигатель 240 может генерировать энергию, которая преобразуется подшипниковым узлом 233 мешалки во вращение вала 231 мешалки. Лопасти 232а, 232b и 232с ступицы 232 (и лопасти любой другой ступицы, соединенной с валом 231 мешалки), в свою очередь, вращаются вместе с вращением вала 231 мешалки.
[0053] В некоторых аспектах, система 230 вращающейся крыльчатки (например, вал 231 мешалки и любая соединенная с ним ступица) может вращаться со скоростью в диапазоне от 1 до 10000 об/мин.
[0054] Как описано выше, двигатель 240 может быть выполнен с возможностью генерирования энергии, которая преобразуется подшипниковым узлом 233 мешалки во вращение вала 231 мешалки. В некоторых аспектах, двигатель 240 может представлять собой электродвигатель, который приводит в действие регулируемую магнитную муфту между подшипниковым узлом 233 мешалки и валом 231 мешалки для передачи крутящего момента на вал 231 мешалки. В аспектах, двигатель, 240 может иметь 2, 4, 8, 12 или 16 полюсов. В альтернативных или дополнительных аспектах, двигатель 240 может быть выполнен с возможностью работы с частотой 50 Гц или 60 Гц. В альтернативных или дополнительных аспектах, двигатель 240 может быть выполнен с возможностью работы без нагрузки при 900, 1200, 1500, 1800, 3000 или 3600 об/мин.
[0055] В системе 200 приготовления суспензии катализатора значение концентрации катализатора в суспензии катализатора в смесительной емкости 110 может быть приблизительно равно, более или менее концентрации катализатора в суспензии катализатора в смесительной емкости 210. В некоторых аспектах, «приблизительно равно» может означать, что значение концентрации катализатора в суспензии катализатора в смесительной емкости 110 может находиться в пределах +/-1 мас. % от значения концентрации катализатора в суспензии катализатора в смесительной емкости 210.
[0056] В аспектах, где концентрация катализатора в суспензии катализатора в смесительной емкости 110 приблизительно равна концентрации катализатора в суспензии катализатора в смесительной емкости 210, объем смесительной емкости 110 может быть подходящим для удержания объема, подходящего для подачи суспензии катализатора в реактор 150 полимеризации в течение около 1, 2, 3, 4, 5, 6, 7, 8, 9, 10, 11 или 12 часов, а объем смесительной емкости 210 может в четыре-восемь раз превышать объем суспензии катализатора, который удерживается в смесительной емкости 110. Суспензия катализатора в смесительной емкости 210 может быть использована для пополнения суспензии катализатора в смесительной емкости 110 через периодические промежутки времени, или когда уровень суспензии катализатора в смесительной емкости 110 падает ниже порогового значения, например, когда объем суспензии катализатора падает ниже 50%, 40%, 30% или 20% по объему в пересчете на объем смесительной емкости 110.
[0057] В аспектах, концентрация катализатора в суспензии катализатора в смесительной емкости 110 и/или смесительной емкости 210 может превышать 0,0, 0,1, 0,2, 0,3, 0,4 или 0,5 мас. % в пересчете на общую массу суспензии катализатора в соответствующей смесительной емкости; дополнительно или в альтернативном варианте, концентрация катализатора в суспензии катализатора в смесительной емкости 110 и/или смесительной емкости 210 может составлять менее 20, 15, 12, 10, 9, 8, 7, 6, 5, 4 или 3 мас. % в пересчете на общую массу суспензии катализатора в соответствующей смесительной емкости. Катализатор может содержать или не содержать форполимер. В аспектах, концентрация хромсодержащего катализатора в суспензии катализатора в смесительной емкости 110 и/или смесительной емкости 210 может превышать 5, 6, 7 или 8 мас. % в пересчете на общую массу суспензии катализатора в соответствующей смесительной емкости; дополнительно или в альтернативном варианте, концентрация хромсодержащего катализатора в суспензии катализатора в смесительной емкости 110 и/или смесительной емкости 210 может составлять менее 20, 19, 18, 17, 16 или 15 мас. % в пересчете на общую массу суспензии катализатора в соответствующей смесительной емкости. В аспектах, концентрация катализатора Циглера-Натта или металлоценового катализатора в суспензии катализатора в смесительной емкости 110 и/или смесительной емкости 210 может превышать 0,0, 0,1, 0,2, 0,3, 0,4 или 0,5 мас. % в пересчете на общую массу суспензии катализатора в соответствующей смесительной емкости; дополнительно или в альтернативном варианте, концентрация катализатора Циглера-Натта или металлоценового катализатора в суспензии катализатора в смесительной емкости 110 и/или смесительной емкости 210 может составлять менее 5, 4 или 3 мас. % в пересчете на общую массу суспензии катализатора в соответствующей смесительной емкости.
[0058] В других аспектах, концентрация катализатора в суспензии катализатора в смесительной емкости 110 может быть менее, чем концентрация катализатора в суспензии катализатора в смесительной емкости 210. То есть суспензия катализатора в смесительной емкости 210 может представлять собой концентрированную суспензию катализатора с концентрацией катализатора более 10, 12, 15 или 20 мас. % в пересчете на общую массу суспензии катализатора в смесительной емкости 210, а концентрация катализатора в суспензии катализатора в смесительной емкости 110 может составлять более 0,0, 0,1, 0,2, 0,3, 0,4 или 0,5 мас. % и менее 20, 15, 12, 10, 9, 8, 7, 6, 5, 4 или 3 мас. % в пересчете на общую массу суспензии катализатора в смесительной емкости 110. Например, концентрация катализатора в суспензии катализатора в смесительной емкости 210 может превышать 10, 12, 15 или 20 мас. % в пересчете на общую массу суспензии катализатора в смесительной емкости 210, а концентрация хромсодержащего катализатора в суспензии катализатора в смесительной емкости 110 меньше, чем концентрация в смесительной емкости 210, и может составлять более 5, 6, 7 или 8 мас. % и менее 20, 19, 18, 17, 16 или 15 мас. % в пересчете на общую массу суспензии катализатора в смесительной емкости 110. В другом примере, концентрация катализатора в суспензии катализатора в смесительной емкости 210 может превышать 3, 4 или 5 мас. % в пересчете на общую массу суспензии катализатора в смесительной емкости 210, а концентрация катализатора Циглера-Натта или металлоценового катализатора в суспензии катализатора в смесительной емкости 110 меньше, чем концентрация в смесительной емкости 210, и может составлять более 0,0, 0,1, 0,2, 0,3, 0,4 или 0,5 мас. % и менее 5, 4, или 3 мас. % в пересчете на общую массу суспензии катализатора в смесительной емкости 110). В таких аспектах, смесительная емкость 210 может представлять собой «грязевой бак», известный в отрасли, а впускной трубопровод 116 для жидкости-носителя, соединенный со смесительной емкостью 110, может быть использован для разбавления суспензии катализатора, подаваемой из смесительной емкости 210 («грязевого бака») для получения второй суспензии катализатора в смесительной емкости 110, имеющей концентрацию катализатора (любую концентрацию, описанную для смесительной емкости 110 в данном документе), которая подходит для введения в реактор 150 полимеризации.
[0059] В аспектах, ступица 132, имеющая три лопасти 132а, 132b и 132с, позволяет системе 200 приготовления суспензии катализатора иметь значение коэффициента вариации (CoV) в одном или более поперечных сечениях смесительной емкости 110, которое указывает на хорошо перемешанную суспензию катализатора в смесительной емкости 110. Как было рассмотрено выше, CoV описывает отклонение локальной концентрации суспензии катализатора в смесительной емкости 110 от средней концентрации в пределах одного или более поперечных сечений смесительной емкости 110. Коэффициент вариации (CoV) для концентрации суспензии катализатора в смесительной емкости 110 системы 200 приготовления суспензии катализатора, в контексте данного документа, определяется по формуле (2), как:
где Ci представляет собой пробную концентрацию катализатора в суспензии катализатора, взятую в первом месте отбора проб в смесительной емкости 110, Сусредн. представляет собой усредненную концентрацию катализатора в суспензии катализатора во всех пробах, отобранных во всех местах отбора проб в смесительной емкости 110, Ссреднее представляет собой среднюю концентрацию катализатора в суспензии катализатора во всех пробах, отобранных в первом месте отбора проб в смесительной емкости 110, и n = количеству мест отбора проб суспензии катализатора. Наличие ступицы 132, имеющей по меньшей мере три лопасти (например, лопасти 132а, 132b и 132с), преимущественно обеспечивает значение CoV в смесительной емкости 110 системы 200 приготовления суспензии катализатора, которое составляет менее около 0,4, 0,3, 0,2, 0,1, 0,05 или 0,01.
[0060] В аспектах, ступица 232, имеющая три лопасти 232а, 232b и 132с, позволяет системе 200 приготовления суспензии катализатора иметь значение коэффициента вариации (CoV) в одном или более поперечных сечениях смесительной емкости 210, которое указывает на хорошо перемешанную суспензию катализатора в смесительной емкости 210. CoV описывает отклонение локальной концентрации суспензии катализатора в смесительной емкости 210 от средней концентрации в пределах одного или более поперечных сечений смесительной емкости 210. Коэффициент вариации (CoV) для концентрации суспензии катализатора в смесительной емкости 210 системы приготовления суспензии катализатора 200, в контексте данного документа, определяется по формуле (3), как:
где Ci представляет собой пробную концентрацию катализатора в суспензии катализатора, взятую в первом месте отбора проб в смесительной емкости 210, Сусредн. представляет собой среднюю концентрацию катализатора в суспензии катализатора во всех пробах, отобранных во всех местах отбора проб в смесительной емкости 210, Ссреднее представляет собой среднюю концентрацию катализатора в суспензии катализатора во всех пробах, отобранных в первом месте отбора проб в смесительной емкости 210, и n = количеству мест отбора проб суспензии катализатора. Наличие ступицы 232, имеющей по меньшей мере три лопасти (например, лопасти 232а, 232b и 232с), преимущественно обеспечивает значение CoV в смесительной емкости 210 системы 200 приготовления суспензии катализатора, которое составляет менее около 0,4, 0,3, 0,2, 0,1, 0,05 или 0,01.
[0061] Поскольку постоянство концентрации катализатора в смесительной емкости 210 может влиять на постоянство концентрации катализатора в смесительной емкости 110, наличие ступицы 232 по меньшей мере с тремя лопастями 232а, 232b и 232с в смесительной емкости 210 и ступицы 132 по меньшей мере с наличие тремя лопастями 132а, 132b и 132с в смесительной емкости 110 в системе 200 приготовления суспензии катализатора может привести к низкому значению CoV (например, менее около 0,1) для концентрации суспензии катализатора в смесительной емкости 110. Например, CoV для концентрации суспензии катализатора в смесительной емкости 210 может находиться в диапазоне от около 0,1 до около 0,4. Суспензия катализатора, которая протекает из смесительной емкости 210 в смесительную емкость 110, таким образом, имеет степень постоянства концентрации катализатора, которая обеспечивает еще более низкий CoV для концентрации суспензии катализатора в смесительной емкости 110 (например, в диапазоне менее чем около 0,1, 0,05 или 0,01).
[0062] В аспектах системы 200 по Фиг. 2, смесительная емкость 210 и смесительная емкость 110 могут быть сконструированы и выполнены таким образом, чтобы между двумя смесительными емкостями 110 и 210 была разница в высоте. В некоторых аспектах, расстояние D по вертикали между входом выпускного трубопровода 213 и местом, где по впускному трубопроводу 111 вводят суспензию катализатора в смесительную емкость 110, превышает 0, 0,1, 0,2, 0,3, 0,4, 0,5, 0,6, 0,7, 0,8, 0,9 или 1,0 метра и менее 5, 4, 3, 2 или 1 метра. Считается, что расстояние D по вертикали может обеспечить напор, заставляющий суспензию катализатора течь из смесительной емкости 210 в смесительную емкость 110, уменьшая количество энергии, необходимой насосу 260 для перекачивания суспензии катализатора, или исключая необходимость в насосе 260. В вариантах осуществления, в которых насос 260 не используется, вместо насоса 260 может использоваться клапан, чтобы контролировать синхронизацию потока суспензии катализатора из смесительной емкости 210 в смесительную емкость 210.
[0063] Варианты осуществления системы 130 вращающихся крыльчаток систем 100 и 200 и системы 230 вращающихся крыльчаток системы 200 могут включать ступицу 132 и 232, описанную для Фиг. 1 и Фиг. 2. В аспектах изобретения предполагается, что система 130 вращающихся крыльчаток и/или система 230 вращающихся крыльчаток может включать в себя дополнительные ступицы. Используя смесительную емкость 110 в качестве примера обеих смесительных емкостей 110 и 210 с целью рассмотрения ступицы, на Фиг. 3А-3Н проиллюстрирован вид в разрезе смесительной емкости 110 с системой 130 вращающихся крыльчаток, имеющей ступицу 132 в комбинации с дополнительными ступицами, соединенными с валом 131 мешалки ниже ступицы 132. Иными словами, ступица 132 прикреплена к валу 131 мешалки или соединена с ним над любой из дополнительных ступиц, описанных ниже.
[0064] На Фиг. 3А проиллюстрирована ступица 132 (или верхняя ступица), имеющая три лопасти 132а, 132b и 132с, и дополнительно ступица 332 (или нижняя ступица), имеющая две лопасти 332а и 332b. Предполагается, что ступица 132 может иметь три или более лопастей, а ступица 332 может иметь две или более лопастей. На Фиг. 3А ступица 132 прикреплена к валу 131 мешалки в верхней половине 301 смесительной емкости 110, а ступица 332 прикреплена к валу 131 мешалки в нижней половине 302 смесительной емкости 110. В дополнительных аспектах, ступица 132 может быть прикреплена к валу 131 мешалки на расстоянии от верха смесительной емкости 110, которое составляет от около 20% до около 50%, в альтернативном варианте, от около 30% до около 50%, в альтернативном варианте, от около 40% до около 50% высоты смесительной емкости 110; а ступица 332 может быть прикреплена к валу 131 мешалки ниже ступицы 132 на расстоянии от верха смесительной емкости 110, которое составляет от около 50% до около 95%, в альтернативном варианте, от около 60% до около 95%, в альтернативном варианте, от около 70% до около 95%, в альтернативном варианте, от около 80% до около 90%, в альтернативном варианте, около 85% высоты смесительной емкости 110. В аспектах, каждый из диаметров D1 ступицы 132 и D1 ступицы 332 может составлять от около 20% до около 60%, в альтернативном варианте, от около 30% до около 50%, в альтернативном варианте, около 40% диаметра смесительной емкости 110. В дополнительных аспектах, диаметр ступицы 132 может быть приблизительно равен диаметру ступицы 332.
[0065] На Фиг. 3В также проиллюстрирована ступица 132 (или верхняя ступица) и ступица 332 (или нижняя ступица) по Фиг. 3А, и обе ступицы 132 и 332 прикреплены к валу 131 мешалки в нижней половине 302 смесительной емкости 110. В дополнительных аспектах, ступица 132 может быть прикреплена к валу 131 мешалки на расстоянии от верха смесительной емкости 110, которое составляет от около 50% до около 75%, в альтернативном варианте, от около 50% до около 65%, в альтернативном варианте, от около 50% до около 60% высоты смесительной емкости 110; и ступица 332 может быть прикреплена к валу 131 мешалки ниже ступицы 132 на расстоянии от верха смесительной емкости 110, которое составляет от около 50% до около 95%, в альтернативном варианте, от около 60% до около 95%, в альтернативном варианте, от около 70% до около 95%, в альтернативном варианте, от около 80% до около 90%, в альтернативном варианте, около 85% высоты смесительной емкости 110.
[0066] На Фиг. 3С проиллюстрирована ступица 132 (или верхняя ступица) по Фиг. 3А и другая ступица 333 (или нижняя ступица), имеющая три лопасти 333а, 333b и 333с. Предполагается, что ступица 333 может иметь две или более лопастей, а ступица 132 может иметь три или более лопастей. На Фиг. 3С проиллюстрировано, что диаметр D1 ступицы 132 может быть больше диаметра D2 ступицы 333. В аспектах, где диаметр D1 ступицы 132 соответствует описанному на Фиг. 3А, диаметр D2 ступицы 333 может составлять от около 10% до около 50%, в альтернативном варианте, от около 20% до около 40%, в альтернативном варианте, около 30%, в альтернативном варианте, около 25%, в альтернативном варианте, около 20%, в альтернативном варианте, около 15%, в альтернативном варианте, около 10% диаметра смесительной емкости 110. Ступица 132 по Фиг. 3С может быть прикреплена к валу 131 мешалки в верхней половине 301 или нижней половине 302 смесительной емкости 110, а ступица 333 может быть прикреплена к валу 131 мешалки в нижней половине 302 смесительной емкости 110. В дополнительных аспектах, ступица 132 может быть прикреплена к валу 131 мешалки на расстоянии от верха смесительной емкости 110, которое составляет от около 20% до около 75%, в альтернативном варианте, от около 30% до около 65%, в альтернативном варианте, от около 40% до около 60%, в альтернативном варианте, от около 45% до около 55% высоты смесительной емкости 110; а ступица 333 может быть прикреплена к валу 131 мешалки ниже ступицы 132 на расстоянии от верха смесительной емкости 110, которое составляет от около 50% до около 95%, в альтернативном варианте, от около 60% до около 95%, в альтернативном варианте, от около 70% до около 95%, в альтернативном варианте, от около 80% до около 90%, в альтернативном варианте, около 85% высоты смесительной емкости 110.
[0067] На Фиг. 3D проиллюстрирован вариант осуществления изобретения с тремя ступицами 132, 332 и 334 (или верхней, средней и нижней ступицами). Ступица 132 имеет три лопасти, ступица 332 имеет две лопасти, а ступица 334 имеет три лопасти; однако предполагается, что ступица 132 может иметь три или более лопастей, ступица 332 может иметь две или более лопастей, и ступица 334 может иметь две или более лопастей. Ступица 132 по Фиг. 3А прикреплена к валу 131 мешалки в верхней половине 301 смесительной емкости 310, а две дополнительные ступицы 332 и 334 прикреплены к валу 131 мешалки в нижней половине 302 смесительной емкости 110. В дополнительных аспектах, ступица 132 может быть прикреплена к валу 131 мешалки на расстоянии от верха смесительной емкости 110, которое составляет от около 20% до около 50%, в альтернативном варианте, от около 30% до около 50%, в альтернативном варианте, от около 40% до около 50% высоты смесительной емкости 110; ступица 332 может быть прикреплена к валу 131 мешалки ниже ступицы 132 на расстоянии от верха смесительной емкости 110, которое составляет от около 50% до около 95%, в альтернативном варианте, от около 60% до около 95%, в альтернативном варианте, от около 70% до около 95%, в альтернативном варианте, от около 80% до около 90%, в альтернативном варианте, около 85% высоты смесительной емкости 110; и ступица 334 может быть прикреплена к валу 131 мешалки ниже ступицы 332 на расстоянии от верха смесительной емкости 110, которое составляет от около 50% до около 95%, в альтернативном варианте, от около 60% до около 95%, в альтернативном варианте, от около 70% до около 95%, в альтернативном варианте, от около 80% до около 90%, в альтернативном варианте, около 85% высоты смесительной емкости 110. Ступица 132 и ступица 332 имеют признаки, описанные на Фиг. 3А. Ступица 334 может иметь три или более лопастей; в альтернативном варианте, только две лопасти. В аспектах, каждый из диаметров ступицы 132, ступицы 332 и ступицы 334 может составлять от около 20% до около 60%, в альтернативном варианте, от около 30% до около 50%, в альтернативном варианте, около 40% диаметра смесительной емкости 110. В дополнительных аспектах, диаметр ступицы 132, диаметр ступицы 332 и диаметр ступицы 334 могут быть приблизительно равны.
[0068] На Фиг. ЗЕ проиллюстрированы ступицы 132, 332 и 334 (верхняя, средняя и нижняя ступицы) по Фиг. 3D, за исключением того, что ступица 132 прикреплена к валу 131 мешалки в верхней части 303 смесительной емкости 110, ступица 332 прикреплена к валу 131 мешалки в средней части 304 смесительной емкости 110, а ступица 334 прикреплена к валу 131 мешалки в нижней части 305 смесительной емкости 110. Ступица 132 имеет три лопасти, ступица 332 имеет две лопасти, а ступица 334 имеет три лопасти; однако предполагается, что ступица 132 может иметь три или более лопастей, ступица 332 может иметь две или более лопастей, а ступица 334 может иметь две или более лопастей. В дополнительных аспектах, ступица 132 может быть прикреплена к валу 131 мешалки на расстоянии от верха смесительной емкости 110, которое составляет от около 20% до около 45%, в альтернативном варианте, от около 30% до около 45%, в альтернативном варианте, от около 40% до около 45% высоты смесительной емкости 110; ступица 332 может быть прикреплена к валу 131 мешалки ниже ступицы 132 на расстоянии от верха смесительной емкости 110, которое составляет от около 45% до около 75%, в альтернативном варианте, от около 45% до около 65%, в альтернативном варианте, от около 45% до около 55%, в альтернативном варианте, около 50% высоты смесительной емкости 110; и ступица 334 может быть прикреплена к валу 131 мешалки ниже ступицы 332 на расстоянии от верха смесительной емкости 110, которое составляет от около 60% до около 95%, в альтернативном варианте, от около 70% до около 95%, в альтернативном варианте, от около 70% до около 90%, в альтернативном варианте, от около 75% до около 90%, в альтернативном варианте, около 85% высоты смесительной емкости 110.
[0069] На Фиг. 3F проиллюстрированы ступицы 132, 332 и 334 (верхняя, средняя и нижняя ступицы) по Фиг. 3D, причем все три ступицы 132, 332 и 334 прикреплены к валу 131 мешалки в нижней половине 302 смесительной емкости 110. Ступица 132 имеет три лопасти, ступица 332 имеет две лопасти, а ступица 334 имеет три лопасти; однако предполагается, что ступица 132 может иметь три или более лопастей, ступица 332 может иметь две или более лопастей, а ступица 334 может иметь две или более лопастей. В дополнительных аспектах, ступица 132 может быть прикреплена к валу 131 мешалки на расстоянии от верха смесительной емкости 110, которое составляет от около 50% до около 75%, в альтернативном варианте, от около 50% до около 65%, в альтернативном варианте, от около 50% до около 60% высоты смесительной емкости 110; ступица 332 может быть прикреплена к валу 131 мешалки ниже ступицы 132 на расстоянии от верха смесительной емкости 110, которое составляет от около 60% до около 95%, в альтернативном варианте, от около 65% до около 95%, в альтернативном варианте, от около 70% до около 95%, в альтернативном варианте, от около 80% до около 90%, в альтернативном варианте, около 85% высоты смесительной емкости 110; и ступица 334 может быть прикреплена к валу 131 мешалки ниже ступицы 332 на расстоянии от верха смесительной емкости 110, которое составляет от около 50% до около 95%, в альтернативном варианте, от около 60% до около 95%, в альтернативном варианте, от около 70% до около 95%, в альтернативном варианте, от около 80% до около 90%, в альтернативном варианте, около 85% высоты смесительной емкости 110.
[0070] На Фиг. 3G проиллюстрированы ступицы 132, 335 и 336 (верхняя, средняя и нижняя ступицы). Ступица 132 соответствует описанной на Фиг. 3А, ступица 335 проиллюстрирована с двумя лопастями 335а и 33 5b, а ступица 336 также проиллюстрирована с двумя лопастями 336а и 336b. Предполагается, что ступица 132 может иметь три или более лопастей, ступица 335 может иметь две или более лопастей, а ступица 336 может иметь две или более лопастей. В альтернативных аспектах предполагается, что ступица 335 и/или ступица 336 могут иметь три или более лопастей. На Фиг. 3G проиллюстрировано, что диаметр D1 ступицы 132 может быть больше, чем диаметр D4 ступицы 335 и диаметр D4 ступицы 336. В аспектах, где диаметр D1 ступицы 132 соответствует описанному на Фиг. 3А, диаметр D3 ступицы 335 и ступицы 336 может составлять от около 10% до около 50%, в альтернативном варианте, от около 20% до около 40%, в альтернативном варианте, около 30%, в альтернативном варианте, около 25%, в альтернативном варианте, около 20%, в альтернативном варианте, около 15%, в альтернативном варианте, около 10% диаметра смесительной емкости 110. Ступица 132 по Фиг. 3G может быть прикреплена к валу 131 мешалки в верхней половине 301 или нижней половине 302 смесительной емкости 110, а ступица 335, как и ступица 336, может быть прикреплена к валу 131 мешалки в нижней половине 302 смесительной емкости 110.
[0071] В дополнительных аспектах для Фиг. 3G, ступица 132 может быть прикреплена к валу 131 мешалки на расстоянии от верха смесительной емкости 110, которое составляет от около 20% до около 50%, в альтернативном варианте, от около 30% до около 50%, в альтернативном варианте, от около 40% до около 50% высоты смесительной емкости 110; ступица 335 может быть прикреплена к валу 131 мешалки ниже ступицы 132 на расстоянии от верха смесительной емкости 110, которое составляет от около 50% до около 95%, в альтернативном варианте, от около 60% до около 95%, в альтернативном варианте, от около 70% до около 95%, в альтернативном варианте, от около 80% до около 90%, в альтернативном варианте, около 85% высоты смесительной емкости 110; и ступица 336 может быть прикреплена к валу 131 мешалки ниже ступицы 335 на расстоянии от верха смесительной емкости 110, которое составляет от около 50% до около 95%, в альтернативном варианте, от около 60% до около 95%, в альтернативном варианте, от около 70% до около 95%, в альтернативном варианте, от около 80% до около 90%, в альтернативном варианте, около 85% высоты смесительной емкости 110.
[0072] На Фиг. 3Н проиллюстрированы ступицы 132, 332 и 336. Ступицы 132 и 332 соответствуют описанным на Фиг. 3А. Ступица 336 соответствует описанной на Фиг. 3G. Ступица 132 имеет три лопасти, ступица 332 имеет две лопасти, а ступица 336 имеет три лопасти; однако предполагается, что ступица 132 может иметь три или более лопастей, ступица 332 может иметь две или более лопастей, а ступица 336 может иметь две или более лопастей. Как ступица 132, так и ступица 332 может иметь диаметр D1, как описано в данном документе, а ступица 336 может иметь диаметр D3, как описано в данном документе. Расстояние каждой из ступиц 132, 332 и 336 от верха смесительной емкости 110 может быть любым соответствующим расстоянием, описанным выше для ступиц 132, 332 и 336.
[0073] На Фиг. 4A-4D проиллюстрирован вид сбоку ступиц 401, 403, 405 и 407, имеющих вогнутую верхнюю или нижнюю стороны. Ступица 132 на Фиг. 1, 2 и с 3А-3Н может быть выполнена в виде одной из ступиц 401 и 403, проиллюстрированных на Фиг. 4А-4В. Любая из ступиц 332, 333, 334, 335 и 336 на Фиг. 3А-3Н может быть выполнена в виде одной из ступиц 401, 403, 405 и 407 по Фиг. 4A-4D.
[0074] На Фиг. 4А проиллюстрирована ступица 401, имеющая три лопасти 401а, 401b и 401с. Контур лопастей 401а, 401b и 401с таков, что верхняя сторона 402 ступицы 401 является вогнутой. При соединении с валом 131/231 мешалки, верхняя сторона 402 ступицы 401 обращена к верху смесительной емкости 110/210. В альтернативных вариантах осуществления изобретения ступица 401 может иметь более трех лопастей. В аспектах, ступица 401 может быть использована как ступица 132, ступица 232, любая из ступиц 332/333/334/335/336 или их комбинация.
[0075] На Фиг. 4В проиллюстрирована ступица 403, имеющая три лопасти 403а, 403b и 403с. Контур лопастей 403а, 403b и 403с таков, что нижняя сторона 404 ступицы 403 является вогнутой. При соединении с валом 131/231 мешалки, нижняя сторона 404 ступицы 403 обращена к днищу смесительной емкости 110/210. В альтернативных вариантах осуществления изобретения ступица 403 может иметь более трех лопастей. В аспектах, ступица 403 может быть использована как ступица 132, ступица 232, любая из ступиц 332/333/334/335/336 или их комбинация.
[0076] На Фиг. 4С проиллюстрирована ступица 405, имеющая две лопасти 405а и 405b. Контур лопастей 405а и 405b таков, что верхняя сторона 406 ступицы 405 является вогнутой. При соединении с валом 131/231 мешалки, верхняя сторона 406 ступицы 405 обращена к верху смесительной емкости 110/210. В аспектах, ступица 405 может быть использована, как любая из ступиц 332/333/334/335/336.
[0077] На Фиг. 4D проиллюстрирована ступица 407, имеющая две лопасти 407а и 407b. Контур лопастей 407а и 407b таков, что нижняя сторона 408 ступицы 407 является вогнутой. При соединении с валом 131/231 мешалки, нижняя сторона 408 ступицы 407 обращена к днищу смесительной емкости 110/210. В аспектах, ступица 407 может быть использована, как любая из ступиц 332/333/334/335/336.
[0078] На Фиг. 5A-5D проиллюстрирован вид сверху ступиц 501, 502, 503 и 504, имеющих соответственно две, три, четыре и пять лопастей. Как правило, лопасти каждой из ступиц 501, 502, 503 и 504 расположены на одинаковом расстоянии друг от друга по окружности вращения лопастей. В случае, если речь идет о диаметре ступицы, описанной в данном документе, то диаметр измеряется относительно окружности, образованной окружностью вращения лопастей ступицы.
[0079] На Фиг. 5 А ступица 501 имеет две лопасти 501а и 501b. Каждая лопасть 501а и 501b соединена с наружной поверхностью 51 lb центральной части 511 ступицы 501. Внутренняя поверхность 511а центральной части 511 упирается и прикрепляется или соединяется с валом 131/231 мешалки смесительной емкости 110/210. Лопасти 501а и 501b можно видеть равноудаленными по окружности 511 с вращения, образованной лопастями 501а и 501b при их вращении.
[0080] На Фиг. 5В ступица 502 имеет три лопасти 502а, 502b и 502с. Каждая лопасть 502а, 502b и 502с соединена с наружной поверхностью 512b центральной части 512 ступицы 502. Внутренняя поверхность 512а центральной части 512 упирается и прикрепляется или соединяется с валом 131/231 мешалки смесительной емкости 110/210. Лопасти 502а, 502b и 502с можно рассматривать, как равномерно расположенные по окружности 512 с вращения, образованной лопастями 502а, 502b и 502с при их вращении.
[0081] На Фиг. 5С ступица 503 имеет четыре лопасти 503а, 503b, 503с и 503d. Каждая лопасть 503а, 503b, 503с и 503d соединена с наружной поверхностью 513b центральной части 513 ступицы 503. Внутренняя поверхность 513а центральной части 513 упирается и прикрепляется или соединяется с валом 131/231 мешалки смесительной емкости 110/210. Лопасти 503а, 503b, 503с и 503d можно рассматривать, как равномерно расположенные по окружности 513 с вращения, образованной лопастями 503а, 503b, 503d и 503d при их вращении.
[0082] На Фиг. 5D ступица 504 имеет четыре лопасти 504а, 504b, 504с, 504d и 504d. Каждая лопасть 504а, 504b, 504с, 504d и 504е соединена с наружной поверхностью 514b центральной части 514 ступицы 504. Внутренняя поверхность 514а центральной части 514 упирается и прикрепляется или соединяется с валом 131/231 мешалки смесительной емкости 110/210. Лопасти 504а, 504b, 504с, 504d и 505е можно рассматривать, как равномерно расположенные по окружности 514 с вращения, образованной лопастями 504а, 504b, 504d, 504е и 504d при их вращении.
[0083] В аспектах, форма центральных частей 511, 512, 513 и 514 ступиц 501, 502, 503 и 504 может быть любой, таким образом, чтобы внутренние поверхности 511а, 512а, 513а и 514а могли соединяться или прикрепляться к валу мешалки (например, валу 131 или 231 мешалки) и таким образом, чтобы наружные поверхности 511b, 512b, 513b и 514b могли прикрепляться или соединяться с лопастями. На Фиг. 5A-5D проиллюстрированы центральные части 511, 512, 513 и 514 ступиц 501, 502, 503 и 504, имеющие цилиндрическую форму.
[0084] Фиг. 6A-6D предлагаются для описания аспектов изобретения, в которых угол наклона лопасти, прикрепленной к ступице, может быть использован для воздействия на осевой и/или радиальный поток суспензии катализатора в разных местах в смесительных емкостях 110 и 210. Как правило, все лопасти ступицы могут быть прикреплены к ступице под одним и тем же углом наклона, и предполагается, что ступицы с различным наклоном могут быть использованы в комбинации для изменения направления потока суспензии катализатора по высоте смесительной емкости 110/210 таким образом, чтобы свести к минимуму различия в концентрации катализатора в суспензии катализатора в смесительной емкости 110/210. Углы наклона, рассмотренные на Фиг. 6A-6D относятся к направлению вращения, показанному стрелкой R.
[0085] На Фиг. 6А проиллюстрирован вид сбоку лопасти 601, соединенной с центральной частью 602 ступицы 603, без наклона или с углом наклона 0°. Размеры лопасти 601 и центральной части 602 ступицы 603 не соответствуют масштабу, и их относительные размеры не должны ограничиваться видом, проиллюстрированным на Фиг. 6А. Угол между центральной плоскостью Р1, которая проходит через центральную точку 601а лопасти 601, и вертикальной плоскостью V составляет 0°. На Фиг. 6А лопасть 601 представляет собой плоский кусок материала, а центральная плоскость Р1 проходит через центральную точку 601а и через всю лопасть 601. В других конфигурациях лопастей, например, показанных для лопастей 604 и 608 на Фиг. 6С и 6D, центральная плоскость Р1 может проходить через участки лопасти, а не через всю лопасть. Угол наклона 0° способствует радиальному потоку (относительно радиуса смесительной емкости 110/210) суспензии катализатора к сторонам смесительной емкости 110/210.
[0086] На Фиг. 6В проиллюстрирован вид сбоку лопасти 601, соединенной с центральной частью 602 ступицы 600 под углом наклона более 0°. Размеры лопасти 601 и центральной части 602 ступицы 603 не соответствуют масштабу, и их относительные размеры не должны ограничиваться видом, проиллюстрированным на Фиг. 6В. Лопасть 601 проиллюстрирована, как плоский кусок материала на Фиг. 6В. Угол наклона лопасти 601 может быть измерен от центральной точки 601а лопасти 601. Центральная плоскость Р1, по которой измеряется угол наклона θА, проходит через центральную точку 601а и, в случае лопасти 601, которая представляет собой плоский кусок материала, через всю лопасть 601. Угол наклона θА лопасти 601 может находиться в диапазоне от около 5° до 45°; в альтернативном варианте, от около 10° до 35°; в альтернативном варианте, от около 15° до 25°. Угол наклона θА способствует комбинации осевого и радиального потоков катализатора вниз и в стороны в смесительной емкости 110/210.
[0087] На Фиг. 6С проиллюстрирован вид сбоку лопасти 604, соединенной с центральной частью 605 ступицы 606. Размеры лопасти 604 и центральной части 605 ступицы 606 не соответствуют масштабу, и их относительные размеры не должны ограничиваться видом, проиллюстрированным на Фиг. 6С. Лопасть 604 показывает, что описанные в данном документе лопасти могут иметь нечетное количество участков (3, 5, 7, 9 или более участков), соединенных под углами по отношению к соседнему(ним) участку(ам). Лопасть 604 на Фиг. 6С имеет три участка 604b, 604с и 604d. Угол наклона лопасти 604 может быть измерен от центральной точки 604а лопасти 604. Центральная плоскость Р2, по которой измеряется угол наклона θС, проходит через центральную точку 604а и, в случае лопасти 604, через центральный участок 604b лопасти 604 таким образом, чтобы угол между концевыми участками 604c/604d и центральной плоскостью Р2 был равен (центральная плоскость Р2 перпендикулярна плоскости симметрии для лопасти 604). В аспектах, центральная плоскость Р2 может быть перпендикулярна плоскости симметрии для любой многосекционной лопасти, имеющей нечетное количество участков (например, лопасти, имеющей 3, 5, 7, 9 или более участков). Угол наклона θВ лопасти 604 может находиться в диапазоне от около 5° до 45°; в альтернативном варианте, от около 10° до 35°; в альтернативном варианте, от около 15° до 25°. Угол наклона θВ в комбинации с конфигурацией лопасти 604 способствует преимущественно осевому потоку катализатора вниз в смесительной емкости 110/210.
[0088] На Фиг. 6D проиллюстрирован вид сбоку лопасти 607, соединенной с центральной частью 608 ступицы 609. Размеры лопасти 607 и центральной части 608 ступицы 609 не соответствуют масштабу, и их относительные размеры не должны ограничиваться видом, проиллюстрированным на Фиг. 6D. Лопасть 607 показывает, что описанные в данном документе лопасти могут иметь четное количество участков (2, 4, 6 или более участков), соединенных под углами по отношению к соседнему(ним) участку(ам). Лопасть 607 на Фиг. 6D имеет два участка 607b и 607с. Угол наклона лопасти 607 может быть измерен от центральной точки 607а лопасти 607. Центральная плоскость Р3, в которой измеряется угол наклона θC, проходит через центральную точку 607а и, в случае лопасти 607, частично через оба участка 607b и 607с, которые соединены с центральной точкой 607а лопасти 607 таким образом, что угол между участками 604b/604с и центральной плоскостью Р3 равен (центральная плоскость Р3 перпендикулярна плоскости симметрии лопасти 607). В аспектах, центральная плоскость Р3 может быть перпендикулярна плоскости симметрии для любой многосекционной лопасти, имеющей четное количество участков (например, лопасти, имеющей 2, 4, 6, 8 или более участков). Угол наклона θС лопасти 607 может находиться в диапазоне от около 5° до 45°; в альтернативном варианте, от около 10° до 35°; в альтернативном варианте, от около 15° до 25°. Угол наклона θС в комбинации с конфигурацией лопасти 607 способствует преимущественно осевому потоку катализатора вниз в смесительной емкости 110/210.
[0089] В аспектах предполагается, что ступица 132 смесительной емкости 110 на Фиг. 1, 2 и 3А-3Н может иметь лопасти 132а, 132b и 132с конфигурации, проиллюстрированной на Фиг. 6В, 6С или 6D; и ступица 132 может быть использована в комбинации с любой из ступиц 332, 333, 334, 335 и 336, каждая из которых независимо имеет конфигурацию, выбранную из Фиг. 6A-6D. Аналогично, в аспектах предполагается, что ступица 232 смесительной емкости 210 на Фиг. 2 (Фиг. 3А-3Н также применимы для ступицы 232 вместо ступицы 132) может иметь лопасти 232а, 232b и 232с конфигурации, проиллюстрированной на Фиг. 6В, 6С или 6D; и ступица 232 может быть использована в комбинации с любой из ступиц 332, 333, 334, 335 и 336, каждая из которых независимо имеет конфигурацию, выбранную из Фиг. 6A-6D.
[0090] Также в данном документе описан способ перемешивания суспензии катализатора в варианте осуществления системы 100 или 200 приготовления суспензии катализатора, описанной в данном документе. Аспекты способа могут включать приготовление суспензии катализатора, содержащей катализатор в виде твердых частиц и жидкий углеводородный разбавитель, в любом варианте осуществления системы 100 или 200 приготовления суспензии катализатора, описанной в данном документе.
[0091] В некоторых аспектах, суспензию катализатора готовят в смесительной емкости 110. В таких аспектах, приготовление суспензии катализатора может включать подачу твердых частиц катализатора и жидкости-носителя по трубопроводам 111 и 112 в смесительную емкость 110 и перемешивание частиц и жидкости с использованием системы 130 вращающихся крыльчаток с образованием суспензии катализатора в смесительной емкости 110.
[0092] В некоторых аспектах, суспензию катализатора готовят в смесительной емкости 210 и только перемешивают и/или сохраняют в смесительной емкости 110. В таких аспектах, приготовление суспензии катализатора может включать подачу катализатора в виде твердых частиц и жидкости-носителя по трубопроводам 211 и 212 в смесительную емкость 210 и перемешивание частиц и жидкости с использованием системы вращающихся крыльчаток 230 с образованием суспензии катализатора в смесительной емкости 210. Для способа, которым готовят суспензию катализатора в смесительной емкости 210, указанный способ может дополнительно включать поступление через периодические промежутки времени (например, в диапазоне от около 12 до около 72 часов) суспензии катализатора из второй смесительной емкости 210 в первую смесительную емкость 110 в соответствии с методами, описанными в данном документе (например, через клапан и по трубопроводам 111 и 213 на Фиг. 2), и перемешивание суспензии катализатора в смесительной емкости 110. В таких способах, концентрация катализатора в суспензии катализатора обеих смесительных емкостей 110 и 210 приблизительно равна, как описано в данном документе.
[0093] В некоторых аспектах, первую суспензию катализатора готовят в смесительной емкости 110, а вторую суспензию катализатора готовят во второй смесительной емкости 210, причем первая суспензия катализатора отличается от второй суспензии катализатора тем, что концентрация катализатора в первой суспензии катализатора ниже, чем концентрация катализатора во второй суспензии катализатора. В таких аспектах, приготовление суспензии катализатора может включать подачу твердых частиц катализатора и жидкости-носителя по трубопроводам 211 и 212 в смесительную емкость 210 с образованием второй суспензии катализатора, перемешивание частиц и жидкости с использованием системы 230 вращающихся крыльчаток с образованием второй суспензии катализатора в смесительной емкости 210, поступления через периодические промежутки времени (например, в диапазоне от около 12 до около 72 часов) второй суспензии катализатора из второй смесительной емкости 210 в первую смесительную емкость 110 в соответствии с описанными в данной документе методами (например, через клапан и по трубопроводам 111 и 213 на Фиг. 2), подачу жидкости-носителя по трубопроводу 116 в смесительную емкость 110 и перемешивание полученной второй суспензии катализатора с добавленной жидкостью-носителем в смесительной емкости 110 с использованием системы 130 вращающихся крыльчаток с образованием первой суспензии катализатора.
[0094] Аспекты способов могут дополнительно включать подачу суспензии катализатора (например, воплощенной в виде суспензии катализатора или первой суспензии катализатора) из смесительной емкости 110 системы 100 или 200 приготовления суспензии катализатора в реактор 150 полимеризации и приведение в контакт одного или более олефиновых мономеров (например, этилена или пропилена, с необязательным сомономером, например, бутеном, гексеном или октеном) с суспензией катализатора в условиях полимеризации в реакторе 150 полимеризации с получением полиолефина (например, полиэтилена или полипропилена). Такие способы могут дополнительно включать выпуск полиолефина (например, в продукте полимеризации) из реактора 150 полимеризации по трубопроводу 152 выпуска продукта.
ДОПОЛНИТЕЛЬНОЕ ОПИСАНИЕ
[0095] Приведенное ниже описание предлагается в качестве дополнительного описания комбинаций признаков и аспектов данного изобретения.
[0096] Аспект 1 представляет собой систему приготовления суспензии катализатора, включающую первую смесительную емкость, первую систему вращающихся крыльчаток, соединенную с первой смесительной емкостью, и первый двигатель, соединенный с первой системой вращающихся крыльчаток.
[0097] Аспект 2 представляет собой систему по аспекту 1, причем указанная система вращающихся крыльчаток включает первый вал мешалки и первую ступицу, соединенную с первым валом мешалки, причем первая ступица и по меньшей мере часть первого вала мешалки расположены внутри первой смесительной емкости вдоль продольной оси первой смесительной емкости, и при этом первая ступица имеет по меньшей мере три лопасти.
[0098] Аспект 3 представляет собой систему по любому из аспектов 1-2, дополнительно включающую вторую смесительную емкость, вторую систему вращающихся крыльчаток, соединенную со второй смесительной емкостью, и второй двигатель, соединенный со второй системой вращающихся крыльчаток.
[0099] Аспект 4 представляет собой систему по аспекту 3, в которой вторая система вращающихся крыльчаток включает второй вал мешалки и вторую ступицу, соединенную со вторым валом мешалки, причем вторая ступица и по меньшей мере участок второго вала мешалки расположены внутри второй смесительной емкости вдоль продольной оси второй смесительной емкости, при этом вторая ступица имеет по меньшей мере три лопасти, при этом выпускное отверстие второй смесительной емкости соединено с впускным отверстием первой смесительной емкости.
[00100] Аспект 5 представляет собой систему по любому из Аспектов 1-4, дополнительно включающую суспензию первого катализатора в первом резервуаре для перемешивания и суспензию второго катализатора во втором резервуаре для перемешивания, при этом первая концентрация катализатора в виде твердых частиц в суспензии первого катализатора приблизительно равна второй концентрации катализатора в виде твердых частиц во второй суспензии катализатора.
[00101] Аспект 6 представляет собой систему по аспекту 5, в которой вторая концентрация катализатора в виде твердых частиц во второй суспензии катализатора равна или менее чем около 20, 15, 12 или 10 мас. % в пересчете на общую массу второй суспензии катализатора, и при этом первая концентрация твердых частиц катализатора в первой суспензии катализатора равна или менее чем около 20, 15, 12 или 10 мас. % в пересчете на общую массу первой суспензии катализатора.
[00102] Аспект 7 представляет собой систему по аспекту 5, в которой вторая концентрация катализатора в виде твердых частиц во второй суспензии катализатора более чем около 10, 12, 15 или 20 мас. % в пересчете на общую массу второй суспензии катализатора, и при этом первая концентрация твердых частиц катализатора в первой суспензии катализатора равна или менее чем около 20, 15, 12 или 10 мас. % в пересчете на общую массу первой суспензии катализатора.
[00103] Аспект 8 представляет собой систему по любому из аспектов 5-7, в которой катализатор в виде твердых частиц включает хромсодержащий катализатор, катализатор Циглера-Натта или металлоценовый катализатор.
[00104] Аспект 9 представляет собой систему по любому из аспектов 1-8, в которой первая смесительная емкость выполнена с возможностью удержания первого объема первой суспензии катализатора, подходящего для подачи первой суспензии катализатора в реактор полимеризации в течение от 12 до 72 часов.
[00105] Аспект 10 представляет собой систему по любому из аспектов 3-9, в которой вторая смесительная емкость выполнена с возможностью удержания второго объема второй суспензии катализатора, который в четыре-восемь раз превышает первый объем первой суспензии катализатора.
[00106] Аспект 11 представляет собой систему по любому из аспектов 1-10, в которой три лопасти первой ступицы выполнены таким образом, чтобы верхняя сторона или нижняя сторона первой ступицы были вогнутыми.
[00107] Аспект 12 представляет собой систему по любому из аспектов 1-11, в которой первая система вращающихся крыльчаток дополнительно включает одну или более дополнительных ступиц, соединенных с первым валом мешалки, причем каждая из одной или более дополнительных ступиц имеет по меньшей мере две лопасти.
[00108] Аспект 13 представляет собой систему по аспекту 12, в которой первая ступица соединена с первым валом мешалки в верхней половине первой смесительной емкости, а одна или более дополнительных ступиц соединены с первым валом мешалки в нижней половине первой смесительной емкости.
[00109] Аспект 14 представляет собой систему по аспекту 12, в которой первая ступица и одна или более дополнительных ступиц соединены с первым валом мешалки в нижней половине первой смесительной емкости.
[00110] Аспект 15 представляет собой систему по любому из аспектов 12-14, в которой по меньшей мере две лопасти одной или более дополнительных ступиц выполнены таким образом, чтобы верхняя сторона или нижняя сторона дополнительной(их) ступицы(ступиц) были вогнутыми.
[00111] Аспект 16 представляет собой систему по любому из аспектов 12-15, в которой первая ступица расположена над одной или более дополнительными ступицами, и в которой диаметр первой ступицы больше, чем диаметр дополнительной(ых) ступицы(ступиц).
[00112] Аспект 17 представляет собой систему по любому из аспектов 12-15, в которой одна или более дополнительных ступиц включают вторую ступицу и третью ступицу, соединенную с первым валом мешалки, при этом третья ступица имеет по меньшей мере две лопасти.
[00113] Аспект 18 представляет собой систему по аспекту 17, в которой первая ступица соединена с первым валом мешалки в верхней половине первой смесительной емкости, вторая ступица соединена с первым валом мешалки в нижней половине первой смесительной емкости, и третья ступица соединена с первым валом мешалки в нижней половине первой смесительной емкости.
[00114] Аспект 19 представляет собой систему по аспекту 17, в которой первая ступица соединена с первым валом мешалки в верхней части первой смесительной емкости, вторая ступица соединена с первым валом мешалки в средней части первой смесительной емкости, а третья ступица соединена с первым валом мешалки в нижней части первой смесительной емкости.
[00115] Аспект 20 представляет собой систему по аспекту 17, в которой первая ступица, вторая ступица и третья ступица соединены с первым валом мешалки в нижней половине первой смесительной емкости.
[00116] Аспект 21 представляет собой систему по любому из аспектов 17-20, в которой первая ступица расположена над второй ступицей и третьей ступицей, и в которой диаметр первой ступицы больше, чем i) диаметр второй ступицы, ii) диаметр третьей ступицы или iii) диаметр второй ступицы и диаметр третьей ступицы.
[00117] Аспект 22 представляет собой систему по любому из аспектов 17-21, в которой три лопасти первой ступицы выполнены таким образом, чтобы верхняя сторона или нижняя сторона первой ступицы были вогнутыми, при этом по меньшей мере две лопасти второй ступицы выполнены таким образом, чтобы верхняя сторона или нижняя сторона второй ступицы были вогнутыми, и при этом по меньшей мере две лопасти третьей ступицы выполнены таким образом, чтобы верхняя сторона или нижняя сторона третьей ступицы были вогнутыми.
[00118] Аспект 23 представляет собой систему по любому из аспектов 1-22, в которой первый двигатель i) имеет 2, 4, 8, 12 или 16 полюсов, ii) выполнен с возможностью работы с частотой 50 Гц или 60 Гц, iii) выполнен с возможностью работы в условиях без нагрузки при 900, 1200, 1500, 1800, 3000 или 3600 об/мин или iv) комбинация указанного.
[00119] Аспект 24 представляет собой систему по любому из аспектов 3-23, в которой второй двигатель i) имеет 2, 4, 8, 12 или 16 полюсов, ii) выполнен с возможностью работы с частотой 50 Гц или 60 Гц, iii) выполнен с возможностью работы в условиях без нагрузки при 900, 1200, 1500, 1800, 3000 или 3600 об/мин или iv) комбинация указанного.
[00120] Аспект 25 представляет собой способ, включающий приготовление первой суспензии катализатора, содержащей катализатор в виде твердых частиц и жидкость-носитель, в системе приготовления суспензии катализатора по любому из аспектов 1-24.
[00121] Аспект 26 представляет собой способ по аспекту 25, в котором первую суспензию катализатора готовят в первой смесительной емкости системы приготовления суспензии катализатора, причем указанный способ дополнительно включает введение катализатора в виде твердых частиц и жидкости-носителя в первую смесительную емкость и перемешивание катализатора в виде твердых частиц и жидкости-носителя с образованием первой суспензии катализатора в первой смесительной емкости.
[00122] Аспект 27 представляет собой способ по аспекту 25, в котором система приготовления суспензии катализатора имеет первую смесительную емкость и вторую смесительную емкость, причем первую суспензию катализатора готовят во второй смесительной емкости, при этом указанный способ дополнительно включает поступление первой суспензии катализатора из второй смесительной емкости в первую смесительную емкость и перемешивание первой суспензии катализатора в первой смесительной емкости.
[00123] Аспект 28 представляет собой способ по аспекту 25, в котором суспензия катализатора представляет собой первую суспензию катализатора, причем указанный способ дополнительно включает приготовление второй суспензии катализатора, содержащей катализатор в виде твердых частиц и жидкость-носитель, в системе приготовления суспензии катализатора, при этом первую суспензию катализатора готовят в первой смесительной емкости системы приготовления суспензии катализатора, а вторую суспензию катализатора готовят во второй смесительной емкости системы приготовления суспензии катализатора.
[00124] Аспект 29 представляет собой способ по аспекту 28, дополнительно включающий поступление второй суспензии катализатора из второй смесительной емкости в первую смесительную емкость, добавление жидкости-носителя в первую смесительную емкость и перемешивание второй суспензии катализатора и добавленной жидкости-носителя с образованием первой суспензии катализатора.
[00125] Аспект 30 представляет собой способ по любому из аспектов 28-29, в котором первая концентрация катализатора в виде твердых частиц в первой суспензии катализатора ниже, чем вторая концентрация катализатора в виде твердых частиц во второй суспензии катализатора.
[00126] Аспект 31 представляет собой способ по аспекту 30, в котором вторая концентрация катализатора в виде твердых частиц во второй суспензии катализатора равна или менее чем около 20, 15, 12 или 10 мас. % в пересчете на общую массу второй суспензии катализатора, и при этом первая концентрация катализатора в виде твердых частиц в первой суспензии катализатора равна или менее чем около 20, 15, 12 или 10 мас. % в пересчете на общую массу первой суспензии катализатора.
[00127] Аспект 32 представляет собой способ по аспекту 30, в котором вторая концентрация катализатора в виде твердых частиц во второй суспензии катализатора более чем около 10, 12, 15 или 20 мас. % в пересчете на общую массу второй суспензии катализатора, и при этом первая концентрация катализатора в виде твердых частиц в первой суспензии катализатора равна или менее чем около 20, 15, 12 или 10 мас. % в пересчете на общую массу первой суспензии катализатора.
[00128] Аспект 33 представляет собой способ по любому из аспектов 30-32, в котором катализатор в виде твердых частиц включает хромсодержащий катализатор, катализатор Циглера-Натта или металлоценовый катализатор.
[00129] Аспект 34 представляет собой способ по любому из аспектов 25-33, дополнительно включающий поступление первой суспензии катализатора из первой смесительной емкости системы приготовления суспензии катализатора в реактор полимеризации; и приведение в контакт одного или более олефинов с первой суспензией катализатора в условиях полимеризации в реакторе полимеризации.
[00130] Хотя варианты осуществления изобретения были проиллюстрированы и описаны, в них могут быть сделаны модификации без отклонения от сущности и объема изобретения. Варианты осуществления изобретения и примеры, описанные в данном документе, являются только иллюстративными и не предназначены для ограничения. Возможны многие вариации и модификации раскрытого в данном документе изобретения, которые входят в объем изобретения.
[00131] Раскрыт по меньшей мере один вариант осуществления изобретения, и вариации, комбинации и/или модификации варианта(ов) осуществления изобретения и/или признаки варианта(ов) осуществления изобретения, произведенные специалистом в данной области техники, входят в объем данного изобретения. Альтернативные варианты осуществления изобретения, полученные в результате комбинирования, объединения или опущения признаков варианта(ов) осуществления изобретения, также входят в объем данного изобретения. В случаях, когда числовые диапазоны или ограничения указаны конкретно, такие конкретные диапазоны или ограничения следует понимать, как включающие повторяющиеся диапазоны или ограничения со сходной величиной, входящие в конкретно указанные диапазоны или ограничения (например, от около 1 до около 10 включает 2, 3, 4, 5, 6, …; более 0,10 включает 0,11, 0,12, 0,13, 0,14, 0,15, …). Например, в случаях, когда описывается числовой диапазон с нижним пределом Rl и верхним пределом Ru, любое число, попадающее в данный диапазон, раскрывается конкретно. В частности, конкретно раскрыты следующие числа в пределах диапазона: R=Rl+k* (Ru-Rl), где k представляет собой переменную в диапазоне от 1 процента до 100 процентов с приращением в 1 процент, т.е. к равен 1 проценту, 2 процентам, 3 процентам, 4 процентам, 5 процентам, … 50 процентам, 51 проценту, 52 процентам, … 95 процентам, 96 процентам, 97 процентам, 98 процентам, 99 процентам или 100 процентам. Кроме того, любой числовой диапазон, задаваемый двумя числами R, определенными выше, также раскрывается конкретно. Использование термина «необязательно» в отношении любого элемента формулы изобретения означает, что элемент требуется, или, в альтернативном варианте, элемент не требуется, причем оба альтернативных варианта входят в пределы объема формулы изобретения. Использование более широких терминов, например, «содержит», «включает» и «имеющий» следует понимать, как обеспечение обоснования для более узких терминов, например, «состоящий из», «по существу состоящий из» и «состоящий в основном из».
[00132] Соответственно, объем правовой охраны не ограничен описанием, изложенным выше, а определен нижеследующей формулой изобретения, причем этот объем включает все аналоги объекта изобретения, указанные в формуле изобретения. Все без исключения пункты формулы изобретения включены в описание в виде аспектов данного изобретения. Таким образом, формула изобретения представляет собой дополнительное описание и является дополнением к подробному описанию данного изобретения.
| название | год | авторы | номер документа |
|---|---|---|---|
| ДОСТАВКА КАТАЛИЗАТОРА ПОЛИМЕРИЗАЦИИ | 2018 |
|
RU2762062C2 |
| МНОГОРЕАКТОРНАЯ И МНОГОЗОНАЛЬНАЯ ПОЛИМЕРИЗАЦИЯ ПОЛИОЛЕФИНА | 2019 |
|
RU2781189C1 |
| СПОСОБ ОПРЕДЕЛЕНИЯ КОНЦЕНТРАЦИИ СОЕДИНЕНИЯ ПЕРЕХОДНОГО МЕТАЛЛА В МНОГОКОМПОНЕНТНОЙ ЖИДКОЙ СИСТЕМЕ | 2019 |
|
RU2768933C1 |
| УГЛОВЫЕ И ГОРИЗОНТАЛЬНЫЕ КОНСТРУКЦИИ В ПЕТЛЕВОМ РЕАКТОРЕ | 2015 |
|
RU2681912C2 |
| СПОСОБ ПОЛИМЕРИЗАЦИИ ЭТИЛЕНА С УСОВЕРШЕНСТВОВАННОЙ СИСТЕМОЙ ПОДАЧИ ЭТИЛЕНА | 2015 |
|
RU2658836C1 |
| СПОСОБ ПРЕВРАЩЕНИЯ ДИМЕТИЛСУЛЬФИДА В МЕТИЛМЕРКАПТАН | 2017 |
|
RU2717827C1 |
| СИСТЕМЫ И СПОСОБЫ ГИДРАТАЦИИ | 2015 |
|
RU2685307C2 |
| СПОСОБЫ ОПРЕДЕЛЕНИЯ КОНЦЕНТРАЦИЙ СОЕДИНЕНИЙ ПЕРЕХОДНЫХ МЕТАЛЛОВ В МНОГОКОМПОНЕНТНЫХ ЖИДКИХ СИСТЕМАХ | 2018 |
|
RU2775371C1 |
| ТЕХНОЛОГИЯ НЕПРЕРЫВНОГО ОТВОДА И РЕГУЛИРОВАНИЕ ДАВЛЕНИЯ В РЕАКТОРАХ ПОЛИМЕРИЗАЦИИ | 2011 |
|
RU2536204C2 |
| СЖИМАЕМЫЙ ЖИДКИЙ РАЗБАВИТЕЛЬ ДЛЯ ПОЛИМЕРИЗАЦИИ ПОЛИОЛЕФИНОВ | 2011 |
|
RU2588142C2 |
Изобретение относится к способу приготовления суспензии катализатора. Способ включает: приготовление первой суспензии катализатора, содержащей катализатор в виде твердых частиц и жидкость-носитель в системе приготовления суспензии катализатора, где катализатор в виде твердых частиц включает хромсодержащий катализатор, катализатор Циглера-Натта или металлоценовый катализатор. Причем система приготовления суспензии катализатора включает: смесительную емкость, систему вращающихся крыльчаток, соединенную со смесительной емкостью, и двигатель, соединенный с системой вращающихся крыльчаток, при этом система вращающихся крыльчаток включает вал мешалки и первую ступицу, соединенную с валом мешалки, причем первая ступица и по меньшей мере часть вала мешалки расположены внутри смесительной емкости вдоль продольной оси смесительной емкости, и при этом первая ступица имеет по меньшей мере три лопасти; подачу первой суспензии катализатора из смесительной емкости системы приготовления суспензии катализатора в реактор полимеризации; и приведение в контакт одного или более олефинов с первой суспензией катализатора в условиях полимеризации в реакторе полимеризации. Также изобретение относится к системе. Изобретение позволяет эффективно поддерживать концентрацию катализатора в реакторах. 2 н. и 18 з.п. ф-лы, 16 ил.
1. Способ, включающий: приготовление первой суспензии катализатора, содержащей катализатор в виде твердых частиц и жидкость-носитель в системе приготовления суспензии катализатора, где катализатор в виде твердых частиц включает хромсодержащий катализатор, катализатор Циглера-Натта или металлоценовый катализатор, причем система приготовления суспензии катализатора включает: смесительную емкость, систему вращающихся крыльчаток, соединенную со смесительной емкостью, и двигатель, соединенный с системой вращающихся крыльчаток, при этом система вращающихся крыльчаток включает вал мешалки и первую ступицу, соединенную с валом мешалки, причем первая ступица и по меньшей мере часть вала мешалки расположены внутри смесительной емкости вдоль продольной оси смесительной емкости, и при этом первая ступица имеет по меньшей мере три лопасти; подачу первой суспензии катализатора из смесительной емкости системы приготовления суспензии катализатора в реактор полимеризации; и приведение в контакт одного или более олефинов с первой суспензией катализатора в условиях полимеризации в реакторе полимеризации.
2. Способ по п. 1, отличающийся тем, что смесительная емкость представляет собой первую смесительную емкость, причем указанный способ дополнительно включает: приготовление второй суспензии катализатора, содержащей катализатор в виде твердых частиц и жидкость-носитель в системе приготовления суспензии катализатора, причем система приготовления суспензии катализатора дополнительно включает: вторую смесительную емкость, вторую систему вращающихся крыльчаток, соединенную со второй смесительной емкостью, и второй двигатель, соединенный со второй системой вращающихся крыльчаток, при этом вторая система вращающихся крыльчаток включает второй вал мешалки и вторую ступицу, соединенную со вторым валом мешалки, причем вторая ступица и по меньшей мере часть второго вала мешалки расположены внутри второй смесительной емкости вдоль продольной оси второй смесительной емкости, при этом вторая ступица имеет три лопасти, при этом выход второй смесительной емкости соединен со входом первой смесительной емкости.
3. Способ по п. 2, отличающийся тем, что первая концентрация катализатора в виде твердых частиц в первой суспензии катализатора приблизительно равна второй концентрации катализатора в виде твердых частиц во второй суспензии катализатора.
4. Способ по п. 3, отличающийся тем, что вторая концентрация катализатора в виде твердых частиц во второй суспензии катализатора равна или менее чем около 10 мас.% в пересчете на общую массу второй суспензии катализатора.
5. Способ по любому из пп. 2-4, отличающийся тем, что первая смесительная емкость выполнена с возможностью удержания первого объема первой суспензии катализатора, подходящего для подачи первой суспензии катализатора в реактор полимеризации в течение 12-72 часов, и при этом вторая смесительная емкость выполнена с возможностью удержания второго объема второй суспензии катализатора, который в четыре-восемь раз превышает первый объем первой суспензии катализатора.
6. Способ по любому из пп. 1-5, отличающийся тем, что три лопасти первой ступицы выполнены таким образом, чтобы верхняя сторона или нижняя сторона первой ступицы были вогнутыми.
7. Способ по любому из пп. 1-6, отличающийся тем, что система вращающихся крыльчаток дополнительно включает вторую ступицу, соединенную с валом мешалки, причем вторая ступица имеет по меньшей мере две лопасти.
8. Способ по п. 7, отличающийся тем, что первая ступица соединена с валом мешалки в верхней половине смесительной емкости, а вторая ступица соединена с валом мешалки в нижней половине смесительной емкости.
9. Способ по п. 7, отличающийся тем, что первая ступица и вторая ступица соединены с валом мешалки в нижней половине смесительной емкости.
10. Способ по п. 7, отличающийся тем, что по меньшей мере две лопасти второй ступицы выполнены таким образом, чтобы верхняя сторона или нижняя сторона второй ступицы были вогнутыми.
11. Способ по п. 7, отличающийся тем, что первая ступица расположена над второй ступицей, и при этом диаметр первой ступицы больше диаметра второй ступицы.
12. Способ по п. 7, отличающийся тем, что система вращающихся крыльчаток дополнительно включает третью ступицу, которая соединена с валом мешалки, причем третья ступица имеет по меньшей мере две лопасти.
13. Способ по п. 12, отличающийся тем, что первая ступица соединена с валом мешалки в верхней половине смесительной емкости, вторая ступица соединена с валом мешалки в нижней половине смесительной емкости, и третья ступица соединена с валом мешалки в нижней половине смесительной емкости.
14. Способ по п. 12, отличающийся тем, что первая ступица соединена с валом мешалки в верхней части смесительной емкости, вторая ступица соединена с валом мешалки в средней части смесительной емкости, а третья ступица соединена с валом мешалки в нижней части смесительной емкости.
15. Способ по п. 12, отличающийся тем, что первая ступица, вторая ступица и третья ступица соединены с валом мешалки в нижней половине смесительной емкости.
16. Способ по п. 12, отличающийся тем, что первая ступица расположена над второй ступицей и третьей ступицей, и при этом диаметр первой ступицы больше, чем i) диаметр второй ступицы, ii) диаметр третьей ступицы или iii) диаметр второй ступицы и диаметр третьей ступицы.
17. Способ по п. 12, отличающийся тем, что три лопасти первой ступицы выполнены таким образом, чтобы верхняя сторона или нижняя сторона первой ступицы были вогнутыми, при этом по меньшей мере две лопасти второй ступицы выполнены таким образом, чтобы верхняя сторона или нижняя сторона второй ступицы были вогнутыми, и при этом по меньшей мере две лопасти третьей ступицы выполнены таким образом, чтобы верхняя сторона или нижняя сторона третьей ступицы были вогнутыми.
18. Система приготовления суспензии катализатора для использования в способе по любому из пп. 1-17, включающая: смесительную емкость; суспензию катализатора, содержащую катализатор в виде твердых частиц и жидкость-носитель в смесительной емкости где катализатор в виде твердых частиц включает хромсодержащий катализатор, катализатор Циглера-Натта или металлоценовый катализатор; систему вращающихся крыльчаток, соединенную со смесительной емкостью; и двигатель, соединенный с системой вращающихся крыльчаток, причем указанная система вращающихся крыльчаток включает вал мешалки, по меньшей мере часть которого расположена внутри смесительной емкости вдоль продольной оси смесительной емкости, первую ступицу, соединенную с валом мешалки, и, необязательно, вторую ступицу, соединенную с валом мешалки, причем первая ступица имеет три лопасти, при этом система вращающихся крыльчаток выполнена с возможностью перемешивания суспензии катализатора в смесительной емкости.
| US 9273157 B2, 01.03.2016 | |||
| EA 200801545 A1, 27.02.2009 | |||
| Приспособление для последнего зимнего лова при помощи невода на постоянных тонях | 1928 |
|
SU15826A1 |
Авторы
Даты
2025-01-10—Публикация
2021-03-17—Подача