УСТРОЙСТВО ДЛЯ ГЕНЕРИРОВАНИЯ АЭРОЗОЛЯ Российский патент 2025 года по МПК A24F40/465 

Описание патента на изобретение RU2833148C2

Область техники

[1] Варианты осуществления изобретения относятся к устройству для генерирования аэрозоля, в частности, к устройству для генерирования аэрозоля, в которое может быть плавно вставлено изделие для генерирования аэрозоля.

Предшествующий уровень техники

[2] В последнее время возрос спрос на альтернативные способы преодоления недостатков традиционных сигарет. Например, растет потребность в устройстве для генерирования аэрозоля, генерирующем аэрозоль за счет нагревания материала для генерирования аэрозоля, а не за счет сгорания сигареты. В связи с этим активно проводились исследования устройства для генерирования аэрозоля нагревательного типа.

[3] Способы, которыми устройства для генерирования аэрозоля нагревают изделие для генерирования аэрозоля, можно разделить на способ резистивного нагрева и способ индукционного нагрева. Индукционное устройство для генерирования аэрозоля содержит нагреватель, расположенный внутри или вокруг изделия для генерирования аэрозоля и выполненный с возможностью генерирования тепла под действием внешнего магнитного поля.

Сущность изобретения

Техническая задача

[4] В индукционном устройстве для генерирования аэрозоля, выполненном с возможностью нагрева периферийной области изделия для генерирования аэрозоля, нагреватель содержит пространство для размещения, в которое помещено изделие для генерирования аэрозоля. В этом случае в процессе введения изделия для генерирования аэрозоля в пространство для размещения нагревателя трение о внутреннюю стенку нагревателя может привести к неравномерному введению изделия для генерирования аэрозоля в нагреватель или его повреждению.

[5] Соответственно, техническая задача, решаемая предложенными вариантами осуществления изобретения, заключается в разработке устройства для генерирования аэрозоля, в которое можно плавно вводить изделие для генерирования аэрозоля.

[6] Техническая задача, решаемая предложенными вариантами осуществления изобретения, не ограничивается вышеупомянутой задачей, и другие задачи, не упомянутые в настоящем документе, могут быть очевидны специалистам в данной области техники из настоящего описания и сопроводительных чертежей.

Техническое решение

[7] Устройство для генерирования аэрозоля согласно одному из вариантов осуществления изобретения содержит нагреватель, содержащий пространство для размещения, в которое вставлено изделие для генерирования аэрозоля, и катушку, выполненную с возможностью нагрева нагревателя путем генерирования магнитного поля, причем нагреватель содержит первую область, соприкасающуюся с изделием для генерирования аэрозоля, и вторую область, проходящую, по меньшей мере, от одного из двух концов первой области в направлении от центра пространства для размещения.

[8] Технические решения не ограничиваются этим и могут содержать все вопросы, которые могут быть определены специалистами в данной области техники на основании настоящего описания.

Полезные эффекты изобретения

[9] В устройстве для генерирования аэрозоля согласно вариантам осуществления изобретения даже изделие для генерирования аэрозоля, введенное с наклоном относительно предварительно определенного направления введения, можно плавно вставить в устройство для генерирования аэрозоля.

[10] Полезные эффекты вариантов осуществления изобретения не ограничиваются вышеупомянутым описанием и могут включать любые эффекты, которые могут быть получены из описанных ниже конфигураций.

Описание чертежей

[11] На ФИГ.1 схематично изображен разрез устройства для генерирования аэрозоля согласно одному из вариантов осуществления изобретения.

[12] На ФИГ.2 в аксонометрии изображен нагреватель и изолятор устройства для генерирования аэрозоля согласно варианту осуществления изобретения, изображенному на ФИГ.1.

[13] На ФИГ.3 изображен покомпонентный вид нагревателя и изолятора устройства для генерирования аэрозоля согласно варианту осуществления изобретения, изображенному на ФИГ.2.

[15] На ФИГ.4А изображен разрез нагревателя и изолятора устройства для генерирования аэрозоля согласно варианту осуществления изобретения, изображенному на ФИГ.2.

[16] На ФИГ.4В изображен увеличенный вид части разрезов нагревателя и изолятора устройства для генерирования аэрозоля согласно варианту осуществления изобретения, изображенному на ФИГ.3.

[17] На ФИГ.5 изображен вид в аксонометрии нагревателя устройства для генерирования аэрозоля согласно другому варианту осуществления изобретения.

[18] На ФИГ.6 изображен покомпонентный вид нагревателя устройства для генерирования аэрозоля согласно варианту осуществления изобретения, изображенному на ФИГ.5.

[19] На ФИГ.7 изображен разрез нагревателя устройства для генерирования аэрозоля согласно варианту осуществления изобретения, изображенному на ФИГ.5.

[20] На ФИГ.8 изображен вид в аксонометрии нагревателя устройства для генерирования аэрозоля согласно другому варианту осуществления изобретения.

[21] На ФИГ.9 изображен разрез нагревателя устройства для генерирования аэрозоля согласно варианту осуществления изобретения, изображенному на ФИГ.8.

[22] На ФИГ.10 схематично изображен пример изделия для генерирования аэрозоля.

[23] На ФИГ.11 схематично изображен другой пример изделия для генерирования аэрозоля.

[24] На ФИГ.12 схематично изображен другой пример изделия для генерирования аэрозоля.

[25] На ФИГ.13 изображена блок-схема устройства для генерирования аэрозоля согласно другому варианту осуществления изобретения.

Лучший вариант осуществления изобретения

[26] Устройство для генерирования аэрозоля согласно одному из вариантов осуществления изобретения содержит: нагреватель, содержащий пространство для размещения, предназначенное для размещения изделия для генерирования аэрозоля; и катушку, выполненную с возможностью нагрева нагревателя путем генерирования магнитного поля, в котором нагреватель содержит первую область, расположенную с возможностью контакта с изделием для генерирования аэрозоля, и вторую область, расположенную, по меньшей мере, на одном из двух концов первой области и проходящую в направлении от центра пространства для размещения.

[27] Первая область может содержать выступающую часть, выступающую в направлении от центра пространства для размещения.

[28] Первая область может содержать выступающую часть, выступающую в направлении от центра пространства для размещения, и устройство для генерирования аэрозоля может дополнительно содержать датчик температуры, расположенный на выступающей части и выполненный с возможностью определения температуры нагревателя.

[29] Устройство для генерирования аэрозоля может дополнительно содержать изолятор, соединенный, по меньшей мере, с частью второй области и выполненный с возможностью предотвращения передачи тепла от нагревателя наружу.

[30] Устройство для генерирования аэрозоля может дополнительно содержать изолятор, соединенный со второй областью, соприкасающийся с частью концевой части второй области и не соприкасающийся с оставшейся частью концевой части второй области, и выполненный с возможностью предотвращения передачи тепла из второй области наружу.

[31] Поверхность второй области может содержать материал, препятствующий рассеиванию тепла от нагревателя.

[32] Вторая область может быть соединена с первой областью с возможностью разъединения и содержать материал, отличающийся от материала первой области.

[33] Поверхность, определяемая кромкой концевой части второй области, может быть наклонена относительно направления, перпендикулярного направлению, в котором ориентировано пространство для размещения.

[34] Нагреватель для устройства для генерирования аэрозоля согласно одному из вариантов осуществления изобретения может содержать пространство для размещения изделия для генерирования аэрозоля, первую область, соприкасающуюся с изделием для генерирования аэрозоля, и вторую область, расположенную по меньшей мере на одном из двух концов первой области. и проходящую в направлении от центра пространства для размещения.

[35] Первая область может содержать выступающую часть, выступающую в направлении от центра пространства для размещения.

[36] Поверхность второй области может содержать материал, препятствующий рассеиванию тепла от нагревателя.

[37] Вторая область может быть соединена с первой областью с возможностью разъединения и содержать материал, отличающийся от материала первой области.

[38] Поверхность, определяемая кромкой концевой части второй области, может быть наклонена относительно направления, перпендикулярного направлению, в котором ориентировано пространство для размещения.

Принцип изобретения

[39] Общие термины, использованные для описания различных вариантов осуществления изобретения и широко используемые в настоящее время, выбраны с учетом функции конструктивных элементов, примененных в различных вариантах осуществления настоящего изобретения. Тем не менее значения терминов могут быть изменены в соответствии с намерением, судебным прецедентом, появлением новых технологий и т.п. Кроме того, в некоторых случаях может быть применен обычно не используемый термин. Значение таких терминов подробно описывается в соответствующей части описания настоящего изобретения. Следовательно, термины, использованные в различных вариантах осуществления настоящего изобретения, следует понимать согласно значениям и объяснениям, приведенным в описании настоящего изобретения.

[40] При этом, если прямо не указано обратное, слово «содержать» и его формы, такие как «содержит» или «содержащий», будет пониматься как подразумевающее включение указанных элементов в состав чего-либо, но не как исключение любых других элементов. Кроме того, термины, обозначающие «блок», «часть» и «модуль», представленные в описании изобретения, означают блоки для обработки по меньшей мере одной функции и операции и могут быть реализованы компонентами аппаратного или программного обеспечения, а также их комбинациями.

[41] Использованные здесь выражения, такие как «по меньшей мере один из», когда они предшествуют перечню элементов, определяют весь перечень элементов и не определяют отдельные элементы перечня. Например, выражение «по меньшей мере один из a, b и c» следует понимать как включение только a, только b, только c, a и b, a и c, b и c или a, b и c.

[42] Кроме того, термины, включающие порядковые номера, такие как «первый» или «второй», используемые в настоящем описании, могут использоваться для описания различных компонентов, но компоненты не ограничиваются данными терминами. Эти термины используются исключительно для отличения одного компонента от другого.

[43] В рамках описания «устройство для генерирования аэрозоля» может обозначать устройство, выполненное с возможностью генерирования аэрозоля с помощью изделия для генерирования аэрозоля таким образом, чтобы пользователь мог непосредственно вдыхать аэрозоль в легкие через рот.

[44] В описании «изделие для генерирования аэрозоля» обозначает изделие, используемое для курения. Например, изделие для генерирования аэрозоля может представлять собой обычную сигарету сгораемого типа, используемую в способе воспламенения и сгорания, или сигарету нагревательного типа, используемую в способе нагрева устройством для генерирования аэрозоля. В другом примере изделие для генерирования аэрозоля может представлять собой изделие, используемое в способе нагревания жидкости, содержащейся в картридже.

[45] Далее настоящее изобретение описано более подробно со ссылкой на прилагаемые чертежи, на которых иллюстративные варианты осуществления настоящего изобретения показаны таким образом, что специалист в данной области техники сможет легко понять настоящее изобретение. Тем не менее изобретение может быть реализовано во многих различных формах, и его не следует рассматривать как ограниченное изложенными здесь вариантами осуществления изобретения.

[46] Здесь и далее варианты осуществления изобретения будут подробно описаны со ссылкой на чертежи.

[46] На ФИГ.1 схематично изображен разрез устройства 100 для генерирования аэрозоля согласно одному из вариантов осуществления изобретения.

[47] Как показано на ФИГ.1, устройство 100 для генерирования аэрозоля может содержать контроллер 110, аккумулятор 120, нагреватель 130, катушку 140, датчик 150 температуры и изолятор 160. Компоненты, компоновки, формы и прочие подобные характеристики устройства 100 для генерирования аэрозоля, показанные на ФИГ.1, являются лишь примерами, и различные варианты осуществления изобретения, применимые к устройству 100 для генерирования аэрозоля, не ограничиваются описанием в настоящем описании.

[48] Контроллер 110 может управлять всеми операциями устройства 100 для генерирования аэрозоля. В одном из вариантов осуществления изобретения контроллер 110 может содержать по меньшей мере один процессор. Процессор может быть реализован как массив из множества логических элементов или как комбинация микропроцессора общего назначения и памяти, выполненная с возможностью хранения программы, исполняемой микропроцессором. Специалистам в данной области техники будет понятно, что процессор может быть также выполнен в виде других типов аппаратных средств.

[49] Контроллер 110 может управлять температурой нагревателя 130 путем управления подачей питания от аккумулятора 120 на катушку 140. Например, контроллер 110 может управлять подачей питания путем управления переключением переключающего элемента между аккумулятором 120 и катушкой 140.

[50] Контроллер 110 может анализировать результат, полученный датчиком 150 температуры, и управлять операциями обработки, которые будут выполняться позже. Например, контроллер 110 может управлять питанием, подаваемым на катушку 140, для запуска или прекращения работы катушки 140 на основании результатов, полученных датчиком 150 температуры. В другом примере, на основании результата, полученного датчиком 150 температуры, контроллер 110 может управлять количеством питания, подаваемого на катушку 140, и временем подачи питания, что позволяет нагревать нагреватель 130 до определенной температуры или поддерживать соответствующую температуру.

[51] Аккумулятор 120 может подавать питание, необходимое для работы устройства 100 для генерирования аэрозоля. Например, аккумулятор 120 может подавать на катушку 140 питание, позволяющее нагревать нагреватель 130. Кроме того, аккумулятор 120 может подавать питание, необходимое для работы других компонентов (например, датчика 150 температуры), входящих в состав устройства 100 для генерирования аэрозоля. Аккумулятор 120 может представлять собой перезаряжаемый или одноразовый аккумулятор. Например, аккумулятор 120 может представлять собой литий-полимерный (LiPoly) аккумулятор или иной аккумулятор.

[52] Нагреватель 130 может нагревать изделие 200 для генерирования аэрозоля путем генерирования тепла под действием переменного магнитного поля, приложенного снаружи. Устройство 100 для генерирования аэрозоля может генерировать аэрозоль путем индукционного нагрева изделия 200 для генерирования аэрозоля, помещенного в устройство 100 для генерирования аэрозоля.

[53] В частности, индукционный способ может представлять собой способ приложения переменного магнитного поля, периодически меняющего свое направление, к магнитному веществу, выделяющему тепло под действием внешнего магнитного поля.

[54] При воздействии переменного магнитного поля на магнитное вещество в магнитном веществе могут иметь место потери энергии на вихревые токи и гистерезис, и энергия потерь может высвобождаться из магнитного вещества в форме тепловой энергии. Чем больше амплитуда или частота переменного магнитного поля, приложенного к магнитному веществу, тем больше тепловой энергии может быть выделено из магнитного вещества. Тепловую энергию можно отводить от магнитного вещества посредством переменного магнитного поля, приложенного к магнитному веществу, и тепловая энергия, отводимая от магнитного вещества, может быть передана на изделие для генерирования аэрозоля.

[55] По меньшей мере, часть нагревателя 130 может содержать ферромагнитное вещество. Например, нагреватель 130 может содержать металл или углерод. В состав нагревателя 130 может входить феррит и/или ферромагнитный сплав и/или нержавеющая сталь и/или алюминий (Al). В дополнение к этому, нагреватель 130 может содержать, по меньшей мере, один из следующих материалов: графит, молибден, карбид кремния, ниобий, никелевый сплав, металлическую пленку, керамику, например, диоксид циркония, переходный металл, например, никель (Ni) или кобальт (Co), а также металлоид, например бор (B) или фосфор (P).

[56] Нагреватель 130 может содержать первую область 131 и вторую область 132. Первая область 131 может содержать пространство 131a для размещения, в которое помещают по меньшей мере часть изделия 200 для генерирования аэрозоля. Форма первой области 131 не ограничена при условии, что первая область 131 может содержать пространство 131a для размещения, способное вмещать изделие 200 для генерирования аэрозоля. Например, первая область 131 может иметь форму трубки, и находящееся в ней пространство 131a для размещения также может иметь форму трубки.

[57] В другом примере две концевые части первой области 131 имеют форму трубки, и центральная часть первой области 131 может иметь форму, в которой несколько листов отделены друг от друга и ориентированы параллельно продольному направлению первой области 131 для соединения двух концевых частей первой области 131. В данном случае продольное направление первой области 131 может соответствовать направлению, в котором ориентирована первая область 131, и направлению с относительно большей длиной.

[58] Когда изделие 200 для генерирования аэрозоля введено в пространство 131 для размещения, первая область 131 может соприкасаться с изделием 200 для генерирования аэрозоля. Например, когда изделие 200 для генерирования аэрозоля, имеющее цилиндрическую форму, размещено в пространстве 131a для размещения, первая область 131 может иметь форму, окружающую внешний контур изделия 200 для генерирования аэрозоля, а также иную форму. В другом примере первая область 131 может быть расположена таким образом, чтобы при размещении изделия 200 для генерирования аэрозоля в пространстве 131a для размещения часть первой области 131 окружала, по меньшей мере, часть изделия 200 для генерирования аэрозоля, и оставшаяся часть первой области 131 может быть расположена на некотором удалении от изделия 200 для генерирования аэрозоля.

[59] Первая область 131 может содержать выступающую часть 133, выступающую в направлении от центра пространства 131a для размещения. Например, первая область 131 может иметь форму трубки, и выступающая часть 133 может представлять собой часть первой области 131, проходящую в продольном направлении первой области 131 и может иметь толщину, превышающую толщину оставшейся части первой области 131.

[60] Выступающая часть 133 может быть выполнена как единое целое с первой областью 131. Например, первая область 131 может быть изготовлена из единого листа, содержащего магнитное вещество, и более толстая часть единого листа может представлять собой выступающую часть 133. Выступающая часть 133 может быть сформирована путем удаления части первой области 131 единого листа травлением или механической обработкой. Варианты осуществления изобретения не ограничиваются способом формирования выступающей части 133. Например, выступающая часть 133 может быть изготовлена независимо от первой области 131 и соединена с внешней стороной первой области 131. Выступающая часть 133 может быть соединена с первой областью 131 при помощи сварки, клея или иного соединительного инструмента, например, болта или заклепки.

[61] Поскольку толщина выступающей части 133 отличается от толщины оставшейся части первой области 131, то при проникновении переменного магнитного поля в нагреватель 130 магнитные силовые линии могут быть сконцентрированы неравномерно. Соответственно, часть первой области 131, в которой находится выступающая часть 133, может нагреваться до температуры, отличающейся от температуры части первой области 131, в которой отсутствует выступающая часть 133. Таким образом, нагреватель 130 при необходимости может нагревать части изделия 200 для генерирования аэрозоля, размещенные в пространстве 131a для размещения, до различных температур.

[62] Вторая область 132 может быть расположена в концевой части первой области 131 и проходить в направлении от центра пространства 131a для размещения. Хотя на ФИГ. 1 показано, что вторая область 132 расположена на обоих концах первой области 131, вторая область 132 может быть расположена только на одной концевой части первой области 131, в которой изделие 200 для генерирования аэрозоля входит в пространство 131a для размещения.

[63] Как показано пунктирными линиями на ФИГ.1, изделие 200 для генерирования аэрозоля может быть вставлено в пространство 131a для размещения с наклоном относительно направления, в котором ориентировано пространство 131a для размещения. В данном случае вторая область 132 может проходить в направлении от центра пространства 131a для размещения, тем самым направляя изделие 200 для генерирования аэрозоля, вставленное под наклоном, с целью плавного введения в центр пространства 131a для размещения.

[64] Вторая область 132 может быть изогнута в направлении от центра пространства 131a для размещения, направляя изделие 200 для генерирования аэрозоля с целью его плавного введения, но не ограничивается этим вариантом. Например, вторая область 132 может иметь форму фаски, ориентированной в направлении от пространства 131a для размещения.

[65] Первая область 131 и вторая область 132 могут быть сформированы как единое целое. Например, первая область 131 и вторая область 132 могут быть изготовлены с использованием единого листа, содержащего магнитное вещество, но не ограничиваются этим вариантом. Первая область 131 и вторая область 132 могут быть изготовлены отдельно и соединены друг с другом с возможностью разъединения.

[66] Катушка 140 может прилагать переменное магнитное поле к нагревателю 130. Иными словами, если на катушку 140 подают питание, в катушке 140 может быть образовано магнитное поле. Когда переменный ток подают на катушку 140, направление магнитного поля, образованного в катушке 140, может периодически меняться. Если нагреватель 130 расположен в катушке 140 и подвергается воздействию переменного магнитного поля, периодически меняющего свое направление, нагреватель 130 может генерировать тепло, вследствие чего изделие 200 для генерирования аэрозоля, размещенное в нагревателе 130, может нагреваться.

[67] Катушка 140 может быть расположена в месте, подходящем для приложения переменного магнитного поля к катушке 140. Например, нагреватель 130 может быть расположен напротив изделия 200 для генерирования аэрозоля, и катушка 140 может быть расположена снаружи нагревателя 130. Таким образом, эффективность приложения переменного магнитного поля катушки 140 к нагревателю 130 может быть повышена вследствие размера и расположения катушки 140.

[68] Когда амплитуда или частота переменного магнитного поля, сгенерированного катушкой 140, изменяется, может также изменяться степень нагрева изделия 200 для генерирования аэрозоля нагревателем 130. Амплитуда или частота магнитного поля, генерируемого катушкой 140, может изменяться под действием питания, подаваемого на катушку 140. Таким образом, устройство 100 для генерирования аэрозоля может управлять нагревом изделия 200 для генерирования аэрозоля, регулируя подачу питания на катушку 140. Например, устройство 100 для генерирования аэрозоля может управлять амплитудой и частотой переменного тока, подаваемого на катушку 140.

[69] Например, катушка 140 может быть реализована в виде электромагнита. Катушка 140 может содержать электромагнит, намотанный вдоль внешней поверхности пространства 131a для размещения нагревателя 130, и нагреватель 130 и изделие 200 для генерирования аэрозоля могут быть расположены во внутреннем пространстве электромагнита. Обмотка электромагнита может содержать медь (Cu). Тем не менее, материал обмотки электромагнита не ограничивается этим вариантом и может представлять собой сплав, содержащий серебро (Ag) и/или золото (Au) и/или алюминий (Al) и/или вольфрам (W) и/или цинк (Zn) и/или никель (Ni).

[70] Как показано на ФИГ.1, датчик 150 температуры может вступать в контакт с нагревателем 130. Датчик 150 температуры может определять температуру, до которой нагревают нагреватель 130. Датчик 150 температуры может быть соединен с контроллером 110 и передавать результат определения на контроллер 110. Датчик 150 температуры может представлять собой, например, термопару, но не ограничивается этим вариантом. Датчик 150 температуры может представлять собой любое устройство, способное определять температуру нагревателя 130.

[71] Как указано выше, на основании результата, полученного датчиком 150 температуры, контроллер 110 может управлять количеством питания, подаваемого на катушку 140, и временем подачи питания, что позволяет нагревать нагреватель 130 до определенной температуры или поддерживать соответствующую температуру.

[72] Например, датчик 150 температуры может быть расположен на выступающей части 133 нагревателя 130. Для предотвращения отделения датчика 150 температуры от поверхности нагревателя 130 часть датчика 150 температуры может быть соединена с нагревателем 130 посредством процесса соединения, например, сварки. В этом случае можно снизить риск повреждения нагревателя 130 в процессе соединения, поскольку выступающая часть 133 отличается высокой прочностью, обусловленной ее относительно большой толщиной.

[73] Изолятор 160 может быть соединен, по меньшей мере, с частью второй области 132. Изолятор 160 может препятствовать передаче тепла от нагревателя 130 наружу.

[74] Как показано на ФИГ.1, вторая область 132 может быть расположена рядом с внешней поверхностью устройства 100 для генерирования аэрозоля, тем самым направляя введение изделия 200 для генерирования аэрозоля. Изолятор 160 может быть соединен, по меньшей мере, с частью второй области 132, тем самым эффективно уменьшая количество тепла, передаваемого из второй области 132 в зону снаружи от устройства 100 для генерирования аэрозоля. Соответственно, пользователь может получить стабильную среду использования устройства 100 для генерирования аэрозоля.

[75] Кроме того, изолятор 160 может предотвращать передачу тепла из второй области 132 наружу, тем самым уменьшая количество потерь энергии в катушке вследствие потерь тепла.

[76] Далее изолятор 160 будет подробно описан со ссылкой на ФИГ. 2-4В.

[77] На ФИГ.2 в аксонометрии изображен нагреватель 130 и изолятор 160 устройства 100 для генерирования аэрозоля согласно варианту осуществления изобретения, показанному на ФИГ. 1. На ФИГ.3 изображен покомпонентный вид нагревателя 130 и изолятора 160 устройства 100 для генерирования аэрозоля согласно варианту осуществления изобретения, показанному на ФИГ.2.

[78] Как показано на ФИГ.2 и 3, изолятор 160 может быть расположен вдоль всей окружности второй области 132, но не ограничивается этим вариантом. Например, изолятор 160 может быть расположен только на части окружности второй области 132.

[79] Изолятор 160 может содержать отверстие, в которое может быть вставлено изделие 200 для генерирования аэрозоля. Для плавного введения изделия 200 для генерирования аэрозоля размер отверстия может быть по существу идентичен размеру сечения пространства 131a для размещения, взятого перпендикулярно продольному направлению пространства 131a для размещения (то есть перпендикулярно направлению, в котором ориентировано пространство 131a для размещения).

[80] Хотя на ФИГ.2 и 3 показано, что каждый из изоляторов 160, расположенных на обеих концевых частях второй области 132, содержит отверстие, вариант осуществления изобретения не ограничивается этим вариантом. Например, только один из изоляторов 160, расположенных вверху, может содержать отверстие для введения изделия 200 для генерирования аэрозоля.

[81] Изолятор 160 может содержать любой материал, обладающий теплоизоляционными свойствами. Например, изолятор 160 может содержать полимерный материал с высокой термостойкостью. Например, изолятор 160 может содержать полимерный материал, в частности, полиэфирэфиркетон (ПЭЭК), полифенилсульфон (ППСУ), поликарбонат (ПК), полиэфиримид (ПЭИ), полиэфирсульфон (ПЭС), акрилонитрилбутадиеновый каучук (АБС) и т. п.

[82] В другом примере изолятор 160 может содержать металлический материал. Например, изолятор 160 может содержать такой материал, как нержавеющая сталь (SUS), алюминий (Al) и т. п.

[83] На ФИГ.4А изображен разрез нагревателя 130 и изолятора 160 устройства 100 для генерирования аэрозоля согласно варианту осуществления изобретения, изображенному на ФИГ.2. На ФИГ.4В изображен увеличенный вид в разрезе части нагревателя 130 и изолятора 160 устройства 100 для генерирования аэрозоля согласно варианту осуществления изобретения, показанному на ФИГ.3.

[84] Как показано на ФИГ.4A и 4B, изолятор 160 может быть соединен со второй областью 132. В частности, изолятор 160 может соприкасаться с частью 132 концевой части 132e второй области 132 и находиться на некотором удалении от оставшейся части 132f концевой части 132e второй области 132.

[85] По существу, изолятор, соединенный с концевой частью нагревателя, имеющей цилиндрическую форму, соприкасается со всей площадью концевой части нагревателя. В этом случае площадь контакта нагревателя и изолятора относительно велика. Таким образом, изолятор может получать избыточное количество тепла от нагревателя и нагреваться до чрезмерно высокой температуры. При увеличении температуры самого изолятора изоляционные характеристики определенного или более высокого уровня, ожидаемые от изолятора, могут не быть достигнуты.

[86] Кроме того, если изолятор содержит полимерный материал, полимерный материал может расплавляться под действием высокой температуры изолятора. По мере плавления полимерного материала форма изолятора может изменяться, а изоляционные характеристики изолятора могут ухудшиться. Кроме того, расплавленный полимерный материал может проникать в другие части устройства для генерирования аэрозоля и вызывать поломку устройства для генерирования аэрозоля.

[87] Нагреватель 130 устройства 100 для генерирования аэрозоля согласно одному из вариантов осуществления изобретения содержит вторую область 132, ориентированную в направлении от центра пространства 131a для размещения, что позволяет максимально уменьшить площадь контакта между нагревателем 130 и изолятором 160.

[88] В частности, как показано на ФИГ.4A и 4B, когда вторая область 132 изогнута в направлении от центра пространства 131a для размещения, изолятор 160 может не соприкасаться со всей площадью концевой части 132e второй области 132, при этом будучи соединенным со второй областью 132.

[89] Иными словами, площадь контакта между изолятором 160 и нагревателем 130 относительно уменьшается. Это позволяет уменьшить количество тепла, поступающего к изолятору 160, и предотвратить чрезмерное повышение температуры изолятора 160. Соответственно, можно устранить такие проблемы, как ухудшение изоляционных характеристик или поломка устройства 100 для генерирования аэрозоля, вызванные чрезмерным повышением температуры изолятора 160.

[90] По меньшей мере, часть поверхности второй области 132 может содержать материал, препятствующий рассеиванию тепла от нагревателя 130. Материал, препятствующий рассеиванию тепла от нагревателя 130, может быть осажден или нанесен на поверхность второй области 132; также возможны другие варианты.

[91] Поскольку поверхность второй области 132 содержит материал, препятствующий рассеиванию тепла от нагревателя 130, температура поверхности второй области 132 может поддерживаться на относительно низком уровне, и можно улучшить изоляционные характеристики для предотвращения отведения тепла нагревателя 130. Если температура поверхности второй области 132, прилегающей к внешней поверхности устройства 100 для генерирования аэрозоля, поддерживается на относительно низком уровне, можно обеспечить стабильность во время использования устройства 100 для генерирования аэрозоля пользователем.

[92] Материал, препятствующий рассеиванию тепла от нагревателя 130, может представлять собой полимерный материал с высокой термостойкостью, а также металлический материал. Для изготовления нагревателя 130 можно также использовать полимерный материал с высокой термостойкостью и металлический материал, используемый для изготовления изолятора.

[93] На ФИГ.5 изображен вид в аксонометрии нагревателя 130 устройства 100 для генерирования аэрозоля согласно другому варианту осуществления изобретения. На ФИГ.6 изображен покомпонентный вид нагревателя 130 устройства 100 для генерирования аэрозоля согласно варианту осуществления изобретения, изображенному на ФИГ.5.

[94] Как показано на ФИГ.5 и 6, вторая область 132 может быть соединена с первой областью 131 с возможностью разъединения. Вторая область 132 и первая область 131 могут быть изготовлены отдельно и затем соединены друг с другом. Соответственно, для изготовления второй области 132 и первой области 131 может быть применена технология серийного производства, что позволит легко изготавливать вторую область 132 и первую область 131.

[95] Вторая область 132 и первая область 131 могут содержать различные материалы. Например, вторая область 132 может содержать полимерный материал с высокой термостойкостью, а первая область 131 может содержать ферромагнитное вещество. В этом случае вторая область 132 не участвует в нагревании изделия 200 для генерирования аэрозоля. Первая область 131 может нагревать изделие 200 для генерирования аэрозоля, а вторая область 132 может предотвращать рассеивание тепла, генерируемого первой областью 131. Поскольку вторая область 132 в первую очередь предотвращает рассеивание тепла, генерируемого первой областью 131, можно дополнительно улучшить изоляционные характеристики для предотвращения рассеивания тепла от нагревателя 130 в зону снаружи изделия 100 для генерирования аэрозоля.

[96] На ФИГ.7 изображен разрез нагревателя 130 устройства 100 для генерирования аэрозоля согласно варианту осуществления изобретения, изображенному на ФИГ.5.

[97] Как показано на ФИГ.7, вторая область 132 может быть расположена вдоль окружности концевой части первой области 131. То есть, поскольку вторая область 132 соединена со всей концевой частью первой области 131, можно предотвратить передачу тепла наружу из пространства 131a для размещения через концевую часть первой области 131.

[98] Кроме того, вторая область 132 может быть ориентирована в направлении пространства 131a для размещения, тем самым соприкасаясь с внешней поверхностью первой области 131. По мере увеличения площади контакта между второй областью 132 и первой областью 131 сила соединения между второй областью 132 и первой областью 131 может увеличиваться. В данном случае направление пространства 131a для размещения указывает на направление длины пространства 131a для размещения.

[99] Хотя на ФИГ.7 показано, что вторая область 132 ориентирована в направлении пространства 131a для размещения, при этом соприкасаясь с внешней поверхностью первой области 131, данный вариант осуществления изобретения не ограничивается этим вариантом. Вторая область 132 может быть ориентирована в направлении пространства 131a для размещения, при этом соприкасаясь с внутренней поверхностью первой области 132, или может быть ориентирована в направлении пространства 131a для размещения, при этом соприкасаясь с внутренней поверхностью и внешней поверхностью первой области 131.

[100] На ФИГ.8 изображен вид в аксонометрии нагревателя устройства 100 для генерирования аэрозоля согласно другому варианту осуществления изобретения. На ФИГ.9 изображен разрез нагревателя 130 устройства 100 для генерирования аэрозоля согласно варианту осуществления изобретения, изображенному на ФИГ.8.

[101] Как показано на ФИГ.8 и 9, поверхность S, определяемая кромкой концевой части второй области 132, может быть наклонена относительно направления, перпендикулярного направлению L, в котором ориентировано пространство 131a для размещения. То есть, по сравнению с другими областями, определенная область концевой части 132e второй области 132 может выступать в направлении пространства 131a для размещения.

[102] При многократном использовании устройства 100 для генерирования аэрозоля пользователь, как правило, удерживает устройство 100 для генерирования аэрозоля в определенном направлении. Например, пользователь может удерживать устройство 100 для генерирования аэрозоля таким образом, чтобы переключатель находился под большим пальцем пользователя. Переключатель расположен на внешней поверхности устройства 100 для генерирования аэрозоля и управляет работой устройства 100 для генерирования аэрозоля.

[103] Поскольку пользователь удерживает устройство 100 для генерирования аэрозоля в постоянном положении, направление, в котором пользователь вставляет изделие 200 для генерирования аэрозоля в пространство 131a для размещения, также может быть постоянным. В этом случае, имея вторую область 132 различной формы в зависимости от областей, изделие 200 для генерирования аэрозоля может быть более плавно вставлено в пространство 131a для размещения.

[104] То есть, по сравнению с другими областями, определенная область концевой части 132e второй области 132, соответствующая направлению, в котором, как ожидается, пользователь будет многократно вводить изделие 200 для генерирования аэрозоля, может быть выполнена с возможностью выступания в направлении L пространства 131a для размещения. Например, область концевой части 132e второй части 132, выступающая в направлении L пространства 131a для размещения, может быть расположена рядом с внешней поверхностью устройства 100 для генерирования аэрозоля, на которой расположен переключатель, но вариант осуществления изобретения не ограничивается этим вариантом.

[105] Соответственно, как показано пунктирными линиями на ФИГ.9, даже если изделие 200 для генерирования аэрозоля вставлено в направлении с относительно большим наклоном относительно направления L пространства 131a для размещения, изделие 200 для генерирования аэрозоля можно плавно ввести в пространство 131a для размещения.

[106] Далее примеры изделия 200 для генерирования аэрозоля будут описаны со ссылкой на ФИГ.10-12.

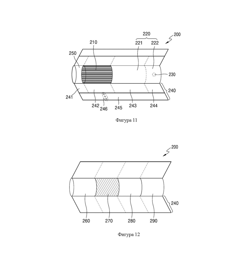
[107] На ФИГ.10 схематично изображен пример изделия 200 для генерирования аэрозоля.

[108] Как показано на ФИГ.10, изделие 200 для генерирования аэрозоля может содержать табачный стержень 210 и фильтрующий стержень 220. Первый участок, подробно описанный со ссылкой на ФИГ.1, содержит табачный стержень 210, а второй участок содержит фильтрующий стержень 220.

[109] На ФИГ.10 показано, что фильтрующий стержень 220 содержит один сегмент. Тем не менее, исполнение фильтрующего стержня 220 не ограничивают данным вариантом. Другими словами, фильтрующий стержень 220 может содержать несколько сегментов. Например, фильтрующий стержень 220 может содержать первый сегмент, выполненный с возможностью охлаждения аэрозоля, и второй сегмент, выполненный с возможностью фильтрации определенного компонента, содержащегося в аэрозоле. Кроме того, при необходимости фильтрующий стержень 220 может дополнительно содержать по меньшей мере один сегмент, выполненный с возможностью осуществления другой функции.

[110] Изделие 200 для генерирования аэрозоля может быть упаковано по меньшей мере в одну обертку 240. Обертка 240 может иметь по меньшей мере одно отверстие, через которое может поступать внешний воздух или выходить внутренний воздух. Например, изделие 200 для генерирования аэрозоля может быть упаковано в одну обертку 240. В другом примере изделие 200 для генерирования аэрозоля может быть дважды упаковано в две и более обертки 240. Например, табачный стержень 210 может быть упакован в первую обертку 241, а фильтрующий стержень 220 в обертки 242, 243, 244. Также изделие 200 для генерирования аэрозоля может быть повторно упаковано в другую единую обертку 245. Если фильтрующий стержень 220 содержит несколько сегментов, каждый сегмент может быть упакован в отдельную обертку 242, 243, 244.

[111] Табачный стержень 210 может содержать материал для генерирования аэрозоля. Например, материал для генерирования аэрозоля может содержать по меньшей мере один из следующих компонентов: глицерин, пропиленгликоль, этиленгликоль, дипропиленгликоль, диэтиленгликоль, триэтиленгликоль, тетраэтиленгликоль и олеиловый спирт, а также другие компоненты. Кроме того, табачный стержень 210 может содержать иные добавки, в частности, ароматы, смачивающий агент и/или органическую кислоту. Также табачный стержень 210 может содержать ароматизированную жидкость, в частности, ментол или увлажнитель, впрыснутые в табачный стержень 210.

[112] Табачный стержень 210 может быть изготовлен в различных формах. Например, табачный стержень 210 может быть сформирован в виде листа или пряди. Кроме того, табачный стержень 210 может быть сформирован в виде трубочного табака, состоящего из крошечных кусочков, вырезанных из табачного листа. Кроме того, табачный стержень 210 может быть окружен теплопроводящим материалом. Например, теплопроводящим материалом может служить металлическая фольга, например алюминиевая фольга, а также другие материалы. Например, теплопроводящий материал, окружающий табачный стержень 210, может равномерно распределять тепло, передаваемое табачному стержню 210, что позволяет увеличить теплопроводность, приложенную к табачному стержню, и улучшить вкусовые качества табака. Кроме того, теплопроводящий материал, окружающий табачный стержень 210, может служить токоприемником, нагреваемым индукционным нагревателем. В этом случае, хотя это не показано на чертежах, табачный стержень 210 может содержать дополнительный токоприемник наряду с теплопроводным материалом, окружающим табачный стержень 210.

[113] Фильтрующий стержень 220 может содержать фильтр из ацетата целлюлозы. Фильтрующий стержень 220 может иметь любую форму. Например, фильтрующий стержень 220 может иметь форму полого цилиндра или полой трубки. Кроме того, фильтрующий стержень 220 может содержать стержень с выемкой. Если фильтрующий стержень 220 содержит несколько сегментов, по меньшей мере один из сегментов может иметь отличающуюся форму.

[114] Фильтрующий стержень 220 может быть выполнен с возможностью генерирования ароматов. Например, ароматизирующая жидкость может быть введена в фильтрующий стержень 220, или же отдельное волокно, покрытое ароматизирующей жидкостью, может быть вставлено в фильтрующий стержень 220.

[115] Кроме того, фильтрующий стержень 220 может содержать по меньшей мере одну капсулу 230. В этом случае капсула 230 может генерировать аромат или аэрозоль. Например, капсула 230 может иметь структуру, в которой жидкость, содержащая ароматизирующий материал, обернута пленкой. Например, капсула 230 может иметь форму сферы или цилиндра, или иную форму.

[116] Если фильтрующий стержень 220 содержит сегмент, выполненный с возможностью охлаждения аэрозоля, охлаждающий сегмент может содержать полимерный или биоразлагаемый полимерный материал. Например, охлаждающий сегмент может содержать только чистую полимолочную кислоту, но материал для формирования охлаждающего сегмента не ограничивается этим вариантом. В некоторых вариантах осуществления изобретения охлаждающий сегмент может содержать фильтр из ацетата целлюлозы, содержащий несколько отверстий. Тем не менее, охлаждающий сегмент не ограничивается указанным примером и может быть выполнен иным способом при условии сохранения его функции охлаждения аэрозоля.

[117] На ФИГ.11 схематично изображен другой пример изделия 200 для генерирования аэрозоля.

[118] Как показано на ФИГ.11, изделие 200 для генерирования аэрозоля может дополнительно содержать переднюю заглушку 250. Передняя заглушка 250 может быть расположена на одной стороне табачного стержня 210 напротив фильтрующего стержня 220. Передняя заглушка 250 может препятствовать отсоединению табачного стержня 210 и попаданию сжиженного аэрозоля из табачного стержня 210 в устройство для генерирования аэрозоля во время курения.

[119] Фильтрующий стержень 220 может содержать первый сегмент 221 и второй сегмент 222. В данном случае первый сегмент 221 может соответствовать первому сегменту фильтрующего стержня 220 на ФИГ.10, а второй сегмент 222 может соответствовать второму сегменту фильтрующего стержня 220 на ФИГ.10.

[120] Диаметр и общая длина изделия 200 для генерирования аэрозоля могут соответствовать диаметру и общей длине изделия 200 для генерирования аэрозоля на ФИГ.10. Например, длина передней заглушки 250 составляет по меньшей мере примерно 7 мм, длина табачного стержня 210 - примерно 15 мм, длина первого сегмента 221 - примерно 12 мм, а длина второго сегмента 222 - примерно 14 мм; возможны и другие варианты.

[121] Изделие 200 для генерирования аэрозоля может быть упаковано по меньшей мере в одну обертку 240. Обертка 240 может иметь по меньшей мере одно отверстие, через которое может поступать внешний воздух или выходить внутренний воздух. Например, передняя заглушка 250 может быть упакована в первую обертку 241, табачный стержень 210 - во вторую обертку 242, первый сегмент 221 - в третью обертку 243, а второй сегмент 222 - в четвертую обертку 244. Кроме того, все изделие 200 для генерирования аэрозоля может быть повторно упаковано в пятую обертку 245.

[122] Кроме того, в пятой обертке 245 может быть предусмотрена по меньшей мере одна перфорация 246. Например, перфорация 246 может быть выполнена в области, окружающей табачный стержень 210, но возможны и другие варианты. Отверстие 246 может служить для передачи тепла, генерируемого нагревателем, внутрь табачного стержня 210.

[123] Кроме того, по меньшей мере одна капсула 230 может содержаться во втором сегменте 222. В этом случае капсула 230 может генерировать аромат или аэрозоль. Например, капсула 230 может иметь структуру, в которой жидкость, содержащая ароматизирующий материал, обернута пленкой. Например, капсула 230 может иметь форму сферы или цилиндра, или иную форму.

[124] На ФИГ.12 схематично изображен другой пример изделия 200 для генерирования аэрозоля.

[125] Как показано на ФИГ.12, изделие 200 для генерирования аэрозоля может содержать первую часть 260, вторую часть 270, третью часть 280 и четвертую часть 290. Точнее говоря, первая часть 260, вторая часть 270, третья часть 280 и четвертая часть 290 могут соответственно содержать элемент для генерирования аэрозоля, табачный элемент, охлаждающий элемент и фильтрующий элемент. В качестве примера первая часть 260 может содержать материал для генерирования аэрозоля, вторая часть 270 может содержать табачный материал и увлажнитель, третья часть 280 может охлаждать поток воздуха, проходящий через первую часть 260 и вторую часть 270, и четвертая часть 290 может содержать фильтрующий материал.

[126] Как показано на ФИГ.12, первая часть 260, вторая часть 270, третья часть 280 и четвертая часть 290 могут быть последовательно расположены в продольном направлении изделия 200 для генерирования аэрозоля. Здесь продольное направление изделия 200 для генерирования аэрозоля может быть направлением длины изделия 200 для генерирования аэрозоля. Например, продольное направление изделия 200 для генерирования аэрозоля может быть направлением от первой части 260 к четвертой части 290. Соответственно, аэрозоль, сгенерированный по меньшей мере в первой части 260 и второй части 270, может последовательно проходить через первую часть 260, вторую часть 270, третью часть 280 и четвертую часть 290, формируя поток воздуха, то есть курильщик может вдыхать аэрозоль из четвертой части 290.

[127] Первая часть 260 может содержать элемент для генерирования аэрозоля. Кроме того, первая часть 260 может содержать другие добавки, такие как ароматизатор, смачивающий агент и/или органическую кислоту, а также ароматизирующую жидкость, например, ментол или увлажнитель. Здесь элемент для генерирования аэрозоля может содержать, например, одно из следующих веществ: глицерин, пропиленгликоль, этиленгликоль, дипропиленгликоль, диэтиленгликоль, триэтиленгликоль, тетраэтиленгликоль и олеиловый спирт.

[128] Первая часть 260 может содержать гофрированный лист, и элемент для генерирования аэрозоля может находиться в первой области в состоянии пропитанного гофрированного листа. Кроме того, другие добавки, такие как ароматизатор, смачивающий агент и/или органическая кислота и ароматизирующая жидкость, могут входить в состав первого сегмента 260 субстрата в виде пропитки гофрированного листа.

[129] Гофрированный лист может представлять собой лист, содержащий полимерный материал. Например, полимерный материал может содержать бумагу и/или ацетат целлюлозы и/или лиоцелл и/или полимолочную кислоту. Например, гофрированный лист может представлять собой лист бумаги, не вызывающий постороннего запаха даже при нагреве до высокой температуры. Тем не менее, вариант осуществления не ограничивается перечисленным.

[130] Первая часть 260 может проходить от концевой части изделия 200 для генерирования аэрозоля до точки примерно в 7-20 мм, а вторая часть 270 может проходить от точки, в которой заканчивается первая часть 260, до точки примерно в 7-20 мм. Тем не менее, длина не ограничивается вышеупомянутым числовым диапазоном, и длины первой части 260 и второй части 270 могут быть соответствующим образом отрегулированы в пределах диапазона, который может быть легко изменен специалистами в данной области техники.

[131] Вторая часть 270 может содержать табачный элемент. Табачный элемент может представлять собой определенный тип табачного материала. Например, табачный элемент может иметь форму резаного табачного наполнителя, табачной крошки, табачных листьев, табачных шариков, табачных гранул, табачного порошка или табачного экстракта. Кроме того, табачный материал может содержать, например, один или несколько табачных листьев, табачный стержень, взорванный табак, резаный табак и восстановленный табак.

[132] Третья часть 280 может быть выполнена с возможностью охлаждения потока воздуха, проходящего через первую часть 260 и вторую часть 270. Третья часть 280 может быть изготовлена из полимерного материала или биоразлагаемого полимерного материала и может выполнять функцию охлаждения. Например, третья часть 280 может содержать волокно полимолочной кислоты, но материал третьей части 280 не ограничивается этим вариантом. В некоторых вариантах осуществления изобретения третья часть 280 может содержать фильтр из ацетата целлюлозы с несколькими отверстиями. Тем не менее, третья часть 280 не ограничивается вышеупомянутым примером и может содержать любой материал, способный охлаждать аэрозоль. Например, третья часть 280 может представлять собой трубчатый фильтр или бумажный трубчатый фильтр с полостью внутри.

[133] Четвертая часть 290 может содержать фильтрующий материал. Например, четвертая часть 290 может представлять собой фильтр из ацетата целлюлозы. Четвертая часть 290 может иметь любую форму. Например, четвертая часть 290 может содержать стержень в виде цилиндра или трубки с полостью внутри. Кроме того, четвертая часть 290 также может содержать стержень с выемкой. Если четвертая часть 290 содержит несколько сегментов, по меньшей мере один из сегментов может иметь отличающуюся форму.

[134] Четвертая часть 290 может быть выполнена с возможностью генерации ароматов. Например, ароматизирующая жидкость может быть распылена на четвертую часть 290, и волокно, покрытое ароматизатором, может быть вставлено в четвертую часть 290.

[135] Изделие 200 для генерирования аэрозоля может содержать обертку 240, по меньшей мере частично окружающую части от первой части 260 до четвертой части 290. Кроме того, изделие 200 для генерирования аэрозоля может содержать обертку 240, полностью окружающую части от первой части 260 до четвертой части 290. Обертка 240 может быть расположена на крайнем внешнем профиле изделия 200 для генерирования аэрозоля. Обертка 240 может представлять собой единую обертку или комбинацию нескольких оберток.

[136] Например, первая часть 260 изделия 200 для генерирования аэрозоля содержит гофрированный лист, содержащий материал для генерирования аэрозоля, вторая часть 270 может содержать восстановленные табачные листья в качестве табачного материала и глицерин в качестве увлажнителя, третья часть 280 может содержать бумажную трубку, и четвертая часть 290 может содержать волокно из ацетата целлюлозы, но вариант осуществления изобретения не ограничивается этим вариантом.

[137] На ФИГ.13 изображена блок-схема устройства 100 для генерирования аэрозоля согласно другому варианту осуществления изобретения.

[138] Устройство 100 для генерирования аэрозоля может содержать контроллер 110, датчик 20, блок 30 вывода, аккумулятор 120, нагреватель 160, блок 60 пользовательского ввода, память 70 и блок 80 связи. Тем не менее, внутренняя структура устройства 100 для генерирования аэрозоля не ограничивается блок-схемой на ФИГ.13. То есть специалистам в данной области техники очевидно, что некоторые из компонентов, показанных на ФИГ.13, могут быть опущены, или могут быть добавлены другие компоненты в соответствии с конструкцией устройства 100 для генерирования аэрозоля.

[139] Датчик 20 может определять состояние устройства 100 для генерирования аэрозоля или состояние среды вокруг устройства 100 для генерирования аэрозоля, и передавать обнаруженные состояния на контроллер 110. На основании обнаруженных состояний контроллер 110 может управлять устройством 100 для генерирования аэрозоля для выполнения различных функций, таких как управление работой нагревателя 130, ограничение курения, определение наличия вставленного изделия для генерирования аэрозоля (например, сигареты, картриджа и т. п.). и т.п.), отображения уведомлений и т. п.

[140] Датчик 20 может представлять собой датчик 150 температуры и/или датчик 24 распознавания введения и/или датчик 26 затяжки, а также другие датчики.

[141] Датчик 150 температуры может определять температуру, до которой нагревается нагреватель 130 (или материал для генерирования аэрозоля). Устройство 100 для генерирования аэрозоля может содержать отдельный датчик температуры, выполненный с возможностью определения температуры нагревателя 130, или в альтернативном варианте сам нагреватель 130 может служить датчиком температуры. В альтернативном варианте датчик 150 температуры может быть расположен вокруг аккумулятора 120 для контроля температуры аккумулятора 120.

[142] Датчик 24 распознавания введения может распознавать введение и/или извлечение изделия для генерирования аэрозоля. Например, датчик 24 распознавания введения может представлять собой пленочный датчик и/или датчик давления и/или световой датчик и/или резистивный датчик и/или емкостной датчик и/или индуктивный датчик и/или инфракрасный датчик, и может распознавать изменение сигнала при введении и/или извлечении изделия для генерирования аэрозоля.

[143] Датчик 26 затяжки может распознавать затяжки пользователя на основании различных физических изменений на пути потока воздуха или в канале потока воздуха. Например, датчик 26 затяжки может распознавать затяжки пользователя на основании изменения температуры, расхода, напряжения или давления.

[144] Датчик 20 может дополнительно представлять собой по меньшей мере один из следующих компонентов: датчик температуры/влажности, датчик атмосферного давления, магнитный датчик, датчик ускорения, гироскоп, датчик положения (например, датчик глобальной системы позиционирования (GPS)), датчик приближения или датчик красного, зеленого, синего (RGB) цвета (например, датчик освещенности). Функции датчиков могут быть интуитивно понятны из названий специалистам в данной области техники, и поэтому их подробное описание может быть опущено.

[145] Блок 30 вывода может выводить информацию о состоянии устройства 100 для генерирования аэрозоля и предоставлять ее пользователю. Блок 30 вывода может содержать дисплей 32 и/или тактильное устройство 34 и/или устройство 36 вывода звука, а также другие устройства. Если дисплей 32 и сенсорная панель выполнены в виде слоистой структуры для формирования сенсорного экрана, дисплей 32 можно использовать в качестве вводного устройства в дополнение к устройству вывода.

[146] Дисплей 32 может визуально предоставлять пользователю информацию об устройстве 100 для генерирования аэрозоля. Информация об устройстве 100 для генерирования аэрозоля может быть различной и содержать, например, состояние зарядки/разрядки аккумулятора 120, состояние предварительного нагрева нагревателя 130, состояние введения/извлечения изделия 100 для генерирования аэрозоля, состояние ограниченного использования (например, обнаружено несовместимое изделие) устройства 100 для генерирования аэрозоля и т.п., и дисплей 32 может выводить информацию наружу. Дисплей 32 может представлять собой, например, жидкокристаллический дисплей (LCD), дисплей на органических светодиодах (OLED) и т.п. Кроме того, дисплей 32 может иметь форму светоизлучающего устройства (LED).

[147] Тактильное устройство 34 может преобразовывать электрический сигнал в механический или электрический раздражитель и предоставлять пользователю информацию об устройстве 100 для генерирования аэрозоля тактильным способом. Тактильное устройство 34 может представлять собой, например, мотор, пьезоэлектрический элемент или устройство электрической стимуляции.

[148] Устройство 36 вывода звука может предоставлять звуковую информацию, относящуюся к устройству 100 для генерирования аэрозоля. Например, устройство 36 вывода звука может преобразовывать электрический сигнал в акустический сигнал и выводить акустический сигнал наружу.

[149] Аккумулятор 120 может подавать питание, необходимое для работы устройства 100 для генерирования аэрозоля. Аккумулятор 120 может подавать питание для нагрева нагревателя 130. Кроме того, аккумулятор 120 может подавать питание, необходимое для работы других компонентов (например, датчика 20, блока 30 вывода, блока 60 пользовательского ввода, памяти 70 и блока 80 связи), входящих в состав устройства 100 для генерирования аэрозоля. Аккумулятор 120 может представлять собой перезаряжаемый или одноразовый аккумулятор. Например, аккумулятор 120 может представлять собой литий-полимерный (LiPoly) аккумулятор или иной аккумулятор.

[150] Нагреватель 130 может получать питание от аккумулятора 120 для нагрева материала для генерирования аэрозоля. Хотя это не показано на ФИГ.13, устройство 100 для генерирования аэрозоля может дополнительно содержать схему преобразования питания (например, преобразователь постоянного тока (DC/DC)), выполненную с возможностью преобразования питания аккумулятора 120 и подачи питания на нагреватель 130. Кроме того, если устройство 100 для генерирования аэрозоля генерирует аэрозоль способом индукционного нагрева, устройство 100 для генерирования аэрозоля может дополнительно содержать преобразователь постоянного тока в переменный ток (DC/AC), преобразующий постоянный ток аккумулятора 120 в переменный ток.

[151] Контроллер 110, датчик 20, блок 30 вывода, блок 60 пользовательского ввода, память 70 и блок 10 связи могут получать необходимое для выполнения своих функций питание от аккумулятора 120. Хотя это не показано на ФИГ.13, устройство для генерирования аэрозоля может дополнительно содержать схему преобразования питания, выполненную с возможностью преобразования питания аккумулятора 120 и подачи питания на соответствующие компоненты, например, схему с низким падением напряжения (LDO) или схему регулятора напряжения.

[152] В одном из вариантов осуществления изобретения нагреватель 130 может быть выполнен из любого материала с подходящим электрическим сопротивлением. Например, материал с подходящим электрическим сопротивлением может представлять собой металл или сплав металлов, в том числе титан, цирконий, тантал, платину, никель, кобальт, хром, гафний, ниобий, молибден, вольфрам, олово, галлий, марганец, железо, медь, нержавеющую сталь или нихром, а также другие металлы или сплавы. Кроме того, нагреватель 130 может быть выполнен в виде металлической проволоки, металлической пластины, на которой размещена электропроводящая дорожка, или керамического нагревающего элемента, а также в других вариантах.

[153] В другом примере нагреватель 130 может представлять собой индукционный нагреватель. Например, нагреватель 130 может содержать токоприемник, выполненный с возможностью выделения тепла через магнитное поле, приложенное катушкой, и нагрева изделия для генерирования аэрозоля.

[154] Блок 60 пользовательского ввода может принимать информацию от пользователя или выводить информацию пользователю. Например, блок 60 пользовательского ввода может содержать, в частности, клавиатуру, купольный переключатель, сенсорную панель (типы: контактно-емкостной, резистивное наложение, инфракрасные лучи, поверхностные звуковые волны, интегральный тензометрический датчик, пьезоэлектрический и т. п.), колесо переключения, переключатель и т.п., а также иные подобные устройства. Кроме того, хотя это и не показано на ФИГ.13, устройство 100 для генерирования аэрозоля может дополнительно содержать интерфейс подключения, такой как интерфейс универсальной последовательной шины (USB), и может передавать/принимать информацию или заряжать аккумулятор в состоянии подключения к другому внешнему устройству через интерфейс подключения, такой как интерфейс USB.

[155] Память 70 как компонент аппаратного обеспечения, выполненный с возможностью хранения различных частей данных, обрабатываемых устройством 100 для генерирования аэрозоля, может хранить данные, которые обрабатываются или должны обрабатываться процессором 110. Память 70 может представлять собой по меньшей мере один из следующих типов носителя информации: флэш-память, жесткий диск, мультимедийная микро-карта, карта (например, память SD или XD), оперативная память (RAM), постоянная оперативная память (SRAM), постоянная память (ROM), энергонезависимая память (EEPROM), программируемая постоянная память (PROM), магнитная память, магнитный диск или оптический диск. Память 70 может хранить данные о времени работы устройства 100 для генерирования аэрозоля, максимальном числе затяжек, текущем числе затяжек, по меньшей мере одном профиле температуры и привычных действиях пользователя при курении.

[156] Блок 80 связи может содержать по меньшей мере один компонент для связи с другими электронными устройствами. Например, блок 80 связи может содержать блок 82 беспроводной связи малого радиуса действия и блок 84 беспроводной связи.

[1] Блок 82 беспроводной связи малого радиуса действия может представлять собой блок 20 связи Bluetooth, блок связи Bluetooth low energy (BLE), блок связи ближнего поля, блок связи WLAN (Wi-Fi), блок связи ZigBee, блок связи IrDA, блок связи Wi-Fi direct (WFD), сверхширокополосной блок связи (UWB) и блок связи Ant+, а также иные подобные устройства.

[157] Блок 84 беспроводной связи может представлять собой коммуникатор сотовой сети, коммуникатор Интернета, коммуникатор компьютерной сети (например, локальной сети (LAN) или глобальной сети (WAN)), а также иные подобные устройства. Блок 84 беспроводной связи может использовать информацию об абоненте (например, международный идентификатор мобильного абонента (IMSI)) для подтверждения и аутентификации устройства 100 для генерирования аэрозоля в сети связи.

[158] Контроллер 110 может управлять всеми операциями устройства 100 для генерирования аэрозоля. В одном из вариантов осуществления изобретения контроллер 110 может содержать по меньшей мере один процессор. Процессор может быть реализован как массив из множества логических элементов или как комбинация микропроцессора общего назначения и памяти, выполненная с возможностью хранения программы, исполняемой микропроцессором. Кроме того, специалисту в данной области техники может быть понятно, что процессор может быть выполнен в виде другого типа аппаратных средств.

[159] Контроллер 110 может управлять температурой нагревателя 130 путем управления подачей питания от аккумулятора 120 на нагреватель 130. Например, контроллер 110 может управлять подачей питания путем управления переключением переключающего элемента между аккумулятором 120 и нагревателем 130. В других вариантах осуществления изобретения интегральная схема нагрева может управлять подачей питания на нагреватель 130 в ответ на управляющую команду от контроллера 110.

[160] Контроллер 110 может анализировать результат, полученный датчиком 20, и управлять операциями обработки, которые будут выполнены позже. Например, контроллер 110 может управлять подачей питания на нагреватель 130 для запуска или прекращения работы нагревателя 130 на основании результатов, полученных датчиком 20. В другом примере на основании результата, полученного датчиком 20, контроллер 110 может управлять количеством питания, подаваемого на нагреватель 130, и временем подачи питания таким образом, чтобы нагреватель 130 мог нагреваться до определенной температуры или поддерживать соответствующую температуру.

[161] Контроллер 110 может управлять блоком 30 вывода на основании результата, полученного датчиком 20. Например, если количество затяжек, подсчитанное датчиком 26 затяжки, достигает заданного количества, контроллер 110 может уведомить пользователя посредством блока 32 отображения и/или тактильного устройства 34 и/или устройства 36 вывода звука о том, что работа устройства 100 для генерирования аэрозоля скоро завершится.

[162] Один вариант осуществления может быть также реализован в форме носителя информации, содержащего инструкции, выполняемые компьютером, такие как программные модули, выполняемые компьютером. Машиночитаемый носитель информации может представлять собой любой доступный носитель, к которому может иметь доступ компьютер, и содержит как не сохраняющие информацию при выключении питания, так и сохраняющие информацию при выключении питания носители, и съемные и несъемные носители. Кроме того, машиночитаемый носитель может содержать как запоминающую среду компьютера, так и коммуникационную среду. Запоминающая среда компьютера содержит все из не сохраняющих информацию при выключении питания и сохраняющих информацию при выключении питания носителей и съемных и несъемных носителей, реализуемых любым способом или методом хранения информации, такие как машиночитаемые инструкции, структуры данных, программные модули или другие данные. Коммуникационная среда обычно содержит машиночитаемые инструкции, структуры данных, другие данные в модулированных сигналах данных, таких как программные модули, или другие механизмы передачи, и содержит любые среды передачи информации.

[163] Специалистам в данной области очевидно, что в настоящие варианты осуществления изобретения могут быть внесены различные изменения формы и содержания, не выходящие за пределы характеристик, описанных выше. Следовательно, описанный способы следует рассматривать с описательной, а не с ограничительной точки зрения. Объем настоящего изобретения определён прилагаемой формулой изобретения, а не предшествующим ей описанием изобретения, и все различия в пределах его эквивалентов следует истолковывать как входящие в настоящее изобретение.

Похожие патенты RU2833148C2

название год авторы номер документа
УСТРОЙСТВО ДЛЯ ГЕНЕРИРОВАНИЯ АЭРОЗОЛЯ 2022
  • Ким, Хван
  • Ким, Тон Сон
  • Лим, Хониль
  • Чан, Сок Су
RU2820134C2
УСТРОЙСТВО ДЛЯ ГЕНЕРИРОВАНИЯ АЭРОЗОЛЯ 2022
  • Ким, Тон Сон
  • Ким, Хван
  • Лим, Хониль
  • Чан, Сок Су
RU2831858C2
УСТРОЙСТВО ДЛЯ ГЕНЕРИРОВАНИЯ АЭРОЗОЛЯ И КОРПУС УСТРОЙСТВА ДЛЯ ГЕНЕРИРОВАНИЯ АЭРОЗОЛЯ 2022
  • Ким, Тон Сон
  • Ким, Хван
  • Лим, Хониль
  • Чан, Сок Су
RU2829721C2
НАГРЕВАТЕЛЬНЫЙ УЗЕЛ УСТРОЙСТВА ДЛЯ ГЕНЕРИРОВАНИЯ АЭРОЗОЛЯ И УСТРОЙСТВО ДЛЯ ГЕНЕРИРОВАНИЯ АЭРОЗОЛЯ, СОДЕРЖАЩЕЕ ТАКОЙ НАГРЕВАТЕЛЬНЫЙ УЗЕЛ 2024
  • Ким, Тон Сун
  • Ким, Хван
  • Ли, Сын Вон
  • Чан, Сок Су
  • Хан, Дэ Нам
RU2840347C2
НАГРЕВАТЕЛЬНЫЙ УЗЕЛ УСТРОЙСТВА ДЛЯ ГЕНЕРИРОВАНИЯ АЭРОЗОЛЯ И УСТРОЙСТВО ДЛЯ ГЕНЕРИРОВАНИЯ АЭРОЗОЛЯ, СОДЕРЖАЩЕЕ ТАКОЙ НАГРЕВАТЕЛЬНЫЙ УЗЕЛ 2022
  • Ким, Тон Сун
  • Ким, Хван
  • Ли, Сын Вон
  • Чан, Сок Су
  • Хан, Дэ Нам
RU2822583C2
УСТРОЙСТВО ДЛЯ ГЕНЕРИРОВАНИЯ АЭРОЗОЛЯ 2022
  • Ким, Тон Сун
  • Ким, Хван
  • Им, Хун Иль
  • Чан, Сок Су
RU2834334C2
УСТРОЙСТВО ДЛЯ ГЕНЕРИРОВАНИЯ АЭРОЗОЛЯ 2023
  • Ким, Тон Сун
  • Ким, Хван
  • Им, Хун Иль
  • Чан, Сок Су
RU2827973C2
УСТРОЙСТВО ДЛЯ ГЕНЕРИРОВАНИЯ АЭРОЗОЛЯ, СОДЕРЖАЩЕЕ КАНАЛ ДЛЯ ПОТОКА ВОЗДУХА 2022
  • Ким, Тон Сун
  • Хан, Дэ Нам
  • Ким, Хван
  • Ли, Сын Вон
  • Чан, Сок Су
RU2831743C2
УСТРОЙСТВО ДЛЯ ГЕНЕРИРОВАНИЯ АЭРОЗОЛЯ И СПОСОБ ЭКСПЛУАТАЦИИ ТАКОГО УСТРОЙСТВА 2022
  • Пак, Чуон
  • Ким, Тхэхон
  • Чжун, Хёнчжин
RU2838075C2
УЗЕЛ НАГРЕВАТЕЛЯ И СПОСОБ ЕГО ИЗГОТОВЛЕНИЯ 2021
  • Ли, Сын Вон
  • Ким, Хван
  • Юн, Сон Ук
  • Хан, Дэ Нам
RU2798977C1

Иллюстрации к изобретению RU 2 833 148 C2

Реферат патента 2025 года УСТРОЙСТВО ДЛЯ ГЕНЕРИРОВАНИЯ АЭРОЗОЛЯ

Изобретение относится к устройству для генерирования аэрозоля, в частности к устройству для генерирования аэрозоля, в которое может быть плавно вставлено изделие для генерирования аэрозоля. Устройство для генерирования аэрозоля содержит нагреватель, имеющий пространство для размещения изделия для генерирования аэрозоля; и катушку, выполненную с возможностью нагрева нагревателя путем генерирования магнитного поля, в котором нагреватель содержит первую часть, расположенную с возможностью контакта с изделием для генерирования аэрозоля, и вторую часть, расположенную, по меньшей мере, на одном из двух концов первой части и проходящую в направлении от центра пространства для размещения, при этом вторая часть соединена с первой частью с возможностью разъединения и содержит материал, отличающийся от материала первой части. Технический результат заключается в возможности плавного введения изделия для генерирования аэрозоля в устройство для генерирования аэрозоля. 2 н. и 9 з.п. ф-лы, 14 ил.

Формула изобретения RU 2 833 148 C2

1. Устройство для генерирования аэрозоля, содержащее:

нагреватель, содержащий пространство для размещения изделия для генерирования аэрозоля; и

катушку, выполненную с возможностью нагрева нагревателя путем генерирования магнитного поля,

в котором нагреватель содержит:

первую часть, расположенную с возможностью контакта с изделием для генерирования аэрозоля; и

вторую часть, расположенную, по меньшей мере, на одном из двух концов первой части и проходящую в направлении от центра пространства для размещения, при этом

вторая часть соединена с первой частью с возможностью разъединения и содержит материал, отличающийся от материала первой части.

2. Устройство для генерирования аэрозоля по п. 1, в котором первая часть содержит выступающую часть, выступающую в направлении от центра пространства для размещения.

3. Устройство для генерирования аэрозоля по п. 1,

в котором первая часть содержит выступающую часть, выступающую в направлении от центра пространства для размещения, и

в котором устройство для генерирования аэрозоля дополнительно содержит датчик температуры, расположенный на выступающей части и выполненный с возможностью определения температуры нагревателя.

4. Устройство для генерирования аэрозоля по п. 1, дополнительно содержащее изолятор, соединенный, по меньшей мере, с частью второй части и выполненный с возможностью предотвращения передачи тепла от нагревателя наружу.

5. Устройство для генерирования аэрозоля по п. 1,

дополнительно содержащее изолятор, соединенный со второй частью, соприкасающийся с частью концевой части второй части и не соприкасающийся с оставшейся частью концевой части второй части, и выполненный с возможностью предотвращения передачи тепла из второй части наружу.

6. Устройство для генерирования аэрозоля по п. 1, в котором поверхность второй части содержит материал, предотвращающий рассеивание тепла нагревателя.

7. Устройство для генерирования аэрозоля по п. 1, в котором поверхность, определяемая кромкой концевой части второй части, наклонена относительно направления, перпендикулярного направлению, в котором ориентирован нагреватель.

8. Нагреватель для устройства для генерирования аэрозоля, содержащий:

пространство для размещения, предназначенное для размещения изделия для генерирования аэрозоля;

первую часть, расположенную с возможностью контакта с изделием для генерирования аэрозоля; и

вторую часть, расположенную, по меньшей мере, на одном из двух концов первой части и проходящую в направлении от центра пространства для размещения, при этом

вторая часть соединена с первой частью с возможностью разъединения и содержит материал, отличающийся от материала первой части.

9. Нагреватель по п. 8, в котором первая часть содержит выступающую часть, выступающую в направлении от центра пространства для размещения.

10. Нагреватель по п. 8, в котором поверхность второй части содержит материал, препятствующий рассеиванию тепла от нагревателя.

11. Нагреватель по п. 8, в котором поверхность, определяемая кромкой концевой части второй части, наклонена относительно направления, перпендикулярного направлению, в котором ориентирован нагреватель.

Документы, цитированные в отчете о поиске Патент 2025 года RU2833148C2

WO 2020074601 A1, 16.04.2020
WO 2020074601 A1, 16.04.2020
KR 1020190010216 A, 30.01.2019
KR 1020200078410 A, 01.07.2020
УСТРОЙСТВО ДЛЯ ГЕНЕРИРОВАНИЯ АЭРОЗОЛЯ 2019
  • Ан Хви Гён
  • Чи Кюн Мун
  • Чнон Ин Сон
  • Син Вон Хви
RU2743647C2
УСТРОЙСТВО ДЛЯ ГЕНЕРИРОВАНИЯ АЭРОЗОЛЯ И СПОСОБ УПРАВЛЕНИЯ ТАКИМ УСТРОЙСТВОМ 2018
  • Лим Хен Иль
RU2738546C2

RU 2 833 148 C2

Авторы

Ким, Тон Сон

Ким, Хван

Лим, Хен Иль

Чан, Сок Су

Даты

2025-01-14Публикация

2022-07-21Подача