УСТРОЙСТВО ДЛЯ ГЕНЕРИРОВАНИЯ АЭРОЗОЛЯ И СПОСОБ ЭКСПЛУАТАЦИИ ТАКОГО УСТРОЙСТВА Российский патент 2025 года по МПК A24F40/50 

Описание патента на изобретение RU2838075C2

Область техники

[1] Настоящее изобретение относится к устройству для генерирования аэрозоля и способу эксплуатации такого устройства.

Предшествующий уровень техники

[2] Устройство для генерирования аэрозоля представляет собой устройство, извлекающее определенные компоненты из среды или вещества путем образования аэрозоля. Среда может содержать многокомпонентное вещество. Вещество, содержащееся в среде, может представлять собой многокомпонентное вкусо-ароматизирующее вещество. Например, вещество, содержащееся в среде, может содержать никотиновый компонент, растительный компонент и/или кофейный компонент. В последнее время проводятся различные исследования устройств для генерирования аэрозоля.

Сущность изобретения

Техническая задача

[3] Задачей настоящего изобретения является устранение вышеупомянутых и других недостатков.

[4] Другой задачей настоящего изобретения является создание устройства для генерирования аэрозоля и способа его эксплуатации, позволяющих точно определять температуру аккумулятора с использованием датчика температуры, расположенного рядом с аккумулятором.

[5] Следующей задачей настоящего изобретения является создание устройства для генерирования аэрозоля и способа эксплуатации такого устройства, позволяющих прекращать зарядку аккумулятора при необходимости в зависимости от температуры аккумулятора во время зарядки аккумулятора.

Техническое решение

[6] Перечисленные выше и прочие задачи решены устройством для генерирования аэрозоля согласно одному из аспектов настоящего изобретения, которое может содержать нагреватель, выполненный с возможностью нагревания вещества для генерирования аэрозоля, аккумулятор, выполненный с возможностью подачи электропитания на нагреватель, датчик температуры, расположенный рядом с аккумулятором, и контроллер. После прекращения зарядки аккумулятора контроллер может отслеживать показание датчика температуры. Если результат отслеживания показания датчика температуры удовлетворяет предварительно заданному условию, относящемуся к аккумулятору, контроллер может определить показание датчика температуры в качестве температуры аккумулятора. Если результат отслеживания показания датчика температуры не удовлетворяет предварительно заданному условию, контроллер может определить результат компенсации показания датчика температуры в качестве температуры аккумулятора.

[7] Перечисленные выше и другие задачи изобретения решены способом эксплуатации устройства для генерирования аэрозоля согласно одному из аспектов настоящего изобретения, который может содержать отслеживание показания датчика температуры, расположенного рядом с аккумулятором, когда зарядка аккумулятора прекращена, определение показания датчика температуры в качестве температуры аккумулятора, если результат отслеживания показания датчика температуры удовлетворяет заданному условию, относящемуся к аккумулятору, и определение результата компенсации показания датчика температуры в качестве температуры аккумулятора, если результат отслеживания показания датчика температуры не соответствует заданному условию.

Полезные эффекты изобретения

[8] По меньшей мере в одном из вариантов осуществления настоящего изобретения можно точно определять температуру аккумулятора с помощью датчика температуры, расположенного рядом с аккумулятором.

[9] Кроме того, по меньшей мере в одном из вариантов осуществления настоящего изобретения можно прекратить зарядку аккумулятора при необходимости в зависимости от температуры аккумулятора во время зарядки аккумулятора, что повышает безопасность аккумулятора и надежность продукта.

[10] Дополнительные варианты осуществления настоящего изобретения станут очевидными из следующего подробного описания. Тем не менее, поскольку специалистам в данной области техники будут несомненно понятны различные изменения и модификации в рамках сущности и объема настоящего изобретения, следует понимать, что подробное описание и конкретные варианты осуществления изобретения, такие как предпочтительные варианты осуществления настоящего изобретения, приведены только в качестве примера.

Описание чертежей

[11] Вышеприведенные и другие цели, признаки и другие преимущества настоящего изобретения будут более понятны из приведенного ниже подробного описания со ссылкой на прилагаемые чертежи, на которых изображено:

[12] На ФИГ. 1 изображена блок-схема устройства для генерирования аэрозоля согласно одному из вариантов осуществления настоящего изобретения.

[13] На ФИГ. 2А-4 изображены виды, иллюстрирующие устройство для генерирования аэрозоля согласно вариантам осуществления настоящего изобретения.

[14] На ФИГ. 5 в аксонометрии изображены направления устройства для генерирования аэрозоля согласно одному из вариантов осуществления настоящего изобретения.

[15] На ФИГ. 6 и 7 изображены блок-схемы способа эксплуатации устройства для генерирования аэрозоля согласно одному из вариантов осуществления настоящего изобретения.

[16] На ФИГ. 8 и 9 изображены виды, иллюстрирующие работу устройства для генерирования аэрозоля.

Лучший вариант осуществления изобретения

[17] Здесь и далее варианты осуществления, раскрытые в настоящем описании, будут подробно раскрыты со ссылкой на прилагаемые чертежи, причем одинаковые или подобные элементы имеют одинаковые ссылочные обозначения, даже если они изображены на разных чертежах, а излишние описания будут опущены.

[18] В отношении составляющих элементов, используемых в последующем описании, термины «модуль» и «блок» используются только с точки зрения облегчения описания и не имеют взаимно различающихся значений или функций.

[19] Кроме того, в последующем описании вариантов осуществления изобретения в настоящем документе подробное описании известных функций и конфигураций, являющихся частью настоящего описания, будет опущено, если это может сделать объект раскрытых вариантов осуществления изобретения неясным. Кроме того, прилагаемые чертежи предоставлены только для лучшего понимания раскрытых вариантов осуществления изобретения, и не предназначены для ограничения раскрытых технических идей. Следовательно, следует понимать, что прилагаемые чертежи содержат все модификации, эквиваленты и замены в пределах объема и сущности настоящего изобретения.

[20] Следует понимать, что, хотя термины «первый», «второй» и т. п. могут использоваться для описания различных компонентов, эти компоненты не могут ограничиваться этими терминами. Эти термины используются исключительно для отличения одного компонента от другого.

[21] Следует понимать, что, когда компонент упоминается как «соединенный с» или «связанный с» другим компонентом, он может быть непосредственно соединен или связан с другим компонентом, или могут присутствовать промежуточные компоненты. С другой стороны, когда компонент упоминается как «непосредственно соединенный с» или «непосредственно связанный с» другим компонентом, промежуточные компоненты отсутствуют.

[22] Форма единственного числа подразумевает как единственное, так и множественное число существительных, за исключением случаев, когда контекстом явно определено иное.

[23] На ФИГ. 1 изображена блок-схема устройства для генерирования аэрозоля согласно одному из вариантов осуществления настоящего изобретения.

[24] Как показано на ФИГ. 1, устройство 100 для генерирования аэрозоля может содержать интерфейс 110 связи, интерфейс 120 ввода/вывода, модуль 130 для генерирования аэрозоля, память 140, сенсорный модуль 150, аккумулятор 160 и/или контроллер 170.

[25] В одном варианте осуществления устройство 100 для генерирования аэрозоля может быть образовано только основным корпусом. В этом случае компоненты, содержащиеся в устройстве 100 для генерирования аэрозоля, могут быть расположены в основном корпусе. В другом варианте осуществления изобретения устройство 100 для генерирования аэрозоля может состоять из картриджа, который содержит вещество для генерирования аэрозоля, и основного корпуса. В этом случае компоненты, содержащиеся в устройстве 100 для генерирования аэрозоля, могут быть расположены в основном корпусе и/или в картридже.

[26] Интерфейс 110 связи может содержать по меньшей мере один модуль связи для связи с внешним устройством и/или сетью. Например, интерфейс 110 связи может содержать модуль связи для проводной связи, такой как универсальная последовательная шина (USB). Например, интерфейс 110 связи может содержать модуль связи для беспроводной связи, такой как Wireless Fidelity (Wi-Fi), Bluetooth, Bluetooth с низким энергопотреблением (BLE), ZigBee или связь ближнего поля (NFC).

[27] Интерфейс 120 ввода/вывода может содержать устройство ввода для приема команды от пользователя и/или устройство вывода для вывода информации пользователю. Например, устройство ввода может содержать сенсорную панель, физическую кнопку, микрофон и т. п. Например, устройство вывода может содержать дисплей для вывода визуальной информации, такое как дисплей или светодиод (LED), аудиоустройство для вывода звуковой информации, такое как динамик или зуммер, двигатель для вывода тактильной информации, такой как тактильный эффект и т. п.

[28] Интерфейс 120 ввода/вывода может передавать данные, соответствующие введенной пользователем команде, через устройство ввода к другому компоненту (или другим компонентам) устройства 100 для генерирования аэрозоля, и может выводить информацию, соответствующую данным, полученным от другого компонента (или других компонентов) устройства 100 для генерирования аэрозоля, через устройство вывода.

[29] Модуль 130 для генерирования аэрозоля может генерировать аэрозоль из вещества для генерирования аэрозоля. В данном случае вещество для генерирования аэрозоля может представлять собой вещество в жидком состоянии, твердом состоянии или желеобразном состоянии, способное генерировать аэрозоль, или комбинацию двух или более веществ для генерирования аэрозоля.

[30] В одном из вариантов осуществления изобретения жидкое вещество для генерирования аэрозоля может представлять собой жидкость, в состав которой входит табакосодержащий материал, содержащий летучий табачный вкусо-ароматизирующий компонент. В другом варианте осуществления изобретения жидкое вещество для генерирования аэрозоля может представлять собой жидкость, содержащую нетабачный материал. Например, жидкое вещество для генерирования аэрозоля может содержать воду, растворители, никотин, растительные экстракты, ароматизаторы, вкусо-ароматические добавки, витаминные смеси и т.п.

[31] Твердое вещество для генерирования аэрозоля может содержать твердый материал на основании табачного сырья, такого как восстановленный табачный лист, измельченный табак или гранулированный табак. Кроме того, твердое вещество для генерирования аэрозоля может содержать твердый материал, содержащий вещество для регулирования вкуса и ароматизирующий материал. Например, вещество для регулирования вкуса может включать карбонат кальция, бикарбонат натрия, оксид кальция и т. д. Например, ароматизирующий материал может содержать природный материал, такой как растительные гранулы, или может содержать такой материал, как диоксид кремния, цеолит или декстрин, который содержит ароматический ингредиент.

[32] Кроме того, вещество для генерирования аэрозоля может дополнительно содержать вещество для формирования аэрозоля, такое как глицерин или пропиленгликоль.

[33] Модуль 130 для генерирования аэрозоля может содержать по меньшей мере один нагреватель.

[34] Модуль 130 для генерирования аэрозоля может содержать электрорезистивный нагреватель. Например, электрорезистивный нагреватель может содержать по меньшей мере одну электропроводящую дорожку и может нагреваться током, протекающим по электропроводящей дорожке. В этот момент вещество для генерирования аэрозоля может быть нагрето посредством электрорезистивного нагревателя.

[35] Электропроводящая дорожка может содержать электрорезистивный материал. В одном примере электропроводящая дорожка может быть выполнена из металлического материала. В другом примере электропроводящая дорожка может быть выполнена из керамического материала, углерода, металлического сплава или композита из керамического материала и металла.

[36] Электрорезистивный нагреватель может содержать электропроводящую дорожку, имеющую любую из различных форм. Например, электропроводящая дорожка может иметь любую из следующих форм: труба, пластина, игла, стержень и обмотка.

[37] Модуль 130 для генерирования аэрозоля может содержать нагреватель, использующий способ индукционного нагрева. Например, индукционный нагреватель может содержать электропроводящую катушку и генерировать переменное магнитное поле, периодически меняющее свое направление, путем регулировки тока, протекающего через электропроводящую катушку. В этом случае при воздействии переменного магнитного поля на магнитное тело в нем могут происходить потери энергии на вихревые токи и гистерезис, и потерянная энергия может выделяться в виде тепловой энергии. Соответственно, вещество для генерирования аэрозоля, расположенное рядом с магнитным корпусом, может нагреваться. В настоящем документе объект, который генерирует тепло вследствие действия электромагнитного поля, может называться токоприемником.

[38] Между тем, модуль 130 для генерирования аэрозоля может генерировать ультразвуковые колебания, чтобы таким образом генерировать аэрозоль из вещества для генерирования аэрозоля.

[39] Устройство 100 для генерирования аэрозоля может содержать несколько модулей 130 для генерирования аэрозоля. Например, устройство 100 для генерирования аэрозоля может содержать первый модуль 131 для генерирования аэрозоля путем испарения жидкого материала и второй модуль 132 для генерирования аэрозоля путем нагревания сигареты. Первый нагреватель 133, входящий в состав первого модуля 131 для генерирования аэрозоля, может представлять собой спиральный или сетчатый нагреватель. Первый модуль 131 для генерирования аэрозоля может быть выполнен в виде картриджа, поставляемого отдельно от основного корпуса устройства 100 для генерирования аэрозоля. Модуль 131 для генерирования аэрозоля может называться картомайзером, атомайзером или испарителем. Второй нагреватель 134, входящий в состав второго модуля 132 для генерирования аэрозоля, может представлять собой пленочный нагреватель, содержащий электропроводящую дорожку, или токоприемник, выполненный с возможностью выработки тепла с помощью способа индукционного нагрева.

[40] В памяти 140 могут храниться программы для обработки и управления каждым сигналом в контроллере 170, а также могут храниться обработанные данные и данные, подлежащие обработке.

[41] Например, в памяти 140 могут храниться приложения, предназначенные для выполнения различных задач, которые могут быть выполнены контроллером 170, и память может выборочно предоставлять некоторые из сохраненных приложений в ответ на запрос от контроллера 170.

[42] Например, в памяти 140 могут храниться данные о времени работы устройства 100 для генерирования аэрозоля, максимальном количестве затяжек, текущем количестве затяжек, по меньшей мере одном профиле температуры и схеме вдыхания пользователя. В настоящем документе «затяжка» означает вдыхание пользователем, и «вдыхание» означает действие пользователя по всасыванию воздуха или других веществ в полость рта, носа или легкие пользователя через рот или нос пользователя.

[43] Память 140 может содержать по меньшей мере одно из следующих устройств: энергозависимую память (например, динамическую оперативную память (DRAM), статическую оперативную память (SRAM) или синхронную динамическую оперативную память (SDRAM), энергонезависимую память (например, флэш-память), накопитель на жестком диске (HDD) или твердотельный накопитель (SSD).

[44] Сенсорный модуль 150 может содержать по меньшей мере один датчик.

[45] Например, сенсорный модуль 150 может содержать датчик для распознавания затяжки (далее «датчик затяжки»). В этом случае датчик затяжки может быть выполнен в виде датчика давления.

[46] Например, сенсорный модуль 150 может содержать датчик для измерения температуры нагревателя, входящего в состав модуля 130 для генерирования аэрозоля, и температуры вещества для генерирования аэрозоля (далее «датчик температуры»). В этом случае нагреватель, входящий в состав модуля 130 для генерирования аэрозоля, также может служить датчиком температуры. Например, электрорезистивный материал нагревателя может представлять собой материал, имеющий заданный температурный коэффициент сопротивления. Сенсорный модуль 150 может измерять сопротивление нагревателя, которое изменяется в зависимости от температуры, чтобы таким образом измерять температуру нагревателя.

[47] Например, если основной корпус устройства 100 для генерирования аэрозоля выполнен таким образом, чтобы в него можно было вставлять сигарету, сенсорный модуль 150 может содержать датчик для распознавания введения сигареты (далее «датчик распознавания сигареты»).

[48] Например, если устройство 100 для генерирования аэрозоля содержит картридж, сенсорный модуль 150 может содержать датчик для распознавания установки/демонтажа картриджа, а также положения картриджа (далее «датчик распознавания картриджа»).

[49] В этом случае датчик распознавания сигареты и/или датчик распознавания картриджа может быть выполнен в виде индуктивного датчика, емкостного датчика, датчика сопротивления или датчика на эффекте Холла (или интегральной схемы на эффекте Холла) с использованием эффекта Холла.

[50] Например, сенсорный модуль 150 может содержать датчик напряжения для измерения напряжения, приложенного к компоненту (например, аккумулятору 160), предусмотренному в устройстве 100 для генерирования аэрозоля, и/или датчик тока для измерения тока.

[51] Аккумулятор 160 может подавать электропитание, используемое для работы устройства 100 для генерирования аэрозоля под управлением контроллера 170. Аккумулятор 160 может подавать питание на другие компоненты, предусмотренные в устройстве 100 для генерирования аэрозоля, например, модуль связи в интерфейсе 110 связи, устройство вывода в интерфейсе 120 ввода/вывода, и нагреватель в модуле 130 для генерирования аэрозоля.

[52] Аккумулятор 160 может представлять собой перезаряжаемый аккумулятор или одноразовый аккумулятор. Например, аккумулятор 160 может представлять собой литий-ионный (Li-ion) или литий-полимерный (Li-polymer) аккумулятор. Тем не менее, настоящее изобретение не ограничено этим вариантом. Например, когда аккумулятор 160 представляет собой перезаряжаемый аккумулятор, скорость заряда (C-rate) аккумулятора 160 может составлять 10C, а скорость разряда (C-rate) может составлять от 10C до 20C. Тем не менее, настоящее изобретение не ограничено этим вариантом. Кроме того, для стабильного использования аккумулятор 160 может быть выполнен таким образом, что 80 % или более от общей емкости может быть обеспечено даже тогда, когда зарядка/разрядка была выполнена 2000 раз.

[53] Устройство 100 для генерирования аэрозоля может дополнительно содержать модуль схемы защиты аккумулятора (PCM) (не показан на чертежах), который представляет собой схему защиты аккумулятора 160. Модуль схемы защиты аккумулятора (PCM) может быть расположен рядом с верхней поверхностью аккумулятора 160. Например, чтобы предотвратить избыточную зарядку и чрезмерную разрядку аккумулятора 160, модуль схемы защиты аккумулятора (PCM) может отключать электрическую цепь к аккумулятору 160 при возникновении короткого замыкания в цепи, подключенной к аккумулятору 160, когда избыточное напряжение подается на аккумулятор 160, или когда через аккумулятор 160 протекает избыточный ток.

[54] Устройство 100 для генерирования аэрозоля может дополнительно содержать клемму питания (не показана), через которую подается электропитание извне. Например, линия питания может быть подключена к клемме питания, расположенной на одной стороне основного корпуса устройства 100 для генерирования аэрозоля, и устройство 100 для генерирования аэрозоля может использовать электропитание, подаваемое по линии питания, соединенной с клеммой питания, для зарядки аккумулятора 160. В этом случае клемма питания может быть проводной клеммой для USB связи.

[55] Устройство 100 для генерирования аэрозоля может по беспроводной связи получать электропитание, подаваемое извне, через интерфейс 110 связи. Например, устройство 100 для генерирования аэрозоля может получать электропитание по беспроводной связи, используя антенну, включенную в состав модуля связи, для беспроводной связи, и может заряжать аккумулятор 160, используя электропитание, подаваемое по беспроводной связи.

[56] Контроллер 170 может управлять устройством 100 для генерирования аэрозоля в целом. Контроллер 170 может быть связан с каждым из компонентов, предусмотренных в устройстве 100 для генерирования аэрозоля, и может передавать и/или принимать сигнал к каждому из компонентов и/или от них, тем самым управляя общей работой каждого из компонентов.

[57] Контроллер 170 может содержать по меньшей мере один процессор и может управлять работой устройства 100 для генерирования аэрозоля в целом посредством встроенного в него процессора. В данном случае процессор может быть универсальным процессором, таким как центральный процессор (CPU). Несомненно, процессор может быть специализированным устройством, таким как специализированная интегральная микросхема (ASIC), или может быть любым другим аппаратным процессором.

[58] Контроллер 170 может выполнять любую из множества функций устройства 100 для генерирования аэрозоля. Например, контроллер 170 может выполнять любую из множества функций устройства 100 для генерирования аэрозоля (например, функцию предварительного нагрева, функцию нагрева, функцию зарядки и функцию очистки) в соответствии с состоянием каждого из компонентов, предусмотренных в устройстве 100 для генерирования аэрозоля, и командами пользователя, полученными через интерфейс 120 ввода/вывода.

[59] Контроллер 170 может управлять работой каждого из компонентов, предусмотренных в устройстве 100 для генерирования аэрозоля, на основании данных, хранящихся в памяти 140. Например, контроллер 170 может управлять подачей предварительно заданного количества электропитания от аккумулятора 160 к модулю 130 для генерирования аэрозоля на основании данных о профиле температуры, профиле электропитания и паттерне вдыхания пользователя, хранящихся в памяти 140.

[60] Контроллер 170 может определять наличие или отсутствие затяжки с помощью датчика затяжки, входящего в состав сенсорного модуля 150. Например контроллер 170 может отслеживать изменение температуры, изменение расхода, изменение давления и изменение напряжения в устройстве 100 для генерирования аэрозоля на основании значений, измеренных датчиком затяжки, и может определять наличие или отсутствие затяжки по результатам отслеживания.

[61] Контроллер 170 может управлять работой каждого из компонентов, предусмотренных в устройстве 100 для генерирования аэрозоля, в соответствии с наличием или отсутствием затяжки и/или количеством затяжек. Например после распознавания затяжки контроллер 170 может осуществлять управление таким образом, чтобы предварительно заданное количество электропитания поступало к нагревателю в соответствии с профилем температуры, хранящимся в памяти 140. Например, контроллер 170 может осуществлять управление таким образом, чтобы температура нагревателя изменялась или поддерживалась в соответствии с профилем температуры, хранящимся в памяти 140.

[62] Контроллер 170 может осуществлять управление таким образом, чтобы подача электропитания к нагревателю прерывалась в соответствии с заданным условием. Например контроллер 170 может осуществлять управление таким образом, чтобы подача электропитания к нагревателю прерывалась при извлечении сигареты, при демонтаже картриджа, когда количество затяжек достигает предварительно заданного максимального количества затяжек, когда затяжка не распознается в течение предварительно заданного периода времени или дольше, или в случае, когда оставшаяся емкость аккумулятора 160 меньше заданного значения.

[63] Контроллер 170 может вычислять оставшуюся емкость по отношению к полной емкости аккумулятора 160. Например, контроллер 170 может вычислять оставшуюся емкость аккумулятора 160 на основании значений, измеренных датчиком напряжения и/или датчиком тока, входящим в сенсорный модуль 150.

[64] На ФИГ. 2А-4 изображены виды, иллюстрирующие устройство для генерирования аэрозоля согласно вариантам осуществления настоящего изобретения.

[65] В соответствии с различными вариантами осуществления настоящего изобретения устройство 100 для генерирования аэрозоля может содержать основной корпус и/или картридж.

[66] Как показано на ФИГ. 2А, устройство 100 для генерирования аэрозоля в соответствии с одним из вариантов осуществления изобретения может содержать основной корпус 210, который выполнен таким образом, чтобы сигарету 201 можно было вставить во внутреннее пространство, образованное корпусом 215.

[67] Сигарета 201 может быть подобна обычной сигарете сгораемого типа. Например, сигарета 201 может быть разделена на первую часть, содержащую вещество для генерирования аэрозоля, и вторую часть, содержащую фильтр. В альтернативном варианте вторая часть сигареты 201 также может содержать вещество для генерирования аэрозоля. Например, во вторую часть может быть вставлен гранулированный или капсулированный ароматизирующий материал.

[68] Первая часть может быть полностью вставлена в устройство 100 для генерирования аэрозоля, а вторая часть может быть выведена наружу. В альтернативном варианте только часть первой части может быть вставлена в устройство 100 для генерирования аэрозоля. В другом варианте первая часть полностью и часть второй части могут быть вставлены в устройство 100 для генерирования аэрозоля. Пользователь может вдыхать аэрозоль в состоянии удерживания второй части во рту. При этом аэрозоль может генерироваться, когда наружный воздух проходит через первую часть, и сгенерированный аэрозоль может поступать в рот пользователя через вторую часть.

[69] Основной корпус 210 может быть выполнен таким образом, что наружный воздух поступает в основной корпус 210 в состоянии, в котором в него вставлена сигарета 201. В этом случае наружный воздух, поступающий в основной корпус 210, может поступать в рот пользователя через сигарету 201.

[70] Когда сигарета 201 вставлена, контроллер 170 может осуществлять управление таким образом, чтобы электропитание поступало к нагревателю на основании профиля температуры, хранящегося в памяти 140.

[71] Контроллер 170 может осуществлять управление таким образом, чтобы электропитание поступало на нагреватель посредством широтно-импульсной модуляции (ШИМ) и/или пропорционально-интегрально-дифференциального (ПИД) регулирования.

[72] Например, контроллер 170 может осуществлять управление таким образом, чтобы импульс тока, имеющий предварительно заданную частоту и предварительно заданный коэффициент заполнения, поступал на нагреватель посредством способа ШИМ. В этом случае контроллер 170 может управлять количеством электропитания, поступающего к нагревателю, путем регулирования частоты и коэффициента заполнения импульса тока.

[73] Например, контроллер 170 может определять целевую температуру, подлежащую регулированию, на основании профиля температуры. В этом случае контроллер 170 может управлять количеством электропитания, поступающего на нагреватель, посредством ПИД-регулирования, которое представляет собой способ управления с обратной связью с использованием значения разности между температурой нагревателя и заданной температурой, значения, полученного путем интегрирования значения разности по времени, и значения, полученного путем дифференцирования значения разности по времени.

[74] Хотя способы ШИМ и ПИД описаны в качестве примеров способов управления подачей электропитания на нагреватель, настоящее изобретение не ограничивается ими, и может использовать любой из различных способов регулирования, например, пропорционально-интегральный (ПИ) или пропорционально-дифференциальный (ПД) способ.

[75] Нагреватель может быть расположен в основном корпусе 210 в положении, соответствующем положению, в котором сигарета 201 вставлена в основной корпус 210. Хотя на чертежах показано, что нагреватель представляет собой электропроводящий нагреватель 220, содержащий электропроводящую дорожку в форме иглы, настоящее изобретение не ограничивается этим.

[76] Нагреватель может нагревать внутреннюю и/или внешнюю часть сигареты 201, используя электропитание, поступающее от аккумулятора 160, и нагретая сигарета 201 может генерировать аэрозоль. В это время пользователь может держать один конец сигареты 201 во рту, чтобы вдыхать аэрозоль, содержащий табачный материал.

[77] Между тем, контроллер 170 может осуществлять управление таким образом, чтобы электропитание поступало к нагревателю в состоянии, в котором сигарета 201 не вставлена в основной корпус в соответствии с предварительно заданным условием. Например, когда функцию очистки для очистки пространства, в которое вставлена сигарета 201, выбирают в ответ на команду, введенную пользователем через интерфейс 120 ввода/вывода, контроллер 170 может осуществлять управление таким образом, чтобы предварительно заданное количество электропитания поступало к нагревателю.

[78] Контроллер 170 может отслеживать количество затяжек на основании значения, измеренного датчиком затяжки, с момента времени, когда сигарета 201 была вставлена в основной корпус.

[79] Когда сигарета 201 вынута из основного корпуса, контроллер 170 может инициализировать текущее количество затяжек, сохраненное в памяти 140.

[80] Как показано на ФИГ. 2B, сигарета 201 согласно настоящему изобретению может содержать табачный стержень 202 и фильтрующий стержень 203. Первая часть, раскрытая выше со ссылкой на ФИГ. 2А, может содержать табачный стержень 202, и вторая часть может содержать фильтрующий стержень 203.

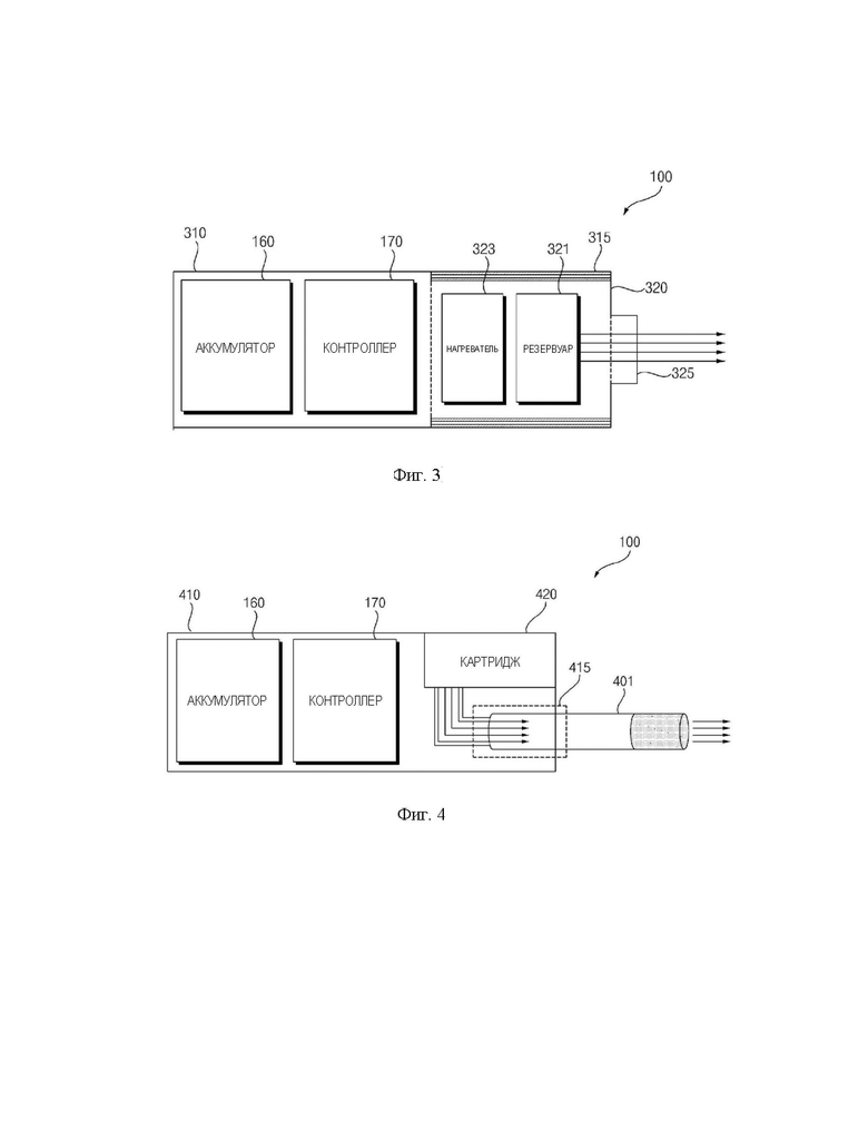
[81] Хотя на ФИГ. 2В показано, что фильтрующий стержень 203 состоит из одного сегмента, настоящее изобретение этим не ограничено. Другими словами, фильтрующий стержень 203 может состоять из нескольких сегментов. Например, фильтрующий стержень 203 может содержать первый сегмент, выполненный с возможностью охлаждения аэрозоля, и второй сегмент, выполненный с возможностью фильтрации определенного компонента, содержащегося в аэрозоле. Кроме того, при необходимости фильтрующий стержень 203 может дополнительно содержать по меньшей мере один сегмент, выполненный с возможностью осуществления других функций.

[82] Сигарета 201 может быть обернута по меньшей мере одной оберткой 205. Обертка 205 может иметь по меньшей мере одно отверстие, выполненное в ней для обеспечения возможности подачи в нее наружного воздуха или для выпуска из нее внутреннего газа. В одном примере сигарета 201 может быть обернута одной оберткой 205. В другом примере сигарета 201 может быть дважды обернута двумя или более обертками 205. Например, табачный стержень 202 может быть обернут первой оберткой, а фильтрующий стержень 203 - второй оберткой. Кроме того, табачный стержень 202 и фильтрующий стержень 203, обернутые отдельными обертками, могут быть соединены друг с другом, и сигарета 201 в целом может быть обернута третьей оберткой. Если табачный стержень 202 и фильтрующий стержень 203 состоят из нескольких сегментов, каждый сегмент может быть обернут отдельной оберткой. Кроме того, сигарета 201 в целом, сформированная посредством соединения отдельных сегментов, каждый из которых обернут отдельной оберткой, друг с другом, может быть обернута еще одной оберткой.

[83] Табачный стержень 202 может содержать вещество для генерирования аэрозоля. Например, вещество для генерирования аэрозоля может содержать по меньшей мере один из следующих компонентов: глицерин, пропиленгликоль, этиленгликоль, дипропиленгликоль, диэтиленгликоль, триэтиленгликоль, тетраэтиленгликоль или олеиловый спирт; но настоящее изобретение этим не ограничивается. Кроме того, табачный стержень 202 может содержать другие добавки, такие как вкусо-ароматическая добавка, увлажняющее вещество и/или органическую кислоту. Кроме того, в табачный стержень 202 может быть введен и добавлен жидкий ароматизатор, такой как ментол или увлажнитель.

[84] Табачный стержень 202 может быть изготовлен в различных формах. Например, табачный стержень 202 может быть сформирован в виде листа или пряди. Кроме того, табачный стержень 202 может быть выполнен в виде измельченного табака, полученного путем разрезания табачного листа на мелкие кусочки. Кроме того, табачный стержень 202 может быть окружен теплопроводящим материалом. Например, теплопроводящий материал может представлять собой, в частности, металлическую фольгу, например, алюминиевую фольгу, но настоящее изобретение этим не ограничивается. В одном примере теплопроводящий материал, окружающий табачный стержень 202, может равномерно распределять тепло, передаваемое табачному стержню 202, что позволяет увеличить передачу тепла, подводимого к табачному стержню и тем самым улучшить вкус табака. Кроме того, теплопроводящий материал, окружающий табачный стержень 202, может служить токоприемником, нагреваемым индукционным нагревателем. В этом случае, хотя этого не показано на чертежах, табачный стержень 202 может содержать дополнительный токоприемник наряду с теплопроводящим материалом, окружающим табачный стержень 202.

[85] Фильтрующий стержень 203 может представлять собой фильтр из ацетата целлюлозы. Фильтрующий стержень 203 может быть выполнен в любых различных формах. Например, фильтрующий стержень 203 может иметь форму цилиндра или полой трубки. Кроме того, фильтрующий стержень 203 может представлять собой стержень с выемкой. Если фильтрующий стержень 203 состоит из нескольких сегментов, по меньшей мере один из нескольких сегментов может иметь отличающуюся форму.

[86] Фильтрующий стержень 203 может быть выполнен с возможностью генерирования вкусов и ароматов. В одном примере вкусо-ароматизирующая жидкость может быть введена в фильтрующий стержень 203, или же отдельное волокно, покрытое вкусо-ароматизирующей жидкостью, может быть вставлено в фильтрующий стержень 203.

[87] Кроме того, фильтрующий стержень 203 может содержать по меньшей мере одну капсулу 204. В данном случае капсула 204 может служить для генерирования вкуса и аромата или аэрозоля. Например, капсула 204 может иметь конструкцию, в которой жидкость, содержащая вкусо-ароматизирующий материал, обернута пленкой. Капсула 204 может иметь форму сферы или цилиндра, но настоящее изобретение этим не ограничивается.

[88] Если фильтрующий стержень 203 содержит сегмент, выполненный с возможностью охлаждения аэрозоля, охлаждающий сегмент может быть выполнен из полимерного или биоразлагаемого полимерного материала. Например, охлаждающий сегмент может быть изготовлен только из чистой полимолочной кислоты, но настоящее изобретение этим не ограничивается. В качестве альтернативы, охлаждающий сегмент может быть выполнен в виде ацетат-целлюлозного фильтра, содержащего множество отверстий. Тем не менее, охлаждающий сегмент не ограничен раскрытым выше примером и может быть любого другого типа при условии сохранения функции охлаждения аэрозоля.

[89] Хотя это не показано на ФИГ. 2B, в одном из вариантов осуществления изобретения сигарета 201 может дополнительно содержать передний фильтр. Передний фильтр может быть расположен на стороне табачного стержня 202, обращенной к фильтрующему стержню 203. Передний фильтр может предотвращать выпадение табачного стержня 202 наружу и попадание сжиженного аэрозоля в устройство 100 для генерирования аэрозоля из табачного стержня 202 во время вдыхания пользователем.

[90] Как показано на ФИГ. 3, устройство 100 для генерирования аэрозоля согласно одному из вариантов осуществления изобретения может содержать основной корпус 310 и картридж 320. Основной корпус 310 может поддерживать картридж 320, а картридж 320 может содержать вещество для генерирования аэрозоля.

[91] Согласно одному варианту осуществления картридж 320 может быть выполнен с возможностью съемного прикрепления к основному корпусу 310. Согласно другому варианту осуществления картридж 320 может быть выполнен как одно целое с основным корпусом 310. Например, картридж 320 может быть прикреплен к основному корпусу 310 таким образом, чтобы по меньшей мере часть картриджа 320 входила во внутреннее пространство, образованное корпусом 315 основного корпуса 310.

[92] Основной корпус 310 может иметь такую конструкцию, чтобы наружный воздух мог поступать в основной корпус 310 в состоянии, в котором в него вставлен картридж 320. В этом случае наружный воздух, поступающий в основной корпус 310, может поступать в рот пользователя через картридж 320.

[93] Контроллер 170 может определять, находится ли картридж 320 в прикрепленном или демонтированном состоянии, используя датчик распознавания картриджа, входящий в состав сенсорного модуля 150. Например, датчик распознавания картриджа может передавать импульсный ток через клемму, соединенную с картриджем, и определять, принимается ли импульсный ток, через другую клемму, тем самым определяя, находится ли картридж в подсоединенном состоянии.

[94] Картридж 320 может содержать резервуар 321, выполненный с возможностью помещения в него вещества для генерирования аэрозоля, и/или нагреватель 323, выполненный с возможностью нагревания вещества для генерирования аэрозоля в резервуаре 321. Например, элемент для доставки жидкости, пропитанный веществом для генерирования аэрозоля (содержащий такое вещество), может быть расположен внутри резервуара 321, а электропроводящая дорожка нагревателя 323 может быть сформирована в структуре, намотанной вокруг элемента для доставки жидкости. В этом случае, когда элемент для доставки жидкости нагревают нагревателем 323, можно генерировать аэрозоль. Элемент для доставки жидкости может содержать фитиль, выполненный, например, из хлопкового волокна, керамического волокна, стеклянного волокна или пористой керамики.

[95] Картридж 320 может содержать мундштук 325. В данном случае мундштук 325 может представлять собой часть, вводимую в полость рта пользователя, и может содержать выпускное отверстие, через которое аэрозоль выходит наружу во время затяжки.

[96] Как показано на ФИГ. 4, устройство 100 для генерирования аэрозоля согласно одному из вариантов осуществления изобретения может содержать основной корпус 410 и картридж 420. Основной корпус 410 может быть выполнен с возможностью поддержки картриджа 420 и введения сигареты 401 во внутреннее пространство 415 этого корпуса, а картридж 420 может содержать вещество для генерирования аэрозоля.

[97] Устройство 100 для генерирования аэрозоля может содержать первый нагреватель для нагревания вещества для генерирования аэрозоля, хранящегося в картридже 420. Например, когда пользователь держит один конец сигареты 401 во рту, чтобы вдыхать аэрозоль, аэрозоль, генерируемый первым нагревателем, может проходить через сигарету 401. В это время, когда аэрозоль проходит через сигарету 401, к аэрозолю может быть добавлен табачный материал, и аэрозоль, содержащий табачный материал, может попадать в полость рта пользователя через один конец сигареты 401.

[98] В качестве альтернативы, в соответствии с другим вариантом осуществления изобретения, устройство 100 для генерирования аэрозоля может содержать первый нагреватель для нагревания вещества для генерирования аэрозоля, хранящегося в картридже 420, и второй нагреватель для нагревания сигареты 401, вставленной в основной корпус 410. Например, устройство 100 для генерирования аэрозоля может генерировать аэрозоль путем нагревания вещества для генерирования аэрозоля, хранящегося в картридже 420, и сигареты 401, с использованием первого нагревателя и второго нагревателя, соответственно.

[99] На ФИГ. 5 в аксонометрии изображены направления устройства для генерирования аэрозоля согласно одному из вариантов осуществления настоящего изобретения.

[100] В ортогональной системе координат направление оси x может быть определено как направление «влево-вправо» устройства 100 для генерирования аэрозоля. В настоящем документе, исходя из начала координат, направление оси +x может быть направлением вправо, а направление оси -x может быть направлением влево. Направление оси y может быть определено как направление «вперед-назад» устройства 100 для генерирования аэрозоля. В настоящем документе, исходя из начала координат, направление оси +y может быть направлением вперед, а направление оси -y может быть направлением назад. Направление оси z может быть определено как направление «вверх-вниз» устройства 100 для генерирования аэрозоля. В настоящем документе, исходя из начала координат, направление оси +z может быть направлением вверх, а направление оси -z может быть направлением вниз.

[101] Как показано на ФИГ. 5, пространство 520 для введения, в которое вставляют сигарету 501, может быть определено в верхнем конце корпуса 500 устройства 100 для генерирования аэрозоля.

[102] Пространство 520 для введения может быть вдавлено на заданную глубину по направлению к внутренней части корпуса 500 таким образом, чтобы сигарета 501, по меньшей мере, частично входила в него. В этом случае глубина пространства 520 для введения может соответствовать длине части сигареты 501, содержащей вещество для генерирования аэрозоля. Например, если сигарету 201, показанную на ФИГ. 2B, можно использовать в устройстве 100 для генерирования аэрозоля, глубина пространства 520 для введения может соответствовать длине табачного стержня 202 сигареты 201.

[103] Аккумулятор 160, нагреватель 530 и печатная плата 540 могут быть расположены в корпусе 500 устройства 100 для генерирования аэрозоля.

[104] Нагреватель 530 может быть расположен рядом с пространством 520 для введения. Нагреватель 530 может нагревать сигарету 501, расположенную в пространстве 520 для введения, с помощью питания, поступающего от аккумулятора 160.

[105] Компоненты, входящие в состав устройства 100 для генерирования аэрозоля, могут быть установлены на одной поверхности и/или противоположной поверхности печатной платы 540. Компоненты, установленные на печатной плате 540, могут передавать или принимать сигналы через слой межсоединений печатной платы 540.

[106] Печатная плата 540 может быть расположена рядом с аккумулятором 160. Например, печатная плата 540 может быть расположена таким образом, чтобы одна ее поверхность была обращена к аккумулятору 160.

[107] На одной поверхности печатной платы 540 может быть установлен датчик температуры. Датчик температуры может быть выполнен в виде термистора, сопротивление которого изменяется в зависимости от температуры. Например, датчик температуры может содержать термистор с отрицательным температурным коэффициентом (NTC), отличающийся тем, что его сопротивление уменьшается при повышении температуры.

[108] Контроллер 170 может быть установлен на печатной плате 540. Контроллер 170 может отслеживать показание датчика температуры. Например, контроллер 170 может отслеживать показание, соответствующее величине сопротивления термистора, входящего в состав датчика температуры.

[109] Контроллер 170 может определять температуру аккумулятора 160 на основании показания датчика температуры. Например, контроллер 170 может определить, что показание датчика температуры соответствует температуре аккумулятора 160. Например, контроллер 170 может определить результат компенсации показания датчика температуры в соответствии с заданным критерием температуры аккумулятора 160.

[110] Клемма 550 питания может быть расположена на одной стороне корпуса 500 устройства 100 для генерирования аэрозоля. Клемма 550 питания может представлять собой проводную клемму для проводной связи, например, USB.

[111] Схема подачи питания (не показано) может быть расположена между аккумулятором 160 и клеммой 550 питания. Схема подачи питания может передавать питание извне через клемму 550 питания на аккумулятор 160.

[112] Линия 560 питания для подачи питания может быть подключена к клемме 550 питания. Например, клемма 550 питания может быть соединена с разъемом 565 линии 560 питания.

[113] Контроллер 170 может определить, подключена ли линия 560 питания к клемме 550 питания. Например, контроллер 170 может определить, подключена ли линия 560 питания к клемме 550 питания, на основании сигнала, генерируемого в ответ на соединение линии 560 питания с клеммой 550 питания.

[114] Когда линия 560 питания подключена к клемме 550 питания, контроллер 170 может инициировать зарядку аккумулятора 160. Когда линия 560 питания подключена к клемме 550 питания, контроллер 170 может управлять работой компонентов устройства 100 для генерирования аэрозоля таким образом, чтобы питание, подаваемое по линии 560 питания, передавалось на аккумулятор 160. Например, когда линия 560 питания подключена к клемме 550 питания в состоянии, в котором сигарета 501 вставлена в корпус 500, контроллер 170 может прервать подачу питания на модуль 130 для генерирования аэрозоля и инициировать зарядку аккумулятора 160.

[115] Конструкция устройства 100 для генерирования аэрозоля не ограничена конструкцией, показанной на ФИГ. 5. В некоторых вариантах осуществления изобретения расположение аккумулятора 160, пространства 510 для введения, нагревателя 530 и клеммы 550 питания может изменяться.

[116] На ФИГ. 6 и 7 изображены блок-схемы способа эксплуатации устройства для генерирования аэрозоля согласно одному из вариантов осуществления настоящего изобретения.

[117] Как показано на ФИГ. 6, устройство 100 для генерирования аэрозоля может прекращать зарядку аккумулятора 160 на этапе S610. Например, устройство 100 для генерирования аэрозоля может прекратить зарядку аккумулятора 160, когда линия 560 питания отсоединена от клеммы 550 питания.

[118] Устройство 100 для генерирования аэрозоля может отслеживать показание датчика температуры, расположенного рядом с аккумулятором 160, на этапе S620. Например, контроллер 170 может контролировать найденное значение, соответствующее величине сопротивления термистора, входящего в состав датчика температуры.

[119] Устройство 100 для генерирования аэрозоля может определить, соответствует ли результат отслеживания показания датчика температуры предварительно заданному условию, относящемуся к аккумулятору 160, на этапе S630. В данном случае предварительно заданное условие, относящееся к аккумулятору 160, может соответствовать фактору, влияющему на изменение показания датчика температуры.

[120] Во время зарядки аккумулятора 160 температура аккумулятора 160 может увеличиваться вследствие реакции электролита в аккумуляторе 160. Кроме того, при увеличении температуры аккумулятора 160 температура окружающей среды вокруг аккумулятора 160 также может увеличиваться, что может привести к изменению показания датчика температуры. Если датчик температуры будет размещен на предварительно заданном расстоянии от аккумулятора 160 и не будет контактировать с ним, может возникнуть разность между температурой аккумулятора 160 и показанием датчика температуры. Например, во время зарядки аккумулятора 160 показание датчика температуры может превышать температуру аккумулятора 160 на предварительно заданную температуру, что обусловлено не только теплом, выделяемым аккумулятором 160, но теплом от других компонентов, таких как процессор контроллера 170.

[121] В то же время, если показание датчика температуры изменяется по причине, отличающейся от зарядки аккумулятора 160, температура аккумулятора 160 и показание датчика температуры могут быть одинаковыми или близкими к друг другу. Например, когда сигарету 501 нагревают нагревателем 530, или при изменении температуры окружающей среды вокруг устройства 100 для генерирования аэрозоля изменение температуры может в равной степени влиять на аккумулятор 160 и датчик температуры, поэтому разность между температурой аккумулятора 160 и показанием датчика температуры может оказаться ниже предварительно заданного уровня.

[122] В одном из вариантов осуществления настоящего изобретения при получении запроса на инициацию зарядки аккумулятора 160 после прекращения зарядки аккумулятора 160 устройство 100 для генерирования аэрозоля может определить, следует ли инициировать зарядку аккумулятора 160, на основании температуры аккумулятора 160. Например, когда линия 560 питания подключена к клемме 550 питания, устройство 100 для генерирования аэрозоля может определить, что был подан запрос на инициацию зарядки аккумулятора 160.

[123] Определение выполнения предварительно заданного условия, относящегося к аккумулятору 160, будет раскрыто со ссылкой на ФИГ. 7.

[124] Как показано на ФИГ. 7, при отслеживании показания датчика температуры устройство 100 для генерирования аэрозоля может определить, отслеживается ли период, в течение которого показание датчика температуры увеличивается, и/или период, в течение которого показание датчика температуры остается постоянным, на этапе S710. Например, устройство 100 для генерирования аэрозоля может определить, входит ли период, в течение которого показание датчика температуры увеличивается, и/или период, в течение которого показание датчика температуры остается постоянным, по меньшей мере в часть периода, соответствующего полному времени отслеживания показания датчика температуры (далее «весь период»).

[125] Согласно графику 810, показанному на ФИГ. 8 и иллюстрирующему показание датчика температуры, показание датчика температуры может увеличиваться до момента t1 времени, в который завершается зарядка аккумулятора 160. То есть во время зарядки аккумулятора 160 температура окружающей среды вокруг датчика температуры может увеличиваться за счет тепла, выделяемого аккумулятором 160.

[126] Между тем, в отсутствие фактора, отличающегося от температуры аккумулятора 160, влияющего на изменение показания датчика температуры, показание датчика температуры может уменьшаться в течение всего периода P, соответствующего периоду времени от момента t1 времени, в который завершается зарядка аккумулятора 160, до момента t2 времени. Например, показание датчика температуры может снизиться до температуры, эквивалентной температуре окружающей среды вокруг устройства 100 для генерирования аэрозоля, с момента t1 времени, в который завершается зарядка аккумулятора 160. В этом случае температура аккумулятора 160 со временем может снижаться подобно показаниям датчика температуры.

[127] Между тем, согласно графику 910 на ФИГ. 9 и иллюстрирующему показание датчика температуры, показание датчика температуры может увеличиваться до момента t1 времени, в который завершается зарядка аккумулятора 160, аналогично графику 810 на ФИГ. 8. Кроме того, показание датчика температуры может уменьшаться с момента t1 времени, в который завершается зарядка аккумулятора 160.

[128] Период P1, в течение которого показание датчика температуры остается постоянным, и/или период P2, в течение которого показание датчика температуры увеличивается, могут быть включены в весь период P, соответствующий периоду времени с момента t1 времени до момента t2 времени. Например, когда показание датчика температуры достигает температуры, эквивалентной температуре окружающей среды вокруг устройства 100 для генерирования аэрозоля, показание датчика температуры может оставаться постоянным. Например, когда устройство 100 для генерирования аэрозоля нагревает сигарету 501 с помощью нагревателя 530, показание датчика температуры может увеличиваться. Например, когда сигарета 501 полностью нагрета, показание датчика температуры может снова уменьшиться.

[129] Отслеживая показание датчика температуры, устройство 100 для генерирования аэрозоля может определить, отслеживается ли на этапе S720 период, в течение которого используется питание аккумулятора 160. Например, устройство 100 для генерирования аэрозоля может определить, входит ли период, в течение которого используется питание аккумулятора 160, по меньшей мере, в часть всего периода, в течение которого отслеживается показание датчика температуры.

[130] Отслеживая показание датчика температуры, устройство 100 для генерирования аэрозоля может контролировать период использования питания аккумулятора 160 в зависимости от того, включено ли питание устройства 100 для генерирования аэрозоля. В этом случае, когда устройство 100 для генерирования аэрозоля включено, работает процессор контроллера 170, и, соответственно, тепло могут выделять компоненты, отличающиеся от аккумулятора 160. Кроме того, тепло, выделяемое компонентами, отличающимися от аккумулятора 160, может влиять на изменение показания датчика температуры.

[131] Если не отслеживается ни период, в течение которого показание датчика температуры увеличивается, ни период, в течение которого показание датчика температуры остается постоянным, ни период использования питания аккумулятора 160, устройство 100 для генерирования аэрозоля может определить, что предварительно заданное условие, относящееся к аккумулятору 160, не выполняется на этапе S730.

[132] Если заданное условие, относящееся к аккумулятору 160, не выполняется, устройство 100 для генерирования аэрозоля может определить отсутствие фактора, отличающегося от температуры аккумулятора 160, влияющего на изменение показания датчика температуры. В этом случае устройство 100 для генерирования аэрозоля может определить, что разность между температурой аккумулятора 160 и показанием датчика температуры остается постоянной в течение всего периода.

[133] В то же время, если отслеживается период, в течение которого показание датчика температуры увеличивается, и/или период, в течение которого показание датчика температуры остается постоянным, и/или период использования питания аккумулятора 160, устройство 100 для генерирования аэрозоля может определить, что предварительно заданное условие, относящееся к аккумулятору 160, выполняется на этапе S740.

[134] Если предварительно заданное условие, относящееся к аккумулятору 160, выполняется, устройство 100 для генерирования аэрозоля может определить наличие фактора, влияющего на изменение показания датчика температуры, в дополнение к температуре аккумулятора 160. В этом случае устройство 100 для генерирования аэрозоля может определить, что разность между температурой аккумулятора 160 и показанием датчика температуры находится ниже предварительно заданного уровня в течение всего периода.

[135] Как показано на ФИГ. 6, если предварительно заданное условие, относящееся к аккумулятору 160, не выполняется, устройство 100 для генерирования аэрозоля может компенсировать показание датчика температуры в соответствии с предварительно заданным критерием на этапе S640. Устройство 100 для генерирования аэрозоля может определять значение, полученное вычитанием заданного компенсационного значения (например, 5°C) из показания датчика температуры, в качестве результата компенсации показания датчика температуры.

[136] Устройство 100 для генерирования аэрозоля может определять температуру аккумулятора 160 на этапе S650.

[137] Если предварительно заданное условие, относящееся к аккумулятору 160, выполняется, устройство 100 для генерирования аэрозоля может определить, что показание датчика температуры соответствует температуре аккумулятора 160. В то же время, если предварительно заданное условие, относящееся к аккумулятору 160, не выполняется, устройство 100 для генерирования аэрозоля может определить, что результат компенсации показания датчика температуры соответствует температуре аккумулятора 160.

[138] При этом устройство 100 для генерирования аэрозоля может определять необходимость зарядки аккумулятора 160 в зависимости от температуры аккумулятора 160. При определении необходимости заряда аккумулятора 160 устройство 100 для генерирования аэрозоля может определить, что показание датчика температуры или результат компенсации показания датчика температуры соответствует температуре аккумулятора 160.

[139] В одном из вариантов осуществления изобретения, когда линия 560 питания подключена к клемме 550 питания, устройство 100 для генерирования аэрозоля может определять, находится ли температура аккумулятора 160 в пределах температурного диапазона, предварительно заданного для зарядки аккумулятора 160 (далее «первого температурного диапазона»). Если будет определено, что температура аккумулятора 160 находится за пределами первого температурного диапазона, устройство 100 для генерирования аэрозоля может прекратить зарядку аккумулятора 160. Например, как показано на ФИГ. 8 и 9, во время зарядки аккумулятора 160, когда показание датчика температуры равно или превышает значение T0, соответствующее наивысшей температуре в первом температурном диапазоне, устройство 100 для генерирования аэрозоля может прекратить зарядку аккумулятора 160.

[140] При этом устройство 100 для генерирования аэрозоля может определять, следует ли использовать энергию, накопленную в аккумуляторе 160, в зависимости от температуры аккумулятора 160. При определении необходимости использования энергии, накопленной в аккумуляторе 160, устройство 100 для генерирования аэрозоля может определить, что показание датчика температуры соответствует температуре аккумулятора 160.

[141] В одном из вариантов осуществления в состоянии, в котором питание устройства 100 для генерирования аэрозоля включено, устройство 100 для генерирования аэрозоля может определять, находится ли температура аккумулятора 160 в пределах температурного диапазона, предварительно заданного для разряда аккумулятора 160 (далее «второго температурного диапазона»). Если будет определено, что температура аккумулятора 160 находится за пределами второго температурного диапазона, например, когда температура аккумулятора 160 равна или превышает наивысшую температуру во втором температурном диапазоне, устройство 100 для генерирования аэрозоля может прекратить использование энергии, накопленной в аккумуляторе 160. В данном случае наивысшая температура во втором температурном диапазоне может быть выше наивысшей температуры в первом температурном диапазоне.

[142] Как было описано выше, по меньшей мере в одном из вариантов осуществления настоящего изобретения можно точно определять температуру аккумулятора 160 с помощью датчика температуры, расположенного рядом с аккумулятором 160.

[143] Кроме того, по меньшей мере в одном из вариантов осуществления настоящего изобретения можно прекратить зарядку аккумулятора 160 при необходимости в зависимости от температуры аккумулятора 160 во время зарядки аккумулятора 160, повышая тем самым безопасность аккумулятора 160 и надежность продукта.

[144] Как показано на ФИГ. 1-9, устройство 100 для генерирования аэрозоля согласно одному из аспектов настоящего изобретения может содержать нагреватели 133 и 134, выполненные с возможностью нагревания вещества для генерирования аэрозоля, аккумулятор 160, выполненный с возможностью подачи питания на нагреватели 133 и 134, датчик температуры, расположенный рядом с аккумулятором 160, и контроллер 170. Когда зарядка аккумулятора 160 прекращена, контроллер 170 может отслеживать показание датчика температуры. Если результат отслеживания показания датчика температуры удовлетворяет предварительно заданному условию, относящемуся к аккумулятору 160, контроллер 170 может определить показание датчика температуры в качестве температуры аккумулятора 160. Если результат отслеживания показания датчика температуры не удовлетворяет предварительно заданному условию, контроллер 170 может определить результат компенсации показания датчика температуры d в качестве температуры аккумулятора 160.

[145] Кроме того, в соответствии с другим аспектом настоящего изобретения, при отслеживании первого периода, в течение которого показание датчика температуры увеличивается, или второго периода, в течение которого показание датчика температуры остается постоянным, контроллер 170 может определить, что предварительно заданное условие выполнено.

[146] Кроме того, в соответствии с другим аспектом настоящего изобретения при отслеживании периода использования питания аккумулятора 160 контроллер 170 может определить выполнение предварительно заданного условия.

[147] Кроме того, в соответствии с другим аспектом настоящего изобретения, контроллер 170 может определять значение, полученное вычитанием предварительно заданного компенсационного значения из показания датчика температуры.

[148] Кроме того, в соответствии с другим аспектом настоящего изобретения, при получении запроса на инициацию зарядки аккумулятора 160 контроллер 170 может определить, следует ли инициировать зарядку аккумулятора 160, на основании определенной температуры аккумулятора 160.

[149] Кроме того, в соответствии с другим аспектом настоящего изобретения, устройство для генерирования аэрозоля может дополнительно содержать клемму 550 питания, расположенную на одной стороне корпуса 500. Когда линия 560 питания подключена к клемме 550 питания, контроллер 170 может определить, что запрос на инициацию зарядки аккумулятора 160 подан.

[150] Кроме того, в соответствии с другим аспектом настоящего изобретения, когда определенная температура аккумулятора 160 равна или превышает предварительно заданную первую температуру, контроллер 170 может прекратить зарядку аккумулятора 160.

[151] Кроме того, в соответствии с другим аспектом настоящего изобретения, когда определенная температура аккумулятора 160 равна или превышает вторую температуру, превышающую первую температуру, контроллер 170 может прервать подачу питания на компоненты, входящие в состав устройства 100 для генерирования аэрозоля.

[152] Кроме того, в соответствии с другим аспектом настоящего изобретения, датчик температуры может содержать термистор, установленный на печатной плате 540, расположенной рядом с аккумулятором 160.

[153] Способ эксплуатации устройства 100 для генерирования аэрозоля согласно первому аспекту настоящего изобретения может содержать отслеживание показания датчика температуры, расположенного рядом с аккумулятором 160, когда зарядка аккумулятора 160 прекращена, определение показания датчика температуры в качестве температуры аккумулятора 160, если результат отслеживания показания датчика температуры удовлетворяет предварительно заданному условию, относящемуся к аккумулятору 160, и определение результата компенсации показания датчика температуры в качестве температуры аккумулятора 160, если результат отслеживания показания датчика температуры не удовлетворяет предварительно заданному условию.

[154] Некоторые варианты осуществления или другие варианты осуществления изобретения, раскрытые выше, не являются взаимоисключающими или отличными друг от друга. Любые или все элементы вариантов осуществления раскрытого выше изобретения могут быть объединены с другими или объединены друг с другом по конфигурации или функции.

[155] Например, конфигурация «А», раскрытая в одном варианте осуществления изобретения и чертежах, и конфигурация «В», раскрытая в другом варианте осуществления изобретения и чертежах, могут быть объединены друг с другом. А именно, хотя комбинация между конфигурациями прямо не раскрыта, комбинация возможна, за исключением случая, когда раскрыто, что комбинация невозможна.

[156] Хотя варианты осуществления изобретения были раскрыты со ссылкой на ряд иллюстративных вариантов осуществления изобретения, следует понимать, что специалисты в данной области техники могут разработать множество других модификаций и вариантов осуществления изобретения, которые будут подпадать под действие принципов настоящего изобретения. В частности, возможны различные варианты и изменения составных частей и/или компоновок рассматриваемого комбинированного устройства в пределах объема раскрытия, чертежей и прилагаемой формулы изобретения. Помимо вариантов и изменений составных частей и/или компоновок, специалистам в данной области техники также будут очевидны альтернативные варианты использования.

Похожие патенты RU2838075C2

название год авторы номер документа
УСТРОЙСТВО ДЛЯ ГЕНЕРИРОВАНИЯ АЭРОЗОЛЯ И СПОСОБ УПРАВЛЕНИЯ ТАКИМ УСТРОЙСТВОМ 2021
  • Хан, Тэнам
  • Чан, Соксу
  • Ли, Сынвон
  • Чун, Суну
  • Ким,
RU2812719C1
МОДУЛЬ ЦЕПИ ЗАЩИТЫ И УСТРОЙСТВО ДЛЯ ГЕНЕРИРОВАНИЯ АЭРОЗОЛЯ, СОДЕРЖАЩЕЕ ЕГО 2021
  • Хан, Дэнам
  • Чан, Соксу
  • Ли, Сынвон
  • Юн, Сонвук
  • Ким, Енхван
RU2794255C1
УСТРОЙСТВО ДЛЯ ГЕНЕРИРОВАНИЯ АЭРОЗОЛЯ И СПОСОБ ЕГО ЭКСПЛУАТАЦИИ 2022
  • Ким,
  • Ким, Тонсун
  • Им, Хониль
  • Чан, Соксу
RU2834874C2
УСТРОЙСТВО ДЛЯ ГЕНЕРИРОВАНИЯ АЭРОЗОЛЯ 2022
  • Ли, Чонсуб
  • Ким, Минкю
  • Парк, Джуон
  • Чо, Бенсун
RU2802296C1
УСТРОЙСТВО ДЛЯ ГЕНЕРИРОВАНИЯ АЭРОЗОЛЯ 2022
  • Ким, Хван
  • Ким, Тон Сон
  • Лим, Хониль
  • Чан, Сок Су
RU2820134C2
УСТРОЙСТВО ДЛЯ ГЕНЕРИРОВАНИЯ АЭРОЗОЛЯ И СПОСОБ ЭКСПЛУАТАЦИИ ТАКОГО УСТРОЙСТВА 2022
  • Чо, Пюсун
  • Пак, Сангю
  • Ли, Чжонсуб
RU2831262C2
УСТРОЙСТВО ДЛЯ ГЕНЕРИРОВАНИЯ АЭРОЗОЛЯ И СПОСОБ ЭКСПЛУАТАЦИИ ТАКОГО УСТРОЙСТВА 2022
  • Чюн, Хюнчин
  • Пак, Чуон
  • Ким, Тэхун
  • Хан, Чунхо
RU2839913C2
СПОСОБ И УСТРОЙСТВО ОБРАБОТКИ ВВОДА ПОЛЬЗОВАТЕЛЯ ВО ВРЕМЯ ЗАРЯДКИ АККУМУЛЯТОРА 2022
  • Ким, Хван
  • Ким, Тон Сон
  • Лим, Хониль
  • Чан, Сок Су
RU2826304C2
УСТРОЙСТВО ДЛЯ ГЕНЕРИРОВАНИЯ АЭРОЗОЛЯ 2022
  • Чжун, Хёнчжин
  • Ким, Тхэхон
  • Пак, Чуон
  • Хан, Чжунхо
RU2831258C2
УСТРОЙСТВО ДЛЯ ГЕНЕРИРОВАНИЯ АЭРОЗОЛЯ 2022
  • Ким, Тон Сон
  • Ким, Хван
  • Лим, Хониль
  • Чан, Сок Су
RU2831858C2

Иллюстрации к изобретению RU 2 838 075 C2

Реферат патента 2025 года УСТРОЙСТВО ДЛЯ ГЕНЕРИРОВАНИЯ АЭРОЗОЛЯ И СПОСОБ ЭКСПЛУАТАЦИИ ТАКОГО УСТРОЙСТВА

Изобретение относится к устройству для генерирования аэрозоля и способу эксплуатации такого устройства. Устройство для генерирования аэрозоля содержит нагреватель, выполненный с возможностью нагревания вещества для генерирования аэрозоля, аккумулятор, выполненный с возможностью подачи питания на нагреватель, датчик температуры, расположенный рядом с аккумулятором, и контроллер и способ эксплуатации устройства характеризуется тем, что после прекращения зарядки аккумулятора контроллер отслеживает показания датчика температуры, при этом, если результат отслеживания показания датчика температуры удовлетворяет заданному условию, относящемуся к аккумулятору, контроллер определяет, что показания датчика температуры соответствуют температуре аккумулятора, а если результат отслеживания показания датчика температуры не удовлетворяет заданному условию, контроллер определяет, что результат компенсации показания датчика температуры соответствует температуре аккумулятора. Технический результат заключается в повышении точности определения температуры аккумулятора с использованием датчика температуры, расположенного рядом с аккумулятором, а также прекращении зарядки аккумулятора в зависимости от температуры аккумулятора. 3 н. и 10 з.п. ф-лы, 10 ил.

Формула изобретения RU 2 838 075 C2

1. Устройство для генерирования аэрозоля, содержащее:

нагреватель, выполненный с возможностью нагревания вещества для генерирования аэрозоля;

аккумулятор, выполненный с возможностью подачи питания на нагреватель, позволяющего нагревателю нагревать вещество для генерирования аэрозоля; датчик температуры, расположенный рядом с аккумулятором; и

контроллер, выполненный с возможностью:

отслеживания показания датчика температуры после прекращения зарядки аккумулятора;

определения показания датчика температуры в качестве определенной температуры аккумулятора на основании отслеживаемого показания датчика температуры, удовлетворяющего заданному условию, относящемуся к аккумулятору; и

определения компенсации показания датчика температуры в качестве определенной температуры аккумулятора на основании отслеживаемого показания датчика, не удовлетворяющего заданному условию, относящемуся к аккумулятору.

2. Устройство для генерирования аэрозоля по п. 1, в котором контроллер дополнительно выполнен с возможностью определения выполнения заданного условия на основании первого периода, в течение которого показание датчика температуры увеличивается, и/или второго периода, в течение которого показание датчика температуры остается постоянным.

3. Устройство для генерирования аэрозоля по п. 1, в котором контроллер дополнительно выполнен с возможностью определения выполнения заданного условия на основании периода, в течение которого аккумулятор подает питание на нагреватель.

4. Устройство для генерирования аэрозоля по п. 1, в котором контроллер дополнительно выполнен с возможностью компенсации показания датчика температуры путем вычитания определенного компенсационного значения из показания датчика температуры.

5. Устройство для генерирования аэрозоля по п. 1, в котором контроллер дополнительно выполнен с возможностью определения необходимости инициации зарядки аккумулятора на основании определенной температуры аккумулятора в ответ на получение запроса на инициацию зарядки аккумулятора.

6. Устройство для генерирования аэрозоля по п. 5, дополнительно содержащее:

клемму питания, соединенную с боковой стороной корпуса,

контроллер, дополнительно выполненный с возможностью определения того, что запрос на инициацию зарядки аккумулятора поступает в ответ на соединение линии питания и клеммы питания.

7. Устройство для генерирования аэрозоля по п. 1, в котором контроллер дополнительно выполнен с возможностью прекращения зарядки аккумулятора, если определенная температура аккумулятора равна или превышает заданную первую температуру.

8. Устройство для генерирования аэрозоля по п. 7, в котором контроллер дополнительно выполнен с возможностью прерывания подачи питания на компоненты устройства для генерирования аэрозоля, если определенная температура аккумулятора равна или превышает вторую температуру, превышающую первую температуру.

9. Устройство для генерирования аэрозоля по п. 1, в котором датчик температуры содержит термистор, соединенный с печатной платой, расположенной рядом с аккумулятором.

10. Способ эксплуатации устройства для генерирования аэрозоля, содержащего датчик температуры и аккумулятор, содержащий следующие этапы:

отслеживание показания датчика температуры после прекращения зарядки аккумулятора;

определение показания датчика температуры в качестве определенной температуры аккумулятора на основании отслеживаемого показания датчика температуры, удовлетворяющего заданному условию, относящемуся к аккумулятору; и

определение компенсации показания датчика температуры в качестве определенной температуры аккумулятора на основании отслеживаемого показания датчика температуры, не удовлетворяющего заданному условию, относящемуся к аккумулятору.

11. Устройство для генерирования аэрозоля, содержащее:

нагреватель, выполненный с возможностью нагревания вещества для генерирования аэрозоля;

аккумулятор, выполненный с возможностью подачи питания на нагреватель, позволяющего нагревателю нагревать вещество для генерирования аэрозоля;

датчик температуры, расположенный рядом с аккумулятором; и

контроллер, выполненный с возможностью:

определения показания датчика температуры в течение периода времени после прекращения зарядки аккумулятора;

определения того, что определенное показание датчика температуры соответствует температуре аккумулятора, на основании определенного показания датчика температуры за период времени, удовлетворяющего условию; и

определения температуры аккумулятора как комбинации определенного показания датчика температуры и компенсационного значения на основании определенного показания датчика температуры за период времени, не удовлетворяющего условию.

12. Устройство для генерирования аэрозоля по п. 11, в котором контроллер дополнительно выполнен с возможностью определения необходимости инициации зарядки аккумулятора на основании температуры аккумулятора в ответ на получение запроса на инициацию зарядки аккумулятора.

13. Устройство для генерирования аэрозоля по п. 11, в котором контроллер дополнительно выполнен с возможностью:

прекращения зарядки аккумулятора, если температура аккумулятора равна или превышает первую температуру; и

прерывания подачи питания на компоненты устройства для генерирования аэрозоля, если температура аккумулятора равна или превышает вторую температуру, превышающую первую температуру.

Документы, цитированные в отчете о поиске Патент 2025 года RU2838075C2

ЭЛЕКТРОННАЯ СИСТЕМА ПРЕДОСТАВЛЕНИЯ АЭРОЗОЛЯ 2018
  • Отиаба, Кенни
  • Лидли, Дэвид
RU2739814C1
ПЕРЕЗАРЯЖАЕМАЯ ЛИТИЙ-ИОННАЯ БАТАРЕЯ ДЛЯ УСТРОЙСТВА ДОСТАВКИ АЭРОЗОЛЯ 2017
  • Сур, Раджеш
  • Хант, Эрик Т.
  • Сирс, Стивен Б.
RU2753553C2
БАТАРЕЙНЫЙ БЛОК, УСТРОЙСТВО ДЛЯ ВДЫХАНИЯ АРОМАТИЗИРУЮЩЕГО ВЕЩЕСТВА, СПОСОБ УПРАВЛЕНИЯ БАТАРЕЙНЫМ БЛОКОМ И КОМПЬЮТЕРНО-ЧИТАЕМЫЙ НОСИТЕЛЬ ДАННЫХ 2017
  • Ямада, Манабу
  • Акао, Такеси
RU2750885C1
ПЕРЕЗАРЯЖАЕМЫЙ ЛИТИЙ-ИОННЫЙ КОНДЕНСАТОР ДЛЯ УСТРОЙСТВА ДОСТАВКИ АЭРОЗОЛЯ 2017
  • Сур, Раджеш
  • Хант, Эрик Т.
  • Сирс, Стивен Б.
RU2753552C2
Станок для придания концам круглых радиаторных трубок шестигранного сечения 1924
  • Гаркин В.А.
SU2019A1
Способ восстановления спиралей из вольфрамовой проволоки для электрических ламп накаливания, наполненных газом 1924
  • Вейнрейх А.С.
  • Гладков К.К.
SU2020A1
JP 6798063 B2, 09.12.2020
KR 1020200089622 A, 27.07.2020
Способ восстановления спиралей из вольфрамовой проволоки для электрических ламп накаливания, наполненных газом 1924
  • Вейнрейх А.С.
  • Гладков К.К.
SU2020A1

RU 2 838 075 C2

Авторы

Пак, Чуон

Ким, Тхэхон

Чжун, Хёнчжин

Даты

2025-04-10Публикация

2022-10-19Подача