Изобретение относится к скрытой петельной системе для поворотного вокруг шарнирной оси закрепления створок двери или окна на раме двери или окна, включающему в себя корпус, а также частично расположенную внутри корпуса кассету, причем шарнирная серьга вставлена в приемную область кассеты вдоль расположенного перпендикулярно к шарнирной оси горизонтального направления. Кроме того, изобретение относится к способу юстировки петельной системы.
Такие петельные системы известны из уровня техники и служат для поворотной установки створки двери или окна на раме двери или окна. Петельные системы имеют, как правило, расположенный со стороны створки язычок петли, а также расположенную со стороны рамы шарнирную серьгу, которая в расположенной со стороны рамы приемной области петельной системы установлена с возможностью поворота вокруг шарнирной оси. Для увеличения эстетического эффекта и для оптимального использования доступного пространства элементы петельной системы, в частности расположенная со стороны рамы приемная область, а также шарнирная ось, могут быть расположены в выемке рамы. При этом специалист говорит о скрытых петельных системах.
Как правило, язычок петли неподвижно соединен, например, свинчен, со створкой. Шарнирная серьга соединена в свою очередь с язычком петли. Из уровня техники известно соединять шарнирную серьгу с кассетой язычка петли. Кассета соединена регулируемым образом с частями язычка петли, которые неподвижно расположены на створке. Вследствие этого возможно выравнивать петельную систему для приема створки двери или окна вдоль ориентированного параллельно к шарнирной оси вертикального направления и вдоль горизонтального направления, ориентированного перпендикулярно к вертикальному направлению.
Из US 9416573 известна скрытая петельная система для поворотного вокруг шарнирной оси закрепления створок двери или окна на раме двери или окна, включающая в себя корпус, а также частично расположенную внутри корпуса кассету, причем шарнирная серьга вставлена в приемную область кассеты вдоль расположенного перпендикулярно к шарнирной оси горизонтального направления.
Для правильной юстировки створки двери или окна необходимо регулировать ее вдоль всех трех направлений пространства. Для этого необходима регулировка кассеты вдоль горизонтального направления, другими словами в направлении, перпендикулярном к шарнирной оси и при закрытом окне или закрытой двери вдоль направления основного распространения полотна двери или окна. Кроме того, требуется регулировка кассеты вдоль вертикального направления, другими словами вдоль шарнирной оси. Наряду с регулировкой в горизонтальном направлении и регулировкой в вертикальном направлении должна быть предусмотрена регулировка петельной системы вдоль направления уплотнительного прижима. Направление уплотнительного прижима в смысле данного изобретения расположено перпендикулярно к горизонтальному направлению и перпендикулярно к вертикальному направлению.
Регулировка створки двери или окна вдоль направления уплотнительного прижима вызывает при закрытой двери или закрытом окне сдвиг створки двери или окна к уплотнению на раме двери или окна или от него. Из уровня техники для регулировки вдоль направления уплотнительного прижима известно сдвигать расположенную со стороны рамы приемную область петельной системы вдоль направления уплотнительного прижима, что подчас является крайне трудоемким.
В основе изобретения лежит задача предоставить петельную систему, в случае которой возможна удобная и простая юстировка вдоль направления уплотнительного прижима.
Эта задача решается с помощью раскрытой в пункте 1 формулы изобретения петельной системы.
Соответствующая изобретению скрытая петельная система имеет для регулировки шарнирной серьги в направлении уплотнительного прижима, которое расположено перпендикулярно к шарнирной оси и к горизонтальному направлению, винт и резьбовую шпильку. Винт расположен в первом сквозном отверстии крепежной области и в первом резьбовом отверстии шарнирной серьги. Другими словами, первое сквозное отверстие и первое резьбовое отверстие соосны вдоль первого направления ввинчивания винта.
Головка винта расположена с прилеганием к обращенной от шарнирной серьги контактной поверхности. Предусмотрено в частности, что нижняя поверхность головки винта прилегает к контактной поверхности. Далее предусмотрено в частности, что первое сквозное отверстие не имеет резьбы. Вследствие этого предпочтительно возможно, что благодаря вращению винта шарнирная серьга сдвигается противоположно первому направлению ввинчивания по отношению к крепежной области. Кроме того, благодаря ввинченному в первое резьбовое отверстие винту ограничивается сдвиг шарнирной серьги от крепежной области.
Согласно изобретению резьбовая шпилька расположена во втором сквозном резьбовом отверстии крепежной области и с прилеганием к шарнирной серьге. Другими словами, резьбовую шпильку можно сдвигать за счет вращения относительно шарнирной серьги. Прилегание резьбовой шпильки к шарнирной серьге ограничивает сдвиг шарнирной серьги к крепежной области. Если резьбовая шпилька прилегает к шарнирной серьге и винт не вращается, то шарнирная серьга зафиксирована вдоль направления уплотнительного прижима. Если резьбовая шпилька вращается таким образом, что она больше не прилегает к шарнирной серьге, а напротив отстоит от нее, то шарнирная серьга может за счет ввинчивания винта в первое резьбовое отверстие сдвигаться вдоль направления уплотнительного прижима к крепежной области. Если винт частично вывинчивается из первого резьбового отверстия, то шарнирная серьга может за счет ввинчивания резьбовой шпильки во второе резьбовое отверстие сдвигаться вдоль направления уплотнительного прижима от крепежной области. Таким образом, соответствующая изобретению петельная система делает возможной предпочтительно простую регулировку вдоль направления уплотнительного прижима, а также надежную фиксацию положения шарнирной серьги вдоль направления уплотнительного прижима.
Предпочтительные исполнения и усовершенствования изобретения могут быть позаимствованы из зависимых пунктов формулы изобретения, а также из описания со ссылкой на чертеж.
Согласно предпочтительному варианту осуществления изобретения предусмотрено, что винт предусмотрен для ввинчивания в первое резьбовое отверстие вдоль первого направления ввинчивания, причем резьбовая шпилька предусмотрена для ввинчивания во второе резьбовое отверстие вдоль второго направления ввинчивания. Первое направление ввинчивания и второе направление ввинчивания каждое имеют при этом составляющую направления вдоль направления уплотнительного прижима. Вследствие этого предпочтительно созданы условия для хорошей передачи усилия от ввинченного винта или ввинченной резьбовой шпильки на шарнирную серьгу вдоль направления уплотнительного прижима. В частности, предусмотрено, что первое направление ввинчивания и второе направление ввинчивания расположены параллельно друг к другу.
Для этого предпочтительно предусмотрено, что приемная область выполнена в отношении направления уплотнительного прижима суживающейся вдоль горизонтального направления. Это делает возможной надежную установку шарнирной серьги в приемной области кассеты при одновременной возможности регулировки шарнирной серьги вдоль направления уплотнительного прижима. Другими словами, приемная область со стороны рамы шире, чем на обращенной от рамы стороне. Введенная своим передним концом в приемную область шарнирная серьга расположена таким образом для позиционирования вдоль направления уплотнительного прижима в приемной области с возможностью поворота вокруг расположенной на ее переднем конце оси. Юстировка шарнирной серьги относительно кассеты вдоль направления уплотнительного прижима при помощи винта и резьбовой шпильки вызывается таким образом поворотным движением вокруг оси, которая расположена параллельно шарнирной оси на переднем конце шарнирной серьги.
Предпочтительно для этого предусмотрено, что первое направление ввинчивания и второе направление ввинчивания каждое расположены под наклоном к направлению уплотнительного прижима. Для этого наиболее предпочтительно предусмотрено, что первое направление ввинчивания и второе направление ввинчивания каждое имеют составляющую направления вдоль горизонтального направления, причем первое направление ввинчивания и второе направление ввинчивания не имеют в частности составляющей направления параллельно к шарнирной оси. Вследствие этого предпочтительно возможна превосходная передача усилия от винта или резьбовой шпильки на шарнирную серьгу. При повороте шарнирной серьги во время позиционирования вдоль направления уплотнительного прижима передача усилия от винта на резьбу первого резьбового отверстия или от резьбовой шпильки на поверхность шарнирной серьги происходила бы при расположенном параллельно к направлению уплотнительного прижима первом и втором направлении ввинчивания под неблагоприятным, а именно не ортогональным углом. Наклонное расположение направлений ввинчивания учитывает поворотное движение шарнирной серьги при позиционировании вдоль направления уплотнительного прижима.
Наиболее предпочтителен вариант осуществления данного изобретения, в котором предусмотрено, что петельная система имеет для регулировки шарнирной серьги в направлении уплотнительного прижима первую дополнительную резьбовую шпильку, причем первая дополнительная резьбовая шпилька расположена в третьем сквозном резьбовом отверстии крепежной области с прилеганием к шарнирной серьге. Первая дополнительная резьбовая шпилька предусмотрена для ввинчивания в третье резьбовое отверстие вдоль третьего направления ввинчивания, причем третье направление ввинчивания имеет предпочтительно составляющую направления вдоль направления уплотнительного прижима. В частности, возможно, что третье направление ввинчивания расположено под наклоном к направлению уплотнительного прижима, причем третье направление ввинчивания имеет предпочтительным образом составляющую направления вдоль горизонтального направления и не имеет в частности составляющей направления параллельно к шарнирной оси. Вследствие этого предпочтительно созданы условия для симметричного вдоль вертикального направления и тем самым равномерного введения усилий для регулировки шарнирной серьги вдоль направления уплотнительного прижима. Предпочтительно третье направление ввинчивания расположено параллельно ко второму направлению ввинчивания.
Для этого предпочтительно предусмотрено, что в отношении расположенного параллельно к шарнирной оси вертикального направления винт расположен между резьбовой шпилькой и первой дополнительной резьбовой шпилькой. Расположение резьбовых шпилек в вертикальном направлении с обеих сторон от винта создает условия для уравнивания и предотвращения наклонного положения петельной системы.
Согласно дальнейшему предпочтительному варианту осуществления данного изобретения предусмотрено, что первое резьбовое отверстие, второе резьбовое отверстие и третье резьбовое отверстие расположены с центрированием вдоль параллельной к шарнирной оси прямой. Ввиду того, что расстояния между резьбовыми шпильками и винтом вдоль горизонтального направления отсутствуют, введение усилий для позиционирования шарнирной серьги вдоль направления уплотнительного прижима локально очень ограничено. Деформации шарнирной серьги вдоль горизонтального направления и связанные с этим неточности при позиционировании шарнирной серьги таким образом предотвращаются. Вследствие этого предпочтительно улучшается выравнивание и фиксация шарнирной серьги вдоль направления уплотнительного прижима.
Для юстировки петельной системы вдоль горизонтального направления предпочтительно предусмотрено, что корпус имеет верхнюю часть корпуса и нижнюю часть корпуса. Кассета имеет для этого предпочтительно четвертое резьбовое отверстие и первый дополнительный винт, причем первый дополнительный винт ввинчен в четвертое резьбовое отверстие, причем первый дополнительный винт головкой первого дополнительного винта расположен с прилеганием к верхней части корпуса, а первым концом стержня - к нижней части корпуса. Возможно, что кассета имеет отстоящее в вертикальном направлении от четвертого резьбового отверстия пятое резьбовое отверстие и второй дополнительный винт, причем второй дополнительный винт ввинчен в пятое резьбовое отверстие, причем второй дополнительный винт головкой второго дополнительного винта расположен с прилеганием к верхней части корпуса, а вторым концом стержня - к нижней части корпуса.
Возможно, что верхняя часть корпуса и нижняя часть корпуса свинчены друг с другом. Далее возможно, что головка первого дополнительного винта и головка второго дополнительного винта расположены с прилеганием к обращенной к нижней части корпуса крышке корпуса верхней части корпуса. Наиболее предпочтительно предусмотрено, что крышка корпуса имеет первое отверстие для манипулирования первым захватным профилем головки первого дополнительного винта и второе отверстие для манипулирования вторым захватным профилем головки второго дополнительного винта, причем первое отверстие и второе отверстие являются в частности продольными отверстиями.
Другими словами, дополнительные винты прилегают к корпусу, так что при вращении дополнительных винтов кассета сдвигается внутри корпуса к верхней части корпуса или нижней части корпуса. Тем самым предпочтительным образом созданы условия для возможности высокоточной регулировки кассеты, а также последующей фиксации кассеты в горизонтальном направлении. В то время как сдвиг кассеты вдоль горизонтального направления происходит интуитивно за счет вращения дополнительных винтов, фиксируется кассета в своем горизонтальном направлении за счет силы трения дополнительных винтов в корпусе, как только дополнительные винты больше активно не вращаются. Предпочтительно предусмотрено, что первый конец стержня и/или второй конец стержня притуплены или закруглены.
Свинчивание верхней части корпуса с нижней частью корпуса обеспечивает надежное, однако также разъемное соединение между верхней частью корпуса и нижней частью корпуса. В частности, благодаря свинчиванию верхней части корпуса с нижней частью корпуса доступное для дополнительных винтов пространство в горизонтальном направлении может устанавливаться таким образом, что обеспечено, что головки дополнительных винтов и концы винтов прилегают к верхней части корпуса и соответственно к нижней части корпуса. Вследствие этого предпочтительно обеспечивается, что люфт кассеты в горизонтальном направлении уменьшается или даже предотвращается. Альтернативно или дополнительно возможно, что верхняя часть корпуса и нижняя часть корпуса склеены или соединены зажимами друг с другом.
Отверстия верхней части корпуса предоставляют доступ только к захватному профилю соответствующего дополнительного винта и достаточно малы, так что часть головок дополнительных винтов, которая расположена вокруг захватных профилей, прилегает к нижней стороне. При этом является наиболее предпочтительным, что дополнительные винты не могут выпадать из корпуса, то есть расположены с предохранением от потери в корпусе. Выполнение отверстий в виде продольных отверстий предпочтительным образом обеспечивает доступ к дополнительным винтам при различных положениях кассеты вдоль вертикального направления.
Согласно дальнейшему предпочтительному варианту осуществления данного изобретения предусмотрено, что корпус имеет шестое сквозное резьбовое отверстие для ввинчивания второй дополнительной резьбовой шпильки вдоль первого направления и седьмое сквозное резьбовое отверстие для ввинчивания третьей дополнительной резьбовой шпильки вдоль второго направления. Для этого предусмотрено, что вторая дополнительная резьбовая шпилька и/или третья дополнительная резьбовая шпилька расположена с прилеганием к крепежной области, которая в отношении шарнирной оси расположена между ввинченной второй дополнительной резьбовой шпилькой и ввинченной третьей дополнительной резьбовой шпилькой. Первое направление имеет составляющую направления в горизонтальном направлении и составляющую направления в вертикальном направлении. Второе направление имеет составляющую направления в горизонтальном направлении и составляющую направления противоположно вертикальному направлению. Возможно, что крепежная область имеет первый паз и второй паз, причем первый паз и второй паз расположены с прохождением вдоль горизонтального направления. Предпочтительно первый паз и второй паз имеют v-образное поперечное сечение, причем вторая дополнительная резьбовая шпилька прилегает в первом пазе, и/или третья дополнительная резьбовая шпилька прилегает во втором пазе. Посредством ввинчивания второй дополнительной резьбовой шпильки в шестое резьбовое отверстие или третьей дополнительной резьбовой шпильки в седьмое резьбовое отверстие расположенная между ввинченными резьбовыми шпильками часть кассеты и вместе с ней вся кассета может регулироваться в вертикальном направлении. При этом проходящие под наклоном к вертикальному направлению шестое и седьмое резьбовые отверстия обеспечивают, что точки приложения усилий для вертикальной регулировки кассеты расположены внутри створки двери или окна. Тем не менее одновременно обеспечена возможность хорошего доступа снаружи.
Благодаря пазам предпочтительным образом улучшается фиксация кассеты в вертикальном направлении и приведение в движение кассеты при юстировке в вертикальном направлении. Пазы увеличивают поверхность прилегания второй дополнительной и третьей дополнительной резьбовых шпилек к крепежной области кассеты. Это существенно улучшает передачу усилий между резьбовыми шпильками и кассетой. Кроме того, благодаря пазам создаются условия для направления второй дополнительной и третьей дополнительной резьбовых шпилек по поверхности крепежной области кассеты при юстировке в вертикальном направлении и при юстировке в горизонтальном направлении.
Для этого предпочтительно предусмотрено то, что вторая дополнительная резьбовая шпилька и третья дополнительная резьбовая шпилька каждая имеют заострение или конический конец. Для этого предусмотрено, что вторая дополнительная резьбовая шпилька расположена заострением или коническим концом с прилеганием в первом пазе, и/или третья дополнительная резьбовая шпилька расположена заострением или коническим концом с прилеганием во втором пазе. Благодаря заострениям или коническим концам второй дополнительной и третьей дополнительной резьбовых шпилек поверхность прилегания в пазах крепежной области кассеты предпочтительным образом увеличивается дополнительно. Вследствие этого возникает улучшенная передача усилий.
Дальнейшим предметом для решения поставленной вначале задачи является способ юстировки соответствующей изобретению петельной системы. Для настройки ориентации кассеты в направлении уплотнительного прижима ввинчивают винт в первое резьбовое отверстие, причем резьбовую шпильку и предпочтительно первую дополнительную резьбовую шпильку ввинчивают во второе резьбовое отверстие и соответственно в третье резьбовое отверстие, пока резьбовая шпилька и соответственно первая дополнительная резьбовая шпилька не будут расположены с прилеганием к шарнирной серьге. Для настройки ориентации кассеты противоположно направлению уплотнительного прижима винт частично вывинчивают из первого резьбового отверстия, причем резьбовую шпильку и предпочтительно первую дополнительную резьбовую шпильку ввинчивают во второе резьбовое отверстие и соответственно в третье резьбовое отверстие, пока резьбовая шпилька и соответственно первая дополнительная резьбовая шпилька не будут расположены с прилеганием к шарнирной серьге.
Благодаря ввинчиванию винта в первое резьбовое отверстие и прилеганию головки винта к контактной поверхности крепежной области шарнирная серьга притягивается в направлении крепежной области. Если винт не вращается, то он предотвращает сдвиг шарнирной серьги противоположно направлению уплотнительного прижима. Фиксацию шарнирной серьги вдоль направления уплотнительного прижима обеспечивает прилегающая к шарнирной серьге резьбовая шпилька и предпочтительно прилегающая к шарнирной серьге первая дополнительная резьбовая шпилька. Тем самым создана предпочтительно простая, однако высокоточная возможность регулировать петельную систему вдоль направления уплотнительного прижима. Предпочтительным образом предусмотрено, что для настройки ориентации кассеты в направлении уплотнительного прижима перед ввинчиванием винта в первое резьбовое отверстие сначала отвинчивают резьбовую шпильку от шарнирной серьги и наиболее предпочтительно отвинчивают первую дополнительную резьбовую шпильку от шарнирной серьги.
Согласно дальнейшему предпочтительному варианту осуществления данного изобретения предусмотрено, что для настройки ориентации кассеты в вертикальном направлении на первом шаге третью дополнительную резьбовую шпильку вывинчивают противоположно второму направлению от крепежной области. Затем на втором шаге вторую дополнительную резьбовую шпильку ввинчивают вдоль первого направления с прилеганием к крепежной области в направлении третьей дополнительной резьбовой шпильки. На следующем третьем шаге третью дополнительную резьбовую шпильку ввинчивают вдоль второго направления, пока третья дополнительная резьбовая шпилька не будет прилегать к крепежной области.
Благодаря наклонному к вертикальному направлению ввинчиванию второй дополнительной резьбовой шпильки и третьей дополнительной резьбовой шпильки имеет место возможность простого в использовании приведения в движение кассеты вдоль вертикального направления. Предпочтительным образом создаются условия для регулировки кассеты в вертикальном направлении и последующей фиксации кассеты в вертикальном направлении. Вследствие того, что третью дополнительную резьбовую шпильку сначала отвинчивают от расположенной между второй дополнительной резьбовой шпилькой и третьей дополнительной резьбовой шпилькой крепежной области кассеты, создаются условия для сдвига кассеты в направлении третьей дополнительной резьбовой шпильки. Затем на втором шаге посредством ввинчивания второй дополнительной резьбовой шпильки кассету сдвигают вдоль вертикального направления к третьей дополнительной резьбовой шпильке. Наконец, на третьем шаге третью дополнительную резьбовую шпильку ввинчивают к расположенной между второй дополнительной резьбовой шпилькой и третьей дополнительной резьбовой шпилькой крепежной области кассеты, пока третья дополнительная резьбовая шпилька не будет прилегать к крепежной области. Прилегание второй дополнительной, а также третьей дополнительной резьбовых шпилек к кассете фиксирует кассету в вертикальном направлении.
Согласно дальнейшему предпочтительному варианту осуществления данного изобретения предусмотрено, что для выравнивания кассеты вдоль горизонтального направления вращают первый дополнительный винт и второй дополнительный винт. Это обеспечивает предпочтительным образом простую, интуитивную и точную настройку ориентации кассеты вдоль горизонтального направления. Посредством вращения первого дополнительного винта и второго дополнительного винта кассету сдвигают вдоль горизонтального направления относительно корпуса. Возможное наклонное положение кассеты может при этом выравниваться вследствие того, что первый дополнительный винт и второй дополнительный винт вращают в соответствии с наклонным положением больше или меньше.
Все раскрытые ранее в связи с соответствующей изобретению петельной системой подробности, признаки и преимущества относятся равным образом к соответствующему изобретению способу.
Дальнейшие подробности, признаки и преимущества изобретения проистекают из чертежа, а также из последующего описания предпочтительных вариантов осуществления на основе чертежа. Чертеж иллюстрирует при этом лишь примерные варианты осуществления изобретения, которые не ограничивают идею изобретения.
На чертеже показаны:
фиг. 1 - вид сбоку петельной системы согласно примерному варианту осуществления данного изобретения;
фиг. 2 - первый вид в разрезе показанной на фиг.1 петельной системы;
фиг. 3 - второй вид в разрезе показанной на фиг.1 петельной системы;
фиг. 4 - третий вид в разрезе показанной на фиг.1 петельной системы;
фиг. 5 - изображение в разобранном виде части показанной на фиг.1 петельной системы; и
фиг. 6 - дополнительный вид показанной на фиг.1 петельной системы.
На описанных ниже фигурах одни и те же элементы всегда обозначены одними и теми же цифрами и литерами и потому не обязательно описываются несколько раз.
Фиг. 1 показывает вид сбоку петельной системы 100 согласно примерному варианту осуществления данного изобретения для поворотного вокруг шарнирной оси S закрепления неизображенной створки двери или окна на неизображенной раме двери или окна. Показанная петельная система 100 является скрытой петельной системой 100. Это означает, что шарнирная ось S расположена внутри выемки рамы двери или окна. Шарнирная серьга 4 петельной системы 100 соединена с возможностью поворота вокруг шарнирной оси S при помощи неизображенной, расположенной со стороны рамы приемной области с рамой двери или окна.
Шарнирная серьга 4 вдвинута вдоль горизонтального направления Н в кассету 3 (см. фиг. 2, 3 и 5) петельной системы 100 и закреплена винтом 6 на крепежной области 3' кассеты 3. Кассету 3 можно увидеть здесь лишь частично, так как она расположена частично в корпусе, который имеет верхнюю часть 1 корпуса, а также свинченную с верхней частью 1 корпуса нижнюю часть 2 корпуса. Лишь крепежная область 3' выступает из проема верхней части 1 корпуса вдоль горизонтального направления. Верхняя часть 1 корпуса имеет крышку 1.1 корпуса, которая закрывает верхнюю часть 1 корпуса противоположно горизонтальному направлению Н.
Можно увидеть головку 6.1 винта 6, которая расположена с прилеганием к контактной поверхности 7.3 крепежной области 3' (см. фиг. 2). Винт 6 расположен относительно параллельного к шарнирной оси S вертикального направления V между резьбовой шпилькой 8 и первой дополнительной резьбовой шпилькой 10. В отношении горизонтального направления Н резьбовая шпилька 8, винт 6 и первая дополнительная резьбовая шпилька 10 расположены на одной высоте.
На фиг. 1 обозначены далее первая плоскость I разреза, вторая плоскость II разреза, а также третья плоскость III разреза, которые изображены на фиг. 2-4.
Фиг. 2 показывает первый вид в разрезе изображенной на фиг.1 петельной системы 100 согласно предпочтительному варианту осуществления данного изобретения. Здесь показан разрез вдоль первой плоскости I разреза. Можно увидеть установленную с возможностью поворота вокруг шарнирной оси S шарнирную серьгу 4. Шарнирная ось S расположена на показанном здесь изображении перпендикулярно к плоскости чертежа. Шарнирная серьга 4 вдвинута вдоль горизонтального направления Н в приемную область 5 кассеты 3. Можно ясно увидеть, что кассета 3 расположена внутри корпуса, образованного верхней частью 1 корпуса, а также нижней частью 2 корпуса. Шарнирная серьга 4 зафиксирована в приемной области 5 кассеты 3 винтом 6 от выпадения из приемной области 5 противоположно горизонтальному направлению Н.
Для этого винт 6 ввинчен вдоль первого направления А ввинчивания через первое сквозное отверстие 7.1 крепежной области 3', а также через первое резьбовое отверстие 7.2. Головка 6.1 винта прилегает своей нижней стороной к контактной поверхности 7.3 крепежной области 3'. Первое сквозное отверстие 7.1 предпочтительно не имеет резьбы. Если винт 6 ввинчивается вдоль первого направления А ввинчивания в первое резьбовое отверстие 7.2, то головка 6.1 винта упирается в контактную поверхность 7.3, и шарнирная серьга 4 притягивается вдоль направления D уплотнительного прижима, перпендикулярного к шарнирной оси S и к горизонтальному направлению Н. Юстировка шарнирной серьги 4 относительно кассеты 3 вдоль направления D уплотнительного прижима вызывается таким образом при помощи расположения винта 6 на крепежной области 3' за счет поворотного движения вокруг оси, которая расположена параллельно к шарнирной оси S на переднем конце шарнирной серьги 4.
Для того чтобы допускать сдвиг шарнирной серьги 4 вдоль направления D уплотнительного прижима, приемная область 5 выполнена суживающейся вдоль горизонтального направления Н. Чтобы была возможна оптимальная передача усилия от ввинченного винта 6 на шарнирную серьгу 4 для регулировки петельной системы 100 вдоль направления D уплотнительного прижима, первое направление А ввинчивания расположено под углом к направлению D уплотнительного прижима.
Однако показанное закрепление шарнирной серьги 4 винтом 6 не фиксирует шарнирную серьгу 4 в направлении D уплотнительного прижима. Для фиксации шарнирной серьги 4 в направлении D уплотнительного прижима предусмотрена показанная на фиг. 3 резьбовая шпилька 8. Фиг. 3 показывает изображенную на фиг. 1 петельную систему 100 согласно предпочтительному варианту осуществления данного изобретения на изображении в разрезе. Показана вторая плоскость II разреза. Резьбовая шпилька 8 ввинчена вдоль второго направления В ввинчивания во второе резьбовое отверстие 9 крепежной области 3' и прилегает к шарнирной серьге 4. За счет прилегания резьбовой шпильки 8 к шарнирной серьге 4 шарнирная серьга 4 ограничивается в движении вдоль направления D уплотнительного прижима. Так как ввинченный винт 6 (см. фиг. 2) фиксирует шарнирную серьгу 4 противоположно направлению D уплотнительного прижима, а резьбовая шпилька 8 прилегает к шарнирной серьге 4 и таким образом не допускает движения вдоль направления D уплотнительного прижима, шарнирная серьга 4 зафиксирована в направлении D уплотнительного прижима.
Показанная на фиг. 1 первая дополнительная резьбовая шпилька 10 ввинчена в третье резьбовое отверстие 11 (см. фиг. 4 и 5) и также прилегает к шарнирной серьге 4. Благодаря расположению винта 6 между резьбовой шпилькой 8 и первой дополнительной резьбовой шпилькой 10 создана симметричная передача усилий от винта 6, резьбовой шпильки 8 и дополнительной резьбовой шпильки 10 на шарнирную серьгу 4.
Фиг. 4 показывает третий вид в разрезе изображенной на фиг.1 петельной системы 100. Показана третья плоскость III разреза. Здесь можно увидеть первую дополнительную резьбовую шпильку 10, которая расположена с прилеганием к крепежной области 3'. Винт 6 расположен между резьбовой шпилькой 8 и первой дополнительной резьбовой шпилькой 10. Вследствие этого возникает устойчивая фиксация шарнирной серьги 4 в направлении D уплотнительного прижима. Кроме того, через первое отверстие 15.1 можно увидеть первый дополнительный винт 14.1 с головкой 14.3 первого дополнительного винта, а через второе отверстие 15.2 - второй дополнительный винт 14.2 с головкой 14.4 второго дополнительного винта. Первый дополнительный винт 14.1 и второй дополнительный винт 14.2 служат для горизонтальной регулировки петельной системы (см. фиг. 5).
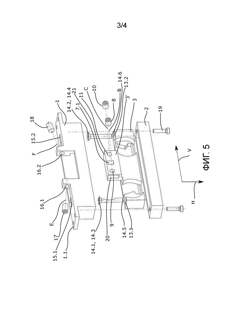
Фиг. 5 показывает изображение в разобранном виде части показанной на фиг. 1 петельной системы 100. Здесь не изображена лишь шарнирная серьга 4. Можно ясно увидеть свинченную соединительными винтами 19 с нижней частью 2 корпуса в корпус верхнюю часть 1 корпуса. Внутри корпуса расположена кассета 3. Можно хорошо увидеть первое сквозное отверстие 7.1, второе резьбовое отверстие 9, а также третье резьбовое отверстие 11 крепежной области 3' кассеты 3. Далее показана резьбовая шпилька 8, которая вдоль второго направления В ввинчивания ввинчивается во второе резьбовое отверстие 9, а также первая дополнительная резьбовая шпилька 10, которая вдоль третьего направления С ввинчивания ввинчивается в третье резьбовое отверстие 11. Третье направление С ввинчивания расположено параллельно ко второму направлению В ввинчивания.
Для регулировки петельной системы 100 вдоль горизонтального направления петельная система 100 имеет первый дополнительный винт 14.1, который в четвертом резьбовом отверстии 13.1 ввинчен вдоль горизонтального направления Н в кассету 3, а также второй дополнительный винт 14.2, который в пятом резьбовом отверстии 13.2 ввинчен вдоль горизонтального направления Н в кассету 3. Головка 14.3 первого дополнительного винта 14.1 прилегает к внутренней стороне крышки 1.1 корпуса. Далее первый конец 14.5 стержня первого дополнительного винта 14.1 прилегает к нижней части 2 корпуса. Захватным профилем головки 14.3 первого дополнительного винта можно манипулировать через первое отверстие 15.1 в крышке 1.1 корпуса снаружи. Головка 14.4 второго дополнительного винта 14.2 прилегает к внутренней стороне крышки 1.1 корпуса. Далее второй конец 14.6 стержня второго дополнительного винта 14.2 прилегает к нижней части 2 корпуса. Захватным профилем головки 14.4 второго дополнительного винта можно манипулировать через второе отверстие 15.2 в крышке 1.1 корпуса снаружи. Если первый и второй дополнительные винты 14.1, 14.2 вращаются, то кассета 3 и вместе с кассетой 3 шарнирная серьга 4 сдвигается вдоль горизонтального направления Н к верхней части 1 корпуса или к нижней части 2 корпуса.
Для регулировки петельной системы 100 вдоль вертикального направления V предусмотрена вторая дополнительная резьбовая шпилька 17 и третья дополнительная резьбовая шпилька 18. Вторая дополнительная резьбовая шпилька 17 ввинчена вдоль первого направления Е в шестое резьбовое отверстие 16.1 и прилегает коническим концом в v-образном, расположенном вдоль горизонтального направления Н на крепежной области 3' первом пазе 20. Третья дополнительная резьбовая шпилька 18 ввинчена вдоль второго направления F в седьмое резьбовое отверстие 16.2 и прилегает коническим концом в v-образном, расположенном вдоль горизонтального направления Н на крепежной области 3' втором пазе 21. Крепежная область 3' расположена между второй дополнительной резьбовой шпилькой 17 и третьей дополнительной резьбовой шпилькой 18. Для того чтобы сдвигать кассету 3 вдоль вертикального направления V, сначала третью дополнительную резьбовую шпильку 18 отвинчивают от крепежной области 3'. Затем вторую дополнительную резьбовую шпильку 17 ввинчивают вдоль первого направления Е с прилеганием к крепежной области 3'. Вследствие этого кассета 3 сдвигается вдоль вертикального направления V. Если кассета 3 расположена в правильном положении в вертикальном направлении V, то третью дополнительную резьбовую шпильку 18 ввинчивают вдоль второго направления F, пока она не будет прилегать во втором пазе 21 на крепежной области 3'. Первое направление Е имеет составляющую направления вдоль вертикального направления V и составляющую направления вдоль горизонтального направления Н. Второе направление F имеет составляющую направления вдоль горизонтального направления Н и составляющую направления противоположно вертикальному направлению V. Благодаря расположенному под углом к вертикальному направлению V первому направлению Е и расположенному под углом к вертикальному направлению V второму направлению F создана расположенная оптимально поверхность прилегания второй и третьей дополнительных резьбовых шпилек 17, 18 при хорошей, тем не менее, доступности второй и третьей дополнительных резьбовых шпилек 17, 18 снаружи.
СПИСОК ССЫЛОЧНЫХ ПОЗИЦИЙ
1 верхняя часть корпуса
1.1 крышка корпуса
2 нижняя часть корпуса
3 кассета
3' крепежная область
4 шарнирная серьга
5 приемная область
6 винт
6.1 головка винта
7.1 первое сквозное отверстие
7.2 первое резьбовое отверстие
7.3 контактная поверхность
8 резьбовая шпилька
9 второе резьбовое отверстие
10 первая дополнительная резьбовая шпилька
11 третье резьбовое отверстие
13.1 четвертое резьбовое отверстие
13.2 пятое резьбовое отверстие
14.1 первый дополнительный винт
14.2 второй дополнительный винт
14.3 головка первого дополнительного винта
14.4 головка второго дополнительного винта
14.5 первый конец стержня
14.6 второй конец стержня
15.1 первое отверстие
15.2 второе отверстие
16.1 шестое резьбовое отверстие
16.2 седьмое резьбовое отверстие
17 вторая дополнительная резьбовая шпилька
18 третья дополнительная резьбовая шпилька
19 соединительный винт
20 первый паз
21 второй паз
100 петельная система
А первое направление ввинчивания
В второе направление ввинчивания
С третье направление ввинчивания
D направление уплотнительного прижима
Е первое направление
F второе направление
Н горизонтальное направление
S шарнирная ось
V вертикальное направление
I первая плоскость разреза
II вторая плоскость разреза
III третья плоскость разреза.
| название | год | авторы | номер документа |
|---|---|---|---|
| ПЕТЕЛЬНЫЙ УЗЕЛ | 2014 |
|
RU2633234C2 |
| ПЕТЛЯ, В ЧАСТНОСТИ, ДЛЯ ПЛАСТИКОВЫХ ДВЕРЕЙ И ПЛАСТИКОВЫХ ОКОН | 2011 |
|
RU2469164C1 |
| ПЕТЕЛЬНЫЙ УЗЕЛ ДЛЯ ДВЕРЕЙ, ОКОН ИЛИ Т.П. | 2006 |
|
RU2396411C2 |
| КОНСТРУКТИВНЫЙ УЗЕЛ ПЕТЛИ ДЛЯ ШАРНИРНО-ПОДВИЖНОГО ВОКРУГ ШАРНИРНОЙ ОСИ СОЕДИНЕНИЯ СТВОРКИ С РАМОЙ, А ТАКЖЕ ПЕТЛЯ С ТАКИМ КОНСТРУКТИВНЫМ УЗЛОМ | 2019 |
|
RU2769902C1 |
| ПЕТЕЛЬНЫЙ УЗЕЛ | 2014 |
|
RU2670408C2 |
| КРЕПЁЖНАЯ СИСТЕМА ДЛЯ ГЕРМЕТИЧНОГО И ТЕПЛОИЗОЛЯЦИОННОГО РЕЗЕРВУАРА | 2019 |
|
RU2792493C2 |
| ШАРНИР | 2009 |
|
RU2474664C2 |
| Петлевой базирующий элемент скрытой петлевой системы для дверей или окон и дверная петля с петлевым базирующим элементом | 2016 |
|
RU2717889C2 |
| ПЕТЛЯ ДЛЯ ДВЕРЕЙ, ОКОН И ПОДОБНЫХ УСТРОЙСТВ | 2004 |
|
RU2256054C1 |
| ПЕТЛЯ ДЛЯ ШАРНИРНОГО ОТНОСИТЕЛЬНО ШАРНИРНОЙ ОСИ ЗАКРЕПЛЕНИЯ СТВОРКИ НА РАМЕ | 2018 |
|
RU2742084C1 |
Изобретение относится к скрытой петельной системе для поворотного вокруг шарнирной оси закрепления створок двери или окна на раме двери или окна, а также к способу юстировки петельной системы. Техническим результатом является удобство и простота юстировки вдоль направления уплотнительного прижима. Технический результат достигается тем, что скрытая петельная система для поворотного вокруг шарнирной оси закрепления створок двери или окна на раме двери или окна включает в себя корпус, а также частично расположенную внутри корпуса кассету, причем шарнирная серьга вставлена в приемную область кассеты вдоль расположенного перпендикулярно к шарнирной оси горизонтального направления, при этом скрытая петельная система для регулировки шарнирной серьги в направлении уплотнительного прижима, которое расположено перпендикулярно к шарнирной оси и перпендикулярно к горизонтальному направлению, имеет винт и резьбовую шпильку, причем винт расположен в первом сквозном отверстии крепежной области кассеты и в первом резьбовом отверстии шарнирной серьги, причем головка винта расположена с прилеганием к обращенной от шарнирной серьги контактной поверхности крепежной области, причем резьбовая шпилька расположена во втором сквозном резьбовом отверстии крепежной области и с прилеганием к шарнирной серьге, а также технический результат достигается способом юстировки такой петельной системы. 2 н. и 10 з.п. ф-лы, 6 ил.
1. Скрытая петельная система (100) для поворотного вокруг шарнирной оси (S) закрепления створок двери или окна на раме двери или окна, включающая в себя корпус (1, 2), а также частично расположенную внутри корпуса (1, 2) кассету (3), причем шарнирная серьга (4) вставлена в приемную область (5) кассеты (3) вдоль расположенного перпендикулярно к шарнирной оси (S) горизонтального направления (Н),
отличающаяся тем, что
скрытая петельная система (100) для регулировки шарнирной серьги (4) в направлении (D) уплотнительного прижима, которое расположено перпендикулярно к шарнирной оси (S) и перпендикулярно к горизонтальному направлению (Н), имеет винт (6) и резьбовую шпильку (8), причем винт (6) расположен в первом сквозном отверстии (7.1) крепежной области (3') кассеты (3) и в первом резьбовом отверстии (7.2) шарнирной серьги (4), причем головка (6.1) винта (6) расположена с прилеганием к обращенной от шарнирной серьги (4) контактной поверхности (7.3) крепежной области (3'), причем резьбовая шпилька (8) расположена во втором сквозном резьбовом отверстии (9) крепежной области (3') и с прилеганием к шарнирной серьге (4).
2. Петельная система (100) по п. 1, отличающаяся тем, что винт (6) предусмотрен для ввинчивания в первое резьбовое отверстие (7.2) вдоль первого направления (А) ввинчивания, причем резьбовая шпилька (8) предусмотрена для ввинчивания во второе резьбовое отверстие (9) вдоль второго направления (В) ввинчивания, причем первое направление (А) ввинчивания и второе направление (В) ввинчивания каждое имеют составляющую направления вдоль направления (D) уплотнительного прижима.
3. Петельная система (100) по п. 2, отличающаяся тем, что приемная область (5) выполнена в отношении направления (D) уплотнительного прижима суживающейся вдоль горизонтального направления (Н).
4. Петельная система (100) по п. 2, отличающаяся тем, что первое направление (А) ввинчивания и второе направление (В) ввинчивания каждое расположены под наклоном к направлению (D) уплотнительного прижима, причем первое направление (А) ввинчивания и второе направление (В) ввинчивания каждое предпочтительно имеют составляющую направления вдоль горизонтального направления (Н).
5. Петельная система (100) по любому из пп. 1-4, отличающаяся тем, что петельная система (100) для регулировки шарнирной серьги (4) в направлении (D) уплотнительного прижима имеет первую дополнительную резьбовую шпильку (10), причем первая дополнительная резьбовая шпилька (10) расположена в третьем сквозном резьбовом отверстии (11) крепежной области (3') с прилеганием к шарнирной серьге (4), причем первая дополнительная резьбовая шпилька (10) предусмотрена для ввинчивания в третье резьбовое отверстие (11) вдоль третьего направления (С) ввинчивания, причем третье направление (С) ввинчивания имеет предпочтительно составляющую направления вдоль направления (D) уплотнительного прижима, причем третье направление (С) ввинчивания расположено наиболее предпочтительно под наклоном к направлению (D) уплотнительного прижима, причем третье направление (С) ввинчивания имеет, в частности, составляющую направления вдоль горизонтального направления (Н).
6. Петельная система (100) по п. 5, отличающаяся тем, что в отношении расположенного параллельно к шарнирной оси (S) вертикального направления (V) винт (6) расположен между резьбовой шпилькой (8) и первой дополнительной резьбовой шпилькой (10).
7. Петельная система (100) по п. 5 или 6, отличающаяся тем, что первое резьбовое отверстие (7.2), второе резьбовое отверстие (9) и третье резьбовое отверстие (11) расположены с центрированием вдоль параллельной к шарнирной оси (S) прямой.
8. Петельная система (100) по любому из пп. 1-7, отличающаяся тем, что корпус (1, 2) имеет верхнюю часть (1) корпуса и нижнюю часть (2) корпуса, причем кассета (3) имеет четвертое резьбовое отверстие (13.1) и первый дополнительный винт (14.1), причем первый дополнительный винт (14.1) ввинчен в четвертое резьбовое отверстие (13.1), причем первый дополнительный винт (14.1) головкой (14.3) первого дополнительного винта расположен с прилеганием к верхней части (1) корпуса, а первым концом (14.5) стержня - к нижней части (2) корпуса, причем кассета (3) имеет отстоящее в вертикальном направлении (V) от четвертого резьбового отверстия (13.1) пятое резьбовое отверстие (13.2) и второй дополнительный винт (14.2), причем второй дополнительный винт (14.2) ввинчен в пятое резьбовое отверстие (13.2), причем второй дополнительный винт (14.2) головкой (14.4) второго дополнительного винта расположен с прилеганием к верхней части (1) корпуса, а вторым концом (14.6) стержня - к нижней части (2) корпуса, причем верхняя часть (1) корпуса и нижняя часть (2) корпуса предпочтительно свинчены друг с другом, причем головка (14.3) первого дополнительного винта и головка (14.4) второго дополнительного винта расположены предпочтительно c прилеганием к обращенной к нижней части (2) корпуса крышке (1.1) корпуса верхней части (1) корпуса, причем крышка (1.1) корпуса имеет наиболее предпочтительно первое отверстие (15.1) для манипулирования первым захватным профилем головки (14.3) первого дополнительного винта и второе отверстие (15.2) для манипулирования вторым захватным профилем головки (14.4) второго дополнительного винта.
9. Петельная система (100) по любому из пп. 1-8, отличающаяся тем, что корпус (1, 2) имеет шестое сквозное резьбовое отверстие (16.1) для ввинчивания второй дополнительной резьбовой шпильки (17) вдоль первого направления (Е) и седьмое сквозное резьбовое отверстие (16.2) для ввинчивания третьей резьбовой шпильки (18) вдоль второго направления (F), причем шестая резьбовая шпилька (17) и/или седьмая резьбовая шпилька (18) расположена с прилеганием к крепежной области (3'), которая в отношении шарнирной оси (S) расположена между ввинченной второй дополнительной резьбовой шпилькой (17) и ввинченной третьей дополнительной резьбовой шпилькой (18), причем первое направление (Е) имеет составляющую направления в горизонтальном направлении (Н) и составляющую направления в вертикальном направлении (V), и причем второе направление (F) имеет составляющую направления в горизонтальном направлении (Н) и составляющую направления противоположно вертикальному направлению (V), причем крепежная область (3') имеет предпочтительно первый паз (20) и второй паз (21), причем первый паз (20) и второй паз (21) расположены с прохождением вдоль горизонтального направления (Н), причем первый паз (20) и второй паз (21) имеют v-образное поперечное сечение, причем вторая дополнительная резьбовая шпилька (17) прилегает в первом пазе (20), и/или третья дополнительная резьбовая шпилька (18) прилегает во втором пазе (21).
10. Способ юстировки петельной системы (100) по любому из пп. 1-9,
отличающийся тем, что
для настройки ориентации кассеты (3) в направлении (D) уплотнительного прижима ввинчивают винт (6) в первое резьбовое отверстие (7.2), причем резьбовую шпильку (8) и предпочтительно первую дополнительную резьбовую шпильку (10) ввинчивают во второе резьбовое отверстие (9) и соответственно в третье резьбовое отверстие (11), пока резьбовая шпилька (8) и соответственно первая дополнительная резьбовая шпилька (10) не будут расположены с прилеганием к шарнирной серьге (4), и
для настройки ориентации кассеты (3) противоположно направлению (D) уплотнительного прижима винт (6) частично вывинчивают из первого резьбового отверстия (7.2), причем резьбовую шпильку (8) и предпочтительно первую дополнительную резьбовую шпильку (10) ввинчивают во второе резьбовое отверстие (9) и соответственно в третье резьбовое отверстие (11), пока резьбовая шпилька (8) и соответственно первая дополнительная резьбовая шпилька (10) не будут расположены с прилеганием к шарнирной серьге (4).
11. Способ по п. 10, отличающийся тем, что для настройки ориентации кассеты (3) в вертикальном направлении (V) на первом шаге третью дополнительную резьбовую шпильку (18) вывинчивают противоположно второму направлению (F) от крепежной области (3'), затем на втором шаге вторую дополнительную резьбовую шпильку (17) ввинчивают вдоль первого направления (Е) с прилеганием к крепежной области (3') в направлении третьей дополнительной резьбовой шпильки (18) и затем на третьем шаге третью дополнительную резьбовую шпильку (18) ввинчивают вдоль второго направления (F), пока третья дополнительная резьбовая шпилька (18) не будет прилегать к крепежной области (3').
12. Способ по п. 10 или 11, отличающийся тем, что для выравнивания кассеты (3) вдоль горизонтального направления (Н) вращают первый дополнительный винт (14.1) и второй дополнительный винт (14.2).
| US 9416573 B2, 16.08.2016 | |||
| 0 |
|
SU339581A1 | |
| DE 4421056 A1, 21.12.1995 | |||
| Способ автоматической перестройки элементов связи УКВ передатчика | 1957 |
|
SU112247A1 |
| Способ получения настоек из цитрусовых плодов | 1947 |
|
SU72008A1 |
| DE 29907488 U1, 07.09.2000. | |||
Авторы
Даты
2025-01-16—Публикация
2022-06-28—Подача