Устройство для получения обессоленной воды Российский патент 2025 года по МПК C02F1/42 B01D15/04 B01D61/00 

Описание патента на изобретение RU2833340C1

Область техники

Изобретение относится к области водоподготовки и водоочистки, а именно к оборудованию, применяемому для получения обессоленной воды из поверхностных низкоминерализованных источников с высоким содержанием коллоидной кремниевой кислоты для подпитки барабанных котлов, работающих под давлением от 100 кг/см2 и выше.

Уровень техники

С середины прошлого века в промышленности и энергетике обессоленную (деминерализованную) воду получали, используя ионообменные фильтры, главными недостатками которых было значительное потребление реагентов в процессе регенерации, недостаточная эффективность удаления органических загрязнений и невозможность очистки обрабатываемой воды от кремниевой кислоты и ее производных, находящихся в коллоидном состоянии [1-3]. Перевод оборудования на технологии противоточной регенерации способствовал резкому росту эффективности регенерации ионитов, но два других недостатка сохранялись в неизменном виде.

С 70-х годов прошлого столетия для практических задач получения обессоленной воды стали применять мембранное оборудование (обратноосмотическое и нанофильтрационное) на основе рулонных элементов [1-3]. Такие решения обеспечивают глубокое удаление из обрабатываемой воды природной органики и коллоидной кремневки, позволяют значительно сократить потребление реагентов в технологическом процессе, но, к сожалению, не способны добиться требуемой степени очистки котловой воды от лимитируемых примесей, находящихся в растворенном состоянии. Кроме того, мембранное оборудование, используемое на основной стадии обессоливания, резко ужесточает требования к качеству предподготовки. Следствием чего стало использование ультрафильтрации для предварительной очистки воды, направляемой на обессоливающие мембранные установки.

На рубеже XX-XXI веков появились примеры использования для задач получения обессоленной воды технических решений на базе интегрированных мембранных технологий (ИМТ), когда ультрафильтрационное оборудование используется для предподготовки, обратноосмотическое - на стадии основной обработки, а электродеионизационное - для финишной очистки. Существенный недостаток ИМТ заключался в недостаточной степени технологической устойчивости, т.е. в отсутствии у электродеионизации возможности обеспечить требуемые показатели качества обессоленной воды в случаях, когда качественные показатели обратноосмотического пермеата выходили за пределы норм, установленных требованиями к качеству воды, направляемой на электродеионизацию (например, по показателям остаточной жесткости, эквивалентной электропроводности или содержанию свободной углекислоты).

В настоящее время для целей получения обессоленной воды для подпитки котлов в энергетике и промышленности широкое распространение получило оборудование, сочетающее ИМТ с ионообменными установками как смешанного действия, так и раздельными загрузками сильно функциональных катионитов и ионитов, регенерируемых в противоточном режиме [1-3]. Ионообменное оборудование обладает высокой технологической устойчивостью, поскольку показатели качества обессоленной воды в этом случае определяются/зависят от количества реагентов, потребленных при регенерации ионитов.

Традиционно исходная вода сначала проходит обработку на мембранных установках (как правило, ультрафильтрации и обратного осмоса), которые решают задачи по предподготовке исходной воды и удалению основной массы солей, находящихся в растворенном состоянии, а затем пермеат проходит доочистку на ионообменном оборудовании, чтобы соответствовать требованиям, предъявляемым к котловой питательной воде. В общем случае подобное техническое решение является эффективным, обратный осмос, реализуемый в оборудовании на основе рулонных мембранных элементов, удаляя основное количество растворенных солей, позволяет резко снизить частоту проведения регенераций ионитов, а, следовательно, и потребление реагентов, которыми, главным образом, определяются эксплуатационные затраты, ассоциированные с ионным обменом.

В том случае, когда источник исходной воды является поверхностным и низкоминерализованным (интегральное значение солесодержания не выходит за пределы 100 мг/дм3), применение мембранного разделения на стадии основной обработки приводит к возрастанию себестоимости обессоленной воды по сравнению с альтернативным использованием ионообменных устройств с ионитами, регенерируемыми по противоточной технологии [4]. Обусловлено это тем, что обратным осмосом, с одной стороны, предъявляются более жесткие требования к качеству предподготовки, а с другой обратный осмос не в состоянии обеспечить такую же степень очистки от растворенных примесей, которая достигается при ионном обмене. Возникает потребность в использовании дополнительной ступени обработки. И, если необходимо получить воду с остаточной электропроводностью в пределах 2 мкСм/см, то для доочистки пермеата требуется применение либо установки ионообменного обессоливания, либо второй ступени обратного осмоса. И в том, и в другом случае резко возрастают капитальные и эксплуатационные затраты, особенно если учитывать еще потребности в предподготовке перед первой ступенью обратного осмоса.

Противоточный ионный обмен является предпочтительным выбором для получения обессоленной воды с остаточной электропроводностью в пределах 0,5-2 мкСм/см для подпитки барабанных котлов, работающих под давлением 100 кг/см2, так как при его использовании требуемый результат обеспечивается в условиях одноступенчатой обработки при минимальных требованиях к качеству предподготовки исходной воды, что особенно наглядно проявляется в случае реализации ионообменного обессоливания по технологии UPCORE / АПКОРЕ.

В практике водоподготовки возникают ситуации, когда в поверхностной низкоминерализованной воде может содержаться в значительных количествах коллоидная кремниевая кислота. Ионообменные смолы не способны задерживать коллоидную кремниевую кислоту. Чтобы решить проблему с остаточным содержанием коллоидной кремниевой кислоты в обессоленной воде, приходится использовать неэкономичную для рассматриваемого случая низкоминерализованной исходной воды традиционную схему, сочетающую обязательную предочистку с обратноосмотическим разделением или интегрированные мембранные технологии на стадии основной обработки с доочисткой пермеата ионным обменом.

Технология UPCORE / АПКОРЕ - противоточная регенерация восходящим потоком. В фильтре, работающем по этой технологии, обрабатываемая вода движется сверху вниз, регенерационный раствор - снизу вверх. Во время рабочего цикла вода движется сверху вниз (30...40 м/ч), слой ионита остается зажатым при любых колебаниях нагрузки, даже при полном прекращении подачи воды. Таким образом, хорошо отрегенерированный слой ионита в нижней части фильтра не разрушается. Перед подачей в фильтр регенерационного раствора слой ионита в течение 3-5 мин большим потоком воды со скоростью около 30 м/ч поднимается вверх до соприкосновения с инертным материалом. Наличие такого материала - одна из принципиальных особенностей технологии. Верхнее дренажно-распределительное устройство прикрыто и как бы погружено в слой плавающего слоя инертного материала. Через этот слой свободно проходят вода, взвешенные примеси, ионитная «мелочь», а целые гранулы ионита, которые в отсутствие инертного материала поток мог бы унести из фильтра, задерживаются.

Весьма важная особенность технологии UPCORE / АПКОРЕ - возможность осуществления послойной загрузки анионитов в одном фильтре без каких-либо разделяющих устройств. За счет специального подбора слабоосновного и сильноосновного анионитов с соответствующими значениями плотностей слой слабоосновного анионита всегда сохраняет свое положение над слоем сильноосновного анионита, защищая последний от отравления органическими веществами. Простота технологии, универсальность конструкции позволяют использовать стандартные параллельноточные фильтры для противоточного фильтрования, заменяя только внутренние дренажно-распределительные устройства [5].

Недостатком базовой технологии UPCORE / АПКОРЕ является высокая энерго- и ресурсозатратность на регенерацию фильтров.

Известен способ регенерации ионитов (RU 2241542, приоритет с 05.09.2003, МПК B01J 49/00, C02F 1/42, C02F 103/04) в фильтрационных процессах типа «UPCORE», включающий в себя стадию зажатия слоя ионита потоком жидкой среды, направленным снизу вверх, стадии регенерации, гравитационного осаждения и отмывки ионитов от остатков регенерирующего раствора, отличающийся тем, что перед стадией зажатия через фильтр в направлении сверху вниз пропускают обрабатываемую жидкость с линейной скоростью, превышающей среднее эксплуатационное значение на 5-250%.

Известна установка для ионообменной очистки воды (RU 34527, приоритет с 05.09.2003, МПК C02F 1/42), включающая в себя фильтр, содержащий ионообменную смолу, трубопроводы подачи исходной и обработанной воды, линии рециркуляции и регенерации, связанные с трубопроводом подачи обработанной воды, регулирующие клапаны и насосы, отличающаяся тем, что линия рециркуляции состоит из последовательно установленных на трубопроводе управляемого клапана емкости очищенной воды, насоса, обратного клапана и второго управляемого клапана, а линия регенерации подсоединена к трубопроводу линии рециркуляции на участках после обратного клапана и второго управляющего клапана и содержит заборное устройство, состоящее из эжектора 19, дозатора, емкости с регенерирующим раствором и управляемых клапанов.

Известна установка для подготовки глубоко обессоленной воды (RU 78183, приоритет с 25.06.2008, МПК C02F 1/00), состоящая из последовательно включенных модуля предварительной подготовки воды, модуля обратного осмоса, промежуточной емкости и модуля ионообменного умягчения, отличающаяся тем, что она дополнительно содержит модули декарбонизации и электродеионизации на линии выхода пермеата из узла обратного осмоса установлен дополнительный модуль декарбонизации, а на линии выхода фильтрата из узла ионообменного умягчения установлен дополнительный модуль электродеионизации.

Известна установка для получения обессоленной воды (RU 89097, приоритет с 18.06.2009, МПК C02F 1/44), состоящая из связанных между собой трубопроводами блока предподготовки, блока обессоливания воды с помощью обратного осмоса, блока обработки концентрата с помощью обратного осмоса, причем выход пермеата блока обработки концентрата соединен со входом первой или последующей ступени блока обессоливания воды, отличающаяся тем, что на трубопроводе, соединяющем выход пермеата блока обработки концентрата с блоком обратного осмоса обессоливания воды дополнительно установлен ионообменный фильтр-умягчитель.

Известен способ регенерации ионообменных смол (RU 2545279, приоритет с 19.12.2013, МПК B01J 49/00, C02F 1/42) в фильтрационных процессах типа «UPCORE», включающий в себя стадию зажатия слоя ионита потоком жидкой среды, направленным снизу вверх, стадии регенерации растворами кислоты и щелочи, гравитационного осаждения и отмывки ионитов от остатков регенерирующего раствора, отличающийся тем, что в ходе регенерации осуществляют подачу кислоты с минимальной скоростью, рассчитанной по формуле: vк=10⋅((D⋅μ25)/(0,2⋅μ))0,105, где vк - линейная скорость потока раствора кислоты, м/ч; D - внутренний диаметр фильтра, м; μ25 и μ - вязкость раствора кислоты при температуре 25°С и рабочей температуре соответственно, а подачу щелочи - при минимально допустимой линейной скорости по формуле: vщ=7⋅((D⋅μ'25)/(0,2⋅μ'))0,105, где vщ - линейная скорость потока раствора щелочи, м/ч; D - внутренний диаметр фильтра, м; и μ' - вязкость раствора щелочи при температуре 25°С и рабочей температуре соответственно.

Недостатками указанных технических решений являются высокие капитальные и эксплуатационные затраты, такие как значительное потребление электроэнергии, воды на собственные нужды, так как доля отбора, гидравлический КПД, при использовании только обратного осмоса находится в пределах 20-30% в общем случае, а при условии применения ультрафильтрации с обратным осмосом может достигать 60%.

Раскрытие сущности изобретения

Техническим результатом заявленного изобретения является минимизация капитальных и эксплуатационных затрат при получении обессоленной воды требуемого качества из поверхностных низкоминерализованных источников с высоким содержанием коллоидной кремниевой кислоты для подпитки барабанных котлов ГРЭС, работающих под давлением от 100 кг/см2 и выше, за счет уменьшения расхода реагентов, электроэнергии и воды на собственные нужды в процессе обессоливания воды.

Технический результат достигается тем, что используют устройство для получения обессоленной воды (варианты), функционирование которого основано на технологии противоточной регенерации «UPCORE». Устройство получения обессоленной воды представляет собой контейнер и включает блок обессоливания ионным обменом, вход которого выполнен с возможностью приема исходной воды, а выход которого соединен со входом блока мембранного разделения, при этом:

- в первом варианте блок обессоливания ионным обменом включает последовательно соединенные фильтр с сильнокислотным катионитом и фильтр с послойной загрузкой слабо- и сильноосновного анионитов;

- во втором варианте блок обессоливания ионным обменом включает последовательно соединенные фильтр с сильнокислотным катионитом, декарбонизатор и фильтр с послойной загрузкой слабо- и сильноосновного анионитов;

- в третьем варианте блок обессоливания ионным обменом включает последовательно соединенные фильтр со слабокислотным катионитом, фильтр с сильнокислотным катионитом, декарбонизатор и фильтр с послойной загрузкой слабо- и сильноосновного анионитов;

- в четвертом варианте блок обессоливания ионным обменом включает последовательно соединенные фильтр с послойной загрузкой слабо- и сильнокислотного катионитом двухкамерной конструкции, декарбонизатор, фильтр с послойной загрузкой слабо- и сильноосновного анионитов двухкамерной конструкции;

- в пятом варианте блок обессоливания ионным обменом включает последовательно соединенные фильтр со слабокислотным катионитом, фильтр с сильнокислотным катионитом, фильтр со слабоосновным анионитом, декарбонизатор, фильтр с послойной загрузкой слабо- и сильноосновного анионитов двухкамерной конструкции.

При этом блок мембранного разделения выполнен на основе обратноосмотических или нанофильтрационных рулонных элементов.

Технический результат достигается заявленным изобретением благодаря тому, что не требуется предварительная очистка воды, обеспечивается минимизация капитальных и эксплуатационных затрат на обессоливание низкоминерализованных поверхностных вод, удаляется коллоидная кремневка, так как блок мембранного разделения выполнен на основе обратноосмотических или нанофильтрационных рулонных элементов, при этом резко снижается потребление воды на собственные нужды, так как в рассматриваемых условиях показатель потребления воды на собственные нужды для противоточного ионного обмена не будет выходить за пределы 3-5%, что ниже, чем для нанофильтрации - 5-10% или для обратного осмоса - 10-15%. Сокращаются расходы на предподготовку перед мембранным оборудованием и энергозатраты ввиду того, что, во-первых, в блок мембранного разделения подается обессоленная вода, во-вторых, рабочее давление при нанофильтрации всегда ниже, чем при обратном осмосе в аналогичных условиях. Показатель рН пермеата после мембранного блока с нанофильтрационными рулонными элементами выше, чем при использовании обратноосмотических в аналогичных условиях, расходы на корректировку рН деминерализованной воды для подпитки котлов также окажутся минимальными. Блок мембранного разделения может функционировать как в непрерывном режиме, так и в полупериодическом - с непрерывной рециркуляцией концентрата и периодическими продувками концентратного контура, в последнем случае возрастают капзатраты на блок мембранного разделения, но снижение потребления воды на собственные нужды до 2-4% на стадии мембранного разделения обеспечивается использованием нанофильтрационных рулонных элементов.

Краткое описание чертежей

На фиг. 1 показана схема потоков воды при противоточной регенерации по технологии «UPCORE».

На фиг. 1 приняты следующие обозначения:

1а - Рабочий цикл.

16 - Цикл противоточной регенерации.

2 - Слой плавающего слоя инертного материала.

3 - Свободное пространство.

4 - Объем смолы.

5 - Исходная вода.

6 - Выход обессоленной воды.

7 - Подача регенерирующего раствора.

На фиг. 2 изображен первый вариант устройства для получения обессоленной воды.

На фиг. 2 приняты следующие обозначения:

5 - Исходная вода.

8 - Блок обессоливания ионным обменом.

9 - Блок мембранного разделения.

10 - Фильтр с сильнокислотным катионитом.

11 - Фильтр с послойной загрузкой слабо- и сильноосновного анионитов.

На фиг. 3 показан второй вариант блока обессоливания ионным обменом.

На фиг. 3 приняты следующие обозначения:

5 - Исходная вода.

8 - Блок обессоливания ионным обменом.

9 - Блок мембранного разделения.

10 - Фильтр с сильнокислотным катионитом.

11 - Фильтр с послойной загрузкой слабо- и сильноосновного анионитов.

12 - Декарбонизатор.

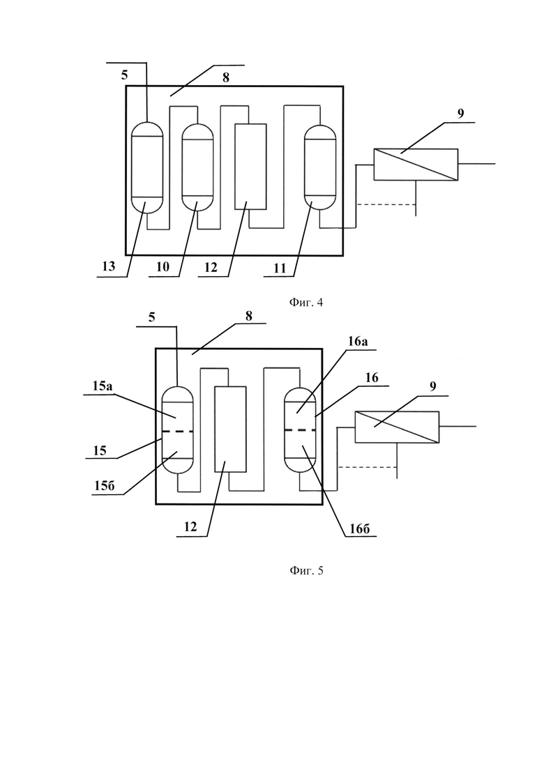
На фиг. 4 представлен третий вариант блока обессоливания ионным обменом.

На фиг. 4 приняты следующие обозначения:

5 - Исходная вода.

8 - Блок обессоливания ионным обменом.

9 - Блок мембранного разделения.

10 - Фильтр с сильнокислотным катионитом.

11 - Фильтр с послойной загрузкой слабо- и сильноосновного анионитов.

12 - Декарбонизатор.

13 - Фильтр со слабокислотным катионитом.

На фиг. 5 представлен четвертый вариант блока обессоливания ионным обменом.

На фиг. 5 приняты следующие обозначения:

5 - Исходная вода.

8 - Блок обессоливания ионным обменом.

9 - Блок мембранного разделения.

12 - Декарбонизатор.

15 - Фильтр с послойной загрузкой слабо и сильнокислотного катионитов двухкамерной конструкции.

15а - Камера загрузки слабокислотного катионита фильтра с послойной загрузкой слабо и сильнокислотного катионитов двухкамерной конструкции;

15б - Камера загрузки сильнокислотного катионита фильтра с послойной загрузкой слабо и сильнокислотного катионитов двухкамерной конструкции;

16 - Фильтр с послойной загрузкой слабо- и сильноосновного анионитов двухкамерной конструкции;

16а - Камера загрузки слабоосновного анионита фильтра с послойной загрузкой слабо- и сильноосновного анионитов двухкамерной конструкции;

16б - Камера загрузки сильноосновного анионита фильтра с послойной загрузкой слабо- и сильноосновного анионитов двухкамерной конструкции.

На фиг. 6 представлен пятый вариант блока обессоливания ионным обменом.

На фиг. 6 приняты следующие обозначения:

5 - Исходная вода.

8 - Блок обессоливания ионным обменом.

9 - Блок мембранного разделения.

10 - Фильтр с сильнокислотным катионитом.

11 - Фильтр с послойной загрузкой слабо- и сильноосновного анионитов.

12 - Декарбонизатор.

13 - Фильтр со слабокислотным катионитом.

14 - Фильтр со слабоосновным анионитом.

Осуществление изобретения

Изобретение предназначено для интеграции в технологические схемы Партизанской ГРЭС.

Технологическая схема ПГРЭС включает в себя технологическую схему водоподготовки, предназначенную для обеспечения подпитки барабанных котлов ПГРЭС химически обессоленной водой под давлением 100 кгс/см2 (9,8 МПа).

Добавочная вода для подпитки барабанных котлов давлением 100 кгс/см2 должна удовлетворять требованиям СО 153-34.20.501-2003 «Правила технической эксплуатации электрических станций и сетей», п. 4.8.33, то есть качество добавочной обессоленной воды для подпитки барабанных котлов должно обеспечивать соблюдение норм качества питательной воды.

При отсутствии предварительной очистки исходной воды из надземного источника, исходная вода, поступающая на водоподготовительную установку (далее - ВПУ), содержит коллоидную кремнекислоту в виде комплексов с железом, органическими соединениями, которая лишь частично задерживается обескремнивающими фильтрами и транзитом поступает в питательную воду. Это приводит к интенсивному заносу проточной части турбин кремнийсодержащими соединениями.

Исходная (природная) вода из водохранилища ПГРЭС, насосами сырой воды, температурой +4°С в зимнее время и до +33°С в летнее время, подается в подогреватели сырой воды, где подогревается до температуры +40-45°С. Затем подогретая вода подается на механические фильтры ∅ 3000 мм, загруженные сульфоуглем, высота слоя загрузки - 1 м, размер зерен - 0,5-1.2 мм.

На ВПУ установлено 4 шт. механических фильтра ∅ 3000 мм для осветления исходной воды, идущей на подпитку теплосети и подпитку котлов.

Работа механических фильтров складывается из периодического повторения двух стадий:

- собственно работы фильтра,

- взрыхляющей промывки фильтрующего материала.

После осветления в механических фильтрах одна часть осветленной воды поступает на обескремнивающие фильтры, другая часть осветленной воды поступает на деаэратор теплосети.

В качестве обескремнивающих фильтров на ПГРЭС установлено 9 фильтров ∅ 1500 мм, которые загружены гранулированным магнезиальным сорбентом, высота загрузки - 1,5-2 м. Гранулированный магнезиальный сорбент изготавливается на территории ПГРЭС путем обработки пылевидного каустического магнезита (ПМК-83) технической соляной кислотой с последующим дроблением просушенной массы до крупности зерен ~10 мм.

Обескремнивающие фильтры работают параллельно.

Эксплуатация обескремнивающих фильтров складывается из периодического повторения двух стадий:

- собственно работы фильтров;

- взрыхляющей промывки фильтрующего материала.

После обработки в обескремнивающих фильтрах вода поступает на натрий-катионитовые фильтры 4 шт. ∅ 1500 мм, загруженные катионитом КУ-2-8, высота загрузки - 1,8 м. Фильтры могут работать по одноступенчатой и двухступенчатой схеме.

Эксплуатация натрий-катионитовых фильтров складывается из четырех периодически повторяющихся стадий:

- собственно работы фильтра;

- взрыхляющей промывки фильтрующего слоя;

- регенерации фильтрующего материала 8-10% раствором поваренной

соли;

- отмывки ионита от продуктов регенерации.

Далее химически обессоленная вода (далее - ХОВ) поступает в дренажные баки или в бак запаса ХОВ V=100 м3. В случае необходимости ХОВ из бака запаса ХОВ насосами, в количестве 2 шт., подается в дренажные баки.

Для гидроперегрузки фильтрующих материалов из механических фильтров установлен фильтр гидроперегрузки (далее - ФГП) Мф №9 ∅ 3000 мм. Фильтр №9 может работать в качестве механического фильтра с производительностью 70 м3/ч.

Для гидроперегрузки фильтрующих материалов из натрий-катионитовых фильтров установлен фильтр гидроперегрузки ФГП Мф №3 ∅ 2000 мм.

В технологическую схему ВПУ ПГРЭС включены также следующие рабочие емкости:

- Бак промывки фильтров объемом 500 м3 (далее - БПФ-500) собран из рулонной стали. Высота бака - 8845 мм, диаметр - 8530 мм. Заполнение бака производится осветленной водой с температурой +40-45°С по трубопроводу ∅ 133 мм после механических фильтров. На всасывание к насосам промывки фильтров проложен трубопровод 0 326 мм.

- Бак запаса химически обессоленной воды объемом 100 м3 (БЗХОВ-100), собран из рулонной стали. Высота бака - 6000 мм, диаметр - 4750 мм. Заполнение бака производится химически обессоленной водой с температуры +40-45°С по трубопроводу ∅ 133 мм после натрий-катионитовых фильтров. На всасывание к насосам химически обессоленной воды проложен трубопровод ∅ 133 мм.

Промывочные воды ВПУ с механических, обескремнивающих, натрий-катионитовых фильтров и отмывочные воды после регенерации натрий-катионитовых фильтров поступают в систему производственно-ливневой канализации. Вместе с другими сточными водами предприятия, с дождевыми и талыми водами промплощадки они собираются в общий безнапорный металлический коллектор, по которому поступают на очистные сооружения (нефтеловушки и пруды-отстойники). Затем по выпуску отводятся в ручей Лозовый Ключ, находящийся в черте населенного пункта.

Посредством ручья избыточные сточные воды выпуска поступают в водный объект рыбохозяйственного назначения - реку Партизанская, которая одновременно является источником питьевого водоснабжения для жителей г. Находки.

Заявленное изобретение призвано снизить капитальные и эксплуатационные затраты при производстве обессоленной воды требуемого качества путем уменьшения расхода реагентов, электроэнергии и воды на потребности процесса обессоливания. Разработанная опытно-промышленная установка для подпитки котлов обладает производительностью не менее 60 м3/ч.

Заявленное изобретение осуществляется на основе технологии противоточной регенерации «UPCORE» (фиг. 1) следующим образом.

Исходной водой 5 (фиг. 2-6) для ВПУ является осветленная вода после существующих на ПГРЭС механических фильтров, и для определения эффективности обессоливания и выбора типа блока обессоливания ионным обменом 8 (фиг. 2-6), вход которого выполнен с возможностью приема исходной воды 5 (фиг. 2-6), а выход соединен со входом блока мембранного разделения, проверяют состав исходной воды, которая далее:

В первом варианте способа исходная вода 5 (фиг. 2) сначала подается на обработку в блок обессоливания ионным обменом 8 (фиг. 2), где последовательно проходит через фильтр с сильнокислотным катионитом 10 (фиг. 2) и фильтр с послойной загрузкой слабо- и сильноосновного анионитов 11 (фиг. 2), после чего обессоленная вода подается в блок мембранного разделения 9 (фиг. 2).

Второй вариант способа применяют, когда значение щелочности исходной воды 5 (фиг. 3), обусловленное присутствием гидрокарбонатов и/или карбонатов, является существенным и/или когда в ней содержится в значительном количестве свободная углекислота. В состав блока обессоливания ионным обменом 8 (фиг. 3) включен декарбонизатор 12 (фиг. 3). Исходная вода 5 (фиг. 3) последовательно проходит через фильтр с сильнокислотным катионитом 10 (фиг. 3), декарбонизатор 12 (фиг. 3) и фильтр с послойной загрузкой слабо- и сильноосновного анионитов 11 (фиг. 3), после чего обессоленная вода подается в блок мембранного разделения 9 (фиг. 3). Это снижает нагрузку на фильтр с послойной загрузкой слабо- и сильноосновного анионитов 11 (фиг. 3), повышая регенерационную эффективность фильтра 11 (фиг. 3).

В третьем варианте в блок обессоливания ионным обменом 8 (фиг. 4) включен фильтр со слабокислотным катионитом 13 (фиг. 4). Исходная вода 5 (фиг. 4) вначале проходит через фильтр 13 (фиг. 4), а затем последовательно проходит через фильтр с сильнокислотным катионитом 10 (фиг. 4), декарбонизатор 12 (фиг. 4) и фильтр с послойной загрузкой слабо- и сильноосновного анионитов 11 (фиг. 4), что позволяет повысить эффективность использования кислоты, потребляемой при регенерации фильтра с сильнокислотным катионитом 10 (фиг. 4).

Для обеспечения дополнительного снижения эксплуатационных затрат устройства (фиг. 5) в случаях, когда для регенерации катионитов используется соляная кислота и/или ввиду необходимости применения сильноосновного анионита макропористой структуры используют четвертый вариант заявленного способа, в котором в блок обессоливания ионным обменом 8 (фиг. 5) включен фильтр с послойной загрузкой слабо и сильнокислотного катионитов двухкамерной конструкции 15 (фиг. 5), в котором одна камера загружена слабокислотным катионитом 15а (фиг. 5), а вторая камера загружена сильнокислотным катионитом 15б (фиг. 5), при этом исходная вода 5 (фиг. 5) поступает в камеру, загруженную слабокислотным катионитом, 15а (фиг. 5) фильтра 15 (фиг. 5), затем в камеру 15б (фиг. 5) с сильнокислотным катионитом. Далее вода проходит через декарбонизатор 12 (фиг. 5) и камеру 16а (фиг. 5) со слабоосновным анионитом фильтра 16 (фиг. 5), после которого проходит через камеру 16б (фиг. 5) с сильноосновным анионитом фильтра 16 (фиг. 5). Далее обессоленная вода поступает в блок мембранного разделения 9 (фиг. 5).

В пятом варианте исходная вода 5 (фиг. 6) поступает в блок обессоливания ионным обменом 8 (фиг. 6), в котором, пройдя через фильтр со слабокислотным катионитом 13 (фиг. 6), поступает в фильтр с сильнокислотным катионитом 10 (фиг. 6), откуда направляется в фильтр со слабоосновным анионитом 14 (фиг. 6), затем в декарбонизатор 12 (фиг. 6), после которого поступает в фильтр с послойной загрузкой слабо- и сильноосновного анионитов 11 (фиг. 6). Далее обессоленная вода поступает в блок мембранного разделения 9 (фиг. 6).

Применение нанофильтрационных мембранных элементов в блоке мембранного разделения 9 (фиг. 2-6) способствует минимизации эксплуатационных расходов, энергопотребления и потребления воды на собственные нужды предлагаемого устройства.

Нанофильтрационные мембранные элементы в блоке мембранного разделения 9 (фиг. 2-6) служат для разделения потока исходной воды 5 (фиг. 2-6) на два потока: пермеат - вода, прошедшая через селективный слой мембранного элемента и имеющая пониженное солесодержание относительно исходной воды и концентрат - вода, не прошедшая через селективный слой мембранного элемента и имеющая повышенное солесодержание относительно исходной воды 5. Блок мембранного разделения 9 (фиг. 2-6) может работать как в режиме с постоянным сбросом концентрата, так и в режиме концентратора. В режиме концентратора Блок 9 (фиг. 2-6) работает без постоянного сброса концентрата и выработкой очищенной воды, во время работы происходит увеличение содержания солей в очищаемой воде, при концентрировании, в данном примере осуществления изобретения, лимитирующем фактором является содержание кремневой кислоты, до определенного предела, происходит сброс циркулирующей воды в контуре путем ее вытеснения в дренаж. После вытеснения цикл концентрирования повторяется. С целью подержания гидравлического режима во время цикла концентрирования производится рециркуляция воды в контуре блок 9 (фиг. 2-6) - насос. Во время работы в режиме концентрирования контролируется поток пермеата, поток исходной воды 5 (фиг. 2-6) и поток воды на рециркуляцию, при вытеснении из контура воды контролируется объем сбрасываемой воды с целью полного вытеснения воды из контура с целью предотвращения постепенного концентрирования солей и коллоидов в контуре.

Использование нанофильтрационных мембранных элементов в блоке мембранного разделения 9 (фиг. 2-6), в отличие от обратноосмотических мембранных элементов, обладают более рыхлой структурой пор большего диаметра относительно обратноосмотических мембран, что обеспечивает более высокую проницаемость нанофильтрационных мембранных элементов с задержанием не только двухвалентных ионов, но и коллоидных частиц, к котором относится кремневая кислота, превышение содержания которой регулярно отмечается на ПГРЭС.

Использование изобретения обеспечивает получение обессоленной воды при минимальных капитальных и эксплуатационных затратах, а именно снижается потребление воды на собственные нужды и электроэнергии в процессе эксплуатации. Качество обессоленной воды, полученной заявленным способом отвечает требованиям, предъявляемым к подпитке энергетических котлов с давлением от 100 кг/см2 и выше в условиях, когда источником исходной воды служат поверхностные водоемы с низкой минерализацией и одновременно высоким содержанием коллоидной кремниевой кислоты, то есть соединениями кремния в коллоидном состоянии.

Заявленное изобретение обладает всеми преимуществами противоточных технологий и в то же время лишено недостатков, которые имеют другие противоточные технологии ионирования:

- Отсутствует необходимость поддержания смолы в зажатом слое при работе;

- Отсутствует возможность выноса ионитной «мелочи» во время работы в другой фильтр;

- Отсутствует необходимость установки дополнительной емкости для проведения взрыхления;

- Отсутствует необходимость подачи воды на зажатие слоя;

- Возможность работы при повышенном содержании взвешенных веществ в исходной воде.

Литература

1. Громов С.Л. Основные пути совершенствования технологии водоподготовки в СНГ - Химическое и нефтяное машиностроение, 1998 г., №12, с. 47-48.

2. Громов С.Л., Пантелеев А.А., Сидоров А.Р. Современные технологии водоподготовки в промышленности и энергетике - Аква-magazine, 2007 г., №1(2), с. 14-15.

3. Рябчиков Б.Е. Современная водоподготовка - М., ДеЛи плюс, 2013, с. 680.

4. Громов СЛ., Пантелеев А.А. Современные технологии водоподготовки как средство снижения эксплуатационных расходов - Энергетик, 2012, №10, с. 15-19.

5. Крупнова Т.Г., Ракова О.В. Специальные методы очистки водных систем в промышленности. Учебное пособие к практическим работам - Челябинск, Издательский центр ЮУрГУ, 2020, с. 21.

Похожие патенты RU2833340C1

название год авторы номер документа
Способ получения обессоленной воды 2023
  • Громов Сергей Львович
  • Орлов Константин Александрович
RU2821450C1
СПОСОБ ГЛУБОКОГО ОБЕССОЛИВАНИЯ ВОДЫ 2009
  • Поворов Александр Александрович
  • Корнилова Наталья Викторовна
  • Платонов Константин Николаевич
RU2411189C1
Способ глубокого химобессоливанияВОды 1979
  • Фейзиев Гасан Кулу
SU812726A1
Способ регенерации анионитныхфильТРОВ ХиМОбЕССОлиВАющЕй уСТАНОВКи 1979
  • Фейзиев Гасан Кулу
SU814443A1
СПОСОБ ГЛУБОКОГО ОБЕССОЛИВАНИЯ ВОДЫ 2023
  • Поворов Александр Алексадрович
  • Кротова Мария Витальевна
  • Никонов Александр Сергеевич
  • Шахова Елена Николаевна
  • Ширкин Леонид Алексеевич
RU2834702C2
СПОСОБ ИОНООБМЕННОЙ ОЧИСТКИ ВОДЫ, СОДЕРЖАЩЕЙ ОРГАНИЧЕСКИЕ ВЕЩЕСТВА, С ПРОТИВОТОЧНОЙ РЕГЕНЕРАЦИЕЙ ИОНООБМЕННЫХ МАТЕРИАЛОВ 2002
  • Балаев И.С.
  • Демина Н.С.
RU2205692C2
СИСТЕМА ГЛУБОКОГО ОБЕССОЛИВАНИЯ ВОДЫ НА ПРОТИВОТОЧНЫХ Н-ОН-ИОНИТНЫХ ФИЛЬТРАХ 2005
  • Малахов Игорь Александрович
  • Малахов Глеб Игоревич
RU2322401C2
Способ обессоливания и умягчения воды 1981
  • Фейзиев Гасан Кулу
SU939398A1
СПОСОБ РЕГЕНЕРАЦИ ИОНООБМЕННЫХ СМОЛ 2013
  • Громов Сергей Львович
  • Громова Марина Яковлевна
RU2545279C1
Способ обессоливания воды 1979
  • Фейзиев Гасан Кулу
  • Кулиев Али Мамед
  • Джалилов Мардан Фарадж
  • Сафиев Эльдар Абдулович
SU906944A1

Иллюстрации к изобретению RU 2 833 340 C1

Реферат патента 2025 года Устройство для получения обессоленной воды

Изобретение относится к области водоподготовки и водоочистки, а именно к оборудованию, применяемому для получения обессоленной воды из поверхностных низкоминерализованных источников с высоким содержанием коллоидной кремниевой кислоты для подпитки барабанных котлов, работающих под давлением от 100 кг/см2 и выше. Устройство получения обессоленной воды включает блок обессоливания ионным обменом, вход которого выполнен с возможностью приема исходной воды, а выход соединен со входом блока мембранного разделения. Блок обессоливания ионным обменом включает последовательно соединенные фильтр со слабокислотным катионитом, фильтр с сильнокислотным катионитом, фильтр со слабоосновным анионитом, декарбонизатор, фильтр с послойной загрузкой слабо- и сильноосновного анионитов двухкамерной конструкции. Обеспечивается минимизация капитальных и эксплуатационных затрат при получении обессоленной воды требуемого качества за счет уменьшения расхода реагентов, электроэнергии и воды на собственные нужды устройства. 1 з.п. ф-лы, 6 ил.

Формула изобретения RU 2 833 340 C1

1. Устройство получения обессоленной воды, представляющее собой контейнер, отличающееся тем, что включает блок обессоливания ионным обменом, вход которого выполнен с возможностью приема исходной воды, а выход соединен со входом блока мембранного разделения, при этом блок обессоливания ионным обменом включает последовательно соединенные фильтр со слабокислотным катионитом, фильтр с сильнокислотным катионитом, фильтр со слабоосновным анионитом, декарбонизатор, фильтр с послойной загрузкой слабо- и сильноосновного анионитов двухкамерной конструкции.

2. Устройство по п. 1, отличающееся тем, что блок мембранного разделения выполнен на основе нанофильтрационных рулонных элементов.

Документы, цитированные в отчете о поиске Патент 2025 года RU2833340C1

СПОСОБ ЭКСПЛУАТАЦИИ ПРОТИВОТОЧНОЙ ИОНООБМЕННОЙ СИСТЕМЫ 2013
  • Слагт Й. Марк
RU2631816C2
JP 55018258 A, 08.02.1980
Подвеска для вертикальных вибрационных конвейеров и бункерных устройств 1962
  • Ковылин Ю.Я.
  • Сурков Г.В.
  • Титов В.Н.
SU152196A1
JP 5305297 A, 19.11.1993
УСТАНОВКА ДЛЯ ОЧИСТКИ СТОЧНЫХ ВОД ОТ ТЯЖЕЛЫХ МЕТАЛЛОВ ИОНООБМЕННЫМИ ФИЛЬТРАМИ 2007
  • Новиков Игорь Олегович
  • Новикова Ирина Ивановна
RU2340561C2

RU 2 833 340 C1

Авторы

Громов Сергей Львович

Орлов Константин Александрович

Даты

2025-01-17Публикация

2024-04-12Подача