Область техники
Настоящее изобретение относится к центральной колонне для катушки тороидального поля плазменной камеры токамака, например плазменной камеры токамака для использования в термоядерном реакторе. В частности, оно относится к центральной колонне, содержащей материал - высокотемпературный сверхпроводник (ВТСП).
Предпосылки изобретения
Сверхпроводящие материалы типично делятся на "высокотемпературные сверхпроводники" (ВТСП) и "низкотемпературные сверхпроводники" (НТСП). НТСП-материалы, такие как Nb и NbTi, являются металлами или сплавами металлов, сверхпроводимость которых может быть описана теорией БКШ (Бардина - Купера -Шриффера). Все низкотемпературные сверхпроводники имеют критическую температуру (температуру, выше которой материал не может быть сверхпроводящим даже в нулевом магнитном поле) ниже примерно ЗОК. Поведение ВТСП-материала не описывается теорией БКШ, и такие материалы могут иметь критические температуры выше примерно 30 К (хотя следует отметить, что именно физические различия в составе и работе сверхпроводника, а не критическая температура, определяют ВТСП- и НТСП-материалы). Наиболее часто используемыми ВТСП являются "купратные сверхпроводники" керамики на основе купратов (соединений, содержащих группу оксида меди), такие как BSCCO (оксид висмута-стронция-кальция-меди), или ReBCO (где Re - редкоземельный элемент, обычно Y или Gd). Другие ВТСП-материалы включают в себя пниктиды железа (например, FeAs и FeSe) и диборид магния (MgB2).
ReBCO типично изготавливают в виде лент со структурой, показанной на фигуре 1. Такая лента 100 обычно имеет толщину приблизительно 100 микрон и включает в себя подложку 101 (типично из электрополированного сплава Хастелой™ толщиной приблизительно 50 микрон), на которую методом IBAD, магнетронного распыления или другим подходящим методом нанесен ряд буферных слоев, известных как буферный пакет 102, с приблизительной толщиной 0,2 микрона. Эпитаксиальный слой 103 ВТСП-ReBCO (нанесенный методом MOCVD или другим подходящим методом) покрывает буферный пакет и типично имеет толщину 1 микрон. На слой ВТСП нанесен слой 104 серебра толщиной 1-2 микрона магнетронным распылением или другим подходящим методом, а на ленту гальваническим или другим подходящим методом нанесен слой 105 медного стабилизатора, который часто полностью инкапсулирует ленту.
Подложка 101 обеспечивает механическую основу, которая может подаваться по производственной линии и позволяет выращивать последующие слои. Буферный пакет 102 необходим для обеспечения биаксиально текстурированного кристаллического шаблона, на котором выращивается слой ВТСП, и предотвращает химическую диффузию из подложки в ВТСП тех элементов, которые нарушают его сверхпроводящие свойства. Слой 104 серебра, как правило, необходим для того, чтобы обеспечить интерфейс низкого сопротивления от REBCO к слою стабилизатора, а слой 105 стабилизатора обеспечивает альтернативный путь тока в том случае, когда какая-либо часть ReBCO перестает быть сверхпроводящей (входит в "нормальное" состояние).
ВТСП-ленты могут быть скомпонованы в ВТСП-кабель, который может также называться здесь ВТСП-узлом. ВТСП-кабель, как упоминается здесь, содержит одну или более ВТСП-лент, которые соединены по своей длине посредством проводящего материала (обычно меди). ВТСП-ленты могут быть уложены друг на друга (т.е. скомпонованы так, что слои ВТСП параллельны), или же они могут иметь некоторую другую компоновку лент, которая может меняться по длине кабеля. Примечательными специальными видами ВТСП-кабелей являются одиночные ВТСП-ленты и ВТСП-пары. ВТСП-пары содержат пару ВТСП-лент, расположенных так, что слои ВТСП параллельны. Когда используется лента с подложкой, ВТСП-пары могут быть типа-0 (с обращенными друг к другу слоями ВТСП), типа-1 (со слоем ВТСП одной ленты, обращенным к подложке другой) или типа-2 (с обращенными друг к другу подложками). В кабелях, содержащих более двух лент, некоторые или все ленты могут компоноваться в ВТСП-парах. Уложенные друг на друга ВТСП-ленты могут иметь различные компоновки ВТСП-пар, чаще всего либо стопку пар типа-1, либо стопку пар типа-0 и (или, что эквивалентно, пар типа-2).
Важным свойством ВТСП-лент (и сверхпроводников в целом) является "критический ток" (Iс), то есть ток, при котором ВТСП будет создавать напряжение, достаточное для перевода доли тока в слой стабилизатора, при заданных температуре и внешнем магнитном поле. Характерная точка сверхпроводящего перехода, в которой сверхпроводник считается «ставшим нормальным», является до некоторой степени произвольной, но обычно принимается за ту, когда лента создает Е0=10 или 100 микровольт на метр. Критический ток может зависеть от ряда факторов, включая температуру сверхпроводника и магнитное поле на сверхпроводнике. В последнем случае важны как величина поля, так и ориентация осей кристалла сверхпроводника в поле.
Фигура 2 показывает поперечный разрез примерной REBCO-ленты 200 в плоскости xz. Сам слой ReBCO является кристаллическим, и главные оси кристалла ReBCO показаны для одной точки в ленте. ReBCO-лента показана в упрощенном виде со слоем 201 ВТСП, медной оболочкой 202 и подложкой 203. Кристаллическая структура ReBCO имеет три взаимно перпендикулярные главные оси, называемые в данной области техники осями a, b и с. Для целях этого раскрытия, любая зависимость критического тока от ориентации составляющей магнитного поля в плоскости ab игнорируется, так что оси а и b могут считаться взаимозаменяемыми, поэтому они будут рассматриваться только как "плоскость ab" (т.е. плоскость, определяемая осями а и b). На фигуре 2 плоскость ab слоя 201 REBCO показана как одиночная линия 210, перпендикулярная с-оси 220. Во многих лентах ab-плоскость 210 выставлена близкой с плоскостью слоя 201 ВТСП, но это не является общим условием.
Критический ток ленты зависит от толщины и качества кристалла ReBCO. Он также имеет приблизительно обратную зависимость от температуры окружающей среды, а также от величины приложенного магнитного поля. Наконец, он также зависит от ориентации приложенного магнитного поля относительно с-оси. Когда вектор приложенного магнитного поля лежит в ab-плоскости 210, критический ток значительно выше, чем когда вектор приложенного магнитного поля выставлен вдоль с-оси 220. Критический ток плавно меняется между этими двумя экстремумами при ориентации поля "вне плоскости ab". (На практике может быть более одного угла, при котором критический ток демонстрирует пик. Кроме того, амплитуда и ширина пиков меняются как с приложенным полем, так и с температурой, но для целей этого объяснения мы можем рассматривать ленту с единственным доминирующим пиком, который определяет оптимальную ориентацию приложенного поля В, дающую максимальный критический ток).
ReBCO-ленты обычно производят так, чтобы с-ось была как можно ближе к перпендикулярной к плоскости ленты. Однако некоторые коммерчески доступные ленты имеют с-ось под углом до 35 градусов от перпендикуляра в плоскости х/у.
У ВТСП-кабеля, предполагая, что кабель находится при равномерной температуре и в однородном магнитном поле по всей своей длине, критический ток всех лент в пакете будет относительно равномерным. В этом случае, когда кабель подключен к источнику питания, ток будет распределяться между лентами в соотношении оконечных сопротивлений на концах кабеля по закону Ома. Однако, во многих обстоятельствах, на распределение тока может влиять ряд факторов, таких как изменения величины локального магнитного поля или изменения угла поля относительно с-оси слоя ReBCO, либо по длине, либо по ширине лент в кабеле.
Магниты с высокотемпературными сверхпроводниками могут быть использованы в термоядерных реакторах, таких как сферические токамаки (ST), для удержания плазмы при очень высоких температурах. Сферические токамаки предлагают значительные преимущества для коммерческих термоядерных энергетических установок, включая более высокую тепловую мощность на единицу объема плазмы и значительный бутстреп-ток. Эти преимущества позволяют разработать меньшие по размеру, более эффективные машины, ускоряя временные рамки разработки и уменьшая рециркулируемую мощность. Прогресс в понимании физики сферических токамаков (ST) продолжается по всему миру на экспериментальных устройствах, таких как MAST, NSTX и ST40, во всех из которых используются импульсные резистивные магниты.
Коммерческой энергетической установке требуются сверхпроводящие магниты либо для длительного импульса, либо для непрерывной работы, и чтобы максимизировать полезную генерацию электроэнергии. Это ранее представляло преграду для сферических токамаков (ST), поскольку тонкая центральная колонна магнита тороидального поля (TF) приводит к созданию магнитных полей на сверхпроводнике за пределами возможностей традиционных низкотемпературных сверхпроводников (НТСП). Современная коммерческая доступность высокоэффективных проводников REBCO с покрытием ("лент") от нескольких поставщиков делает высокопольный ST, задача которого -продемонстрировать чистый прирост мощности (Q>1) с использованием дейтерий-тритиевого (D-T) топлива, реализуемым в меньшем масштабе, чем токамак с традиционным аспектным соотношением, использующий НТСП. ST на ВТСП с большим радиусом 1,4 м и полем 4 Тл по оси может решить эту задачу, если может быть реализована достаточно толстая нейтронная защита (>25 см).
Фигура 3А показывает вертикальный разрез сферического токамака 300, содержащего катушки 301 тороидального поля, катушки 303 полоидального поля и тороидальную плазменную камеру 305, расположенную в катушках 301 тороидального поля. Токамак 300 также содержит центральную колонну 307, которая проходит через центры плазменной камеры 305 и катушек 301 и 303 тороидального и полоидального поля. Каждая из D-образных катушек 301 тороидального поля содержит приблизительно прямую секцию 309 ("внутреннюю ветвь" катушки 301 TF), которая проходит вдоль оси А-А' центральной колонны 307, и криволинейную секцию 311 ("внешнюю ветвь" катушки 301 TF), которая электрически соединена с тем и другим концом прямой секции 309, образуя D-образную форму. В этом примере сферический токамак 300 имеет большой радиус 1,4 м, а центральная колонна 307 имеет радиус около 0,6 м.
Фигура 3В показывает аксиальный разрез центральной колонны 307, если смотреть по оси А-А'. Токамак 300 содержит 12 катушек 301 тороидального поля, и соответствующие прямые части 309 каждой из катушек 301 тороидального поля разнесены под углом вокруг оси А-А' центральной колонны 307 в равноугловой компоновке. Центральная колонна содержит несущий элемент 313, который простирается вдоль оси А-А' и который имеет множество каналов 315, в которых заключены прямые секции 309 катушек 311 тороидального поля. Несущий элемент 313 может быть образован из множества угловых сегментов, которые подгоняются друг к другу подобно долькам апельсина, причем каждый сегмент заключает в себе внутреннюю ветвь 309 одной из катушек 301 TF.
Фигура 4 представляет собой аксиальный разрез углового сегмента 400 центральной колонны 307, включая одну половину сегмента несущего элемента 313, который заключает в себе внутреннюю ветвь 401 одной из катушек 301 тороидального поля. На фигуре 4 показана только "верхняя" половина углового сегмента, а его исключенная "нижняя" половина является зеркальным отражением верхней половины. Множество угловых сегментов 400 можно собрать, образуя практически цилиндрическую центральную колонну 307. Внутренняя ветвь 401 катушки 301 тороидального поля образована наматыванием множественных витков ВТСП-кабеля 402 (эти витки ("обмотки") могут совместно назваться пакетом "обмоток" или пакетом "катушки"), причем каждый виток содержит ВТСП-ленты, простирающиеся параллельно оси центральной колонны 307 (т.е. в страницу по отношению к фигуре 4). Часть пакета 401 обмоток, показывающая четыре отдельных витка ВТСП-кабелей 402, составляющих пакет обмоток, показана более подробно на фигуре 5.
В общем, существующие конструкции ВТСП-узлов (кабелей) 402 соответствуют конструкциям, используемым для низкотемпературных сверхпроводников. Эти конструкции предполагают конструкцию проводника типа «кабель в канале» (от англ. "cable-in-conduit conductor", CICC), в которой ВТСП-кабель 402 содержит стопки ВТСП-лент 501, окруженные материалом-стабилизатором 502 (таким как медь или алюминий), который снабжен охлаждающим каналом 505. Стабилизатор 502 и охлаждающий канал 505 являются слабыми, поэтому используется высокопрочная "рубашка", содержащая конструктивную опору 503, выполненную из высокопрочного материала, такого как инконель, для предотвращения механической деформации ВТСП-узла 402 под давлением электромагнита, создаваемым при подаче энергии на катушку. Между ВТСП-кабелями 402 предусмотрена изоляция 504, чтобы электрически изолировать ВТСП-кабели 402 друг от друга. Стопки ВТСП-лент 501 охлаждаются посредством протекания криогенной смеси по центральному охлаждающему каналу 505, который проходит через материал-стабилизатор 502. Введение охлаждающего канала 505 и большого количества мягкого стабилизатора 502 с высокой проводимостью в ВТСП-узел 402 ослабляет его настолько, что требуется относительно прочная (т.е. толстая) конструктивная опора 503. Стопки ВТСП-лент 501 равномерно разнесены вокруг центрального охлаждающего канала 505, чтобы гарантировать равномерное охлаждение стопок ВТСП-лент 501. Традиционно ВТСП-ленты поставляются в "скрученной" или "транспонированной" компоновке, в которой ориентация ВТСП-лент меняется вдоль оси центральной колонны.
Обращаясь опять к фигуре 4, угловой сегмент 400 центральной колонны 307 имеет вакуумный зазор 403, который отделяет криогенные компоненты (ВТСП-кабели 402 и несущий элемент 313) от нейтронной защиты 404, причем нейтронная защита предусмотрена дальше от оси центральной колонны 307, чем пакет 401 обмоток и несущий элемент 313.
Использование проводников типа "кабель в канале" для ВТСП-узлов 402 типично приводит к плотностям тока пакета обмоток (Jwp) гораздо меньше 100 А/мм2, что означает, что для данного диаметра центральной колонны 307 площадь центральной колонны 307, доступная для нейтронной защиты 404, ограничена, особенно в токамаках меньших размеров. Следовательно, конструкция CICC может приводить к тому, что пакет 401 ВТСП-катушки будет подвергаться более сильному ядерному нагреву, чем желательно, при работке токамака.
Сущность изобретения
Согласно первому аспекту настоящего изобретения предложена центральная колонна для катушки тороидального поля плазменной камеры токамака. Центральная колонна содержит первый и второй узлы с высокотемпературным сверхпроводником, ВТСП, содержащие соответствующие одну или более ВТСП-лент для проведения электрического тока параллельно оси центральной колонны. Каждая из ВТСП-лент содержит ВТСП-материал с присущим ему критическим током, который зависит от магнитного поля на ВТСП-ленте, когда центральная колонна находится в эксплуатации. Центральная колонна дополнительно содержит механизм охлаждения, выполненный с возможностью преимущественного охлаждения первого ВТСП-узла относительно второго ВТСП-узла, чтобы уменьшить или устранить разницу в критическом токе упомянутой или каждой ВТСП-ленты первого ВТСП-узла относительно критического тока упомянутой или каждой ВТСП-ленты второго ВТСП-узла.
Например, магнитное поле, генерируемое во время работы катушки тороидального поля, может сделать критический ток упомянутой или каждой ВТСП-ленты второго ВТСП-узла большим, чем критический ток упомянутой или каждой ВТСП-ленты первого ВТСП-узла. Как описано ниже, критический ток может зависеть от напряженности магнитного поля и/или угла магнитного поля на ВТСП-ленте. В частности, напряженность магнитного поля и/или угол магнитного поля на упомянутой или каждой ВТСП-ленте первого ВТСП-узла могут быть больше, чем напряженность магнитного поля и/или угол магнитного поля на упомянутой или каждой ВТСП-ленте второго ВТСП-узла. В результате критический ток упомянутой или каждой ВТСП-ленты первого ВТСП-узла может быть меньше критического тока упомянутой или каждой ВТСП-ленты второго ВТСП-узла. Тогда механизм охлаждения может быть выполнен с возможностью охлаждать первый ВТСП-узел до более низкой температуры, чем второй ВТСП-узел, чтобы компенсировать разницу в критических токах.
Уменьшение или, предпочтительно, устранение разницы в критическом токе между первым и вторым ВТСП-узлами может вызывать более равномерное распределение транспортного электрического тока между ними. Например, механизм охлаждения может быть выполнен с возможностью гарантировать, что критический ток ВТСП-лент первого ВТСП-узла находится в пределах 20% от критического тока ВТСП-лент второго ВТСП-узла, предпочтительно в пределах 10%, или более предпочтительно в пределах 5%, или даже 1%.
ВТСП-материалом может быть REBCO, например.
Критический ток каждой ВТСП-ленты может быть обратно зависимым от напряженности магнитного поля на ВТСП-ленте. Напряженность магнитного поля на первом ВТСП-узле может быть большей, чем напряженность магнитного поля на втором узле. Как правило, критический ток уменьшается с увеличением напряженности магнитного поля (т.е. критический ток обратно зависим от напряженности магнитного поля) и увеличением температуры (т.е. критический ток обратно зависим от температуры), например, критический ток может быть обратно пропорционален напряженности магнитного поля (В) и температуре (Т), а механизм охлаждения выполнен с возможностью создания такого распределения температуры по первому и второму ВТСП-узлам, которое компенсирует разницу напряженности магнитного поля на первом и втором ВТСП-узлах. Например, когда напряженность магнитного поля на первом ВТСП-узле больше напряженности магнитного поля на втором узле, механизм охлаждения может быть выполнен с возможностью охлаждать первый узел до более низкой температуры, чем второй узел.
Например, механизм охлаждения может быть выполнен с возможностью компенсировать положительный радиальный градиент магнитного поля (dB/dr, где r -радиальное расстояние от оси центральной колонны), создавая отрицательный радиальный градиент температуры (dT/dr) между первым и вторым ВТСП-узлами. Градиент температуры может быть выбран таким образом, что изменение критического тока 1С(В,Т), вызванное градиентом магнитного поля, приблизительно нейтрализуется.
Каждая из ВТСП-лент может иметь относящуюся к ней плоскость, определенную с учетом кристаллической структуры ВТСП-материала ВТСП-ленты. Такие плоскости могут, например, быть ab-плоскостями, как упомянуто выше в связи с REBCO-лентой 200 по фигуре 2. Критический ток каждой ВТСП-ленты может зависеть от угла поля между магнитным полем на ВТСП-ленте и упомянутой плоскостью ВТСП-ленты, причем критический ток уменьшается по мере того, как этот угол увеличивается. ВТСП-узлы могут быть расположены так, что угол поля между магнитным полем и упомянутой плоскостью упомянутой или каждой ВТСП-ленты первого узла больше угла поля между магнитным полем и ab-плоскостью упомянутой или каждой ВТСП-ленты второго узла. У каждого из ВТСП-узлов соответствующие плоскости ВТСП-лент ВТСП-узла могут быть параллельны друг другу. Необязательно, плоскости ВТСП-лент в первом ВТСП-узле могут быть параллельны плоскостям ВТСП-лент во втором ВТСП-узле. Например, каждый из первого и второго ВТСП-узлов может быть частью соответствующей плоской дисковой катушки, содержащей вложенные друг в друга обмотки ВТСП-лент вокруг оси, причем эти дисковые катушки уложены смежно друг с другом в компоновке «грань к грани». В одном примере максимальный критический ток каждой ВТСП-ленты может возникать тогда, когда магнитное поле (В) параллельно ab-плоскости ВТСП-ленты. Например, механизм охлаждения может быть выполнен с возможностью охлаждать первый ВТСП-узел до более низкой температуры, чем второй ВТСП-узел, когда угол поля между магнитным полем и ab-плоскостью упомянутой или каждой ВТСП-ленты первого узла больше угла поля между магнитным полем и ab-плоскостью упомянутой или каждой ВТСП-ленты второго узла.
Расстояние между первым ВТСП-узлом и осью центральной колонны может быть больше расстояния между вторым ВТСП-узлом и осью центральной колонны, причем каждое из этих расстояний измеряется в плоскости, перпендикулярной оси.
Механизм охлаждения может содержать один или более охлаждающих каналов, по которым предназначена протекать криогенная текучая среда, предпочтительно гелий, а более предпочтительно - сверхкритический гелий.
Упомянутый или каждый охлаждающий канал может быть (или включать в себя участок, который является) практически прямым (т.е. центральная линия канала представляет собой прямую линию) и может простираться в направлении, имеющем составляющую, параллельную оси центральной колонны. Например, упомянутый или каждый охлаждающий канал и ВТСП-ленты могут все быть (практически) параллельными оси центральной колонны.
Тепловой импеданс между упомянутым или каждым охлаждающим каналом и первым ВТСП-узлом может быть меньшим, чем тепловой импеданс между упомянутым или каждым охлаждающим каналом и вторым ВТСП-узлом.
Кратчайшее расстояние между упомянутым или каждым охлаждающим каналом и первым ВТСП-узлом может быть меньше кратчайшего расстояния между упомянутым или каждым охлаждающим каналом и вторым ВТСП-узлом, причем каждое из этих расстояний измеряется в плоскости, перпендикулярной оси. Такая конфигурация предоставляет упомянутому или каждому охлаждающему каналу возможность преимущественно охлаждать первый ВТСП-узел относительно второго ВТСП-узла (по меньшей мере в той плоскости, в которой измеряются расстояния). В некоторых примерах упомянутый или каждый охлаждающий канал может быть ближе к первому ВТСП-узлу, чем ко второму ВТСП-узлу, вдоль всей центральной колонны.
В некоторых вариантах реализации упомянутый или каждый охлаждающий канал может быть расположен дальше от оси центральной колонны, чем и первый ВТСП-узел, и второй ВТСП-узел. Предпочтительно, упомянутый или каждый охлаждающий канал расположен дальше от второго ВТСП-узла, чем от первого ВТСП-узла, чтобы обеспечить преимущественное охлаждение первому ВТСП-узлу по сравнению со вторым ВТСП-узлом.
Плотность охлаждающих каналов, смежных с первым ВТСП-узлом, может быть большей, чем плотность охлаждающих каналов, смежных со вторым ВТСП-узлом. Альтернативно или дополнительно, соответствующие площади поперечного сечения охлаждающих каналов, смежных с первым ВТСП-узлом, могут быть большими, чем соответствующие площади поперечного сечения охлаждающих каналов, смежных со вторым ВТСП-узлом. Эти конфигурации могут позволить охлаждающим каналам обеспечивать большую охлаждающую способность по отношению к первому ВТСП-узлу относительно второго ВТСП-узла.
Каждый из первого и второго ВТСП-узлов может содержать множество ВТСП-лент, каждая из которых имеет относящуюся к ней ab-плоскость, определенную с учетом кристаллической структуры ВТСП-материала ВТСП-ленты, причем соответствующие ab-плоскости ВТСП-лент параллельны друг другу в каждом из ВТСП-узлов.
ВТСП-магнит может дополнительно содержать несущий элемент с одним или более каналами, причем упомянутый или каждый канал предпочтительно простирается в направлении, параллельном оси центральной колонны. Первый и второй ВТСП-узлы могут быть предусмотрены в упомянутых одном или более каналах несущего элемента.
По меньшей мере часть центральной колонны может быть изготовлена из теплопроводящего материала, такого как медь, предпочтительно твердая медь, т.е. материала, который обладает высокой теплопроводностью при температурах ниже критической температуры ВТСП-материала в ВТСП-лентах. В некоторых примерах этот материал может иметь теплопроводность более 100 Вт/(мК), более 300 Вт/(мК) или даже более 7000 Вт/(м-К) для температур в диапазоне от 20 К до 40 К. Механизм охлаждения может быть выполнен с возможностью охлаждать часть несущего элемента через лицевую поверхность несущего элемента, которая примыкает к корпусному участку этой части несущего элемента (т.е. без прослоек между корпусным участком и лицевой поверхностью). Корпусной участок находится в контакте с первым ВТСП-узлом и/или вторым ВТСП-узлом через одну или более стенок упомянутого или каждого канала несущего элемента, в котором предусмотрены первый и второй ВТСП-узлы, в результате чего первый ВТСП-узел и/или второй ВТСП-узел охлаждается или охлаждаются упомянутой частью несущего элемента.
По меньшей мере участок второго ВТСП-узла может быть расположен радиально внутрь от первого ВТСП-узла, т.е. проходить ближе к оси центральной колонны, чем первый ВТСП-узел. Этот участок может находиться в тепловом контакте с корпусным участком охлаждаемой механизмом охлаждения части несущего элемента, в результате чего тепло переносится от этого участка второго ВТСП-узла к механизму охлаждения через охлаждаемую механизмом охлаждения часть несущего элемента. Механизм охлаждения может быть выполнен с возможностью охлаждать часть несущего элемента, охлаждаемую механизмом охлаждения, до температуры, которая меньше температуры каждого из ВТСП-узлов, когда центральная колонна находится в эксплуатации. Например, первый и второй ВТСП-узлы могут охлаждаться до температуры от 25 К до 35 К, в то время как охлаждаемая механизмом охлаждения часть несущего элемента может быть охлаждена до температуры от 20 К до 25 К.
Несущий элемент может содержать другую часть, расположенную радиально внутрь от охлаждаемой механизмом охлаждения части и имеющую более высокую механическую прочность, чем охлаждаемая механизмом охлаждения часть. Другая часть может быть выполнена из Иконеля™, например. Его повышенная механическая прочность противостоит сжатию центральной колонны ВТСП-узлами в результате сил Лоренца, создаваемых при эксплуатации центральной колонны.
Механизм охлаждения может быть выполнен с возможностью охлаждать каждую из ВТСП-лент до температуры ниже критической температуры ВТСП-материала в ВТСП-ленте, а предпочтительно до температуры менее 30 К, более предпочтительно менее 25 К, например, до примерно 20 К.
Согласно второму аспекту настоящего изобретения предложена плазменная камера токамака, содержащая центральную колонну согласно вышеописанному первому аспекту и катушку тороидального поля, содержащую множество обмоток ВТСП-ленты, причем каждая обмотка содержит соответствующую одну из ВТСП-лент.Плазменная камера токамака может дополнительно содержать множество катушек тороидального поля, выполненных с возможностью обеспечивать тороидальное магнитное поле внутри плазменной камеры, когда по обмоткам катушек тороидального поля пропускается электрический ток, причем центральная колонна содержит соответствующие первый и второй ВТСП-узел для каждой из катушек тороидального поля (т.е. каждая обмотка катушки тороидального поля содержит соответствующую одну из ВТСП-лент первого и второго ВТСП-узлов).
Катушки тороидального поля могут, например, быть D-образными катушками, в которых обмотки расположены образующими внутреннюю ветвь (соответствующую прямому участку D-образной формы), образованную ВТСП-лентами центральной колонны, и внешнюю ветвь (соответствующую криволинейному участку D-образной формы), образованную другими ВТСП-лентами, составляющими каждую из обмоток. Электрический ток, подаваемый в первую из обмоток катушки тороидального поля, протекает по каждой из других обмоток катушки по очереди (как в соленоиде), причем электрический ток проходит вдоль внутренней ветви, по внешней ветви и обратно во внутреннюю ветвь для каждой из обмоток.
Согласно третьему аспекту настоящего изобретения предложен способ работы плазменной камеры токамака согласно вышеописанному второму аспекту. Способ включает, для каждой из множества катушек тороидального поля:
пропускание электрического тока по обмоткам катушки тороидального поля; и
использование механизма охлаждения для преимущественного охлаждения первого ВТСП-узла относительно второго ВТСП-узла, чтобы уменьшить или устранить разницу в критическом токе упомянутой или каждой ВТСП-ленты первого ВТСП-узла относительно критического тока упомянутой или каждой ВТСП-ленты второго ВТСП-узла.
В случае, если механизм охлаждения содержит один или более охлаждающих каналов, использование механизма охлаждения может включать протекание криогенной текучей среды, такой как сверхкритический гелий, по упомянутому или каждому охлаждающему каналу.
Магнитное поле, генерируемое катушками тороидального поля, может, например, быть таким, что напряженность магнитного поля на каждом из первых ВТСП-узлов больше напряженности магнитного поля на каждом из вторых ВТСП-узлов. Альтернативно или дополнительно, угол поля между магнитным полем и плоскостью упомянутой или каждой ab-плоскости в ВТСП-лентах каждого из первых ВТСП-узлов может быть больше угла поля между магнитным полем и ab-плоскостью ВТСП-лент каждого из вторых ВТСП-узлов.
Согласно четвертому аспекту настоящего изобретения предложена центральная колонна для катушки тороидального поля плазменной камеры токамака. Центральная колонна содержит несущий элемент с множеством каналов, разнесенных вокруг центральной оси. Каждый канал имеет предусмотренный в нем элемент-проводник, содержащий один или более слоев сверхпроводникового материала для проведения электрического тока параллельно центральной оси. Центральная колонна дополнительно содержит механизм охлаждения, выполненный с возможностью охлаждения сверхпроводникового материала для создания (или поддержания) нисходящего градиента температуры на каждом элементе-проводнике в радиальном направлении, перпендикулярном центральной оси, до или во время работы плазменной камеры токамака в качестве термоядерного реактора, в результате чего температура каждого элемента-проводника снижается по мере удаления от центральной оси в радиальном направлении.
Градиент температуры на каждом элементе-проводнике помогает сделать отношение электрического тока к критическому току (I/Iс) в сверхпроводниковом материале элемента-проводника более однородным в радиальном направлении, компенсируя, по меньшей мере в некоторой степени, увеличение напряженности магнитного поля и/или менее оптимальный угол поля с увеличением расстояния от центральной оси.
Механизм охлаждения может содержать один или более охлаждающих каналов, проходящих через несущий элемент, по которым предназначена протекать криогенная текучая среда. Плотность охлаждающих каналов и/или соответствующие площади поперечного сечения охлаждающих каналов могут увеличиваться радиально по несущему элементу, чтобы обеспечивать дифференциальное охлаждение радиально внутренним и внешним частям несущего элемента, когда криогенная текучая среда течет по охлаждающим каналам.
Механизм охлаждения может содержать регулятор для управления расходом криогенной текучей среды через охлаждающие каналы, причем охлаждающие каналы и регулятор выполнены с возможностью обеспечивать более высокие расходы через первый набор охлаждающих каналов, чем второй набор охлаждающих каналов, причем охлаждающие каналы в первом наборе расположены дальше от центральной оси, чем охлаждающие каналы во втором наборе.
Каждый элемент-проводник может быть отстоящим от одной или более стенок канала, образуя соответствующий один из охлаждающих каналов.
Каждый элемент-проводник может содержать множество слоев сверхпроводникового материала, причем эти слои расположены практически перпендикулярно радиальному направлению.
При эксплуатации, для каждого элемента-проводника, средняя температура первого слоя сверхпроводникового материала может быть большей, чем средняя температура второго слоя сверхпроводникового материала, причем первый слой расположен ближе к центральной оси, чем второй слой. Первый слой может быть радиально самым внутренним слоем элемента-проводника, а второй слой может быть радиально самым внешним слоем элемента-проводника. Охлаждающие каналы могут быть расположены так, что при эксплуатации криогенная текучая среда контактирует со вторым слоем каждого элемента-проводника.
Каждый элемент-проводник может контактировать с частью (например, стенкой) канала несущего элемента, в котором предусмотрен элемент-проводник, простирающейся в направлении, перпендикулярном центральной оси, и изготовленной из теплопроводящего материала. Теплопроводящий материал может представлять собой или содержать медь, предпочтительно твердую медь.
Сверхпроводниковый материал может быть высокотемпературным сверхпроводником, ВТСП, таким как REBCO.
Каждый элемент-проводник может содержать множество стопок ВТСП-ленты, расположенных бок о бок в канале, предпочтительно с предусмотренным между соседними стопками изолирующим материалом. Упомянутый или каждый охлаждающий канал может охватывать лицевую поверхность соответствующего элемента-проводника.
Криогенная текучая среда может быть гелием, предпочтительно сверхкритическим гелием.
Согласно пятому аспекту настоящего изобретения предложена плазменная камера токамака, содержащая центральную колонну согласно вышеописанному четвертому аспекту и множество катушек тороидального поля, причем каждая катушка тороидального поля содержит соответствующий один или более элементов-проводников.
Согласно шестому аспекту настоящего изобретения предложен способ работы плазменной камеры токамака, содержащей центральную колонну согласно вышеописанному четвертому аспекту и множество катушек тороидального поля, причем каждая катушка тороидального поля содержит соответствующий один или более элементов-проводников, а способ включает протекание криогенной текучей среды по охлаждающим каналам до и/или во время подачи электрического тока на каждую из катушек тороидального поля. Криогенная текучая среда может быть гелием, предпочтительно сверхкритическим гелием. Расход криогенной текучей среды может быть увеличен до и/или во время импульсной работы плазменной камеры токамака в качестве термоядерного реактора.
Краткое описание чертежей
Фигура 1 схематичный вид в перспективе ВТСП-ленты уровня техники;
Фигура 2 схематичным поперечный разрез ВТСП-ленты, показывающий ab-плоскость и с-ось ленты;
Фигура 3А - схематичный вид в разрезе токамака;
Фигура 3В - схематичный вид в аксиальном разрезе центральной колонны токамака по фигуре 3А;
Фигура 4 - схематичный аксиальный разрез сегмента центральной колонны по фигурам 3А и 3 В;
Фигура 5 - схематичный аксиальный разрез пакета обмоток сегмента центральной колонны по фигуре 4;
Фигура 6 - схематичный аксиальный разрез сегмента центральной колонны токамака согласно настоящему изобретению;
Фигура 7 - схематичный аксиальный разрез пакета обмоток центральной колонны согласно настоящему изобретению;
Фигура 8 - схематичный аксиальный разрез сегмента центральной колонны согласно настоящему изобретению; и
Фигура 9 - схематичный аксиальный разрез сегмента центральной колонны по фигуре 8 с наложенными результатами моделирования распределения температуры центральной колонны.
Подробное описание
Задачей настоящего изобретения является преодоление или по меньшей мере смягчение некоторых из проблем, описанных выше для существующих центральных колонн плазменных камер токамака. В некоторых вариантах реализации настоящее изобретение позволяет изготавливать центральные колонны, в которых при работе плазменной камеры токамака распределение транспортного электрического тока между простирающимися вдоль оси центральной колонны ВТСП-кабелями (т.е. ВТСП-"узлами") (которые образуют "внутреннюю" ветвь катушки тороидального поля) является более равномерным по сравнению с существующими центральными колоннами. В частности, более равномерное распределение транспортного электрического тока может быть достигнуто посредством обеспечения механизма охлаждения для преимущественного охлаждения ВТСП-лент в одном ВТСП-кабеле катушки тороидального поля относительно ВТСП-лент в другом ВТСП-кабеле катушки тороидального поля. Такое охлаждение компенсирует разницу (т.е. дисбаланс) между критическими токами в ВТСП-материале двух ВТСП-кабелей. При уменьшении или устранении разницы в критических токах транспортный электрический ток более равномерно распределяется между ВТСП-кабелями в центральной колонне. Например, доля транспортного электрического тока по отношению к критическому току может быть более постоянной для ВТСП-кабелей. Дифференциальное охлаждение ВТСП-материала противоположно подходам, используемым в существующих центральных колоннах, которые нацелены на обеспечение равномерно высоких темпов охлаждения ВТСП-материала, независимо от того, где в центральной колонне находится этот ВТСП-материал.
Использование ВТСП-материала, в отличие от НТСП-материала, в общем означает, что между двумя (или более) ВТСП-кабелями могут существовать более значительные разницы температур без риска теплового разгона, возникающего из-за потери (или частичной потери) сверхпроводимости. Например, в существующих магнитах, в которых используется ВТСП-материал, температурный допуск НТСП-материала, т.е. разница между рабочей температурой и критической температурой, при которой начинается тепловой разгон, может быть менее 1К. Напротив, для ВТСП-материала температурный допуск может быть на порядок величины выше, поэтому ВТСП-магнит может выдерживать больший температурный градиент на своих обмотках без потери сверхпроводимости.
Фигура 6 представляет собой аксиальный разрез углового сегмента центральной колонны 600 плазменной камеры токамака (например, токамака 300 по фигуре 3А). Как и для фигуры 4 (и фигуры 8, описанной ниже), на фигуре 6 показана только одна половина углового сегмента, а исключенная половина углового сегмента является зеркальным отображением того, что показано на этой фигуре. Центральная колонна 600 содержит несущий элемент 613, который аналогичен несущему элементу 313 по фигурам 3В и 4. Несущий элемент 613 простирается параллельно оси центральной колонны 600 (т.е. в страницу на фигуре 6) и содержит канал, который заключает в себе множество ВТСП-узлов 601, скомпонованных как "пакет обмоток" 602. Каждый ВТСП-узел 601 является удлиненным в направлении, параллельном оси центральной колонны 600 (т.е. в страницу на фигуре 6). В варианте реализации, показанном на фигуре 6, каждый ВТСП-узел 601 содержит множество ВТСП-лент, каждая из которых выставлена так, чтобы иметь свою самую длинную ось (практически) параллельной оси центральной колонны 600. Каждый ВТСП-узел 601 также простирается в направлении, которое имеет по меньшей мере составляющую, направленную к оси центральной колонны 600, т.е. вдоль радиуса центральной колонны. ВТСП-узлы 601 расположены в виде стопки, и длины ВТСП-узлов 601 различаются для того, чтобы эффективно использовать форму углового сегмента, т.е. длины ВТСП-узлов 601 на концах стопки (например, ВТСП-узла 601 на верху стопки применительно к фигуре 6) являются более короткими, чем длины ВТСП-узлов 601 в середине стопки.
Центральная колонна 600 также содержит вакуумный зазор 603 между несущим элементом 613 и защитой 604 от ядерного излучения, которая окружает несущий элемент 613 для ограничения ядерного нагрева несущего элемента 613 и ВТСП-узлов 601, когда токамак находится в эксплуатации (т.е. работает в качестве термоядерного реактора). Несущий элемент 613 может быть изготовлен из меди (хотя могут быть использованы другие металлы и/или сплавы) и может быть сформирован как единая деталь или может быть образован из двух или более деталей, как описано ниже в связи с фигурой 8.
Фигура 7 представляет собой аксиальный разрез центральной колонны 600, показывающий участок пакета 602 обмоток, который предусмотрен в канале несущего элемента 613. Пакет 602 обмоток, показанный на фигуре 7, содержит стопку из четырех ВТСП-узлов 701 (а не стопку из трех ВТСП-узлов 601, показанную на фигуре 6). В общем, стопка может содержать любое число ВТСП-узлов 601, ограниченное лишь габаритными размерами центральной колонны 600 и размерами ВТСП-лент. По обе стороны стопки ВТСП-узлов 701, между стопкой и противоположными стенками канала несущего элемента 613, который заключает в себе пакет 602 обмоток, предусмотрена пара слоев 702А, 702В стабилизатора, изготовленных, например, из меди или алюминия. Стенки канала действуют в качестве конструктивной опоры 703 для ВТСП-узлов 701, предотвращая деформацию и возможное повреждение ВТСП-лент. В этом примере между соответствующими соседними парами ВТСП-узлов 701 предусмотрен слой электрической изоляции 704 для того, чтобы изолировать ВТСП-узлы 701 друг от друга.
Каждый из ВТСП-узлов 701 содержит массив ВТСП-лент, расположенных лицом к лицу, при этом ВТСП-ленты проходят параллельно друг другу и контактируют друг с другом своими соответствующими лицевыми сторонами. В этом случае каждый из массивов ВТСП-лент образует часть соответствующей дисковой катушки, которая является частью катушки тороидального поля (TF), такой как катушки 301 TF, показанные на фигуре 3А. Эта компоновка может обеспечивать эффективный перенос тепла между ВТСП-лентами, так что охлаждение наиболее удаленного от оси центральной колонны 600 конца ВТСП-узла 701 может, через промежуточные ВТСП-ленты, охлаждать другой конец ВТСП-узла 701.
Использование ВТСП-узлов ("кабелей") без скручивания или транспонирования в термоядерных ВТСП-магнитах является спорным. Однако эти признаки были перенесены из НТСП-кабелей для термоядерных магнитов, номинально для того, чтобы минимизировать потери переменного тока и гарантировать равное распределение тока между лентами. Однако относительно большой размер REBCO-проводников с покрытием означает, что шаги скрутки большие, а уменьшение потерь на практике минимально. Напротив, повышенная термическая стабильность, обеспечиваемая за счет работы при высоких температурах, означает, что осуществима устойчивая работа больших катушек без скручивания или транспонирования. Выбор многослойной ленточной конструкции (как в ВТСП-узлах 701, описанных выше) также позволяет добиться в 3-5 раз более высокого критического тока за счет лучшего совмещения ab-плоскости REBCO с вектором локального магнитного поля, что возможно в описанной выше центральной колонне 600 TF.
Охлаждающий канал 705 предусмотрен на радиально самом внешнем конце пакета 602 обмоток, т.е. центральная колонна 600 скомпонована таким образом, что пакет 602 обмоток предусмотрен между осью центральной колонны 600 и охлаждающим каналом 603. В этом примере лицевые стороны ВТСП-узлов 701 вместе образуют одну из стенок охлаждающего канала 705, так что, когда криогенная текучая среда (такая как сверхкритический гелий) протекает по охлаждающему каналу 705, эта текучая среда может контактировать и, предпочтительно, охлаждать радиально внешние лицевые стороны ВТСП-лент.
Центральная колонна 600 по фигуре 6 имеет тот же радиус, что и центральная колонна 400 по фигуре 4, но имеет пакет 602 обмоток, который занимает значительно меньшую площадь, по меньшей мере отчасти потому, что охлаждающий канал 705 предусмотрен снаружи пакета 602 обмоток. Поэтому пакет 602 обмоток, показанный на фигурах 6 и 7, способен обеспечить значительно более высокую плотность тока пакета обмоток, Jwp ~350 А/мм2, чем пакет 402 обмоток по фигуре 4, который содержит ВТСП-узлы 402 типа CICC. В дополнение, более высокая доля центральной колонны 600 может быть использована для защиты 604 от ядерного излучения, что приводит к более низким темпам ядерного нагрева и меньшему повреждению центральной колонны 600, когда токамак работает, а также к меньшему риску индуцированного нейтронами ухудшения критического тока в ВТСП-лентах ВТСП-узлов 601. Меньший ядерный нагрев, получающийся в результате более толстой нейтронной защиты 604, также означает, что радиально внутренние части ВТСП-узлов могут охлаждаться за счет кондуктивного охлаждения через несущий элемент 613 путем окружения несущего элемента 613 кольцом из текущего сверхкритического гелия, например, как описано ниже со ссылкой на фигуру 8. Кроме того, за счет расположения охлаждающего канала снаружи пакета 602 обмоток механическая целостность пакета 602 обмоток остается высокой, так что толстая, высокопрочная рубашка (т.е. опорная конструкция) вокруг каждого из ВТСП-узлов 701 может не потребоваться, тем самым позволяя ВТСП-лентам занимать больше пространства и увеличивая теплопроводность ВТСП-узлов 601.
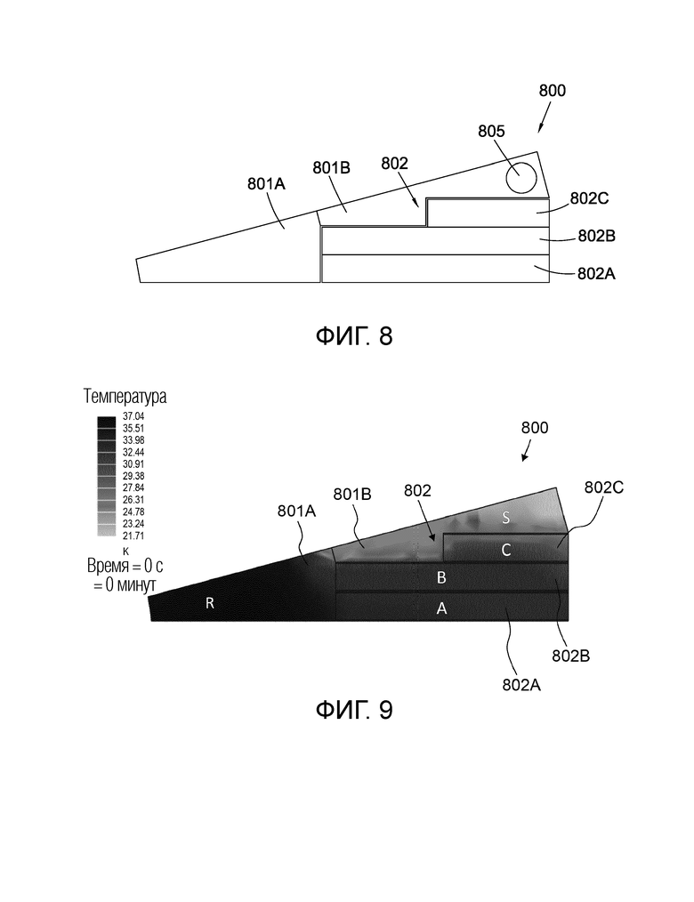
Фигура 8 представляет собой аксиальный разрез (одной половины) сегмента примерной центральной колонны 800, которая аналогична центральной колонне 600 по фигуре 6, за исключением того, что несущий элемент содержит радиально внутреннюю секцию 801А, которая может быть изготовлена из сплава Иконель™ (например) для того, чтобы выдерживать высокую механическую нагрузку на центральную колонну при работе катушек тороидального поля. Несущий элемент также содержит радиально внешнюю секцию или "боковую панель" 801 В, которая может быть изготовлена из меди, такой как твердая медь, и которая простирается по пакету 802 обмоток, содержащему стопку из шести ВТСП-узлов 802А, 802В, 802С (только три из которых показаны на фигуре 8), которые аналогичны ВТСП-узлам 701, описанным в связи с фигурой 7. В этом примере ВТСП-узлы 802А, 802В, 802С представляют собой три дисковые катушки (их практически прямые участки), которые скомпонованы в виде стопки, и каждая дисковая катушка содержит ВТСП-ленты, каждая из которых включает в себя множество слоев ВТСП-материала (например, ВТСП-ленту 100, описанную выше в связи с фигурой 1).
Центральная колонна 800 также отличается от центральной колонны 600 по фигуре 6 тем, что "внутренний" охлаждающий канал 805 включен в боковую панель 801В. Охлаждающий канал 805 простирается в направлении, параллельном оси центральной колонны 800, т.е. в страницу на фигуре 8. Эта конфигурация позволяет охлаждать боковую панель 801В изнутри криогенной текучей средой, протекающей в охлаждающем канале 805.
Конечно, в боковой панели 801В может быть предусмотрен более чем один внутренний охлаждающий канал 805, при этом число и/или плотность охлаждающих каналов 805 и/или площадь поперечного сечения каналов 805 варьируются для того, чтобы изменять распределение температуры в центральной колонне 800 таким образом, что критические токи ВТСП-лент в ВТСП-узлах 802А-С являются более равномерными.
Во время работы токамака тороидальное магнитное поле генерируется посредством циркуляции электрического тока по обмоткам дисковых катушек, содержащих ВТСП-узлы 802А-С (и дисковых катушек других соответствующих сегментов центральной колонны 800, которые не показаны на фигуре 8). Магнитное поле меняется радиально по центральной колонне 800, начиная от нуля на оси А-А' центральной колонны 800 и увеличиваясь приблизительно линейно по каждому из ВТСП-узлов 802А-С (т.е. слева направо на фигуре 8).
Поскольку ВТСП-узлы 802А-С простираются в целом радиально внутрь (т.е. в направлении, имеющем по меньшей мере составляющую в направлении к оси центральной колонны 800) на различные величины, ВТСП-ленты ВТСП-узлов 802А-С испытывают воздействие разных напряженностей магнитного поля. Поскольку все ВТСП-ленты в этом примере расположены параллельно друг другу, угол магнитного поля на каждой из ВТСП-лент также меняется в зависимости от того, к какому ВТСП-узлу 802А-С принадлежит ВТСП-лента. Например, выставление магнитного поля относительно ВТСП-лент ВТСП-узла 802А, расположенного ближе к середине сегмента (т.е. внизу фигуры 8), более благоприятно для сверхпроводимости, чем выставление магнитного поля относительно ВТСП-лент ВТСП-узла 802С, ближайшего к боковой панели 801 В. Совокупный эффект различных напряженностей магнитного поля и выставлений означает, что критические температуры ВТСП-узлов 802А-С являются разными. Например, ВТСП-узел 802А, для которого выставление магнитного поля более благоприятно и для которого напряженность магнитного поля на ВТСП-узле 802А в целом ниже, может иметь критическую температуру около 40 К, в то время как другие два ВТСП-узла 802 В-С могут иметь более низкие критические температуры около 37К и 32К соответственно.
Фигура 9 показывает наложенные на сегмент центральной колонны 800 по фигуре 8 результаты моделирования транспорта N-частиц методом Монте-Карло (MCNP) и термического анализа методом конечных элементов (FEA) для распределения температуры в центральной колонне 800 после импульсной работы токамака в качестве термоядерного реактора, принимая во внимание активное охлаждение потоком сверхкритического гелия. Охлаждающий канал 805 исключен на фигуре 9 для ясности. Перед импульсом термоядерного синтеза каждый из ВТСП-узлов 802А-С охлаждается до примерно 20К. Во время 35 МВт-го импульса термоядерного синтеза в центральную колонну 800 переносится приблизительно 50 кВт тепла, вынуждая соответствующие температуры каждого из ВТСП-узлов 802А-С увеличиваться до примерно 35К (ВТСП-узел 802А), 33,5К (ВТСП-узел 802В) и 31К (ВТСП-узел 802С). Моделирование указывает на то, что ядерная тепловая нагрузка изменяется радиально по центральной колонне 800, при этом наивысшая ядерная тепловая нагрузка оказалась возникающей на радиально самых внешних краях ВТСП-узлов 802А-С и уменьшается примерно в два раза ближе к оси центральной колонны 800. Однако температура изменяется в противоположном направлении из-за местоположения охлаждающего канала 805, поскольку больше тепла поступает к этому каналу и отводится в гелиевый теплоноситель из ближайших к каналу компонентов.
Альтернативно или дополнительно, снаружи боковой панели 801В может быть предусмотрен "внешний" охлаждающий канал, который охватывает как пакет 802 обмоток (т.е. лицевые поверхности ВТСП-узлов 802А-С), так и лицевую поверхность боковой панели 801 В, так что одна из стенок охлаждающего канала образована радиально самыми внешними лицевыми поверхностями боковой панели 801В и ВТСП-узлов 802А-С совместно. Такая конфигурация позволяет охлаждать эти лицевые поверхности боковой панели 801В и ВТСП-узлов криогенной текучей средой, протекающей в охлаждающем канале. В одном примере охлаждающий канал может простираться непрерывно вокруг центральной колонны 800, образуя кольцевое пространство, которое окружает ВТСП-узлы 802А-С и боковые панели 801В каждого из сегментов. Тогда при эксплуатации сверхкритический гелий протекает по охлаждающему каналу, охлаждая боковую панель 801В и ВТСП-узлы 802А-С непосредственно, т.е. сверхкритический гелий (или другая криогенная текучая среда) может контактировать с соответствующими лицевыми поверхностями боковой панели 801 В и ВТСП-узлов 802А-С, чтобы охлаждать их. В частности, лицевая поверхность боковой панели 801В, которая контактирует со сверхкритическим гелием, может быть смежной с остальной частью боковой панели 801В, без границы раздела внутри боковой панели 801В между разными областями боковой панели 801В, чтобы гарантировать высокую теплопроводность.
Хотя выше были описаны различные варианты осуществления настоящего изобретения, следует понимать, что они представлены в качестве примера, а не ограничения. Специалистам в данной области(-ях) техники было бы очевидным, что могли бы вноситься различные изменения по форме и деталям без отступления от сущности и объема изобретения.
| название | год | авторы | номер документа |
|---|---|---|---|
| ДВОЙНЫЕ КАТУШКИ ПОЛОИДАЛЬНОГО ПОЛЯ | 2018 |
|
RU2772438C2 |
| ЭЛЕКТРОМАГНИТ НА СВЕРХПРОВОДНИКАХ | 2021 |
|
RU2833905C1 |
| СИСТЕМА ИНИЦИИРОВАНИЯ НАРУШЕНИЯ СВЕРХПРОВОДИМОСТИ ВТСП-МАГНИТА | 2019 |
|
RU2784406C2 |
| ОБМОТКА ТОРОИДАЛЬНОГО ПОЛЯ ДЛЯ ИСПОЛЬЗОВАНИЯ В ТЕРМОЯДЕРНОМ РЕАКТОРЕ | 2014 |
|
RU2643797C2 |
| ЗАЩИТА ОТ НАРУШЕНИЯ СВЕРХПРОВОДИМОСТИ В СВЕРХПРОВОДЯЩИХ МАГНИТАХ | 2017 |
|
RU2754574C2 |
| СВЯЗАННАЯ С ВТСП ЧАСТИЧНАЯ ИЗОЛЯЦИЯ ДЛЯ ВТСП-КАТУШЕК ВОЗБУЖДЕНИЯ | 2020 |
|
RU2818160C1 |
| ЦЕНТРАЛЬНАЯ КОЛОННА ОБМОТКИ ТОРОИДАЛЬНОГО ПОЛЯ | 2019 |
|
RU2742716C1 |
| ОПОРНЫЕ КОНСТРУКЦИИ ДЛЯ ВТСП-МАГНИТОВ | 2016 |
|
RU2722990C2 |
| ВТСП-МАГНИТНЫЕ СЕКЦИИ | 2016 |
|
RU2686524C1 |
| ИСТОЧНИК ПИТАНИЯ КРИОГЕННОГО МАГНИТА | 2018 |
|
RU2752263C2 |
Изобретение относится к катушке тороидального поля для плазменной камеры токамака с центральной колонной. Катушка содержит первый и второй узлы с высокотемпературным сверхпроводником, ВТСП, содержащие соответствующие одну или более ВТСП-лент для проведения электрического тока параллельно оси центральной колонны. Каждая из ВТСП-лент содержит ВТСП-материал с присущим ему критическим током, который зависит от магнитного поля на ВТСП-ленте, когда центральная колонна находится в эксплуатации. Центральная колонна дополнительно содержит механизм охлаждения, выполненный с возможностью преимущественного охлаждения первого ВТСП-узла относительно второго ВТСП-узла. Техническим результатом является возможность уменьшить или устранить разницу в критическом токе упомянутой или каждой ВТСП-ленты первого ВТСП-узла относительно критического тока упомянутой или каждой ВТСП-ленты второго ВТСП-узла. 3 н. и 17 з.п. ф-лы, 9 ил.
1. Центральная колонна для плазменной камеры токамака, содержащая:
катушку тороидального поля, содержащую первый и второй узлы с высокотемпературным сверхпроводником, ВТСП, содержащие соответствующую одну или более ВТСП-лент для проведения электрического тока параллельно оси центральной колонны, причем каждая из ВТСП-лент содержит ВТСП-материал с присущим ему критическим током, который зависит от магнитного поля на ВТСП-ленте, когда катушка тороидального поля находится в эксплуатации;
механизм охлаждения, выполненный с возможностью преимущественного охлаждения первого ВТСП-узла относительно второго ВТСП-узла, чтобы уменьшить или устранить разницу в критическом токе упомянутой или каждой ВТСП-ленты первого ВТСП-узла относительно критического тока упомянутой или каждой ВТСП-ленты второго ВТСП-узла; и
несущий элемент с одним или более каналами, причем первый и второй ВТСП-узлы предусмотрены в упомянутых одном или более каналах несущего элемента.
2. Центральная колонна по п. 1, при этом критический ток каждой ВТСП-ленты является обратно зависимым от напряженности магнитного поля на ВТСП-ленте, так что критический ток уменьшается по мере того, как возрастает напряженность магнитного поля, и напряженность магнитного поля на первом ВТСП-узле больше напряженности магнитного поля на втором ВТСП-узле.
3. Центральная колонна по п. 1 или 2, при этом каждая из ВТСП-лент имеет относящуюся к ней плоскость, определенную с учетом кристаллической структуры ВТСП-материала ВТСП-ленты, и критический ток каждой ВТСП-ленты зависит от угла поля между магнитным полем на ВТСП-ленте и упомянутой плоскостью ВТСП-ленты, причем критический ток уменьшается по мере увеличения угла поля, ВТСП-узлы скомпонованы так, что угол поля между магнитным полем и упомянутой плоскостью упомянутой или каждой ВТСП-ленты первого ВТСП-узла больше угла поля между магнитным полем и упомянутой плоскостью упомянутой или каждой ВТСП-ленты второго ВТСП-узла.
4. Центральная колонна по п. 3, при этом для каждого из ВТСП-узлов соответствующие плоскости ВТСП-лент ВТСП-узла являются параллельными друг другу.
5. Центральная колонна по п. 4, при этом плоскости ВТСП-лент в первом ВТСП-узле являются параллельными плоскостям ВТСП-лент во втором ВТСП-узле.
6. Центральная колонна по любому из предшествующих пунктов, при этом механизм охлаждения содержит один или более охлаждающих каналов, по которым предназначена протекать криогенная текучая среда.
7. Центральная колонна по п. 6, при этом упомянутый или каждый охлаждающий канал простирается в направлении, параллельном оси центральной колонны.
8. Центральная колонна по п. 6 или 7, при этом тепловой импеданс между упомянутым или каждым охлаждающим каналом и первым ВТСП-узлом меньше теплового импеданса между упомянутым или каждым охлаждающим каналом и вторым ВТСП-узлом.
9. Центральная колонна по любому из пп. 6-8, при этом кратчайшее расстояние между упомянутым или каждым охлаждающим каналом и первым ВТСП-узлом меньше кратчайшего расстояния между упомянутым или каждым охлаждающим каналом и вторым ВТСП-узлом, причем каждое из этих расстояний измеряется в плоскости, перпендикулярной оси.
10. Центральная колонна по любому из предшествующих пунктов, при этом упомянутый или каждый канал простирается в направлении, параллельном оси центральной колонны.
11. Центральная колонна по любому из предшествующих пунктов, при этом по меньшей мере часть несущего элемента содержит корпусной участок, изготовленный из теплопроводящего материала.
12. Центральная колонна по п. 11, при этом теплопроводящий материал содержит медь.
13. Центральная колонна по п. 11 или 12, при этом механизм охлаждения выполнен с возможностью охлаждать корпусной участок через лицевую поверхность корпусного участка, находящегося в контакте с первым ВТСП-узлом и/или вторым ВТСП-узлом через одну или более стенок упомянутого или каждого канала несущего элемента, в котором предусмотрены первый и второй ВТСП-узлы, в результате чего первый ВТСП-узел и/или второй ВТСП-узел охлаждается или охлаждаются корпусным участком.
14. Центральная колонна по любому из пп. 11-13, при этом механизм охлаждения содержит охлаждающий канал в корпусном участке, причем корпусной участок находится в контакте с первым ВТСП-узлом и/или вторым ВТСП-узлом через одну или более стенок упомянутого или каждого канала несущего элемента, в котором предусмотрены первый и второй ВТСП-узлы, в результате чего первый ВТСП-узел и/или второй ВТСП-узел охлаждается или охлаждаются корпусным участком.
15. Центральная колонна по любому из пп. 11-14, при этом по меньшей мере участок второго ВТСП-узла расположен радиально внутрь от первого ВТСП-узла, причем этот участок находится в тепловом контакте с корпусным участком, в результате чего тепло переносится от упомянутого участка второго ВТСП-узла к механизму охлаждения через корпусной участок.
16. Центральная колонна по любому из пп. 11-15, при этом несущий элемент содержит другую часть, расположенную радиально внутрь от корпусного участка и имеющую более высокую механическую прочность, чем корпусной участок.
17. Центральная колонна по любому из пп. 1-9, дополнительно содержащая пакет обмоток, содержащий первый и второй ВТСП-узлы, и несущий элемент, простирающийся по боковой стороне пакета обмоток, причем механизм охлаждения содержит канал в несущем элементе.
18. Центральная колонна по любому из предшествующих пунктов, при этом первый и второй ВТСП-узлы, каждый, содержат часть соответствующих плоских катушек, содержащих вложенные друг в друга обмотки ВТСП-лент, намотанных вокруг оси.
19. Плазменная камера токамака, содержащая центральную колонну по любому из предшествующих пунктов и содержащая множество катушек тороидального поля, выполненных с возможностью обеспечения тороидального магнитного поля внутри плазменной камеры, когда по обмоткам катушек тороидального поля пропускается электрический ток, причем каждая катушка тороидального поля содержит соответствующий первый и второй ВТСП-узел.
20. Способ работы плазменной камеры токамака по п. 19, включающий, для каждой из множества катушек тороидального поля:
пропускание электрического тока по обмоткам катушки тороидального поля; и
использование механизма охлаждения для преимущественного охлаждения первого ВТСП-узла относительно второго ВТСП-узла, чтобы уменьшить или устранить разницу в критическом токе упомянутой или каждой ВТСП-ленты первого ВТСП-узла относительно критического тока упомянутой или каждой ВТСП-ленты второго ВТСП-узла.
| WO 2015036749 A1, 19.03.2015 | |||
| ФОТОПОЛИМЕРИЗУЕМАЯ КРАСКА ДЛЯ СТРУЙНОЙ ПЕЧАТИ, КАРТРИДЖ С КРАСКАМИ И ПРИНТЕР | 2012 |
|
RU2570666C2 |
| WO 2020104778 A1, 28.05.2020 | |||
| EP 3747024 A1, 09.12.2020 | |||
| ЦЕНТРАЛЬНАЯ КОЛОННА ОБМОТКИ ТОРОИДАЛЬНОГО ПОЛЯ | 2019 |
|
RU2742716C1 |
| 0 |
|
SU196997A1 | |
| СПОСОБ ИЗГОТОВЛЕНИЯ СВЕРХПРОВОДЯЩЕЙ МНОГОСЛОЙНОЙ ЛЕНТЫ | 2008 |
|
RU2371795C1 |
| СПОСОБ ГЕНЕРАЦИИ ТОРОИДАЛЬНОГО ТОКА АСИММЕТРИИ ПРИ СТАЦИОНАРНОЙ РАБОТЕ ТЕРМОЯДЕРНОГО РЕАКТОРА | 2010 |
|
RU2427935C1 |
| МНОГОСЛОЙНЫЙ БЛОК ИЗ СВЕРХПРОВОДЯЩИХ ЛЕНТ И СПОСОБ ЕГО ПОЛУЧЕНИЯ | 2014 |
|
RU2579457C1 |
| ОПОРНЫЕ КОНСТРУКЦИИ ДЛЯ ВТСП-МАГНИТОВ | 2016 |
|
RU2722990C2 |
| СПОСОБ ПОЛУЧЕНИЯ ОЛИГО- И ПОЛИЭТИЛЕНТЕРЕФТАЛАТОВ | 2013 |
|
RU2519827C1 |
| WO 2017042543 A1, 16.03.2017. | |||
Авторы
Даты
2025-01-27—Публикация
2021-07-30—Подача