Область техники
[0001] Раскрытие относится к электронному устройству, включающему в себя проводящий элемент. Более конкретно раскрытие относится к электронному устройству (например, переносному терминалу), включающему в себя проводящий элемент, расположенный на декоративном элементе и электрически соединенный с металлической областью, причем проводящий элемент включает в себя первый проводящий элемент, размещенный обращенным к поддерживающему элементу, и второй проводящий элемент, размещенный параллельно первому проводящему элементу и электрически соединенный с первым проводящим элементом.
Предпосылки изобретения
[0002] Благодаря развитию технологии передачи информации и полупроводниковой технологии, распространение и использование различных электронных устройств быстро увеличивается. В частности, современные электронные устройства разрабатываются таким образом, чтобы пользователи были способны общаться друг с другом, перенося при этом электронные устройства. Электронные устройства могут выводить хранящуюся в них информацию в виде звука или изображения. Поскольку степень интеграции электронных устройств увеличилась, и стала популярной сверхскоростная и имеющая большую пропускную способность беспроводная связь, в последнее время в едином электронном устройстве, таком как мобильный терминал связи, стали предоставляться множественные функции. Например, различные функции, такие как развлекательная функция (например, игровая функция), мультимедийная функция (например, функция воспроизведения музыки/видео), функция связи и защиты для мобильного банкинга или т.п., функция организации расписания и функция электронного кошелька, объединяются в едином электронном устройстве в дополнение к функции связи. Такое электронное устройство было миниатюризировано таким образом, что пользователь может удобно переносить электронное устройство.
[0003] Поскольку услуга мобильной связи распространяется на область мультимедийной услуги, необходимо увеличивать размеры дисплеев электронных устройств с тем, чтобы предоставлять возможность пользователям полностью использовать мультимедийную услугу, а также голосовой вызов или услугу коротких сообщений. Однако размер дисплея электронного устройства находится в компромиссном отношении с миниатюризацией электронного устройства.
[0004] Вышеуказанная информация представлена в качестве информации о предпосылках только для помощи в понимании раскрытия. Не сделано и не делается никаких определений относительно того, может ли что-либо из вышеперечисленного применяться в качестве уровня техники в отношении раскрытия.
Подробное описание изобретения
Техническая проблема
[0005] Аспекты раскрытия предназначены решить по меньшей мере вышеупомянутые проблемы и/или недостатки и предоставить по меньшей мере преимущества, описанные ниже. Соответственно, аспектом раскрытия является предоставление электронного устройства (например, переносного терминала), включающего в себя дисплей, имеющий плоскую поверхность или плоскую поверхность и изогнутую поверхность. Электронному устройству, включающему в себя существующий тип дисплея, может требоваться другой терминал при реализации экрана, большего чем размер электронного устройства, вследствие конструкции неподвижного дисплея. Соответственно, исследованы и исследуются электронные устройства, включающие в себя складной или скручиваемый дисплей.
[0006] В складном электронном устройстве для того, чтобы реализовать складывание дисплея, требуется физическое разделительное пространство между компонентами дисплея. Однако, снаружи электронного устройства через разделительное пространство в панель дисплея может вводиться импульсное перенапряжение (выброс электрического тока). Можно уменьшить импульсное перенапряжение, вводимое в панель дисплея, с помощью декоративного элемента, окружающего панель дисплея. Однако когда площадь декоративного элемента увеличивается, объем электронного устройства может увеличиваться, или размер фактической площади отображения дисплея может уменьшаться.
Техническое решение
[0007] Согласно различным вариантам осуществления раскрытия, возможно предоставление дисплея, который способен раскладываться или складываться посредством манипуляции пользователя.
[0008] Согласно различным вариантам осуществления раскрытия, может быть предоставлено электронное устройство, включающее в себя путь разряда, способный переносить импульсное перенапряжение, вводимое снаружи, на заземление.
[0009] Однако, вопросы, на которые направлено это раскрытие, не ограничиваются вышеописанными и могут быть по-разному расширены без отступления от сущности и объема этого раскрытия.
[0010] Дополнительные аспекты вариантов осуществления будут частично изложены в описании, которое приводится ниже, и частично будут очевидны из описания или могут быть изучены при практическом осуществлении представленных вариантов осуществления.
[0011] В соответствии с аспектом раскрытия предоставляется электронное устройство. Электронное устройство включает в себя складной дисплей, декоративный элемент, выполненный из полимерного материала окружающим по меньшей мере часть складного дисплея, поддерживающий элемент, выполненный с возможностью поддерживать складной дисплей и включающий в себя металлическую область, соединенную с декоративным элементом, и проводящий элемент, расположенный на декоративном элементе и электрически соединенный с металлической областью. Проводящий элемент может включать в себя первый проводящий элемент, размещенный обращенным к поддерживающему элементу, и второй проводящий элемент, размещенный параллельно первому проводящему элементу и электрически соединенный с первым проводящим элементом.
[0012] В соответствии с другим аспектом раскрытия предоставляется электронное устройство. Электронное устройство включает в себя складной дисплей, декоративный элемент, выполненный из полимерного материала и окружающий по меньшей мере часть складного дисплея, поддерживающий элемент, выполненный с возможностью поддерживать складной дисплей и включающий в себя металлическую область, соединенную с декоративным элементом, и полимерную область, расположенную в сегменте металлической области, и проводящий элемент, электрически соединенный с металлической областью. Декоративный элемент может включать в себя первую область декоративного элемента, обращенную к поддерживающему элементу, и вторую область декоративного элемента, простирающуюся от первой области декоративного элемента и обращенную в направлении, отличающемся от направления, в котором обращена первая область декоративного элемента, при этом проводящий элемент может быть расположен в первой области декоративного элемента и второй области декоративного элемента, и проводящий элемент может включать в себя третий проводящий элемент и четвертый проводящий элемент, разнесенные друг от друга со ссылкой на упомянутый сегмент.
Преимущественные эффекты
[0013] Согласно различным вариантам осуществления раскрытия, электронное устройство способно включать в себя путь разряда, способный разряжать импульсное перенапряжение, введенное в электронное устройство, с помощью поддерживающего элемента, электрически соединенного с проводящим элементом.
[0014] Согласно различным вариантам осуществления раскрытия, электронное устройство включает в себя декоративный элемент, имеющий уменьшенную площадь, перекрывающую дисплей. Следовательно, можно значительно увеличить площадь отображения экрана и улучшить эстетический вид.
[0015] Другие аспекты, преимущества и существенные признаки раскрытия станут очевидны специалистам в данной области техники из последующего подробного описания, которое, взятое в сочетании с приложенными чертежами, раскрывает различные варианты осуществления раскрытия.
Краткое описание чертежей
[0016] Вышеуказанные и другие аспекты, признаки и преимущества некоторых вариантов осуществления раскрытия станут более понятными из нижеприведенного описания, взятого в сочетании с сопроводительными чертежами, на которых:
[0017] Фиг. 1 является видом, иллюстрирующим состояние, в котором электронное устройство разложено согласно варианту осуществления раскрытия;
[0018] Фиг. 2 является видом, иллюстрирующим состояние, в котором электронное устройство сложено согласно варианту осуществления раскрытия;
[0019] Фиг. 3 является покомпонентным видом в перспективе электронного устройства согласно варианту осуществления раскрытия;
[0020] Фиг. 4 является видом в сечении, взятом по линии B-B' на фиг. 3, согласно варианту осуществления раскрытия;
[0021] Фиг. 5 является видом в сечении, взятом по линии A-A' на фиг. 1, согласно варианту осуществления раскрытия;
[0022] Фиг. 6 является видом в сечении, взятом по линии A-A' на фиг. 1, согласно варианту осуществления раскрытия;
[0023] Фиг. 7A является видом, иллюстрирующим проводящий элемент, присоединенный к декоративному элементу согласно варианту осуществления раскрытия;
[0024] Фиг. 7B является видом, иллюстрирующим проводящий элемент, присоединенный к декоративному элементу согласно варианту осуществления раскрытия;
[0025] Фиг. 7C является видом, иллюстрирующим проводящий элемент, присоединенный к декоративному элементу согласно варианту осуществления раскрытия;
[0026] Фиг. 8 является видом спереди поддерживающего элемента согласно варианту осуществления раскрытия;
[0027] Фиг. 9A является видом, иллюстрирующим проводящий элемент, размещенный соответствующим поддерживающему элементу согласно варианту осуществления раскрытия;
[0028] Фиг. 9B является видом, иллюстрирующим проводящий элемент, размещенный соответствующим поддерживающему элементу согласно варианту осуществления раскрытия;
[0029] Фиг. 9C является видом, иллюстрирующим проводящий элемент, размещенный соответствующим поддерживающему элементу согласно варианту осуществления раскрытия;
[0030] Фиг. 10 является схематичным видом поддерживающего элемента согласно варианту осуществления раскрытия;
[0031] Фиг. 11 является видом в сечении проводящего элемента согласно варианту осуществления раскрытия; и
[0032] Фиг. 12 является схематичным видом проводящего элемента, расположенного на декоративном элементе согласно варианту осуществления раскрытия.
[0033] На всех чертежах одинаковые ссылочные позиции будут трактоваться как относящиеся к одинаковым деталям, компонентам и конструкциям.
Режим осуществления изобретения
[0034] Нижеприведенное описание со ссылкой на сопроводительные чертежи предоставляется для помощи в исчерпывающем понимании различных вариантов осуществления раскрытия, которые определены формулой изобретения и ее эквивалентами. Оно включает в себя различные конкретные детали, помогающие в этом понимании, но они должны рассматриваться как лишь примерные. Соответственно, специалистам в данной области техники будет понятно, что различные изменения и модификации различных вариантов осуществления, описанных здесь, могут быть выполнены без отступления от сущности и объема раскрытия. Помимо этого, описания хорошо известных функций и конструкций могут пропускаться для ясности и краткости.
[0035] Термины и слова, используемые в нижеприведенном описании и в формуле изобретения, не ограничены библиографическими смысловыми значениями, а используются автором изобретения просто для обеспечения ясного и согласованного понимания раскрытия. Соответственно, специалистам в данной области техники должно быть очевидно, что нижеприведенное описание различных вариантов осуществления раскрытия предоставляется только с целью иллюстрации, а не с целью ограничения раскрытия, которое определено прилагаемой формулой изобретения и ее эквивалентами.
[0036] Следует понимать, что формы единственного числа включают в себя множественные объекты до тех пор, пока контекст явно не диктует иное. Таким образом, например, ссылка на "поверхность компонента" включает в себя ссылку на одну или более таких поверхностей.
[0037] Электронное устройство согласно различным вариантам осуществления может быть одним из различных типов электронных устройств. Электронные устройства могут включать в себя, например, переносное устройство связи (например, смартфон), компьютерное устройство, переносное мультимедийное устройство, переносное медицинское устройство, камеру, носимое устройство или бытовой прибор. Согласно варианту осуществления изобретения, электронные устройства не ограничиваются вышеописанными.
[0038] Следует понимать, что различные варианты осуществления раскрытия и термины, используемые в нем, не предназначены для ограничения изложенных здесь технологических особенностей конкретными вариантами осуществления и включают в себя различные изменения, эквиваленты или замены для соответствующего варианта осуществления. Относительно описания чертежей, аналогичные ссылочные позиции могут использоваться для ссылки на аналогичные или родственные элементы. При использовании здесь каждая из таких фраз, как "A или B", "по меньшей мере одно из A и B", "по меньшей мере одно из A или B", "A, B или C", "по меньшей мере одно из A, B и C" и "по меньшей мере одно из A, B или C", может включать в себя любую из или все возможные комбинации пунктов, перечисляемых вместе в соответствующей одной из фраз. При использовании здесь такие термины как "1-й" и "2-й" или "первый" и "второй" могут использоваться для простого различения соответствующего компонента от другого и не ограничивают компоненты в другом аспекте (например, важности или порядке). Следует понимать, что, если выполняется ссылка на элемент (например, первый элемент) с или без термина "функционально" или "с возможностью связи", как "связанный с", "присоединенный к", "соединенный с" или "подключенный к" другому элементу (например, второму элементу), это означает, что элемент может быть соединен с другим элементом непосредственно (например, проводным образом), беспроводным образом или через третий элемент.
[0039] При использовании в связи с различными вариантами осуществления раскрытия термин "модуль" может включать в себя блок, реализованный в аппаратном обеспечении, программном обеспечении или микропрограммном обеспечении, и может использоваться взаимозаменяемо с другими терминами, например, "логика", "логический блок", "часть" или "схема". Модуль может представлять собой единый составной компонент или минимальный блок или его часть, приспособленные для выполнения одной или более функций. Например, согласно варианту осуществления раскрытия, модуль может быть реализован в виде специализированной интегральной схемы (ASIC).
[0040] Согласно различным вариантам осуществления раскрытия каждый компонент (например, модуль или программа) вышеописанных компонентов может включать в себя единственный объект или несколько объектов, и некоторые из нескольких объектов могут быть отдельно расположены в разных компонентах. Согласно различным вариантам осуществления раскрытия один или более из вышеописанных компонентов могут быть исключены или могут быть добавлены один или более других компонентов. Альтернативно или дополнительно, множество компонентов (например, модулей или программ) может быть объединено в единый компонент. В таком случае, согласно различным вариантам осуществления раскрытия интегрированный компонент может по-прежнему выполнять одну или более функций каждого из множества компонентов таким же или аналогичным образом, как они выполнялись соответствующим одним из множества компонентов перед интеграцией. Согласно различным вариантам осуществления раскрытия операции, выполняемые модулем, программой или другим компонентом, могут выполняться последовательно, параллельно, циклически или эвристически, или одна или более операций могут выполняться в другом порядке или пропускаться, или могут быть добавлены одна или более других операций.
[0041] Фиг. 1 является видом, иллюстрирующим состояние, в котором электронное устройство разложено согласно варианту осуществления раскрытия. Фиг. 2 является видом, иллюстрирующим состояние, в котором электронное устройство сложено согласно варианту осуществления раскрытия.
[0042] Обращаясь к фиг. 1 и 2, в варианте осуществления раскрытия электронное устройство 101 может включать в себя складной корпус 300, крышку 330 шарнира, выполненную с возможностью покрывать складываемую часть складного корпуса 300, и гибкий или складной дисплей 200 (далее здесь называемый просто "дисплеем" 200), расположенный в пространстве, ограниченном складным корпусом 300. Согласно варианту осуществления раскрытия, поверхность, на которой дисплей 200 расположен, определяется как передняя поверхность (например, первая поверхность 310a и третья поверхность 320a) электронного устройства 101. Кроме того, поверхность, противоположная передней поверхности, определяется как задняя поверхность (например, вторая поверхность 310b и четвертая поверхность 320b) электронного устройства 101. Кроме того, поверхность, окружающая пространство между передней и задней поверхностями, определяется как боковая поверхность (например, первая боковая поверхность 311a и вторая боковая поверхность 321a) электронного устройства 101.
[0043] Согласно различным вариантам осуществления раскрытия, складной корпус 300 может включать в себя первый корпус 310, второй корпус 320, включающий в себя область 324 датчиков, первую заднюю крышку 380, вторую заднюю крышку 390 и шарнирную конструкцию (например, шарнирную конструкцию 302 на фиг. 3). Складной корпус 300 электронного устройства 101 не ограничивается формой и сборкой, проиллюстрированными на фиг. 1 и 2, а может быть реализован комбинацией и/или сборкой различных форм или компонентов. Например, в другом варианте осуществления раскрытия первый корпус 310 и первая задняя крышка 380 могут быть выполнены как одно целое, и второй корпус 320 и вторая задняя крышка 390 могут быть выполнены как одно целое. Согласно различным вариантам осуществления раскрытия, первый корпус 310 может быть соединен с шарнирной конструкцией 302 и может включать в себя первую поверхность 310a, обращенную в первом направлении, и вторую поверхность 310b, обращенную во втором направлении, противоположном первому направлению. Второй корпус 320 может быть соединен с шарнирной конструкцией 302 и может включать в себя третью поверхность 320a, обращенную в третьем направлении, и четвертую поверхность 320b, обращенную в четвертом направлении, противоположном третьему направлению. Второй корпус 320 является вращаемым вокруг шарнирной конструкции 302 относительно первого корпуса 310. Соответственно, электронное устройство 101 может деформироваться в сложенное состояние или разложенное состояние. В сложенном состоянии электронного устройства 101 первая поверхность 310a может быть обращена к третьей поверхности 320a, а в разложенном состоянии третье направление может быть таким же, как и первое направление. Согласно варианту осуществления раскрытия, в состоянии, в котором электронное устройство 101 разложено, первое и третье направления могут быть направлением +Z, а второе и четвертое направления могут быть направлением -Z. Согласно варианту осуществления раскрытия, в состоянии, в котором электронное устройство 101 сложено, первое и второе направления могут быть направлением +Z, а второе и третье направления могут быть направлением -Z. В последующем до тех пор, пока не указано иное, направление будет описываться на основе разложенного состояния электронного устройства 101.
[0044] Согласно различным вариантам осуществления раскрытия, первый корпус 310 и второй корпус 320 могут быть расположены на противоположных сторонах относительно оси A складывания и могут иметь в общем симметричные формы относительно оси A складывания. Как будет описано позже, угол или расстояние между первым корпусом 310 и вторым корпусом 320 может изменяться в зависимости от того, находится ли электронное устройство 101 в разложенном состоянии, в сложенном состоянии или в промежуточном состоянии. Согласно варианту осуществления раскрытия, в отличие от первого корпуса 310, второй корпус 320 может дополнительно включать в себя область 324 датчиков, в которой расположены различные датчики. Однако, первый корпус 310 и второй корпус 320 могут иметь взаимно симметричные формы в других областях. Согласно варианту осуществления раскрытия, ось A складывания может быть множеством из (например, двух) параллельных осей складывания.
[0045] Согласно варианту осуществления раскрытия, электронное устройство 101 может включать в себя конструкцию, в которую может вставляться цифровое перо. Например, отверстие 323, в которое цифровое перо может вставляться, может быть предусмотрено в боковой поверхности первого корпуса 310 или боковой поверхности второго корпуса 320 электронного устройства 101.
[0046] Согласно различным вариантам осуществления раскрытия, первый корпус 310 и второй корпус 320 могут вместе образовывать углубление, в котором размещается дисплей 200. Согласно варианту осуществления раскрытия, вследствие области 324 датчиков, углубление может иметь две или более различные ширины в направлении, перпендикулярном оси A складывания.
[0047] Согласно различным вариантам осуществления раскрытия, по меньшей мере часть первого корпуса 310 и по меньшей мере часть второго корпуса 320 могут быть выполнены из металлического материала или неметаллического материала, имеющего жесткость на уровне, выбранном для поддержания дисплея 200. Упомянутая по меньшей мере часть, выполненная из металлического материала, может обеспечивать площадку заземления электронного устройства 101 и может быть электрически соединена с линией заземления, образованной на печатной плате (например, печатной плате 360 на фиг. 3).
[0048] Согласно различным вариантам осуществления раскрытия, область 324 датчиков может быть образована имеющей заданную площадь рядом с одним углом второго корпуса 320. Однако, компоновка, форма и размер области 324 датчиков не ограничивается проиллюстрированным примером. Например, в другом варианте осуществления раскрытия область 324 датчиков может быть предусмотрена в любой области между другим углом или верхним торцевым углом или нижним торцевым углом второго корпуса 320 или в первом корпусе 310. В варианте осуществления раскрытия компоненты, встроенные в электронное устройство 101 для выполнения различных функций, могут быть открыты на переднюю поверхность электронного устройства 101 через область 324 датчиков или один или более проемов, предусмотренных в области 324 датчиков. В различных вариантах осуществления раскрытия компоненты могут включать в себя различные типы датчиков. Датчики могут включать в себя, например, по меньшей мере одно из передней камеры, приемника или бесконтактного датчика (приближения).
[0049] Согласно различным вариантам осуществления раскрытия, первая задняя крышка 380 может быть расположена с одной стороны от оси A складывания на задней поверхности электронного устройства 101 и может иметь, например, по существу прямоугольный периметр, который может быть окружен первым корпусом 310. Аналогично, вторая задняя крышка 390 может быть расположена с другой стороны от оси A складывания на задней поверхности электронного устройства 101, и периметр второй задней крышки 390 может быть окружен вторым корпусом 320.
[0050] Согласно различным вариантам осуществления раскрытия, первая задняя крышка 380 и вторая задняя крышка 390 могут иметь по существу симметричные формы относительно оси складывания (оси A). Однако, первая задняя крышка 380 и вторая задняя крышка 390 необязательно имеют взаимно симметричные формы, и в другом варианте осуществления раскрытия электронное устройство 101 может включать в себя первую заднюю крышку 380 и вторую заднюю крышку 390, которые имеют различные формы.
[0051] Согласно различным вариантам осуществления раскрытия, первая задняя крышка 380, вторая задняя крышка 390, первый корпус 310 и второй корпус 320 могут образовывать пространство, в котором могут быть размещены различные компоненты (например, печатная плата или батарея) электронного устройства 101. Согласно варианту осуществления раскрытия, на задней поверхности электронного устройства 101 могут быть расположены или визуально открыты один или более компонентов. Например, через первую заднюю область 382 первой задней крышки 380 может быть визуально открыта по меньшей мере часть вспомогательного дисплея (не проиллюстрировано). В другом варианте осуществления раскрытия через вторую заднюю область 392 второй задней крышки 390 могут быть визуально открыты один или более компонентов или датчиков. В различных вариантах осуществления раскрытия датчики могут включать в себя бесконтактный датчик и/или заднюю камеру.
[0052] Согласно различным вариантам осуществления раскрытия, передняя камера, которая открыта на передней поверхности электронного устройства 101 через упомянутые один или более проемов, предусмотренных в области 324 датчиков, или задняя камера, открытая через вторую заднюю область 392 второй задней крышки 390, могут включать в себя один или более объективов, датчик изображения и/или сигнальный процессор изображения. Вспышка 313 может включать в себя, например, светоизлучающий диод или ксеноновую лампу. В некоторых вариантах осуществления раскрытия на одной поверхности электронного устройства 101 могут быть расположены два или более объективов (например, инфракрасная камера, широкоугольный объектив и телеобъектив) и датчики изображения.
[0053] Обращаясь к фиг. 2, крышка 330 шарнира может быть расположена между первым корпусом 310 и вторым корпусом 320 таким образом, чтобы покрывать внутренние компоненты (например, шарнирную конструкцию 302 на фиг. 3). Согласно варианту осуществления изобретения, крышка 330 шарнира может быть покрыта частью первого корпуса 310 и частью второго корпуса 320 или может быть открыта наружу в зависимости от состояния электронного устройства 101 (разложенное состояние (плоское состояние) или сложенное состояние).
[0054] Согласно варианту осуществления раскрытия, как проиллюстрировано на фиг. 1, когда электронное устройство 101 находится в разложенном состоянии, крышка 330 шарнира может не быть открытой, являясь покрытой первым корпусом 310 и вторым корпусом 320. В качестве другого примера, как проиллюстрировано на фиг. 2, когда электронное устройство 101 находится в сложенном состоянии (например, полностью сложенном состоянии), крышка 330 шарнира может быть открыта наружу между первым корпусом 310 и вторым корпусом 320. В качестве еще одного примера, когда первый корпус 310 и второй корпус 320 находятся в промежуточном состоянии, при котором первый корпус 310 и второй корпус 320 сложены, образуя заданный угол между ними, часть крышки 330 шарнира может быть открыта наружу между первым корпусом 310 и вторым корпусом 320. В этом случае, однако, область может быть меньше области в полностью сложенном состоянии. В варианте осуществления раскрытия крышка 330 шарнира может включать в себя изогнутую поверхность.
[0055] Согласно различным вариантам осуществления раскрытия, дисплей 200 может быть расположен в пространстве, образованном складным корпусом 300. Например, дисплей 200 может быть посажен в углубление, образованное складным корпусом 300, и может составлять большую часть передней поверхности электронного устройства 101. Соответственно, передняя поверхность электронного устройства 101 может включать в себя дисплей 200 и частичные области первого корпуса 310 и второго корпуса 320, которые прилегают к дисплею 200. Кроме того, задняя поверхность электронного устройства 101 может включать в себя первую заднюю крышку 380, частичную область первого корпуса 310, прилегающую к первой задней крышке 380, вторую заднюю крышку 390, и частичную область второго корпуса 320, прилегающую ко второй задней крышке 390.
[0056] Согласно различным вариантам осуществления раскрытия, дисплей 200 может относиться к дисплею, в котором по меньшей мере часть является деформируемой в плоскую поверхность или изогнутую поверхность. Согласно варианту осуществления раскрытия, дисплей 200 может включать в себя область 203 складывания, первую область 201, расположенную с одной стороны от области 203 складывания (например, с левой стороны от области 203 складывания, проиллюстрированной на фиг. 2), и вторую область 202, расположенную с другой стороны от области 203 складывания (например, с правой стороны от области 203 складывания, проиллюстрированной на фиг. 2).
[0057] Однако, разделение области дисплея 200 является иллюстративным, и дисплей 200 может быть разделен на множество областей (например, четыре или более областей или две области) в зависимости от конструкции или их функций. Например, в варианте осуществления, проиллюстрированном на фиг. 2, область дисплея 200 может быть разделена областью 203 складывания или осью складывания (осью A), простирающейся параллельно оси y. Однако, в другом варианте осуществления раскрытия, область дисплея 200 может быть разделена на основе другой области складывания (например, области складывания, параллельной оси x) или другой оси складывания (например, оси складывания, параллельной оси x). Согласно варианту осуществления раскрытия, дисплей 200 может быть соединен с или расположен рядом с чувствительной к касаниям схемой, датчиком давления, который способен измерять интенсивность касания (давления), и/или цифровым преобразователем, выполненным с возможностью обнаруживать перо стилуса с магнитным типом поля.
[0058] Согласно различным вариантам осуществления раскрытия, первая область 201 и вторая область 202 могут иметь в общем симметричные формы относительно области 203 складывания. Однако, в отличие от первой области 201, вторая область 202 может включать в себя выемку, вырезанную вследствие присутствия области 324 датчиков, но может быть симметричной первой области 201 в области, отличной от области 524 датчиков. Другими словами, первая область 201 и вторая область 202 могут включать в себя части, имеющие взаимно симметричные формы, и части, имеющие взаимно асимметричные формы.
[0059] Далее здесь будут описаны действия первого корпуса 310 и второго корпуса 320 согласно состояниям электронного устройства 101 (например, плоское или разложенное состояние и сложенное состояние) и соответствующих областей дисплея 200.
[0060] Согласно различным вариантам осуществления раскрытия, когда электронное устройство 101 находится в разложенном состоянии (плоском состоянии) (например, фиг. 2), первый корпус 310 и второй корпус 320 могут быть расположены образующими угол 180° между собой и быть обращенными в одном и том же направлении. Поверхность первой области 201 и поверхность второй области 202 дисплея 200 образуют 180° относительно друг друга и могут быть обращены в одном и том же направлении (например, переднем направлении электронного устройства). Область 203 складывания может образовывать ту же плоскость, что и первая область 201, и вторая область 202.
[0061] Согласно различным вариантам осуществления раскрытия, когда электронное устройство 101 находится в сложенном состоянии (см. фиг. 3), первый корпус 310 и второй корпус 320 могут быть расположены обращенными друг к другу. Поверхность первой области 201 и поверхность второй области 202 дисплея 200 могут быть обращены друг к другу, в то же время формируя острый угол (например, угол между 0 и 10 градусами) относительно друг друга. По меньшей мере часть области 203 складывания может быть выполнена в виде изогнутой поверхности, имеющей заданный изгиб.
[0062] Согласно различным вариантам осуществления раскрытия, когда электронное устройство 101 находится в промежуточном состоянии (см. фиг. 3), первый корпус 310 и второй корпус 320 могут быть расположены образующими заданный угол относительно друг друга. Поверхность первой области 201 и поверхность второй области 202 дисплея 200 могут образовывать угол больше угла в сложенном состоянии и меньше угла в разложенном состоянии. По меньшей мере часть области 203 складывания может быть выполнена в виде изогнутой поверхности, имеющей заданный изгиб, и изгиб в этом случае может быть меньше изгиба в сложенном состоянии.
[0063] Фиг. 3 является покомпонентным видом в перспективе, иллюстрирующим электронное устройство согласно варианту осуществления раскрытия.
[0064] Обращаясь к фиг. 3, электронное устройство 101 может включать в себя складной корпус 300, дисплей 200, шарнирную конструкцию 302, узел 350 держателей и блок 360 подложки. Складной корпус 300 может включать в себя первый корпус 310, второй корпус 320, узел 350 держателей, первую заднюю крышку 380 и вторую заднюю крышку 390. Конфигурация складного корпуса 300 и дисплея 200 по фиг. 3 может быть частично или полностью такой же, как и конфигурация складного корпуса 300 и дисплея 200 по фиг. 1.
[0065] Согласно различным вариантам осуществления раскрытия, узел 350 держателей может включать в себя первую среднюю пластину 352 и вторую среднюю пластину 354. Между первой средней пластиной 352 и второй средней пластиной 354 может быть расположена шарнирная конструкция 302. Если на шарнирную конструкцию 302 смотреть снаружи, шарнирная конструкция 302 может быть покрыта крышкой шарнира (например, крышкой 330 шарнира на фиг. 3). Согласно варианту осуществления раскрытия, на узле 350 держателей в пределах первой средней пластины 352 и второй средней пластины 354 может быть расположена печатная плата (например, гибкая печатная плата (FPCB)).
[0066] Согласно различным вариантам осуществления раскрытия, блок 360 платы может включать в себя первую схемную (монтажную) плату 362, расположенную на первой средней пластине 352, и вторую схемную плату 364, расположенную на второй средней пластине 354. Первая схемная плата 362 и вторая схемная плата 364 могут быть расположены в пространстве, образованном узлом 350 держателей, первым корпусом 310, вторым корпусом 320, первой задней крышкой 380 и второй задней крышкой 390. На первой схемной плате 362 и второй схемной плате 364 могут быть установлены компоненты для реализации различных функций электронного устройства 101.
[0067] Согласно различным вариантам осуществления раскрытия, первый корпус 310 и второй корпус 320 могут быть собраны таким образом, чтобы быть присоединенными к противоположным сторонам узла 350 держателей в состоянии, в котором дисплей 200 присоединяется к узлу 350 держателей. Согласно варианту осуществления раскрытия, первый корпус 310 может включать в себя первый боковой элемент 311, окружающий по меньшей мере часть боковой поверхности первой средней пластины 352, и второй корпус 320 может включать в себя второй боковой элемент 321, окружающий по меньшей мере часть боковой поверхности второй средней пластины 354. Первый корпус 310 может включать в себя первую поворотную поддерживающую (опорную) поверхность 312, а второй корпус 320 может включать в себя вторую поворотную поддерживающую поверхность 322, которая соответствует первой поворотной поддерживающей поверхности 312. Первая поворотная опорная поверхность 312 и вторая поворотная опорная поверхность 322 могут включать в себя изогнутые поверхности, соответствующие изогнутым поверхностям, включенным в крышку 330 шарнира. Согласно варианту осуществления раскрытия, первый боковой элемент 311 окружает по меньшей мере часть между первой поверхностью 310a и второй поверхностью 310b и может включать в себя первую боковую поверхность (например, первую боковую поверхность 311a на фиг. 1), перпендикулярную упомянутому первому направлению или упомянутому второму направлению. Согласно варианту осуществления раскрытия, второй боковой элемент 321 может окружать по меньшей мере часть между третьей поверхностью 320a и четвертой поверхностью 320b и может включать в себя вторую боковую поверхность (например, вторую боковую поверхность 321a на фиг. 1), перпендикулярную упомянутому третьему направлению или упомянутому четвертому направлению.
[0068] Согласно варианту осуществления раскрытия, когда электронное устройство 101 находится в разложенном состоянии (например, электронное устройство на фиг. 1), первая поворотная поддерживающая поверхность 312 и вторая поворотная поддерживающая поверхность 322 могут покрывать крышку 330 шарнира, и крышка 330 шарнира может не быть открытой на задней поверхности электронного устройства 101 или может быть открытой минимально. В качестве еще одного варианта осуществления раскрытия, когда электронное устройство 101 находится в сложенном состоянии (например, электронное устройство на фиг. 2), первая поворотная поддерживающая поверхность 312 и вторая поворотная поддерживающая поверхность 322 могут поворачиваться вдоль изогнутой поверхности, включенной в крышку 330 шарнира, так что крышка 330 шарнира может быть открыта на задней поверхности электронного устройства 101 максимально.
[0069] Фиг. 4 является видом в сечении, взятом по линии B-B' на фиг. 3 согласно варианту осуществления раскрытия.
[0070] Обращаясь к фиг. 4, дисплей 200 может включать в себя компоненты для визуального предоставления информации наружу (например, пользователю) электронного устройства 101. Конфигурация дисплея 200 по фиг. 4 может быть целиком или частично такой же, как и конфигурация дисплея 200 по фиг. 1 или 3.
[0071] Согласно различным вариантам осуществления раскрытия, дисплей 200 может включать в себя по меньшей мере одно из защитной пленки 210, предназначенной для защиты внешней поверхности дисплея 200, оконного элемента 220, расположенного под защитной пленкой 210 (например, в направлении z), поляризующего слоя 230, расположенного на оконном элементе 220 с помощью адгезива 222, панели 240 отображения, расположенной под поляризующим слоем 230 и выполненной с возможностью отображать визуальную информацию, сгибающегося защитного слоя (BPL) 250, предназначенного для защиты панели 240 отображения, первой защитной пленки 262, расположенной под панелью 240 отображения, прокладочного (амортизирующего) слоя 270, расположенного под первой защитной пленкой 262, поддерживающей дисплей пластины 280, расположенной под прокладочным слоем 270, столбикового разделителя 290, отделяющего подложку (например, подложку 292 цветного фильтра и TFT-подложку 294), или второй защитной пленки 264.
[0072] Согласно различным вариантам осуществления раскрытия, по меньшей мере часть оконного элемента 220 может быть выполнена из материала, который является по существу прозрачным и гибким. Например, оконный элемент 220 может быть выполнен из сверхтонкого стекла (UTG) или полиимидной пленки. Панель 240 отображения может быть открыта наружу электронного устройства 101 через оконный элемент 220. Согласно варианту осуществления раскрытия, защитная пленка 210 и/или оконный элемент 220 могут интерпретироваться как прозрачная крышка.
[0073] Согласно различным вариантам осуществления раскрытия, часть панели 240 отображения может быть изогнута, и изогнутая часть панели 240 отображения может определяться как согнутый участок 242. Согласно варианту осуществления раскрытия, согнутый участок 242 может быть электрически соединен с электронным компонентом (например, схемой возбуждения дисплея). Согласно варианту осуществления раскрытия, панель 240 отображения может простираться через согнутый участок 242 и может окружать по меньшей мере часть других компонентов дисплея 200 (например, прокладочный слой 270 или поддерживающую дисплей пластину 280). Согласно варианту осуществления раскрытия, панель 240 отображения может быть соединена со схемой возбуждения дисплея способом микросхемы на пластике (COP). Согласно варианту осуществления раскрытия, по меньшей мере панель отображения и/или сгибающийся защитный слой могут быть покрыты декоративным элементом (например, декоративным элементом по фиг. 5).
[0074] Согласно различным вариантам осуществления раскрытия, сгибающийся защитный слой 250 может уменьшать растягивающее напряжение, прикладываемое к панели 240 отображения. Согласно варианту осуществления раскрытия, сгибающийся защитный слой 250 может простираться вдоль согнутого участка 242 панели 240 отображения. Сгибающийся защитный слой 250 может поддерживать согнутый участок 242 таким образом, что согнутый участок 242 изгибается по нейтральной плоскости.
[0075] Согласно различным вариантам осуществления раскрытия, дисплей 200 может включать в себя первое разделительное пространство g1. По меньшей мере часть первого разделительного пространства g1 может быть окружена панелью 240 отображения, сгибающимся защитным слоем 250 и поляризующим слоем 230. Например, сгибающийся защитный слой 250 и поляризующий слой 230 могут быть расположены на панели 240 отображения разнесенными друг от друга в направлении ширины электронного устройства 101 (например, направлении оси x). Поскольку первое разделительное пространство g1 физически открыто наружу электронного устройства (например, электронного устройства 101 на фиг. 1), когда не существует разрядной конструкции, импульсное перенапряжение (импульсное перенапряжение 800 на фиг. 5) (например, статический электрический разряд) может быть введен в панель 240 отображения через первое разделительное пространство g1. Со ссылкой на фиг. 5 и 6 ниже будет описана конструкция для уменьшения импульсного перенапряжения 800, вводимого в панель 240 отображения через первое разделительное пространство g1.
[0076] Фиг. 5 является видом в сечении, взятом по линии A-A' на фиг. 1, согласно варианту осуществления раскрытия. Фиг. 6 является видом в сечении, взятом по линии A-A' на фиг. 1, согласно варианту осуществления раскрытия.
[0077] Обращаясь к фиг. 5 и 6, электронное устройство 101 может включать в себя поддерживающий элемент 400 (например, проводящий элемент), декоративный элемент 500 (например, защитный элемент), и проводящий элемент 600 (например, проводящий слой). Конфигурация поддерживающего элемента 400 по фиг. 5 и 6 может быть целиком или частично такой же, как и конфигурация складного корпуса 300 по фиг. 3.
[0078] Согласно различным вариантам осуществления раскрытия, поддерживающий элемент 400 может поддерживать компоненты электронного устройства 101. Например, поддерживающий элемент 400 может поддерживать дисплей 200. Согласно варианту осуществления раскрытия, поддерживающий элемент 400 может размещать электронные компоненты электронного устройства 101. Например, на поддерживающем элементе 400 может быть расположен электронный компонент (например, батарея (не проиллюстрирована)) электронного устройства 101. Согласно варианту осуществления раскрытия, поддерживающий элемент 400 может быть соединен с декоративным элементом 500.
[0079] Согласно различным вариантам осуществления раскрытия, поддерживающий элемент 400 может образовывать часть внешней поверхности электронного устройства 101. Например, поддерживающий элемент 400 может образовывать часть боковой поверхности (например, первой боковой поверхности 311a или второй боковой поверхности 321a на фиг. 1) электронного устройства 101.
[0080] Согласно различным вариантам осуществления раскрытия, поддерживающий элемент 400 может быть выполнен из смеси проводящего материала и изоляционного материала. Например, поддерживающий элемент 400 может включать в себя металлическую область 410 (например, проводящий элемент), выполненный из металла (например, нержавеющей стали или алюминия), и полимерную область 440, выполненную из полимера (смолы) (например, пластмассы). Согласно варианту осуществления раскрытия, полимерная область 440 может быть отформована с помощью инжекционного прессования.
[0081] Согласно различным вариантам осуществления раскрытия, металлическая область 410 поддерживающего элемента 400 может обеспечивать часть пути разряда. Например, металлическая область 410 может обеспечивать площадку заземления и может быть электрически соединена с линией заземления, предусмотренной на печатной плате (например, печатной плате 360 на фиг. 3).
[0082] Согласно различным вариантам осуществления раскрытия, интерференция радиоволн полимерной областью 440 поддерживающего элемента 400 может быть меньше интерференции радиоволн металлической областью 410. Например, полимерная область 440 может быть расположена на поддерживающем элементе 400 соответствующей антенной конструкции (не проиллюстрирована) электронного устройства 101 с тем, чтобы обеспечивать путь для сигнала, излучаемого от антенной конструкции. Согласно варианту осуществления раскрытия, плотность полимерной области 440 может быть меньше плотности металлической области 410, и поддерживающий элемент 400, включающий в себя полимерную область 440, может быть легче поддерживающего элемента, выполненного только из металла.
[0083] Согласно различным вариантам осуществления раскрытия, металлическая область 410 и полимерная область 440 поддерживающего элемента 400 могут быть размещены в различных конструкциях. Согласно варианту осуществления раскрытия, металлическая область 410 может включать в себя первую металлическую область 420, образующую кромку поддерживающего элемента 400. Первая металлическая область 420 может включать в себя третью поверхность 400c поддерживающего элемента, которая является боковой поверхностью поддерживающего элемента 400. Согласно варианту осуществления раскрытия, металлическая область 410 может включать в себя вторую металлическую область 430, выполненную с возможностью поддерживать дисплей 200. Вторая металлическая область 430 может размещать электронный компонент (например, непроиллюстрированную батарею) или печатную плату (не проиллюстрирована)) электронного устройства 101. Согласно варианту осуществления раскрытия, полимерная область 440 может быть расположена между первой металлической областью 420 и второй металлической областью 430.
[0084] Согласно различным вариантам осуществления раскрытия, поддерживающий элемент 400 может включать в себя по меньшей мере один выступ (например, первый выступ 422 или второй выступ 432), электрически соединенный с проводящим элементом 600, описываемый ниже. Согласно варианту осуществления (например, фиг. 5) раскрытия, первая металлическая область 420 может включать в себя первый выступ 422, электрически соединенный с проводящим элементом 600. Например, первая металлическая область 420 может простираться в направлении ширины электронного устройства 101 (например, направлении оси x), чтобы размещать часть декоративного элемента 500, расположенного на поддерживающем элементе 400 (например, третью область 530 декоративного элемента). Первый выступ 422 может простираться от первой металлической области 420 и выступать к проводящему элементу 600. Первый выступ 422 может быть объединен с первой металлической областью 420. Согласно варианту осуществления (например, фиг. 6) раскрытия, вторая металлическая область 430 может включать в себя второй выступ 432, электрически соединенный с проводящим элементом 600. Например, вторая металлическая область 430 может простираться в направлении ширины электронного устройства 101 (например, направлении оси x) для электрического соединения с проводящим элементом 600. Нижняя поверхность декоративного элемента 500 (например, третья область 530 декоративного элемента) может быть соединена с полимерной областью 540, расположенной между первой металлической областью 420 и второй металлической областью 430. Второй выступ 432 может простираться от второй металлической области 430 и выступать к проводящему элементу 600. Второй выступ 432 может быть объединен со второй металлической областью 430.
[0085] Согласно варианту осуществления раскрытия, первый выступ 422 и второй выступ 432 могут быть размещены в продольном направлении электронного устройства 101 (например, направлении оси y). Согласно другому варианту осуществления раскрытия, может быть предусмотрено множество первых выступов 422 и вторых выступов 432. Например, множество первых выступов 422 или вторых выступов 432 могут быть предусмотрены разнесенными друг от друга относительно отверстия (например, сквозного отверстия 460 на фиг. 8) или сегмента (например, сегмента 450 на фиг. 8) в поддерживающем элементе 400, соответственно.
[0086] Согласно различным вариантам осуществления раскрытия, поддерживающий элемент 400 может включать в себя по меньшей мере один из первого выступа 422 и второго выступа 432. Согласно варианту осуществления раскрытия, часть поддерживающего элемента 400 может включать в себя первый выступ 422, а другая часть поддерживающего элемента 400, которая разнесена от первого выступа 422 на поддерживающем элементе 400 в продольном направлении электронного устройства 101 (например, направлении оси y на фиг. 1), может включать в себя второй выступ 432. Согласно другому варианту осуществления раскрытия, поддерживающий элемент 400 может включать в себя только первый выступ 422 или только второй выступ 432.
[0087] Согласно различным вариантам осуществления раскрытия, декоративный элемент 500 может окружать по меньшей мере часть дисплея 200. Согласно варианту осуществления раскрытия, декоративный элемент 500 может окружать по меньшей мере часть пространства между поддерживающим элементом 400 и дисплеем 200. Например, декоративный элемент 500 может быть расположен на первой поверхности 400a поддерживающего элемента и второй поверхности 400b поддерживающего элемента для поддерживающего элемента 400 и может покрывать часть дисплея 200 (например, кромку дисплея 200). Согласно варианту осуществления изобретения, декоративный элемент 500 может быть разнесен от дисплея 200 для того, чтобы предотвращать столкновение с дисплеем 200, когда электронное устройство 101 складывается. Например, декоративный элемент 500 может быть разнесен от дисплея 200 в направлении толщины (например, направлении оси z) и направлении ширины (например, направлении оси x).
[0088] Согласно различным вариантам осуществления раскрытия, декоративный элемент 500 может включать в себя внутреннюю поверхность 500a декоративного элемента, обращенную внутрь электронного устройства 101, и внешнюю поверхность 500b декоративного элемента, обращенную наружу электронного устройства 101. Внутренняя поверхность 500a декоративного элемента может включать в себя первую область 510 декоративного элемента (например, проводящую часть боковой стенки), обращенную к поддерживающему элементу 400 (например, внутреннюю верхнюю поверхность декоративного элемента 500), и вторую область 520 декоративного элемента (например, проводящую поддерживающую часть) (например, внутреннюю боковую поверхность декоративного элемента 500), простирающуюся от первой области 510 декоративного элемента и обращенную в направлении, в котором обращена первая область 510 декоративного элемента. Например, вторая область 520 декоративного элемента может быть обращена к боковой поверхности дисплея 200 (например, согнутому участку 242 или сгибающемуся защитному слою 250 на фиг. 4).
[0089] Согласно различным вариантам осуществления раскрытия, декоративный элемент 500 может быть выполнен из изолирующего материала. Например, декоративный элемент 500 может быть выполнен из полимерного материала (например, пластмассы). Согласно варианту осуществления раскрытия, электропроводность декоративного элемента 500 может быть ниже электропроводности металлической области 410 или проводящего элемента 600 поддерживающего элемента 400.
[0090] Согласно различным вариантам осуществления раскрытия, проводящий элемент 600 может образовывать путь разряда электронного устройства 101. Например, проводящий элемент 600 может переносить энергию (мощность) (например, импульсное перенапряжение 800), подаваемую на электронное устройство 101 снаружи электронного устройства 101, на заземление. Например, проводящий элемент 600 может быть электрически соединен с металлической областью 410 поддерживающего элемента 400. Фраза "электрически соединен" здесь может быть использована для определения конструкций, которые непосредственно соединяются (например, контактируют) друг с другом, или конструкций, которые расположены достаточно близко друг к другу, чтобы быть способными вызывать перемещение электронов согласно току.
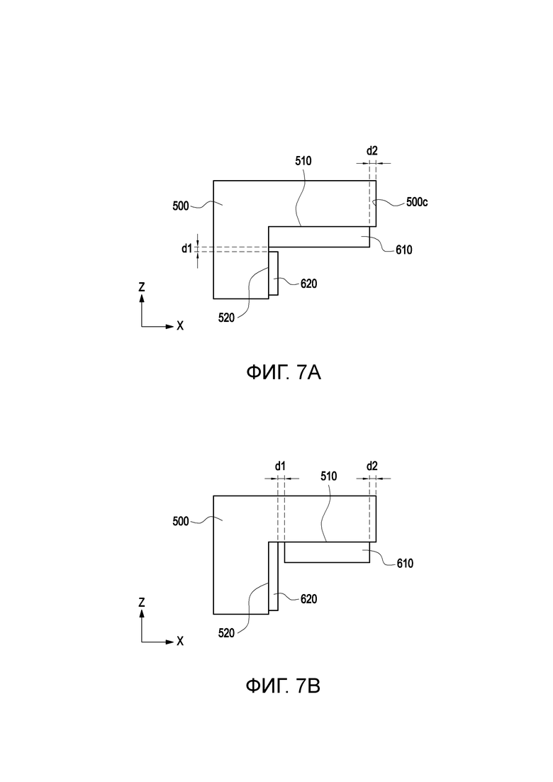
[0091] Согласно различным вариантам осуществления раскрытия, проводящий элемент 600 может быть расположен на декоративном элементе 500. Например, проводящий элемент 600 может быть расположен на внутренней поверхности 500a декоративного элемента. Внутренняя поверхность 500a декоративного элемента может быть обращена к части (например, первой области 510 декоративного элемента) декоративного элемента 500, который обращен к сгибающемуся защитному слою (например, сгибающемуся защитному слою 250 на фиг. 4) или согнутому участку (например, согнутому участку 242 на фиг. 4) дисплея 200). Согласно варианту осуществления раскрытия, проводящий элемент 600 может быть обращен к сгибающемуся защитному слою 250 или согнутому участку 242. Можно уменьшать импульсное перенапряжение 800, вводимое в первое разделительное пространство (например, первое разделительное пространство g1 на фиг. 4) проводящим элементом 600, обращенным к сгибающемуся защитному слою 250 или согнутому участку 242.
[0092] Согласно различным вариантам осуществления раскрытия, проводящий элемент 600 может простираться параллельно оси складывания (например, оси A складывания на фиг. 1) электронного устройства 101. Например, проводящий элемент 600 может простираться в продольном направлении (например, направлении оси y) электронного устройства 101.
[0093] Согласно различным вариантам осуществления раскрытия, проводящий элемент 600 может включать в себя по меньшей мере одно из проводящего листа, проводящего полотна, проводящей пленки, проводящей краски или слоя гальванического покрытия. Согласно варианту осуществления раскрытия, проводящий лист может быть листом, включающим в себя проводящий металл (например, по меньшей мере одно из меди, никеля, золота, серебра или алюминия). Согласно варианту осуществления раскрытия, проводящее полотно может быть выполнено из тканого полотна или нетканого полотна. Проводящее полотно может включать в себя пряди и волокна из металла (например, по меньшей мере одного из меди, никеля, золота, серебра или алюминия). Согласно варианту осуществления раскрытия, проводящая пленка может быть пленкой, включающей в себя проводящий металл (например, по меньшей мере одно из меди, никеля, золота, серебра или алюминия). Согласно варианту осуществления раскрытия, проводящая пленка может быть краской, включающей в себя частицы металла (например, по меньшей мере одного из меди, никеля, золота, серебра или алюминия). Согласно варианту осуществления раскрытия, проводящий элемент 600 может быть интерпретирован как печатный слой, включающий в себя проводящую краску. Например, проводящий элемент 600 может быть проводящими чернилами, остающимися после нанесения с помощью диспенсера вместе с полимерным материалом и затем испарения полимерного материала с помощью лазера. Согласно варианту осуществления раскрытия, проводящий элемент 600 может быть слоем гальванического покрытия. Например, проводящий элемент 600 может быть слоем гальванического покрытия, расположенным на рисунке, образованном с помощью лазера.
[0094] Согласно различным вариантам осуществления раскрытия, проводящий элемент 600 может быть проводящим материалом, образованным на декоративном элементе 500 с помощью вакуумного осаждения. Согласно варианту осуществления раскрытия, проводящий элемент 600 может быть пленкой или покрытием, полученным с помощью вакуумного осаждения проводящего материала (например, по меньшей мере одного из меди, никеля, золота, серебра или алюминия) на декоративном элементе 500. Например, проводящий элемент 600 может быть объединен с декоративным элементом 500 путем осаждения из паровой фазы на внутренней поверхности 500a первой области 510 декоративного элемента.
[0095] Согласно различным вариантам осуществления раскрытия, электронное устройство 101 может включать в себя изоляционный элемент 700 для блокирования втекания постороннего вещества во второе разделительное пространство g2 между декоративным элементом 500 и дисплеем 200. Согласно варианту осуществления раскрытия, изоляционный элемент 700 может быть упругим пористым материалом (например, губкой) или буферным материалом (например, мохером или щетиной).
[0096] Согласно различным вариантам осуществления раскрытия, проводящий элемент 700 может быть расположен на декоративном элементе 600. Например, проводящий элемент 600 может быть расположен между декоративным элементом 500 и изоляционным элементом 700, выполненным из полимерного материала. Согласно варианту осуществления раскрытия, изоляционный элемент 700 может быть обращен к первой области 510 декоративного элемента 500. Например, изоляционный элемент 700 может быть расположен на части проводящего элемента 600 (например, первого проводящего элемента 610 по фиг. 7A). Согласно варианту осуществления раскрытия, декоративный элемент 500 и изоляционный элемент 700 могут направлять поток энергии (например, импульсное перенапряжение 800), переносимой проводящему элементу 600. Например, декоративный элемент 500 и изоляционный элемент 700 могут покрывать первую поверхность 600c проводящего элемента 600, обращенную к декоративному элементу 500, и вторую поверхность 600d проводящего элемента 600, обращенную к дисплею 200, тем самым уменьшая энергию, испускаемую через первую поверхность 600c или вторую поверхность 600d. Согласно варианту осуществления раскрытия, проводящий элемент 600 может включать в себя первый конец 600a, открытый наружу электронного устройства 101, и второй конец 600d, расположенный напротив первого конца 600a и обращенный к металлической области 410. Энергия, передаваемая первому концу 600a проводящего элемента 600, может быть передана второму концу 600b, расположенному напротив первого конца 600a.
[0097] Фиг. 5 и 6 иллюстрируют конструкцию, в которой поддерживающий элемент 400, декоративный элемент 500, проводящий элемент 600 и изоляционный элемент 700 электронного устройства 101 расположены на левой стороне электронного устройства 101 на фиг. 1 (например, сечение первого корпуса 310 (например, линия A-A'), но это является лишь примером для описания, и конструкция по раскрытию не ограничивается этим. Согласно варианту осуществления раскрытия, поддерживающий элемент 400, декоративный элемент 500, проводящий элемент 600 и изоляционный элемент 700 могут быть расположены в корпусе, в котором находятся сгибающийся защитный слой 250 или согнутый участок 242 (например, первом корпусе 310 или втором корпусе 320 на фиг. 1). Например, когда сгибающийся защитный слой 250 или сгибающаяся часть 242 дисплея 200 расположены на правой стороне электронного устройства 101, поддерживающий элемент 400, декоративный элемент 500, проводящий элемент 600 и изоляционный элемент 700 электронного устройства 101 могут находиться на правой стороне электронного устройства 101 (например, втором корпусе 320, направление +x) по фиг. 1.
[0098] Фиг. 7A является видом, иллюстрирующим проводящий элемент, соединенный с декоративным элементом согласно варианту осуществления раскрытия, фиг. 7B является видом, иллюстрирующим проводящий элемент, соединенный с декоративным элементом согласно варианту осуществления раскрытия, и фиг. 7C является видом, иллюстрирующим проводящий элемент, соединенный с декоративным элементом согласно варианту осуществления раскрытия.
[0099] Обращаясь к фиг. 7A-7C, проводящий элемент 600 может быть расположен на декоративном элементе 500 в различных конструкциях. Конфигурация декоративного элемента 500, проводящего элемента 600 и изоляционного элемента 700 на фиг. 7A, 7B и 7C может быть полностью или частично такой же, как и конфигурация декоративных элементов 500, проводящего элемент 600 и изоляционного элемента 700 по фиг. 5 и 6.
[00100] Согласно различным вариантам осуществления раскрытия, проводящий элемент 600 может включать в себя множество проводящих элементов (например, первый проводящий элемент 610 и второй проводящий элемент 620), размещенных параллельно друг другу. Например, первый проводящий элемент 610 может быть расположен в первой области 510 декоративного элемента, а второй проводящий элемент 620 может быть расположен во второй области 520 декоративного элемента. Согласно варианту осуществления раскрытия, первый проводящий элемент 610 и второй проводящий элемент 620 могут быть электрически соединены друг с другом. Например, энергия, передаваемая первому проводящему элементу 610, может быть передана второму проводящему элементу 620.
[00101] Согласно различным вариантам осуществления раскрытия, первый проводящий элемент 610 и второй проводящий элемент 620 могут быть разнесены друг от друга на первое расстояние d1. Первое расстояние d1 может быть расстоянием, при котором энергия, подаваемая на первый проводящий элемент 610, может быть передана второму проводящему элементу 620 вследствие внешней электрической стимуляции (например, статического электричества). Согласно варианту осуществления (например, фиг. 7A) раскрытия, первый проводящий элемент 610 может простираться от первой области 510 декоративного элемента до второй области 520 декоративного элемента, и второй проводящий элемент 620 может быть расположен на второй области 520 декоративного элемента. Согласно другому варианту осуществления (например, фиг. 7B) раскрытия, второй проводящий элемент 620 может простираться от второй области 520 декоративного элемента до первой области 510 декоративного элемента, и первый проводящий элемент 610 может быть расположен на первой области 510 декоративного элемента. Согласно другому варианту осуществления (не проиллюстрирован) раскрытия, первый проводящий элемент 610 и второй проводящий элемент 620 могут быть в соприкосновении (контакте) друг с другом.
[00102] Согласно различным вариантам осуществления раскрытия, проводящий элемент 600 может быть объединенным. Обращаясь к фиг. 7C, проводящий элемент 600 может быть выполнен в изогнутой форме, соответствующей изогнутому декоративному элементу 500. Проводящий элемент 600 может простираться от первой области 510 декоративного элемента до второй области 520 декоративного элемента.
[00103] Согласно различным вариантам осуществления раскрытия, первый проводящий элемент 610 может быть разнесен от конца 500c декоративного элемента 500 на второе расстояние d2. Согласно варианту осуществления раскрытия, второе расстояние d2 может быть 500 мкм или менее. Например, второе расстояние d2 может быть 150 мкм или менее. Например, декоративный элемент 500 может простираться или выступать дальше проводящего элемента 600 в направлении ширины электронного устройства 101 (например, направлении оси x) на второе расстояние d2. Поскольку импульсное перенапряжение, переносимое на первый проводящий элемент 610 (например, импульсное перенапряжение 800 по фиг. 5), переносится на поддерживающий элемент (например, поддерживающий элемент 400 на фиг. 5) через второй проводящий элемент 620, второе расстояние d2 может быть уменьшено, и ширина декоративного элемента 500 может быть уменьшена.
[00104] Согласно различным вариантам осуществления раскрытия, изоляционный элемент 700 может быть расположен на по меньшей мере части проводящего элемента 600. Например, изоляционный элемент 700 может быть расположен на первом проводящем элементе 610 или втором проводящем элементе 620. В другом примере (например, фиг. 7C), изоляционный элемент 700 может быть расположен на части объединенного проводящего элемента 600. В качестве другого примера, изоляционный элемент 700 может покрывать весь проводящий элемент 600. Согласно варианту осуществления раскрытия, изоляционный элемент 700 может быть расположен под проводящим элементом 600. Например, проводящий элемент 600 может выступать дальше изоляционного элемента 700 в направлении ширины электронного устройства 101 (например, направлении оси x) или может быть расположен по существу на той же линии, что и изоляционный элемент 700. Изоляционный элемент 700 может быть расположен так, что изоляционный элемент 700 не выступает дальше проводящего элемента 600 в направлении ширины электронного устройства 101 (например, направлении оси x).
[00105] Каждая из фиг. 7A, 7B и 7C иллюстрирует конструкцию, в которой первая область 510 декоративного элемента 500 перпендикулярна второй области 520 декоративного элемента, но угол между первой областью 510 декоративного элемента и второй областью 520 декоративного элемента не ограничивается 90º. Например, первая область 510 декоративного элемента и вторая область 520 декоративного элемента могут быть областями, обращенными в различных направлениях на внутренней поверхности декоративного элемента 500 (например, внутренней поверхности 500a декоративного элемента на фиг. 5).
[00106] Согласно варианту осуществления раскрытия, материал первого проводящего элемента 610 и второго проводящего элемента 620 могут отличаться друг от друга. Например, первый проводящий элемент 610 может быть выполнен из проводящего полотна, а второй проводящий элемент 620 может быть выполнен из проводящего листа. В качестве другого примера, первый проводящий элемент 610 может быть выполнен из проводящего листа, а второй проводящий элемент 620 может быть выполнен из проводящего полотна. Согласно другому варианту осуществления раскрытия, материал первого проводящего элемента 610 и материал второго проводящего элемента 620 могут быть одинаковыми. Например, первый проводящий элемент 610 и второй проводящий элемент 620 могут быть выполнены из проводящего листа, содержащего медь.
[00107] Фиг. 8 является видом спереди части поддерживающего элемента согласно варианту осуществления раскрытия. Фиг. 9A является видом, иллюстрирующим проводящий элемент, размещенный соответствующим поддерживающему элементу согласно варианту осуществления раскрытия, фиг. 9B является видом, иллюстрирующим проводящий элемент, размещенный соответствующим поддерживающему элементу согласно варианту осуществления раскрытия, и фиг. 9C является видом, иллюстрирующим проводящий элемент, размещенный соответствующим поддерживающему элементу согласно варианту осуществления раскрытия.
[00108] Обращаясь к фиг. 8, 9A, 9B и 9C, проводящий элемент 600 может быть размещен соответствующим поддерживающему элементу 400. Например, поддерживающий элемент 400 может включать в себя изолирующую конфигурацию (например, сегмент 450 или область, образованную путем инжекционного прессования (т.е., вторую металлическую область 430) на фиг. 5), и проводящую конфигурацию (например, металлическую область 410 на фиг. 5), проводящий элемент 600 может быть обращен к проводящей конфигурации, и декоративный элемент 500, который открыт, поскольку проводящий элемент 600 не размещен, может быть обращен к изолирующей конфигурации. Конфигурация поддерживающего элемента 400 по фиг. 8 и 10 может быть целиком или частично такой же, как конфигурация поддерживающего элемента 400 по фиг. 5 и 6, и конфигурация проводящего элемента 600 по фиг. 9A-9C и 10 может быть целиком или частично такой же, как конфигурация проводящего элемента 600 по фиг. 5 и 6.
[00109] Согласно различным вариантам осуществления раскрытия, поддерживающий элемент 400 может включать в себя сегмент 450. Согласно варианту осуществления раскрытия, поддерживающий элемент 400 может включать в себя множество кромок, разнесенных друг от друга (т.е., первую кромку 402, вторую кромку 404 и третью кромку 406). Частичная область поддерживающего элемента 400, в которой множество краев (кромок) 402, 404 и 406 разнесены друг от друга (например, первая область A1 или вторая область A2), может быть определена в качестве сегмента 450. Согласно варианту осуществления раскрытия, часть первой металлической области поддерживающего элемента 400 (например, первая металлическая область 420 на фиг. 5) разнесена (находится на расстоянии), и расстояние, на которое первая металлическая область 420 разнесена, может быть определено в качестве сегмента 450. Согласно варианту осуществления раскрытия, полимерная область поддерживающего элемента 400 (например, полимерная область 440 на фиг. 5) может быть расположена в сегменте 450 и может образовывать часть кромки поддерживающего элемента 400.
[00110] Согласно различным вариантам осуществления раскрытия, металлическая область поддерживающего элемента 400 (например, металлическая область 410 на фиг. 5) может включать в себя сквозное отверстие 460 для предоставления пути для радиочастотного (RF) сигнала. Согласно варианту осуществления раскрытия, полимерная область поддерживающего элемента 400 (например, полимерная область 440 на фиг. 5) может быть расположена в сквозном отверстии 460. Согласно варианту осуществления раскрытия, полимерная область 440, расположенная в сквозном отверстии 460, может быть непосредственно обращена к проводящему элементу 600. Согласно варианту осуществления раскрытия, поддерживающий элемент 400 может включать в себя множество сквозных отверстий (например, сквозное отверстие 460), разнесенных друг от друга относительно перемычки 470.
[00111] Согласно различным вариантам осуществления раскрытия, поддерживающий элемент 400 может иметь различные толщины. Например, толщина по меньшей мере одной из областей, определяющих по меньшей мере часть углового участка 401 поддерживающего элемента 400 (например, первой области A1 или третьей области A3) может быть меньше толщины другой области поддерживающего элемента (например, второй области A2). Согласно варианту осуществления раскрытия, по меньшей мере часть полимерной области углового участка (например, полимерной области 440 на фиг. 5) может быть исключена.
[00112] Согласно различным вариантам осуществления раскрытия, проводящий элемент 600 может включать в себя первый проводящий элемент 610 и второй проводящий элемент 620, которые обращены в различных направлениях относительно оси Ax1 сгибания декоративного элемента 500. Первый проводящий элемент 610 может быть расположен на первой области 510 декоративного элемента, а второй проводящий элемент 620 может быть расположен на второй области 520 декоративного элемента. Например, второй проводящий элемент 620 может быть размещен вдоль кромки поддерживающего элемента 400 (например, первой кромки 402), а первый проводящий элемент 610 может быть размещен параллельно второму проводящему элементу 620. В качестве другого примера, первый проводящий элемент 610 и второй проводящий элемент 620 могут быть расположены соприкасающимися друг с другом. Фиг. 9A, 9B и 9C иллюстрируют первую область 510 декоративного элемента и вторую область 520 декоративного элемента в виде плоских поверхностей для удобства описания. Однако, вторая область 520 декоративного элемента может быть изогнутой относительно первой области 510 декоративного элемента относительно оси Ax1 сгибания (например, фиг. 5). Согласно варианту осуществления раскрытия, ось Ax1 сгибания может быть осью, простирающейся параллельно оси складывания (например, оси A складывания на фиг. 1) электронного устройства (например, электронного устройства 101 по фиг. 1).
[00113] Согласно различным вариантам осуществления раскрытия, декоративный элемент 500 может быть непосредственно обращен к части поддерживающего элемента 400 (например, первой области A1 или второй области A2), в которой расположен сегмент 450. Согласно варианту осуществления раскрытия, декоративный элемент 500 может включать в себя первую часть S1, обращенную к первой области A1 поддерживающего элемента 400, в которой расположен первый сегмент 452, и вторую часть S2, обращенную ко второй области A2 поддерживающего элемента 400, в которой расположен второй сегмент 454. Например, первая часть S1 может покрывать по меньшей мере часть первой области A1 (например, первый сегмент 452), а вторая часть S2 может покрывать по меньшей мере часть второй области A2 (например, второй сегмент 454). Вторая часть S2 может быть областью декоративного элемента 500, открытой в пространство между (1-1)-ым проводящим элементом 612 и (1-2)-ым проводящим элементом 614 или пространство между (2-1)-ым проводящим элементом 622 и (2-2)-ым проводящим элементом 624.
[00114] Согласно различным вариантам осуществления раскрытия, декоративный элемент 500 может быть непосредственно обращен к части поддерживающего элемента 400 (например, первой области A1 или третьей области A3), определяющей часть углового участка 401. Согласно варианту осуществления раскрытия, декоративный элемент 500 может включать в себя первую часть S1, обращенную к первой области A1, и третью часть S3, обращенную к третьей области A3. Первая часть S1 и третья часть S3 могут быть открыты наружу декоративного элемента 500. Например, проводящий элемент 600 может не быть расположен на первой части S1 и третьей части S3.
[00115] Согласно различным вариантам осуществления раскрытия, декоративный элемент 500 может быть непосредственно обращен к сквозному отверстию 460 в поддерживающем элементе 400. Например, декоративный элемент 500 может включать в себя четвертую часть S4, обращенную к сквозному отверстию 460. Четвертая часть S4 может быть открыта наружу декоративного элемента 500. Например, проводящий элемент 600 может не быть расположен на четвертой части S4.
[00116] Согласно различным вариантам осуществления раскрытия, проводящий элемент 600 может быть расположен соответствующим сегменту 450 поддерживающего элемента 400. Например, проводящий элемент 600 может включать в себя множество проводящих элементов, разнесенных друг от друга относительно сегмента 450. Согласно варианту осуществления раскрытия, первый проводящий элемент 610 может включать в себя (1-1)-й проводящий элемент 612 и (1-2)-й проводящий элемент 614, разнесенные друг от друга относительно сегмента 450, и второй проводящий элемент 620 может включать в себя (2-1)-й проводящий элемент 622 и (2-2)-й проводящий элемент 624, разнесенные друг от друга относительно сегмента 450. Например, (1-1)-й проводящий элемент 612 и (1-2)-й проводящий элемент 614 могут быть разнесены друг от друга относительно второй части S2, а (2-1)-й проводящий элемент 622 и (2-2)-й проводящий элемент 624 могут быть разнесены друг от друга относительно второй части S2. Согласно другому варианту осуществления раскрытия, по меньшей мере один из первого проводящего элемента 610 или второго проводящего элемента 620 может быть расположен соответствующим множеству сегментов (например, первому сегменту 452 и второму сегменту 454). Например, второй проводящий элемент 620 может включать в себя по меньшей мере (2-1)-й проводящий элемент 622, (2-2)-й проводящий элемент 624, (2-3)-й проводящий элемент 626 или (2-4)-й проводящий элемент (628). (2-1)-й проводящий элемент 622 и (2-2)-й проводящий элемент 624 могут быть разнесены друг от друга относительно второй части S2, перекрывающей второй сегмент 454, а (2-3)-й проводящий элемент 626 и (2-4)-й проводящий элемент 628 могут быть разнесены друг от друга относительно первой части S1, перекрывающей первый сегмент 452.
[00117] Согласно различным вариантам осуществления раскрытия, множество проводящих элементов, разнесенных друг от друга, чтобы соответствовать сегменту 450, могут быть электрически соединены друг с другом. Например, (1-1)-й проводящий элемент 612 и (1-2)-й проводящий элемент 614 могут быть электрически соединены друг с другом, и (2-1)-й проводящий элемент 622 и (2-2)-й проводящий элемент 624 могут быть электрически соединены друг с другом. В качестве другого примера, (1-3)-й проводящий элемент 616 и (1-1)-й проводящий элемент 612 могут быть электрически соединены друг с другом, и (2-3)-й проводящий элемент 626 и (2-1)-й проводящий элемент 622 могут быть электрически соединены друг с другом.
[00118] Согласно различным вариантам осуществления раскрытия, проводящий элемент 600 может быть электрически соединен через другой проводящий элемент 600, который параллелен ему. Согласно варианту осуществления (например, фиг. 9B) раскрытия, (2-1)-й проводящий элемент 622 может быть электрически соединен с (2-3)-м проводящим элементом 626 через (1-1)-й проводящий элемент 612 и (1-3)-й проводящий элемент 616. Например, (2-1)-й проводящий элемент 622 может быть электрически соединен с (1-1)-м проводящим элементом 612, (2-3)-м проводящий элемент 626 может быть электрически соединен с (1-3)-м проводящим элементом 616, и (1-1)-й проводящий элемент 612 может быть электрически соединен с (1-3)-м проводящим элементом 616. Согласно другому варианту осуществления (не проиллюстрирован) раскрытия, (1-1)-й проводящий элемент 612 и (1-3)-й проводящий элемент 616 могут быть объединены в качестве первого проводящего элемента 610, а (2-1)-й проводящий элемент может быть электрически соединен с (2-3)-м проводящим элементом 626 через первый проводящий элемент 610.
[00119] Согласно различным вариантам осуществления раскрытия, проводящий элемент 600 может включать в себя третий проводящий элемент 630 и четвертый проводящий элемент 640, разнесенные друг от друга относительно сегмента 450 или второй части S2, обращенной к сегменту 450. Третий проводящий элемент 630 может быть расположен на первой области 510 декоративного элемента и второй области 520 декоративного элемента 500, и четвертый проводящий элемент 640 может быть расположен на первой области 510 декоративного элемента и второй области 520 декоративного элемента 500. Например, третий проводящий элемент 630 может включать в себя (3-1)-й проводящий элемент 632, расположенный в первой области 510 декоративного элемента, и (3-2)-й проводящий элемент 634, расположенный во второй области 520 декоративного элемента, и четвертый проводящий элемент 640 может включать в себя (4-1)-й проводящий элемент 642, расположенный в первой области 510 декоративного элемента, и (4-2)-й проводящий элемент 644, расположенный во второй области 520 декоративного элемента. Согласно варианту осуществления раскрытия, (3-1)-й проводящий элемент 632 и (3-2)-й проводящий элемент 634 объединяются друг с другом, и (4-1)-й проводящий элемент 642 и (4-2)-й проводящий элемент 644 могут быть объединены друг с другом. Согласно варианту осуществления раскрытия, третий проводящий элемент 630 и четвертый проводящий элемент 640 могут быть электрически соединены друг с другом.
[00120] Согласно различным вариантам осуществления раскрытия, проводящий элемент 600 может быть расположен соответствующим части углового участка 401 поддерживающего элемента 400. Например, первый проводящий элемент 610 и второй проводящий элемент 620 могут не быть расположены на первой части S1 и третьей части S3, которые обращены по меньшей мере к части углового участка 401. Согласно варианту осуществления раскрытия, область третьей части S3 во второй области 520 декоративного элемента может быть больше области третьей части S3 в первой области 510 декоративного элемента. Например, область (1-2)-го проводящего элемента 614, обращенная к выбросу электрического тока (импульсному перенапряжению) (например, импульсному перенапряжению 800 на фиг. 5), прикладываемому снаружи электронного устройства (например, электронного устройства 101 на фиг. 1), может быть больше области (2-2)-го проводящего элемента 624, обращенного к поддерживающему элементу (например, поддерживающему элементу 400 на фиг. 5).
[00121] Согласно различным вариантам осуществления раскрытия, проводящий элемент 600 может быть расположен соответствующим сквозному отверстию 460 в поддерживающем элементе 400. Например, второй проводящий элемент 620 может включать в себя (2-1)-й проводящий элемент 622 и 2-3-й проводящий элемент 626, разнесенные друг от друга относительно четвертой части S4. Согласно варианту осуществления раскрытия, по меньшей мере часть внешнего импульсного перенапряжения (например, импульсного перенапряжения 800 на фиг. 5), переносимого на частичную область первого проводящего элемента 610 (например, (1-1)-го проводящего элемента 612), смежного четвертой частью S4, может быть перенесена на (2-3)-й проводящий элемент 626 через (2-1)-й проводящий элемент 622 и (1-3)-й проводящий элемент 616.
[00122] Фиг. 10 является схематичным видом поддерживающего элемента согласно варианту осуществления раскрытия.
[00123] Обращаясь к фиг. 10, поддерживающий элемент 400 может включать в себя множество сквозных отверстий (например, сквозное отверстие 460). Например, металлическая область поддерживающего элемента 400 (например, металлическая область 410 на фиг. 5) может включать в себя верхнюю металлическую область 480 и нижнюю металлическую область 490, а поддерживающий элемент 400 может включать в себя верхнюю металлическую область 480, нижнюю металлическую область 490 и полимерную область, расположенную между верхней металлической областью 480 и нижней металлической областью 490 (например, полимерной областью на фиг. 5). Конфигурация поддерживающего элемента 400 по фиг. 10 может быть целиком или частично такой же, как конфигурация поддерживающего элемента 400 по фиг. 5 и 8.
[00124] Согласно различным вариантам осуществления раскрытия, сквозное отверстие 460 в поддерживающем элементе 400 может включать в себя по меньшей мере одно первое сквозное отверстие 462, выполненное в верхней металлической области 480, обращенной к передней поверхности (например, первой поверхности 310a и третьей поверхности 320a на фиг. 1) электронного устройства (например, электронного устройства 101 на фиг. 1), и вторые сквозные отверстия 464, выполненные в нижней металлической области 490, обращенной к задней поверхности (например, второй поверхности 310b и четвертой поверхности 320b на фиг. 1) электронного устройства 101. Согласно варианту осуществления раскрытия, поддерживающий элемент 400 может включать в себя сквозное отверстие 460 для того, чтобы уменьшать или предотвращать интерференцию (помехи) с радиочастотным сигналом, сформированным из электронного компонента (например, антенны (не проиллюстрирована)) электронного устройства (например, электронного устройства 101 на фиг. 1).
[00125] Согласно различным вариантам осуществления раскрытия, отношение (площади) металлической области (например, металлической области 410 на фиг. 5) к полимерной области (например, полимерной области 440 на фиг. 5) верхней металлической области 480 может быть больше отношения металлической области 410 к полимерной области 440 нижней металлической области 490. Например, суммарная площадь вторых сквозных отверстий 464, выполненных в нижней металлической области 490, может быть больше площади первого сквозного отверстия 462, образованного в верхней металлической области 480. В качестве другого примера, число вторых сквозных отверстий 464 может быть больше числа первых сквозных отверстий 462. Согласно варианту осуществления раскрытия, по мере того как отношение металлической области (например, металлической области 410 на фиг. 5) к полимерной области (например, полимерной области 440 на фиг. 5) верхней металлической области 480 увеличивается по сравнению с отношением металлической области 410 к полимерной области 440 нижней металлической области 490, область поддерживающего элемента 400, электрически соединенная с проводящим элементом (например, проводящим элементом 600 на фиг. 5), может увеличиваться.
[00126] Фиг. 11 является видом в сечении проводящего элемента согласно варианту осуществления раскрытия.
[00127] Обращаясь к фиг. 11, проводящий элемент 600 может включать в себя экранирующий слой 602, металлический слой 604, слой 606 проводящего адгезива и/или антиадгезионную ленту 608. Конфигурация проводящего элемента 600 по фиг. 11 может быть целиком или частично такой же, как конфигурация проводящего элемента 600 по фиг. 5 и 6.
[00128] Согласно различным вариантам осуществления раскрытия, экранирующий слой 602 может уменьшать или предотвращать видимость части проводящего элемента 600 (например, металлического слоя 604) снаружи электронного устройства (например, электронного устройства 101 на фиг. 1). Согласно варианту осуществления раскрытия, экранирующий слой 602 может быть обращен к декоративному элементу (например, декоративному элементу 500 на фиг. 5). Согласно варианту осуществления раскрытия, экранирующий слой 602 может быть изоляционной черной лентой.
[00129] Согласно различным вариантам осуществления раскрытия, металлический слой 604 может включать в себя проводящий металл. Согласно варианту осуществления раскрытия, металлический слой 604 может включать в себя первый металлический слой 604a, второй металлический слой 604b и третий металлический слой 604c, расположенный между первым металлическим слоем 604a и вторым металлическим слоем 604b, расположенные под экранирующим слоем 602. Первый металлический слой 604a и второй металлический слой 604b могут включать в себя никель (Ni). Третий металлический слой 604c может включать в себя медь (Cu). Например, металлический слой 604 может быть интерпретирован как слой гальванического покрытия из никеля, меди и никеля. Согласно варианту осуществления раскрытия, первый металлический слой 604a и/или второй металлический слой 604b могут уменьшать или предотвращать видимость третьего металлического слоя 604c, выполненного из меди, снаружи электронного устройства (например, электронного устройства 101 на фиг. 1).
[00130] Согласно различным вариантам осуществления раскрытия, проводящий элемент 600 может быть прикреплен к изоляционному элементу (например, изоляционному элементу 700 на фиг. 5 и 6) с помощью слоя 606 проводящего адгезива. Согласно варианту осуществления раскрытия, антиадгезионная лента 608, расположенная под слоем 606 проводящего адгезива, может быть удалена со слоя 606 проводящего адгезива. Антиадгезионная лента 608 может быть удалена со слоя 606 проводящего адгезива, и проводящий элемент 600 может быть связан с изоляционным элементом 700 с помощью слоя 606 проводящего адгезива. Согласно варианту осуществления раскрытия, слой 606 проводящего адгезива может включать в себя проводящий металл. Например, слой 606 проводящего адгезива может включать в себя никелевый заполнитель.
[00131] Фиг. 12 является схематичным видом проводящего элемента, расположенного на декоративном элементе согласно варианту осуществления раскрытия.
[00132] Обращаясь к фиг. 12, электронное устройство 101 может включать в себя декоративный элемент 500 и проводящий элемент 600. Конфигурация декоративного элемента 500 и проводящего элемента 600 по фиг. 12 может быть полностью или частично такой же, как конфигурация декоративного элемента 500 и проводящего элемента 600 по фиг. 5 и 6.
[00133] Согласно различным вариантам осуществления раскрытия, проводящий элемент 600 может включать в себя по меньшей мере одну структуру 601 в виде рисунка. Согласно варианту осуществления раскрытия, структура 601 в виде рисунка может быть интерпретирована как слой гальванического покрытия или металлический слой, образованный с помощью лазера. Согласно варианту осуществления раскрытия, структура 601 в виде рисунка может включать в себя первую проводящую линию 601a, смежную концу 500c декоративного элемента 500, вторую проводящую линию 601b, разнесенную от первой проводящей линии 601a, и третью проводящую линию 601c, соединенную с первой проводящей линией 601a и второй проводящей линией 601b. Согласно варианту осуществления раскрытия, первая проводящая линия 601a и вторая проводящая линия 601b могут быть по существу параллельны друг другу. Согласно варианту осуществления раскрытия, структура 601 в виде рисунка может образовывать по меньшей мере одну замкнутую кривую. Например, первая проводящая линия 601a, вторая проводящая линия 601b и третья проводящая линия 601c могут окружать внутреннее пространство 601d. Согласно варианту осуществления раскрытия, по меньшей мере часть импульсного перенапряжения 800, переносимого на первую проводящую линию 601a проводящего элемента 600, может быть перенесена на вторую проводящую линию 601b через третью проводящую линию 601c. Согласно варианту осуществления раскрытия, первая проводящая линия 601a может образовывать по меньшей мере часть первого конца проводящего элемента 600 (например, первого конца 600a на фиг. 5), а вторая проводящая линия 601b может образовывать по меньшей мере часть второго конца проводящего элемента 600 (например, второго конца 600b на фиг. 5). Согласно варианту осуществления раскрытия, проводящий элемент 600 может включать в себя сегмент 603, расположенный между множеством структур 601 в виде рисунка. Поскольку множество структур 601 в виде рисунка может быть разнесено друг от друга на сегмент 603, характеристики излучения могут улучшаться.
[00134] Согласно различным вариантам осуществления раскрытия, электронное устройство (например, электронное устройство 101 на фиг. 1) может включать в себя складной дисплей (например, дисплей 200 на фиг. 4), декоративный элемент (например, декоративный элемент 500 на фиг. 5), выполненный из полимерного материала окружающим по меньшей мере часть складного дисплея, поддерживающий элемент (например, поддерживающий элемент 400 на фиг. 5), выполненный с возможностью поддерживать складной дисплей и включающий в себя металлическую область (например, металлическую область 410 на фиг. 5), соединенную с декоративным элементом, и проводящий элемент (например, проводящий элемент 600 на фиг. 5), расположенный на декоративном элементе и электрически соединенный с металлической областью. Проводящий элемент может включать в себя первый проводящий элемент (например, первый проводящий элемент 610 на фиг. 7A), размещенный обращенным к поддерживающему элементу, и второй проводящий элемент (например, второй проводящий элемент 620 на фиг. 7A), размещенный параллельно первому проводящему элементу и электрически соединенный с первым проводящим элементом.
[00135] Согласно различным вариантам осуществления раскрытия, электронное устройство может дополнительно включать в себя изоляционный элемент (например, изоляционный элемент 700 на фиг. 5), расположенный под проводящим элементом, и изоляционный элемент может быть разнесен от складного дисплея.
[00136] Согласно различным вариантам осуществления раскрытия, поддерживающий элемент может включать в себя сегмент (например, сегмент 450 на фиг. 8), и полимерную область, расположенную в сегменте (например, полимерную область 440 на фиг. 5), первый проводящий элемент может включать в себя (1-1)-й проводящий элемент (например, (1-1)-й проводящий элемент 612 на фиг. 9A) и (1-2)-й проводящий элемент (например, (1-2)-й проводящий элемент 614 на фиг. 9A), которые разнесены друг от друга относительно сегмента, и второй проводящий элемент может включать в себя (2-1)-й проводящий элемент (например, (2-1)-й проводящий элемент 622 на фиг. 9A) и (2-2)-й проводящий элемент (например, (2-2)-й проводящий элемент 624 на фиг. 9A), которые разнесены друг от друга относительно сегмента.
[00137] Согласно различным вариантам осуществления раскрытия, металлическая область может включать в себя первую металлическую область (например, первую металлическую область 420 на фиг. 5), образующую кромку поддерживающего элемента (например, первую кромку 402, вторую кромку 404 или третью кромку 406 на фиг. 8), и вторую металлическую область, выполненную с возможностью поддерживать складной дисплей (например, вторую металлическую область 430 на фиг. 5), и поддерживающий элемент может включать в себя полимерную область (например, полимерную область 440 на фиг. 5), расположенную между первой металлической областью и второй металлической областью.
[00138] Согласно различным вариантам осуществления раскрытия, поддерживающий элемент может включать в себя первый выступ (например, первый выступ 422 на фиг. 5), простирающийся от первой металлической области и выступающий к проводящему элементу.
[00139] Согласно различным вариантам осуществления раскрытия, поддерживающий элемент может включать в себя второй выступ (например, второй выступ 432 на фиг. 6), простирающийся от второй металлической области и выступающий к проводящему элементу.
[00140] Согласно различным вариантам осуществления раскрытия, электронное устройство может быть выполнено с возможностью переносить импульсное перенапряжение (например, импульсное перенапряжение 800 на фиг. 5), подаваемое на второй проводящий элемент снаружи электронного устройства, в металлическую область через первый проводящий элемент.
[00141] Согласно различным вариантам осуществления раскрытия, декоративный элемент может включать в себя первую область декоративного элемента (например, первую область 510 декоративного элемента на фиг. 5), обращенную к поддерживающему элементу, и вторую область декоративного элемента (например, вторую область 520 декоративного элемента на фиг. 5), обращенную в направлении, отличающемся от направления, в котором обращена первая область декоративного элемента. Первый проводящий элемент может быть расположен во второй области декоративного элемента, а второй проводящий элемент может быть расположен в первой области декоративного элемента.
[00142] Согласно различным вариантам осуществления раскрытия, проводящий элемент может включать в себя по меньшей мере одно из проводящего листа, проводящего полотна, проводящей пленки или проводящей краски.
[00143] Согласно различным вариантам осуществления раскрытия, материал первого проводящего элемента и материал второго проводящего элемента могут отличаться друг от друга.
[00144] Согласно различным вариантам осуществления раскрытия, декоративный элемент может включать в себя первую область декоративного элемента, обращенную к поддерживающему элементу, и вторую область декоративного элемента, обращенную в направлении, отличающемся от направления, в котором обращена первая область декоративного элемента, и первый проводящий элемент и второй проводящий элемент могут быть цельными проводящими элементами, простирающимися от первой области декоративного элемента до второй области декоративного элемента.
[00145] Согласно различным вариантам осуществления раскрытия, поддерживающий элемент может быть обращен к складному дисплею и может включать в себя верхнюю металлическую область (например, верхнюю металлическую область 480 на фиг. 10), включающую в себя сквозное отверстие (например, сквозное отверстие 460 на фиг. 8) и нижнюю металлическую область (например, нижнюю металлическую область 490 на фиг. 10), расположенную напротив верхней металлической области, и второй проводящий элемент может включать в себя (2-1)-й проводящий элемент (например, (2-1)-й проводящий элемент 622 на фиг. 9B) и (2-3)-й проводящий элемент (например, (2-3)-й проводящий элемент 626 на фиг. 9B), которые разнесены друг от друга относительно сквозного отверстия.
[00146] Согласно различным вариантам осуществления раскрытия, декоративный элемент может включать в себя четвертую часть (например, четвертую часть S4 на фиг. 9B), обращенную к сквозному отверстию, и первый проводящий элемент может включать в себя (1-1)-й проводящий элемент (например, (1-1)-й проводящий элемент 612 на фиг. 9B) и (1-3)-й проводящий элемент (например, (1-3)-й проводящий элемент 616 на фиг. 9B), которые размещены вдоль (2-1)-го проводящего элемента, четвертой части и (2-3)-го проводящего элемента. (1-1)-й проводящий элемент может быть электрически соединен с (2-1)-м проводящим элементом, и (1-3)-й проводящий элемент может быть электрически соединен с (2-3)-м проводящим элементом.
[00147] Согласно различным вариантам осуществления раскрытия, складной дисплей может включать в себя панель отображения (например, панель 240 отображения на фиг. 4), включающую в себя согнутый участок (например, согнутый участок 242 на фиг. 4) и сгибающийся защитный слой (например, сгибающийся защитный слой 250 на фиг. 4), окружающий согнутый участок, и проводящий элемент может быть обращен по меньшей мере к части согнутого участка.
[00148] Согласно различным вариантам осуществления раскрытия, проводящий элемент может быть в соприкосновении с металлической областью.
[00149] Согласно различным вариантам осуществления раскрытия, электронное устройство (например, электронное устройство 101 на фиг. 1) может включать в себя складной дисплей (например, дисплей 200 на фиг. 4), декоративный элемент (например, декоративный элемент 500 на фиг. 5), выполненный из полимерного материала окружающим по меньшей мере часть складного дисплея, поддерживающий элемент (например, поддерживающий элемент 400 на фиг. 5), выполненный с возможностью поддерживать складной дисплей и включающий в себя металлическую область (например, металлическую область 410 на фиг. 5), соединенную с декоративным элементом, и полимерную область (например, полимерную область 450 на фиг. 5), расположенную на сегменте металлической области, и проводящий элемент (например, проводящий элемент 600 на фиг. 5), электрически соединенный с металлической областью. Декоративный элемент может включать в себя первую область декоративного элемента (например, первую область 510 декоративного элемента на фиг. 5), обращенную к поддерживающему элементу, и вторую область декоративного элемента (например, вторую область 520 декоративного элемента на фиг. 5), простирающуюся от первой области декоративного элемента и обращенную в направлении, отличающемся от направления, в котором обращена первая область декоративного элемента, проводящий элемент может быть расположен в первой области декоративного элемента и второй области декоративного элемента, и проводящий элемент может включать в себя третий проводящий элемент (например, третий проводящий элемент 630 на фиг. 9С) и четвертый проводящий элемент (например, четвертый проводящий элемент 640 на фиг. 9С), которые разнесены друг от друга относительно сегмента.
[00150] Хотя раскрытие показано и описано со ссылкой на его различные варианты осуществления, специалистам в данной области техники будет понятно, что различные изменения по форме и содержанию могут быть сделаны без отступления от сущности и объема раскрытия, определяемого прилагаемой формулой изобретения и ее эквивалентами.
| название | год | авторы | номер документа |
|---|---|---|---|
| ГИБКАЯ ПЕЧАТНАЯ ПЛАТА И СКЛАДНОЕ ЭЛЕКТРОННОЕ УСТРОЙСТВО, СОДЕРЖАЩЕЕ ЕЕ | 2021 |
|
RU2823247C1 |
| СКЛАДНОЕ ЭЛЕКТРОННОЕ УСТРОЙСТВО, ВКЛЮЧАЮЩЕЕ В СЕБЯ ЗАЩИТНЫЙ ЭЛЕМЕНТ | 2020 |
|
RU2775152C1 |
| ПОРТАТИВНОЕ УСТРОЙСТВО СВЯЗИ, ВКЛЮЧАЮЩЕЕ В СЕБЯ ДИСПЛЕЙ | 2020 |
|
RU2827902C2 |
| СКЛАДНОЕ ЭЛЕКТРОННОЕ УСТРОЙСТВО, ВКЛЮЧАЮЩЕЕ В СЕБЯ ЗАЩИТНУЮ КОНСТРУКЦИЮ ДЛЯ ДИСПЛЕЯ | 2022 |
|
RU2804413C2 |
| СКЛАДНОЕ ЭЛЕКТРОННОЕ УСТРОЙСТВО, ВКЛЮЧАЮЩЕЕ В СЕБЯ МНОЖЕСТВО ОКОН | 2020 |
|
RU2774657C1 |
| СКЛАДНОЕ УСТРОЙСТВО | 2020 |
|
RU2795111C2 |
| СКЛАДНОЕ УСТРОЙСТВО | 2020 |
|
RU2782976C1 |
| ЭЛЕКТРОННОЕ УСТРОЙСТВО, СОДЕРЖАЩЕЕ КОНСТРУКЦИЮ ЗАКРЕПЛЕНИЯ ЭЛЕМЕНТА ПРОВОДКИ | 2019 |
|
RU2779913C1 |
| МОДУЛЬ ОТОБРАЖЕНИЯ, СПОСОБНЫЙ РАСПОЗНАВАТЬ УСТРОЙСТВО ВВОДА С ПОМОЩЬЮ ПЕРА, И ЭЛЕКТРОННОЕ УСТРОЙСТВО, СОДЕРЖАЩЕЕ МОДУЛЬ ОТОБРАЖЕНИЯ | 2021 |
|
RU2824745C1 |
| СКЛАДНОЕ ЭЛЕКТРОННОЕ УСТРОЙСТВО И СПОСОБ ЕГО РАБОТЫ | 2020 |
|
RU2805456C2 |
Изобретение относится к портативным устройствам связи. Технический результат заключается в повышении надежности устройства. Технический результат достигается за счет того, что портативное устройство связи включает в себя: складной корпус, гибкий дисплей, защитный элемент, выполненный из полимерного материала окружающим край прозрачной крышки разнесенным образом, причем защитный элемент прикреплен к поддерживающему элементу; проводящий элемент, расположенный на части внутренней поверхности защитного элемента, причем проводящий элемент выполнен с возможностью обеспечивать электрический путь, который обеспечивает возможность переноса прилагаемого снаружи статического электрического заряда к проводящей поддерживающей части; и изоляционный элемент, расположенный на части внутренней поверхности проводящего элемента, причем изоляционный элемент выполнен с возможностью блокировать часть пространства между прозрачной крышкой и защитным элементом. 5 з.п. ф-лы, 16 ил.
1. Электронное устройство, содержащее:
корпус, выполненный с возможностью складываться относительно оси складывания;
складной дисплей;
прозрачную крышку, выполненную с возможностью покрывать складной дисплей;
поддерживающий элемент, выполненный с возможностью поддерживать складной дисплей, причем поддерживающий элемент включает в себя проводящую часть боковой стенки и проводящую поддерживающую часть;
защитный элемент, выполненный из полимерного материала окружающим край прозрачной крышки разнесенным образом, причем защитный элемент прикреплен к поддерживающему элементу;
проводящий элемент, расположенный на части внутренней поверхности защитного элемента, причем проводящий элемент выполнен с возможностью обеспечивать электрический путь, который обеспечивает возможность переноса прилагаемого снаружи статического электрического заряда к проводящей поддерживающей части; и
изоляционный элемент, расположенный на части внутренней поверхности проводящего элемента, причем изоляционный элемент выполнен с возможностью блокировать часть пространства между прозрачной крышкой и защитным элементом.
2. Электронное устройство по п. 1, в котором корпус включает в себя первый корпус и второй корпус,
причем электронное устройство дополнительно включает в себя интегральную схему возбуждения дисплея, расположенную в первом корпусе, и
проводящий элемент расположен на одном из продольных боковых краев первого корпуса, соответствующем интегральной схеме возбуждения дисплея.
3. Электронное устройство по п. 1,
при этом поддерживающий элемент содержит сегмент и полимерную область, расположенную на сегменте,
при этом первый проводящий элемент содержит (1-1)-й проводящий элемент и (1-2)-й проводящий элемент, разнесенные друг от друга относительно сегмента, и
при этом второй проводящий элемент содержит (2-1)-й проводящий элемент и (2-2)-й проводящий элемент, разнесенные друг от друга относительно сегмента.
4. Электронное устройство по п. 1,
при этом металлическая область содержит первую металлическую область, образующую кромку поддерживающего элемента, и вторую металлическую область, поддерживающую складной дисплей, и
при этом поддерживающий элемент содержит полимерную область, расположенную между первой металлической областью и второй металлической областью.
5. Электронное устройство по п. 1, в котором первый проводящий элемент и второй проводящий элемент представляют собой цельные проводящие элементы, простирающиеся от области первого декоративного элемента до области второго декоративного элемента.
6. Электронное устройство по п. 3, в котором проводящий элемент может включать в себя третий проводящий элемент и четвертый проводящий элемент, разнесенные друг от друга относительно сегмента.
| Станок для придания концам круглых радиаторных трубок шестигранного сечения | 1924 |
|
SU2019A1 |
| CN 204966695 U, 13.01.2016 | |||
| УКУПОРОЧНОЕ СРЕДСТВО С КОЛПАЧКОМ | 2018 |
|
RU2757439C2 |
| Станок для придания концам круглых радиаторных трубок шестигранного сечения | 1924 |
|
SU2019A1 |
| СКЛАДНОЕ УСТРОЙСТВО | 2015 |
|
RU2683290C2 |
Авторы
Даты
2025-01-28—Публикация
2021-07-07—Подача