Изобретение относится к сельскохозяйственному машиностроению, в частности к конструкции крепления рабочего органа почвообрабатывающего орудия к раме.
Известен узел сельскохозяйственной машины, включающий в себя раму, стойку с хвостовиком и гайкой, сопрягаемые поверхности, выполненные в виде полусфер. На стойке закреплена опорная шайба. Между шайбой и рамой установлена пружина. На торцах пружины по одной оси выполнены фиксирующие зацепы, входящие соответственно в пазы опорной шайбы и рамы. Один торец пружины входит в неподвижное кольцо, а другой плотно насажен на кольцевой выступ опорной шайбы (Патент RU №2330398, опубликован 10.08.2008).
Недостатком конструкции данного узла является отсутствие возможности регулировки жесткости упругого элемента с целью настройки его на резонансный режим работы рабочего органа.
Известен рабочий орган почвообрабатывающего орудия, который содержит стойку с лапой, шарнирно закрепленную на раме с помощью переднего и заднего кронштейнов, соединенных цилиндрической пружиной, снабженной качающейся П-образной опорой, направляющем звеном, винтовым регулировочным механизмом и упором.
Направляющее звено выполнено телескопическим, задний кронштейн содержит вытянутый вперед элемент коробчатого типа, несущий переднюю часть стойки и закрепленный на оси подъема-поворота стойки, а упор жестко смонтирован на переднем кронштейне вышеупомянутой оси и смещен назад от линии, соединяющей оси шарниров переднего кронштейна.
Исполнение направляющего звена телескопическим позволяет регулировать угол вхождения рабочего органа в почву и устраняет вибрацию звена в рабочем положении, что позволяет использовать сменные рабочие органы и стабилизирует ход рабочего органа на заданной глубине. Введение в конструкцию заднего кронштейна коробчатого элемента и установка упора на переднем кронштейне вблизи оси подъема-поворота позволяет выполнить стойку упругой и расширить функциональные возможности рабочего органа. Дополнительно использование установочных винтов позволяет снизить требования к точности изготовления рабочего органа и квалификации персонала при изготовлении и эксплуатации устройства (Патент RU №2153788, опубликован 10.08.2000).
Недостатком конструкции, является отсутствие регулировок, направленных на изменение частоты собственных колебаний рабочего органа с целью поддержания его действенных незатухающих колебаний, вызываемых процессом обработки почвы, сложность конструкции.
Известен рабочий орган почвообрабатывающего орудия с изменяемой частотой собственных колебаний, содержащий стойку, стрельчатую лапу, шарнирно закрепленную на раме с помощью нижнего и верхнего кронштейнов, соединенных цилиндрической пружиной, снабженной винтовым регулировочным механизмом, нижний кронштейн содержит вытянутый элемент, несущий переднюю часть стойки. В верхний конец цилиндрической пружины ввернут крепежный элемент с регулировочной тягой, который соединяет верхний торец цилиндрической пружины с верхним кронштейном, при этом крепежный элемент выполнен в виде ввертыша (Патент RU № 146230, опубликован 10.10.2014).
Недостатком является низкая точность и ограниченный диапазон регулирования жесткости пружины.
Наиболее близким техническим решением, выбранным в качестве прототипа, является рабочий орган культиватора с генератором вибрации, включающий стойку, стрельчатую лапу, шарнирно закрепленную на раме с помощью нижнего и верхнего кронштейнов, соединенных цилиндрической пружиной, снабженной винтовым регулировочным механизмом, при этом дополнительно содержит генератор вибраций эксцентрикового типа и управляющий канал, который состоит из гидромотора, гибкого вала и соединительных муфт, при этом гибкий вал одним концом имеет соединение с генератором вибраций эксцентрикового типа, другим концом имеет соединение с гидромотором, при этом корпус генератора вибраций эксцентрикового типа жестко закреплен на стойке (Патент RU № 2701676, опубликован 30.09.2019).
Недостатком является низкая точность и ограниченный диапазон регулирования жесткости пружины.
Развитие динамики взаимодействия отдельного рабочего органа сельскохозяйственной машины с почвой показало, что упругие элементы в креплении могут генерировать за счет неравномерности тягового усилия, постоянно действующие колебания рабочих органов, способствующие улучшению очистки рабочих органов от нависания растительных остатков и почвы, а также снижению тягового сопротивления почвообрабатывающих орудий на 15-25%. Но данный эффект наблюдается только на почвах, с высоким содержанием глиняных частиц. Кроме того, изменяющиеся физико-механические характеристики почвы делают процесс колебаний рабочего органа крайне неустойчивым.
Задача - создание конструкции, обеспечивающей принудительную вибрацию рабочего органа с частотой, способствующей снижению прочностных характеристик почвы.
Технический результат - снижение энергетических затрат при проведении почвообрабатывающих операций за счет использования динамических эффектов в процессе взаимодействия рабочего органа с почвой.
Указанный технический результат достигается секцией почвообрабатывающего орудия с генератором вибраций, включающей стойку, шарнирно закрепленную на раме с помощью нижнего и верхнего кронштейнов, соединенных упругим элементом в виде цилиндрической пружины, снабженной винтовым регулировочным механизмом, генератор вибраций эксцентрикового типа, жестко закрепленный на стойке стрельчатой лапы, стрельчатую лапу, при этом под стрельчатой лапой жестко закреплен датчик виброускорения с диапазоном рабочих температур -50…+90°С, диапазоном рабочих частот 4…700 Гц, диапазоном ускорений 0,3…90 м/с2, который передает сигнал к автоматизированному блоку управления системой для регулирования частоты дополнительных возмущающих воздействий на генераторе вибраций эксцентрикового типа, необходимой для введения системы стойки и стрельчатой лапы в резонансный режим работы, при этом генератор вибраций эксцентрикового типа состоит из электродвигателя постоянного тока, со степенью защиты IP54, и вала, с двух сторон которого закреплены два эксцентриковых груза, при этом жесткость упругого элемента настраивается на генерацию частоты собственных колебаний секции почвообрабатывающего орудия, соответствующих колебаниям реакции почвы в пределах 8,4…12,4 Гц. Конструкция поясняется чертежом.
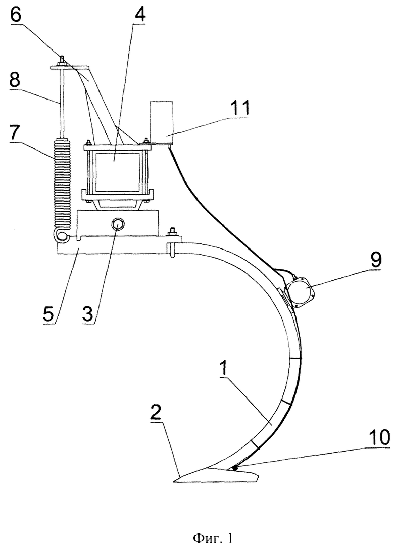
На фигуре 1 изображен общий вид секции почвообрабатывающего орудия с генератором вибраций.
Конструкция состоит из стойки 1, стрельчатой лапы 2, шарнирно 3 закрепленной на раме 4 с помощью нижнего 5 и верхнего 6 кронштейнов, соединенных цилиндрической пружиной 7, снабженной винтовым регулировочным механизмом 8.
На стойке 1 стрельчатой лапы 2 жестко закреплен генератор вибраций эксцентрикового типа 9, а под стрельчатой лапой 2 жестко закреплен датчик виброускорения 10.
Управление системой производится при помощи автоматизированного блока управления системой 11, который отслеживает ускорение на стрельчатой лапе 2 почвообрабатывающего орудия и сообщает дополнительное возмущающее воздействие необходимое для введения системы в резонансный режим работы. Настройку жесткости цилиндрической пружиной 7 необходимо выполнить в до резонансный режим для обеспечения быстрого отклика двигателя, который в этом режиме всегда будет находится в работе.
Работает конструкция следующим образом: во время сплошной обработки почвы подбирается для каждого почвенного фона своя частота собственных колебаний рабочего органа, задаваемая упругим элементом в виде цилиндрической пружины 7 с помощью винтового регулировочного механизма 8. Вынужденные колебания рабочего органа обеспечиваются генератором вибраций эксцентрикового типа 9, жестко закрепленным на стойке 1 стрельчатой лапы 2.
Изменение жесткости упругого элемента и частоты колебаний эксцентрикового генератора вибраций позволяет изменять частоту вынужденных колебаний рабочего органа и настроить его на режим незатухающих колебаний в широких пределах под любой тип почвенного фона.
Пример конкретного выполнения 1.
Секция почвообрабатывающего орудия с генератором вибраций включает стойку, шарнирно закрепленную на раме с помощью нижнего и верхнего кронштейнов, соединенных цилиндрической пружиной, снабженной винтовым регулировочным механизмом, генератор вибраций эксцентрикового типа, жестко закрепленный на стойке стрельчатой лапы, стрельчатую лапу.
Под стрельчатой лапой жестко закреплен датчик виброускорения с рабочей температурой -50°С, рабочей частотой 4 Гц, с регистрацией ускорения 0,3 м/с2, который передает сигнал к автоматизированному блоку управления системой.
Автоматизированный блок управления системой регулирует частоту дополнительных возмущающих воздействий на генераторе вибраций эксцентрикового типа для введения системы стойки и стрельчатой лапы в резонансный режим работы. Генератор вибраций эксцентрикового типа состоит из электродвигателя постоянного тока, со степенью защиты IP54, и вала, с двух сторон которого закреплены два эксцентриковых груза, при этом жесткость упругого элемента настраивается на генерацию частоты собственных колебаний секции почвообрабатывающего орудия, соответствующих колебаниям реакции почвы 8,4 Гц. Пример конкретного выполнения 2.
Секция почвообрабатывающего орудия с генератором вибраций включает стойку, шарнирно закрепленную на раме с помощью нижнего и верхнего кронштейнов, соединенных цилиндрической пружиной, снабженной винтовым регулировочным механизмом, генератор вибраций эксцентрикового типа, жестко закрепленный на стойке стрельчатой лапы, стрельчатую лапу.
Под стрельчатой лапой жестко закреплен датчик виброускорения с рабочей температурой 90°С, рабочей частотой 700 Гц, с регистрацией ускорения 90 м/с2, который передает сигнал к автоматизированному блоку управления системой.
Автоматизированный блок управления системой регулирует частоту дополнительных возмущающих воздействий на генераторе вибраций эксцентрикового типа для введения системы стойки и стрельчатой лапы в резонансный режим работы. Генератор вибраций эксцентрикового типа состоит из электродвигателя постоянного тока, со степенью защиты IP54, и вала, с двух сторон которого закреплены два эксцентриковых груза, при этом жесткость упругого элемента настраивается на генерацию частоты собственных колебаний секции почвообрабатывающего орудия, соответствующих колебаниям реакции почвы 12,4 Гц.
Таким образом, заявленная секция почвообрабатывающего орудия с генератором вибраций снижает энергетические затраты при проведении почвообрабатывающих операций за счет использования динамических эффектов в процессе взаимодействия рабочего органа с почвой.
| название | год | авторы | номер документа |
|---|---|---|---|
| Секция почвообрабатывающего орудия с генератором продольных вибраций | 2024 |
|
RU2831069C1 |
| Секция почвообрабатывающего орудия с виброгенератором | 2024 |
|
RU2833856C1 |
| Виброактивная секция почвообрабатывающего орудия | 2024 |
|
RU2833855C1 |
| Виброактивная секция почвообрабатывающей машины | 2024 |
|
RU2833618C1 |
| Секция культиватора с генератором вибраций | 2024 |
|
RU2833590C1 |
| Секция культиватора с генератором колебаний | 2024 |
|
RU2833857C1 |
| Рабочий орган культиватора с генератором вибрации | 2018 |
|
RU2701676C1 |
| РАБОЧИЙ ОРГАН ПОЧВООБРАБАТЫВАЮЩЕГО ОРУДИЯ | 1998 |
|
RU2153788C2 |
| ВИБРАЦИОННАЯ ПОЧВООБРАБАТЫВАЮЩАЯ МАШИНА | 1993 |
|
RU2081530C1 |
| Вибрационный плоскорез | 2023 |
|
RU2830133C1 |
Изобретение относится к сельскому хозяйству. Секция почвообрабатывающего орудия с генератором вибраций включает стойку (1) со стрельчатой лапой (2), шарнирно (3) закрепленную на раме (4) с помощью нижнего и верхнего кронштейнов (5 и 6), соединенных упругим элементом в виде цилиндрической пружины (7), снабженной винтовым регулировочным механизмом (8). На стойке (1) стрельчатой лапы (2) жестко закреплен генератор вибраций эксцентрикового типа (9). Под стрельчатой лапой (2) жестко закреплен датчик виброускорения (10) с диапазоном рабочих температур -50…+90°С, диапазоном рабочих частот 4…700 Гц, диапазоном ускорений 0,3…90 м/с2, который передает сигнал к автоматизированному блоку управления системой (11) для регулирования частоты дополнительных возмущающих воздействий на генераторе вибраций эксцентрикового типа (9), необходимой для введения системы стойки (1) и стрельчатой лапы (2) в резонансный режим работы. Генератор вибраций эксцентрикового типа (9) состоит из электродвигателя постоянного тока со степенью защиты IP54 и вала, с двух сторон которого закреплены два эксцентриковых груза. Жесткость упругого элемента (7) настраивается на генерацию частоты собственных колебаний секции почвообрабатывающего орудия, соответствующих колебаниям реакции почвы в пределах 8,4…12,4 Гц. Обеспечивается снижение энергетических затрат при проведении почвообрабатывающих операций за счет использования динамических эффектов в процессе взаимодействия рабочего органа с почвой. 1 ил.
Секция почвообрабатывающего орудия с генератором вибраций, включающая стойку, шарнирно закрепленную на раме с помощью нижнего и верхнего кронштейнов, соединенных упругим элементом в виде цилиндрической пружины, снабженной винтовым регулировочным механизмом, генератор вибраций эксцентрикового типа, жестко закрепленный на стойке стрельчатой лапы, стрельчатую лапу, отличающаяся тем, что под стрельчатой лапой жестко закреплен датчик виброускорения с диапазоном рабочих температур -50…+90°С, диапазоном рабочих частот 4…700 Гц, диапазоном ускорений 0,3…90 м/с2, который передает сигнал к автоматизированному блоку управления системой для регулирования частоты дополнительных возмущающих воздействий на генераторе вибраций эксцентрикового типа, необходимой для введения системы стойки и стрельчатой лапы в резонансный режим работы, при этом генератор вибраций эксцентрикового типа состоит из электродвигателя постоянного тока со степенью защиты IP54 и вала, с двух сторон которого закреплены два эксцентриковых груза, при этом жесткость упругого элемента настраивается на генерацию частоты собственных колебаний секции почвообрабатывающего орудия, соответствующих колебаниям реакции почвы в пределах 8,4…12,4 Гц.
| Рабочий орган культиватора с генератором вибрации | 2018 |
|
RU2701676C1 |
| Способ закрепления основных красителей на изделиях из целлюлозных волокон | 1948 |
|
SU92291A1 |
| Почвообрабатывающий рабочий орган | 1986 |
|
SU1410875A1 |
| Станок для формования бетонных пустотелых или сплошных камней | 1925 |
|
SU6719A1 |
Авторы
Даты
2025-01-29—Публикация
2024-03-05—Подача