ОБЛАСТЬ ТЕХНИКИ, К КОТОРОЙ ОТНОСИТСЯ ИЗОБРЕТЕНИЕ
[0001] Настоящее изобретение относится к газовым баллонам, например, для использования в сатурационных машинах. Более конкретно, настоящее изобретение относится к переходнику для системы заправки баллона и к способу заправки газового баллона.
ПРЕДПОСЫЛКИ СОЗДАНИЯ ИЗОБРЕТЕНИЯ
[0002] Сатурационные машины обычно используются в домах, офисах, кафетериях и других местах. Типичная сатурационная машина может быть приведена в действие для введения диоксида углерода в воду или в другую жидкость, которая находится в бутылке, которая может быть присоединена к машине. Другие типы машин для сатурирования могут быть выполнены с возможностью розлива газированных напитков в чашки или в другие емкости.
[0003] Газообразный диоксид углерода, который вводится в жидкость для ее сатурирования, обычно находится в баллонах со сжатым или сжиженным газом. Сатурационная машина содержит управляемый пользователем механизм для выпуска газа из баллона и подачи газа в жидкость, подлежащую сатурированию. Обычно срабатывание механизма выпуска газа заставляет механизм открывать клапан цилиндра. Когда газовый баллон установлен в сатурационной машине, головка клапана, которая содержит клапан, подключается к соединителю газового баллона сатурационной машины.
[0004] Когда баллон опорожнен от газа, пустой баллон может быть заменен полным баллоном. Эта замена обычно выполняется пользователем машины. Например, головка клапана баллона может иметь наружную резьбу, которая может быть соединена с соединителем газового баллона путем ввинчивания во внутреннюю резьбу гнезда соединителя.
СУЩНОСТЬ ИЗОБРЕТЕНИЯ
[0005] Таким образом, в соответствии с одним вариантом выполнения изобретения, предложен переходник для системы заправки баллона. Переходник может содержать корпус, имеющий отверстие, форма которого обеспечивает возможность вставления клапана газового баллона для удержания сжатого или сжиженного газа во внутреннем пространстве корпуса, оставляя герметичный зазор между по меньшей мере частью боковой стороны клапана и внутренней поверхностью корпуса, обращенной во внутреннее пространство. Корпус может также иметь по меньшей мере один канал, который выполнен с возможностью подачи сжатого или сжиженного газа из системы заправки баллона в герметичный зазор во внутреннем пространстве, чтобы достичь одного или более поперечно ориентированных внешних отверстий клапана газового баллона, которые открыты в поперечном направлении относительно продольной оси корпуса газового баллона, когда клапан вставлен во внутреннее пространство, для облегчения заправки газового баллона сжатым или сжиженным газом через указанное одно или более поперечно ориентированных внешних отверстий газового баллона.
[0006] В соответствии с некоторыми вариантами выполнения изобретения, указанный по меньшей мере один канал содержит по меньшей мере один поперечно ориентированный канал, который выполнен с возможностью проточного сообщения с указанным одним или более поперечно ориентированными внешними отверстиями клапана, когда переходник прикреплен к заправочной головке.
[0007] В соответствии с некоторыми вариантами выполнения изобретения, переходник может быть выполнен с возможностью подключения к заправочной головке заправочной системы.
[0008] В соответствии с некоторыми вариантами выполнения изобретения, указанный по меньшей мере один канал содержит продольно ориентированный канал на дистальном конце, который выполнен с возможностью проточного сообщения с заправочным отверстием, когда дистальный конец соединен с заправочной головкой.
[0009] В соответствии с некоторыми вариантами выполнения изобретения, переходник может дополнительно содержать прокладку, выполненную с возможностью гидравлической изоляции внешней поверхности поршня клапана, когда клапан вставлен во внутреннее пространство, по меньшей мере от части боковой стенки клапана.
[0010] В соответствии с некоторыми вариантами выполнения изобретения, переходник может дополнительно содержать штоковый привод для приведения в действие поршня клапана, когда клапан вставлен во внутреннее пространство.
[0011] В соответствии с некоторыми вариантами выполнения изобретения, приводной шток выполнен статическим.
[0012] В соответствии с некоторыми вариантами выполнения изобретения, статический приводной шток проходит внутрь во внутреннее пространство.
[0013] В соответствии с некоторыми вариантами выполнения изобретения, при этом приводной шток выполнен динамическим.
[0014] В соответствии с некоторыми вариантами выполнения изобретения, приводной шток расположен внутри отверстия в корпусе и может в нем перемещаться.
[0015] В соответствии с некоторыми вариантами выполнения изобретения, канал проходит от внешней поверхности корпуса до внутренней поверхности, обращенной во внутреннее пространство.
[0016] В соответствии с некоторыми вариантами выполнения изобретения, предложен способ заправки газового баллона сжатым или сжиженным газом из системы заправки баллона, при этом газовый баллон имеет клапан с одним или более поперечно ориентированными внешними отверстиями, расположенными по меньшей мере на части боковой стороны клапана.
[0017] Способ может включать вставление клапана газового баллона во внутреннее пространство корпуса переходника, оставляя герметичный зазор между по меньшей мере частью боковой стороны клапана и внутренней поверхностью корпуса, обращенной во внутреннее пространство.
[0018] Способ может также включать пропускание сжатого или сжиженного газа из системы заправки баллона в герметичный зазор во внутреннем пространстве по меньшей мере через один канал, чтобы достичь одного или более поперечно ориентированных внешних отверстий клапана газового баллона, который открывается сбоку от продольной оси корпуса газового баллона, когда клапан вставлен во внутреннее пространство.
[0019] Способ может также включать заправку газового баллона сжатым или сжиженным газом через указанное одно или более поперечно ориентированных внешних отверстий газового баллона.
КРАТКОЕ ОПИСАНИЕ ЧЕРТЕЖЕЙ
[0020] Чтобы лучше понять настоящее изобретение и оценить его практическое применение, ниже представлены следующие чертежи и ссылки на них. Следует отметить, что чертежи приведены только в качестве примеров и никоим образом не ограничивают объем изобретения. Одинаковые компоненты обозначены одинаковыми ссылочными позициями.
[0021] Фиг. 1 изображает схематический вид в разрезе примера клапана газового баллона.
[0022] Фиг. 2 изображает схематический вид в разобранном виде клапана газового баллона, показанного на Фиг. 1.
[0023] Фиг. 3А изображает схематический вид в разрезе клапана газового баллона, показанного на Фиг. 1, когда клапан закрыт.
[0024] Фиг. 3В изображает схематический вид в разрезе клапана газового баллона, показанного на Фиг. 1, когда клапан открыт.
[0025] Фиг. 4А изображает схематическое поперечное сечение соединителя для клапана газового баллона с поперечно ориентированными внешними отверстиями, причем соединитель содержит пару твердых прокладок.
[0026] Фиг. 4В схематически иллюстрирует прокладку соединителя, показанного на Фиг. 4А.
[0027] Фиг. 4С изображает схематическое поперечное сечение соединителя для клапана газового баллона с поперечно ориентированными внешними отверстиями, причем соединитель содержит пару прокладок с U-образным поперечным сечением.
[0028] Фиг. 4D схематически иллюстрирует прокладку соединителя, показанного на Фиг. 4С.
[0029] Фиг. 3А изображает схематическое поперечное сечение соединителя для клапана газового баллона с поперечно ориентированными внешними отверстиями, причем соединитель содержит искривленную вовнутрь прокладку.
[0030] Фиг. 3В схематически иллюстрирует прокладку соединителя, показанного на Фиг. ЗА.
[0031] Фиг. 3С изображает схематическое поперечное сечение соединителя для клапана газового баллона с поперечно ориентированными внешними отверстиями, причем соединитель содержит искривленную наружу прокладку.
[0032] Фиг. 3D схематически иллюстрирует прокладку соединителя, показанного на Фиг. ЗС.
[0033] Фиг. 6 схематически иллюстрирует газовый баллон и клапан газового баллона с круглым выступающим диском.
[0034] Фиг. 7А схематически иллюстрирует поперечное сечение защелкивающегося держателя баллона для удержания газового баллона, показанного на Фиг. 6.
[0035] Фиг. 7В схематически иллюстрирует вставление баллона в защелкивающийся держатель баллона, показанный на Фиг. 7А.
[0036] Фиг. 7С схематически иллюстрирует извлечение баллона из защелкивающегося держателя баллона, показанного на Фиг. 7А.
[0037] Фиг. 8А схематически иллюстрирует газовый баллон и клапан газового баллона с некруглым боковым выступом.
[0038] Фиг. 8В схематически иллюстрирует вставление газового баллона, показанного на Фиг. 8А, в держатель баллона сатурационной машины.
[0039] Фиг. 8С схематически иллюстрирует газовый баллон, заблокированный в держателе баллона, показанном на Фиг. 8В.
[0040] Фиг. 9А схематически иллюстрирует пример сатурационной машины с держателем баллона, имеющим закрывающуюся крышку, выполненную с возможностью установки баллона на место, когда она закрыта.
[0041] Фиг. 9В схематически иллюстрирует детали подъемного механизма держателя баллона, показанного на Фиг. 9А.
[0042] Фиг. 9С изображает схематический вид в разрезе держателя баллона, показанного на Фиг. 9 В, с закрытой крышкой.
[0043] Фиг. 10A схематически иллюстрирует держатель баллона сатурационной машины с наклоняемой подставкой для баллона, которая выполнена с возможностью установки баллона на место, когда она закрыта.
[0044] Фиг. 10В изображает схематический вид в разрезе держателя баллона, показанного на Фиг. 10А, с полностью вставленным держателем баллона.
[0045] Фиг. 11А схематически изображает держатель баллона, который содержит основание, выполненное с возможностью подъема газового баллона в положение при повороте, причем держатель баллона показан в конфигурации, которая позволяет вставлять или извлекать баллон.
[0046] Фиг. 11В схематически иллюстрирует держатель баллона, показанный на Фиг. 1 А, когда он находится в конфигурации, в которой баллон заблокирован в рабочем положении.
[0047] Фиг. 12А схематически иллюстрирует пример сатурационной машины с держателем баллона, имеющим ручку, которая поднимается, чтобы обеспечить возможность размещения газового баллона.
[0048] Фиг. 12В схематически иллюстрирует размещение баллона в держателе баллона, показанном на Фиг. 12А.
[0049] Фиг. 12С изображает схематический вид в разрезе держателя баллона, показанного на Фиг. 12В, с баллоном, помещенным внутри держателя.
[0050] Фиг. 12D схематически иллюстрирует подъемный механизм держателя баллона, показанного на Фиг. 12С.
[0051] Фиг. 12Е схематически иллюстрирует пример основания сатурационной машины, показанной на Фиг. 12В, которая выполнена с возможностью наклона клапана баллона к кронштейну после вставления баллона в основание.
[0052] Фиг. 13А схематически иллюстрирует сатурационную машину, показанную на Фиг. 12А, с опущенной ручкой для вставления газового баллона в сатурационную машину.
[0053] Фиг. 13В схематически иллюстрирует баллон, вставленный в сатурационную машину, показанную на Фиг. 13А.
[0054] Фиг. 13С изображает схематический вид в разрезе баллона, вставленного в сатурационную машину, показанную на Фиг. 13В.
[0055] Фиг. 14А схематически иллюстрирует переходник заправочной головки, выполненный с возможностью подсоединения клапана газового баллона с поперечно ориентированными внешними отверстиями, к заправочной головке системы заправки баллона.
[0056] Фиг. 14В схематически иллюстрирует вид переходника клапана баллона, показанного на Фиг. 14А, показывая сторону переходника, в которую вставляется клапан баллона.
[0057] Фиг. 14С изображает схематический вид в разрезе переходника клапана баллона, показанного на Фиг. 14А.
[0058] Фиг. 15А схематически иллюстрирует переходник клапана баллона для размещения на клапане баллона с поперечно ориентированными внешними отверстиями, чтобы обеспечить соединение клапана баллона с заправочной головкой системы заправки баллона.
[0059] Фиг. 15В изображает схематическое поперечное сечение переходника клапана баллона, показанного на Фиг. 15А.
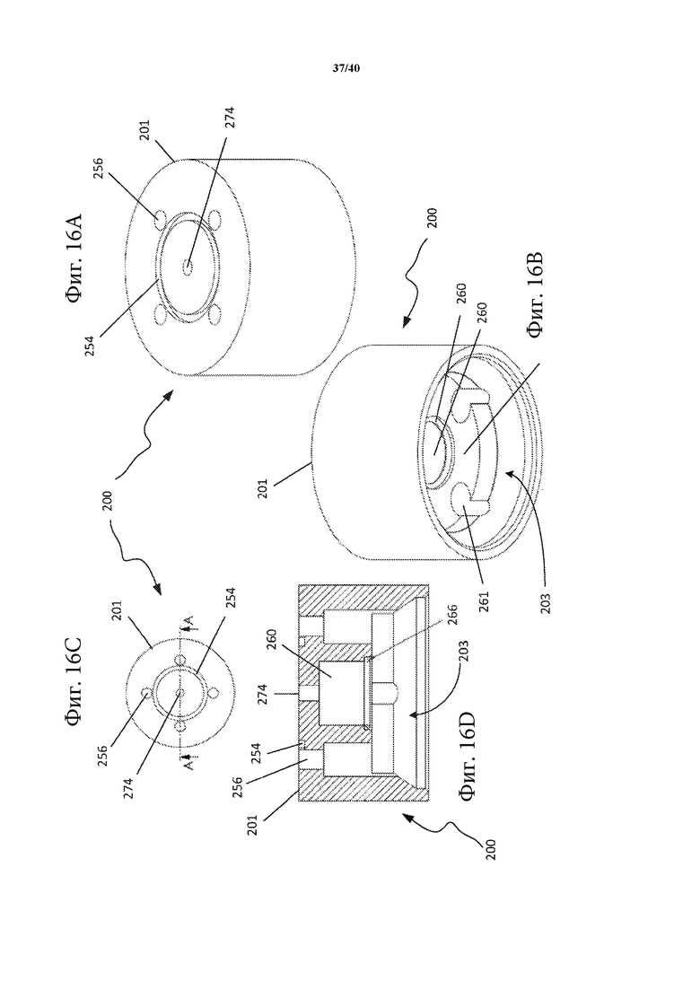
[0060] Фиг. 16А схематически иллюстрирует другой переходник заправочной головки, обеспечивающий возможность подсоединения клапана газового баллона с поперечно ориентированными внешними отверстиями к заправочной головке системы заправки баллона.
[0061] Фиг. 16В схематически иллюстрирует вид переходника клапана баллона, показанного на Фиг. 16А, показывая сторону переходника, в которую вставляется клапан баллона.
[0062] Фиг. 16С изображает вид сверху переходника клапана баллона, показанного на Фиг. 16А.
[0063] Фиг. 16D изображает схематический вид в разрезе переходника клапана баллона, показанного на Фиг. 16А.
[0064] Фиг.16Е изображает схематический вид в разрезе переходника клапана баллона, показанного на Фиг. 16А, с верхней частью газового баллона, вставленной для заправки и удерживаемой внутри переходника.
[0065] Фиг. 17 изображает схематический вид в разрезе переходника клапана баллона со статическим пггоковым приводом.
[0066] Фиг. 18 изображает схематический вид в разрезе переходника клапана баллона с динамическим штоковым приводом.
ПОДРОБНОЕ ОПИСАНИЕ ИЗОБРЕТЕНИЯ
[0067] В последующем подробном описании изложены многочисленные конкретные детали, чтобы обеспечить полное понимание изобретения. Однако обычные специалисты в данной области техники поймут, что изобретение может быть реализовано на практике без этих конкретных деталей. В других случаях хорошо известные способы, процедуры, компоненты, модули, блоки и/или схемы не описаны подробно, чтобы не затруднять понимание изобретения.
[0070] Несмотря на то, что варианты выполнения изобретения не ограничиваются в этом отношении, используемые в обсуждениях такие термины, как, например, «обработка», «компьютерное вычисление», «вычисление», «определение», «установление», «анализ», «проверка» или тому подобные термины, могут относиться к операции (операциям) и/или процессу (процессам) компьютера, вычислительной платформы, вычислительной системы или другого электронного вычислительного устройства, которое манипулирует и/или преобразует данные, представленные как физические (например, электронные) величины в регистрах и/или в памяти компьютера, в другие данные, аналогично представленные как физические величины в регистрах и/или в памяти компьютера или в другом энергонезависимом носителе информации (например, памяти), на котором могут храниться инструкции для выполнения операций и/или процессов. Несмотря на то, что варианты выполнения изобретения не ограничиваются в этом отношении, используемый здесь термины «множество» может включать, например, «несколько» или «два или большее количество». Термин «множество» может использоваться по всему описанию для описания двух или большее количество компонентов, устройств, элементов, единиц, параметров или тому подобного. Если явным образом не указано иное, описанные здесь варианты выполнения способа не ограничиваются конкретным порядком или последовательностью. Кроме того, некоторые из описанных вариантов выполнения способа или их элементов могут происходить или выполняться одновременно, в один и тот же момент времени или параллельно. Если не указано иное, союз «или» в контексте настоящего описания следует понимать как включающий (любой или все из указанных вариантов).
[0071] В соответствии с одним вариантом выполнения настоящего изобретения, держатель баллона сатурационной машины или системы заправки баллона для заправки газового баллона для использования с сатурационными машинами выполнен с возможностью прямолинейного вставления клапана газового баллона в гнездо держателя баллона, чтобы обеспечить поток газа (например, диоксида углерода) между газовым баллоном и машиной или системой, которая содержит держатель баллона. Точно так же, держатель выполнен с возможностью прямолинейного извлечения клапана из гнезда. Используемый здесь термин «прямолинейное вставление» относится к вставлению и соединению с гнездом, которое не включает многократные повороты баллона с ввинчиванием резьбы на газовом баллоне (например, на клапане) в резьбу держателя или гнезда.
[0072] Например, сатурационная машина может быть приведена в действие открытием клапана газового баллона для выпуска газа из баллона. Сатурационная машина содержит устройство из одного или нескольких трубопроводов, которые выполнены с возможностью пропускания выпускаемого газа к сатурационной головке сатурационной машины. Бутылка или другой баллон с жидкостью, такой как вода, может быть прикреплен к сатурационной головке, так что выделяющийся газ входит в жидкость и может сатурировать ее.
[0073] Таким образом, можно упростить установку или замену газового баллона. Облегчение вставления или извлечения баллона может обеспечить быструю и простую замену баллона неквалифицированными пользователями без риска чрезмерного затягивания или иного риска повреждения уплотнения между держателем баллона и баллоном.
[0074] В одном примере держатель баллона может быть выполнен с обеспечением возможности ручного (или механического) защелкивания конца баллона, обычно конца, который содержит клапан, который работает для выпуска газа (например, диоксида углерода) из баллона (или для возможности заправки баллона от источника газа). Например, выдвижные или убирающиеся выступы или зубцы на держателе баллона могут быть выполнены с возможностью зацепления с одним или несколькими соответствующими выступами баллона. В другом примере вставление может включать вставление через отверстие, когда баллон ориентирован в одной ориентации (например, некруглый выступ на баллоне совмещен с соответствующим некруглым отверстием на держателе баллона) и последующий поворот баллона в другую ориентацию для удержания баллона на держателе баллона.
[0075] В качестве альтернативы или в дополнение, держатель баллона или часть сатурационной машины (или системы заправки баллона), которая связана с держателем баллона, может содержать механизм вставления баллона, который соединяет механизм вставления баллон с механизмом для присоединения клапана баллона к соединителю держателя баллона.
[0076] Например, механизм вставления баллона может содержать ручку (например, в некоторых случаях функционирующую как дверь или крышка), которая закрывается над баллоном после помещения выступа из баллона в кронштейн. Закрывание ручки может поднять кронштейн и выступ, таким образом, вставив клапан в соединитель. В другом примере баллон может быть помещен в наклоняемую подставку, когда подставка наклонена наружу. При наклоне подставки внутрь до вертикального положения можно поднять баллон и вставить клапан в соединитель. В другом примере баллон может быть размещен (например, вертикально) на основании. Приведением в действие механизма, например, поворачивая основание, можно поднять баллон, чтобы вставить клапан в соединитель.
[0077] Клапан газового баллона, который выполнен с возможностью вставления в сатурационную машину с помощью движения вставления (например, без многократных поворотов газового баллона для ввинчивания клапана в держатель баллона сатурационной машины), может быть выполнен так, чтобы избежать создание тягового усилия, которое могло бы отделить клапан баллона от соединителя машины. Соответственно, клапан может быть выполнен, например, с отверстиями для выпуска газа, направленными поперечно и по существу с одинаковыми расстояниями по периметру клапана (например, два отверстия по существу на противоположных сторонах), для создания минимального (например, приблизительно нулевого) тягового усилия в направлении от соединителя.
[0078] Когда клапан соединен с держателем баллона сатурационной машины, механизм сатурационной машины может быть приведен в действие для выпуска газа из баллона. Выпускаемый газ может протекать в сатурационную головку сатурационной машины, чтобы сатурировать жидкое содержимое бутылки или другого баллона, который соединен с сатурационной головкой, или который иным образом выполнен с возможностью обеспечения впрыска газа в жидкость.
[0079] Аналогичным образом, клапан газового баллона выполнен с возможностью соединения клапана с держателем баллона заправочной головки системы заправки баллона. При подсоединении к заправочной головке система заправки баллона может быть приведена в действие для заправки баллона сжатым или сжиженным газом.
[0080] Проксимальный (например, по отношению к соединению клапана газового баллона с сатурационной машиной или заправочной системой) конец корпуса клапана газового баллона выполнен с возможностью соединения с держателем баллона. Продольной осью клапана газового баллона считается ось, которая проходит через клапан газового баллона в направлении движения механизма активации клапана (обычно в виде подвижного тарельчатого клапана, который выполнен с возможностью скольжения вдоль продольной оси).
[0081] Дистальный конец клапана газового баллона может быть вставлен в газовый баллон и прикреплен (например, посредством резьбы, сварки или иным способом). Дистальный конец содержит внутреннее отверстие для баллона и выполнен с возможностью вставления в баллон и открыт в него.
[0082] Корпус клапана газового баллона также содержит два или большее количество внешних отверстий, которые открыты поперечно к продольной оси (например, каждое из них ориентировано под углом не менее 80° и обычно не менее 90° от направления соединения с держателем баллона) клапана и отстоят друг от друга по существу с равными угловыми интервалами вокруг (например, двух внешних отверстий, по существу на противоположных сторонах) (продольной оси) корпуса баллона. Внешние отверстия выполнены с обеспечением возможности выпуска газа из баллона, когда клапан открывается с помощью механизма выпуска газа (например, вызывая дистальное движение тарельчатого клапана внутри клапана). Когда клапан открыт и клапан газового баллона соединен с держателем баллона заправочной системы, может быть обеспечена возможность заправки баллона сжатым или сжиженным газом через внешние отверстия.
[0083] Отстоящие друг от друга поперечно на равные расстояния положения внешних отверстий могут направлять любой газ, который выходит из баллона, будь то преднамеренное срабатывание механизма выпуска газа или иным образом, в равномерно отстоящие друг от друга боковые направления. В результате поперечному тяговому усилию, создаваемому выпуском газа через одно из внешних отверстий, может противостоять осевое тяговое усилие, создаваемое выпуском газа через другие внешние отверстия.
[0084] Расположение внешних отверстий с одинаковыми ориентированными в поперечном направлении интервалами может иметь преимущество перед типичной конструкцией, в которой канал выпускает газ в продольном направлении. При продольном расположении отверстий выпускаемый газ может создавать тяговое усилие, которое имеет тенденцию отталкивать баллон от его соединения. Соответственно, с таким продольно расположенным отверстием может потребоваться соединение, которое включает ввинчивание клапана в резьбовое гнездо. Усилие, создаваемое выпуском газа через поперечно ориентированное отверстие или отверстия, не будет создавать усилие, которое стремится отделить газовый баллон от держателя баллона, поскольку для держателя баллонов с газом оно перпендикулярно направлению вставления или извлечения газового баллона. Соответственно, держатель баллона может содержать защелку или другую конструкцию, которая не содержит резьбовое гнездо. Следовательно, соединение и удаление газового баллона и клапана с поперечно ориентированным отверстием может быть проще, чем соединение и удаление баллона и клапана с продольно ориентированным отверстием.
[0085] Обычно клапан можно открывать или закрывать, сдвигая тарельчатый клапан вдоль продольной оси клапана. Обычно, когда тарельчатый клапан сдвигается дистально от держателя баллона, клапан открывается, обеспечивая проточное сообщение внутри корпуса клапана между внутренней частью баллона через отверстие для баллона и внешними отверстиями. И наоборот, когда тарельчатый клапан перемещается проксимально к держателю баллона, клапан закрывается, так что проточное сообщение между внешними отверстиями и внутренней частью баллона блокируется. Например, проксимальный конец тарельчатого клапана может быть прижат к уплотнительной прокладке, чтобы предотвращать проточное сообщение между отверстием для баллона и внешними отверстиями. Открытие клапана обеспечивает возможность потока из источника текучей среды (например, из системы заправки баллона) в баллон через внешние отверстия или вытекать из баллона через отверстие для баллона и внешние отверстия (например, в сатурационную машину).
[0086] Уплотнительная конструкция одного или нескольких типов может быть включена в клапан газового баллона для предотвращения потока газа вокруг поршня. Например, поперечное сечение прокладки, окружающей поршень, может иметь U-образную форму. Проем U-образной формы может быть ориентирован внутрь баллона. Таким образом, когда поршень перемещается для выпуска газа из баллона, сжатый газ может заполнять проем U-образной прокладки, чтобы выталкивать стенки прокладки наружу, усиливая уплотнение вокруг поршня и предотвращая утечку выпущенного газа вокруг поршня.
[0087] Поршень, заставляющий тарельчатый клапан клапана перемещаться дистально, выполнен так, чтобы быть доступным для приводного механизма, например, сатурационной машины или системы заправки баллона. Обычно поршень имеет внешнюю поверхность, с которой может контактировать приводной механизм, расположенный в держателе баллона, например, в сатурационной машине системы заправки баллона, и которую можно приводить в действие этим механизмом. Проксимальный конец поршня может иметь внешнюю поверхность, образующую нажимную кнопку. Проксимальный конец поршня может быть расположен внутри выемки на проксимальной поверхности клапана газового баллона. Выемка может предотвращать случайное нажатие на поршень, например, поверхностью, которая шире, чем выемка.
[0088] Когда к проксимальному концу поршня прикладывается толкающее усилие, поршень может перемещаться дистально, например, вдоль оси, которая коллинеарна продольной оси тарельчатого клапана. Дистальный конец поршня может быть выполнен так, чтобы контактировать и давить на проксимальный конец тарельчатого клапана, когда поршень толкается дистально. Следовательно, нажатие кнопки на проксимальном конце поршня может толкать тарельчатый клапан в дистальном направлении для открытия клапана газового баллона. Например, приводной механизм сатурационной машины или системы заправки может содержать выдвижной шток или другой компонент, который может нажимать кнопку на проксимальном конце клапана газового баллона. Когда приводной механизм прикладывает усилие, которое по меньшей мере равно заданному усилию, тарельчатый клапан может перемещаться дистально в достаточной степени, чтобы обеспечить проточное соединение между отверстием для баллона и внешними отверстиями.
[0089] Поршень может быть выполнен как отдельный от тарельчатого клапана компонент.В качестве альтернативы, поршень может быть изготовлен как неотъемлемая часть тарельчатого клапана, например, образующая проксимальный конец тарельчатого клапана.
[0090] Обычно клапан газового баллона также содержит возвращающую конструкцию для удержания тарельчатого клапана в (например, проксимальном) закрытом положении, когда к внешней поверхности не прикладывается достаточно большое усилие. Например, пружина может быть выполнена так, чтобы толкать тарельчатый клапан в проксимальном направлении, если усилие пружины не преодолевается дистальным толкающим усилием, которое прикладывается к тарельчатого клапану, например, через поршень.
[0091] Клапан газового баллона может содержать конструкцию, позволяющую или облегчающую удерживание газового баллона держателем баллона, например, сатурационной машины или системы заправки баллона. Например, клапан газового баллона может содержать один или несколько выступов, которые могут быть вставлены во взаимодействующую конструкцию, например, одну или несколько канавок или пазов держателя баллона. Когда газовый баллон удерживается держателем баллона, держатель баллона может быть выполнен с возможностью соединения внешних отверстий клапана газового баллона с одним или несколькими трубопроводами, которые, например, связаны с держателем баллона.
[0092] Например, боковой выступ в форме диска может выходить поперечно наружу, например, на соединении клапана газового баллона с газовым баллоном или рядом с этим соединением. Диск может быть выполнен с возможностью вставления в соответствующий кронштейн держателя баллона. Диск может быть вставлен в качестве шайбы между клапаном газового баллона и баллоном или может быть изготовлен как неотъемлемая часть клапана газового баллона или самого баллона.
[0093] Например, кронштейн может содержать U-образную канавку, ширина которой достаточна, чтобы соответствовать толщине диска. Когда газовый баллон не удерживается держателем баллона, так что кронштейн свободен, диск газового баллона может скользить в канавку кронштейна. Когда диск полностью вставлен в кронштейн, может быть задействован закрывающий механизм держателя баллона для вставления проксимального конца клапана газового баллона во взаимодействующий соединитель, связанный с (например, являющийся неотъемлемой частью или расположенный рядом с) держателем баллона. Например, закрывающий механизм может содержать ручку, рычаг или другую конструкцию, передающую усилие, для подъема проксимального конца клапана газового баллона в герметичное гнездо сатурационной машины или системы заправки баллона. Работа закрывающего механизма может включать закрытие ручки (например, функционирующей как крышка, дверь или заслонка), например, которая может, по меньшей мере частично, закрывать газовый баллон, когда он подсоединен к соединителю.
[0094] В качестве альтернативы или в дополнение, кронштейн может содержать два или большее количество зубцов или рычагов, которые могут выдвигаться для захвата диска, когда клапан газового баллона вставлен в соединитель.
[0095] В качестве альтернативы или в дополнение, диск может быть асимметричным. Асимметрия может обеспечивать возможность вставления асимметричного диска через соответствующее асимметричное отверстие в кронштейне, когда асимметричный диск совмещен с асимметричным отверстием. Поворот асимметричного диска (например, на 90°) до ориентации, при которой асимметричный диск больше не совмещен с асимметричным отверстием, может удерживать асимметричный диск в кронштейне. В этом случае закрывающий механизм может быть выполнен с возможностью, помимо вставления проксимального конца клапана газового баллона в герметичный соединитель, поворота газового баллона (например, на 90°), чтобы удерживать асимметричный диск в кронштейне держателя баллона.
[0096] Соединитель для обеспечения потока газа между клапаном газового баллона и сатурационной машиной, системой заправки баллона или другим устройством может содержать гнездо, которое содержит уплотнительную конструкцию. Уплотнительная конструкция может быть выполнена для обеспечения проточного соединения между внешними отверстиями клапана газового баллона и газовым каналом соединителя, предотвращая при этом утечку газа в других направлениях. Например, уплотнительная конструкция может содержать две или большее количество прокладок, между которыми может проходить газ между каналом соединителя и внешними отверстиями клапана газового баллона. В качестве альтернативы или в дополнение, прокладка уплотнительной конструкции может содержать одно или большее количество отверстий, через которые может проходить газ. Прокладка может иметь U-образную форму, которая может расширяться при заправке сжатым газом для дальнейшего улучшения уплотнения.
[0097] В некоторых случаях переходник заправочной головки может быть прикреплен к заправочной головке системы заправки баллона для обеспечения возможности заправки газового баллона, который имеет клапан с поперечно ориентированными внешними отверстиями. Например, переходник заправочной головки может обеспечивать путь для прохождения текучей среды между заправочным отверстием системы заправки баллона, которое соосно продольной оси газового баллона, и расположенными поперечно внешними отверстиями клапана газового баллона. Путь для прохождения текучей среды может содержать одну или несколько канавок, каналов, трубок или другую конструкцию для обеспечения возможности протекания текучей среды сжатого газа (или сжиженного газа) из заправочного отверстия системы заправки баллона к внешним отверстиям клапана газового баллона. Например, переходник заправочной головки может быть прикручен к заправочной головке болтами или прикреплен иным образом.
[0098] В некоторых случаях переходник клапана баллона может быть присоединен к клапану газового баллона с поперечно ориентированными внешними отверстиями. Установка переходника клапана баллона на клапан газового баллона может обеспечивать возможность заправки газового баллона путем вставления переходника клапана баллона в заправочную головку системы заправки баллонов с осевым (продольным) заправочным отверстием. Переходник клапана баллона выполнен с возможностью обеспечения пути для прохождения текучей среды между заправочным отверстием системы заправки баллона, которое соосно продольной оси газового баллона, и поперечно ориентированными внешними отверстиями клапана газового баллона. Обычно путь для прохождения текучей среды, который обеспечивается переходником клапана баллона, содержит систему закрытых трубок или каналов между заправочным отверстием и внешними отверстиями клапана газового баллона.
[0099] Фиг. 1 изображает схематический вид в разрезе примера клапана газового баллона. Фиг. 2 изображает схематический вид в разобранном виде клапана газового баллона, показанного на Фиг. 1. Фиг. 3А изображает схематический вид в разрезе клапана газового баллона, показанного на Фиг. 1, когда клапан закрыт.
[00100] Внутренние компоненты клапана 10 заключены в корпус 12. Обычно корпус 12 клапана изготавливается из латуни или другого металла. Конец корпуса 12 клапана, который содержит отверстие 14 для баллона, выполнен с возможностью вставления в газовый баллон 46. Интерфейс между корпусом 12 клапана может быть герметизирован прокладкой 34. Газ может протекать из внутренней полости 48 газового баллона 46 в центральный канал 15 через отверстие 14 для баллона и газовый фильтр 36.
[00101] Чтобы обеспечить управляемый выпуск газа из газового баллона 46 в случае избыточного давления, газовый баллон 46 имеет разрывную мембрану 40. Разрывная мембрана 40 удерживается на месте между крышкой 38 и корпусом 12 клапана. В случае возникновения избыточного давления, достаточного для разрыва разрывной мембраны 40, газ в центральном канале 15 может, после разрыва разрывной мембраны 40, вытекать наружу через крышку 38 для разрывной мембраны и выходить в окружающую атмосферу через отверстие 39 для выпуска газа в крышке 38.
[00102] В некоторых случаях между корпусом 12 клапана и газовым баллоном 46 может удерживаться диск 44. Диск 44 может быть выполнен с возможностью входить в соответствующий паз или канавку держателя баллона. В качестве альтернативы или в дополнение к диску 44, один или несколько выступов, которые являются неотъемлемой частью корпуса 12 клапана, могут выступать поперечно из корпуса 12 клапана для взаимодействия с взаимодействующей конструкцией держателя баллона. В качестве альтернативы или в дополнение, корпус 12 может иметь одну или несколько выемок, которые выполнены с возможностью взаимодействия с одним или несколькими взаимодействующими выступами держателя баллона.
[00103] Когда клапан 10 газового баллона вставлен в газовый баллон 46 и клапан 10 открыт, газ из газового баллона 46 может быть выпущен через пару противоположно ориентированных внешних отверстий 16. Таким образом, результирующее тяговое усилие, создаваемое выпуском количества газа через пару внешних отверстий 16, может быть близким к нулю.
[00104] В некоторых примерах клапан газового баллона может иметь более двух противоположно ориентированных внешних отверстий 16. Например, дополнительные пары внешних отверстий 16 могут быть ориентированы для равномерного распределения внешних отверстий 16 по периметру корпуса 12 клапана.
[00105] Когда клапан 10 закрыт, как показано, тарельчатый клапан 18 прижат пружиной 20 к седлу 24 клапана (например, в форме круглого выступа, выступающего из поверхности) вкладыша 22. Следовательно, все проточное соединение между внутренней полостью 48 газового баллона 46 и внешними отверстиями 16 заблокировано.
[00106] Клапан 10 может быть открыт путем приложения толкающего усилия к внешней поверхности 26а поршня 26. Внешняя поверхность 26а подвергается воздействию приводного механизма, например, сатурационной машины или системы заправки баллона, к которой подсоединен клапан 10, и механически доступна (например, ее можно толкать) для этого механизма. Обычно толкающее усилие может быть приложено штоком привода, который расположен внутри держателя баллона или иным образом связан с ним. Внешняя поверхность 26а может быть расположена внутри углубления 27 на внешнем конце корпуса 12 клапана. Расположение внешней поверхности 26а внутри углубления 27 может предотвращать случайное или непреднамеренное приложение толкающего усилия к поршню 26.
[00107] Приложение толкающего усилия к внешней поверхности 26а толкает поршень 26 к тарельчатому клапану 18. Когда толкающее усилие, приложенное к внешней поверхности 26а, достаточно для преодоления противодействующего усилия, создаваемого пружиной 20 и давлением газа внутри газового баллона 46, конец 26b поршня 26 может отталкивать тарельчатый клапан 18 от седла 24 клапана.
[00108] Когда тарельчатый клапан 18 больше не прижат к седлу 24 клапана, газ может начать протекать между тарельчатым клапаном 18 и вкладышем 22. Например, во время сатурирования предполагается, что внутренняя полость 48 газового баллона 46 заполнена сжатым или сжиженным газом. Когда обеспечена возможность потока между тарельчатым клапаном 18 и вкладышем 22, газ может протекать наружу через канавки 23 вкладыша 22 вокруг корпуса 30 уплотнения к внешним отверстиям 16. Газ, который выпускается через внешние отверстия 16, затем может быть направлен через соединитель в сатурационную головку, в которой газ вводится в предназначенную для сатурирования жидкости. С другой стороны, когда внешние отверстия 16 соединены с заправочной системой, сжатый или сжиженный газ может впрыскиваться во внешние отверстия 16, чтобы протекать внутрь вокруг корпуса 30 уплотнения, через канавки 23 вкладыша 22 и между вкладышем 22 и тарельчатым клапаном 18 через центральный канал 15 во внутреннюю полость 48 газового баллона 46.
[00109] Можно предотвратить утечку газа из клапана 10 вокруг поршня 26 (например, как в типичном баллоне предшествующего уровня техники, где внешнее отверстие расположено вдоль продольной оси клапана 10) с помощью уплотнительной прокладки 28. В показанном примере уплотнительная прокладка 28 имеет приблизительно U-образное поперечное сечение, с проемом, обращенным к вкладышу 22 и газовому баллону 46. Уплотнительная прокладка 28 удерживается на месте корпусом 30 уплотнения и держателем 32 вкладыша. Таким образом, давление газа в направлении газового баллона 46 может иметь тенденцию расширять отверстие уплотнительной прокладки 28, таким образом улучшая уплотнение с предотвращением утечки газа вокруг поршня 26. В качестве альтернативы или в дополнение, могут использоваться уплотнительные прокладки, имеющие поперечное сечение других типов (например, V-образные, W-образные или другой формы, которая позволяет давлению газа усиливать уплотнение, или другие формы), или которые удерживаются на месте другими механизмами.
[00110] Фиг. 3В изображает схематический вид в разрезе клапана газового баллона, показанного на Фиг. 1, когда клапан открыт.
[00111] В показанном примере тарельчатый клапан 18 вставлен в клапан 10 и отделен от седла 24 клапана, чтобы образовывать зазор 50 между тарельчатым клапаном 18 и вкладышем 22. Соответственно, газ может проходить через зазор 50 между центральным каналом 15 и внешними отверстиями 16. При этом предотвращается протекание газа вокруг поршня 26, например, между поршнем 26 и корпусом 30 уплотнения, с помощью уплотнительной прокладки 28. Следовательно, поток газа между центральным каналом 15 и внешними отверстиями 16 ограничен в любом направлении через канал, который содержит канавки 23 и пространство между корпусом 30 уплотнения и корпусом 12 клапана.
[00112] Клапан 10 может быть выполнен с возможностью вставления в соединитель одного или нескольких типов, которые не содержат резьбу для удержания клапана 10 и газового баллона 46 в держателе баллона. Кроме того, соединитель для соединения с клапаном 10 может быть выполнен с возможностью подачи газа к поперечно ориентированным внешним отверстиям 16 или от них. Соответственно, соединитель может быть выполнен с возможностью обеспечивать боковой поток газа между внешними отверстиями 16 и газовым трубопроводом (например, к сатурационной головке сатурационной машины или от источника газа системы заправки баллона), предотвращая утечку газа в других направлениях.
[00113] Соединитель может быть выполнен с возможностью оказывать достаточно низкую силу трения на клапан 10, чтобы можно было вставлять клапан 10 в соединитель и удалять клапан 10 из соединителя. С другой стороны, соединитель выполнен с возможностью обеспечения потока газа между трубопроводом (например, сатурационной машины или системой заправки баллона) и внешними отверстиями 16, когда клапан 10 вставлен в соединитель.
[00114] Фиг. 4А изображает схематическое поперечное сечение соединителя для клапана газового баллона с поперечно ориентированными внешними отверстиями, при этом соединитель содержит пару твердых прокладок. Фиг. 4 В схематически иллюстрирует прокладку соединителя, показанного на Фиг. 4А.
[00115] Соединитель 52 для баллона выполнен с возможностью вставления в него клапана 10. Соединитель 52 дополнительно выполнен с возможностью проточного соединения между внешними отверстиями 16 клапана 10 и газовым каналом 54 соединителя 52. Например, в соединителе 52 сатурационной машины газовый канал 54 может соединять соединитель 52 с сатурационной головкой сатурационной машины. В соединителе 52 системы заправки баллона газовый канал 54 может соединять соединитель 52 с источником газа системы заправки баллона. Несмотря на то, что показан один единственный газовый канал 54, другие примеры соединителя для баллона могут включать два или большее количество газовых каналов 54.
[00116] Соединитель 52 имеет гнездо 51, которое содержит уплотнительную конструкцию в виде пары твердых прокладок 56 с зазором 58 между двумя твердыми прокладками 56. В показанном примере каждая твердая прокладка 56 имеет форму уплотнительного кольца с плоскими кольцевыми поверхностями 56а, граничащими с зазором 58. В других примерах каждая прокладка может быть полой или иметь полное или частичное кольцевое отверстие, или же ее внешняя форма может быть прямоугольной или иным образом отличаться от формы в показанном примере.
[00117] В показанном примере газ может протекать между внешними отверстиями 16 клапана 10 и газовым каналом 54 соединителя 52 через зазор 58 между твердыми прокладками 56.
[00118] Фиг. 4С изображает схематическое поперечное сечение соединителя для клапана газового баллона с поперечно ориентированными внешними отверстиями, причем соединитель содержит пару прокладок с U-образным поперечным сечением. Фиг. 4Б схематически иллюстрирует прокладку соединителя, показанного на Фиг. 4С.
[00119] Соединитель 53 для баллона выполнен с возможностью вставления клапана 10 и обеспечения проточного соединения между внешними отверстиями 16 клапана 10 и газовым каналом 54 соединителя 53 баллона.
[00120] Соединитель 53 имеет гнездо 51, которое содержит уплотнительную конструкцию в виде пары U-образных прокладок 60. Каждая U-образная прокладка 60 имеет U-образное поперечное сечение, которое окружает проем 60а. В показанном примере одна из U-образных прокладок 60 перевернута относительно другой, так что проемы 60а U-образных прокладок 60 ориентированы друг напротив друга. U-образные прокладки 60 разделены зазором 58.
[00121] В показанном примере газ может протекать между внешними отверстиями 16 клапана 10 и газовым каналом 54 через зазор 58 между U-образными прокладками 60. Газ может заполнять проемы 60а. Следовательно, давление газа может иметь тенденцию расширять U-образные прокладки 60 и открывать проемы 60а, таким образом прижимая U-образные прокладки 60 к окружающей конструкции, чтобы дополнительно предотвратить утечку газа.
[00122] Фиг. 5А изображает схематическое поперечное сечение соединителя для клапана газового баллона с поперечно ориентированными внешними отверстиями, при этом соединитель содержит искривленную вовнутрь прокладку. Фиг. 5В схематически иллюстрирует прокладку соединителя, показанного на Фиг. 5А.
[00123] Соединитель 61 для баллона выполнен с возможностью вставления клапана 10 и обеспечения проточного соединения между внешними отверстиями 16 клапана 10 и газовым каналом 54 соединителя 61.
[00124] Соединитель 61 имеет гнездо 51, которое содержит уплотнительную конструкцию в виде единой U-образной (или С-образной) прокладки 62. U-образная прокладка 62 имеет U-образное поперечное сечение, которое окружает проем 62а. Проем 62а U-образной прокладки 62 открывается внутрь по направлению к оси симметрии U-образной прокладки 62. Выпуклая поверхность U-образной прокладки 62, обращенная наружу, перфорирована наружными отверстиями 64. В показанном примере U-образная прокладка 62 имеет четыре равномерно расположенных наружных отверстия 64. В других примерах U-образная прокладка 62 может иметь меньше или больше четырех внешних отверстий 64.
[00125] В показанном примере газ может протекать между внешними отверстиями 16 клапана 10 и газовым каналом 54 соединителя 61 через внешние отверстия 64 в U-образной прокладке 62. Газ может заполнять проем 62а. Следовательно, давление газа может стремиться к расширению U-образной прокладки 62, чтобы еще больше открыть проем 62а, прижимая U-образную прокладку 62 к окружающей конструкции для дальнейшего предотвращения утечки газа.
[00126] Фиг. 5С изображает схематическое поперечное сечение соединителя для клапана газового баллона с поперечно ориентированными внутренними отверстиями, причем соединитель содержит искривленную наружу прокладку. Фиг. 5Б схематически иллюстрирует прокладку соединителя, показанного на Фиг. 5С.
[00127] Соединитель 65 для баллона выполнен с возможностью вставления клапана 10 и обеспечения проточного соединения между внешними отверстиями 16 клапана 10 и газовым каналом 54 соединителя 65.
[00128] Соединитель 65 имеет гнездо 51, которое содержит уплотнительную конструкцию в виде единой U-образной (или С-образной) прокладки 66. U-образная прокладка 66 имеет U-образное поперечное сечение, которое окружает проем 66а. Проем 66а U-образной прокладки 66 открыт наружу, в направлении от оси симметрии U-образной прокладки 66. На обращенной внутрь выпуклой поверхности U-образной прокладки 66 перфорированы внутренние отверстия 68. В показанном примере U-образная прокладка 66 имеет четыре равномерно отстоящих друг от друга внутренних отверстия 68. В других примерах U-образная прокладка 66 может содержать меньше или больше четырех внутренних отверстий 68.
[00129] В показанном примере газ может протекать между внешними отверстиями 16 клапана 10 и газовым каналом 54 соединителя 65 через внутренние отверстия 68 в U-образной прокладке 66. Газ может заполнять проем 66а. Следовательно, давление газа может стремиться к расширению U-образной прокладки 66, чтобы еще больше открыть проем 66а, прижимая U-образную прокладку 66 к окружающей конструкции для дальнейшего предотвращения утечки газа.
[00130] Держатель баллона может иметь конструкцию для удерживания вставленного газового баллона 46. В частности, конструкция может быть выполнена с возможностью взаимодействия с конструкцией, которая выступает наружу из газового баллона 46, из клапана 10, или из того и другого. Выступающая наружу конструкция может содержать диск 44 круглой или другой формы. В некоторых случаях диск 44 может быть выполнен в виде шайбы, которая удерживается между клапаном 10 и газовым баллоном 46, когда клапан 10 прикреплен к (обычно ввинчен) к газовому баллону 46.
[00131] На Фиг. 6 схематически показан газовый баллон и клапан газового баллона с круглым выступающим диском.
[00132] В показанном примере диск 44 является круглым и удерживается между газовым баллоном 46 и клапаном 10.
[00133] На Фиг. 7А схематически показано поперечное сечение защелкивающегося держателя баллона для удержания газового баллона, показанного на Фиг. 6.
[00134] В показанном примере держатель 70 баллона выполнен с возможностью вставления газового баллона путем нажатия на внешний конец клапана 10 (дистальный конец по отношению к баллону 46) вверх в направлении соединителя 76 для баллона и внутрь него. Несмотря на то, что на Фиг. 7 соединитель 76 показан имеющим форму, аналогичную соединителю 61 (с U-образной прокладкой 62), соединитель 76 может иметь форму, аналогичную любому из соединителей для баллона, описанных выше, или соединителю баллона другого типа.
[00135] Держатель 70 имеет по меньшей мере два подвижных зубца 71. Упругая пружина или другой элемент (не показан) выполнен с возможностью толкать каждый подвижный зубец 71 вовнутрь, по направлению друг к другу. Каждый скользящий зубец 71 имеет наклонную поверхность 71а, которая обращена наружу от держателя 70. Следовательно, когда газовый баллон 46 с диском 44 вдвигается (вверх на Фиг. 7) в держатель 70 баллона, диск 44 может давить на наклонную поверхность 71а и заставлять каждый подвижный зубец 71 выдвигаться наружу. Скольжение наружу скользящих зубцов 71 может обеспечить возможность вставления клапана 10 в соединитель 76. После того, как диск 44 вставлен за скользящие зубцы 71, упругий элемент может толкать скользящие зубцы 71 вовнутрь. Внутреннее положение скользящих зубцов 71 может препятствовать перемещению диска 44 наружу, таким образом удерживая газовый баллон 46 на держателе 70. Положение скользящих зубцов 71 может быть выбрано таким образом, что, когда скользящие зубцы 71 скользят внутрь после прохождения диска 44, клапан 10 может быть полностью вставлен в соединитель 76 баллона. Круглая форма диска 44 может обеспечить возможность вставления газового баллона 46 без необходимости удерживать газовый баллон 46 в определенной ориентации (вокруг его продольной оси).
[00136] Фиг. 7 В схематически иллюстрирует вставление баллона в защелкивающийся держатель баллона, показанный на Фиг. 7А.
[00137] В показанном примере клапан 10 газового баллона 46 может быть вставлен в соединитель 76 для баллона путем перемещения клапана 10 к соединителю 76 движением вверх 67а. Когда клапан 10 вставляется в соединитель 76, скользящие зубцы 71 могут выталкиваться наружу диском 44. Когда клапан 10 полностью вставлен в соединитель 76, скользящие зубцы 71 могут защелкнуться внутрь под диском 44, чтобы закрепить диск 44, и, таким образом, газовый баллон 46 внутри держателя 70.
[00138] В показанном примере основание 73 держателя баллона (например, сатурационной машины или системы заправки баллона) имеет отверстие 75. Таким образом, газовый баллон 46 может вставляться так, чтобы продольная ось газового баллона 46 и клапана 10 совмещались с направлением движения 67а вверх, при этом нижний конец газового баллона 46 проходит вниз через отверстие 75. Соответственно, чтобы вставить клапан 10 в соединитель 76, газовый баллон 46 нужно только перемещать параллельно движению 67а вверх (например, без поворота газового баллона 46).
[00139] Фиг. 7С схематически иллюстрирует извлечение баллона из защелкивающегося держателя баллона, показанного на Фиг. 7А.
[00140] В показанном примере диск 44 прикрепляется к держателю 70 с помощью подвижных зубцов 71. Для обеспечения возможности извлечения газового баллона 46 из держателя 70 можно задействовать механизм 69 освобождения, чтобы вызвать втягивание подвижных зубцов 71 наружу, чтобы обеспечить возможность перемещения диска 44 вниз мимо скользящих зубцов 71. Например, механизм 69 освобождения может содержать кнопку, рычаг или другой управляемый пользователем компонент, который при нажатии заставляет скользящие зубцы 71 отводиться наружу. Когда скользящие зубцы 71 втянуты, газовый баллон 46 может быть удален из держателя 70 путем перемещения клапана 10 от соединителя 76 с помощью движения 67b вниз.
[00141] Держатель 70 может содержать механизм втягивания, который приводится в действие пользователем, например, путем нажатия кнопки или рычага, для втягивания скользящих зубцов 71, чтобы обеспечить возможность извлечения газового баллона 46 из держателя 70.
[00142] В качестве альтернативы или в дополнение, механизм для удержания газового баллона 46 в держателе баллона может быть выполнен с возможностью взаимодействия с некруглым асимметричным диском, который вытянут вдоль одной оси.
[00143] Фиг. 8А схематически иллюстрирует газовый баллон и клапан газового баллона с некруглым боковым выступом.
[00144] В показанном примере не круглый боковой выступ 72 удерживается между газовым баллоном 46 и клапаном 10. В показанном примере некруглый боковой выступ 72 имеет форму дважды усеченного круга. В других примерах некруглый боковой выступ может иметь другую некруглую форму.
[00145] Фиг. 8В схематически иллюстрирует вставление газового баллона, показанного на Фиг. 8А, в держатель баллона сатурационной машины.
[00146] В показанном примере некруглый боковой выступ 72 имеет форму дважды усеченного круга. В других примерах некруглый боковой выступ 72 может иметь любую форму, которая не является кругосимметричной. Например, некруглый боковой выступ 72 может иметь многоугольную, овальную или другую некруглую форму.
[00147] В показанном примере сатурационная машина 63 содержит сатурационную головку 81 и держатель 74 баллона. Держатель 74 баллона содержит кронштейн с удлиненным отверстием 77. Когда длинный размер некруглого бокового выступа 72 на газовом баллоне 46 совмещен с удлиненным отверстием 77 кронштейна 78, газовый баллон 46 может перемещаться прямолинейным движением 79а до тех пор, пока клапан 10 не будет вставлен в соединитель 76 баллона.
[00148] Когда клапан 10 вставлен в соединитель 76 баллона, газовый баллон 46 может быть повернут вокруг своей оси поворотным движением 79b (или поворотом в противоположном направлении). Поворот газового баллона 46 может поворачивать некруглый боковой выступ 72 на достаточный угол, так что некруглый боковой выступ 72 больше не совпадает с удлиненным отверстием 77. При таком повороте кронштейн 78 может препятствовать движению наружу (например, в направлении, противоположном прямолинейному движению 79а) некруглого бокового выступа 72. Таким образом, газовый баллон 46 и клапан 10 могут быть заблокированы внутри держателя 74 баллона и соединителя 76.
[00149] В других примерах, например, когда некруглый боковой выступ имеет другую форму, отверстие кронштейна может иметь форму, соответствующую форме некруглого бокового выступа. Таким образом, когда некруглый боковой выступ совмещен с отверстием, некруглый боковой выступ может быть вставлен в отверстие. После вставления газовый баллон 46 и некруглый боковой выступ можно повернуть так, что отверстие и некруглый боковой выступ больше не будут совмещены друг с другом. Следовательно, после такого поворота некруглый боковой выступ и прикрепленный к нему газовый баллон 46 не могут быть сняты с кронштейна.
[00150] Фиг. 8С схематически иллюстрирует газовый баллон, заблокированный в держателе баллона, показанном на Фиг. 8В.
[00151] Как показано на Фиг. 8С, некруглый боковой выступ 72 был повернут поворотным движением 79b (или поворотом в противоположном направлении) примерно на 90°, так что длинное измерение некруглого бокового выступа 72 приблизительно перпендикулярно удлиненному отверстию 77. Таким образом, газовый баллон 46 блокируется внутри держателя 74 баллона. Чтобы обеспечить возможность извлечения газового баллона 46 из держателя 74, газовый баллон 46 можно поворачивать до тех пор, пока длинное измерение некруглого бокового выступа 72 не будет совмещено с длинным измерением удлиненного отверстия 77. При таком совмещении газовый баллон 46 может быть удален из держателя 74 путем вытягивания газового баллона 46 в направлении, противоположном направлению прямолинейного движения 79а.
[00152] В некоторых примерах держатель баллона может быть выполнен с возможностью подъема газового баллона 46, когда газовый баллон 46 закрыт в держателе баллона. Механизм закрывания может содержать, например, ручку (например, работающую как дверь или другая крышка), которая в некоторых примерах может, по меньшей мере частично, закрывать полость, в которую может быть вставлен газовый баллон 46, наклоняемую подставку, в которую может быть вставлен газовый баллон 46, или основание, на котором может стоять газовый баллон 46.
[00153] Фиг. 9А схематически иллюстрирует сатурационную машину с держателем баллона, имеющим закрывающуюся крышку, выполненную с возможностью поднятия баллона на место, когда она закрыта. Фиг. 9В схематически иллюстрирует детали подъемного механизма держателя баллона, показанного на Фиг. 9А.
[00154] Когда газовый баллон 46 с диском 44 (который может быть круглым, может иметь прямоугольную или другую многоугольную форму, овальную форму или другую форму) вставляется в держатель 90 баллона сатурационной машины 63, диск 44 может располагаться над ним и может удерживаться кронштейном 94. Крышка 92 баллона соединена с кронштейном 94 шарнирно-рычажным механизмом 96 (или другим механизмом, например, который содержит один или несколько шарниров, рычагов, шестерен, шкивов или других механических компонентов, которые связывает движение кронштейна 94 с движением крышки 92). Таким образом, когда крышка 92 поворачивается вниз и внутрь (например, к газовому баллону 46), чтобы закрыть газовый баллон 46, кронштейн 94 поднимается к соединителю 76 баллона. Когда крышка 92 баллона полностью закрыта, клапан 10 может быть полностью вставлен в соединитель 76 баллона. Когда клапан вставлен полностью, пользователь приводит в действие элемент 97 управления выпуском газа (например, кнопку, как в показанном примере, или другой элемент управления, приводимый в действие пользователем), чтобы приводной механизм привел в действие клапан 10 для выпуска газа из газового баллона 46.
[00155] Фиг. 9С изображает схематический вид в разрезе держателя баллона, показанного на Фиг. 9В, с закрытой крышкой.
[00156] При полностью закрытой крышке 92 клапан 10 полностью вставлен в соединитель 76 баллона. В показанном примере шток 98 привода расположен рядом с поршнем 26 клапана 10. В показанном примере, когда элемент 97 управления выпуском газа нажат, приводной механизм прижимает шток 98 привода к поршню 26. Продолжительное нажатие на шток 98 привода и поршень 26 может открыть клапан 10, чтобы выпустить газ из баллона 46 через внешние отверстия в газовый канал соединителя 76 баллона.
[00157] На Фиг. 10А схематически показан держатель баллона сатурационной машины с наклоняемой подставкой баллона, которая выполнена так, чтобы поднимать баллон в положение, когда она закрыта.
[00158] Газовый баллон 46 с диском 44 (который может быть круглым или может иметь прямоугольную или другую многоугольную форму, овальную форму или другую форму) может быть вставлен или извлечен из подставки 102 для баллона держателя 100 сатурационной машины 63, когда подставка 102 наклонена наружу, как показано. Диск 44 вставленного газового баллона 46 может надеваться на кронштейн 94. Можно отметить, что в показанном примере функция диска 44 и кронштейна 94 может заключаться в том, чтобы направлять газовый баллон 46 в правильное положение на подставке 102. В других примерах подставка 102, газовый баллон 46 или и то и другое могут иметь другую конструкцию для направления размещения газового баллона 46 в подставке 102.
[00159] Подставка 102 соединена с неподвижной конструкцией держателя 100 шарнирным рычажным механизмом 104 (или другим механизмом, например, который содержит один или несколько шарниров, рычагов, шестерен, шкивов или других механических компонентов). Следовательно, когда газовый баллон 46 вставлен в подставку 102 и подставка 102 поворачивается внутрь (чтобы наклонить газовый баллон 46 вверх, пока он не встанет), подставка 102 и газовый баллон 46 поднимаются к соединителю 76.
[00160] Фиг. 10В изображает схематический вид в разрезе держателя баллона, показанного на Фиг. 10А, с полностью вставленным держателем баллона.
[00161] Как показано, подставка 102 и газовый баллон 46 наклонены внутрь и находятся в вертикальном положении. Клапан 10 полностью вставлен в соединитель 76, чтобы обеспечить работу клапана 10 благодаря приведению в действие элемента 97 управления выпуском газа, приводного механизма 99 и штока 98 привода.
[00162] На Фиг. 11А схематически показан держатель баллона, который содержит основание, выполненное с возможностью подъема газового баллона в положение при повороте, причем держатель баллона показан в конфигурации, которая позволяет вставлять или извлекать баллон.
[00163] Основание 118 держателя 110 баллона (например, сатурационной машины или системы заправки баллона) содержит опорную платформу 112 для баллона. В показанной конфигурации опорная платформа 112 является достаточно низкой, так что газовый баллон 46 со своим клапаном 10 может быть установлен между опорной платформой 112 и соединителем 76. В этой конфигурации газовый баллон 46 может быть вставлен в держатель 110 или извлечен из держателя 110.
[00164] Опорная платформа 112 может поворачиваться для подъема газового баллона 46, так что клапан 10 вставляется в соединитель 76 баллона. В показанном примере опорная платформа 112 может поворачиваться таким образом, что выступ 114 на опорной платформе 112 поднимается по наклону 116 на основание 118. Следовательно, поворот опорной платформы 112 так, что выступ 114 поворачивается к самой верхней части наклона 116, может поднимать газовый баллон 46 и клапан 10, так что клапан 10 вставляется в соединитель 76.
[00165] На Фиг. 11В схематически показан держатель баллона, показанный на Фиг. 11 А, когда он находится в конфигурации, в которой баллон заблокирован в рабочем положении.
[00166] Когда, как в показанном примере, клапан 10 вставляется в соединитель 76, пространство между опорной платформой 112 и держателем 110 уменьшается, так что газовый баллон 46 не может быть извлечен из держателя 110. Поворот газового баллона 46 таким образом, что выступ 114 поворачивается назад к самой нижней части наклона 116, может опустить опорную платформу 112, так что пространство между опорной платформой 112 и соединителем 76 будет достаточно большим, чтобы можно было удалить газовый баллон 46 и клапан 10 из соединителя 76. В некоторых случаях основание 118 может содержать конструкцию для предотвращения случайного или непреднамеренного опускания опорной платформы 112. Например, основание 118 может содержать защелку или другую конструкцию, которая предназначена для удерживания выступа 114 в самой верхней части наклона 116 до тех пор, пока не сработает механизм разблокировки (например, расцепления).
[00167] Держатель 110 может содержать одну или несколько других конструкций для крепления вставленного газового баллона 46. Например, когда газовый баллон 46 содержит диск 44, держатель 110 может содержать подвижные зубцы 71 или другую конструкцию для удержания диска 44 на месте. Когда газовый баллон 46 содержит некруглый боковой выступ 72, держатель 110 может содержать кронштейн 78 с удлиненным отверстием 77. Держатель 110 может содержать другие типы крепежной конструкции.
[00168] Фиг. 12А схематически иллюстрирует пример сатурационной машины с держателем баллона, имеющим ручку, которая поднимается, чтобы можно было вставить газовый баллон.
[00169] Ручка 122 сатурационной машины 120 может подниматься или опускаться путем поворота вокруг оси 127. В машине 120 кронштейн 94 соединен с ручкой 122 подъемным механизмом (видимым на Фиг. 12D). Когда ручка 122 поднята, как в показанном примере, кронштейн 94 опускается от соединителя 76. Пространства между кронштейном 94 и соединителем 76 достаточно для размещения клапана 10 между кронштейном 94 и соединителем 76.
[00170] Фиг. 12В схематически иллюстрирует размещение баллона в держателе баллона, показанном на Фиг. 12А.
[00171] Как показано, отверстие 124 в основании 128 сатурационной машины 120 обеспечивает возможностью размещения нижнего конца газового баллона 46 (например, конца газового баллона 46, который находится напротив конца, к которому прикреплен клапан 10) в отверстии 124. Поворот клапана 10 по направлению к кронштейну 94 (как показано стрелкой 123) может размещать диск 44 (или другой боковой выступ от газового баллона 46) над кронштейном 94.
[00172] Отверстие 124 может быть выполнено с возможностью совмещения газового баллона 46, который помещается в отверстие 124, с соединителем 76. Например, совмещение может включать ориентацию оси газового баллона 46 параллельно оси соединителя 76, и совмещение осей в поперечном направлении так, чтобы газовый баллон 46 был коаксиальным с соединителем 76.
[00173] Фиг. 12С изображает схематический вид в разрезе держателя баллона, показанного на Фиг. 12В, с баллоном, помещенным внутри.
[00174] В показанном примере приподнятый нижний участок 124а отверстия 124 выполнен так, что он имеет неровную нижнюю поверхность 129, чтобы газовый баллон 46 независимо наклонялся к кронштейну и опирался на внутренний радиус кронштейна, таким образом совмещаясь с гнездом соединителя 76.
[00175] Приподнятый нижний участок 124а закрывает часть (например, дугообразный сегмент) пространства отверстия 124. Остальная часть отверстия 124 может содержать более низкую область 124b. В показанном примере отверстие 124 не имеет дна в более низкой области 124b. В других примерах приподнятый нижний участок 124а может быть приподнят над дном более низкой области 124b.
[00176] Площадь приподнятого нижнего участка 124а имеет такую форму и размер, что центр тяжести газового баллона 46 (обычно вдоль или около оси 131 баллона) находится над более низкой областью 124b. В результате, когда газовый баллон 46 помещается в отверстие 124, сила тяжести может повернуть газовый баллон 46, чтобы он прислонился к внутреннему радиусу кронштейна и совместился с (например, гнездом) соединителем 76.
[00177] Можно отметить, что, несмотря на то, что отверстие 124 с приподнятым нижним участком 124а показано и описано в связи с сатурационной машиной 120, приподнятый нижний участок 124а может быть включен в другие примеры (например, примеры, показанные на Фиг. 8, 9 и 11).
[00178] Фиг. 12D схематически иллюстрирует подъемный механизм держателя баллона, показанного на Фиг. 12С. Фиг. 12Е схематически иллюстрирует пример основания сатурационной машины, показанной на Фиг. 12 В, которая выполнена с возможностью наклона клапана баллона к кронштейну после вставления баллона в основание.
[00179] Как показано, диск 44 газового баллона 46 опирается на кронштейн 94. Шток 125 прикреплен к ручке 122 и вставлен в паз 121 на кронштейне 94. При опускании ручки 122 путем поворота ее вокруг оси 127 шток 125 поворачивается наружу от сатурационной машины 120. Паз 121 является криволинейным (как в показанном примере) или наклонным, или иным образом негоризонтальным и не вертикальным, так что внешний конец паза 121 ниже, чем внутренний конец паза 121. Соответственно, поворот штока 125 наружу из-за опускания ручки 122 оказывает направленное вверх усилие на паз 121 и кронштейн 94. Следовательно, опускание ручки 122 может поднять кронштейн 94 и газовый баллон 46, который размещен на кронштейне 94, по направлению к соединителю 76 баллона.
[00180] Фиг. 13А схематически иллюстрирует сатурационную машину, показанную на Фиг. 12А, с опущенной ручкой для вставления газового баллона в сатурационную машину.
[00181] Как показано, ручка 122 полностью опущена. Следовательно, кронштейн 94 полностью поднят к соединителю 76.
[00182] Фиг. 13В схематически иллюстрирует баллон, вставленный в сатурационную машину, показанную на Фиг. 13А. Фиг.13С изображает схематический вид в разрезе баллона, вставленного в сатурационную машину, показанную на Фиг. 13 В.
[00183] Как показано, ручку 122 опускают над газовым баллоном 46. В некоторых случаях, когда ручка 122 полностью опущена, ручка 122 может обеспечивать дополнительное экранирование или защиту соединения между клапаном 10 и соединителем 76.
[00184] В результате опускания ручки 122 шарнирно-рычажный механизм 96 поднимает клапан 10 в соединитель 76. Следовательно, срабатывание элемента 97 управления выпуском газа и приводного механизма 99 может приводить в действие клапан 10 для выпуска газа из газового баллона 46 для подачи в сатурационную головку машины 120.
[00185] После вставления газового баллона 46 в сатурационную машину 120 крышка 126 баллона может быть вставлена в основание 128 и закрыта.
[00186] Фиг. 14А схематически иллюстрирует переходник для заправочной головки, обеспечивающий возможность подсоединения клапана газового баллона с поперечно ориентированными внешними отверстиями к заправочной головке системы заправки баллона. Фиг. 14В схематически иллюстрирует вид переходника клапана баллона, показанного на Фиг. 14А, показывая сторону переходника, в которую вставляется клапан баллона. Фиг. 14С изображает схематический вид в разрезе переходника клапана баллона, показанного на Фиг. 14А.
[00187] Переходник 150 для заправочной головки содержит корпус 101, имеющий заданную форму, например, цилиндрическую, или другую форму, и может быть установлен на заправочной головке системы заправки баллона. Например, заправочная головка может быть выполнена таким образом, чтобы перед установкой переходника 150 для заправочной головки обеспечить возможность установки клапана баллона, в котором внешнее отверстие клапана ориентировано вдоль или параллельно продольной оси баллона. Установка переходника 150 на заправочную головку обеспечивает путь для текучей среды между ориентированным в продольном направлении заправочным отверстием заправочной головки и поперечно ориентированными внешними отверстиями 16 клапана баллона.
[00188] Например, переходник 150 для заправочной головки может содержать монтажную конструкцию 156 (например, отверстия, как в показанном примере, резьбу, или один или несколько кронштейнов, выступов или другую конструкцию), чтобы обеспечить или облегчить установку переходника 150 на заправочную головку. В показанном примере установка переходника 150 на заправочную головку может включать вставление болтов, винтов, заклепок, зажимов или других крепежных элементов через установочную конструкцию 156 в заправочную головку. Уплотнительная конструкция (например, уплотнительное кольцо, уплотнительный диск или другая уплотнительная конструкция) может быть установлена, например, внутри уплотнительной канавки 154 между переходником 150 и заправочной головкой.
[00189] Когда переходник 150 установлен на заправочной головке, путь для текучей среды может быть сформирован между заправочным отверстием заправочной головки и внешними отверстиями 16 клапана баллона, который вставлен во внутреннее пространство 160 переходника 150, который доступен через отверстие 103, расположенное сбоку переходника, предназначенное для приема баллона (например, внизу). Когда клапан баллона вставлен во внутреннее пространство 160, уплотнение 166 клапана (например, уплотнительное кольцо, как показано, или уплотнительный диск, или другая уплотнительная конструкция) может предотвращать утечку газа в пространство во внутреннем пространстве 160, которое находится в жидкостном контакте с поршнем 26 клапана баллона. Ограничительная конструкция 161 баллона может способствовать правильному размещению газового баллона 46 и клапана баллона во внутреннем пространстве 160. В некоторых случаях уплотнение 168 баллона (например, уплотнительное кольцо круглого сечения или другой тип уплотнения) может предотвращать или препятствовать утечке газа наружу внутреннего пространства 160 между газовым баллоном 46 и переходником 150.
[00190] Когда клапан баллона вставлен во внутреннее пространство 160 переходника 150, сжатый газ (например, в газообразной или сжиженной форме) может выпускаться из системы заправки баллона через ориентированное в продольном направлении заправочное отверстие. Направленный поперечно канал 152 переходника 150 может быть расположен таким образом, чтобы он был проточно соединен с заправочным отверстием Выпускаемый сжатый газ может протекать в поперечном направлении от заправочного отверстия вдоль поперечного канала 152 к одному или нескольким продольным каналам 162, например, на одном или нескольких концах поперечного канала 152. Сжатый газ может протекать в переходник 150 через каждый продольный канал 162 в радиальный канал 164, каждый из которых ориентирован радиально или
[00189] Выемки 158 могут облегчать удерживание переходника 150, например, при установке на заправочную головку. Отверстия 159 в углублениях 158 также могут облегчать сверление, механическую обработку или иное формирование радиальных каналов 164.
[00190] В некоторых примерах проточное соединение между заправочным отверстием заправочной головки и отверстием 159 переходника 150 может образовывать трубка.
[00191] Машина 180 для заправки баллона может представлять собой компонент системы заправки баллона. Машина 180 выполнена с возможностью заправки газового баллона 46, клапан 10 которого вставлен в переходник 150, сжатым (например, сжиженным) газом из источника газа (не показан). Например, машина 180 может управляться автоматической (например, компьютеризированной) системой управления, или вручную. Газ может контролируемым образом поступать в переходник 150 через заправочную головку 184. Например, заправочная головка 184 может содержать различные блоки регулирования и управления, такие как электрически управляемые клапаны (например, электромагнитные клапаны), датчики давления или другие блоки управления. Машина 180 для заправки баллона может содержать компоненты 186 мониторинга и управления, например, включающие запорный клапан и массовый расходомер.
[00192] Машина 180 для заправки баллона может содержать узел 182 загрузки баллона. В показанном примере узел 182 загрузки баллона содержит линейный конвейер 188, который выполнен с возможностью перемещения вертикального (например, по существу вертикального с ориентированным вверх клапаном 10) газового баллона 46 по прямолинейному пути в положение под переходником 150 и заправочной головкой. Когда газовый баллон 46 расположен ниже переходника 150, линейный поршень 190 может поднимать газовый баллон 46 так, что клапан 10 вставляется в переходник 150. В других примерах ориентация по меньшей мере некоторых компонентов машины для заправки баллона и узел загрузки баллона может быть перевернут. В этом случае узел загрузки может быть выполнен с возможностью опускания перевернутого газового баллона 46 для вставления клапана 10 в переходник 150 под газовым баллоном 46. В других примерах клапан газового баллона может быть сдвинут горизонтально или в другой ориентации в переходник 150.
[00196] Фиг. 15А схематически иллюстрирует переходник клапана баллона для размещения на клапане баллона с поперечно ориентированными внешними отверстиями, чтобы обеспечить соединение клапана баллона с заправочной головкой системы заправки баллона. Фиг. 15 В изображает схематическое поперечное сечение переходника клапана баллона, показанного на Фиг. 15А.
[00197] Переходник 170 клапана баллона выполнен с возможностью размещения над клапаном баллона, который имеет поперечно ориентированные внешние отверстия 16, и прикрепления к нему. Переходник 170 затем может обеспечить возможность заправки газового баллона 46, к которому клапан баллона прикреплен с помощью заправочной головки, чье заправочное отверстие ориентировано в продольном направлении.
[00198] В показанном примере переходник 170 содержит корпус 171 и собран из двух компонентов, фитинга 151 для клапана баллона и фитинга 172 для заправочной головки. В показанном примере фитинги 151 и 172 присоединены друг к другу по резьбе 176. Уплотнение между продольным каналом 174 фитинга 172 для заправочной головки и боковым каналом 152 фитинга 151 для клапана баллона может быть обеспечено уплотнением (например, уплотнительным кольцом, прокладкой или другой уплотнительной конструкцией), которое помещается в уплотнительную канавку 154. В других примерах фитинг 172 для заправочной головки может быть прикреплен к фитингу 151 для клапана баллона сваркой или пайкой, или с помощью одного или нескольких болтов, винтов, штифтов, зажимов, клея или другой крепежной конструкции. Выемки 178 могут облегчать сборку или манипуляцию во время использования.
[00199] Фитинг 172 для заправочной головки имеет форму, обеспечивающую возможность вставления переходника 170 в заправочную головку системы заправки баллона. Например, по меньшей мере дистальный (по отношению к газовому баллону 46) конец фитинга 172 может иметь форму, аналогичную форме дистального конца клапана баллона с продольным внешним отверстием на его дистальном конце. Когда переходник 170 помещается на клапан баллона, дистальный конец клапана баллона может входить во внутреннее пространство 160 внутри фитинга 151 для клапана баллона после вставления через отверстие 173. Уплотнение 166 клапана (например, уплотнительное кольцо, как показано, уплотнительный диск или другая уплотнительная конструкция) может предотвращать утечку сжатого газа в пространство во внутреннем пространстве 160, которое находится в гидравлическом контакте с поршнем 26 клапана баллона. Уплотнение баллона 168 может предотвращать утечку сжатого газа на границе раздела между
[00200] Фитинг 151 для клапана баллона выполнен аналогично переходнику 150 для заправочной головки, как описано выше. Когда переходник 170 вставлен в заправочную головку системы заправки баллона, продольный канал 174 внутри фитинга 172 для заправочной головки может находиться в проточном соединении с заправочным отверстием заправочной головки. Таким образом, сжатый газ может протекать из заправочного отверстия через продольный канал 174 в боковой канал 152 фитинга 151 для клапана баллона. Сжатый газ может протекать внутри фитинга 151 через каждый продольный канал 162 в радиальный канал 164, каждый из которых ориентирован радиально или иным образом в поперечном направлении внутри фитинга 151. Сжатый газ может протекать сбоку вовнутрь внутри каждого радиального канала 164 к поперечно ориентированным внешним отверстиям 16 клапана баллона. Уплотнение 166 клапана и уплотнение 168 баллона могут способствовать потоку сжатого газа из радиальных каналов 164 во внешние отверстия 16.
[00201] На Фиг. 16А схематически показан другой переходник для заправочной головки, обеспечивающий возможность подсоединения клапана газового баллона с поперечно ориентированными внешними отверстиями к заправочной головке системы заправки баллона.
[00202] Фиг. 16В схематически иллюстрирует вид переходника клапана баллона, показанного на Фиг. 16А, показывая сторону переходника, на которой вставляется клапан баллона.
[00203] Фиг 16С изображает вид сверху переходника клапана баллона, показанного на Фиг. 16А.
[00204] Фиг.13D изображает схематический вид в разрезе переходника клапана баллона, показанного на Фиг. 16А.
[00205] Фиг. 16Е изображает схематический вид в разрезе переходника клапана баллона, показанного на Фиг. 16А, с верхней частью газового баллона, вставленной для заправки и удерживаемой внутри переходника.
[00206] Переходник 200 для заправочной головки может содержать корпус 201 цилиндрической или другой формы и может быть установлен на заправочной головке системы заправки баллона. Например, заправочная головка перед установкой переходника 200 может быть выполнена так, чтобы обеспечить возможность вставления клапана баллона через отверстие 203 в корпусе 201, которое может быть расположено, например, в нижней части корпуса 201. При вставлении клапана баллона в переходник 200, внешнее отверстие клапана может быть ориентировано вдоль или параллельно продольной оси баллона. Установка переходника 200 на заправочную головку обеспечивает прохождение текучей среды между ориентированным в продольном направлении заправочным отверстием заправочной головки и поперечно ориентированными внешними отверстиями 16 клапана баллона.
[00207] Например, переходник 200 может содержать монтажную конструкцию 256 (например, отверстия, как в показанном примере, резьбу, или один или несколько кронштейнов, выступов или другую конструкцию), чтобы обеспечить или облегчить установку переходника 200 на заправочную головку. В показанном примере установка переходника 200 на заправочную головку может включать вставление болтов, винтов, заклепок, зажимов или других крепежных элементов через монтажную конструкцию 256 в заправочную головку. Уплотнительная конструкция (например, уплотнительное кольцо, уплотнительный диск или другая уплотнительная конструкция) может быть установлена, например, в уплотнительной канавке 254 между переходником 200 и заправочной головкой.
[00208] Когда переходник 200 установлен на заправочной головке, путь для текучей среды может быть образован между заправочным отверстием заправочной головки и внешними отверстиями 16 клапана баллона, который вставляется в полость 260 переходника 200, и погружается во внутреннее пространство 262. Когда клапан баллона вставлен во внутреннее пространство 262 (на этом чертеже для краткости показан только корпус клапана 12 баллона), уплотнение 266 клапана (например, уплотнительное кольцо, как показано, или уплотнительный диск или другая уплотнительная конструкция) уплотняет внутреннее пространство 262 в отверстии, через которое вставляется верхняя часть клапана баллона, предотвращая утечку газа из этого пространства в окружающий воздух. Ограничительная конструкция 261 баллона может способствовать правильному размещению газового баллона 46 и клапана баллона во внутреннем пространстве 262 и в полости 260.
[00209] Когда клапан баллона вставлен во внутреннее пространство 262 переходника 200 заправочной головки (на этом чертеже и следующих чертежах для краткости показан только корпус клапана 12 баллона), сжатый газ (например, в газообразной или сжиженной форме) может быть выпущен из системы заправки баллона через заправочное отверстие, ориентированное в продольном направлении. Отверстие 274 переходника 200 может быть расположено так, чтобы иметь проточное соединение с заправочным отверстием. Прокладка может окружать канал 274 и заправочную головку, например, в уплотнительной канавке 254, чтобы предотвратить или препятствовать утечке или любому другому потоку газа, кроме как по каналу 274, в герметичную полость 260. Выпускаемый сжатый газ может протекать в герметичное внутреннее пространство 262 и заполнять его, окружая клапан баллона, например, в пространстве, ограниченном между клапаном баллона и внутренним пространством 262, заполняя канавку 263, окружающую клапан баллона в месте впуска и заправляя баллон через поперечно ориентированные внешние отверстия 16.
[00210] Фиг. 17 изображает схематический вид в разрезе переходника клапана баллона со статическим штоковым приводом. Переходник 300 может содержать корпус 301 (например, цилиндрический корпус, также может использоваться корпус переходника других форм). Переходник 300 по существу очень похож на переходник, показанный на Фиг. 14А-14С, но дополнительно имеет статический шток 280 привода, проходящий вовнутрь во внутреннее пространство 160, выступающее из внутренней поверхности, обращенной к внутреннему пространству 160, и расположенное напротив предполагаемого положения поршня 26 клапана баллона, когда баллон вставлен в переходник (через отверстие 303), так что при правильном размещении внутри переходника и удержании в этом положении статический шток 280 привода вдавливает поршень 26 в корпус клапана, прижимая тарельчатый клапан 18 и, тем самым, облегчая поток газа в баллон.
[00211] Фиг. 18 изображает схематический вид в разрезе переходника клапана баллона с динамическим штоковым приводом. Переходник 400 может содержать корпус 401, который может иметь цилиндрическую форму или другие формы. Переходник 400 по существу очень похож на переходник, показанный на Фиг. 17, но в варианте выполнения, показанном на этом чертеже, шток 290 привода является динамическим штоком привода. Динамический шток 290 привода расположен внутри отверстия 294, отходящего от внешней поверхности, выполненной с возможностью быть обращенной и взаимодействовать с заправочной головкой заправочной машины, и внутренней поверхностью, обращенной к внутреннему пространству 160. Динамический шток 290 привода может быть выполнен подвижным внутри канала и может быть длиннее, чем длина отверстия, так что противоположные концы динамического привода выступают с противоположных сторон отверстия 294. Уплотнение 292 (например, уплотнительное кольцо, как показано на чертеже, или уплотнительный диск, или другая уплотнительная конструкция) может использоваться для обеспечения надлежащей герметизации внутреннего пространства 160. Когда переходник 400 прикреплен к заправочной головке, заправочная головка (например, внешняя поверхность или выступ) выполнена так, чтобы нажимать на динамический шток 290 привода, так что, когда клапан баллона вставлен (через отверстие 403) и должным образом размещен внутри переходника, динамический шток 290 привода приводит в действие поршень 26, чтобы способствовать потоку газа в баллон.
[00212] Использование штока привода (например, как показано на Фиг. 17 и Фиг. 18) устраняет необходимость в давлении заправки для преодоления противодействующего усилия пружины 20, которая активирует тарельчатый клапан 18, позволяя использовать меньшее давление заправки, чем давление, которое потребуется для перемещения тарельчатого клапана 18.
[00213] В соответствии с некоторыми вариантами выполнения изобретения, предложены способы заправки для заправки газового баллона, например, баллона с CO2 для использования в сатурационной машине.
[00214] В соответствии с некоторыми вариантами выполнения изобретения, переходник для заправочной головки может быть съемным образом соединен с заправочной головкой системы заправки баллона и/или быть неотъемлемой частью системы заправки баллона.
[00215] В настоящем документе раскрыты различные варианты выполнения. Признаки некоторых вариантов выполнения могут быть объединены с признаками других вариантов выполнения; таким образом, определенные варианты выполнения могут быть комбинациями признаков множества вариантов выполнения. Вышеприведенное описание вариантов выполнения изобретения представлено для целей иллюстрация и описания. Оно не предназначено для того, чтобы быть исчерпывающим или ограничивающим изобретение точной раскрытой формой. Специалистам в данной области техники должно быть понятно, что в свете изложенного выше возможны многие модификации, вариации, замены, изменения и эквиваленты. Следовательно, следует понимать, что прилагаемая формула изобретения предназначена для охвата всех таких модификаций и изменений, которые соответствуют истинной сущности изобретения.
[00216] Несмотря на то, что в настоящем документе проиллюстрированы и описаны некоторые особенности изобретения, обычные специалисты в данной области техники теперь могут придумать множество модификаций, замен, изменений и эквивалентов. Следовательно, следует понимать, что прилагаемая формула изобретения предназначена для охвата всех таких модификаций и изменений, которые соответствуют истинной сущности изобретения.
| название | год | авторы | номер документа |
|---|---|---|---|
| Сатурационная машина и газовый балон для сатурационной машины | 2020 |
|
RU2789207C1 |
| КЛАПАН ДЛЯ ГАЗОВЫХ БАЛЛОНОВ ВЫСОКОГО ДАВЛЕНИЯ | 1999 |
|
RU2225959C2 |
| СИСТЕМА ПОДАЧИ ДАВЛЕНИЯ | 2012 |
|
RU2629166C2 |
| ЗАПОРНО-РЕГУЛИРУЮЩЕЕ УСТРОЙСТВО ДЛЯ БАЛЛОНОВ ДЛЯ СЖИЖЕННОГО ГАЗА | 2019 |
|
RU2763244C1 |
| УСТРОЙСТВО ДЛЯ НАПОЛНЕНИЯ БАЛЛОНОВ ВЫСОКОГО ДАВЛЕНИЯ ПРОМЫШЛЕННЫМИ ГАЗАМИ | 2021 |
|
RU2807537C2 |
| СИСТЕМА, СОДЕРЖАЩАЯ ИМИТАЦИОННОЕ СИГАРЕТНОЕ УСТРОЙСТВО И ЗАПРАВОЧНЫЙ БЛОК | 2008 |
|
RU2462164C2 |
| УСТРОЙСТВО ДЛЯ ГАЗОВОЙ ЗАПРАВКИ | 2016 |
|
RU2709199C1 |
| Способ заправки аэрозольных баллонов двухкомпонентными материалами | 2021 |
|
RU2766471C1 |
| БЫТОВОЕ УСТРОЙСТВО ЗАПРАВКИ АВТОМОБИЛЕЙ ГАЗООБРАЗНЫМ ТОПЛИВОМ (ВАРИАНТЫ) | 2003 |
|
RU2322637C2 |
| ДОЗАПРАВОЧНЫЙ БАЛЛОН ПОД ДАВЛЕНИЕМ С ВЫПУСКНЫМ КЛАПАНОМ | 2014 |
|
RU2664377C2 |
Группа изобретений относится к переходнику для системы заправки баллона. Переходник содержит корпус, имеющий отверстие, форма которого обеспечивает возможность вставки клапана газового баллона для удержания, сжатого или сжиженного газа во внутреннем пространстве корпуса. При этом остается герметичный зазор между частью боковой стороны клапана и внутренней поверхностью корпуса, обращенной во внутреннее пространство. Один канал, выполненный с возможностью подачи сжатого или сжиженного газа из системы заправки баллона в указанный герметичный зазор. При этом герметичный зазор находится во внутреннем пространстве с обеспечением достижения одного или нескольких поперечно ориентированных внешних отверстий клапана газового баллона, которые открыты в поперечном направлении к продольной оси корпуса газового баллона. При этом клапан вставлен во внутреннее пространство для облегчения заправки газового баллона сжатым или сжиженным газом через указанные одно или несколько поперечно ориентированных внешних отверстий газового баллона. Техническим результатом является упрощение установки газового баллона. 2 н. и 17 з.п. ф-лы, 18 ил. 
1. Переходник (150, 170, 200, 300, 400) для системы (180) заправки баллона, содержащий:
корпус (101, 171, 201, 301, 401), имеющий:
отверстие (173, 203, 303, 403), имеющее форму, обеспечивающую возможность вставления клапана (10) газового баллона (46) для удержания сжатого или сжиженного газа во внутреннее пространство (160, 262) корпуса, оставляя герметичный зазор между по меньшей мере частью боковой стороны клапана (10) и внутренней поверхностью корпуса, обращенной в указанное внутреннее пространство (160, 262), и
по меньшей мере один канал (152, 162, 164), который выполнен с возможностью подачи сжатого или сжиженного газа из системы (180) заправки баллона в указанный герметичный зазор в указанном внутреннем пространстве (160, 262) с обеспечением достижения одного или большего количества поперечно ориентированных внешних отверстий (16) клапана (10) газового баллона (46), которые открыты в поперечном направлении к продольной оси корпуса газового баллона (46), когда клапан (10) вставлен в указанное внутреннее пространство (160), для облегчения заправки газового баллона (46) сжатым или сжиженным газом через указанное одно или большее количество поперечно ориентированных внешних отверстий (16) газового баллона (46).
2. Переходник по п.1, в котором указанный по меньшей мере один канал содержит по меньшей мере один поперечно ориентированный канал (152), выполненный с возможностью проточного сообщения с указанным одним или большим количеством поперечно ориентированных внешних отверстий (16) клапана (10), когда переходник прикреплен к заправочной системе (180).
3. Переходник по п.1, который выполнен с возможностью присоединения к заправочной головке (184) заправочной системы (180).
4. Переходник по п.3, в котором указанный по меньшей мере один канал содержит радиально или поперечно ориентированный канал (162), выполненный с возможностью проточного сообщения с заправочным отверстием, когда переходник присоединен к заправочной головке (184).
5. Переходник по п.1, дополнительно содержащий прокладку, выполненную с возможностью гидравлической изоляции внешней поверхности (26а) поршня (26) клапана (10), когда клапан (10) вставлен в указанное внутреннее пространство (160, 262), от указанной по меньшей мере части боковой стороны клапана (10).
6. Переходник по п.1, дополнительно содержащий штоковый привод (280, 290) для приведения в действие поршня (26) клапана (10), когда клапан (10) вставлен в указанное внутреннее пространство.
7. Переходник по п.6, в котором шток привода является статическим (280).
8. Переходник по п.7, в котором статический шток (280) привода проходит внутрь в указанное внутреннее пространство (160, 262).
9. Переходник по п.6, в котором шток привода является динамическим (290).
10. Переходник по п.9, в котором шток (290) привода расположен внутри отверстия (294) в корпусе и выполнен с возможностью перемещения в нем.
11. Переходник по п.10, в котором указанное отверстие (294) проходит от внешней поверхности корпуса к внутренней поверхности, обращенной в указанное внутреннее пространство.
12. Способ заправки газового баллона (46) сжатым или сжиженным газом из системы (180) заправки баллона, при этом газовый баллон (46) имеет клапан (10) с одним или большим количеством поперечно ориентированных внешних отверстий (16), расположенных на по меньшей мере части боковой стороны клапана (10), причем способ включает:
вставление клапана (10) газового баллона (46) во внутреннее пространство (160, 262) корпуса (101, 171, 201, 301, 401) переходника (150, 170, 200, 300, 400), оставляя герметичный зазор между по меньшей мере частью боковой стороны клапана (10) и внутренней поверхностью корпуса, обращенной в указанное внутреннее пространство (160, 262);
пропускание сжатого или сжиженного газа из системы (180) заправки баллона в указанный герметичный зазор в указанном внутреннем пространстве (160, 262) через по меньшей мере один канал (152, 162, 164) с обеспечением достижения одного или большего количества поперечно ориентированных внешних отверстий (16) клапана (10) газового баллона (46), которые открыты в поперечном направлении к продольной оси корпуса газового баллона (46), когда клапан (10) вставлен в указанное внутреннее пространство (160, 262); и
заправку газового баллона (46) сжатым или сжиженным газом через указанные одно или большее количество поперечно ориентированных внешних отверстий (16) газового баллона (46).
13. Способ по п.12, в котором указанный по меньшей мере один канал содержит по меньшей мере один поперечно ориентированный канал (152), причем в способе дополнительно размещают указанный по меньшей мере один поперечно ориентированный канал (152) в проточном сообщении с указанным одним или большим количеством поперечно ориентированных внешних отверстий (16) клапана (10), когда переходник прикреплен к заправочной системе (180).
14. Способ по п.12, в котором дополнительно присоединяют переходник к заправочной головке (184) заправочной системы (180).
15. Способ по п.14, в котором дополнительно размещают радиально или поперечно ориентированный канал (162) указанного по меньшей мере одного канала в проточном сообщении с заправочным отверстием, когда переходник присоединен к заправочной головке (184).
16. Способ по п.12, в котором дополнительно гидравлически изолируют внешнюю поверхность (26а) поршня (26) клапана (10) от указанной по меньшей мере части боковой стороны клапана (10) с использованием прокладки, когда клапан (10) вставлен в указанное внутреннее пространство.
17. Способ по п.12, в котором дополнительно приводят в действие поршень (26) клапана (10) с помощью штока привода, когда клапан (10) вставлен в указанное внутреннее пространство.
18. Способ по п.17, в котором шток привода является статическим (280).
19. Способ по п.17, в котором шток привода является динамическим (290).
| УСТРОЙСТВО для ИЗУЧЕНИЯ СЕДИМЕНТАЦИИ | 0 |
|
SU174397A1 |
| Снеготаялка | 1932 |
|
SU33994A1 |
| Электрический выключатель | 1927 |
|
SU13115A1 |
| US 3179132 A, 20.04.1965. | |||
Авторы
Даты
2025-02-03—Публикация
2020-11-16—Подача