Изобретение относится к военной технике, преимущественно к средствам борьбы с жесткими целями, например, толстостенные защитные сооружения и/или взлетно-посадочные полосы.
В последнее время возникающие локальные военные конфликты отличаются высокой скоротечностью и для достижения оперативного преимущества часто используется авиация. Для исключения потери самолета-носителя прибегают к его пролету над целью на предельно низкой высоте и с максимальной скоростью. Поэтому насущной является проблема точности попадания боевой части в цель и надежность ее поражения.
Из всех известных технических решений для достижения аналогичной цели нами в качестве прототипа выбрана боевая часть по патенту ФРГ № PS 3408113 от 06.03.1984, кл. 3 F42В 13/12. Указанная боевая часть содержит передний и задний блоки, разрывной заряд, воспламенитель, расположенный перед разрывным зарядом, взрыватели, размещенные в обоих блоках, и замедлитель, причем передний блок выполнен толстостенным и подкалиберным, а задний - тонкостенным и калиберным. Причем дополнительный разрывной заряд с воспламенителем размещен перед разрывным зарядом. Взрыватели расположены в каждом блоке и срабатывают независимо один от другого по времени, а между ними - замедлитель для предотвращения детонации соседнего взрывателя.
Недостатками известного технического решения являются: 1) не предусмотрена в качестве цели точность попадания; 2) использование оживальной формы головной части переднего блока позволяет пробивать железобетонные преграды лишь под углами более 45 градусов от поверхности цели, в противном случае будет рикошет; 3) оживальная форма надкалиберной (по отношению к переднему блоку) головной части заднего блока не позволяет эффективно использовать для увеличения глубины проникания (толщины пробития) периферийную зону разрушения, оставляемую в следе передним блоком после его отделения от заднего; 4) отсутствие ослабленного сечения в зоне сопряжения блоков (передний подкалиберный) и узла соединения заднего блока с передним дном средства доставки делает непредсказуемым положение сечения разделения блоков в преграде, при этом не исключены разрушение хвостовой части переднего блока и выброс взрывателя до момента его срабатывания (выдача детонационного импульса).
Задачей, решаемой предполагаемым изобретением, является создание такой конструкции, которая позволяет осуществить надежную доставку боевой части в заданную точку и выполнение поставленной задачи при углах встречи с поверхностью цели 28-90 градусов без рикошета.
Поставленная задача достигается тем, что предлагаемая конструкция боевой части, включающая передний и задний блоки с разрывными зарядами донными взрывателями, из которых передний блок выполнен толстостенным и подкалиберным относительно заднего и с головной частью проникающего типа, а задний блок - тонкостенным, головная часть переднего блока выполнена в виде двух сопряженных конусов суммарной длиной 2,4-5,0 калибра переднего блока с углом раствора переднего конуса, равным или большим 100 и меньшим 180 градусов, и диаметром его основания 0,45-0,90 калибра переднего блока, а задний - из одной или более самостоятельных частей в форме цилиндрических стаканов, каждый из которых снабжен собственным разрывным зарядом и донным взрывателем, калибр самостоятельной части заднего блока равен 1-2 калибрам переднего блока или предыдущей самостоятельной части заднего блока, причем передний и задний блоки, а также самостоятельные части заднего блока соосно соединены малопрочными узлами соединений. Малопрочный узел соединения выполнен в виде соосно установленных и взаимосвязанных пластического демпфера в виде ступенчатой втулки, накидной гайки, наружного упорного кольца на боковой поверхности хвостовой части корпуса переднего блока (или предыдущей самостоятельной части заднего блока) и ослабленной передней частью заднего блока (или последующей самостоятельной части заднего блока), причем между накидной гайкой и ослабленной передней частью заднего блока (или его самостоятельной части) выполнено резьбовое соединение.
Исполнение боевой части из блоков, соединенных малопрочным узлом соединения в виде набора пластического демпфера, накидной гайки и наружного упорного кольца, резьбового соединения и ослабленной передней части заднего облегчает расцепление указанных блоков их друг от друга и успешное выполнение поставленной задачи.
Выполнение указанной длины головной части переднего блока, состоящей из двух сопряженных конусов, величины угла раствора его переднего конуса и диаметра его основания обеспечивает оптимальный режим проникновения переднего блока в жесткую железобетонную преграду в широком диапазоне углов подхода к цели без риска рикошета, что значительно облегчает выполнение поставленной задачи.
Исполнение боевой части из переднего и заднего блоков, причем последний в виде одной или более самостоятельных частей в форме цилиндрических стаканов с собственным разрывным зарядом и донным взрывателем расширяет функцию боевой части за счет использования в указанных частях различных форм полезной нагрузки.
Использование в качестве устройства для доставки боевой части к цели ракетного двигателя на твердом топливе, соединенного с боевой частью узлом соединения с ослабленным сечением и выполненного с возможностью его осевой закрутки, гарантирует повышение точности попадания, обеспечивает нужную скорость и угол проникновения в жесткую железобетонную преграду, отделение блоков или частей заднего блока при пробитии преграды, что обеспечивает выполнение поставленной задачи.
В результате патентно-информационного поиска нами не выявлены известные технические решения, в которых бы использовались все указанные выше существенные признаки для той же или аналогичной цели. Поэтому мы считаем, что предлагаемая нами конструкция боевой части соответствует критерию «изобретательский уровень».
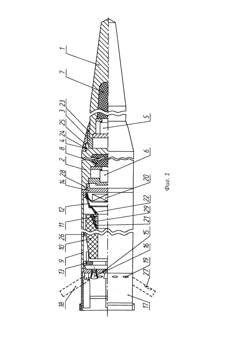
Предполагаемое изобретение представлено схематически на Фиг.1, а на Фиг.2 и 3 показан принцип его действия (в варианте заднего моноблока).
Предлагаемая конструкция (см. Фиг.1) представляет собой боевую часть, состоящую из переднего 1 и заднего 2 блоков, соединенных между собой малопрочным узлом соединения, включающим пластический демпфер в виде ступенчатой втулки 3, накидной гайки 4, наружного упорного кольца 23 на боковой поверхности хвостовой части переднего блока и ослабленной передней части 24 заднего блока. Причем между последней и накидной гайкой выполнено резьбовое соединение 25. В полости переднего блока размещены разрывной заряд 7 и донный взрыватель 5. В заднем блоке соответственно заряд 8 и взрыватель 6.
Предлагаемая конструкция снабжена устройством для доставки боевой части к цели в виде ракетного двигателя на твердом топливе, конструкция которого будет описана ниже.
Предлагаемая боевая часть и соединенный с нею ракетный двигатель на твердом топливе (далее ракета) действуют следующим образом.
Разгон боевой части в составе ракеты до необходимых для пробития преграды скоростей производится ракетным двигателем на твердом топливе (РДТТ). В момент входа в преграду заднего блока, его части или РДТТ с калибром, большим, чем предыдущий, происходит отделение переднего блока от остальной конструкции ракеты по срезаемому наружному упорному кольцу или ослабленному сечению. До момента входа в преграду переднего подкалиберного блока на его длину часть кинетической энергии заднего блока и корпуса РДТТ передается через пластические вкладыши и ослабленные сечения. При разделении блоков вкладыш из пластичного материала растягивающих нагрузок не создает. Тем самым сохраняется от разрушения донная часть переднего блока, в которой установлен донный взрыватель. Так как при этом исключается дополнительное сопротивление движению от заднего блока, его частей или РДТТ, то передний блок способен пробить большую толщину преграды, нежели без отделения. Кроме этого, передний блок, двигаясь впереди, оставляет после себя в железобетонной преграде канал с разрушенным волнами разгрузки по периферии материалом преграды (см. Фиг.2). Благодаря этому, задний блок или его части, имеющие калибры больше, чем у переднего в 1-2 раза, и головную часть в виде цилиндрического стакана, способны проникать за преграду, которую преодолел передний блок или часть заднего блока. Но их скорости выхода из преграды существенно ниже скорости выхода переднего блока или передней части заднего блока. Это позволяет, в случае автономных зарядов взрывчатого вещества и взрывателей с заданным временем замедления, получать разнесенные зоны подрыва (см. Фиг.3), существенно повышая запреградное поражение целей.
При заданной геометрии головной части переднего блока, типичных для ракет скоростях на боевую часть со стороны преграды от сил сопротивления действует восстанавливающий момент, превышающий либо равный опрокидывающему до углов подхода около 28 градусов к поверхности цели. Это исключает рикошет.
При разрушении взлетно-посадочных полос под углами к их поверхности 28-30 градусов при отсутствии рикошета, разделении блоков или частей заднего блока и разнесенных подрывов зарядов в грунте под железобетонным покрытием создаются зоны разрушения указанного покрытия в 1,5-2,0 раза по площади больше, чем в случаях использования одноблочной боевой части с эквивалентной массой взрывчатого вещества и оптимальным замедлением взрывателя.
По конструкции устройства для доставки боевой части к цели нами выявлены аналоги, но по сочетанию существенных признаков мы выбрали в качестве прототипа, указанный ниже.
Ракетный двигатель твердого топлива по патенту РФ 2221159 от 14.01.2002, кл. 7 F02K 9/22, который включает цилиндрический корпус с выступами на его внутренней поверхности, переднее дно, сопло-блок, канальный заряд твердого топлива, горящий по наружной поверхности и внутреннему каналу и скрепленный шарнирно с передним дном металлической втулкой, а также воспламенитель.
Недостатками известного технического решения являются: 1) известная конструкция, включающая односопловой блок, требует специального приспособления по закрутке ракеты вокруг продольной оси в пусковой трубе; 2) для более эффективного разгона ракеты в пусковой трубе, а также для удержания от осевых перемещений до момента пуска требуется специальное приспособление, например пусковой стакан, связанный с РДТТ малопрочным соединением. В известном техническом решении подобный стакан отсутствует, что приводит к провалу (проседанию) ракеты после ее выхода из пусковой трубы; 3) выступ на внутренней поверхности корпуса, расположенный ближе к сопло-блоку, имеет форму абажура и изготавливается из несгораемого материала. Соединение его с металлическим корпусом выполняется связующим материалом, например клеем. Такое соединение ненадежно при долговременном хранении ракет при перепадах температур окружающей среды в пределах ±40 градусов Цельсия.
Как указывалось выше, задачей, решаемой предлагаемым изобретением, является создание такой конструкции боевой части и устройства для ее доставки к цели, которая позволила бы проникновение боевой части через жесткие преграды, например, защитные ограждения ангаров и им подобных, с высокой точностью попадания и вероятностью поражения цели.
Поставленная цель достигается тем, что в предлагаемой конструкции устройства для доставки боевой части к цели, включающей ракетный двигатель на твердом топливе, имеющей цилиндрический корпус с выступами на его внутренней поверхности, переднее дно, сопло-блок, канальный заряд твердого топлива, горящего по наружной поверхности и внутреннему каналу, скрепленную шарнирно с передним дном металлическую втулку и воспламенитель, она снабжена диафрагмой и пусковым стаканом с боковыми газодинамическими отверстиями, а металлическая втулка соединена с зарядом твердого топлива слоем связующего материала в виде усеченного конуса с большим основанием, расположенным у переднего дна двигателя, снабжена захватом, контактирующим с держателем, имеющим боковые и осевое отверстия, закрепленным на переднем дне двигателя и содержащим воспламенитель, причем на наружной поверхности металлической втулки выполнена ленточная резьба, для обеспечения возможности осевой закрутки двигателя в сопло-блоке сопла на своих выходах скошены под углом 70-85 градусов к собственной продольной оси и развернуты плоскостями скоса относительно друг друга на угол, равный 360/n градусов, где n - число сопел, но не менее двух, а сопло-блок снабжен раскрывающимся хвостовым оперением с лопастями, выполненными со скошенными передними кромками. Диафрагма выполнена в виде стакана с боковыми продольными прорезями и донными отверстиями.
Использование пускового стакана с боковыми газодинамическими отверстиями в сочетании со скошенными соплами и раскрывающегося хвостового оперения с лопастями, выполненными со скошенными передними кромками, гарантирует надежный выход устройства из пускового блока, нужную скорость осевой закрутки и следовательно точной и своевременной доставки боевой части к цели.
Выполнение крепления канального заряда твердого топлива указанного вида в сочетании с использованием диафрагмы с соответствующими прорезями и отверстиями гарантирует надежное крепление заряда, предсказуемый режим его горения и следовательно выполнение поставленной задачи.
Подобная конструкция в известных технических решениях нами не выявлена, поэтому и в части двигателя предполагаемое изобретение соответствует критерию «изобретательский уровень».
Предлагаемая конструкция устройства для доставки боевой части к цели схематично изображена на Фиг.1, где цилиндрический корпус 9, выступы 26 на его внутренней поверхности, переднее дно 14 корпуса, канальный заряд 10 твердого топлива, металлическая втулка с ленточной резьбой 11, воспламенитель 20, пусковой стакан 17 с газодинамическими отверстиями 19, сопло-блок 15 с соплами 16, захват 22, держатель 12, диафрагма 13 с прорезями и отверстиями. Причем втулка соединена с зарядом 10 слоем связующего материала в виде усеченного конуса 21 с большим основанием, расположенным у переднего дна двигателя, и снабжена захватом, контактирующим с держателем с боковыми и осевым отверстиями. Сопла 16 в сопло-блоке на своих выходах выполнены скошенными на угол 70-85 градусов к собственной продольной оси и развернуты плоскостями скоса относительно друг друга на угол, равный 360/n, где n - число сопел, но не менее двух. Лопасти оперения 18, раскрывающиеся по выходу ракеты из пускового блока, выполнены со скосами 27 на передних кромках и создают положительный момент закрутки от набегающего потока воздуха.
Предлагаемое техническое решение действует следующим образом (см. Фиг.1).
Боевая часть с ракетным двигателем на твердом топливе (ракета) перед пуском устанавливается в пусковую трубу посредством пускового стакана 17 в замок пускового блока.
Запуск РДТТ производится подачей пироимпульса на воспламенитель 20, установленный в переднем дне 14 корпуса под держателем 12. Горячие газы от воспламенителя 20 через боковые и осевое отверстия, выполненные в держателе 12, поступают во внутренний канал заряда 10 твердого топлива через отверстие во втулке 11 и воспламеняют заряд 10. За счет внутрикамерного давления вскрываются мембраны, установленные в соплах, и создается реактивная тяга от истечения газовых продуктов через сопла 16. При превышении реактивной тяги усилия срыва пускового стакана 17 с сопло-блока 15 происходит разъединение пускового стакана и РДТТ и старт ракеты. Под действием осевого ускорения, создаваемого реактивной тягой, заряд 10 удерживается держателем 12, закрепленным на переднем дне 14 корпуса 9, захватом 22, скрепленным с втулкой 11 из несгораемого материала, которая, в свою очередь, скреплена с зарядом 10. Для повышения надежности соединения втулки 11 с зарядом 10 на ее поверхности выполнена наружная ленточная резьба 29, которая заполнена слоем связующего материала в форме усеченного конуса 21, соединенным с зарядом 10. Указанный слой связующего материала большим основанием расположен у переднего дна 14 корпуса 9 с целью увеличения надежности крепления при технологической склейке.
При движении ракеты внутри пусковой трубы основная часть газового потока от горения заряда по выходу из сопел устремляется через осевое отверстие пускового стакана 17, а остальная - в зазор между наружной боковой поверхностью пускового стакана и внутренней поверхностью пусковой трубы. При этом в донной части этот зазор наглухо перекрыт хвостовой частью пускового стакана, поджатой замком к торцевой (задней) поверхности пусковой трубы. В этом зазоре создается давление торможения, а стенка пускового стакана испытывает наружный перепад давления газов горения заряда 10. За счет перетока газов через газодинамические отверстия 19 в боковой стенке пускового стакана указанный перепад давления существенно снижается. Этим достигаются повышение надежности действия пускового стакана без потери устойчивости (потери формы или схлапывания) и исключение его выброса из замка пускового блока.
За счет истечения горячих газов через скошенные сопла, которых не менее двух, возникает газодинамический момент, закручивающий ракету вокруг продольной ее оси. На момент ее выхода из пусковой трубы и раскрытия хвостового оперения ракета приобретает начальную угловую скорость, а также линейную, достаточную для преодоления начальных возмущений после выхода из пусковой трубы. По раскрытию хвостовое оперение стабилизирует ракету, демпфирует начальные возмущения, за счет скосов передних кромок лопастей создает дополнительный аэродинамический момент закрутки ракеты вокруг ее продольной оси. Это существенно снижает индивидуальное рассеивание ракеты и повышает ее точность попадания по малоразмерным целям.
За счет гидравлического сопротивления, создаваемого диафрагмой 13 и передними боковыми выступами 26 на внутренней поверхности корпуса, газовый поток от сгорания заряда перераспределяется. Основная часть его проходит через держатель 12 и втулку 11 и внутренний канал заряда, остальная - с пониженной скоростью через кольцевой зазор между наружной поверхностью заряда и внутренней - корпуса через диафрагму 13 в сопло-блок. За счет этого снижается теплонапряженность корпуса, что позволяет уменьшить толщину его стенки и повысить коэффициент конструктивного совершенства двигателя.
В конце активного участка полета ракета развивает скорость, достаточную для пробития типовых железобетонных преград и/или взлетно-посадочных полос предложенной конструкцией боевой части при углах встречи к поверхности цели 28-90 градусов без рикошета.
Таким образом, предлагаемая конструкция боевой части и устройства для ее доставки к цели обладает следующими техническими преимуществами: 1) она обеспечивает повышенную надежность доставки и точность попадания в малоразмерные цели типа железобетонных сооружений, потребную скорость для их пробития и повышенную вероятность поражения запреградных целей; 2) использование указанной конструкции пускового стакана гарантирует надежный пуск ракеты из пускового блока, исключая схлапывание и выброс указанного стакана из пускового блока; 3) использование предлагаемой конструкции боевой части обеспечивает при стандартных скоростях подхода ракет к цели надежное пробитие как типовых железобетонных укрытий, так и взлетно-посадочных полос под углами к поверхности цели 28-90 градусов; кроме того, позволяет увеличить площадь зоны разрушения взлетно-посадочных полос при типовых углах подхода в 1,5-2,0 раза по сравнению с эквивалентной по массе взрывчатого вещества одноблочной боевой частью; 4) благодаря использованию иной конструкции (по сравнению с описанной в прототипе) составной боевой части, реализуется иной механизм преодоления жесткой железобетонной преграды и достигается значительное увеличение толщин пробиваемых преград, создаются разнесенные зоны подрыва частей заднего блока и увеличивается эффективность запреградного действия; 5) использование предложенных конструкций диафрагмы и крепления заряда к переднему дну корпуса РДТТ снижает температуру прогрева стенки корпуса на 150-200 градусов, повышая тем самым надежность работы РДТТ при его более высоком конструктивном совершенстве.
Опытный образец указанной конструкции был испытан на полигоне и подтвердил требуемую надежность срабатывания всех блоков.
| название | год | авторы | номер документа |
|---|---|---|---|
| БОЕВАЯ ЧАСТЬ И УСТРОЙСТВО ДЛЯ ЕЕ ДОСТАВКИ К ЦЕЛИ | 2006 |
|
RU2333454C2 |
| БЕТОНОБОЙНЫЙ БОЕПРИПАС | 2005 |
|
RU2277691C1 |
| ПРОТИВОТАНКОВАЯ РАКЕТА КИНЕТИЧЕСКОГО ДЕЙСТВИЯ | 1994 |
|
RU2108537C1 |
| РЕАКТИВНЫЙ СНАРЯД | 2010 |
|
RU2448321C1 |
| БЕТОНОБОЙНЫЙ БОЕПРИПАС | 2003 |
|
RU2238513C1 |
| СНАРЯД С ГОТОВЫМИ ПОРАЖАЮЩИМИ ЭЛЕМЕНТАМИ | 1998 |
|
RU2148244C1 |
| НЕУПРАВЛЯЕМЫЙ РЕАКТИВНЫЙ СНАРЯД, ЗАПУСКАЕМЫЙ ИЗ ТРУБЧАТОЙ НАПРАВЛЯЮЩЕЙ | 1997 |
|
RU2115882C1 |
| Реактивный снаряд с проникающей боевой частью | 2022 |
|
RU2800674C1 |
| ОСКОЛОЧНЫЙ СНАРЯД | 1999 |
|
RU2147116C1 |
| ОСКОЛОЧНО-ФУГАСНАЯ БОЕВАЯ ЧАСТЬ | 2003 |
|
RU2247928C1 |
Изобретение относится к военной технике, преимущественно к средствам борьбы с жесткими целями, например, толстостенные защитные сооружения и/или взлетно-посадочные полосы. Боевая часть включает передний и задний блоки с собственными разрывными зарядами и донными взрывателями, причем передний блок выполнен толстостенным и подкалиберным относительно заднего с головной частью проникающего типа, а задний – тонкостенным. Блоки выполнены автономными и соединенными соосно малопрочным узлом крепления, причем головная часть переднего блока выполнена в виде двух сопряженных конусов суммарной длиной 2,4-5,0 его калибра с углом раствора переднего конуса, равным 100-180 градусов, и диаметром его основания 0,45-0,90 калибра данного блока, а задний блок - из одного и/или более самостоятельных подблоков в форме цилиндрических стаканов, каждый из которых снабжен собственным разрывным зарядом и донным взрывателем, и калибр последующего блока или подблока равен 1-2 калибрам предыдущего, а сама боевая часть снабжена устройством для ее доставки к цели в виде ракетного двигателя на твердом топливе, выполненного с возможностью его осевой закрутки и соединенного с боевой частью узлом крепления с ослабленным сечением. Технический результат заключается в создании такой конструкции, которая позволяет осуществить надежную доставку боевой части в заданную точку и выполнение поставленной задачи при углах встречи к поверхности цели 28-90 градусов без рикошета. 2 н. и 2 з.п. ф-лы, 3 ил.
1. Боевая часть, включающая передний и задний блоки с собственными разрывными зарядами и донными взрывателями, причем передний блок выполнен толстостенным и подкалиберным относительно заднего с головной частью проникающего типа, а задний - тонкостенным, отличающаяся тем, что блоки выполнены автономными и соединенными соосно малопрочным узлом крепления, причем головная часть переднего блока выполнена в виде двух сопряженных конусов суммарной длиной 2,4-5,0 его калибра с углом раствора переднего конуса, равным 100-180 градусов, и диаметром его основания 0,45-0,90 калибра данного блока, а задний блок - из одного и/или более самостоятельных подблоков в форме цилиндрических стаканов, каждый из которых снабжен собственным разрывным зарядом и донным взрывателем, и калибр последующего блока или подблока равен 1-2 калибрам предыдущего, а сама боевая часть снабжена устройством для ее доставки к цели в виде ракетного двигателя на твердом топливе, выполненного с возможностью его осевой закрутки и соединенного с боевой частью узлом крепления с ослабленным сечением.
2. Боевая часть по п.1, отличающаяся тем, что каждый малопрочный узел крепления выполнен в виде соосно установленных и взаимосвязанных пластического демпфера в виде ступенчатой втулки, накидной гайки, наружного упорного кольца на боковой поверхности хвостовой части корпуса предыдущего блока и/или подблока и ослабленной передней частью последующего блока или подблока, причем между накидной гайкой и ослабленной передней частью последующего блока или подблока выполнено резьбовое соединение.
3. Устройство для доставки боевой части к цели, включающее ракетный двигатель на твердом топливе, имеющий цилиндрический корпус с выступами на его внутренней поверхности, переднее дно, сопло-блок, канальный заряд твердого топлива, горящий по наружной поверхности и внутреннему каналу и скрепленный шарнирно с передним дном металлической втулкой, и воспламенитель, отличающееся тем, что указанный двигатель дополнительно снабжен задней диафрагмой и пусковым стаканом с боковыми газодинамическими отверстиями, а указанная втулка соединена с зарядом твердого топлива слоем связующего материала в виде усеченного конуса с большим основанием, расположенным у переднего дна двигателя, и снабжена захватом, контактирующим с держателем, имеющим боковые и осевое отверстия, закрепленным на переднем дне двигателя и содержащим воспламенитель, причем на наружной поверхности втулки выполнена ленточная резьба, а сам двигатель выполнен с возможностью его осевой закрутки, для чего в сопло-блоке сопла на своих выходах скошены под углом 70-85 градусов к собственной продольной оси и развернуты плоскостями скоса относительно друг друга на угол, равный 360/n градусов (где n - число сопел, но не менее двух), а сам сопло-блок снабжен раскрывающимся хвостовым оперением с лопастями, выполненными со скошенными передними кромками.
4. Устройство по п.3, отличающееся тем, что задняя диафрагма выполнена в виде стакана с боковыми продольными прорезями и донными отверстиями.
| DE 3408113, 23.05.1985 | |||
| РАКЕТНЫЙ ДВИГАТЕЛЬ НА ТВЕРДОМ ТОПЛИВЕ | 2002 |
|
RU2221159C2 |
| СНАРЯД | 1995 |
|
RU2094747C1 |
| РАКЕТНЫЙ ДВИГАТЕЛЬ ТВЕРДОГО ТОПЛИВА УПРАВЛЯЕМОГО СНАРЯДА И ВОСПЛАМЕНИТЕЛЬ ТВЕРДОТОПЛИВНОГО ЗАРЯДА | 1994 |
|
RU2079689C1 |
Авторы
Даты
2025-02-11—Публикация
2006-09-21—Подача