Область техники, к которой относится изобретение
[1] Данное раскрытие относится к оборудованию и способу для удаления релевантной для Е2-интерфейса информации в сети радиодоступа. Данное раскрытие относится к оборудованию и способу для удаления релевантной для Е2-узла конфигурации, релевантной для интеллектуального контроллера сети радиодоступа (RAN) (RIC) конфигурации или интерфейсной Е2-конфигурации, соответствующей стандарту открытой сети радиодоступа (O-RAN) системы беспроводной связи.
Уровень техники
[2] Технологии мобильной связи пятого поколения (5G) задают широкие полосы частот таким образом, что высокие скорости передачи и новые услуги являются возможными и могут реализовываться не только в полосах частот "ниже 6 ГГц", к примеру, в 3,5 ГГц, но также и в полосах частот "выше 6 ГГц", называемых "mmWave", включающих в себя 28 ГГц и 39 ГГц. Помимо этого, целесообразно реализовывать технологии мобильной связи шестого поколения (6G) (называемые "системами после 5G") в терагерцевых (ТГц) полосах частот (например, в полосах частот от 95 ГГц до 3 ТГц), чтобы достигать скоростей передачи, в пятьдесят раз превышающих скорости 5G-технологий мобильной связи, и сверхнизких задержек в одну десятую относительно технологий мобильной 5G-связи.
[3] В начале разработки 5G-технологий мобильной связи, с тем чтобы поддерживать услуги и удовлетворять требованиям по производительности в связи с усовершенствованным стандартом широкополосной связи для мобильных устройств (еМВВ), сверхнадежной связью с низкой задержкой (URLLC) и массовой машинной связью (mМТС), проведена стандартизация относительно формирования диаграммы направленности и массовой технологии со многими входами и многими выходами (MIMO) для уменьшения потерь в тракте передачи радиоволн и увеличения расстояний передачи радиоволн в диапазоне миллиметровых волн (mmWave), поддержки нумерологий (например, работы с несколькими разнесениями поднесущих) для эффективного использования mmWave-ресурсов и работы с форматами временных квантов в динамическом режиме, технологий начального доступа для поддержки многолучевой передачи и широкополосной связи, определения и работы части полосы пропускания (BWP), новых способов канального кодирования, таких как код разреженного контроля по четности (LDPC) для передачи больших объемов данных и полярный код для высоконадежной передачи управляющей информации, предварительной L2-обработки и разделения сети на срезы для предоставления выделенной сети, специализированной для конкретной услуги.
[4] В настоящее время, проводятся обсуждения относительно улучшения и повышения производительности начальных 5G-технологий мобильной связи с учетом услуг, которые должны поддерживаться посредством 5G-технологий мобильной связи, и осуществляется стандартизация физического уровня относительно таких технологий, как связь между транспортным средством и всем чем угодно (V2X) для помощи в принятии решений по вождению посредством автономных транспортных средств на основе информации относительно позиций и состояний транспортных средств, передаваемой посредством транспортных средств, и для повышения удобства для пользователей, новый стандарт радиосвязи в нелицензированном спектре (NR-U), направленный на системные операции, соответствующие различным связанным с регулирующими нормативами требованиям в нелицензированных полосах частот, энергосбережение абонентских устройств (UE) с поддержкой нового стандарта радиосвязи (NR), неназемная сеть (NTN), которая представляет собой прямую связь между UE и спутником для предоставления покрытия в зоне, в которой связь с наземными сетями является недоступной, и позиционирование.
[5] Кроме того, проведена стандартизация в радиоинтерфейсной архитектуре/протоколе относительно таких технологий, как промышленный Интернет вещей (IIoT) для поддержки новых услуг посредством межсетевого взаимодействия и сходимости с другими отраслями, технология интеграции каналов доступа и обратных транзитных соединений (IAB) для предоставления узла для расширения зоны обслуживания сети посредством поддержки беспроводной обратной транзитной линии связи и линии связи доступа интегрированным способом, улучшение мобильности, включающее в себя условную передачу обслуживания и передачу обслуживания на основе двойного активного стека протоколов (DAPS), и двухэтапный произвольный доступ для упрощения процедур произвольного доступа (канал с двухэтапным произвольным доступом (RACH) для NR). Также проведена стандартизация в архитектуре предоставления системных услуг относительно базовой 5G-архитектуры (например, архитектуры на основе услуг или интерфейса на основе услуг) для комбинирования технологий виртуализации сетевых функций (NFV) и организации программно-определяемых сетей (SDN) и мобильных краевых вычислений (МЕС) для приема услуг на основе позиций UE.
[6] По мере того, как 5G-системы мобильной связи коммерциализируются, соединенные устройства, число которых экспоненциально увеличивается, должны соединяться с сетями связи, и, соответственно, предполагается, что потребуются улучшенные функции и производительности 5G-систем мобильной связи и интегрированные операции соединенных устройств. С этой целью, новое исследование планируется в связи с расширенной реальностью (XR) для эффективной поддержки дополненной реальности (AR), виртуальной реальности (VR), смешанной реальности (MR) и т.п., повышением 5G-производительности и уменьшением сложности посредством использования искусственного интеллекта (AI) и машинного обучения (ML), поддержкой AI-услуг, поддержкой услуг для метавселенной и связью с беспилотными аппаратами.
[7] Кроме того, такая разработка 5G-систем мобильной связи должна служить в качестве основы для разработки не только новых форм сигналов для предоставления покрытия в терагерцевых полосах частот 6G-технологий мобильной связи, технологий многоантенной передачи, таких как полноразмерная MIMO (FD-MIMO), решетчатые антенны и крупномасштабные антенны, линзы и антенны на основе метаматериалов для улучшения покрытия сигналов терагерцевых полос частот, технологии высокоразмерного пространственного мультиплексирования с использованием орбитального углового момента (ОАМ) и переконфигурируемой интеллектуальной поверхности (RIS), но также и полнодуплексной технологии для повышения эффективности по частоте 6G-технологий мобильной связи и улучшения системных сетей, технологии связи на основе AI для реализации оптимизации системы посредством использования спутников и искусственного интеллекта (AI) со стадии проектирования и интернализации функций сквозной AI-поддержки и технологии распределенных вычислений следующего поколения для реализации услуг на уровнях сложности, превышающих предел функциональных возможностей UE, посредством использования ресурсов для сверхвысокопроизводительной связи и вычислении.
Сущность изобретения
Техническая задача
[8] На основе пояснения, приведенного выше, данное раскрытие предоставляет оборудование и способ для удаления релевантной для Е2-интерфейса информации в системе беспроводной связи.
[9] Дополнительные аспекты вариантов осуществления изложены частично в описании, которое приводится ниже, и частично являются очевидными из описания или могут распознаваться посредством практического использования представленных вариантов осуществления.
Решение задачи
[10] Согласно вариантам осуществления данного раскрытия, способ, осуществляемый посредством интеллектуального контроллера сети радиодоступа (RAN) (RIC) практически реального времени (RT), может включать в себя прием из Е2-узла Е2-сообщения с запросом на удаление для указания разъединения Е2-узла через Е2-интерфейс, при этом разъединение Е2-узла сконфигурировано из управления и оркестровки услуг (SMO), передачу Е2-сообщения с ответом по удалению в Е2-узел через Е2-интерфейс и выполнение удаления конфигурации для Е2-узла в RIC практически реального времени в ответ на Е2-сообщение с запросом на удаление.
[11] Согласно вариантам осуществления данного раскрытия, способ, осуществляемый посредством RIC практически реального времени, может включать в себя обнаружение разрыва соединения по протоколу управления потоковой передачей (SCTP) с Е2-узлом, запуск таймера разрыва в ответ на обнаружение разрыва и выполнение удаления конфигурации для Е2-узла в ответ на истечение таймера разрыва.
[12] Согласно вариантам осуществления данного раскрытия, способ, осуществляемый посредством RIC практически реального времени, может включать в себя обнаружение разрыва SCTP-соединения с Е2-узлом, передачу сообщения для запроса SMO относительно состояния Е2-узла через O1-интерфейс в ответ на обнаружение разрыва, прием ответного сообщения для состояния Е2-узла из SMO через O1-интерфейс и выполнение удаления конфигурации для Е2-узла в RIC практически реального времени, когда ответное сообщение указывает разъединение Е2-узла.
[13] Согласно вариантам осуществления данного раскрытия, способ, осуществляемый посредством RIC практически реального времени, может включать в себя прием из SMO сообщения установления для разъединения Е2-узла, соединенного с RIC практически реального времени через O1-интерфейс, и выполнение удаления конфигурации для Е2-узла в RIC практически реального времени в ответ на сообщение установления.
[14] Согласно вариантам осуществления данного раскрытия, оборудование на основе RIC практически реального времени может включать в себя по меньшей мере одно приемо-передающее устройство и по меньшей мере один процессор. По меньшей мере, один процессор может быть выполнен с возможностью принимать из Е2-узла Е2-сообщение с запросом на удаление для указания разъединения Е2-узла через Е2-интерфейс, при этом разъединение Е2-узла сконфигурировано из SMO, передавать Е2-сообщение с ответом по удалению в Е2-узел через Е2-интерфейс и выполнять удаление конфигурации для Е2-узла в RIC практически реального времени в ответ на Е2-сообщение с запросом на удаление.
[15] Согласно вариантам осуществления данного раскрытия, оборудование на основе RIC практически реального времени может включать в себя по меньшей мере одно приемо-передающее устройство и по меньшей мере один процессор. По меньшей мере, один процессор может быть выполнен с возможностью обнаруживать разрыв SCTP-соединения с Е2-узлом, запускать таймер разрыва в ответ на обнаружение разрыва и выполнять удаление конфигурации для Е2-узла в ответ на истечение таймера разрыва.
[16] Согласно вариантам осуществления данного раскрытия, оборудование на основе RIC практически реального времени может включать в себя по меньшей мере одно приемо-передающее устройство и по меньшей мере один процессор. По меньшей мере, один процессор может быть выполнен с возможностью обнаруживать разрыв SCTP-соединения с Е2-узлом, передавать сообщение для запроса SMO относительно состояния Е2-узла через O1-интерфейс в ответ на обнаружение разрыва, принимать ответное сообщение для состояния Е2-узла из SMO через O1-интерфейс и выполнять удаление конфигурации для Е2-узла в RIC практически реального времени, когда ответное сообщение указывает разъединение Е2-узла.
[17] Согласно вариантам осуществления данного раскрытия, оборудование на основе RIC практически реального времени может включать в себя по меньшей мере одно приемо-передающее устройство и по меньшей мере один процессор. По меньшей мере один процессор может быть выполнен с возможностью принимать из SMO сообщение установления для разъединения Е2-узла, соединенного с RIC практически реального времени через O1-интерфейс, и выполнять удаление конфигурации для Е2-узла в RIC практически реального времени в ответ на сообщение установления.
Преимущества изобретения
[18] Оборудование и способ согласно вариантам осуществления данного раскрытия удаляют релевантную для Е2-узла конфигурацию в интеллектуальном контроллере сети радиодоступа (RAN) (RIC) практически реального времени (NRT), когда Е2-узел разъединяется, за счет этого обеспечивая возможность NRT-RIC функционировать эффективно.
[19] Оборудование и способ согласно вариантам осуществления данного раскрытия удаляют релевантную для NRT-RIC конфигурацию в Е2-узле, когда NRT-RIC разъединяется, за счет этого обеспечивая возможность Е2-узлу функционировать эффективно.
[20] Преимущества, полученные в раскрытии, не ограничены вышеуказанными преимуществами, и другие преимущества, не упомянутые в данном документе, могут ясно пониматься специалистами в области техники, к которой относится раскрытие, из нижеприведенных описаний.
Краткое описание чертежей
[21] Вышеуказанные и другие примерные аспекты, признаки и преимущества конкретных вариантов осуществления данного раскрытия должны становиться более понятными из нижеприведенного описания, рассматриваемого вместе с прилагаемыми чертежами, на которых:
[22] Фиг. 1 иллюстрирует пример базовой системы на основе стандарта долгосрочного развития (LTE) четвертого поколения (4G);
[23] Фиг. 2А иллюстрирует пример неавтономной (NSA) системы пятого поколения (5G);
[24] Фиг. 2В иллюстрирует пример архитектуры для открытой сети радиодоступа (O-RAN);
[25] Фиг. 3 иллюстрирует стек протоколов протокольного Е2-сообщения уровня приложений в сети радиодоступа согласно различным вариантам осуществления данного раскрытия;
[26] Фиг. 4 иллюстрирует пример соединения между базовой станцией и интеллектуальным контроллером сети радиодоступа (RIC) в сети радиодоступа согласно различным вариантам осуществления данного раскрытия;
[27] Фиг. 5 иллюстрирует структуру устройства в сети радиодоступа согласно вариантам осуществления данного раскрытия;
[28] Фиг. 6А и 6В иллюстрирует логическую функцию, релевантную для Е2-сообщения Е2-узла и RIC в сети радиодоступа согласно различным вариантам осуществления данного раскрытия;
[29] Фиг. 7 иллюстрирует примеры функционального разбиения между Е2-узлом и RIC согласно вариантам осуществления данного раскрытия;
[30] Фиг. 8А иллюстрирует пример реализации Е2-узла и RIC согласно вариантам осуществления данного раскрытия;
[31] Фиг. 8В иллюстрирует интерфейс между O-RAN-компонентами согласно вариантам осуществления данного раскрытия;
[32] Фиг. 8С иллюстрирует пример инфраструктуры управления и оркестровки услуг (SMO) согласно вариантам осуществления данного раскрытия;
[33] Фиг. 9 является схемой для пояснения необходимости удаления релевантной для Е2-интерфейса информации согласно вариантам осуществления данного раскрытия;
[34] Фиг. 10А иллюстрирует пример передачи служебных сигналов между O-RAN-объектами для удаления Е2-узла согласно вариантам осуществления данного раскрытия;
[35] Фиг. 10В иллюстрирует другой пример передачи служебных сигналов между O-RAN-объектами для удаления Е2-узла согласно вариантам осуществления данного раскрытия;
[36] Фиг. 10С иллюстрирует другой пример передачи служебных сигналов между O-RAN-объектами для удаления Е2-узла согласно вариантам осуществления данного раскрытия; и
[37] Фиг. 10D иллюстрирует другой пример передачи служебных сигналов между O-RAN-объектами для удаления Е2-узла согласно вариантам осуществления данного раскрытия.
[38] Идентичные ссылки с номерами используются для того, чтобы представлять идентичные элементы на всех чертежах.
Оптимальный режим осуществления изобретения
[39] Нижеприведенное описание со ссылкой на прилагаемые чертежи предоставляется для того, чтобы помогать в полном понимании различных вариантов осуществления данного раскрытия, заданного посредством формулы изобретения и ее эквивалентов. Оно включает в себя различные сведения для того, чтобы помогать в этом понимании, но они должны рассматриваться просто как примерные. Соответственно, специалисты в данной области техники должны признавать, что различные изменения и модификации различных вариантов осуществления, описанных в данном документе, могут вноситься без отступления от сущности и объема данного раскрытия. Помимо этого, описания хорошо известных функций и конструкций могут опускаться для ясности и краткости.
[40] Термины и слова, используемые в нижеприведенном описании и в формуле изобретения, не ограничены библиографическими значениями, а используются автором изобретения просто для того, чтобы предоставлять ясное и согласованное понимание данного раскрытия. Соответственно, специалистам в данной области техники должно быть очевидным, что нижеприведенное описание различных вариантов осуществления данного раскрытия предоставляется только для целей иллюстрации, а не для целей ограничения данного раскрытия, заданного посредством прилагаемой формулы изобретения и ее эквивалентов.
[41] Следует понимать, что формы единственного числа включают в себя несколько объектов ссылки, если контекст явно не предписывает иное. Таким образом, например, ссылка на "поверхность компонента" включает в себя ссылку на одну или более таких поверхностей.
[42] Аппаратный подход описывается, например, в различных вариантах осуществления данного раскрытия, описанного далее. Тем не менее, поскольку различные варианты осуществления данного раскрытия включают в себя технологию, в которой используются аппаратные средства и программное обеспечение, программный подход не исключается в вариантах осуществления данного раскрытия.
[43] В дальнейшем в этом документе, данное раскрытие относится к процедуре управления между устройством в сети радиодоступа (RAN) и устройством для управления RAN в системе беспроводной связи. В частности, данное раскрытие относится к процедуре, сообщению и способу, согласно которым интеллектуальный RAN-контроллер (RIC) передает сообщение с запросом на RIC-управление в Е2-узел по Е2-интерфейсу в сети радиодоступа и подтверждает то, запрос на RIC-управление достигается корректно посредством Е2-узла либо сбоит, и если он сбоит, подтверждает причину этого.
[44] В нижеприведенном описании, термины, означающие сигнал, канал, управляющую информацию, сетевые объекты и компоненты устройства и т.п., используются для удобства пояснения. Следовательно, данное раскрытие не ограничено терминами, описанными ниже, и в силу этого также могут использоваться другие термины, имеющие идентичный технический смысл.
[45] Помимо этого, хотя выражение "больше чем" или "меньше чем" используется в данном раскрытии, чтобы определять то, удовлетворяется (или выполняется) либо нет конкретное условие, это служит только для примерных целей и не исключает выражение "больше чем или равно" либо "меньше чем или равно". Условие, описанное как "больше чем или равно", может заменяться "больше чем". Условие, описанное как "меньше чем или равно", может заменяться "меньше чем". Условие, описанное как "больше чем или равно и меньше чем", может заменяться "больше чем и меньше чем или равно".
[46] Помимо этого, хотя данное раскрытие описывает различные варианты осуществления посредством использования терминов, используемых в некоторых стандартах связи (например, партнерский проект третьего поколения (3GPP), открытая сеть радиодоступа (O-RAN)), это служит только для конкретных целей. Различные варианты осуществления данного раскрытия могут легко модифицироваться и применяться к другим системам связи.
[47] Поскольку система связи четвертого поколения (4G)/пятого поколения (5G) (например, новый стандарт радиосвязи (NR)) в данный момент коммерциализирована, требуется поддерживать конкретные для пользователя услуги в виртуализированной сети. 3GPP представляет собой совместный научно-исследовательский проект между релевантными для мобильной связи организациями и направлен на создание системного 3G-стандарта мобильной связи, применимого во всем мире, в рамках IMT-2000-проекта Международного союза по телекоммуникациям (ITU). 3GPP основан в декабре 1998 года. 3GPP-стандарт основан на усовершенствованном стандарте глобальной системы мобильной связи (GSM) и включает в себя радио- и базовые сети и архитектуру предоставления услуг в рамках стандартизации. Соответственно, открытая сеть радиодоступа (О-RAN) заново задает радиоблок (RU), распределенный блок (DU), центральный блок (CU) в плоскости управления (CP) и CU в пользовательской плоскости (UP), которые представляют собой узлы, составляющие сетевой 3GPP-объект (NE) и базовую станцию, соответственно, в качестве О-RAN (O)-RU, O-DU, O-CIJ-CP и O-CU-UP. Помимо этого, интеллектуальный контроллер сети радиодоступа (RIC) практически реального времени (NRT) стандартизирован. Данное раскрытие заключается в том, чтобы поддерживать конкретную для оператора модель предоставления услуг в Е2-интерфейсе, в которой RIC запрашивает O-DU, O-CU-CP или O-CU-UP на предмет того, чтобы предоставлять услугу. В данном документе, O-RU, O-DU, O-CU-CP и O-CU-UP могут пониматься как объекты, составляющие RAN, которая может работать согласно O-RAN-стандарту, и могут называться "Е2-узлом". Интерфейс с объектами, составляющими RAN, которая может работать согласно O-RAN-стандарту между RIC и Е2-узлами, использует Е2-протокол уровня приложений (АР) (Е2АР).
[48] RIC представляет собой логический узел, допускающий сбор информации в узле сотовой связи, в котором терминал выполняет передачу/прием относительно O-DU, O-CU-CP или O-CU-UP. RIC может реализовываться в форме сервера, концентрированно развернутого в одном физическом месте. Соединение между O-DU и RIC, между O-CU-CP и RIC и между О-CU-UP и RIC может устанавливаться через Ethernet. С этой целью, требуется интерфейсный стандарт для связи между O-DU и RIC, между O-CU-CP и RIC и между О-CU-UP и RIC, и стандарт обмена сообщениями, такой как E2-DU, E2-CU-CP и E2-CU-UP требуется для того, чтобы задавать процедуру между RIC и O-DU, O-CU-CP и О-CU-UP. В частности, конкретные для пользователя услуги требуются в виртуализированной сети, и существует потребность в том, чтобы задавать функцию сообщения O-DU, O-CU-CP, О-CU-UP и RIC таким образом, чтобы поддерживать услуги для широкого покрытия соты, посредством предоставления возможности концентрации сообщения/функции обработки вызовов, сформированного в О-RAN, в RIC.
[49] RIC может обмениваться данными с O-DU, O-CU-CP и O-CU-UP посредством использования Е2-интерфейса и может задавать условие возникновения события посредством формирования и передачи сообщения с подпиской. В частности, RIC может формировать Е2-сообщение с запросом на подписку и может переносить сообщение в Е2-узел (например, O-CU-CP, O-CU-UP, O-DU), чтобы задавать событие обработки вызовов. Помимо этого, после задания события, Е2-узел передает сообщение с ответом на запрос на подписку, перенесенное в RIC.
[50] Е2-узел может передавать текущее состояние в RIC через Е2-индикатор/сообщение. RIC может предоставлять управление для O-DU, O-CU-CP и О-CU-UP посредством использования управляющего Е2-сообщения. Различные варианты осуществления данного раскрытия предлагают Е2-сообщение с индикатором, передаваемое в качестве информации измерений на основе абонентских устройств (UE), для каждого периода, заданного в условии события подписки в O-DU. Помимо этого, различные варианты осуществления данного раскрытия предлагают сообщение для управления ресурсом, передаваемое из RIC в O-DU.
[51] Фиг. 1 иллюстрирует пример базовой системы на основе стандарта долгосрочного развития (LTE) четвертого поколения (4G).
[52] Ссылаясь на фиг. 1, базовая LTE-система включает в себя базовую станцию 110, терминал 120, обслуживающий шлюз 130 (S-GW), шлюз 140 сети пакетной передачи данных (P-GW), объект 150 управления мобильностью (ММЕ), сервер 160 домашних абонентов (HSS) и функцию 170 правил и политик тарификации и оплаты услуг (PCRF).
[53] Базовая станция 110 представляет собой сетевую инфраструктуру, которая предоставляет радиодоступ к терминалу 120. Например, базовая станция 110 представляет собой устройство, которое выполняет диспетчеризацию посредством сбора информации состояния, такой как состояние буфера, доступная мощность передачи, состояние канала и т.п. терминала 120. Базовая станция 110 имеет покрытие, заданное в качестве конкретного географического региона, на основе расстояния, на котором сигнал допускает передачу. Базовая станция 110 соединяется с ММЕ 150 через S1-MME-интерфейс. Базовая станция 110 может называться не только "базовой станцией", но также и "точкой доступа (АР)", "усовершенствованным узлом В (усовершенствованным узлом В, eNB)", "беспроводной точкой", "точкой передачи/приема (TRP)" либо согласно другим терминам, имеющим эквивалентный технический смысл.
[54] Терминал 120 представляет собой устройство, используемое пользователем, и выполняет связь через беспроводной канал относительно базовой станции 110. Необязательно, терминал 120 может работать без участия пользователя. Таким образом по меньшей мере один из терминала 120 и S-GW 130 представляет собой устройство, которое выполняет машинную связь (МТС) и может не носиться пользователем. Терминал 120 может называться не только "терминалом", но также и "абонентским устройством (UE)", "мобильной станцией (MS)", "абонентской станцией", "оконечным абонентским оборудованием (СРЕ)", "удаленным терминалом", "беспроводным терминалом", "пользовательским устройством" либо согласно другим терминам, имеющим эквивалентный технический смысл.
[55] S-GW 130 предоставляет однонаправленный канал передачи данных и создает или удаляет однонаправленный канал передачи данных под управлением ММЕ 150. Например, S-GW 130 обрабатывает пакет, поступающий из базовой станции 110, либо пакета, который должен перенаправляться в базовую станцию 110. Помимо этого, S-GW 130 может выполнять роль привязки, когда терминал 120 выполняет передачу обслуживания между базовыми станциями. P-GW 140 может функционировать в качестве точки подключения относительно внешней сети (например, Интернет-сети). Помимо этого, P-GW 140 выделяет адрес по Интернет-протоколу (IP) для терминала 120 и выполняет роль привязки для S-GW 130. Помимо этого, P-GW 140 применяет политику качества обслуживания (QoS) терминала 120 и может управлять данными учетной записи.
[56] ММЕ 150 управляет мобильностью терминала 120. Помимо этого, ММЕ 150 может выполнять аутентификацию, управление однонаправленными каналами и т.п. для терминала 120. Таким образом, ММЕ 150 регулирует управление мобильностью и множество функций управления. ММЕ 150 может взаимодействовать с обслуживающим узлом поддержки общей службы пакетной радиопередачи (GPRS) (SGSN).
[57] HSS 160 сохраняет информацию абонентского профиля и ключей для аутентификации терминала 120. Информация абонентского профиля и ключей переносится из HSS 160 в ММЕ 150, когда терминал 120 осуществляет доступ к сети.
[58] PCRF 170 задает правила и политики тарификации и оплаты услуг. Сохраненная информация переносится из PCRF 170 в P-GW 140, и P-GW 140 может предоставлять управление (например, QoS-управление, тарификацию и оплата услуг и т.д.) в терминал 120, на основе информации, предоставляемой из PCRF 170.
[59] Агрегирование несущих (СА) представляет собой технологию, в которой множество компонентных несущих агрегируются таким образом, что один терминал передает/принимает сигнал посредством использования множества компонентных несущих одновременно, за счет этого увеличивая эффективность использования частот с точки зрения терминала или базовой станции. В частности, согласно СА-технологии, терминал и базовая станция могут использовать множество компонентных несущих в каждой из восходящей линии связи (UL) и нисходящей линии связи (DL) для того, чтобы передавать/принимать широкополосный сигнал. В этом случае каждая из компонентных несущих расположена в различной полосе частот. В дальнейшем в этом документе, UL обозначает линию связи, по которой терминал передает сигнал в базовую станцию, и DL обозначает линию связи, по которой базовая станция передает сигнал в терминал. В этом случае, число компонентных UL-несущих и число компонентных DL-несущих могут отличаться друг от друга.
[60] Технология сдвоенного подключения или множественного подключения представляет собой технологию, в которой один терминал соединяется с множеством различных базовых станций, чтобы передавать/принимать сигнал посредством одновременно с использованием несущих в каждой из множества базовых станций, расположенных в различных полосах частот, за счет этого увеличивая эффективность использования частот с точки зрения терминала или базовой станции. Терминал может передавать/принимать трафик посредством соединения одновременно с первой базовой станцией (например, с базовой станцией, которая предоставляет услугу посредством использования LTE-технологии или 4G-технологии мобильной связи) и со второй базовой станцией (например, с базовой станцией, которая предоставляет услугу посредством использования технологии на основе нового стандарта радиосвязи (NR) или 5G-технологии мобильной связи). В этом случае, частотный ресурс, используемый посредством каждой базовой станции, может быть расположен в различной полосе частот. Схема, которая работает на основе технологии сдвоенного подключения LTE и NR, может называться "5G неавтономной (NSA)".
[61] Фиг. 2А иллюстрирует пример 5G NSA-системы.
[62] Ссылаясь на фиг. 2А, 5G NSA-система включает в себя NR RAN 210а, LTE RAN 210b, терминал 220 и усовершенствованное ядро 250 пакетной коммутации (ЕРС). NR RAN 210а и LTE RAN 210b могут соединяться с ЕРС 250, и терминал 220 может принимать услугу из любого либо одновременно из обоих из NR RAN 210а и LTE RAN 210b. NR RAN 210a включает в себя по меньшей мере одну базовую NR-станцию, и LTE RAN 210b включает в себя по меньшей мере одну базовую LTE-станцию. В данном документе, базовая NR-станция может называться "узлом пятого поколения", "узлом В (gNB) следующего поколения" либо согласно другим терминам, имеющим эквивалентный технический смысл.
Помимо этого, базовая NR-станция может иметь структуру, разделенную на центральный блок (CU) и цифровой блок (DU), и CU может иметь структуру, разделенную на CU-блок в плоскости управления (CP) и CU-блок в пользовательской плоскости (UP).
[63] В структуре по фиг. 2А, терминал 220 может выполнять доступ на уровне управления радиоресурсами (RRC) через первую базовую станцию (например, через базовую станцию, принадлежащую LTE RAN 210b), и ему может предоставляться услуга функции (например, управление подключениями, управление мобильностью и т.д.), предоставленной в плоскости управления. Помимо этого, терминалу 220 может предоставляться дополнительный радиоресурс для передачи/приема данных через вторую базовую станцию (например, через базовую станцию, принадлежащую NR RAN 210а). Технология сдвоенного подключения с использованием LTE и NR может называться "режимом сдвоенного подключения (DC) по технологии усовершенствованного универсального наземного радиодоступа (E-UTRA) и NR (EN-DC)". Аналогично, технология сдвоенного подключения, в которой первая базовая станция использует NR-технологию, а вторая базовая станция использует LTE-технологию, называется "режимом сдвоенного подключения по технологии NR и E-UTRA (NE-DC)". Помимо этого, различные варианты осуществления могут применяться к различным типам технологий множественного подключения и агрегирования несущих. Помимо этого различные варианты осуществления также могут применяться к случаю, в котором первая система с использованием первой технологии связи и вторая система с использованием второй технологии связи реализуются в одном устройстве, либо к случаю, в котором первая базовая станция и вторая базовая станция расположены в идентичной географической позиции.
[64] Фиг. 2В иллюстрирует пример архитектуры для O-RAN.
Для целей Е2-SM-мониторинга ключевых индикаторов производительности (KPI) Е2-модели предоставления услуг, может рассматриваться неавтономный O-RAN-режим при работе в режиме множественного подключения с использованием E-UTRA- и NR-технологии радиодоступа. Между тем можно предполагать, что Е2-узел находится в автономном O-RAN-режиме.
[65] Ссылаясь на фиг. 2В, в развертывании автономного О-RAN-режима, eNB соединяется с ЕРС через S1-С/S1-U-интерфейс и соединяется с O-CU-CP через Х2-интерфейс.O-CU-CP для развертывания автономного O-RAN-режима может соединяться с 5G-ядром (5GC) через N2/N3-интерфейс.
[66] Фиг. 3 иллюстрирует стек протоколов протокольного Е2-сообщения уровня приложений в сети радиодоступа согласно различным вариантам осуществления данного раскрытия. Ссылаясь на фиг. 3, плоскость управления включает в себя транспортный сетевой уровень и сетевой радиоуровень. Транспортный сетевой уровень включает в себя физический уровень 310, канальный уровень 320 передачи данных, Интернет-протокол 330 (IP) и протокол 340 управления потоковой передачей (SCTP).
[67] Сетевой радиоуровень включает в себя Е2АР 350. Е2АР 350 используется для того, чтобы переносить сообщение с подпиской, сообщение с индикатором, управляющее сообщение, сообщение обновления услуг и сообщение с запросом на предоставление услуг, и передается на верхнем уровне относительно SCTP 340 и IP 330.
[68] Фиг. 4 иллюстрирует пример соединения между базовой станцией и RIC в сети радиодоступа согласно различным вариантам осуществления данного раскрытия.
[69] Ссылаясь на фиг. 4, RIC 440 соединяется с O-CU-CP 420, О-CU-UP 410 и O-DU 430. RIC 440 представляет собой устройство для индивидуальной настройки RAN-функциональности для новых услуг или оптимизации региональных ресурсов. RIC 440 может предоставлять такую функцию, как сетевой интеллект (например, принудительная активация политик, оптимизация передачи обслуживания), гарантированное выделение ресурсов (например, управление линией радиосвязи, усовершенствованная произвольно организующаяся сеть (SON)), управление ресурсами (например, балансировка нагрузки, политика разделения на срезы) и т.п.RIC 440 может выполнять связь с O-CU-CP 420, О-CU-UP 410 и O-DU 430. RIC 440 может соединяться с каждым узлом через Е2-СР-, E2-UP- и Е2-DU-интерфейсы. Помимо этого, интерфейс между O-CU-CP и DU и между О-CU-UP и DU может называться "F1-интерфейсом". В нижеприведенном описании, DU и O-DU, CU-CP и O-CU-CP и CU-UP и О-CU-UP могут использоваться взаимозаменяемо.
[70] Хотя один RIC 440 проиллюстрирован на фиг.4, например, множество RIC могут присутствовать согласно различным вариантам осуществления. Множество RIC могут реализовываться с множеством аппаратных объектов, расположенных в идентичном физическом положении, либо могут реализовываться через виртуализацию с использованием одного аппаратного объекта.
[71] Фиг. 5 иллюстрирует структуру устройства согласно различным вариантам осуществления данного раскрытия. Примерная структура по фиг. 5 может пониматься как структура устройства, которое выполняет по меньшей мере одну функцию из RIC практически реального времени, RIC не реального времени, O-CU-CP, О-CU-UP и O-DU по фиг. 4. В дальнейшем в этом документе, термин "…блок", "…устройство" и т.п. подразумевает единицу обработки по меньшей мере одной функции или операции и может реализовываться в аппаратных средствах или программном обеспечении либо в комбинации аппаратных средств и программного обеспечения.
[72] Ссылаясь на фиг. 5, базовое сетевое устройство включает в себя блок 510 связи, блок 520 хранения и блок 530 управления.
[73] Блок 510 связи предоставляет интерфейс для выполнения связи с различными узлами в сети. Таким образом, блок 510 связи преобразует поток битов, передаваемый из базового сетевого устройства в другое устройство, и преобразует физический сигнал, принимаемый из другого устройства, в поток битов. Таким образом, блок 510 связи может передавать и принимать сигнал. Соответственно, блок 510 связи может называться "передающим устройством", "приемным устройством" или "приемо-передающим устройством". В этом случае, блок 510 связи может обеспечивать возможность базовому сетевому устройству обмениваться данными с другими устройствами или системами через обратное транзитное соединение (например, через проводное обратное транзитное соединение либо через беспроводное обратное транзитное соединение).
[74] Блок 520 хранения сохраняет базовую программу, прикладную программу, информацию настроек и т.п. для работы базового сетевого устройства. Блок 520 хранения может конструироваться из энергозависимого запоминающего устройства, энергонезависимого запоминающего устройства либо из комбинации энергозависимого запоминающего устройства и энергонезависимого запоминающего устройства. Помимо этого, блок 520 хранения предоставляет сохраненные данные по запросу блока 530 управления.
[75] Блок 530 управления полностью управляет операциями базового сетевого устройства. Например, блок 530 управления передает и принимает сигнал через блок 510 связи. Помимо этого, блок 530 управления записывает данные в блок 520 хранения и считывает данные. Для этого, блок 530 управления может включать в себя по меньшей мере один процессор. Согласно различным вариантам осуществления, блок 530 управления может управлять базовым сетевым устройством таким образом, чтобы выполнять операции в соответствии с различными вариантами осуществления, описанными ниже.
[76] Фиг. 6А и фиг. 6В иллюстрируют логическую функцию, релевантную для Е2-сообщения Е2-узла и RIC в сети радиодоступа согласно различным вариантам осуществления данного раскрытия.
[77] Ссылаясь на фиг. 6А RIC 640 и Е2-узел 610 могут взаимно передавать или принимать Е2-сообщение. Например, Е2-узел 610 может представлять собой O-CU-CP, О-CU-UP, O-DU или базовую станцию. Интерфейс связи Е2-узла может определяться согласно типу Е2-узла 610. Например, Е2-узел 610 может выполнять связь с другим Е2-узлом 616 через E1-интерфейс или F1-интерфейс. Альтернативно, например, Е2-узел 610 может выполнять связь с Е2-узлом 616 через Х2-интерфейс или Xn-интерфейс. Альтернативно, например, Е2-узел 610 может выполнять связь через S1-интерфейс или интерфейс на основе протокола уровня приложений следующего поколения (NGAP) (т.е. интерфейс между RAN-узлом следующего поколения (NG) и функцией доступа и мобильности (AMF)).
[78] Е2-узел 610 может включать в себя узловую Е2-функцию 612. Узловая Е2-функция 612 представляет собой функцию, соответствующую конкретному прикладному программному обеспечению 646 (хАрр), установленному в RIC 640. Например, в случае KPI-монитора, программное обеспечение сбора данных для KPI-мониторинга устанавливается в RIC 640, и Е2-узел 610 может включать в себя узловую Е2-функцию 612, которая формирует KPI-параметры и затем переносит Е2-сообщение, включающее в себя KPI-параметр, в Е2-разъединение 642, расположенное в RIC 640. Е2-узел 610 может включать в себя управление 614 радиоресурсами (RRM). Е2-узел 610 может включать в себя управление 614 радиоресурсами (RRM). Е2-узел 610 может управлять ресурсом, предоставленным в радиосеть для терминала.
[79] Е2-разъединение 642, расположенное в RIC 640, представляет собой разъединение RIC 640 для Е2-сообщения и выполняет функцию, которая интерпретирует Е2-сообщение, перенесенное посредством Е2-узла 610, и затем переносит его в хАрр 646. База 644 данных (DB), расположенная в RIC 640, может использоваться для Е2-разъединения 624 или хАрр 646. Е2-узел 610 по фиг. 6А представляет собой разъединение по меньшей мере одного интерфейса и может пониматься как разъединение сообщений, которые должны переноситься в терминал, соседнюю базовую станцию и базовую сеть.
[80] Ссылаясь на фиг. 6В, хАрр RIC 640 может соответствовать одной или более узловых Е2-функций Е2-узла 610. Узловая Е2-функция Е2-узла 610 может соответствовать одному или более хАрр RIC 640. Узловые Е2-функции Е2-узла 610 могут управляться посредством Е2-агента. RIC 640, соединенный с Е2-узлом 610 через Е2-интерфейс, обозначает RIC практически реального времени. RIC практически реального времени может управлять и оптимизировать функцию и ресурс Е2-узла (O-CU-CP, O-CU-UP, O-DU и О-eNB) на основе реального времени, т.е. практически в реальном времени, посредством выполнения операций сбора и управления данными в единицах приблизительно от 10 миллисекунд (мс) до 1 секунды через Е2-интерфейс.RIC 640 может использовать Е2-интерфейс, чтобы размещать одно или более хАрр, которые собирают (на основе UE или на основе соты) информацию практически в реальном времени и предоставляют услугу. RIC-управление практически в реальном времени для Е2-узла может регулироваться на основе данных политик и расширения функционала, предоставленных через А1, в RIC не реального времени. RRM-функция 614 между RIC 640 практически реального времени и Е2-узлом 610 предоставляется посредством взаимодействия функции Е2-узла, доступного для Е2-интерфейса через E2SM (модель предоставления услуг).
[81] Фиг. 7 иллюстрирует примеры функционального разбиения между Е2-узлом и RIC согласно вариантам осуществления данного раскрытия. O-RAN-стандарт предоставляет функциональное разбиение между Е2-узлом и RIC. Например, Е2-узел может представлять собой CU. RIC может представлять собой RIC практически реального времени. RIC может соединяться с открытой платформой для сетевой автоматизации (ONAP)/системой управления и оркестровки (MANO)/системой управления сетью (NMS) через А1-интерфейс.RIC может соединяться с Е2-узлом через Е2-интерфейс.Е2-интерфейс может переносить команды. Вариант функционального разбиения может иметь функциональное разбиение 700, в котором управление радиоресурсами (RRM) полностью осуществляется посредством RIC практически реального времени, и функциональное разбиение 740, в котором RRM избирательно управляется в RIC практически реального времени.
[82] RIC практически реального времени предположительно должен поддерживать Е2 в качестве открытого логического интерфейса, направленного на окружения с оборудованием от различных производителей, независимо от реализации конкретного RRC-RRM-алгоритма, расположенного в RIC практически реального времени. Данное раскрытие может предлагать радиоинтерфейсный контроллер на основе Е2-модели предоставления услуг (E2SM-RIC), спаренный с E2SM-NI, допускающий вставку/модификацию/конфигурирование RRC-сообщения для каждого UE для каждого интерфейса и сетевого объекта (NE). Другими словами, RIC практически реального времени может постепенно улучшаться в направлении от функционального разбиения 750 к функциональному разбиению 700. Е2 может разрабатываться в качестве открытого логического интерфейса, независимого от реализации конкретного RRC-RRM-алгоритма в RIC практически реального времени и направленного на окружения с оборудованием от различных производителей.
[83] Фиг. 8А иллюстрирует пример реализации Е2-узла и RIC согласно вариантам осуществления данного раскрытия. В сценарии примера 800 реализации, Е2-узел (например, O-DU, O-CU) и RIC могут виртуализироваться в облачной платформе (например, в краевом облаке по спецификации с открытым шасси и лезвием) и конфигурироваться в устройстве (например, сервере). Этот сценарий может поддерживать развертывание в густонаселенных городских районах с избыточной пропускной способностью прямого транзитного соединения, что обеспечивает возможность BBU-функции, которая объединяется в пул в центральном местоположении, с достаточно низким временем задержки удовлетворять требованию по O-DU-времени ожидания. Следовательно, может быть необязательным пытаться централизовать RIC близко к реальному времени за рамками предела, допускающего централизацию O-DU-функции. Согласно варианту осуществления, E2SM-RIC может оптимизироваться для сценариев O-RAN-развертывания, в которых RIC практически реального времени, O-CU и O-DU реализуются в О-облачной платформе.
[84] Фиг. 8В иллюстрирует интерфейс между O-RAN-компонентами согласно вариантам осуществления данного раскрытия. Инфраструктура управления и оркестровки услуг (SMO) может соединяться с сетевой O-RAN-функцией (NF) и О-облаком через основные интерфейсы, используемые в О-RAN, т.е. через А1-интерфейс, O1-интерфейс, O2-интерфейс и т.п. Согласно варианту осуществления, O-RAN NF может представлять собой виртуализированную сетевую функцию (VNF) в О-облаке. Помимо этого, согласно варианту осуществления, O-RAN NF может иметь форму контейнеризированной сетевой функции (CNF). Помимо этого, согласно варианту осуществления, O-RAN NF может представлять собой физическую сетевую функцию (PNF) с использованием индивидуально настраиваемых аппаратных средств.
[85] SMO регулирует функции управления и оркестровки в RAN-домене. Основная функция SMO, предоставляющего RAN-поддержку в O-RAN, включает в себя интерфейс для управления отказами, конфигурацией, предупреждениями, производительностью и безопасностью (FCAPS) для O-RAN NF, инфраструктуру на основе интеллектуального RAN-контроллера (RIC) не реального времени (RT) для RAN-оптимизации и функцию управления, оркестровки и управления потоками обработки О-облака.
[86] RIC не реального времени представляет собой внутреннюю SMO-функцию O-RAN-архитектуры, которая предоставляет А1-интерфейс для интеллектуального RAN-контроллера (RIC) практически реального времени (RT). RIC не реального времени главным образом направлен на поддержку интеллектуальной RAN-оптимизации посредством предоставления в RIC практически реального времени информации с инструкциями на основе политик, для управления на основе ML-моделей и для расширения функционала, чтобы оптимизировать RRM при конкретном условии. RIC не реального времени может выполнять RAN-оптимизацию с интервалом не в реальном времени (по меньшей мере, в 1 секунду) посредством использования анализа данных, обучения и логического вывода на основе искусственного интеллекта (AI)/машинного обучения (ML).
[87] Фиг. 8С иллюстрирует пример SMO-инфраструктуры согласно вариантам осуществления данного раскрытия.
[88] Ссылаясь на фиг. 8С и схему 860, RIC не реального времени может включать в себя функцию управления идентификационными данными (IMF) UE. Хотя она называется "UE IMF" в данном раскрытии, другие термины, означающие соответствующую функциональную структуру, могут использоваться вместо этого. Например, очевидно, что RIC не реального времени выполняет функции (или операции) UE IMF, которые описываются ниже, такие как диспетчер идентификаторов UE, контроллер идентификаторов UE, диспетчер UE, контроллер UE, контроллер идентификационных данных UE, верификатор идентификационных данных UE и т.п.
[89] Согласно вариантам осуществления данного раскрытия, RIC не реального времени может выполнять связь с SMO через внутренний SMO-интерфейс. Согласно вариантам осуществления данного раскрытия, RIC не реального времени может выполнять связь с внешним источником через внешний интерфейс. Согласно варианту осуществления, RIC не реального времени может выполнять связь с внешним EI-источником через внешний интерфейс для обмена информацией расширения функционала (EI). Согласно варианту осуществления, RIC не реального времени может выполнять связь с внешним EI-источником через внешний интерфейс искусственного интеллекта (AI)/машинного обучения (ML). Согласно варианту осуществления, RIC не реального времени может выполнять связь с локальным рабочим терминалом через внешний человеко-машинный (НМ) интерфейс.
[90] O-RAN предоставляет для RAN открытость, маневренность и масштабируемость. Для развития RAN, O-RAN обеспечивает возможность поддерживать открытый и функционально совместимый интерфейс, RAN-виртуализацию, большие данные, RAN-интеллект на основе AI и т.п. Помимо этого, использование коммерческих аппаратных средств и коммерческого кристалла микросхемы максимизируется, и использование специализированных аппаратных средств не допускается. Встроенная или внутренняя интерфейсная AI/ML-система предоставляет сетевой интеллект через аналитику практически в реальном времени (NRT) и не в реальном времени (не-NRT). O-RAN обеспечивает возможность конфигурировать виртуализированную интеллектуальную сеть со стандартизированным открытым интерфейсом.
[91] В O-RAN, интерфейс между RIC практически реального времени и Е2-узлом задается как Е2-интерфейс. В Е2-интерфейсе, Е2АР-протокол может использоваться на сетевом радиоуровне. Е2АР-процедура состоит из функциональной Е2АР-процедуры для RIC практически реального времени и глобальной Е2АР-процедуры. Функциональная Е2АР-процедура для RIC практически реального времени может использоваться для того, чтобы переносить конкретное для приложения сообщение между хАрр (RIC-приложениями практически реального времени) и целевой функцией Е2-узла. Глобальная Е2АР-процедура может использоваться для управления Е2-интерфейсом и обновления услуг и т.п.
[92] Элементарная процедура для Е2АР может разделяться на элементарную процедуру класса 1 и элементарную процедуру класса 2, которые описываются ниже. Таблица 1 показывает элементарную процедуру класса 1, и таблица 2 показывает элементарную процедуру класса 2.
[93]
[94]
[95] Фиг. 9 является схемой для пояснения необходимости удаления релевантной для Е2-интерфейса информации согласно вариантам осуществления данного раскрытия. Процесс разъединения Е2-узла описывается на фиг. 9. Чертеж, описанный ниже, показывает процесс разъединения Е2-узла. Процесс Е2-разъединения может использоваться для того, чтобы уменьшать потери ресурсов, вызываемые посредством чрезмерного развертывания Е2-узла. Альтернативно, процесс Е2-разъединения представляет собой процедуру, требуемую для того, чтобы удалять старую версию Е2-узла вследствие способа обновления программного обеспечения по принципу "собрать и заменить". SMO примерно иллюстрирует SMO 810 по фиг. 8. О-облако примерно иллюстрирует контроллер для управления О-облаком 815 по фиг. 8. RIC практически реального времени примерно иллюстрирует RIC 640 практически реального времени по фиг. 6. Е2-узел примерно иллюстрирует Е2-узел 610 по фиг. 6.
[96] Ссылаясь на фиг. 9, на этапе S901, SMO может определять удаление Е2-узла. SMO может формировать конфигурацию для удаления Е2-узла.
[97] На этапе S903, SMO может передавать конфигурационную информацию для разъединения Е2-узла в Е2-узел через O1-интерфейс. После определения разъединения конкретного Е2-узла, SMO может переносить конфигурационную информацию для разъединения в Е2-узел. Е2-узел может принимать конфигурационную информацию для разъединения Е2-узла из SMO через O1-интерфейс.
[98] На этапе S905, Е2-узел может прекращать текущий трафик (или услугу). Таким образом, Е2-узел может прекращать трафик или услугу, предоставляемую в данный момент. Е2-узел может прекращать трафик или услугу, на основе конфигурационной информации, принимаемой на этапе S903. Например, Е2-узел может прекращать передачу трафика данных. Е2-узел может прекращать передачу трафика после приема конфигурационной информации для разъединения Е2-узла.
[99] На этапе S907, Е2-узел может передавать сообщение для конфигурирования (или формирования сообщений по) разъединения (в дальнейшем, сообщение подтверждения разъединения) в SMO. Е2-узел может передавать сообщение подтверждения разъединения в SMO через O1-интерфейс.SMO может принимать сообщение подтверждения разъединения из Е2-узла. Хотя на фиг. 9 описывается то, что сообщение подтверждения принимается после этапа S905, сообщение подтверждения может приниматься сразу после этапа S903 в некоторых вариантах осуществления.
[100] На этапе S909, SMO может передавать сообщение для разъединения Е2-узла в О-облако. SMO может передавать сообщение для разъединения Е2-узла в О-облако через O2-интерфейс.Сообщение для разъединения Е2-узла может означать сообщение для высвобождения ресурса Е2-узла. Когда SMO принимает сообщение прекращения услуги или трафика из Е2-узла, SMO может переносить сообщение для высвобождения ресурса Е2-узла в О-облако. О-облако может принимать сообщение для высвобождения ресурса Е2-узла из SMO.
[101] На этапе S911, О-облако может передавать сообщение отмены выделения ресурсов в Е2-узел. Согласно варианту осуществления, О-облако может сообщать отмену выделения ресурсов в Е2-узел через приложение.
[102] На этапе S913, О-облако может передавать в SMO сообщение для формирования сообщений в отношении того, что разъединение Е2-узла завершено. Завершение разъединения Е2-узла обозначает то, что все ресурсы, назначенные Е2-узлу, высвобождаются. Таким образом, О-облако может высвобождать все ресурсы Е2-узла и переносить сообщение завершения в SMO.
[103] На этапе S915, Е2-узел может высвобождать все ресурсы. Е2-узел может высвобождать все ресурсы, на основе отмены выделения ресурсов О-облака. Поскольку Е2-узел может идентифицировать разъединение Е2-узла через SMO и О-облако, Е2-узел может выполнять процедуру (например, удаление релевантной для Е2-интерфейса конфигурации) в зависимости от разъединения Е2-узла.
[104] На этапе S917, RIC практически реального времени может хранить релевантную информацию и экземпляр Е2-интерфейса. RIC практически реального времени не может знать то, разъединяется или нет Е2-узел. Следовательно, даже если Е2-узел разъединяется, RIC практически реального времени непрерывно хранит удаленную релевантную для Е2-узла информацию (например, глобальный идентификатор Е2-узла, информацию RAN-функции, конфигурацию компонентов Е2-узла и т.д.) и Е2-интерфейс (например, SCTP-соединение). Хотя не показано на фиг. 9, в противоположном случае (например, когда RIC практически реального времени удаляется), Е2-узел непрерывно хранит релевантную для RIC практически реального времени информацию и Е2-интерфейс.
[105] Когда релевантная для Е2-интерфейса конфигурация (например, релевантная для Е2-узла информация, релевантная для RIC практически реального времени информация либо интерфейсная Е2-конфигурация) непрерывно хранится, не только необязательные ресурсы теряются, но также и некорректная информация непрерывно собирается, что может приводить к помехе для функции каждого узла. Например, информация топологии может предоставлять некорректный результат, поскольку отражаются данные для разъединенного Е2-узла. Помимо этого, например, когда разъединенный Е2-узел осуществляет доступ снова в последующий раз, ошибка может возникать, поскольку конфигурация Е2-узла дублируется.
[106] Чтобы разрешать вышеуказанную проблему, варианты осуществления данного раскрытия предлагают способ для удаления (или высвобождения) релевантной информации, сохраненной в каждом из RIC практически реального времени и Е2-узла, Е2-интерфейса и т.п., когда соединение Е2-интерфейса между RIC практически реального времени и Е2-узлом разрывается в системе мобильной связи на основе открытой RAN (O-RAN). Согласно варианту осуществления, данное раскрытие предлагает способ, в котором RIC практически реального времени допускает нормальное удаление релевантной информации Е2-узла, экземпляра Е2-интерфейса (например, SCTP) и т.п., когда Е2-узел разъединяется. Помимо этого, согласно варианту осуществления, аналогично противоположному случаю, данное раскрытие предлагает способ, в котором Е2-узел допускает нормальное удаление релевантной информации RIC практически реального времени, экземпляра Е2-интерфейса (например, SCTP) и т.п., когда RIC практически реального времени разъединяется.
[107] В дальнейшем в этом документе, информация, которая должна удаляться, может называться "релевантной для Е2-интерфейса информацией". Согласно варианту осуществления, релевантная для Е2-интерфейса информация может включать в себя релевантную конфигурацию Е2-узла. Согласно варианту осуществления, релевантная для Е2-интерфейса информация может включать в себя релевантную конфигурацию RIC практически реального времени. Согласно варианту осуществления, релевантная для Е2-интерфейса информация может включать в себя релевантную конфигурацию (например, SCTP) Е2-интерфейса.
[108] В качестве первого способа данного раскрытия, процедура явного обмена Е2АР-сообщениями (например, Е2-сообщением с запросом на удаление и Е2-сообщением с ответом по удалению) может задаваться между Е2-узлом и RIC практически реального времени. Согласно процедуре обмена Е2АР-сообщениями, релевантная для Е2-интерфейса информация может удаляться. Ниже описываются конкретные этапы согласно первому способу со ссылкой на фиг. 10А.
[109] В качестве второго способа для данного раскрытия, таймер разрыва может задаваться после того, как SCTP-соединение между Е2-узлом и RIC практически реального времени разрывается. Когда таймер разрыва истекает, релевантная информация Е2-интерфейса может удаляться. Ниже описываются конкретные этапы согласно второму способу со ссылкой на фиг. 10В.
[110] В качестве третьего способа данного раскрытия, процедура для запроса в SMO может задаваться после того, как SCTP-соединение между Е2-узлом и RIC практически реального времени разрывается. Процедура для запроса в SMO может включать в себя передачу запросов и прием ответов посредством Е2-узла или RIC практически реального времени. Релевантная для Е2-интерфейса информация может удаляться в ответ на ответ на основе процедуры для запроса в SMO. Ниже описываются конкретные этапы согласно третьему способу со ссылкой на фиг. 10С.
[111] В качестве четвертого способа данного раскрытия, явное конфигурирование на основе SMO может задаваться. Релевантная для Е2-интерфейса информация может удаляться, на основе передачи конфигурационной информации через O1-интерфейс SMO. Ниже описываются конкретные этапы согласно четвертому способу со ссылкой на фиг. 10D.
[112] Фиг. 10А иллюстрирует пример передачи служебных сигналов между O-RAN-объектами для удаления Е2-узла согласно вариантам осуществления данного раскрытия. Способ удаления релевантной информации на основе схемы явного обмена Е2АР-сообщениями (Е2-запросом/ответом по удалению) между Е2-узлом и RIC практически реального времени проиллюстрирован на фиг. 10А.
[113] Ссылаясь на фиг. 10А, на этапе S1001, SMO может определять удаление Е2-узла. SMO может формировать конфигурацию для удаления Е2-узла.
[114] На этапе S1003, SMO может передавать конфигурационную информацию для разъединения Е2-узла в Е2-узел через O1-интерфейс. После определения разъединения конкретного Е2-узла, SMO может переносить конфигурационную информацию для разъединения в Е2-узел. Е2-узел может принимать конфигурационную информацию для разъединения Е2-узла из SMO через O1-интерфейс.
[115] На этапе S1005, Е2-узел может передавать Е2-сообщение с запросом на удаление в RIC практически реального времени. Е2-узел может передавать Е2-запрос на удаление в RIC практически реального времени через Е2-интерфейс. Согласно варианту осуществления, Е2АР-сообщение для запроса на удаление от Е2-узла может задаваться по Е2-интерфейсу (например, задаваться дополнительно в таблице 1 или таблице 2). Когда Е2-узел принимает конфигурационную информацию для разъединения из SMO, Е2-узел может передавать Е2-сообщение с явным запросом на удаление в RIC практически реального времени через Е2-интерфейс.RIC практически реального времени может принимать Е2-сообщение с запросом на удаление из Е2-узла.
[116] Согласно варианту осуществления, Е2-сообщение с запросом на удаление может включать в себя идентификатор Е2-узла. Е2-узел может сообщать RIC практически реального времени в отношении идентификатора Е2-узла, который должен разъединяться. Помимо этого, согласно варианту осуществления, Е2-сообщение с запросом на удаление может включать в себя конфигурацию, релевантную для разъединения Е2-узла. Е2-узел дополнительно может формировать Е2-сообщение с запросом на удаление, на основе конфигурационной информации, принимаемой на этапе S1003. Согласно варианту осуществления, Е2-сообщение с ответом по удалению может включать в себя идентификатор RIC-узла. Помимо этого, согласно варианту осуществления, Е2-сообщение с ответом по удалению может указывать конфигурацию результата удаления.
[117] На этапе S1007, RIC практически реального времени может передавать Е2-сообщение с ответом по удалению в Е2-узел. Согласно варианту осуществления, Е2АР-сообщение для запроса на удаление от Е2-узла может задаваться по Е2-интерфейсу. Е2-узел может принимать Е2-сообщение с ответом по удалению из RIC практически реального времени. После того, как RIC практически реального времени, который принимает Е2-сообщение с запросом на удаление, отвечает Е2-сообщением с ответом по удалению, Е2-узел может удалять информацию, релевантную для Е2-узла. Помимо этого, RIC практически реального времени может удалять экземпляр Е2-интерфейса (например, SCTP-соединение) с Е2-узлом на этапе S1009. Е2-узел может принимать Е2-сообщение с запросом на удаление из RIC практически реального времени.
[118] На этапе S1011, Е2-узел может удалять релевантную для Е2-интерфейса информацию. Релевантная для Е2-интерфейса информация может включать в себя конфигурацию, релевантную для узла практически реального времени, соединенного через Е2-интерфейс, и конфигурацию экземпляра Е2-интерфейса. Е2-узел может удалять экземпляр Е2-интерфейса после приема Е2-сообщения с ответом по удалению. Помимо этого, Е2-узел может прекращать текущий трафик (или услугу). Таким образом, Е2-узел может прекращать трафик или услугу, предоставляемую в данный момент. Например, Е2-узел может прекращать передачу трафика данных. Е2-узел может прекращать передачу трафика после приема конфигурационной информации для разъединения Е2-узла.
[119] После этого, на этапе S1013, Е2-узел может передавать сообщение для конфигурирования (или формирования сообщений по) разъединения (в дальнейшем, сообщение подтверждения разъединения) в SMO. Е2-узел может передавать сообщение подтверждения разъединения в SMO через O1-интерфейс.SMO может принимать сообщение подтверждения разъединения из Е2-узла.
[120] На этапе S1015, SMO может передавать сообщение для разъединения Е2-узла в О-облако. SMO может передавать сообщение для разъединения Е2-узла в О-облако через O2-интерфейс. Сообщение для разъединения Е2-узла может означать сообщение для высвобождения ресурса Е2-узла. Когда SMO принимает сообщение прекращения услуги или трафика из Е2-узла, SMO может переносить сообщение для высвобождения ресурса Е2-узла в О-облако. О-облако может принимать сообщение для высвобождения ресурса Е2-узла из SMO.
[121] На этапе S1017, О-облако может передавать сообщение отмены выделения ресурсов в Е2-узел. Согласно варианту осуществления, О-облако может сообщать отмену выделения ресурсов в Е2-узел через приложение.
[122] На этапе S1019, О-облако может передавать в SMO сообщение для формирования сообщений в отношении того, что разъединение Е2-узла завершено. Завершение разъединения Е2-узла обозначает то, что все ресурсы, назначенные Е2-узлу, высвобождаются. Таким образом, О-облако может высвобождать все ресурсы Е2-узла и переносить сообщение завершения в SMO.
[123] На этапе S1021, Е2-узел может высвобождать все ресурсы. Е2-узел может высвобождать все ресурсы, на основе отмены выделения ресурсов О-облака. Поскольку Е2-узел может идентифицировать разъединение Е2-узла через SMO и О-облако, Е2-узел может выполнять процедуру (например, удаление релевантной для Е2-интерфейса конфигурации) в зависимости от разъединения Е2-узла.
[124] В отличие от фиг. 9, поскольку RIC практически реального времени имеет сведения по разъединению Е2-узла, RIC практически реального времени может более не хранить релевантную для Е2-узла информацию (например, глобальный идентификатор Е2-узла, информацию RAN-функции, конфигурацию компонентов Е2-узла и т.д.) даже если Е2-узел разъединяется. Помимо этого, RIC практически реального времени не хранит интерфейсную Е2-конфигурацию (например, SCTP-соединение), что приводит к меньшим необязательным потерям ресурсов.
[125] Хотя фиг. 10А описывает способ, в котором RIC практически реального времени удаляет релевантную для Е2-узла конфигурацию и интерфейсную Е2-конфигурацию после определения разъединения Е2-узла, вариант осуществления данного раскрытия также может применяться в противоположном случае. Таким образом, поскольку разъединение RIC практически реального времени определяется, операция удаления релевантной для RIC практически реального времени конфигурации и интерфейсной Е2-конфигурации в Е2-узле также может пониматься как вариант осуществления данного раскрытия. Согласно варианту осуществления, когда RIC практически реального времени разъединяется, RIC практически реального времени может передавать запрос на RIC-удаление в Е2-узел. Е2-узел может передавать ответ по RIC-удалению в RIC практически реального времени в ответ на запрос на RIC-удаление. Поскольку RIC практически реального времени и Е2-узел совместно используют конфигурацию разъединения друг друга, релевантная для Е2-интерфейса конфигурация может удаляться в каждом узле.
[126] Хотя два этапа, т.е. запрос и ответ, описываются на фиг. 10А, последний этап может опускаться в некоторых вариантах осуществления. Согласно варианту осуществления, Е2-узел может инструктировать RIC практически реального времени разъединять Е2-узел. RIC практически реального времени может удалять релевантную для Е2-узла конфигурацию согласно сообщению с инструкцией Е2-узла, без дополнительного процесса ответа.
[127] Хотя на фиг. 10А проиллюстрировано то, что передача сообщения подтверждения на основе этапа S1013 выполняется после этапа S1011, варианты осуществления данного раскрытия не обязательно ограничены этим. Согласно варианту осуществления, передача сообщения подтверждения на основе этапа S1013 может выполняться до того, как этап S1011 выполняется, после этапа S1007. Альтернативно, согласно варианту осуществления, передача сообщения подтверждения на основе этапа S1013 может выполняться после этапа S1003.
[128] Фиг. 10В иллюстрирует другой пример передачи служебных сигналов между O-RAN-объектами для удаления Е2-узла согласно вариантам осуществления данного раскрытия. Способ удаления релевантной информации при истечении таймера разрыва после того, как SCTP-соединение разрывается между Е2-узлом и RIC практически реального времени, проиллюстрирован на фиг. 10В.
[129] Ссылаясь на фиг. 10В, на этапе S1031, SMO может определять удаление Е2-узла. SMO может формировать конфигурацию для удаления Е2-узла.
[130] На этапе S1033, SMO может передавать конфигурационную информацию для разъединения Е2-узла в Е2-узел через O1-интерфейс. После определения разъединения конкретного Е2-узла, SMO может переносить конфигурационную информацию для разъединения в Е2-узел. Е2-узел может принимать конфигурационную информацию для разъединения Е2-узла из SMO через O1-интерфейс.
[131] На этапе S1035, SCTP-соединение может разрываться. SCTP-соединение обозначает транспортный уровень, расположенный ниже Е2АР-уровня, который представляет собой беспроводной сетевой уровень в Е2-интерфейсе. Согласно варианту осуществления, когда Е2-узел принимает конфигурационную информацию для разъединения Е2-узла из SMO, Е2-узел может выполнять процедуру (трехсторонний обмен служебными сигналами установления связи ((выключение/подтверждение выключения/выключение) - завершение)) нормального разрыва SCTP-соединения с RIC практически реального времени. Альтернативно, SCTP-соединение может анормально разъединяться.
[132] На этапе S1037, RIC практически реального времени может удалять релевантную для Е2-интерфейса информацию. Когда SCTP-соединение нормально разрывается, или когда анормальное разъединение обнаруживается, RIC практически реального времени запускает таймер разрыва. Когда таймер разрыва истекает, т.е. после того, как таймер разрыва заканчивается, RIC практически реального времени может удалять релевантную информацию для Е2-узла или информацию экземпляра Е2-интерфейса. Согласно варианту осуществления, таймер разрыва может быть предварительно задан в стандарте. Помимо этого, согласно варианту осуществления, таймер разрыва может задаваться через O1-интерфейс или А1-интерфейс.
[133] На этапе S1039, Е2-узел может удалять релевантную для Е2-интерфейса информацию. Релевантная для Е2-интерфейса информация может включать в себя конфигурацию, релевантную для узла практически реального времени, соединенного через Е2-интерфейс, и конфигурацию экземпляра Е2-интерфейса. Помимо этого, Е2-узел может прекращать текущий трафик (или услугу). Таким образом, Е2-узел может прекращать трафик или услугу, предоставляемую в данный момент.
[134] После этого, на этапе S1041, Е2-узел может передавать сообщение для конфигурирования (или формирования сообщений по) разъединения (в дальнейшем, сообщение подтверждения разъединения) в SMO. Е2-узел может передавать сообщение подтверждения разъединения в SMO через O1-интерфейс.SMO может принимать сообщение подтверждения разъединения из Е2-узла.
[135] На этапе S1043, SMO может передавать сообщение для разъединения Е2-узла в О-облако. SMO может передавать сообщение для разъединения Е2-узла в О-облако через O2-интерфейс.Сообщение для разъединения Е2-узла может означать сообщение для высвобождения ресурса Е2-узла. Когда SMO принимает сообщение прекращения услуги или трафика из Е2-узла, SMO может переносить сообщение для высвобождения ресурса Е2-узла в О-облако. О-облако может принимать сообщение для высвобождения ресурса Е2-узла из SMO.
[136] На этапе S1045, О-облако может передавать сообщение отмены выделения ресурсов в Е2-узел. Согласно варианту осуществления, О-облако может сообщать отмену выделения ресурсов в Е2-узел через приложение.
[137] На этапе S1047, О-облако может передавать в SMO сообщение для формирования сообщений в отношении того, что разъединение Е2-узла завершено. Завершение разъединения Е2-узла обозначает то, что все ресурсы, назначенные Е2-узлу, высвобождаются. Таким образом, О-облако может высвобождать все ресурсы Е2-узла и переносить сообщение завершения в SMO.
[138] На этапе S1049, Е2-узел может высвобождать все ресурсы. Е2-узел может высвобождать все ресурсы, на основе отмены выделения ресурсов О-облака. Поскольку Е2-узел может идентифицировать разъединение Е2-узла через SMO и О-облако, Е2-узел может выполнять процедуру (например, удаление релевантной для Е2-интерфейса конфигурации) в зависимости от разъединения Е2-узла.
[139] В отличие от фиг. 9, поскольку RIC практически реального времени управляет таймером разрыва, когда SCTP-соединение разрывается, RIC практически реального времени может более не хранить релевантную для Е2-узла информацию (например, глобальный идентификатор Е2-узла, информацию RAN-функции, конфигурацию компонентов Е2-узла и т.д.). Помимо этого, RIC практически реального времени не хранит интерфейсную Е2-конфигурацию (например, SCTP-соединение). Таймер разрыва может приводить к корректному сбору информации относительно одного или более Е2-узлов, релевантных для RIC практически реального времени, и к меньшим необязательным потерям ресурсов.
[140] Хотя фиг. 10В описывает способ, в котором RIC практически реального времени удаляет релевантную для Е2-узла конфигурацию и интерфейсную Е2-конфигурацию после определения разъединения Е2-узла, вариант осуществления данного раскрытия также может применяться в противоположном случае. Таким образом, поскольку разъединение RIC практически реального времени определяется, операция удаления релевантной для RIC практически реального времени конфигурации и интерфейсной Е2-конфигурации в Е2-узле также может пониматься как вариант осуществления данного раскрытия. Согласно варианту осуществления, Е2-узел может запускать таймер разрыва, когда SCTP-соединение разрывается. Когда таймер разрыва истекает, Е2-узел может удалять относительную для RIC практически реального времени конфигурацию и конфигурацию экземпляра Е2-интерфейса.
[141] Хотя на фиг. 10В проиллюстрировано то, что передача сообщения подтверждения на основе этапа S1041 выполняется после этапа S1039, варианты осуществления данного раскрытия не обязательно ограничены этим. Согласно варианту осуществления, передача сообщения подтверждения на основе этапа S1041 может выполняться до того, как этап S1039 выполняется, после этапа S1037. Альтернативно, согласно варианту осуществления, передача сообщения подтверждения на основе этапа S1041 может выполняться, когда конкретное время истекает в силу таймера после того, как SCTP-соединение разрывается на основе этапа S1033 или этапа S1035.
[142] Фиг. 10С иллюстрирует другой пример передачи служебных сигналов между O-RAN-объектами для удаления Е2-узла согласно вариантам осуществления данного раскрытия. Способ удаления релевантной информации через ответ после запроса SMO относительно состояния равноправного узла после того, как SCTP-соединение разрывается между Е2-узлом и RIC практически реального времени, проиллюстрирован на фиг. 10С.
[143] Ссылаясь на фиг. 10С, на этапе S1051, SMO может определять удаление Е2-узла. SMO может формировать конфигурацию для удаления Е2-узла.
[144] На этапе S1053, SMO может передавать конфигурационную информацию для разъединения Е2-узла в Е2-узел через O1-интерфейс. После определения разъединения конкретного Е2-узла, SMO может переносить конфигурационную информацию для разъединения в Е2-узел. Е2-узел может принимать конфигурационную информацию для разъединения Е2-узла из SMO через O1-интерфейс.
[145] На этапе S1055, SCTP-соединение может разрываться. SCTP-соединение обозначает транспортный уровень, расположенный ниже Е2АР-уровня, который представляет собой беспроводной сетевой уровень в Е2-интерфейсе. Согласно варианту осуществления, когда Е2-узел принимает конфигурационную информацию для разъединения Е2-узла из SMO, Е2-узел может выполнять процедуру (трехсторонний обмен служебными сигналами установления связи ((выключение/подтверждение выключения/выключение) - завершение)) нормального разрыва SCTP-соединения с RIC практически реального времени. Альтернативно, SCTP-соединение может анормально разъединяться.
[146] На этапе S1057, RIC практически реального времени может передавать в SMO сообщение для запроса состояния Е2-узла. Когда SCTP-соединение нормально разрывается, либо когда анормальное разъединение обнаруживается, RIC практически реального времени передает в SMO запрос на предмет состояния, указывающего то, проводится или нет разъединение Е2-узла. Сообщение с запросом может передаваться в ответ на обнаружение разрыва SCTP-соединения. RIC практически реального времени может передавать сообщение с запросом в SMO через O1-интерфейс.SMO может принимать из RIC практически реального времени сообщение для запроса состояния Е2-узла.
[147] На этапе S1059, SMO может передавать в RIC практически реального времени ответное сообщение, включающее в себя состояние Е2-узла. RIC практически реального времени может принимать ответ, указывающий то, что разъединение Е2-узла проводится.
[148] На этапе S1061, RIC практически реального времени может удалять релевантную для Е2-интерфейса информацию. После приема ответного сообщения, RIC практически реального времени может удалять релевантную информацию для Е2-узла или информацию экземпляра Е2-интерфейса.
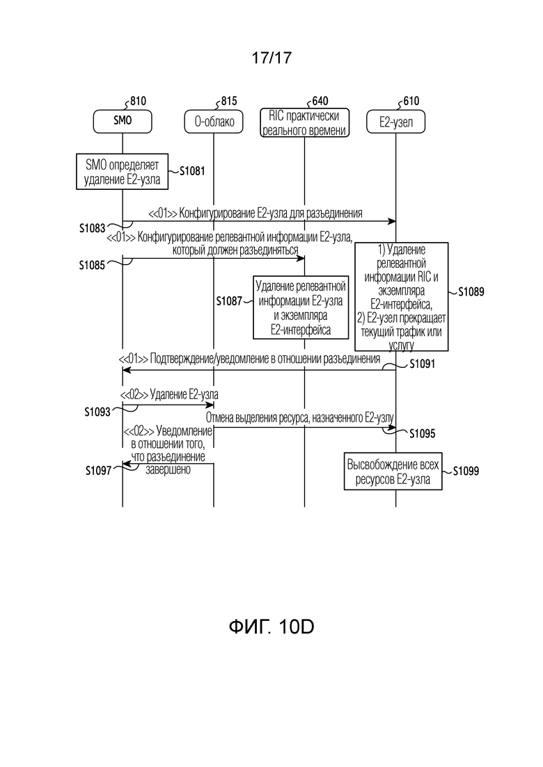
[149] На этапе S1063, Е2-узел может удалять релевантную для Е2-интерфейса информацию. Релевантная для Е2-интерфейса информация может включать в себя конфигурацию, релевантную для узла практически реального времени, соединенного через Е2-интерфейс, и конфигурацию экземпляра Е2-интерфейса. Помимо этого, Е2-узел может прекращать текущий трафик (или услугу). Таким образом, Е2-узел может прекращать трафик или услугу, предоставляемую в данный момент.
[150] После этого, на этапе S1065, Е2-узел может передавать сообщение для конфигурирования (или формирования сообщений по) разъединения (в дальнейшем, сообщение подтверждения разъединения) в SMO. Е2-узел может передавать сообщение подтверждения разъединения в SMO через O1-интерфейс.SMO может принимать сообщение подтверждения разъединения из Е2-узла.
[151] На этапе S1067, SMO может передавать сообщение для разъединения Е2-узла в О-облако. SMO может передавать сообщение для разъединения Е2-узла в О-облако через O2-интерфейс.Сообщение для разъединения Е2-узла может означать сообщение для высвобождения ресурса Е2-узла. Когда SMO принимает сообщение прекращения услуги или трафика из Е2-узла, SMO может переносить сообщение для высвобождения ресурса Е2-узла в О-облако. О-облако может принимать сообщение для высвобождения ресурса Е2-узла из SMO.
[152] На этапе S1069, О-облако может передавать сообщение отмены выделения ресурсов в Е2-узел. Согласно варианту осуществления, О-облако может сообщать отмену выделения ресурсов в Е2-узел через приложение.
[153] На этапе S1071, О-облако может передавать в SMO сообщение для формирования сообщений в отношении того, что разъединение Е2-узла завершено. Завершение разъединения Е2-узла обозначает то, что все ресурсы, назначенные Е2-узлу, высвобождаются. Таким образом, О-облако может высвобождать все ресурсы Е2-узла и переносить сообщение завершения в SMO.
[154] На этапе S1073, Е2-узел может высвобождать все ресурсы. Е2-узел может высвобождать все ресурсы, на основе отмены выделения ресурсов О-облака. Поскольку Е2-узел может идентифицировать разъединение Е2-узла через SMO и О-облако, Е2-узел может выполнять процедуру (например, удаление релевантной для Е2-интерфейса конфигурации) в зависимости от разъединения Е2-узла.
[155] В отличие от фиг. 9, поскольку RIC практически реального времени непосредственно запрашивает SMO, когда SCTP-соединение разрывается, RIC практически реального времени может более не хранить релевантную для Е2-узла информацию (например, глобальный идентификатор Е2-узла, информацию RAN-функции, конфигурацию компонентов Е2-узла и т.д.). Помимо этого, RIC практически реального времени не хранит интерфейсную Е2-конфигурацию (например, SCTP-соединение). Через процедуру запроса состояния разъединения Е2-узла через O1-интерфейс, информация относительно одного или более Е2-узлов, релевантных для RIC практически реального времени может корректно собираться, и необязательные потери ресурсов могут уменьшаться.
[156] Хотя фиг. 10С описывает способ, в котором RIC практически реального времени удаляет релевантную для Е2-узла конфигурацию и интерфейсную Е2-конфигурацию после определения разъединения Е2-узла, вариант осуществления данного раскрытия также может применяться в противоположном случае. Таким образом, поскольку разъединение RIC практически реального времени определяется, операция удаления релевантной для RIC практически реального времени конфигурации и интерфейсной Е2-конфигурации в Е2-узле также может пониматься как вариант осуществления данного раскрытия. Согласно варианту осуществления, Е2-узел может запрашивать SMO относительно состояния RIC практически реального времени через O1-интерфейс, когда SCTP-соединение разрывается. Е2-узел может принимать из SMO ответное сообщение, указывающее то, что разъединение RIC практически реального времени проводится. В ответ на ответное сообщение, Е2-узел может удалять относительную для RIC практически реального времени конфигурацию и конфигурацию экземпляра Е2-интерфейса.
[157] Хотя на фиг. 10В проиллюстрировано то, что передача сообщения подтверждения на основе этапа S1065 выполняется после этапа S1063, варианты осуществления данного раскрытия не обязательно ограничены этим. Согласно варианту осуществления, передача сообщения подтверждения на основе этапа S1065 может выполняться до того, как этап S1063 выполняется, после этапа S1061. Альтернативно, согласно варианту осуществления, передача сообщения подтверждения на основе этапа S1065 может выполняться, когда конкретное время истекает после того, как SCTP-соединение разрывается на основе этапа S1053 или этапа S1055.
[158] Фиг. 10D иллюстрирует другой пример передачи служебных сигналов между O-RAN-объектами для удаления Е2-узла согласно вариантам осуществления данного раскрытия. Способ удаления релевантной информации, когда SMO переносит информацию явно в Е2-узел и RIC практически реального времени, проиллюстрирован на фиг. 10D.
[159] На этапе S1081, SMO может определять удаление Е2-узла. SMO может формировать конфигурацию для удаления Е2-узла.
[160] На этапе S1083, SMO может передавать конфигурационную информацию для разъединения Е2-узла в Е2-узел через O1-интерфейс. После определения разъединения конкретного Е2-узла, SMO может переносить конфигурационную информацию для разъединения в Е2-узел. Е2-узел может принимать конфигурационную информацию для разъединения Е2-узла из SMO через O1-интерфейс.
[161] На этапе S1085, SMO может передавать в RIC практически реального времени сообщение установления относительно разъединения Е2-узла через O1-интерфейс. Согласно варианту осуществления, SMO может передавать в RIC практически реального времени сообщение установления, сообщающее то, что Е2-узел предположительно должен разъединяться. Согласно варианту осуществления, SMO может передавать в RIC практически реального времени сообщение установления, включающее в себя информацию релевантной конфигурации относительно Е2-узла, который должен разъединяться. Согласно варианту осуществления, SMO может передавать в RIC практически реального времени сообщение установления для указания Е2-узла, который должен разъединяться. SMO может идентифицировать RIC практически реального времени, соединенный с Е2-узлом, который должен подвергаться разъединению. Поскольку один или более Е2-узлов могут соединяться с RIC практически реального времени, передаваемое сообщение установления может включать в себя идентификационную информацию Е2-узла (например, идентификатор Е2-узла) для указания Е2-узла, подвергнутого разъединению.
[162] Когда SMO переносит конфигурационную информацию, чтобы разъединять Е2-узел, SMO может переносить сообщение в RIC практически реального времени, соединенный с Е2-узлом, чтобы удалять релевантную информацию Е2-узла и экземпляр Е2-интерфейса.
[163] На этапе S1087, RIC практически реального времени может удалять релевантную для Е2-интерфейса информацию. RIC практически реального времени, который принимает сообщение, переходит к операции удаления информации, релевантной для Е2-узла.
[164] На этапе S1089, Е2-узел может удалять релевантную для Е2-интерфейса информацию. Релевантная для Е2-интерфейса информация может включать в себя конфигурацию, релевантную для узла практически реального времени, соединенного через Е2-интерфейс, и конфигурацию экземпляра Е2-интерфейса. Помимо этого, Е2-узел может прекращать текущий трафик (или услугу). Таким образом, Е2-узел может прекращать трафик или услугу, предоставляемую в данный момент.
[165] На этапе S1091, Е2-узел может передавать сообщение для конфигурирования (или формирования сообщений по) разъединения (в дальнейшем, сообщение подтверждения разъединения) в SMO. Е2-узел может передавать сообщение подтверждения разъединения в SMO через O1-интерфейс. SMO может принимать сообщение подтверждения разъединения из Е2-узла.
[166] На этапе S1092, RIC практически реального времени может передавать в SMO сообщение уведомления для подтверждения разъединения Е2-узла. В качестве ответного сообщения для этапа S1085 SMO, RIC практически реального времени может передавать сообщение подтверждения. RIC практически реального времени может передавать сообщение подтверждения разъединения, которое представляет собой сообщение уведомления для подтверждения разъединения Е2-узла в SMO через O1-интерфейс.SMO может принимать сообщение подтверждения разъединения из RIC практически реального времени. Хотя не показано на фиг. 10D, RIC практически реального времени может передавать ответное сообщение для этапа S1085. Согласно варианту осуществления, RIC практически реального времени может передавать ответное сообщение для этапа S1085 непосредственно в Е2-узел, либо согласно другому варианту осуществления, RIC практически реального времени может передавать ответное сообщение для этапа S1085 в Е2-узел после этапа S1087.
[167] На этапе S1093, SMO может передавать сообщение для разъединения Е2-узла в О-облако. SMO может передавать сообщение для разъединения Е2-узла в О-облако через O2-интерфейс.Сообщение для разъединения Е2-узла может означать сообщение для высвобождения ресурса Е2-узла. Когда SMO принимает сообщение прекращения услуги или трафика из Е2-узла, SMO может переносить сообщение для высвобождения ресурса Е2-узла в О-облако. О-облако может принимать сообщение для высвобождения ресурса Е2-узла из SMO.
[168] На этапе S1095, О-облако может передавать сообщение отмены выделения ресурсов в Е2-узел. Согласно варианту осуществления, О-облако может сообщать отмену выделения ресурсов в Е2-узел через приложение.
[169] На этапе S1097, О-облако может передавать в SMO сообщение для формирования сообщений в отношении того, что разъединение Е2-узла завершено. Завершение разъединения Е2-узла обозначает то, что все ресурсы, назначенные Е2-узлу, высвобождаются. Таким образом, О-облако может высвобождать все ресурсы Е2-узла и переносить сообщение завершения в SMO.
[170] На этапе S1099, Е2-узел может высвобождать все ресурсы. Е2-узел может высвобождать все ресурсы, на основе отмены выделения ресурсов О-облака. Поскольку Е2-узел может идентифицировать разъединение Е2-узла через SMO и О-облако, Е2-узел может выполнять процедуру (например, удаление релевантной для Е2-интерфейса конфигурации) в зависимости от разъединения Е2-узла.
[171] В отличие от фиг. 9, поскольку SMO передает релевантную для разъединения конфигурацию не только в Е2-узел, но также и в RIC практически реального времени, когда SCTP-соединение разрывается, RIC практически реального времени может более не хранить релевантную для Е2-узла информацию (например, глобальный идентификатор Е2-узла, информацию RAN-функции, конфигурацию компонентов Е2-узла и т.д.). Помимо этого, RIC практически реального времени не хранит интерфейсную Е2-конфигурацию (например, SCTP-соединение). Поскольку конфигурация разъединения Е2-узла через O1-интерфейс передается во все узлы Е2-интерфейса, информация относительно текущих Е2-узлов может корректно собираться, и необязательные потери ресурсов могут уменьшаться.
[172] Хотя фиг. 10А описывает способ, в котором RIC практически реального времени удаляет релевантную для Е2-узла конфигурацию и интерфейсную Е2-конфигурацию после определения разъединения Е2-узла, вариант осуществления данного раскрытия также может применяться в противоположном случае. Таким образом, поскольку разъединение RIC практически реального времени определяется, операция удаления релевантной для RIC практически реального времени конфигурации и интерфейсной Е2-конфигурации в Е2-узле также может пониматься как вариант осуществления данного раскрытия. Согласно варианту осуществления, после определения разъединения RIC практически реального времени, SMO может передавать только сообщение установления относительно разъединения в RIC практически реального времени, но также и может передавать сообщение установления относительно разъединения RIC практически реального времени в один или более Е2-узлов, соединенных с RIC практически реального времени.
[173] Хотя на фиг. 10D проиллюстрировано то, что передача сообщения подтверждения на основе этапа S1091 выполняется после этапа S1089, варианты осуществления данного раскрытия не обязательно ограничены этим. Согласно варианту осуществления, передача сообщения подтверждения на основе этапа S1091 может выполняться до того, как этап S1089 выполняется, после этапа S1087. Альтернативно, согласно варианту осуществления, передача сообщения подтверждения на основе этапа S1091 может выполняться после этапа S1083.
[174] Варианты осуществления данного раскрытия предлагают способ для удаления информации, сохраненной в равноправном узле, когда либо RIC практически реального времени, либо Е2-узел, предоставляющий Е2-интерфейс, разъединяется. На основе способов согласно вариантам осуществления данного раскрытия, когда Е2-узел разъединяется, RIC практически реального времени может удалять релевантную для Е2-узла, который должен разъединяться, информацию (например, глобальный идентификатор Е2-узла, информацию RAN-функции, конфигурацию компонентов Е2-узла, информацию RIC-услуг формирования сообщений/вставки, принимаемую во время процедуры обработки RIC-индикатора, и т.д.) и информацию экземпляра Е2-интерфейса (т.е. информацию транспортного уровня Е2-узла), сохраненную в RIC практически реального времени. Помимо этого, на основе способов согласно вариантам осуществления данного раскрытия, когда RIC практически реального времени разъединяется, может удаляться релевантная для RIC практически реального времени, который должен разъединяться, информация (например, глобальный RIC-идентификатор, информация RIC-подписки (RIC-услуги формирования сообщений, вставки и/или управления политиками), принимаемая во время процедуры подписки, информация управления RIC-услугами, принимаемая во время процедуры управления и т.д.) и информация экземпляра Е2-интерфейса (например, информация транспортного уровня RIC практически реального времени), сохраненная в Е2-узле.
[175] Варианты осуществления данного раскрытия предлагают способ для удаления релевантной информации, Е2-интерфейса и т.п., сохраненной в каждом из RIC практически реального времени и Е2-узла, когда интерфейсное Е2-соединение между RIC практически реального времени и Е2-узлом разрывается в системе мобильной связи на основе открытой RAN (O-RAN). Релевантная для Е2-интерфейса конфигурация, упомянутая на фиг. 10A-10D, описанных выше, может задаваться следующим образом. Когда Е2-узел разъединяется, RIC практически реального времени может удалять конфигурацию для Е2-узла. Разъединение Е2-узла обозначает то, что SCTP-соединение из Е2-узла разъединяется. Когда RIC практически реального времени разъединяется, Е2-узел может удалять конфигурацию для RIC практически реального времени. Таким образом, релевантная для Е2-интерфейса конфигурация, упомянутая в данном раскрытии, может включать в себя конфигурацию для Е2-узла или конфигурацию для RIC практически реального времени.
[176] Релевантная для Е2-узла конфигурация обозначает информацию, полученную посредством выполнения элементарной процедуры (например, таблица 1, таблица 2) относительно Е2-узла. Согласно варианту осуществления, релевантная для Е2-интерфейса конфигурация, которая должна удаляться, может включать в себя информацию, полученную через процедуру RIC-подписки. Например, информация, которая должна удаляться, может включать в себя идентификатор RIC-запроса. Помимо этого, например, информация, которая должна удаляться, может включать в себя идентификатор RAN-функции. Помимо этого, например, информация, которая должна удаляться, может включать в себя определение триггера по RIC-событиям.
[177] Согласно варианту осуществления, релевантная для Е2-интерфейса информация, которая должна удаляться, может включать в себя информацию, полученную через процедуру обработки RIC-индикатора. Например, информация, которая должна удаляться, может включать в себя идентификатор RIC-запроса. Помимо этого, например, информация, которая должна удаляться, может включать в себя идентификатор RAN-функции. Помимо этого, например, информация, которая должна удаляться, может включать в себя идентификатор RIC-действия. Помимо этого, например, информация, которая должна удаляться, может включать в себя идентификатор обработки RIC-вызовов. Помимо этого, например, информация, которая должна удаляться, может включать в себя сообщение с RIC-индикатором, тип, заголовок и SN.
[178] Согласно варианту осуществления, релевантная для Е2-интерфейса конфигурация, которая должна удаляться, может включать в себя информацию, полученную через процедуру RIC-управления. Например, информация, которая должна удаляться, может включать в себя идентификатор RIC-запроса. Помимо этого, например, информация, которая должна удаляться, может включать в себя идентификатор RAN-функции. Помимо этого, например, информация, которая должна удаляться, может включать в себя идентификатор обработки RIC-вызовов. Помимо этого, например, информация, которая должна удаляться, может включать в себя сообщение RIC-управления.
[179] Согласно варианту осуществления, релевантная для Е2-интерфейса конфигурация, которая должна удаляться, может включать в себя информацию, полученную через процедуру Е2-установления. Например, информация, которая должна удаляться, может включать в себя идентификатор Е2-узла. Помимо этого, например, информация, которая должна удаляться, может включать в себя информацию (элемент, идентификатор, определение) для RAN-функции. Помимо этого, например, информация, которая должна удаляться, может включать в себя конфигурацию компонентов Е2-узла.
[180] Согласно варианту осуществления, релевантная для Е2-интерфейса информация, которая должна удаляться, может включать в себя информацию, полученную через процедуру обновления Е2-конфигурации. Например, информация, которая должна удаляться, может включать в себя глобальный идентификатор Е2-узла. Помимо этого, например, информация, которая должна удаляться, может включать в себя информацию (элемент, идентификатор, определение) для RAN-функции. Помимо этого, например, информация, которая должна удаляться, может включать в себя конфигурацию компонентов Е2-узла. Помимо этого, например, информация, которая должна удаляться, может включать в себя релевантную для транспортного сетевого уровня (TNL) Е2-узла информацию (список подлежащих удалению TNL-ассоциирований Е2-узла).
[181] Способы на основе вариантов осуществления, раскрытых в формуле изобретения и/или в подробном описании данного раскрытия, могут реализовываться в аппаратных средствах, программном обеспечении либо в их комбинации.
[182] При реализации в программном обеспечении, может предоставляться машиночитаемый носитель записи для сохранения одной или более программ (т.е. программных модулей). Одна или более программ, сохраненных на машиночитаемом носителе записи, выполнены с возможностью выполнения, осуществляемого посредством одного или более процессоров в электронном устройстве. Одна или более программ включают в себя инструкции для предоставления возможности электронному устройству осуществлять способы на основе вариантов осуществления, раскрытых в формуле изобретения и/или в подробном описании данного раскрытия.
[183] Программа (т.е. программный модуль или программное обеспечение) может сохраняться в оперативном запоминающем устройстве, в энергонезависимом запоминающем устройстве, включающем в себя флэш-память, в постоянном запоминающем устройстве (ROM), в электрически стираемом программируемом постоянном запоминающем устройстве (EEPROM), в устройстве хранения данных на магнитных дисках, в ROM на компакт-дисках (CD-ROM) либо в других формах универсальных цифровых дисков (DVD) оптических устройств хранения данных и магнитных кассет. Альтернативно, программа может сохраняться в запоминающем устройстве, сконфигурированном в комбинации всех или некоторых из этих носителей хранения данных. Помимо этого, может быть предусмотрено несколько сконфигурированных запоминающих устройств.
[184] Дополнительно, программа может сохраняться в подключаемом устройстве хранения данных, допускающем осуществление доступа к электронному устройству через сеть связи, к примеру, через Интернет, сеть intranet, локальную вычислительную сеть (LAN), широкополосную LAN (WLAN) или сеть хранения данных (SAN) либо сеть связи, сконфигурированную посредством комбинирования сетей. Устройство хранения данных может иметь доступ к устройству для выполнения варианта осуществления данного раскрытия через внешний порт. Помимо этого, дополнительное устройство хранения данных в сети связи может иметь доступ к устройству для выполнения варианта осуществления данного раскрытия.
[185] В вышеуказанных конкретных вариантах осуществления данного раскрытия, компонент, включенный в данное раскрытие, выражается в форме единственного числа или множественного числа, согласно конкретному варианту осуществления предложенной в данном документе. Тем не менее, выражение в единственном или множественном числе выбирается надлежащим образом для ситуации, предложенной для удобства пояснения, и в силу этого различные варианты осуществления данного раскрытия не ограничены одним или множеством компонентов. Следовательно, компонент, выражаемый в форме множественного числа, также может выражаться в форме единственного числа или наоборот.
[186] Хотя данное раскрытие показано и описано со ссылкой на его различные варианты осуществления, специалисты в данной области техники должны понимать, что различные изменения по форме и содержанию могут вноситься без отступления от сущности и объема данного раскрытия, заданного посредством прилагаемой формулы изобретения и ее эквивалентов.
| название | год | авторы | номер документа |
|---|---|---|---|
| СИСТЕМЫ И СПОСОБЫ ПОЛУЧЕНИЯ ИНФОРМАЦИИ СЕТИ РАДИОДОСТУПА | 2022 |
|
RU2802373C1 |
| СПОСОБ И УСТРОЙСТВО ПЕРЕДАЧИ ДЛЯ MIMO-СИСТЕМЫ | 2021 |
|
RU2829118C1 |
| СЕТЬ, ВЫПОЛНЯЮЩАЯ МАСШТАБИРОВАНИЕ РАСПРЕДЕЛЕННОГО БЛОКА, И СПОСОБ ЕЕ РАБОТЫ | 2022 |
|
RU2836671C2 |
| ВЕРСИЯ RRC ДЛЯ РАБОТЫ С РАЗДЕЛЕННОЙ БАЗОВОЙ СТАНЦИЕЙ | 2019 |
|
RU2748302C1 |
| УПРАВЛЕНИЕ УВЕДОМЛЕНИЕМ ПО ИНТЕРФЕЙСАМ RAN | 2018 |
|
RU2743051C1 |
| СПОСОБЫ, УСТРОЙСТВО И СИСТЕМЫ, ОТНОСЯЩИЕСЯ К БЕЗДЕЙСТВИЮ UE | 2018 |
|
RU2737420C1 |
| УКАЗАНИЕ ПРОСТРАНСТВЕННОЙ СВЯЗИ НЕСКОЛЬКИХ НЕСУЩИХ ДЛЯ РЕСУРСОВ ПОЛУПЕРСИСТЕНТНОГО ЗОНДИРУЮЩЕГО ОПОРНОГО СИГНАЛА (SP-SRS) | 2019 |
|
RU2752256C1 |
| ОБЛАЧНО-ГРАНИЧНЫЕ ТОПОЛОГИИ | 2012 |
|
RU2628208C2 |
| УЗЕЛ УПРАВЛЕНИЯ, РАСПРЕДЕЛЕННЫЙ БЛОК, СИСТЕМА РАДИОСВЯЗИ И СПОСОБ РАДИОСВЯЗИ | 2020 |
|
RU2796969C1 |
| СПОСОБ И ОБОРУДОВАНИЕ ДЛЯ ОБНОВЛЕНИЯ СЕТИ ПРОИЗВОЛЬНОГО ДОСТУПА В СИСТЕМЕ СВЯЗИ | 2021 |
|
RU2831989C1 |
Изобретение относится к 5G- или 6G-системе связи для поддержки более высокой скорости передачи данных. Технический результат изобретения заключается в улучшении производительности. Способ, осуществляемый посредством интеллектуального контроллера сети радиодоступа (RAN) (RIC) практически реального времени (RT), для удаления соединения между RIC практически RT и E2-узлом, может включать в себя прием из Е2-узла Е2-сообщения с запросом на удаление для указания разъединения Е2-узла через Е2-интерфейс. Передают, в E2-узел, E2-сообщение с ответом по удалению через E2-интерфейс, при этом E2-узел содержит распределенный блок (DU) открытой сети радиодоступа (O-RAN) (O-DU), центральный блок (CU) в плоскости управления (CP) O-RAN (O-CU-CP), центральный блок (CU) в пользовательской плоскости (UP) O-RAN (O-CU-UP) или базовую станцию, которая обменивается данными с RIC практически RT через E2-интерфейс. При этом E2-интерфейс, предусмотренный для связи между RIC практически RT и E2-узлом, поддерживает E2-протокол уровня приложений (AP) (E2AP) для связи по E2-интерфейсу. 4 н. и 11 з.п. ф-лы, 17 ил., 2 табл.
1. Способ, осуществляемый посредством интеллектуального контроллера сети радиодоступа (RAN) (RIC) практически реального времени (RT) в системе беспроводной связи, для удаления соединения между RIC практически RT и E2-узлом, при этом способ содержит этапы, на которых:
- принимают, из упомянутого E2-узла, E2-сообщение с запросом на удаление для удаления упомянутого соединения между RIC практически RT и E2-узлом через E2-интерфейс; и
- передают, в E2-узел, E2-сообщение с ответом по удалению через E2-интерфейс,
- при этом E2-узел содержит распределенный блок (DU) открытой сети радиодоступа (O-RAN) (O-DU), центральный блок (CU) в плоскости управления (CP) O-RAN (O-CU-CP), центральный блок (CU) в пользовательской плоскости (UP) O-RAN (O-CU-UP) или базовую станцию, которая обменивается данными с RIC практически RT через E2-интерфейс, и
- при этом E2-интерфейс, предусмотренный для связи между RIC практически RT и E2-узлом, поддерживает E2-протокол уровня приложений (AP) (E2AP) для связи по E2-интерфейсу.
2. Способ по п. 1, дополнительно содержащий этап, на котором:
- удаляют по меньшей мере один ресурс, ассоциированный с соединением между RIC практически RT и E2-узлом.
3. Способ по п. 1, дополнительно содержащий этапы, на которых:
- удаляют информацию, ассоциированную с соединением между RIC практически RT и E2-узлом.
4. Способ по п. 1, в котором по меньшей мере один ресурс, ассоциированный с соединением между RIC практически RT и E2-узлом, удаляется в E2-узле после передачи E2-сообщения с ответом по удалению, и
- при этом передача данных E2-узла к RIC практически RT прекращается после передачи E2-сообщения с ответом по удалению.
5. Интеллектуальный контроллер сети радиодоступа (RAN) (RIC) практически реального времени (RT) в системе беспроводной связи для удаления соединения между RIC практически RT и E2-узлом, причем RIC практически RT содержит:
- приемо-передающее устройство;
- процессор; и
- запоминающее устройство, хранящее инструкции, которые, при выполнении посредством процессора, инструктируют RIC практически RT:
- принимать, из упомянутого E2-узла, E2-сообщение с запросом на удаление для удаления упомянутого соединения между RIC практически RT и E2-узлом через E2-интерфейс; и
- передавать, в E2-узел, E2-сообщение с ответом по удалению через E2-интерфейс,
- при этом E2-узел содержит распределенный блок (DU) открытой сети радиодоступа (O-RAN) (O-DU), центральный блок (CU) в плоскости управления (CP) O-RAN (O-CU-CP), центральный блок (CU) в пользовательской плоскости (UP) O-RAN (O-CU-UP) или базовую станцию, которая обменивается данными с RIC практически RT через E2-интерфейс, и
- при этом E2-интерфейс, предусмотренный для связи между RIC практически RT и E2-узлом, поддерживает E2-протокол уровня приложений (AP) (E2AP) для связи по E2-интерфейсу.
6. RIC практически RT по п. 5, в котором запоминающее устройство дополнительно содержит инструкции, которые, при выполнении посредством процессора, инструктируют RIC практически RT:
- удалять по меньшей мере один ресурс, ассоциированный с соединением между RIC практически RT и E2-узлом.
7. RIC практически RT по п. 5, в котором запоминающее устройство дополнительно содержит инструкции, которые, при выполнении посредством процессора, инструктируют RIC практически RT:
- удалять информацию, ассоциированную с соединением между RIC практически RT и E2-узлом.
8. RIC практически RT по п. 5, в котором по меньшей мере один ресурс, ассоциированный с соединением между RIC практически RT и E2-узлом, удаляется в E2-узле после передачи E2-сообщения с ответом по удалению, и
- при этом передача данных E2-узла к RIC практически RT прекращается после передачи E2-сообщения с ответом по удалению.
9. Способ, осуществляемый посредством E2-узла в системе беспроводной связи, для удаления соединения между интеллектуальным контроллером сети радиодоступа (RAN) (RIC) практически реального времени (RT) и E2-узлом, при этом способ содержит этапы, на которых:
- передают, в RIC практически RT, E2-сообщение с запросом на удаление для удаления упомянутого соединения между RIC практически RT и E2-узлом через E2-интерфейс; и
- принимают, из RIC практически RT, E2-сообщение с ответом по удалению через E2-интерфейс,
- при этом E2-узел содержит распределенный блок (DU) открытой сети радиодоступа (O-RAN) (O-DU), центральный блок (CU) в плоскости управления (CP) O-RAN (O-CU-CP), центральный блок (CU) в пользовательской плоскости (UP) O-RAN (O-CU-UP) или базовую станцию, которая обменивается данными с RIC практически RT через E2-интерфейс, и
- при этом E2-интерфейс, предусмотренный для связи между RIC практически RT и E2-узлом, поддерживает E2-протокол уровня приложений (AP) (E2AP) для связи по E2-интерфейсу.
10. Способ по п. 9, дополнительно содержащий этап, на котором:
- удаляют по меньшей мере один ресурс, ассоциированный с соединением между RIC практически RT и E2-узлом.
11. Способ по п. 9, дополнительно содержащий этап, на котором:
- прекращают передачу данных к RIC практически RT.
12. Способ по п. 9, в котором по меньшей мере один ресурс, ассоциированный с соединением между RIC практически RT и E2-узлом, удаляется в RIC практически RT после передачи E2-сообщения с запросом на удаление, и
- при этом информация, ассоциированная с соединением между RIC практически RT и E2-узлом, удаляется в RIC практически RT после передачи E2-сообщения с запросом на удаление.
13. E2-узел в системе беспроводной связи для удаления соединения между интеллектуальным контроллером сети радиодоступа (RAN) (RIC) практически реального времени (RT) и E2-узлом, причем E2-узел содержит:
- приемо-передающее устройство;
- процессор; и
- запоминающее устройство, хранящее инструкции, которые, при выполнении посредством процессора, инструктируют E2-узлу:
- передавать, в RIC практически RT, E2-сообщение с запросом на удаление для удаления упомянутого соединения между RIC практически RT и E2-узлом через E2-интерфейс; и
- принимать, из RIC практически RT, E2-сообщение с ответом по удалению через E2-интерфейс,
- при этом E2-узел содержит распределенный блок (DU) открытой сети радиодоступа (O-RAN) (O-DU), центральный блок (CU) в плоскости управления (CP) O-RAN (O-CU-CP), центральный блок (CU) в пользовательской плоскости (UP) O-RAN (O-CU-UP) или базовую станцию, которая обменивается данными с RIC практически RT через E2-интерфейс, и
- при этом E2-интерфейс, предусмотренный для связи между RIC практически RT и E2-узлом, поддерживает E2-протокол уровня приложений (AP) (E2AP) для связи по E2-интерфейсу.
14. E2-узел по п. 13, в котором запоминающее устройство дополнительно содержит инструкции, которые, при выполнении посредством процессора, инструктируют E2-узлу:
- удалять по меньшей мере один ресурс, ассоциированный с соединением между RIC практически RT и E2-узлом.
15. E2-узел по п. 13, в котором запоминающее устройство дополнительно содержит инструкции, которые, при выполнении посредством процессора, инструктируют E2-узлу:
- прекращать передачу данных к RIC практически RT.
| Способ регенерирования сульфо-кислот, употребленных при гидролизе жиров | 1924 |
|
SU2021A1 |
| Способ регенерирования сульфо-кислот, употребленных при гидролизе жиров | 1924 |
|
SU2021A1 |
| Способ регенерирования сульфо-кислот, употребленных при гидролизе жиров | 1924 |
|
SU2021A1 |
| Способ регенерирования сульфо-кислот, употребленных при гидролизе жиров | 1924 |
|
SU2021A1 |
| СИСТЕМА И СПОСОБ КОНФИГУРИРОВАНИЯ ПАРАМЕТРОВ СЕТИ С РАДИОДОСТУПОМ ДЛЯ ОБОРУДОВАНИЯ ПОЛЬЗОВАТЕЛЯ, СОЕДИНЕННОГО С БЕСПРОВОДНОЙ СЕТЕВОЙ СИСТЕМОЙ | 2012 |
|
RU2599048C2 |
Авторы
Даты
2025-02-12—Публикация
2022-08-03—Подача