Настоящее изобретение представляет собой инновационную систему для нагрева жидкости, в частности для производства бытовой горячей воды и/или для отопления, для бытового и/или промышленного использования.
В частности, объектом настоящего изобретения является инновационная система для нагрева жидкости, основанная на так называемом «кавитационном принципе» с высоким КПД и энергоэффективностью.
Таким образом, изобретение относится к области устройств и систем для нагрева текучих сред, и в частности жидкостей.
В частности, настоящее изобретение применимо в области устройств, использующих вращающиеся элементы для генерации тепла в жидкости, проходящей через них, таких как, так называемые «гидроакустические насосы», также известные как «гидротермальные турбинные системы», схематически показанные в примере на фиг. 1.
Хорошо известно, что «гидроакустические насосы» 2 для нагрева жидкости были сконструированы и распространены в промышленности в конце 1980-х и начале 1990-х годов.
Для этой цели вышеупомянутые насосы 2, через которые может проходить жидкость, подлежащая нагреву, и, как правило, вода, включают в себя перфорированный цилиндрический «ротор» 23, то есть имеющий множество полостей 231, собранный с поворотным валом 24, и «статор» 22 внутри упомянутого ротора 23, причем статор может вращаться с высокой скоростью, приводимый в движение электродвигателем 21 (например, трехфазным и приводимым в действие любой из электрической, солнечной, ветровой, пневматической энергии и т. д.), он соединен и работает совместно с упомянутым валом 24.
Статор 22 также представляет собой цилиндрический корпус, который содержит гофрированную внутреннюю поверхность и пару металлических дисков/крышек 25 и 26 для герметичного закрытия его концов (далее - «концевые пластины» или «закрывающие фланцы» 25, 26).
Ротор 23 и статор 22, которые составляют так называемую «турбину» 20 гидроакустического насоса 2, установлены коаксиально. Они имеют особый размер и диаметр, поэтому зазор или промежуток между ними может быть заполнен могущей
проходить через него жидкостью, подлежащей нагреву (точнее, зазор между внутренней гофрированной поверхностью статора и внешней поверхностью ротора).
Особая трубопроводная система соединяет вышеупомянутый гидроакустический насос 2 с первичным контуром 3 и, в частности, по меньшей мере с одним из его хранилищ 30 жидкости для производства бытовой горячей воды и/или со вторым контуром 4, который включает в себя, например, теплообменное устройство для нагрева помещения (см. фиг. 2).
Это также полезно, поскольку упомянутое хранилище 30 жидкости может быть реализовано на уровне теплообменного устройства, например, пластинчатого устройства или змеевикового устройства.
Поскольку характеристики и процесс работы указанных гидроакустических насосов 2 хорошо известны специалистам сектора, подробное описание не приведено, более подробную информацию можно найти в документе US 5 188 090 A.
В документе уровня техники KR 20110032112 A раскрыта система нагрева воды для бытовых целей на основе кавитационной турбины.
Однако здесь целесообразно отметить, что эти машины нагревают жидкость главным образом за счет кавитационного эффекта. Хорошо известно, что этот эффект основан на создании в жидкости областей или пузырьков, которые из-за изменения давления взрываются; во время этого процесса они выделяют энергию, а именно тепло, причем эта энергия поглощается самой жидкостью.
Другими словами, нагрев упомянутых гидроакустических насосов достигается благодаря очень высокой турбулентности жидкости, вызванной конкретной геометрической и структурной конфигурацией ротора 23, и его взаимодействием со статором 22.
Экспериментально установлено, что благодаря этой турбулентности такие гидроакустические насосы 2 могут иметь гораздо более высокий КПД, чем традиционные тепловые генераторы, обычно используемые для производства бытовой горячей воды и/или для отопления помещений (например, обычные бытовые котлы).
Тем не менее, полученная до сих пор производительность оказалась не полностью удовлетворительной, что также вызвано значительной сложностью архитектуры гидроакустического насоса 2 и связанными с этим проблемами; этот недостаток негативно повлиял на его промышленное внедрение и коммерциализацию.
Например, было замечено, что такой гидроакустический насос 2 для производства бытовой горячей воды и/или для обогрева помещений способен достичь своего максимального КПД только тогда, когда температура жидкости, входящей внутрь упомянутого насоса 2, не находится «слишком далеко» (по отношению к количеству/расходу циркулирующей жидкости) от температуры той же жидкости, выходящей из упомянутого насоса 2; действительно, в таких условиях обеспечивается максимизация кавитационного эффекта.
Для этой цели, как подробно описано в предыдущей итальянской патентной заявке № 10201800006358, на которую делается ссылка, для получения более подробной информации, рассматривается и реализуется конкретный режим приведения в действие гидроакустического насоса 2 и управления им, при этом основной целью является оптимизация и максимизация КПД и производительности. Этот режим, во время начального процесса приведения в действие гидроакустического насоса 2 (т.е. до достижения полной мощности), имеет ряд фаз нагрева жидкости, каждая фаза связана с другой; в частности, первую фазу, во время которой гидроакустический насос 2 приводится в действие для выполнения первого быстрого нагрева жидкости, загруженной в него, более того, во время этой фазы циркуляция в направлении первичного контура 3 блокируется, а также последующую фазу, где она проходит между гидроакустическим насосом 2 и хранилищем 30 первичного контура 3, как только она достигнет желаемой температуры (см. фиг. 2).
Эти фазы повторяются до тех пор, пока перепад между входной и выходной температурой входной/выходной жидкости вышеупомянутого гидроакустического насоса 2 не совпадет или не отклонится от оптимального значения, обеспечивающего наилучшую и максимальную энергетическую производительность. (В качестве альтернативы этой процедуре приведения в действие и управления гидроакустическим насосом с неоднократными прерываниями потока жидкости можно было бы нагреть жидкость, циркулирующую в гидроакустическом насосе 2 и баке 30 хранения первичного контура 3, но только полностью, и гораздо медленнее, без пользы и с меньшим КПД).
Из вышесказанного становится очевидной сложность управления гидроакустическим насосом 2 предшествующего уровня техники, особенно на начальном и временном этапах процедуры, а также трудности, связанные с соединением и взаимодействием с первичным и вторичным контурами.
Достижение оптимальных условий эксплуатации и их удержание занимает длительное время, что также вызывает значительную задержку в достижении полной готовности и работоспособности системы жидкостного отопления для санитарного использования и/или для внутреннего отопления.
Результатом может также быть увеличение эксплуатационных расходов самой системы.
Техническая проблема, на решение которой направлено настоящее изобретение, состоит в том, чтобы устранить недостатки известной технологии, изложенной выше, с помощью инновационной системы для нагрева жидкости, и предпочтительно для производства бытовой горячей воды и/или для отопления помещений, способной достигать максимального КПД и энергоэффективности быстро и простым и надежным способом.
Эти и другие технические проблемы решены в соответствии с изобретением, признаки которого приведены в приложенном независимом пункте 1.
Дополнительные признаки настоящего изобретения лучше понятны из следующего описания предпочтительного варианта осуществления и в соответствии с формулой изобретения; он будет проиллюстрирован только в пояснительных целях на приложенных чертежах, на которых:
- на фиг. 1 схематически в разрезе показан гидроакустический насос в соответствии с уровнем техники;
- на фиг. 2 схематически показана система нагрева жидкости в соответствии с уровнем техники;
- на фиг. 3 схематически показана система 1 нагрева жидкости в соответствии с возможным вариантом осуществления изобретения;
- на фиг. 4 показан внутренний контур 501;
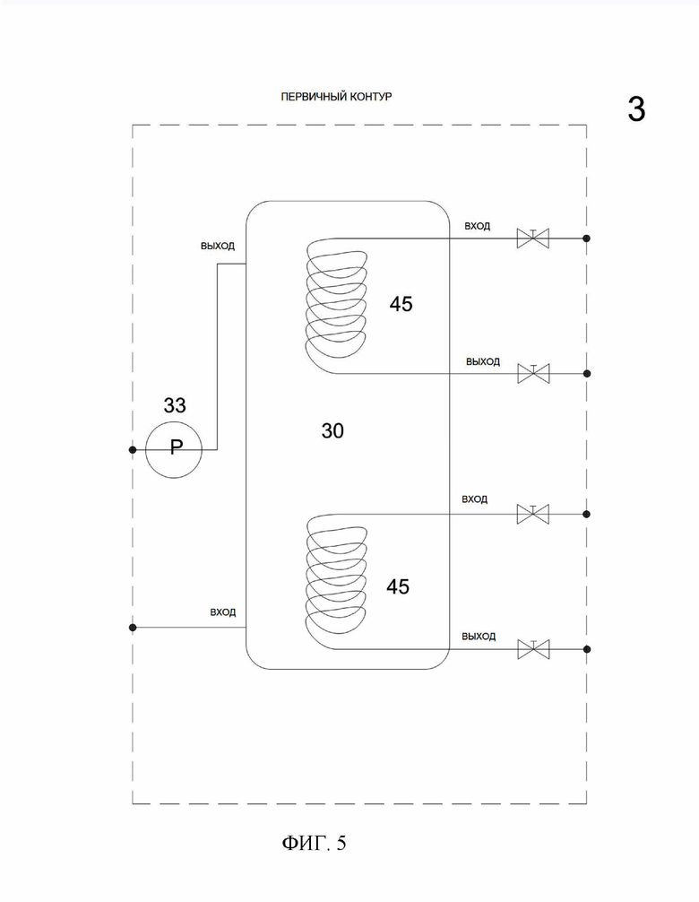
- на фиг. 5 показан первичный контур 3.
Для описания элементов устройства согласно изобретению сделана ссылка на приложенные фигуры. Следует отметить, что любое слово, относящееся к размерам и пространственному расположению (такое как «нижний», «верхний», «правый», «левый» и т.п.) относится, если не указано иное, к правильному расположению изобретения, как указано на чертежах, и оно не обязательно соответствует расположению изобретения в рабочих условиях.
Для того, чтобы выделить определенные признаки больше остальных, показанные на прилагаемых чертежах элементы, не обязательно изображены в масштабе.
Кроме того, не все элементы, проиллюстрированные на чертежах, могут считаться существенными для изобретения; те, которые являются существенными, указаны явным образом.
Кроме того, компоненты системы, соответствующие тем, которые описаны ранее в отношении уровня техники, обозначены теми же номерами позиций.
Как явно показано на фиг. 3, 1 представляет систему для нагрева жидкости, и предпочтительно для производства бытовой горячей воды и/или для обогрева помещения.
Согласно изобретению, из такой системы на фиг. 1, в частности показаны:
гидроакустический насос 2, аналогичный описанному выше уровню техники (для получения дополнительной информации, следует обращаться также к уже упомянутой предыдущей заявке № 10201800006358), выполненный с возможностью использовать явление кавитации и осуществлять нагрев жидкости, упомянутый гидроакустический насос 2 имеет (см. также фиг. 1) по меньшей мере одну «кавитационную» турбину 20 и электродвигатель 21, выполненный с возможностью приводить в действие и запускать вышеупомянутую турбину 20;
«устройство оптимизации» 5, которое соединено с гидроакустическим насосом 2 и расположено ниже по потоку от него, технические функциональные характеристики и относительные преимущества будут ниже описаны подробно; устройство 5 оптимизации, вероятно, будет взаимодействовать по меньшей мере с первичным контуром 3 для перемещения тепловой энергии, вырабатываемой гидроакустическим насосом 2;
упомянутый «первичный» контур 3, который имеет по меньшей мере один бак 30 для хранения жидкости, нагретой упомянутым гидроакустическим насосом 2 и циркулирующей через упомянутое устройство 5 оптимизации;
упомянутый «первичный» контур 3, который имеет теплообменное устройство 45, в качестве альтернативы или нет, баку 30 для хранения, он обменивается теплом с горячей жидкостью, поступающей от упомянутого гидроакустического насоса 2 и циркулирующей через упомянутое устройство 5 оптимизации.
Система 1 по настоящему изобретению может дополнительно содержать вторичный контур 4 (см. фиг. 3) для рассеивания тепла, генерируемого в указанном гидроакустическом насосе 2 и передаваемого в текущую через него жидкость, и в указанный вторичный контур 4, с которым он работает и/или соединен с первичным контуром 3.
Далее и гидроакустический насос 2, и устройство 5 оптимизации могут также называться «высокоэффективным кавитационным котлом».
Вышеупомянутый кавитационный котел может дополнительно содержать расширительный резервуар (не показан на приложенных чертежах), который, как хорошо известно, имеет функцию сдерживания увеличения объема при нагреве жидкости и результирующих изменений давления, он также позволяет избежать скачков давления и гидравлического удара, которые, в противном случае, будут поглощены системой и потенциально вызовут повреждение.
Взаимное соединение между указанным насосом 2 и указанным устройством 5 оптимизации, содержащимся в высокоэффективном кавитационном котле, обеспечивается соответствующими нагнетательной 51 и возвратной трубами 50, как показано на фиг. 3, обе эти нагнетательная 51 и возвратная трубы 50 называются «внутренним контуром» 501, для более подробной информации см. приложенную фиг. 4.
Также полезно уточнить, что по причинам, которые будут дополнительно разъяснены далее, между указанным устройством 5 оптимизации и указанным баком 30 для хранения первичного контура 3 имеются также нагнетательная и возвратная трубы 31, 32; в частности нагнетательная труба 31 из устройства 5 оптимизации в бак 30 для хранения и возвратная труба 32, которая, наоборот, переносит жидкость из бака 30 для хранения обратно в устройство 5 оптимизации; иным образом, нагнетательная труба 31 из устройства 5 оптимизации в теплообменник 45 и возвратная труба 32, которая, наоборот, переносит жидкость из теплообменника 45 обратно в устройство 5 оптимизации.
Циркуляция жидкости между устройством 5 оптимизации и первичным контуром 3 может быть обеспечена по меньшей мере одним первым насосом 33, а ее расход регулируется по меньшей мере одним подходящим электромагнитным клапаном 34.
В частности, вышеупомянутый электромагнитный клапан 34 выполнен с возможностью прерывать и/или восстанавливать, в соответствии с определенной температурой, циркуляцию жидкости от устройства 5 оптимизации к вышеупомянутому первичному контуру 3, и он выполнен с возможностью устанавливать свою температуру циркуляции.
С этой целью электромагнитный клапан 34 соединен с датчиками и/или температурными зондами 35, которые расположены в соответствии с гидроакустическим насосом 2 во внутреннем контуре 501 и вдоль выпускной трубы 51 из устройства 5 оптимизации.
Как явно показано на фиг. 4, по меньшей мере один электромагнитный клапан 34 расположен вдоль нагнетательной трубы 31 первичного контура 3.
Опционально, внутри кавитационного котла также может быть предусмотрен второй циркуляционный насос, он может облегчать поток жидкости, подлежащий нагреву, между его кавитационной турбиной 20 и устройством 5 оптимизации.
Как обсуждается ниже, циркуляция внутри кавитационного котла может происходить непосредственно через естественный поток без помощи механических толкающих устройств.
В обоих случаях регулирование потока и, в частности, расхода, обеспечено разъединителем 8 потока, см. фиг. 3 и фиг. 4 (также называемым разъединительным клапаном, аналогичным клапану из предшествующего уровня техники, показанному номером позиции 36 на фиг. 2).
Вторичный контур 4 имеет функцию рассеивания тепла, вырабатываемого высокоэффективным кавитационным котлом, он состоит из:
по меньшей мере одного теплообменника 40 для рассеивания; теплообменник 40 имеет по меньшей мере один радиатор для нагревания пространства 40; и/или
одного или более теплообменников, например, змеевикового теплообменника, вставленного в хранилище 30 первичного контура 3; и/или
любого устройства для непосредственной подачи жидкости.
По меньшей мере один циркуляционный насос обеспечивает поток указанной выше жидкости во вторичном контуре 4.
Как уже частично было пояснено, кавитационный котел по изобретению достигает своей максимальной энергетической производительности и КПД, когда температура жидкости, которая поступает в турбину 20 гидроакустического насоса 2, подлежащей нагреву, имеет температуру находящуюся «недалеко» (по отношению к количеству циркулирующего потока) от температуры этой же жидкости при ее нагревании и выходе из гидроакустического насоса 2. В таких условиях гидроакустический насос 2 не подвергается тепловому «удару» и, таким образом, избегает любого возможного снижения производительности или неблагоприятных условий для нагрева жидкости.
Другими словами, было замечено, что кавитационный котел по изобретению достигает максимального эксплуатационного КПД, когда разница (или перепад) между входной и выходной температурами жидкости в/из турбины 20 гидроакустического насоса 2 поддерживается постоянной и равной значению, определяемому далее как ΔTideal.
Для этой цели, то есть для управления потоком циркулирующей жидкости и сохранения вышеупомянутой ΔTideal, в качестве альтернативы хранилищу 30 первичного контура 3 уровня техники предусмотрено использование специфического и c специально предназначенного для этих целей инерционного накопления жидкости, обработанной в гидроакустическом насосе 2, имеющей уменьшенный объем и способной избежать утечки тепла, уже хранящегося в ней, и выдерживать довольно высокие давления (фактически, в рабочих условиях жидкость может находиться при высоких температурах, таким образом, в парообразном состоянии, если она не циркулирует при подходящем давлении).
Cогласно изобретению вышеупомянутое инерционное хранилище является «малым» хранилищем, оно соответствует устройству 5 оптимизации, упомянутому выше.
Действительно, устройство 5 оптимизации выполнено так, что оно позволяет кавитационному котлу (и, в частности, его кавитационной турбине 20) обмениваться теплом с первичным контуром 3 и/или со вторичным контуром 4 без существенных изменений вышеупомянутого перепада ΔTideal (который поддерживается постоянным).
Как подчеркивалось ранее, ΔTideal является перепадом, который обеспечивает максимальный КПД гидроакустического насоса 2, он может быть предпочтительно выбран в качестве фиксированного и оптимального порога, он может быть установлен с применением датчиков или термостатов.
Эксперименты показали, что вышеупомянутый ΔTideal зависит, по меньшей мере, от температуры нагнетания гидроакустического насоса 2 (или, эквивалентно этому, температуры на выходе его турбины 20), то есть он может увеличиваться по мере увеличения указанной температуры.
С другой стороны, при указании с помощью ΔToptimizer перепада температур между входной и выходной жидкостью устройства 5 оптимизации, желательно, чтобы этот перепад никогда не опускался ниже вышеупомянутого порогового значения ΔTideal, поэтому производительность кавитационного котла может быть максимизирована.
Для этого упомянутый электромагнитный клапан 34 (или технически эквивалентное средство) «управляет» потоком жидкости между устройством 5 оптимизации и первичным контуром 3 следующим образом:
прерывая его, когда ΔToptimizer падает ниже указанного ΔTideal, и, следовательно,
обеспечивая возможность дальнейшего быстрого нагрева жидкости, циркулирующей между водяным насосом 2 и устройством 5 оптимизации, до тех пор, пока не будет восстановлена, по меньшей мере, оптимальный ΔToptimizer.
Другими словами, вышеупомянутое устройство 5 оптимизации работает для того, чтобы сохранить ΔToptimizer на рабочих условиях равной ΔTideal.
Такой режим работы системы 1 по изобретению будет описан далее более конкретным и подробным образом.
Здесь будет достаточно повторить, что вышеупомянутое устройство 5 оптимизации по существу ведет себя как своего рода «тепловой аккумулятор», таким образом он позволяет жидкости, нагретой гидроакустическим насосом 2, передавать часть своего тепла в первичный контур 3 и/или вторичный контур 4 без каких-либо существенных изменений или вариаций ΔToptimizer.
Другими словами, вышеупомянутое устройство оптимизации 5 представляет собой устройство, способное работать между первой и второй рабочей температурами, причем:
первая температура - это температура, при которой электромагнитный клапан 34 прерывает циркуляцию жидкости в направлении первичного контура 3 и/или вторичного контура 4, чтобы позволить потоку циркулировать исключительно между устройством 5 оптимизации и гидроакустическим насосом 2, чтобы восстановить максимальную эффективность кавитационного котла, и
второй температурой является температура, обеспечивающая возможность повторного открытия и подключения устройства 5 оптимизации к указанному первичному контуру 3 и/или вторичному контуру 4 после того, как указанные максимальные КПД гарантированы.
Как правило, первая рабочая температура ниже, чем вторая рабочая температура, действительно, разрыв между ними определяет вышеупомянутый ΔToptimizer.
Согласно изобретению вышеупомянутое устройство 5 оптимизации имеет бак 52 хранения с пониженным объемом, но он устойчив к высоким давлениям, чтобы обеспечить быстрый или внезапный нагрев.
Точнее, вышеупомянутое устройство 5 оптимизации имеет промежуточную емкость по сравнению с традиционными хранилищами для жидкостей (как правило, баки имеют разные объемы, и они начинаются с 20-30 литров, кроме того, они не работают при высоком рабочем давлении) и гидравлическим компенсатором (он хорошо известен специалистам в данной области техники и с максимальным объемом от 2 до 3 литров, но он выдерживает высокое рабочее давление).
Устройство 5 оптимизации теплоизолировано для того, чтобы уменьшить неизбежные тепловые потери обрабатываемой и содержащейся в нем жидкости; другими словами, изоляция способна уменьшить тепловые потери, когда гидроакустический насос 2 останавливается, он сохраняет высокие температуры внутри бака 52 даже на протяжении многих часов.
В этом отношении, просто в качестве примера, не имеющего ограничительного характера, бак 52 вышеупомянутого устройства 5 оптимизации имеет объем от 7 до 15 литров и способен выдерживать давление даже более 20 бар.
Как явным образом показано на схеме с фиг. 4, бак 52, в идеале, имеет два входа в вышеупомянутых трубах 50, 32 для нагнетающего и возвратного потока, и, в частности, от гидроакустического насоса 2 и от первичного контура 3, и два выхода в трубах 31, 51 для нагнетающего и возвратного потока, и, в частности, от первичного контура 3 и от того же гидроакустического насоса 2.
Кроме того, номером позиции 53 на фиг. 3 обозначен типичный и автоматический выпускной воздушный клапан (также известный как клапан «джокер») из вспомогательного устройства 52 устройства 5 оптимизации.
Гидроакустический насос 2, его двигатель 21 и устройство 5 оптимизации могут быть установлены и размещены рядом или уложены вертикально на нескольких уровнях на раме (также известной как рама или корпус кавитационного котла).
Вышеупомянутая рама может также подходить для панели управления и экрана для настройки, а также управления и отображения других рабочих и функциональных параметров системы 1 по изобретению и соответствующего котла.
После завершения описания системы 1 нагрева жидкости во всех ее технических и конструктивных аспектах приведено описание процедуры оптимизации относительно высокоэффективного кавитационного котла, причем эта эффективность может быть достигнута благодаря наличию по меньшей мере вышеупомянутого устройства 5 оптимизации.
Экспериментально установлено, без намерения ограничить изобретение, что оптимизация производительности кавитационного котла может быть достигнута при выполнении следующих рабочих и/или временных условий:
- кавитационная турбина 20 гидроакустического насоса 2 обрабатывает поток жидкости/циркулирующий расход от 200 до 300 литров/ч, он может быть установлен и поддерживаться постоянным вышеупомянутым отсекающим клапаном, и она допускает «проход» и непрерывный поток через устройство 5 оптимизации, до тех пор, пока не будет достигнута возвратная температура внутри турбины предпочтительно между 100 °C / 110 °C;
- как только возвратная температура достигнута, электромагнитный клапан 34, который соединен по меньшей мере с одним термостатом-зондом 35, начинает циркуляцию жидкости между устройством 5 оптимизации и первичным контуром 3, и, в частности, к соответствующему баку 30 для хранения, где нагретая жидкость начинает постепенно заменять более холодную жидкость, которая уже находится внутри него, и, фактически, она возвращается через вышеупомянутые возвратные трубы 31 к устройству 5 оптимизации.
Эта циркуляция между хранилищем 30 первичного контура 3 и устройством 5 оптимизации неизбежно приводит к снижению температуры внутри самого устройства 5 оптимизации, вплоть до значений, намного меньших вышеупомянутой возвратной температуры турбины 100°C.
Согласно экспериментальным наблюдениям, эта циркуляция приводит к падению возвратной температуры до 90 - 97°C, следовательно в этих условиях датчик термостата закрывает электромагнитный клапан 34, тот, который был ранее открыт.
Как только в идеале вышеупомянутая возвратная температура 100°C снова достигается, и благодаря непрерывному потоку нагретой жидкости между устройством 5 оптимизации и гидроакустическим насосом 2, электромагнитный клапан 34 снова начинает циркуляцию в направлении первичного контура 3, поэтому процесс теплообмена повторяется.
Вторичный контур 4 для рассеивания тепла (как уже обсуждалось, вышеупомянутые радиаторы и/или теплообменники внутри хранилища 30 и т. д.) может обмениваться теплом с баком 30 хранения, как только будет достигнута правильная температура для «обслуживаемого» таким образом помещения, вторичный контур будет управлять отключением или режимом ожидания высокоэффективного кавитационного котла через специальный и особый термостат до тех пор, пока перепады ΔToptimizer и ΔTideal не станут по существу одинаковыми.
В том случае, если вторичный контур нуждается в большем количестве тепла, система 1 по изобретению способна подавать его немедленно, благодаря тому, что ΔToptimizer остается постоянным и равным ΔTideal.
Таким образом, циркуляция между устройством 5 оптимизации и гидроакустическим насосом 2 никогда не прекращается, и гидроакустический насос не подвергается тепловому удару; следовательно, нагрев жидкости, который может использоваться для гигиенических целей и/или для отопления помещения, происходит с перепадом ΔTideal и температурой на входе и выходе из/в вышеупомянутого(ый) гидроакустического(ий) насос(а) 2, которая является по существу постоянной, так, что в идеале температура:
- равна приблизительно 30°C; как уже было рассмотрено, при температуре на выходе/нагнетания около 130°C и возвратной температуре в турбину 20 приблизительно 100°C;
- равна приблизительно 35°C, при температуре на выходе/нагнетания приблизительно 145°C и возвратной температуре в турбину 20 приблизительно 110°C.
В ходе практического осуществления изобретения принимаются во внимание различные модификации и дальнейшие изменения, поскольку все они подпадают под одну и ту же изобретательскую концепцию; действительно, все описанные выше компоненты и детали также могут быть заменены технически эквивалентными элементами.
В заключение следует отметить, что система нагрева жидкости, особенно для производства бытовой горячей воды и/или для отопления, и соответствующий способ оптимизации ее энергетических характеристик и КПД решили поставленные технические проблемы; в частности, можно обеспечить высокий КПД и производительность за счет использования механических компонентов, которые имеют следующие характеристики: они просты в изготовлении, экономичны и высоконадежны; все достигается быстрым, простым и надежным способом.
Кроме того, система 1 по изобретению пригодна для многих других целей; фактически, для ее применения для производства бытовой горячей воды для гражданского или промышленного использования и для отопления помещений, она может быть использована, в качестве примеров, не носящих ограничительного характера, для кондиционирования, для подачи горячей воды в бытовые приборы (например, стиральные машины и посудомоечные машины), для снабжения промышленных машин (например, машины горячей печати и другие), а также тепловых насосов и т.д.
| название | год | авторы | номер документа |
|---|---|---|---|
| АТОМНЫЙ АВИАНЕСУЩИЙ ЭКРАНОПЛАН (ААЭП) И ЕГО КОМБИНИРОВАННЫЕ БИНАРНЫЕ ЦИКЛЫ ПРОПУЛЬСИВНОГО НАЗНАЧЕНИЯ С ЯДЕРНЫМИ РЕАКТОРАМИ | 2021 |
|
RU2817686C1 |
| Система отопления и горячего водоснабжения для двухконтурного котла | 2023 |
|
RU2815568C1 |
| СПОСОБ ИСПОЛЬЗОВАНИЯ ТЕПЛА ХОЛОДНОГО ВОЗДУХА ОТ ОСЕВОЙ ВОЗДУХОДУВКИ ДОМЕННОЙ ПЕЧИ И СИСТЕМА ВОЗДУХОНАГРЕВАТЕЛЕЙ | 2019 |
|
RU2793306C1 |
| СПОСОБ ПРЕОБРАЗОВАНИЯ ЭНЕРГИИ И ЭНЕРГОУЗЕЛ ДЛЯ ЕГО РЕАЛИЗАЦИИ | 1994 |
|
RU2107233C1 |
| Способ получения сухого пара и мобильный кавитационно-гидродинамический генератор для его осуществления | 2024 |
|
RU2829393C1 |
| УСТАНОВКА ДЛЯ ПРОИЗВОДСТВА ГОРЯЧЕЙ ХОЗЯЙСТВЕННО-ПИТЬЕВОЙ ВОДЫ | 2009 |
|
RU2454609C2 |
| ПАРОСИЛОВОЙ ДВИГАТЕЛЬ (ВАРИАНТЫ) | 1994 |
|
RU2129661C1 |
| Концентрационная солнечная электростанция башенного типа с контуром пневмоаккумуляции | 2024 |
|
RU2834314C1 |
| ВСПОМОГАТЕЛЬНАЯ ЭНЕРГЕТИЧЕСКАЯ УСТАНОВКА ДЛЯ ДИЗЕЛЬ-ГЕНЕРАТОРОВ | 2020 |
|
RU2730777C1 |
| ТЕПЛОПАРОГЕНЕРАТОР ПРИВОДНОЙ КАВИТАЦИОННЫЙ | 2006 |
|
RU2362947C2 |
Изобретение относится к области устройств и систем для нагрева текучих сред, в частности жидкостей. Система (1) нагрева жидкости содержит гидроакустический насос (2) для нагрева указанной жидкости, первичный контур (3), в свою очередь, содержит по меньшей мере хранилище (30) вышеупомянутой жидкости или теплообменник (45), множество труб (31, 32) для соединения указанного хранилища (30) или теплообменника (45) с упомянутым гидроакустическим насосом (20), по меньшей мере один электромагнитный клапан (34) для открытия и/или закрытия циркуляции жидкости в упомянутом первичном контуре (3), по меньшей мере один отсекающий клапан (8) для регулирования скорости потока жидкости, выходящей из указанного гидроакустического насоса (2). Система (1) дополнительно содержит устройство (5) оптимизации, соединенное с указанным гидроакустическим насосом (2) и расположенное после него, причем устройство оптимизации взаимодействует по меньшей мере с указанным первичным контуром (3), в который оно подает и передает тепловую энергию, вырабатываемую указанным гидроакустическим насосом (2), причем указанное устройство (5) оптимизации содержит бак (52) для хранения малой емкости, работающий при высоком давлении и теплоизолированный. Технический результат заключается в упрощении управления гидроакустическим насосом, а также в повышении КПД и энергоэффективности быстро и простым и надежным способом. 9 з.п. ф-лы, 5 ил.
1. Система (1) нагрева жидкости, содержащая
гидроакустический насос (2) для нагрева указанной жидкости,
первичный контур (3), содержащий:
хранилище (30) указанной жидкости или теплообменное устройство (45),
множество труб (31, 32) для соединения упомянутого хранилища (30) или упомянутого теплообменного устройства (45) с упомянутым гидроакустическим насосом (2),
по меньшей мере один электромагнитный клапан (34) для открытия и/или закрытия циркуляции жидкости в указанном первичном контуре (3),
отличающаяся тем, что дополнительно содержит устройство (5) оптимизации, соединенное с указанным гидроакустическим насосом (2), расположенное ниже по потоку от него и взаимодействующее с указанным первичным контуром (3) для подачи и передачи в него тепловой энергии, вырабатываемой указанным гидроакустическим насосом (2), причем указанное устройство (5) оптимизации содержит бак (52) для хранения, который:
имеет уменьшенный объем, промежуточный между объемом обычного хранилища жидкости и гидравлического компенсатора,
выполнен с возможностью выдерживать высокое давление и работать при высоком давлении.
является теплоизолированным,
при этом указанное устройство (5) оптимизации содержит по меньшей мере один отсекающий клапан (8) для управления расходом жидкости, циркулирующей в гидроакустическом насосе (2), расположенный внутри внутреннего контура (501), предпочтительно вдоль возвратной трубы (50) упомянутого устройства (5) оптимизации, работающий с обеспечением перепада температур ΔToptimizer между входной и выходной жидкостью, равного перепаду ΔTideal между входной и выходной температурой упомянутого гидроакустического насоса (2), для обеспечения максимального КПД и энергетической эффективности.
2. Система (1) по п. 1, отличающаяся тем, что по меньшей мере один электромагнитный клапан (34) выполнен с возможностью остановки и/или возобновления потока жидкости из устройства (5) оптимизации к первичному контуру (3), причем указанный электромагнитный клапан (34) выполнен с возможностью соединения с датчиками и/или температурными зондами (35), расположенными во внутреннем контуре (501) и предпочтительно вдоль возвратной трубы (50) или нагнетательной трубы (51) вышеупомянутого устройства (5) оптимизации.
3. Система (1) по предыдущему пункту, отличающаяся тем, что указанный по меньшей мере один электромагнитный клапан (34) расположен вдоль нагнетательной трубы (31) или возвратной трубы (32) указанного множества труб (31, 32) указанного первого контура (3).
4. Система (1) по п. 1, отличающаяся тем, что содержит дополнительный вторичный контур (4) для рассеивания тепла, генерируемого в указанном гидроакустическом насосе (2) и передаваемого в указанную жидкость, причем указанный вторичный контур (4) взаимодействует и/или соединен с указанным первичным контуром (3).
5. Система (1) по предыдущему пункту, отличающаяся тем, что указанный вторичный контур (4) содержит:
теплообменное устройство (40), содержащее по меньшей мере один радиатор (40), и/или
один или более змеевиковых теплообменников, размещенных в указанном хранилище (30) указанного первичного контура (3), и/или
устройства прямой подачи.
6. Система (1) по любому из предыдущих пунктов, отличающаяся тем, что содержит дополнительный расширительный резервуар.
7. Система (1) по любому из предыдущих пунктов, отличающаяся тем, что содержит один или более циркуляционных насосов (33) в указанном первичном (3) и вторичном (4) контурах.
8. Система (1) по любому из предыдущих пунктов, отличающаяся тем, что бак (52) вышеупомянутого устройства (5) оптимизации имеет емкость от 7 до 15 литров и выполнен с возможностью выдерживать давление более 20 бар.
9. Система (1) по любому из предыдущих пунктов, отличающаяся тем, что расход циркулирующей жидкости постоянно поддерживается отсекающим клапаном (8) в интервале от 200 до 300 л/ч, с перепадом ΔTideal, равным приблизительно 30°C, при температуре на выходе/нагнетания приблизительно 130°C и возвратной температуре в турбине (20) приблизительно 100°C; или вышеупомянутый расход имеет перепад ΔTideal, равный приблизительно 35°C, при температуре на выходе/нагнетания приблизительно 145°C и возвратной температуре в турбине (20) приблизительно 110°C.
10. Система (1) по любому из предшествующих пунктов, отличающаяся тем, что по меньшей мере указанный гидроакустический насос (2), его двигатель (21) и указанное устройство (5) оптимизации штабелированы вертикально на нескольких уровнях и на каркасе или раме.
| KR 20110032112 A, 30.03.2011 | |||
| DE 19535062 C1, 17.04.1997 | |||
| Чистовая группа клетей широкополосового стана горячей прокатки | 1986 |
|
SU1419764A1 |
| KR 20130015825 A, 14.02.2013 | |||
| УСТАНОВКА ДЛЯ ПРОИЗВОДСТВА ГОРЯЧЕЙ ХОЗЯЙСТВЕННО-ПИТЬЕВОЙ ВОДЫ | 2009 |
|
RU2454609C2 |
Авторы
Даты
2025-02-13—Публикация
2021-06-07—Подача