Изобретение относится к космической технике, а именно - к аварийно-спасательным скафандрам мягкого типа, предназначенным для обеспечения жизнедеятельности и работоспособности человека под избыточным давлением при полетах в случае аварийной разгерметизации летательного аппарата. Изобретение также может быть использовано в областях, где необходимо применение герметичных быстроразъемных частей защитного снаряжения, присоединяемых к мягким или жестким оболочкам - в скафандрах мягкого или жесткого типа, в водолазных костюмах и другом защитном снаряжении.
В большинстве известных конструкций разъемных соединений защитного снаряжения, где есть необходимость надевания и последующей герметизации защитной оболочки, эта операция является весьма неудобной для самостоятельного выполнения, требует посторонней помощи и, в зависимости от опыта и сноровки человека, может занимать продолжительное время, что экстремальных ситуациях может привести к тяжелым последствиям. Во избежание таких последствий необходимо применять быстроразъемные герметичные соединения.
Известна конструкция быстроразъемного соединения оболочек, применяемого в скафандрах жесткой конструкции по патенту US 4091465 от 23.03.1977, опубликованному 30.05.1978, содержащая жесткие элементы, герметично соединяемые между собой, содержащая трубчатые сегменты, проходящие вдоль угловой зоны разделения, располагающейся поперечно под подмышечной зоной скафандра, выступающей за его плечевую зону. Недостатком известной конструкции является использование сложного дорогостоящего механического устройства с двумя плоскостями разделения. Такая конструкция приводит к большому количеству взаимно перемещающихся деталей, оказывающих отрицательное влияние на надежность конструкции и герметичность в месте соединения. Кроме этого, известная конструкция неприменима в скафандрах мягкого типа.
Наиболее близким по конструкции к заявляемому изобретению является устройство стыковки авиационного гермошлема с защитным снаряжением летчика («Звезда. Годы, события, люди», книга первая, с. 145-149. Н.И. Дергунов. ДЕКОМ, 2020 г. ), состоящее из двух взаимно стыкуемых между собой фланцев круглой формы, внутри которых имеется уплотнительное устройство, а для смыкания фланцев установлено подвижное внутреннее кольцо, связанное с замком стяжного типа. При стыковке такого быстроразъемного соединения специальные штыри на верхнем фланце гермошлема попадают в пазы на нижнем фланце. При повороте замка внутреннее кольцо вращается относительно фланца и входит в зацепление со штырями, что делает эту конструкцию применимой только для разъемов, сечение которых имеет форму окружности.
С точки зрения удобства одевания наиболее подходящим местом разъема оболочки является область тазобедренного сустава, разделяющая оболочку на верхнюю и нижнюю части. В этой области естественная форма сечения близка к овалу или эллипсу. С точки зрения удобства размещения человека в снаряжении в полетном кресле космонавта наиболее подходящей формой сечения разъема также является овал или эллипс.
Задачей изобретения является создание быстроразъемного герметичного соединения верхней и нижней частей оболочки скафандра по овальному или эллиптическому контуру сечения разъема.
Эта задача решается конструкцией, содержащей верхний и нижний фланцы, имеющие в разрезе одинаковую овальную форму.
В проточке нижнего фланца установлены подвижные дугообразные рейки, в которых выполнены контурные пазы, необходимые для зацепления со штырями, расположенными на верхнем фланце.
Установленный на нижнем фланце стяжной замок поворотного типа предназначен для закрытия и открытия соединения; замок снабжен предохранителем, предотвращающим самопроизвольное открытие.
Герметичность соединения достигается за счет вдавливания жесткого элемента («ножа») в эластичную трубку, находящуюся под давлением («дутик»), по всему контуру стыковки.
Фланцы стыкуются одним защелкиванием, затем поворотом по часовой стрелке закрывается стяжной замок, обеспечивая плотное прилегание «ножа» к «дутику».
Открытие быстроразъемного соединения производится путем снятия с предохранителя стяжного замка и поворота против часовой стрелки до упора - соединение размыкается.
Изобретение представлено фигурами 1-12.
Фиг. 1 представляет общий вид герметичного быстроразъемного соединения в состыкованном состоянии с «закрытым» стяжным замком.
Фиг. 2 вид А представляет вид спереди быстроразъемного соединения.
Фиг. 3 представляет поперечное сечение Б-Б быстроразъемного соединения.
Фиг. 4 представляет продольное сечение В-В быстроразъемного соединения.
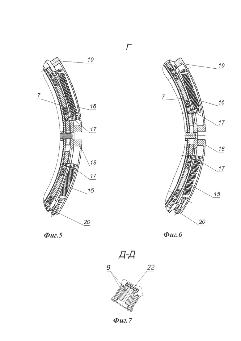
Фиг. 5 представляет увеличенный вид Г узла, показанного на фиг.4, и отображает положение пружин в «закрытом» положении.
Фиг. 6 представляет увеличенный вид Г узла, показанного на фиг.4, и отображает положение пружин в «нейтральном» положении.
Фиг. 7 представляет поперечное сечение Д-Д быстроразъемного соединения.
Фиг. 8 представляет увеличенный вид Е, показанный на фиг.4, и отображает стяжной замок в «закрытом» положении.
Фиг. 9 представляет увеличенный вид Е, показанный на фиг.4, и отображает стяжной замок в «нейтральном» положении.
Фиг. 10 представляет типовую конструкцию рейки.
Фиг. 11 представляет увеличенный вид Ж - контурный паз, выполненный в рейке, и отображает разделение на зоны.
Фиг. 12 представляет последовательность закрытия и последующего открытия быстроразъемного соединения.
Формообразующими элементами соединения являются соответственно верхний 1 и нижний 2 фланцы, стыкуемые по овальной горизонтальной поверхности.
По внутреннему контуру каждого фланца выполнена вертикальная отбортовка с множеством отверстий, через которые к фланцам пришиваются с герметизацией верхняя и нижняя части гермоболочки 3 и силовой оболочки 4 скафандра соответственно.
Две дугообразные рейки 7 малого радиуса и две дугообразные рейки 8 большого радиуса (фиг. 4), соединены последовательно друг с другом посредством поворотных соединительных звеньев 9 (фиг. 7).
Соединенные между собой рейки способны перемещаться в проточке нижнего фланца 2.
Рейки в проточке расположены эквидистантно с зазором.
За счет возможности регулировки винтовой парой 22 расстояния между поворотными звеньями 9 достигается точная калибровка зазоров, необходимых при движении реек без люфтов и заеданий в проточке нижнего фланца 2.
Типовая конструкция рейки представлена на фиг. 10-11.
В верхней части рейки предусмотрены специальные контурные пазы, необходимые для запирания разъема.
Каждый паз в рейке разделен на три зоны:
I - зона скольжения штыря 5 (фиг. 1, 3) и открытия рейки;
II - зона сцепления рейки со штырем 5;
III - зона запирания фланцев и обеспечения герметичности.
При одновременном движении реек каждая рейка способна перемещаться только относительно ответного радиуса, выполненного в проточке нижнего фланца 2.
Движение реек 7,8 ограничено пазами, расположенными по контуру нижнего фланца 2.
От выпадения из проточки нижнего фланца 2 рейки зафиксированы подвижными роликами 10, которые перемещаются в горизонтальных пазах нижнего фланца 2.
Для снижения возникающих при перемещении реек 7,8 сил трения в проточке нижнего фланца 2 на рейках установлены вертикальные ролики И.
На верхнем фланце 1 установлены поперечно выступающие штыри 5, закрепленные винтами 6 (фиг. 3).
При сопряжении между собой фланцев 1 и 2 штыри 5 попадают в специальные U-образные вертикальные пазы в нижнем фланце 2. Количество расположенных по периметру быстроразъемного соединения штырей 5 и U-образных вертикальных пазов под них определяется исходя из условия равномерного распределения усилия для обеспечения герметизации при внутреннем избыточном давлении.
Исполнительным рычажным механизмом является стяжной замок 12 поворотного типа, расположенный на наружной стенке нижнего фланца 2 (фиг. 1,8,9).
Стяжной замок 12 является управляющим органом, необходимым для закрытия герметичного быстроразъемного соединения, который непосредственно связан с одной из реек 7 с помощью вращающегося коромысла 13.
При повороте стяжного замка в «нейтральное» или «закрытое» положение коромысло 13 передает линейное движение соединенным рейкам 7,8. Стяжной замок 12 защищен от самопроизвольного открывания за счет пружинного предохранителя 14, находящегося в зацеплении с кронштейном 21.
На нижнем фланце 2 установлены пружины растяжения 15,16 (фиг. 5,6), создающие усилие на рейках при стыковке и расстыковке быстроразъемного соединения.
Рейка 7 конструктивно связана с двумя роликами 17, способными осуществлять перемещение в специальных дугообразных прорезях, выполненных в нижнем фланце 2.
К роликам 17 прикреплены две растянутые противодействующие друг другу пружины, которые обеспечивают рейке 7 предварительное натяжение, обеспечивая «нейтральное» положение.
Для защиты пружин 15, 16 от внешних воздействующих факторов предусмотрены кожухи 18, 19.
Усилие противоположно направленных пружин 15,16 регулируется винтовой парой 20, позволяющей выставить необходимое положение реек 7, 8 в пазу нижнего фланца 2, обеспечивая правильное «нейтральное» положение.
Герметичность в заявляемом изобретении достигается по схеме «нож»-«дутик» (фиг. 3).
По контуру верхнего фланца 1 выполнен «нож» V-образного сечения, который своей вершиной упирается и плотно прижимает «дутик» 21 - уплотнение в виде замкнутой трубки М-образного профиля, расположенное в канавке нижнего фланца 2.
В уплотнении 21 выполнены отверстия, через которые воздушная среда внутри герметичной оболочки 3 спасательного скафандра попадает во внутреннюю полость уплотнения 21 и поддерживает в ней избыточное давление, обеспечивая более плотное прилегание «дутика» к «ножу», тем самым повышая герметичность всего быстросъемного соединения.
Последовательность закрытия и последующего открытия быстроразъемного соединения спасательного скафандра поясняется фиг.12:
а) для сочленения нижнего и верхнего фланцев необходимо выровнять их в осевом направлении; стяжной замок должен находиться в «нейтральном» положении, при этом рейки практически перекрывают вертикально расположенные U-образные пазы на нижнем фланце; противодействующие друг другу пружины находятся в «нейтральном» положении;
б) закрепленные на верхнем фланце штыри попадают сначала в вертикальные U-образные вырезы нижнего фланца, задавая направление для движения, а затем упираются в верхнюю кромку рейки;
в) под дальнейшим усилием в осевом направлении, штыри скользят по рейке, перемещая ее до момента полного открытия вертикального паза в нижнем фланце;
г) под действием пружин рейки перемещаются в «нейтральное» положение, входят в зацепление со штырем и перекрывают вертикальный паз; при перемещении слышен характерный «щелчок», обозначающий стыковку разъема;
д) при повороте стяжного замка в направлении ВЗ в «закрытое» положение (фиг.9) происходит перемещение реек и запирание фланцев; одновременно происходит герметизация фланцев по контуру надувного уплотнения, образуя герметичное соединение; поворотом стяжного замка до характерного «щелчка» осуществляется его постановка на предохранитель;
е) для открытия герметичного быстроразъемного соединения необходимо снять стяжной замок с предохранителя, отодвигая ленту в направлении В1 (фиг. 8), и слегка повернуть стяжной замок в направлении В2; под действием пружин стяжной замок переходит в «нейтральное» положение; при повороте стяжного замка в направлении В4 (фиг. 9) штыри выходят из зацепления с рейками, расстыковывая верхний и нижний фланцы.
Таким образом, решается задача создания быстроразъемного герметичного соединения верхней и нижней частей оболочки скафандра по овальному или эллиптическому контуру сечения разъема.
| название | год | авторы | номер документа |
|---|---|---|---|
| Кольцевое уплотнение | 1981 |
|
SU998797A1 |
| Дверной затвор | 1985 |
|
SU1270275A1 |
| ШЕЙНЫЙ РАЗЪЕМ ВОДОЛАЗНОГО СКАФАНДРА | 2003 |
|
RU2239580C1 |
| КРЕСЛО ЛЕТНОГО ЭКИПАЖА (ВАРИАНТЫ) | 2014 |
|
RU2620443C2 |
| СИСТЕМА КРЕПЛЕНИЯ ПОЛНОЛИЦЕВОЙ ДЫМОЗАЩИТНОЙ КИСЛОРОДНОЙ МАСКИ К ЗАЩИТНОМУ ШЛЕМУ | 2024 |
|
RU2832130C1 |
| УСТРОЙСТВО ДЛЯ ПЕРЕКРЫТИЯ ОТВОДА ДЕЙСТВУЮЩЕГО ТРУБОПРОВОДА | 1992 |
|
RU2046249C1 |
| ЗАМОК ДЛЯ СОЕДИНЕНИЯ ТРУБОПРОВОДОВ | 2002 |
|
RU2235184C2 |
| КРЕСЛО ЛЕТНОГО ЭКИПАЖА С ЧАШКОЙ ПОД ПАРАШЮТ (ВАРИАНТЫ) | 2014 |
|
RU2583102C2 |
| Модульная гребенка для крепления электрических проводов | 2017 |
|
RU2657921C1 |
| УСТРОЙСТВО ДЛЯ ПРЕДОТВРАЩЕНИЯ ПОЖАРА НА ГРУЗОВОМ ТРАНСПОРТНОМ СРЕДСТВЕ | 2022 |
|
RU2787575C1 |
Изобретение относится к космической технике, а именно - к аварийно-спасательным скафандрам мягкого типа. Конструкция быстроразъемного герметичного соединения оболочек космического скафандра состоит из взаимно стыкуемых фланцев овальной формы с отбортовкой и отверстиями для присоединения оболочек и стяжного замка. В проточке нижнего фланца установлены подвижные дугообразные рейки с роликами и пружинами, зафиксированные в горизонтальных пазах. Стяжной замок выполнен поворотным с пружинным предохранителем. На верхнем фланце выполнен нож V-образного сечения, прижимающий уплотнение М-образного профиля нижнего фланца. Уплотнение имеет отверстия для воздушной среды, которая раздувает его, повышая герметичность соединения. Достигается создание быстроразъемного герметичного соединения верхней и нижней частей оболочки скафандра по овальному или эллиптическому контуру сечения разъема. 12 ил.
Конструкция быстроразъемного герметичного соединения оболочек космического скафандра, состоящая из взаимно стыкуемых между собой верхнего фланца со штырями и нижнего фланца с ответными пазами и стяжного замка, отличающаяся тем, что фланцы выполнены овальной формы, по контуру фланцев выполнена отбортовка с множеством отверстий для присоединения герметичной и силовой оболочек скафандра, в проточке нижнего фланца установлены подвижные дугообразные рейки, соединенные поочередно друг с другом посредством поворотных соединительных звеньев, рейки оснащены вертикальными роликами для снижения сил трения, возникающих при перемещении реек, и зафиксированы подвижными роликами, перемещающимися в горизонтальных пазах нижнего фланца, предотвращающими выпадение реек из проточки, рейки также оснащены двумя противодействующими пружинами, закрепленными на нижнем фланце, стяжной замок выполнен поворотным и для предотвращения самопроизвольного открытия оснащен пружинным предохранителем, находящимся в зацеплении с кронштейном, по контуру верхнего фланца выполнен нож V-образного сечения, упирающийся вершиной и плотно прижимающий уплотнение М-образного профиля, расположенного в канавке нижнего фланца, в уплотнении выполнены отверстия, через которые воздушная среда внутри герметичной оболочки скафандра попадает во внутреннюю полость уплотнения и раздувает его, повышая герметичность быстросъемного соединения.
| УЗЕЛ КРЕПЛЕНИЯ "РУКАВ-КОРПУС" КОСМИЧЕСКОГО СКАФАНДРА ДЛЯ ВНЕКОРАБЕЛЬНОЙ ДЕЯТЕЛЬНОСТИ И СПОСОБ МОНТАЖА РУКАВА НА СКАФАНДР | 2016 |
|
RU2651497C1 |
| US 4091465 A1, 30.05.1978 | |||
| МЯГКАЯ ОБОЛОЧКА СКАФАНДРА И СПОСОБ ЕЕ КРЕПЛЕНИЯ К ЖЕСТКИМ УЗЛАМ СКАФАНДРА | 2012 |
|
RU2501721C1 |
| АВАРИЙНО-СПАСАТЕЛЬНЫЙ СКАФАНДР КОСМОНАВТА ДЛЯ ТРАНСПОРТНОГО СРЕДСТВА | 2006 |
|
RU2353561C2 |
| CN 209192275 U, 02.08.2019. | |||
Авторы
Даты
2025-02-14—Публикация
2024-06-10—Подача