Область техники
[0001] Настоящее изобретение относится к области вентиляции, в частности к устройствам защиты воздуховодов.
Уровень техники
[0002] Направленный вверх патрубок вытяжного воздуха в большей степени способствует своевременному рассеиванию его в атмосфере. С целью организации отвода отработанного воздуха и защиты воздуховодов от осадков и мусора воздуховоды оснащаются защитными устройствами, такими как насадки, дефлекторы, решетки и т. п. Однако, в такие защитные устройства зачастую попадает различный мусор и осадки, которые, в свою очередь, могут привести к поломке внутренних элементов вентиляционной системы, например, вентиляторов, преждевременному загрязнению фильтров. С целью предотвращения попадания осадков и мусора в вентиляционную систему, насадок зачастую снабжают защитной сеткой, а в верхней его части устанавливают зонт или непромокаемый колпак. Однако, как зонт, так и сетка, приводят к увеличению аэродинамического сопротивления воздушного потока, в результате чего увеличивается потребление энергии, а также создается вибрационный шум турбулентного потока и сходящих крупных вихрей, что также увеличивает уровень шума, создаваемого вытяжным воздухом.
[0003] Таким образом, для создания эффективного насадка необходимо как отводить воду и предотвращать попадания мелкого и крупного мусора, так и не внести значительного аэродинамического сопротивления в воздушный поток.
[0004] Из уровня техники известен трубопровод подачи воздуха для системы подачи свежего воздуха, раскрытый в патенте на полезную модель № CN 217503880 U (опубл.: 27.09.2022 г.; МПК: F24F 13/02; F24F 7/003; F24F 7/06; F24F 8/22). Полезная модель раскрывает трубопровод подачи воздуха для системы подачи свежего воздуха, который содержит защитную сетку воздухозаборника, причем защитная сетка расположена на поверхности воздухозаборника, дугообразный скользящий блок расположен на верхнем конце воздухозаборника, лопатка, направляющая поток на верхнем конце дугообразного скользящего блока, причем на верхнем конце направляющей поток лопатки расположена верхняя пластина, а на поверхности верхней пластины расположена непромокаемая пластина. Когда какой-либо поток воздуха обдувает направляющие лопатки, поток воздуха толкает направляющие лопатки так, чтобы они вращались в канавках скольжения. После вращения направляющие лопатки создают эффект отвода отрицательного давления, всасывание воздушного потока ускоряется, а воздух поступает в воздухозаборный трубопровод, что обеспечивает эффект дезинфекции. При этом воздействие на бактерии и вирусы, содержащиеся в воздухе, достигается с помощью дезинфекционной лампы.
[0005] Помимо этого, известен воздухозаборник, раскрытый в патенте № CN 217004848 U (опубл. 19.07.2022 г.; МПК: F24F 13/00; F24F 13/28). Воздухозаборник содержит корпус трубы. Поверхность верхнего конца корпуса трубы жестко соединена с патрубком. В патрубке расположен вентиляционный механизм, состоящий из опоры и вентилятора. Поверхность верхнего конца патрубка снабжена защитным кожухом с возможностью скольжения, а вентиляция осуществляется посредством патрубка для подачи воздуха. В верхней части защитной крышки через равные промежутки выполнены отверстия. В каждое вентиляционное отверстие жестко вставлена сетчатая пластина, защищающая от гравия. Пружины сброса жестко прикреплены к верхней стороне корпуса цилиндра в кольцевом направлении через равные промежутки, а верхние концы пружин сброса жестко прикреплены к внутренней верхней стенке защитного кожуха.
[0006] Недостатком обоих вышеуказанных аналогов является использование сетки для предотвращения попадания в воздуховод мусора, а также использование зонта - для предотвращения попадания воды. Оба указанных элемента приводят к значительному повышению аэродинамического сопротивления.
[0007] Еще одним известным техническим решением является непромокаемое устройство для отвода воздуха из вентиляционного канала, описанное в патенте № CN 218672508 U (опубл. 21.03.2023 г.; МПК: F24F 13/00; F24F 13/28; F24F 7/003; F24F 7/06; F24F8/108). Непромокаемое устройство для выпуска воздуха из вентиляционного канала содержит корпус вентиляционного канала. К верхней части корпуса вентиляционного канала присоединен кожух, а над фильтрующим экраном установлен приводной механизм, способный приводить в движение лопасти вентилятора для удаления специфического запаха или отходящих газов за счет энергии ветра. Внешний конец дренажной трубы снабжен непромокаемым механизмом, способным направлять отфильтрованный специфический запах или отходящие газы вверх и предотвращать попадание дождевой воды в корпус вентиляционной трубы.
[0008] Описанное устройство имеет сложную конструкцию, что делает его трудоемким в изготовлении. Более того, наличие приводного механизма заставляет затрачивать дополнительную энергию на эксплуатацию вентиляционной системы для обеспечения питания привода.
[0009] Также известно устройство для предотвращения попадания дождевой воды в восходящую вытяжную трубу, которое раскрыто в патенте № CN 219177934 U (опубл. 13.06.2023 г.; МПК: F24F 13/02; F24F 13/10). Устройство содержит верхнюю крышку, водоотводящий экран и дренажное отверстие. Верхняя крышка расположена на верхнем конце вытяжной воздушной трубы и состоит из двух противоположно открывающихся защитных пластин, каждая из которых снабжена балансировочным грузом. Верхняя крышка может открываться воздушным потоком, чтобы при удалении дыма и воздуха направление движения было близким к вертикальному, а воздух и дым может быть удобно выведен. Когда дымоудаление и вытяжка воздуха прекращаются, крышка закрывается из-за собственного веса, и дождевая вода не попадает в трубу для выпуска воздуха. Когда идет дождь и происходит вытеснение воздуха, дождевая вода под действием потока вытяжного воздуха нагнетается к внутренней стенке вытяжной воздушной трубы, стекает вниз по внутренней стенке вытяжной воздушной трубы, попадает в кольцевую дренажную канавку, образованную водоотделителем и внутренней стенкой вытяжной воздушной трубы, и выходит из выхлопной трубы через дренажные отверстия.
[0010] Недостатком данного решения является то, что дверцы на устройстве открываются под давлением выходящего воздушного потока. То есть, они создают значительное аэродинамическое сопротивление на пути воздушного потока. Более того, такая вытяжная труба подходит лишь для вентиляционных систем с воздушным потоком высокого давления, способным раскрыть дверцы.
Сущность изобретения
[0011] Задачей настоящего изобретения является создание и разработка насадка для воздуховода и способа его изготовления, обеспечивающих предотвращение попадания воды в воздуховод.
[0012] Данная задача решается заявляемым изобретением за счет достижения таких технических результатов, как предотвращение попадания воды в воздуховод и снижение аэродинамического сопротивления насадка. Заявленный технический результат достигается в том числе, но не ограничиваясь, благодаря:
• наличию вставки, центральная часть которой выполнена сплошной, а вблизи наружного периметра которой выполнены отверстия;
• наличию зазора для отвода воды из насадка;
• наличию водоотводящего элемента, расположенного под тупым углом к зазору;
• наличию участков с переменным поперечным сечением у первого и второго сегментов корпуса.
[0013] Более полно технический результат достигается насадком для воздуховода. Насадок включает корпус с двумя открытыми торцами, выполненный из по крайней мере трех последовательно закрепленных друг на друге сегментов. Первый и второй сегменты выполнены с по крайней мере одним участком с переменным сечением. Между последними двумя сегментами выполнен зазор. Причем на оконцовке последнего сегмента вблизи зазора закреплен водоотводящий элемент под тупым углом к зазору. При этом на одном из торцов первого сегмента закреплена вставка, центральная часть которой выполнена цельной, а вблизи наружного периметра вставки выполнены отверстия.
[0014] Два открытых торца насадку необходимы для свободного прохождения воздуха, поступающего в насадок из воздуховода. Корпус, в свою очередь, выполнен сегментным для придания корпусу определенной геометрии. Так, в частности, участки с переменным сечением первого и второго сегментов корпуса позволяют направить попадающие в насадок капли дождя так, чтобы они попадали на водоотводящий элемент и в дальнейшем выводились из насадка через зазор. Вставка со сплошной центральной частью и отверстиями вблизи наружного периметра необходима для остановки капель, попадающих в центральную часть, а отверстия - для выпуска этих капель ближе к внутренним стенкам корпуса. Помимо этого, это необходимо для снижения аэродинамического сопротивления.
[0015] Насадок может иметь круглое поперечное сечение. В этом случае первый и второй сегменты корпуса могут быть выполнены в виде усеченных конусов, каждый из которых выполнен расширяющимся в направлении вставки. При этом водоотводный элемент может также быть выполнен в форме усеченного конуса.
[0016] Насадок может иметь прямоугольное поперечное сечение. В этом случае первый и второй сегменты корпуса могут быть выполнены в виде усеченных пирамид, каждая из которых выполнена расширяющейся в направлении вставки. При этом водоотводный элемент может также быть выполнен в форме усеченной пирамиды.
[0017] Второй сегмент может включать участок с постоянным сечением вблизи с третьим сегментом. При этом насадок может дополнительно включать направляющий аппарат, а на участке с постоянным сечением дополнительно могут быть расположены пластины направляющего аппарата, стоящие под углом от 0° до 90° к оси потока. Это позволит закручивать поток воздуха, а закрученный поток впоследствии будет захватывать атмосферные осадки и за счет центробежных сил перемещать их к стенкам корпуса. Таким образом, это позволит еще более эффективно предотвращать попадание воды в воздуховод.
[0018] Корпус может дополнительно включать четвертый сегмент, а зазор может быть выполнен между третьим и четвертым сегментами. При этом на оконцовке четвертого сегмента может быть закреплен водоотводящий элемент под тупым углом к зазору.
[0019] Дополнительно наружная поверхность последнего сегмента корпуса может быть выполнена с прорезиненной вставкой или с резьбой. Это позволит более надежно фиксировать насадок на оконцовке воздуховода, а также дополнительно обеспечить герметизацию соединения.
[0020] Вставка может быть выполнена в виде пластины со множеством осесимметрично выполненных отверстий вблизи наружного периметра пластины.
[0021] Также технический результат достигается способом изготовления насадка для воздуховода. Согласно способу, сначала изготавливают вставку посредством выполнения в ней отверстий по внешнему периметру вставки. Затем закрепляют вставку на одном из открытых торцов первого сегмента корпуса, имеющего по крайней мере один участок с переменным сечением. Далее соединяют первый сегмент корпуса со вторым сегментом корпуса, имеющим открытые торцы и по крайней мере один участок с переменным сечением. После этого на нижнем из сегментов корпуса закрепляют последний сегмент корпуса, оба торца которого открыты, так, что между последними двумя сегментами выполняют зазор. Затем закрепляют водоотводящий элемент на оконцовке последнего сегмента вблизи зазора под тупым углом к зазору.
[0022] Изготовление вставки со сплошной центральной частью и отверстиями вблизи наружного периметра необходимо для остановки капель, попадающих в центральную часть, а отверстия - для выпуска этих капель ближе к внутренним стенкам корпуса. Помимо этого, это необходимо для снижения аэродинамического сопротивления. Использование сегментов корпуса с участками с переменным сечением необходимо для направления попадающих в насадок капель дождя так, чтобы они попадали на водоотводящий элемент и в дальнейшем выводились из насадка через зазор. Соответственно, выполнение зазора необходимо для выпуска воды из насадка, а водоотводящий элемент - для направления капель воды в зазор. Использование сегментов с открытыми торцами необходимо для свободного прохождения воздуха, поступающего в насадок из воздуховода.
[0023] Предварительно могут изготавливать сегменты корпуса с круглым поперечным сечением, а первый и второй сегменты корпуса могут выполнять в виде усеченных конусов, каждый из которых выполняют расширяющимся в направлении вставки. При этом водоотводящий элемент могут выполнять в форме усеченного конуса.
[0024] Предварительно могут изготавливать сегменты корпуса с прямоугольным поперечным сечением, а первый и второй сегменты корпуса могут выполнять в виде усеченных пирамид, каждую из которых выполняют расширяющейся в направлении вставки. При этом водоотводящий элемент могут выполнять в форме усеченной пирамиды.
[0025] Второй сегмент могут изготавливать с участком с постоянным сечением вблизи с третьим сегментом. При этом могут дополнительно устанавливать направляющий аппарат в водоотводный насадок, а на участке с постоянным сечением могут дополнительно размещать пластины направляющего аппарата под углом от 0° до 90° к оси потока. Это позволит закручивать поток воздуха, а закрученный поток впоследствии будет захватывать атмосферные осадки и за счет центробежных сил перемещать их к стенкам корпуса. Таким образом, это позволит еще более эффективно предотвращать попадание воды в воздуховод.
[0026] Могут дополнительно изготавливать четвертый сегмент корпуса и закреплять его на третьем сегменте так, что между третьим и четвертым сегментами образуется зазор. При этом на оконцовке четвертого сегмента вблизи зазора могут закреплять водоотводящий элемент под тупым углом к зазору.
[0027] Наружную поверхность последнего сегмента корпуса могут выполнять с прорезиненной вставкой или с резьбой. Это позволит более надежно фиксировать насадок на оконцовке воздуховода, а также дополнительно обеспечить герметизацию соединения.
[0028] Вставку могут выполнять в виде пластины со множеством осесимметрично выполненных отверстий вблизи наружного периметра пластины.
Описание чертежей
[0029] Объект притязаний по настоящей заявке описан по пунктам и четко заявлен в формуле изобретения. Упомянутые выше задачи, признаки и преимущества изобретения очевидны из нижеследующего подробного описания, в сочетании с прилагаемыми чертежами, на которых показано:
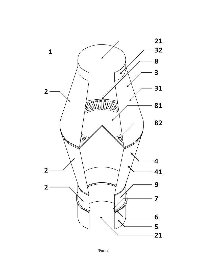
[0030] На Фиг. 1 представлен изометрический вид насадка для воздуховода, согласно настоящему изобретению.
[0031] На Фиг. 2 представлен схематический вид воздушного потока, проходящего через насадок для воздуховода, согласно настоящему изобретению.
[0032] На Фиг. 3 представлен схематический вид капель воды, попадающих в насадок для воздуховода, согласно настоящему изобретению.
[0033] На Фиг. 4 представлен изометрический вид насадка для воздуховода с прямоугольным поперечным сечением, согласно настоящему изобретению.
[0034] На Фиг. 5 представлен изометрический вид насадка для воздуховода с дополнительным сегментом корпуса, согласно настоящему изобретению.
[0035] На Фиг. 6 представлен изометрический вид насадка для воздуховода, в котором второй сегмент корпуса включает участок с постоянным поперечным сечением, согласно настоящему изобретению.
[0036] На Фиг. 7 представлен изометрический вид насадка для воздуховода, в котором первым сегмент корпуса включает участок с постоянным поперечным сечением в своей нижней части, согласно настоящему изобретению.
[0037] На Фиг. 8 представлен изометрический вид насадка для воздуховода, в котором первым сегмент корпуса включает участок с постоянным поперечным сечением в своей верхней части, согласно настоящему изобретению.
[0038] На Фиг. 9 представлен схематический вид насадка для воздуховода в разрезе в виде сбоку, согласно настоящему изобретению.
[0039] На Фиг. 10 представлен вид сверху на вставку в виде пластины в первом варианте реализации, согласно настоящему изобретению.
[0040] На Фиг. 11 представлен вид сверху на вставку в виде пластины во втором варианте реализации, согласно настоящему изобретению.
[0041] На Фиг. 12 представлен вид сверху на вставку в виде пластины в третьем варианте реализации, согласно настоящему изобретению.
[0042] На Фиг. 13 представлен вид сверху на вставку в виде пластины в четвертом варианте реализации, согласно настоящему изобретению.
[0043] На Фиг. 14 представлен изометрический вид вставки в виде конуса, согласно настоящему изобретению.
[0044] Данные фигуры поясняются следующими позициями:
Позиция 1 - насадок;
Позиция 2 - корпус насадка;
Позиция 21 - открытые торцы корпуса;
Позиция 3 - первый сегмент корпуса;
Позиция 31 - участок первого сегмента корпуса с переменным сечением;
Позиция 32 - участок первого сегмента корпуса с постоянным сечением;
Позиция 4 - второй сегмент корпуса;
Позиция 41 - участок второго сегмента корпуса с переменным сечением;
Позиция 42 - участок второго сегмента корпуса с постоянным сечением;
Позиция 5 - последний сегмент корпуса;
Позиция 6 - зазор между последними сегментами корпуса;
Позиция 7 - водоотводящий элемент;
Позиция 8 - вставка;
Позиция 81 - центральная часть вставки, выполненная цельной;
Позиция 82 - отверстия в вставке;
Позиция 9 - третий сегмент корпуса.
Подробное описание изобретения
[0045] В приведенном ниже подробном описании реализации изобретения приведены многочисленные детали реализации, призванные обеспечить отчетливое понимание настоящего изобретения. Однако, квалифицированному в предметной области специалисту, очевидно, каким образом можно использовать настоящее изобретение, как с данными деталями реализации, так и без них. В других случаях хорошо известные методы, процедуры и компоненты не описаны подробно, чтобы не затруднять излишне понимание особенностей настоящего изобретения.
[0046] Кроме того, из приведенного изложения ясно, что изобретение не ограничивается приведенной реализацией. Многочисленные возможные модификации, изменения, вариации и замены, сохраняющие суть и форму настоящего изобретения, очевидны для квалифицированных в предметной области специалистов.
[0047] На Фиг. 1 представлен изометрический вид насадка 1 для воздуховода, согласно настоящему изобретению. Насадок 1 включает корпус 2 с двумя открытыми торцами 21, выполненный из по крайней мере трех последовательно закрепленных друг на друге сегментов (3, 4, 5). Первый 3 и второй 4 сегменты выполнены с по крайней мере одним участком с переменным сечением (31, 41). Между последними двумя сегментами (4, 5) выполнен зазор 6. Причем на оконцовке последнего сегмента 5 вблизи зазора 6 закреплен водоотводящий элемент 7 под тупым углом к зазору 6. При этом на одном из торцов первого сегмента 3 закреплена вставка 8, центральная часть 81 которой выполнена цельной, а вблизи наружного периметра вставки 8 выполнены отверстия 82.
[0048] Под сегментами корпуса понимаются полые твердые элементы с открытыми торцами для обеспечения возможности прохождения воздуха. При этом предпочтительно, чтобы соприкасающиеся торцы соседних сегментов (3 и 4, 4 и 5) имели одинаковое поперечное сечение.
[0049] Описанный насадок 1 работает следующим образом. Как показано на Фиг. 2, воздух (поток показан штрихпунктирной линией) из воздуховода может выводиться, проходя последовательно через корпус от последнего 5 до первого 3 сегментов корпуса 2, а также через отверстия 82 вставки 8. При этом ввиду такого направления потока, воздух не будет попадать в зазор 6, т.к. этому будет препятствовать размещенный под тупым углом к зазору 6 водоотводящий элемент 7. Таким образом, не будет происходить преждевременная утечка воздуха из насадка 1, а также не будет нарушаться структура потока воздуха. В случае выпадения осадков, капли дождя будут выводиться из насадка 1, как это показано штрихпунктирными линиями на Фиг. 3. Капли воды могут попадать в насадок 1 через торец 21 первого сегмента корпуса 3. Ввиду того, что первый сегмент корпуса 3 включает участок с переменным поперечным сечением 31 (в данном случае, расширяется в направлении вставки 8), капли воды будут попадать лишь на центральную часть вставки 81, а не в отверстия 82. При этом центральная часть вставки 81, выполненная сплошной, останавливает их и, тем самым, предотвращает их попадание в воздуховод. Далее капли могут растекаться по вставке 8 и, при достижении отверстий 82, выполненных по наружному периметру вставки 8, будут падать на внутренние стенки второго сегмента корпуса 4, т.к. он включает участок с переменным поперечным сечением 41, в данном случае расширяющийся в направлении вставки 8. Скатываясь по стенкам, капли достигают водоотводящего элемента 7, размещенного под тупым углом к зазору 6. Водоотводящий элемент 7 блокирует возможность капель проникнуть в последний сегмент корпуса 5, соединяющийся непосредственно с воздуховодом, и перенаправляет капли дождя в зазор 6.
[0050] При этом важно отметить, что при осадках, воздух все еще продолжает выпускаться из воздуховода через насадок 1. В связи с этим поток воздуха также будет втеснять капли дождя ближе к внутренним стенкам корпуса 2, что позволит использовать настоящий насадок 1 еще более эффективно.
[0051] Таким образом, два открытых торца 21 насадку 1 необходимы для свободного прохождения воздуха, поступающего в насадок 1 из воздуховода. Корпус 2, в свою очередь, выполнен сегментным для придания корпусу 2 определенной геометрии. Так, в частности, участки с переменным сечением (31, 41) первого 3 и второго 4 сегментов корпуса 2 позволяют направить попадающие в насадок 1 капли дождя так, чтобы они попадали на водоотводящий элемент 7 и в дальнейшем выводились из насадка 1 через зазор 6. Вставка 8 со сплошной центральной частью 81 и отверстиями 82 вблизи наружного периметра необходима для остановки капель, попадающих в центральную часть 81, а отверстия 82 - для выпуска этих капель ближе к внутренним стенкам корпуса 2.
[0052] При этом в зависимости от геометрии воздуховода, в которой используется настоящий насадок 1, сам насадок 1 может иметь ту или иную форму поперечного сечения. В частности, для круглого воздуховода может использоваться насадок 1, показанный на Фиг. 1. То есть, в этом случае, насадок 1 может иметь круглое поперечное сечение, а первый 3 и второй 4 сегменты корпуса 2 выполнены в виде усеченных конусов. При этом каждый из конусов может расширяться в направлении вставки 8. Также важно отметить, что в этом случае, когда сам насадок 1 имеет круглое поперечное сечение, то водоотводящий элемент 7 также должен быть выполнен в форме усеченного конуса, т.е. являться водоотводящим кольцом. При этом форма усеченного конуса позволяет разместить его так, что его стенка расположена под тупым углом к зазору 6.
[0053] В ином варианте, если воздуховод имеет прямоугольное (в частности, квадратное) поперечное сечение, то и насадок 1 может быть выполнен с прямоугольным (или квадратным) поперечным сечением, как это показано на Фиг. 4. Тогда первый 3 и второй 4 сегменты корпуса 2 могут быть выполнены в виде усеченных пирамид, каждая из которых выполнена расширяющейся в направлении вставки 8. Помимо этого, в этом случае также важно, чтобы форма водоотводного элемента 7 была выполнена с тем же сечением. Так, водоотводящий элемент 7 тоже может быть выполнен в форме усеченной пирамиды.
[0054] Корпус 2 также может дополнительно включать четвертый сегмент 5 (являющийся последним сегментом 5 в такой конфигурации насадка 1), как это показано на Фиг. 5. В этом случае, зазор 6 выполнен между третьим 9 и четвертым 5 сегментами, и на оконцовке четвертого сегмента 5 закреплен водоотводящий элемент 7 под тупым углом к зазору 6. В целом, таких сегментов может быть и больше, однако для достижения заявленного технического результата корпусу 2 достаточно иметь три-четыре сегмента (3, 4, 5 или 3, 4, 5, 9). Дальнейшее увеличение количества сегментов лишь приведет к излишней трате материалов на изготовление насадка 1, но не улучшит достигаемый технический результат.
[0055] Дополнительно последний сегмент 5 (при наличии трех сегментов - третий, а при наличии четырех - четвертый) может быть выполнен с прорезиненной вставкой или с резьбой со стороны наружной поверхности (на Фигурах не показано). Это позволит более надежно фиксировать насадок 1 на оконцовке воздуховода, а также дополнительно обеспечить герметизацию соединения насадка 1 с воздуховодом. В ином варианте, на торце последнего сегмента 5 со стороны воздуховода может быть выполнен фланец. В этом случае, воздуховод и насадок 1 могут соединяться любым известным фланцевым соединением. Пространство между фланцами, в свою очередь, может быть загерметизировано в том числе путем вставки туда уплотнителя.
[0056] Как уже говорилось ранее, первый 3 и второй 4 сегменты корпуса 2 выполнены с по крайней мере одним участком с переменным сечением (31, 41). Однако, они могут быть выполнены и с участками с постоянным сечением (32, 42). В частности, на Фиг. 6 представлен вариант реализации второго сегмента корпуса 4, в котором он включает и участок с переменным сечением 41, и участок с постоянным сечением 42. Это зависит от технологии производства насадка 1. Прямой участок обусловлен применением станков для прокатки фальца и конфигурации рабочего инструмента. Например, во втором сегменте 4 могут отсутствовать участки с постоянным сечением 42, но при этом такие участки 32 может включать первый сегмент корпуса 3, как это показано на Фиг. 7 или на Фиг. 8. В этом случае возможно, например, устанавливать сетку со стороны верхнего торца 21 первого сегмента 3 корпуса 2, т.к. прямой участок вблизи сетки способствует улучшению аэродинамики. Таким образом, сетка может быть дополнительно установлена в любом месте участка с постоянным поперечным сечением 32. При этом в любом из вариантов предпочтительно, чтобы большая часть высоты каждого из сегмента имела именно переменное поперечное сечение, т.к. именно они дают основной вклад в направление капель дождя. Конкретная высота участков с постоянным сечением (32, 42), а также их место в том или ином сегменте, может определяться опытным путем посредством постановки экспертов и наблюдением за движением капель внутри насадка 1, а также путем моделирования.
[0057] Помимо этого, участок с постоянным сечением 42 в нижней части второго сегмента 4 корпуса 2 может быть необходим для установки туда направляющего аппарата (на Фигурах не показан). Тогда на участке с постоянным сечением 42 дополнительно могут быть расположены пластины направляющего аппарата, стоящие под углом от 0° до 90° к оси потока. Это позволит закручивать поток воздуха, а закрученный поток впоследствии будет захватывать атмосферные осадки и за счет центробежных сил перемещать их к стенкам корпуса 2. Таким образом, это позволит еще более эффективно предотвращать попадание воды в воздуховод.
[0058] Также важно отметить, что вставку 8 предпочтительно размещать между первым 3 и вторым 4 сегментами корпуса 2, как это показано, в частности, на Фиг. 9, т.к. в этом случае проще предотвращать попадание воды. Как видно из Фиг. 9, в этом случае верхний открытый торец 21 корпуса 2 может иметь площадь примерно равную площади центральной части 81 вставки 8. Так, капли дождя не смогут попадать напрямую в воздуховод, а будут остановлены столкновением с центральной частью 81 вставки 8. Если же капли будут падать под углом, то они будут также или попадать в центральную часть 81 вставки 8, или в отверстия 82 вставки 8. При этом в обоих случаях, капли будут достигать отверстий 82, через которые они будут падать на внутреннюю поверхность второго сегмента 4 корпуса 2 и стекать по ним к водоотводящему элементу 7.
[0059] Сама же вставка 8 может быть выполнена в виде пластины со множеством осесимметрично выполненных отверстий 82 вблизи наружного периметра пластины. Однако, они могут быть и расположены хаотично. Важным при этом является выполнение центральной части 81 вставки 8 сплошной. При этом предпочтительно, чтобы площадь центральной части 81 была примерно равной (в пределах 5%) площади поперечного сечения последнего сегмента 5 корпуса 2, что позволит значительно снизить вероятность попадания капель в воздуховод. Также предпочтительно, чтобы суммарная площадь отверстий 82 (которых может быть два или более) была примерно равна (в пределах 10%) площади поперечного сечения последнего сегмента 5 корпуса 2. Это, с свою очередь, позволит снизить аэродинамическое сопротивление на вставке 8. Важно отметить, что вставка 8 с отверстиями 82 сама по себе позволяет снизить аэродинамическое сопротивление по сравнению с известными аналогами, в частности, по сравнению с сетками. Чрезмерное уменьшение суммарной площади отверстий может привести к повышенному аэродинамическому сопротивлению в вставке 8, а чрезмерное увеличение - к значительному снижению прочности и жесткости вставки 8. Отверстия при этом могут иметь любую форму и любое пространственное размещение, например, как это показано на Фигурах 10-13. При этом форма вставки 8 должна иметь форму насадка 1. То есть, если насадок 1 имеет круглое поперечное сечение, то и вставка 8 должна быть выполнена круглой, а если насадок 1 имеет прямоугольное поперечное сечение, то и вставка 8 прямоугольная.
[0060] При этом вставка 8 может не быть выполненной в виде пластины, а иметь, в частности, форму конуса, как это показано на Фиг. 14. Это позволит упростить процесс стекания капель, попавших в центральную часть 81 вставки 8, в отверстия 82. Однако, такая форма вставки 8 подходит только для насадков 1 с круглым поперечным сечением. В случае, если поперечное сечение насадка 1 является прямоугольным, то вставка 8 может быть выполнена в виде пирамиды (на Фигурах не показано). При этом, хотя на Фиг. 14 и показан линейно расширяющийся вариант вставки 8, стенки вставки 8 могут также расширяться и нелинейным образом.
[0061] В случае же изготовления вставки 8 в виде пластины с целью обеспечения стекания капель в отверстия 82, вставка 8 может быть размещена под углом более 0 градусов относительно горизонтали (на Фигурах не показано). В этом случае вставка 8 для насадка 1 с круглым сечением может иметь форму овала или эллипса, а первый 3 и второй 4 сегменты корпуса 2 могут быть выполнены в виде скошенных (со стороны вставки 8) усеченных конусов. В случае же, если поперечное сечение насадка 1 имеет прямоугольную (в том числе квадратную) форму, то и вставка 8 в виде пластины будет иметь прямоугольную форму, а первый 3 и второй 4 сегменты корпуса 2 будут выполнены в виде скошенных (со стороны вставки 8) усеченных пирамид. Причем в обоих случаях скос должен производиться под тем же углом, что и угол наклона вставки 8 относительно горизонтали.
[0062] То же касается и участков с переменным сечением (31, 41) первого 3 и второго 4 сегментов корпуса 2. Изменение из поперечного сечения может быть как линейным, так и нелинейным (экспоненциальным, гиперболическим, параболическим и т.д.).Однако, в случае с вторым сегментом 4 корпуса 2 важно, чтобы нелинейное изменение поперечного сечения не приводило к чрезмерному увеличению горизонтальной компоненты скорости капель (то есть не происходил значительный переход вертикальной компоненты скорости в горизонтальную), т.к. в этом случае повышается вероятность того, что капли проскочат мимо водоотводящего элемента 7 и попадут в воздуховод.
[0063] Важно отметить, что вставка 8 является одним из ключевых элементов настоящего насадка 1. Она не только предотвращает попадание воды в воздуховод, но также и попадание мусора. Более того, вставка 8 описанной конструкции при этом снижает создаваемое ею аэродинамическое сопротивление, по сравнению с известными аналогами.
[0064] Описанный воздуховод может изготавливаться в соответствии со способом изготовления насадка 1 для воздуховода, согласно настоящему изобретению. Согласно способу, сначала изготавливают вставку 8 посредством выполнения в ней отверстий 82 по внешнему периметру вставки 8. Затем закрепляют вставку 8 на одном из открытых торцов первого сегмента 3 корпуса 2, имеющего по крайней мере один участок с переменным сечением 31. Далее соединяют первый сегмент 3 корпуса 2 со вторым сегментом 4 корпуса 2, имеющим открытые торцы и по крайней мере один участок с переменным сечением 41. После этого на нижнем из сегментов корпуса 2 закрепляют последний сегмент 5 корпуса 2, оба торца которого открыты, так, что между последними двумя сегментами (в данном случае 4 и 5) выполняют зазор 6. Затем закрепляют водоотводящий элемент 7 на оконцовке последнего сегмента 5 вблизи зазора 6 под тупым углом к зазору 6.
[0065] Важно отметить, что в рамках настоящего способа важно именно выполнение каждого из этапов, а не их последовательность. Специалисту в области техники очевидно, каким образом данная последовательность может быть изменена с сохранением достигаемого технического результата.
[0066] Предварительно могут изготавливать сегменты (3, 4, 5) корпуса 2 с круглым поперечным сечением, а первый 3 и второй 4 сегменты корпуса 2 могут выполнять в виде усеченных конусов, каждый из которых выполняют расширяющимся в направлении вставки 8. При этом водоотводящий элемент 7 могут выполнять в форме усеченного конуса.
[0067] Предварительно могут изготавливать сегменты (3, 4, 5) корпуса 2 с прямоугольным поперечным сечением, а первый 3 и второй 4 сегменты корпуса 2 могут выполнять в виде усеченных пирамид, каждую из которых выполняют расширяющейся в направлении вставки 8. При этом водоотводящий элемент 7 могут выполнять в форме усеченной пирамиды.
[0068] Второй сегмент 4 могут изготавливать с участком с постоянным сечением 42 вблизи с третьим сегментом (5 или 9). При этом могут дополнительно устанавливать направляющий аппарат (на Фигурах не показан) в водоотводный насадок 1, а на участке с постоянным сечением 42 могут дополнительно размещать пластины направляющего аппарата (на Фигурах не показаны) под углом от 0° до 90° к оси потока. Это позволит закручивать поток воздуха, а закрученный поток впоследствии будет захватывать атмосферные осадки и за счет центробежных сил перемещать их к стенкам корпуса 2. Таким образом, это позволит еще более эффективно предотвращать попадание воды в воздуховод.
[0069] Также могут дополнительно изготавливать четвертый сегмент 5 корпуса 2 и закреплять его на третьем сегменте 9 так, что между третьим 9 и четвертым 5 сегментами образуется зазор 6. При этом на оконцовке четвертого сегмента 5 вблизи зазора 6 могут закреплять водоотводящий элемент 7 под тупым углом к зазору 6.
[0070] Наружную поверхность последнего сегмента 5 корпуса 2 могут выполнять с прорезиненной вставкой или с резьбой (на Фигурах не показано). Это позволит более надежно фиксировать насадок 1 на оконцовке воздуховода, а также дополнительно обеспечить герметизацию соединения.
[0071] Вставку 8 могут выполнять в виде пластины со множеством осесимметрично выполненных отверстий 82 вблизи наружного периметра пластины.
[0072] Важно отметить, что любые дополнительные элементы (признаки) насадка 1 для воздуховода, согласно настоящему изобретению, могут использоваться как все одновременно, так по отдельности и в любой комбинации. При их включении в насадок 1 будут достигаться описанные дополнительные технические результаты. Более того, дополнительные этапы способа изготовления насадка 1 могут также рассматриваться в качестве дополнительных функций, а также дополнительных или основных элементов насадка 1.
[0073] В настоящих материалах заявки представлено предпочтительное раскрытие осуществления заявленного технического решения, которое не должно использоваться как ограничивающее иные, частные воплощения его реализации, которые не выходят за рамки испрашиваемого объема правовой охраны и являются очевидными для специалистов в соответствующей области техники.
| название | год | авторы | номер документа |
|---|---|---|---|
| ВОЗДУХОРАСПРЕДЕЛИТЕЛЬ (ВАРИАНТЫ) (ВР) | 2020 |
|
RU2737265C1 |
| ВОЗДУХОРАСПРЕДЕЛИТЕЛЬ РАВНОМЕРНОЙ РАЗДАЧИ ВОЗДУХА (ВАРИАНТЫ) | 2019 |
|
RU2716295C1 |
| КОЛОННЫЙ МАССООБМЕННЫЙ АППАРАТ | 1999 |
|
RU2147454C1 |
| ГРУЗОЗАХВАТНАЯ ВЕНТИЛЯЦИОННАЯ ФИЛЬТРУЮЩАЯ ГИЛЬЗА | 2013 |
|
RU2562630C2 |
| ВОЗДУХОНАГРЕВАТЕЛЬНЫЙ ЭЛЕКТРОПРИБОР | 1993 |
|
RU2041682C1 |
| Воздухораспределитель (ВР) (Варианты) | 2020 |
|
RU2737859C1 |
| КОМПЛЕКС УТИЛИЗАЦИИ ГАЗОДЫМОВЫХ ВЫБРОСОВ | 2005 |
|
RU2336934C2 |
| УСТРОЙСТВО ДЛЯ ЗАГРУЗКИ СЫПУЧИХ МАТЕРИАЛОВ | 1995 |
|
RU2099270C1 |
| УСТРОЙСТВО ДЛЯ ИНТЕНСИФИКАЦИИ НАГРЕВА НАРУЖНОГО ВОЗДУХА | 2015 |
|
RU2603575C1 |
| УСТРОЙСТВО ДЛЯ ЗАМОРАЖИВАНИЯ ПИЩЕВЫХ ПРОДУКТОВ | 2007 |
|
RU2337281C1 |
Изобретение относится к области вентиляции, в частности к устройствам защиты воздуховодов. Технически результат, обеспечиваемый заявленным техническим решением, заключается в предотвращении попадания воды в воздуховод и снижении аэродинамического сопротивления насадка. Насадок включает корпус с двумя открытыми торцами, выполненный из по крайней мере трех последовательно закрепленных друг на друге сегментов. Первый и второй сегменты выполнены с по крайней мере одним участком с переменным сечением. Между последними двумя сегментами выполнен зазор. Причем на оконцовке последнего сегмента вблизи зазора закреплен водоотводящий элемент под тупым углом к зазору. При этом на одном из торцов первого сегмента закреплена вставка, центральная часть которой выполнена цельной, а вблизи наружного периметра вставки выполнены отверстия. 2 н. и 18 з.п. ф-лы, 14 ил.
1. Насадок для воздуховода, включающий корпус с двумя открытыми торцами, выполненный из по крайней мере трех последовательно закрепленных друг на друге сегментов, при этом первый и второй сегменты выполнены с по крайней мере одним участком с переменным сечением, а между последними двумя сегментами выполнен зазор, причем на оконцовке последнего сегмента со стороны зазора закреплен водоотводящий элемент под тупым углом к зазору, при этом между первым и вторым сегментами корпуса закреплена вставка, центральная часть которой выполнена цельной, а по наружному периметру вставки выполнены отверстия.
2. Насадок по п. 1, отличающийся тем, что имеет круглое поперечное сечение, а первый и второй сегменты корпуса выполнены в виде усеченных конусов, каждый из которых выполнен расширяющимся в направлении вставки.
3. Насадок по п. 1, отличающийся тем, что имеет прямоугольное поперечное сечение, а первый и второй сегменты корпуса выполнены в виде усеченных пирамид, каждая из которых выполнена расширяющейся в направлении вставки.
4. Насадок по п. 1, отличающийся тем, что второй сегмент включает участок с постоянным сечением вблизи с третьим сегментом.
5. Насадок по п. 4, отличающийся тем, что дополнительно включает направляющий аппарат, а на участке с постоянным сечением дополнительно расположены пластины направляющего аппарата, стоящие под углом от 0º до 90º к оси потока.
6. Насадок по п. 1, отличающийся тем, что корпус дополнительно включает четвертый сегмент, а зазор выполнен между третьим и четвертым сегментами, и на оконцовке четвертого сегмента закреплен водоотводящий элемент под тупым углом к зазору.
7. Насадок по п. 1 или 6, отличающийся тем, что наружная поверхность последнего сегмента корпуса выполнена с прорезиненной вставкой или с резьбой.
8. Насадок по п. 2, отличающийся тем, что водоотводящий элемент выполнен в форме усеченного конуса.
9. Насадок по п. 3, отличающийся тем, что водоотводящий элемент выполнен в форме усеченной пирамиды.
10. Насадок по п. 1, отличающийся тем, что вставка выполнена в виде пластины со множеством осесимметрично выполненных отверстий вблизи наружного периметра пластины.
11. Способ изготовления насадка для воздуховода, по которому:
- изготавливают вставку посредством выполнения в ней отверстий по внешнему периметру вставки;
- закрепляют вставку между первым и вторым сегментами корпуса, имеющими по крайней мере по одному участку с переменным сечением;
- соединяют первый сегмент корпуса со вторым сегментом корпуса;
- на нижнем из сегментов корпуса закрепляют последний сегмент корпуса, оба торца которого открыты, так, что между сегментами выполняют зазор;
- закрепляют водоотводящий элемент на оконцовке последнего сегмента вблизи зазора под тупым углом к зазору.
12. Способ по п. 11, отличающийся тем, что предварительно изготавливают сегменты корпуса с круглым поперечным сечением, а первый и второй сегменты корпуса выполняют в виде усеченных конусов, каждый из которых выполняют расширяющимся в направлении вставки.
13. Способ по п. 11, отличающийся тем, что предварительно изготавливают сегменты корпуса с прямоугольным поперечным сечением, а первый и второй сегменты корпуса выполняют в виде усеченных пирамид, каждую из которых выполняют расширяющейся в направлении вставки.
14. Способ по п. 11, отличающийся тем, что второй сегмент изготавливают с участком с постоянным сечением вблизи с третьим сегментом.
15. Способ по п. 14, отличающийся тем, что дополнительно устанавливают направляющий аппарат в водоотводный насадок, а на участке с постоянным сечением дополнительно размещают пластины направляющего аппарата под углом от 0º до 90º к оси потока.
16. Способ по п. 11, отличающийся тем, что дополнительно изготавливают четвертый сегмент корпуса и закрепляют его на третьем сегменте так, что между третьим и четвертым сегментами выполняют зазор, и на оконцовке четвертого сегмента вблизи зазора закрепляют водоотводящий элемент под тупым углом к зазору.
17. Способ по п. 16, отличающийся тем, что наружную поверхность четвертого сегмента корпуса выполняют с прорезиненной вставкой или с резьбой.
18. Способ по п. 12, отличающийся тем, что водоотводящий элемент выполняют в форме усеченного конуса.
19. Способ по п. 13, отличающийся тем, что водоотводящий элемент выполняют в форме усеченной пирамиды.
20. Способ по п. 11, отличающийся тем, что вставку выполняют в виде пластины со множеством осесимметрично выполненных отверстий вблизи наружного периметра пластины.
| АВТОМАТИЧЕСКОЕ ЗАВОДНОЕ УСТРОЙСТВО РАБОЧИХ ПРУЖИН ДЛЯ ПРИВОДОВ ВЫСОКОВОЛЬТНЫХ ВЫКЛЮЧАТЕЛЕЙ | 0 |
|
SU182780A1 |
| US 11274825 B2, 15.03.2022 | |||
| EP 3396259 B1, 01.04.2020 | |||
| US 4655121 A, 07.04.1987 | |||
| 0 |
|
SU160818A1 | |
| DE 29519286 U1, 03.04.1997 | |||
| ФАКЕЛЬНАЯ СВЕЧЕВАЯ УСТАНОВКА | 2012 |
|
RU2507449C2 |
| Устройство для предотвращения попадания атмосферных осадков в сбросную газовую трубу | 1989 |
|
SU1733853A1 |
Авторы
Даты
2025-02-24—Публикация
2024-07-17—Подача