Изобретение относится к индукционным машинам с разомкнутым магнитопроводом и может использоваться для перекачивания, дозирования и перемешивания жидких металлов и сплавов в металлургическом производстве. Для этой цели обычно используют плоские линейные индукционные машины с трехфазными (m=3) и двухфазными (m=2) обмотками.
Использование линейных индукционных машин в металлургическом производстве имеет особенности. В связи с большими зазорами между индукторами машин и жидким металлом в индукторе приходится использовать многовитковые обмотки и укладывать их активные стороны в глубокие и широкие пазы. В этих условиях выполнение обычных типов обмоток с многочисленными изгибами лобовых частей в различных плоскостях становится затруднительным. Особенно трудно изготавливать подобные обмотки для низкочастотных установок. Такая обмотка под воздействием электромагнитных сил «дышит», и в процессе работы ее изоляция перетирается, что приводит к выходу обмотки из рабочего состояния.
Указанные трудности стимулировали разработку обмоток, катушки которых имеют простейшую технологию изготовления и повышенную надежность в работе. Сами обмотки изготовляются из концентрических катушек, проводники которых изгибаются на широкую сторону поперечного сечения катушки.
Так в [1] предложен индуктор линейной индукционной машины, содержащий разомкнутый магнитопровод с двухфазной обмоткой и воздушным охлаждением. Фазы обмотки образованы одинаковыми плоскими катушками, которые подразделены по высоте паза на несколько секций. Секции катушек разных фаз размещены в разных пазах и чередуются между собой по высоте. Такая конструкция обмотки обеспечивает образование продольных каналов для естественного охлаждения, а также позволяет уменьшить расход обмоточных материалов за счет исключения перекрещивания лобовых частей. Недостатками устройства являются его большие поперечные габариты из-за вылета лобовых частей и отсутствие компенсирующих элементов, способных уменьшить вредное влияние пульсирующего магнитного потока, вызванного разомкнутостью магнитопровода.
Известны трехфазные и двухфазные обмотки индукторов линейной индукционной машины, выполненные из концентрических катушек плоской прямоугольной формы и расположенные на стержнях магнитопровода.
Так в [2] предложена линейная индукционная машина, содержащая разомкнутый магнитопровод с трехфазной обмоткой, фазы которой образованы одинаковыми концентрическими катушками плоской формы, которые подразделены по высоте на несколько секций и расположены на стрежнях магнитопровода. Секционная конструкция катушек обмотки способствует созданию каналов для естественного охлаждения (или воздушного принудительного охлаждения), что позволяет работать устройству для перекачивания или перемешивания высокотемпературных жидких металлов.
Известна также индукционная машина, содержащая разомкнутый магнитопровод и двухфазную обмотку из одинаковых концентрических катушек, расположенных на стержнях магнитопровода, причем секции катушек одной фазы расположены на первом и третьем стержнях магнитопровода, а секции катушки другой фазы расположены на втором и четвертом стержнях магнитопровода [3].
Приведенные трехфазная и двухфазная обмотки из плоских концентрических катушек, расположенных на стержнях магнитопроводов, имеют относительно низкие коэффициенты обмоток [4, 5]. Поэтому индукторы линейных индукционных машин с такими обмотками имеют невысокие энергетические и электромагнитные свойства.
Следует отметить, что индукторы с разомкнутым магнитопроводом создают в активной зоне кроме бегущего и пульсирующие магнитные поля. Эти пульсирующие поля индуктируют во вторичной среде (жидком металле) токи, которые приводят к дополнительным потерям мощности, увеличивают несимметричную нагрузку фаз. Для подавления или компенсации указанного пульсирующего магнитного поля предложено выполнить обмотку линейной индукционной машины с наличием на концах индуктора компенсирующих элементов, которые создают необходимую для компенсации пульсирующего магнитного поля намагничивающую силу.
В [4] представлена трехфазная обмотка линейной индукционной машины с фазной зоной 60° (электрических) и расположением катушечных групп в двух плоскостях. Особенностью обмотки является наличие за пределами активной зоны компенсирующих элементов, электрические токи которых способны компенсировать вредное влияние пульсирующего магнитного потока. Роль компенсирующих элементов играют свободные стороны катушек, находящиеся за пределами активной зоны.
В [4] также представлена индукционная машина с двухфазной двухплоскостной обмоткой, особенностью которой является ее намотка в «развалку», то есть катушечные стороны делятся пополам и лобовые части этих половинок отгибаются в разные стороны. Такая обмотка имеет хороший обмоточный коэффициент, а также меньший поперечный размер индуктора за счет меньшего вылета лобовых частей. По эффективности работы и электромагнитным свойствам трех- и двухфазные обмотки мало отличаются друг от друга [6].
Недостатком упомянутых трехфазной и двухфазной двухслойных обмоток линейных индукционных машин (ЛИМ) является различие индуктивных сопротивлений катушек, расположенных в нижнем и верхнем слоях, что приводит к несимметрии токов в фазах и плохим условиям охлаждения.
Наиболее близким к заявляемому является индуктор линейной индукционной машины [7], содержащий разомкнутый магнитопровод с обмоткой, фазы которой образованы катушками, размещенными в разных параллельных плоскостях, причем пазы, в которых размещены проводники катушки одной фазы, чередуются с пазами, в которых размещены проводники катушки другой фазы, и секции обмотки разных фаз чередуются по высоте, имеет часть пазов в активной зоне индуктора и два паза, находящихся вне активной зоны на краях индуктора, а каждая секция обмотки имеет два слоя катушек.
К недостаткам известного индуктора следует отнести большие его продольные размеры из-за большого количества пазов и низкий его обмоточный коэффициент, и как следствие, пониженную энергоэффективность.
В основу изобретения положена задача создания индуктора линейной индукционной машиныдля транспортировки, дозирования и перемешивания жидких металлов с меньшими массогабаритными и улучшенными энергетическими показателями.
Поставленная задача решается тем, что в индукторе линейной индукционной машины, содержащей разомкнутый магнитопровод с многосекционной обмоткой, фазы которой образованы катушками, размещенными в разных параллельных плоскостях, причем пазы, в которых размещены проводники катушек одной фазы, чередуются с пазами, в которых размещены проводники катушек другой фазы, и секции разных фаз чередуются по высоте, причем каждая секция обмотки имеет два слоя катушек, согласно изобретению, индуктор имеет К пазов, включая два крайних полузакрытых паза с расположенными в них проводниками компенсирующих элементов, при этом число К определяется в зависимости от расстояния между индуктором и жидким металлом как
, где
- расстояние индуктора от жидкого металла, м;
2Δ- ширина паза индуктора, м;
m - число фаз.
Изобретение поясняется чертежами, где на фиг. 1 схематично представлен вариант индуктора ЛИМ с трехфазной обмоткой; на фиг. 2 - вариант индуктора ЛИМ с двухфазной обмоткой; на фиг. 3 изображен индуктор ЛИМ, размещенный вблизи ванны с расплавом (жидким металлом);
на фиг. 4 представлен известный индуктор ЛИМ (с расчетной моделью) с двухплоскостной трехфазной обмоткой; на фиг. 5 - предлагаемый индуктор (с расчетной моделью) с трехфазной обмоткой (m=3); на фиг. 6 представлен известный индуктор ЛИМ (с расчетной моделью) с двухплоскостной двухфазной обмоткой; на фиг. 7 - заявляемый индуктор ЛИМ (с расчетной моделью) с двухфазной обмоткой (m=2).
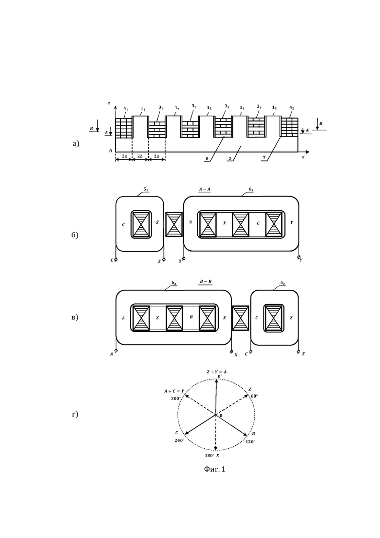
Индуктор линейной индукционной машины с трехфазной обмоткой (фиг. 1) имеет разомкнутый магнитопровод с пятью зубцами 11, 12, …, 15 и ярмом 2. Между зубцами находятся четыре паза 31, 32, 33, 34 в активной зоне индуктора и два паза 41 и 42, расположенных за пределами активной зоны (открытых). В пазах размещены секции трехфазной обмотки, каждая секция состоит из двух слоев (разрез А–А на фиг. 1б и разрез В–В на фиг. 1в). В одном слое находятся катушка 51, охватывающая один зубец 11 магнитопровода, и катушка 61, охватывающая три зубца 13, 14, 15 магнитопровода. В другом слое находятся другая катушка 52, охватывающая один зубец 15, и другая катушка 62, охватывающая три зубца 11, 12 и 13. Одна сторона одной катушки 51, охватывающая один зубец магнитопровода, расположена в левом открытом пазу 41 нижнего слоя, а другая сторона другой катушки 52, охватывающей один зубец, расположена в правом открытом пазу 42 верхнего слоя, находящихся за пределами активной зоны индуктора. Катушки каждого слоя расклиниваются клиньями 7, а между слоями обмотки, как правило, установлены изоляционные вставки с отверстиями, которые образуют воздушные каналы 8. Меньшие катушки 51 и 52, соединенные последовательно (или параллельно), подключены к одной фазе (например, С) трехфазного напряжения, две другие катушки 61 и 62 подключены к другим фазам (например, В и А) соответственно.
При подключении обмотки индуктора (катушки 51, 52, 61 и 62) к источнику переменного трехфазного напряжения в проводниках обмотки индуктора (фиг. 1б), 1в) появляются переменные электрические токи, создается бегущее магнитное поле, приводящее жидкий металл в движение, осуществляя его перемешивание.
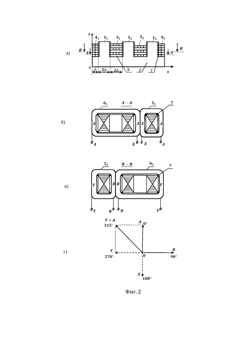
Индуктор линейной индукционной машины с двухфазной обмоткой (фиг. 2) имеет разомкнутый магнитопровод, состоящий из трех зубцов 11
13 и ярма 2. Аналогично между зубцами образованы пазы 31 и 32, находящиеся в активной зоне индуктора, и два крайних паза 41 и 42, находящихся за пределами активной зоны индуктора. В пазах 32, 41 и 42 расположены две катушки слоя обмотки фазы А, при этом соприкасающиеся стороны катушек расположены в пазу 32, находящемся в активной зоне индуктора, а свободные стороны катушек расположены в пазах 41 и 42, находящихся за пределами активной зоны индуктора. В пазах 31, 41 и 42 расположены две катушки каждого слоя обмотки фазы В, при этом соприкасающиеся стороны катушек расположены в находящемся в активной зоне пазу 31, а свободные стороны катушек расположены в пазах 41 и 42, находящихся за пределами активной зоны индуктора. Слои обмотки каждой фазы чередуются по высоте, катушки каждого слоя расклиниваются клиньями 7, между слоями обмотки одной фазы установлены вставки, которые образуют воздушные каналы 8 для охлаждения.
При подключении обмотки (катушки 51, 52, 61 и 62) индуктора к двухфазному напряжению со сдвигом фаз 90° в проводниках обмотки индуктора появятся переменные электрические токи (фиг. 2б, 2в). В проводниках, находящихся в пазах
(активная зона) индуктора, электрические токи сдвинуты относительно друг друга на 90° и изменяются во времени с угловой частотой
. В проводниках, расположенных в открытых пазах 41 и 42 (вне активной зоны), электрические токи имеют начальные фазы 315° и 315° (фиг. 2г). Все токи обмоток создают магнитное поле, близкое к бегущему, амплитуда магнитной индукции которого перемещается по оси
со скоростью
, м/с. Бегущее магнитное поле приводит жидкий металл в движение, осуществляя его перемешивание.
Проведем сравнительный анализ заявляемого индуктора с известными (для m=2 и m=3).
При выборе длины индуктора X и других его параметров (количество пазов К, ширина паза 2Δ) следует учитывать расположение индуктора относительно ванны с жидким металлом (фиг. 3), т.к. для эффективного магнитогидродинамического (МГД) перемешивания расплава металла должно выполняться условие [4]
где
- расстояние индуктора от жидкого металла, м.
Длина индуктора для m-фазной обмотки (m=2, 3) равна
или при знаке равенства в (1) получим, что
Тогда число пазов индуктора K при заданной ширине паза 2Δ или величина 2Δ при заданном числе пазов K определяются соответственно, как
На фиг. 4а) и фиг. 6а) представлены известные индукторы ЛИМ с трехфазной (при K = 8, X = 30
, относительной длине индуктора
=30, сдвиг фаз между токами компенсирующих элементов
) и двухфазной (K=6, длине индуктора Х=20
, относительной длине
=20,
) концентрическими обмотками, которые имеют двухплоскостные лобовые части [4].
Трехфазная обмотка имеет ширину фазной зоны 60° (электрических градусов), то есть электрические токи в соседних пазах активной зоны сдвинуты относительно друг друга по фазе на 60 градусов. Начальные фазы токов в пазах представлены на векторной диаграмме (фиг. 4б). Двухфазная обмотка имеет ширину фазной зоны 90°, а начальные фазы токов в её пазах представлены на векторной диаграмме (фиг. 6б).
Электромагнитное поле, электромагнитные силы и мощности индуктора определяются линейной токовой нагрузкой
На фиг. 4в и фиг. 6в представлены расчетные модели индукторов с трехфазной и двухфазной обмотками соответственно. В трехфазной модели для упрощения принято допущение, что ширина всех пазов равна ширине зубцов и равна 2Δ. А в двухфазной модели ширина крайних пазов равна Δ. При этом в моделях каждый к-ый паз представлен поверхностным слоем с комплексной линейной плотностью тока, А/м. [4]
где
- начальная фаза тока в k-м пазу, а
Здесь
и
- число витков и действующее значение тока в проводниках k-го паза.
Линейную токовую нагрузку
можно представить в виде ряда Фурье с комплексными коэффициентами [6], тогда комплексный коэффициент ряда Фурье по первой гармонике будет равен
- фаза переменного тока в k-м пазу (9)
и
- координата центра и начальная фаза тока в проводниках k-го паза.
Если принять линейную плотность тока во всех пазах одинаковой
, то модуль этого коэффициента можно представить в виде
Здесь обмоточный коэффициент первой гармоники равен
Об эффективности индуктора можно судить по величине
.
В соответствии с расчетной моделью индуктора (фиг. 4в) определим величину обмоточного коэффициента
для известного индуктора с трехфазной обмоткой, для которого в таблице 1 для каждого к-го паза представлены значения 
и
входящие в (9). Здесь в пазах к=1 и к=8 расположены компенсирующие элементы, а в пазах к=2,…,7 находятся токи активной зоны.
Табл.1
На фиг. 4г показаны комплексные векторы линейной плотности тока
в пазах, соответствующие расчетной модели индуктора (фиг. 4в). Здесь видно, что между векторами токов в пазах активной части имеется фазовый сдвиг 12°, кроме этого, сумма токов компенсирующих элементов
направлена против суммы токов активной части. Значение определенного по (11)
составляет
.
Аналогично для индуктора с двухфазной обмоткой в таблице 2 для каждого к-го паза представлены значения
,
,
, входящие в (9). Относительная длина этого индуктора
. На фиг. 6г показаны комплексные векторы линейной плотности тока
в пазах, соответствующие расчетной модели (фиг. 6в). Между векторами токов в пазах активной части фазовый сдвиг составляет 18°, вектор суммы токов компенсирующих элементов
направлен против суммы токов активной части, и значение первого члена ряда Фурье составляет
.
Табл. 2
Уменьшая длину индуктора на величину зубцового деления (4Δ), определим обмоточный коэффициент
для каждого индуктора. Сначала проведем сокращение длины индуктора с трехфазной обмоткой. Так «обрезав» индуктор по линии А-А (фиг. 4а) получим индуктор с числом пазов K=7, с относительной длиной
. В крайнем левом полузакрытом пазу расположены проводники A+C=Y (фиг. 4б). Сдвиг фаз между токами компенсирующих элементов Y и Z составляет
. Построив расчетную модель индуктора с K=7 и определив
и
для каждого паза, по (11) вычисляем обмоточный коэффициент
. Далее «обрезав» индуктор по линии Y-Y (фиг. 4а) получим индуктор с числом пазов K=6,
,
, а обмоточный коэффициент
.
Аналогично определяем значения
для индукторов с K=5, 4 и 3. Результаты сведены в таблицу 3.
Табл. 3






Также уменьшая длину индуктора с двухфазной обмоткой от индуктора с К=6,
до индуктора с K=3 и
(фиг 6а), получим результаты, приведенные в таблице 4.
Табл. 4




Анализируя значения
в таблицах 2 и 3, можно сделать вывод, что сдвиг фаз между токами компенсирующих элементов в индукторе с К пазами (
для трехфазной обмотки и
для двухфазной обмотки) определяется как
Для примера определим параметры индуктора МГД перемешивателей с трехфазной и двухфазной обмотками, расположенных на расстоянии δ=450 мм от жидкого металла (фиг. 3).
Так для индуктора с трехфазной обмоткой (m=3), приняв число пазов K=6, по (5) находим ширину паза
= 0,245м.
По таблице 3 определяем относительную длину индуктора
. Действительная же длина индуктора
.
В соответствии с фиг. 5б для каждого к-го паза определены значения
,
,
, результаты сведены в таблице 5. На фиг. 5в представлена диаграмма токов в пазах для предлагаемого трехфазного индуктора с числом пазов K=6, где видно, что векторы стали более коллинеарные, а обмоточный коэффициент
.
Табл. 5
Проверяем выполнение условия (1)
.
Аналогично и для индуктора с двухфазной обмоткой (m=2), приняв число пазов K=4, по (5) находим ширину паза
По таблице 4 определяем относительную длину индуктора
. Тогда действительная длина индуктора
.
Условие (1) выполняется.
В соответствии с фиг. 7б для каждого к-го паза определены значения
,
,
, результаты сведены в таблице 6.
Табл. 6
Сравнивая массогабаритные и энергетические показатели заявляемого индуктора с известными, можно отметить следующее:
- у известного индуктора с трехфазной обмоткой (фиг. 4а) длина индуктора
, количество пазов К=8, а величина обмоточного коэффициента
Таким образом уменьшение длины индуктора с
до
, что составляет 27%, позволяет повысить эффективность индуктора с
до
, что составляет около 30%;
- у известного индуктора с двухфазной обмоткой (фиг. 6а) длина индуктора
, количество пазов К=6, а величина обмоточного коэффициента
Уменьшение длины индуктора с
до
, что составляет 40%, позволяет повысить энергоэффективность индуктора с
до
, что составляет около 45%.
Таким образом, использование заявляемого изобретения позволит наряду с уменьшением массогабаритных показателей индуктора линейной индукционной машины повысить и его энергоэффективность. Следует отметить, что электромагнитные мощности и силы индуктора пропорциональны квадрату тока. Поскольку обмоточный коэффициент
входит в линейную токовую нагрузку (10), то его увеличение также приводит к квадратичному увеличению сил и мощностей.
Источники информации
1. Патент РФ №1809507 Кл. H02K41/025. Индуктор линейной индукционной машины, опубл. 15.04.93г. БИ №14.
2. Патент РФ №118485 Кл. H02K41/025. Индуктор линейной индукционной машины, опубл. 20.07.2012 г. БИ №20.
3. Патент РФ №109615 Кл. H02K41/025. Индуктор линейной индукционной машины, опубл. 20.10 2011 г. БИ №29.
4. Вольдек А.И. Индукционные магнитогидродинамические машины с жидкометаллическим рабочим телом. Л.: «Энергия», 1970. - 272 с.
5. Вольдек А.И. Электрические машины. Учебник для студентов высших технических заведений. Изд. 2-е перераб. и доп. Л.: «Энергия», 1974 г., 840 с.
6. Тимофеев В.Н., Хацаюк М.Ю. Анализ электромагнитных процессов магнитогидродинамического перемешивания жидких металлов. Электричество, 2017, №1, с. 35-44.
7. Патент РФ №2683596, Кл. Н02К41/025. Индуктор линейной индукционной машины, опубл. 05.08.2019, БИ №22.
| название | год | авторы | номер документа |
|---|---|---|---|
| Индуктор линейной индукционной машины | 2018 |
|
RU2683596C1 |
| ЛИНЕЙНАЯ ИНДУКЦИОННАЯ МАШИНА | 1992 |
|
RU2069443C1 |
| Индуктор линейной индукционной машины | 1989 |
|
SU1809507A1 |
| ПЕЧЬ-МИКСЕР | 2015 |
|
RU2610099C2 |
| СПОСОБ ПЕРЕМЕШИВАНИЯ РАСПЛАВА МЕТАЛЛА И ЭЛЕКТРОМАГНИТНЫЙ ПЕРЕМЕШИВАТЕЛЬ ДЛЯ ЕГО РЕАЛИЗАЦИИ (ВАРИАНТЫ) | 2018 |
|
RU2708036C1 |
| ИНДУКТОР ТРЕХФАЗНОГО ЦИЛИНДРИЧЕСКОГО ЛИНЕЙНОГО ИНДУКЦИОННОГО НАСОСА ИЛИ МАГНИТОГИДРОДИНАМИЧЕСКОЙ МАШИНЫ (ВАРИАНТЫ) | 2007 |
|
RU2358374C1 |
| ПЕЧЬ-МИКСЕР | 2011 |
|
RU2465528C1 |
| ИНДУКТОР ЦИЛИНДРИЧЕСКОГО ЛИНЕЙНОГО ИНДУКЦИОННОГО НАСОСА | 2003 |
|
RU2251197C1 |
| Трехфазная обмотка индукционной машины | 1980 |
|
SU917272A1 |
| ЛИНЕЙНАЯ ИНДУКЦИОННАЯ МАШИНА | 1998 |
|
RU2158463C2 |
Изобретение относится к области электротехники, в частности к индукционным машинам с разомкнутым магнитопроводом, и может использоваться для перекачивания, дозирования и перемешивания жидких металлов и сплавов. Технический результат – улучшение массогабаритных и энергетических показателей. Индуктор линейной индукционной машины содержит разомкнутый магнитопровод с многосекционной обмоткой, фазы которой образованы катушками, размещенными в разных параллельных плоскостях. Пазы, в которых размещены проводники катушек одной фазы, чередуются с пазами, в которых размещены проводники катушек другой фазы. Секции разных фаз чередуются по высоте, причем каждая секция обмотки имеет два слоя катушек. Число пазов в индукторе, включающее два крайних полузакрытых паза с расположенными в них проводниками компенсирующих элементов, определяется как
, где δ - расстояние индуктора от жидкого металла, м; 2Δ - ширина паза индуктора, м; m - число фаз. 7 ил.
Индуктор линейной индукционной машины, содержащий разомкнутый магнитопровод с многосекционной обмоткой, фазы которой образованы катушками, размещенными в разных параллельных плоскостях, причем пазы, в которых размещены проводники катушек одной фазы, чередуются с пазами, в которых размещены проводники катушек другой фазы, и секции разных фаз чередуются по высоте, причем каждая секция обмотки имеет два слоя катушек, отличающий тем, что он имеет К пазов, включая два крайних полузакрытых паза с расположенными в них проводниками компенсирующих элементов, при этом К определяется в зависимости от расстояния между индуктором и жидким металлом как
,
где δ - расстояние индуктора от жидкого металла, м;
2Δ - ширина паза индуктора, м;
m - число фаз.
| Индуктор линейной индукционной машины | 2018 |
|
RU2683596C1 |
| Устройство для разделения чайных флешей на части | 1957 |
|
SU109615A2 |
| Проходной аппарат для крашения волокнистых материалов | 1958 |
|
SU118485A1 |
| Устройство для развертки электронного луча | 1957 |
|
SU123262A1 |
| СПОСОБ ОЦЕНКИ ГЕНОТИПА БЫКОВ-ПРОИЗВОДИТЕЛЕЙ ПО ЖИЗНЕСПОСОБНОСТИ ПОТОМСТВА | 2001 |
|
RU2216170C2 |
Авторы
Даты
2025-02-24—Публикация
2024-09-04—Подача