Область техники
Предлагаемое изобретение относится к детали конструктора, которая может использоваться для игры, обучения, развития мелкой моторики и пространственного мышления, реабилитации больных, построения наглядных моделей, например, молекулярных структур и различных конструкций.
Предшествующий уровень техники
Из патента РФ на изобретение № 2774226, опубликованного 16.06.2022, известна деталь конструктора, куба в своей основе, у которой на каждой из граней есть выступы и углубления, размещенные таким образом, что куб может состыковаться с любым таким же кубом посредством любой из граней, и имеет средство соединения деталей между собой, содержащее поворотный элемент. Выступы выполнены с возможностью обеспечения точного совпадения соединяемых граней в плане при их состыковке, а средство соединения деталей выполнено в виде расположенных на каждой грани детали поворотного диска с кольцевыми выступами, имеющими возможность перемещения в соответствующей кольцевой канавке, выполненной в каждой грани детали, при этом каждая грань имеет подпружиненный выступ для взаимодействия с диском, ограничивающий угол поворота диска для предотвращения его выпадения из куба.
Недостатками известного технического решения являются сложность и многоэтапность изготовления, низкий срок службы из-за того, что множество выступающих элементов могут отломиться, низкая функциональность детали, сложность сборки, а также необходимость использования отдельного ключа для соединения деталей.
Из патента РФ на полезную модель № 31108, опубликованного 20.07.2003, известна деталь конструктора, куба в своей основе, у которого на трех смежных гранях расположено по одному звездообразному выступу, а на противолежащих им гранях - по цилиндрическому углублению, и где на всех ребрах куба имеются продольные выемки, что дает при соединении попарно четырех подобных деталей сквозное отверстие в центре их совмещения.
Недостатками известного технического решения являются сложность и многоэтапность изготовления, низкий срок службы из-за того, что множество выступающих элементов могут отломиться, низкая функциональность детали, сложность сборки, а также быстрый выход детали из строя за счет того, что при длительном использовании углубления будут расширяться и выступы будут плохо в них держаться, в итоге собранная конструкция будет разваливаться.
В качестве наиболее близкого аналога можно конструкционный блок 15 компании FischerTechnik https://pacpac.ru/product/32850-konstrukcionnyj-blok-15/, который представляет собой деталь конструктора, содержащую верхнюю, боковые и нижнюю поверхности. На верхней поверхности расположен выступ, а на боковых поверхностях расположены вертикальные пазы.
Недостатками известного технического решения являются низкая функциональность детали и сложность сборки конструкции из деталей, поскольку соединить детали можно только в боковые выступы и нет возможности соединить верхнюю и нижнюю поверхности деталей напрямую, а также имеется необходимость дополнительных видов деталей для того, чтобы получить желаемые конструкции.
Раскрытие изобретения
Задачей настоящего изобретения и техническим результатом является повышение функциональности и универсальности детали, исключение необходимости в других видах деталей, высокая надежность соединения деталей, долгий срок службы детали, снижение сложности и трудоемкости производства детали.
Для решения вышеуказанной задачи и достижения технического результата предлагается деталь конструктора, включающая
верхнюю грань, имеющую выступ,
боковую поверхность,
нижнюю грань,
отличающаяся тем, что
нижняя грань имеет паз,
при этом паз имеет упор и входное отверстие, расположенное на боковой поверхности.
Под конструктором в настоящей заявке понимается набор деталей для конструирования.
Под гранью в настоящей заявке понимается любая по существу ровная поверхность, на которой отсутствуют выступы от плоскости, не имеющие практической функции (нефункциональные), высотой более 0,5 от высоты выступа. При этом грань может содержать нефункциональные полости (углубления), например, дефекты заливки формы, а также функциональные пазы и выступы для зацепления деталей друг с другом, высота/глубина которых не учитывается в определении ровности поверхности грани.
Под боковой поверхностью в настоящей заявке понимается любая поверхность, находящаяся между верхней гранью и нижней гранью.
Под пазом в настоящей заявке понимается углубление. Паз одной детали выполнен с возможностью вставки в него выступа другой аналогичной детали.
Под выступом в настоящей заявке понимается элемент, возвышающийся над поверхностью грани. Выступ одной детали при соединении двух деталей путем вставки выступа в паз аналогичной детали конструктора позволяет противодействовать движению деталей в противоположные стороны при сохранении возможности вращательного движения деталей относительно друг друга
Выполнение паза на нижней грани и выступа на верхней грани позволяет повысить функциональность и универсальность детали, поскольку обеспечивает возможность соединения двух деталей путем вставки в паз одной детали выступа другой аналогичной детали, формируя таким образом сколько угодно длинную конструкцию, каждый элемент (деталь) которой может вращаться вокруг своей оси.
Таким образом можно сделать высокую башню, змейку и так далее, при этом на каждой детали может быть нанесено свое изображение (буква, цифра, изображение, цвет), а путем вращения отдельных деталей можно менять создаваемое изображение на длинной конструкции в целом.
Размещение входного отверстия паза на боковой поверхности позволяет задвигать (продвигать) выступ другой аналогичной детали в паз через входное отверстие на боковой поверхности, таким образом, можно оснастить паз выступающими частями, которые будут удерживать выступ от выпадения в задвинутом состоянии, что повысит надежность соединения деталей и срок их службы.
При этом можно выполнить выступ в виде шляпки (широкой части выступа) на ножке (узкой части выступа), которые имеют форму цилиндра, призмы или иной похожей формы, что обеспечит возможность вращения одной детали относительно другой детали при сохранении их зацепления. Это позволяет повысить функциональность и универсальность детали, поскольку деталь может вращаться относительно другой детали, без отсоединения от нее, при этом из деталей можно сделать сколько угодно длинную конструкцию.
Повышение функциональности также заключается в том, что такие детали могут использоваться, например, для исследования смешения цветов, если соединить несколько полупрозрачных цветных деталей и пропустить через них свет.
Предпочтительно, боковая поверхность имеет грани, а выступ выполнен таким образом, чтобы при соединении двух аналогичных деталей конструктора путем вставки выступа одной детали конструктора в паз другой детали конструктора указанный выступ противодействовал движению деталей конструктора в противоположные стороны при сохранении возможности вращательного движения деталей конструктора относительно друг друга.
Это позволяет дополнительно повысить надежность соединения деталей, срок их службы, функциональность и универсальность детали, поскольку деталь может вращаться относительно другой детали, без отсоединения от нее, что позволяет собирать различные конструкции, которые будут прочно удерживаться вместе, не разваливаясь и не деформируя детали.
Предпочтительно, верхняя грань, нижняя грань и боковая поверхность вместе образуют одну из следующих форм: куб, параллелепипед, додекаэдр, октаэдр, икосаэдр, усеченная пирамида, призма, цилиндр, усеченный конус, усеченный шар, бочкообразная форма.
Вышеуказанные формы позволяют наиболее полно использовать все преимущества заявленного изобретения, дополнительно повысить надежность соединения деталей, срок их службы, функциональность и универсальность детали. Наиболее предпочтительными формами являются куб, параллелепипед, додекаэдр, октаэдр, призма поскольку они имеют плоские грани на боковых поверхностях, расположенные таким образом, что возможно пространственное соединение нескольких деталей в сколько угодно сложные и большие конструкции, что позволяет дополнительно повысить надежность соединения деталей, срок их службы, функциональность и универсальность детали.
Предпочтительно, по меньшей мере на одной грани боковой поверхности имеется паз, имеющий упор и входное отверстие,
при этом входное отверстие указанного паза расположено на смежной грани или на нижней грани, или на верхней грани,
при этом на любой из граней боковой поверхности расположено не более одного входного отверстия паза, расположенного на грани боковой поверхности.
Наличие пазов на гранях боковых поверхностей позволяет дополнительно повысить функциональность и универсальность детали, поскольку обеспечивает возможность присоединения аналогичных других деталей с разных сторон детали, таким образом, количество возможных комбинаций увеличивается с увеличением количества пазов на боковых гранях.
Повышение функциональности также заключается в том, что такие детали могут использоваться, например, для построения молекулярных структур, а также любых конструкций, на которые способно воображение.
Размещение на любой из граней боковой поверхности не более одного входного отверстия паза, расположенного на грани боковой поверхности, позволяет дополнительно повысить надежность соединения деталей, срок их службы, а также облегчить процесс изготовления детали, поскольку такие пазы на всех гранях могут быть сформированы за один прием.
Предпочтительно, боковая поверхность имеет четыре грани,
причем на каждой грани боковой поверхности имеется паз, имеющий упор и входное отверстие, расположенное на смежной грани боковой поверхности,
при этом на любой из граней боковой поверхности расположено не более одного входного отверстия паза, расположенного на грани боковой поверхности.
Наличие четырех граней с пазами позволяет наиболее полно использовать возможности детали, поскольку обеспечивает возможность присоединения деталей с любой стороны, что позволяет дополнительно повысить функциональность и универсальность детали, надежность соединения деталей, срок их службы, а также облегчить процесс изготовления детали.
Предпочтительно, по меньшей мере на одной грани боковой поверхности имеется выступ, при этом на любой из граней боковой поверхности расположено не более одного выступа.
Размещение на любой из граней не более одного выступа, позволяет дополнительно повысить функциональность и универсальность детали, надежность соединения деталей, срок их службы, а также облегчить процесс изготовления детали.
Наличие дополнительных выступов позволяет дополнительно повысить функциональность и универсальность детали.
Предпочтительно, входное отверстие паза выполнено с возможностью вставки в него выступа другой аналогичной детали конструктора,
при этом паз выполнен с возможностью удерживать выступ другой аналогичной детали конструктора,
а упор выполнен с возможностью ограничения поступательного движения выступа другой аналогичной детали конструктора при сохранении возможности его вращательного движения.
Вышеуказанные характеристики позволяют дополнительно повысить надежность соединения деталей, срок их службы, а также функциональность и универсальность детали, поскольку позволяют удерживать выступ от выпадения в задвинутом состоянии, при сохранении возможности вращения детали. Таким образом, две соединенные детали могут вращаться относительно друг друга без отсоединения, что приводит к возможности сборки из них любых конструкций под любыми углами.
Предпочтительно, упор выполнен таким образом, чтобы при соединении двух аналогичных деталей конструктора центральная ось одной детали конструктора была расположена под углом не более 5°, предпочтительно не более 3°, более предпочтительно не более 2°, к центральной оси другой детали конструктора.
Под центральной осью детали понимается продольная ось детали, проходящая вдоль всей детали посередине в направлении от одной грани к противоположной (противолежащей) грани. Если деталь является симметричной, то центральная ось детали является осью симметрии детали. Подобное выравнивание (по существу соосное размещение) деталей хорошо видно на фиг. 15-17.
Вышеуказанные характеристики позволяют дополнительно повысить надежность соединения деталей, срок их службы, а также функциональность и универсальность детали, поскольку обеспечивают, по существу, соосное размещение деталей, снижая количество выступающих частей, которые могут отломиться, повышая надежность зацепления деталей для создания сколько угодно больших конструкций без риска их разрушения.
Предпочтительно, центральная ось паза, имеющегося на нижней грани, расположена на расстоянии не более 10 мм, предпочтительно не более 3 мм, более предпочтительно не более 2 мм, более предпочтительно не более 1 мм, от центральной оси нижней грани.
Под центральной осью паза понимается продольная ось паза, проходящая вдоль всего паза посередине паза. Если паз является симметричным, то центральная ось паза является осью симметрии паза.
Под центральной осью нижней грани понимается продольная ось нижней грани, проходящая вдоль от одного края грани до противоположного (противолежащего) края грани. Если нижняя грань является симметричной, то центральная ось нижней грани является осью симметрии нижней грани.
Вышеуказанные характеристики позволяют дополнительно повысить надежность соединения деталей, срок их службы, а также функциональность и универсальность детали, поскольку обеспечивают, по существу, соосное размещение деталей, снижая количество выступающих частей, которые могут отломиться, повышая надежность зацепления деталей для создания сколько угодно больших конструкций без риска их разрушения.
Предпочтительно, центральная ось паза, имеющегося на грани боковой поверхности, расположена на расстоянии не более 10 мм, предпочтительно не более 3 мм, более предпочтительно не более 2 мм, более предпочтительно не более 1 мм, от центральной оси этой грани боковой поверхности.
Вышеуказанные характеристики позволяют дополнительно повысить надежность соединения деталей, срок их службы, а также функциональность и универсальность детали, поскольку обеспечивают, по существу, соосное размещение деталей, снижая количество выступающих частей, которые могут отломиться, повышая надежность зацепления деталей для создания сколько угодно больших конструкций без риска их разрушения.
Предпочтительно, центральная ось паза, имеющегося на грани боковой поверхности, расположена под углом не более 5°, предпочтительно не более 3°, более предпочтительно не более 2° к нижней грани, более предпочтительно центральная ось паза, имеющегося на грани боковой поверхности, расположена по существу параллельно нижней грани.
Вышеуказанные характеристики позволяют дополнительно повысить надежность соединения деталей, срок их службы, а также функциональность и универсальность детали, поскольку обеспечивают, по существу, соосное размещение деталей, снижая количество выступающих частей, которые могут отломиться, повышая надежность зацепления деталей для создания сколько угодно больших конструкций без риска их разрушения.
Предпочтительно, отношение длины L6 паза, имеющегося на нижней грани, к ширине L1 нижней грани составляет 0,4-0,8, предпочтительно 0,5-0,7, более предпочтительно 0,55-0,65,
а отношение глубины H6 паза, имеющегося на нижней грани, к высоте H1 грани боковой поверхности составляет 0,05-0,5, предпочтительно 0,1-0,4.
Вышеуказанные характеристики позволяют дополнительно повысить надежность соединения деталей, срок их службы, а также функциональность и универсальность детали, поскольку обеспечивают, по существу, соосное размещение деталей, снижая количество выступающих частей, которые могут отломиться, повышая надежность зацепления деталей для создания сколько угодно больших конструкций без риска их разрушения.
Предпочтительно, отношение длины L6 паза, имеющегося на грани боковой поверхности, к ширине L1 грани боковой поверхности составляет 0,4-0,8, предпочтительно 0,5-0,7, более предпочтительно 0,55-0,65,
а отношение глубины H6 паза, имеющегося на грани боковой поверхности, к высоте H1 смежной грани боковой поверхности составляет 0,05-0,5, предпочтительно 0,1-0,4.
Вышеуказанные характеристики позволяют дополнительно повысить надежность соединения деталей, срок их службы, а также функциональность и универсальность детали, поскольку обеспечивают, по существу, соосное размещение деталей, снижая количество выступающих частей, которые могут отломиться, повышая надежность зацепления деталей для создания сколько угодно больших конструкций без риска их разрушения.
Предпочтительно, выступ имеет узкую часть и широкую часть, при этом отношение высоты узкой части h к высоте выступа H5 составляет 0,3-0,8, предпочтительно 0,4-0,7, более предпочтительно 0,45-0,55,
при этом отношение ширины W5 широкой части выступа к ширине W6 паза составляет 0,6-1, предпочтительно 0,7-1, более предпочтительно 0,8-1.
Вышеуказанные характеристики позволяют дополнительно повысить надежность соединения деталей, срок их службы, а также функциональность и универсальность детали, поскольку обеспечивают наилучшие условия для зацепления деталей, снижая разбалтывание соединения, обеспечивая благоприятные условия для создания сколько угодно больших конструкций без риска их разрушения.
Предпочтительно, широкая часть выступа имеет плоские поверхности, выполненные с возможностью взаимодействия с пазом аналогичной детали конструктора таким образом, чтобы при вставке выступа в указанный паз и при повороте на заданный градус выступ удерживался в этом положении.
Вышеуказанные характеристики позволяют дополнительно повысить надежность соединения деталей, срок их службы, а также функциональность и универсальность детали, поскольку позволяют обеспечить фиксацию деталей под заданным углом относительно друг друга, дополнительно расширяя возможности для создания устойчивых пространственных конструкций различных форм и снижая износ деталей в собранной конструкции.
Предпочтительно, узкая часть выступа имеет плоские поверхности, выполненные с возможностью взаимодействия с пазом аналогичной детали конструктора таким образом, чтобы при вставке выступа в указанный паз и при повороте на заданный градус выступ удерживался в этом положении.
Вышеуказанные характеристики позволяют дополнительно повысить надежность соединения деталей, срок их службы, а также функциональность и универсальность детали, поскольку позволяют обеспечить фиксацию деталей под заданным углом относительно друг друга, дополнительно расширяя возможности для создания устойчивых пространственных конструкций различных форм и снижая износ деталей в собранной конструкции.
Предпочтительно, деталь выполнена из пластичного материала, предпочтительно выбранного из следующих: пластик, полиэтилентерефталат, полиэтилен высокой плотности, полиэтилен низкого давления, поливинилхлорид, полиэтилен низкой плотности, полиэтилен высокого давления, полипропилен, полистирол, поликарбонат, полиамид и прочие виды пластмасс.
Вышеуказанные характеристики позволяют дополнительно повысить надежность соединения деталей, срок их службы, а также функциональность и универсальность детали, поскольку позволяют обеспечить точное выполнение детали по заданным размерам, дополнительно расширяя возможности для создания устойчивых пространственных конструкций различных форм.
Предпочтительно, деталь выполнена из прозрачного или полупрозрачного материала.
Вышеуказанные характеристики позволяют дополнительно повысить функциональность и универсальность детали, поскольку позволяют обеспечить возможность использования прозрачности/полупрозрачности для смешения цветов при пропускании света через собранную конструкцию.
Также для решения вышеуказанной задачи и достижения технического результата предлагается конструктор, содержащий по меньшей мере две вышеуказанные детали.
Также для решения вышеуказанной задачи и достижения технического результата предлагается способ производства вышеуказанной детали конструктора, включающий следующие операции:
a) закрепление заготовки детали,
b) формирование выступа на верхней грани,
c) формирование паза на нижней грани.
Вышеуказанные операции позволяют облегчить процесс изготовления детали и повысить надежность соединения деталей, срок их службы, а также функциональность и универсальность детали, поскольку позволяют обеспечить точное выполнение детали по заданным размерам, расширяя возможности для создания устойчивых пространственных конструкций различных форм.
Предпочтительно, способ дополнительно включает операцию формирования паза на каждой грани боковой поверхности, при этом операцию формирования паза на нижней грани осуществляют параллельно с операцией формирования пазов на гранях боковой поверхности.
Предпочтительно, одновременно с формированием паза на нижней грани осуществляют формирование паза на каждой грани боковой поверхности.
Предпочтительно, боковая поверхность имеет четыре грани, при этом формирование паза на каждой грани боковой поверхности и на нижней грани осуществляют путем введения в заготовку детали средства для создания паза со стороны каждой из четырех граней боковой поверхности.
Вышеуказанные операции позволяют дополнительно облегчить процесс изготовления детали и повысить надежность соединения деталей, срок их службы, а также функциональность и универсальность детали, поскольку позволяют за один прием параллельно сделать деталь по любому из вариантов, включая лучший вариант (пятый), являющийся самым сложным с точки зрения изготовления, поскольку нужно сделать одновременно пять пазов с разных сторон детали: четыре по бокам и один снизу (нижний паз делают путем подачи средства для создания паза со стороны одной из боковых граней, потому что вход нижнего паза находится на боковой грани), а также позволяет обеспечить точное выполнение детали по заданным размерам, расширяя возможности для создания устойчивых пространственных конструкций различных форм.
Предпочтительно, для создания паза на нижней грани и одной из граней боковой поверхности используют одно средство для создания паза.
Это позволяет дополнительно облегчить процесс изготовления детали и повысить надежность соединения деталей, срок их службы, а также функциональность и универсальность детали, поскольку позволяет с меньшим количеством инструментов создать за один прием деталь по любому из вариантов, включая лучший вариант (пятый), а также позволяет обеспечить точное выполнение детали по заданным размерам, расширяя возможности для создания устойчивых пространственных конструкций различных форм.
Предпочтительно, во время операции формирования выступа формируют узкую часть и широкую часть выступа, причем на узкой части выступа формируют плоские поверхности, расположенные под заданным углом.
Предпочтительно, во время операции формирования выступа формируют узкую часть и широкую часть выступа, причем на широкой части выступа формируют плоские поверхности, расположенные под заданным углом.
Вышеуказанные операции позволяют дополнительно повысить надежность соединения деталей, срок их службы, а также функциональность и универсальность детали, поскольку плоские поверхности, расположенные под заданным углом, на широкой и/или узкой части выступа позволяют обеспечить фиксацию деталей под заданным углом относительно друг друга, дополнительно расширяя возможности для создания устойчивых пространственных конструкций различных форм и снижая износ деталей в собранной конструкции.
Краткое описание чертежей
Чертежи представлены для лучшего понимания изобретения, однако специалисту в данной области техники будет очевидно, что раскрытое изобретение не ограничивается вариантом, представленным на них.
На фиг. 1 представлен объемный вид заявленной детали в соответствии с первым вариантом осуществления с первого ракурса.
На фиг. 2 представлен объемный вид заявленной детали в соответствии с первым вариантом осуществления со второго ракурса.
На фиг. 3 представлен объемный вид заявленной детали в соответствии с первым вариантом осуществления с третьего ракурса.
На фиг. 4 представлен объемный вид заявленной детали в соответствии со вторым вариантом осуществления.
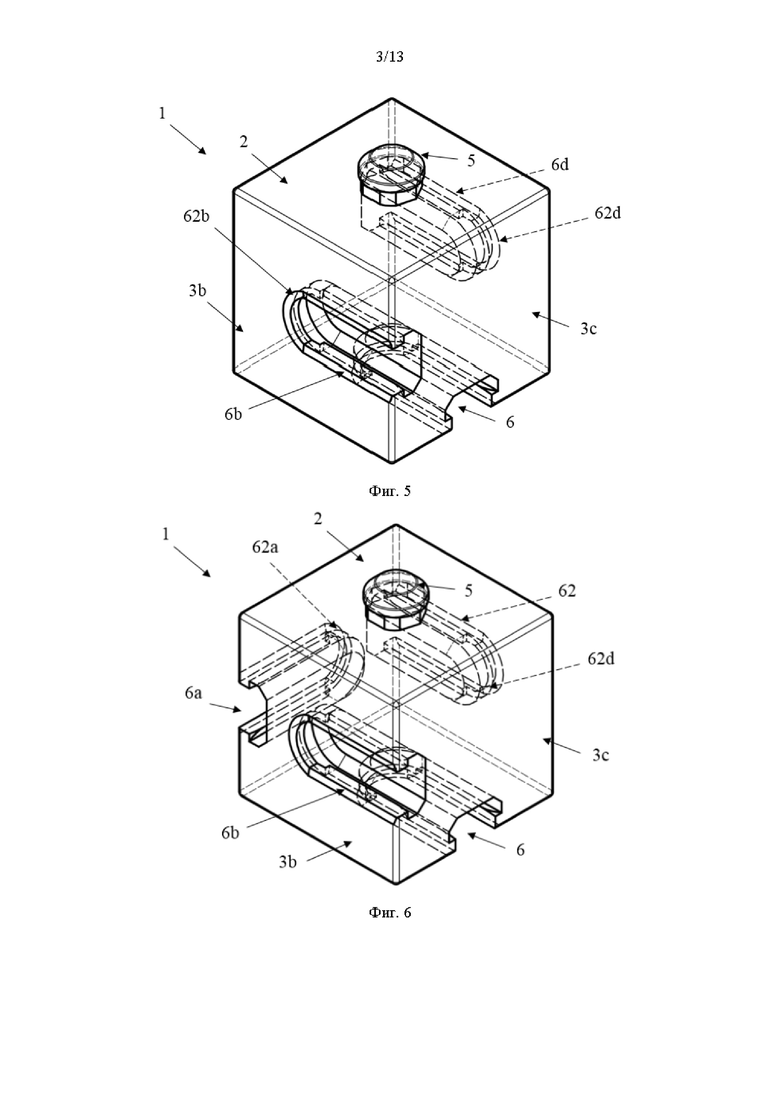
На фиг. 5 представлен объемный вид заявленной детали в соответствии с третьим вариантом осуществления.
На фиг. 6 представлен объемный вид заявленной детали в соответствии с четвертым вариантом осуществления.
На фиг. 7 представлен объемный вид заявленной детали в соответствии с пятым (лучшим) вариантом осуществления.
На фиг. 8 представлен объемный вид заявленной детали в соответствии с шестым вариантом осуществления.
На фиг. 9 представлен объемный вид заявленной детали в соответствии с седьмым вариантом осуществления.
На фиг. 10 представлен объемный вид заявленной детали в соответствии с восьмым вариантом осуществления.
На фиг. 11 представлен объемный вид заявленной детали в соответствии с девятым вариантом осуществления.
На фиг. 12 представлен объемный вид заявленной детали в соответствии с десятым вариантом осуществления.
На фиг. 13 представлен объемный вид заявленной детали в соответствии с одиннадцатым вариантом осуществления.
На фиг. 14 представлен объемный вид двух заявленных деталей в соответствии с пятым (лучшим) вариантом осуществления в процессе их соединения.
На фиг. 15 представлен объемный вид двух заявленных деталей в соответствии с пятым (лучшим) вариантом осуществления после их соединения.
На фиг. 16 представлен вид сверху двух заявленных деталей в соответствии с пятым (лучшим) вариантом осуществления после их соединения.
На фиг. 17 представлено изображение с фиг. 16 в разрезе по линии 1-1.
На фиг. 18 представлен увеличенный местный вид А места соединения двух заявленных деталей с фиг. 17.
На фиг. 19 представлено изображение с фиг. 16 в разрезе по линии 2-2.
На фиг. 20 представлен увеличенный местный вид B места соединения двух заявленных деталей с фиг. 17.
На фиг. 21 представлено изображение с фиг. 16 в разрезе по линии 3-3.
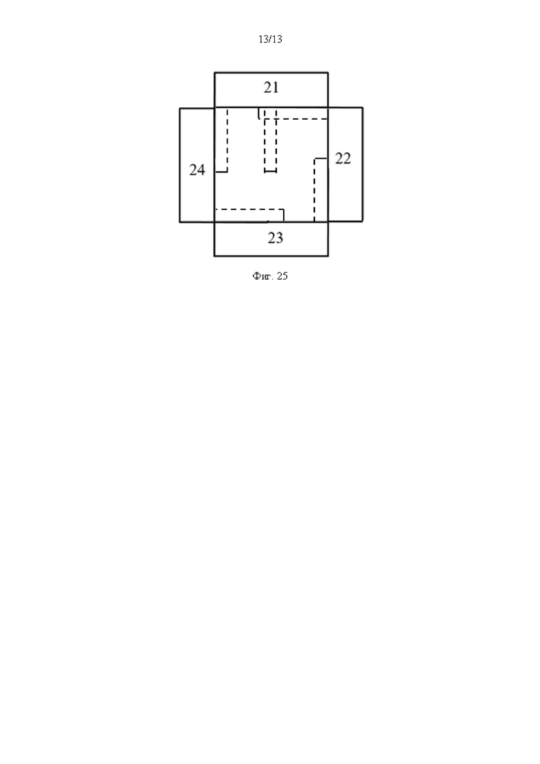
На фиг. 22-25 представлено схематичное изображение процесса создания пазов на гранях боковых поверхностей детали конструктора согласно настоящему изобретению.
Варианты осуществления изобретения и лучший вариант осуществления изобретения
Описанные примеры осуществления приведены исключительно в целях иллюстрации. Специалисту будет очевидно, что возможны и иные варианты осуществления без изменения сущности изобретения.
На фиг. 1-21 показаны разные варианты осуществления детали 1, 101, 102 конструктора, которая имеет верхнюю грань 2, нижнюю грань 4 и боковую поверхность, имеющую грани 3a, 3b, 3c. 3d боковой поверхности (далее также - грани).
На верхней грани 2 имеется выступ 5, имеющий узкую часть 52 (ножку, сужение) и широкую часть 53 (шляпку, утолщение), причем широкая часть имеет выступающую часть 51, которая выступает по отношению к узкой части 52.
Выступ 5 имеет высоту H5, узкая часть 52 имеет высоту h и ширину a, широкая часть 53 имеет ширину W5.
Узкая часть 52 имеет многоугольную форму, позволяющую удерживать деталь при повороте на заданных углах N1, N2, N3. Например, можно сделать так, чтобы деталь удерживалась при повороте на N1=45°, N2=60°, N3=75°, и при достижении заданного угла, например, 45° дальнейшее вращение вызывало щелчок, информирующий о том, что угол вращения превысил заданный. Подробно это показано на фиг. 19-21.
На нижней грани 4 имеется паз 6, имеющий входное отверстие на грани 3c боковой поверхности, выступающую часть 61 и упор 62.
Паз 6 имеет глубину (высоту) H6, ширину W6, длину L6.
Верхняя грань 2, нижняя грань 4 и грани 3a, 3b, 3c. 3d боковой поверхности имеют высоту H1 и ширину L1, которые равны друг другу.
(расстояние между двумя противолежащими плоскими поверхностями)
(максимальное расстояние между противолежащими точками, максимальная ширина)
Выступ 5 расположен, по существу, в центре верхней грани 2, а паз 6 расположен, по существу, вдоль центральной оси нижней грани 4.
Паз 6 выполнен таким образом, что выступ 5 другой аналогичной детали может задвигаться в паз через входное отверстие на грани 3c до упора 62, при этом выступающая часть 61 удерживает выступ 5 от выпадения из паза 6 за счет зацепления с выступающей частью 51 выступа 5.
Ребра 7, представляющие собой места соединения граней 3a, 3b, 3c, 3d друг с другом или верхней грани 2 и граней 3a, 3b, 3c, 3d, или нижней грани 4 и граней 3a, 3b, 3c, 3d, имеют гладкую, ровную, не режущую поверхность, позволяющую избежать порезов при работе с конструктором.
Одинаковые позиции на чертежах означают конструктивно одинаковые части детали 1, 101, 102, поэтому, если не будет указано специально обратное, к ним применимы все утверждения, которые ранее были сделаны по отношению к другим частям детали с аналогичным номером позиции.
Несмотря на то, что на чертежах деталь 1, 101, 102 конструктора имеет форму куба, она может иметь любую форму, главное, чтобы у нее была верхняя грань 2, на которой можно сделать выступ 5, и нижняя грань 4, на которой можно сделать паз 6, например, деталь конструктора может иметь форму параллелепипеда, додекаэдра, октаэдра, икосаэдра, усеченной пирамиды, призмы, цилиндра, усеченного конуса, усеченного шара, бочкообразную форму (форму бочонка) и так далее.
Кубическая форма детали 1, 101, 102 конструктора является наиболее предпочтительной, поскольку она позволяет сделать деталь наиболее универсальной.
Форма выступа 5 может иметь любую форму, предпочтительно, чтобы она имела узкую часть 52 (ножку, сужение) и широкую часть 53, например, выступ может иметь форму гриба, усеченного конуса, усеченной пирамиды, призмы, шара, усеченного шара и так далее.
В первом варианте осуществления, показанном на фиг. 1-3, деталь 1 конструктора имеет один выступ 5 и один паз 6.
Выступ 5 расположен, по существу, в центре верхней грани 2.
Паз 6 расположен по существу вдоль центральной оси нижней грани 4 и выполнен таким образом, что выступ 5 другой аналогичной детали 1 может задвигаться в паз через входное отверстие на грани 3c до упора 62 таким образом, чтобы обе соединенные детали 1 были расположены по существу соосно.
Выступающая часть 61 паза 6 выполнена с возможностью удерживать выступ 5 от выпадения из паза 6 за счет зацепления с выступающей частью 51 выступа 5.
Таким образом, при зацеплении паза 6 детали 1 и выступа 5 другой аналогичной детали 1 каждая из деталей может вращаться вокруг своей оси или может быть отсоединена от другой детали путем выдвижения выступа 5 из паза 6, но движение деталей в других направлениях без приложения значительных усилий затруднено.
Во втором варианте осуществления, показанном на фиг. 4, деталь 1 конструктора имеет один выступ 5 и два паза: паз 6 и паз 6b, расположенный на грани 3b и имеющий упор 62b.
Паз 6b имеет форму, аналогичную форме паза 6, при этом входное отверстие паза 6b расположено на той же грани 3c, на которой расположено входное отверстие паза 6.
Паз 6b расположен, по существу, вдоль центральной оси грани 3b и, по существу, параллельно нижней грани 4.
Паз 6b выполнен таким образом, что выступ 5 другой аналогичной детали 1 может задвигаться в паз через входное отверстие на грани 3c до упора 62b таким образом, чтобы обе соединенные детали 1 были расположены, по существу, соосно.
Выступающая часть паза 6b выполнена с возможностью удерживать выступ 5 от выпадения из паза 6b за счет зацепления с выступающей частью 51 выступа 5.
Таким образом, при зацеплении паза 6b детали 1 и выступа 5 другой аналогичной детали 1 каждая из деталей может вращаться вокруг своей оси или может быть отсоединена от другой детали путем выдвижения выступа 5 из паза 6b, но движение деталей в других направлениях без приложения значительных усилий затруднено.
В третьем варианте осуществления, показанном на фиг. 5, деталь 1 конструктора имеет один выступ 5 и три паза: паз 6, паз 6b и паз 6d, расположенный на грани 3d и имеющий упор 62d.
Паз 6d имеет форму, аналогичную форме паза 6, при этом входное отверстие паза 6d расположено на грани 3a, которая расположена с противоположной стороны от грани 3c, на которой расположено входное отверстие паза 6.
Паз 6d расположен, по существу, вдоль центральной оси грани 3d и, по существу, параллельно нижней грани 4.
Паз 6d выполнен таким образом, что выступ 5 другой аналогичной детали 1 может задвигаться в паз через входное отверстие на грани 3a до упора 62d таким образом, чтобы обе соединенные детали 1 были расположены, по существу, соосно.
Выступающая часть паза 6d выполнена с возможностью удерживать выступ 5 от выпадения из паза 6d за счет зацепления с выступающей частью 51 выступа 5.
Таким образом, при зацеплении паза 6d детали 1 и выступа 5 другой аналогичной детали 1 каждая из деталей может вращаться вокруг своей оси или может быть отсоединена от другой детали путем выдвижения выступа 5 из паза 6d, но движение деталей в других направлениях без приложения значительных усилий затруднено.
В четвертом варианте осуществления, показанном на фиг. 6, деталь 1 конструктора имеет один выступ 5 и четыре паза: паз 6, паз 6b, паз 6d и паз 6a, расположенный на грани 3a и имеющий упор 62a.
Паз 6a имеет форму, аналогичную форме паза 6, при этом входное отверстие паза 6a расположено на грани 3b, которая расположена с противоположной стороны от грани 3c, на которой расположено входное отверстие паза 6.
Паз 6a расположен, по существу, вдоль центральной оси грани 3a и, по существу, параллельно нижней грани 4.
Паз 6a выполнен таким образом, что выступ 5 другой аналогичной детали 1 может задвигаться в паз через входное отверстие на грани 3b до упора 62a таким образом, чтобы обе соединенные детали 1 были расположены, по существу, соосно.
Выступающая часть паза 6a выполнена с возможностью удерживать выступ 5 от выпадения из паза 6a за счет зацепления с выступающей частью 51 выступа 5.
Таким образом, при зацеплении паза 6a детали 1 и выступа 5 другой аналогичной детали 1 каждая из деталей может вращаться вокруг своей оси или может быть отсоединена от другой детали путем выдвижения выступа 5 из паза 6a, но движение деталей в других направлениях без приложения значительных усилий затруднено.
В пятом (лучшем) варианте осуществления, показанном на фиг. 7, 14-20, деталь 1 конструктора имеет один выступ 5 и пять пазов: паз 6, паз 6b, паз 6d, паз 6a и паз 6c, расположенный на грани 3c и имеющий упор 62c.
Паз 6c имеет форму, аналогичную форме паза 6, при этом входное отверстие паза 6c расположено на грани 3d боковой поверхности.
Таким образом, входное отверстие каждого из пазов, расположенных на боковой поверхности, находится на смежной грани, при этом на каждой грани расположено только одно входное отверстие паза, расположенного на грани боковой поверхности.
Паз 6c расположен, по существу, вдоль центральной оси грани 3с и, по существу, параллельно нижней грани 4.
Паз 6c выполнен таким образом, что выступ 5 другой аналогичной детали 1 может задвигаться в паз через входное отверстие на грани 3d до упора 62c таким образом, чтобы обе соединенные детали 1 были расположены, по существу, соосно.
Выступающая часть паза 6c выполнена с возможностью удерживать выступ 5 от выпадения из паза 6c за счет зацепления с выступающей частью 51 выступа 5.
Таким образом, при зацеплении паза 6c детали 1 и выступа 5 другой аналогичной детали 1 каждая из деталей может вращаться вокруг своей оси или может быть отсоединена от другой детали путем выдвижения выступа 5 из паза 6c, но движение деталей в других направлениях без приложения значительных усилий затруднено.
В шестом варианте осуществления, показанном на фиг. 8, деталь 1 конструктора имеет два выступа: 5 и 5c, и один паз 6.
Выступ 5 расположен, по существу, в центре верхней грани 2.
Выступ 5c расположен, по существу, в центре грани 3c.
Паз 6 расположен по существу вдоль центральной оси нижней грани 4 и выполнен таким образом, что любой из выступов 5 или 5c другой аналогичной детали 1 может задвигаться в паз через входное отверстие на грани 3c до упора 62 таким образом, чтобы обе соединенные детали 1 были расположены по существу соосно.
Выступающая часть 61 паза 6 выполнена с возможностью удерживать выступ 5 или 5c от выпадения из паза 6 за счет зацепления с выступающей частью 51 выступа 5.
Таким образом, при зацеплении паза 6 детали 1 и выступа 5 или 5c другой аналогичной детали 1 каждая из деталей может вращаться вокруг своей оси или может быть отсоединена от другой детали путем выдвижения выступа 5 или 5c из паза 6, но движение деталей в других направлениях без приложения значительных усилий затруднено.
В седьмом варианте осуществления, показанном на фиг. 9, деталь 1 конструктора имеет два выступа: 5 и 5d, и три паза: паз 6, паз 6c1 и паз 6a1.
Паз 6a1 расположен, по существу, вдоль центральной оси грани 3a и имеет упор 62a1, паз 6c1 расположен, по существу, вдоль центральной оси грани 3c и имеет упор 62c1.
Паз 6a1 имеет форму, аналогичную форме паза 6, при этом входное отверстие паза 6a1 расположено на нижней грани 4, а паз 6c1 имеет форму, аналогичную форме паза 6, при этом входное отверстие паза 6c1 расположено на верхней грани 2.
Паз 6a1 выполнен таким образом, что выступ 5 или 5d другой аналогичной детали 1 может задвигаться в паз через входное отверстие на нижней грани 4 до упора 62a1 таким образом, чтобы обе соединенные детали 1 были расположены, по существу, соосно.
Паз 6c1 выполнен таким образом, что выступ 5 или 5d другой аналогичной детали 1 может задвигаться в паз через входное отверстие на нижней грани 4 до упора 62c1 таким образом, чтобы обе соединенные детали 1 были расположены, по существу, соосно.
Выступающая часть паза 6a1 выполнена с возможностью удерживать выступ 5 или 5d от выпадения из паза 6a1 за счет зацепления с выступающей частью 51 выступа 5 или 5d.
Выступающая часть паза 6c1 выполнена с возможностью удерживать выступ 5 или 5d от выпадения из паза 6c1 за счет зацепления с выступающей частью 51 выступа 5 или 5d.
Таким образом, при зацеплении паза 6c1 или паза 6c1 детали 1 и выступа 5 или 5d другой аналогичной детали 1 каждая из деталей может вращаться вокруг своей оси или может быть отсоединена от другой детали путем выдвижения соответствующего выступа из соответствующего паза, но движение деталей в других направлениях без приложения значительных усилий затруднено.
В восьмом варианте осуществления, показанном на фиг. 10, деталь 1 конструктора имеет два выступа: 5 и 5с, и три паза: паз 6, паз 6a и паз 6d.
Паз 6a имеет форму, аналогичную форме паза 6, при этом входное отверстие паза 6a расположено на грани 3b, которая расположена с противоположной стороны от грани 3c, на которой расположено входное отверстие паза 6.
Паз 6a расположен, по существу, вдоль центральной оси грани 3a и, по существу, параллельно нижней грани 4.
Паз 6a выполнен таким образом, что выступ 5 или 5с другой аналогичной детали 1 может задвигаться в паз через входное отверстие на грани 3b до упора 62a таким образом, чтобы обе соединенные детали 1 были расположены, по существу, соосно.
Выступающая часть паза 6a выполнена с возможностью удерживать выступ 5 или 5с от выпадения из паза 6a за счет зацепления с выступающей частью 51 выступа.
Таким образом, при зацеплении паза 6a детали 1 и выступа 5 или 5с другой аналогичной детали 1 каждая из деталей может вращаться вокруг своей оси или может быть отсоединена от другой детали путем выдвижения соответствующего выступа из соответствующего паза, но движение деталей в других направлениях без приложения значительных усилий затруднено.
Паз 6d имеет форму, аналогичную форме паза 6, при этом входное отверстие паза 6d расположено на грани 3a, которая расположена с противоположной стороны от грани 3c, на которой расположено входное отверстие паза 6.
Паз 6d расположен, по существу, вдоль центральной оси грани 3d и, по существу, параллельно нижней грани 4.
Паз 6d выполнен таким образом, что выступ 5 или 5с другой аналогичной детали 1 может задвигаться в паз через входное отверстие на грани 3a до упора 62d таким образом, чтобы обе соединенные детали 1 были расположены, по существу, соосно.
Выступающая часть паза 6d выполнена с возможностью удерживать выступ 5 или 5с от выпадения из паза 6d за счет зацепления с выступающей частью 51 выступа.
Таким образом, при зацеплении паза 6d детали 1 и выступа 5 или 5с другой аналогичной детали 1 каждая из деталей может вращаться вокруг своей оси или может быть отсоединена от другой детали путем выдвижения соответствующего выступа из соответствующего паза, но движение деталей в других направлениях без приложения значительных усилий затруднено.
В девятом варианте осуществления, показанном на фиг. 11, деталь 1 конструктора имеет три выступа: 5, 5с и 5d, и три паза: паз 6, паз 6a и паз 6b.
Паз 6a имеет форму, аналогичную форме паза 6, при этом входное отверстие паза 6a расположено на грани 3b, которая расположена с противоположной стороны от грани 3c, на которой расположено входное отверстие паза 6.
Паз 6a расположен, по существу, вдоль центральной оси грани 3a и, по существу, параллельно нижней грани 4.
Паз 6a выполнен таким образом, что выступ 5, 5с или 5d другой аналогичной детали 1 может задвигаться в паз через входное отверстие на грани 3b до упора 62a таким образом, чтобы обе соединенные детали 1 были расположены, по существу, соосно.
Выступающая часть паза 6a выполнена с возможностью удерживать выступ 5 от выпадения из паза 6a за счет зацепления с выступающей частью 51 выступа.
Таким образом, при зацеплении паза 6a детали 1 и выступа 5, 5с или 5d другой аналогичной детали 1 каждая из деталей может вращаться вокруг своей оси или может быть отсоединена от другой детали путем выдвижения соответствующего выступа из соответствующего паза, но движение деталей в других направлениях без приложения значительных усилий затруднено.
Паз 6b имеет форму, аналогичную форме паза 6, при этом входное отверстие паза 6b расположено на той же грани 3c, на которой расположено входное отверстие паза 6.
Паз 6b расположен, по существу, вдоль центральной оси грани 3b и, по существу, параллельно нижней грани 4.
Паз 6b выполнен таким образом, что выступ 5, 5с или 5d другой аналогичной детали 1 может задвигаться в паз через входное отверстие на грани 3c до упора 62b таким образом, чтобы обе соединенные детали 1 были расположены, по существу, соосно.
Выступающая часть паза 6b выполнена с возможностью удерживать выступ 5, 5с или 5d от выпадения из паза 6b за счет зацепления с выступающей частью 51 выступа.
Таким образом, при зацеплении паза 6b детали 1 и выступа 5, 5с или 5d другой аналогичной детали 1 каждая из деталей может вращаться вокруг своей оси или может быть отсоединена от другой детали путем выдвижения соответствующего выступа из соответствующего паза, но движение деталей в других направлениях без приложения значительных усилий затруднено.
В десятом варианте осуществления, показанном на фиг. 12, деталь 1 конструктора имеет четыре выступа: 5, 5a, 5с и 5d, и два паза: паз 6 и паз 6b.
Паз 6b имеет форму, аналогичную форме паза 6, при этом входное отверстие паза 6b расположено на той же грани 3c, на которой расположено входное отверстие паза 6.
Паз 6b расположен, по существу, вдоль центральной оси грани 3b и, по существу, параллельно нижней грани 4.
Паз 6b выполнен таким образом, что выступ 5, 5a, 5с или 5d другой аналогичной детали 1 может задвигаться в паз через входное отверстие на грани 3c до упора 62b таким образом, чтобы обе соединенные детали 1 были расположены, по существу, соосно.
Выступающая часть паза 6b выполнена с возможностью удерживать выступ 5, 5a, 5с или 5d от выпадения из паза 6b за счет зацепления с выступающей частью 51 выступа.
Таким образом, при зацеплении паза 6b детали 1 и выступа 5, 5a, 5с или 5d другой аналогичной детали 1 каждая из деталей может вращаться вокруг своей оси или может быть отсоединена от другой детали путем выдвижения соответствующего выступа из соответствующего паза, но движение деталей в других направлениях без приложения значительных усилий затруднено.
В одиннадцатом варианте осуществления, показанном на фиг. 13, деталь 1 конструктора имеет пять выступов: 5, 5a, 5b, 5с и 5d, и один паз 6.
Паз 6 выполнен таким образом, что выступ 5, 5a, 5b, 5с или 5d другой аналогичной детали 1 может задвигаться в паз через входное отверстие на грани 3c до упора 62 таким образом, чтобы обе соединенные детали 1 были расположены по существу соосно.
Выступающая часть паза 6 выполнена с возможностью удерживать выступ 5, 5a, 5b, 5с или 5d от выпадения из паза 6 за счет зацепления с выступающей частью 51 выступа.
Таким образом, при зацеплении паза 6 детали 1 и выступа 5, 5a, 5b, 5с или 5d другой аналогичной детали 1 каждая из деталей может вращаться вокруг своей оси или может быть отсоединена от другой детали путем выдвижения соответствующего выступа из соответствующего паза, но движение деталей в других направлениях без приложения значительных усилий затруднено.
Вышеуказанные варианты могут использоваться совместно в любых возможных комбинациях. Можно собрать любую конструкцию как из одинаковых деталей по любому из вариантов, так и из разных деталей по любому из вариантов.
Конструктор по настоящему изобретению может представлять собой как набор одинаковых деталей по любому из вариантов, так и набор из разных деталей по любому из вариантов.
Заявленная деталь конструктора изготавливается следующим способом.
В любом из вариантов осуществления все выступы и пазы в одной детали могут быть изготовлены за один прием.
Берут заготовку из пластичного материала, то есть из искусственного или природного материала, изменяющего форму при нагревании и после этого сохраняющее ее, например, это может быть пластик, полиэтилентерефталат, полиэтилен высокой плотности, полиэтилен низкого давления, поливинилхлорид, полиэтилен низкой плотности, полиэтилен высокого давления, полипропилен, полистирол, поликарбонат, полиамид и прочие виды пластмасс.
На фиг. 22-25 показан процесс производства детали конструктора согласно настоящему изобретению.
Заготовку детали 1 закрепляют, подводят форму для формирования выступа 5 (не показана) на верхней грани, одновременно со стороны грани боковой поверхности подводят средство для создания паза - пуансон - для формирования паза на нижней грани 4, и для формирования пазов на боковых поверхностях используют четыре средства для создания паза, подаваемые с четырех сторон граней боковой поверхности - пуансон 21, шибер 22, матрицу 23 и шибер 24.
При этом средство для создания паза на нижней поверхности и средство для создания паза на одной из граней боковой поверхности может представлять собой одно и то же средство, например, пуансон 21 (см. фиг. 24, 25).
Все подаваемые средства для создания паза не мешают друг другу и имеют беспрепятственный доступ к детали 1 за счет того, что на каждой грани боковой поверхности расположено только одно входное отверстие паза, расположенного на боковой поверхности, при этом на одной из граней имеется входной отверстие для паза на нижней грани.
Таким образом, на каждой из трех граней боковой поверхности формируют одно входное отверстие для паза, расположенного на боковой поверхности (входное отверстие каждого паза расположено на смежной боковой грани), а на четвертой грани боковой поверхности формируют два входных отверстия: для паза нижней грани и для паза смежной грани боковой поверхности.
То есть для создания паза на нижней грани и одной из граней боковой поверхности используют одно средство для создания паза (пуансон 21).
Таким образом, за один прием параллельно можно сделать деталь по любому из вариантов, включая лучший вариант (пятый), являющийся самым сложным с точки зрения изготовления, поскольку нужно сделать одновременно пять пазов с разных сторон детали: четыре по бокам и один снизу.
В уровне техники данная проблема не была решена, что свидетельствует о неочевидности заявленного способа изготовления, а также самой детали.
Также во время операции формирования выступа формируют узкую часть и широкую часть выступа, причем на узкой части и/или широкой части выступа формируют плоские поверхности, расположенные под заданным углом.
Вышеуказанная деталь конструктора обеспечила:
• повышение функциональности и универсальности детали,
• исключение необходимости в других видах деталей,
• долгий срок службы детали,
• снижение сложности и трудоемкости производства детали.
| название | год | авторы | номер документа |
|---|---|---|---|
| ДЕТАЛЬ КОНСТРУКТОРА И СПОСОБ ЕЕ ПРОИЗВОДСТВА | 2024 |
|
RU2835710C1 |
| ПРОФИЛЬ ДЛЯ ОПИРАНИЯ ВНЕШНЕЙ ОГРАЖДАЮЩЕЙ КОНСТРУКЦИИ | 2024 |
|
RU2833657C1 |
| КОНСТРУКТОР | 2023 |
|
RU2795717C1 |
| СПОСОБ МОНТАЖА ФАСАДНОЙ СИСТЕМЫ ДЛЯ КРЕПЛЕНИЯ ПЛИТ ОБЛИЦОВКИ | 2022 |
|
RU2794936C1 |
| СПОСОБ МОНТАЖА ОПОРНОГО КЛАДОЧНОГО ОПАЛУБОЧНОГО ПРОФИЛЯ | 2015 |
|
RU2598664C1 |
| СПОСОБ МОНТАЖА ФАСАДНОЙ СИСТЕМЫ ДЛЯ КРЕПЛЕНИЯ ПЛИТ ОБЛИЦОВКИ | 2022 |
|
RU2785331C1 |
| КОНДИЦИОНЕР С ВОДЯНЫМ ОХЛАЖДЕНИЕМ ИЛИ НАГРЕВОМ ТЕПЛООБМЕННИКА КОНДЕНСАТОРА | 2019 |
|
RU2725593C1 |
| УСТРОЙСТВО И СПОСОБ РЕЗАНИЯ ТРУБЫ СТВОЛА СКВАЖИНЫ | 2006 |
|
RU2401935C2 |
| КОНТАКТНЫЙ ПРОВОД, ТОКОСЪЕМНИК И КОНТАКТНО-ПРОВОДНАЯ СИСТЕМА | 2009 |
|
RU2497698C2 |
| ПРОТЕКТОР РУЧКИ ДЛЯ РУЧНОГО ИНСТРУМЕНТА | 2011 |
|
RU2558707C2 |
Изобретение относится к детали конструктора, конструктору и способу его производства. Деталь конструктора включает верхнюю грань, имеющую выступ, боковую поверхность и нижнюю грань. Нижняя грань имеет паз, при этом паз имеет упор и входное отверстие, расположенное на боковой поверхности. Техническим результатом является повышение функциональности и универсальности детали, исключение необходимости в других видах деталей, высокая надежность соединения деталей, долгий срок службы детали, снижение сложности и трудоемкости производства детали. 3 н. и 23 з.п. ф-лы, 25 ил.
1. Деталь конструктора, включающая верхнюю грань, имеющую выступ, боковую поверхность, нижнюю грань, отличающаяся тем, что нижняя грань имеет паз, при этом паз имеет упор и входное отверстие, расположенное на боковой поверхности, боковая поверхность имеет четыре грани, причем по меньшей мере на трех гранях боковой поверхности имеется паз, имеющий упор и входное отверстие, расположенное на смежной грани боковой поверхности.
2. Деталь по п. 1, отличающаяся тем, что боковая поверхность имеет грани, а выступ выполнен таким образом, чтобы при соединении двух аналогичных деталей конструктора путем вставки выступа одной детали конструктора в паз другой детали конструктора указанный выступ противодействовал движению деталей конструктора в противоположные стороны при сохранении возможности вращательного движения деталей конструктора относительно друг друга.
3. Деталь по п. 1, отличающаяся тем, что верхняя грань, нижняя грань и боковая поверхность вместе образуют одну из следующих форм: куб, параллелепипед, усеченная пирамида, призма.
4. Деталь по п. 2, отличающаяся тем, что по меньшей мере на одной грани боковой поверхности имеется паз, имеющий упор и входное отверстие, при этом входное отверстие указанного паза расположено на смежной грани, или на нижней грани, или на верхней грани, при этом на любой из граней боковой поверхности расположено не более одного входного отверстия паза, расположенного на грани боковой поверхности.
5. Деталь по п. 1, отличающаяся тем, что боковая поверхность имеет четыре грани, причем на каждой грани боковой поверхности имеется паз, имеющий упор и входное отверстие, расположенное на смежной грани боковой поверхности, при этом на любой из граней боковой поверхности расположено не более одного входного отверстия паза, расположенного на грани боковой поверхности.
6. Деталь по п. 2, отличающаяся тем, что по меньшей мере на одной грани боковой поверхности имеется выступ, при этом на любой из граней боковой поверхности расположено не более одного выступа.
7. Деталь по любому из пп. 1-6, отличающаяся тем, что входное отверстие паза выполнено с возможностью вставки в него выступа другой аналогичной детали конструктора, при этом паз выполнен с возможностью удерживать выступ другой аналогичной детали конструктора, а упор выполнен с возможностью ограничения поступательного движения выступа другой аналогичной детали конструктора при сохранении возможности его вращательного движения.
8. Деталь по п. 1, отличающаяся тем, что упор выполнен таким образом, чтобы при соединении двух аналогичных деталей конструктора центральная ось одной детали конструктора была расположена под углом не более 5°, предпочтительно не более 3°, более предпочтительно не более 2°, к центральной оси другой детали конструктора.
9. Деталь по п. 1, отличающаяся тем, что центральная ось паза, имеющегося на нижней грани, расположена на расстоянии не более 10 мм, предпочтительно не более 3 мм, более предпочтительно не более 2 мм, более предпочтительно не более 1 мм, от центральной оси нижней грани.
10. Деталь по п. 4 или 5, отличающаяся тем, что центральная ось паза, имеющегося на грани боковой поверхности, расположена на расстоянии не более 10 мм, предпочтительно не более 3 мм, более предпочтительно не более 2 мм, более предпочтительно не более 1 мм, от центральной оси этой грани боковой поверхности.
11. Деталь по п. 4 или 5, отличающаяся тем, что центральная ось паза, имеющегося на грани боковой поверхности, расположена под углом не более 5°, предпочтительно не более 3°, более предпочтительно не более 2°, к нижней грани, более предпочтительно центральная ось паза, имеющегося на грани боковой поверхности, расположена по существу параллельно нижней грани.
12. Деталь по п. 7, отличающаяся тем, что отношение длины L6 паза, имеющегося на нижней грани, к ширине L1 нижней грани составляет 0,4-0,8, предпочтительно 0,5-0,7, более предпочтительно 0,55-0,65, а отношение глубины H6 паза, имеющегося на нижней грани, к высоте H1 грани боковой поверхности составляет 0,05-0,5, предпочтительно 0,1-0,4.
13. Деталь по п. 7, отличающаяся тем, что отношение длины L6 паза, имеющегося на грани боковой поверхности, к ширине L1 грани боковой поверхности составляет 0,4-0,8, предпочтительно 0,5-0,7, более предпочтительно 0,55-0,65, а отношение глубины H6 паза, имеющегося на грани боковой поверхности, к высоте H1 смежной грани боковой поверхности составляет 0,05-0,5, предпочтительно 0,1-0,4.
14. Деталь по п. 2, отличающаяся тем, что выступ имеет узкую часть и широкую часть, при этом отношение высоты узкой части h к высоте выступа H5 составляет 0,3-0,8, предпочтительно 0,4-0,7, более предпочтительно 0,45-0,55, при этом отношение ширины W5 широкой части выступа к ширине W6 паза составляет 0,6-1, предпочтительно 0,7-1, более предпочтительно 0,8-1.
15. Деталь по п. 14, отличающаяся тем, что широкая часть выступа имеет плоские поверхности, выполненные с возможностью взаимодействия с пазом аналогичной детали конструктора таким образом, чтобы при вставке выступа в указанный паз и при повороте на заданный градус выступ удерживался в этом положении.
16. Деталь по п. 14, отличающаяся тем, что узкая часть выступа имеет плоские поверхности, выполненные с возможностью взаимодействия с пазом аналогичной детали конструктора таким образом, чтобы при вставке выступа в указанный паз и при повороте на заданный градус выступ удерживался в этом положении.
17. Деталь по п. 1, отличающаяся тем, что деталь выполнена из пластичного материала, предпочтительно выбранного из следующих: пластик, полиэтилентерефталат, полиэтилен высокой плотности, полиэтилен низкого давления, поливинилхлорид, полиэтилен низкой плотности, полиэтилен высокого давления, полипропилен, полистирол, поликарбонат, полиамид и прочие виды пластмасс.
18. Деталь по п. 1, отличающаяся тем, что деталь выполнена из прозрачного или полупрозрачного материала.
19. Конструктор, содержащий по меньшей мере две детали по любому из пп. 1-18.
20. Способ производства детали конструктора по любому из пп. 1-18, включающий следующие операции:
a) закрепление заготовки детали,
b) формирование выступа на верхней грани,
c) формирование паза на нижней грани.
21. Способ по п. 20, отличающийся тем, что способ дополнительно включает операцию формирования паза на каждой грани боковой поверхности, при этом операцию формирования паза на нижней грани осуществляют параллельно с операцией формирования пазов на гранях боковой поверхности.
22. Способ по п. 20, отличающийся тем, что одновременно с формированием паза на нижней грани осуществляют формирование паза на каждой грани боковой поверхности.
23. Способ по п. 20, отличающийся тем, что боковая поверхность имеет четыре грани, при этом формирование паза на каждой грани боковой поверхности и на нижней грани осуществляют путем введения в заготовку детали средства для создания паза со стороны каждой из четырех граней боковой поверхности.
24. Способ по п. 23, отличающийся тем, что для создания паза на нижней грани и одной из граней боковой поверхности используют одно средство для создания паза.
25. Способ по п. 20, отличающийся тем, что во время операции формирования выступа формируют узкую часть и широкую часть выступа, причем на узкой части выступа формируют плоские поверхности, расположенные под заданным углом.
26. Способ по п. 20, отличающийся тем, что во время операции формирования выступа формируют узкую часть и широкую часть выступа, причем на широкой части выступа формируют плоские поверхности, расположенные под заданным углом.
| CN 203899152 U, 29.10.2014 | |||
| CN 216169932 U, 05.04.2022 | |||
| CN 107224741 A, 03.10.2017 | |||
| CN 204134219 U, 04.02.2015. |
Авторы
Даты
2025-02-24—Публикация
2024-04-23—Подача