Область техники
Предлагаемое изобретение относится к области строительства, в частности к профилю для опирания фасада, который может использоваться для крепления внешней ограждающей конструкции, например, фасадов с внешней облицовкой из различного материала к несущим конструкциям (межэтажное перекрытие).
Уровень техники
Из патента РФ на полезную модель № 216180, опубл. 20.01.2023, известен профиль для крепления тяжелого навесного фасада, включающий горизонтальную и вертикальную грани, отличающийся тем, что профиль изготовлен из листа путем гибки и имеет L-образную форму, в горизонтальной грани которого выполнены прорези, в которые вставлены ребра, каждое из которых снабжено отгибами по двум его граням - нижней и вертикальной, причем отгиб на нижней грани выполнен с возможностью удержания горизонтальной грани L-образного профиля от провисания, а отгиб на вертикальной грани имеет отверстие, совпадающее с отверстием, выполненным в вертикальной грани L-образного профиля, причем сквозь указанные отверстия пропущен анкер для крепления профиля к несущему основанию. В ребре выполнено отверстие для пропуска арматуры, чтобы связать облицовку с профилем и повысить надежность.
Недостатком данной полезной модели являются существенные затраты времени на сборку профиля перед монтажом, отсутствие удерживания ребер в собранной конструкции до момента крепления конструкции к межэтажному перекрытию, сложность изготовления из-за большого количества операции резки и гибочных операций, высокая металлоёмкость конструкции, а также низкая надежность конструкции.
В качестве наиболее близкого аналога можно выбрать патент РФ на полезную модель № 158675, опубл. 20.01.2016, из которого известен кладочный опорный опалубочный профиль, который содержит перпендикулярные грани, соединенные элементами связи, элементы соединения, проходящие через сквозные отверстия, выполненные в элементах связи и вертикальной грани опалубочного профиля. Элементы связи представляют собой укосины или прутки, горизонтально расположенная грань опалубочного профиля имеет отверстия для крепления саморезов или обычных болтов.
Недостатком данной полезной модели являются существенные затраты времени на сборку профиля перед монтажом и сложность изготовления.
Раскрытие сущности изобретения
Задачей настоящего изобретения и техническим результатом является повышение надежности крепления внешней ограждающей конструкции к несущей конструкции (например, к торцевой поверхности межэтажного перекрытия) с одновременным снижением затрат времени на монтаж внешней ограждающей конструкции.
Для решения вышеуказанной задачи и достижения технического результата предлагается профиль для опирания внешней ограждающей конструкции, включающий
первую грань и вторую грань, соединенные под углом 80-100° друг к другу и имеющие внутренние и внешние поверхности,
и по меньшей мере один соединительный элемент,
отличающийся тем, что
по меньшей мере один соединительный элемент имеет область присоединения к внутренней поверхности первой грани и область присоединения к внутренней поверхности второй грани,
при этом область присоединения к внутренней поверхности первой грани отдалена от внешнего края первой грани на расстояние 0-0,8 ширины первой грани,
а область присоединения к внутренней поверхности второй грани отдалена от внешнего края второй грани на расстояние 0,1-0,95 ширины второй грани.
Профиль для опирания внешней ограждающей конструкции служит опорой для внешней ограждающей конструкции, в частности, на него укладывается кирпичная кладка фасада здания. Этот профиль прикрепляется к несущим конструкциям, в частности к торцевой поверхности межэтажного перекрытия и, таким образом, позволяет осуществлять крепление внешней ограждающей конструкции к несущей конструкции.
Расположение первой грани и второй грани под углом 80°-100° друг к другу, а также то, что область присоединения соединительного элемента отдалена от краев первой и второй грани, позволяет повысить надежность крепления внешней ограждающей конструкции к несущей конструкции с одновременным снижением затрат времени на ее монтаж за счет того, что:
- образуется большая площадка для создания надежной опоры для внешней ограждающей конструкции,
- отпадает необходимость в разрезании кирпича, как приходилось делать в аналогах, когда кирпич не попадал в имеющийся интервал между соединительными элементами.
Присоединение соединительного элемента сразу к обеим граням упрощает монтаж профиля на несущей поверхности, что приводит к снижению его деформаций и лучшему сохранению изначально заложенной формы профиля, что в итоге тоже позволяет повысить надежность крепления внешней ограждающей конструкции к несущей конструкции с одновременным снижением затрат времени на ее монтаж.
Угол между гранями 80-89,9° позволяет при креплении профиля к межэтажному перекрытию расположить вторую грань (опорную) немного под наклоном к горизонту, чтобы строительный раствор лучше удерживался на опорной площадке второй грани и не утекал наружу. Это дополнительно позволяет повысить надежность крепления внешней ограждающей конструкции к несущей конструкции с одновременным снижением затрат времени на ее монтаж.
Угол между гранями 90,1-100° позволяет при креплении профиля к межэтажному перекрытию на этапе опалубки расположить первую грань (прикрепляемую грань) немного под наклоном к вертикали, чтобы углубить ее внутрь межэтажного перекрытия и перенести часть нагрузки с крепежных анкеров на поверхность первой грани. Это дополнительно позволяет повысить надежность крепления внешней ограждающей конструкции к несущей конструкции с одновременным снижением затрат времени на ее монтаж.
В предпочтительном варианте область присоединения к внутренней поверхности второй грани отдалена от внешнего края второй грани на расстояние 0,2-0,95, предпочтительно 0,3-0,95, предпочтительно 0,4-0,95, предпочтительно 0,5-0,95, более предпочтительно 0,6-0,95, более предпочтительно 0,7-0,95, более предпочтительно 0,8-0,95, более предпочтительно 0,9-0,95 ширины второй грани.
Чем сильнее отдалена область присоединения соединительного элемента от края второй грани (опорной грани), тем выше надежность крепления внешней ограждающей конструкции к несущей конструкции за счет увеличения опорной площадки и сохранения целостности кирпичей, при этом также снижаются затраты времени на монтаж внешней ограждающей конструкции, так как меньше тратится времени на разрезание кирпичей.
В предпочтительном варианте область присоединения к внутренней поверхности первой грани отдалена от внешнего края первой грани на расстояние 0,1-0,8, предпочтительно 0,2-0,6 ширины первой грани.
Отдаление области присоединения к внутренней поверхности первой грани от внешнего края первой грани позволяет обеспечить беспрепятственный доступ для установки анкеров в области первой грани над соединительным элементом и, таким образом, за счет простоты крепления профиля дополнительно снизить затраты времени на монтаж внешней ограждающей конструкции. При этом также дополнительно повышается надежность крепления внешней ограждающей конструкции к несущей конструкции за счет снижения деформаций профиля и лучшего сохранения изначально заложенной формы профиля.
В предпочтительном варианте область присоединения к внутренней поверхности первой грани расположена под углом 0-5° к краю первой грани, а область присоединения к внутренней поверхности второй грани расположена под углом 0-5° к краю второй грани.
Расположение областей присоединения по существу параллельно краям граней позволяет дополнительно повысить надежность крепления внешней ограждающей конструкции к несущей конструкции за счет того, что область присоединения будет формировать дополнительное ребро жесткости конструкции и приводить к снижению деформаций профиля и лучшему сохранению изначально заложенной формы профиля, увеличению несущей способности опорной площадки профиля и упрощению монтажа.
В предпочтительном варианте суммарная длина области присоединения всех соединительных элементов к внутренней поверхности первой грани составляет не менее 0,01, предпочтительно не менее 0,1, более предпочтительно не менее 0,2, более предпочтительно не менее 0,3, более предпочтительно не менее 0,4, более предпочтительно не менее 0,5, более предпочтительно не менее 0,6, более предпочтительно не менее 0,7, более предпочтительно не менее 0,8, более предпочтительно не менее 0,9 длины первой грани,
а суммарная длина области присоединения всех соединительных элементов к внутренней поверхности второй грани составляет не менее 0,01, предпочтительно не менее 0,1, более предпочтительно не менее 0,2, более предпочтительно не менее 0,3, более предпочтительно не менее 0,4, более предпочтительно не менее 0,5, более предпочтительно не менее 0,6, более предпочтительно не менее 0,7, более предпочтительно не менее 0,8, более предпочтительно не менее 0,9 длины второй грани.
Профиль может содержать как один соединительный элемент, так и несколько. Суммарная длина области присоединения всех соединительных элементов равна сумме длин каждого соединительного элемента.
Увеличение суммарной длины области присоединения всех соединительных элементов позволяет еще больше повысить надежность крепления внешней ограждающей конструкции к несущей конструкции за счет увеличения несущей способности опорной площадки профиля. При этом с увеличением суммарной длины области присоединения всех соединительных элементов происходит одновременное снижение затрат времени на монтаж внешней ограждающей конструкции, поскольку, если соединительные элементы присоединяют к первой и второй грани, а не делают их цельными с первой и второй гранью, то чем больше будет суммарная длина области присоединения, тем меньше нужно соединительных элементов на один профиль, и быстрее можно его собрать.
В предпочтительном варианте первая грань и вторая грань содержат пазы, а соединительный элемент содержит утолщения, выполненные с возможностью заходить в эти пазы для присоединения соединительного элемента к первой грани и ко второй грани.
Вышеуказанное соединение («паз-утолщение») соединительного элемента и граней позволяет создать простое и надежное соединение, что позволяет еще больше повысить надежность крепления внешней ограждающей конструкции к несущей конструкции и снизить затраты времени на монтаж внешней ограждающей конструкции за счет увеличения несущей способности опорной площадки профиля и простоты монтажа, приводящей к снижению деформаций профиля и лучшему сохранению изначально заложенной формы.
В предпочтительном варианте длина указанных пазов составляет 0,03-1,0, предпочтительно 0,3-1,0, более предпочтительно 0,4-1,0, более предпочтительно 0,5-1,0, более предпочтительно 0,6-1,0, более предпочтительно 0,7-1,0, более предпочтительно 0,8-1,0, более предпочтительно 0,9-1,0 длины первой грани.
Увеличение длины пазов позволяет еще больше повысить надежность крепления внешней ограждающей конструкции к несущей конструкции за счет увеличения несущей способности опорной площадки профиля. При этом с увеличением длины пазов происходит одновременное снижение затрат времени на монтаж внешней ограждающей конструкции, поскольку, чем больше будет длина пазов, тем проще вставить и продвигать вдоль профиля соединительные элементы, и можно быстрее собрать профиль.
В предпочтительном варианте профиль содержит несколько соединительных элементов, выполненных с возможностью размещаться на расстоянии не более 1000 мм друг от друга, предпочтительно на расстоянии не более 500 мм друг от друга, более предпочтительно на расстоянии не более 300 мм друг от друга.
Профиль может содержать как один соединительный элемент, так и несколько. Имеющиеся в таком случае проемы между соединительными элементами позволяют обеспечить доступ как к зонам крепления анкеров к межэтажному перекрытию, так и к элементам временного прикрепления второй грани к горизонтальной опалубке (если профиль используется в качестве части опалубки), что снижает риски деформаций профиля позволяет еще больше повысить надежность крепления внешней ограждающей конструкции к несущей конструкции за счет сохранения изначально заложенной формы профиля, а также снизить затраты времени на монтаж внешней ограждающей конструкции.
Кроме того, использование нескольких соединительных элементов, дополнительно упрощает монтаж самого профиля, если он собирается путем соединений «паз-утолщение».
В предпочтительном варианте на внешнем краю внутренней поверхности второй грани имеется выступ, расположенный под углом 80-100° к внутренней поверхности второй грани и имеющий высоту не менее 1 мм, предпочтительно не менее 10 мм.
Выступ на внешнем краю внутренней поверхности второй грани с вышеуказанными параметрами позволяет еще больше повысить надежность крепления внешней ограждающей конструкции к несущей конструкции и снизить затраты времени на монтаж внешней ограждающей конструкции за счет того, что он удерживает строительный раствор от утекания и позволяет выдержать соответствие крепления внешней ограждающей конструкции требованиям проектной документации. Чем выше выступ, тем лучше он может удерживать строительный раствор и меньше времени рабочий затратит на монтаж внешней ограждающей конструкции.
В предпочтительном варианте выступ на внешнем краю внутренней поверхности второй грани имеет загиб, направленный в сторону первой грани.
Указанный загиб, направленный в сторону первой грани, дополнительно улучшает удержание строительного раствора на второй грани и позволяет выдержать соответствие крепления внешней ограждающей конструкции требованиям к несущей конструкции проектной документации, что позволяет еще больше повысить надежность крепления внешней ограждающей конструкции и снизить затраты времени на монтаж внешней ограждающей конструкции.
В предпочтительном варианте на внешнем краю внешней поверхности первой грани имеется выступ, расположенный под углом 80-100° к внешней поверхности первой грани и имеющий высоту не менее 1 мм, предпочтительно высоту не менее 10 мм.
Выступ на внешнем краю внешней поверхности первой грани с вышеуказанными параметрами позволяет еще больше повысить надежность крепления внешней ограждающей конструкции к несущей конструкции и снизить затраты времени на монтаж внешней ограждающей конструкции за счет того, что:
– он создает ребро жесткости для первой грани и делает ее более устойчивой к деформациям,
– указанный выступ может либо замоноличиваться (закрепляться при заливке бетона) в межэтажное перекрытие, если профиль используется в качестве части опалубки, либо зацепляться сверху за межэтажное перекрытие, в обоих случаях он позволяет распределить нагрузку удержания внешней ограждающей конструкции.
Кроме того, указанный выступ может использоваться для наращивания ширины первой грани с сохранением прочностных свойств грани, чтобы еще больше повысить надежность крепления внешней ограждающей конструкции к несущей конструкции.
В предпочтительном варианте на внешнем краю внутренней поверхности первой грани имеется выступ, расположенный под углом 80-100° к внутренней поверхности первой грани и имеющий высоту не менее 1 мм, предпочтительно не менее 10 мм.
Выступ на внешнем краю внутренней поверхности первой грани с вышеуказанными параметрами позволяет еще больше повысить надежность крепления внешней ограждающей конструкции и снизить затраты времени на монтаж внешней ограждающей конструкции за счет того, что он создает ребро жесткости для первой грани и делает ее более устойчивой к деформациям.
Кроме того, указанный выступ может использоваться для наращивания ширины первой грани с сохранением прочностных свойств грани, чтобы еще больше повысить надежность крепления внешней ограждающей конструкции к несущей конструкции.
В предпочтительном варианте первая грань содержит отверстия, которые расположены на расстоянии 40-1000 мм друг от друга, предпочтительно на расстоянии 50-800 мм друг от друга, более предпочтительно на расстоянии 100-500 мм друг от друга.
Наличие заранее сделанных отверстий для крепления профиля к несущим конструкциям позволяет избежать изготовления отверстий на месте и соответствующих возможных деформаций, что позволяет еще больше повысить надежность крепления внешней ограждающей конструкции к несущей конструкции и снизить затраты времени на монтаж внешней ограждающей конструкции. Расстояние между отверстиями 100-500 мм является наиболее оптимальным с точки зрения сохранения целостности профиля и достаточности отверстий для удержания профиля на месте крепления. Отверстия в первой грани могут находиться как выше, так и ниже области присоединения соединительного элемента к первой грани, конкретное расположение выбирается исходя из конструктивных возможностей.
В предпочтительном варианте соединительный элемент содержит отверстия,
при этом первая грань содержит отверстия, расположенные ниже области присоединения соединительного элемента к первой грани, и выполненные таким образом, чтобы обеспечивать возможность прохода крепежного изделия через отверстие в соединительном элементе и соответствующее ему отверстие в первой грани.
Наличие заранее сделанных корреспондирующих (соответствующих друг другу) отверстий в соединительном элементе и в первой грани, предназначенных для крепления профиля к несущим конструкциям, позволяет избежать изготовления отверстий на месте и соответствующих возможных деформаций, а также упрощает использование профиля, у которого область присоединения к внутренней поверхности первой грани минимально отдалена от внешнего края первой грани, что позволяет еще больше повысить надежность крепления внешней ограждающей конструкции к несущей конструкции за счет увеличения опорной площадки для кладки и снижения риска деформаций профиля, а также снизить затраты времени на монтаж внешней ограждающей конструкции.
В предпочтительном варианте диаметр отверстий в соединительном элементе больше, чем диаметр отверстий в первой грани.
Больший диаметр отверстий в соединительном элементе облегчает доступ к отверстию в первой грани, и соответственно, позволяет дополнительно снизить затраты времени на монтаж внешней ограждающей конструкции и еще больше повысить надежность крепления внешней ограждающей конструкции к несущей конструкции.
В предпочтительном варианте внешняя поверхность первой грани выполнена с возможностью закрепления на ней С-образного профиля.
Наличие закрепленного на профиле С-образного профиля позволяет использовать его для удержания шляпок анкеров при монтаже профиля, таким образом не только ускоряя монтаж профиля, но и снижая риск возникновения деформаций, что позволяет еще больше повысить надежность крепления внешней ограждающей конструкции к несущей конструкции и снизить затраты времени на монтаж внешней ограждающей конструкции.
В предпочтительном варианте соединительный элемент соединительный элемент расположен под углом 5°-85°, предпочтительно 5°-50°, более предпочтительно 5°-40° к первой грани и под углом 5°-85°, предпочтительно 40°-85°, более предпочтительно 50°-85° ко второй грани.
Вышеуказанные параметры расположения соединительного элемента являются наиболее оптимальными с точки зрения несущей способности профиля, что позволяет еще больше повысить надежность крепления внешней ограждающей конструкции к несущей конструкции и снизить затраты времени на монтаж внешней ограждающей конструкции.
В предпочтительном варианте соединительный элемент имеет ширину не менее 20 мм и длину не менее 5 мм, предпочтительно ширину не менее 30 мм и длину не менее 100 мм, более предпочтительно ширину не менее 40 мм и длину не менее 200 мм, более предпочтительно ширину не менее 50 мм и длину не менее 500 мм,
первая грань имеет ширину не менее 50 мм и длину не менее 100 мм, предпочтительно ширину не менее 100 мм и длину не менее 1000 мм, более предпочтительно ширину не менее 200 мм и длину не менее 2000 мм,
вторая грань имеет ширину не менее 50 мм и длину не менее 100 мм, предпочтительно ширину не менее 100 мм и длину не менее 1000 мм, более предпочтительно ширину не менее 200 мм и длину не менее 2000 мм.
Размеры профиля могут быть любыми, которые могут требоваться в заданных условиях. Однако вышеуказанные параметры профиля являются наиболее оптимальными с точки зрения несущей способности профиля и простоты его монтажа, что позволяет еще больше повысить надежность крепления внешней ограждающей конструкции к несущей конструкции и снизить затраты времени на монтаж внешней ограждающей конструкции.
В предпочтительном варианте профиль изготовлен путем экструзии под давлением.
Это позволяет не только ускорить процесс создания профиля, но и еще больше повысить надежность крепления внешней ограждающей конструкции к несущей конструкции и снизить затраты времени на монтаж внешней ограждающей конструкции, за счет получения прочной конструкции, сразу готовой для монтажа, что позволяет избежать деформаций профиля.
В предпочтительном варианте первая грань и вторая грань сформированы посредством гибки цельного листа, а соединительный элемент присоединен к ним посредством сварки, или посредством спайки, или посредством соединения ласточкин хвост, или посредством шарнирного соединения или посредством зацепления.
В предпочтительном варианте первая грань, вторая грань и соединительный элемент соединены посредством сварки, или посредством спайки, или посредством соединения ласточкин хвост, или посредством шарнирного соединения.
Вышеуказанные способы соединения граней и соединительного элемента, а также материалы являются наиболее оптимальными с точки зрения несущей способности профиля и простоты его монтажа, что позволяет еще больше повысить надежность крепления внешней ограждающей конструкции к несущей конструкции и снизить затраты времени на монтаж внешней ограждающей конструкции.
В предпочтительном варианте профиль изготовлен из алюминия или из сплава, содержащего алюминий, или из сплава, содержащего титан, или из стали, предпочтительно нержавеющей стали, или из композитного материала.
Вышеуказанные материалы являются наиболее оптимальными с точки зрения несущей способности профиля, его устойчивости к внешним воздействиям и простоты его монтажа, что позволяет еще больше повысить надежность крепления внешней ограждающей конструкции к несущей конструкции и снизить затраты времени на монтаж внешней ограждающей конструкции.
В предпочтительном варианте толщина первой грани составляет 0,4-5 мм, предпочтительно 0,5-2 мм, более предпочтительно 0,5-1,5 мм,
толщина второй грани составляет 0,4-5 мм, предпочтительно 0,5-2 мм, более предпочтительно 0,5-1,5 мм,
и толщина соединительного элемента составляет 0,4-5 мм, предпочтительно 0,5-2 мм, более предпочтительно 0,5-1,5 мм.
Вышеуказанные интервалы толщины являются наиболее оптимальными с точки зрения несущей способности профиля и простоты его монтажа, что позволяет еще больше повысить надежность крепления внешней ограждающей конструкции к несущей конструкции и снизить затраты времени на монтаж внешней ограждающей конструкции.
В предпочтительном варианте профиль может представлять собой профиль, используемый в качестве части опалубки, или профиль, устанавливаемый на готовую поверхность.
Вышеуказанные способы крепления профиля являются наиболее оптимальными с точки зрения несущей способности профиля и простоты его монтажа, что позволяет еще больше повысить надежность крепления внешней ограждающей конструкции к несущей конструкции и снизить затраты времени на монтаж внешней ограждающей конструкции.
Краткое описание чертежей
Чертежи представлены для лучшего понимания изобретения, однако специалисту в данной области техники будет очевидно, что раскрытое изобретение не ограничивается вариантом, представленным на них.
На фиг. 1 представлен схематичный вид заявленного профиля в соответствии с первым вариантом осуществления.
На фиг. 2 представлен схематичный вид заявленного профиля в соответствии со вторым вариантом осуществления.
На фиг. 3 представлен схематичный вид заявленного профиля в соответствии с первым вариантом осуществления.
На фиг. 4 представлен поперечный разрез заявленного профиля в соответствии с первым вариантом осуществления.
На фиг. 5 представлен местный разрез 1 фиг. 4.
На фиг. 6 представлен схематичный вид заявленного профиля в соответствии со вторым вариантом осуществления.
На фиг. 7 представлен поперечный разрез заявленного профиля в соответствии с вторым вариантом осуществления.
На фиг. 8 представлен местный разрез 2 фиг. 7.
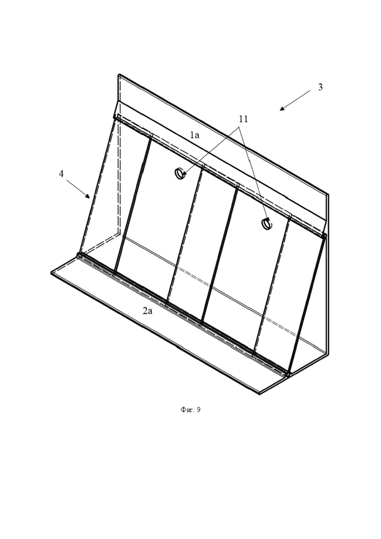
На фиг. 9 представлен схематичный вид заявленного профиля в соответствии со третьим вариантом осуществления.
На фиг. 10 представлен поперечный разрез заявленного профиля в соответствии с третьим вариантом осуществления.
На фиг. 11 представлен местный разрез 3 фиг. 10.
На фиг. 12 представлен схематичный вид заявленного профиля в соответствии со четвертым вариантом осуществления.
На фиг. 13 представлен поперечный разрез заявленного профиля в соответствии с четвертым вариантом осуществления.
На фиг. 14 представлен местный разрез 4 фиг. 13.
На фиг. 15 представлен схематичный вид заявленного профиля в соответствии с пятым вариантом осуществления.
На фиг. 16 представлен поперечный разрез заявленного профиля в соответствии с пятым вариантом осуществления.
На фиг. 17 представлен вид спереди заявленного профиля в соответствии с пятым вариантом осуществления.
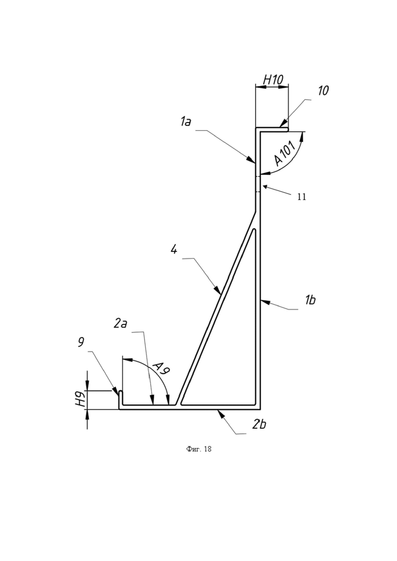
На фиг. 18 представлен поперечный разрез заявленного профиля в соответствии с шестым вариантом осуществления.
На фиг. 19 представлен схематичный вид заявленного профиля в соответствии с шестым вариантом осуществления.
На фиг. 20 представлен поперечный разрез заявленного профиля в соответствии с седьмым вариантом осуществления.
На фиг. 21 представлен схематичный вид заявленного профиля в соответствии с седьмым вариантом осуществления.
На фиг. 22 представлен поперечный разрез заявленного профиля в соответствии с восьмым вариантом осуществления.
На фиг. 23 представлен схематичный вид заявленного профиля в соответствии с восьмым вариантом осуществления.
На фиг. 24 представлен поперечный разрез заявленного профиля в соответствии с девятым вариантом осуществления.
На фиг. 25 представлен схематичный вид заявленного профиля в соответствии с девятым вариантом осуществления.
Осуществление изобретения
На фиг. 1-25 показан профиль 3 для крепления внешней ограждающей конструкции, включающий соединенные друг с другом первую грань 1 и вторую грань 2, которые расположены под углом A1 друг к другу.
Первая грань 1 содержит внутреннюю поверхность 1a и внешнюю поверхность 1b, служащую для крепления к несущей конструкции, а вторая грань 2 содержит внутреннюю поверхность 2a, служащую опорой для элементов внешней ограждающей конструкции, например, для укладки на него облицовочного кирпича, используемого для облицовки фасада здания, и внешнюю поверхность 2b.
Профиль 3 содержит соединительный элемент 4, причем область его присоединения к первой грани 1 находится на расстоянии S1 от внешнего края первой грани 1, а область его присоединения ко второй грани 2 находится на расстоянии S2 от внешнего края второй грани.
Соединительный элемент 4 расположен под углом A41 к первой грани и под углом A42 ко второй грани.
Соединительный элемент 4 имеет ширину W4 и длину L4.
Первая грань 1 имеет ширину W1 и длину L1.
Вторая грань имеет ширину W2 и длину L2.
Вышеуказанные сведения являются общими для всех вариантов осуществления.
Первый вариант осуществления
В варианте на фиг. 1, 3-5 профиль изготовлен в виде единой детали путем экструзии под давлением.
Суммарная длина области присоединения соединительного элемента к внутренней поверхности первой грани равна длине L1 первой грани, а суммарная длина области присоединения соединительного элемента к внутренней поверхности второй грани равна длине L2 второй грани.
Второй вариант осуществления
На фиг. 2, 6-8 показан вариант осуществления, в котором профиль содержит несколько соединительных элементов 4, размещаемых на расстоянии L3 друг от друга, а указанные промежутки между соединительными элементами могут использоваться для доступа рабочих к элементам временного прикрепления второй грани 2 к горизонтальной опалубке, когда профиль используется в качестве части опалубки и к элементам прикрепления первой грани 1 к торцевой поверхности межэтажного перекрытия.
Суммарная длина области присоединения соединительного элемента к внутренней поверхности первой грани равна 0,75L1, а суммарная длина области присоединения соединительного элемента к внутренней поверхности второй грани равна 0,75L2.
Соединительный элемент 4 содержит отверстия 11, расположенные ниже области присоединения соединительного элемента 4 к первой грани, которые расположены на расстоянии L11 друг от друга.
Первая грань 1 и вторая грань 2 содержат продольные пазы 5 и 6, а соединительный элемент содержит утолщения 7 и 8, которые могут заходить в пазы 5 и 6 для присоединения соединительного элемента 4 к первой грани 1 и ко второй грани 2 (по принципу «ласточкин хвост»). Длина пазов на первой грани равна длине первой грани, длина пазов на второй грани равна длине второй грани.
Третий вариант осуществления
На фиг. 9-11 показан вариант осуществления, в котором профиль содержит несколько соединительных элементов 4, размещаемых на расстоянии L3 друг от друга, а указанные промежутки между соединительными элементами могут использоваться для доступа рабочих к элементам временного прикрепления второй грани 2 к горизонтальной опалубке, когда профиль используется в качестве части опалубки и к элементам прикрепления первой грани 1 к торцевой поверхности межэтажного перекрытия.
Суммарная длина области присоединения соединительного элемента к внутренней поверхности первой грани равна 0,75L1, а суммарная длина области присоединения соединительного элемента к внутренней поверхности второй грани равна 0,75L2.
Соединительный элемент 4 содержит отверстия 11, расположенные ниже области присоединения соединительного элемента 4 к первой грани, которые расположены на расстоянии L11 друг от друга.
Первая грань 1 и вторая грань 2 содержат продольные пазы 5 и 6, а соединительный элемент содержит утолщения 7 и 8, которые могут заходить в пазы 5 и 6 для присоединения соединительного элемента 4 к первой грани 1 и ко второй грани 2 (по принципу шарнирного соединения). Длина пазов на первой грани равна длине первой грани, длина пазов на второй грани равна длине второй грани.
Четвертый вариант осуществления
На фиг. 12-14 показан вариант осуществления, в котором первая грань 1 и вторая грань 2 сформированы посредством гибки, при этом соединительный элемент содержит загибы, которые вставляются в соответствующие загибы первой грани 1 и второй грани 2, в результате соединительный элемент присоединяется к ним посредством зацепления.
Пятый вариант осуществления
В варианте на фиг. 15-17 профиль изготовлен в виде единой детали путем экструзии под давлением.
Соединительный элемент 4 содержит отверстия 13, первая грань 1 содержит отверстия 11, расположенные ниже области присоединения соединительного элемента 4 к первой грани 1, и выполненные таким образом, чтобы обеспечивать возможность прохода крепежного изделия через отверстие 13 в соединительном элементе и соответствующее ему отверстие 11 в первой грани.
Диаметр отверстий 13 в соединительном элементе больше, чем диаметр отверстий в первой грани 11.
Шестой вариант осуществления
В варианте на фиг. 18-19 профиль изготовлен в виде единой детали путем экструзии под давлением.
На внешнем краю внутренней поверхности 2a второй грани 2 имеется выступ 9, расположенный под углом A9 к внутренней поверхности 2a и имеющий высоту H9.
Первая грань 1 на внешнем краю содержит выступ 10, расположенный под углом A101 к внешней поверхности 1b первой грани 1. Выступ 10 имеет высоту H10.
Первая грань 1 содержит отверстия 11, расположенные выше области присоединения соединительного элемента 4 к первой грани, которые расположены на расстоянии L11 друг от друга.
Седьмой вариант осуществления
В варианте на фиг. 20-21 профиль изготовлен в виде единой детали путем экструзии под давлением.
На внешнем краю внутренней поверхности 2a второй грани 2 имеется выступ 9, расположенный под углом A9 к внутренней поверхности 2a и имеющий высоту H9. Выступ 9 имеет загиб, направленный в сторону первой грани, который дополнительно улучшает удержание строительного раствора на второй грани.
Первая грань 1 на внешнем краю содержит выступ 10, расположенный под углом A102 к внутренней поверхности 1a первой грани 1. Выступ 10 имеет высоту H10.
Первая грань 1 содержит отверстия 11, расположенные выше области присоединения соединительного элемента 4 к первой грани, которые расположены на расстоянии L11 друг от друга.
Восьмой вариант осуществления
В варианте на фиг. 22-23 профиль изготовлен в виде единой детали путем экструзии под давлением. Внешняя поверхность 1b для крепления к несущей конструкции выполнена с возможностью закрепления на ней С-образного профиля 12.
Девятый вариант осуществления
На фиг. 24-25 показан вариант осуществления, в котором профиль изготовлен в виде единой детали путем экструзии под давлением.
Соединительный элемент 4 содержит отверстия 13, первая грань 1 содержит отверстия 11, расположенные ниже области присоединения соединительного элемента 4 к первой грани 1, и выполненные таким образом, чтобы обеспечивать возможность прохода крепежного изделия через отверстие 13 в соединительном элементе и соответствующее ему отверстие 11 в первой грани.
Диаметр отверстий 13 в соединительном элементе больше, чем диаметр отверстий в первой грани 11.
Профиль может представлять собой профиль, используемый в качестве части опалубки, или профиль может представлять профиль, устанавливаемый на готовую поверхность.
Профиль работает следующим образом. Внешнюю поверхность 1b крепят к несущей конструкции (например, межэтажному перекрытию) с помощью известных из уровня техники средств крепления (анкеры забивные, клиновые, винтовые, стержневые, закладные и т.д.). Затем на внутреннюю поверхность 2a кладут облицовочный кирпич.
Вышеуказанный профиль позволяет повысить надежность крепления внешней ограждающей конструкции с одновременным снижением затрат времени на ее монтаж по сравнению с известными аналогами, что подтверждается сведениями в Таблице 1.
Таблица 1. Начало
Таблица 1. Продолжение
Примечание:
* - средняя надежность (требуется разрезание кирпичей при монтаже; соединительный элемент не присоединен к обеим граням до монтажа, что усложняет крепление его к несущей конструкции и повышает риск деформации),
** - высокая надежность (не требуется разрезание кирпичей при монтаже; соединительный элемент присоединен к обеим граням до монтажа, что упрощает крепление его к несущей конструкции и снижает риск деформации),
*** - очень высокая надежность (опорная площадка имеет увеличенную опорную поверхность для более надежного удержания кладки).
**** - превосходная надежность (профиль имеет дополнительные ребра жесткости (загибы, выступы), что снижает риск деформации).
Описанные примеры осуществления приведены исключительно в целях иллюстрации. Специалисту будет очевидно, что возможны и иные варианты осуществления без изменения сущности изобретения.
| название | год | авторы | номер документа |
|---|---|---|---|
| ДЕТАЛЬ КОНСТРУКТОРА И СПОСОБ ЕЕ ПРОИЗВОДСТВА | 2024 |
|
RU2835710C1 |
| ДЕТАЛЬ КОНСТРУКТОРА И СПОСОБ ЕЕ ПРОИЗВОДСТВА | 2024 |
|
RU2835253C1 |
| СПОСОБ МОНТАЖА ОПОРНОГО КЛАДОЧНОГО ОПАЛУБОЧНОГО ПРОФИЛЯ | 2015 |
|
RU2598664C1 |
| СПОСОБ МОНТАЖА ФАСАДНОЙ СИСТЕМЫ ДЛЯ КРЕПЛЕНИЯ ПЛИТ ОБЛИЦОВКИ | 2022 |
|
RU2794936C1 |
| СПОСОБ МОНТАЖА ФАСАДНОЙ СИСТЕМЫ ДЛЯ КРЕПЛЕНИЯ ПЛИТ ОБЛИЦОВКИ | 2022 |
|
RU2785331C1 |
| СПОСОБ ТЕПЛОИЗОЛЯЦИИ ВНЕШНЕГО ТОРЦА ПЛИТЫ ПЕРЕКРЫТИЯ | 2024 |
|
RU2825373C1 |
| СПОСОБ ТЕПЛОИЗОЛЯЦИИ ВНЕШНЕГО ТОРЦА ПЛИТЫ ПЕРЕКРЫТИЯ | 2024 |
|
RU2825624C1 |
| СПОСОБ ТЕПЛОИЗОЛЯЦИИ ВНЕШНЕГО ТОРЦА ПЛИТЫ ПЕРЕКРЫТИЯ | 2024 |
|
RU2825374C1 |
| СПОСОБ ТЕПЛОИЗОЛЯЦИИ ВНЕШНЕГО ТОРЦА ПЛИТЫ ПЕРЕКРЫТИЯ | 2024 |
|
RU2823358C1 |
| СПОСОБ КЛАДКИ КИРПИЧА | 2023 |
|
RU2818752C1 |
Изобретение относится к области строительства, в частности к профилю для опирания внешней ограждающей конструкции. Техническим результатом является повышение надежности крепления внешней ограждающей конструкции к несущей конструкции (например, к торцевой поверхности межэтажного перекрытия) с одновременным снижением затрат времени на монтаж внешней ограждающей конструкции. Технический результат достигается тем, что профиль для опирания внешней ограждающей конструкции включает первую грань и вторую грань, соединенные под углом 80-100° друг к другу и имеющие внутренние и внешние поверхности, и по меньшей мере один соединительный элемент, при этом по меньшей мере один соединительный элемент имеет область присоединения к внутренней поверхности первой грани и область присоединения к внутренней поверхности второй грани, при этом область присоединения к внутренней поверхности первой грани находится на расстоянии 0-0,8 ширины первой грани от внешнего края первой грани, а область присоединения к внутренней поверхности второй грани находится на расстоянии 0,1-0,95 ширины второй грани от внешнего края второй грани, при этом соединительный элемент расположен под углом 5°-85° к первой грани. 23 з.п. ф-лы, 25 ил., 1 табл.
1. Профиль для опирания внешней ограждающей конструкции, включающий
первую грань и вторую грань, соединенные под углом 80-100° друг к другу и имеющие внутренние и внешние поверхности,
и по меньшей мере один соединительный элемент,
отличающийся тем, что
по меньшей мере один соединительный элемент имеет область присоединения к внутренней поверхности первой грани и область присоединения к внутренней поверхности второй грани,
при этом область присоединения к внутренней поверхности первой грани находится на расстоянии 0-0,8 ширины первой грани от внешнего края первой грани,
а область присоединения к внутренней поверхности второй грани находится на расстоянии 0,1-0,95 ширины второй грани от внешнего края второй грани,
при этом соединительный элемент расположен под углом 5°-85° к первой грани.
2. Профиль по п. 1, отличающийся тем, что область присоединения к внутренней поверхности второй грани находится на расстоянии 0,2-0,95, предпочтительно 0,3-0,95, предпочтительно 0,4-0,95, предпочтительно 0,5-0,95, более предпочтительно 0,6-0,95, более предпочтительно 0,7-0,95, более предпочтительно 0,8-0,95, более предпочтительно 0,9-0,95 ширины второй грани от внешнего края второй грани.
3. Профиль по п. 1, отличающийся тем, что область присоединения к внутренней поверхности первой грани находится на расстоянии 0,1-0,8, предпочтительно 0,2-0,6 ширины первой грани от внешнего края первой грани.
4. Профиль по п. 1, отличающийся тем, что область присоединения к внутренней поверхности первой грани расположена под углом 0-5° к краю первой грани, а область присоединения к внутренней поверхности второй грани расположена под углом 0-5° к краю второй грани.
5. Профиль по п. 1, отличающийся тем, что суммарная длина области присоединения всех соединительных элементов к внутренней поверхности первой грани составляет не менее 0,01, предпочтительно не менее 0,1, более предпочтительно не менее 0,2, более предпочтительно не менее 0,3, более предпочтительно не менее 0,4, более предпочтительно не менее 0,5, более предпочтительно не менее 0,6, более предпочтительно не менее 0,7, более предпочтительно не менее 0,8, более предпочтительно не менее 0,9 длины первой грани,
а суммарная длина области присоединения всех соединительных элементов к внутренней поверхности второй грани составляет не менее 0,01, предпочтительно не менее 0,1, более предпочтительно не менее 0,2, более предпочтительно не менее 0,3, более предпочтительно не менее 0,4, более предпочтительно не менее 0,5, более предпочтительно не менее 0,6, более предпочтительно не менее 0,7, более предпочтительно не менее 0,8, более предпочтительно не менее 0,9 длины второй грани.
6. Профиль по п. 1, отличающийся тем, что первая грань и вторая грань содержат пазы, а соединительный элемент содержит утолщения, выполненные с возможностью заходить в эти пазы для присоединения соединительного элемента к первой грани и ко второй грани.
7. Профиль по п. 6, отличающийся тем, что длина указанных пазов составляет 0,03-1,0, предпочтительно 0,3-1,0, более предпочтительно 0,4-1,0, более предпочтительно 0,5-1,0, более предпочтительно 0,6-1,0, более предпочтительно 0,7-1,0, более предпочтительно 0,8-1,0, более предпочтительно 0,9-1,0 длины первой грани.
8. Профиль по п. 1, отличающийся тем, что профиль содержит несколько соединительных элементов, выполненных с возможностью размещаться на расстоянии не более 1000 мм друг от друга, предпочтительно на расстоянии не более 500 мм друг от друга, более предпочтительно на расстоянии не более 300 мм друг от друга.
9. Профиль по п. 1, отличающийся тем, что на внешнем краю внутренней поверхности второй грани имеется выступ, расположенный под углом 80-100° к внутренней поверхности второй грани и имеющий высоту не менее 1 мм, предпочтительно не менее 10 мм.
10. Профиль по п. 8, отличающийся тем, что выступ на внешнем краю внутренней поверхности второй грани имеет загиб, направленный в сторону первой грани.
11. Профиль по п. 1, отличающийся тем, что на внешнем краю внешней поверхности первой грани имеется выступ, расположенный под углом 80-100° к внешней поверхности первой грани и имеющий высоту не менее 1 мм, предпочтительно высоту не менее 10 мм.
12. Профиль по п. 1, отличающийся тем, что на внешнем краю внутренней поверхности первой грани имеется выступ, расположенный под углом 80-100° к внутренней поверхности первой грани и имеющий высоту не менее 1 мм, предпочтительно не менее 10 мм.
13. Профиль по п. 1, отличающийся тем, что первая грань содержит отверстия,
которые расположены на расстоянии 40-1000 мм друг от друга, предпочтительно на расстоянии 50-800 мм друг от друга, более предпочтительно на расстоянии 100-500 мм друг от друга.
14. Профиль по п. 1, отличающийся тем, что соединительный элемент содержит отверстия,
при этом первая грань содержит отверстия, расположенные ниже области присоединения соединительного элемента к первой грани, и выполненные таким образом, чтобы обеспечивать возможность прохода крепежного изделия через отверстие в соединительном элементе и соответствующее ему отверстие в первой грани.
15. Профиль по п. 1, отличающийся тем, что диаметр отверстий в соединительном элементе больше, чем диаметр отверстий в первой грани.
16. Профиль по п. 1, отличающийся тем, что внешняя поверхность первой грани выполнена с возможностью закрепления на ней С-образного профиля.
17. Профиль по п. 1, отличающийся тем, что соединительный элемент расположен под углом 5°-50°, более предпочтительно 5°-40° к первой грани и под углом 5°-85°, предпочтительно 40°-85°, более предпочтительно 50°-85° ко второй грани.
18. Профиль по п. 1, отличающийся тем, что соединительный элемент имеет ширину не менее 20 мм и длину не менее 5 мм, предпочтительно ширину не менее 30 мм и длину не менее 100 мм, более предпочтительно ширину не менее 40 мм и длину не менее 200 мм, более предпочтительно ширину не менее 50 мм и длину не менее 500 мм,
первая грань имеет ширину не менее 50 мм и длину не менее 100 мм, предпочтительно ширину не менее 100 мм и длину не менее 1000 мм, более предпочтительно ширину не менее 200 мм и длину не менее 2000 мм,
вторая грань имеет ширину не менее 50 мм и длину не менее 100 мм, предпочтительно ширину не менее 100 мм и длину не менее 1000 мм, более предпочтительно ширину не менее 200 мм и длину не менее 2000 мм.
19. Профиль по п. 1, отличающийся тем, что профиль изготовлен путем экструзии под давлением.
20. Профиль по п. 1, отличающийся тем, что первая грань и вторая грань сформированы посредством гибки цельного листа, а соединительный элемент присоединен к ним посредством сварки, или посредством спайки, или посредством соединения ласточкин хвост, или посредством шарнирного соединения, или посредством зацепления.
21. Профиль по п. 1, отличающийся тем, что первая грань, вторая грань и соединительный элемент соединены посредством сварки, или посредством спайки, или посредством соединения ласточкин хвост, или посредством шарнирного соединения.
22. Профиль по п. 1, отличающийся тем, что профиль изготовлен из алюминия или из сплава, содержащего алюминий, или из сплава, содержащего титан, или из стали, предпочтительно нержавеющей стали, или из композитного материала.
23. Профиль по п. 1, отличающийся тем, что толщина первой грани составляет 0,4-5 мм, предпочтительно 0,5-2 мм, более предпочтительно 0,5-1,5 мм,
толщина второй грани составляет 0,4-5 мм, предпочтительно 0,5-2 мм, более предпочтительно 0,5-1,5 мм,
и толщина соединительного элемента составляет 0,4-5 мм, предпочтительно 0,5-2 мм, более предпочтительно 0,5-1,5 мм.
24. Профиль по п. 1, отличающийся тем, что профиль может представлять собой профиль, используемый в качестве части опалубки, или профиль, устанавливаемый на готовую поверхность.
| 0 |
|
SU158675A1 | |
| Электрическая печь | 1931 |
|
SU30777A1 |
| Способ получения 4(5)-нитроимидазолкарбоновой кислоты | 1955 |
|
SU102033A1 |
| СПОСОБ ПОЛУЧЕНИЯ ПОЛИЭФИРНОГО ВОЛОКНА | 1966 |
|
SU216180A1 |
| Двухстреловой экскаватор | 1988 |
|
SU1709036A1 |
| Стабилизатор для полных съемных протезов нижней челюсти при большой степени атрофии альвеолярного отростка | 1959 |
|
SU131031A1 |
| DE 2938325 A1, 09.04.1981. | |||
Авторы
Даты
2025-01-28—Публикация
2024-06-24—Подача