Изобретение относится к области энергомашиностроения, а именно к турбостроению, и может быть использовано при проектировании новых и реконструкции (модернизации) действующих конденсаторов, работающих в составе паротурбинных установок (ПТУ) на электростанции.
Из уровня техники известна конструкция водяных камер конденсаторов паровых турбин, в плоских крышках которых установлены анкерные связи. С одного конца анкерная связь приварена к трубной доске, а с другой она укреплена в плоской крышке водяной камеры с помощью двух гаек: внутренней и наружной (книга «Конденсационные устройства паровых турбин», В.П. Блюдов, 1951 г, стр. 110, рис. 4-17). Также известна конструкция распорных анкерных связей, которые с одного конца вворачиваются в резьбовое отверстие в трубной доске, а со стороны плоской крышки установлены наружные и внутренние гайки (книга «Конденсационные установки», И.Н. Кирсанов, 1965 г., стр. 214, Рис. 10-7). Известен патент RU 2801017 С1 Конденсатор паровой турбины с самозатягивающейся анкерной связью, по которому анкерные связи имеют разное направление резьбы: один конец анкерной связи с правой резьбой ввинчен в трубную доску, а на другой конец с левой резьбой навинчен упор, что предотвращает откручивание наружной гайки со стороны плоской крышки. Основной недостаток этих известных конструкций заключается в протечке среды - охлаждающей воды с наружной стороны крышки водяной камеры в местах установок наружных гаек анкерных связей.
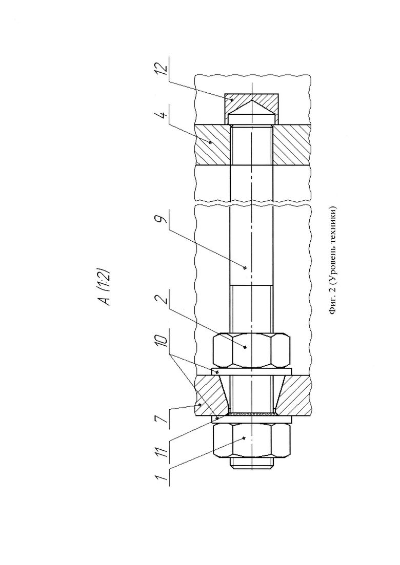
Для понимания сущности заявленного изобретения на фиг. 1 изображена типовая известная конструкция конденсатора с установленными анкерными связями, принимаемая за прототип, а на фиг. 2 - известная анкерная связь с наружными 1 и внутренними 2 гайками. Водяные камеры 3, установленные на трубные доски 4 корпуса 5 конденсатора с трубными пучками, представляют собой цельносварную конструкцию, состоящую из обечайки 6 к торцам которой приварены плоская крышка 7 и фланец 8. На элементы водяных камер 3, особенно на плоские крышки 7, действуют большие усилия, вызванные избыточным давлением охлаждающей воды. Для того чтобы уменьшить толщину листа для изготовления плоских крышек 7, при обеспечении удовлетворительной прочности конструкции и снижения общей металлоемкости изделия, применяются анкерные связи 9, служащие для разгрузки плоской крышки 7 от растягивающих усилий. Уплотнение анкерной связи 9 от протечек охлаждающей воды со стороны плоской крышки обеспечивается за счет применения шайб 10 и уплотнительной подмотки 11, а со стороны трубной доски 4 за счет установки заглушки 12. Недостатком прототипа, как показывает практика эксплуатации конденсатора, является разгерметизация уплотнений анкерной связи 9 в частых случаях со стороны плоской крышки 7 из-за сместившейся уплотнительной подмотки 11 или ввиду ее плохого качества, что приводит к протечке охлаждающей воды по плоской крышке 7 под шайбой 10. В редких случаях разгерметизация происходит со стороны трубной доски 4 через некачественный или корродированный со временем шов приварки заглушки 12, что приводит к присосам сырой воды в паровое пространство конденсатора, при этом восстановить герметичность со стороны парового пространства без удаления труб поверхности теплообмена не представляется возможным.
Технической проблемой, на решение которой направлено заявленное изобретение, является разгерметизация уплотнений анкерной связи со стороны плоской крышки, что приводит к протечке охлаждающей воды, и со стороны трубной доски, что приводит к присосам сырой воды в паровое пространство конденсатора.
Технический результат заявленного изобретения заключается в полном исключении протечек, связанных с установкой анкерных связей конденсатора.
Технический результат достигается заявленным конденсатором паровой турбины с анкерной связью, характеризующимся наличием съемных водяных камер, состоящих из обечайки, на торцах которой фланец с одной стороны и плоская крышка с другой, установлены на трубные доски, расположенные на торцах корпуса конденсатора с трубными пучками, при помощи основного крепежа и анкерных связей. Новым в такой конструкции конденсатора является то, что концы анкерных связей не выходят наружу водяных камер, а установлены внутри их водяного пространства на ребра, жестко соединенные при помощи сварки с трубной доской, и внутренней образующей плоской крышки водяной камеры, с обеих сторон которых установлены системы серег и осей, образовывающих шарнирные соединения, между которых установлена муфта, вращение которой обеспечивает стягивание конструкции за счет того, что вдоль ее оси вращения ввернуты шпильки с разным направлением резьбы.
В ходе проведения патентно-информационного поиска не выявлены сведения, ставшие общедоступными в мире до даты приоритета, которые содержат совокупность существенных признаков, указанных в независимом пункте формулы заявленного изобретения. Следовательно, заявленное изобретение соответствует критерию патентоспособности «новизна».
Дополнительный анализ аналогов показал, что известность влияния отличительных признаков на достигаемый технический результат не подтверждена. Для создания заявленного изобретения и подтверждения получения им технического результата потребовалось проведение ряд расчетов, анализа и нестандартного подхода при проектировании конденсатора турбины. Результатом многодневного проектирования стал новый конденсатор турбины с внутренней анкерной связью. Отсутствие в открытых источниках информации о таком конденсаторе лишь подтверждает неочевидность заявленного решения. Следовательно, заявленное изобретение соответствует критерию «изобретательский уровень».
Заявленное изобретение реализовано в конденсаторе К-4400 производства Уральского турбинного завода. Следовательно, решение соответствует критерию патентоспособности «промышленная применимость».
Заявленный конденсатор паровой турбины с внутренней анкерной связью поясняется на примере реализации прилагаемыми фигурами, на которых изображено:
фиг. 1 - известная типовая конструкция конденсатора с установленными анкерными связями (уровень техники);
фиг. 2 - известная конструкция анкерной связи (уровень техники);
фиг. 3 - заявленная внутренняя анкерная связь;
фиг. 4 - вид сверху на заявленную внутреннюю анкерную связь (Вид Б).
Конденсатор паровой турбины с внутренней анкерной связью, представляющую собой ребра 13 и 14, приваренные со стороны трубной доски 4 и плоской крышки 7 соответственно. В ребрах 13 и 14 выполнены отверстия для установки серег 15 при помощи осей 16. С противоположной стороны серьги 15 также выполнено отверстие для установки серьги 17 также при помощи оси 16. На торцах серег 17 выполнены резьбовые отверстия для установки анкерной связи 9 со стороны плоской крышки 7 и соединителя 18 со стороны трубной доски 4. Соединяет между собой анкерную связь 9 и соединитель 18 муфта 19, на торцах которой выполнена внутренняя резьба с разным направлением резьбы - левой 20 и правой 21, при этом направление наружных резьб, выполненные на анкерной связи 9 и соединителе 18 соответствуют направлениям в резьбе муфты 19. Четыре шарнирных соединения, которые образовывает система ребер 13 и 14, осей 16 и серег 15 и 17, установленных последовательно, обеспечивают собираемость внутренней анкерной связи. Установка внутренней анкерной связи происходит после установки водяной камеры на корпус конденсатора, а ее натяжение обеспечивается за счет вращения муфты 19 за счет того, что вдоль ее оси вращения ввернуты анкерная связь 9 и соединитель 18 с разным направлением резьбы. Для предотвращения ослабления внутренней анкерной связи при эксплуатации между муфтой 19 и анкерной связью 9 и соединителем 18 устанавливаются контрящие гайки 22 и 23 соответственно.
Заявленное изобретение может быть осуществлено следующим образом.
При сборке блока корпуса 5 конденсатора внутри водяного пространства входных и поворотных водяных камер 3 к трубным доскам 4 и плоским крышкам 7 параллельно друг другу на сварку устанавливают ребра 13 и 14. После установки входных и поворотных водяных камер 3, а также плоских крышек 7, в ребра 13 и 14 с обеих сторон устанавливают серьги 15, крепящиеся при помощи осей 16, которые стопорят от выпадения при эксплуатации шплинтами. На торцах серег 17 выполняют резьбовые отверстия для установки анкерной связи 9 со стороны плоской крышки 7 и соединителя 18 со стороны трубной доски 4. Соединяют между собой анкерную связь 9 и соединитель 18 при помощи муфты 19, на торцах которой выполнена внутренняя резьба с разным направлением резьбы - левой 20 и правой 21, при этом направление наружных резьб, выполненные на анкерной связи 9 и соединителе 18 соответствуют направлениям в резьбе муфты 19. Четыре шарнирных соединения, которые образовывает система ребер 13 и 14, осей 16 и серег 15 и 17, установленных последовательно, обеспечивают собираемость внутренней анкерной связи. Натяжение анкерной связи 9 обеспечивается за счет вращения муфты 19 за счет того, что вдоль ее оси вращения ввернуты анкерная связь 9 и соединитель 18 с разным направлением резьбы. Для предотвращения ослабления внутренней анкерной связи при эксплуатации между муфтой 19 и анкерной связью 9 и соединителем 18 устанавливают контрящие гайки 22 и 23 соответственно.
Таким образом, в конденсаторе паровых турбин реализуется применение внутренней анкерной связи, устраняющей существенные недостатки всех известных ранее решений с повышением эффективности и качества.
| название | год | авторы | номер документа |
|---|---|---|---|
| Конденсатор паровой турбины с самозатягивающейся анкерной связью | 2023 |
|
RU2801017C1 |
| Двухходовая водяная камера конденсатора | 1988 |
|
SU1636683A1 |
| Поверхностный конденсатор | 1977 |
|
SU616516A1 |
| ВОДЯНАЯ КАМЕРА ГОРИЗОНТАЛЬНОГО СЕТЕВОГО ПОДОГРЕВАТЕЛЯ | 2016 |
|
RU2648394C2 |
| ПАРОВОЙ КОТЕЛ S & S | 1997 |
|
RU2155909C2 |
| КОНДЕНСАТОР ПАРОВОЙ ТУРБИНЫ (ВАРИАНТЫ) | 2005 |
|
RU2279026C1 |
| ГОРИЗОНТАЛЬНЫЙ ОТОПИТЕЛЬНЫЙ КОТЕЛ | 1992 |
|
RU2042878C1 |
| УСОВЕРШЕНСТВОВАННЫЙ КРУПНОМАСШТАБНЫЙ МОНТИРУЕМЫЙ НА МЕСТЕ ПРОМЫШЛЕННЫЙ ПАРОКОНДЕНСАТОР С ВОДЯНЫМ ОХЛАЖДЕНИЕМ | 2019 |
|
RU2799475C2 |
| КОМБИНИРОВАННЫЙ ДВИГАТЕЛЬ ПУСТЫНЦЕВА | 1993 |
|
RU2094621C1 |
| ПАРОВОЙ КОНДЕНСАТОР ПАРОТУРБИННОЙ ЭНЕРГОУСТАНОВКИ | 2004 |
|
RU2288418C2 |
Изобретение относится к области энергомашиностроения, а именно к турбостроению, и может быть использовано при проектировании новых и реконструкции (модернизации) действующих конденсаторов, работающих в составе паротурбинных установок (ПТУ) на электростанции. Конденсатор паровой турбины с анкерной связью, характеризующийся наличием съемных водяных камер, состоящих из обечайки, на торцах которой фланец с одной стороны и плоская крышка с другой, установленных на трубные доски, расположенные на торцах корпуса конденсатора с трубными пучками, при помощи основного крепежа и анкерных связей. Новым в такой конструкции конденсатора является то, что концы анкерных связей не выходят наружу водяных камер, а установлены внутри их водяного пространства на ребра, жестко соединенные с трубной доской и внутренней образующей плоской крышки водяной камеры, с обеих сторон которых установлены системы серег и осей, образовывающих шарнирные соединения, между которыми установлена муфта, вращение которой обеспечивает стягивание конструкции за счет того, что вдоль ее оси вращения ввернуты шпильки с разным направлением резьбы. Технический результат заявленного изобретения заключается в полном исключении протечек, связанных с установкой анкерных связей конденсатора. 4 ил.
Конденсатор паровой турбины с анкерной связью, характеризующийся наличием съемных водяных камер, состоящих из обечайки, на торцах которой фланец с одной стороны и плоская крышка с другой, установленных на трубные доски, расположенные на торцах корпуса конденсатора с трубными пучками при помощи основного крепежа и анкерных связей, отличающийся тем, что концы анкерных связей не выходят наружу водяных камер, а установлены внутри их водяного пространства на ребра, жестко соединенные с трубной доской и внутренней образующей плоской крышки водяной камеры, с обеих сторон которых установлены системы серег и осей, образовывающих шарнирные соединения, между которыми установлена муфта, вращение которой обеспечивает стягивание конструкции за счет того, что вдоль ее оси вращения ввернуты шпильки с разным направлением резьбы.
| Конденсатор паровой турбины с самозатягивающейся анкерной связью | 2023 |
|
RU2801017C1 |
| АНКЕРНАЯ СВЯЗЬ ДЛЯ ТЕРМОИЗОЛЯЦИОННЫХ СТЕНОВЫХ КОНСТРУКЦИЙ | 2010 |
|
RU2431722C1 |
| Способ монтажа и эксплуатации конденсатора турбоагрегата | 2021 |
|
RU2788028C1 |
Авторы
Даты
2025-02-24—Публикация
2024-09-04—Подача