Изобретение относится к интегральной/нейроморфной фотонике, в частности - к оптическим устройствам реализации нелинейной функции активации, используемым в качестве элементов оптических сопроцессоров.
Искусственные нейронные сети (ИНС) широко используются в промышленности и играют важную роль в фундаментальных исследованиях. Хотя большинство аппаратных систем ИНС основаны на электронике, их оптическая реализация - потенциальный и многообещающий тренд. Обладая преимуществами высокой скорости, широкой полосы пропускания и низкой задержки, оптические нейронные сети (ОНС) формируют перспективную нейроморфную вычислительную платформу для ускорения задач искусственного интеллекта. ОНС содержат два вида основных функциональных устройств: устройства умножения с накоплением (MAC) и устройства реализации нелинейных функций активации (NAF). В последние годы были разработаны различные оптические устройства MAC, использующие схемы мультиплексирования с разделением длин волн (WDM) или когерентные многолучевые интерферометры. Однако оптические нелинейные функциональные устройства активации по-прежнему остаются сложной задачей для интеграции крупномасштабных ОНС. Большинство нелинейных функций активации реализованы в схемах оптико-электрического (ОЕ) преобразования, где скорость обработки ограничена временем ожидания преобразования ОЕ. Таким образом, реализация полностью оптической нелинейной функции активации является привлекательным решением для оптических нейроморфных вычислений.
Из уровня техники известно устройство реализации нелинейной функции активации оптической нейронной сети, выполненное в виде интерферометра Маха-Цендера с электрооптическим фазосдвигателем в одном плече, которое обеспечивает нелинейность от оптического к оптическому за счет преобразования небольшой части входной оптической мощности в напряжение (заявка US 2021/0116781 А1, МПК G02F 1/35, опубл. 22.04.2021). По мере прохождения исходного оптического сигнала через интерферометр его остальная часть модулируется фазой и амплитудой этого напряжения. Для входного сигнала с амплитудой z результирующая функция нелинейной оптической активации f(z) является откликом интерферометра при модуляции и результатом работы элементов в тракте электрического сигнала. Поскольку известное устройство реализации нелинейной функции активации оптической нейронной сети представляет собой автономную аналоговую схему, а большая часть мощности сигнала передается в оптической области, ему присущи возможность высокого параллелизма и низкое энергопотребление.
К недостаткам означенного аналога следует отнести ограниченную скорость вычислений, обусловленную задержкой из-за электрооптического преобразования, слабую помехозащищенность, обусловленную наличием электрического тракта, и существенные габариты, обусловленные весьма разветвленной архитектурой устройства.
Наиболее близким к заявленному - прототипом - является полностью оптическое устройство реализации нелинейной функции активации, выполненное в виде ограниченного разветвителем с коэффициентом деления q«x на входе и объединителем с коэффициентом деления qebix на выходе двуплечего модулятора Маха-Цендера, в первом плече которого размещен Х-сплиттер, соединяющий оптический волновод с кольцевым резонатором, второе плечо модулятора Маха-Цендера и кольцевой резонатор снабжены фазосдвигающими механизмами, а разветвитель и объединитель выполнены в виде Y-сплиттеров (заявка US 2024/0134247 А1, МПК G02F 1/35, опубл. 25.04.2024). Нелинейность обеспечивается кольцевым резонатором, изменяющим фазу и амплитуду передачи, а модулятор Маха-Цендера преобразует нелинейную фазу в нелинейный отклик.
К недостаткам прототипа следует отнести его ограниченные эксплуатационные возможности, обусловленные наличием паразитной фазовой модуляции выходного сигнала, что препятствует использованию прототипа в многослойных когерентных ОНС.
Проблема, решаемая настоящим изобретением - исключение паразитной фазовой модуляции в выходном сигнале с амплитудной модуляцией.
Технический результат - расширение эксплуатационных возможностей полностью оптического устройства реализации нелинейной функции активации за счет использования в многослойных когерентных ОНС.
Выявленная проблема решается, а заявленный технический результат достигается тем, что в полностью оптическом устройстве реализации нелинейной функции активации, выполненном в виде ограниченного разветвителем с коэффициентом деления qвх на входе и объединителем с коэффициентом деления qвых на выходе двуплечего модулятора Маха-Цендера, в первом плече которого размещен Х-сплиттер, соединяющий оптический волновод с кольцевым резонатором,
в первом варианте
разветвитель и объединитель выполнены в виде Y-сплиттеров, разность оптических длин плеч модулятора Маха-Цендера поддерживает набег фазы ϕMZ=0, а кольцевой резонатор выполнен с соблюдением условия:
во втором варианте
разветвитель выполнен в виде Y-сплиттера, объединитель выполнен в виде X-сплиттера, выход которого сформирован волноводом второго плеча модулятора Маха-Цендера, разность оптических длин плеч модулятора Маха-Цендера поддерживает набег фазы ϕMZ=π/2, а кольцевой резонатор выполнен с соблюдением условия:
в третьем варианте
разветвитель выполнен в виде Y-сплиттера, объединитель выполнен в виде X-сплиттера, выход которого сформирован волноводом первого плеча модулятора Маха-Цендера, разность оптических длин плеч модулятора Маха-Цендера поддерживает набег фазы ϕMZ=-π/2, а кольцевой резонатор выполнен с соблюдением условия:
в четвертом варианте
объединитель выполнен в виде Y-сплиттера, отличающийся тем, что разветвитель выполнен в виде Х-сплиттера, вход которого сформирован волноводом второго плеча модулятора Маха-Цендера, разность оптических длин плеч модулятора Маха-Цендера поддерживает набег фазы ϕMZ=π/2, а кольцевой резонатор выполнен с соблюдением условия:
в пятом варианте
объединитель выполнен в виде Y-сплиттера, разветвитель выполнен в виде X-сплиттера, вход которого сформирован волноводом первого плеча модулятора Маха-Цендера, разность оптических длин плеч модулятора Маха-Цендера поддерживает набег фазы ϕMZ=-π/2, а кольцевой резонатор выполнен с соблюдением условия:
в шестом варианте
разветвитель и объединитель выполнены в виде Х-сплиттеров, вход разветвителя и выход объединителя сформированы волноводом первого плеча модулятора Маха-Цендера, разность оптических длин плеч модулятора Маха-Цендера поддерживает набег фазы ϕMZ=π, а кольцевой резонатор выполнен с соблюдением условия:
в седьмом варианте
разветвитель и объединитель выполнены в виде Х-сплиттеров, вход разветвителя и выход объединителя сформированы соответственно волноводами первого и второго плеч модулятора Маха-Цендера, разность оптических длин плеч модулятора Маха-Цендера поддерживает набег фазы ϕMZ=0, а кольцевой резонатор выполнен с соблюдением условия:
в восьмом варианте
разветвитель и объединитель выполнены в виде Х-сплиттеров, вход разветвителя и выход объединителя сформированы соответственно волноводами второго и первого плеч модулятора Маха-Цендера, разность оптических длин плеч модулятора Маха-Цендера поддерживает набег фазы ϕMZ=0, а кольцевой резонатор выполнен с соблюдением условия:
в девятом варианте
разветвитель и объединитель выполнены в виде Х-сплиттеров, вход разветвителя и выход объединителя сформированы волноводом второго плеча модулятора Маха-Цендера, разность оптических длин плеч модулятора Маха-Цендера поддерживает набег фазы ϕMZ=π, а кольцевой резонатор выполнен с соблюдением условия:
Изобретение поясняется изображениями, на которых представлены:
Фиг. 1 - расчетная схема первого варианта изобретения;
Фиг. 2 - расчетная схема второго варианта изобретения;
Фиг. 3 - расчетная схема третьего варианта изобретения;
Фиг. 4 - расчетная схема четвертого варианта изобретения;
Фиг. 5 - расчетная схема пятого варианта изобретения;
Фиг. 6 - расчетная схема шестого варианта изобретения;
Фиг. 7 - расчетная схема седьмого варианта изобретения;
Фиг. 8 - расчетная схема восьмого варианта изобретения;
Фиг. 9 - расчетная схема девятого варианта изобретения;
Фиг. 10 - преобразование F на комплексной плоскости;
Фиг. 11 - графики зависимости амплитуды и разности фаз входного и выходного сигналов заявленного устройства;
Фиг. 12 - графики зависимости амплитуды и разности фаз входного и выходного сигналов устройства при отклонении одного из конструктивных параметров от заявленных значений.
На представленных изображениях представлены цифровые и буквенные обозначения, означающие следующее:
1 - двуплечий интерферометр Маха-Цендера;
2 - первое плечо интерферометр Маха-Цендера;
3 - второе плечо интерферометр Маха-Цендера;
4 - разветвитель (coupler);
5 - объединитель (combiner);
6 - кольцевой резонатор;
7 - Х-сплиттер, соединяющий оптический волновод с кольцевым резонатором (далее - сплиттер резонатора),
расшифровка буквенных обозначений дается далее по тексту.
Изобретение, как это отмечалось выше, направлено на решение проблемы устранения паразитной фазовой модуляции в реализующем NAF устройстве в виде двуплечего модулятора Маха-Цендера со встроенным в одно плечо кольцевым резонатором. Сразу отметим, что заявленное устройство (без дополнительных модулирующих средств) реализует нелинейную функцию типа «сигмоид» с рабочим диапазоном от Emin до Emax (Фиг. 11, Фиг. 12). Отсутствие фазовой модуляции заключается в постоянном значении разности фаз входного (ψin) и выходного (ψout) сигналов: Δψ=ψout-ψin=const (Δψ - обозначение разности фаз). Соответственно, техническое решение заключается в выявлении возможности и, в случае наличия такой возможности, в определении параметров двуплечего модулятора Маха-Цендера со встроенным в одно плечо кольцевым резонатором, обеспечивающих выполнение означенного условия.
Заявленное устройство, как и прототип, выполнено в виде ограниченного разветвителем 4 с коэффициентом деления qвх на входе и объединителем 5 с коэффициентом деления qвых на выходе двуплечего модулятора Маха-Цендера 1, в первом плече 2 которого размещен Х-сплиттер 7 с коэффициентом пропускания к, соединяющий оптический волновод первого плеча 2 с кольцевым резонатором 6 с коэффициентом затухания а. Конструктивно разветвитель 4 и объединитель 5 могут быть выполнены в виде Х-сплиттера и/или Y-сплиттера, соответственно число возможных сочетаний определяет девять вариантов исполнения, которые являются по сути эквивалентными решениями, но обладают определенными параметрическими отличиями, что будет показано ниже. Далее перейдем к определению параметров устройства, необходимых и достаточных для выполнения ранее сформулированного условия отсутствия паразитной фазовой модуляции в выходном сигнале с амплитудной модуляцией. Разность оптических длин плеч модулятора определяет величину фазового набега:
Lопт,1 и Lопт,2 - оптическая длина верхнего и нижнего плеча, соответственно; λ - длина волны излучения. Линейный набег фазы в кольце определяется оптической длиной световода кольца Lопт,R:
ƒloor - функция округления числа в меньшую сторону до ближайшего целого значения. В кольцевом резонаторе под действием оптического излучения развивается нелинейность, которая приводит к дополнительному набегу фазы ϕNL. Он не рассматривается как управляемый параметр, но является свойством материала и зависит от мощности излучения. Варианты схемы изобретения можно разделить на два вида: схемы с Х- и Y-сплиттерами. Как следует из названия, Х-сплиттер имеет четыре конца - световода: по два входных и выходных, - и зону взаимодействия световодов, длина которой определяет коэффициент деления сплиттера q=ƒ(L). Чтобы Х-сплиттер работал в режиме разветвителя или объединителя, можно «закрыть» один из концов сплиттера. Трансфер-матрица Х-сплиттера:
i - мнимая единица.
Y-сплиттер имеет три конца: один входной - два выходных или два входных - один выходной. Трансфер матрица Y-сплиттера:
Трансфер-функцию преобразования, производимого изобретением можно в общем виде записать:
где А и В - параметры, зависящие от коэффициентов деления сплиттеров, FR - трансфер-функция преобразования, производимого кольцевым резонатором, Eout и Ein - соответственно выходная и входная комплексные амплитуды оптического сигнала.
где введено обозначение z:
Далее рассмотрим схемы заявленных вариантов устройства и их параметрические отличия.
Вариант 1
Разветвитель 4 и объединитель 5 (Фиг. 1) выполнены в виде Y-сплиттеров. Разность оптических длин плеч 2 и 3 модулятора Маха-Цендера поддерживает набег фазы ϕMZ=0, что соответствует равенству оптических длин плеч 2 и 3. Трансфер-функция устройства:
Вариант 2
Разветвитель 4 выполнен в виде Y-сплиттера, объединитель 5 выполнен в виде X-сплиттера, выход которого сформирован волноводом второго плеча 3 модулятора Маха-Цендера (Фиг. 2). Разность оптических длин плеч 2 и 3 модулятора Маха-Цендера поддерживает набег фазы ϕMZ=π/2. Трансфер-функция устройства:
Вариант 3
Разветвитель 4 выполнен в виде Y-сплиттера, объединитель 5 выполнен в виде X-сплиттера, выход которого сформирован волноводом первого плеча 2 модулятора Маха-Цендера. Разность оптических длин плеч 2 и 3 модулятора Маха-Цендера поддерживает набег фазы ϕMZ=-π/2. Трансфер-функция устройства:
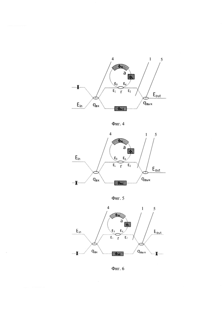
Вариант 4
Объединитель 5 выполнен в виде Y-сплиттера, разветвитель 4 выполнен в виде X-сплиттера, вход которого сформирован волноводом второго плеча 3 модулятора Маха-Цендера. Разность оптических длин плеч 2 и 3 модулятора Маха-Цендера поддерживает набег фазы ϕMZ=π/2. Трансфер-функция устройства:
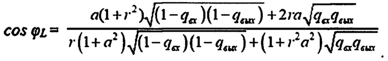
Вариант 5
Объединитель 5 выполнен в виде Y-сплиттера, разветвитель 4 выполнен в виде X-сплиттера, вход которого сформирован волноводом первого плеча 2 модулятора Маха-Цендера. Разность оптических длин плеч модулятора Маха-Цендера поддерживает набег фазы ϕMZ=-π/2. Трансфер-функция устройства:
Вариант 6
Разветвитель 4 и объединитель 5 выполнены в виде Х-сплиттеров, вход разветвителя 4 и выход объединителя 5 сформированы волноводом первого плеча 2 модулятора Маха-Цендера. Разность оптических длин плеч 2 и 3 модулятора Маха-Цендера поддерживает набег фазы ϕMZ=π. Трансфер-функция устройства:
Вариант 7
Разветвитель 4 и объединитель 5 выполнены в виде Х-сплиттеров, вход разветвителя 4 и выход объединителя 5 сформированы соответственно волноводами первого 2 и второго 3 плеч модулятора Маха-Цендера. Разность оптических длин плеч модулятора Маха-Цендера поддерживает набег фазы ϕMZ=0. Трансфер-функция устройства:
Вариант 8
Разветвитель 4 и объединитель 5 выполнены в виде Х-сплиттеров, вход разветвителя 4 и выход объединителя 5 сформированы соответственно волноводами второго 3 и первого 2 плеч модулятора Маха-Цендера. Разность оптических длин плеч модулятора Маха-Цендера поддерживает набег фазы ϕMZ=0. Трансфер-функция устройства:
Вариант 9
Разветвитель 4 и объединитель 5 выполнены в виде Х-сплиттеров, вход разветвителя 4 и выход объединителя 5 сформированы волноводом второго плеча 3 модулятора Маха-Цендера. Разность оптических длин плеч 2 и 3 модулятора Маха-Цендера поддерживает набег фазы ϕMZ=π. Трансфер-функция устройства:
Всего мы получили четыре группы схем, различающихся трансфер-функциями:
Группа I (варианты №6, №1, №3 и №5): 
Группа II (варианты №7, №2): 
Группа III (варианты №8, №4): 
Группа IV (вариант №9): 
Задача изобретения реализовать преобразование амплитудного сигнала в виде нелинейной функции активации типа «сигмоид» без фазовой модуляции. Отсутствие фазовой модуляции достигается выбором параметра ϕL. Требуемое значение параметра определяется из следующих соображений. Трансфер-функция преобразования F (Фиг. 10), производимого изобретением, на комплексной плоскости описывает окружность, причем область внутри окружности не пересекает начало координат О. Одновременно, в соответствии с (6), эта окружность описывает траекторию точки, движущейся на комплексной плоскости против часовой стрелки. Параметр выбирается таким, чтобы стартовая точка траектории находилась в точке касания касательной, проведенной к рассматриваемой окружности из начала координат, а движение из этой точки осуществлялось в направлении центра начала координат. Рассмотрим F как функцию дробно-линейного преобразование комплексной плоскости. Общий вид такого преобразования:
где w и z - комплексные числа; А, В, С и D - параметры преобразования. Его каноническая матрица:
Когда мы делаем преобразование от преобразования, то их канонические матрицы перемножаются. Искомое значение ϕL определяется из формулы:
Тогда для означенных выше четырех групп получаем:
Группа I
Преобразование:
Его каноническая матрица для модулятора:
Каноническая матрица для кольца на модуляторе:
Отсюда получаем:
Если qвх=qвых=q:
Группа II
Преобразование:
Его каноническая матрица для модулятора:
Каноническая матрица для кольца на модуляторе:
Отсюда получаем:
Если qвх=qвых=q:
Группа III
Преобразование:
Его каноническая матрица для модулятора:
Каноническая матрица для кольца на модуляторе:
Отсюда получаем:
Если qвх=qвых=q:
Группа IV
Преобразование:
Его каноническая матрица для модулятора:
Каноническая матрица для кольца на модуляторе:
Отсюда получаем:
Если qвх=qвых=q:
Таким образом, с учетом (1) и (2), полученные формулы отражены в вариантах формулы изобретения и в степени необходимой и достаточной устанавливают собственные параметры устройства и/или его компонентов, соблюдение которых гарантирует отсутствие фазовой модуляции в выходном сигнале с амплитудной модуляцией, сформулированное выше как Δψ=ψout-ψin=const. В качестве полностью оптического устройства реализации нелинейной функции активации все девять представленных вариантов эквивалентны, но в силу различной организации входа и выхода каждый из них может быть более или менее удобен в конкретной архитектуре ОНС, исходя из геометрических и/или технологических и/или иных соображений.
Опытная реализация заявленного технического решения осуществлялась посредством компьютерного моделирования в пакете MatLab приведенных вариантов схем. Моделирование проводилось для кремниевого кольцевого резонатора и волноводов, учитывались следующие нелинейные эффекты, развивающиеся в кремниевом кольце: эффект Керра (Kerr), двух-фотонное поглощение (TPA) и изменение показателя преломления кремния из-за изменения концентрации свободных носителей заряда (FCD). Параметры схемы сведены в таблице:
В результате проведенных численных экспериментов получены данные, отраженные в графиках (Фиг. 11, Фиг. 12). На Фиг. 11 и Фиг. 12 амплитуда выходного сигнала приведена в следующем смысле:
Output Е = |Eout| ⋅ sign(cos(ψout)) / Emax, где
|Eout| - модуль амплитуды выходного сигнала, sign - функция, возвращающая знак аргумента.
Из представленных графиков следует, что в пределах рабочего диапазона от Emin до Emax использование заявленных конструктивных параметров гарантированно обеспечивает Δψ=const (Фиг. 11), что свидетельствует об отсутствии паразитной фазовой модуляции в выходном сигнале с амплитудной модуляцией, а любое отклонение от заявленных конструктивных параметров приводит к появлению внутри диапазона от Emin до Emax зон V, в пределах которых Δψ≠const (Фиг. 12), что свидетельствует о наличии паразитной фазовой модуляции в выходном сигнале с амплитудной модуляцией.
Изложенное позволяет сделать вывод о том, что выявленная проблема -наличие паразитной фазовой модуляции в выходном сигнале с амплитудной модуляцией - решена, а заявленный технический результат - расширение эксплуатационных возможностей полностью оптического устройства реализации нелинейной функции активации за счет использования в многослойных когерентных ОНС - достигнут.
| название | год | авторы | номер документа |
|---|---|---|---|
| Оптический фазовый модулятор | 2024 |
|
RU2831504C1 |
| Устройство контроля фазовых сдвигов излучения в интегральных схемах на базе несимметричного интерферометра Маха-Цендера | 2023 |
|
RU2805561C1 |
| Устройство формирования квантовых состояний для систем квантовых коммуникаций с оценкой качества приготовления состояний для протоколов квантовой генерации ключа на чипе | 2023 |
|
RU2806904C1 |
| Способ и устройство генерации квантовых состояний с фазовым кодированием и состоянием ловушек | 2022 |
|
RU2814147C1 |
| СПОСОБ ПОДСТРОЙКИ ИНТЕГРАЛЬНО-ОПТИЧЕСКОГО ИНТЕРФЕРОМЕТРА МАХА-ЦЕНДЕРА | 2020 |
|
RU2754205C1 |
| СПОСОБ ПОДСТРОЙКИ КОЭФФИЦИЕНТА ДЕЛЕНИЯ ВОЛНОВОДНОГО РАЗВЕТВИТЕЛЯ НА ПОДЛОЖКЕ НИОБАТА ЛИТИЯ | 2016 |
|
RU2646546C1 |
| Устройство формирования квантовых состояний для систем квантовых коммуникаций на чипе | 2023 |
|
RU2814193C1 |
| Волоконный импульсный лазер с нелинейным петлевым зеркалом | 2015 |
|
RU2618605C1 |
| СПОСОБ ОБРАБОТКИ СИГНАЛА КОЛЬЦЕВОГО ИНТЕРФЕРОМЕТРА ВОЛОКОННО-ОПТИЧЕСКОГО ГИРОСКОПА С ОТКРЫТЫМ КОНТУРОМ | 2000 |
|
RU2176775C1 |
| Устройство измерения параметров волоконно-оптического резонатора с помощью перестраиваемого источника оптического излучения и компенсацией нелинейности перестройки частоты | 2022 |
|
RU2805291C1 |
Изобретение относится к интегральной/нейроморфной фотонике, в частности - к оптическим устройствам реализации нелинейной функции активации, используемым в качестве элементов оптических сопроцессоров. В полностью оптическом устройстве реализации нелинейной функции активации, выполненном в виде ограниченного разветвителем 4 с коэффициентом деления qвх на входе и объединителем 5 с коэффициентом деления qвых на выходе двуплечего модулятора Маха-Цендера 1, в первом плече 2 которого размещен Х-сплиттер 7, соединяющий оптический волновод с кольцевым резонатором 6, разветвитель 4 и объединитель 5 выполнены в виде Х- и/или Y-сплиттеров, а конструктивные параметры подобраны так, что разность фаз входного (ψin) и выходного (ψout) сигналов: Δψ=ψout-ψin=const. Технический результат - расширение эксплуатационных возможностей полностью оптического устройства реализации нелинейной функции активации за счет использования в многослойных когерентных ОНС. 9 н.п. ф-лы, 12 ил.
1. Полностью оптическое устройство реализации нелинейной функции активации, выполненное в виде ограниченного разветвителем с коэффициентом деления qвх на входе и объединителем с коэффициентом деления qвых на выходе двуплечего модулятора Маха-Цендера, в первом плече которого размещен X-сплиттер, соединяющий оптический волновод с кольцевым резонатором, а разветвитель и объединитель выполнены в виде Y-сплиттеров, отличающееся тем, что разность оптических длин плеч модулятора Маха-Цендера поддерживает набег фазы ϕMZ=0, а кольцевой резонатор выполнен с соблюдением условия
- набег фазы в модуляторе Маха-Цендера;
- линейный набег фазы в кольцевом резонаторе;
Lопт,1 и Lопт,2 - оптическая длина соответственно первого и второго плеча модулятора Маха-Цендера;
r - коэффициент пропускания Х-сплиттера;
а - коэффициент затухания кольцевого резонатора;
Lопт,R - оптическая длина волновода кольцевого резонатора;
λ - рабочая длина волны излучения;
ƒloor - функция округления числа в меньшую сторону до ближайшего целого значения.
2. Полностью оптическое устройство реализации нелинейной функции активации, выполненное в виде ограниченного разветвителем с коэффициентом деления qвх на входе и объединителем с коэффициентом деления qвых на выходе двуплечего модулятора Маха-Цендера, в первом плече которого размещен X-сплиттер, соединяющий оптический волновод с кольцевым резонатором, а разветвитель выполнен в виде Y-сплиттера, отличающееся тем, что объединитель выполнен в виде Х-сплиттера, выход которого сформирован волноводом второго плеча модулятора Маха-Цендера, разность оптических длин плеч модулятора Маха-Цендера поддерживает набег фазы ϕMZ=π/2, а кольцевой резонатор выполнен с соблюдением условия
3. Полностью оптическое устройство реализации нелинейной функции активации, выполненное в виде ограниченного разветвителем с коэффициентом деления qвх на входе и объединителем с коэффициентом деления qвых на выходе двуплечего модулятора Маха-Цендера, в первом плече которого размещен X-сплиттер, соединяющий оптический волновод с кольцевым резонатором, а разветвитель выполнен в виде Y-сплиттера, отличающееся тем, что объединитель выполнен в виде Х-сплиттера, выход которого сформирован волноводом первого плеча модулятора Маха-Цендера, разность оптических длин плеч модулятора Маха-Цендера поддерживает набег фазы ϕMZ=-π/2, а кольцевой резонатор выполнен с соблюдением условия
4. Полностью оптическое устройство реализации нелинейной функции активации, выполненное в виде ограниченного разветвителем с коэффициентом деления qвх на входе и объединителем с коэффициентом деления qвых на выходе двуплечего модулятора Маха-Цендера, в первом плече которого размещен X-сплиттер, соединяющий оптический волновод с кольцевым резонатором, а объединитель выполнен в виде Y-сплиттера, отличающееся тем, что разветвитель выполнен в виде Х-сплиттера, вход которого сформирован волноводом второго плеча модулятора Маха-Цендера, разность оптических длин плеч модулятора Маха-Цендера поддерживает набег фазы ϕMZ=π/2, а кольцевой резонатор выполнен с соблюдением условия
5. Полностью оптическое устройство реализации нелинейной функции активации, выполненное в виде ограниченного разветвителем с коэффициентом деления qвх на входе и объединителем с коэффициентом деления qвых на выходе двуплечего модулятора Маха-Цендера, в первом плече которого размещен X-сплиттер, соединяющий оптический волновод с кольцевым резонатором, а объединитель выполнен в виде Y-сплиттера, отличающееся тем, что разветвитель выполнен в виде Х-сплиттера, вход которого сформирован волноводом первого плеча модулятора Маха-Цендера, разность оптических длин плеч модулятора Маха-Цендера поддерживает набег фазы ϕMZ=-π/2, а кольцевой резонатор выполнен с соблюдением условия
6. Полностью оптическое устройство реализации нелинейной функции активации, выполненное в виде ограниченного разветвителем с коэффициентом деления qвх на входе и объединителем с коэффициентом деления qвых на выходе двуплечего модулятора Маха-Цендера, в первом плече которого размещен X-сплиттер, соединяющий оптический волновод с кольцевым резонатором, отличающееся тем, что разветвитель и объединитель выполнены в виде X-сплиттеров, вход разветвителя и выход объединителя сформированы волноводом первого плеча модулятора Маха-Цендера, разность оптических длин плеч модулятора Маха-Цендера поддерживает набег фазы ϕMZ=π, а кольцевой резонатор выполнен с соблюдением условия
7. Полностью оптическое устройство реализации нелинейной функции активации, выполненное в виде ограниченного разветвителем с коэффициентом деления qвх на входе и объединителем с коэффициентом деления qвых на выходе двуплечего модулятора Маха-Цендера, в первом плече которого размещен X-сплиттер, соединяющий оптический волновод с кольцевым резонатором, отличающееся тем, что разветвитель и объединитель выполнены в виде X-сплиттеров, вход разветвителя и выход объединителя сформированы соответственно волноводами первого и второго плеч модулятора Маха-Цендера, разность оптических длин плеч модулятора Маха-Цендера поддерживает набег фазы ϕMZ=0, а кольцевой резонатор выполнен с соблюдением условия
8. Полностью оптическое устройство реализации нелинейной функции активации, выполненное в виде ограниченного разветвителем с коэффициентом деления qвх на входе и объединителем с коэффициентом деления qвых на выходе двуплечего модулятора Маха-Цендера, в первом плече которого размещен X-сплиттер, соединяющий оптический волновод с кольцевым резонатором, отличающееся тем, что разветвитель и объединитель выполнены в виде X-сплиттеров, вход разветвителя и выход объединителя сформированы соответственно волноводами второго и первого плеч модулятора Маха-Цендера, разность оптических длин плеч модулятора Маха-Цендера поддерживает набег фазы ϕMZ=0, а кольцевой резонатор выполнен с соблюдением условия
9. Полностью оптическое устройство реализации нелинейной функции активации, выполненное в виде ограниченного разветвителем с коэффициентом деления qвх на входе и объединителем с коэффициентом деления qвых на выходе двуплечего модулятора Маха-Цендера, в первом плече которого размещен X-сплиттер, соединяющий оптический волновод с кольцевым резонатором, отличающееся тем, что разветвитель и объединитель выполнены в виде X-сплиттеров, вход разветвителя и выход объединителя сформированы волноводом второго плеча модулятора Маха-Цендера, разность оптических длин плеч модулятора Маха-Цендера поддерживает набег фазы ϕMZ=π, а кольцевой резонатор выполнен с соблюдением условия
| US 2024134247 A1, 25.04.2024 | |||
| УСТРОЙСТВО ДЛЯ ПУСКА СИНХРОННОГО ДВИГАТЕЛЯ | 1967 |
|
SU222518A2 |
| US 20210116781 A1, 22.04.2021 | |||
| CN 111860822 A, 30.10.2020 | |||
| US 20210072784 A1, 11.03.2021. | |||
Авторы
Даты
2025-03-03—Публикация
2024-07-08—Подача