Снижение кавитации в потоке в устройстве для приготовления напитков Российский патент 2025 года по МПК F04D29/66 A47J31/00 

Описание патента на изобретение RU2835839C1

Родственные Заявки

[0001] Настоящая заявка испрашивает приоритет по предварительной заявке на патент Австралии №2020903258, поданной 10 сентября 2020 г., содержание которой полностью включено в настоящий документ посредством ссылки.

Область техники

[0002] Настоящее изобретение в целом относится к устройству для приготовления напитка и способу управления этим устройством.

Предпосылки создания изобретения

[0003] Устройство для нагрева жидкости для приготовления напитка, такое как кофемашина, обычно включает бак для воды, водяной насос и нагреватель. Насос нагнетает воду из бака для воды через канал в направлении нагревателя для нагрева.

[0004] В различных обстоятельствах, гидравлическая система кофемашины может захватывать воздушные карманы, например, если на насос для воды подано питание, когда бак для воды пуст. Бак для воды может оказываться пустым при некоторых обстоятельствах, например, когда устройство еще новое (только из коробки) или если в баке для воды отсутствует система определения уровня воды, в результате чего устройство работает без воды.

[0005] Такие воздушные карманы блокируют прохождение жидкости через гидравлическую систему, что приводит к явлению, называемому кавитацией, которое проявляется в форме воздушной пробки или паровой пробки. Кроме того, из-за вращения ротора и изменений давления в жидкости могут формироваться пузырьки воздуха, что создает кавитацию. Эти пузырьки в линии потока вызывают уменьшение энергии потока, а это может нарушить гидравлическую систему. При возникновении кавитации прокачивание воды через систему может оказаться невозможным, даже при заполненном водой баке. В таких случаях, исправная в остальном кофемашина может стать непригодной для достижения поставленной цели, и окажется неспособной готовить напитки из-за кавитации в гидравлической системе.

Изложение сущности изобретения

[0006] Целью настоящего изобретения является преодоление в значительной мере или по меньшей мере устранение одного или более указанных выше недостатков, или предложение полезной альтернативы.

[0007] В соответствии с одним аспектом настоящего изобретения предложено устройство для приготовления напитка, содержащее: канал, определяющий для жидкости путь потока; насос для перемещения жидкости под давлением вдоль канала прохождения потока, причем насос выполнен с возможностью работы в первом режиме и втором режиме, отличном от первого режима, в который переключается в ответ на обнаружение кавитации, при этом во втором режиме насос вызывает перемещение жидкости под более высоким давлением, чем в первом режиме, чтобы по меньшей мере способствовать устранению кавитации; блок датчиков, выполненный с возможностью определения первой скорости жидкости в канале прохождения потока, когда насос работает в первом режиме, и определения второй скорости жидкости, когда насос работает во втором режиме; и контроллер, функционально связанный с насосом и блоком датчиков, и выполненный с возможностью подавать насосу команду на переключение из первого режима во второй режим, если первая скорость жидкости ниже первого порогового значения, и давать насосу команду на переключение из второго режима в первый режим, если вторая скорость жидкости превышает второе пороговое значение.

[0008] В определенных вариантах осуществления насос выполнен с возможностью работы на первой скорости в первом режиме и на второй скорости во втором режиме, причем вторая скорость насоса больше первой скорости насоса.

[0009] В определенных вариантах осуществления контроллер выполнен с возможностью применять задержку при переключения насоса из второго режима в первый режим, если первое пороговое значение и второе пороговое значение являются одинаковыми.

[00010] В определенных вариантах осуществления первое пороговое значение равно второму пороговому значению.

[00011] В определенных вариантах осуществления контроллер дополнительно выполнен с возможностью отключать насос в ответ на обнаружение того, что вторая скорость жидкости ниже второго порогового значения в течение порогового периода времени.

[00012] В определенных вариантах осуществления контроллер дополнительно выполнен с возможностью подавать сигнал системе предупреждения устройства, что бак для воды, из которого вода подается в насос, пуст, в ответ на обнаружение того, что вторая скорость жидкости ниже второго порогового значения в течение заданного периода времени.

[00013] В определенных вариантах осуществления контроллер дополнительно выполнен с возможностью работать на основе данных, введенных пользователем.

[00014] В определенных вариантах осуществления контроллер выполнен с возможностью определения, на какой стадии процесса приготовления напитка устройство работало перед переключением насоса во второй режим, и определения параметров для переключения насоса из второго режима в первый режим на основании этой определенной стадии.

[00015] В определенных вариантах осуществления устройство дополнительно содержит нагреватель, выполненный с возможностью нагрева жидкости, перемещаемой насосом, причем контроллер дополнительно выполнен с возможностью отключения нагревателя в ответ на обнаружение того, что первая скорость жидкости ниже первого порогового значения.

[00016] В определенных вариантах осуществления контроллер выполнен с возможностью включения нагревателя в ответ на обнаружение того, что вторая скорость жидкости превышает второе пороговое значение, причем нагреватель включается с параметрами нагрева, соответствующими параметрам нагрева перед выключением нагревателя.

[00017] В соответствии с другим аспектом настоящего изобретения предложен способ управления устройством для приготовления напитка, включающий: подключение насоса устройства для работы в первом режиме приготовления напитка; определение первой скорости жидкости в канале прохождения потока, ограниченной каналом во время первого режима; управление насосом для переключения из первого режима во второй режим, если первая скорость жидкости ниже первого порогового значения, причем управление насосом осуществляется так, чтобы он перемещал жидкость под более высоким давлением во втором режиме, чем в первом режиме, чтобы по меньшей мере способствовать устранению кавитации; определение второй скорости жидкости в канале прохождения потока во время второго режима; и управление насосом для переключения из второго режима в первый режим, если вторая скорость жидкости превышает второе пороговое значение.

[00018] В определенных вариантах осуществления способ дополнительно включает подключение насоса для работы в первом режиме с первой скоростью насоса и подключение насоса для работы во втором режиме со второй скоростью насоса, причем вторая скорость насоса выше, чем первая скорость насоса.

[00019] В определенных вариантах осуществления переключение из второго режима в первый режим задерживается с заданной задержкой, если первое пороговое значение и второе пороговое значение являются одинаковыми.

[00020] В определенных вариантах осуществления первое пороговое значение равно второму пороговому значению.

[00021] В определенных вариантах осуществления способ дополнительно включает управление насосом с его отключением в ответ на обнаружение того, что вторая скорость жидкости ниже второго порогового значения в течение порогового периода времени.

[00022] В определенных вариантах осуществления способ дополнительно включает подачу сигнала, что резервуар для воды, подаваемой в насос, пуст, в ответ на обнаружение того, что вторая скорость жидкости ниже второго порогового значения в течение порогового периода времени.

[00023] В определенных вариантах осуществления подключение насоса происходит на основе данных, введенных пользователем.

[00024] В определенных вариантах осуществления способ дополнительно включает: определение, на какой стадии процесса приготовления напитка устройство работало перед переключением во второй режим; и определение параметров для переключения насоса из второго режима в первый режим на основании этой определенной стадии.

[00025] В некоторых вариантах осуществления способ дополнительно включает управление нагревателем, нагревающим жидкость, перемещаемую насосом, с его выключением в ответ на обнаружение того, что первая скорость жидкости ниже первого порогового значения.

[00026] В определенных вариантах осуществления способ дополнительно включает управление нагревателем с его включением в ответ на обнаружение того, что вторая скорость жидкости превышает второе пороговое значение, причем управление нагревателем включает его включение с параметрами нагрева, соответствующими параметрам нагрева до выключения нагревателя.

[00027] Также описаны другие аспекты.

Краткое описание графических материалов

[00028] На Фиг. 1 представлена принципиальная схема устройства для приготовления напитка в соответствии с вариантом осуществления настоящего изобретения.

[00029] На Фиг. 2 представлена блок-схема контроллера устройства, изображенного на Фиг. 1, в соответствии с вариантом осуществления настоящего изобретения.

[00030] На Фиг. 3 представлена блок-схема, на которой показаны действия контроллера на этапах 220-240.

[00031] На Фиг. 4 представлена блок-схема, иллюстрирующая работу устройства в режиме выведения из кавитации в соответствии с одним из вариантов осуществления настоящего изобретения.

[00032] На Фиг. 5 представлена блок-схема, иллюстрирующая работу устройства в режиме выведения из кавитации в соответствии с альтернативным вариантом осуществления настоящего изобретения.

[00033] На Фиг. 6 представлена блок-схема, на которой показаны этапы определения стадии процесса приготовления напитка для мониторинга скорость жидкости.

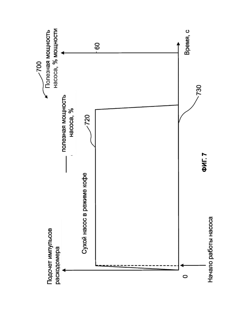
[00034] На Фиг. 7 представлена принципиальная схема, иллюстрирующая сухой насос или кавитацию.

[00035] На Фиг. 8 представлен схематический график, представляющий нормальную работу устройства в режиме приготовления кофе.

[00036] На Фиг. 9 представлен схематический график, показывающий влияние настоящего изобретения на скорость жидкости.

[00037] На Фиг. 10 представлен схематический график, иллюстрирующий сигнал, отображающий скорость жидкости, зарегистрированную расходомером.

[00038] Фиг. 11А и 11В в совокупности образуют принципиальную блок-схему контроллера.

Описание вариантов осуществления

[00039] Настоящее изобретение относится к устройству 100 для приготовления напитка, например, кофемашины эспрессо. Устройство 100 обычно нагревает жидкость для приготовления напитка, такого как кофе. Устройство 100 может содержать канал, определяющий канал прохождения потока для жидкости, насос 108, перемещающий жидкость под давлением вдоль канала прохождения потока, блок 106 датчиков, выполненный с возможностью определения скорости жидкости в канале прохождения потока, и контроллер 1501 (см. Фиг. 11А и 11В), функционально связанный с насосом 108 и блоком 106 датчиков. Компоненты устройства 100 для приготовления напитка будут более подробно описаны ниже со ссылкой на Фиг. 1.

[00040] Насос 108 может быть выполнен с возможностью работы в первом режиме для приготовления напитка и переключения во второй режим, отличный от первого режима, в ответ на обнаружение кавитации. Насос 108 обычно приводит к перемещению жидкости во втором режиме под более высоким давлением, чем в первом режиме, чтобы по меньшей мере способствовать устранению кавитации.

[00041] Блок 106 датчиков определяет первую скорость жидкости в канале прохождения потока, когда насос 108 работает в первом режиме и определяет вторую скорость жидкости, когда насос 108 работает во втором режиме. Для целей настоящего изобретения скорость жидкости может считаться эквивалентной регистрируемой проточным счетчиком, например, расходомером. В альтернативных вариантах осуществления скорость жидкости может быть определена как количество жидкости, протекающей через расходомер. Первая скорость жидкости и вторая скорость жидкости используются контроллером для определения того, следует ли переключаться из первого режима во второй режим или наоборот. Например, контроллер может переключать насос 108 из первого режима во второй режим, если первая скорость жидкости ниже первого порогового значения, и переключает насос 108 из второго режима в первый режим, если вторая скорость жидкости превышает второе пороговое значение.

[00042] Структурные аспекты контроллера описаны ниже со ссылкой на Фиг. 11А и 11В. Процессы, выполняемые контроллером для содействия устранению кавитации, более подробно описаны ниже со ссылкой на Фиг. 2-14.

[00043] На Фиг. 1 представлена принципиальная схема устройства 100, в котором могут быть реализованы описанные в настоящем документе процессы по настоящему изобретению. Устройство 100 содержит бак 102 для воды для содержания водного источника 104 для подачи воды. Выход бака 102 для воды регистрируется и определяется количественно блоком 106 датчиков, который подает сигнал о потоке контроллеру 1501. В предпочтительном варианте осуществления блок 106 датчиков находится в форме расходомера, имеющего колесо турбины, установленное на валу, который в свою очередь соединен с датчиком на эффекте Холла. Колесо турбины выполнено с возможностью вращения при контакте воды с ребрами колеса турбины, и это вращение запускает датчик на эффекте Холла, который генерирует мгновенный импульс с каждым полу- или полным оборотом.

[00044] Для определения скорости жидкости сгенерированный мгновенный импульс подается на микроконтроллер блока 106 датчиков каждый раз, как происходит один оборот или полуоборот расходомера. Затем микроконтроллер может использовать эти данные для определения скорости жидкости или проточного счетчика. Скорость жидкости или проточного счетчика может быть выражена в виде количества сгенерированных мгновенных импульсов. Альтернативно, скорость жидкости может быть выражена как количество сгенерированных мгновенных импульсов в единицу времени, например, в секунду. Следует понимать, что колесо турбины не будет вращаться, если в насосе имеется кавитация, поскольку при этом вода не течет. Таким образом, проточный счетчик может быть запущен повторно, если сигнал вращения, например, мгновенные импульсы, по существу не регистрируется в течение продолжительного периода времени, который может составлять, например, 3 секунды или более. Для целей настоящего изобретения скорость потока и μC проточного счетчика, зарегистрированные расходомером, могут использоваться взаимозаменяемо.

[00045] После блока 106 датчиков выход бака 102 для воды передается в насос 108, управляемый процессором. Насос 108 подает воду в нагреватель 110. В предпочтительном варианте осуществления нагреватель 110 представляет собой поток жидкости через нагреватель. Выход насоса 108 регулируется предохранительным клапаном давления (OPV) 112, который возвращает избыток давления насоса или потока к впускному отверстию насоса 108 через Т-образное соединение 114, которое передает и поток воды из бака 102 для воды, и избыток потока из OPV 112 к впускному отверстию насоса 108. Клапан OPV 112 обычно устанавливают на 10 бар. Каналы между баком 102 для воды, блоком 106 датчиков, Т-образным соединением 114 и впускным отверстием насоса 108, как правило, присутствуют в форме силиконовой трубки, закрепленной хомутами на одном из концов, тогда как канал между выпускным отверстием насоса 108 и впускным отверстием 110 нагревателя, как правило, находится в форме силиконовой трубки в оплетке, закрепленной на любом конце ушными хомутами. Выход нагревателя 110 предпочтительно регулируется 3/2-ходовым электромагнитным клапаном (SOV) 116 регулирования выхода. Нагретая вода, выходящая из выходного отверстия нагревателя 110, предпочтительно передается в SOV 116 по трубке из политетрафторэтилена (PTFE), закрепленной на любом из концов U-образными зажимами. Когда на SOV 116 подается питание, выход нагревателя 110 регулируется OPV 117 для пара, который направляет выход для выгрузки через выпускную линию (предпочтительно сформированную из PTFE) в паровую трубку 118 устройства 100 или открыт в атмосферный перелив. Атмосферный перелив предпочтительно передается по силиконовой трубке в штуцер для продувки 119 и в каплесборник 120 устройства 100. Когда SOV 116 отключен, выход нагревателя 110 открыт в головку распылителя 122 устройства 100. Выход нагревателя 110 предпочтительно передается от SOV 116 к распылительной головке 122 по силиконовой трубке в оплетке.

[00046] На Фиг. 2 представлена блок-схема контроллера в соответствии с настоящим изобретением. Контроллером 1501 управляет процессор 1505, исполняющий команды, показанные на Фиг. 2-6, хранящиеся во внутреннем хранилище («запоминающее устройство») 1509, для переключения насоса 108 между различными режимами работы.

[00047] На этапе 210 контроллер 1501 принимает данные, введенные пользователем через устройство 1513 ввода, связанные с нагреванием жидкости для приготовления напитка. Данные, введенные пользователем, могут задавать выбор конкретного режима приготовления напитка кофемашиной эспрессо. Например, выбранный режим приготовления напитка может представлять собой один из «режим кофе», «режим пара» и «режим горячей воды». В частности, в режиме пара кофемашина эспрессо генерирует пар для вспенивания молока, в режиме горячей воды выдает горячую воду, а в режиме кофе производит инфузию кофе с горячей водой для приготовления шота эспрессо.

[00048] На основе данных, введенных пользователем, принятых на этапе 210, контроллер переходит к этапу 220 для управления работой насоса 108 в первом режиме с первой скоростью (или скоростью насоса) на основании данных, введенных пользователем. Первый режим насоса 108 выполнен с возможностью нагнетания жидкости в соответствии с требованиями конкретной стадии процесса приготовления напитка. Например, в первом режиме на этапе 220 контроллер может задать разную скорость насоса для двух различных вариантов данных, введенных пользователем. Например, насосу 108 может быть задана установка работы с использованием 55% его мощности на стадии предварительной инфузии в режиме кофе, выбранном пользователем на этапе 210, и с использованием 40% (или 55%) его мощности на стадии предварительного нагрева в режиме пара, выбранном пользователем на этапе 210. Различные скорости насоса для различных вариантов данных, введенных пользователем, могут храниться в энергонезависимом запоминающем устройстве 1509. На стадии предварительной инфузии насос 108 обычно работает в течение 4 секунд при заданной скорости насоса. Период работы насоса 108 на каждой стадии может быть жестко запрограммирован в запоминающем устройстве 1509 энергонезависимым способом или, альтернативно, может быть изменен пользователем.

[00049] Когда насос 108 находится в первом режиме, контроллер 1501 может принимать сигнал на этапе 230 от блока 106 датчиков, указывающий первую скорость жидкости в канале прохождения потока, определяемую каналом. В некоторых вариантах осуществления блок 106 датчиков может сообщать значение первой скорости жидкости контроллеру 1501. Альтернативно, блок 106 датчиков может отправлять булевское значение, указывающее, что первая скорость жидкости ниже первого порогового значения. Первое пороговое значение предпочтительно составляет 3 мгновенных импульса. В ответ на прием сообщения от блока 106 датчиков, контроллер 1501 может определять первую скорость жидкости.

[00050] На этапе 240 контроллер 1501 переходит к управлению насосом 108 для переключения его из первого режима во второй режим (также называемый режимом выведения из кавитации), если первая скорость жидкости ниже первого порогового значения. Первое пороговое значение может представлять собой заданное пороговое значение, сохраненное в запоминающем устройстве 1509 энергонезависимым способом. Ситуацию, когда первая скорость жидкости ниже первого порогового значения, можно рассматривать как указание на кавитацию («воздушная пробка»).

[00051] Во втором режиме на этапе 240 контроллер управляет насосом 108 для перемещения жидкости под более высоким давлением, чем в первом режиме, для по меньшей мере содействия в устранении кавитации. Мощность, с которой насос 108 должен работать, чтобы по меньшей мере содействовать в устранении кавитации, может быть фиксированной для каждой стадии процесса приготовления кофе. В некоторых вариантах осуществления пользователь может программировать операции двигателя насоса 108 для устранения или существенного снижения кавитации. Альтернативно, для упрощения работы устройства, операции программирования двигателя могут быть сохранены в виде скрытой функции, доступ к которой может иметь специалист. Например, мощность насоса 108 для по меньшей мере содействия в устранении кавитации может быть установлена на 100%, 80% или 88,87%.

[00052] В другом варианте осуществления мощность насоса 108 может быть задана на основе мощности, при которой насос 108 работал в первом режиме. Например, если насос 108 работал на 55% мощности под управлением контроллера на этапе 220, то на этапе 240 насосом 108 можно управлять так, чтобы он работал на 100% мощности во втором режиме. Однако если насос 108 работал на 40% мощности в первом режиме, то контроллер может управлять насосом 108 так, чтобы он работал на 90% мощности во втором режиме, по меньшей мере первоначально.

[00053] Если на этапе 230 определено, что первая скорость жидкости выше первого порогового значения, контроллер 1501 определяет, что жидкость протекает через гидравлическую систему устройства 100 должным образом и возвращает управление на этап 220 для управления насосом 108 при работе в первом режиме. Работа контроллера на этапах 220-240 более подробно описана ниже со ссылкой на Фиг. 3.

[00054] Когда насос 108 работает во втором режиме, на этапе 250 контроллер 1501 может принять сигнал от блока 106 датчиков, указывающий вторую скорость жидкости в канале прохождения потока, определяемую каналом. Как описано выше, блок 106 датчиков может сообщать контроллеру 1501 значение первой скорости жидкости или булевское значение, указывающее, что вторая скорость жидкости превышает второе пороговое значение. В ответ на прием сообщения от блока 106 датчиков на этапе 250, контроллер 1501 может определить вторую скорость жидкости.

[00055] Затем контроллер 1501 переходит к этапу 260. На этапе 260 контроллер 1501 переключает насос 108 из второго режима обратно в первый режим, если вторая скорость жидкости превышает второе пороговое значение. Ситуация, в которой вторая скорость жидкости превышает второе пороговое значение, указывает, что кавитация или «воздушная пробка», вероятно, устранена. В некоторых вариантах осуществления второе пороговое значение может отличаться от первого порогового значения. Альтернативно, второе пороговое значение может быть равно первому пороговому значению.

[00056] После переключения на этапе 260 насоса 108 обратно в первый режим, контроллер 1501 переходит к этапу 220 для управления насосом 108 в первом режиме на основании данных, введенных пользователем, принятых через пользовательское устройство 1513 ввода на этапе 210. Например, если на этапе 220 до переключения в режим выведения из кавитации насос 108 работал на 55% мощности, то насос 108 переключается для возврата к исходному показателю мощности 55%, заданному для этой конкретной стадии и режима процесса приготовления напитка.

[00057] Контроллер 1501 может задерживать переключение насоса 108 из второго режима в первый режим на период задержки. Период задержки может быть предварительно определен и задан в запоминающем устройстве 1509 энергонезависимым способом. Период задержки может составлять, например, 2 секунды с момента, когда контроллер 1501 впервые обнаружил, что вторая скорость жидкости превышает второе пороговое значение. Задержка переключения насоса 108 обратно в первый режим является особенно полезной, если первое пороговое значение совпадает со вторым пороговым значением.

[00058] Тем не менее, если вторая скорость жидкости ниже второго порогового значения в течение порогового периода времени или дольше, то контроллер 1501 отключает насос 108 и нагреватель 110, если нагреватель 110 еще не был выключен, и отправляет сигнал предупреждения в систему предупреждения устройства 100, что бак 102 для воды пуст. Тогда способ 200 завершается.

[00059] На Фиг. 3 представлена блок-схема, более подробно показывающая работу контроллера 1501 на этапах 220 240 в соответствии со способом 300.

[00060] Способ 300 выполняется процессором 1505 контроллера 1501. Способ 300 начинается на этапе 320 и определяет текущую стадию в процессе приготовления напитка. Контроллер 1501 на основании данных, введенных пользователем на этапе 210, может дополнительно проверять, соответствует ли определенная стадия заданной стадии процесса приготовления напитка, на которой следует отслеживать кавитацию. Таким образом, контроллер 1501 может нуждаться только в отслеживании скорости жидкости на заданной стадии.

[00061] Например, как показано на Фиг. 6, контроллер 1501 может принимать данные, введенные пользователем 610 через пользовательское устройство 1513 ввода, и проверять, соответствуют ли данные, введенные пользователем, режиму горячей воды на этапе 620. Если пользователь выбирает режим горячей воды, то на этапе 630 контроллер 1501 определяет, что выбранная стадия представляет собой стадию предварительного нагрева. В противном случае, для режима кофе и для режима пара контроллер 1501 на этапе 640 может определять, что выбранная стадия включает стадию предварительного нагревай стадию предварительной инфузии. Следовательно, контроллер 1501 будет только отслеживать скорость жидкости в состоянии предварительного нагрева в режиме горячей воды. В режиме кофе и в режиме пара контроллер 1501 будет только отслеживать скорость жидкости на стадиях предварительного нагрева и предварительной инфузии.

[00062] После того как на этапе 320 контроллер 1501 определяет текущую стадию процесса приготовления напитка, контроллер 1501 переходит к этапу 330 для определения первой скорости жидкости. Как описано выше, в некоторых вариантах осуществления первая скорость жидкости может быть определена контроллером 1501 только на заданной стадии. Альтернативно, первую скорость жидкости определяют безотносительно к текущей стадии процесса нагрева жидкости.

[00063] Затем управление переходит на этап 340, где контроллер 1501 определяет, превышает ли первая скорость жидкости первое пороговое значение. Если на этапе 340 контроллер 1501 определяет, что первая скорость жидкости превышает первое пороговое значение, то контроллер 1501 приходит к выводу, что кавитация отсутствует, и что жидкость протекает должным образом. Затем контроллер 1501 дает команду устройству 100 для перехода на следующую стадию процесса приготовления напитка. На этом способ 300 завершается.

[00064] Если на этапе 340 контроллер определяет, что первая скорость жидкости ниже первого порогового значения, контроллер 1501 определяет, что, вероятно, в гидравлической системе образовалась воздушная пробка или возникла кавитация, а затем на этапе 370 дает команду устройству 100 инициализировать режим выведения из кавитации. В частности, контроллер 1501 может энергонезависимым образом хранить в запоминающем устройстве 1509 один или более текущих параметров нагрева для нагревателя и текущих рабочих параметров, таких как процент мощности насоса 108, для определенной текущей стадии процесса нагрева жидкости. Альтернативно, контроллер 1501 может энергонезависимым образом хранить в запоминающем устройстве 1509 указание на текущую стадию, определенную на этапе 320, которое впоследствии может быть использовано для определения параметров для нагревателя 110 и насоса 108, специфичных для этой стадии, когда устройство 100 будет переключено на возобновление нормальной работы.

[00065] После сохранения значимых данных контроллер 1501 может на этапе 360 отключить нагреватель 110. В некоторых вариантах осуществления нагреватель не требуется выключать. Тем не менее, если нагреватель 110 не был выключен на этапе 360, то нагреватель 110 должен быть выключен, если вторая скорость жидкости ниже второго порогового значения в течение порогового периода времени или дольше. На этапе 370 контроллер 1501 также подает команду схеме управления насосом инициализировать режим выведения из кавитации (второй режим). Затем на этапе 380 контроллер 1501 переходит к управлению насосом 108 во втором режиме. Работа контроллера 1501 в режиме выведения из кавитации описана ниже со ссылкой на Фиг. 4 и 5. На этом способ 300 завершается.

[00066] На Фиг. 4 представлена блок-схема способа 400, иллюстрирующая работу устройства 100 в режиме выведения из кавитации.

[00067] Способ 400 начинается на этапе 410 приема сигнала для запуска режима выведения и увеличения скорости насоса. Сигнал может включать заданное значение, указывающее процент мощности, до которой следует увеличить скорость насоса. Например, заданное значение может быть установлено на 100% на основании кодирования микропрограммного обеспечения во время производства устройства. Альтернативно, заданное значение может быть определено контроллером 1501 на основе данных, введенных пользователем через пользовательское устройство 1513 ввода, и текущей стадии процесса приготовления напитка.

[00068] Затем контроллер 1501 дает команду схеме управления насосом увеличить скорость насоса до заданного значения, например до 100% мощности. Следует отметить, что на различных стадиях процесса приготовления напитка насос 108 обычно работает на уровне около 55% его мощности или менее. После того как скорость насоса увеличена до требуемой мощности и во время работы насоса 108 в режиме выведения из кавитации контроллер 1501 может перейти к этапу 420 для определения второй скорости жидкости. Альтернативно, контроллер 1501 может быть выполнен с возможностью выжидания периода времени от момента запуска режима выведения, перед определением второй скорости жидкости. Период времени может быть задан в запоминающем устройстве 1509 энергонезависимым образом. Например, контроллер 1501 может позволять насосу 108 работать в течение 2 секунд при 100% мощности перед определением второй скорости жидкости.

[00069] На этапе 420 контроллер 1501 принимает сигнал от блока 106 датчиков, сообщающий значение второй скорости жидкости во время режима выведения из кавитации. Как описано выше, сигнал может содержать значение второй скорости жидкости в количестве импульсов (μC проточного счетчика) или булевское значение, указывающее, находится вторая скорость жидкости выше или ниже второго порогового значения. В этом варианте осуществления второе пороговое значение предпочтительно составляет 10 подсчетов. Также возможны другие значения второго порогового значения.

[00070] После определения второй скорости жидкости на этапе 420 контроллер 1501 переходит к этапу 430 определения того, превышает ли вторая скорость жидкости второе пороговое значение. Если на этапе 430 контроллер 1501 определяет, что вторая скорость жидкости превышает второе пороговое значение, то режим выведения из кавитации завершается, и устройство 100 может возобновить нормальную работу в соответствии с данными, введенными пользователем, принятыми на этапе 210. Например, если нагреватель 110 был ранее выключен, то нагреватель 110 может возобновить нагрев в соответствии с исходными параметрами нагрева, которые были перед выключением нагревателя 110. Исходные параметры нагрева могут быть определены на основании данных, сохраненных на этапе 370. По существу, если (J.C первого проточного счетчика ниже 3 подсчетов или импульсов после предварительной инфузии, насос 108 может быть переключен на работу при 100% мощности до тех пор, пока μС второго проточного счетчика не станет равным или превышающим 10 импульсов.

[00071] Кроме того, параметры управления насосом 108 могут возвращаться к соответствующим исходным значениям, определенным на основании данных, сохраненных на этапе 370. Возврат к исходным значениям может включать определение того, на какой стадии процесса приготовления напитка устройство работало перед переключением во второй режим; и определение параметров для переключения насоса 108 из второго режима в первый режим на основе этого определения стадии. После возврата насоса 108 в первый режим способ 400 завершается.

[00072] Если контроллер 1501 определяет, что вторая скорость жидкости ниже второго порогового значения, то затем управление переходит к этапу 450 определения того, находится ли вторая скорость жидкости ниже второго порогового значения в течение меньшего времени, чем пороговый период, с момента повышения скорости насоса до заданного значения на этапе 410. Период времени может составлять 5 секунд, в зависимости от варианта осуществления. Пороговый период времени может быть задан в запоминающем устройстве 1509 энергонезависимым образом.

[00073] Если на этапе 460 контроллер 1501 определяет, что вторая скорость жидкости ниже второго порогового значения в течение периода времени менее заданного, то контроллер 1501 переходит к этапу 420 для повторного определения второй скорости жидкости и проверки, не увеличилась ли она. В противном случае, если на этапе 460 контроллер 1501 определяет, что вторая скорость жидкости ниже второго порогового значения в течение периода времени, превышающего пороговый период, контроллер 1501 определяет, что бак 102 устройства 100, вероятно, пуст, и переходит к этапу 470 выключения насоса 108 и, необязательно, нагревателя 110 и подачи сигнала системе предупреждения устройства 100, что бак 102, вероятно, пуст. Система предупреждения, в свою очередь, может подавать предупреждение о необходимости наполнения бака в устройство 1514 вывода, передающее его на пользовательский интерфейс устройства 100. Затем способ 400 завершается.

[00074] На Фиг. 5 представлена блок-схема способа 500, иллюстрирующая альтернативный вариант работы устройства в режиме выведения из кавитации.

[00075] Работа контроллера 1501 в соответствии со способом 500 аналогична работе контроллера, описанной со ссылкой на Фиг. 4. Таким образом, Фиг. 5 будет описана со ссылкой на Фиг. 4 и будут подробно описаны только этапы, отличные от показанных на Фиг. 4.

[00076] В частности, работа на этапах 510, 520, 550, 560 и 570 очень похожа на выполнение этапов 410, 420, 450, 460 и 470 на Фиг. 4. Этап 530 идентичен этапу 430 во всем, за исключением того, что второе пороговое значение на этапе 530 способа 500 является таким же, как первое пороговое значение, т.е. составляет 3 импульса. Кроме того, на этапе 540 контроллер 1501 возобновляет нормальную работу насоса 108 с исходной скоростью насоса только после ожидания в течение некоторого времени, например, 2 секунд, поскольку на этапе 530 сначала определяется, что вторая скорость жидкости превышает второе пороговое значение. В остальном, этап 540 идентичен этапу 440 на Фиг. 4.

[00077] Определение того, что первая скорость жидкости ниже первого порогового значения, позволяет контроллеру 1501 определить, когда возникает сухая перекачка или кавитация, по обратной связи с блоком 106 датчиков, таким как расходомер. Сухая перекачка происходит, если вода не протекает через гидравлическую систему, как показывает счетчик 730 импульсов расходомера на фиг. 7, несмотря на то, что насос 108 работает с заданной мощностью, обозначенной позицией 720 на фиг. 7. На Фиг. 8 показана работа в нормальном режиме кофе, в котором показания счетчика 830 импульсов расходомера непрерывно увеличиваются, когда насос 108 работает с должной мощностью 820 или выше.

[00078] Если первая скорость жидкости ниже первого порогового значения, расходомер 106 может эффективно обнаруживать отсутствие потока воды во время цикла заваривания или пропаривания. После обнаружения отсутствия потока воды контроллер 1501 запускает по первой вертикальной пунктирной линии 920 на Фиг. 9 насос 108 для работы при 100% его мощности вместо выбранной уменьшенной мощности. Как описано выше, выбранная уменьшенная мощность зависит от настройки и может составлять, например, 55%. Эта 100% мощность насоса обеспечивает преодоление или по меньшей мере существенное снижение кавитации, проталкивая воду через гидравлическую систему под более высоким давлением и удаляя воздушные карманы, скопившиеся в гидравлической системе. Как показано на Фиг. 9, показания счетчика 930 импульсов расходомера начинают непрерывно увеличиваться после переключения насоса 108 на работу при увеличенной мощности. После того как вода снова начала протекать через гидравлическую систему, расходомер 106 способен обнаружить это на второй вертикальной пунктирной линии 940, показанной на Фиг. 9, и затем запускается гидравлическая система для работы насоса 108 с его должной мощностью, т.е., мощность снова возвращается к 55%, показанным в позиции 950, как задано для конкретной стадии процесса приготовления напитка. Микроконтроллер расходомера может по существу проверить, превышают ли показания проточного счетчика 930 второе заданное пороговое значение, 10 в данном случае, чтобы определить, протекает ли вода снова через гидравлическую систему. Необязательно, может быть задействована задержка от периода, когда вода определяется как протекающая в гидравлической системе, до момента, когда насос 108 вернется к работе с заданной мощностью. Задержка может обеспечить вымывание всех пузырьков воздуха из гидравлической системы, и кавитация будет по существу устранена.

[00079] На Фиг. 9 представлен схематический график, показывающий влияние настоящего изобретения на скорость потока воды, проходящей через гидравлическую систему. В частности, на Фиг. 9 показана линия 930, соответствующая данным счетчика расходомера, наложенная на линию 950, представляющую полезную мощность насоса (или процент мощности).

[00080] На стадии предварительной инфузии, показанной на Фиг. 9, насос 108 включен. Стадия предварительной инфузии обычно занимает около 4 секунд. Если система обнаруживает, что данные 930 счетчика расходомера ниже первого порогового значения, составляющего 3 импульса, после первых 4 секунд стадии предварительной инфузии, что видно по первой пунктирной вертикальной линии 920, скорость насоса увеличивается до 100%. В ответ на увеличение скорости насоса до 100% вода начинает протекать через гидравлическую систему, а количество 930 импульсов счетчика расходомера начинает увеличиваться. После того как количество 930 импульсов расходомера достигает второго порогового значения, 10 в данном варианте осуществления, насос 108 переключается обратно на его заданную мощность для конкретной стадии процесса приготовления напитка. Затем скорость насоса может быть дополнительно скорректирована в зависимости от скорости насоса, заданной для дальнейших стадий процесса приготовления напитка.

[00081] На Фиг. 10 представлен схематический график, иллюстрирующий сигнал, представляющий скорость жидкости, зарегистрированную блоком 106 датчиков. По существу блок 106 датчиков (в данном случае, расходомер) выполнен с возможностью регистрации импульса 1010 и приращения показаний счетчика расходомера в ответ на регистрацию импульса 1010. Ширина импульса показывает, сколько времени требуется для одного оборота. Например, 1030 показывает, что время одного оборота составляет 2,56 секунды. Таким образом, ширина импульса 1010 указывает, насколько быстро вода протекает через расходомер. Например, импульс, более узкий относительно другого импульса, указывает на более быстрое протекание жидкости. Следовательно, если импульс шире, например, как 1020, вода через расходомер протекает медленнее. Более широкий импульс может также служить показателем переключения насоса 108 на более низкую производительность насоса. Скорость жидкости указывает на количество импульсов, зарегистрированных расходомером.

[00082] Авторы изобретения обнаружили, что описанные выше способы могут по существу преодолевать или по меньшей мере снижать сухую перекачку/кавитацию.

Фиг. 11А и 11В вместе образуют принципиальную блок-схему контроллера 1501, включая встроенные компоненты, на основе которой желательно применять на практике способ управления устройством 100 для приготовления напитка, показанный выше на Фиг. 2-6.

[00083] Как показано на Фиг. 11А, электронное устройство 1501 содержит встроенный контроллер 1502. Соответственно, электронное устройство 1501 может называться «встроенным устройством» В настоящем примере контроллер 1502 имеет процессорный блок (или процессор) 1505, который двунаправленно соединен с модулем 1509 внутреннего хранилища. Модуль 1509 хранилища может быть сформирован из энергонезависимого полупроводникового постоянного запоминающего устройства (ПЗУ) 1560 и полупроводникового оперативного запоминающего устройства (ОЗУ) 1570, как показано на Фиг. 11В. ОЗУ 1570 может быть энергозависимым, энергонезависимым или сочетанием энергозависимого и энергонезависимого запоминающего устройства.

[00084] Электронное устройство 1501 включает контроллер 1507 дисплея, который соединен с видеодисплеем 1514, таким как панель жидкокристаллического дисплея (ЖК) или т.п. Контроллер 1507 дисплея выполнен с возможностью отображения графических изображений на видеодисплее 1514 в соответствии с инструкциями, принимаемыми от встроенного контроллера 1502, к которому подключен контроллер 1507 дисплея.

[00085] Электронное устройство 1501 также включает пользовательское устройство 1513 ввода, которое, как правило, сформировано в виде клавиш, клавиатуры или подобных элементов управления. В некоторых вариантах осуществления пользовательское устройство 1513 ввода может включать сенсорную панель, физически связанную с дисплеем 1514, для совместного формирования сенсорного экрана. Таким образом, такой сенсорный экран может работать как одна из форм графического пользовательского интерфейса (GUI) в противоположность GUI, управляемому подсказками или меню, обычно используемому с комбинациями клавиатуры и дисплея. Также могут использоваться другие формы пользовательских устройств ввода, такие как микрофон (не показан) для голосовых команд или джойстик/колесико (не показано) для облегчения навигации по меню.

[00086] Как правило, электронное устройство 1501 выполнено с возможностью выполнения определенной специальной функции. Встроенный контроллер 1502, возможно, в сочетании с дополнительными компонентами 1510 специальных функций предназначен для выполнения этой специальной функции.

[00087] Описанные выше способы могут быть реализованы с использованием встроенного контроллера 1502, причем процессы, показанные на Фиг. 2-6, могут быть реализованы как одна или несколько прикладных программ 1533, исполняемых во встроенном контроллере 1502. Электронное устройство 1501, показанное на Фиг. 11А, реализует описанные способы. В частности, со ссылкой на фиг. 11В, этапы описанных способов выполняются инструкциями в программном обеспечении 1533, которые выполняются в контроллере 1502. Программные инструкции могут быть сформированы в виде одного или более модулей кода, каждый из которых предназначен для выполнения одной или более конкретных задач. Программное обеспечение также может быть разделено на две отдельные части, из которых первая часть и соответствующие модули кода выполняют описанные способы, а вторая часть и соответствующие модули кода управляют пользовательским интерфейсом между первой частью и пользователем.

[00088] Программное обеспечение 1533 встроенного контроллера 1502 обычно хранится на энергонезависимом ПЗУ 1560 модуля 1509 внутреннего хранилища. Программное обеспечение 1533, хранящееся в ПЗУ 1560, может обновляться при необходимости от машиночитаемого носителя. Программное обеспечение 1533 может быть загружено и исполнено процессором 1505. В некоторых случаях процессор 1505 может выполнять программные команды, расположенные в ОЗУ 1570. Программные инструкции могут быть загружены в ОЗУ 1570 процессором 1505, инициирующим копирование одного или нескольких модулей кода из ПЗУ 1560 в ОЗУ 1570. Альтернативно, программные команды одного или более модулей кода могут быть предварительно установлены производителем в энергонезависимой области ОЗУ 1570. После того как в ОЗУ 1570 были размещены один или более модулей кода, процессор 1505 может выполнять программные команды одного или более модулей кода.

[00089] Программа приложения 1533 обычно предварительно установлена производителем и хранится в ПЗУ 1560 перед распространением электронного устройства 1501. Вторая часть прикладных программ 1533 и соответствующие модули кода, упомянутые выше, могут быть выполнены с возможностью реализации одного или более графических пользовательских интерфейсов (GUI), которые должны быть выведены или иным образом представлены на дисплее 1514 на Фиг. 11А. Посредством манипулирования пользовательским устройством 1513 ввода (например, клавиатурой), пользователь устройства 1501 и прикладных программ 1533 может манипулировать интерфейсом функционально адаптируемым образом для предоставления управляющих команд и/или ввода в приложения, связанные с GUI. Также могут быть реализованы другие формы функционально адаптируемых пользовательских интерфейсов, такие как аудиоинтерфейс, использующий речевые подсказки, выводимые через громкоговорители (не показаны), и пользовательские голосовые команды, вводимые через микрофон (не показаны).

[00090] На Фиг. 11В подробно показан встроенный контроллер 1502, имеющий процессор 1505 для выполнения программ приложения 1533 и внутреннее хранилище 1509. Внутреннее хранилище 1509 содержит постоянное запоминающее устройство (ПЗУ) 1560 и оперативное запоминающее устройство (ОЗУ) 1570. Процессор 1505 способен выполнять прикладные программы 1533, хранящиеся в одном или обоих подключенных запоминающих устройствах 1560 и 1570. Когда электронное устройство 1501 изначально включается, выполняется системная программа, присутствующая в ПЗУ 1560. Прикладная программа 1533, постоянно хранящаяся в ПЗУ 1560, иногда называется «прошивкой». Выполнение микропрограммы процессором 1505 может выполнять различные функции, включая управление процессором, управление памятью, управление устройством, управление хранилищем и пользовательским интерфейсом.

[00091] Процессор 1505 обычно содержит ряд функциональных модулей, включая блок управления (CU) 1551, арифметическое логическое устройство (ALU) 1552, процессор обработки цифровых сигналов (DSP) 1553 и локальное или внутреннее запоминающее устройство, содержащее набор регистров 1554, которые обычно содержат атомарные элементы данных 1556, 1557, а также внутренний буфер или кэш-память 1555. Одна или более внутренних шин 1559 соединяют эти функциональные модули. Процессор 1505 обычно также имеет один или более интерфейсов 1558 для связи с внешними устройствами через системную шину 1581 с использованием соединения 1561.

[00092] Прикладная программа 1533 включает в себя последовательность инструкций 1562-1563, которые могут включать инструкции условного перехода и цикла. Программа 1533 также может включать данные, которые используют при выполнении программы 1533. Эти данные могут храниться в составе инструкции или в отдельном месте 1564 в ПЗУ 1560 или ОЗУ 1570.

[00093] Обычно процессору 1505 предоставляется набор инструкций, которые в нем выполняются. Этот набор инструкций может быть организован в блоки, которые выполняют определенные задачи или обрабатывают определенные события, происходящие в электронном устройстве 1501. Как правило, программа приложения 1533 ожидает события и впоследствии выполняет блок кода, связанный с этим событием. События могут быть инициированы в ответ на ввод пользователя через пользовательские устройства 1513 ввода, показанные на Фиг. 11А, который обнаружен процессором 1505. События также могут быть инициированы в ответ на сигналы других датчиков и интерфейсов в электронном устройстве 1501.

[00094] Выполнение набора команд может потребовать считывания и изменения числовых переменных. Такие числовые переменные хранятся в ОЗУ 1570. В описанном способе используются входные переменные 1571, которые хранятся в известных ячейках 1572, 1573 в памяти 1570. Входные переменные 1571 обрабатываются для получения выходных переменных 1577, которые хранятся в известных ячейках 1578, 1579 в запоминающем устройстве 1570. Промежуточные переменные 1574 могут храниться в дополнительных ячейках памяти в ячейках 1575, 1576 памяти 1570. Альтернативно, некоторые промежуточные переменные могут существовать только в регистрах 1554 процессора 1505.

[00095] Выполнение последовательности инструкций достигается в процессоре 1505 за счет повторяющегося применения цикла выборки-выполнения. Блок 1551 управления процессора 1505 поддерживает регистр, называемый программным счетчиком, который содержит адрес в ПЗУ 1560 или ОЗУ 1570 следующей инструкции, подлежащей выполнению. В начале цикла выборки-выполнения содержимое адреса памяти, индексированного программным счетчиком, загружается в блок 1551 управления. Загруженная таким образом инструкция управляет последующей работой процессора 1505, вызывая, например, загрузку данных из ПЗУ 1560 в регистры 1554 процессора, арифметическое объединение содержимого одного регистра с содержимым другого регистра, загрузку содержимого регистра для записи в ячейку, хранящуюся в другом регистре, и т.д. В конце цикла выполнения выборки программный счетчик обновляется, чтобы указать на следующую инструкцию в коде системной программы. В зависимости от только что выполненной инструкции это может включать увеличение адреса, содержащегося в программном счетчике, или загрузку программного счетчика новым адресом для выполнения операции перехода.

[00096] Каждый этап или подпроцесс в процессах способов, описанных ниже, связан с одним или более сегментами прикладной программы 1533 и выполняется путем повторяющегося выполнения цикла выборка-выполнение в процессоре 1505 или аналогичной программной операции других независимых блоков процессора в электронном устройстве 1501.

Промышленная применимость

[00097] Описанные конструкции применимы к производству устройств для приготовления напитков и, в частности, к производству устройств для приготовления кофе.

[00098] В приведенном выше описании указаны только некоторые варианты осуществления настоящего изобретения, которые являются иллюстративными и неограничивающими, и могут быть сделаны их модификации и/или изменения без отступления от объема и сущности изобретения.

Похожие патенты RU2835839C1

название год авторы номер документа
УСТРОЙСТВО ДЛЯ ПРИГОТОВЛЕНИЯ НАПИТКА И СПОСОБ УПРАВЛЕНИЯ УСТРОЙСТВОМ ТЕРМИЧЕСКОГО КОНДИЦИОНИРОВАНИЯ ТАКОГО УСТРОЙСТВА ДЛЯ ПРИГОТОВЛЕНИЯ НАПИТКА 2018
  • Аргирис, Иоаннис
  • Гранже, Эрик
RU2763556C2
БЫСТРЫЙ РАЗОГРЕВ УСТРОЙСТВА ТЕПЛОВОЙ ОБРАБОТКИ, НАПРИМЕР, ДЛЯ КОФЕМАШИНЫ 2011
  • Эттер Штефан
  • Мери Петер
RU2565657C2
СИСТЕМА И СПОСОБ ПОДАЧИ ПОТОКА, МАШИНА ДЛЯ ПРИГОТОВЛЕНИЯ НАПИТКА, А ТАКЖЕ НОСИТЕЛЬ ДАННЫХ, НА КОТОРОМ ХРАНИТСЯ КОМПЬЮТЕРНАЯ ПРОГРАММА ДЛЯ РЕАЛИЗАЦИИ СПОСОБА 2020
  • Фаверо, Андреа
RU2807180C1
МАШИНА ПО ПРИГОТОВЛЕНИЮ НАПИТКОВ 2016
  • Тидеманн Торстен
  • Терните Рюдигер
RU2700762C2
ДВУХСЕНСОРНЫЙ ВИХРЕВОЙ РАСХОДОМЕР 2018
  • Дружков Александр Михайлович
  • Бабенков Андрей Васильевич
  • Черновол Антон Алексеевич
RU2794501C2
ЭЛЕКТРИЧЕСКОЕ БЫТОВОЕ УСТРОЙСТВО ДЛЯ НАГРЕВА ЖИДКОСТИ ДЛЯ ПРИГОТОВЛЕНИЯ НАПИТКА И СВЯЗАННЫЙ С НИМ СПОСОБ, СИСТЕМА УПРАВЛЕНИЯ МОЩНОСТЬЮ И СЧИТЫВАЕМЫЙ МИКРОКОНТРОЛЛЕРОМ НОСИТЕЛЬ 2018
  • Псарологос, Кон
  • Жэнь, Сян
RU2783352C2
СИСТЕМА И СПОСОБ РАЗДАЧИ ВОДЫ С ТОЧНО РЕГУЛИРУЕМОЙ ТЕМПЕРАТУРОЙ 2019
  • Гнадингер, Эррин, Уитни
  • Мартин, Бенджамин, Л.
  • Льюис, Роберт Л.
  • Ньюлэнд, Грейсон, Пол
  • Хэвилэнд, Дин, Пол
  • Бок-Аронсон, Макс
  • Джонсон, Дэн
  • Краузе, Эрик
  • Скуаерс, Тодд, Мэтью
  • Уотсон, Шерил. И.
RU2789095C2
СПОСОБ ПРИГОТОВЛЕНИЯ КОФЕЙНОГО НАПИТКА В ЗАВАРОЧНОМ УСТРОЙСТВЕ КОФЕЙНОГО АВТОМАТА, А ТАКЖЕ КОФЕЙНЫЙ АВТОМАТ ДЛЯ ЕГО ВЫПОЛНЕНИЯ 2016
  • Зали Георг
  • Пробст Штефан
  • Бюттикер Филипп
  • Штудер Райнхард
RU2707810C2
УСТРОЙСТВО ДЛЯ ПРИГОТОВЛЕНИЯ ГОРЯЧИХ НАПИТКОВ 2018
  • Феттерли, Хайнц
  • Мюллер, Симон
RU2759316C2
УЗЕЛ И СПОСОБ ДЛЯ ВСПЕНИВАНИЯ ТЕКУЧЕЙ СРЕДЫ 2017
  • Дес Хендрик Йохан
  • Книп Абрам Христиан
  • Дессинг Якобус Петрус Мария
RU2719893C2

Иллюстрации к изобретению RU 2 835 839 C1

Реферат патента 2025 года Снижение кавитации в потоке в устройстве для приготовления напитков

Устройство для приготовления напитка, содержащее канал, определяющий путь потока для жидкости; насос для перемещения жидкости под давлением вдоль канала прохождения потока, выполненный с возможностью работы в первом режиме и втором режиме, отличном от первого режима, блок датчиков, выполненный с возможностью определения первой скорости жидкости в канале прохождения потока, когда насос работает в первом режиме, и определения второй скорости жидкости, когда насос работает во втором режиме; и контроллер, функционально связанный с насосом и блоком датчиков и выполненный с возможностью подавать насосу команду на переключение из первого режима во второй режим, если первая скорость жидкости ниже первого порогового значения, и давать насосу команду на переключение из второго режима в первый режим, если вторая скорость жидкости превышает второе пороговое значение. Во втором режиме насос приводит к перемещению жидкости под более высоким давлением, чем в первом режиме, чтобы, по меньшей мере, способствовать устранению кавитации. Также раскрыт способ управления устройством для приготовления напитка. 2 н. и 18 з.п. ф-лы, 12 ил.

Формула изобретения RU 2 835 839 C1

1. Устройство для приготовления напитка, содержащее:

канал, определяющий для жидкости путь потока;

насос для перемещения жидкости под давлением вдоль канала прохождения потока, причем насос выполнен с возможностью работы в первом режиме и втором режиме, отличном от первого режима, в который переключается в ответ на обнаружение кавитации, при этом во втором режиме насос вызывает перемещение жидкости под более высоким давлением, чем в первом режиме, чтобы, по меньшей мере, способствовать устранению кавитации;

блок датчиков, выполненный с возможностью определения первой скорости жидкости в канале прохождения потока, когда насос работает в первом режиме, и определения второй скорости жидкости, когда насос работает во втором режиме; и

контроллер, функционально связанный с насосом и блоком датчиков и выполненный с возможностью подавать насосу команду на переключение из первого режима во второй режим, если первая скорость жидкости ниже первого порога, и давать насосу команду на переключение из второго режима в первый режим, если вторая скорость жидкости превышает второй порог.

2. Устройство по п. 1, в котором насос выполнен с возможностью работы на первой скорости насоса в первом режиме и второй скорости насоса во втором режиме, причем вторая скорость насоса больше первой скорости насоса.

3. Устройство по п. 1 или 2, в котором контроллер выполнен с возможностью применения задержки для переключения насоса из второго режима в первый режим, если первое пороговое значение и второе пороговое значение являются одинаковыми.

4. Устройство по п. 1 или 2, в котором первое пороговое значение равно второму пороговому значению.

5. Устройство по любому из предшествующих пунктов, в котором контроллер дополнительно выполнен с возможностью отключения насоса в ответ на обнаружение того, что вторая скорость жидкости ниже второго порогового значения в течение порогового периода времени.

6. Устройство по п. 5, в котором контроллер дополнительно выполнен с возможностью подавать сигнал системе предупреждения устройства, что бак для воды, из которого вода подается в насос, пуст, в ответ на обнаружение того, что вторая скорость жидкости ниже второго порогового значения в течение заданного периода времени.

7. Устройство по любому из предшествующих пунктов, в котором контроллер дополнительно выполнен с возможностью установки мощности насоса в первом и втором режимах работы на основе пользовательского ввода, связанного с нагреванием жидкости для приготовления напитка.

8. Устройство по любому из предшествующих пунктов, в котором контроллер выполнен с возможностью определения, на какой стадии процесса приготовления напитка устройство работало перед переключением насоса во второй режим, и определения параметров для переключения насоса из второго режима в первый режим на основании этой определенной стадии.

9. Устройство по любому из предшествующих пунктов, дополнительно содержащее нагреватель, выполненный с возможностью нагрева жидкости, перемещаемой насосом, причем контроллер дополнительно выполнен с возможностью отключения нагревателя в ответ на обнаружение того, что первая скорость жидкости ниже первого порогового значения.

10. Устройство по п. 9, в котором контроллер выполнен с возможностью включения нагревателя в ответ на обнаружение того, что вторая скорость жидкости превышает второе пороговое значение, причем нагреватель включается с параметрами нагрева, соответствующими параметрам нагрева перед выключением нагревателя.

11. Способ управления устройством для приготовления напитка, включающий:

управление насосом устройства для работы в первом режиме для приготовления напитка;

определение первой скорости жидкости в канале прохождения потока, ограниченной каналом во время первого режима;

управление насосом для переключения из первого режима во второй режим, если первая скорость жидкости ниже первого порогового значения, причем управление насосом осуществляется так, чтобы он перемещал жидкость под более высоким давлением во втором режиме, чем в первом режиме, чтобы, по меньшей мере, способствовать устранению кавитации;

определение второй скорости жидкости в канале прохождения потока во время второго режима; и

управление насосом для переключения из второго режима в первый режим, если вторая скорость жидкости превышает второе пороговое значение.

12. Способ по п. 11, дополнительно включающий управление насосом для работы в первом режиме с первой скоростью насоса и управление насосом для работы во втором режиме со второй скоростью насоса, причем вторая скорость насоса больше первой скорости насоса.

13. Способ по п. 11 или 12, в котором переключение из второго режима в первый режим задерживается с заданной задержкой, если первое пороговое значение и второе пороговое значение являются одинаковыми.

14. Способ по п. 11 или 12, в котором первое пороговое значение равно второму пороговому значению.

15. Способ по любому из предшествующих пп. 11-14, дополнительно включающий управление насосом для его отключения в ответ на обнаружение того, что вторая скорость жидкости ниже второго порогового значения в течение порогового периода времени.

16. Способ по п. 15, дополнительно включающий подачу сигнала, что бак для воды, подаваемой в насос, пуст, в ответ на обнаружение того, что вторая скорость жидкости ниже второго порогового значения в течение порогового периода времени.

17. Способ по любому из предшествующих пп. 11-16, дополнительно включающий установку мощности насоса в первом и втором режимах работы на основе пользовательского ввода, связанного с нагреванием жидкости для приготовления напитка.

18. Способ по любому из предшествующих пп. 11-17, дополнительно включающий:

определение, на какой стадии процесса приготовления напитка устройство работало перед переключением во второй режим; и

определение параметров для переключения насоса из второго режима в первый режим на основании этой определенной стадии.

19. Способ по любому из предшествующих пп. 11-18, дополнительно включающий управление нагревателем, нагревающим жидкость, перемещаемую насосом, для его отключения в ответ на обнаружение того, что первая скорость жидкости ниже первого порогового значения.

20. Способ по п. 19, дополнительно включающий управление нагревателем для его включателя в ответ на обнаружение того, что вторая скорость жидкости превышает второе пороговое значение, причем управление нагревателем осуществляется так, чтобы он включался с параметрами нагрева, соответствующими параметрам нагрева до выключения нагревателя.

Документы, цитированные в отчете о поиске Патент 2025 года RU2835839C1

УСТРОЙСТВО И СПОСОБ ПРИГОТОВЛЕНИЯ НАПИТКОВ С РАЗЛИЧНЫМИ ВКУСАМИ 2011
  • Дольони Майер Лука
RU2560251C2
US 20060133941 A1, 22.06.2006
US 20160095465 A1, 07.04.2016
МАШИНА И СПОСОБ ДЛЯ ПРИГОТОВЛЕНИЯ НАПИТКА, ТАКОГО КАК КОФЕ 2006
  • Ноузлер Зандер
  • Хьюлетт Рэнди
  • Баум Майкл
  • Коллер Изаак
  • Шей Брайан
RU2387360C2

RU 2 835 839 C1

Авторы

Тофайли Али

Чжэн Лючан

Вон Майкл Юй Ко

Нг Син Вай

Сяо Кай

Даты

2025-03-04Публикация

2021-09-09Подача