Перекрестная ссылка на родственную заявку
Настоящая заявка испрашивает приоритет по заявке на патент Китая № 202010881525.6, поданной 27 августа 2020 года под названием «FIBER CONNECTOR PLUG, FIBER ADAPTER, CONNECTOR ASSEMBLY AND COMMUNICATIONS DEVICE», раскрытие которой включено сюда во всей своей полноте путем ссылки.
Область техники, к которой относится изобретение
Настоящая заявка относится, в общем, к области волоконно-оптической связи и, в частности, к вилке волоконно-оптического соединителя, волоконно-оптическому адаптеру, волоконно-оптическому соединителю в сборе и устройству связи.
Уровень техники
С развитием технологий связи в системах связи все чаще применяется передача по оптическому волокну. При подключении оптического волокна к домашней сети, на стадии его отвода, оптические волокна, выводимые из аппаратной комнаты, подключаются к отводным оптическим волокнам в лотке управления волоконно-оптическим кабелем для того, чтобы развернуть оптическую сеть в каждом жилом доме. С увеличением плотности населения городов увеличивается количество портов каждого лотка управления волоконно-оптическим кабелем. То, как разместить больше портов для подключения оптических волокон в ограниченном пространстве, представляет собой направление исследований и разработок в волоконно-оптической отрасли. Упрощение конструкции каждой вилки волоконно-оптического соединителя для реализации проектного решения по миниатюризации является направлением исследований и разработок в волоконно-оптической отрасли.
Сущность изобретения
Варианты осуществления настоящей заявки предусматривают вилку волоконно-оптического соединителя, волоконно-оптический адаптер, узел волоконно-оптического соединителя и устройство связи для реализации проектного решения по миниатюризации вилки волоконно-оптического соединителя с тем, чтобы в ограниченном пространстве можно было разместить больше портов волоконно-оптического соединения.
Согласно первому аспекту в настоящей заявке предложена вилка волоконно-оптического соединителя, включающая в себя оптическое волокно, наконечник, прикрепленный к переднему концу оптического волокна, основной корпус, установленный по периферии волокна, и переднюю защитную втулку. Основной корпус имеет форму втулки. Передняя защитная втулка крепится к одному концу основного корпуса и окружает наконечник. Торец, который относится к наконечнику и который удален от оптического волокна, является передним торцом наконечника, и торец, который относится к передней защитной втулке и который удален от основного корпуса, является передним торцом передней защитной втулки. Передний торец наконечника находится на одном уровне с передним торцом передней защитной втулки. Можно понять, что в радиальном направлении передний торец наконечника выровнен с передним торцом передней защитной втулки. В качестве альтернативы, в осевом направлении передний торец наконечника расположен между передним торцом передней защитной втулки и задним торцом передней защитной втулки. Задний торец передней защитной втулки является торцом, который относится к передней защитной втулке и который обращен к основному корпусу. Между передней защитной втулкой и наконечником выполнен паз, который используется для размещения в нем втулки наконечника волоконно-оптического адаптера таким образом, чтобы торец втулки наконечника располагалась в пазу. Можно понять, что передний конец втулки наконечника полностью вставляется в паз, и радиальный размер втулки наконечника соответствует радиальному размеру паза, то есть радиальные размеры втулки наконечника и паза могут быть равными, или различие между радиальными размерами втулки наконечника и паза соответствует допуску на механическую обработку и допуску на зазор при сборке. Другими словами, паз не вмещает никаких других элементов, кроме наконечника. Наконечник используется для вставки во втулку наконечника.
В настоящей заявке передняя торец наконечника защищена за счет использования переднего торца передней защитной втулки, поэтому можно предотвратить появление царапин на переднем торце наконечника. В частности, передняя защитная втулка может защищать передний торец наконечника в процессе поворота, транспортировки, вставки и извлечения из волоконно-оптического адаптера. Во время последующего соединения с наконечником вилки соединителя на противоположном конце обеспечивается стабильная и надежная передача оптического сигнала между двумя вилками соединителя. Паз, подходящий для втулки наконечника волоконно-оптического адаптера, образуется между внутренней стороной передней защитной втулки и наконечником. В частности, паз используется для размещения в нем одного конца втулки наконечника, и торец втулки наконечника продолжается в паз. Таким образом, передняя защитная втулка имеет функции защиты переднего торца наконечника и установки волоконно-оптического адаптера, и никакие другие компоненты не должны размещаться по периферии передней защитной втулки. Таким образом, радиальный размер вилки волоконно-оптического соединителя может быть достаточно маленьким с тем, чтобы можно было разместить больше портов волоконно-оптического соединения в ограниченном пространстве устройства связи.
Для вилки волоконно-оптического соединителя внешняя поверхность передней защитной втулки также является внешней поверхностью всей вилки волоконно-оптического соединителя, то есть имеется только один структурный элемент передней защитной втулки по периферии наконечника. В настоящей заявке защитная структура (передняя торец передней защитной втулки), выполненная по периферии втулки, и структура посадки для вставки/извлечения (паз, образованный между внутренней поверхностью передней защитной втулки и втулкой, и посадка между внешней поверхностью передней защитной втулки и внутренней поверхностью волоконно-оптического адаптера) сосредоточены на передней защитной втулке. Это позволяет не только уменьшить количество деталей и упростить структуру вилки волоконно-оптического соединителя, но также обеспечить уменьшение радиальных размеров ее конструкции.
В возможной реализации первая направляющая структура расположена на внешней поверхности передней защитной втулки, и первая направляющая структура используется для сопряжения с направляющей шпонкой на волоконно-оптическом адаптере. Внешняя поверхность передней защитной втулки, представленной в настоящей заявке, соприкасается с внутренней поверхностью волоконно-оптического адаптера и плотно прилегает к ней, и первая направляющая структура может плотно прилегать к направляющей шпонке, чтобы обеспечить направленность в процессе вставки вилки волоконно-оптического соединителя в волоконно-оптический адаптер.
В возможной реализации первая направляющая структура продолжается в осевом направлении, вилка волоконно-оптического соединителя, имеющая первую направляющую структуру, продолжающую в осевом направлении, может быть вставлена или удалена из волоконно-оптического адаптера способом прямой вставки или прямого удаления, и в процессе вставки отсутствует возможность вращения. Такая структура позволяет уменьшить рабочее пространство вокруг вилки волоконно-оптического соединителя. Когда многочисленные вилки волоконно-оптических соединителей размещаются рядом на устройстве связи, так как для операции прямой вставки или прямого извлечения требуется только осевое пространство, не требуется резервировать рабочее пространство между соседними вилками волоконно-оптических соединителей.
В возможной реализации в радиальном направлении первая направляющая структура является структурой с канавкой, расположенной на внешней поверхности передней защитной втулки, то есть первая направляющая структура не продолжается во внутреннюю поверхность передней защитной втулки. Паз может быть расположен рядом с передним торцом передней защитной втулки. Расположение паза позволяет сформировать на заднем торце незамкнутую кольцеобразную структуру или структуру по меньшей мере с двумя торцевыми поверхностями (например, при наличии двух пазов передняя торец делится на первую торцевую поверхность и вторую торцевую поверхность). В этой реализации первая направляющая структура, которая является структурой с канавкой и расположена на внешней поверхности передней защитной втулки, имеет отверстие, выполненное на одной стороне, обращенной к заднему торцу, и отверстие взаимодействует с пазом. Первая направляющая структура и паз могут обеспечивать заметную функцию напоминания о выравнивании в процессе вставки вилки волоконно-оптического соединителя.
В возможной реализации первая направляющая структура продолжается через внутреннюю поверхность и внешнюю поверхность передней защитной втулки. Можно понять, что первая направляющая структура представляет собой паз или паз, расположенный на передней защитной втулке.
В возможной реализации первая направляющая структура расположена с выступом на внешней поверхности передней защитной втулки.
В возможной реализации первая направляющая структура может продолжаться от переднего торца передней защитной втулки до заднего торца передней защитной втулки или может продолжаться от переднего торца передней защитной втулки до средней позиции передней защитной втулки. Средняя позиция здесь является позицией между передним торцом и задним торцом. Средняя позиция является не только центральной позицией между передним торцом и задним торцом, но также может быть позицией рядом с передним торцом или может быть позицией рядом с задним торцом.
В возможной реализации может быть одна, две или более первых направляющих структур. Две или более первых направляющих структур могут быть равномерно расположены на внешней поверхности передней защитной втулки с промежутками в окружном направлении.
В возможной реализации вторая направляющая структура расположена на внешней поверхности основного корпуса, и вторая направляющая структура и первая направляющая структура соединены и совместно используются для плотного прилегания к направляющей шпонки на волоконно-оптическом адаптере. Первая направляющая структура и вторая направляющая структура могут быть одинаковыми. Например, как первая направляющая структура, так и вторая направляющая структура представляют собой структуры с канавками, структуры с вырезами или структуры с выступами. Первая направляющая структура и вторая направляющая структура могут быть разными. Например, первая направляющая структура является структурой с канавкой, и вторая направляющая структура является структурой с вырезом; или первая направляющая структура является структурой с вырезом, и вторая направляющая структура является выпуклой структурой.
Первая направляющая структура расположена (или первая направляющая структура объединена со второй направляющей структурой), поэтому в процессе, в котором вилка волоконно-оптического соединителя соединяется с волоконно-оптическим адаптером, передняя защитная втулка может иметь функцию заметного напоминания и функцию направления. Это облегчает выравнивание между вилкой волоконно-оптического соединителя и адаптером, повышает точность соединения, предотвращает повреждение или выход из строя компонента наконечника вилки волоконно-оптического соединителя из-за множества соударений, вызванных неправильной вставкой вилки волоконно-оптического соединителя, и эффективно продлевает срок службы вилки волоконно-оптического соединителя.
В возможной реализации передний торец передней защитной втулки имеет замкнутую кольцевую структуру.
В возможной реализации один паз расположен на конце, который относится к передней защитной втулке и который находится рядом с передним торцом передней защитной втулки, поэтому передний торец передней защитной втулки образует незамкнутую непрерывно продолжающуюся поверхность. Расположение выемки позволяет переднему концу вилки волоконно-оптического соединителя иметь вогнуто-выпуклую форму, подходящую для вставки. Таким образом, когда вилка волоконно-оптического соединителя вставляется в волоконно-оптический адаптер, вилка волоконно-оптического соединителя может лучше адаптироваться к внутреннему пространству волоконно-оптического адаптера по сравнению с передним концом вилки волоконно-оптического соединителя плоской формы. Таким образом, устраняется неплотное соединение, вызванное ограничением внутреннего пространства волоконно-оптического адаптера, повышается стабильность и надежность вставки, повышается практичность и расширяется диапазон применения.
В возможной реализации два паза, противоположные друг другу, расположены на конце, который относится к передней защитной втулке и который находится рядом с передним торцом передней защитной втулки, поэтому между двух пазов образуется передний торец передней защитной втулки. В этой реализации передний торец включает в себя первую торцевую поверхность и вторую торцевую поверхность, и первая торцевая поверхность и вторая торцевая поверхность расположены симметрично с двух сторон относительно центральной оси передней защитной втулки. В частности, если первая торцевая поверхность и вторая торцевая поверхность соединены для формирования полного круглого кольца, то и первая торцевая поверхность и вторая торцевая поверхность меньше или равны четверти круглого кольца, поэтому позиции двух пазов могут вмещать в себя часть боковой стенки, на которой расположен передний торец передней защитной втулки другой вилки волоконно-оптического соединителя. Можно понять, что, так как передний торец передней защитной втулки выступает из переднего торца наконечника, когда пара одинаковых вилок волоконно-оптического соединителя вставляется в один и тот же волоконно-оптический адаптер, передние концы двух наконечников необходимо соединить, и требуется посадка с натягом между двумя передними защитная втулками. Два паза предназначены для решения проблемы посадки с натягом в соединении. Позиции двух пазов могут вмещать часть области, в которой расположена передний торец другой передней защитной втулки. В частности, два паза могут быть расположены симметрично с двух сторон относительно центральной оси передней защитной втулки. Благодаря симметричному расположению усилие, воспринимаемое внешней корпусной втулкой во время вставки, может быть относительно равномерным и сбалансированным, общая прочность внешней корпусной втулки является высокой, и может быть свести к минимуму вероятность нарушения соединения, вызванного неуравновешенностью сил.
В настоящей заявке паз, расположенный на переднем конце передней защитной втулки, также удобен для наблюдения. Рабочий может видеть по меньшей мере передний торец наконечника при осмотре внешней поверхности внешней корпусной втулки, имеющей паз. Исходя из этого, при подсоединении вилки волоконно-оптического соединителя к волоконно-оптическому адаптеру рабочий может видеть положение наконечника. Это облегчает вставку, повышает вероятность успешной вставки, предотвращает множество соударений наконечника из-за неправильной вставки и предотвращает повреждение наконечника.
В возможной реализации первая ограничивающая структура расположена на поверхности наконечника, вторая ограничивающая структура расположена на внутренней поверхности передней защитной втулки, и первая ограничивающая структура плотно прилегает ко второй ограничивающей структуре для предотвращения вращения наконечника и передней защитной втулки относительно друг друга.
В возможной реализации первая ограничивающая структура включает в себя первую плоскость, вторая ограничивающая структура расположена с выступом на внутренней поверхности передней защитной втулки, вторая ограничивающая структура включает в себя вторую плоскость, обращенную к наконечнику, и первая плоскость соприкасается со второй плоскостью. Ограничивающие структуры, а именно первая ограничивающая структура и вторая ограничивающая структура, расположены между передней защитной втулкой и наконечником, предусмотренными в настоящей заявке. Можно понять, что внешняя поверхность наконечника находится в непосредственном контакте с внутренней поверхностью передней защитной втулки и плотно прилегает к ней. Эта архитектура делает конструкцию между наконечником и передней защитной втулкой более компактной, тем самым облегчая миниатюризацию конструкции.
В возможной реализации основной корпус включает в себя основной ствол и установочный элемент, каждый из которых имеет форму втулки, и установочный элемент соединен с концом, который относится к основному стволу и который обращен к передней защитной втулке; первая стопорная структура расположена на внешней поверхности втулки, установочный элемент включает в себя корпус установочного элемента и вторую стопорную структуру, и вторая стопорная структура расположена на переднем конце тела установочного элемента и выступает от внутренней поверхности тела установочного элемента; и часть наконечника размещена внутри установочного элемента, первая стопорная структура плотно прилегает ко второй стопорной структуре для предотвращения выхода наконечника из установочного элемента с переднего конца тела установочного элемента, и передняя защитная втулка надевается на внешнюю поверхность установочного элемента и крепится к установочному элементу. В настоящей заявке сборка между наконечником и основным стволом осуществляется с помощью установочного элемента. Определено конкретное положение наконечника на основном стволе, и передняя защитная втулка надевается непосредственно по периферии установочного элемента. В частности, внутренняя часть установочного элемента используется для установки наконечника, внешняя сторона установочного элемента используется для установки передней защитной втулки, и задний конец установочного элемента используется для присоединения к основному стволу. В настоящей заявке многомерная сборка и взаимосвязи соединений реализованы с использованием конструкции установочного элемента, поэтому конструкция вилки волоконно-оптического соединителя имеет тенденцию к упрощению, и легко реализуется миниатюризация конструкция.
В возможной реализации первая ограничивающая структура и первая ограничивающая структура наконечника являются смежными в осевом направлении, первая ограничивающая структура включает в себя первую ограничивающую торцевую поверхность, обращенную к переднему концу наконечника, и первая ограничивающая торцевая поверхность вертикально соединена с первой плоскостью первой ограничивающей структуры.
В возможной реализации корпус установочного элемента имеет форму втулки и включает в себя центральную ось, вторая стопорная структура выступает от внутренней поверхности тела установочного элемента, и вторая стопорная структура включает в себя вторую ограничивающую торцевую поверхность и контактную торцевую поверхность. Вторая ограничивающая торцевая поверхность обращена к заднему концу тела установочного элемента, и контактная торцевая поверхность обращена к центральной оси тела установочного элемента. Вторая ограничивающая торцевая поверхность используется для сопряжения с первой ограничивающей торцевой поверхностью первой стопорной структуры наконечника. Контактная торцевая поверхность используется для сопряжения с первой плоскостью первой ограничивающей структуры наконечника. В возможной реализации имеются две вторые стопорные структуры, расположенные напротив друг друга с двух сторон относительно центральной оси тела установочного элемента. Осевой размер одной второй стопорной структуры меньше осевого размера другой второй стопорной структуры. Одна сторона, которая относится к одной второй стопорной структуре и которая удалена от тела установочного элемента, образует паз установочного элемента. Позиция паза установочного элемента обращена непосредственно к части контактной торцевой поверхности другой второй стопорной структуры. Паз установочного элемента используется для размещения в нем второй ограничивающей структуры передней защитной втулки.
В возможной реализации установочный элемент дополнительно содержит упругий зажимной крючок. Упругий зажимной крючок выполнен на переднем конце тела установочного элемента. Передняя защитная втулка выполнена с зажимной канавкой или отверстием. Упругий зажимной крючок входит в зажимную канавку или отверстие для крепления установочного элемента к передней защитной втулке. Способ крепления, основанный на посадке между упругим зажимным крючком и отверстием, может обеспечить разъемное соединение между установочным элементом и передней защитной втулкой для облегчения сборки и разборки. В дополнение к этому, упругий зажимной крючок зажимается в отверстии, и упругий зажимной крючок занимает внутреннее пространство передней защитной втулки, не увеличивая радиальный размер вилки волоконно-оптического соединителя. В этой реализации передняя защитная втулка надевается на периферийную часть установочного элемента способом прямой вставки в осевом направлении, поэтому легко реализуется позиционирование первой направляющей структуры передней защитной втулки. В частности, когда первую направляющую структуру необходимо соединить со второй направляющей структурой на основном стволе, необходимо обеспечить позиционирование по окружности между передней защитной втулкой и основным стволом.
В возможной реализации задний конец передней защитной втулки имеет полностью закрытую цилиндрическую архитектуру, то есть задний конец передней защитной втулки имеет замкнутую по окружности архитектуру. Это позволяет повысить конструктивную прочность передней защитной втулки, с одной стороны, и также позволяет повысить прочность соединения между передней защитной втулкой и основным стволом, с другой стороны. В дополнение к этому, передняя защитная втулка используется как внешняя часть вилки волоконно-оптического соединителя, и полностью закрытая по окружности конструкция позволяет обеспечить внешнюю целостность и улучшить восприятие пользователя.
В возможной реализации задний торец тела установочного элемента и задний торец передней защитной втулки находятся в одной плоскости и совместно образуют соединительную торцевую поверхность, причем соединительная торцевая поверхность соприкасается с торцом основного ствола. В настоящей заявке используется конструктивное исполнение, в котором соединительная торцевая поверхность соприкасается с торцом основного ствола, поэтому соединение между передней защитной втулкой и основным стволом занимает только пространство торца основного ствола и не доходит до внешней поверхности основного ствола. Соединительная торцевая поверхность может быть плоской, и, соответственно, торец основного ствола также может быть плоским. В качестве альтернативы, в другом варианте соединительная торцевая поверхность может представлять собой дугообразную торцевую поверхность. Соответственно, торец основного ствола представляет собой дугообразную торцевую поверхность, которая соприкасается с соединительной торцевой поверхностью и совпадает с ней. Например, соединительная торцевая поверхность представляет собой выпуклую дугообразную торцевую поверхность, и торец основного ствола представляет собой вогнутую дугообразную торцевую поверхность.
В возможной реализации внешняя поверхность передней защитной втулки и внешняя поверхность основного ствола в настоящей заявке могут быть компланарными, или может быть плавный переход. Например, внешняя поверхность передней защитной втулки представляет собой цилиндрическую поверхность, и внешняя поверхность основного ствола также представляет собой цилиндрическую поверхность. Когда передняя защитная втулка соприкасается с торцом основного ствола, внешние поверхности двух цилиндров с одинаковым радиальным размером соприкасаются, образуя полную цилиндрическую внешнюю поверхность.
В возможной реализации позиционирующая структура расположена на стыке между соединительной торцевой поверхностью и передним торцом основного ствола, и позиционирующая структура используется для позиционирования основного корпуса и передней защитной втулки в окружном направлении, и/или позиционирования основного корпуса и установочного элемента в окружном направлении.
В возможной реализации первый вырез расположен на заднем торце передней защитной втулки, и второй вырез расположен на заднем торце тела установочного элемента. Первый вырез и второй вырез расположены напротив друг другу в радиальном направлении. На торце основного ствола расположен выступ, который соответствует первому вырезу и второму вырезу. Позиционирующая структура между основным стволом, передней защитной втулкой и установочным элементом расположена в месте соединения, и позиционирование осуществляется за счет сопряжения первого выреза, второго выреза и выступа на основном стволе. Таким образом, радиальный размер вилки волоконно-оптического соединителя не увеличивается, и упрощается миниатюризация конструкции.
На заднем торце передней защитной втулки может быть один, два или более первых вырезов. При наличии двух первых вырезов, два первых выреза могут быть распределены симметрично с двух сторон относительно центральной оси передней защитной втулки. При наличии множества первых вырезов первые вырезы могут быть распределены с промежутками в окружном направлении. Аналогичным образом, могут быть один, два или более вторых вырезов, и схема расположения второго выреза может быть такой же, как и у первого выреза.
В возможной реализации установочный элемент соединен с основным стволом с использованием фиксатора, часть фиксатора расположена внутри основного ствола, и другая часть фиксатора расположена внутри установочного элемента, то есть фиксатор находится в полностью закрытом состоянии, и по периферии фиксатора основный ствол соединен с установочным элементом.
В возможной реализации установочный элемент соединяется с основным стволом с использованием фиксатора, и, в качестве альтернативы, фиксатор может быть частично виден как наружная торцевая поверхность вилки волоконно-оптического соединителя. Фиксатор имеет структуру в виде втулки. Фиксатор включает в себя передний конец, задний конец и среднюю часть, соединенную между передним концом и задним концом. Передний конец фиксатора продолжается во внутреннюю сторону установочного элемента и крепится к установочному элементу. Задний конец фиксатора продолжается во внутреннюю сторону основного ствола и крепится к основному стволу. Средняя часть расположена между передним концом основного ствола и задним концом установочного элемента. Можно также понять, что средняя часть расположена между передним концом основного ствола и задним концом передней защитной втулки. Внешняя поверхность средней части образует наружную торцевую поверхность вилки волоконно-оптического соединителя.
В возможной реализации передний конец фиксатора разъемно соединен с фиксатором способом посадки между защелкой и отверстием. Защелка расположена по периферии переднего конца. Отверстие, которое продолжается через внутреннюю поверхность и внешнюю поверхность, расположено на установочном элементе. Защелка переднего конца размещена в отверстии установочного элемента. Задний конец также разъемно соединен с основным стволом способом посадки между защелкой и отверстием. Защелка расположена по периферии заднего конца. На основном стволе расположено отверстие, продолжающее через внутреннюю поверхность и внешнюю поверхность. Защелка заднего конца размещена в отверстии основного ствола.
В другой возможной реализации передний конец фиксатора может быть прикреплен к установочному элементу с помощью резьбового соединения. Аналогичным образом, задний конец фиксатора также может быть прикреплен к основному стволу с помощью резьбового соединения.
В возможной реализации уплотнительная канавка расположена по периферии средней части фиксатора и используется для размещения уплотнительной структуры. Конечно, в архитектуре в этой реализации уплотнительная канавка альтернативно может быть не расположена по периферии средней части, а может быть расположена на внешней поверхности основного ствола. Когда вилка волоконно-оптического соединителя вставляется в волоконно-оптический адаптер, средняя часть располагается внутри волоконно-оптического адаптера, и передний конец основного ствола также продолжается в волоконно-оптический адаптер.
В возможной реализации уплотнительная структура расположена между задним концом фиксатора и основным стволом.
В возможной реализации направляющая структура также может быть расположена по периферии средней части фиксатора. Направляющая структура взаимодействует или непрерывно продолжается к первой направляющей структуре на передней защитной втулке. Направляющая структура и первая направляющая структура на передней защитной втулке совместно подходят направляющей шпонке на волоконно-оптическом адаптере. В другой реализации направляющая структура расположена на каждой из периферии средней части и периферии основного ствола. Две направляющие структуры расположены одновременно на пути продолжения первой направляющей структуры на передней защитной втулке. Две направляющие структуры и первая направляющая структура на передней защитной втулке совместно образуют направляющую структуру вилки волоконно-оптического соединителя.
В возможной реализации уплотнительная структура и первая блокирующая структура расположены на внешней поверхности основного корпуса; и в осевом направлении уплотнительная структура расположена между передней защитной втулкой и первой блокирующей структурой, первая блокирующая структура используется для сопряжения со второй блокирующей структурой волоконно-оптического адаптера, и уплотнительная структура используется для герметичного соединения внутренней поверхности волоконно-оптического адаптера.
Вилка волоконно-оптического соединителя, предусмотренная в этой реализации, является вилкой волоконно-оптического соединителя для использования вне помещения, и к ней предъявляются требования по герметизации. Уплотнительная структура расположена между передней защитной втулкой и первой блокирующей структурой и вставлена в волоконно-оптический адаптер вместе с передней защитной втулкой для образования уплотнения внутри волоконно-оптического адаптера. В соответствии с решением по расположению уплотнительной структуры герметичное соединение между вилкой волоконно-оптического соединителя и волоконно-оптическим адаптером может быть реализовано с использованием только уплотнительной структуры. В частности, основной корпус включает в себя основной ствол, основной ствол находится в объединенной втулочной структуре, и передний конец основного ствола также продолжается в волоконно-оптический адаптер. Уплотнительная структура расположена на основном стволе и находится близко к переднему концу основного ствола. Герметичное соединение основного ствола с оптическим волокном реализовано на хвостовом конце основного ствола с использованием термоусадочной трубки.
В возможной реализации в настоящей заявке первая блокирующая структура, расположенная на внешней поверхности основного корпуса, обеспечивает путь вставки для непосредственной вставки вилки волоконно-оптического соединителя в волоконно-оптический соединитель и извлечения вилки волоконно-оптического соединителя из волоконного соединителя, и это позволяет сэкономить рабочее пространство. В частности, первая блокирующая структура включает в себя скользящий элемент и блокирующую часть. Блокирующая часть крепится к внешней поверхности основного корпуса. Скользящий элемент соединен с возможностью скольжения между первой позицией и второй позицией с основным корпусом. Блокирующая часть расположена между скользящим элементом и наконечником в осевом направлении основного корпуса. Когда скользящий элемент находится в первой позиции, скользящий элемент попадает в блокирующую часть для совместного запирания второй блокирующей структуры. Когда скользящий элемент находится во второй позиции, осуществляется разблокировка между блокирующей частью и второй блокирующей структурой.
В настоящей заявке скользящий элемент попадает в блокирующую часть для совместной блокировки второй блокирующей структуры на волоконно-оптическом адаптере, и скользящий элемент скользит в осевом направлении для осуществления блокировки и разблокировки, то есть пользователю нужно только привести в движение скользящий элемент для его перемещения в осевом направлении. В процессе вставки вилки волоконно-оптического соединителя в волоконно-оптический адаптер или извлечения вилки волоконно-оптического соединителя из волоконно-оптического адаптера, рабочим пространством также является периферийное пространство на стороне, соответствующей вилке волоконно-оптического соединителя, например пространство над вилкой волоконно-оптического соединителя, и скользящий элемент нужно только привести в движение, чтобы он скользил по основному корпусу.
В настоящей заявке нет необходимости резервировать рабочее пространство по окружной периферии вилки волоконно-оптического соединителя (пространство, окружающее периферию основного корпуса вилки волоконно-оптического соединителя). Таким образом, в настоящей заявке реализована не только миниатюрная конструкция вилки волоконно-оптического соединителя, но и большее количество вилок волоконно-оптического соединителя может быть выполнено в устройстве связи, имеющем множество волоконно-оптических интерфейсов. Вилки волоконно-оптического соединителя могут быть расположены плотно, и даже если между соседними вилками волоконно-оптического соединителя нет промежутка, это не влияет на вставку/извлечение, блокировку и разблокировку одиночной вилки волоконно-оптического соединителя.
В возможной реализации блокирующая часть представляет собой крепежный блок, расположенный с выступом на внешней поверхности основного корпуса, блокирующая часть и основной корпус имеют единую структуру, и может быть одна или две блокирующие части. При наличии двух блокирующих частей эти две блокирующие части распределены симметрично с двух сторон основного корпуса.
Блокирующая часть используется для сопряжения с зажимной канавкой второй блокирующей структуры. Блокирующая канавка выполнена между скользящим элементом и основным корпусом. Блокирующая канавка используется для сопряжения с упругой лапкой второй блокирующей структуры. Открытое положение блокирующей канавки находится между одним концом скользящего элемента и основным корпусом. Скользящий элемент включает в себя установочную поверхность, сформированную на внутренней стенке блокирующей канавки. Посадочная поверхность обращена к основному корпусу. Посадочная поверхность включает в себя первую область и вторую область. Первая область расположена между второй областью и отверстием блокирующей канавки. Расстояние по вертикали между первой областью и основным корпусом больше, чем расстояние по вертикали между второй областью и основным корпусом.
В этой реализации расстояние по вертикали между первой областью и основным корпусом устанавливается отличным от расстояния по вертикали между второй областью и основным корпусом, поэтому посадочная поверхность спроектирована таким образом, чтобы быть похожей на двухступенчатую структуру или структуру, продолжающую наклонно относительно осевого направления. В состоянии посадки между позиционирующей поверхностью и второй блокирующей структурой посадочная поверхность вдавливает упругую лапку второй блокирующей структуры в блокирующий паз. Как первая область, так и вторая область оказывают давление на упругую лапку, и первая область и вторая область образуют двухступенчатую архитектуру или архитектуру, продолжающую наклонно вдоль радиального направления. Это не только способствует увеличению площади контакта между посадочной поверхностью и упругой лапкой, но и реализует функцию радиального прижатия упругой лапки. Прижимное усилие и усилие блокировки на упругой лапке могут гарантировать то, что упругая лапка надежно зафиксируется в блокирующей канавке, и ее будет нелегко вытащить.
Размер посадочной поверхности, продолжающей в осевом направлении, является первым размером, и размер первой области, продолжающей в осевом направлении, является вторым размером. Понятно, что второй размер меньше первого размера, и второй размер может быть даже меньше половины первого размера. В заблокированном состоянии областью взаимного прижатия между посадочной поверхностью и упругой лапкой может быть область, в которой находится вся посадочная поверхность. Однако в процессе разблокировки только первая область должна быть перемещена в позицию, в которой находится вторая область в заблокированном состоянии, и вторая область синхронно перемещается из упругой лапки. В этом случае как первая область, так и вторая область отсоединяются от упругой лапки, и упругая лапка не прижимается, поэтому осуществляется разблокировка. Можно узнать, что во время перемещения в процессе разблокировки скользящему элементу необходимо пройти только расстояние второго размера и не нужно проходить расстояние первого размера. Таким образом, эта реализация имеет преимущества, связанные со стабильной блокировкой и легкой разблокировкой.
В возможной реализации, когда скользящий элемент находится в первой позиции, первая область расположена напротив блокирующей части, и вторая область расположена напротив внешней поверхности основного корпуса; или, когда скользящий элемент находится во второй позиции, посадочная поверхность расположена напротив внешней поверхности основного корпуса. В настоящей заявке определяется взаимное расположение между скользящим элементом в первой позиции и основным корпусом и взаимное расположение между скользящим элементом во второй позиции и основным корпусом, поэтому можно гарантировать точное позиционирование скользящего элемента на основном корпусе, и можно повысить эффективность блокировки и разблокировки.
В возможной реализации посадочная поверхность имеет ступенчатую форму, и направление продолжения первой области в направлении от переднего торца к заднему торцу скользящего элемента параллельно центральной оси скользящего элемента.
В возможной реализации посадочная поверхность имеет форму скоса, и внутренний угол образован между направлением продолжения первой области в направлении от переднего торца к заднему торцу скользящего элемента и центральной оси скользящего элемента.
В возможной реализации вытравленная структура расположена в первой области, или вытравленная структура расположена во второй области, или вытравленная структура расположена в каждой из первой области и второй области.
В возможной реализации канавка расположена на посадочной поверхности, канавка используется для сопряжения с выступающей частью на упругой лапке, и канавка может быть расположена в первой области или во второй области.
Как вытравленная структура, так и структура с канавкой, расположенная на посадочной поверхности, позволяют увеличить усилие запирания.
В возможной реализации скользящий элемент включает в себя первый пластинчатый элемент, второй пластинчатый элемент, третий пластинчатый элемент и четвертый пластинчатый элемент, которые соединены последовательно. Первый пластинчатый элемент расположен напротив третьего пластинчатого элемента. Второй пластинчатый элемент расположен напротив четвертого пластинчатого элемента. Посадочная поверхность расположена на внутренних поверхностях первого пластинчатого элемента и третьего пластинчатого элемента. В этой реализации первый пластинчатый элемент и третий пластинчатый элемент представляют собой выпуклые дугообразные структуры, и противоскользящая структура расположена на внешней поверхности каждого из первого пластинчатого элемента и третьего пластинчатого элемента. Второй пластинчатый элемент и четвертый пластинчатый элемент представляют собой плоские пластинчатые структуры. Второй пластинчатый элемент и четвертый пластинчатый элемент расположены параллельно друг другу. Расстояние между вторым пластинчатым элементом и четвертым пластинчатым элементом меньше, чем максимальное расстояние между первым пластинчатым элементом и третьим пластинчатым элементом. Когда скользящий элемент приводится в действие, внешнее усилие прикладывается к первому пластинчатому элементу и третьему пластинчатому элементу, и одна сторона второго пластинчатого элемента и одна сторона четвертого пластинчатого элемента могут использоваться для примыкания к другой вилке волоконно-оптического соединителя, поэтому множество вилок волоконно-оптических соединителей расположены плотно для экономии места.
В возможной реализации второй пластинчатый элемент и четвертый пластинчатый элемент могут находиться в непосредственном контакте с внешней поверхностью основного ствола или могут быть соединены с внешней поверхностью основного ствола с использованием направляющей структуры. Между основным стволом и каждым из первого пластинчатого элемента и третьего пластинчатого элемента образована выемка. Выемка может представлять собой блокирующую канавку для размещения второй блокирующей структуры волоконно-оптического адаптера или аккомодационное пространство второго упругого элемента и основания крепления.
В возможном реализации вторая скользящая направляющая структура дополнительно расположена на внутренней поверхности скользящего элемента. Вторая скользящая направляющая структура используется для посадки первой скользящей направляющей структуры на основной ствол. Вторая скользящая направляющая структура расположена на внутренних поверхностях второго пластинчатого элемента и четвертого пластинчатого элемента.
В возможной реализации вторая скользящая направляющая структура включает в себя вторую направляющую часть и вторую ограничивающую часть. Вторая ограничивающая часть расположена на одной стороне, которая относится ко второй направляющей части и которая удалена от переднего торца скользящего элемента. Вторая направляющая часть используется для посадки первой направляющей части на внешнюю поверхность основного ствола. Вторая ограничивающая часть используется для посадки первой ограничивающей части на внешнюю поверхность основного ствола. Одна сторона, которая относится ко второй ограничивающей части и которая обращена к заднему торцу скользящего элемента, образует вторую ограничивающую ступеньку. Вторая ограничивающая ступенька используется для посадки первой ограничивающей ступеньки первой ограничивающей части на основной ствол для того, чтобы ограничить граничную позицию для скольжения скользящего элемента по направлению к переднему концу основного ствола.
В возможной реализации вторая ограничивающая часть и вторая направляющая часть образуют Т-образную структуру. В этой реализации вторая ограничивающая часть и вторая направляющая часть представляют собой структуры с направляющими канавками, углубленными на внутренней поверхности скользящего элемента. В качестве альтернативы, в другой реализации вторая ограничивающая часть и вторая направляющая часть могут представлять собой направляющие рельсовые структуры, расположенные с выступом на внутренней поверхности скользящего элемента.
В возможной реализации ступенчатая позиционирующая торцевая поверхность, обращенная к заднему торцу скользящего элемента, расположена на внутренней поверхности скользящего элемента и используется для позиционирования второго упругого элемента.
В возможной реализации вилка волоконно-оптического соединителя, предусмотренная в этой реализации, дополнительно включает в себя пылезащитный колпачок. Пылезащитный колпачок включает в себя корпус колпачка и упругую лапку. Корпус колпачка является полым и имеет отверстие. Упругая лапка выполнена в позиции открытия тела колпачка. Корпус защитной втулки представляет собой центросимметричную структуру и расположен по центральной оси. Две упругие лапки расположены с двух сторон относительно центральной оси напротив друг друга. В осевом направлении первая соединительная часть и вторая соединительная часть расположены на одном конце, который относится к упругой лапке и который находится на удалении от тела колпачка. Первая посадочная часть расположена между второй посадочной частью и упругой лапкой. Расстояние по вертикали между первой посадочной частью и центральной осью больше, чем расстояние между второй посадочной частью и центральной осью. В рабочем состоянии пылезащитный колпачок закрывает периферию передней защитной втулки, и упругая лапка продолжается в упорную канавку, выполненную между позиционирующей поверхностью скользящего элемента и внешней поверхностью основного корпуса; за счет прилегания между упругой лапкой и посадочной поверхностью первая посадочная часть упирается в первую область, и вторая посадочная часть упирается во вторую область; и пылезащитный колпачок крепится к вилке волоконно-оптического соединителя с использованием прижимного усилия, прикладываемого посадочной поверхностью к первой посадочной части и второй посадочной части. Когда необходимо снять пылезащитный колпачок, скользящий элемент перемещается к хвостовому концу основного ствола, поэтому первая часть выходит из первой посадочной части, и вторая область выходит из второй посадочной части. Когда первая область непосредственно обращена ко второй посадочной части в радиальном направлении, может быть реализовано размыкание между вилкой волоконно-оптического соединителя и пылезащитным колпачком.
В возможной реализации блокирующая часть включает в себя упругую лапку и зажимной блок, и один конец упругой лапки крепится к основному корпусу. Упругая лапка и основной корпус могут представлять собой единую соединительную структуру или могут быть разъемную структуру, которую можно собрать как единое целое. Зажимной блок крепится к другому концу упругой лапки и выступает от поверхности, которая относится к упругой лапке и которая удалена от основного корпуса. Между упругой лапкой и основным корпусом имеется выемка. Скользящий элемент включает в себя скользящее тело, соединенное с возможностью скольжения с основным корпусом, и стопорную структуру, соединенную с одним концом скользящего тела. Упругая лапка используется для сопряжения с зажимной канавкой на волоконно-оптическом адаптере. Стопорная структура может перемещаться в выемку и упираться в упругую лапку, чтобы зафиксировать упругую лапку в зажимной канавке.
В возможной реализации зажимная структура дополнительно расположена на внешней поверхности основного корпуса, и зажимная структура используется для посадки скользящего элемента таким образом, чтобы ограничить скользящий элемент в первой позиции. В частности, зажимная структура представляет собой ограничивающий блок, расположенный с выступом на внешней поверхности основного корпуса. Имеются две зажимные структуры, причем зажимные структуры разнесены, то есть между двумя зажимными структурами сформирована ограничивающая канавка.
В возможной реализации скользящий элемент включает в себя скользящую позиционирующую структуру. Скользящая позиционирующая структура включает в себя соединительную часть, соединенную с скользящим телом, и выпуклую структуру, расположенную с выступом на соединительной части. Соединительная часть образована путем размещения пары полосообразных прорезей на корпусе скольжения. Отсутствие прорезей позволяет соединительной части легко совершать радиальные упругие деформации под действием внешней силы. Выпуклая структура используется для сопряжения с зажимной структурой на основном стволе. В частности, когда выпуклая структура зажимается в ограничивающей канавке, скользящий элемент может ограничиваться первой позицией.
В возможной реализации имеются две скользящие позиционирующие структуры, и две скользящие позиционирующие структуры распределены симметрично с двух сторон относительно центральной оси скользящего элемента. В настоящей заявке скользящий элемент может быть надежно соединен с основным стволом с использованием симметрично расположенных скользящих позиционирующих структур.
В этой реализации предусмотрено другое решение для первой блокирующей структуры. Упругая лапка и зажимной блок, расположенные на блокирующей части, подходят зажимному пазу второй блокирующей структуры, и стопорная структура скользящего элемента упирается в упругую лапку, поэтому между первой блокирующей структурой и второй блокирующей структурой реализуется заблокированное состояние. Аналогичным образом, в этой реализации перемещение скользящего элемента приводит к тому, что стопорная структура отпускает упругую лапку, поэтому осуществляется разблокировка.
В возможной реализации зажимной блок расположен на одной стороне, которая относится к упругой лапке и которая удалена от переднего конца основного корпуса. Зажимной блок расположен на одном конце, который относится к упругой лапке и который обращен к скользящему элементу. Когда вилка волоконно-оптического соединителя вставляется в волоконно-оптический адаптер, упругая лапка сначала вставляется в адаптер, и затем зажимной блок входит в волоконно-оптический адаптер. В заблокированном состоянии, соответствующем блокирующей части, зажимной блок соединен с одним концом скользящего тела, и конец скользящего тела можно рассматривать как основание блокирующей части, и упорное усилие в этом положении больше, чем на одном конце, который относится к блокирующей части и который находится на удалении от скользящего тела (этот конец можно рассматривать как хвостовую часть блокирующей части). Таким образом, в настоящей заявке структура, которая относится к зажимному блоку и упругой лапке и которая соответствует положению скользящего элемента, способствует увеличению усилия блокировки.
В возможной реализации блокирующая часть включает в себя блокирующую лапку. Аккомодационное пространство расположено между блокирующей лапкой и внешней поверхностью основного корпуса. Два противоположных конца аккомодационного пространства открыты в осевом направлении основного корпуса. Блокирующая лапка выполнена с зажимной канавкой или отверстием. Аккомодационное пространство используется для размещения второй блокирующей структуры. Зажимная канавка или отверстие используются для сопряжения со второй блокирующей структурой. Скользящий элемент включает в себя скользящее тело, соединенное с возможностью скольжения с основным корпусом, и стопорную структуру, соединенную с одним концом скользящего тела. Стопорная структура может перемещаться в аккомодационное пространство и упираться во вторую блокирующую структуру.
В частности, отверстие на одном конце аккомодационного пространства используется для того, чтобы вторая блокирующая структура на волоконно-оптическом адаптере могла продолжаться в аккомодационное пространство, и отверстие на другом конце аккомодационного пространства используется для того, чтобы стопорная структура скользящего элемента могла перемещаться в аккомодационное пространство. Вторая блокирующая структура может быть структурой соединительной секции (то есть структурой упругой лапки с защелкой), соединенной с защелкивающейся частью. Стопорная структура скользящего элемента упирается в соединительную часть и фиксирует защелкивающуюся часть в зажимной канавке или отверстии для реализации заблокированного состояния. Во время разблокировки необходимо перемещать только скользящий элемент, чтобы стопорная структура вышла из аккомодационного пространства и под действием силы упругости соединительной части защелкивающаяся часть могла отсоединиться от зажимной канавки или отверстия.
В возможной реализации блокирующая часть находится в структуре в виде втулки, и внутренняя поверхность блокирующей части снабжена позиционирующей канавкой, блокирующей канавкой и отверстием. Позиционирующая канавка используется для сопряжения с соединительной частью внешней поверхности основного ствола с целью крепления блокирующей части к основному стволу. Имеются две позиционирующие канавки, симметрично распределенные с двух сторон относительно центральной оси блокирующей части. Отверстие расположено в нижней части блокирующей канавки, и отверстие имеет сквозную структуру, поэтому внутренняя поверхность блокирующей части взаимодействует с внешней поверхностью блокирующей части. Направление продолжения блокирующей канавки является осевым направлением блокирующей части, и на одном торце блокирующей части выполнено отверстие блокирующей канавки.
В возможной реализации имеются два отверстия и две блокирующие канавки, причем два отверстия и две блокирующие канавки распределены симметрично с двух других сторон относительно центральной оси блокирующей части.
Во время сборки блокирующая часть надевается на основной ствол, и соединительная часть зажимается в позиционирующем пазу, чтобы обеспечить соединение между блокирующей частью и основным стволом. В этом состоянии нижняя стенка блокирующей канавки и основной ствол образуют аккомодационное пространство, и блокирующая часть в позиции нижней стенки блокирующей канавки образует упорную лапку. Можно понять, что отверстие расположено на блокирующей лапке. Отверстие может иметь структуру зажимной канавки или отверстия. Аккомодационное пространство образовано между блокирующей лапкой и внешней поверхностью основного ствола. Аккомодационное пространство используется для размещения второй блокирующей структуры волоконно-оптического адаптера, и отверстие используется для сопряжения со второй блокирующей структурой.
В возможной реализации скользящий элемент упруго соединен с основным корпусом, и скользящий элемент удерживается в первой позиции за счет силы упругости.
В возможной реализации ограничивающая структура расположена между скользящим элементом и основным корпусом, и ограничивающая структура используется для ограничения скользящего элемента в первой позиции, или ограничивающая структура может использоваться для ограничения скользящего элемента во второй позиции.
В возможной реализации основной корпус включает в себя основной ствол в виде втулки. Основный ствол находится в объединенной структуры. Основный ствол включает в себя передний конец и хвостовой конец, расположенные напротив друг друга. Передний конец основного ствола соединен с передней защитной втулкой. Оптическое волокно размещается в основном стволу. Хвостовой конец крепится к оптическому волокну. В задней части расположено сквозное отверстие. Сквозное отверстие продолжается через внешнюю поверхность и внутреннюю поверхность основного ствола. Сквозное отверстие служит для заливки клея в промежуток между волокном и внутренней поверхностью основного ствола, для крепления оптического волокна к основному стволу.
В частности, оптическое волокно включает в себя сердцевину оптического волокна, армированный слой, выполненный вокруг сердцевины оптического волокна, и внешний слой, выполненный вокруг армированного слоя. Часть сердцевины оптического волокна выходит из армированного слоя и крепится к наконечнику, и часть армирующего слоя не покрыта наружным слоем. Клей используется для крепления армированного слоя к основному стволу.
В настоящей заявке сквозное отверстие для заливки клея расположено в задней части основного ствола, и оптическое волокно крепится путем заливки клея. Клей заполняет промежуток между армированным слоем и основным стволом, в дальнейшем используется форма структуры поверхности армированного слоя, и поверхность армированного слоя имеет пространство для заливки клея. Таким образом, клей может полностью соприкасаться с оптическим волокном и основным стволом, что улучшает эффект крепления. В дополнение к этому, конструкция миниатюризации упрощается за счет удаления некоторых материалов из основного ствола (без добавления какой-либо зажимной структуры) и крепления оптического волокна внутри основного ствола, не занимая никакого пространства снаружи основного ствола. В дополнение к этому, заполнение клеем промежутка между основным стволом и оптическим волокном может дополнительно уплотнить оптическое волокно с основным стволом. Таким образом, расположение сквозного отверстия не приводит к ухудшению эффекта уплотнения.
Согласно второму аспекту в настоящей заявке предложен волоконно-оптический адаптер, включающий в себя корпусную втулку и втулку наконечника. Втулка наконечника соединяется внутри корпусной втулки. Первое аккомодационное пространство, сообщающееся с внутренним пространством втулки наконечника, расположено внутри корпусной втулки. Первое аккомодационное пространство используется для размещения вилки волоконно-оптического соединителя согласно любой реализации первого аспекта. Втулка наконечника используется для размещения в ней наконечника вилки волоконно-оптического соединителя. Внутренняя поверхность корпусной втулки используется для соприкосновения с внешней поверхностью передней защитной втулки вилки волоконно-оптического соединителя. Первая прорезь образована между втулкой тела и втулкой наконечника, и первая прорезь используется для размещения в ней части передней защитной втулки. В соответствии с волоконно-оптическим адаптером, представленным в настоящей заявке, первый паз между втулкой тела и втулкой наконечника сопряжен передней защитной втулкой вилки волоконно-оптического соединителя, и внутренняя поверхность корпусной втулки соприкасается с внешней поверхностью втулки и плотно прилегает к передней защитной втулке для осуществления сопряжения волоконно-оптического адаптера и вилки волоконно-оптического соединителя. Что касается волоконно-оптического адаптера, то упрощена конструкция волоконно-оптического адаптера, выравнивание вилки волоконно-оптического соединителя, вставленного в волоконно-оптический адаптер, осуществляется с использованием первой прорези и внутренней поверхности корпусной втулки, и радиальный размер можно спроектировать таким образом, чтобы он соответствовал радиальному размеру передней защитной втулки вилки волоконно-оптического соединителя. Таким образом, вилка волоконно-оптического соединителя имеет преимущество, связанное с ее маленьким размером.
В возможной реализации направляющая шпонка расположена на внутренней стенке корпусной втулки, направление продолжения направляющей шпонки совпадает с направлением продолжения центральной оси втулки наконечника, и направляющая шпонка используется для установки первой направляющей структуры на переднюю защитную втулку вилки волоконно-оптического соединителя. Расположение направляющей шпонки в осевом направлении позволяет корпусной втулке соответствовать вилке волоконно-оптического соединителя при прямой вставке и прямом извлечении и позволяет сэкономить рабочее пространство. Таким образом, в ограниченном пространстве можно разместить больше портов для подключения оптических волокон.
В возможной реализации корпусная втулка включает в себя первый конец, второй конец и корпусную часть, соединенную между первым концом и вторым концом. Втулка наконечника соединена внутри корпусной части. Вторая блокирующая структура расположена на первом конце. Вторая блокирующая структура используется для сопряжения с первой блокирующей структурой вилки волоконно-оптического соединителя. Внутренняя поверхность корпусной части герметично соединена с уплотнительной структурой вилки волоконно-оптического соединителя.
В возможной реализации вторая блокирующая структура включает в себя зажимную канавку и упругую лапку. Зажимная канавка выполнен на внутренней поверхности корпусной втулки. Корпусная втулка включает в себя корпусную часть. Упругая лапка расположена на одном конце корпусной части и продолжается в осевом направлении корпусной втулки. Упругая лапка включает в себя первую секцию и вторую секцию. Первая секция соединена между второй секцией и корпусной частью. Внешняя поверхность упругой лапки является поверхностью, которая относится к упругой лапке и которая удалена от первого аккомодационного пространства. Расстояние по вертикали от внешней поверхности первой секции до центральной оси корпусной втулки больше, чем расстояние по вертикали от внешней поверхности второй секции до центральной оси корпусной втулки. В настоящей заявке упругая лапка спроектирована схожей со двухступенчатой структурой или структурой, продолжающейся наклонно относительно осевого направления. Прилегание между упругой лапкой и посадочной поверхностью вилки волоконно-оптического соединителя не только способствует увеличению площади контакта между посадочной поверхностью и упругой лапкой, но и реализует функцию радиального прижатия упругой лапки. Зажимное усилие и усилие блокировки на упругой лапке могут гарантировать то, что упругая лапка надежно фиксируется в блокирующей канавке, и ее будет нелегко вытащить.
В заблокированном состоянии областью взаимного прижатия между позиционирующей поверхностью и упругой лапкой может быть область (включая первую секцию и вторую секцию), в которой находится вся упругая лапка. Однако в процессе разблокировки только первую область посадочной поверхности вилки волоконно-оптического соединителя необходимо переместить в позицию, в которой находится вторая область в заблокированном состоянии, и вторая область синхронно отходит от упругой лапки. Если быть точным, первая секция отделена от первой области, вторая секция отделена от второй области, и первая область обращена непосредственно ко второй секции, но между первой областью и второй секцией расположен промежуток, поэтому упругая лапка не прижимается, то есть осуществляется разблокировка. Можно узнать, что во время перемещения в процессе разблокировки скользящий элемент должен перемещаться только в позицию, в которой первая область перемещается радиально напротив второй секции, и не требуется, чтобы посадочная поверхность и упругая лапка были полностью смещены в радиальном направлении. Частичное перекрытие между позиционирующей поверхностью и упругой лапкой в радиальном направлении может сохраняться, поэтому может быть осуществлено разблокирование. Таким образом, эта реализация имеет преимущества стабильной блокировки и легкой разблокировки.
В возможной реализации в радиальном направлении корпусной втулки первая область непосредственно обращена к части зажимной канавки, и вторая область расположена по периферии зажимной канавки.
В возможной реализации внешняя поверхность упругой лапки имеет ступенчатую форму; или между направлением продолжения упругой лапки и осевым направлением корпусной втулки образован внутренний угол, и направление продолжения упругой лапки является направлением продолжения от корпусной части до одного конца, который относится ко второй секции и который находится на удалении от корпусной части.
В возможной реализации вытравленная структура расположена на внешней поверхности первой секции и/или внешней поверхности второй секции; или выступающая часть расположена на внешней поверхности упругой лапки, и выступающая часть используется для совмещения с канавкой на скользящем элементе вилки волоконно-оптического соединителя. Как вытравленная структура, так и структура выступающей части, расположенная на упругой лапке, позволяют увеличить усилие блокировки.
В возможной реализации вторая блокирующая структура представляет собой зажимную канавку, выполненную на внутренней поверхности корпусной втулки. Зажимная канавка включает в себя ограничивающую канавку, углубленную на внутренней поверхности корпусной части, и канавку или отверстие, расположенное на дне канавки. Ограничивающая канавка используется для установки упругой лапки блокирующей части на вилку волоконно-оптического соединителя. Канавка или отверстие используются для установки зажимного блока блокирующей части на вилку волоконно-оптического соединителя.
В возможной реализации корпусная втулка включает в себя корпусную часть. Вторая блокирующая структура расположена на одном конце корпусной части и включает в себя защелкивающуюся часть и соединительную секцию. Соединительная секция соединена между защелкивающейся частью и корпусной частью. Защелкивающаяся часть расположена с выступом на поверхности, которая относится к соединительной секции и которая удалена от центральной оси корпусной втулки. Соединительная секция используется для размещения в пространстве между блокирующей лапкой и основным корпусом вилки волоконно-оптического соединителя. Защелкивающаяся часть используется для вставки в зажимную канавку или отверстие блокирующей лапки на вилке волоконно-оптического соединителя.
Согласно третьему аспекту настоящая заявка предусматривает узел волоконно-оптического соединителя, включающий в себя вилку волоконно-оптического соединителя согласно любой реализации первого аспекта и волоконно-оптический адаптер согласно любой реализации второго аспекта.
Согласно четвертому аспекту настоящая заявка предусматривает устройство связи, включающее в себя корпус, и волоконно-оптический адаптер согласно любой возможной реализации второго аспекта, где волоконно-оптический адаптер соединен с корпусом, причем корпус выполнен с розеткой, волоконно-оптический адаптер расположен внутри корпуса, и розетка обращена непосредственно к первому аккомодационному пространству волоконно-оптического адаптера.
В возможной реализации имеется множество розеток, расположенных в один ряд, а также множество волоконно-оптических адаптеров, соответственно, расположенных в позициях розеток.
В возможной реализации имеется множество розеток, расположенных по меньшей мере в два ряда на корпусе, а также множество волоконно-оптических адаптеров, соответственно, расположенных в позициях розеток.
В возможной реализации устройство связи дополнительно включает в себя вилка волоконно-оптического соединителя согласно любой возможной реализации первого аспекта, где вилка волоконно-оптического соединителя используется для присоединения волоконно-оптического адаптера.
Устройство связи, предоставленное в настоящей заявке, включает в себя множество розеток, расположенных в ряд или расположенных в виде множества рядов. Волоконно-оптические адаптеры соответствующим образом расположены в позициях розеток, поэтому в ограниченном пространстве можно разместить большее количество портов подключения оптического волокна, и можно повысить плотность размещения волоконно-оптических адаптеров в устройстве связи.
Краткое описание чертежей
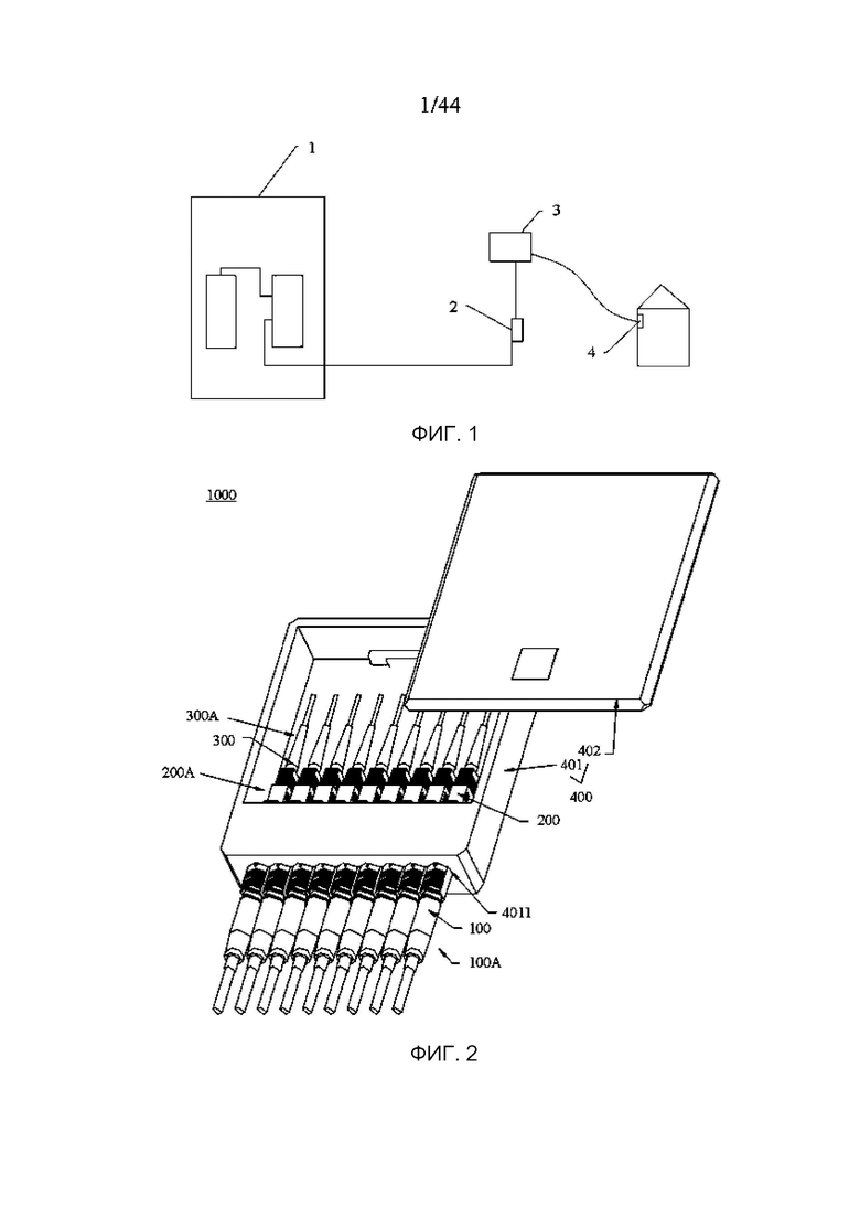
Фиг. 1 - схематичное представление конкретного сценария применения вилки волоконно-оптического соединителя и, в частности, схематичное представление сети FTTH согласно настоящей заявке;
Фиг. 2 - схематичное представление конкретной реализации устройства связи, в котором находится вилка волоконно-оптического соединителя согласно настоящей заявке;
Фиг. 3 - схематичное трехмерное представление узла вилки волоконно-оптического соединителя согласно первому варианту осуществления настоящей заявки;
Фиг. 4 - схематичное трехмерное представление вилки волоконно-оптического соединителя в разобранном виде согласно первому варианту осуществления настоящей заявки;
Фиг. 5 - вид в разрезе вилки волоконно-оптического соединителя в одном направлении согласно первому варианту осуществления настоящей заявки;
Фиг. 6 - вид в разрезе вилки волоконно-оптического соединителя в другом направлении согласно первому варианту осуществления настоящей заявки;
Фиг. 7 - схематичное трехмерное представление наконечника вилки волоконно-оптического соединителя согласно первому варианту осуществления настоящей заявки;
Фиг. 8 - вид в разрезе наконечника вилки волоконно-оптического соединителя согласно первому варианту осуществления настоящей заявки;
Фиг. 9 - схематичное трехмерное представление передней защитной втулки вилки волоконно-оптического соединителя согласно первому варианту осуществления настоящей заявки;
Фиг. 10 - вид в разрезе передней защитной втулки вилки волоконно-оптического соединителя в одном направлении согласно первому варианту осуществления настоящей заявки;
Фиг. 11 - схематичный вид в разрезе первого позиционного отношения между передней защитной втулкой и наконечником вилки волоконно-оптического соединителя согласно первому варианту осуществления настоящей заявки;
Фиг. 12 - схематичный вид в разрезе второго позиционного отношения передней защитной втулки и наконечника вилки волоконно-оптического соединителя согласно первому варианту осуществления настоящей заявки;
Фиг. 13 - вид в разрезе передней защитной втулки вилки волоконно-оптического соединителя в другом направлении согласно первому варианту осуществления настоящей заявки;
Фиг. 14 - схематичное трехмерное представление передней защитной втулки вилки волоконно-оптического соединителя согласно первому варианту осуществления настоящей заявки;
Фиг. 15 - схематичное трехмерное представление передней защитной втулки вилки волоконно-оптического соединителя согласно первому варианту осуществления настоящей заявки;
Фиг. 16 - схематичное трехмерное представление передней защитной втулки вилки волоконно-оптического соединителя согласно первому варианту осуществления настоящей заявки;
Фиг. 17 - схематичное трехмерное представление установочного элемента вилки волоконно-оптического соединителя в одном направлении согласно первому варианту осуществления настоящей заявки;
Фиг. 18 - схематичное трехмерное представление установочного элемента вилки волоконно-оптического соединителя в другом направлении согласно первому варианту осуществления настоящей заявки;
Фиг. 19 - вид в разрезе установочного элемента вилки волоконно-оптического соединителя согласно первому варианту осуществления настоящей заявки;
Фиг. 20 - частично увеличенный схематичный вид в разрезе вилки волоконно-оптического соединителя согласно первому варианту осуществления настоящей заявки, иллюстрирующий в основном фиксатор внутри передней защитной втулки;
Фиг. 21 - частично увеличенный схематичный вид в разрезе вилки волоконно-оптического соединителя согласно первому варианту осуществления настоящей заявки, иллюстрирующий в основном фиксатор внутри передней защитной втулки;
Фиг. 22А - схематичное трехмерное представление фиксатора вилки волоконно-оптического соединителя согласно первому варианту осуществления настоящей заявки;
Фиг. 22В - частично увеличенный схематичный вид в разрезе вилки волоконно-оптического соединителя согласно первому варианту осуществления настоящей заявки, иллюстрирующий в основном позиционное отношение между установочным элементом, фиксатором и основным стволом;
Фиг. 23 - схематичное трехмерное представление основного ствола вилки волоконно-оптического соединителя согласно первому варианту осуществления настоящей заявки;
Фиг. 24 - вид сверху основного ствола вилки волоконно-оптического соединителя в одном направлении согласно первому варианту осуществления настоящей заявки;
Фиг. 25 - вид в разрезе основного ствола вилки волоконно-оптического соединителя согласно первому варианту осуществления настоящей заявки;
Фиг. 26 - схематичное трехмерное представление скользящего элемента вилки волоконно-оптического соединителя в одном направлении согласно первому варианту осуществления настоящей заявки;
Фиг. 27 - схематичное трехмерное представление скользящего элемента вилки волоконно-оптического соединителя в другом направлении согласно первому варианту осуществления настоящей заявки;
Фиг. 28 - вид в разрезе скользящего элемента вилки волоконно-оптического соединителя согласно конкретной реализации в первом варианте осуществления настоящей заявки;
Фиг. 29 - вид в разрезе скользящего элемента вилки волоконно-оптического соединителя согласно другой конкретной реализации в первом варианте осуществления настоящей заявки;
Фиг. 30 - схематичное трехмерное представление основания крепления вилки волоконно-оптического соединителя согласно первому варианту осуществления настоящей заявки;
Фиг. 31 - схематичное трехмерное представление пылезащитного колпачка вилки волоконно-оптического соединителя согласно первому варианту осуществления настоящей заявки;
Фиг. 32 - схематичное трехмерное представление волоконно-оптического адаптера согласно первому варианту осуществления настоящей заявки;
Фиг. 33 - вид в разрезе волоконно-оптического адаптера согласно конкретной реализации в первом варианте осуществления настоящей заявки;
Фиг. 34 - вид в разрезе волоконно-оптического адаптера согласно другой конкретной реализации в первом варианте осуществления настоящей заявки;
Фиг. 35 - схематичное трехмерное представление керамической втулки волоконно-оптического адаптера согласно первому варианту осуществления настоящей заявки;
Фиг. 36 - схематичный вид в разрезе после вставки вилки волоконно-оптического соединителя в соответствующий волоконно-оптический адаптер согласно первому варианту осуществления настоящей заявки;
Фиг. 37 - схематичное представление в увеличенном виде части I на Фиг. 36;
Фиг. 38 - схематичное представление в увеличенном виде части II на Фиг. 36;
Фиг. 39 - еще одно схематичное представление в разрезе после вставки вилки волоконно-оптического соединителя в соответствующий волоконно-оптический адаптер согласно первому варианту осуществления настоящей заявки;
Фиг. 40 - схематичное представление в увеличенном виде части III на Фиг. 39;
Фиг. 41 - схематичное трехмерное представление вилки волоконно-оптического соединителя согласно второму варианту осуществления настоящей заявки;
Фиг. 42 - схематичное трехмерное представление в разобранном виде вилки волоконно-оптического соединителя согласно второму варианту осуществления настоящей заявки;
Фиг. 43 - схематичное трехмерное представление основного ствола вилки волоконно-оптического соединителя согласно второму варианту осуществления настоящей заявки;
Фиг. 44 - частично увеличенный вид в разрезе основного ствола вилки волоконно-оптического соединителя согласно второму варианту осуществления настоящей заявки;
Фиг. 45 - схематичное трехмерное представление скользящего элемента вилки волоконно-оптического соединителя согласно второму варианту осуществления настоящей заявки;
Фиг. 46 - схематичное трехмерное представление скользящего элемента вилки волоконно-оптического соединителя в другом направлении согласно второму варианту осуществления настоящей заявки;
Фиг. 47 - вид в разрезе скользящего элемента вилки волоконно-оптического соединителя в одном направлении согласно второму варианту осуществления настоящей заявки;
Фиг. 48 - вид в разрезе скользящего элемента вилки волоконно-оптического соединителя в другом направлении согласно второму варианту осуществления настоящей заявки;
Фиг. 49 - схематичное трехмерное представление волоконно-оптического адаптера согласно второму варианту осуществления настоящей заявки;
Фиг. 50 - вид в разрезе волоконно-оптического адаптера согласно второму варианту осуществления настоящей заявки;
Фиг. 51 - схематичное представление состояния, в котором вилка волоконно-оптического соединителя вставлена в волоконно-оптический адаптер согласно второму варианту осуществления настоящей заявки, где вилка волоконно-оптического соединителя находится в заблокированном состоянии;
Фиг. 52 - схематичное представление в увеличенном виде части IV на Фиг. 51;
Фиг. 53 - схематичное представление состояния разблокировки между вилкой волоконно-оптического соединителя и волоконно-оптическим адаптером согласно второму варианту осуществления настоящей заявки;
Фиг. 54 - схематичное трехмерное представление вилки волоконно-оптического соединителя согласно третьему варианту осуществления настоящей заявки;
Фиг. 55 - схематичное трехмерное представление в разобранном виде вилки волоконно-оптического соединителя согласно третьему варианту осуществления настоящей заявки;
Фиг. 56 - схематичное трехмерное представление основного ствола вилки волоконно-оптического соединителя согласно третьему варианту осуществления настоящей заявки;
Фиг. 57 - схематичное трехмерное представление блокирующей части вилки волоконно-оптического соединителя в одном направлении согласно третьему варианту осуществления настоящей заявки;
Фиг. 58 - схематичное трехмерное представление блокирующей части вилки волоконно-оптического соединителя в другом направлении согласно третьему варианту осуществления настоящей заявки;
Фиг. 59 - схематичный вид в разрезе блокирующей части вилки волоконно-оптического соединителя согласно третьему варианту осуществления настоящей заявки;
Фиг. 60 - схематичное трехмерное представление скользящего элемента вилки волоконно-оптического соединителя согласно третьему варианту осуществления настоящей заявки;
Фиг. 61 - схематичное трехмерное представление волоконно-оптического адаптера согласно третьему варианту осуществления настоящей заявки;
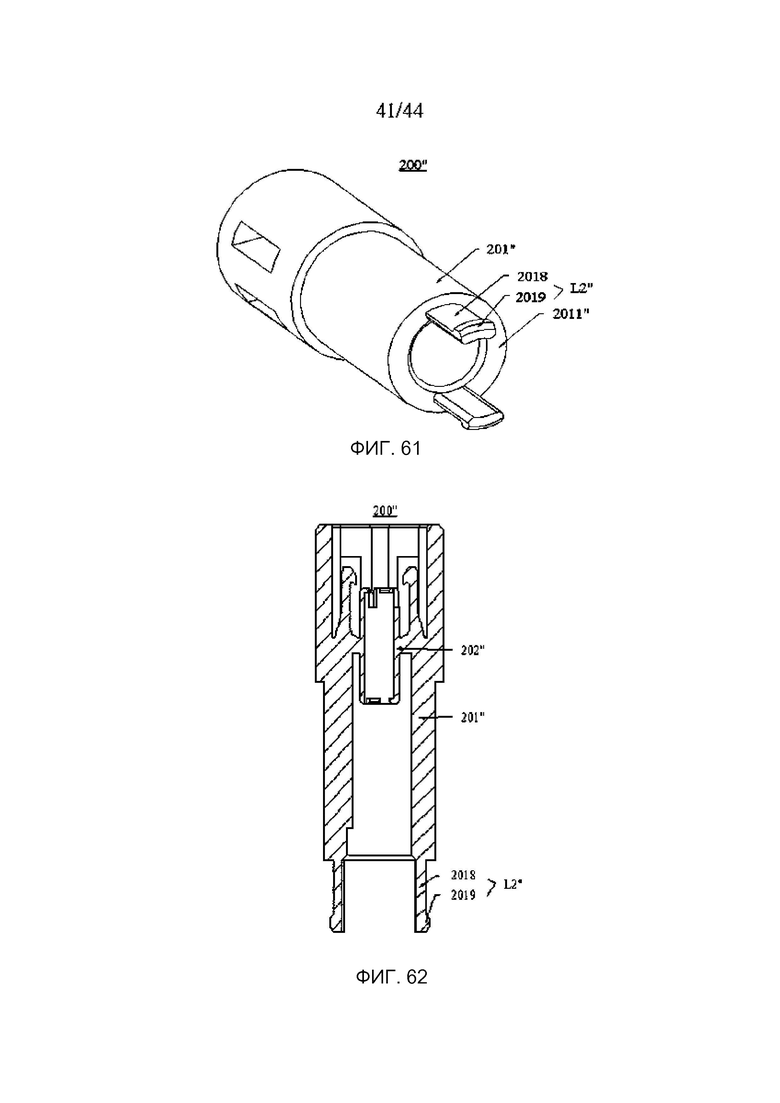
Фиг. 62 - схематичный вид в разрезе волоконно-оптического адаптера согласно третьему варианту осуществления настоящей заявки;
Фиг. 63 - схематичное представление состояния, в котором вилка волоконно-оптического соединителя вставлена в волоконно-оптический адаптер согласно третьему варианту осуществления настоящей заявки, где вилка волоконно-оптического соединителя находится в заблокированном состоянии;
Фиг. 64 - схематичное представление в увеличенном виде части V на Фиг. 63; и
Фиг. 65 - схематичное представление состояния разблокировки между вилкой волоконно-оптического соединителя и волоконно-оптическим адаптером согласно третьему варианту осуществления настоящей заявки.
Подробное описание изобретения
Для упрощения понимания ниже пояснены и описаны соответствующие технические термины, используемые в вариантах осуществления настоящей заявки.
Осевое направление: Осевое направление можно рассматривать как осевое направление вилки волоконно-оптического соединителя, и оно эквивалентно направлению продолжения оптического волокна и наконечника, то есть направлению, в котором хвостовой конец оптического волокна продолжается до переднего конца оптического волокна и затем продолжается до переднего конца наконечника, и эквивалентно осевому направлению узла корпуса, который надевается на периферийную часть оптического волокна и находится в вилке волоконно-оптического соединителя.
Радиальное направление: Радиальное направление является направлением, перпендикулярным осевому направлению.
Втулочный: Втулочный означает наложение втулки на внешнюю поверхность длинного объекта в виде полосы с целью защиты, усиления и крепления или соединения. Втулочный элемент включает в себя цилиндрический (или трубчатый) корпус, внутри корпуса имеется полое пространство, и на обоих торцах цилиндрического (или трубчатого) корпуса расположены отверстия. Длинный объект в виде полосы может проникать во втулочный элемент через два отверстия. Например, оптическое волокно продолжается в корпусном узле из отверстия на одном конце корпусного узла и может продолжаться вне корпусного узла от отверстия на другом конце корпусного узла. Торец втулочного элемента включает в себя внутреннюю кромку и внешнюю кромку. Внутренняя поверхность втулочного элемента соединена между внутренними краями двух торцов и обращена к полому пространству внутри втулочного элемента. Внешняя поверхность втулочного элемента соединена между внешними краями двух торцов и обращена к внешнему пространству втулочного элемента. Осевое направление втулочного элемента направлением, продолжающимся от одного торца до другого торца. Радиальное направление втулочного элемента является направлением, продолжающимся перпендикулярно от внутренней поверхности к внешней поверхности, и его можно рассматривать как направление, перпендикулярное осевому направлению втулочного элемента. Внешний контур в поперечном сечении втулочного элемента может иметь форму круга, многоугольника или треугольника либо другую правильную или неправильную форму. Это не ограничено в настоящей заявке.
Ниже проводится описание вариантов осуществления настоящей заявки со ссылкой на сопроводительные чертежи, представленные в вариантах осуществления настоящей заявки.
Вилка волоконно-оптического соединителя, волоконно-оптический адаптер, узел волоконно-оптического соединителя и устройство связи, предусмотренные в настоящей заявке, применяются в системе FFTx. Система FFTx может быть, но без ограничений, FFTH (оптическим волокном до дома, fiber to the home), FFTC (оптическим волокном до обочины, fiber to the curb), FTTP (оптическим волокном до помещения, fiber to the premises), FTTN (оптическим волокном до узла или района, fiber to the node), FTTO (оптическим волокном до офиса, fiber to the office) или FTTSA (оптическим волокном до зоны обслуживания, оптическое волокно fiber to the service area). Варианты осуществления настоящей заявки описаны с использованием примера, в котором устройство связи применяется в системе «оптическое волокно до дома» (fiber to the home, FTTH). На Фиг. 1 показано схематичное представление сети FTTH. Обращаясь к Фиг. 1, подключаемый волоконно-оптический распределительный пункт (Connectible Fiber Distribution Point, CFDP) 2 и волоконно-оптическая распределительная коробка 3 расположены между центральным офисом (Central Office, CO) 1 и абонентской терминальной коробкой (Customer Splicing Point, CSP) 4. Устройство связи в центральном офисе 1 подключено к подключаемому волоконно-оптическому распределительному пункту 2 через оптический кабель для распределения и передачи сигнала в подключаемый волоконно-оптический распределительный пункт 2. Подключаемый волоконно-оптический распределительный пункт 2 передает сигнал в волоконно-оптическую распределительную коробку 3 через оптический кабель, и затем волоконно-оптическая распределительная коробка 3 выводит сигнал (передает сигнал по оптическому кабелю) в абонентскую терминальную коробку 4.
Устройство связи, представленное в настоящей заявке, может быть, но без ограничений, терминалом доступа к оптическому волокну (fiber access terminal, FAT) или подключение путем сращивания и ответвления (splitting and splicing closure, SSC).
На Фиг. 2 показано схематичное представление устройства 1000 связи согласно реализации. Устройство 1000 связи включает в себя корпус 400, узел 200А адаптера, узел 300А соединителя для использования в помещении и узел 100А соединителя для использования вне помещения. Узел 200А адаптера прикреплен к корпусу 400. Узел 300А соединителя для использования в помещении размещен внутри корпуса 400. Узел 100А соединителя для использования вне помещения расположен снаружи корпуса 400. Узел 100А соединителя для использования вне помещения и узел 300А соединителя для использования в помещении могут быть подсоединены к узлу адаптера 200А для осуществления соединения и дополнительной реализации передачи оптического сигнала.
Следует понимать, что различие между узлом 300A соединителя для использования в помещении и узлом 100A соединителя для использования вне помещения состоит в различных сценариях применения. Узел 300А соединителя для использования в помещении можно рассматривать как расположенный в относительно закрытом пространстве внутри корпуса 400 и может быть эффективно изолирован от внешней пыли, водяного пара и т.п. Узел 100А соединителя для использования вне помещения можно рассматривать как расположенный в относительно открытом пространстве за пределами корпуса 400, и он должен иметь лучшую адаптируемость к окружающей среде, чтобы адаптироваться к сложной и изменяющейся внешней среде.
В частности, корпус 400 включает в себя коробчатый корпус 401 и верхнюю крышку 402, закрывающую коробчатый корпус 401. Коробчатый корпус 401 снабжен множеством розеток 4011, которые расположены рядом. Розетки 4011 могут быть расположены в виде одного ряда или множества рядов. Узел 200А адаптера включает в себя множество волоконно-оптических адаптеров 200. Количество волоконно-оптических адаптеров 200 равно или меньше количества розеток 4011 (случай, в котором количество волоконно-оптических адаптеров 200 меньше количества розеток 4011, означает, что часть розеток может быть зарезервирована для других целей). В другом варианте осуществления розетки 4011 альтернативно могут быть расположены на верхней крышке 402. Каждый волоконно-оптический адаптер 200 может быть соответствующим образом расположен на месте соответствующей розетки 4011.
Узел 300A соединителя для использования в помещении включает в себя множество вилок 300 волоконно-оптического соединителя для использования в помещении, и все вилки 300 волоконно-оптического соединителя для использования в помещении размещены в корпусе 400. В дополнение к этому, количество вилок 300 волоконно-оптического соединителя для использования в помещении такое же, количество волоконно-оптических адаптеров 200 или может быть меньше, чем количество волоконно-оптических адаптеров 200, поэтому каждую вилку 300 волоконно-оптического соединителя для использования в помещении можно вставить в соответствующий волоконно-оптический адаптер 200.
Узел 100A соединителя для использования вне помещения включает в себя множество вилок 100 волоконно-оптического соединителя для использования вне помещения. Количество вилок 100 волоконно-оптического соединителя для использования вне помещения может совпадать с количеством адаптеров 200 для оптического волокна, или может быть меньше количества адаптеров 200 для оптического волокна. Каждая вилка 100 волоконно-оптического соединителя для использования вне помещения может быть вставлена в соответствующий волоконно-оптический адаптер 200 снаружи корпуса 400.
Можно понять, что отверстие, приспособленное для вилки 300 волоконно-оптического соединителя, используемой в помещении, и отверстие, приспособленное для вилки 100 волоконно-оптического соединителя для использования вне помещения, расположены на двух концах волоконно-оптического адаптера 200. Вилка 300 волоконно-оптического соединителя и вилка 100 волоконно-оптического соединителя вставляются в два отверстия волоконно-оптического адаптера 200. Таким образом, наконечники вилки 300 волоконно-оптического соединителя для использования в помещении и вилки 100 волоконно-оптического соединителя для использования вне помещения соединяются в волоконно-оптическом адаптере 200, то есть осуществляется соединение между двумя оптическими волокнами, которые необходимо подключить, и оптический сигнал, выводимый передающим оптическим волокном, может быть максимально связан с приемным оптическим волокном.
Таким образом, каждая вилка 300 волоконно-оптического соединителя для использования внутри помещений может быть вставляется в соответствующий волоконно-оптический адаптер 200 внутри корпуса 400, и каждая вилка 100 волоконно-оптического соединителя для использования вне помещения может быть вставляется в соответствующий волоконно-оптический адаптер 200 снаружи корпуса 400, поэтому каждая вилка 300 волоконно-оптического соединителя для использования в помещении может быть соединена с соответствующей вилкой 100 волоконно-оптического соединителя для использования вне помещения. В частности, одна вилка 300 волоконно-оптического соединителя для использования в помещении, один волоконно-оптический адаптер 200 и одна вилка 100 волоконно-оптического соединителя для использования вне помещения все вместе могут образовывать узел соединителя, для реализации передачи оптического сигнала по линии связи.
Устройство 1000 связи, представленное в настоящей заявке, включает в себя множество розеток 4011, расположенных в ряд или расположенных в множестве рядов. Волоконно-оптические адаптеры 200 расположены, соответственно, в позициях розеток 4011, поэтому в ограниченном пространстве можно разместить больше портов для подключения оптического волокна, и можно повысить плотность волоконно-оптических адаптеров, расположенных в устройстве связи.
Вилка волоконно-оптического соединителя, представленная в настоящей заявке, может быть вилкой 100 волоконно-оптического соединителя для использования вне помещения в устройстве 1000 связи в одной реализации, показанной на Фиг. 2, или может быть вилкой 300 волоконно-оптического соединителя для использования в помещении в устройстве 1000 связи в одной реализации, показанной на Фиг. 2. Далее подробно описаны конкретные варианты осуществления вилок волоконно-оптических соединителей трех различных конструкций и волоконно-оптических адаптеров, сопряженных с вилками волоконно-оптических соединителей, где вилки волоконно-оптических соединителей являются вилками волоконно-оптических соединителей для использования вне помещения.
Ниже приводится подробное описание вилки волоконно-оптического соединителя, предусмотренной в первом варианте осуществления.
На Фиг. 3 показано схематичное трехмерное представление узла вилки волоконно-оптического соединителя согласно возможной реализации. На Фиг. 4 показано схематичное трехмерное представление в разобранном виде вилки волоконно-оптического соединителя, показанной на Фиг. 3, при этом на Фиг. 4 добавлен пылезащитный колпачок. На Фиг. 5 и Фиг. 6 показаны виды в разрезе вилки волоконно-оптического соединителя в разных направлениях. Вилка 100 волоконно-оптического соединителя, представленная в настоящей заявке, включает в себя передающий элемент 10, корпус 20 в сборе, уплотнительную структуру 30, скользящий элемент 40, пылезащитный колпачок 50, первый упругий элемент 60 и второй упругий элемент 70. Корпус 20 в сборе надевается на периферийную часть передающего элемента 10 и используется для защиты передающего элемента 10, а также для вставки/извлечения вилки 100 волоконно-оптического соединителя. Пылезащитный колпачок 50 может быть частью корпуса 20 в сборе. В качестве альтернативы, вилка 100 волоконно-оптического соединителя может не включать в себя пылезащитный колпачок 50. Скользящий элемент 40 соединен с возможностью скольжения с внешней поверхностью корпуса 20 и используется для блокировки и разблокировки вилки 100 волоконно-оптического соединителя и волоконно-оптического адаптера 200. Уплотнительная структура 30 расположена на внешней поверхности корпуса 20 в сборе и расположена на переднем конце скользящего элемента 40 в осевом направлении. Уплотнительная структура 30 используется для герметичного соединения с внутренней поверхностью волоконно-оптического адаптера 200. Для вилки 100 волоконно-оптического соединителя передний конец является концом, вставленным в волоконно-оптический адаптер (конец можно рассматривать как конец, на котором расположен наконечник), и хвостовой конец или задний конец является концом, удаленным от наконечника.
Обращаясь к Фиг. 4, Фиг. 5 и Фиг. 6, передающий элемент 10 включает в себя оптическое волокно 11 и наконечник 12, и наконечник 12 соединен с передним концом оптического волокна 11. Корпус 20 в сборе включает в себя переднюю защитную втулку 21 и основной корпус 22. Передняя защитная втулка 21 находится в структуре в виде втулки и окружает наконечник 12, то есть передняя защитная втулка 21 надевается на периферийную часть втулки 12. Конечно, внутреннее пространство передней защитной втулки 21 может также вмещать в себя часть оптического волокна 11. Передняя защитная втулка 21 используется для защиты наконечника 12 и вставки в волоконно-оптический адаптер 200. Основной корпус 22 включает в себя установочный элемент 221, фиксатор 222, основной ствол 223, крепежное основание 224, хвостовую втулку 225 и термоусадочную трубку 226. Основной корпус 22 имеет в целом форму втулки и используется для размещения оптического волокна 11. Все компоненты в основном корпусе 22 также имеют форму втулки. В этой реализации шесть элементов собираются и соединяются для образования основного корпуса 22. Все элементы соединены закрепленным образом. Таким образом, некоторые элементы могут представлять собой объединенную структуру. Например, фиксатор 222 может быть выполнен за одно целое с передним торцом основного ствола 223; таким образом, фиксатор 222 можно рассматривать как часть основного ствола 223.
Обращаясь к Фиг. 4, Фиг. 5 и Фиг. 6, оптическое волокно 11 включает в себя сердцевину 111 оптического волокна, армированный слой 112, выполненный вокруг сердцевины 111 оптического волокна, и внешний слой 113, выполненный вокруг армированного слоя 112. Часть сердцевины 111 оптического волокна выходит из армированного слоя 112 и крепится к наконечнику 12. Часть армированного слоя 112 оптического волокна не покрыта наружным слоем. Часть внешнего слоя также расположена внутри корпуса 20 в сборе. Армированный слой 112 может быть выполнен из металлического или неметаллического материала. Металлический материал армированного слоя 112 может представлять собой стальную проволоку. Неметаллическим материалом армированного слоя 112 может быть FRP (композитный материал, армированный волокном). Армированный слой 112 в основном используется для повышения прочности на растяжение и балансировки оптического волокна. Внешняя поверхность армированного слоя 112 не такая гладкая, как внешняя поверхность внешнего слоя. Внешняя поверхность армированного слоя 112 может иметь вогнуто-выпуклую структуру, аналогичную зубчатой структуре. Цель открытия армированного слоя 112 (то есть не покрытого внешним слоем) состоит в том, чтобы прикрепить армированный слой 112 к корпусу 20 в сборе с использованием отверждающегося клея. Ниже приводится подробное описание структуры наконечника 12.
Обращаясь к Фиг. 7 и Фиг. 8, наконечник 12 включает в себя передний торец 121 и задний торец 122. Передняя секция 123, средняя секция 124 и задняя секция 125 последовательно соединены между передним торцом 121 и задним торцом 122, и как передняя часть 123, так и задняя секция 125 имеют центросимметричную структуру. Например, задняя секция 125 имеет форму цилиндра, и передняя секция 123 имеет форму, состоящую из цилиндра и усеченного конуса. Средняя секция 124 включает в себя первую ограничивающую структуру 1241 и первую стопорную структуру 1242. В осевом направлении первая ограничивающая структура 1241 расположена между первой стопорной структурой 1242 и передней секцией 123. Первая ограничивающая структура 1241 используется для сопряжения с корпусом 20 в сборе таким образом, чтобы ограничить наконечник 12 в окружном направлении, то есть предотвратить вращение наконечника 12 относительно корпуса 20 в сборе. Первая ограничивающая структура 1241 включает в себя первую плоскость 1243. Может быть одна, две или больше первых плоскостей 1243. Первая плоскость 1243 может иметь ограничивающую функцию в окружном направлении при условии, что расположение первой плоскости 1243 позволяет средней секции 124 быть невращающейся симметричной структурой. Как показано на Фиг. 7, имеются четыре первые плоскости 1243, разнесенные и симметрично распределенные по внешней поверхности средней секции 124. Первая стопорная структура 1242 является столбчатой структурой, соединенной с первой ограничивающей структурой 1241. Первая стопорная структура 1242 включает в себя первую ограничивающую торцевую поверхность 1244, и первая ограничивающая торцевая поверхность 1244 обращена к переднему торцу 121 наконечника 12. В данном варианте осуществления количество расположенных первых ограничивающих торцевых поверхностей 1244 также соответствует количеству расположенных первых плоскостей 1243, и первые ограничивающие торцевые поверхности 1244 вертикально соединены с первыми плоскостями 1243. В процессе изготовления наконечника 12 от внешней поверхности цилиндрического объекта отрезается определенная часть, и одновременно формируются первая плоскость 1243 и первая ограничивающая торцевая поверхность 1244. Внешняя поверхность задней секции 125 используется для размещения первого упругого элемента 60 (например, пружины). Поверхность, которая относится к первой стопорной структуре 1242 и которая обращена к задней секции 125, представляет собой позиционирующую торцевую поверхность 1245, и позиционирующая торцевая поверхность 1245 используется для упора в первый упругий элемент 60. Отверстие 1251 для крепления сердцевины оптического волокна расположено в задней секции 125. На заднем торце 122 отверстие 1251 для крепления сердцевины оптического волокна образует отверстие для вставки сердцевины 111 оптического волокна. Сквозное отверстие 126 выполнено между нижней частью отверстия 1251 для крепления сердцевины оптического волокна и передним торцом 121 наконечника 12. В отверстии 1251 для крепления сердцевины оптического волокна нижняя часть расположена непосредственно напротив отверстия.
Когда вилка 100 волоконно-оптического соединителя соединяется с другим вилкой волоконно-оптического соединителя в волоконно-оптическом адаптере 200, соединение реализуется с использованием переднего торца 121 наконечника 12. Таким образом, реализуется передача оптического сигнала между двумя вилками 100 волоконно-оптических соединителей. Таким образом, что касается вилки 100 волоконно-оптического соединителя, передний торец 121 наконечника 12 должен быть защищен корпусом 20 в сборе, чтобы гарантировать то, что передний торец 121 наконечника 12 не царапается, и гарантировать качество пропускания света.
В настоящей заявке передняя защитная втулка 21 на корпусе 20 в сборе может защищать передний торец наконечника 12. Ниже подробно описана передняя защитная втулка 21 (описана со ссылкой на Фиг. 9-16).
Обращаясь к Фиг. 9 и Фиг. 10, передняя защитная втулка 21 имеет форму втулки и включает в себя передний торец 211 и задний торец 212. На Фиг. 4-6, в вилке 100 волоконно-оптического соединителя передняя защитная втулка 21 расположена на крайнем переднем конце корпуса 20 в сборе, и задний торец 212 передней защитной втулки 21 используется для соединения с основным корпусом 22.
Обращаясь к Фиг. 11, в одной реализации передний торец 211 передней защитной втулки 21 находится заподлицо с передним торцом 121 наконечника 12. Обращаясь к Фиг. 12, в другой реализации передний торец 121 наконечника 12 окружен внутренней поверхностью передней защитной втулки 21, то есть передний конец 121 наконечника 12 втянут в переднюю защитную втулку 21. Передний торец 211 передней защитной втулки 21 расположен с выступом на переднем торце 121 наконечника 12 в осевом направлении. В осевом направлении расстояние между передним торцом 121 наконечника 12 и передним торцом 211 передней защитной втулки 21 равно L. В этой реализации можно также понимать следующим образом: вертикальная проекция переднего торца 121 наконечника 12 на передней защитной втулке 21 расположена на переднем торце 211 передней защитной втулки 21 или на внутренней поверхности передней защитной втулки 21, поэтому передний торец наконечника 12 защищен. В реализациях, показанных на Фиг. 11 и Фиг. 12, передний торец 211 передней защитной втулки 21 может защищать передний торец наконечника 12. В частности, передняя защитная втулка 21 может защищать передний торец наконечника в процессе изготовления, транспортировки и вставки в и извлечения из волоконно-оптического адаптера. Во время последующего соединения с наконечником вилки соединителя на противоположном конце обеспечивается стабильная и надежная передача оптического сигнала между двумя вилками соединителя.
Обращаясь к Фиг. 11 и Фиг. 12, паз 217 выполнен между внутренней поверхностью передней защитной втулки 21 и наконечником 12, и паз 217 образует отверстие между передним торцом 211 передней защитной втулки 21 и передним торцом 121 наконечника 12. Паз 217 используется для сопряжения со втулкой наконечника волоконно-оптического адаптера. В частности, когда вилка волоконно-оптического соединителя вставляется в волоконно-оптический адаптер, наконечник вставляется во втулку наконечника, втулка наконечника вставляется в паз 217, и один конец втулки наконечника должен продолжаться в пазу 217, то есть торец втулки наконечника расположен в пазу 217 и расположен напротив дна паза 217, где дно паза 217 является концом, противоположным отверстию паза 217.
В реализациях, показанных на Фиг. 9-13, два паза G1 и G2, расположенные напротив друг друга, расположены вблизи переднего торца 211 передней защитной втулки 21, и передний торец 211 передней защитной втулки 21 образован между двумя пазами G1 и G2. То есть передний торец 211 включает в себя первую торцевую поверхность 211А и вторую торцевую поверхность 211В, и первая торцевая поверхность 211А и вторая торцевая поверхность 211В расположены симметрично с двух сторон относительно центральной оси передней защитной втулки 21. В частности, если первая торцевая поверхность 211A и вторая торцевая поверхность 211B соединены с образованием полного круглого кольца, как первая торцевая поверхность 211A, так и вторая торцевая поверхность 211B меньше или равны четверти круглого кольца, поэтому позиции двух пазов G1 и G2 могут вмещать в себя часть боковой стенки, на которой расположен передний торец передней защитной втулки другой вилки волоконно-оптического соединителя. Можно понять, что, так как передний торец передней защитной втулки 21 выступает из переднего торца 211 наконечника 12, когда пара вилок 100 волоконно-оптических соединителей одного и того же оптического волокна вставляется в один и тот же волоконно-оптический адаптер 200, два наконечника 12 должны быть соединены, и требуется посадка с натягом между двумя передними защитными втулками 21. Два паза G1 и G2 предназначены для решения проблемы посадки с натягом при соединении. Позиции двух пазов G1 и G2 могут вмещать в себя часть области, в которой расположен передний торец 211 другой передней защитной втулки 21.
В частности, два паза G1 и G2 могут быть расположены симметрично с двух сторон относительно центральной оси передней защитной втулки 21. Благодаря форме симметричного расположения усилие, воспринимаемое внешней втулкой во время вставки, может быть относительно равномерным и сбалансированным, общая прочность внешней корпусной втулки является высокой, и вероятность отказа соединения, вызванного дисбалансом сил, может быть сведена к минимуму.
В другом варианте осуществления, который описан со ссылкой на Фиг. 14, на передней защитной втулке 21 паз G расположена на одном конце рядом с передним торцом передней защитной втулки 21, поэтому передний торец 211 передней защитной втулки 21 образует незамкнутую непрерывно продолжающуюся поверхность. Например, передний торец 211 может иметь С-образную, дугообразную или полукруглую форму.
Расположение выемки G позволяет переднему концу вилки волоконно-оптического соединителя иметь вогнуто-выпуклую форму, пригодную для вставки. Таким образом, когда вилка волоконно-оптического соединителя вставляется в волоконно-оптический адаптер, вилка волоконно-оптического соединителя может лучше адаптироваться к внутреннему пространству волоконно-оптического адаптера по сравнению с передним концом вилки волоконно-оптического соединителя плоской формы. Таким образом, устраняется неплотное соединение, вызванное ограничением внутреннего пространства волоконно-оптического адаптера, повышается стабильность и надежность вставки, повышается практичность и расширяется диапазон применения.
В настоящей заявке паз G, расположенный на переднем конце передней защитной втулки, также удобен для наблюдения. Рабочий может видеть по меньшей мере передний торец наконечника при осмотре внешней поверхности внешней корпусной втулки, расположенной с пазом G. Исходя из этого, при подсоединении вилки волоконно-оптического соединителя к волоконно-оптическому адаптеру рабочий может видеть положение наконечника. Это облегчает введение, повышает вероятность успешной вставки, предотвращает множество соударений наконечника из-за неправильной вставки и предотвращает повреждение наконечника.
В другой реализации, со ссылкой на Фиг. 15, передний торец 211 передней защитной втулки 21 представляет собой замкнутую кольцевую структуру, то есть передний торец 211 не имеет структуры паза. Передний торец 211 может иметь форму круглого кольца или может иметь другую форму. Например, контур внутреннего края переднего торца 211 может иметь круглую форму, и контур внешней края переднего торца 211 может иметь квадратную форму. Внешний контур квадратной формы облегчает согласование с внутренним пространством волоконно-оптического адаптера такой же формы.
В реализациях, показанных на Фиг. 9-16, первая направляющая структура 213 расположена на внешней поверхности передней защитной втулки 21, и первая направляющая структура 213 продолжается в осевом направлении. Первая направляющая структура 213 может продолжаться от переднего торца 211 передней защитной втулки 21 до заднего торца 212 передней защитной втулки 21 или может продолжаться от переднего торца 211 передней защитной втулки 21 до средней позиции передней защитной втулкой 21. Средняя позиция является позицией между передним торцом 211 и задним торцом 212, и не просто представляет собой центральное положение между передним торцом 211 и задним торцом 212, а может быть позицией, близкой к переднему торцу 211, или может находиться рядом с задним торцом 212.
Обращаясь к Фиг. 9, Фиг. 10, Фиг. 14 и Фиг. 15, в одной реализации в радиальном направлении первая направляющая структура 213 представляет собой структуру с канавкой, углубленную на внешней поверхности передней защитной втулки 21, то есть первая направляющая структура 213 не проходит во внутреннюю поверхность передней защитной втулки 21.
Обращаясь к Фиг. 16, в одной реализации первая направляющая структура 213 проникает через внутреннюю поверхность и внешнюю поверхность передней защитной втулки 21 (то есть вырез или выполненная полой структура, выполненная на передней защитной втулке 21).
В осевом направлении первая направляющая структура 213 может быть соответствующим образом расположена в позиции паза. Первая направляющая структура и паз могут обеспечивать функцию заметного напоминания о выравнивании в процессе вставки вилки волоконно-оптического соединителя. Как показано на Фиг. 15, в качестве примера используется первая направляющая структура 213 в виде канавки, и отверстие на стороне, которая относится к первой направляющей структуры 213 и которая обращена к переднему торцу 211 передней защитной втулки 21, взаимодействует с пазом G. Для плотного прилегания направляющей шпонки на волоконно-оптическом адаптере, в отверстии, которая относится к первой направляющей структуры 213 и которая обращена к заднему торцу 211, может быть сформирована фаска, поэтому передний конец первой направляющей структуры 213 образует расширяющуюся форму. Таким образом, расположение фаски может обеспечить определенное поле отказоустойчивости для первой направляющей структуры 213. Даже если направляющая шпонка на волоконно-оптическом адаптере не выровнена с первой направляющей структурой 213, волоконно-оптический адаптер может скользить в первую направляющую структуру 213 под управлением фаски. Когда рабочий вставляет вилку волоконно-оптического соединителя в волоконно-оптический адаптер, эффективность вставки и процент успешных вставок может увеличиться. В качестве альтернативы, фаска может быть круглым углом. Круглый угол не имеет края, и поверхность является более гладкой. Таким образом, можно эффективно предотвратить истирание соответствующей структуры на волоконно-оптическом адаптере и обеспечить высокую безопасность.
В другой реализации первая направляющая структура 213 альтернативно может быть структурой, расположенной с выступом на внешней поверхности передней защитной втулки 21.
Возможно наличие одной, двух или более первых направляющих структур 213. Две или более первых направляющих структур 213 могут быть равномерно расположены на внешней поверхности передней защитной втулки 21 с промежутками в окружном направлении.
Первая направляющая структура 213 расположена таким образом, чтобы в процессе, в котором вилка волоконно-оптического соединителя соединяется с волоконно-оптическим адаптером, передняя защитная втулка 21 могла выполнять функцию заметного напоминания и направления. Это облегчает выравнивание между вилкой волоконно-оптического соединителя и волоконно-оптическим адаптером, повышает точность соединения, предотвращает повреждение или выход из строя компонента наконечника вилки волоконно-оптического соединителя из-за множества соударений, вызванных неправильной вставкой вилки волоконно-оптического соединителя, и значительно продлевает срок службы вилки волоконно-оптического соединителя.
Внешняя поверхность передней защитной втулки 21 является цилиндрической. Так как внешняя поверхность должна соответствовать волоконно-оптическому адаптеру и имеет направляющую структуру, внешняя поверхность передней защитной втулки 21 также является внешней поверхностью вилки 100 волоконно-оптического соединителя. Внешняя поверхность передней защитной втулки 21 непосредственно открыта снаружи вилки 100 волоконно-оптического соединителя в процессе вставки в волоконно-оптический адаптер 200, и никакой другой элемент не закрывает переднюю защитную втулку 21. Когда вилка 100 волоконно-оптического соединителя не используется, передняя защитная втулка 21 может быть снаружи закрыта пылезащитным колпачком 50. По периферии наконечника 12 вилки 100 волоконно-оптического соединителя имеется только одна передняя защитная втулка 21, конструкция является простой, и размер также может быть уменьшен. Таким образом, пылезащитный колпачок 50 может быть выполнен в виде небольшой по размеру конструкции.
В одной реализации, согласно Фиг. 10, Фиг. 11 и Фиг. 12, вторая ограничивающая структура 214 расположена на внутренней поверхности передней защитной втулки 21 и используется для сопряжения с первой ограничивающей структурой 1241 на наконечнике 12 для предотвращения вращения наконечника 12 в передней защитной втулке 21. В частности, передняя защитная втулка 21 включает в себя центральную ось С1, соединенную между центральной позицией переднего торца 211 и центральной позицией заднего торцу 212. Вторая ограничивающая структура 214 расположена с выступом на внутренней поверхности передней защитной втулки 21. Вторая ограничивающая структура 214 включает в себя вторую плоскость 2142. Вторая плоскость 2142 обращена к центральной оси С1. Можно также понять, что вторая плоскость 2142 представляет собой поверхность на стороне, которая относится ко второй ограничивающей структуре 214 и которая удалена от внешней поверхности передней защитной втулки 21. Вторая плоскость 2142 используется для сопряжения с первой плоскостью 1243 первой ограничивающей структуры 1241 наконечника 12. Первая плоскость 1243 и вторая плоскость 2142 не ограничены элементами теоретической плоскости в настоящей заявке. Можно понять, что первая плоскость альтернативно может быть приближенно плоской, например дугообразной поверхностью, приближенной к плоскости. В качестве альтернативы, вогнуто-выпуклая структура может быть расположена на первой плоскости и второй плоскости.
В одной реализации, согласно Фиг. 13, отверстие 215 расположено на внутренней поверхности передней защитной втулки 21, и отверстие 215 представляет собой структуру типа отверстия, которая продолжается через внутреннюю поверхность и внешнюю поверхность передней защитной втулки 21. В качестве альтернативы, отверстие 215 может быть структурой с зажимной канавкой, углубленной на внутренней поверхности передней защитной втулки 21. Отверстие 215 используется для крепления установочного элемента 221 основного корпуса 22. Возможно наличие одного, двух или более отверстий 215. В варианте осуществления, показанном на Фиг. 11, имеются два отверстия 215, расположенные напротив друг друга с двух сторон относительно центральной оси передней защитной втулки 21.
В реализациях, показанных на Фиг. 9-16, первый вырез 216 расположен на заднем торце 212 передней защитной втулки 21, и первый вырез 216 формирует отверстия в каждом из: заднего торца 212, внутренней поверхности и внешней поверхности передней защитной втулки 21. Первый вырез 216 используется для сопряжения с выступом 2232 на основном корпусе 22, чтобы расположить переднюю защитную втулку 21 и основной корпус 22 по окружности и предотвратить вращение передней защитной втулки 21 относительно основного корпуса 22.
Передний торец 211 передней защитной втулки 21, предусмотренной в настоящей заявке, может защищать передний торец 121 наконечника 12. Внутренняя поверхность передней защитной втулки 21 может быть соединена с наконечником 12 способом, ограничивающим позицию. Внешняя поверхность передней защитной втулки 21 используется для сопряжения с внутренней поверхностью волоконно-оптического адаптера 200 и имеет первую направляющую структуру 213. Задний торец передней защитной втулки 21 соединен с основным корпусом 22. Множество функций может быть реализовано с использованием одной передней защитной втулки 21. В дополнение к этому, внешняя поверхность передней защитной втулки 21 открыта, то есть внешняя поверхность передней защитной втулки 21 является внешней поверхностью вилки 100 волоконно-оптического соединителя. Чтобы быть точным, по периферии наконечника 12 имеется только один конструктивный элемент: передняя защитная втулка 21. В настоящей заявке защитная структура (передний торец 211 передней защитной втулки 21), выполненная по периферии наконечника 12, и посадочная структура для вставки/извлечения (паз, образованный между внутренней поверхностью передней защитной втулки 21 и наконечником 12, и посадка между внешней поверхностью передней защитной втулки 21 и внутренней поверхностью волоконно-оптического адаптера). Это позволяет не только уменьшить количество деталей и упростить конструкцию вилки 100 волоконно-оптического соединителя, а также обеспечить уменьшение радиальных размеров ее конструкции.
Задний конец передней защитной втулки 21 имеет полностью закрытую цилиндрическую архитектуру, то есть задний конец передней защитной втулки 21 имеет замкнутую по окружности архитектуру. Даже если первый вырез 216 удален, после сборки передней защитной втулки 21 и основного ствола 223, первый вырез 216 также вмещает в себя соответствующий выступ на основном стволе 223. Таким образом, на вилке волоконно-оптического соединителя, полученной путем сборки, задний конец передней защитной втулки 21 по-прежнему имеет полностью закрытую и закрытую по окружности архитектуру. С одной стороны, это позволяет увеличить конструктивную прочность передней защитной втулки, и, с другой стороны, также позволяет повысить прочность соединения между передней защитной втулкой и основным стволом. В дополнение к этому, передняя защитная втулка используется в качестве внешней части вилки волоконно-оптического соединителя, и полностью закрытая и периферийная структура позволяет обеспечить внешнюю целостность и улучшить восприятие пользователя.
Установочный элемент 221 и передняя защитная втулка 21 расположены друг на друге в радиальном направлении, и передняя защитная втулка 21 надевается на периферийную часть установочного элемента 221. Далее подробно описан установочный элемент 221.
Обращаясь к Фиг. 17 и Фиг. 18, установочный элемент 221 включает в себя тело 2211 установочного элемента, упругий зажимной крючок 2212 и вторую стопорную структуру 2213. Упругий зажимной крючок 2212 и второй стопорный элемент 2213 выполнены на переднем конце тела 2211 установочного элемента. Задний торец 2214 тела 2211 установочного элемента используется для соприкосновения с основным стволом 223.
Обращаясь к Фиг. 19, тело 2211 установочного элемента имеет форму втулки и включает в себя центральную ось C2, вторая стопорная структура 2213 выступает из внутренней поверхности тела 2211 установочного элемента, и вторая стопорная структура 2213 включает в себя вторую ограничивающую торцевую поверхность 2215 и контактную торцевую поверхность 2216. Вторая ограничивающая торцевая поверхность 2215 обращена к заднему концу тела 2211 установочного элемента, и контактная торцевая поверхность 2216 обращена к центральной оси C2 тела 2211 установочного элемента. В частности, вторая ограничивающая торцевая поверхность 2215 вертикально соединена с контактной торцевой поверхностью 2216, и вторая ограничивающая торцевая поверхность 2215 и контактная торцевая поверхность 2216 являются плоскими. Вторая ограничивающая торцевая поверхность 2215 используется для сопряжения с первой ограничивающей торцевой поверхностью 1244 первой стопорной структуры 1242 наконечника 12, и контактная торцевая поверхность 2216 используется для сопряжения с первой плоскостью 1243 первой ограничивающей структуры 1241 наконечника 12.
Обращаясь к Фиг. 19, имеются две вторые стопорные структуры 2213, расположенные напротив друг друга с двух сторон относительно центральной оси C2 тела установочного элемента. Осевой размер одной второй стопорной структуры 2213 меньше осевого размера другой второй стопорной структуры 2213. Сторона, которая относится ко второй стопорной структуре 2213 и которая удалена от тела 2211 установочного элемента, образует паз 2217 установочного элемента. Позиция паза 2217 установочного элемента обращено непосредственно к части контактной торцевой поверхности 2216 другой второй стопорной структуры 2213. Паз 2217 установочного элемента используется для размещения второй ограничивающей структуры 214 передней защитной втулки 21.
Обращаясь к Фиг. 20, вторая плоскость 2142 второй ограничивающей структуры 214 передней защитной втулки 21 находится в одной плоскости с контактной торцевой поверхностью 2216 одной второй стопорной структуры 2213 и расположена напротив контактной торцевой поверхности 2216 другой второй стопорной структуры 2213.
Обращаясь к Фиг. 21, внешняя поверхность тела 2211 установочного элемента соприкасается с внутренней поверхностью передней защитной втулки 21, и внутренняя поверхность тела 2211 установочного элемента соприкасается с наконечником 12. Упругий зажимной крючок 2212 используется для сопряжения с отверстием 215 на передней защитной втулке 21, чтобы прикрепить установочный элемент 221 к передней защитной втулке 21. Как показано на Фиг. 17, имеются два упругих зажимных крючка 2212, симметрично распределенных с двух сторон центральной оси C2 тела 2211 установочного элемента. Две вторые стопорные структуры 2213 расположены по бокам двух упругих зажимных крючков 2212, и две вторые стопорные структуры 2213 распределены между двумя упругими зажимными крючками 2212 в окружном направлении. В другом варианте осуществления альтернативно может быть только один упругий зажимной крючок 2212 или может быть три или более упругих зажимных крючков 2212. В настоящей заявке это конкретно не ограничено.
Способ крепления между установочным элементом 221 и передней защитной втулкой 21 не ограничивается креплением за счет посадки между упругим зажимным крючком 2212 и отверстием 215. В другой реализации может использоваться другой способ крепления. Например, в качестве альтернативы, установочный элемент 221 может не располагаться с упругим зажимным крючком 2212. Установочный элемент 221 и передняя защитная втулка 21 могут быть закреплены с использованием винта, и винт проходит через переднюю защитную втулку 21 и крепится в установочном элементе 221. В качестве альтернативы, установочный элемент 221 и передняя защитная втулка 21 крепятся с помощью клея. В качестве альтернативы, зажимной крючок расположен на передней защитной втулке 21, зажимная канавка или отверстие расположены на установочном элементе 221, и установочный элемент 221 и передняя защитная втулка 21 крепятся за счет посадки между зажимным крючком и зажимной канавкой или дыркой.
Обращаясь к Фиг. 17, Фиг. 18 и Фиг. 19, второй вырез 2218 расположен на заднем торце 2214 тела 2211 установочного элемента. Второй вырез 2218 формирует отверстия в каждом из: заднего торца 2214, внутренней поверхности и внешней поверхности тела 2211 установочного элемента. Второй вырез 2218 используется для позиционирования установочного элемента 221 и основного ствола 223, позиционирования установочного элемента 221 и основного ствола 223 по окружности и предотвращения вращения установочного элемента 221 относительно основного ствола 223. Обращаясь к Фиг. 20 и Фиг. 21, после установки передней защитной втулки 21 на установочный элемент 221 задний торец 2214 тела 2211 установочного элемента и задний торец 212 передней защитной втулки 21 лежат в одной плоскости и вместе образуют соединительную торцевую поверхность S1. Соединительная торцевая поверхность S1 соприкасается с торцом основного ствола 223. В настоящей заявке используется конструктивное исполнение, в котором соединительная торцевая поверхность S1 соприкасается с торцом основного ствола 223, поэтому соединение между передней защитной втулкой 21 и основным стволом 223 занимают только пространство торца основного ствола 223 и не продолжаются до внешней поверхности основного ствола 223. В дополнение к этому, в настоящей заявке внешняя поверхность передней защитной втулки 21, и внешняя поверхность основного ствола 223 может быть компланарной или может иметь плавный переход. Например, внешняя поверхность передней защитной втулки 21 представляет собой цилиндрическую поверхность, и внешняя поверхность основного ствола 223 также представляет собой цилиндрическую поверхность. Когда передняя защитная втулка 21 соприкасается с торцом основного ствола 223, внешние поверхности двух цилиндров с одинаковым радиальным размером соприкасаются, образуя полную цилиндрическую внешнюю поверхность. Соединительная торцевая поверхность S1 и торец основного ствола 223 обеспечивают позиционирование в окружном направлении с использованием структуры посадки «вырез-выступ». В частности, первый вырез 216 и второй вырез 2218 непосредственно обращены друг к другу в радиальном направлении и используются для позиционирования передней защитной втулки 21 и установочного элемента 221 на основном стволе 223.
Герметичное соединение может быть выполнено на стыке между соединительной торцевой поверхностью S1 и основным стволом 223. Функция уплотнительного соединения состоит в том, чтобы изолировать внутреннее пространство основного ствола 223 от внешнего пространства герметичным образом. Таким образом, сердцевина оптического волокна и наконечник могут быть защищены от эрозии, вызванной пылью, влагой и т.п., продлевается срок службы вилки волоконно-оптического соединителя, и повышаются эффективность и качество передачи света.
Обращаясь к Фиг. 18-19, фиксатор 222 также имеет форму втулки, наружная резьба 2221 расположена по периферии переднего конца фиксатора 222, и передний конец фиксатора 222 продолжается в установочный элемент 221 и крепится к резьбовой части 2219 на установочном элементе 221. Задний конец фиксатора 222 продолжается в основной ствол 223 и крепится к внутренней поверхности основного ствола 223.
В частности, со ссылкой на Фиг. 22А, упругая защелкивающаяся лапка 2222 выполнена на заднем конце фиксатора 222. Упругая защелкивающаяся лапка 2222 продолжается в осевом направлении. Защелкивающаяся часть 2223 расположена с выступом на внешней поверхности упругой защелкивающейся лапки 2222. Защелкивающаяся часть 2223 используется для сопряжения с ограничивающей ступенькой на внутренней поверхности основного ствола 223 с тем, чтобы прикрепить фиксатор 222 к основному стволу 223. На заднем конце фиксатора 222 расположены три упругих защелкивающихся лапки 2222, и между соседними упругими защелкивающимися лапками 2222 образован зазор 2224. Зазор 2224 образован для того, чтобы упругие защелкивающиеся лапки 2222 могли упруго качаться в радиальном направлении. В другом варианте осуществления возможно наличие одной, двух или более упругих защелкивающихся лапок 2222. В настоящей заявке это не ограничивается.
Обращаясь к Фиг. 20, Фиг. 21 и Фиг. 22А, в возможном варианте осуществления одна часть фиксатора 222 расположена внутри основного ствола 223, а другая часть расположена внутри установочного элемента 221. То есть фиксатор 222 находится в полностью закрытом состоянии. Основный ствол 223 и установочный элемент 221 соединены по периферии фиксатора 222.
В другой реализации фиксатор 222 альтернативно может быть частично виден как наружная торцевая поверхность вилки волоконно-оптического соединителя. Обращаясь к Фиг. 22В, в данном варианте фиксатор 222 имеет форму втулки. Фиксатор 222 включает в себя передний конец 2225, задний конец 2226 и среднюю часть 2227, присоединенную между передним концом 2225 и задним концом 2226. Передний конец 2225 фиксатора 222 продолжается во внутреннюю сторону установочного элемента 221 и крепится к установочному элементу 221. Задний конец 2226 фиксатора 222 продолжается во внутреннюю сторону основного ствола 223 и крепится к основному стволу 223. Средняя часть 2227 расположена между передним концом основного ствола 223 и задним концом установочного элемента 221. Можно также понять, что средняя часть 2227 расположена между передним концом основного ствола 223 и задним концом передней защитной втулки 21. Внешняя поверхность средней части 2227 образует наружную торцевую поверхность вилки волоконно-оптического соединителя.
В частности, передний конец 2225 съемно соединен с фиксатором 221 таким образом, чтобы он входил между защелкой и отверстием. Защелка расположена по периферии переднего конца 2225. Отверстие, которое продолжается через внутреннюю поверхность и внешнюю поверхность, расположено на установочном элементе 221. Защелка переднего конца 2225 размещена в отверстии установочного элемента 221. Задний конец 2226 также разъемно соединен с основным стволом 223 способом посадки между защелкой и отверстием. Защелка расположена по периферии заднего конца 2226. Отверстие, которое продолжается через внутреннюю поверхность и внешнюю поверхность, расположено на основном стволе 223. Защелка заднего конца 2226 размещена в отверстии основного ствола 223.
В этой реализации уплотнительная канавка расположена по периферии средней части 2227 и используется для размещения уплотнительной структуры 30. Конечно, в архитектуре в этой реализации уплотнительная канавка не может быть расположена по периферии средней части 2227, но уплотнительная канавка расположена на внешней поверхности основного ствола 223. Когда вилка волоконно-оптического соединителя вставляется в волоконно-оптический адаптер, средняя часть 2227 располагается внутри волоконно-оптического адаптера, и передний конец основного ствола 223 также входит в волоконно-оптический адаптер.
Уплотнительная структура также может быть расположена между задним концом 2226 фиксатора 222 и основным стволом 223.
Можно понять, что направляющая структура также может быть расположена по периферии средней части 2227. Направляющая структура взаимодействует с первой направляющей структурой 213 на передней защитной втулке 21 или непрерывно продолжается в ней. Направляющая структура и первая направляющая структура 213 на передней защитной втулке 21 совмещаются с направляющей шпонкой на волоконно-оптическом адаптере. В другом варианте осуществления направляющая структура расположена по каждой периферии средней части 2227 и периферии основного ствола 223. Две направляющие структуры расположены на продолжении первой направляющей структуры 213 на передней защитной втулке 21. Две направляющие структуры и первая направляющая структура 213 на передней защитной втулке 21 совместно образуют направляющую структуру вилки волоконно-оптического соединителя.
Обращаясь к Фиг. 23, Фиг. 24 и Фиг. 25, основным элементом основного корпуса 22 является основный ствол 223, и основные элементы основного ствола 223 сосредоточены на переднем торце 2231 и внешней поверхности основного ствола 223. Передний торец 2231 основного ствола ствол 223 используется для соприкосновения с передней защитной втулкой 21 и установочным элементом 221. Выступ 2232 расположен с выступом на переднем торце 2231 основного ствола 223. Выступ 2232 продолжается в радиальном направлении от внутреннего края переднего торца 2231 основного ствола 223 к внешнему краю переднего торца 2231 основного ствола 223.
В одной реализации вторая направляющая структура 2233, уплотнительная канавка 2234, блокирующая часть 2235, первая скользящая направляющая структура 2236 и крепежная часть 2237 последовательно расположены на внешней поверхности основного ствола 223 вдоль осевой направлении от переднего конца к заднему концу основного ствола 223.
В позиции переднего торца 2231 основного ствола 223 вторая направляющая структура 2233 и первая направляющая структура 213 (как показано на Фиг. 3) на передней защитной втулке 21 соединены и совместно подходят направляющей шпонке на волоконно-оптическом адаптере 200. Это позволяет предотвратить вращение передней защитной втулки 21 и основного ствола 223 относительно друг друга.
В одной реализации, в радиальном направлении, вторая направляющая структура 2233 может представлять собой структуру с канавкой, углубленную на внешней поверхности основного ствола 223, или вторая направляющая структура 2233 продолжается через внутреннюю поверхность и внешнюю поверхность основного ствола 223 (то есть вторую направляющую структуру 2233 можно рассматривать как структуру с вырезом, расположенную на основном стволе 223). В качестве альтернативы, в другой реализации вторая направляющая структура 2233 может представлять собой выпуклую структуру, расположенную на внешней поверхности основного ствола 223. Размер по окружности и радиальный размер второй направляющей структуры 2233 могут быть такими же, как размер по окружности и радиальный размер первой направляющей структуры 213, соответственно. Поскольку как и внешняя поверхность основного ствола, так и внешняя поверхность передней защитной втулки являются наружными торцевыми поверхностями вилки волоконно-оптического соединителя, размер по окружности и радиальный размер второй направляющей структуры 2233 должны быть такими же, как размер по окружности и радиальный размер первой направляющей структуры 213, соответственно, поэтому первая направляющая структура 213 и вторая направляющая структура 2233 могут визуально образовывать объединенную структуру. Таким образом, также возникает эффект полной внешней согласованности между передней защитной втулкой и основным стволом. Это не только облегчает миниатюризацию конструкции, но и улучшает восприятие пользователя.
Уплотнительная канавка 2234 представляет собой дугообразную структуру канавки, которая окружает внешнюю поверхность основного ствола 223. Блокирующая часть 2235 расположена на стороне, которая относится к уплотнительной канавке 2234 и которая удалена от второй направляющей структуры 2233. Ниже подробно описана блокирующая часть 2235.
Для упрощения описания, как определено в настоящей заявке, внешняя поверхность основного ствола 223 представляет собой поверхность, которая несет на себе блокирующую часть 2235, вместо внешней поверхности блокирующей части 2235.
Обращаясь к Фиг. 23, блокирующая часть 2235 может представлять собой выпуклую структуру, выполненную за одно целое с внешней поверхностью основного ствола 223. В качестве альтернативы, блокирующая часть 2235 и основной ствол 223 могут представлять собой разъемную структуру. Например, блокирующая часть 2235 надевается и крепится к внешней поверхности основного ствола 223 или соединяется с внешней поверхностью основного ствола 223 другим способом крепления (например, с использованием клея). Блокирующая часть 2235 может представлять собой замкнутую кольцевую структуру, окружающую внешнюю поверхность основного ствола 223, и может рассматриваться как цилиндрическая выпуклая структура, непрерывно продолжающаяся вдоль окружного направления, и представляет собой центросимметричную вращающуюся структуру. Блокирующая часть 2235 альтернативно может быть незамкнутой кольцевой структурой. Например, одна, две или более блокирующих частей 2235 расположены на внешней поверхности основного ствола 223. В варианте осуществления, в котором имеются две блокирующие части 2235, блокирующие части 2235 могут быть распределены симметрично с двух сторон основного ствола 223. В варианте осуществления, в котором имеется множество блокирующих частей 2235, блокирующие части 2235 могут быть распределены по одной и той же окружности через равные промежутки. Внешняя поверхность блокирующей части 2235 может быть гладкой, например, цилиндрической, дугообразной или плоской, и внешняя поверхность блокирующей части 2235 может иметь резьбу или другую микроструктуру, используемую для увеличения силы контактного трения, например, вытравленную структуру.
Обращаясь к Фиг. 23 и Фиг. 24, первая скользящая направляющая структура 2236 расположена на стороне, которая относится к блокирующей части 2235 и которая удалена от уплотняющей канавки 2234. Первая скользящая направляющая структура 2236 используется для установки скользящего элемента 40 и обеспечивает ограничение установочной позиции и направленность для скользящего элемента 40, соединенного со скольжением с основным стволом 223. Первая скользящая направляющая структура 2236 может представлять собой структуру с направляющим рельсом, расположенную с выступом на внешней поверхности основного ствола 223, или может представлять собой структуру с направляющей канавкой, углубленной на внешней поверхности основного ствола 223. Первая скользящая направляющая структура 2236 включает в себя первую направляющую часть 22361 и первую ограничивающую часть 22362. Первая ограничивающая часть 22362 соединена с блокирующей частью 2235. Первая направляющая часть 22361 соединена со стороной, , которая относится к первой ограничивающей части 22362 и которая находится в стороне от блокирующей части 2235. В окружном направлении размер первой направляющей части 22361 меньше размера первой ограничивающей части 22362. Первая ограничивающая ступенька 22363 выполнена между первой ограничивающей частью 22362 и внешней поверхностью основного ствола 223. Первая ограничивающая ступенька 22363 используется для ограничения граничной позиции для скольжения скользящего элемента 40 по направлению к переднему концу основного ствола 223. Когда скользящий элемент 40 скользит к первой ограничивающей ступеньке 22363 и упирается в первую ограничивающую ступеньку 22363, скользящий элемент 40 больше не может скользить по направлению к переднему концу основного ствола 223. Первая направляющая часть 22361 соединена со средней частью первой ограничивающей части 22362. Первая ограничивающая часть 22362 и первая направляющая часть 22361 образуют Т-образную структуру, и первая направляющая часть 22361 представляет собой полосообразную структуру, продолжающую в осевом направлении. В этой реализации имеются две первые скользящие направляющие структуры 2236, симметрично распределенные по внешним поверхностям двух противоположных сторон основного ствола 223.
Крепежная часть 2237 расположена на стороне, которая относится к первой скользящей направляющей структуре 2236 и которая удалена от блокирующей части 2235. Крепежная часть 2237 используется для соединения с крепежным основанием 224. В этой реализации крепежная часть 2237 представляет собой резьбовую структуру и используется для соединения с крепежным основанием 224 с использованием резьбового соединения. В качестве альтернативы, крепежная часть 2237 может представлять собой другую зажимную структуру. Например, основной ствол 223 и крепежное основание 224 крепятся способом посадки между защелкой и зажимной канавкой.
Обращаясь к Фиг. 23, Фиг. 24 и Фиг. 25, основной ствол 223, представленный в настоящей заявке, включает в себя передний конец А и хвостовой конец В. Передний торец 2231 является торцом переднего конца А. Вторая направляющая структура 2233 и уплотнительная канавка 2234 расположены на внешней поверхности переднего конца А. Внутренняя поверхность переднего конца А используется для соединения с фиксатором 222. Ограничивающая ступенька 2239 расположена на внутренней поверхности основного ствола 223. Ограничивающая ступенька 2239 обращена к задней части В, и ограничивающая ступенька 2239 используется для сопряжения с защелкивающейся частью 2223 упругой защелкивающейся лапки 2222 на фиксаторе 222. Хвостовой конец В используется для крепления к оптическому волокну. Сквозное отверстие 2238 расположено на хвостовом конце В. Сквозное отверстие 2238 продолжается через внешнюю и внутреннюю поверхности основного ствола 223.
В этой реализации элементы, собранные на внешней поверхности основного ствола 223, включают в себя уплотнительную структуру 30, скользящий элемент 40, второй упругий элемент 70, крепежное основание 224, термоусадочную трубку 226 и хвостовую втулку 225. Уплотнительная структура 30 представляет собой упругое уплотнительное кольцо, вставленное в уплотнительную канавку 2234 и частично выступающее снаружи уплотнительной канавки 2234. Часть, выступающая снаружи уплотнительной канавки 2234, используется для герметичного соединения с волоконно-оптический адаптером или пылезащитным колпачком.
Обращаясь к Фиг. 26 и Фиг. 27, в одной реализации скользящий элемент 40 имеет форму втулки, и скользящий элемент 40 имеет передний торец 41 и задний торец 43. Внутренняя поверхность скользящего элемента 40 включает в себя посадочную поверхность 42. Посадочная поверхность 42 примыкает к заднему торцу 41 скользящего элемента 40 и обращена к внутреннему пространству скользящего элемента 40 (его также можно рассматривать как обращенный к центральной оси скользящего элемента 40). Посадочная поверхность 42 включает в себя первую область 421 и вторую область 422. Первая область 421 расположена между второй областью 422 и передним торцом 41 скользящего элемента 40. В одном варианте осуществления как первая область 421, так и вторая области 422 представляют собой дугообразные поверхности вдоль окружного направления. Обращаясь к Фиг. 28 и Фиг. 29, в радиальном направлении вертикальное расстояние D1 (которое можно рассматривать как радиальный размер первой области 421) между первой областью 421 и центральной осью С3 больше, чем вертикальное расстояние D2 (которое можно рассматривать как радиальный размер второй области 422) между второй областью 422 и центральной осью. Первая область 421 может быть непосредственно соединена со второй областью 422. В качестве альтернативы, первая область 421 и вторая область 422 могут быть двумя несмежными областями на посадочной поверхности 42, то есть первая область 421 и вторая область 422 разнесены. В осевом направлении вертикальные расстояния от различных позиций первой области 421 до центральной оси могут быть одинаковыми (реализация, показанная на Фиг. 28), то есть направление продолжения первой области 421 в направлении от переднего торца 41 к заднему торцу 43 скользящего элемента 40 параллельно центральной оси. В другой реализации вертикальные расстояния от различных позиций первой области 421 до центральной оси могут быть неодинаковыми (реализация, показанная на Фиг. 29), то есть между направлением продолжения первой области 421 в направлении от переднего торца 41 к заднему торцу 43 скользящего элемента 40 и центральной оси.
В частности, в осевом направлении посадочная поверхность 42 может иметь ступенчатую форму (реализация, показанная на Фиг. 28), или посадочная поверхность 42 может иметь форму скоса (реализация, показанная на Фиг. 29). Вытравленная структура расположена в первой области 421 и/или во второй области 422. В качестве альтернативы, на посадочной поверхности 42 расположена канавка (канавка может быть расположена в первой области 421 или во второй области 422, или канавка может располагаться в каждой из первой области 421 и второй области 422). Канавка используется для сопряжения с выступающей частью на упругой лапке. Как вытравленная структура, так и структура с канавкой, расположенная на поверхности посадки, позволяет увеличить усилие блокировки. Расположение второй области 422 может быть таким же или отличным от расположения первой области 421. Это не ограничивается в настоящей заявке. Формы первой области 421 и второй области 422 могут различаться при условии, что расстояние между второй областью 422 и центральной осью меньше, чем расстояние между первой областью 421 и центральной осью.
Обращаясь к Фиг. 26 и Фиг. 27, скользящий элемент 40 в виде втулки включает в себя первый пластинчатый элемент В1, второй пластинчатый элемент В2, третий пластинчатый элемент В3 и четвертый пластинчатый элемент В4, которые соединены последовательно. Первый пластинчатый элемент В1 расположен напротив третьего пластинчатого элемента В3. Второй пластинчатый элемент В2 расположен напротив четвертого пластинчатого элемента В4. Посадочная поверхность 42 расположена на внутренних поверхностях первого пластинчатого элемента В1 и третьего пластинчатого элемента В3. В этой реализации первый пластинчатый элемент B1 и третий пластинчатый элемент B3 представляют собой выпуклые дугообразные структуры, и противоскользящая структура расположена на внешней поверхности каждого из первого пластинчатого элемента B1 и третьего пластинчатого элемента B3. Второй пластинчатый элемент В2 и четвертый пластинчатый элемент В4 представляют собой плоские пластинчатые структуры. Второй пластинчатый элемент В2 и четвертый пластинчатый элемент В4 расположены параллельно друг другу. Расстояние между вторым пластинчатым элементом В2 и четвертым пластинчатым элементом В4 меньше, чем максимальное расстояние между первым пластинчатым элементом В1 и третьим пластинчатым элементом В3. Когда скользящий элемент 40 приводится в действие, внешнее усилие прикладывается к первому пластинчатому элементу В1 и третьему пластинчатому элементу В3, и одна сторона второго пластинчатого элемента В2 и одна сторона четвертого пластинчатого элемента В4 могут использоваться для примыкания к другой вилке волоконно-оптического соединителя, поэтому множество вилок волоконно-оптических соединителей расположены плотно для экономии места. Когда скользящий элемент 40 соединен с основным стволом 223, второй пластинчатый элемент В2 и четвертый пластинчатый элемент В4 могут находиться в непосредственном контакте с внешней поверхностью основного ствола 223 или могут быть соединены с внешней поверхностью основного ствола 223 с использованием направляющей структуры. Между основным стволом 223 и каждым из первого пластинчатого элемента В1 и третьего пластинчатого элемента В3 сформирована выемка. Выемка может представлять собой блокирующую канавку для размещения второй блокирующей структуры волоконно-оптического адаптера или аккомодационное пространство второго упругого элемента 70 и основания крепления.
Обращаясь к Фиг. 28 и Фиг. 29, вторая скользящая направляющая структура 44 дополнительно расположена на внутренней поверхности скользящего элемента 40. Вторая скользящая направляющая структура 44 используется для установки первой скользящей направляющей структуры 2236 на основной ствол 223. Вторая скользящая направляющая структура 44 расположенные на внутренних поверхностях второго пластинчатого элемента В2 и четвертого пластинчатого элемента В4. Вторая скользящая направляющая структура 44 включает в себя вторую направляющую часть 441 и вторую ограничивающую часть 442. Вторая ограничивающая часть 441 расположена на стороне, которая относится ко второй направляющей части 441 и которая удалена от переднего торца 41 скользящего элемента 40. Вторая направляющая часть 441 используется для установки первой направляющей части 22361 на внешнюю поверхность основного ствола 223. Вторая ограничивающая часть 442 используется для установки первой ограничивающей части 22362 на внешнюю поверхность основного ствола 223. Сторона, которая относится ко второй ограничивающей части 442 и которая обращена к заднему торцу скользящего элемента 40, образует вторую ограничивающую ступеньку 4421. Вторая ограничивающая ступенька 4421 используется для посадки первой ограничивающей ступеньки 22363 первой ограничивающей части 22362 на основном стволе 223 для определения граничной позиции для скольжения скользящего элемента 40 по направлению к переднему концу основного ствола 223. Вторая ограничивающая часть 442 и вторая направляющая часть 441 образуют Т-образную структуру. В этой реализации вторая ограничивающая часть 442 и вторая направляющая часть 441 представляют собой структуры с направляющими канавками, углубленными на внутренней поверхности скользящего элемента 40. В качестве альтернативы, в другой реализации вторая ограничивающая часть 442 и вторая направляющая часть 441 могут быть направляющими структурами, расположенными с выступом на внутренней поверхности скользящего элемента 40. Ступенчатая позиционирующая торцевая поверхность 45, обращенная к заднему торцу 43 скользящего элемента 40, расположена на внутренней поверхности скользящего элемента 40 и используется для позиционирования второго упругого элемента 70.
Второй упругий элемент 70 упруго соединен между крепежным основанием 224 и скользящим элементом 40, и крепежное основание 224 прикреплено к крепежной части 2237 на внешней поверхности основного ствола 223.
Обращаясь к Фиг. 30, в одной реализации крепежное основание 224 включает в себя передний торец 2241. Внутренняя поверхность крепежного основания 224 имеет резьбу 2243, и крепежное основание 224 крепится к крепежной части 2237 на основном стволе 223 с использованием структуры с резьбовым соединением. Структура с резьбовым соединением соединяет крепежное основание 224 с основным стволом 223. Осевое положение крепежного основания 224 на основном стволе 223 можно регулировать путем вращения крепежного основания 224. Передний торец 2241 крепежного основания 224 используется для того, чтобы упираться во второй упругий элемент 70. Крепежная канавка 224 расположена на внешней поверхности крепежного основания 224, и крепежная канавка 224 расположена в позиции, близком к заднему торцу крепежного основания 224.
Обращаясь к Фиг. 5 и Фиг. 6, крепежная канавка 2242 используется для крепления переднего конца хвостовой втулки 225, и хвостовая втулка 225 надевается на периферийную часть задней части основного ствола 223. Термоусадочная трубка 226 расположена между внешней поверхностью хвостового конца основного ствола 223 и хвостовой втулкой 225. Термоусадочная трубка 226 соединена между хвостовым концом основного ствола 223 и оптическим волокном 11 снаружи основного ствола 223, и термоусадочная трубка 226 используется для герметичного соединения основного ствола 223 и оптического волокна 11.
Обращаясь к Фиг. 31, пылезащитный колпачок 50 вилки 100 волоконно-оптического соединителя, предусмотренный в данном варианте осуществления, включает в себя тело 51 колпачка и упругую лапку 52. Тело 51 колпачка является полым и снабжен отверстием. Упругая лапка 52 выполнена в позиции открытия тела 51 колпачка. Тело 51 колпачка имеет центросимметричную структуру и расположено по центральной оси С5. Имеются две упругих лапки 52, расположенные напротив друг друга с двух сторон относительно центральной оси С5. В осевом направлении первая посадочная часть 53 и вторая посадочная часть 54 расположены на конце, который относится к упругой лапке 52 и который удален от тела 51 колпачка. Первая посадочная часть 53 расположена между второй посадочной частью 54 и упругой лапкой 52. Расстояние К2 по вертикали между первой посадочной частью 53 и центральной осью С5 больше, чем расстояние К1 между второй посадочной частью 54 и центральной осью С5.
В рабочем состоянии пылезащитный колпачок 50 закрывает периферию передней защитной втулки 21, и упругая лапка 52 продолжается в блокирующей канавке, выполненной между позиционирующей поверхностью 42 скользящего элемента 40 и внешней поверхностью основного корпуса 22; за счет посадки между упругой лапкой 52 и посадочной поверхностью 42 первая посадочная часть 53 упирается в первую область 421, и вторая посадочная часть 54 упирается во вторую область 422; и пылезащитный колпачок 50 крепится к вилке 100 волоконно-оптического соединителя с использованием зажимного усилия, прикладываемого посадочной поверхностью 42 к первой посадочной части 53 и второй посадочной части 54. Когда пылезащитный колпачок 50 необходимо снять, скользящий элемент 40 перемещается к хвостовому концу В основного ствола 223, поэтому первая область 421 выходит из первой части 53 посадки, и вторая область 422 выходит из второй части 54 посадки. Когда первая область 421 обращена непосредственно ко второй посадочной части 54 в радиальном направлении, может быть реализована разблокировка между вилкой 100 волоконно-оптического соединителя и пылезащитным колпачком 50.
Для узла и взаимосвязи посадки между элементами в вилке 100 волоконно-оптического соединителя, предусмотренной в первом варианте осуществления, смотри следующее описание (обращаясь к Фиг. 4, Фиг. 5 и Фиг. 6, описание представлено в последовательности сборки в возможной реализации).
Задний конец фиксатора 222 вставляется в основной ствол 223 из открытой позиции переднего конца основного ствола 223, и защелкивающаяся часть 2223 на упругой защелкивающейся лапке 2222 на фиксаторе 222 соответствует ограничивающей ступеньке 2239 на внутренней поверхности основного ствола 223, чтобы закрепить фиксатор 222 и основной ствол 223. Передний конец фиксатора 222 обращен к переднему концу основного ствола 223. В настоящей заявке фиксатор 222 и основной ствол 223 выполнен в виде разъемной структуры и поэтому прост в изготовлении, а также относительно прост при сборке. В дополнение к этому, фиксатор 222 крепится к основному стволу 223, проходя во внутреннее пространство основного ствола 223, и фиксатор 222 занимает внутреннее пространство основного ствола 223, не увеличивая периферийный размер основного ствола 223, тем самым способствуя миниатюризации конструкции. В другой реализации, в качестве альтернативы, фиксатор 222 и основной ствол 223 могут представлять собой объединенную структуру, то есть передний конец основного ствола 223 выполнен непосредственно за одно целое как передний конец фиксатора 222. Хотя процесс изготовления объединенной структуры является более сложным, чем конструкция с раздельной архитектурой, объединенная структура из фиксатора 222 и основного ствола 223 имеет преимущество, связанное с легкостью и тонкостью, где «тонкость» относится к радиальному размеру, так как в радиальном направлении фиксатор 222 и основный ствол 223 не собираются и на соединяются способ перекрытия.
Оптическое волокно 11 проходит через основной ствол 223 и фиксатор 222, часть сердцевины 111 оптического волокна на переднем конце оптического волокна 11 вставляется в отверстие 1251 для крепления сердцевины оптического волокна наконечника 12, и сердцевина 111 оптического волокна прикрепляется к наконечнику 12 с использованием отверждающегося клея.
Обращаясь к Фиг. 20 и Фиг. 21, наконечник 12 входит в установочный элемент 221 и продолжается через него от заднего конца установочного элемента 221. Первая ограничивающая торцевая поверхность 1244 первой стопорной структуры 1242 на наконечнике 12 упирается во вторую ограничивающую торцевую поверхность 2215 второй стопорной структуры 2213 на внутренней поверхности установочного элемента 221, и первая плоскость 1243 первой ограничивающей структуры 1241 на наконечнике 12 соприкасается с контактной торцевой поверхностью 2216 второй стопорной структуры 2213 на установочном элементе 221. Таким образом, наконечник 12 соединен с установочным элементом 221, и первый упругий элемент 60 надет на заднюю секцию 125 наконечника 12.
Установочный элемент 221, на котором установлены наконечник 12 и первый упругий элемент 60, соединен с основным стволом 223. В частности, резьбовая часть 2219 на заднем конце установочного элемента 221 соответствует внешней резьбе 2221 на переднем конце фиксатора 222, поэтому установочный элемент 221 крепится к основному стволу 223. В этом состоянии выступ 2232 на переднем торце 2231 основного ствола 223 продолжается во второй вырез 2218 на заднем торце установочного элемента 221. Первый упругий элемент 60 упирается между позиционирующей торцевой поверхностью 1245 первой стопорной структуры 1242 наконечника 12 и передним торцом фиксатора 222.
Передняя защитная втулка 21 вставлена от одной стороны переднего конца втулки 12 до периферии установочного элемента 221, и вторая плоскость 2142 второй ограничивающей структуры 214 в передней защитной втулке 21 соприкасается с первой плоскости 1243 первой ограничивающей структуры 1241 наконечника 12. В этом состоянии вторая плоскость 2142 передней защитной втулки 21 компланарна контактной торцевой поверхности 2216 одной из вторых стопорных структур 2213 установочного элемента 221. Вторая плоскость 2142 передней защитной втулки 21 и контактная торцевая поверхность 2216 другой второй стопорной структуры 2213 установочного элемента 221 расположены напротив друг друга с двух сторон втулки 12. Упругий зажимной крючок 2212 на установочном элементе 221 соответствует отверстию 215 на передней защитной втулке 21 для крепления передней защитной втулки 21 и установочного элемента 221. В этом состоянии выступ 2232 на переднем торце 2231 основного ствола 223 продолжается в первый вырез 216 на заднем торце передней защитной втулки 21 для позиционирования передней защитной втулки 21 и основного ствола 223 в направлении по окружности. Задний торец 212 передней защитной втулки 21 находится в одной плоскости с задним торцом 2214 установочного элемента 221. Первый вырез 216 находится напротив второго выреза 2218 в радиальном направлении, и выступ 2232 на основном стволе 223 подходит как первому вырезу 216, так и второму вырезу 2218.
Передний торец 121 наконечника 12 находится на одном уровне с передним торцом 211 передней защитной втулки 21, или передний торец 121 наконечника 12 расположен между передним торцом 211 передней защитной втулки 21 и задним торцом 43 передней защитной втулки 21 в осевом направлении. Можно также понять, что вертикальная проекция переднего торца 121 наконечника 12 на переднюю защитную втулку 21 расположена на переднем торце 211 передней защитной втулки 21 или на внутренней поверхности передней защитной втулки 21.
Обращаясь к Фиг. 5 и Фиг. 6, передний торец скользящего элемента 40 обращен к задней части основного ствола 223 (волокно должно продолжаться через скользящий элемент 40), и скользящий элемент 40 надет на внешнюю поверхность основного ствола 223. Вторая скользящая направляющая структура 44 на внутренней поверхности скользящего элемента 40 соответствует первой направляющей скользящей структуры 2236 на внешней поверхности основного ствола 223, поэтому скользящий элемент 40 и основной ствол 223 расположены в окружном направлении. Вторая скользящая направляющая структура в этой реализации представляет собой структуру с канавкой. Позиция, обозначенная ссылочной позицией 44 на Фиг. 6, представляет собой внутреннюю стенку канавки, и первая скользящая направляющая структура 2236 размещена в канавке. Обращаясь к Фиг. 28 и Фиг. 29, позиция между скользящим элементом 40 и основным стволом 223 определяется в осевом направлении посредством посадки между второй ограничивающей ступенькой 4421 второй ограничивающей части 442 скользящего элемента 40 и первой ограничивающей ступенькой 22363 первой ограничивающей части 22362 на внешней поверхности основного ствола 223.
Второй упругий элемент 70 надет на основной ствол 223, и один конец второго упругого элемента 70 установлен в пространстве между скользящим элементом 40 и основным стволом 223 и упирается в ступенчатую позиционирующую торцевую поверхность 45 внутренней поверхности скользящего элемента 40.
Крепежное основание 224 крепится к крепежной части 2237 на основном стволе 223, передний конец крепежного основания 224 упирается в другой конец второго упругого элемента 70, и крепежное основание 224 частично продолжается в пространство между скользящим элементом 40 и основным стволом 223. В этом состоянии второй упругий элемент 70 находится в сжатом состоянии и толкает скользящий элемент 40 к первой позиции с использованием силы упругости, то есть к позиции сопряжения между вторым ограничивающим выступом 4421 второй ограничивающей части 442 скользящего элемента 40 и первой ограничивающей ступенькой 22363 первой ограничивающей части 22362 на внешней поверхности основного ствола 223.
Скользящий элемент 40 может скользить между первой позицией и второй позицией. Вторая позиция может быть определена с использованием ограничивающей структуры на основном стволе 223, или вторая позиция может не иметь определенной позиции при условии, что в осевом направлении скользящий элемент 40 расположен на стороне, которая относится к первой позиции и которая находится на удалении от наконечника. Обращаясь к Фиг. 5, скользящий элемент 40 и блокирующая часть 2235 на основном стволе 223 совместно образуют первую блокирующую структуру L1, и первая блокирующая структура L1 используется для сопряжения со второй блокирующей структурой на волоконно-оптическом адаптере 200 для прикрепления вилки 100 волоконно-оптического соединителя к вилке волоконно-оптического соединителя. Когда скользящий элемент 40 находится в первой позиции, скользящий элемент 40 входит в блокирующую часть 2235 для блокировки второй блокирующей структуры. Когда скользящий элемент 40 находится во второй позиции, осуществляется разблокировка между блокирующей частью 2235 и второй блокирующей структурой. Между позиционирующей поверхностью 42 скользящего элемента 40 и внешней поверхностью основного корпуса 22 сформирована блокирующая канавка 47. Упорная канавка 47 используется для сопряжения с упругой лапкой второй блокирующей структуры. Отверстие блокирующей канавки 47 расположено между передним торцом 41 скользящего элемента 40 и внешней поверхностью основного корпуса 22. Можно понять, что посадочная поверхность 42 представляет собой внутреннюю стенку блокирующей канавки 47. Посадочная поверхность 42 обращена к основному корпусу 22. Первая область 421 расположена между второй областью 422 и отверстием блокирующей канавки. Расстояние по вертикали между первой областью 421 и основным корпусом 22 больше, чем расстояние по вертикали между второй областью 422 и основным корпусом 22. Когда скользящий элемент 40 расположен в первой позиции, первая область 421 расположена напротив блокирующей части 2235, и вторая область 422 расположена напротив внешней поверхности основного корпуса 22. Когда скользящий элемент 40 находится во второй позиции, посадочная поверхность 42 (включая первую область 421 и вторую область 422) расположена напротив внешней поверхности основного корпуса 22.
После установки скользящего элемента 40 и крепежного основания 224 основной ствол 223, регулируется положение оптического волокна. Сквозное отверстие 2238 на хвостовом конце В основного ствола 223 соответствует открытой части армированного слоя 112 оптического волокна 11. Клей наносится в сквозное отверстие 2238 на хвостовом конце В основного ствола 223. Армированный слой 112 оптического волокна 11 крепится к внутренней поверхности основного ствола 223 с использованием клея. В настоящей заявке сквозное отверстие 2238 для заливки клея расположено на хвостовом конце В основного ствола 223, и оптическое волокно крепится посредством заливки клея. Клей заполняет промежуток между армированным слоем 112 и основным стволом 223, дополнительно используется форма структуры поверхности армированного слоя 112, и поверхность армированного слоя 112 имеет пространство для заливки клея. Таким образом, клей может полностью соприкасаться с оптическим волокном 11 и основным стволом 223, и эффект прикрепления улучшается. В дополнение к этому, миниатюризация конструкции упрощается за счет удаления некоторых материалов с основного ствола 223 и закрепления оптического волокна внутри основного ствола 223, не занимая никакого пространства снаружи основного ствола. В дополнение к этому, заполнение клеем промежутка между основным стволом 223 и оптическим волокном 11 может дополнительно герметизировать оптическое волокно 11 с основным стволом 223, поэтому расположение сквозного отверстия не приводит к ухудшению эффекта уплотнения. Для обеспечения эффекта уплотнения термоусадочная трубка 226 надевается в позиции хвостового конца В основного ствола 223, поэтому часть термоусадочной трубки 226 крепится на внешней поверхности хвостового конца основного ствола 223. Другая часть термоусадочной трубки 226 крепится к наружному слою 113 части, которая относится к оптическому волокну 11 и которая не продолжается в основной ствол 223. Хвостовая втулка 225 крепится к периферии термоусадочной трубки 226, и передний конец хвостовой втулки 225 закрепляется в крепежной канавке 2242 на заднем конце крепежного основания 224. На внешнюю поверхность хвостовой втулки 225 может быть нанесен одномерный штрих-код путем с использованием технологий, таких как печать при формовании или лазерная маркировка, для визуального распознавания.
Уплотнительная структура 30 помещается в уплотнительную канавку 2234, и когда вилка 100 соединителя оптического волокна вставляется в волоконно-оптический адаптер 200, уплотнительное кольцо герметично соединяется между основным стволом 223 и внутренней поверхностью волоконно-оптического адаптера 200. Вилка 100 волоконно-оптического соединителя, предусмотренная в этой реализации, представляет собой вилку 100 волоконно-оптического соединителя для использования вне помещения, и к ней предъявляются требования по герметизации. Согласно настоящей заявке передний конец основного ствола 223 продолжается в волоконно-оптический адаптер 200 для обеспечения герметизации с помощью уплотнительной структуры 30, и задний конец основного ствола 223 герметично соединяет основной ствол 223 с оптическим волокном с помощью термоусадочной трубки 226. Таким образом, только одна уплотнительная структура 30 должна быть расположена на переднем конце основного ствола 223 для герметичного соединения вилки 100 соединителя оптического волокна с волоконно-оптическим адаптером 200.
Ниже приводится подробное описание волоконно-оптического адаптера 200, подходящего к вилке 100 волоконно-оптического соединителя, предусмотренной в первом варианте осуществления.
Обращаясь к Фиг. 32 и Фиг. 33, волоконно-оптический адаптер 200 включает в себя корпусную втулку 201 и втулку 202 наконечника. Втулка 202 наконечника присоединяется внутри корпусной втулки 201. Втулка 202 наконечника и корпусная втулка 201 могут представлять собой объединенную структуру. Корпусная втулка 201 включает в себя первый торец 2011 и второй торец 2012. Внутри корпусной втулки 201 сформированы первое аккомодационное пространство 2013, расположенное на внутренней стороне первого торца 2011, и второе аккомодационное пространство 2014, расположенное на внутренней стороне второго торца 2012. Первое отверстие для взаимодействия первого аккомодационного пространства 2013 с внешней средой расположено на первом торце 2011. Второе отверстие для второго аккомодационного пространства 2014 для взаимодействия с внешней средой расположено на втором торце 2012. Аккомодационное пространство 2022 наконечника расположено во втулке 202 наконечника, и аккомодационное пространство 2022 наконечника расположено между первым аккомодационным пространством 2013 и вторым аккомодационным пространством 2014 и взаимодействует с первым аккомодационным пространством 2013 и вторым аккомодационным пространством 2014. Первое аккомодационное пространство 2013 используется для размещения одной вилки 100 волоконно-оптического соединителя. Второе аккомодационное пространство 2014 используется для размещения еще одной вилки 100 волоконно-оптического соединителя. Аккомодационное пространство 2022 наконечника во втулке 202 наконечника используется для размещения наконечников двух вилок волоконно-оптического соединителя. В волоконно-оптическом адаптере 200, предусмотренном в этой реализации, первое аккомодационное пространство 2013 используется для вставки вилки волоконно-оптического соединителя для использования вне помещения (то есть вилки 100 волоконно-оптического соединителя, предусмотренной в первом варианте осуществления). Второе аккомодационное пространство 2014 используется для вставки вилки волоконно-оптического соединителя, эксплуатируемого в помещении. Внутренняя структура второго аккомодационного пространства 2014 и конкретная архитектура вилки волоконно-оптического соединителя, эксплуатируемого в помещении, в настоящей заявке не ограничены.
Корпусная втулка 201 включает в себя корпусную часть 203 и вторую блокирующую структуру L2. Вторая блокирующая структура L2 расположена на одном конце корпусной части 203. Вторая блокирующая структура L2 расположена в первом открытом положении, в котором первое аккомодационное пространство 2013 взаимодействует с внешней средой. Вторая блокирующая структура L2 включает в себя зажимную канавку 204 и упругую лапку 205. Упругая лапка 205 соединена с одним концом корпусной части 203. В осевом направлении корпусная часть 203 расположена между втулкой 202 наконечника и упругой лапкой 205, и зажимная канавка 204 расположена на внутренней поверхности корпусной втулки 201. Упругая лапка 205 вилки 100 соединителя оптического волокна продолжается от одного конца корпусной части 203 в осевом направлении корпусной втулки 201. Упругая лапка 205 включает в себя первую секцию 2051 и вторую секцию 2052. Первая секция соединена между второй секцией 2052 и корпусной частью 203. Внешняя поверхность упругой лапки 205 является поверхностью, которая относится к упругой лапке 205 и которая находится на удалении от первого аккомодационного пространства 2013.
Обращаясь к Фиг. 33, расстояние R1 по вертикали от внешней поверхности первой секции 2051 до центральной оси C6 корпусной втулки 201 больше, чем расстояние R2 по вертикали от внешней поверхности второй секции 2052 до центральной оси C6 корпусной втулки 201. В частности, часть зажимной канавки 204 расположена на внутренней поверхности корпусной части 203, и часть зажимной канавки 204 расположена на внутренней поверхности упругой лапки 205 (в частности, на внутренней поверхности первой секции 2051). В радиальном направлении корпусной втулки 201 первая секция 2051 обращена непосредственно к части зажимной канавки 204, и вторая секция 2052 расположена по периферии зажимной канавки 204.
В одной реализации, как показано на Фиг. 33, внешняя поверхность упругой лапки 205 имеет ступенчатую форму, то есть ступенчатая поверхность образована между первой секцией 2051 и второй секцией 2052. В другой реализации, как показано на Фиг. 34, направление продолжения от корпусной части 203 до конца, который относится ко второй секции 2052 и который удален от корпусной части 203, является направлением продолжения упругой лапки 205, и между направлением продолжения образован внутренний угол А6 упругой лапки 205 и осевого направления корпусной втулки 201. На Фиг. 34 схематично показано продолжение под наклоном упругой лапки 205 относительно осевого направления. Конкретный угол A6 наклона может быть установлен на основе соответствующей особенности (то есть посадочной поверхности) на скользящем элементе конкретной вилки волоконно-оптического соединителя.
В одном варианте осуществления вытравленная структура расположена на внешней поверхности первой секции 2051 и/или внешней поверхности второй секции 2052; или выступающая часть расположена на внешней поверхности упругой лапки 205, и выступающая часть используется для совмещения с канавкой на скользящем элементе 40 вилки 100 волоконно-оптического соединителя.
Обращаясь к Фиг. 33 и Фиг. 34, направляющая шпонка 206 расположена на внутренней поверхности корпусной части 203 корпусной втулки 201. В данном варианте осуществления направляющая шпонка 206 выступает в направлении первого аккомодационного пространства 2013, и направляющая шпонка 206 используется для установки первой направляющей структуры 213 на переднюю защитную втулку 21 и обеспечивают направленность в процессе вставки вилки 100 волоконно-оптического соединителя в волоконно-оптический адаптер 200. Первый паз 207 образован между корпусной втулкой 201 и втулкой 202 наконечника, и первый паз используется для размещения в нем передней защитной втулки 21 вилки 100 волоконно-оптического соединителя. В соответствии с волоконно-оптическим адаптером 200, представленным в настоящей заявке, первый паз 207 между корпусной втулкой 201 и втулкой 202 наконечника сопряжен с передней защитной втулкой 21 вилки 100 волоконно-оптического соединителя, внутренняя поверхность корпусной втулки 201 соприкасается с внешней поверхностью передней защитной втулки 21 и плотно прилегает к ней, и направляющая шпонка 206 используется для установки первой направляющей структуры 213 на переднюю защитную втулку 21 таким образом, чтобы обеспечить совмещение волоконно-оптического адаптера 200 и вилки 100 волоконно-оптического соединителя. Конструкция волоконно-оптического адаптера 200 упрощена, выравнивание вилки 100 волоконно-оптического соединителя, вставленной в волоконно-оптический адаптер 200, осуществляется с использованием первого паза 207 и внутренней поверхности корпусной втулки 201, и радиальный размер может быть спроектирован таким образом, чтобы соответствовать передней защитной втулке 21 вилки 100 волоконно-оптического соединителя. Таким образом, вилка 100 волоконно-оптического соединителя имеет преимущество, связанное с маленьким размером.
Обращаясь к Фиг. 35, волоконно-оптический адаптер 200, предусмотренный в настоящей заявке, дополнительно включает в себя керамическую втулку 208, и керамическая втулка 208 установлена внутри втулки 202 наконечника. Керамическая втулка 208 имеет вырез 2082. Вырез 2082 продолжается от одного конца керамической втулки 208 к другому концу в осевом направлении. Расположение выреза 2082 позволяет регулировать радиальный размер керамической втулки 208, поэтому может быть реализована плотная посадка между керамической втулкой 208 и втулкой 202 наконечника. Внутреннее пространство керамической втулки 208 используется для размещения наконечника.
На Фиг. 36 показан схематичный вид в разрезе после вставки вилки 100 волоконно-оптического соединителя в соответствующий волоконно-оптический адаптер 200 согласно первой реализации настоящей заявки. На Фиг. 37 показано схематичное представление в увеличенном виде части I (Фиг. 36), и на Фиг. 38 показано схематичное представление в увеличенном виде части II (Фиг. 36).
На Фиг. 39 показано еще одно схематичное представление в разрезе после вставки вилки 100 волоконно-оптического соединителя в соответствующий волоконно-оптический адаптер 200 согласно первому варианту осуществления. На Фиг. 40 показано схематичное представление в увеличенном виде части III (Фиг. 39).
Из Фиг. 36 видно, что в волоконно-оптическом адаптере 200 уплотнительная структура 30 герметично соединяет вилку 100 волоконно-оптического соединителя с соответствующим волоконно-оптическим адаптером 200.
Как показано на Фиг. 38, после вставки вилки 100 волоконно-оптического соединителя в волоконно-оптический адаптер 200, передняя защитная втулка 21 вилки 100 волоконно-оптического соединителя вставлена в паз 207, наконечник 12 вставлен во втулку 202 наконечника и окружен керамической втулкой 208, и внешняя поверхность передней защитной втулки 21 соприкасается с внутренней поверхностью корпусной втулки 201.
На Фиг. 36 показано заблокированное состояние после вставки вилки 100 волоконно-оптического соединителя в волоконно-оптический адаптер 200. Как показано на Фиг. 37, скользящий элемент 40 расположен в первой позиции, и блокирующая часть 2235 вилки волоконно-оптического соединителя входит в зажимную канавку 204 волоконно-оптического адаптера. Первая область 421 посадочной поверхности 42 упирается в первую секцию 2051 упругой лапки 205, и вторая область 422 посадочной поверхности 42 упирается во вторая секция 2052 упругой лапки 205 для реализации двухступенчатой блокирующей структуры.
На Фиг. 39 показано разблокированное состояние после вставки вилки 100 волоконно-оптического соединителя в волоконно-оптический адаптер 200. Как показано на Фиг. 40, скользящий элемент 40 расположен во второй позиции, и первая область 421 посадочной поверхности 42 расположена по периферии второй секции 2052 упругой лапки 205. В дополнение к этому, между первой областью 421 и второй секцией 2052. Первая область 421 и вторая секция 2052 отделены друг от друга, между первой областью 421 и второй секцией 2052 образован промежуток, и вторая область 422 обращена непосредственно к внешней поверхности основного ствола 223 вилки 100 волоконно-оптического соединителя. Между позиционирующей поверхностью 42 и упругой лапкой 205 образуется промежуток, и упругая лапка 205 может открываться. Таким образом, в этом случае, хотя блокирующая часть 2235 вилки волоконно-оптического соединителя расположена в зажимной канавке 204 волоконно-оптического адаптера, вилку 100 волоконно-оптического соединителя все же можно вытащить из волоконно-оптического адаптера 200.
Ниже приводится подробное описание вилки волоконно-оптического соединителя, предусмотренная во втором варианте осуществления.
На Фиг. 41 показано схематичное трехмерное представление вилки 100' волоконно-оптического соединителя, предусмотренной во втором варианте осуществления. На Фиг. 42 показано схематичное трехмерное представление в разобранном виде вилки 100' волоконно-оптического соединителя, предусмотренной во втором варианте осуществления. Обращаясь к Фиг. 41 и Фиг. 42, вилка 100' волоконно-оптического соединителя включает в себя оптическое волокно 11', наконечник 12', переднюю защитную втулку 21', установочный элемент 221', основной ствол 223', хвостовую втулку 225', термоусадочную трубку 226', уплотнительную структуру 30', скользящий элемент 40' и первый упругий элемент 60'. Блокирующая часть 2235’ расположена на основном стволе 223', и блокирующая часть 2235’ и скользящий элемент 40' образуют первую блокирующую структуру L1'.
Различие между вилкой 100' волоконно-оптического соединителя, предусмотренной во втором варианте осуществления, и вилкой 100 волоконно-оптического соединителя, предусмотренной в первом варианте осуществления, состоит в конструкции основного ствола 223' и конструкции скользящего элемента 40'. Далее подробно описана конструктивная особенность, которая относится к основному стволу 223' и которая отличается от конструктивная особенность основного ствола в вилке 100 волоконно-оптического соединителя, предусмотренной в первом варианте осуществления.
Обращаясь к Фиг. 43 и Фиг. 44, вилка 100' волоконно-оптического соединителя, предусмотренная в данном варианте осуществления, не включает в себя фиксатор 222, независимый от основного ствола, в вилке 100 волоконно-оптического соединителя, предусмотренной в первом варианте осуществления. Можно понять, что в этой реализации фиксатор, аналогичный функции крепления, встроен в основной ствол 223'. Более конкретно, выступающая кольцевая структура 222', выполненная за одно целое с внутренней поверхностью основного ствола 223', расположена на внутренней кромке переднего торца 2231' основного ствола 223', и внешняя поверхность выступающей кольцевой структуры 222' имеет резьбу для соединения установочного элемента 221'.
Блокирующая часть 2235’, расположенная на внешней поверхности основного ствола 223', расположена на стороне, которая относится к уплотнительной канавке 2234' и которая удалена от переднего торца 2231'. Блокирующая часть 2235' включает в себя упругую лапку 22351 и зажимной блок 22352. Один конец упругой лапки 22351 прикреплен к внешней поверхности основного ствола 223'. В частности, один конец упругой лапки 22351 и основный ствол 223' представляют собой единую структуру. Только один конец упругой лапки 22351 соединен с основным стволом 223', остальная часть упругой лапки представляет собой структуру, отсоединенную от основного ствола 223' и противоположную ему, и промежуток 22353 расположен между упругой лапкой 22351 и основным стволом 223'. Зажимной блок 22352 прикреплен к другому концу упругой лапки 22351, конец, на котором упругая лапка 22351 соединен с основным стволом 223', является соединительным концом, и зажимной блок 22352 расположен в позиции, которая относится к упругой лапке 22351 и которая расположена в стороне от соединительного конца. Зажимной блок 22352 выступает от поверхности, которая относится к упругой лапке 22351 и которая удалена от основного ствола 223'. На двух противоположных сторонах основного ствола 223' симметрично расположены две блокирующие части 2235'.
Зажимная структура 701 дополнительно расположена на внешней поверхности основного ствола 223', и зажимная структура 701 используется для установки скользящего элемента 40', чтобы ограничить скользящий элемент 40' на первой позиции. В частности, зажимная структура 701 представляет собой ограничивающий блок, расположенный с выступом на внешней поверхности основного ствола 223'. Имеются две зажимные структуры 701, и зажимные структуры разнесены друг от друга, то есть между двумя зажимными структурами 701 образована ограничивающая канавка 702.
Обращаясь к Фиг. 45, Фиг. 46, Фиг. 47 и Фиг. 48, элемент 40' скольжения включает в себя скользящее тело 403, соединенное с возможностью скольжения с основным стволом 223', и стопорную структуру 404, соединенную с одним концом скользящего тела 403. Скользящее тело 403 имеет форму втулки. Стопорная структура 404 продолжается от внутренней поверхности одного конца скользящего тела 403. Стопорная структура 404 представляет собой дугообразную пластинчатую структуру, и стопорная структура 404 может скользить в промежуток 22353. Имеются также две стопорные структуры 404, симметрично распределенные по двум противоположным сторонам скользящего тела 403. Скользящий элемент 40' включает в себя скользящую позиционирующую структуру 405. Скользящая позиционирующая структура 405 включает в себя соединительную часть 4051, соединенную с скользящим телом 403, и выпуклую структуру 4052, расположенную с выступом на соединительной части 4051. Соединительная часть 4051 образована путем размещения пары полосообразных прорезей 4031 на скользящем теле 403. Наличие прорезей 4031 позволяет соединительной части 4051 легко совершать радиальную упругую деформацию под действием внешней силы. Выпуклая структура 4052 используется для установки зажимной структуры 701 на основной ствол. В частности, когда выпуклая структура 4052 зажимается в ограничивающей канавке 702, скользящий элемент 40' может ограничиваться первой позицией.
Когда скользящий элемент 40' соединен с основным стволом 223', внутренняя поверхность скользящего тела 403 скользящего элемента 40' соприкасается с внутренней поверхностью основного ствола 223'.
Далее подробно описан волоконно-оптический адаптер 200', подходящий к вилке 100' волоконно-оптического соединителя, предусмотренной во втором варианте осуществления.
Обращаясь к Фиг. 49 и Фиг. 50, волоконно-оптический адаптер 200' включает в себя корпусную втулку 201’ и втулку 202' наконечника, и вторая блокирующая структура L2' расположена на корпусной втулке 201’. Различие между волоконно-оптическим адаптером 200' и волоконно-оптическим адаптером 200 состоит в том, что вторая блокирующая структура L2' волоконно-оптического адаптера 200' отличается от второй блокирующей структуры L2 волоконно-оптического адаптера 200.
Вторая блокирующая структура L2' представляет собой зажимную канавку, сформированную на внутренней поверхности корпусной втулки 201’. Зажимная канавка включает в себя ограничивающую канавку 2016, углубленную на внутренней поверхности корпусной части, и канавку или отверстие 2017, расположенное в нижней части ограничивающей канавки 2016. Ограничивающая канавка 2016 используется для вставки упругой лапкой 22351 блокирующей части 2235' на вилке 100' волоконно-оптического соединителя. Канавка или отверстие 2017 используется для вставки зажимного блока 22352 блокирующей части 2235' на вилке 100' волоконно-оптического соединителя.
На Фиг. 51 показано схематичное представление состояния, в котором вилка 100' волоконно-оптического соединителя вставлена в волоконно-оптический адаптер 200'. На Фиг. 52 показано схематичное представление в увеличенном виде части IV (Фиг. 51). На Фиг. 52 показано схематичное представление состояния блокировки между вилкой 100' волоконно-оптического соединителя и волоконно-оптическим адаптером 200'. На Фиг. 53 показано схематичное представление состояния разблокировки между вилкой 100' волоконно-оптического соединителя и волоконно-оптическим адаптером 200'.
Как показано на Фиг. 52, после вставки вилки 100' волоконно-оптического соединителя в волоконно-оптический адаптер 200', упругая лапка 22351 блокирующей части 2235' располагается в ограничивающей канавке 2016, и зажимной блок 22352 зажимается в канавке или отверстии 2017. Скользящий элемент 40' скользит, заставляя стопорную структуру 404 скользить в промежуток 22353. В этом состоянии стопорная структура 404 может упираться в упругую лапку 22351, чтобы зафиксировать зажимной блок 22352 в канавке или отверстии 2017, поэтому реализуется блокировка между вилкой 100' волоконно-оптического соединителя и соответствующим волоконно-оптическим адаптером 200'.
Как показано на Фиг. 53, скользящий элемент 40' скользит, заставляя стопорную структуру 404 выйти из промежутка 22353. В этом состоянии из-за промежутка 22353 между упругой лапкой 22351 и основным стволом 223' упругая лапка 22351 поворачивается в промежуток 22353 под действием упругой деформации упругой лапки 22351, поэтому зажимной блок 22352 выходит из канавки или отверстия 2017 для осуществления разблокировки.
Ниже приводится подробное описание вилки волоконно-оптического соединителя, предусмотренной в третьем варианте осуществления.
На Фиг. 54 показано схематичное трехмерное представление вилки 100'' волоконно-оптического соединителя, предусмотренной в третьем варианте осуществления. На Фиг. 55 показано схематичное трехмерное представление в разобранном виде вилки 100'' волоконно-оптического соединителя, предусмотренной в третьем варианте осуществления. Обращаясь к Фиг. 54 и Фиг. 55, вилка 100'' волоконно-оптического соединителя включает в себя оптическое волокно 11'', наконечник 12'', переднюю защитную втулку 21'', установочный элемент 221'', основной ствол 223'', хвостовую втулку 225'', термоусадочную трубку 226'', уплотнительную структуру 30'', скользящий элемент 40'' и первый упругий элемент 60''. Блокирующая часть 2235'' расположена на основном стволе 223'', и блокирующая часть 2235'' и скользящий элемент 40'' образуют первую блокирующую структуру L1''.
Различие между вилкой 100'' волоконно-оптического соединителя, предусмотренной в третьем варианте осуществления, и вилкой 100' волоконно-оптического соединителя, предусмотренной во втором варианте осуществления, состоит в конструкции основного ствола 223'', конструкции блокирующей части 2235'' и конструкции скользящего элемента 40".
Обращаясь к Фиг. 56, различие между основным стволом 223'', предусмотренным в данном варианте осуществления, и основным стволом 223' вилки 100' волоконно-оптического соединителя, предусмотренным во втором варианте осуществления, состоит в том, что на основном стволе 223 не расположена блокирующая часть объединенной структуры. В этой реализации блокирующая часть 2235" и основной ствол 223" представляют собой разъемную структуру, и соединительная часть 22354 для соединения блокирующей части 2235" расположена на внешней поверхности основного ствола 223". Соединительная часть 22354 представляет собой выпуклую структуру, расположенную на внешней поверхности основного ствола 223''. Конкретной формой соединительной части 22354 может быть квадрат, круг, треугольник, многоугольник и т.п. Это не ограничено в настоящей заявке. Имеются две соединительные части 22354, симметрично распределенные по двум сторонам основного ствола 223''.
Обращаясь к Фиг. 57, Фиг. 58 и Фиг. 59, блокирующая часть 2235’' имеет форму втулки, и внутренняя поверхность блокирующей части 2235'' снабжена позиционирующей канавкой 22355, блокирующей канавкой 22356 и отверстием 22357. Позиционирующая канавка 22355 используется для сопряжения с соединительной частью 22354 на внешней поверхности основного ствола 223'' для крепления блокирующей части 2235" к основному стволу 223". Имеются две позиционирующие канавки 22355, симметрично распределенные по двум сторонам центральной оси блокирующей части 2235''. Отверстие 22357 расположено в нижней части блокирующей канавки 22356, и отверстие 22357 имеет сквозную структуру, поэтому внутренняя поверхность блокирующей части 2235'' взаимодействует с внешней поверхностью блокирующей части 2235''. Направление продолжения блокирующей канавки 22356 является осевым направлением блокирующей части 2235'', и на одном торце блокирующей части 2235'' выполнено отверстие блокирующей канавки 22356. Имеются два отверстия 22357 и две блокирующие канавки 22356, и два отверстия 22357 и две блокирующие канавки 22356 распределены симметрично с двух других сторон относительно центральной оси блокирующей части 2235''.
Во время сборки блокирующая часть 2235'' надевается на основной ствол 223'', и соединительная часть 22354 зажимается в позиционирующей канавке 22355, чтобы обеспечить соединение между блокирующей частью 2235'' и основным стволом 223''. В этом состоянии нижняя стенка блокирующей канавки 22356 и основный ствол 223'' образуют аккомодационное пространство, и блокирующая часть 2235'' в позиции нижней стенки блокирующей канавки 22356 образует блокирующую лапку. Можно понять, что отверстие 22357 расположено на блокирующей лапке. Отверстие 22357 может иметь структуру зажимной канавки или отверстия. Аккомодационное пространство образовано между блокирующей лапкой и внешней поверхностью основного ствола 223''. Аккомодационное пространство используется для размещения второй блокирующей структуры волоконно-оптического адаптера, и отверстие 22357 используется для сопряжения со второй блокирующей структурой.
Обращаясь к Фиг. 60, структура скользящего элемента 40'', предусмотренная в данной реализации, может быть такой же, как структура скользящего элемента 40' в вилке 100' волоконно-оптического соединителя, предусмотренной во втором варианте осуществления, и скользящий элемент 40'' соединен с основным стволом 223'' с возможностью скольжения. Скользящий элемент 40'' включает в себя скользящее тело 403' и стопорную структуру 404', соединенную с одним концом скользящего тела 403'. Стопорная структура 404' может перемещаться в аккомодационное пространство и упираться во вторую блокирующую структуру волоконно-оптического адаптера.
Ниже приводится подробное описание волоконно-оптического адаптера 200'', подходящего к вилке 100'' волоконно-оптического соединителя, предусмотренной в третьем варианте осуществления.
Обращаясь к Фиг. 61 и Фиг. 62, волоконно-оптический адаптер 200'' включает в себя корпусную втулку 201’’ и втулку 202'' наконечника, и вторая блокирующая структура L2'' расположена на корпусной втулке 201’’. Различие между волоконно-оптическим адаптером 200'' и волоконно-оптическим адаптером 200 состоит в том, что вторая блокирующая структура L2'' волоконно-оптического адаптера 200'' отличается от второй блокирующей структуры L2 волоконно-оптического адаптера 200.
В одной реализации вторая блокирующая структура L2'' включает в себя защелкивающуюся часть 2019 и соединительную часть 2018. Соединительная часть 2018 соединяется между защелкивающейся частью 2019 и торцом 2011'' корпусной втулки 201’’. Защелкивающаяся часть 2019 расположена с выступом на поверхности, которая относится к соединительной секции 2018 и которая удалена от центральной оси корпусной втулки 201’’. Соединительная секция 2018 используется для продолжения в пространство между блокирующей лапкой и основным стволом 223'' на вилке 100'' волоконно-оптического соединителя. В частности, соединительная часть 2018 используется для сопряжения с блокирующей канавкой 22356, и защелкивающаяся часть 2019 используется для вставки в отверстие 22357.
На Фиг. 63 показано схематичное представление состояния, в котором вилка 100'' волоконно-оптического соединителя вставлена в волоконно-оптический адаптер 200''. На Фиг. 64 показано увеличенное схематичное представление части V (Фиг. 63). На Фиг. 64 показано схематичное представление состояния блокировки между вилкой 100'' волоконно-оптического соединителя и волоконно-оптическим адаптером 200''. На Фиг. 65 показано схематичное представление состояния разблокировки между вилкой 100'' волоконно-оптического соединителя и волоконно-оптическим адаптером 200''.
Как показано на Фиг. 64, в процессе вставки вилки 100" волоконно-оптического соединителя в волоконно-оптический адаптер 200" вторая блокирующая структура L2" волоконно-оптического адаптера 200" выравнивается для формирования открытого положения блокирующей канавки 22356 на торце с блокирующей частью 2235". Вилка 100'' волоконно-оптического соединителя вставлена в волоконно-оптический адаптер 200'', поэтому соединительная секция 2018 продолжается в блокирующую канавку 22356, и защелкивающаяся часть 2019 находится в позиции отверстия 22357. Затем скользящий элемент 40'' скользит, заставляя стопорную структуру 404' скользить в зазор между соединительной секцией 2018 и основным стволом 223''. В этом состоянии стопорная структура 404' может упираться в соединительную секцию 2018, чтобы заблокировать защелкивающуюся часть 2019 в отверстии 22357, чтобы обеспечить фиксацию между вилкой 100'' волоконно-оптического соединителя и соответствующим волоконно-оптическим адаптером 200''.
Как показано на Фиг. 65, скользящий элемент 40'' скользит, заставляя стопорную структуру 404' покинуть зазор между соединительной секцией 2018 и основным стволом 223''. В этом состоянии соединительная секция 2018 отклоняется в одну сторону основного ствола 223'' под действием упругой деформации соединительной секции 2018, поэтому защелкивающаяся часть 2019 может быть отделена от отверстия 22357 для осуществления разблокировки.
Приведенные выше описания являются просто конкретными реализациями настоящей заявки, но не предназначены для ограничения объема защиты настоящей заявки. Любая вариация или замена, легко выясненная специалистом в данной области техники в рамках технического объема, раскрытого в настоящей заявке, должна подпадать под объем охраны настоящей заявки. Таким образом, объем охраны настоящей заявки должен соответствовать объему защиты формулы изобретения.
Изобретение относится к области волоконно-оптической связи. Вилка волоконно-оптического соединителя содержит: оптическое волокно; наконечник, прикрепленный к переднему концу оптического волокна; основной корпус, имеющий форму втулки и расположенный по периферии оптического волокна; и переднюю защитную втулку, закрепленную на одном конце основного корпуса и охватывающую наконечник. Торец, который относится к наконечнику и который находится на удалении от оптического волокна, является передним торцом наконечника, и торец, который относится к передней защитной втулке и который находится на удалении от основного корпуса, является передним торцом передней защитной втулки. Передний торец наконечника находится заподлицо с передним торцом передней защитной втулки, или в осевом направлении передний торец наконечника расположен между передним торцом передней защитной втулки и задним торцом передней защитной втулки, причем задний торец передней защитной втулки является торцом, который относится к передней защитной втулке и который обращен к основному корпусу. Устройство обеспечивает миниатюризацию конструкции. 2 н. и 15 з.п. ф-лы, 65 ил.
1. Вилка волоконно-оптического соединителя, содержащая:
оптическое волокно;
наконечник, прикрепленный к переднему концу оптического волокна;
основной корпус, имеющий форму втулки и расположенный по периферии оптического волокна; и
переднюю защитную втулку, закрепленную на одном конце основного корпуса и охватывающую наконечник, причем торец, который относится к наконечнику и который находится на удалении от оптического волокна, является передним торцом наконечника и торец, который относится к передней защитной втулке и который находится на удалении от основного корпуса, является передним торцом передней защитной втулки; передний торец наконечника находится заподлицо с передним торцом передней защитной втулки или в осевом направлении передний торец наконечника расположен между передним торцом передней защитной втулки и задним торцом передней защитной втулки, причем задний торец передней защитной втулки является торцом, который относится к передней защитной втулке и который обращен к основному корпусу; между передней защитной втулкой и наконечником образован паз, который используется для размещения в нем втулки наконечника волоконно-оптического адаптера, поэтому торец втулки наконечника расположен в пазу; и наконечник используется для вставки во втулку наконечника;
в которой первая направляющая структура расположена на внешней поверхности передней защитной втулки и первая направляющая структура используется для сопряжения с направляющей шпонкой на волоконно-оптическом адаптере;
вторая направляющая структура расположена на внешней поверхности основного корпуса и вторая направляющая структура и первая направляющая структура соединены и совместно используются для сопряжения с направляющей шпонкой на волоконно-оптическом адаптере; и
вторая направляющая структура является структурой с канавкой, структурой с вырезом или выпуклой структурой.
2. Вилка волоконно-оптического соединителя по п. 1, в которой первая направляющая структура продолжается в осевом направлении.
3. Вилка волоконно-оптического соединителя по п. 1 или 2, в которой в радиальном направлении первая направляющая структура является структурой с канавкой, расположенной на внешней поверхности передней защитной втулки, первая направляющая структура продолжается через внутреннюю поверхность и внешнюю поверхность передней защитной втулки или первая направляющая структура расположена с выступом на внешней поверхности передней защитной втулки.
4. Вилка волоконно-оптического соединителя по любому из пп. 1-3, в которой
передний торец передней защитной втулки имеет замкнутую кольцевую структуру;
один паз расположен на конце, который относится к передней защитной втулке и который находится рядом с задним торцом передней защитной втулки, поэтому передний торец передней защитной втулки образует незамкнутую непрерывно продолжающуюся поверхность; или
два паза, находящиеся напротив друг друга, расположены на конце, который относится к передней защитной втулке и который находится рядом с передним торцом передней защитной втулки, поэтому между двумя пазами сформирован передний торец передней защитной втулки.
5. Вилка волоконно-оптического соединителя по любому из пп. 1-4, в которой первая ограничивающая структура расположена на поверхности наконечника, вторая ограничивающая структура расположена на внутренней поверхности передней защитной втулки и первая ограничивающая структура плотно прилегает к второй ограничивающей структуре для предотвращения вращения наконечника и передней защитной втулки относительно друг друга.
6. Вилка волоконно-оптического соединителя по п. 5, в которой первая ограничивающая структура содержит первую плоскость, вторая ограничивающая структура расположена с выступом на внутренней поверхности передней защитной втулки, вторая ограничивающая структура содержит вторую плоскость, обращенную к наконечнику, и первая плоскость соприкасается с второй плоскостью.
7. Вилка волоконно-оптического соединителя по любому из пп. 1-6, в которой основной корпус содержит основной ствол и установочный элемент, которые оба имеют форму втулки, и установочный элемент соединен с концом, который относится к основному стволу и который обращен к передней защитной втулке; первая стопорная структура расположена на внешней поверхности втулки, установочный элемент содержит корпус установочного элемента и вторую стопорную структуру и вторая стопорная структура расположена на переднем конце тела установочного элемента и выступает от внутренней поверхности тела установочного элемента; и часть наконечника размещена внутри установочного элемента, первая стопорная структура плотно прилегает к второй стопорной структуре для предотвращения выхода наконечника из установочного элемента с переднего конца тела установочного элемента и передняя защитная втулка надевается на внешнюю поверхность установочного элемента и крепится к установочному элементу.
8. Вилка волоконно-оптического соединителя по п. 7, в которой установочный элемент дополнительно содержит упругий зажимной крючок, упругий зажимной крючок выполнен на переднем конце тела установочного элемента, передняя защитная втулка имеет зажимную канавку или отверстие и упругий зажимной крючок входит в зажимную канавку или отверстие для крепления установочного элемента к передней защитной втулке.
9. Вилка волоконно-оптического соединителя по п. 7, в которой задний торец тела установочного элемента и задний торец передней защитной втулки расположены в одной плоскости и вместе образуют соединительную торцевую поверхность и соединительная торцевая поверхность соприкасается с торцом основного ствола.
10. Вилка волоконно-оптического соединителя по п. 9, в которой позиционирующая структура расположена на стыке между соединительной торцевой поверхностью и передним торцом основного ствола; и позиционирующая структура используется для позиционирования основного корпуса и передней защитной втулки в окружном направлении и/или позиционирования основного корпуса и установочного элемента в окружном направлении.
11. Вилка волоконно-оптического соединителя по п. 10, в которой первый вырез расположен на заднем торце передней защитной втулки, второй вырез расположен на заднем торце тела установочного элемента, первый вырез и второй вырез расположены напротив друг друга в радиальном направлении, выступ расположен на заднем торце тела основного ствола и выступ входит без зазора в первый вырез и второй вырез.
12. Вилка волоконно-оптического соединителя по любому из пп. 1-11, в которой уплотнительная структура и первая блокирующая структура расположены на внешней поверхности основного корпуса; и в осевом направлении уплотнительная структура расположена между передней защитной втулкой и первой блокирующей структурой, первая блокирующая структура используется для сопряжения с второй блокирующей структурой волоконно-оптического адаптера и уплотнительная структура используется для герметичного соединения внутренней поверхности волоконно-оптического адаптера.
13. Вилка волоконно-оптического соединителя по любому из пп. 1-12, в которой основной корпус содержит основной ствол в виде втулки, основной ствол содержит передний конец и задний конец, которые находятся напротив друг друга, передний конец основного ствола присоединен к передней защитной втулке, основной ствол вмещает в себя оптическое волокно и задний конец крепится к оптическому волокну; и задний конец снабжен сквозным отверстием, сквозное отверстие продолжается через внешнюю поверхность и внутреннюю поверхность основного ствола и сквозное отверстие используется для заливки клея в зазор между волокном и внутренней поверхностью основного ствола.
14. Вилка волоконно-оптического соединителя по п. 13, в которой оптическое волокно содержит сердцевину оптического волокна, армированный слой, выполненный вокруг сердцевины волокна, и внешний слой, выполненный вокруг армированного слоя; часть сердцевины оптического волокна выходит из армированного слоя и крепится к наконечнику и часть армирующего слоя не охвачена наружным слоем; и клей используется для крепления армированного слоя к основному стволу.
15. Узел волоконно-оптического соединителя, содержащий вилку волоконно-оптического соединителя по любому из пп. 1-14 и волоконно-оптический адаптер, при этом волоконно-оптический адаптер, содержащий корпусную втулку и втулку наконечника, в котором втулка наконечника соединена внутри корпусной втулки и внутри корпуса втулки расположено первое аккомодационное пространство, сообщающееся с внутренним пространством втулки наконечника; первое аккомодационное пространство используется для размещения вилки волоконно-оптического соединителя и втулка наконечника используется для размещения наконечника вилки волоконно-оптического соединителя; и внутренняя поверхность корпусной втулки используется для контакта с внешней поверхностью передней защитной втулки вилки волоконно-оптического соединителя, первый паз образован между корпусной втулкой и втулкой наконечника и первый паз используется для размещения в нем части передней защитной втулки.
16. Узел волоконно-оптического соединителя по п. 15, в котором направляющая шпонка расположена на внутренней поверхности корпусной втулки, направление продолжения направляющей шпонки совпадает с направлением продолжения центральной оси втулки наконечника и направляющая шпонка используется для установки первой направляющей структуры на переднюю защитную втулку вилки волоконно-оптического соединителя.
17. Узел волоконно-оптического соединителя по п. 15, в котором корпусная втулка содержит первый конец, второй конец и корпусную часть, соединенную между первым концом и вторым концом; и втулка наконечника соединена внутри корпусной части, вторая блокирующая структура расположена на первом конце, вторая блокирующая структура используется для сопряжения с первой блокирующей структурой вилки волоконно-оптического соединителя и внутренняя поверхность корпусной части герметично соединена с уплотняющей структурой вилки волоконно-оптического соединителя.
| CN 110542952 A, 06.12.2019 | |||
| CN 111308615 A, 19.06.2020 | |||
| US 20140105542 A1, 17.04.2014. |
Авторы
Даты
2025-03-05—Публикация
2021-03-23—Подача