Область техники, к которой относится изобретение
Изобретение относится к электрическим машинам, в частности к линейным электродвигателям, которые находят широкое применение в дискретном электроприводе.
Уровень техники
Известен линейный электродвигатель, состоящий из статора, собранного из магнитных и немагнитных элементов и намагничивающих катушек, якоря, выполненного из чередующихся магнитных и немагнитных колец, причем форма сечения торцов основных и промежуточных полюсов статора имеет вид усеченной неравнобедренной трапеции, образованной двумя фасками под внешними углами 45 и 60°, прилегающими к поверхностям немагнитной вставки статора и якоря и образующими соотношение толщины сечения магнитопровода статора к вершине усеченной трапеции торца полюсов статора 4:1; форма сечения торцов магнитных колец якоря имеет вид неправильного прямоугольника, образованного фасками под внешним углом 60°, прилегающими к внутренней поверхности статора при соотношении длины торца магнитных колец якоря к их максимальной длине 1:4 (см. патент РФ № 2361353, Кл. Н02К 41/03, опубл. 10.07.2009).
Недостатком конструкции линейного электродвигателя являются малая сила тяги, низкий коэффициент полезного действия.
Известен линейный электродвигатель, состоящий из статора, собранного из магнитных и немагнитных элементов и намагничивающих катушек, якоря, выполненного из чередующихся магнитных и немагнитных колец, причем форма сечения торцов левых магнитных полюсов и правых торцов промежуточных полюсов имеет вид прямоугольного треугольника, образованного фасками, прилегающими под внешним углом 45° к поверхности немагнитных вставок, форма сечения правых торцов магнитных колец якоря имеет вид прямоугольного треугольника, образованного фасками, под углом 60° прилегающими к поверхности немагнитного стержня (см. патент РФ № 2543512, Кл. Н02К 41/02, опубл. 10.03.2015).
Недостатком конструкции линейного электродвигателя являются малая сила тяги, низкий коэффициент полезного действия.
Наиболее близким по технической сущности и достигаемому эффекту и принятый авторами за прототип является линейный электродвигатель, состоящий из статора, магнитного корпуса, намагничивающей катушки, а также он дополнительно снабжен немагнитным каркасом с установленным на нем верхним магнитным полюсом, сечение которого имеет форму прямоугольной трапеции, торцевым магнитным полюсом, нижним магнитным полюсом, имеющий выборку в виде цилиндра, закрепленные при помощи болтов к магнитному корпусу, при этом якорь, располагающийся в статоре при помощи немагнитного каркаса и немагнитной вставки, выполнен с возможностью роли подшипников скольжения и состоит из верхнего магнитопровода, имеющего форму усеченного конуса, нижнего магнитопровода и немагнитной втулки, насаженных на немагнитный стержень, а также из возвратной пружины, установленной между торцевым магнитным полюсом и шайбой, закрепленной гайкой (см. патент РФ № 2694811, Кл. Н02К 33/02, опубл. 17.07.2019).
Недостатком конструкции линейного электродвигателя являются низкая сила тяги, низкий коэффициент полезного действия, малая длина хода.
Раскрытие изобретения
Задачей изобретения является разработка линейного электродвигателя, обладающего повышенной силой тяги, повышенным коэффициентом полезного действия, увеличенной длиной хода якоря, за счет наличия первой и второй намагничивающих катушек в момент пуска вторая намагничивающая катушка обладает максимальной силой тяги, а в конце рабочего хода первая намагничивающая катушка достигает максимальных значений силы тяги из-за уменьшения рабочего зазора.
Технический результат, который может быть получен с помощью предлагаемой конструкции, сводится к повышению силы тяги, повышению коэффициента полезного действия, а также увеличению длины хода якоря.
Технический результат достигается тем, что линейный электродвигатель, содержащий статор, якорь, магнитный корпус, вторую намагничивающую катушку, при этом он дополнительно снабжен первой намагничивающей катушкой, установленной на неподвижном магнитопроводе, имеющем начальный рабочий зазор длиной Δ1 с подвижным магнитопроводом, а также пружиной, установленной между подвижным магнитопроводом и немагнитным полюсом, магнитный корпус, в котором при помощи болта закреплена вторая намагничивающая катушка, установленная на магнитопроводе, состоящем из верхнего магнитопровода, немагнитной вставки и нижнего магнитопровода, при этом якорь закреплен в статоре при помощи торцевой крышки, установленной на магнитный корпус, а также закрепленной при помощи болта немагнитной шайбы.
Краткое описание чертежей
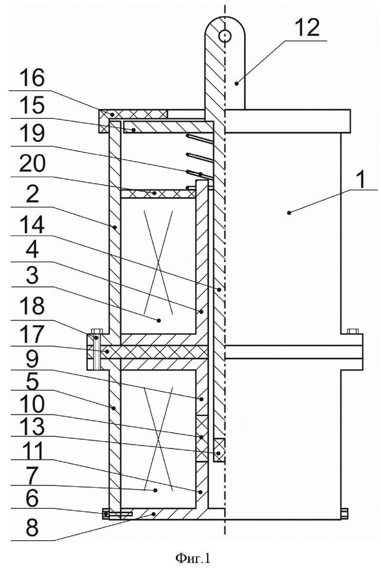
На фиг.1 представлен общий вид линейного электродвигателя.
На фиг.2 представлен разрез линейного электродвигателя с нанесением основных магнитных потоков в начале рабочего хода.
На фиг.3 представлен разрез линейного электродвигателя с нанесением основных магнитных потоков в конце рабочего хода.
Осуществление изобретения
Линейный электродвигатель (см. фиг.1, 2, 3) содержит статор 1, который состоит из магнитного корпуса 2, в котором расположена первая намагничивающая катушка 3, установленная на неподвижном магнитопроводе 4, магнитный корпус 5, в котором при помощи болта 6 закреплена вторая намагничивающая катушка 7, установленная на магнитопроводе 8, состоящем из верхнего магнитопровода 9, немагнитной вставки 10 и нижнего магнитопровода 11, якорь 12, состоящий из немагнитной втулки 13, магнитной втулки 14 с закрепленным на нем подвижным магнитопроводом 15, при этом якорь 12 закреплен в статоре 1 при помощи торцевой крышки 16, установленной на магнитный корпус 2, при этом между первой намагничивающей катушкой 3 и второй намагничивающей катушкой 7 устанавливается немагнитная шайба 17, закрепленная болтом 18 между магнитным корпусом 2 и магнитным корпусом 5, а также пружина 19, установленная между подвижным магнитопроводом 15 и немагнитным полюсом 20.
Предлагаемый линейный электродвигатель работает следующим образом (см. фиг.1, 2, 3): при отсутствии питания на первой намагничивающей катушке 3 и второй намагничивающей катушке 7, расположенных в статоре 1, якорь 12 занимает верхнее положение под действием пружины 19. При подаче напряжения 24 В на первую намагничивающую катушку 3 и вторую намагничивающую катушку 7 по ним начинают протекать токи, создающие магнитный поток Ф1 от первой намагничивающей катушки 3 и магнитный поток Ф2 от второй намагничивающей катушки 7 (см. фиг.2), закрепленной при помощи болта 6. Магнитный поток Ф1, проходя по магнитному корпусу 2 и подвижному магнитопроводу 15, разделяется на рабочий магнитный поток Ф1р, проходящий по начальному рабочему зазору длиной Δ1, и шунтирующий магнитный поток Ф1ш, проходящий по магнитной втулке 14. Далее эти потоки суммируются в неподвижном магнитопроводе 4. Магнитный поток Ф2, проходя по магнитному корпусу 5 и магнитопроводу 8 в верхнем магнитопроводе 9, в месте расположения немагнитной вставки 10, разделяется на рабочий магнитный поток Ф2р, проходящий по магнитной втулке 14 и немагнитной втулке 13, шунтирующий магнитный поток Ф2ш, проходящий по немагнитной вставке 10, рассеиваемый магнитный поток Ф2δ, проходящий по второй намагничивающей катушке 7, далее они суммируются в нижнем магнитопроводе 11. Разделение магнитного потока Ф1 после прохождения подвижного магнитопровода 15 на рабочий магнитный поток Ф1р и шунтирующий магнитный поток Ф1ш происходит при соотношении магнитных сопротивлений начального рабочего зазора длиной Δ1 и магнитной втулки 14, равном 5:1. Разделение магнитного потока Ф2 происходит из-за наличия немагнитной вставки 10, что приводит к появлению магнитных потоков Ф2р, Ф2ш, и Ф2δ из-за соизмеримости магнитных сопротивлений прохождению этих потоков. В результате прохождения магнитных потоков Ф1р и Ф2р возникают электромагнитные силы F1min и F2max, которые приводят к перемещению якоря 12 в нижнее положение, преодолевая силу пружины Fпр. При достижении якорем 12 нижнего положения (см. фиг.3) за счет снижения магнитного сопротивления в конечном рабочем зазоре Δ2 исчезает шунтирующий магнитный поток Ф1ш, а рабочий магнитный поток Ф1р увеличивается в 5 раз, соответственно, увеличивается электромагнитная сила F1max. Также в нижнем положении якоря 12 в месте установки немагнитной вставки 10 из-за снижения магнитного сопротивления рабочему магнитному потоку Ф2р исчезает шунтирующий магнитный поток Ф2ш и рассеиваемый магнитный поток Ф2δ, при этом электромагнитная сила второй намагничивающей катушки 7, перемещающая якорь 12, снижается до F2min. Для исключения взаимного влияния магнитных потоков Ф1 и Ф2 используется немагнитная шайба 17, закрепленная болтом 18.
За счет наличия второй намагничивающей катушки 7 в момент начала работы устройства якорь 12 начинает движение, причем соотношение F1min и F2max будет равным 1/5 из-за наличия начального рабочего зазора Δ1. При перемещении якоря 12 в нижнее положение длина рабочего зазора уменьшается до Δ2, соответственно, снижается сопротивление прохождению магнитного потока Ф1р, при этом в 5 раз увеличивается электромагнитная сила F1max, а электромагнитная сила F2min уменьшается практически до нуля. Это способствует повышению силы тяги, коэффициента полезного действия и длине хода якоря 12.
После отключения напряжения от первой намагничивающей катушки 3 и второй намагничивающей катушки 7 исчезают магнитные потоки Ф1 и Ф2, а, следовательно, и рабочие магнитные потоки Ф1р и Ф2р, при этом якорь 12 под действием пружины 19, упираясь в немагнитный полюс 20, возвращается в верхнее положение, до упора в торцевую крышку 16.
По сравнению с прототипом и другими известными техническими решениями предлагаемый линейный электродвигатель имеет ряд преимуществ:
- за счет наличия первой намагничивающей катушки повышается сила тяги;
- за счет наличия первой намагничивающей катушки увеличивается коэффициент полезного действия;
- за счет совместной работы первой и второй намагничивающих катушек увеличивается длина хода якоря.
| название | год | авторы | номер документа |
|---|---|---|---|
| ЛИНЕЙНЫЙ ЭЛЕКТРОДВИГАТЕЛЬ | 2018 |
|
RU2700666C1 |
| СУЧКОРЕЗ | 2020 |
|
RU2732350C1 |
| ЭЛЕКТРОМОЛОТОК | 2022 |
|
RU2787297C1 |
| ЛИНЕЙНЫЙ ЭЛЕКТРОДВИГАТЕЛЬ | 2018 |
|
RU2705205C1 |
| НОЖОВОЧНАЯ ПИЛА | 2020 |
|
RU2743368C1 |
| ЛИНЕЙНЫЙ ЭЛЕКТРОДВИГАТЕЛЬ | 2018 |
|
RU2694811C1 |
| Линейный электродвигатель | 2022 |
|
RU2792975C1 |
| ЛИНЕЙНЫЙ ЭЛЕКТРОДВИГАТЕЛЬ | 2007 |
|
RU2361353C2 |
| ЛИНЕЙНЫЙ ЭЛЕКТРОДВИГАТЕЛЬ | 2013 |
|
RU2543512C1 |
| Амортизатор на основе линейного электродвигателя | 2021 |
|
RU2763617C1 |
Изобретение относится к области электротехники, в частности к линейным электродвигателям, применяемым в дискретном электроприводе. Технический результат – повышение силы тяги, повышение коэффициента полезного действия, а также увеличение длины хода якоря. Линейный электродвигатель содержит статор, состоящий из магнитного корпуса, в котором расположена первая намагничивающая катушка, и магнитного корпуса, в котором расположена вторая намагничивающая катушка. Между указанными магнитными корпусами закреплена немагнитная шайба. Первая намагничивающая катушка установлена на магнитопроводе и ограничена с торца немагнитным полюсом. Вторая намагничивающая катушка установлена на магнитопроводе, состоящем из верхнего и нижнего магнитопроводов, между которыми размещена немагнитная вставка. Якорь состоит из немагнитной втулки и магнитной втулки, на которой закреплен подвижный магнитопровод. Якорь закреплен в статоре при помощи торцевой крышки, установленной на магнитный корпус, в котором расположена первая намагничивающая катушка, со стороны немагнитного полюса, а пружина установлена между подвижным магнитопроводом и немагнитным полюсом так, чтобы обеспечивался начальный рабочий зазор длиной Δ1. Соотношение магнитных сопротивлений начального рабочего зазора длиной Δ1 и магнитной втулки якоря равно 5:1. 3 ил.
Линейный электродвигатель, содержащий статор, якорь, пружину, отличающийся тем, что статор состоит из магнитного корпуса, в котором расположена первая намагничивающая катушка, и магнитного корпуса, в котором расположена вторая намагничивающая катушка, причем между указанными магнитными корпусами закреплена болтом немагнитная шайба, первая намагничивающая катушка установлена на магнитопроводе и ограничена с торца, противоположного относительно второй намагничивающей катушки, немагнитным полюсом, вторая намагничивающая катушка установлена на магнитопроводе, состоящем из верхнего и нижнего магнитопроводов, между которыми размещена немагнитная вставка, якорь состоит из немагнитной втулки и магнитной втулки, на которой закреплен подвижный магнитопровод, при этом якорь закреплен в статоре при помощи торцевой крышки, установленной на магнитный корпус, в котором расположена первая намагничивающая катушка, со стороны немагнитного полюса, а пружина установлена между подвижным магнитопроводом и немагнитным полюсом так, чтобы обеспечивался начальный рабочий зазор длиной Δ1, причем соотношение магнитных сопротивлений начального рабочего зазора длиной Δ1 и магнитной втулки якоря равно 5:1.
| ЛИНЕЙНЫЙ ЭЛЕКТРОДВИГАТЕЛЬ | 2018 |
|
RU2694811C1 |
| ЛИНЕЙНЫЙ ЭЛЕКТРОДВИГАТЕЛЬ | 2013 |
|
RU2543512C1 |
| ЛИНЕЙНЫЙ ЭЛЕКТРОДВИГАТЕЛЬ | 1995 |
|
RU2108651C1 |
| ЛИНЕЙНЫЙ ЭЛЕКТРОДВИГАТЕЛЬ | 1990 |
|
RU2031518C1 |
| ЭЛЕКТРОМАГНИТНЫЙ НАСОС | 1993 |
|
RU2074983C1 |
| CN 107733201 A, 23.02.2018. | |||
Авторы
Даты
2025-03-05—Публикация
2024-08-02—Подача