КОЛОРИМЕТРИЧЕСКИЙ ДАТЧИК ДЛЯ ОБНАРУЖЕНИЯ БАКТЕРИЙ И/ИЛИ ВИРУСОВ Российский патент 2025 года по МПК G01N33/569 G01N21/552 G01N21/78 G02B1/00 

Описание патента на изобретение RU2835937C2

ОБЛАСТЬ ТЕХНИКИ

Данное изобретение относится к колориметрическому датчику для обнаружения бактерий и/или вирусов.

УРОВЕНЬ ТЕХНИКИ

Известны колориметрические датчики для обнаружения возбудителей бактериального загрязнения, таких как бактерии Escherichia coli.

Пример колориметрического датчика для обнаружения бактерий, таких как бактерии Escherichia coli, описан в работе G.M. Paternò, L. Moscardi, S. Donini, D. Ariodanti, I. Kriegel, M. Zani, E. Parisini, F. Scotognella, G. Laznani, «Hybrid One-Dimensional Plasmonic Photonic Crystals for Optical Detection of Bacteria Contaminants», J. Phys. Chem. Lett. 2019, 10, 4980-4986. Такой датчик содержит слой серебра (плазмонный металл) и одномерный фотонный кристалл. Серебро проявляет биологическую чувствительность к наличию бактерий Escherichia coli, при соприкосновении с которыми происходит изменение его фотонных характеристик. Иначе говоря, если присутствие бактерий обнаруживается, например, в случае соприкосновения продуктов секреции субъекта исследований со слоем серебра, наблюдается изменение цвета датчика.

В то же время для обнаружения других возбудителей бактериального загрязнения, а также вирусов, как правило, имеющих гораздо меньшие размеры, чем бактерии, требуется более высокая чувствительность датчика.

СУЩНОСТЬ ИЗОБРЕТЕНИЯ

Поэтому целью данного изобретения является создание колориметрического датчика с повышенной чувствительностью, позволяющего выполнять точное обнаружение бактерий, а также вирусов, в том числе вируса COVID-19.

Эта и другие цели достигаются с помощью колориметрического датчика для обнаружения бактерий и/или вирусов по п. 1 формулы изобретения и колориметрического датчика для обнаружения бактерий и/или вирусов по п. 19 формулы изобретения.

Зависимые пункты формулы изобретения определяют возможные обеспечивающие преимущество варианты реализации изобретения.

КРАТКОЕ ОПИСАНИЕ ГРАФИЧЕСКИХ МАТЕРИАЛОВ

Для получения лучшего представления об изобретении и положительной оценки его преимуществ, некоторые иллюстративные неограничивающие варианты его реализации описываются ниже с использованием прилагаемых графических материалов, на которых:

фиг. 1 представляет собой схематическое изображение в поперечном разрезе колориметрического датчика согласно первому возможному варианту реализации изобретения;

фиг. 2 представляет собой схематическое изображение в поперечном разрезе колориметрического датчика согласно второму возможному варианту реализации изобретения;

фиг. 3 представляет собой схематическое изображение в поперечном разрезе колориметрического датчика, которое не является частью данного изобретения;

фиг. 4 представляет собой схематическое изображение в поперечном разрезе колориметрического датчика согласно четвертому возможному варианту реализации изобретения;

фиг. 5 представляет собой схематическое изображение в поперечном разрезе колориметрического датчика согласно пятому возможному варианту реализации изобретения;

фиг. 6 представляет собой схематическое изображение в поперечном разрезе колориметрического датчика согласно шестому возможному варианту реализации изобретения;

фиг. 7 представляет собой схематическое изображение в поперечном разрезе одномерного фотонного кристалла;

фиг. 8a-8c представляют собой аксонометрические изображения для различных условий применения комплекта, содержащего колориметрический датчик согласно возможному варианту реализации изобретения;

фиг. 9a-9c представляют собой аксонометрические изображения для различных условий применения комплекта, содержащего колориметрический датчик согласно другому возможному варианту реализации изобретения;

фиг. 10a-10c представляют собой аксонометрические изображения для различных условий применения комплекта, содержащего колориметрический датчик согласно другому возможному варианту реализации изобретения;

На фиг. 11 представлена схема поперечного сечения колориметрического датчика, которая не является частью данного изобретения;

фиг. 12-14 представляют собой схематические изображения в поперечном разрезе колориметрического датчика согласно другим возможным вариантам реализации изобретения.

ПОДРОБНОЕ ОПИСАНИЕ СУЩНОСТИ ИЗОБРЕТЕНИЯ

На прилагаемых фиг. 1-6 колориметрический датчик для обнаружения бактерий и/или вирусов схематично обозначен позиционным номером 1. Датчик 1 может быть выполнен, например, в виде бирки, наносимой на одну или несколько плоских поверхностей или на свернутое в рулон основание, или, например, наносимой на приспособление 200, например, как показано на фиг. 8-10. В качестве примера, непосредственно или опосредованным способом с помощью извлекающего устройства 201 приспособления 200 сформированный в бирке датчик 1 может быть погружен в контейнер с помещаемым в него образцом подлежащих анализу продуктов секреции субъекта исследований. Или же непосредственно или опосредованным способом с помощью извлекающего устройства 201 приспособления 200 сформированный в бирке датчик 1 может наноситься, например, на язык того субъекта исследований, у которого требуется проверить наличие инфекции.

Например, как показано на фиг. 8a-8c, приспособление 200 может содержать основание 202 с формой лопатки, на которое наносится датчик 1.

Как показано на фиг. 9a-9c, приспособление 200 может содержать основание 202 с формой лопатки, на которое наносится датчик 1, и второе основание 203 с формой лопатки, на которое наносится извлекающее устройство 201. Поворот второго основания 203 лопатки по отношению к основанию 202 лопатки приводит к возникновению соприкосновения извлекающего устройства 201 с датчиком 1. Согласно представленному варианту реализации изобретения относительный поворот оснований лопаток происходит вокруг оси, перпендикулярной продольным осям оснований лопаток, соосно ориентированных относительно друг друга.

Как показано на фиг. 10a-10c, приспособление 200 может содержать основание 202 с формой лопатки, на которое наносится датчик 1, и второе основание 203 с формой лопатки, на которое наносится извлекающее устройство 201. Поворот второго основания 203 лопатки по отношению к основанию 202 лопатки приводит к возникновению соприкосновения извлекающего устройства 201 с датчиком 1. Согласно представленному варианту реализации изобретения относительный поворот оснований лопаток происходит вокруг оси, параллельной продольным осям оснований лопаток, расположенных в ряд параллельно друг к другу.

Согласно возможному варианту реализации колориметрический датчик 1 предпочтительно содержит опорный слой 2, выполняющий функцию основания для других вышележащих слоев. В иллюстративном неограничивающем варианте реализации опорный слой 2 может быть выполнен из поликарбоната или ПВХ, или синтетического материала Teslin, или полиэстера, или подобных материалов, или может быть изготовлен из бумажного материала.

Колориметрический датчик 1 содержит один или несколько, предпочтительно совокупность слоев 3’, 3”,…, имеющих структуру фотонного кристалла, предпочтительно перекрывающих опорный слой 2. В оптике и микрофотонике термин «фотонный кристалл» означает структуру, в которой значения показателя преломления изменяются с периодичностью, размерность которой сопоставима с длиной волны светового излучения или, в более общем случае, электромагнитного излучения. По типу периодического изменения показателя преломления фотонные кристаллы классифицируются на:

- одномерные фотонные кристаллы, для которых периодичность изменений показателя преломления существует только в одном направлении (также известные как брэгговские зеркала);

- двумерные фотонные кристаллы, для которых периодичность изменений показателя преломления существует в двух направлениях;

- трехмерные фотонные кристаллы, для которых периодичность изменений показателя преломления существует в трех направлениях.

Согласно варианту реализации изобретения слои 3, 3”... со структурой фотонного кристалла содержат структуру одномерного фотонного кристалла. Как показано на фиг. 7, структура одномерного фотонного кристалла содержит совокупность слоев, имеющих соответствующие показатели преломления n1, n2, n3, n4. Для заданного светового луча 101, падающего под углом падения α, суммарное отраженное световое излучение имеет вид светового пучка 102 отраженных световых лучей. С помощью надлежащего выбора периодичности и показателей преломления слоев можно изготавливать зеркала, имеющие очень высокие значения коэффициента отражения, соответствующие определенному диапазону длин волн. В результате при изменении угла падения α падающего светового луча 101, наблюдатель, находящийся в стационарном положении по отношению к структуре фотонного кристалла, будет наблюдать изменение цвета структуры. Аналогичным образом наблюдатель увидит изменения цвета в структуре фотонного кристалла, если при том же угле падения падающего светового луча он/она изменит свое положение и/или ориентацию по отношению к структуре фотонного кристалла, а следовательно, по отношению к световому пучку 102 отраженного светового излучения.

Согласно варианту реализации изобретения слои 3, 3”... со структурой фотонного кристалла содержат совокупность чередующихся слоев диоксида кремния (SiO2) и диоксида титана (TiO2).

Кроме того, колориметрический датчик 1 содержит функциональный слой 4, содержащий наноматериал, выполненный с возможностью генерировать в определенных условиях возбуждение поверхностных электронов, иначе говоря, поверхностный плазмон, биологически чувствительный к присутствию бактерий и/или вирусов, непосредственно или опосредованным способом перекрывающий один или несколько слоев 3’, 3”,… со структурой фотонного кристалла. В данном описании и прилагаемой формуле изобретения термин «биологически чувствительный» означает то, что рассматриваемый материал при возникновении соприкосновения с молекулами бактерий или вирусов ими активизируется и изменяет свои характеристики, в частности изменяет энергию плазмонного резонанса, которая зависит от того, что находится на границе раздела между материалом и бактерией/вирусом. Поэтому любой элемент, выполненный с возможностью создания связи с поверхностью наночастицы наноматериала, будет способствовать изменению энергии плазмонов, в результате чего будут наблюдаться цвета, отличающиеся от цветов макроскопического материала.

Например, известны антибактериальные свойства серебра, которое изменяет электростатические характеристики своей поверхности за счет связывания с бактериальной мембраной. Более того, недавние исследования показали, что коллоидное серебро и золото биологически чувствительны к некоторым вирусам.

Согласно варианту реализации изобретения наноматериал функционального слоя 4 содержит серебро или материал на основе серебра (например, коллоидное серебро), или золото, или материал на основе золота. Очевидно, что могут быть предложены другие не упомянутые конкретно наноматериалы, которые не являются плазмонными и не проявляют биологической чувствительности к определенным вирусам или бактериям.

Функциональный слой 4 предпочтительно имеет наноразмерную толщину, иначе говоря, находящуюся в нанометровом диапазоне. Согласно возможному варианту реализации функциональный слой 4 имеет толщину, находящуюся в пределах от 4 до 20 нанометров. Этот очень тонкий слой может наноситься, например, с помощью различных методов нанесения: вакуумным напылением, катодным распылением, физическим осаждением из газовой фазы или другими методами напыления.

Иначе говоря, если бактерии обнаружены, например, в случае соприкосновения продуктов секреции субъекта исследований, инфицированного бактериями, с функциональным слоем 4, изменение структуры последнего, как описывается выше в данном документе, вследствие своей биологической чувствительности вызывает изменение энергии плазмонов на участках наноматериала, соприкасающихся с самими бактериями, демонстрируя на таких участках цвета, отличающиеся от цветов макроскопического материала. Такое изменение цвета усиливается общей интерференционной электрооптической структурой слоев 3’, 3”,… фотонного кристалла датчика 1.

Согласно варианту реализации функциональный слой 4 выборочно наносят таким образом, чтобы сформировать, например, буквенно-цифровую строку, изображение, символ или код. Например, функциональный слой 4 может быть нанесен таким образом, чтобы были видны одна или несколько надписей, указывающих на бактерии или вирус, которые требуется идентифицировать (например, COVID-19).

Кроме того, известно, что некоторые белковые вещества или антитела действуют как рецепторы вирусов. Например, было выявлено, что в случае COVID-19 и SARS-CoV белок ACE2 (ангиотензинпревращающая система 2) действует как мембранный рецептор. Заявитель неожиданно обнаружил, что добавление таких белков или антител к функциональному слою 4 позволяет датчику 1 выполнять обнаружение также вирусов, в том числе вирусов COVID-19, присутствующих, например, в продуктах секреции людей или других субъектов исследований, или в иных жидкостях, и способствует изменению энергии плазмонов, вызывая, также и в данном случае, интерференционное электрооптическое изменение структуры датчика, содержащего слои 3, 3”… со структурой фотонного кристалла, что в свою очередь вызывает оптически наблюдаемое изменение цвета.

Для этого датчик 1 содержит рецепторный слой 5, содержащий вышеуказанные белковые вещества или антитела, действующие как вирусные рецепторы, при этом функциональный слой 4 и рецепторный слой 5 перекрывают друг друга, предпочтительно находясь в соприкосновении друг с другом. К тому же рецепторный слой 5 предпочтительно имеет наноразмерную толщину. Согласно варианту реализации датчик 1 дополнительно содержит второй функциональный слой 6, предпочтительно содержащий наноматериал, аналогичный наноматериалу функционального слоя 4, перекрывающего рецепторный слой 5. Кроме того, второй функциональный слой 6 предпочтительно имеет наноразмерную толщину, еще более предпочтительно находящуюся в пределах от 4 до 20 нанометров.

Дополнительно, по отношению к рассматриваемым выше в данном документе, для повышения чувствительности датчика 1, так чтобы он имел возможность более качественно обнаруживать бактерии, а также присутствие вирусов, которые, как правило, имеют гораздо меньшие размеры, чем у бактерий, датчик 1 может содержать плазмонный наноструктурированный слой 7, содержащий вытравленные наноструктуры, создающие плазмонные цвета, перекрывающий слои 3, 3”... со структурой фотонного кристалла.

Иначе говоря, плазмонный наноструктурированный слой 7 представляет собой нановытравленную структуру, состоящую из вытравленных наноструктур, форма которых позволяет увеличивать напряженность электромагнитного поля, создаваемого внутренними для указанных наноструктур фотонными и плазмонными резонансами, что в свою очередь усиливает взаимодействие между световым излучением и веществом, для получения так называемых плазмонных цветов, известных также как структурные цвета. Такие плазмонные цвета получают посредством резонансного взаимодействия между световым излучением и наноструктурами плазмонного наноструктурированного слоя 7 («наноструктурированной решетки»), вытравленными в металлическом слое или в полимерном слое, покрытом металлическими наночастицами. Локализованные на поверхности плазмоны, генерируемые такими наноструктурами, позволяют за счет нанометрического контроля их морфологии создавать поляризованные цвета без участия пигментов. Наноструктуры могут быть изготовлены, например, с помощью электронно-лучевой технологии.

Наноструктуры плазмонного наноструктурированного слоя 7 позволяют вызывать явление поверхностного плазмонного резонанса. Вследствие этого наноструктуры плазмонного наноструктурированного слоя 7 позволяют увеличивать чувствительность датчика 1, иначе говоря, усиливать явление изменения цвета датчика, описываемое выше в данном документе, в случае обнаружения присутствия бактериального возбудителя или, в частности, вируса, в том числе COVID-19.

Согласно варианту реализации изобретения наноструктуры плазмонного наноструктурированного слоя 7 имеют нулевой порядок дифракции, иначе говоря, они выполнены с возможностью создавать исключительно отражение и преломление, но не дифракцию падающих световых волн.

Согласно варианту реализации наноструктуры плазмонного наноструктурированного слоя 7 выполнены с возможностью создания оптического эффекта поляризованного светового излучения.

С использованием прилагаемых фиг. 1-6 в данном документе описываются возможные альтернативные варианты реализации изобретения.

Первый вариант реализации изобретения (фиг. 1)

Согласно этому варианту реализации колориметрический датчик 1 содержит последовательно (снизу вверх с учетом ориентации изображения):

- опорный слой 2;

- совокупность слоев 3’, 3”…, например слоев из SiO2 и TiO2, имеющих структуру чередующихся фотонных кристаллов;

- рецепторный слой 5;

- функциональный слой 4, например из серебра Ag.

Второй вариант реализации изобретения (фиг. 2)

Согласно этому варианту реализации колориметрический датчик 1 содержит последовательно (снизу вверх с учетом ориентации изображения):

- опорный слой 2;

- совокупность слоев 3’, 3”…, например слоев из SiO2 и TiO2, имеющих структуру чередующихся фотонных кристаллов;

- функциональный слой 4, например из серебра Ag;

- рецепторный слой 5.

Третий вариант реализации, который не является частью данного изобретения (фиг. 3)

Согласно этому варианту реализации колориметрический датчик 1 содержит последовательно (снизу вверх с учетом ориентации изображения):

- опорный слой 2;

- совокупность слоев 3’, 3”…, например слоев из SiO2 и TiO2, имеющих структуру чередующихся фотонных кристаллов;

- плазмонный наноструктурированный слой 7;

- функциональный слой 4, например из серебра Ag.

Четвертый вариант реализации изобретения (фиг. 4)

Согласно этому варианту реализации колориметрический датчик 1 содержит последовательно (снизу вверх с учетом ориентации изображения):

- опорный слой 2;

- совокупность слоев 3’, 3”…, например слоев из SiO2 и TiO2, имеющих структуру чередующихся фотонных кристаллов;

- плазмонный наноструктурированный слой 7;

- рецепторный слой 5;

- функциональный слой 4, например из серебра Ag.

Пятый вариант реализации изобретения (фиг. 5)

Согласно этому варианту реализации колориметрический датчик 1 содержит последовательно (снизу вверх с учетом ориентации изображения):

- опорный слой 2;

- совокупность слоев 3’, 3”…, например слоев из SiO2 и TiO2, имеющих структуру чередующихся фотонных кристаллов;

- плазмонный наноструктурированный слой 7;

- функциональный слой 4, например из серебра Ag;

- рецепторный слой 5.

Шестой вариант реализации изобретения (фиг. 6)

Согласно этому варианту реализации колориметрический датчик 1 содержит последовательно (снизу вверх с учетом ориентации изображения):

- опорный слой 2;

- совокупность слоев 3’, 3”…, например слоев из SiO2 и TiO2, имеющих структуру чередующихся фотонных кристаллов;

- плазмонный наноструктурированный слой 7;

- функциональный слой 4, например из серебра Ag;

- рецепторный слой 5;

- второй функциональный слой 6, например из серебра.

Кроме того, следует отметить, что в данном описании и прилагаемой формуле изобретения термин «перекрываемый» по отношению к слоям датчика 1 не обязательно подразумевает также наличие непосредственного соприкосновения между указанными перекрываемыми слоями. Поэтому такие слои могут непосредственно соприкасаться друг с другом или в альтернативном варианте реализации они могут иметь один или несколько промежуточных слоев, расположенных между ними, при условии, что они продолжают перекрывать друг друга. Кроме того, термин «перекрывать» не подразумевает какого-либо порядка следования слоев, указанных как перекрывающие друг друга.

Согласно другому варианту реализации по данному описанию колориметрический датчик 1 может быть лишен слоев 3’, 3”,… имеющих структуру фотонного кристалла, если он содержит плазмонный наноструктурированный слой 7. Действительно, было отмечено, что наличие плазмонного наноструктурированного слоя 7 достаточно для обеспечения пригодной чувствительности даже в отсутствие слоев 3’, 3”,… имеющих структуру фотонного кристалла. Например, все варианты, представленные на фиг. 3-6, могут быть реализованы без наличия слоев 3’, 3’’… при сохранении всех остальных изображенных слоев (фиг. 11-14).

Седьмой вариант реализации, который не является частью данного изобретения (фиг. 11)

Согласно этому варианту реализации колориметрический датчик 1 содержит последовательно (снизу вверх с учетом ориентации изображения):

- опорный слой 2;

- плазмонный наноструктурированный слой 7;

- функциональный слой 4, например из серебра Ag.

Восьмой вариант реализации изобретения (фиг. 12)

Согласно этому варианту реализации колориметрический датчик 1 содержит последовательно (снизу вверх с учетом ориентации изображения):

- опорный слой 2;

- плазмонный наноструктурированный слой 7;

- рецепторный слой 5;

- функциональный слой 4, например из серебра Ag.

Девятый вариант реализации изобретения (фиг. 13)

Согласно этому варианту реализации колориметрический датчик 1 содержит последовательно (снизу вверх с учетом ориентации изображения):

- опорный слой 2;

- плазмонный наноструктурированный слой 7;

- функциональный слой 4, например из серебра Ag;

- рецепторный слой 5.

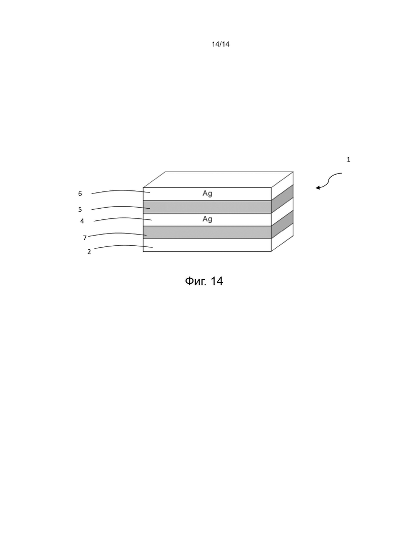
Десятый вариант реализации изобретения (фиг. 14)

Согласно этому варианту реализации колориметрический датчик 1 содержит последовательно (снизу вверх с учетом ориентации изображения):

- опорный слой 2;

- плазмонный наноструктурированный слой 7;

- функциональный слой 4, например из серебра Ag;

- рецепторный слой 5;

- второй функциональный слой 6, например из серебра.

Для удовлетворения конкретных вероятных потребностей специалист в данной области техники в приведенное выше описание колориметрического датчика может вносить множество дополнений, изменений или замещений элементов другими функционально эквивалентными элементами, не выходя за пределы объема прилагаемой формулы изобретения.

Похожие патенты RU2835937C2

название год авторы номер документа
СЕНСОРНЫЙ ЭЛЕМЕНТ И СПОСОБ ДЕТЕКТИРОВАНИЯ ИЗМЕНЕНИЯ СОСТАВА ИССЛЕДУЕМОЙ ЖИДКОЙ ИЛИ ГАЗООБРАЗНОЙ СРЕДЫ 2016
  • Грунин Андрей Анатольевич
  • Четвертухин Артем Вячеславович
  • Федянин Андрей Анатольевич
  • Муха Илья Рэмович
RU2637364C2
ОПТИЧЕСКИЙ ДАТЧИК С МНОГОСЛОЙНОЙ ПЛАЗМОННОЙ СТРУКТУРОЙ ДЛЯ УСОВЕРШЕНСТВОВАННОГО ОБНАРУЖЕНИЯ ХИМИЧЕСКИХ ГРУПП ПОСРЕДСТВОМ SERS 2005
  • Попонин Владимир
RU2361193C2
СПОСОБ ПОЛУЧЕНИЯ КОМПОЗИТНЫХ НАНОСТРУКТУР: ДИОКСИД КРЕМНИЯ - СЕРЕБРО 2017
  • Семенов Александр Петрович
  • Семенова Анна Александровна
  • Семенова Ирина Александровна
  • Гудилин Евгений Алексеевич
RU2643697C1
Портативная система для измерения гигантского комбинационного рассеяния света в ближнем инфракрасном диапазоне 2024
  • Бровко Артём Михайлович
  • Астраханцева Анна Сергеевна
  • Истомина Мария Сергеевна
  • Клименков Борис Давидович
  • Ваньков Александр Борисович
  • Кукушкин Игорь Владимирович
RU2841100C1
СПОСОБ МОДУЛЯЦИИ ИНТЕНСИВНОСТИ ЭЛЕКТРОМАГНИТНОГО ИЗЛУЧЕНИЯ С ПОМОЩЬЮ МАГНИТОПЛАЗМОННОГО КРИСТАЛЛА 2015
  • Зубюк Варвара Владимировна
  • Четвертухин Артём Вячеславович
  • Мусорин Александр Игоревич
  • Шарипова Маргарита Ильгизовна
  • Долгова Татьяна Викторовна
  • Федянин Андрей Анатольевич
RU2620026C1
МАСКА ДЛЯ БЛИЖНЕПОЛЬНОЙ ЛИТОГРАФИИ И ЕЕ ИЗГОТОВЛЕНИЕ 2011
  • Кобрин Борис
RU2544280C2
СПОСОБ МАГНИТООПТИЧЕСКОЙ МОДУЛЯЦИИ СВЕТА С ИСПОЛЬЗОВАНИЕМ ПОВЕРХНОСТНЫХ ПЛАЗМОНОВ 2013
  • Грунин Андрей Анатольевич
  • Четвертухин Артем Вячеславович
  • Шарипова Маргарита Ильгизовна
  • Долгова Татьяна Викторовна
  • Федянин Андрей Анатольевич
RU2548046C2
Биомолекулярный сенсор с микроэлектронным генератором электромагнитной волны 2020
  • Величко Елена Николаевна
  • Цыбин Олег Юрьевич
RU2749698C1
СПОСОБ АНАЛИЗА МЕМБРАНОСВЯЗАННОГО ГЕМОГЛОБИНА В ЭРИТРОЦИТАХ С ПОМОЩЬЮ СПЕКТРОСКОПИИ ГИГАНТСКОГО КОМБИНАЦИОННОГО РАССЕИВАНИЯ НА НАНОСТРУКТУРИРОВАННЫХ ПОКРЫТИЯХ 2013
  • Гудилин Евгений Алексеевич
  • Семенова Анна Александровна
  • Браже Надежда Александровна
  • Браже Алексей Рудольфович
  • Максимов Георгий Владимирович
  • Паршина Евгения Юрьевна
RU2546518C2
КАЛИБРОВОЧНЫЙ СЛАЙД ДЛЯ ЦИФРОВОЙ ПАТОЛОГИИ 2016
  • Боамфа Мариус Иосиф
  • Валстер Сусанне Майке
  • Шрестха Партхана
RU2734097C2

Иллюстрации к изобретению RU 2 835 937 C2

Реферат патента 2025 года КОЛОРИМЕТРИЧЕСКИЙ ДАТЧИК ДЛЯ ОБНАРУЖЕНИЯ БАКТЕРИЙ И/ИЛИ ВИРУСОВ

Группа изобретений относится к колориметрическим датчикам для обнаружения бактерий и/или вирусов. Колориметрический датчик содержит: совокупность слоев, имеющих структуру фотонного кристалла; функциональный слой, содержащий наноматериал, выполненный с возможностью генерировать поверхностный плазмон, биологически чувствительный к бактериям и/или вирусам и перекрывающий слои, имеющие структуру фотонного кристалла; рецепторный слой, содержащий белковые вещества или антитела, действующие как вирусные рецепторы. Колориметрический датчик содержит: функциональный слой, содержащий наноматериал, выполненный с возможностью генерировать поверхностный плазмон, биологически чувствительный к бактериям и/или вирусам; рецепторный слой, содержащий белковые вещества или антитела, действующие как вирусные рецепторы; плазмонный наноструктурированный слой, содержащий вытравленные наноструктуры для генерации плазмонных цветов. Функциональный слой и рецепторный слой перекрывают друг друга и находятся в непосредственном соприкосновении друг с другом. Датчики позволяют выполнять точное обнаружение определённого загрязнителя, в частности конкретных бактерий и/или вирусов. 2 н. и 18 з.п. ф-лы, 14 ил.

Формула изобретения RU 2 835 937 C2

1. Колориметрический датчик (1) для обнаружения бактерий и/или вирусов, который содержит:

- совокупность слоев (3’, 3”, …), имеющих структуру фотонного кристалла;

- функциональный слой (4), содержащий наноматериал, выполненный с возможностью генерировать поверхностный плазмон, биологически чувствительный к бактериям и/или вирусам и перекрывающий слои (3’, 3”, …), имеющие структуру фотонного кристалла;

- рецепторный слой (5), содержащий белковые вещества или антитела, действующие как вирусные рецепторы, при этом функциональный слой (4) и рецепторный

слой (5) перекрывают друг друга и находятся в непосредственном соприкосновении друг с другом.

2. Колориметрический датчик (1) по п. 1, отличающийся тем, что указанные слои (3’, 3”, …) со структурой фотонного кристалла содержат структуру одномерного фотонного кристалла.

3. Колориметрический датчик (1) по п. 1 или 2, отличающийся тем, что указанные слои (3’, 3”, …) со структурой фотонного кристалла содержат совокупность чередующихся слоев диоксида кремния (SiO2) и диоксида титана (TiO2).

4. Колориметрический датчик (1) по любому из предшествующих пунктов, отличающийся тем, что наноматериал указанного функционального слоя (4) содержит серебро, или материал на основе серебра, или золото, или материал на основе золота.

5. Колориметрический датчик (1) по любому из предшествующих пунктов, отличающийся тем, что указанный функциональный слой (4) имеет толщину, находящуюся в пределах от 4 до 20 нанометров.

6. Колориметрический датчик (1) по любому из предшествующих пунктов, отличающийся тем, что указанные белковые вещества или антитела, действующие как вирусные рецепторы, содержат белок ACE2 (ангиотензинпревращающий фермент 2).

7. Колориметрический датчик (1) по любому из предшествующих пунктов, дополнительно содержащий второй функциональный слой (6), содержащий наноматериал, выполненный с возможностью генерировать поверхностный плазмон, биологически чувствительный к бактериям и/или вирусам, перекрывающий рецепторный слой (5) и расположенный напротив функционального слоя (4).

8. Колориметрический датчик (1) по п.7, отличающийся тем, что указанный второй функциональный слой (6) содержит наноматериал, аналогичный наноматериалу функционального слоя (4).

9. Колориметрический датчик (1) по п. 7 или 8, отличающийся тем, что указанный второй функциональный слой (6) и указанный рецепторный слой (5) находятся в непосредственном соприкосновении друг с другом.

10. Колориметрический датчик (1) по любому из пп. 7-9, отличающийся тем, что указанный второй функциональный слой (6) имеет толщину, находящуюся в пределах от 4 до 20 нанометров.

11. Колориметрический датчик (1) по любому из предшествующих пунктов, в котором колориметрический датчик (1) дополнительно содержит плазмонный наноструктурированный слой (7), содержащий вытравленные наноструктуры, создающие плазмонные цвета, перекрывающие слои, имеющие фотонную кристаллическую структуру (3’, 3”, …).

12. Колориметрический датчик (1) по п. 11, отличающийся тем, что указанные вытравленные наноструктуры плазмонного наноструктурированного слоя (7) имеют форму, выполненную с возможностью вызова поверхностного плазмонного резонанса.

13. Колориметрический датчик (1) по п. 11 или 12, отличающийся тем, что порядок дифракции указанных вытравленных наноструктур наноструктурированного плазмонного слоя (7) равен нулю.

14. Колориметрический датчик (1) по пп. 11-13, отличающийся тем, что указанные вытравленные наноструктуры наноструктурированного плазмонного слоя (7) выполнены с возможностью создания оптического эффекта поляризованного света.

15. Колориметрический датчик (1) по любому из предшествующих пунктов, дополнительно содержащий опорный слой (2), причем указанные слои (3’, 3”, …), имеющие структуру фотонного кристалла, перекрывают опорный слой (2).

16. Колориметрический датчик (1) по любому из предшествующих пунктов, отличающийся тем, что выполнен в виде бирки.

17. Колориметрический датчик (1) по любому из предшествующих пунктов, отличающийся тем, что нанесен на приспособление (200), плоские поверхности или на свернутое в рулон основание.

18. Колориметрический датчик (1) по любому из предшествующих пунктов, отличающийся тем, что функциональный слой (4) выборочно нанесен таким образом, чтобы сформировать буквенно-цифровую строку, изображение, символ или код.

19. Колориметрический датчик (1) для обнаружения бактерий и/или вирусов, содержащий:

- функциональный слой (4), содержащий наноматериал, выполненный с возможностью генерировать поверхностный плазмон, биологически чувствительный к бактериям и/или вирусам,

- рецепторный слой (5), содержащий белковые вещества или антитела, действующие как вирусные рецепторы, причем функциональный слой (4) и рецепторный слой (5) перекрывают друг друга и находятся в непосредственном соприкосновении друг с другом, при этом колориметрический датчик (1) дополнительно содержит плазмонный наноструктурированный слой (7), содержащий вытравленные наноструктуры для генерации плазмонных цветов.

20. Колориметрический датчик (1) по п. 19 и какому-либо из пп. 4-14 или 16-18.

Документы, цитированные в отчете о поиске Патент 2025 года RU2835937C2

GIUSEPPE M PATERNO ET AL
Печь для непрерывного получения сернистого натрия 1921
  • Настюков А.М.
  • Настюков К.И.
SU1A1
FARADAY DISCUSSIONS
Vol
Способ исправления пайкой сломанных алюминиевых предметов 1921
  • Касаткин П.М.
SU223A1
US 2013065777 A1, 14.03.2013
US 2019265169 A1, 29.08.2019
US 2017199127 A1, 13.07.2017
HEYDARI ESMAEIL ET AL
Engineering molecularly-active nanoplasmonic

RU 2 835 937 C2

Авторы

Радиче Дино

Даты

2025-03-06Публикация

2021-03-29Подача