Изобретение относится к измерительной технике, а именно к датчикам смещения, и может применяться для регистрации смещения.
Известен патент на композитную конструкцию со встроенной измерительной системой (патент РФ 2641638, G02B 6/02295, 18.01.2018). Композитная конструкция содержит композитный материал и оптическое волокно, размещенное в этом композитном материале. Оптическое волокно содержит множество квантовых точек для усиления его нелинейных оптических свойств. Квантовые точки могут быть размещены в сердечнике, в оболочке и/или на поверхности оптического волокна. Оптическое волокно выполнено с возможностью передачи сигналов и выполнено чувствительным к дефекту в композитном материале. Квантовые точки создают нелинейный эффект, такой как эффект второго порядка, в ответ на наличие дефекта в композитном материале. На основании регистрации и анализа сигналов, имеющих нелинейный эффект, созданный квантовыми точками, может быть обнаружен дефект в композитном материале.
Недостатком известного устройства является использование измерительной системы исключительно в связке с композитным материалом.
Также известен сейсмический триггер (патент РФ 2003117763, G01V 1/16, G01V 1/38, 20.12.2004). Сейсмический триггер представляет собой герметичный корпус с прикрепленными к его нижней части приемником сейсмических колебаний, а к верхней - маятником с распределенной массой, а также оптоэлектронный датчик наперед заданного предельного значения отклонения маятника, включающего в себя оптически согласованные источник когерентного света и фотоприемник, подключенный выходом через последовательно соединенные усилитель фототока и частотомер к сигнализатору тревоги.
Недостатком известного устройства является использование в установке дополнительных датчиков и усилителя.
Наиболее близким устройством того же назначения к заявленному устройству по совокупности признаков является датчик разности давлений (патент РФ 2527135, G01L 11/02, 27.08.2014), содержащий корпус, силовую мембрану, размещенную в корпусе, элемент передачи деформации, закрепленный в центре силовой мембраны, измерительную мембрану, плоскость которой расположена под углом к плоскости силовой мембраны и смещена относительно центральной части силовой мембраны, причем центр измерительной мембраны соединен с элементом передачи деформации, и преобразователь с чувствительным элементом, корпус выполнен из двух составных частей, между которыми установлена силовая мембрана, образуя две камеры в корпусе, сочленяемые стенки корпуса выполнены с выемками, образуя опорные поверхности для силовой мембраны, в каждой составной части корпуса установлена измерительная мембрана, центры измерительных мембран соединены элементами передачи деформации с центром силовой мембраны с противоположных ее сторон, преобразователи выполнены в виде оптического волокна, закрепленного на поверхности каждой измерительной мембраны, а чувствительные элементы выполнены в виде волоконных брэгговских решеток, закрепленных в чувствительных зонах измерительных мембран. В зоне измерительной мембраны, не восприимчивой к деформации, расположена термокомпенсационная волоконная брэгговская решетка. Данное устройство принято за прототип.
Признаки прототипа, совпадающие с существенными признаками заявляемого изобретения – корпус, выполненный из подвижной и неподвижной частей, с возможностью подключения к источнику и приемнику излучения; между подвижной и неподвижной частями расположен упругий элемент; к подвижной и неподвижной частям прикреплено оптическое волокно; подвижный элемент выполнен с возможностью смещения, приводящему к деформациям в регистрирующей части оптического волокна и изменениям в пропускаемом и отражаемом излучении,
Недостатком известного устройства, принятого за прототип, является использование брэгговских решёток, а также нескольких мембран с разными функциями, усложняющих конструкцию системы регистрации.
Задачей, на решение которой направлено заявленное техническое решение, является разработка нового волоконно-оптического устройства регистрации смещения, обладающего простой по конструкции системой регистрации, расширяя арсенал технических средств регистрации смещения.
Поставленная задача была решена за счет того, что в известном волоконно-оптическом устройстве регистрации смещения, содержащем корпус, выполненный из подвижной и неподвижной частей, с возможностью подключения к источнику и приемнику излучения, между подвижной и неподвижной частями расположен упругий элемент, к подвижной и неподвижной частям прикреплено оптическое волокно, подвижный элемент выполнен с возможностью смещения приводящему к деформациям в регистрирующей части оптического волокна и изменениям в пропускаемом и отражаемом излучении, согласно изобретению упругий элемент выполнен в виде одной или нескольких пружин, регистрирующая часть оптического волокна выполнена в виде одной или нескольких петель с возможностью контролируемого макроизгиба для изменения излучения.
Признаки заявляемого технического решения, отличительные от прототипа - упругий элемент выполнен в виде одной или нескольких пружин; регистрирующая часть оптического волокна выполнена в виде одной или нескольких петель с возможностью контролируемого макроизгиба для изменения излучения.
Выполнение упругого элемента в виде одной или нескольких пружин упрощает систему регистрации, позволяя отказаться от силовой мембраны, элемента передачи деформации.
В заявленной конструкции амплитудная регистрация сигнала, что существенно упрощает измерительную схему, возможно использование некогерентного источника излучения.
Выполнение регистрирующей части оптического волокна в виде одной или нескольких петель с возможностью контролируемого макроизгиба для изменения излучения позволит производить непрерывную регистрацию смещения контролируемого объекта, при этом отсутствует необходимость настройки рабочей точки перед эксплуатацией устройства.
На фиг. 1 представлена схема волоконно-оптического устройства регистрации смещения.
На фиг. 2 представлена конструкция датчика, вид сверху.
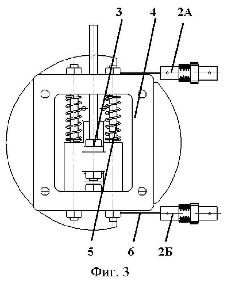
На фиг. 3 представлена конструкция датчика, вид снизу.
На фиг. 4 представлено изменение диаметра изогнутого волокна.
На фиг. 5 – зависимость выходной мощности от диаметра изгиба волокна. Точками обозначены полученные данные, сплошная линия – аппроксимация графика.
На фиг. 6 – зависимость диаметра изгиба волокна от массы грузиков. В эксперименте грузики заменяли постоянное смещение. Точками обозначены полученные данные, пунктирная линии – аппроксимации графика.
На фиг. 7 – зависимости выходной мощности от смещения. Волокно в регистрирующей части (РЧ) было уложено 1, 2, 4 петлями. Точками обозначены полученные данные, пунктирные линии – аппроксимации графиков.
Волоконно-оптическое устройство регистрации смещения (фиг. 2 – 3) содержит корпус 1 с оптическими розетками 2А, 2Б, выполненный из подвижной части 3 и неподвижной части 4, с возможностью подключения к источнику и приемнику излучения. Между подвижной 3 и неподвижной 4 частями расположен упругий элемент 5. К подвижной 3 и неподвижной 4 частям прикреплено оптическое волокно 6. Подвижный элемент 3 выполнен с возможностью смещения, приводящему к деформациям в регистрирующей части 7 оптического волокна 6 и изменениям в пропускаемом и отражаемом излучении. Упругий элемент 5 выполнен в виде одной или нескольких пружин. Регистрирующая часть 7 оптического волокна 6 выполнена в виде одной или нескольких петель с возможностью контролируемого макроизгиба для изменения излучения.
Устройство работает следующим образом.
На фиг. 1 излучение от источника (Л) направляется к регистрирующей части (РЧ) 7 по волокну 6, устойчивому к изгибам. Переход от волокна 6, устойчивого к изгибам, к регистрирующей части (РЧ) 7 осуществляется благодаря оптической розетке 2А и с помощью оптической розетки 2Б реализуется вывод сигнала из регистрирующей части (РЧ) 7. Регистрирующая часть (РЧ) 7 находится в корпусе 1 датчика. Волокно 6 располагается на неподвижной части 4, которая предотвращает попадание волокна 6 в зону упругого элемента 5.
На фиг. 2 – 3 волокно 6 внутри РЧ 7 образует две части: транспортную и собственно регистирующую. В транспортной части излучение подводится к регистрирующей и отводится от неё. Регистрирующая часть (РЧ) 7 представляет собой одну или несколько петель волокна, которые помещаются на неподвижной 4 и подвижной 3 частях.
Благодаря подвижной части 3 происходит передача смещения к регистрирующей части (РЧ) 7 волокна 6. Упругий элемент 5 выполнен в виде одной или нескольких пружин, пружины выполняют две функции: первая – возврат подвижной части 4 в исходное состояние после снятия нагрузки, вторая – они создают известные упругие силы, позволяющие оценить воздействие на измеряемый объект.
Деформация на измеряемом объекте приводит в движение упругий элемент 5, который передаёт изменение подвижной части 3, а после к регистрирующей части 7 с оптическим волокном 6.
На фиг. 4 представлено изменение диаметра изогнутого волокна, где диаметр d0 – начальный, равный 25 мм, а d1 – изменяющийся в зависимости от смещения от 25 до 11 мм.
Излучение, проходящее через изогнутое волокно, покидает световод по причине нарушения полного внутреннего отражения, следовательно, увеличиваются потери мощности. Оно проходит через регистрирующую часть (РЧ) 7, распространяется далее по оптическому волокну 6 и попадает на фотоприемник (ФП). Сигнал с фотоприемника (ФП) обрабатывается с помощью специализированных программ на ПК.
Для измерения смещения реализована экспериментальная установка, схема которой приведена на фиг. 1. В качестве источника излучения (Л) использован лазер Thorlabs SFL1550S с рабочей длиной волны 1550 нм. Регистрирующая часть (РЧ) реализована из оптического волокна Corning SMF-28 Ultra в виде петли 25 мм. Изменение потери мощности при воздействии вибрации производилось фотоприемником Thorlabs РМ-200.
Результаты измерений приведены на фиг. 5 – 7.
По полученным результатам видно, что величина потери мощности в регистрирующей части находится в зависимости от величины смещения.
Преимущество предлагаемого устройства состоит в том, что оно позволяет производить непрерывную регистрацию смещения контролируемого объекта простой по конструкции системой регистрации. Кроме того, расширяется арсенал технических средств регистрации смещения, отсутствует необходимость настройки рабочей точки перед эксплуатацией устройства, появляется возможность передачи измерительной информации на удаленный терминал непосредственно без дополнительной обработки.
| название | год | авторы | номер документа |
|---|---|---|---|
| СПОСОБ ИЗМЕРЕНИЯ ИМПУЛЬСНОГО ДАВЛЕНИЯ И УСТРОЙСТВО ДЛЯ ЕГО ОСУЩЕСТВЛЕНИЯ | 2011 |
|
RU2484436C1 |
| СПОСОБ ИЗМЕРЕНИЯ ИМПУЛЬСНОГО ДАВЛЕНИЯ СРЕДЫ И УСТРОЙСТВО ДЛЯ ЕГО ОСУЩЕСТВЛЕНИЯ (ВАРИАНТЫ) | 2012 |
|
RU2497090C2 |
| ОПТИКО-МЕХАНИЧЕСКИЙ ИЗМЕРИТЕЛЬ ДАВЛЕНИЯ | 1999 |
|
RU2159925C1 |
| ДАТЧИК РАЗНОСТИ ДАВЛЕНИЙ | 2013 |
|
RU2527135C1 |
| ПРЕОБРАЗОВАТЕЛЬ МЕХАНИЧЕСКИХ ВЕЛИЧИН В ОПТИЧЕСКИЙ СИГНАЛ | 2014 |
|
RU2559312C1 |
| Миниатюрный волоконно-оптический датчик ускорения | 2022 |
|
RU2806697C1 |
| ВОЛОКОННО-ОПТИЧЕСКОЕ УСТРОЙСТВО ИЗМЕРЕНИЯ ДАВЛЕНИЯ | 2012 |
|
RU2509994C1 |
| ВОЛОКОННО-ОПТИЧЕСКИЙ МАЯТНИКОВЫЙ ДАТЧИК УГЛА НАКЛОНА | 2022 |
|
RU2807094C1 |
| Способ измерения гидростатического давления и волоконно-оптический датчик гидростатического давления | 2023 |
|
RU2811364C1 |
| Лазерно-интерференционный измеритель градиента давления в жидкости | 2016 |
|
RU2625000C1 |
Изобретение относится к измерительной технике, а именно к датчикам смещения, и может применяться для регистрации смещения. Волоконно-оптическое устройство регистрации смещения содержит корпус, выполненный из подвижной и неподвижной частей с возможностью подключения к источнику и приемнику излучения. Между подвижной и неподвижной частями расположен упругий элемент, выполненный в виде одной или нескольких пружин. К подвижной и неподвижной частям прикреплено оптическое волокно, при этом подвижный элемент выполнен с возможностью смещения приводящего к деформациям в регистрирующей части оптического волокна и изменениям в пропускаемом и отражаемом излучении. Регистрирующая часть оптического волокна выполнена в виде одной или нескольких петель с возможностью контролируемого макроизгиба для изменения излучения. Технический результат: возможность производить непрерывную регистрацию смещения контролируемого объекта, расширить арсенал технических средств регистрации смещения, упрощение оптической схемы устройства, отсутствие необходимости настройки рабочей точки перед эксплуатацией устройства, а также возможность передачи измерительной информации на удаленный терминал непосредственно без дополнительной обработки. 7 ил.

Волоконно-оптическое устройство регистрации смещения, содержащее корпус, установленный с возможностью подключения к источнику и приёмнику излучения, выполненный из подвижной и неподвижной частей, между которыми расположен упругий элемент, к подвижной и неподвижной частям прикреплено оптическое волокно, при этом подвижный элемент выполнен с возможностью смещения, приводящего к деформациям в регистрирующей части оптического волокна и изменениям в пропускаемом и отражаемом излучении, отличающееся тем, что упругий элемент выполнен в виде одной или нескольких пружин, регистрирующая часть оптического волокна выполнена в виде одной или нескольких петель с возможностью контролируемого макроизгиба для изменения излучения.
| ТВЕРДОТЕЛЬНЫЙ ВОЛНОВОЙ ГИРОСКОП | 2013 |
|
RU2541711C1 |
| Устройство для крепления откосов, подвергаемых волновому воздействию | 1960 |
|
SU132564A1 |
| ДАТЧИК РАЗНОСТИ ДАВЛЕНИЙ | 2013 |
|
RU2527135C1 |
| US 4624570 A, 25.11.1986 | |||
| CN 203732034 U, 23.07.2014. | |||
Авторы
Даты
2025-03-11—Публикация
2024-08-05—Подача