Область техники, к которой относится изобретение
[1] Данное раскрытие, в общем, относится к управлению мощностью в системах беспроводной связи, которые включают в себя устройства с поддержкой нескольких линий связи. Варианты осуществления этого раскрытия относятся к способам и оборудованию для улучшения операций, основанных на целевом времени пробуждения, в системе связи на основе беспроводной локальной вычислительной сети.
Уровень техники
[2] Технология на основе беспроводной локальной вычислительной сети (WLAN) обеспечивает возможность устройствам осуществлять доступ к Интернету в полосах частот в 2,4 ГГц, в 5 ГГц, в 6 ГГц или в 60 ГГц. WLAN основаны на 802.11-стандартах Института инженеров по электротехнике и радиоэлектронике (IEEE). IEEE 802.11-cемейство стандартов имеет целью увеличивать скорость и надежность, и расширять рабочий диапазон беспроводных сетей.
[3] Wi-Fi-системы со сверхвысокой пропускной способностью (EHT) следующего поколения, например, по IEEE 802.11be-стандарту, поддерживают несколько рабочих полос частот, называемых "линиями связи", по которым могут обмениваться данными между собой устройство - точка доступа (AP) и не-AP-устройство. Таким образом, AP- и не-AP-устройство могут допускать обмен данными в различных полосах частот/линиях связи, что называется "работой в режиме с несколькими линиями связи (MLO)". Wi-Fi-устройства, которые поддерживают MLO, называются "устройствами с поддержкой нескольких линий связи (MLD)". При MLO, MLD-не-точка доступа (не-AP) может обнаруживать, аутентифицировать, ассоциировать и устанавливать несколько линий связи с AP MLD. Доступ к каналу и обмен кадрами являются возможными в каждой линии связи, которая устанавливается между AP MLD и не-AP MLD. Компонент MLD, который регулирует передачу и прием в одной линии связи, называется "станцией (STA)".
[4] Целевое время пробуждения (TWT) представляет собой одну из наиболее важных функциональностей для управления мощностью в Wi-Fi-сетях, которая разработана посредством IEEE 802.11ah и впоследствии адаптирована и модифицирована в IEEE 802.11ax. При работе согласно TWT, для STA достаточно только пробуждаться в предварительно запланированное время, согласованное с другой STA или AP в сети. В IEEE 802.11ax-стандартах, два типа работы согласно TWT являются возможными: работа согласно отдельному TWT и работа согласно широковещательному TWT. Соглашения в отношении отдельного TWT могут устанавливаться между двумя STA или между STA и AP. С другой стороны, при работе согласно широковещательному TWT, AP может устанавливать совместно используемый TWT-сеанс для группы STA.
[5] Работа согласно ограниченному TWT (rTWT или r-TWT) представляет собой новую введенную функциональность в IEEE 802.11be-стандарте (WI-FI 7), которая обеспечивает большую защиту для планируемых с ограниченным TWT STA для того, чтобы своевременно обслуживать чувствительные ко времени задержки варианты применения. Ограниченное TWT основано на механизмах широковещательного TWT; тем не менее, предусмотрены некоторые ключевые характеристики, которые обеспечивают то, что работа согласно ограниченному TWT представляет собой важную функциональность для поддержки вариантов применения с низкой задержкой в WLAN-системах следующего поколения. Ограниченное TWT предлагает защищенный период предоставления услуг для своих STA-членов посредством отправки элементов молчания в другие STA в базовом наборе служб (BSS), которые не являются членами планировочного решения в отношении r-TWT, причем интервал молчания, соответствующий элементу молчания, перекрывается с начальной частью периода предоставления услуг (SP) согласно ограниченному TWT. Следовательно, это обеспечивает более широкие возможности для доступа к каналу планируемым с r-TWT STA-членам, что помогает чувствительным ко времени задержки потокам трафика.
Сущность изобретения
Решение задачи
[6] Варианты осуществления настоящего раскрытия предоставляют способы и оборудование для обеспечения улучшенной работы согласно TWT между устройствами в WLAN.
[7] В одном варианте осуществления, предоставляется не-AP MLD, содержащее STA и процессор, функционально соединенный со STA. Каждая из STA содержит приемо-передающее устройство, выполненное с возможностью формировать линии связи с AP, соответственно, аффилированными с AP MLD. Первое из приемо-передающих устройств дополнительно выполнено с возможностью передавать или принимать в/из AP MLD по первой из линий связи кадр информации TWT с поддержкой работы с несколькими линиями связи (MLO), который включает в себя индикатор необходимости приостанавливать или возобновлять SP согласно TWT во второй из линий связи. Процессор функционально соединяется с приемо-передающими устройствами и выполнен с возможностью, на основе успешной передачи или приема кадра информации TWT по первой линии связи, приостанавливать или возобновлять SP согласно TWT во второй линии связи.
[8] В одном варианте осуществления, предоставляется AP MLD, содержащее AP и процессор, функционально соединенный с AP. AP содержат приемо-передающие устройства, выполненные с возможностью формировать линии связи со STA, соответственно, аффилированными с не-AP MLD. Первое из приемо-передающих устройств дополнительно выполнено с возможностью передавать или принимать в/из не-AP MLD по первой из линий связи кадр информации TWT с поддержкой работы с несколькими линиями связи (MLO), который включает в себя индикатор необходимости приостанавливать или возобновлять SP согласно TWT во второй из линий связи. Процессор функционально соединяется с приемо-передающими устройствами и выполнен с возможностью, на основе успешной передачи или приема кадра информации TWT по первой линии связи, приостанавливать или возобновлять SP согласно TWT во второй линии связи.
[9] В одном варианте осуществления, предоставляется способ беспроводной связи, осуществляемый посредством не-AP MLD, которое содержит STA. Способ содержит этапы передачи или приема в/из AP MLD по первой из линий связи, сформированных между STA и AP, аффилированными с AP MLD, кадра информации TWT с поддержкой MLO, который включает в себя индикатор необходимости приостанавливать или возобновлять SP согласно TWT во второй из линий связи, и на основе успешной передачи или приема кадра информации TWT по первой линии связи, приостановки или возобновления SP согласно TWT во второй линии связи.
[10] Другие технические признаки могут быть легко очевидными для специалистов в данной области техники из нижеприведенных чертежей, описаний и формулы изобретения.
[11] До перехода к нижеприведенному разделу "Подробное описание изобретения", может быть преимущественным излагать определения конкретных слов и фраз, используемых в данном патентном документе. Термин "соединять" и его производные означают любую прямую или непрямую связь между двумя или более элементами независимо от того, находятся или нет эти элементы в физическом контакте друг с другом. Термины "передавать", "принимать" и "обмениваться данными", а также их производные охватывают как прямую, так и непрямую связь. Термины "включать в себя" и "содержать", а также их производные означают включение без ограничения. Термин "или" является охватывающим, что означает и/или. Фраза "ассоциированный с", а также ее производные, означает включать в себя, включаться в, взаимно соединяться с, содержать, содержаться в, соединяться с, сопрягаться с, поддерживать обмен данными с, взаимодействовать с, перемежать, помещаться рядом, находиться рядом с, привязываться к или с, иметь, иметь свойство, иметь взаимосвязь и т.п. Термин "контроллер" означает любое устройство, систему либо его часть, которая управляет по меньшей мере одной операцией. Такой контроллер может реализовываться в аппаратных средствах либо в комбинации аппаратных средств и программного обеспечения и/или микропрограммного обеспечения. Функциональность, ассоциированная с любым конкретным контроллером, может быть централизованной или распределенной, локально или удаленно. Фраза "по меньшей мере один из", при использовании со списком элементов, означает то, что различные комбинации одного или более перечисленных элементов могут использоваться, и только один элемент в списке может требоваться. Например, "по меньшей мере одно из следующего: A, B и C" включает в себя любую из следующих комбинаций: A, B, C, A и B, A и C, B и C и A и B, и C. При использовании в данном документе, такие термины, как "1-ый" и "2-ой" либо "первый" и "второй", могут использоваться для того, чтобы просто отличать соответствующий компонент от другого, и не ограничивают компоненты в другом аспекте (например, по важности или порядку). Следует понимать, что если элемент (например, первый элемент) упоминается, с/без термина "функционально (operatively)" или "с возможностью связи (communicatively)", как " сопряженный с (coupled with)", "присоединенный к (coupled to)", " соединённый с (connected with)" или "подсоединенный к (connected to)" с другим элементом (например, вторым элементом), это означает то, что элемент может присоединяться к другому элементу непосредственно (например, проводным способом), беспроводным способом, либо через третий элемент.
[12] При использовании в данном документе, термин "модуль" может включать в себя блок, реализованный в аппаратных средствах, программном обеспечении или микропрограммном обеспечении, и может взаимозаменяемо использоваться с другими терминами, например, "логика", "логический блок", "часть" или "схема". Модуль может представлять собой один неотъемлемый компонент либо его минимальную единицу или часть, адаптированную с возможностью выполнять одну или более функций. Например, согласно варианту осуществления, модуль может реализовываться в форме специализированной интегральной схемы (ASIC).
[13] Кроме того, различные функции, описанные ниже, могут реализовываться или поддерживаться посредством одной или более компьютерных программ, каждая из которых формируется из машиночитаемого программного кода и осуществляется на машиночитаемом носителе. Термины "приложение" и "программа" означают одну или более компьютерных программ, программных компонентов, наборов инструкций, процедур, функций, объектов, классов, экземпляров, связанных данных либо их часть, адаптированную с возможностью реализации в подходящем машиночитаемом программном коде. Фраза "машиночитаемый программный код" включает в себя любой тип машинного кода, включающий в себя исходный код, объектный код и исполняемый код. Фраза "машиночитаемый носитель" включает в себя носитель любого типа, допускающий осуществление доступа посредством компьютера, такой как постоянное запоминающее устройство (ROM), оперативное запоминающее устройство (RAM), жесткий диск, компакт-диск (CD), цифровой видеодиск (DVD) либо запоминающее устройство любого другого типа. "Энергонезависимый" машиночитаемый носитель исключает проводные, беспроводные, оптические или другие линии связи, которые транспортируют переходные электрические или другие сигналы. Энергонезависимый машиночитаемый носитель включает в себя носители, на которых данные могут постоянно сохраняться, и носители, на которых данные могут сохраняться и впоследствии перезаписываться, такие как перезаписываемый оптический диск или стираемое запоминающее устройство.
[14] Определения для других определенных слов и фраз даются по ходу этого патентного документа. Специалисты в данной области техники должны понимать, что во многих, если не в большинстве случаев такие определения применяются к предшествующим, а также к будущим использованиям таких определенных слов и фраз.
Краткое описание чертежей
[15] Для более полного понимания настоящего изобретения и его преимуществ теперь следует обратиться к нижеприведенному описанию, рассматриваемому совместно с прилагаемыми чертежами, на которых аналогичные позиционные обозначения представляют аналогичные части:
[16] Фиг. 1 иллюстрирует примерную беспроводную сеть согласно одному варианту осуществления настоящего раскрытия;
[17] Фиг. 2a иллюстрирует примерную AP согласно одному варианту осуществления настоящего раскрытия;
[18] Фиг. 2b иллюстрирует примерную STA согласно одному варианту осуществления этого раскрытия;
[19] Фиг. 3 иллюстрирует пример различных компонентов временной синхронизации, связанных с SP согласно TWT, согласно вариантам осуществления настоящего раскрытия;
[20] Фиг. 4 иллюстрирует примерный формат поля информации TWT в кадре информации TWT по таблице 1 согласно вариантам осуществления настоящего раскрытия;
[21] Фиг. 5 иллюстрирует пример приостановки планировочного решения в отношении широковещательного TWT для конкретного планировочного решения в отношении широковещательного TWT согласно вариантам осуществления настоящего раскрытия;
[22] Фиг. 6 иллюстрирует пример приостановки планировочного решения в отношении широковещательного TWT для конкретного планировочного решения в отношении широковещательного TWT, в то время как другие планировочные решения в отношении широковещательного TWT поддерживаются согласно вариантам осуществления настоящего раскрытия;
[23] Фиг. 7 иллюстрирует примерный формат поля информации TWT EHT-варианта, включающего в себя подполе ID широковещательного TWT, согласно вариантам осуществления настоящего раскрытия;
[24] Фиг. 8 иллюстрирует примерный формат поля информации TWT EHT-варианта, включающего в себя подполе типа согласования, согласно вариантам осуществления настоящего раскрытия;
[25] Фиг. 9 иллюстрирует примерный формат поля информации широковещательного TWT согласно вариантам осуществления настоящего раскрытия;
[26] Фиг. 10 иллюстрирует примерный формат поля информации TWT EHT-варианта, включающего в себя подполе исключаемого ограниченного TWT, согласно вариантам осуществления настоящего раскрытия;
[27] Фиг. 11 иллюстрирует примерный формат поля информации TWT EHT-варианта, включающего в себя подполе всех ограниченных TWT, согласно вариантам осуществления настоящего раскрытия;
[28] Фиг. 12 иллюстрирует примерный формат поля информации TWT EHT-варианта, включающего в себя подполе всех ограниченных TWT, когда подполе типа согласования задается равным 0, и подполе всех TWT задается равным 0 согласно вариантам осуществления настоящего раскрытия;
[29] Фиг. 13 иллюстрирует примерный формат поля информации TWT EHT-варианта, включающего в себя подполе всех ограниченных TWT, когда подполе типа согласования задается равным 0, и подполе всех TWT задается равным 0 согласно вариантам осуществления настоящего раскрытия;
[30] Фиг. 14 иллюстрирует примерный формат поля информации TWT EHT-варианта, включающего в себя подполе всех ограниченных TWT, согласно вариантам осуществления настоящего раскрытия;
[31] Фиг. 15 иллюстрирует примерный формат поля информации TWT EHT-варианта, обеспечивающего избирательное исключение планировочных решений в отношении ограниченного TWT с использованием подполя информации исключения планировочных решений в отношении r-TWT, согласно вариантам осуществления настоящего раскрытия;
[32] Фиг. 16 иллюстрирует примерный формат поля обобщенной информации TWT кадра обобщенной информации TWT по таблице 6 согласно вариантам осуществления настоящего раскрытия;
[33] Фиг. 17 иллюстрирует примерный формат подполя наборов информации TWT согласно вариантам осуществления настоящего раскрытия;
[34] Фиг. 18 иллюстрирует примерный формат поля обобщенной информации ограниченного TWT в кадре обобщенной информации ограниченного TWT по таблице 7 согласно вариантам осуществления настоящего раскрытия;
[35] Фиг. 19 иллюстрирует примерный формат поля информации приостановки ограниченного TWT в кадре информации приостановки ограниченного TWT по таблице 8 согласно вариантам осуществления настоящего раскрытия;
[36] Фиг. 20 иллюстрирует блок-схему последовательности операций способа примерного поведения AP в контексте использования кадра информации приостановки ограниченного TWT согласно вариантам осуществления настоящего раскрытия;
[37] Фиг. 21 иллюстрирует блок-схему последовательности операций способа примерного поведения не-AP STA в контексте использования кадра информации приостановки ограниченного TWT согласно вариантам осуществления настоящего раскрытия;
[38] Фиг. 22 иллюстрирует примерный формат поля обобщенной информации приостановки ограниченного TWT в кадре обобщенной информации приостановки ограниченного TWT по таблице 10 согласно вариантам осуществления настоящего раскрытия;
[39] Фиг. 23 иллюстрирует примерный формат поля информации TWT с поддержкой MLO кадра информации TWT с поддержкой MLO по таблице 11 согласно вариантам осуществления настоящего раскрытия; и
[40] Фиг. 24 иллюстрирует примерный процесс для обеспечения работы согласно TWT между MLD с использованием кадра информации TWT с поддержкой MLO согласно одному варианту осуществления настоящего раскрытия.
Подробное описание изобретения
[41] Фиг. 1-24, описанные ниже, и различные варианты осуществления, используемые для того, чтобы описывать принципы настоящего раскрытия в данном патентном документе, предоставлены только в качестве иллюстрации и не должны рассматриваться ни при каких обстоятельствах как ограничивающие объем данного раскрытия. Специалисты в данной области техники должны понимать, что принципы настоящего раскрытия могут реализовываться в любой надлежащим образом скомпонованной системе или устройстве.
[42] Варианты осуществления настоящего раскрытия признают то, что для отдельного TWT, предусмотрены механизмы для того, чтобы приостанавливать или возобновлять конкретное соглашение в отношении отдельного TWT, которого придерживается запрашивающая TWT STA, при поддержании других соглашений в отношении TWT, и приостанавливать или возобновлять все соглашения в отношении отдельного TWT, которых придерживается запрашивающая TWT STA. Для широковещательного TWT, предусмотрен механизм для того, чтобы приостанавливать или возобновлять все планировочные решения в отношении широковещательного TWT, которого придерживается запланированная с TWT STA. Дополнительно, варианты осуществления настоящего раскрытия признают то, что гибкий TWT представляет собой TWT, значение которого может выбираться или может не выбираться из доступного набора значений TWT согласно согласованию в отношении TWT. Значение гибкого TWT может быть любым положительным значением независимо от набора значений, согласованных для TWT.
[43] Варианты осуществления настоящего раскрытия дополнительно признают то, что согласно текущей 802.11-спецификации, в то время как кадр информации TWT может использоваться для приостановки и возобновления всех планировочных решений в отношении широковещательного TWT, которого придерживается запланированная с широковещательным TWT STA, кадр информации TWT не может использоваться для приостановки или возобновления SP согласно широковещательному TWT на основе планировочных решений. Таким образом, если запланированная с широковещательным TWT STA является членом нескольких планировочных решений в отношении широковещательного TWT, в данный момент невозможно приостанавливать конкретное планировочное решение в отношении широковещательного TWT при поддержании других. Дополнительно, в 802.11be-стандарте, с введением планировочного решения в отношении ограниченного TWT (которое представляет собой вариант планировочного решения в отношении широковещательного TWT), было бы полезно лучше управлять планировочными решениями в отношении широковещательного TWT или планировочными решениями в отношении ограниченного TWT. Следовательно, механизм для того, чтобы приостанавливать и возобновлять конкретные планировочные решения в отношении широковещательного или ограниченного TWT при поддержании других, был бы полезен.
[44] Соответственно, варианты осуществления данного раскрытия предоставляют механизмы для избирательной приостановки конкретных планировочных решений в отношении широковещательного TWT или планировочных решений в отношении ограниченного TWT, членом которых является STA, при поддержании других.
[45] Варианты осуществления настоящего раскрытия дополнительно признают то, что в настоящее время, когда подполе всех TWT задается равным 1 в поле информации TWT в кадре информации TWT, все соглашения в отношении отдельного TWT или планировочные решения в отношении широковещательного TWT указываются посредством поля информации TWT в кадре информации TWT как предназначенные для приостановки или возобновления. Таким образом, в данный момент это означает, что все соглашения в отношении отдельного TWT или планировочные решения в отношении широковещательного TWT будут приостановлены или возобновлены посредством кадра информации TWT: отсутствует способ для того, чтобы избирательно исключать любые конкретные соглашения в отношении отдельного TWT или планировочные решения в отношении широковещательного TWT из группы планировочных решений или соглашений, которые приостанавливаются или возобновляются. Это не очень способствует работе согласно ограниченному TWT, поскольку запланированная с r-TWT STA может иметь несколько планировочных решений в отношении широковещательного TWT и планировочных решений в отношении ограниченного TWT, и для некоторой цели (например, для экономии мощности), эта STA, для которой приняты эти планировочные решения, может захотеть приостановить планировочные решения в отношении широковещательного TWT, но по-прежнему может хотеть поддерживать планировочные решения в отношении r-TWT для целей трафика с низкой задержкой.
[46] Соответственно, варианты осуществления данного раскрытия предоставляют механизмы для избирательного исключения соглашений или планировочных решений в отношении TWT из приостановки всех TWT.
[47] Варианты осуществления настоящего раскрытия дополнительно признают то, что в данный момент функциональность гибкого TWT не доступна для операций согласно широковещательному TWT. Для широковещательного TWT, значение подполя следующего TWT может быть только значением из доступного набора значений, согласованных для TWT. Соответственно, AP, планирующая широковещательное TWT, или планируемая с широковещательным TWT STA не могут задавать произвольное значение в следующем TWT, даже если это разрешается для операций согласно отдельным TWT. Для работы согласно r-TWT, было бы полезно, если запланированная с r-TWT STA имела бы гибкость в том, чтобы задавать значение следующего TWT по мере необходимости равным любому положительному значению, а не обязательно одному значению из доступного набора значений TWT. Это должно помогать любому изменению шаблона трафика без согласования нового планировочного решения в отношении r-TWT с планирующей r-TWT AP.
[48] Соответственно, варианты осуществления данного раскрытия предоставляют механизмы для выбора значения гибкого TWT с планировочными решениями в отношении широковещательного TWT и планировочными решениями в отношении ограниченного TWT.
[49] Варианты осуществления настоящего раскрытия дополнительно признают то, что в данный момент кадр информации TWT представляет собой одноадресный кадр. Он не может передаваться в несколько STA одновременно. Планирующая r-TWT AP может быть аффилирована с AP MLD, и по различным причинам (например, для экономии мощности), AP может хотеть отключать ассоциированную линию связи в течение определенного периода времени. В данный момент отсутствует способ использовать кадр информации TWT для того, чтобы уведомлять все или несколько STA в BSS об этом событии.
[50] Соответственно, варианты осуществления данного раскрытия предоставляют механизмы для AP, аффилированной с AP MLD, для того, чтобы уведомлять несколько STA в BSS касательно того, что AP временно отключает линию связи.
[51] Варианты осуществления настоящего раскрытия дополнительно признают то, что в данный момент кадр информации TWT не может работать на MLD-уровне. MLD может хотеть приостанавливать соглашения в отношении отдельного TWT или планировочные решения в отношении широковещательного TWT по нескольким линиям связи, чтобы экономить мощность. Было бы полезно иметь механизм для того, чтобы указывать то, для какой линии связи из нескольких линий связи между AP MLD и не-AP MLD кадр информации TWT предназначен.
[52] Соответственно, варианты осуществления данного раскрытия предоставляют механизмы для MLD для того, чтобы указывать то, для какой линии связи предназначен конкретный кадр информации TWT.
[53] Фиг. 1 иллюстрирует примерную беспроводную сеть 100 согласно одному варианту осуществления настоящего раскрытия. Вариант осуществления беспроводной сети 100, показанный на фиг. 1, служит только для иллюстрации. Другие варианты осуществления беспроводной сети 100 могут использоваться без отступления от объема данного раскрытия.
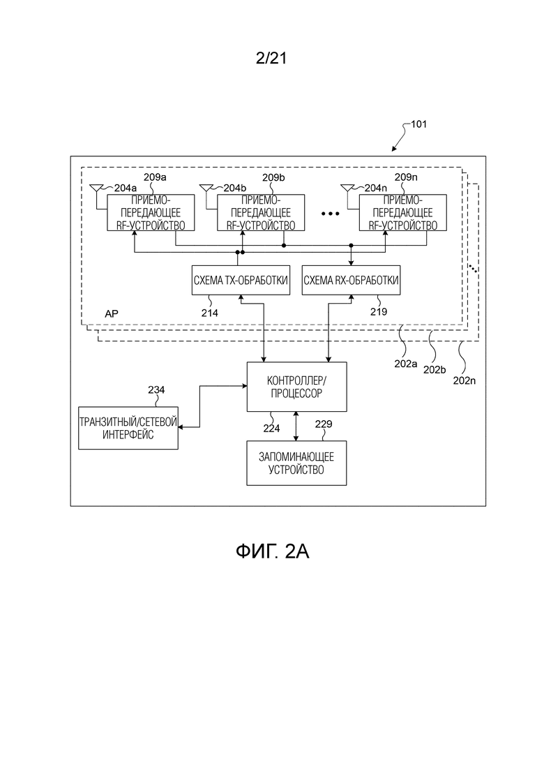
[54] Беспроводная сеть 100 включает в себя AP 101 и 103. AP 101 и 103 обмениваются данными с по меньшей мере одной сетью 130, такой как Интернет, собственная сеть по Интернет-протоколу (IP) или другая сеть передачи данных. AP 101 предоставляет беспроводной доступ в сеть 130 для множества STA 111-114 в зоне 120 покрытия AP 101. AP 101-103 могут обмениваться данными между собой и со STA 111-114 с использованием Wi-Fi или других технологий WLAN-связи.
[55] В зависимости от типа сети, другие известные термины могут использоваться вместо "точки доступа" или "AP", такие как "маршрутизатор" или "шлюз". Для удобства, термин "AP" используется в этом раскрытии для того, чтобы означать сетевые инфраструктурные компоненты, которые предоставляют беспроводной доступ к удаленным терминалам. В WLAN, при условии, что AP также конкурирует за беспроводной канал, AP также может называться "STA" (например, "AP-STA"). Кроме того, в зависимости от типа сети, другие известные термины могут использоваться вместо "станции" или "STA", такие как "мобильная станция", "абонентская станция", "удаленный терминал", "абонентское устройство", "беспроводной терминал" или "пользовательское устройство". Для удобства, термины "станция" и "STA" используются в этом раскрытии для того, чтобы означать удаленное беспроводное устройство, которое в беспроводном режиме осуществляет доступ к AP или конкурирует за беспроводной канал в WLAN независимо от того, представляет STA собой мобильное устройство (такое как мобильный телефон или смартфон) или нормально считается стационарным устройством (таким как настольный компьютер, AP, мультимедийный проигрыватель, стационарный датчик, телевизионный приемник и т.д.). Этот тип STA также может называться "не-AP STA".
[56] В одном варианте осуществления этого раскрытия, каждая из AP 101 и 103 и каждая из STA 111-114 могут представлять собой MLD. В таких вариантах осуществления, AP 101 и 103 могут представлять собой AP MLD, и STA 111-114 могут представлять собой не-AP MLD. Каждое MLD аффилируется более чем с одной STA. Для удобства пояснения, AP MLD описывается в данном документе как аффилированный более чем с одной AP (например, более чем с одной AP-STA), и не-AP MLD описывается в данном документе как аффилированный более чем с одной STA (например, более чем с одной не-AP STA).
[57] Пунктирные линии показывают аппроксимированные протяженности зон 120 и 125 покрытия, которые показаны приблизительно круглыми только для целей иллюстрации и пояснения. Следует четко понимать, что зоны покрытия, ассоциированные с AP, такие как зоны 120 и 125 покрытия, могут иметь другие формы, включающие в себя нерегулярные формы, в зависимости от конфигурации AP и изменений окружения радиосвязи, ассоциированных с естественными и искусственными преградами.
[58] Как подробнее описано ниже, одна или более AP может включать в себя схему и/или программную часть для обеспечения улучшенной работы TWT между устройствами в WLAN. Хотя фиг. 1 иллюстрирует один пример беспроводной сети 100, различные изменения могут вноситься в фиг. 1. Например, беспроводная сеть 100 может включать в себя любое число AP и любое число STA в любой подходящей компоновке. Кроме того, AP 101 может обмениваться данными непосредственно с любым числом STA и предоставлять для этих STA беспроводной широкополосный доступ к сети 130. Аналогично, каждая AP 101-103 может обмениваться данными непосредственно с сетью 130 и предоставлять для STA прямой беспроводной широкополосный доступ к сети 130. Дополнительно, AP 101 и/или 103 могут предоставлять доступ к другим или дополнительным внешним сетям, таким как внешние телефонные сети или другие типы сетей передачи данных.
[59] Фиг. 2a иллюстрирует примерную AP 101 согласно одному варианту осуществления настоящего раскрытия. Вариант осуществления AP 101, проиллюстрированной на фиг. 2a, служит только для иллюстрации, и AP 103 по фиг. 1 может иметь идентичную или аналогичную конфигурацию. В вариантах осуществления, поясненных ниже, AP 101 представляет собой AP MLD. Тем не менее, AP выпускаются в широком спектре конфигураций, и фиг. 2a не ограничивает объем этого раскрытия какой-либо конкретной реализацией AP.
[60] AP MLD 101 аффилируется с несколькими AP 202a-202n (которые могут называться, например, "AP1-APn"). Каждая из аффилированных AP 202a-202n включает в себя несколько антенн 204a-204n, несколько приемо-передающих RF-устройств 209a-209n, схему 214 обработки передачи (Tx) и схему 219 обработки приема (Rx). AP MLD 101 также включает в себя контроллер/процессор 224, запоминающее устройство 229 и транзитный (backhaul) или сетевой интерфейс 234.
[61] Проиллюстрированные компоненты каждой аффилированной AP 202a-202n могут представлять физический уровень (PHY) и нижний уровень управления доступом к среде (LMAC) в модели организации сетей по принципу взаимодействия открытых систем (OSI). В таких вариантах осуществления, проиллюстрированные компоненты AP MLD 101 представляют один верхний MAC-(UMAC-) уровень и другие верхние уровни в OSI-модели, которые совместно используются посредством всех аффилированных AP 202a-202n.
[62] Для каждой аффилированной AP 202a-202n, приемо-передающие RF-устройства 209a-209n принимают, из антенн 204a-204n, входящие RF-сигналы, к примеру, сигналы, передаваемые посредством STA в сети 100. В некоторых вариантах осуществления, каждая аффилированная AP 202a-202n работает в различной полосе пропускания, например, 2,4 ГГц, 5 ГГц или 6 ГГц, и, соответственно, входящие RF-сигналы, принимаемые посредством каждой аффилированной AP, могут иметь различную RF-частоту. Приемо-передающие RF-устройства 209a-209n преобразуют с понижением частоты входящие RF-сигналы, чтобы формировать IF-сигналы или сигналы основной полосы частот (baseband). IF-сигналы или сигналы основной полосы частот отправляются в схему 219 Rx-обработки, которая формирует обработанные сигналы основной полосы частот посредством фильтрации, декодирования и/или оцифровки сигналов основной полосы частот или IF-сигналов. Схема 219 Rx-обработки передает обработанные сигналы основной полосы частот в контроллер/процессор 224 для последующей обработки.
[63] Для каждой аффилированной AP 202a-202n, схема 214 Tx-обработки принимает аналоговые или цифровые данные (к примеру, голосовые данные, веб-данные, данные электронной почты или интерактивных видеоигр) из контроллера/процессора 224. Схема 214 Tx-обработки кодирует, мультиплексирует и/или оцифровывает исходящие данные основной полосы частот, чтобы формировать обработанные сигналы основной полосы частот или IF-сигналы. Приемо-передающие RF-устройства 209a-209n принимают исходящие обработанные сигналы основной полосы частот или IF-сигналы из схемы 214 Tx-обработки и преобразуют с повышением частоты сигналы основной полосы частот или IF-сигналы в RF-сигналы, которые передаются через антенны 204a-204n. В вариантах осуществления, в которых каждая аффилированная AP 202a-202n работает в различной полосе пропускания, например, 2,4 ГГц, 5 ГГц или 6 ГГц, исходящие RF-сигналы, передаваемые посредством каждой аффилированной AP, могут иметь различную RF-частоту.
[64] Контроллер/процессор 224 может включать в себя один или более процессоров или других обрабатывающих устройств, которые полностью управляют работой AP MLD 101. Например, контроллер/процессор 224 может управлять приемом прямых канальных сигналов и передачей обратных канальных сигналов посредством приемо-передающих RF-устройств 209a-209n, схемы 219 Rx-обработки и схемы 214 Tx-обработки в соответствии с известными принципами. Контроллер/процессор 224 также может поддерживать дополнительные функции, такие как усовершенствованные функции беспроводной связи. Например, контроллер/процессор 224 может поддерживать операции формирования диаграммы направленности или направленной маршрутизации, в которых исходящие сигналы из нескольких антенн 204a-204n взвешиваются по-разному для того, чтобы эффективно управлять исходящими сигналами в требуемом направлении. Контроллер/процессор 224 также может поддерживать OFDMA-операции, в которых исходящие сигналы назначаются различным поднаборам поднесущих для различных получателей (например, для различных STA 111-114). Любой широкий спектр других функций может поддерживаться в AP MLD 101 посредством контроллера/процессора 224, в том числе обеспечение улучшенной работы согласно TWT между устройствами в WLAN. В некоторых вариантах осуществления, контроллер/процессор 224 включает в себя по меньшей мере один микропроцессор или микроконтроллер. Контроллер/процессор 224 также допускает выполнение программ и других процессов, постоянно размещающихся в запоминающем устройстве 229, таких как ОС. Контроллер/процессор 224 может перемещать данные в или из запоминающего устройства 229 при необходимости посредством выполняющегося процесса.
[65] Контроллер/процессор 224 также соединяется с транзитным или сетевым интерфейсом 234. Транзитный или сетевой интерфейс 234 обеспечивает возможность AP MLD 101 обмениваться данными с другими устройствами или системами по обратному транзитному соединению или по сети. Интерфейс 234 может поддерживать связь по любым подходящим проводным или беспроводным соединениям. Например, интерфейс 234 может обеспечивать возможность AP MLD 101 обмениваться данными по проводной или беспроводной локальной вычислительной сети или по проводному или беспроводному соединению с более крупной сетью (такой как Интернет). Интерфейс 234 включает в себя любую подходящую структуру, поддерживающую связь по проводному или беспроводному соединению, такую как приемо-передающее Ethernet- или RF-устройство. Запоминающее устройство 229 соединяется с контроллером/процессором 224. Часть запоминающего устройства 229 может включать в себя RAM, и другая часть запоминающего устройства 229 может включать в себя флэш-память или другое ROM.
[66] Как подробнее описано ниже, AP MLD 101 может включать в себя схему и/или программную часть для обеспечения улучшенной работы согласно TWT между устройствами в WLAN. Хотя фиг. 2a иллюстрирует один пример AP MLD 101, различные изменения могут вноситься в фиг. 2a. Например, AP MLD 101 может включать в себя любое число каждого компонента, показанного на фиг. 2a. В качестве конкретного примера, AP MLD 101 может включать в себя ряд интерфейсов 234, и контроллер/процессор 224 может поддерживать функции маршрутизации, чтобы маршрутизировать данные между различными сетевыми адресами. В качестве другого конкретного примера, хотя каждая аффилированная AP 202a-202n показана как включающая в себя отдельный экземпляр схемы 214 Tx-обработки и отдельный экземпляр схемы 219 Rx-обработки, AP MLD 101 может включать в себя несколько экземпляров каждой из них (к примеру, по одному в расчете на приемо-передающее RF-устройство) в одной или более аффилированных AP 202a-202n. Альтернативно, только один тракт антенны и приемо-передающего RF-устройства может включаться в одну или более аффилированных AP 202a-202n, к примеру, в унаследованных AP. Кроме того, различные компоненты на фиг. 2a могут комбинироваться, дополнительно подразделяться или опускаться, и дополнительные компоненты могут добавляться согласно конкретным потребностям.
[67] Фиг. 2b иллюстрирует примерную STA 111 согласно одному варианту осуществления этого раскрытия. Вариант осуществления STA 111, проиллюстрированной на фиг. 2b, служит только для иллюстрации, и STA 111-115 по фиг. 1 могут иметь идентичную или аналогичную конфигурацию. В вариантах осуществления, поясненных ниже, STA 111 представляет собой не-AP MLD. Тем не менее, STA выпускаются в широком спектре конфигураций, и фиг. 2b не ограничивает объем этого раскрытия какой-либо конкретной реализацией STA.
[68] Не-AP MLD 111 аффилируется с несколькими STA 203a-203n (которые могут называться, например, "STA1-STAn"). Каждая из аффилированных STA 203a-203n включает в себя антенны 205, радиочастотное (RF) приемо-передающее устройство 210, схему 215 Tx-обработки и схему 225 обработки приема (Rx). Не-AP MLD 111 также включает в себя микрофон 220, динамик 230, контроллер/процессор 240, интерфейс 245 ввода-вывода, сенсорный экран 250, дисплей 255 и запоминающее устройство 260. Запоминающее устройство 260 включает в себя операционную систему 261 (ОС) и одно или более приложений 262.
[69] Проиллюстрированные компоненты каждой аффилированной STA 203a-203n могут представлять PHY-уровень и LMAC-уровень в OSI-модели организации сетей. В таких вариантах осуществления, проиллюстрированные компоненты не-AP MLD 111 представляют один UMAC-уровень и другие верхние уровни в OSI-модели, которые совместно используются посредством всех аффилированных STA 203a-203n.
[70] Для каждой аффилированной STA 203a-203n, приемо-передающее RF-устройство 210 принимает, из антенн 205, входящий RF-сигнал, передаваемый посредством AP сети 100. В некоторых вариантах осуществления, каждая аффилированная STA 203a-203n работает в различной полосе пропускания, например, 2,4 ГГц, 5 ГГц или 6 ГГц, и, соответственно, входящие RF-сигналы, принимаемые посредством каждой аффилированной STA, могут иметь различную RF-частоту. Приемо-передающее RF-устройство 210 преобразует с понижением частоты входящий RF-сигнал, чтобы формировать промежуточный частотный (IF) сигнал или сигнал основной полосы частот. IF-сигнал или сигнал основной полосы частот отправляется в схему 225 Rx-обработки, которая формирует обработанный сигнал основной полосы частот посредством фильтрации, декодирования и/или оцифровки сигнала основной полосы частот или IF-сигнала. Схема 225 Rx-обработки передает обработанный сигнал основной полосы частот в динамик 230 (к примеру, для голосовых данных) или в контроллер/процессор 240 для последующей обработки (к примеру, для данных просмотра веб-страниц).
[71] Для каждой аффилированной STA 203a-203n, схема 215 Tx-обработки принимает аналоговые или цифровые голосовые данные из микрофона 220 или другие исходящие данные основной полосы частот (к примеру, веб-данные, данные электронной почты или интерактивных видеоигр) из контроллера/процессора 240. Схема 215 Tx-обработки кодирует, мультиплексирует и/или оцифровывает исходящие данные основной полосы частот, чтобы формировать обработанный сигнал основной полосы частот или IF-сигнал. Приемо-передающее RF-устройство 210 принимает исходящий обработанный сигнал основной полосы частот или IF-сигнал из схемы 215 Tx-обработки и преобразует с повышением частоты сигнал основной полосы частот или IF-сигнал в RF-сигнал, который передается через антенны 205. В вариантах осуществления, в которых каждая аффилированная STA 203a-203n работает в различной полосе пропускания, например, 2,4 ГГц, 5 ГГц или 6 ГГц, исходящие RF-сигналы, передаваемые посредством каждой аффилированной STA, могут иметь различную RF-частоту.
[72] Контроллер/процессор 240 может включать в себя один или более процессоров и выполнять базовую программу 261 ОС, сохраненную в запоминающем устройстве 260 для того, чтобы полностью управлять работой не-AP MLD 111. В одной такой операции, главный контроллер/процессор 240 управляет приемом прямых канальных сигналов и передачей обратных канальных сигналов посредством приемо-передающего RF-устройства 210, схемы 225 Rx-обработки и схемы 215 Tx-обработки в соответствии с известными принципами. Главный контроллер/процессор 240 также может включать в себя схему обработки, выполненную с возможностью упрощать улучшенную работу согласно TWT между устройствами в WLAN. В некоторых вариантах осуществления, контроллер/процессор 240 включает в себя по меньшей мере один микропроцессор или микроконтроллер.
[73] Контроллер/процессор 240 также допускает выполнение других процессов и программ, резидентных в запоминающем устройстве 260, таких как операций для обеспечения улучшенной работы согласно TWT между устройствами в WLAN. Контроллер/процессор 240 может перемещать данные в или из запоминающего устройства 260 при необходимости посредством выполняющегося процесса. В некоторых вариантах осуществления, контроллер/процессор 240 выполнен с возможностью выполнять множество приложений 262, таких как приложения для обеспечения улучшенной работы согласно TWT между устройствами в WLAN. Контроллер/процессор 240 может управлять множеством приложений 262 на основе программы 261 ОС либо в ответ на сигнал, принимаемый из AP. Главный контроллер/процессор 240 также соединяется с интерфейсом 245 ввода-вывода, который обеспечивает для не-AP MLD 111 способность соединяться с другими устройствами, такими как переносные компьютеры и карманные компьютеры. Интерфейс 245 ввода-вывода представляет собой тракт связи между этими вспомогательными устройствами и главным контроллером 240.
[74] Контроллер/процессор 240 также соединяется с сенсорным экраном 250 и дисплеем 255. Оператор не-AP MLD 111 может использовать сенсорный экран 250 для того, чтобы вводить данные в не-AP MLD 111. Дисплей 255 может представлять собой жидкокристаллический дисплей, дисплей на светоизлучающих диодах или другой дисплей, допускающий рендеринг текста и/или по меньшей мере ограниченной графики, к примеру, из веб-узлов. Запоминающее устройство 260 соединяется с контроллером/процессором 240. Часть запоминающего устройства 260 может включать в себя оперативное запоминающее устройство (RAM), и другая часть запоминающего устройства 260 может включать в себя флэш-память или другое постоянное запоминающее устройство (ROM).
[75] Хотя фиг. 2b иллюстрирует один пример не-AP MLD 111, различные изменения могут вноситься в фиг. 2b. Например, различные компоненты на фиг. 2b могут комбинироваться, дополнительно подразделяться или опускаться, и дополнительные компоненты могут добавляться согласно конкретным потребностям. В конкретных примерах, одна или более аффилированных STA 203a-203n могут включать в себя любое число антенн 205 для MIMO-связи с AP 101. В другом примере, не-AP MLD 111 может не включать в себя голосовую связь, или контроллер/процессор 240 может разделяться на несколько процессоров, к примеру, на один или более центральных процессоров (CPU) и на один или более графических процессоров (GPU). Кроме того, хотя фиг. 2b иллюстрирует не-AP MLD 111, сконфигурированное в качестве мобильного телефона или смартфона, не-AP MLD могут быть выполнены с возможностью работать в качестве мобильных или стационарных устройств других типов.
[76] Фиг. 3 иллюстрирует пример различных компонентов временной синхронизации, связанных с SP согласно TWT, согласно вариантам осуществления настоящего раскрытия. В этом примере, STA1 может представлять собой не-AP STA, такую как STA 111. STA1 представляет собой планируемую с TWT STA, а AP1 (не проиллюстрирована) представляет собой ее ассоциированную AP, планирующую TWT.
[77] STA1 устанавливает планировочное решение в отношении широковещательного TWT с AP1. t1 является значением целевого времени пробуждения, указываемым в поле целевого времени пробуждения в поле набора параметров широковещательного TWT элемента TWT. Следовательно, t1 представляет собой время, когда STA1 должна в идеале иметь возможность начинать обмены кадрами с AP1. Начиная с t1, временная длительность, которая требуется STA для того, чтобы оставаться пробужденной, является значением номинального времени (T) пробуждения, указываемым в поле номинальной минимальной длительности пробуждения согласно TWT в поле набора параметров широковещательного TWT. По различным причинам, для STA1 может быть невозможным начинать обмены кадрами с AP1 в номинальное начальное время SP, t1. Фактическое начальное время SP может быть гораздо позже. На чертеже, фактическое начальное время SP указывается в качестве времени t2. При задержанном фактическом начальном времени SP, минимальная длительность пробуждения для STA1 также регулируется и указывается в качестве AdjustedMinimumTWTWakeDuration=T-(t2-t1).
[78] Кадр информации TWT отправляется посредством STA для того, чтобы запрашивать или доставлять информацию относительно TWT, и передается посредством STA соглашения в отношении TWT или планировочного решения в отношении TWT, либо передается посредством STA в ее равноправную STA. Формат кадра информации TWT показан в таблице 1.
[79] [80]
[81] Фиг. 4 иллюстрирует примерный формат поля 402 информации TWT в кадре информации TWT по таблице 1 согласно вариантам осуществления настоящего раскрытия.
[82] Согласно одному варианту осуществления, с использованием варианта кадра информации TWT, может быть возможным приостанавливать или возобновлять конкретное планировочное решение в отношении широковещательного TWT для STA, которая является членом соответствующего планировочного решения.
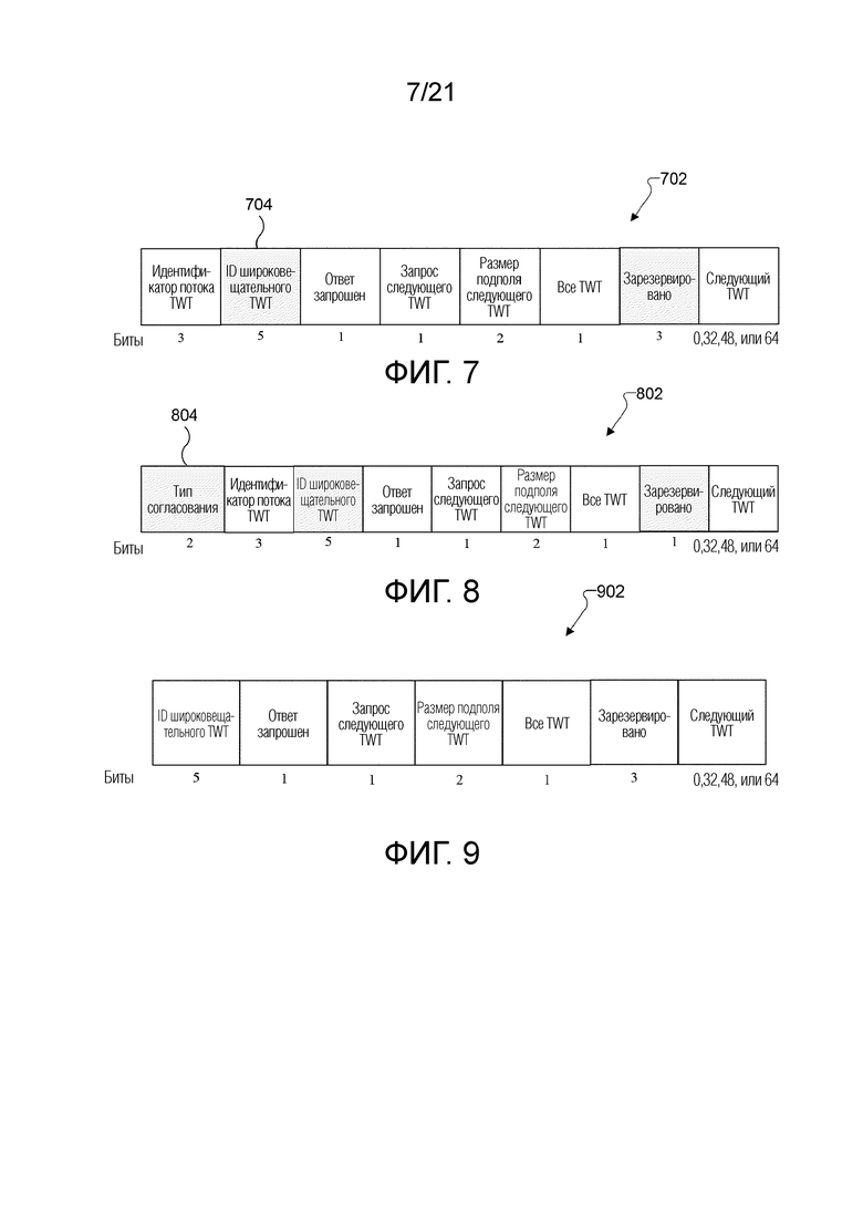
[83] Фиг. 5 иллюстрирует пример приостановки планировочного решения в отношении широковещательного TWT для конкретного планировочного решения в отношении широковещательного TWT согласно вариантам осуществления настоящего раскрытия. В этом примере, AP может представлять собой AP 101, и STA1 может представлять собой не-AP STA, такую как STA 111. В примере по фиг. 5, кадр 502 информации TWT используется посредством STA1 для того, чтобы приостанавливать планировочное решение в отношении широковещательного TWT до времени t7.
[84] Согласно одному варианту осуществления, с использованием варианта кадра информации TWT, может быть возможным приостанавливать или возобновлять конкретное планировочное решение в отношении широковещательного TWT для STA, которая является членом соответствующего планировочного решения, при поддержании непрерываемым любого другого соглашения или планировочного решения в отношении TWT, членом которого может быть эта STA.
[85] Фиг. 6 иллюстрирует пример приостановки планировочного решения в отношении широковещательного TWT для конкретного планировочного решения в отношении широковещательного TWT, в то время как другие планировочные решения в отношении широковещательного TWT поддерживаются согласно вариантам осуществления настоящего раскрытия. В этом примере, AP может представлять собой AP 101, и STA1 может представлять собой не-AP STA, такую как STA 111. В примере по фиг. 6, кадр 602 информации TWT используется посредством STA1 для того, чтобы приостанавливать планировочное решение в отношении широковещательного TWT, указываемое в качестве планировочного решения 1, до времени t13. Между тем, планировочное решение в отношении широковещательного TWT, указываемое в качестве планировочного решения 2, поддерживается.
[86] Согласно одному варианту осуществления, чтобы указывать то, что кадр информации TWT предназначен для конкретного планировочного решения в отношении широковещательного TWT, идентификатор, который указывает то, что соответствующее планировочное решение в отношении широковещательного TWT, может включаться в поле информации TWT. Согласно одному варианту осуществления, подполе ID широковещательного TWT может включаться в поле информации TWT. Такое модифицированное (относительно существующей спецификации) поле информации TWT может называться "полем информации TWT EHT-варианта".
[87] Фиг. 7 иллюстрирует примерный формат поля 702 информации TWT EHT-варианта, включающего в себя подполе 704 ID широковещательного TWT, согласно вариантам осуществления настоящего раскрытия. Интерпретации и использование подполя идентификатора потока TWT, подполя ‘ответ запрошен’, подполя запроса следующего TWT, подполя размера подполя следующего TWT, подполя всех TWT и подполя следующего TWT в поле 702 информации TWT EHT-варианта являются идентичными таковым поля информации TWT (например, поля 402 информации TWT по фиг. 4). Подполе 704 ID широковещательного TWT в поле 702 информации TWT EHT-варианта может быть значением, аналогичным значению подполя ID широковещательного TWT в подполе информации широковещательного TWT в поле набора параметров широковещательного TWT, соответствующем планировочному решению в отношении широковещательного TWT, предназначенному для приостановки или возобновления посредством поля информации TWT.
[88] STA в BSS может быть членом одного или более планировочных решений в отношении широковещательного TWT, а также членом одного или более соглашений в отношении отдельного TWT. Чтобы отличать то, предназначено ли поле информации TWT EHT-варианта для конкретного планировочного решения в отношении широковещательного TWT или соглашения в отношении отдельного TWT, подполе индикатора может вводиться в поле информации TWT EHT-варианта. Например, если подполе индикатора задается равным 0, это может указывать то, что соответствующее поле информации TWT EHT-варианта предназначено для соглашения в отношении отдельного TWT, на которое STA подписана. В противном случае, это может указывать то, что соответствующее поле информации TWT EHT-варианта предназначено для планировочного решения в отношении широковещательного TWT, членом которого является упомянутая STA, или наоборот.
[89] Согласно одному варианту осуществления, подполе типа согласования может включаться в поле информации TWT EHT-варианта для того, чтобы указывать то, предназначен ли кадр информации TWT для соглашения в отношении отдельного TWT, для планировочного решения в отношении широковещательного TWT либо и для того, и для другого.
[90] Фиг. 8 иллюстрирует примерный формат поля 802 информации TWT EHT-варианта, включающего в себя подполе 804 типа согласования, согласно вариантам осуществления настоящего раскрытия. Кодирование значений подполя 804 типа согласования в поле 802 информации TWT EHT-варианта показано в таблице 2.
[91] [92]
[93] Согласно одному варианту осуществления, значение 2 в таблице 2 может использоваться в сочетании с подполем всех TWT поля 802 информации TWT EHT-варианта. Например, если подполе всех TWT в поле 802 информации TWT EHT-варианта задается равным 1, подполе 804 типа согласования в поле 802 информации TWT EHT-варианта может задаваться равным 2 для того, чтобы указывать то, что все TWT - как соглашения в отношении отдельного TWT, так и планировочные решения в отношении широковещательного TWT - предназначены (т.е. предназначены для приостановки или возобновления) этим полем информации TWT EHT-варианта.
[94] Согласно одному варианту осуществления, если подполе типа согласования в поле информации TWT EHT-варианта задается равным 0, то подполе ID широковещательного TWT в поле информации TWT EHT-варианта резервируется.
[95] Согласно одному варианту осуществления, если подполе типа согласования в поле информации TWT EHT-варианта задается равным 1, то подполе идентификатора потока TWT в поле информации TWT EHT-варианта резервируется.
[96] Согласно одному варианту осуществления, если подполе всех TWT задается равным 1, оно указывает то, что все соглашения в отношении отдельного TWT, на которые подписывается STA, предназначены полем информации TWT EHT-варианта. Согласно одному варианту осуществления, это может указывать то, что все планировочные решения в отношении широковещательного TWT, в которых STA является членом, предназначены полем информации TWT EHT-варианта. Согласно еще одному варианту осуществления, это может указывать то, что как соглашения в отношении отдельного TWT, так и планировочные решения в отношении широковещательного TWT предназначены полем информации TWT EHT-варианта.
[97] Согласно одному варианту осуществления, если подполе всех TWT в поле информации TWT EHT-варианта задается равным 1, то подполе идентификатора потока TWT и подполе ID широковещательного TWT могут резервироваться. Согласно одному варианту осуществления, если подполе всех TWT задается равным 1, то подполе типа согласования может резервироваться.
[98] Согласно одному варианту осуществления, если подполе всех TWT в поле информации TWT EHT-варианта задается равным 1, и подполе типа согласования задается равным 0, это может указывать то, что все соглашения в отношении отдельного TWT, на которые подписывается STA, предназначены полем информации TWT EHT-варианта. В таких случаях, согласно одному варианту осуществления, подполе идентификатора потока TWT может резервироваться, и подполе ID широковещательного TWT также может резервироваться. Согласно одному варианту осуществления, если подполе всех TWT в поле информации TWT EHT-варианта задается равным 1, и подполе типа согласования задается равным 1, это может указывать то, что все планировочные решения в отношении широковещательного TWT, в которых STA является членом, предназначены полем информации TWT EHT-варианта. В таких случаях, согласно одному варианту осуществления, подполе ID широковещательного TWT в поле информации TWT EHT-варианта может резервироваться, и подполе идентификатора потока TWT также может резервироваться.
[99] Согласно одному варианту осуществления, если подполе всех TWT в поле информации TWT EHT-варианта задается равным 0, поле информации TWT EHT-варианта может быть предназначено, как указано посредством подполя типа согласования, либо для конкретного планировочного решения в отношении широковещательного TWT, указываемого посредством подполя ID широковещательного TWT, либо для конкретного соглашения в отношении отдельного TWT, указываемого посредством подполя идентификатора потока TWT.
[100] Возможная интерпретация и использование подполя всех TWT в сочетании с подполем типа согласования в поле информации TWT EHT-варианта проиллюстрированы в таблице 3. Другие интерпретации и использования также являются возможными.
[101] [102]
[103] Согласно одному варианту осуществления, кадр, переносящий поле информации TWT EHT-варианта, может называться "кадром информации TWT EHT-варианта". Возможный формат кадра информации TWT EHT-варианта показан в таблице 4.
[104] [105]
[106] Согласно одному варианту осуществления, значения поля незащищенного S1G-действия могут содержать одно значение для поля информации TWT EHT-варианта. Например, согласно одному варианту осуществления, может использоваться значение 10, либо может использоваться любое зарезервированное в настоящее время значение, из значений 12-255, как показано в таблице 4A.
[107]
[108] Согласно одному варианту осуществления, как поле информации TWT, так и поле информации TWT EHT-варианта могут включаться в кадр информации TWT EHT-варианта, как показано в таблице 5.
[109] [110]
[111] Согласно одному варианту осуществления, кадр информации TWT может быть конкретным для широковещательного TWT. Такой кадр информации TWT может называться "кадром информации широковещательного TWT". Кадр информации широковещательного TWT может содержать поле информации широковещательного TWT.
[112] Фиг. 9 иллюстрирует примерный формат поля 902 информации широковещательного TWT согласно вариантам осуществления настоящего раскрытия.
[113] Согласно одному варианту осуществления, кадр информации широковещательного TWT предназначен для планировочного решения в отношении широковещательного TWT, на которое подписывается STA и которое идентифицируется посредством подполя ID широковещательного TWT поля 902 информации широковещательного TWT. Согласно одному варианту осуществления, кадр информации широковещательного TWT предназначен для всех планировочных решений в отношении широковещательного TWT, на которые подписывается STA, если подполе всех TWT поля 902 информации широковещательного TWT задается равным 1, причем в этом случае подполе ID широковещательного TWT может резервироваться.
[114] Согласно одному варианту осуществления, кадр информации TWT может быть конкретным для ограниченного TWT. Такой кадр информации TWT может называться "кадром информации ограниченного TWT". Кадр информации ограниченного TWT может содержать поле информации ограниченного TWT. Формат поля информации ограниченного TWT может быть идентичным формату поля 902 информации широковещательного TWT. Согласно одному варианту осуществления, кадр информации ограниченного TWT предназначен для одного или более планировочных решений в отношении ограниченного TWT и может не быть применимым для других планировочных решений в отношении широковещательного TWT, которые не представляют собой планировочные решения в отношении ограниченного TWT, либо для других соглашений в отношении отдельного TWT.
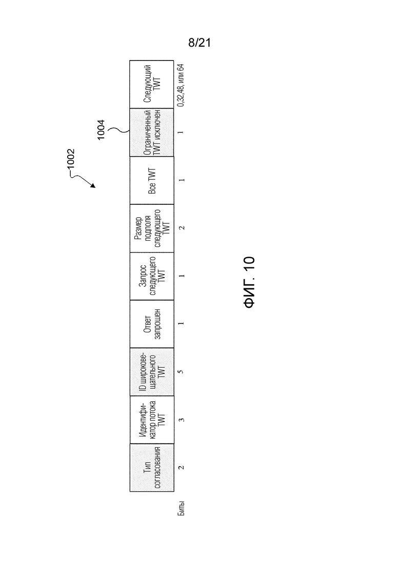
[115] Работа согласно ограниченному TWT поддерживает чувствительные ко времени задержки варианты применения для STA. STA, возможно, должна приоритезировать свои чувствительные ко времени задержки варианты применения выше своих потребностей по экономии мощности. При приостановке или возобновлении всех SP согласно TWT посредством задания подполя всех TWT кадра информации TWT, планируемая с r-TWT STA может захотеть исключить свои планировочные решения в отношении ограниченного TWT из приостановки (или возобновления). Чтобы обеспечивать возможность выполнения такой операции, подполе исключаемого ограниченного TWT может включаться в поле информации TWT EHT-варианта в качестве индикатора для исключения или включения планировочных решений в отношении ограниченного TWT.
[116] Фиг. 10 иллюстрирует примерный формат поля 1002 информации TWT EHT-варианта, включающего в себя подполе 1004 исключаемого ограниченного TWT согласно вариантам осуществления настоящего раскрытия. Если подполе всех TWT задается равным 1, и подполе 1004 исключаемого ограниченного TWT задается равным 1, это может указывать то, что все планировочные решения в отношении широковещательного TWT или соглашения в отношении отдельного TWT предназначены полем 1002 информации TWT EHT-варианта (например, для приостановки или возобновления SP согласно TWT) за исключением планировочных решений в отношении ограниченного TWT, в которых STA является членом.
[117] Согласно одному варианту осуществления, со ссылкой на фиг. 10 и таблицу 3, если подполе всех TWT задается равным 0, подполе 1004 исключаемого ограниченного TWT может резервироваться.
[118] Согласно одному варианту осуществления, со ссылкой на фиг. 10 и таблицу 3, если подполе всех TWT задается равным 1, и подполе типа согласования задается равным 0, подполе 1004 исключаемого ограниченного TWT может резервироваться.
[119] Согласно одному варианту осуществления, со ссылкой на фиг. 10 и таблицу 3, если подполе всех TWT задается равным 1, и подполе типа согласования задается равным 3, подполе 1004 исключаемого ограниченного TWT может резервироваться.
[120] Согласно одному варианту осуществления, со ссылкой на фиг. 10 и таблицу 3, если подполе всех TWT задается равным 1, и подполе типа согласования задается равным 1, и если подполе 1004 исключаемого ограниченного TWT задается равным 1, то это может указывать то, что поле информации TWT EHT-варианта предназначено для (например, для приостановки или возобновления) всех планировочных решений в отношении широковещательного TWT, членом которых является STA, за исключением планировочных решений в отношении ограниченного TWT, членом которых является STA. Согласно одному варианту осуществления, если подполе всех TWT задается равным 1, и подполе типа согласования задается равным 1, и если подполе 1004 исключаемого ограниченного TWT задается равным 0, то это может указывать то, что поле информации TWT EHT-варианта предназначено для (например, для приостановки или возобновления) всех планировочных решений в отношении широковещательного TWT, членом которых является STA, включающих в себя планировочные решения в отношении ограниченного TWT, членом которых является STA.
[121] Согласно одному варианту осуществления, со ссылкой на фиг. 10 и таблицу 3, если подполе всех TWT задается равным 1, и подполе типа согласования задается равным 2, и если подполе 1004 исключаемого ограниченного TWT задается равным 1, то это может указывать то, что поле информации TWT EHT-варианта предназначено для (например, для приостановки или возобновления) всех соглашений в отношении отдельного TWT и планировочных решений в отношении широковещательного TWT, членом которых является STA, за исключением планировочных решений в отношении ограниченного TWT, членом которых является STA. Согласно одному варианту осуществления, если подполе всех TWT задается равным 1, и подполе типа согласования задается равным 2, и если подполе 1004 исключаемого ограниченного TWT задается равным 0, то это может указывать то, что поле информации TWT EHT-варианта предназначено для (например, для приостановки или возобновления) всех соглашений в отношении отдельного TWT и планировочных решений в отношении широковещательного TWT, членом которых является STA, включающих в себя планировочные решения в отношении ограниченного TWT, членом которых является STA.
[122] Согласно одному варианту осуществления, если подполе всех TWT задается равным 1, подполе 1004 исключаемого ограниченного TWT может резервироваться.
[123] Фиг. 11 иллюстрирует примерный формат поля 1102 информации TWT EHT-варианта, включающего в себя подполе 1104 всех ограниченных TWT согласно вариантам осуществления настоящего раскрытия. Если подполе 1104 всех ограниченных TWT задается равным 1, оно указывает то, что кадр информации TWT предназначен для (например, для приостановки и возобновления) всех планировочных решений в отношении ограниченного TWT, членом которых является планируемая с r-TWT STA, которая принимает или передает поле 1102 информации TWT EHT-варианта. Согласно одному варианту осуществления, если подполе 1104 всех ограниченных TWT задается равным 1, то подполе исключаемого ограниченного TWT может резервироваться. Согласно одному варианту осуществления, если подполе исключаемого ограниченного TWT задается равным 1, то подполе 1104 всех ограниченных TWT может резервироваться. Согласно одному варианту осуществления, если подполе 1104 всех ограниченных TWT задается равным 1, то подполе идентификатора потока TWT и подполе ID широковещательного TWT могут резервироваться.
[124] Фиг. 12 иллюстрирует примерный формат поля 1202 информации TWT EHT-варианта, включающего в себя подполе 1104 всех ограниченных TWT, когда подполе типа согласования задается равным 0, и подполе всех TWT задается равным 0 согласно вариантам осуществления настоящего раскрытия. Со ссылкой на фиг. 11, если подполе типа согласования задается равным 0, и подполе всех TWT задается равным 0, то формат поля 1202 информации TWT EHT-варианта может использоваться.
[125] Фиг. 13 иллюстрирует примерный формат поля 1302 информации TWT EHT-варианта, включающего в себя подполе 1104 всех ограниченных TWT, когда подполе типа согласования задается равным 0, и подполе всех TWT задается равным 0 согласно вариантам осуществления настоящего раскрытия. Со ссылкой на фиг. 11, если подполе типа согласования задается равным 0, и подполе всех TWT задается равным 0, то формат поля 1302 информации TWT EHT-варианта может использоваться.
[126] Фиг. 14 иллюстрирует примерный формат поля 1402 информации TWT EHT-варианта, включающего в себя подполе 1104 всех ограниченных TWT, согласно вариантам осуществления настоящего раскрытия. Со ссылкой на фиг. 11, поле 1402 информации TWT EHT-варианта может использоваться, когда возникает любой из следующих случаев: Подполе всех TWT задается равным 1, подполе типа согласования задается равным 2 или 3, либо подполе всех ограниченных TWT задается равным 1.
[127] Согласно одному варианту осуществления, планировочные решения в отношении ограниченного TWT могут избирательно исключаться. Чтобы обеспечивать это, другой формат поля информации TWT EHT-варианта может использоваться.
[128] Фиг. 15 иллюстрирует примерный формат поля 1502 информации TWT EHT-варианта, обеспечивающего избирательное исключение планировочных решений в отношении ограниченного TWT с использованием подполя 1504 информации исключения планировочных решений в отношении r-TWT согласно вариантам осуществления настоящего раскрытия. Согласно одному варианту осуществления, подполе 1506 числа исключаемых планировочных решений в отношении r-TWT указывает число планировочных решений в отношении r-TWT, которые исключаются из списка планировочных решений или соглашений в отношении TWT, предназначенных для поля 1502 информации TWT EHT-варианта.
[129] На фиг. 15, "N" может быть числом планировочных решений в отношении r-TWT, которые исключаются. Это значение может быть значением, заданным в подполе 1506 числа исключаемых планировочных решений в отношении r-TWT. Например, если подполе числа исключаемых планировочных решений в отношении r-TWT задается равным 2, может быть предусмотрено два подполя 1508 идентификатора широковещательного TWT в подполе 1504 информации исключения планировочных решений в отношении r-TWT после подполя 1506 числа исключаемых планировочных решений в отношении r-TWT: первый ID широковещательного TWT соответствует первому планировочному решению в отношении ограниченного TWT, которое исключается (например, планировочному решению 1), а второй ID широковещательного TWT соответствует второму планировочному решению в отношении ограниченного TWT, которое исключается (например, планировочному решению 2). Соответственно, число зарезервированных битов в подполе 1504 информации исключения планировочных решений в отношении r-TWT может быть равно 3 (т.е. числу битов, требуемых для того, чтобы задавать общее число битов в подполе информации исключения планировочных решений в отношении r-TWT целым кратным 8).
[130] Согласно одному варианту осуществления, если подполе исключаемого ограниченного TWT в поле 1502 информации TWT EHT-варианта задается равным 0, то подполе 1504 информации исключения планировочных решений в отношении r-TWT может резервироваться.
[131] Согласно одному варианту осуществления, со ссылкой на фиг. 15, подполе длины может включаться в подполе информации исключения планировочных решений в отношении r-TWT в поле информации TWT EHT-варианта для того, чтобы указывать длину подполя информации исключения планировочных решений в отношении r-TWT. Длина может указываться в октетах.
[132] Согласно одному варианту осуществления, со ссылкой на фиг. 15, подполе всех R-TWT может включаться в подполе информации исключения планировочных решений в отношении r-TWT в поле информации TWT EHT-варианта. Подполе всех R-TWT может указывать то, что все планировочные решения в отношении ограниченного TWT, членом которых является STA, предназначены полем информации TWT EHT-варианта.
[133] Согласно одному варианту осуществления, может быть возможным использовать аналогичный информационный кадр, чтобы приостанавливать или возобновлять несколько планировочных решений или соглашений в отношении TWT. Чтобы обеспечивать это, кадр обобщенной информации TWT может использоваться. Формат кадра обобщенной информации TWT показан в таблице 6.
[134] [135]
[136] Фиг. 16 иллюстрирует примерный формат поля 1602 обобщенной информации TWT в кадре обобщенной информации TWT по таблице 6 согласно вариантам осуществления настоящего раскрытия. На фиг. 16, подполе 1604 числа планировочных решений/соглашений в отношении TWT указывает число планировочных решений в отношении широковещательного TWT или соглашений в отношении отдельного TWT, информация которых предоставляется посредством кадра 1602 обобщенной информации TWT. Подполе 1606 наборов информации TWT содержит одно или более подполей наборов информации TWT, как указано посредством значения, заданного в подполе 1604 числа планировочных решений/соглашений в отношении TWT.
[137] Фиг. 17 иллюстрирует примерный формат подполя 1702 наборов информации TWT согласно вариантам осуществления настоящего раскрытия. Одно или более подполей 1702 наборов информации TWT могут включаться в подполе 1606 наборов информации TWT по фиг. 16.
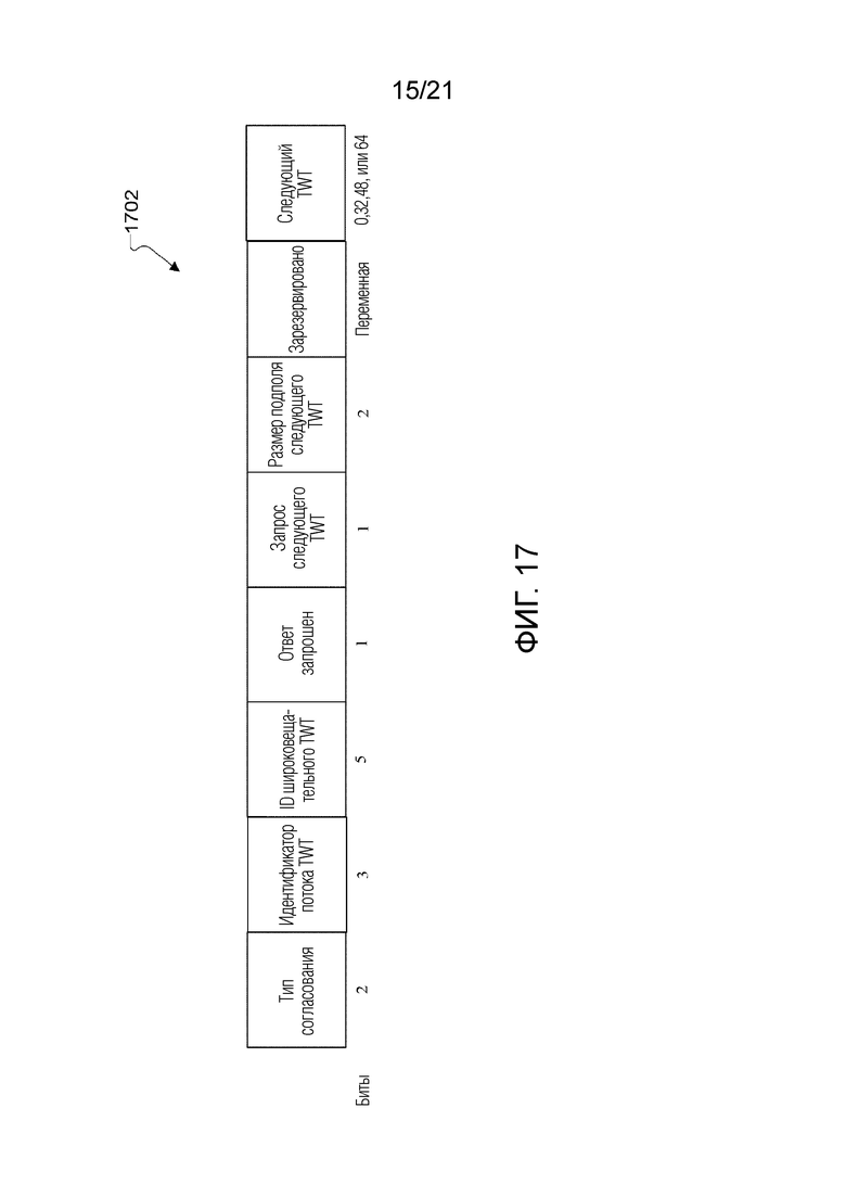
[138] На фиг. 17, подполе типа согласования указывает то, служит ли набор информации TWT для соглашения в отношении отдельного TWT, как идентифицировано посредством подполя идентификатора потока TWT в подполе наборов информации TWT, либо для планировочного решения в отношении широковещательного TWT, как идентифицировано посредством подполя ID широковещательного TWT в подполе наборов информации TWT.
[139] Согласно одному варианту осуществления, кадр для предоставления информации TWT может быть конкретным для ограниченного TWT. С этой целью, кадр обобщенной информации ограниченного TWT может использоваться. Формат кадра обобщенной информации ограниченного TWT показан в таблице 7.
[140] [141]
[142] Фиг. 18 иллюстрирует примерный формат поля 1802 обобщенной информации ограниченного TWT в кадре обобщенной информации ограниченного TWT по таблице 7 согласно вариантам осуществления настоящего раскрытия.
[143] Согласно одному варианту осуществления, если планировочное решение в отношении r-TWT для планируемой с r-TWT STA приостанавливается (например, посредством использования кадра информации TWT EHT-варианта или кадра обобщенной информации TWT, или кадра обобщенной информации ограниченного TWT), то STA, до тех пор, пока планировочное решение в отношении r-TWT не возобновляется, может вести себя во время приостановленных SP в ограниченном TWT, как если STA не является членом соответствующего планировочного решения в отношении ограниченного TWT. Например, согласно этому варианту осуществления, STA может завершать любую возможность передачи (TXOP), которую оно, возможно, получает перед началом SP в ограниченном TWT, которые приостанавливаются для STA. В качестве другого примера, согласно этому варианту осуществления, STA может соблюдать любой интервал молчания, оповещаемый посредством планирующей r-TWT AP, чтобы защищать соответствующие SP согласно ограниченному TWT, которые приостанавливаются для этой STA. Согласно одному варианту осуществления, STA, даже во время приостановленных SP согласно r-TWT для STA, может не завершать свою TXOP перед начальным временем SP согласно r-TWT и может не соблюдать интервал молчания, оповещаемый посредством планирующей r-TWT AP для защиты соответствующих SP согласно r-TWT.
[144] Согласно одному варианту осуществления, если планировочное решение в отношении r-TWT приостанавливается для планируемой с r-TWT STA, и если отсутствует другая STA, которая является членом этого планировочного решения в отношении r-TWT, то STA, которые не представляют собой планируемые с r-TWT STA, соответствующие приостановленному планировочному решению, возможно, не должны завершать свои TXOP перед началом приостановленных SP согласно r-TWT. Согласно одному варианту осуществления, STA, которые не представляют собой планируемые с r-TWT STA, соответствующие приостановленному планировочному решению, могут игнорировать интервалы молчания, соответствующие защите приостановленных SP согласно r-TWT.
[145] Согласно одному варианту осуществления, если несколько STA являются членами планировочного решения в отношении r-TWT, и планировочное решение в отношении r-TWT приостанавливается для STA-членов по меньшей мере до времени t1, то планирующая r-TWT AP может отправлять сообщение уведомления в сообщении в своем BSS, указывающее то, что планировочное решение в отношении r-TWT приостанавливается в BSS до времени t1. Сообщение уведомления может широковещательно передаваться по своему характеру либо может быть включено в кадр маякового радиосигнала или в кадр тестового ответа, или в кадр ответа по (повторному) ассоциированию. Сообщение уведомления может включать в себя следующую информацию:
[146] - Идентификатор планировочного решения в отношении ограниченного TWT, которое приостанавливается. Например, идентификатор может представлять собой ID широковещательного TWT, соответствующий планировочному решению в отношении ограниченного TWT.
[147] -- Минимальное время, когда по меньшей мере одна из STA, которые являются членами планировочного решения, должна возобновлять свое планировочное решение в отношении r-TWT. Например, может быть предусмотрено три STA-члена для планировочного решения в отношении r-TWT. Планировочное решение приостанавливается для трех STA до времен t1, t2 и t3, соответственно, где t1<t2<t3. В сообщение уведомления, AP может включать значение t1. Это значение может представлять собой значение следующего целевого времени пробуждения (следующего TWT) для этого планировочного решения.
[148] -- Размер значения следующего TWT.
[149] -- Индикатор того, запрошен или нет ответ от получателя сообщения.
[150] Согласно одному варианту осуществления, кадр информации приостановки ограниченного TWT может использоваться посредством AP для того, чтобы передавать вышеприведенную информацию. Один возможный формат кадра информации приостановки ограниченного TWT показан в таблице 8.
[151] [152]
[153] Фиг. 19 иллюстрирует примерный формат поля 1902 информации приостановки ограниченного TWT в кадре информации приостановки ограниченного TWT по таблице 8 согласно вариантам осуществления настоящего раскрытия.
[154] Подполе ID широковещательного TWT в поле 1902 информации приостановки ограниченного TWT указывает ID широковещательного TWT, соответствующий планировочному решению в отношении ограниченного TWT, которое приостанавливается, и информация которого переносится в кадре информации приостановки ограниченного TWT.
[155] Подполе ‘ответ запрошен’ в поле 1902 информации приостановки ограниченного TWT указывает то, запрашивается или нет ответный кадр посредством передатчика кадра информации приостановки ограниченного TWT при приеме кадра посредством получателя.
[156] Подполе размера подполя следующего TWT в поле 1902 информации приостановки ограниченного TWT указывает размер подполя следующего TWT поля информации приостановки ограниченного TWT. Кодирование подполя 1902 размера подполя следующего TWT показано в таблице 9.
[157] [158]
[159] Подполе следующего TWT в поле 1902 информации приостановки ограниченного TWT имеет переменный размер, который определяется посредством значения, заданного в подполе размера подполя следующего TWT на основе кодирования, описанного в таблице 9. Подполе следующего TWT содержит значение младшей части TSF значения следующего TWT для соответствующего планировочного решения в отношении ограниченного TWT, информация которого переносится в кадре информации приостановки ограниченного TWT.
[160] Фиг. 20 иллюстрирует блок-схему 2002 последовательности операций способа примерного поведения AP в контексте использования кадра информации приостановки ограниченного TWT согласно вариантам осуществления настоящего раскрытия.
[161] Фиг. 21 иллюстрирует блок-схему 2102 последовательности операций способа примерного поведения не-AP STA в контексте использования кадра информации приостановки ограниченного TWT согласно вариантам осуществления настоящего раскрытия.
[162] Согласно одному варианту осуществления, кадр обобщенной информации приостановки ограниченного TWT может переносить информацию приостановки r-TWT для нескольких планировочных решений в отношении r-TWT. Примерный формат кадра обобщенной информации приостановки ограниченного TWT показан в таблице 10.
[163] [164]
[165] Фиг. 22 иллюстрирует примерный формат поля 2202 обобщенной информации приостановки ограниченного TWT в кадре обобщенной информации приостановки ограниченного TWT по таблице 10 согласно вариантам осуществления настоящего раскрытия.
[166] Согласно одному варианту осуществления, информация, содержащаяся в кадре информации приостановки ограниченного TWT и кадре обобщенной информации приостановки ограниченного TWT, также может переноситься в форматах элементов, например, посредством использования элемента информации приостановки ограниченного TWT и элемента обобщенной информации приостановки ограниченного TWT, соответственно. Форматы элемента информации приостановки ограниченного TWT и элемента обобщенной информации приостановки ограниченного TWT могут быть аналогичными форматам поля информации приостановки ограниченного TWT и поля обобщенной информации приостановки ограниченного TWT, соответственно. Элемент информации приостановки ограниченного TWT и элемент обобщенной информации приостановки ограниченного TWT могут переноситься в кадре маякового радиосигнала, в кадре тестового ответа, в кадре ответа по (повторному) ассоциированию либо в другом управляющем кадре или кадре данных.
[167] Согласно одному варианту осуществления, AP может использовать кадр информации приостановки ограниченного TWT или кадр обобщенной информации приостановки ограниченного TWT для того, чтобы уведомлять STA в своем BSS в отношении того, что AP является недоступной до времени, указанного в подполе следующего TWT в соответствующих кадрах. Согласно этому варианту осуществления, STA, которая принимает либо кадр информации приостановки ограниченного TWT, либо кадр обобщенной информации приостановки ограниченного TWT из AP, не имеет возможности выполнять обмен кадрами с AP до времени, указанного в подполе следующего TWT, независимо от того, поддерживает STA или нет работу согласно TWT. AP, которая аффилируется с AP MLD, может использовать этот механизм для того, чтобы временно отключать линию связи (например, для целей экономии мощности).
[168] Согласно одному варианту осуществления, STA, аффилированная с не-AP MLD, или AP, аффилированная с AP MLD, работающим в линии связи, может приостанавливать или возобновлять соглашение в отношении TWT или планировочное решение в отношении TWT, которое устанавливается по другой линии связи между аналогичными AP MLD и не-AP MLD.
[169] Согласно одному варианту осуществления, когда не-AP MLD ассоциировано с AP MLD, STA, аффилированная с не-AP MLD и работающая в линии связи между AP MLD и не-AP MLD, либо AP, аффилированная с AP MLD и работающая в линии связи между AP MLD и не-AP MLD, может отправлять кадр информации TWT с поддержкой MLO по этой линии связи, чтобы приостанавливать или возобновлять соглашение в отношении TWT или планировочное решение в отношении TWT, которое устанавливается по другой линии связи между аналогичными AP MLD и не-AP MLD. Формат и использование кадра информации TWT с поддержкой MLO могут быть аналогичными формату и использованию кадров информации TWT EHT-варианта, раскрытых выше с дополнительной конкретной для линии связи информацией TWT. Например, идентификатор линии связи может включаться в кадр информации TWT с поддержкой MLO, чтобы указывать то, для какой линии связи из нескольких линий связи между AP MLD и не-AP MLD предназначена информация TWT, переносимая в кадре информации TWT с поддержкой MLO.
[170] Согласно одному варианту осуществления, вместо идентификационной информации линии связи, битовая карта ID линий связи также может использоваться. Возможный формат кадра информации TWT с поддержкой MLO показан в таблице 11.
[171] [172]
[173] Фиг. 23 иллюстрирует примерный формат поля 2302 информации TWT с поддержкой MLO в кадре информации TWT с поддержкой MLO по таблице 11 согласно вариантам осуществления настоящего раскрытия.
[174] На фиг. 23, подполе 2304 битовой карты ID линий связи для информации TWT указывает MLO-линии связи, для которых информация TWT (например, для приостановки или возобновления SP согласно TWT для соответствующего планировочного решения в отношении TWT или соглашения в отношении TWT) предоставляется в поле 2302 информации TWT с поддержкой MLO. Если бит в битовой карте задается равным 1, это может указывать то, что информация TWT соответствующей линии связи предоставляется в поле информации TWT с поддержкой MLO, переносящем битовую карту. В противном случае, информация TWT соответствующей линии связи не предоставляется в поле информации TWT с поддержкой MLO.
[175] На фиг. 23, подполе 2306 информации TWT для наборов линий связи содержит одно или более подполей 2308 информации TWT в расчете на линию связи, в зависимости от общего числа единиц в подполе 2304 битовой карты ID линий связи информации TWT.
[176] В примере по фиг. 23, примерное подполе 2310 наборов информации TWT имеет формат, идентичный формату поля 1502 информации TWT EHT-варианта по фиг. 15. Тем не менее, следует понимать, что подполя 2310 наборов информации TWT могут использовать другой формат, к примеру, формат любого поля информации TWT EHT-варианта, раскрытого выше.
[177] Фиг. 24 иллюстрирует примерный процесс для обеспечения работы согласно TWT между MLD с использованием кадра информации TWT с поддержкой MLO согласно одному варианту осуществления настоящего раскрытия. Процесс по фиг. 24 поясняется как выполняемый посредством не-AP MLD, но следует понимать, что соответствующее AP MLD выполняет соответствующий процесс. Дополнительно, для удобства процесс по фиг. 24 поясняется как выполняемый посредством не-AP Wi-Fi MLD, содержащего множество STA, которые содержат приемо-передающее устройство, выполненное с возможностью формировать линию связи с соответствующей AP, аффилированной с MLD WI-FI AP. Тем не менее, следует понимать, что любое подходящее устройство беспроводной связи может выполнять эти процессы.
[178] Ссылаясь на фиг. 24, процесс начинается с передачи или приема, посредством не-AP MLD, в/из AP MLD, по первой из линий связи, сформированных между STA и AP, аффилированными с AP MLD, кадра информации TWT с поддержкой MLO, который включает в себя индикатор необходимости приостанавливать или возобновлять SP согласно TWT во второй из линий связи (этап 2405).
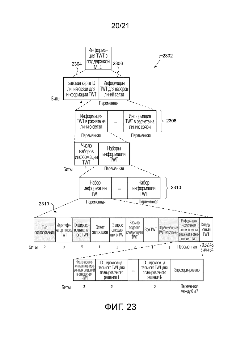
[179] В некоторых вариантах осуществления, индикатор представляет собой индикатор необходимости приостанавливать или возобновлять соглашение в отношении отдельного TWT, которое устанавливается во второй линии связи, и SP согласно TWT соответствуют соглашению в отношении отдельного TWT. В других вариантах осуществления, индикатор представляет собой индикатор необходимости приостанавливать или возобновлять планировочное решение в отношении широковещательного TWT, которое устанавливается во второй линии связи, и SP согласно TWT соответствуют планировочному решению в отношении широковещательного TWT.
[180] В некоторых вариантах осуществления, кадр информации TWT (возможно в сочетании с другим кадром) включает в себя информацию TWT и идентификатор линии связи для второй линии связи, который указывает то, что информация TWT предназначена для второй линии связи, и информация TWT указывает необходимость приостанавливать или возобновлять SP согласно TWT.
[181] В других вариантах осуществления, кадр информации TWT (возможно в сочетании с другим кадром) включает в себя наборы информации TWT, соответственно, предназначенные для одной или более линий связи, и битовую карту ID линий связи, которая указывает одну или более линий связи, включающих в себя вторую линию связи, и каждый набор информации TWT указывает необходимость приостанавливать или возобновлять SP согласно TWT в соответствующей линии связи. В некоторых таких вариантах осуществления, каждый набор информации TWT включает в себя по меньшей мере один ID широковещательного TWT или ID потока TWT. ID широковещательного TWT идентифицирует планировочное решение в отношении широковещательного TWT, устанавливаемое в соответствующей линии связи, и ID потока TWT идентифицирует соглашение в отношении отдельного TWT, устанавливаемое в соответствующей линии связи. В некоторых таких вариантах осуществления, SP согласно TWT не приостанавливаются или возобновляются на линиях связи, которые не указываются в битовой карте ID линий связи.
[182] Затем, на основе успешной передачи или приема кадра информации TWT по первой линии связи на этапе 2405, не-AP MLD приостанавливает или возобновляет SP согласно TWT во второй линии связи (этап 2410).
[183] Вышеуказанная блок-схема последовательности операций способа иллюстрирует примерный способ или процесс, который может реализовываться в соответствии с принципами настоящего раскрытия, и различные изменения могут вноситься в способы или процессы, проиллюстрированные на блок-схемах последовательности операций способа. Например, хотя показаны как последовательность этапов, различные этапы могут перекрываться, возникать параллельно, возникать в другом порядке или возникать многократно. В другом примере, этапы могут опускаться или заменяться посредством других этапов.
[184] Согласно одному варианту осуществления, набор значений в подполях следующего TWT в любом из предложенных кадров в этом раскрытии в качестве времени возобновления планировочного решения может извлекаться из набора TWT для планировочного решения в отношении широковещательного или ограниченного TWT, которое согласуется между планирующей TWT AP и планируемой с TWT STA. Согласно одному варианту осуществления, набор значений в подполях следующего TWT может не обязательно извлекаться из набора TWT, который согласуется между планирующей TWT AP и планируемой с TWT STA, т.е. подполя следующего TWT в предложенных кадрах могут быть любым положительным значением (т.е. представлять собой гибкий TWT).
[185] Согласно одному варианту осуществления, кадр информации TWT EHT-варианта или кадр обобщенной информации TWT также может представлять собой защищенный информационный кадр. В таких случаях, второе поле соответствующих кадров может представлять собой защищенное рабочее поле.
[186] Хотя настоящее раскрытие описано с примерным вариантом осуществления, различные изменения и модификации могут предлагаться специалистам в данной области техники. Подразумевается, что настоящее раскрытие охватывает такие изменения и модификации как попадающие в пределы объема прилагаемой формулы изобретения. Описание в этой заявке вообще не должно читаться как подразумевающее то, что любой конкретный элемент, этап или функция представляет собой существенный элемент, который должен включаться в объем формулы изобретения. Объем патентуемого предмета изобретения задается посредством формулы изобретения.
Изобретение относится к управлению мощностью в системах беспроводной связи. Технический результат заключается в возможности доступа к каналу планируемым станциям (STA) – членам устройства с поддержкой нескольких линий связи (MLD) с ограниченным целевым временем пробуждения (r-TWT), что помогает чувствительным ко времени задержки потокам трафика. Для этого устройство MLD - не-точка доступа (AP) содержит процессор и STA, каждая из которых содержит приемо-передающее устройство, выполненное с возможностью формировать линии связи с AP, аффилированными с AP MLD. Первое из приемо-передающих устройств дополнительно выполнено с возможностью передавать или принимать в/из AP MLD по первой из линий связи кадр информации целевого времени пробуждения (TWT) с поддержкой работы с несколькими линиями связи (MLO), который включает в себя индикатор необходимости приостанавливать или возобновлять периоды предоставления услуг (SP) согласно TWT во второй из линий связи. 3 н. и 12 з.п. ф-лы, 25 ил., 11 табл.
1. Устройство с поддержкой нескольких линий связи (MLD)-не-точка доступа (AP), содержащее:
- станции (STA), содержащие приемо-передающие устройства, выполненные с возможностью формировать линии связи с AP, соответственно, причем AP аффилированы с AP MLD; и
- процессор, функционально соединенный с приемо-передающими устройствами,
- при этом первое из приемо-передающих устройств дополнительно выполнено с возможностью передавать или принимать в/из AP MLD по первой из линий связи кадр информации целевого времени пробуждения (TWT) с поддержкой работы с несколькими линиями связи (MLO), который включает в себя индикатор необходимости приостанавливать или возобновлять периоды предоставления услуг (SP) согласно TWT во второй из линий связи, и
- при этом процессор выполнен с возможностью, на основе успешной передачи или приема кадра информации TWT по первой линии связи, приостанавливать или возобновлять SP согласно TWT во второй линии связи.
2. Не-AP MLD по п. 1, в котором:
- индикатор представляет собой индикатор необходимости приостанавливать или возобновлять соглашение в отношении отдельного TWT, которое устанавливается во второй линии связи, и
- SP согласно TWT соответствуют этому соглашению в отношении отдельного TWT.
3. Не-AP MLD по п. 1 или 2, в котором:
- индикатор представляет собой индикатор необходимости приостанавливать или возобновлять планировочное решение в отношении широковещательного TWT, которое устанавливается во второй линии связи, и
- SP согласно TWT соответствуют этому планировочному решению в отношении широковещательного TWT.
4. Не-AP MLD по любому из предшествующих пунктов, в котором:
- кадр информации TWT, в сочетании с другим кадром, включает в себя информацию TWT и идентификатор (ID) линии связи для второй линии связи, который указывает то, что Информация TWT предназначена для второй линии связи, и
- Информация TWT указывает необходимость приостанавливать или возобновлять SP согласно TWT.
5. Не-AP MLD по любому из предшествующих пунктов, в котором:
- кадр информации TWT, в сочетании с другим кадром, включает в себя наборы информации TWT, соответственно, предназначенные для одной или более линий связи, и битовую карту ID линий связи, которая указывает одну или более линий связи, включающих в себя вторую линию связи, и
- каждый набор информации TWT указывает необходимость приостанавливать или возобновлять SP согласно TWT в соответствующей линии связи.
6. Не-AP MLD по любому из предшествующих пунктов, в котором:
- каждый набор информации TWT включает в себя по меньшей мере один ID широковещательного TWT или ID потока TWT,
- ID широковещательного TWT идентифицирует планировочное решение в отношении широковещательного TWT, устанавливаемое в соответствующей линии связи, и
- ID потока TWT идентифицирует соглашение в отношении отдельного TWT, устанавливаемое в соответствующей линии связи.
7. Не-AP MLD по любому из предшествующих пунктов, в котором SP согласно TWT не приостанавливаются или возобновляются на линиях связи, которые не указываются в битовой карте ID линий связи.
8. Устройство с поддержкой нескольких линий связи (MLD)-точка доступа (AP), содержащее:
- AP, содержащие приемо-передающие устройства, выполненные с возможностью формировать линии связи со станциями (STA), соответственно, причем STA аффилированы с не-AP MLD; и
- процессор, функционально соединенный с приемо-передающими устройствами,
- при этом первое из приемо-передающих устройств дополнительно выполнено с возможностью передавать или принимать в/из не-AP MLD по первой из линий связи кадр информации целевого времени пробуждения (TWT) с поддержкой работы с несколькими линиями связи (MLO), который включает в себя индикатор необходимости приостанавливать или возобновлять периоды предоставления услуг (SP) согласно TWT во второй из линий связи, и
- при этом процессор выполнен с возможностью, на основе успешной передачи или приема кадра информации TWT по первой линии связи, приостанавливать или возобновлять SP согласно TWT во второй линии связи.
9. AP MLD по п. 8, в котором:
- индикатор представляет собой индикатор необходимости приостанавливать или возобновлять соглашение в отношении отдельного TWT, которое устанавливается во второй линии связи, и
- SP согласно TWT соответствуют соглашению в отношении отдельного TWT.
10. AP MLD по п. 8 или 9, в котором:
- индикатор представляет собой индикатор необходимости приостанавливать или возобновлять планировочное решение в отношении широковещательного TWT, которое устанавливается во второй линии связи, и
- SP согласно TWT соответствуют планировочному решению в отношении широковещательного TWT.
11. AP MLD по любому из пп. 8-10, в котором:
- кадр информации TWT, в сочетании с другим кадром, включает в себя информацию TWT и идентификатор (ID) линии связи для второй линии связи, который указывает то, что Информация TWT предназначена для второй линии связи, и
- Информация TWT указывает необходимость приостанавливать или возобновлять SP согласно TWT.
12. AP MLD по любому из пп. 8-11, в котором:
- кадр информации TWT, в сочетании с другим кадром, включает в себя наборы информации TWT, соответственно, предназначенные для одной или более линий связи, и битовую карту ID линий связи, которая указывает одну или более линий связи, включающих в себя вторую линию связи, и
- каждый набор информации TWT указывает необходимость приостанавливать или возобновлять SP согласно TWT в соответствующей линии связи.
13. AP MLD по любому из пп. 8-12, в котором:
- каждый набор информации TWT включает в себя по меньшей мере один ID широковещательного TWT или ID потока TWT,
- ID широковещательного TWT идентифицирует планировочное решение в отношении широковещательного TWT, устанавливаемое в соответствующей линии связи, и
- ID потока TWT идентифицирует соглашение в отношении отдельного TWT, устанавливаемое в соответствующей линии связи.
14. AP MLD по любому из пп. 8-13, в котором SP согласно TWT не приостанавливаются или возобновляются на линиях связи, которые не указываются в битовой карте ID линий связи.
15. Способ беспроводной связи, осуществляемый посредством устройства с поддержкой нескольких линий связи (MLD) - не-точки доступа (AP), которое содержит станции (STA), при этом способ содержит этапы, на которых:
- передают или принимают в/из AP MLD, по первой из линий связи, сформированных между STA и AP, аффилированными с AP MLD, кадр информации целевого времени пробуждения (TWT) с поддержкой работы с несколькими линиями связи (MLO), который включает в себя индикатор необходимости приостанавливать или возобновлять периоды предоставления услуг (SP) согласно TWT во второй из линий связи; и
- на основе успешной передачи или приема кадра информации TWT по первой линии связи приостанавливают или возобновляют SP согласно TWT во второй линии связи.
| US 20210377856 A1, 02.12.2021 | |||
| US 20210144637 A1, 13.05.2021 | |||
| WO 2022032150 A1, 10.02.2022 | |||
| СОБСТВЕННАЯ WI-FI АРХИТЕКТУРА ДЛЯ СЕТЕЙ 802.11 | 2003 |
|
RU2340928C2 |
| ПЕРЕДАЧА В ЗАЩИТНОЙ ПОЛОСЕ ЧАСТОТ RAT | 2017 |
|
RU2709611C1 |
Авторы
Даты
2025-03-11—Публикация
2023-06-23—Подача