Область техники
Настоящее изобретение относится к RFID-метке с емкостной связью и способу ее работы.
Уровень техники
Метки с емкостной связью (CC-метки или CCT) предлагают повышенную безопасность, обеспечивая при этом подлинность и функциональную возможность отслеживания. Эта технология широко используется для отслеживания изделий, где безопасность и подлинность имеют первостепенное значение. Однако, когда размер CC-метки может быть уменьшен, а ее эффективность увеличена, количество потенциальных применений увеличивается.
Существуют другие типы RFID-меток, и они могут включать в себя антенны для приема RF-сигналов от считывателя для питания устройства и для ответа с помощью сигнала с использованием той же антенны. Однако использование таких антенн может увеличить размер устройств и усложнить изготовление, что, таким образом, ограничивает их применение. Кроме того, такие антенны могут стать причиной отказа, что приводит к снижению надежности устройств. CC-метки не используют антенну, а взаимодействуют с RF-сигналом, выдаваемым считывателем, путем изменения своего импеданса, что влияет на электрическое поле, создаваемое считывателем, и что, в свою очередь, определяется считывателем. Когда такие изменения импеданса модулируются, эта модуляция может быть декодирована для предоставления данных (например, идентификатора CC-метки).
«Технология монтажа 0,075 x 0,075 мм2 сверхмалых 7,5 мкм ультратонких RFID-чипов», Hideyuki Noda и Mitsuo Usami, 978-14244-2231-9/08, 2008 IEEE, Конференция по электронным компонентам и технологиям 2008 г., стр. 366–370 описывает производство небольших RFID-чипов, которые включают антенну. Однако производство таких RFID-чипов, особенно в больших масштабах, сопряжено с технологическими трудностями, которые могут снизить выход годного продукта в производственном процессе и увеличить количество отказов.
«Технология порошковых RFID-чипов», Mitsuo Usami, Hitachi, Ltd., 978-1-4244-2342-2/08, 2008 IEEE, стр. 1220-1223 описывает еще одну маленькую RFID-метку и способ ее изготовления, для которого снова требуется конструкция антенны, размещенная на RFID-чипе. Это ограничивает размер метки до нижнего предела.
«26,6-А 0,05x0,05 мм2 RFID-чип с легко уменьшаемой в масштабе ID-памятью», Usami, Hisao Tanabe, Akira Sato, Isao Sakama, Yukio Maki, Toshiaki Iwamatsu, Takashi Ipposhi, Yasuo Inoue, Hitachi, ISSCC 2007/СЕССИЯ 26/БЛОКИ ЭНЕРГОНЕЗАВИСИМОЙ ПАМЯТИ/26.6, 1-4244-0852-0/07, 2007 IEEE, стр. 482–483 описывает RFID-чип, который имеет уникальный IP-адрес и использует двусторонние электроды.
Еще одним требованием является то, чтобы RFID-метки могли бы быть прочитаны в присутствии других RFID-меток. Это может быть особенно сложно для очень маленьких RFID-меток, которые могут быть встроены во множество отдельных изделий, уложенных друг на друга или размещенных близко друг к другу.
Следовательно, требуются метка с емкостной связью и способ работы, позволяющие преодолеть эти проблемы.
Сущность изобретения
Предложена RFID-метка с емкостной связью (CC-метка или RFID-метка), являющаяся тонкой (например, имеющей толщину 100 мкм, 50 мкм или меньше), сформированной на полупроводниковой подложке, такой как кремний, одна поверхность которой покрыта металлическим слоем (например, золото на алюминии), а противоположная поверхность является неизолированной полупроводниковой поверхностью, которые вместе действуют как регулируемый импеданс. Схема или чип (например, интегральная схема, IC) на полупроводниковой подложке или внутри нее управляет устройством и изменяет его электрические свойства, как видно (электрически) с внешнего считывателя, который прикладывает электрическое поле через CC-метку, обычно с использованием электродов. CC-метка питается приложенным извне RF электрическим полем и реагирует на его присутствие изменением своих электрических свойств (в частности, своего импеданса). CC-метка имеет емкостную связь со считывателем, а IC модулирует ее электрические свойства для кодирования сигнала данных, который декодируется считывателем. Электрические свойства изменяются путем изменения импеданса между металлическим слоем и противоположным полупроводниковым слоем.
Когда одна или более или стопка таких CC-меток помещаются в электрическое поле, создаваемое считывателем, то только одна из CC-меток выполнена с возможностью реакции. В приведенном в качестве примера варианте осуществления настоящего изобретения оставшиеся CC-метки могут уменьшить свой импеданс (например, статически), посредством, например, применения короткого замыкания между металлической поверхностью и противоположной полупроводниковой поверхностью так, так что каждая CC-метка по очереди и по отдельности может реагировать и подавать свой выходной сигнал, модулируя RF входной сигнал.
Также предлагается способ изготовления RFID-метки с емкостной связью путем обеспечения полупроводниковой подложки (например, кремния), имеющей противоположные плоские поверхности, нанесения металлического слоя на одну из плоских поверхностей и образования схемы, описанной по ходу изложения настоящего описания, (например, CMOS схемы) на другой плоской поверхности или внутри нее (например, с помощью литографических методов). Предпочтительно толщина (т.е. расстояние между противоположными плоскими поверхностями) равна или меньше 50 мкм (или 25 мкм, 100 мкм или 150 мкм). Подложка может быть квадратной, прямоугольной или другой формы. Предпочтительно подложка и полученное устройство имеют ширину и/или длину, составляющую от 50 до 700 мкм.
Применение этих концепций включает, но не ограничивается, банкноты, визы, марки, официальные документы, голограммы, фольгу, сигареты и табачные изделия любого типа (например, стандартные сигареты и электронные сигареты), бутылки, этикетки, продукты питания, упаковку для продуктов питания, таблетки и другие фармацевтические продукты (включая их покрытия и упаковку), и другие типы упаковки, для которых требуются такие маленькие и сверхтонкие решения. CC-метка может быть встроена или прикреплена к таким изделиям.
В отличие от вышеописанного предшествующего уровня техники и в соответствии с первым аспектом настоящего изобретения предложена метка радиочастотной идентификации RFID с емкостной связью (например, CC-метка), содержащая:
полупроводниковую подложку, имеющую первую плоскую поверхность и вторую плоскую поверхность, удаленную от первой плоской поверхности;
металлическую контактную площадку, сформированную на первой плоской поверхности полупроводниковой подложки;
схему, сформированную на полупроводниковой подложке и электрически связанную с металлической контактной площадкой и второй плоской поверхностью полупроводниковой подложки, схема выполнена с возможностью реагирования на радиочастотный RF входной сигнал посредством предоставления сигнала данных, закодированного путем изменения импеданса между металлической контактной площадкой и второй плоской поверхностью полупроводниковой подложки. Наличие одной стороны, обеспечивающей металлическую контактную площадку, и другой, характеризующейся наличием полупроводниковой поверхности, снижает сложность производства (например, относительно CC-меток, которые могут иметь металлические контактные площадки на каждой стороне), поскольку полупроводниковая поверхность обеспечена подложкой, в то же время позволяя противоположной поверхности обеспечивать емкость, которая может быть изменена посредством изменения импеданса устройства между поверхностями. Плоские поверхности могут быть, например, ровными или изогнутыми (например, для приспособления к форме объекта, к которому прикреплена метка), не влияя на функцию метки.
Предпочтительно сигнал данных может быть закодирован изменяющимся импедансом между металлической контактной площадкой и второй плоской поверхностью полупроводниковой подложки, чтобы модулировать RF входной сигнал. Это обеспечивает возможность RF входному сигналу быть использованным как для питания устройства, так и для декодирования считывателем.
Предпочтительно RF входной сигнал может быть предоставлен внешним считывателем.
Предпочтительно схема дополнительно выполнена с возможностью питания от RF входного сигнала.
Предпочтительно схема может быть дополнительно выполнена с возможностью декодирования сигнала, закодированного в RF входном сигнале, и дополнительно при этом сигнал данных предоставляется в ответ на декодированный сигнал. Схема может дополнительно включать небольшой объем накопителя энергии (например, конденсатор) для хранения энергии, генерируемой RF входным сигналом, в течение короткого времени.
При необходимости схема модулирует RF входной сигнал посредством изменения его частоты, амплитуды и/или фазы или любых других электрических параметров.
При необходимости схема может быть сформирована на второй плоской поверхности полупроводниковой подложки или встроена в нее.
При необходимости схема может быть выполнена с возможностью изменения электрического импеданса между металлической контактной площадкой и второй плоской поверхностью полупроводниковой подложки посредством применения короткого замыкания между металлической контактной площадкой и второй плоской поверхностью полупроводниковой подложки.
При необходимости расстояние между внешней поверхностью металлической контактной площадки и второй плоской поверхностью полупроводниковой подложки меньше или равно 50 мкм. Это можно рассматривать как толщину CC-метки. В качестве альтернативы толщина может быть, например, меньше или равна 10 мкм, 25 мкм, 100 мкм или 150 мкм. CC-метка может иметь, например, по существу квадратное или прямоугольное поперечное сечение.
При необходимости схема дополнительно может быть выполнена с возможностью обнаружения наличия одной или более дополнительных RFID-меток с емкостной связью (например, того же типа) и прекращения предоставления сигнала данных в ответ. Это предотвращает коллизию сигналов и позволяет считывать множество CC-меток последовательно без необходимости иметь только одну CC-метку в пределах диапазона считывателя в данный момент времени.
При необходимости схема дополнительно может быть выполнена с возможностью прекращения предоставления сигнала данных посредством применения короткого замыкания между металлической контактной площадкой и второй плоской поверхностью полупроводниковой подложки. Это фактически делает «отключенные» CC-метки невидимыми (электрически) для считывателя.
При необходимости схема может быть выполнена с возможностью прекращения предоставления сигнала данных до тех пор, пока одна или более дополнительных RFID-меток с емкостной связью не предоставят свой сигнал данных.
При необходимости схема может быть дополнительно выполнена с возможностью прекращения предоставления сигнала данных согласно антиколлизионному (т.е. их сигналов данных) протоколу.
При необходимости антиколлизионный протокол может быть основан на обмене данными между одной или более RFID-метками с емкостной связью:
в соответствии с предварительно определенным порядком ответа, в соответствии с согласованным ответом между одной или более RFID-метками с емкостной связью или генератором случайных чисел. Такой антиколлизионный протокол не может полагаться на непосредственный обмен данными между CC-метками, но может осуществляться через считыватель или вообще не полагаться на обмен данными.
При необходимости первая плоская поверхность может быть параллельна второй плоской поверхности. Другие конфигурации могут быть использованы при условии, что поверхности создают емкость.
При необходимости RFID-метка с емкостной связью является гибкой. Это может включать радиус изгиба порядка ширины или длины CC-метки. Следовательно, CC-метка может быть встроена или прикреплена к гибкому изделию без риска повреждения.
При необходимости RFID-метка с емкостной связью может дополнительно содержать металлическую пластину. Это может соединить электрод считывателя со стороной метки, необращенной к считывателю. Следовательно, это избавляет от необходимости устанавливать электроды считывателя на противоположных сторонах метки.
При необходимости RFID-метка с емкостной связью может дополнительно содержать изолятор, прикрепленный между меткой и металлической пластиной.
При необходимости изолятор может быть прикреплен к металлической контактной площадке метки. Прикрепление может производиться клеящим веществом или другим подходящим способом.
При необходимости изолятор может быть прикреплен ко второй плоской поверхности полупроводниковой подложки.
При необходимости металлическая пластина может быть изогнутой. Следовательно, металлическая пластина может соответствовать изделию, например, цилиндрическому или сферическому изделию.
При необходимости металлическая пластина может проходить за пределы по меньшей мере одного края металлической контактной площадки и/или полупроводниковой подложки.
В соответствии со вторым аспектом настоящего изобретения предложено изделие, характеризующееся наличием RFID-метки с емкостной связью согласно любому предыдущему пункту, встроенной в него.
При необходимости поверхность изделия параллельна первой плоской поверхности RFID-метки с емкостной связью. Это полезно для ровных плоских и/или гибких объектов.
При необходимости изделие может быть выполнено из бумаги, выполнено из пластмассы, представляет собой банкноту, сигарету, электронную сигарету, этикетку, таблетку, фармацевтический продукт, капсулу с напитком, капсулу с кофе, капсулу с чаем, металлический контейнер, голограмму, паспорт, удостоверение личности, акцизную марку и/или юридический документ.
В соответствии с третьим аспектом настоящего изобретения предложен способ обмена данными с множеством RFID-меток с емкостной связью, при этом способ включает стадии, на которых:
воздействуют радиочастотным RF входным сигналом на множество RFID-меток с емкостной связью;
реагируют на воздействующий RF входной сигнал одной из множества RFID-меток с емкостной связью посредством изменения ее импеданса, измененный импеданс кодирует сигнал данных;
определяют изменение в RF входном сигнале, вызванное измененным импедансом одной из множества RFID-меток с емкостной связью, причем изменение кодирует сигнал данных;
декодируют сигнал данных из изменения RF входного сигнала;
RFID-метки с емкостной связью из множества RFID-меток с емкостной связью, которые не реагируют, уменьшают свой импеданс, тогда как одна RFID-метка с емкостной связью изменяет свой импеданс. Могут использоваться другие способы считывания вышеупомянутых СС-меток.
При необходимости изменение RF входного сигнала может представлять собой изменение частоты, амплитуды и/или фазы.
Предпочтительно способ дополнительно может включать стадию, на которой используют антиколлизионный протокол для определения, какая из множества RFID-меток с емкостной связью реагирует на радиочастоту изменением своего импеданса.
При необходимости множество RFID-меток с емкостной связью могут быть уложены друг над другом.
В соответствии с четвертым аспектом настоящего изобретения предложена компьютерная программа, содержащая программные инструкции, которые при выполнении на компьютере инициируют исполнение компьютером способов, описанных выше.
В соответствии с пятым аспектом настоящего изобретения предложен машиночитаемый носитель, хранящий компьютерную программу, описанную выше.
В соответствии с шестым аспектом настоящего изобретения предложена система, содержащая:
любую одну или более RFID-меток с емкостной связью, описанных выше; и
считыватель, содержащий генератор RF-сигнала и декодер, выполненный с возможностью декодирования сигнала.
При необходимости считыватель может дополнительно содержать:
первый электрод, выполненный с возможностью совмещения с металлической контактной площадкой и/или полупроводниковой подложкой метки; и
второй электрод, выполненный с возможностью совмещения с частью металлической пластины, которая проходит за пределы по меньшей мере одного края металлической контактной площадки и/или полупроводниковой подложки. Указанная система, например, может включать метку, характеризующуюся наличием металлической пластины, которая проходит либо/или за пределы подложки или металлической контактной площадки.
При необходимости металлическая пластина может быть образована из металлической упаковки консервной банки, жестяной банки, капсулы с кофе, капсулы с чаем, капсулы с напитком. Таким образом, можно упростить изготовление устройства, а метку можно более эффективно использовать и наносить на металлические изделия.
При необходимости первый электрод и/или второй электрод могут быть изогнутыми. Следовательно, электроды могут соответствовать по форме, например, цилиндрическому или сферическому объекту (например, сигарете или электронной сигарете).
Описанные выше способы могут быть имплементированы в виде компьютерной программы, содержащей программные инструкции для работы на компьютере. Компьютерная программа может храниться на машиночитаемом носителе.
Компьютерная система (например, реализованная в рамках интегральной схемы) может включать в себя процессор или процессоры (например, локальные, виртуальные или облачные), такие как центральный процессор (CPU) и/или один или набор графических процессоров (GPU). Процессор может выполнять логическую часть в форме программного обеспечения. Компьютерная система может включать в себя память, включая энергозависимую и энергонезависимую память. Машиночитаемый носитель может быть включен для хранения логических или программных инструкций. Различные части системы могут быть связаны с помощью сети (например, беспроводных и проводных сетей). Компьютерная система может включать в себя один или более интерфейсов. Компьютерная система может содержать подходящую операционную систему, такую как, например, UNIX, Windows (RTM) или Linux.
Следует отметить, что любой признак, описанный выше, может быть использован с любым конкретным аспектом или вариантом осуществления настоящего изобретения.
Краткое описание чертежей
Настоящее изобретение может быть реализовано на практике несколькими способами, и теперь варианты его осуществления будут описаны только в качестве примера и со ссылкой на прилагаемые чертежи, на которых:
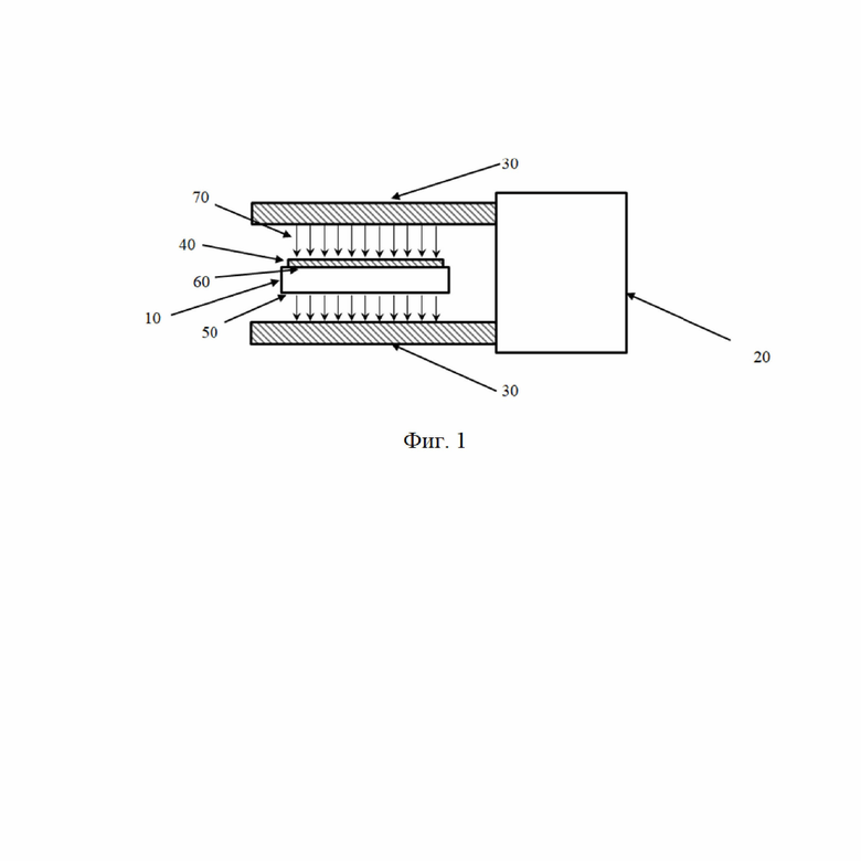
на фиг. 1 показано схематическое изображение RFID-метки с емкостной связью, считываемой считывателем;
на фиг. 2 показано схематическое изображение множества RFID-меток с емкостной связью на фиг. 1, считываемых считывателем;
на фиг. 3 показано схематическое изображение другой RFID-метки с емкостной связью, считываемой считывателем;
на фиг. 4 показано схематическое изображение другой RFID-метки с емкостной связью, считываемой считывателем;
на фиг. 5 показано схематическое изображение системы, включающей любую из RFID-меток с емкостной связью и считыватели на фиг. 1-4, прикрепленную к сигарете или электронной сигарете (или другому объекту);
на фиг. 6а показан вид в поперечном разрезе RFID-метки с емкостной связью на фиг. 5, когда она прикреплена к сигарете или электронной сигарете;
на фиг. 6b показано схематическое изображение сигареты или электронной сигареты на фиг. 6a вместе с электродами считывателя; и
на фиг. 7 показано схематическое изображение еще одного множества RFID-меток с емкостной связью (каждая прикреплена к изделию), считываемых считывателем.
Следует отметить, что фигуры представлены для простоты и не обязательно выполнены в масштабе. Одинаковые элементы обозначены одинаковыми ссылочными позициями.
Подробное описание изобретения
Согласно представленному в качестве примера варианту осуществления настоящего изобретения метка с емкостной связью (CC-метка) представляет собой систему радиочастотной идентификации (RFID), основанную на однокристальной интегральной схеме (IC). В обычных режимах использования интегральная схема представляет собой элемент из монокристаллического кремния с одной стороной, функционализированной с помощью различных этапов для интеграции электронных компонентов, таких как, помимо прочего, резисторы, конденсаторы, диоды, транзисторы и т.д., которые соединены через металлические слои.
Из-за небольшого размера этих компонентов электрическое соединение с интегральной схемой обеспечивается за счет наличия нескольких «контактных площадок» или металлических слоев, достаточно больших, чтобы их можно было соединить с помощью небольших проводов или элементов связи. Эти «контактные площадки» обычно размещаются на функционализированной стороне интегральной схемы.
Задняя сторона интегральной IC обычно подключается к опорному заземлению и не представляет особого интереса на электронном уровне. В настоящей CC-метке одна большая металлическая контактная площадка размещается на функционализированной стороне IC, а задняя сторона устройства обеспечивает вторую контактную площадку. Эта конструкция позволяет устройству свободно располагаться на поверхности без какой-либо необходимости в точном позиционировании или угловой ориентации, и устройство может функционировать независимо от того, с какой стороны CC-метка нанесена на поверхность. Эта важная особенность упрощает процесс нанесения и снижает связанные с этим затраты.
IC может быть образована с использованием CMOS (дополняющей MOS) технологии (т.е. технологии на кремниевой основе). Из-за присутствия MOS n-типа и p-типа на одной кремниевой подложке может возникнуть хорошо известный эффект, известный как «эффект защелкивания». Это может быть вызвано паразитным тиристором, встроенным в структуру CMOS, который может срабатывать при неожиданном всплеске напряжения и создавать электрическую проводимость по кратчайшему пути между положительными и отрицательными контактами источника питания устройства. Этот эффект обычно снижается путем размещения дополнительных заземляющих контактов на подложке. Этот эффект может быть еще сильнее с CC-метками из-за наличия радиочастотного (RF) сигнала, исходящего от контактной площадки задней стороны (т.е. полупроводника), которая может быть подключена к виртуальному заземлению IC. Чтобы избежать этого эффекта, можно разместить дополнительные заземляющие контакты рядом с MOS-транзисторами. В качестве альтернативы можно использовать другие полупроводники, такие как, например, арсенид галлия, графен, германий и карбид кремния.
Согласно этой представленной в качестве примера CC-метке задняя сторона интегральной схемы (т.е. плоская полупроводниковая подложка) используется в качестве потенциальной электрической контактной площадки и размещена рядом со второй большой контактной площадкой на верхней (противоположной стороне) функционализированной поверхности. В этом примере конструкция принимает форму тонкой пластины (с первой и противоположной поверхностями). Система состоит из интегральной схемы с одной контактной площадкой наверху и одной снизу (или наоборот, в зависимости от конкретной ориентации), которые могут быть использованы в качестве пластин конденсатора из специально разработанного считывателя.
Считыватель может устанавливать связь с CC-меткой через модулированное электрическое поле (емкостная связь), не требуя непрерывного электрического контакта между считывателем и меткой.
Стандартные RFID-метки имеют свой входной каскад, состоящий из катушки индуктивности, действующей как антенна, и настраивающего конденсатора, настроенного на частоту передачи для оптимизации передачи сигнала. CC-метки, напротив, представляют собой только конденсатор на входном каскаде. Конденсаторы на высокой частоте демонстрируют свойство срезания; частота среза, при которой это свойство проявляется, зависит от номинала самого конденсатора и от величины паразитного сопротивления схемы. Этот подход представляет собой важное преимущество, поскольку требуется, чтобы конденсаторы связи были «достаточно высокими», чтобы обеспечить свойство срезания без необходимости точной настройки самого конденсатора. Это приводит к гораздо меньшей зависимости от колебаний параметров процесса на этапе нанесения.
По той же причине CC-метки могут работать даже на разных частотах одновременно, в общем, чем выше, тем лучше. Решение, показанное на фигурах (более подробно описанных ниже), имеет несколько преимуществ:
- метка чрезвычайно проста в изготовлении, дешевая и очень прочная, она легко может быть изготовлена наряду с технологией стандартной интегральной схемы,
- она не требует специального выравнивания на маркируемом изделии, что, в свою очередь, снижает сложность и стоимость изготовления,
- CC-метка также может быть прочитана в стопке, когда она реализует антиколлизионный протокол для меток и считывателя.
CC-метки могут быть уменьшены до толщины менее 50 мкм, чтобы получить сверхтонкую и гибкую бирку, которая может быть включена в различные применения, такие как, помимо прочего, банкноты, официальные и правительственные документы, акцизные марки, визы, голограммы, а также любая упаковка любых товаров, бумаги и т.д.
На фиг. 1 показано схематическое изображение метки 10 с емкостной связью (CC-метки), активируемой и считываемой считывателем 20 меток. Считыватель 20 меток включает электроды 30, которые обеспечивают электрическое поле 70, генерируя радиочастотный (RF) сигнал. Указанный RF-сигнал может быть модулирован и обнаружен меткой 10 с емкостной связью. Как показано на указанной фигуре, высшая или верхняя поверхность метки 10 с емкостной связью характеризуется наличием электрода 40, который является металлическим. Противоположная или нижняя поверхность метки 10 с емкостной связью остается неизолированной и образует поверхность 50 полупроводникового электрода. Внутри или на поверхности полупроводниковой подложки метки 10 с емкостной связью находится схема (т.е. интегральная схема) 60 (не показана подробно на данной фигуре). Электрическое поле 70 показано стрелками между электродами 30 считывателя 20. Металл может быть алюминием, медью, золотом, серебром или комбинацией отдельных металлических слоев (например, золото на алюминии). IC может быть изготовлена на поверхности CC-метки 10 или внутри CC-метки 10, которая не имеет металлической контактной площадки (т.е. поверхности полупроводниковой контактной площадки). Предпочтительно, чтобы поверхности были параллельными и плоскими.
На фиг. 2 показано еще одно схематическое изображение множества меток 10 с емкостной связью, которые имеют ту же форму, что и показанная на фиг. 1. Снова считыватель 20 прикладывает электрическое поле между своими электродами 30 для считывания каждой из меток 10 с емкостной связью. На указанной фигуре не показаны какие-либо изделия или подложки, прикрепленные к каждой CC-метке 10 для упрощения фигуры, но они будут присутствовать. На фиг. 7 показано эквивалентное расположение, включая изделия, которые нужно маркировать, прикрепленные к каждой CC-метке 10 в стопке. Следует отметить, что нет необходимости, чтобы CC-метки 10 были точно выровнены, чтобы считыватель считывал их.
Когда между электродами считывателя 30 находится более одной CC-метки 10, тогда все CC-метки 10, кроме одной, реагируют на падающий RF входной сигнал, модулируя его (т.е. изменяя свой собственный импеданс для обеспечения сигнала данных). Остальные CC-метки могут при необходимости уменьшить свой импеданс, например, закоротив свои контактные площадки (металлические и полупроводниковые поверхности). Это делает их электрически невидимыми для считывателя. Когда первая CC-метка предоставила свои данные сигнала, она перестает модулировать входной RF сигнал и закорачивает свои собственные контактные площадки. Затем другая CC-метка реагирует на входной RF сигнал, модулируя его, как описано выше. Процесс продолжается до тех пор, пока все CC-метки не предоставят свои данные. Следовательно, CC-метки могут быть уложены друг над другом без снижения мощности сигнала.
Отдельные CC-метки могут связываться друг с другом, чтобы решить, какая из них среагирует на сигнал. Это может быть достигнуто с помощью антиколлизионного алгоритма, который может вызывать произвольную задержку, которая приводит к разному времени для передачи каждой метки. В альтернативном варианте связь не требуется, и каждая CC-метка может реагировать на входной RF-сигнал после разной (например, произвольной) задержки, что существенно снижает риск одновременной реакции любых двух CC-меток (фактическое время передачи может быть коротким по сравнению со временем задержки).
Закорачивание контактных площадок может быть достигнуто путем изменения состояния транзистора или транзисторов с «заблокировано» на «насыщение», чтобы действовать, например, как переключатель включения/выключения.
Могут использоваться другие альтернативные варианты осуществления настоящего изобретения. Они могут включать одну или более из следующих альтернатив или преимуществ:
- CC-метки 10 могут быть встроены в сверхтонкие структуры или на их поверхность (например, бумажные листы, банкноты, голограммы, марки и т.д.) без необходимости использования антенны, выравнивания или специального позиционирования.
- CC-метки 10 не требуют металлического контакта со считывателем. Радиочастотный (RF) сигнал может проходить от считывателя к CC-метке 10 даже через изолированные слои, обеспечивая им возможность быть тонкими (менее мм).
- CC-метка 10 может потреблять энергию от считывателя, когда считыватель находится на расстоянии считывания. CC-метка 10 может реагировать, изменяя импеданс между верхним и нижним электродами (включение/выключение).
- CC-метка 10 не работает на резонансе схемы и не страдает проблемами расстройки частоты, поэтому она гораздо более устойчива к колебаниям производственных параметров.
- CC-метки 10 могут быть прочитаны, находясь в стопке, при условии, что они выровнены в стопке или могут иметь емкостную связь с использованием дополнительного металлического слоя, размещенного на тонкой структуре.
- CC-метки 10 могут быть оснащены антиколлизионным решением, чтобы избежать одновременного обмена данными двух или более меток со считывателем.
- Когда CC-метки 10 считываются в стопке, они могут следовать следующей процедуре:
Принимать электрическое питание и данные от считывателя в течение определенного времени (время зарядки).
Если метка должна реагировать, она может модулировать свой импеданс для связи со считывателем.
Если метка не должна реагировать, она может снизить свой выходной импеданс до низкого уровня (включить), чтобы сигнал считывателя прошел к метке, которая предназначена для реакции.
Когда CC-метки 10 считываются, находясь в стопке, они электрически «соединены последовательно» друг с другом. Это означает, что напряжение на стопке делится на количество элементов в стопке. Считыватель может обеспечивать адаптивное напряжение, чтобы обеспечить каждую CC-метку 10 достаточным напряжением или мощностью для работы. Это может включать увеличение приложенного электрического поля (например, напряжения и/или мощности) до уровня, при котором, например, все CC-метки могут быть запитаны. Следует отметить, что CC-метка 10 может быть размещена в любой ориентации между электродами считывателя. Например, первый электрод может быть вверху или внизу, а второй электрод может быть внизу или вверху. Разные CC-метки 10, помещенные в стопку, могут быть размещены в любой ориентации, которая может быть разной для CC-меток 10 в одной и той же стопке.
В предыдущих примерах описана методика считывания CC-метки, в которой метка или серия меток «зажимается» или предпочтительно помещается близко между двумя электродами считывателя (например, частью считывателя). Этот подход особенно применим к таким изделиям, подлежащим маркировке, как конструкции малой толщины, такие как бумага, банкноты и т.д. (как показано на фиг. 3), на или в которых расположена CC-метка 10.
В другом представленном в качестве примера варианте осуществления настоящего изобретения может использоваться «одностороннее» считывание. Этот представленный в качестве примера вариант осуществления настоящего изобретения позволяет избежать необходимости размещать электроды считывателя по обе стороны от изделия и, таким образом, может использоваться с более крупными или более толстыми изделиями. Это достигается путем добавления дополнительного металлического слоя (например, подходящего проводника, такого как алюминий, медь, серебро или золото) за CC-меткой на изделии, как показано на фиг. 4. На фиг. 4 показана CC-метка, расположенная на верхней стороне изделия, но CC-метка также может быть расположена сбоку или снизу изделия. CC-метка, используемая в этом представленном в качестве примера варианте осуществления настоящего изобретения, может быть аналогичной или практически аналогичной описанным ранее.
Металлический слой проходит за или перекрывает пределы CC-метки 10 по меньшей мере в одном направлении. Со считывателем снова используются два электрода. Электрод №1 располагается над CC-меткой 10 (и частью металлического слоя) на объекте. Электрод №2 расположен так, чтобы по существу избегать CC-метки 10, но над другой частью металлического слоя, которая не находится под или совмещена с CC-меткой 10, или совмещен с ней. Следовательно, электроды могут быть размещены на одной и той же стороне изделия, при этом обеспечивая емкостную связь с CC-меткой 10. Другими словами, считыватель, CC-метка 10 и изделие размещаются с первым электродом считывателя, затем CC-метка 10 (например, непосредственно под первым электродом), затем сплошной металлический слой, затем маркируемое изделие. Второй электрод считывателя расположен рядом с первым электродом с таким же металлическим слоем между вторым электродом и изделием. В представленном в качестве примера варианте осуществления настоящего изобретения CC-метка 10 может быть встроена или частично встроена в слой изолятора (например, полимер или другой диэлектрик), расположенный на металлическом слое и по существу покрывающий его, как показано на фиг. 4. Слой изолятора (или его часть) может быть непосредственно между CC-меткой 10 и металлическим слоем.
Выше описаны несколько примеров использования CC-метки 10. Еще одним примером является использование CC-метки 10 (любого типа, описанного выше) в расходных материалах, таких как электронные папиросы или электронные сигареты, капсулы для напитков и т.д. На фиг. 5 показан представленный в качестве примера вариант осуществления настоящего изобретения с CC-меткой 10, встроенной в одну часть (например, сменную часть, такую как табачный штранг или стержень 510) электронной сигареты, и считыватель (или, например, электроды 550 считывателя), помещенный в другую часть электронной сигареты 540. Следовательно, считыватель может проверить, есть ли в нем правильная или подлинная запасная часть.
В этом примере проводящий электрод может быть напечатан на бумаге или интегрирован в бумагу, например, внешнюю бумагу электронной сигареты, с CC-меткой 10, встроенной либо в полую ацетатную трубку, либо в фильтр из полимерной пленки. Электрод или электроды 550 считывателя могут быть встроены в наконечник гильзы электронной сигареты (со стороны эжектора). Электроника считывателя может быть интегрирована в том же объеме, что и, например, существующая управляющая электроника электронной сигареты.
В приведенной в качестве примера системе на фиг. 5 электроды 520 также могут быть размещены на табачном штранге 510. Однако CC-метка 10 может также работать без таких внешних электродов. Плата 505 с печатной схемой может использоваться для установки различных компонентов системы, так что электроды 550 считывателя и связанные с ними контакты 530 могут соединяться (например, с использованием радиочастотной связи) со считывателем. Эти части системы могут быть размещены в корпусе 580 и электрически соединены (например, с использованием USB-разъема 570) для обеспечения способности передачи данных и питания с компьютером или микропроцессором 560.
На фиг. 6а более подробно показано, как такая CC-метка 10 может быть сформирована с сигаретой или электронной сигаретой (или другим цилиндрическим предметом) 605. На этой фигуре схематично показано, как металлическая объединительная плата или металлическая пластина 620 соответствует изогнутой поверхности электронной сигареты 605 (например, цилиндру), и изолирующий слой 610, отделяющий эту металлическую пластину 620 от CC-метки 10. На этой фигуре также показан электрод 630 считывателя, окружающий электронную сигарету 605 и CC-метку 10.
На фиг. 6b схематично показано, как такая CC-метка 10 (с металлическим задним электродом или металлическим слоем объединительной платы, аналогичным показанным на фиг. 4) может быть считана внутри кольцевых металлических электродов (550, 550') считывателя, которые окружают сигарету или электронную сигарету 605. Такие электроды работают аналогично описанным выше.
Такие CC-метки 10 (т.е. те, которые могут быть считаны односторонними считывателями или считывателями с прилегающими электродами) могут быть более легко считаны при нанесении на такие изделия, как этикетки, упаковки, голограммы, покрытия (например, покрытия таблеток), другие фармацевтические продукты, а также нестандартные или неплоские изделия. На фиг. 6b показано, как металлическая пластина 620 проходит за пределы подложки и/или металлической контактной площадки CC-метки 10, так что один электрод 550' считывателя покрывает металлическую пластину 620, но не остальную часть CC-метки 10, а другой электрод 550 считывателя покрывает остальную часть CC-метки 10. Таким образом, металлическая пластина емкостным образом связывает сигналы на дальний или противоположный электрод CC-метки 10 (т.е. на его другую или противоположную сторону от той, где расположены электроды считывателя).
Хотя фиг. 5, 6a и 6b показаны с конкретной CC-меткой 10, описанной в настоящем описании, аналогичная конфигурация (т.е. конфигурация электродов) может использоваться с другими метками с емкостной связью.
Согласно представленному в качестве примера варианту осуществления настоящего изобретения металлическая пластина может вместо этого быть сформирована из части или всего изделия или объекта, на который наносится метка. Например, объектом может быть металлическая капсула или капсула из фольги, консервная банка, жестяная банка или картонная упаковка с вложенным продуктом. Изделие может быть, например, одноразовым или многоразовым. Это может быть капсула для напитка, кофе или чая, имеющая алюминиевый корпус. В этих примерах само изделие (или по меньшей мере металлический контейнер) может иметь ту же функцию, что и металлическая пластина, и емкостным образом соединяться с одним из электродов считывателя, избегая необходимости в электроде с обеих сторон CC-метки 10, а также улучшая использование CC-метки 10 при нанесении на токопроводящие изделия.
Проблема, которая решается, заключается, например, в интеграции емкостной метки, состоящей из емкостного чипа и электрода, в табачный стержень для крупносерийного производства.
Задний электрод емкостной метки может быть встроен в бумагу, которая наматывается вокруг табачного стержня (например, путем печати или взаимного наложения металлического проводника), емкостный чип штампуется поверх электрода (или же с помощью добавки клея для большей силы удержания) и узел наконечника оборачивается бумагой для удержания емкостного чипа (CC-метки) на месте.
Такой узел имеет преимущество, заключающееся в том, что его можно интегрировать в современные процессы производства сигарет или табачных стержней для электронных сигарет.
В качестве альтернативы задний электрод может быть встроен либо в полую ацетатную трубку, наконечник из ацетата целлюлозы, либо вокруг охладителя фильтра из полимерной пленки (см. ниже). Емкостный чип (т.е. любая CC-метка, описанная в настоящем документе) может быть затем проштампован в одном из трех перечисленных компонентов. Положение чипа будет поддерживаться бумагой, намотанной вокруг табачного стержня.
В качестве альтернативы и в дополнение к интеграции электрода в одно из полой ацетатной трубки, наконечника из ацетата целлюлозы, вокруг охладителя фильтра из полимерной пленки и бумаги, второй электрод может быть интегрирован в бумагу, намотанную вокруг табачного стержня, соответственно бумагу для наконечника, тогда как второй электрод предпочтительно только частично покрывает первый. В такой конфигурации первый электрод находится в контакте или рядом с задним электродом емкостного чипа (CC-метки), а второй электрод находится в контакте или рядом с верхним электродом емкостного чипа, что приводит к улучшенной чувствительности системы считывания емкостной метки (CC-метки).
Как будет понятно специалисту в данной области техники, детали вышеуказанного варианта осуществления настоящего изобретения могут быть изменены без выхода за пределы объема настоящего изобретения, как определено прилагаемой формулой изобретения.
Например, CC-метки и считыватели могут работать с использованием стандартных промышленных, научных и медицинских (ISM) радиочастот (т.е. частот входного RF-сигнала). Например, рабочая частота может составлять 13,56 МГц (или от 10 до 15 МГц). CC-метки могут работать на разных частотах (т.е. во избежание коллизии сигналов данных). Считыватель может, например, сканировать разные частоты.
Множество комбинаций, модификаций или изменений признаков вышеупомянутых вариантов осуществления настоящего изобретения будут очевидны для специалиста в данной области техники и предназначены для формирования части изобретения. Любая из функций, описанных конкретно в отношении одного варианта осуществления настоящего изобретения или примера, может использоваться в любом другом варианте осуществления настоящего изобретения путем внесения соответствующих изменений.
| название | год | авторы | номер документа |
|---|---|---|---|
| УСТРОЙСТВО КОНТРОЛЯ СОСТОЯНИЯ ПОЛИМЕРНЫХ ИЗОЛЯТОРОВ | 2018 |
|
RU2688752C1 |
| СПОСОБ КОНТРОЛЯ ИСКРОВОГО ПРОМЕЖУТКА И СИСТЕМА ДЛЯ ЕГО ОСУЩЕСТВЛЕНИЯ | 2021 |
|
RU2769631C1 |
| Пассивная антиколлизионная радиочастотная идентификационная метка на поверхностных акустических волнах с частотно-временным кодовым различием | 2015 |
|
RU2616342C1 |
| ПАССИВНАЯ РАДИОЧАСТОТНАЯ ИДЕНТИФИКАЦИОННАЯ МЕТКА НА ПОВЕРХНОСТНЫХ АКУСТИЧЕСКИХ ВОЛНАХ | 2013 |
|
RU2534733C1 |
| АНТИКОЛЛИЗИОННАЯ СИСТЕМА РАДИОЧАСТОТНОЙ ИДЕНТИФИКАЦИИ | 2006 |
|
RU2344441C2 |
| АНТИКОЛЛИЗИОННАЯ СИСТЕМА РАДИОЧАСТОТНОЙ ИДЕНТИФИКАЦИИ | 2006 |
|
RU2333513C1 |
| Радиочастотная идентификационная метка | 2019 |
|
RU2704279C1 |
| БЕСПРОВОДНОЙ СВЕРХВЫСОКОЧАСТОТНЫЙ ДЕТЕКТОР СИГНАЛОВ И КОМАНД UHF RFID-СЧИТЫВАТЕЛЕЙ И СПОСОБ ДЕТЕКТИРОВАНИЯ СИГНАЛОВ И КОМАНД UHF RFID-СЧИТЫВАТЕЛЕЙ | 2020 |
|
RU2744229C1 |
| АККУМУЛИРУЮЩАЯ ЭНЕРГИЮ RFID-СХЕМА, RFID-МЕТКА С ФУНКЦИЕЙ АККУМУЛИРОВАНИЯ ЭНЕРГИИ И СВЯЗАННЫЕ С НИМИ СПОСОБЫ | 2017 |
|
RU2742197C1 |
| КАТУШКА ИНДУКТИВНОСТИ ДЛЯ RFID-ТЕГА | 2021 |
|
RU2812331C1 |
Изобретение относится к средствам радиочастотной идентификации RFID с емкостной связью. Технический результат заключается в повышении точности идентификации метки в присутствии других меток. Технический результат достигается за счет того, что метка содержит полупроводниковую подложку, имеющую первую плоскую поверхность и вторую плоскую поверхность, удаленную от первой плоской поверхности; металлическая контактная площадка сформирована на первой плоской поверхности полупроводниковой подложки; схема сформирована на полупроводниковой подложке и электрически связана с металлической контактной площадкой и второй плоской поверхностью полупроводниковой подложки, причем схема выполнена с возможностью реагирования на радиочастотный RF входной сигнал посредством предоставления сигнала данных, закодированного путем изменения импеданса между металлической контактной площадкой и второй плоской поверхностью полупроводниковой подложки. 5 н. и 25 з.п. ф-лы, 8 ил.
1. Метка радиочастотной идентификации RFID с емкостной связью, содержащая:
полупроводниковую подложку, имеющую первую плоскую поверхность и вторую плоскую поверхность, удаленную от первой плоской поверхности;
металлическую контактную площадку, сформированную на первой плоской поверхности полупроводниковой подложки;
схему, сформированную на полупроводниковой подложке и электрически связанную с металлической контактной площадкой и второй плоской поверхностью полупроводниковой подложки, причем схема выполнена с возможностью реагирования на радиочастотный RF входной сигнал посредством предоставления сигнала данных, закодированного путем изменения импеданса между металлической контактной площадкой и второй плоской поверхностью полупроводниковой подложки; и
металлическую пластину, причем металлическая пластина проходит за пределы по меньшей мере одного края металлической контактной площадки и/или полупроводниковой подложки.
2. RFID-метка с емкостной связью по п. 1, в которой сигнал данных, закодированный изменяющимся импедансом между металлической контактной площадкой и второй плоской поверхностью полупроводниковой подложки, модулирует RF входной сигнал.
3. RFID-метка с емкостной связью по п. 1 или 2, в которой RF входной сигнал обеспечен внешним считывателем.
4. RFID-метка с емкостной связью по любому из предыдущих пунктов, в которой схема дополнительно выполнена с возможностью питания от RF входного сигнала.
5. RFID-метка с емкостной связью по любому из предыдущих пунктов, в которой схема дополнительно выполнена с возможностью декодирования сигнала, закодированного в RF входном сигнале, и дополнительно в которой сигнал данных предоставлен в ответ на декодированный сигнал.
6. RFID-метка с емкостной связью по любому из предыдущих пунктов, в которой схема модулирует RF входной сигнал посредством изменения его частоты, амплитуды и/или фазы.
7. RFID-метка с емкостной связью по любому из предыдущих пунктов, в которой схема сформирована на второй плоской поверхности полупроводниковой подложки.
8. RFID-метка с емкостной связью по любому из предыдущих пунктов, в которой схема выполнена с возможностью изменения электрического импеданса между металлической контактной площадкой и второй плоской поверхностью полупроводниковой подложки посредством применения короткого замыкания между металлической контактной площадкой и второй плоской поверхностью полупроводниковой подложки.
9. RFID-метка с емкостной связью по любому из предыдущих пунктов, в которой расстояние между внешней поверхностью металлической контактной площадки и второй плоской поверхностью полупроводниковой подложки меньше или равно 100 мкм.
10. RFID-метка с емкостной связью по любому из предыдущих пунктов, в которой схема дополнительно выполнена с возможностью обнаружения наличия одной или более дополнительных RFID-меток с емкостной связью и прекращения предоставления сигнала данных в ответ.
11. RFID-метка с емкостной связью по п. 10, в которой схема выполнена с возможностью прекращения предоставления сигнала данных посредством применения короткого замыкания между металлической контактной площадкой и второй плоской поверхностью полупроводниковой подложки.
12. RFID-метка с емкостной связью по п. 10 или 11, в которой схема выполнена с возможностью прекращения предоставления сигнала данных до тех пор, пока одна или более дополнительных RFID-меток с емкостной связью не предоставят свой сигнал данных.
13. RFID-метка с емкостной связью по любому из пп. 10-12, в которой схема дополнительно выполнена с возможностью прекращения предоставления сигнала данных согласно антиколлизионному протоколу.
14. RFID-метка с емкостной связью по п. 13, в которой антиколлизионный протокол основан на обмене данными между одной или более RFID-метками с емкостной связью:
в соответствии с предварительно определенным порядком ответа, в соответствии с согласованным ответом между одной или более RFID-метками с емкостной связью или генератором случайных чисел.
15. RFID-метка с емкостной связью по любому из предыдущих пунктов, в которой первая плоская поверхность параллельна второй плоской поверхности.
16. RFID-метка с емкостной связью по любому из предыдущих пунктов, причем RFID-метка с емкостной связью является гибкой.
17. RFID-метка с емкостной связью по п. 16, дополнительно содержащая изолятор, прикрепленный между меткой и металлической пластиной, причем
изолятор прикреплен к металлической контактной площадке метки или
изолятор прикреплен ко второй плоской поверхности полупроводниковой подложки.
18. RFID-метка с емкостной связью по любому из пп. 16, 17, в которой металлическая пластина изогнута.
19. Изделие, характеризующееся наличием встроенной в него RFID-метки с емкостной связью по любому из предыдущих пунктов.
20. Изделие по п. 19, в котором поверхность изделия параллельна первой плоской поверхности RFID-метки с емкостной связью.
21. Изделие по п. 19 или 22, выполненное из бумаги, выполненное из пластмассы, представляет собой банкноту, сигарету, электронную сигарету, этикетку, таблетку, фармацевтический продукт, капсулу с напитком, капсулу с кофе, капсулу с чаем, металлический контейнер, голограмму, паспорт, удостоверение личности, акцизную марку и/или юридический документ.
22. Способ обмена данными с множеством RFID-меток с емкостной связью, при этом способ включает стадии, на которых:
воздействуют радиочастотным RF входным сигналом на множество RFID-меток с емкостной связью;
реагируют на воздействующий RF входной сигнал одной из множества RFID-меток с емкостной связью посредством изменения ее импеданса, измененный импеданс кодирует сигнал данных;
определяют изменение в RF входном сигнале, вызванное измененным импедансом одной из множества RFID-меток с емкостной связью, причем изменение кодирует сигнал данных;
декодируют сигнал данных из изменения RF входного сигнала;
RFID-метки с емкостной связью из множества RFID-меток с емкостной связью, которые не реагируют, уменьшают свой импеданс, тогда как одна RFID-метка с емкостной связью изменяет свой импеданс.
23. Способ по п. 22, в котором изменение RF входного сигнала представляет собой изменение частоты, амплитуды и/или фазы.
24. Способ по п. 22 или 23, при этом способ дополнительно включает стадию, на которой используют антиколлизионный протокол для определения, какая из множества RFID-меток с емкостной связью реагирует на радиочастоту изменением своего импеданса.
25. Способ по любому из пп. 22-24, в котором множество RFID-меток с емкостной связью уложены друг над другом.
26. Машиночитаемый носитель, хранящий компьютерную программу, содержащую программные инструкции, которые при выполнении на компьютере инициируют исполнение компьютером способа по любому из пп. 22-24.
27. Система радиочастотной идентификации, содержащая:
одну или более RFID-меток с емкостной связью по любому из пп. 1-18; и
считыватель, содержащий генератор RF-сигнала и декодер, выполненный с возможностью декодирования сигнала данных.
28. Система по п. 27, в которой RFID-метка с емкостной связью представляет собой RFID-метку с емкостной связью по п. 1 и в которой считыватель дополнительно содержит:
первый электрод, выполненный с возможностью совмещения с металлической контактной площадкой и/или полупроводниковой подложкой метки; и
второй электрод, выполненный с возможностью совмещения с частью металлической пластины, которая проходит за пределы по меньшей мере одного края металлической контактной площадки и/или полупроводниковой подложки.
29. Система по п. 28, в которой первый электрод и второй электрод являются изогнутыми.
30. Система по п. 28 или 29, в которой металлическая пластина образована из металлической упаковки консервной банки, жестяной банки, капсулы с кофе, капсулы с чаем, капсулы с напитком.
| Пломбировальные щипцы | 1923 |
|
SU2006A1 |
| CN 108182566 A, 19.06.2018 | |||
| Станок для изготовления деревянных ниточных катушек из цилиндрических, снабженных осевым отверстием, заготовок | 1923 |
|
SU2008A1 |
| EP 2888181 B1, 08.03.2017 | |||
| Способ обработки целлюлозных материалов, с целью тонкого измельчения или переведения в коллоидальный раствор | 1923 |
|
SU2005A1 |
| ИЗДЕЛИЕ С МОДУЛЕМ ЭЛЕКТРОМАГНИТНОЙ СВЯЗИ | 2007 |
|
RU2386169C2 |
Авторы
Даты
2025-03-18—Публикация
2020-01-17—Подача