Область техники, к которой относится изобретение
Настоящее изобретение относится, в общем, к системам, в которых интегрированы наземные сети радиодоступа и неназемные сети радиодоступа, и, в конкретных вариантах, к управлению мобильностью в таких интегрированных системах.
Уровень техники
Как обсуждается здесь, ссылка на наземные сети радиодоступа представляет собой ссылку на обычные сети сотовой телефонной связи и сети передачи данных. В отличие от этого, ссылка на неназемные сети радиодоступа представляет собой ссылку на сети связи или сегменты сетей связи, использующие воздушные летательные аппараты или космические аппараты для передачи и приема сигналов.
К примерам космических аппаратов, используемых для неназемных сетей радиодоступа, относятся: спутники на низких околоземных орбитах (Low Earth Orbiting (LEO)); спутники на средних околоземных орбитах (Medium Earth Orbiting (MEO)); спутники на геостационарных околоземных орбитах (Geostationary Earth Orbiting (GEO)); и спутники на высокоэллиптических орбитах (Highly Elliptical Orbiting (HEO)). К примерам воздушных летательных аппаратов, используемых для неназемных сетей радиодоступа, относятся высотные платформы (High Altitude Platform (HAP)), такие как беспилотные авиационные системы (Unmanned Aircraft System (UAS)), включая системы UAS легче воздуха (Lighter than Air (LTA)) и системы UAS тяжелее воздуха (Heavier than Air (HTA)) UAS. Эти платформы обычно работают на высотах между 8 км и 50 км и считаются квазистационарными.
Известно, что наземные сети связи (terrestrial network (TN)) используют находящиеся в воздухе (воздушные) приемопередающие точки (airborne transmit and receive point (TRP)). Воздушные точки TRP обычно развертывают на высотах около 100 м на борту беспилотных летательных аппаратов. Воздушные точки TRP могут считаться частью сети TN или неназемной сети связи (non-terrestrial network (NTN)) в зависимости от того, соединяется ли такая воздушная точка TRP с наземной опорной сетью связи с использованием беспроводного транзитного соединения напрямую через сеть TN или не напрямую через сеть NTN.
Имеется потребность в создании усовершенствованных способов, которыми пользовательские устройства могут устанавливать соединения с сетями TN и сетями NTN, в частности, для событий переключения между сетью TN и сетью NTN.
Раскрытие сущности изобретения
Аспекты настоящего изобретения относятся к интеграции наземных сетей связи с неназемными сетями связи и установлению механизмов управления мобильностью пользовательских устройств, когда эти устройства перемещаются из зоны обслуживания, определяемой соединением с наземной сетью связи, в зону обслуживания, определяемую соединением с неназемной сетью связи, или наоборот. Аспекты настоящего изобретения относятся к установлению формата для обмена сообщениями и сигналами связи между пользовательскими устройствами и точками TRP, так что мобильностью пользовательского устройства можно управлять должным образом.
Согласно аспектам настоящего изобретения, пользовательские устройства могут переходить из одной сети связи в другую сеть связи бесшовным на вид образом, так что пользователь не ощущает никаких прерываний связи.
Когда мобильностью подсистемы управляет базовая станция, находящаяся в одной сети связи, согласно аспектам настоящего изобретения, эта базовая станция, находящаяся в указанной одной сети связи, управляет тем, на связь с какой базовой станцией, находящейся в другой сети связи, потенциально переключается рассматриваемое пользовательское устройство. Соответственно, этому пользовательскому устройству нет необходимости расходовать время и/или процессорные мощности на обнаружение радиоканалов и измерение уровней сигналов в этих обнаруженных радиоканалах.
Аспекты настоящего изобретения подходят к управлению мобильностью в интегрированных наземных сетях (TN) и неназемных (NTN) сетях путем создания рамочной структуры, в которой базовая станция (сети NTN или сети TN) может способствовать переходу пользовательского устройства, находящегося в состоянии RRC_CONNECTED, из сети NTN в сеть TN или из сети TN в сеть NTN, уменьшая при этом задержки переключения связи. С точки зрения пользовательского устройства, затраты на свипирование лучом в системе связи с использованием лучей также уменьшаются, поскольку пользовательскому устройству нет необходимости искать и принимать блоки синхросигналов от базовых станций сетей TN. Действительно, в одном примере пользовательское устройство может использовать информацию, принятую от базовой станции сети NTN, для прямых передач преамбулы для формирования диаграммы направленности (луча) в направлении базовой станции сети TN.
Также можно показать, что пользовательское устройство обладает плавной мобильностью между подсистемами, когда оно, будучи в состоянии RRC_IDLE/INACTIVE, переходит из наземной подсистемы в неназемную подсистему или из неназемной подсистемы в наземную подсистему. Поскольку в первом примере базовая станция наземной подсистемы осуществляет связь с базовыми станциями неназемной подсистемы, на связь с которыми рассматриваемое пользовательское устройство потенциально может переключиться, этому пользовательскому устройству нет необходимости расходовать время или процессорные мощности на обнаружение и измерение радиоканалов от базовых станций в подсистемах, которые не представляют интереса.
Согласно аспекту настоящего изобретения, предложен способ управления мобильностью пользовательского оборудования в сети радиодоступа. Способ содержит этапы, на которых передают, от первого устройства, сообщение второму устройству, причем одно из первого и второго устройств является неназемным устройством, а другое из первого и второго устройств является наземным устройством, и предоставляют пользовательскому оборудованию параметры конфигурации, относящиеся к доступу пользовательского оборудования ко второму устройству.
Согласно другому аспекту настоящего изобретения, предложено первое устройство. Устройство содержит запоминающее устройство, сохраняющее команды, приемник, передатчик и процессор. Процессор выполнен с возможностью, посредством выполнения команд, использования передатчика для передачи сообщения второму устройству, причем одно из первого устройства и второго устройства является неназемным устройством, а другое из первого устройства и второго устройства является наземным устройством, и использования передатчика для предоставления пользовательскому оборудованию параметров конфигурации, относящихся к доступу пользовательского оборудования ко второму устройству.
Согласно следующему аспекту настоящего изобретения, предложен способ использования пользовательским оборудованием в сети радиодоступа. Способ содержит этапы, на которых принимают извещение от первого устройства, причем извещение активизирует в пользовательском оборудовании процедуру повторного выбора соты или первоначального выбора соты, обнаруживают, в ходе выполнения процедуры повторного выбора соты или первоначального выбора соты, определяющий соту блока синхросигнала от второго устройства, причем одно из первого устройства и второго устройства является неназемным устройством, а другое из первого устройства и второго устройства является наземным устройством, и принимают от второго устройства сообщение с системной информацией.
Согласно другому аспекту настоящего изобретения, предложено пользовательское оборудование для работы в сети радиодоступа. Пользовательское оборудование содержит запоминающее устройство, хранящее команды, и процессор. Процессор посредством выполнения команд выполнен с возможностью приема от первого устройства извещения, причем извещение активизирует в пользовательском оборудовании процедуру повторного выбора соты или первоначального выбора соты, обнаружения, в ходе процедуры повторного выбора соты или первоначального выбора соты, определяющего соту блока синхросигнала от второго устройства, причем одно из первого устройства и второго устройства является неназемным устройством, а другое из первого устройства и второго устройства является наземным устройством, и приема от второго устройства сообщения с системной информацией.
Краткое описание чертежей
Для более полного понимания представленных здесь вариантов и преимуществ настоящего изобретения ссылки будут даны, на примерах, к последующему описанию, взятому в сочетании с прилагаемыми чертежами, на которых:
фиг. 1 представляет упрощенную схему системы связи, в которой могут применяться варианты настоящего изобретения, эта система связи содержит пример пользовательского оборудования и пример базовой станции;
фиг. 2 иллюстрирует, в виде блок-схемы, пример пользовательского оборудования, показанного на фиг. 1, согласно аспектам настоящего изобретения;
фиг. 3 иллюстрирует, в виде блок-схемы, пример базовой станции, показанной на фиг. 1, согласно аспектам настоящего изобретения;
фиг. 4 иллюстрирует среду, содержащую базовую станцию наземной сети связи, определяющую зону покрытия наземной сети связи, и несколько базовых станций неназемной сети связи, определяющих зону покрытия неназемной сети связи, где пример пользовательского оборудования, показанный на фиг. 2, движется из зоны охваты наземной сети связи в зону охвата неназемной сети связи, согласно аспектам настоящего изобретения;
фиг. 5 иллюстрирует, в виде диаграммы прохождения сигналов, обмен сигналами и сообщениями между примером пользовательского оборудования, базовой станцией наземной сети связи и несколькими базовыми станциями неназемной сети связи, как показано на фиг. 4, при предварительном условии, что пользовательское оборудование находится в состоянии RRC_IDLE или в состоянии RRC_INACTIVE, согласно аспектам настоящего изобретения;
фиг. 6 иллюстрирует, в виде диаграммы прохождения сигналов, обмен сигналами и сообщениями между примером пользовательского оборудования, базовой станцией наземной сети связи и несколькими базовыми станциями неназемной сети связи, как показано на фиг. 4, при предварительном условии, что пользовательское оборудование находится в состоянии RRC_CONNECTED, согласно аспектам настоящего изобретения;
фиг. 7 иллюстрирует пример конфигурации ресурсов мобильности, создаваемой посредством сигнализации более высокого уровня, согласно аспектам настоящего изобретения;
фиг. 8 иллюстрирует среду, содержащую базовую станцию наземной сети связи, определяющую зону покрытия наземной сети связи, и базовую станцию неназемной сети связи, определяющую зону покрытия неназемной сети связи, где пример пользовательского оборудования, показанный на фиг. 2, движется из зоны охваты неназемной сети связи в зону охвата наземной сети связи, согласно аспектам настоящего изобретения;
фиг. 9 иллюстрирует, в виде диаграммы прохождения сигналов, обмен сигналами и сообщениями между примером пользовательского оборудования, базовой станцией наземной сети связи и несколькими базовыми станциями неназемной сети связи, как показано на фиг. 8, при предварительном условии, что пользовательское оборудование находится в состоянии RRC_IDLE или в состоянии RRC_INACTIVE, согласно аспектам настоящего изобретения;
фиг. 10 иллюстрирует, в виде диаграммы прохождения сигналов, обмен сигналами и сообщениями между примером пользовательского оборудования, базовой станцией наземной сети связи и несколькими базовыми станциями неназемной сети связи, как показано на фиг. 8, при предварительном условии, что пользовательское оборудование находится в состоянии RRC_CONNECTED, согласно аспектам настоящего изобретения;
фиг. 11 иллюстрирует среду, содержащую базовую станцию наземной сети связи, определяющую зону покрытия наземной сети связи, и базовую станцию неназемной сети связи, определяющую зону покрытия неназемной сети связи, где пример пользовательского оборудования, показанный на фиг. 2, присутствует в зоне охвата неназемной сети связи и присутствует в зоне охвата наземной сети связи, согласно аспектам настоящего изобретения; и
фиг. 12 иллюстрирует, в виде диаграммы прохождения сигналов, обмен сигналами и сообщениями между примером пользовательского оборудования, базовой станцией наземной сети связи и несколькими базовыми станциями неназемной сети связи, как показано на фиг. 11, согласно аспектам настоящего изобретения.
Осуществление изобретения
Для иллюстративных целей, конкретные примеры вариантов будут теперь описаны более подробно в сочетании с перечисленными чертежами.
Описываемые здесь варианты представляют информацию, достаточную для практического осуществления заявляемого предмета изобретения и иллюстрируют способы практической реализации такого предмета изобретения. После прочтения последующего описания с учетом прилагаемых чертежей специалисты в рассматриваемой области поймут принципы заявляемого предмета изобретения и смогут определить варианты применения этих принципов, которые не были здесь рассмотрены конкретно. Следует понимать, что все эти принципы и варианты их применения попадают в объем защиты настоящего изобретения и прилагаемой Формулы изобретения.
Более того, должно быть понятно, что любой модуль, компонент или устройство, описываемые здесь как выполняющие команды, может содержать, или в противном случае иметь доступ к энергонезависимому читаемому компьютером/процессором носителю или носителям для хранения информации, такой как читаемые компьютером/процессором команды, структуры данных, программные модули и/или другие данные. Неисчерпывающий список примеров энергонезависимых читаемых компьютером/процессором носителей для хранения информации содержит магнитные кассеты, магнитную ленту, запоминающие устройства на магнитных дисках или другие магнитные запоминающие устройства, оптические диски, такие как постоянное запоминающее устройство на компакт-диске (compact disc read-only memory (CD-ROM)), цифровые видео диски или цифровые универсальные диски (digital video disc или digital versatile disc (т.е. DVD)), диски «Блю-рей» (Blu-ray Disc™) или другое оптические запоминающие устройства, энергозависимые и энергонезависимые сменные и несменные носители информации, реализованные любым способом или посредством любой технологии, запоминающее устройство с произвольной выборкой (ЗУПВ (random-access memory (RAM)), постоянное запоминающее устройство (ПЗУ (read-only memory (ROM))), электрически стираемое программируемое постоянное запоминающее устройство (ЭСППЗУ (electrically erasable programmable read-only memory (EEPROM))), устройство флэш-памяти или запоминающее устройство на основе другой технологии. Любые такие энергонезависимые читаемые компьютером/процессором носители для хранения информации могут быть частью устройства, либо быть доступны для такого устройства или соединяемы с ним. Читаемые/выполняемые компьютером/процессором команды для реализации приложения или модуля, описываемого здесь, могут быть сохранены или присутствовать другим способом на таких читаемых компьютером/процессором носителях для хранения информации.
Фиг. 1 иллюстрирует в виде упрощенной схемы пример системы 100 связи. В общем, эта система 100 связи позволяет множеству беспроводных или проводных элементов осуществлять связь с передачей и приемом данных и другого контента. Назначением системы 100 связи может быть предоставление контента (речи, данных, видео, текста) в режиме широкого вещания, режиме вещания для узкого круга адресатов, передачи от одного пользовательского устройства другому пользовательскому устройству и т.п. Система 100 связи может работать эффективно за счет совместного использования ресурсов, таких как ширина полосы частот.
В этом примере система 100 связи содержит первое пользовательское оборудование (user equipment (UE)) 110A, второе оборудование UE 110B и третье оборудование UE 110C (индивидуально или коллективно 110), интегрированную наземную и неназемную сеть 120 радиодоступа (radio access network (RAN)), опорную сеть 130 связи, коммутируемую телефонную сеть 140 общего пользования (public switched telephone network (PSTN)), сеть Интернет 150 и другие сети 160 связи. Интегрированная сеть RAN 120 содержит наземную подсистему 120A и неназемную подсистему 120B. Хотя на фиг. 1 показаны только несколько этих компонентов и элементов, система 100 связи может содержать любое приемлемое число таких компонентов или элементов.
Единицы оборудования UE 110 конфигурированы для работы, осуществления связи или и того, и другого в системе 100 связи. Например, единицы оборудования UE 110 конфигурированы для передачи, приема или и передачи, и приема по беспроводным каналам связи. Каждая единица оборудования UE 110 представляет собой какое-либо подходящее пользовательское устройство конечного пользователя для работы в беспроводном режиме и может представлять собой такие устройства (или может относиться к ним), как беспроводной приемопередающий модуль (wireless transmit/receive unit (WTRU)), мобильная станция, мобильный абонентский модуль, сотовый телефон, станция (station (STA)), устройство связи машинного типа (machine-type communication device (MTC)), устройство Интернета вещей (Internet of Things (IoT)), персональный цифровой помощник (personal digital assistant (PDA)), смартфон, портативный компьютер, компьютер, сенсорная панель (тачпад), беспроводной датчик или устройство потребительской электроники.
Как показано на фиг. 1, наземная подсистема 120A содержит наземную базовую станцию 170A, а неназемная подсистема 120B содержит неназемную базовую станцию 170B (эти базовые станции могут быть индивидуально или коллективно иметь цифровое позиционное обозначение 170). Базовая станция 170 может также называться анкерной или передающей точкой (transmit point (TP)). Каждая базовая станция 170 конфигурирована для беспроводного сопряжения с одной или несколькими единицами оборудования UE 110, чтобы позволить доступ к какой-либо другой базовой станции 170, опорной сети 130 связи, сети PSTN 140, сети Интернет 150 и/или другим сетям 160 связи. Например, совокупность базовых станций 170 может содержать (или представлять собой) одно или несколько из ряда хорошо известных устройств, таких как базовая приемопередающая станция (base transceiver station (BTS)), узел Node-B (NodeB), развитый узел (evolved NodeB (eNodeB, “eNB”)), домашний узел (Home eNodeB), узел gNodeB (“gNB”), приемопередающая точка (transmission and receive point (TRP)), контроллер пункта связи, точка доступа (access point (AP)) или беспроводной маршрутизатор. Каждая единица оборудования UE 110 может быть в качестве альтернативы или в дополнение к этому конфигурирована для сопряжения, доступа или связи с любой другой базовой станцией 170, сетью Интернет 150, опорной сетью 130 связи, сетью PSTN 140, другими сетями 160 связи или какой-либо комбинации перечисленных объектов.
Единицы оборудования UE 110 и базовые станции 170 представляют собой примеры оборудования связи, которые могут быть конфигурированы для реализации некоторых или всех функциональных возможностей и/или вариантов, описываемых здесь. В варианте, показанном на фиг. 1, наземная базовая станция 170A образует часть наземной подсистемы 120A, которая может содержать другие базовые станции (не показаны), контроллер(ы) базовых станций (base station controller(s) (BSC)) не показан, контроллер(ы) сети радиосвязи (radio network controller(s) (RNC)) (не показан), ретрансляционные узлы (не показаны), элементы (не показаны) и/или другие устройства (не показаны). Любая базовая станция 170 может представлять собой один элемент, как показано, или несколько элементов, распределенных в соответствующей подсистеме, или иное. Кроме того, неназемная базовая станция 170B образует часть неназемной подсистемы 120B, которая может содержать другие базовые станции, элементы и/или устройства. Каждая базовая станция 170 передает и/или принимает беспроводные сигналы в некой конкретной географической области или зоне, иногда называемой «сота» или «зона охвата». Сота может быть далее разделена на секторы соты, а базовая станция 170 может, например, использовать несколько приемопередатчиков для предоставления сервиса в нескольких секторах. В некоторых вариантах могут быть установлены пико или фемто соты, там, где технология радиодоступа поддерживает такие соты. В некоторых вариантах в каждой соте могут быть использованы несколько приемопередатчиков, например, с использованием технологии системы с большим числом входов и большим числом выходов (multiple-input multiple-output (MIMO)). Показанное число подсистем является только примером. При разработке интегрированной сети RAN 120 и системы 100 связи может быть, в общем случае, использовано любое количество подсистем.
Наземная станция BS 170A осуществляет связь с одной или несколькими единицами оборудования UE 110 через один или несколько наземных интерфейсов 190 с использованием беспроводных каналов связи, например, высокочастотных (radio frequency (RF)) каналов беспроводной связи, каналов беспроводной связи СВЧ-диапазона, инфракрасных (infrared (IR)) каналов беспроводной связи, оптических каналов связи видимого света (visible light (VL)) и т.п. Неназемная станция BS 170B осуществляет связь с одной или несколькими единицами оборудования UE 110 через один или несколько неназемных радио интерфейсов 195 с использованием беспроводных каналов связи. Воздушные интерфейсы 190/195 могут использовать какую-либо подходящую технологию радиодоступа. Например, система 100 связи может реализовать один или несколько способов доступа с использованием ортогональных каналов или неортогональных каналов, таких как многостанционный доступ с кодовым уплотнением (code division multiple access (CDMA)), многостанционный доступ с временным уплотнением (time division multiple access (TDMA)), многостанционный доступ с частотным уплотнением (frequency division multiple access (FDMA)), многостанционный доступ с пространственным уплотнением (space division multiple access (SDMA)), доступ с ортогональным частотным уплотнением (orthogonal FDMA (OFDMA)) или система FDMA c одной несущей FDMA (SC-FDMA) в воздушных интерфейсах 190/195.
Базовая станция 170 может реализовать наземный радиодоступ в универсальной мобильной телекоммуникационной системе (Universal Mobile Telecommunication System (UMTS) Terrestrial Radio Access (UTRA)) для установления радио интерфейса с использованием широкополосной системы CDMA (wideband CDMA (WCDMA)). При этом базовая станция 170 может реализовать такие протоколы, как высокоскоростной пакетный доступ (High Speed Packet Access (HSPA)), развитый протокол HPSA (Evolved HPSA (HSPA+)), в качестве опции содержащий высокоскоростной пакетный доступ в нисходящей линии (High Speed Downlink Packet Access (HSDPA)), высокоскоростной пакетный доступ в восходящей линии (High Speed Packet Uplink Access (HSUPA)) или оба. В качестве альтернативы, базовая станция 170 может установить радио интерфейс 190 с развитой системой UTMS Terrestrial Radio Access (Evolved UTMS Terrestrial Radio Access (E-UTRA)) с использованием системы четвертого поколения (4G) «Долговременная эволюция» (Long-Term Evolution (LTE)), LTE-A, LTE-B и/или в системе пятого поколения (5G) «Новое радио» (New Radio (NR)). Предусматривается, что система 100 связи может использовать функциональные возможности многоканального доступа, включая схемы, описанные выше. К другим технологиям радиосвязи для реализации радио интерфейсов относятся IEEE 802.11, 802.15, 802.16, CDMA2000, CDMA2000 1X, CDMA2000 EV-DO, IS-2000, IS-95, IS-856, GSM, EDGE и GERAN. Безусловно, могут быть использованы и другие схемы многостанционного доступа, как и протоколы беспроводной связи.
Подсистемы интегрированной сети RAN 120 осуществляют связь с опорной сетью 130 связи для предоставления единицам оборудования UE 110 разнообразных сервисов, таких как сервисы голосовой связи, сервисы передачи данных и другие сервисы связи. Эти подсистемы и/или опорная сеть 130 связи могут иметь прямую или непрямую связь с одной или несколькими другими подсистемами (не показаны), которые могут быть или могут не быть обслуживаемыми напрямую опорной сетью 130 связи и могут использовать или могут не использовать такую же технологию радиодоступа, как наземная подсистема 120A, неназемная подсистема 120B или обе. Опорная сеть 130 связи может также служить в качестве шлюза доступа между (i) подсистемами или единицами оборудования UE 110, либо и тем и другим, и (ii) другими сетями связи (такими как сеть PSTN 140, сеть Интернет 150 и другими сетями 160 связи).
Единицы оборудования UE 110 могут осуществлять связь одна с другой через один или несколько прямых (sidelink (SL)) воздушных интерфейсов 180 с использованием беспроводных каналов связи, например, высокочастотных (RF) каналов беспроводной связи, каналов беспроводной связи СВЧ-диапазона, инфракрасных (IR) каналов беспроводной связи, оптических каналов связи видимого света (VL) и т.п. Такие прямые (SL) радио интерфейсы 180 могут использовать какую-либо подходящую технологию радиодоступа и могут быть по существу аналогичны радио интерфейсам 190, через которые единицы оборудования UE 110 осуществляют связь с одной или несколькими базовыми станциями 170, или могут по существу отличаться от интерфейсов 190. Например, система 100 связи может реализовать один или несколько способов доступа к каналам связи, таких как CDMA, TDMA, FDMA, SDMA, OFDMA или SC-FDMA в прямых (SL) радио интерфейсах 180. В некоторых вариантах прямые (SL) радио интерфейсы 180 могут быть, по меньшей мере частично, реализованы в нелицензированной области спектра.
Некоторые или все единицы оборудования UE 110 могут иметь функциональные возможности для связи с разными беспроводными сетями связи по разным беспроводным каналам связи с использованием различных технологий и/или протоколов беспроводной связи. Вместо беспроводной связи (или в дополнение к ней) единицы оборудования UE 110 могут осуществлять связь по проводным каналам связи с провайдером сервисов, либо с коммутатором (не показан) или с сетью Интернет 150. Сеть PSTN 140 может содержать коммутируемые телефонные сети для предоставления сервисов обычной телефонной связи (plain old telephone service (POTS)). Сеть Интернет 150 может содержать сеть из компьютеров и подсети (внутренние сети Интранет (intranet)) или и то, и другое и использовать такие протоколы как интернет-протокол (internet protocol (IP)), протокол управления передачей (transmission control protocol (TCP)) и протокол пользовательских дейтаграмм (user datagram protocol (UDP)). Единицы оборудования UE 110 могут представлять собой многорежимные устройства, способные работать в соответствии с несколькими технологиями радиодоступа и содержать несколько приемопередатчиков, необходимых для поддержки нескольких технологий радиодоступа.
Фиг. 2 и 3 иллюстрируют примеры устройств, которые могут реализовать способы и положения согласно настоящему изобретению. В частности, фиг. 2 иллюстрирует пример оборудования UE 110 и фиг. 3 иллюстрирует пример базовой станции 170. Эти компоненты могут быть использованы в системе 100 связи, показанной на фиг. 1, или в какой-либо другой подходящей системе.
Как показано на фиг. 2, оборудование UE 110 содержит по меньшей мере один процессорный модуль 200 оборудования UE. Этот процессорный модуль 200 оборудования UE осуществляет различные процессорные операции оборудования UE 110. Например, такой процессорный модуль 200 оборудования UE может осуществлять кодирование сигнала, обработку данных, управление мощностью, обработку ввода/вывода и какие-либо другие функции, позволяющие оборудованию UE 110 работать в системе 100 связи. Такой процессорный модуль 200 оборудования UE может также быть конфигурирован для реализации некоторых или всех функциональных возможностей и/или вариантов, описанных более подробно выше. Каждый процессорный модуль 200 оборудования UE содержит какое-либо подходящее процессорное или компьютерное устройство, конфигурированное для осуществления одной или нескольких операций. Каждый процессорный модуль 200 оборудования UE может, например, содержать микропроцессор, микроконтроллер, цифровой процессор сигнала, программируемую пользователем вентильную матрицу или специализируемую интегральную схему.
Оборудование UE 110 содержит также по меньшей мере один приемопередатчик 202. Этот приемопередатчик 202 конфигурирован для модуляции данных или другого контента для передачи по меньшей мере одной антенной или контроллером сетевого интерфейса (Network Interface Controller (NIC)) 204. Приемопередатчик 202 также конфигурирован для демодуляции данных или другого контента, принятого по меньшей мере одной антенной 204. Каждый приемопередатчик 202 содержит какую-либо подходящую структуру для генерации сигналов для передачи беспроводным или проводным способом. Каждая антенна 204 содержит какую-либо подходящую структуру для передачи и/или приема беспроводных или проводных сигналов. В единице оборудования UE 110 могут быть использованы один или несколько приемопередатчиков 202. В единице оборудования UE 110 могут быть использованы одна или несколько антенн 204. Хотя приемопередатчик 202 показан как единый функциональный модуль, он может быть также реализован с использованием по меньшей мере одного передатчика и по меньшей мере одного отдельного приемника.
Оборудование UE 110 далее содержит одно или несколько устройств 206 ввода/вывода или интерфейсов (таких как проводной интерфейс к сети Интернет 150). Эти устройства 206 ввода/вывода позволяют осуществлять взаимодействие с пользователем или с другими устройствами в сети связи. Каждое устройство 206 ввода/вывода содержит какую-либо подходящую структуру для передачи информации пользователю или приема информации от пользователя, такую как громкоговоритель, микрофон, клавишная панель, клавиатура, дисплей или сенсорный экран, включая интерфейсы связи с сетью.
В дополнение к этому оборудование UE 110 содержит по меньшей мере одно запоминающее устройство 208 оборудования UE. Это запоминающее устройство 208 оборудования UE сохраняет команды и данные, используемые, генерируемые или собираемые оборудованием UE 110. Например, запоминающее устройство 208 оборудования UE может сохранять программные команды или модули, конфигурированные для реализации некоторых или всех функциональных возможностей и/или вариантов, описываемых выше и исполняемых процессорным модулем (ями) 200 оборудования UE. Каждое запоминающее устройство 208 оборудования UE содержит какое-либо подходящее энергозависимое и/или энергонезависимое устройство (а) для запоминания и извлечения информации. Здесь может быть использовано запоминающее устройство любого подходящего типа, такое как запоминающее устройство с произвольной выборкой (ЗУПВ (RAM)), постоянное запоминающее устройство (ПЗУ (ROM)), жесткий диск, оптический диск, карта модуля идентификации абонента (subscriber identity module (SIM-карта)), флэш-карта, защищенная цифровая карта памяти (secure digital (SD-карта) memory card) или другое подобное устройство.
Как показано на фиг. 3, базовая станция 170 содержит по меньшей мере один процессорный модуль 350 станции, по меньшей мере один передатчик 352, по меньшей мере один приемник 354, одну или несколько антенн 356, по меньшей мере одно запоминающее устройство 358 и одно или несколько устройств или интерфейсов 366 ввода/вывода. Вместо передатчика 352 и приемника 354 может быть использован приемопередатчик. Процессорный модуль 350 станции BS реализует разнообразные процессорные операции базовой станции 170, такие как кодирование сигнала, обработка данных, управление мощностью обработка ввода/вывода или какие-либо другие функции. Этот процессорный модуль 350 станции BS также может быть конфигурирован для реализации некоторых или всех функциональных возможностей и/или вариантов, более подробно описанных выше. Каждый процессорный модуль 350 станции BS содержит какое-либо подходящее процессорное или компьютерное устройство, конфигурированное для осуществления одной или нескольких операций. Каждый процессорный модуль 350 станции BS может, например, содержать микропроцессор, микроконтроллер, цифровой процессор сигнала, программируемую пользователем вентильную матрицу или специализируемую интегральную схему.
Каждый передатчик 352 содержит какую-либо подходящую структуру для генерации сигналов с целью беспроводной или проводной передачи одной или нескольким единицам оборудования UE или другим устройствам. Каждый приемник 354 содержит какую-либо подходящую структуру для обработки сигналов, принятых беспроводным или проводным способом от одной или нескольких единиц оборудования UE или других устройств. Хотя по меньшей мере один передатчик 352 и по меньшей мере один приемник 354 показаны как раздельные компоненты, они могут быть объединены в приемопередатчик. Каждая антенна 356 содержит какую-либо подходящую структуру для передачи и/или приема беспроводных или проводных сигналов. Хотя здесь показано, что общая антенна 356 соединена и с передатчиком 352, и с приемником 354, одна или несколько антенн 356 могут быть соединены с передатчиком(ами) 352, и одна или несколько отдельных антенн 356 могут быть соединены с приемником(ами) 354. Каждое запоминающее устройство 358 содержит какое-либо подходящее энергозависимое и/или энергонезависимое устройство(а) для запоминания и извлечения информации, такое как те, что описаны выше применительно к оборудованию UE 110. Запоминающее устройство 358 сохраняет команды и данные, используемые, генерируемые или собираемых базовой станцией 170. Например, запоминающее устройство 358 может сохранять команды или модули, конфигурированные для реализации некоторых или всех функций и/или вариантов, описанных выше, и выполняемых процессорным модулем(ями) 350 станции BS.
Каждое устройство 366 ввода/вывода позволяет взаимодействовать с пользователем или с другими устройствами в сети связи. Каждое устройство 366 ввода/вывода содержит какую-либо подходящую структуру для передачи информации пользователю или приема/передачи информации от пользователя, включая связь через интерфейсы сети связи.
Известно, что, когда наземные сети (TN) связи интегрированы с неназемными сетями (NTN) связи, результат может состоять в том, что зона охвата, доступная для мобильного устройства, оказывается расширена за пределы зоны охвата, доступной с использованием только наземной (сотовой) сети связи. Кроме того, качество сервиса, предоставляемого для мобильного устройства, может быть повышено за счет использования интегрированной системы из наземных TN и неназемных NTN сетей связи. Предполагается, что интегрированная система из сетей TN и сетей NTN связи будет использовать сеть TN для предоставления первичного сервиса и использовать сеть NTN для предоставления вторичного сервиса. Воздушные точки TRP могут позволить усилить региональный сервис по запросу. Можно считать, что совместная работа сети TN и сети NTN в интегрированной системе, содержащей компоненты сетей TN и компоненты сетей NTN, позволит создать трехмерную систему беспроводной связи.
В интегрированной системе с сетями TN и сетями NTN существуют много сценариев использования, требующих так называемого «мульти-соединения» между сетями TN и сетями NTN. Сценарий важного события может потребовать привлечения специальных дополнительных средств по запросу в областях с недостаточным уровнем обслуживания. Городской и пригородный сценарий может быть определен зоной охвата сети TN, которая накладывается на зону охвата сети NTN. Сценарий общественного транспорта может определяться пассажирами в транспортном средстве (например, в высокоскоростном поезде, поезде постоянного обращения, автобусе, на борту речного судна), которые могут получать пользу от соединения с сетью NTN в сочетании с соединением с сетью TN.
Функции и преимущества использования спутников в сетях мобильной (наземной) связи 5G (пятого поколения) были исследованы группой «Проект партнерства 3-го поколения» (3rd Generation Partnership Project (3GPP)). Технология 5G New Radio (NR) представляет собой технологию радиодоступа (radio access technology (RAT)), разработанную группой 3GPP для сетей мобильной связи 5G. Исследования группы 3GPP привели к разработке специальных требований для поддержки спутникового доступа, которые были зафиксированы в Технических условиях, TS22.261 – «Требования к сервису для новых сервисов и рынков следующего поколения; Этап 1.» (TS22.261 – “Service requirements for next generation new services and markets; Stage 1.”) Эти технические условия признают дополнительную ценность спутникового покрытия как части комплекса технологий доступа для систем 5G.
Группа 3GPP также выпустила результаты исследований и разработок, специально посвященных сетям NTN. Эти исследования и разработки посвящены изучению и спецификации технических решений, позволяющих системе 5G NR поддерживать неназемные сети связи. Примечательно, что в этих исследованиях и разработках наземные и неназемные сети связи рассматриваются по отдельности. Иными словами, системы TN и системы NTN развертываются независимо, а какая-либо конкретная единица пользовательского оборудования (UE) либо соединяется с системой TN, либо соединяется с системой NTN, но не соединяется с обеими системами одновременно.
В отличие от этого, аспекты настоящего изобретения рассматривают интегрированную систему из сетей TN и NTN, где подсистемы TN и подсистемы NTN являются частями общей системы сетей беспроводной связи, так что любая конкретная единица оборудования UE, зарегистрированная в этой общей системе сетей беспроводной связи, может устанавливать соединение с одной подсистемой или с обеими подсистемами.
В контексте общей системы сетей беспроводной связи аспекты настоящего изобретения рассматривают совместную работу в процессе переключения связи между подсистемами для различных сценариев использования. Здесь учитываются разнообразные факторы, включая мобильность оборудования UE, местонахождение оборудования UE, траекторию движения оборудования UE, состояние соединения оборудования UE и энергосбережение.
В системе 5G NR, оборудование UE 110 может работать в одном из трех следующих состояний управления радио ресурсами (radio resource control (RRC)): состоянии RRC_IDLE; состоянии RRC_CONNECTED; и состоянии RRC_INACTIVE. В других документах эти состояния могут называться «режимами», например, «режим RRC_IDLE». Когда оборудование UE 110 находится в состоянии RRC_CONNECTED, можно считать, что это оборудование UE 110 соединилось со станцией BS 170 в результате процедуры установления соединения. Когда оборудование UE 110 перешло в состояние RRC_IDLE в результате процедуры освобождения, это оборудование UE 110 не соединено со станцией BS 170, но эта станция BS 170 знает, что это оборудование UE 110 присутствует в сети связи. Посредством переключения в состояние RRC_INACTIVE, например, посредством процедуры освобождения с приостановкой, оборудование UE 110 помогает сберечь сетевые ресурсы и запас энергии оборудования UE (тем самым продлевая, например, предполагаемое время работы оборудования UE от аккумулятора). Известно, что состояние RRC_INACTIVE является полезным, например, в тех случаях, когда оборудование UE 110 не осуществляет связь со станцией BS 170. Когда оборудование UE 110 находится в состоянии RRC_INACTIVE, и станция BS 170, и оборудование UE 110 сохраняют по меньшей мере некоторую информацию о конфигурации, тем самым позволяя оборудованию UE 110 вновь соединиться со станцией BS 170, посредством процедуры возобновления, более быстро, чем если бы это оборудование UE 110 могло возобновить соединение, посредством процедуры установления соединения, в ситуации, когда это оборудование UE 110 находится в состоянии RRC_IDLE. Сохранение по меньшей мере некоторой информации о конфигурации, когда оборудование UE 110 находится в состоянии RRC_INACTIVE, является одним из аспектов, отличающих состояние RRC_INACTIVE от состояния RRC_IDLE.
Современные процедуры управления мобильностью в сетях сотовой связи основаны на выполняемых мобильными устройствами измерениях опорных сигналов, переданных обслуживающими и необслуживающими базовыми станциями. Кроме того, в основе рамочной структуры сообщений о мобильности лежат события на уровне ячеек. Одним из примеров такого события на уровне ячеек является событие, состоящее в том, что измеренный уровень первого опорного сигнала от первой базовой станции становится выше измеренного уровня второго опорного сигнала от второй базовой станции. Такие события на уровне ячеек обычно основаны на измерениях мощности принимаемого опорного сигнала (reference signal received power (RSRP)), в соответствии с тем, что одно из свойств канала связи между базовой станцией и мобильным устройством состоит в том, что только один конец этого канала связи является мобильным.
В технологии 5G NR ожидается, что некое конкретное оборудование UE 110 будет постоянно выполнять измерения блоков синхросигнала (synchronization signal block (SSB)) и/или блоков сигнала физического вещательного канала (Physical Broadcast Channel (PBCH)) от обслуживающих и необслуживающих базовых станций 170. Это конкретное оборудование UE 110 может, в качестве опции, быть конфигурировано для осуществления измерений опорного сигнала информации о состоянии канала (channel state information reference signal (CSI-RS)). Можно показать, что выполнение таких измерений может привести к ситуации, когда оборудование UE 110 вынуждено всегда принимать и измерять сигналы, такие как блоки, передаваемые необслуживающими/соседними базовыми станциями 170. Можно считать, что прием и измерение таких блоков требует затрат времени и потребления энергии. Современные технические решения относительно мобильности были конфигурированы для разрешения проблемы, известной как «эффект пинг-понга», когда оборудование UE 110, находящееся на границе двух ячеек, может колебаться («дребезжать») между обслуживанием со стороны базовых станций 170, образующих эти две соты.
В общих чертах, аспекты настоящего изобретения относятся к управлению мобильностью единиц оборудования UE 110 при переходе между несколькими подсистемами устройств сетей беспроводной связи, таких как базовые станции, беспилотные летательные аппараты (дроны), самолеты и спутники. В частности, аспекты настоящего изобретения решают проблему поддержания восприятия пользователем при переходе между подсистемами. В контексте настоящего изобретения и как иллюстрирует Фиг. 1, термин «подсистема» обозначает часть единой интегрированной наземной и неназемной сети RAN. Хотя в настоящем изобретении используется термин «подсистема», равным образом могут быть применены другие термины, такие как ярус, слой и т.п.
Аспекты настоящего изобретения относятся к переключению оборудования UE 110 от соединения со станцией BS 170 в одной подсистеме к соединению со станцией BS 170 в другой подсистеме, в единой интегрированной наземной и неназемной сети RAN. Кроме того, в нескольких подсистемах в единой интегрированной наземной и неназемной сети RAN могут быть несколько станций BS 170. Переключение соединения может принимать в расчет мобильность оборудования UE 110, местонахождение оборудования UE 110, траекторию перемещения оборудования UE 110, состояние соединения оборудования UE 110 и энергосбережение в оборудовании UE 110. Учет этих факторов позволяет оборудованию UE 110, находящемуся в состоянии RRC_CONNECTED, переключаться из одной подсистемы в другую или позволяет оборудованию UE 110, находящемуся в состоянии RRC_IDLE или в состоянии RRC_INACTIVE переключиться из состояния ассоциирования с одной подсистемой в состояние ассоциирования с другой подсистемой. В обоих случаях предпринимаются усилия, чтобы уменьшить прерывания управления на физическом уровне/передачи данных. Таким способом можно поддерживать отсутствие прерываний для пользователя и реализовать энергосбережение.
Согласно аспектам настоящего изобретения, станция BS 170B сети NTN может осуществлять связь напрямую со станцией BS 170A сети TN, чтобы позволить оборудованию UE 110, находящемуся в состоянии RRC_CONNECTED, переключаться от соединения со станцией BS 170B в сети NTN к соединению со станцией BS 170A в сети TN. Аналогично, станция BS 170B в сети NTN может осуществлять связь напрямую со станцией BS 170A в сети TN, чтобы позволить оборудованию UE 110, находящемуся в состоянии RRC_IDLE или в состоянии RRC_INACTIVE, переключаться от состояния ассоциирования со станцией BS 170B в сети NTN к состоянию ассоциирования со станцией BS 170A в сети TN. В дополнение к этому, в контексте, в котором оборудование UE 110 поддерживает более одного соединения с разными подсистемами или станциями BS 170 из разных подсистем, это оборудование UE 110 может поддерживать только одно активное соединение за раз, термин «переключение» может относиться к изменению активного соединения от одного соединения к другому соединению из совокупности нескольких соединений.
В системах согласно технологиям LTE и NR известно, что прямая связь между базовыми станциями относительно переключения связи оборудования UE осуществляется через так называемый интерфейс Xn. Однако никакая такая прямая связь еще не была определена в текущих исследованиях и разработках группы 3GPP в отношении сетей NTN. Действительно, до сих пор не было определения интерфейса Xn или другого транзитного канала беспроводной связи для осуществления прямой связи между станцией BS 170A в сети TN и станцией BS 170B в сети NTN.
Согласно аспектам настоящего изобретения, между станцией BS 170A в сети TN и станцией BS 170B в сети NTN может быть установлен прямой канал 199 связи (см. фиг. 1), тем самым позволяя совместную работу подсистемы 120A из сети TN и подсистемы 120B из сети NTN.
Можно показать, что прямой канал 199 связи между станцией BS 170B в сети NTN и станцией BS 170A в сети TN является более эффективным, чем какой-либо из каналов 190 связи между станцией BS 170B в сети NTN и оборудованием UE 110. Соответственно, аспекты настоящего изобретения относятся к применению прямого канала 199 связи между станцией BS 170B в сети NTN и станцией BS 170A в сети TN для совместного использования параметров конфигурации, полезных для управления переключением связи оборудования UE 110 между станциями BS 170. К примерам параметров конфигурации, полезных для переключения связи от существующего соединения с одной из станций BS 170 к новому соединению с другой станцией BS 170, относятся: направление луча; назначение преамбулы; параметры общей конфигурации для нового соединения; и специфичные для оборудования UE параметры конфигурации для нового соединения. Можно показать, что такое совместное использование параметров конфигурации ведет к повышению общей спектральной эффективности и к уменьшению затрат энергии, используемой двумя станциями BS 170 и оборудованием UE 110.
Другие аспекты настоящего изобретения относятся к способу передачи сигнализации о параметрах конфигурации оборудованию UE 110 и к природе этих параметров конфигурации. Когда оборудование UE 110 находится в режиме RRC_INACTIVE или в режиме RRC_IDLE, способ передачи сигнализации о параметрах конфигурации оборудованию UE 110 может содержать так называемую «общую сигнализацию». Иными словами, информацию передают в режиме широкого вещания всем единицам оборудования UE 110, находящимся в диапазоне сигнализации. Когда оборудование UE 110 находится в режиме RRC_CONNECTED, способ передачи сигнализации о параметрах конфигурации этому оборудованию UE 110 может содержать так называемую «специализированную сигнализацию», иными словами, сигнализацию, специфичную для конкретной единицы оборудования UE.
К параметрам конфигурации могут относиться информация об опережении синхронизации (timing advance (TA)), доплеровский сдвиг, информация о местонахождении станций BS 170 и информация об эфемеридах спутников. Известно, что спутники передают информацию о своем местонахождении (текущем и прогнозируемом), синхронизации и исправности («здоровье»). Эта информация известна как данные эфемерид. Примечательно, что такие данные эфемерид не предоставляют в отношении обычной процедуры переключения связи в системах согласно технологиям LTE или 5G NR. Действительно, данные эфемерид не имеют отношения к наземным сетям связи, поскольку положение каждой станции BS 170 в такой сети является фиксированным.
Другие аспекты настоящего изобретения относятся к активизации и к деактивации измерений в отношении другой подсистемы с целью сбережения энергии. Например, оборудование UE 110 может осуществлять измерения мобильности в отношении только базовых станций 170 в сети NTN, может осуществлять измерения мобильности в отношении только базовых станций 170 в сети TN или может осуществлять измерения мобильности в отношении и базовых станций 170 в сети NTN, и базовых станций 170 в сети TN.
От оборудования UE 110 с ограниченными процессорными возможностями нельзя ожидать, что оно сможет осуществлять мониторинг всех радиоканалов сразу, например, в сети сотовой связи, в сети беспроводной связи на основе беспилотных летательных аппаратов, в сети беспроводной связи на основе самолетов и в сети беспроводной связи на основе спутников. Следует хорошо понимать, что такой экстенсивный мониторинг может привести к тому, что оборудование UE 110 разрядит свой аккумулятор.
Согласно аспектам настоящего изобретения, некая конкретная станция BS 170 может дать команду оборудованию UE 110 принять и измерить только определенные каналы физического уровня посредством активизации и деактивации измерений мобильности с использованием конкретных опорных сигналов мобильности, относящихся к одной из подсистем.
Оборудование UE 110 может выбрать, в процессе поиска соты на основе лучей в ходе процедуры первоначального доступа, обслуживающую воздушную станцию BS 170 в сети NTN на основе измерений мощности RSRP в нисходящей (DL) линии по принятому сообщению ответа произвольного доступа (Random Access Response (RAR)).
Точка доступа (например, станция BS 170A в сети TN), принадлежащая второй подсистеме, может принять обратную связь от одной или нескольких точек доступа (например, станции BS 170B в сети NTN), принадлежащих первой подсистеме. Эта обратная связь может относиться к качеству принимаемых сигналов восходящей (UL) линии (например, преамбул), Точка доступа, принадлежащая второй подсистеме, может выбрать, на основе принятой обратной связи, обслуживающий узел для второй подсистемы и проинформировать оборудование UE 110 об этом выборе.
Еще несколько аспектов настоящего изобретения относятся к единице оборудования UE 110, передавшей несколько сообщений запросов произвольного доступа (RAR) нескольким станциям BS 170. Эта единица оборудования UE 110 может быть способна обрабатывать, либо непосредственно, либо с использованием помощи от станции BS 170, ситуации, когда приняты несколько сообщений ответа произвольного доступа. Это не является случаем в системе LTE или в системе 5G NR, где какая-то определенная станция BS 170 является целью попыток произвольного доступа. Мотивация для нескольких сообщений запроса произвольного доступа состоит в том, что станция BS 170, имеющая оптимальную нисходящую линию к рассматриваемой единице оборудования UE 110, не обязательно может быть наилучшей станцией BS 170 для приема сообщения ответа произвольного доступа, особенно, когда используется доступ на основе луча.
Рассмотрим переключение связи между несколькими точками TRP в технологии NR от исходной станции BS к конечной станции BS. Здесь предполагается, что термин «переключение связи между несколькими точками TRP в технологии NR» относится к переключению связи на основе лучей в технологии NR. Известно, что переключение связи между несколькими точками TRP в технологии NR содержит операцию свипирования лучом от единицы оборудования UE. Иными словами, оборудование UE ограничивает попытки приема сигналов от целевой станции BS узким угловым сектором, центрированным вокруг некого углового направления, и затем повторяет попытку в широком спектре угловых направлений. В отличие от этого, аспекты настоящего изобретения предлагают использование, единицей оборудования UE 110, информации, полученной в процессе конфигурирования. Особенно полезной для оборудования UE 110 является информация о местонахождении и траектории/спутниковых эфемеридах для станции BS 170. Используя такую информацию, оборудование UE 110 может непосредственно управлять передачами преамбулы, иными словами, направлять луч прямо на конкретную станцию BS 170 без каких-либо задержек, ассоциированных с операцией свипирования лучом, известной в системе NR.
В некоторых вариантах, диапазон угловых направлений может быть представлен в форме набора квантованных угловых направлений. Этот угловой диапазон может соответствовать определенной области пространства. В некоторых вариантах, этот угловой диапазон может нести информацию только в абсолютных значениях относительно верхней границы и нижней границы угловых направлений, которые должно использовать оборудование UE. Индивидуальные квантованные угловые направления в пределах обозначенного углового диапазона могут быть определены самой единицей оборудования UE, например, посредством равномерного распределения квантованных угловых направлений в этом угловом диапазоне. В качестве другого примера, набор квантованных угловых направлений может быть в явном виде обозначен для оборудования UE путем указания полного набора квантованных угловых направлений, соответствующих индивидуальным угловым направлениям, в абсолютной форме. Это может являться более полным представлением области пространства, которая обозначена для оборудования UE, поскольку нижняя граница угловых направлений, верхняя граница угловых направлений и разрешение каждого углового направления здесь предоставлены в явном виде.
В некоторых вариантах, лучи относятся к пространственным фильтрам. Пространственные фильтры представляют собой способы обработки сигнала, применяемые такими устройствами, как оборудование UE, точка T-TRP или точка NT-TRP для целей направленной связи, например, так, что это оборудование UE или точка T-TRP или точка NT-TRP может передавать или принимать сигналы или каналы физического уровня в некоторой определенной области пространства. В некоторых вариантах, термин «направленная связь» обозначает связь, для которой такие устройства, как оборудование UE, точка T-TRP или точка NT-TRP используют формирование диаграммы направленности (луча). В области беспроводной связи такая пространственная фильтрация используется, например, для фокусировки энергии в некоторой определенной области пространства. Один из примеров пространственной фильтрации в беспроводной связи называется цифровым предварительным кодированием, где различные сигналы физического уровня, несущие потоки данных, передают с использованием нескольких антенн, где разные антенны используют различные цифровые фазовые сдвиги, так что когда сигналы физического уровня передают по радио с использованием нескольких антенн, сигнальные волны конструктивно суммируются в некой определенной области пространства, например, где располагается рассматриваемая единица оборудования UE. В другом примере пространственной фильтрации применяется аналоговое формирование диаграммы направленности (луча), где различные сигналы физического уровня передают с использованием нескольких антенн, и разные антенны используют различные аналоговые фазовые сдвиги, так что когда сигналы физического уровня передают по радио с использованием нескольких антенн, сигнальные волны конструктивно суммируются в некой определенной области пространства, например, где располагается рассматриваемая единица оборудования UE. В другом примере пространственной фильтрации применяется гибридное формирование диаграммы направленности (луча), которое использует комбинацию цифрового и аналогового формирования диаграммы направленности (луча) для осуществления обработки сигнала, так что сигнальные волны конструктивно суммируются в некой определенной области пространства.
В системе NR свипирование лучом осуществляется в процессе первоначального доступа. Такое свипирование лучом основано на предварительно определенной кодовой таблице угловых направлений, которые охватывают все угловое пространство и используются станцией BS для последовательной передачи блоков SSB. В ходе процедуры, называемой «определение луча», оборудование UE 110 может выбрать «наилучшее» направление. В качестве альтернативы, процедура определения луча может содержать информирование оборудования UE 110, посредством исходной станции BS, о «наилучшем» направлении. После определения луча оборудование UE 110 ожидает, чтобы целевая станция BS запланировала возможность передачи канала произвольного доступа (random access channel (RACH)) в указанном наилучшем направлении.
Примечательно, что исходная станция BS может помочь определению луча в случае бесконфликтного переключения, иными словами, оборудованию UE 110 нет необходимости определять наилучший луч в направлении целевой станции BS, опираясь на прием блоков SSB. Это происходит вследствие неявного ассоциирования между блоками SSB и возможностями передачи канала RACH. Эта процедура может потребовать дополнительного полного направленного свипирования со стороны целевой станции BS, тем самым еще более увеличивая затраты времени для завершения переключения связи. Примечательно, что система LTE не поддерживает первоначальный доступ на основе луча или переключение связи на основе луча.
Можно показать, что отказоустойчивость сети связи, энергосбережение и меньшая задержка могут быть достигнуты путем агрегирования первичного соединения и вторичного соединения. Оба – и первичное соединение, и вторичное соединение, могут быть активизированы одновременно, либо одно из соединений может быть полустатически/динамически активизировано/деактивировано.
Аспекты настоящего изобретения относятся к использованию прямого канала 199 связи между станцией BS 170B в сети NTN и станцией BS 170A в сети TN (см. фиг. 1) с целью, тем самым, позволить оборудованию UE 110 эффективно переключаться от соединения со станцией BS 170A в сети TN к соединению со станцией BS 170B в сети NTN или обратно в различных сценариях. Процедуры, использующие аспекты настоящего изобретения, отличаются от обычных технических решений для процедур переключения связи между/внутри сетей RAN.
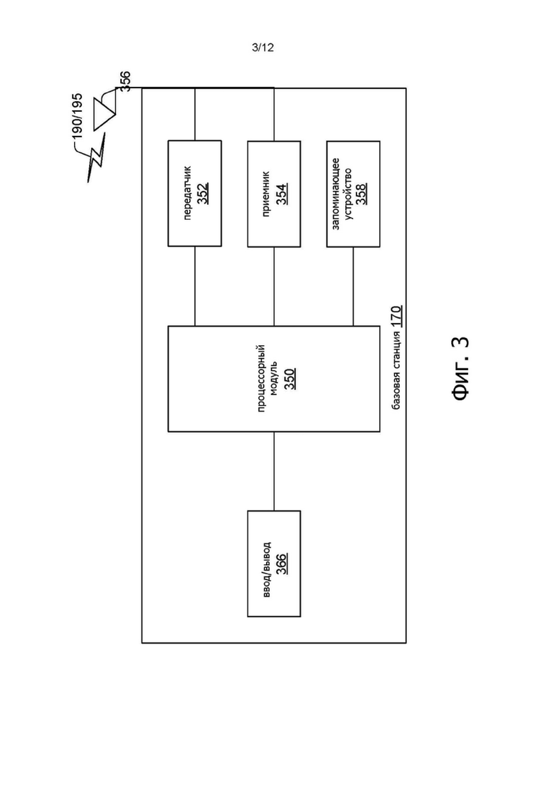
Фиг. 4 иллюстрирует сценарий, в котором станция BS 170A в сети TN имеет зону 400A обслуживания в сети TN (также известную как «сота»). Фиг. 4 иллюстрирует, что первая неназемная станция BS 170B-1 имеет первую зону 400B-1 обслуживания в сети NTN, вторая неназемная станция BS 170B-2 имеет вторую зону 400B-2 обслуживания в сети NTN, и третья неназемная станция BS 170B-3, имеет третью зону 400B-3 обслуживания в сети NTN. Пример оборудования UE 110 показан на фиг. 4 как перемещающийся из зоны 400A обслуживания в сети TN в первую зону 400B-1 обслуживания в сети NTN.
В системе 5G NR, оборудование UE 110 может работать в одном из следующих трех состояний управления радио ресурсами (RRC): состоянии RRC_IDLE; состоянии RRC_CONNECTED; и состоянии RRC_INACTIVE. В другой документации эти состояния могут называться «режимами», например, «режим RRC_IDLE». Когда оборудование UE 110 находится в состоянии RRC_CONNECTED, можно считать, что это оборудование UE 110 соединилось со станцией BS 170 в результате процедуры установления соединения. Когда оборудование UE 110 перешло в состояние RRC_IDLE в результате процедуры освобождения, это оборудование UE 110 не соединено со станцией BS 170, но эта станция BS 170 знает, что это оборудование UE 110 присутствует в сети связи. Посредством переключения в состояние RRC_INACTIVE, например, посредством процедуры освобождения с приостановкой, оборудование UE 110 помогает сберечь сетевые ресурсы и запас энергии оборудования UE (тем самым продлевая, например, предполагаемое время работы оборудования UE от аккумулятора). Известно, что состояние RRC_INACTIVE является полезным, например, в тех случаях, когда оборудование UE 110 не осуществляет связь со станцией BS 170. Когда оборудование UE 110 находится в состоянии RRC_INACTIVE, и станция BS 170, и оборудование UE 110 сохраняют по меньшей мере некоторую информацию о конфигурации, тем самым позволяя оборудованию UE 110 вновь соединиться со станцией BS 170, посредством процедуры возобновления, более быстро, чем если бы это оборудование UE 110 могло возобновить соединение, посредством процедуры установления соединения, в ситуации, когда это оборудование UE 110 находится в состоянии RRC_IDLE. Сохранение по меньшей мере некоторой информации о конфигурации, когда оборудование UE 110 находится в состоянии RRC_INACTIVE, является одним из аспектов, отличающих состояние RRC_INACTIVE от состояния RRC_IDLE.
Когда оборудование UE 110, показанное на фиг. 4, находится в состоянии RRC_IDLE или в состоянии RRC_INACTIVE, это оборудование UE 110 может принять сигнализацию об общей конфигурации от станции BS 170A в сети TN. Например, эта сигнализация об общей конфигурации может быть принята оборудованием UE 110 с использованием сигнализации более высокого уровня, такой как сигнализация управления RRC. С учетом фиг. 4, станция BS 170A в сети TN может понять, что следует поддерживать прямой канал 402-1 связи с первой станцией BS 170B-1 в сети NTN, прямой канал 402-2 связи со второй станцией BS 170B-2 в сети NTN и прямой канал 402-3 связи с третьей станцией BS 170B-3 в сети NTN. Соответственно, в сети связи, показанной на фиг. 4, станция BS 170A в сети TN может передавать в режиме широкого вещания сигнализацию об общей конфигурации, содержащую информацию, специфичную для трех базовых станций 170B в сети NTN.
К примерам параметров конфигурации, включенных станцией BS 170A в сети TN в передаваемую в режиме широкого вещания сигнализацию об общей конфигурации, могут относиться: информация об общем опережении синхронизации (TA), информация о доплеровском сдвиге, информация об общей конфигурации канала RACH; информация о местонахождении станции BS 170B в сети NTN; информация о траектории перемещения станции BS 170B в сети NTN; информация об эфемеридах спутника станции BS 170B в сети NTN; и информация о синхронизации нисходящей (DL) линии.
Фиг. 5 иллюстрирует, в виде диаграммы прохождения сигналов, обмен сообщениями и сигналами связи между оборудованием UE 110, станцией BS 170A в сети TN и тремя базовыми станциями 170B в сети NTN, показанными на фиг. 4, при предварительном условии, что оборудовании UE 110 находится в состоянии RRC_IDLE или в состоянии RRC_INACTIVE.
Первоначально станция BS 170A в сети TN передает (этап 502) одной или нескольким базовым станциям 170B в сети NTN, сообщение SwitchRequest, обозначающее, что оборудование UE 110 собирается переключиться в подсистему NTN. Затем станция BS 170A в сети TN принимает (этап 504) от одной или нескольких базовых станций 170B в сети NTN, сообщение SwitchRequestAcknowledge.
После этого станция BS 170A передает в режиме широкого вещания (этап 506) сигнализацию об общей конфигурации, несущую подробности для трех базовых станций 170B в сети. Оборудование UE 110 принимает (этап 508) сигнализацию об общей конфигурации и может сохранить информацию, содержащуюся в этой сигнализации, в запоминающем устройстве 208 оборудования UE. Оборудование UE 110 может затем выбрать (этап 510) преамбулу канала RACH, иными словами, преамбулу для передачи по физическому каналу произвольного доступа (physical random access channel (“PRACH”)). Затем оборудование UE 110 может передать (этап 512) эту преамбулу в адрес каждой из указанных трех базовых станций 170B в сети NTN. В частности, при передаче (этап 512) луча, несущего преамбулу, в направлении какой-либо конкретной станции из трех базовых станций 170B в сети NTN, оборудование UE 110 может использовать грубую регулировку опережения TA и компенсацию доплеровского сдвига на основе общей информации об опережении TA и информации о доплеровском сдвиге, специфичном для указанной конкретной из базовых станций 170B в сети NTN, включенной в сигнализацию об общей конфигурации, специфичную для этой конкретной из базовых станций 170B в сети NTN. Примечательно, что число базовых станций 170B в сети NTN, которым оборудование UE 110 передает (этап 512) преамбулу, является опцией.
В ответ на передачу (этап 512) преамбулы по каналу PRACH, оборудование UE 110 может принять (этап 514) сообщение RAR от каждой из базовых станций 170B в сети NTN, которым была передана преамбула. Ожидается, что каждое сообщение RAR будет содержать данные точной настройки для информации об опережении синхронизации и коррекции доплеровского сдвига, соответствующие базовым станциям 170B в сети NTN, от которых принято сообщение RAR.
Затем оборудование UE 110 выбирает (этап 516) одну из базовых станций 170B в сети NTN, от которых было принято сообщение RAR. Этот выбор (этап 516) может быть основан на сравнении измерения мощности RSRP в нисходящей (DL) линии сигнала, несущего сообщение RAR, от каждой из базовых станций 170B в сети NTN, от которой принято сообщение RAR. После выбора (этап 516) конкретной станции BS 170B в сети NTN, оборудование UE 110 передает (этап 518), по физическому восходящему совместно используемому каналу (physical uplink shared channel (PUSCH)), идентификатор (ID) оборудования UE в адрес указанной конкретной станции BS 170B в сети NTN. Этот идентификатор UE ID может, в одном из примеров, быть реализован в виде временного идентификатора соты в сети радиосвязи (Cell Radio Network Temporary Identifier (C-RNTI)). Идентификатор оборудования UE может, в качестве другого примера, может быть реализован в виде идентификатора (ID) опорной сети связи. При передаче (этап 518) идентификатора UE ID по каналу PUSCH, оборудование UE 110 может использовать ресурсы, специфицированные в соответствующем сообщении RAR. В дополнение к этому, при передаче (этап 518) идентификатора UE ID по каналу PUSCH, оборудование UE 110 может регулировать опережение TA в соответствии с информацией точной настройки, входящей в соответствующее сообщение RAR.
Выбранная станция BS 170B в сети NTN, которая принимает идентификатор UE ID может ответить сообщением для разрешения конфликтов. Эта выбранная станция BS 170B в сети NTN может основывать аспекты сообщения для разрешения конфликтов на принятом идентификаторе UE ID.
Когда оборудование UE 110 указало свой идентификатор UE ID как идентификатор C-RNTI, выбранная станция BS 170B в сети NTN может передать сообщение для разрешения конфликтов с использованием физического нисходящего канала управления (physical downlink control channel (PDCCH)), специфицируя при этом идентификатор C-RNTI.
Если оборудование UE 110 не указано свой идентификатор UE ID как идентификатор C-RNTI, возможно потому, что это оборудование UE 110 не имеет действительного идентификатора C-RNTI, выбранная станция BS 170B в сети NTN может передать сообщение для разрешения конфликтов с использованием физического нисходящего канала управления (PDCCH), специфицируя при этом временный идентификатор C-RNTI (temporary C-RNTI (т.е. “TC-RNTI”)). Действительно, идентификатор TC-RNTI может быть предложен оборудованию UE 110, посредством выбранной станции BS 170B в сети NTN, в сообщении RAR. Выбранная станция BS 170B в сети NTN может передать сообщение для разрешения конфликтов по физическому нисходящему совместно используемому каналу (physical downlink shared channel (PDSCH)), ассоциированному с каналом PDCCH.
Оборудование UE 110 принимает (этап 520) сообщение для разрешения конфликтов и извлекает из него индикацию идентификатора UE ID. Затем это оборудование UE 110 сравнивает извлеченный идентификатор UE ID с идентификатором UE ID, переданным на этапе 518. После определения, что идентификатор UE ID, извлеченный из сообщения для разрешения конфликтов, принятого на этапе 520, совпадает с идентификатором UE ID, переданным на этапе 518, оборудование UE может объявить, что разрешение конфликтов прошло успешно, и передать (этап 522) подтверждение в адрес выбранной станции BS 170B в сети NTN.
Можно показать, что использование потока сигналов, иллюстрированного на фиг. 5, приводит к плавной мобильности между подсистемами для единиц оборудования UE 110, находящихся в состоянии RRC_IDLE или в состоянии RRC_INACTIVE. Такие единицы оборудования UE 110 могут переходить, таким способом, из одной подсистемы в другую подсистему, по всей видимости беспрепятственно, так что восприятие для пользователя не имеет прерываний. После такого перехода единица оборудования UE 110 может оставаться в состоянии RRC_IDLE или в состоянии RRC_INACTIVE. В качестве альтернативы, эта единица оборудования UE 110 может осуществить хорошо известную процедуру первоначального доступа для перехода в состояние RRC_CONNECTED.
Обычно мобильностью между подсистемами управляет станция BS 170A в сети TN. Эта станция BS 170A в сети TN определяет, на какую из станций BS 170B в сети NTN рассматриваемая единица оборудования UE 110 потенциально может переключить свою связь. Соответственно, этой единице оборудования UE 110 нет необходимости терять время и/или процессорную мощность для обнаружения радиоканалов и измерения сигналов этих радиоканалов от подсистем, в которых эта единица оборудования UE 110 не была активизирована или конфигурирована, для обнаружения радиоканалов и блоков SSB из сети NTN или выполнения измерений опорных сигналов из этой сети NTN.
Приведенные выше аспекты настоящего изобретения подходят к управлению мобильностью в интегрированных сетях TN и NTN путем создания рамочной структуры, где станция BS 170A в сети TN может способствовать переходу единицы оборудования UE 110, находящейся в состоянии RRC_IDLE или в состоянии RRC_INACTIVE, из сети TN в сеть NTN, уменьшая при этом задержки переключения. Объем усилий по свипированию луча в системе связи на основе лучей также уменьшается, поскольку этому оборудованию UE 110 нет необходимости принимать блоки SSB от всех станций BS 170B из подсистемы NTN. Действительно, оборудование UE 110 может опираться на информацию, передаваемую в режиме широкого вещания станцией BS 170A из сети TN, чтобы непосредственно формировать диаграмму направленности (луч) для передач преамбулы (этап 512) в направлении определенного подмножества станций BS 170B в сети NTN.
В отличие от этапов (см. фиг. 5), выполняемых, когда оборудование UE 110 находится в состоянии RRC_IDLE или в состоянии RRC_INACTIVE, Фиг. 6 иллюстрирует, в виде диаграммы прохождения сигналов, обмен сообщениями и сигналами связи между оборудованием UE 110, станцией BS 170A в сети TN и тремя базовыми станциями 170B сети NTN, показанными на фиг. 4, при предварительном условии, что рассматриваемая единица оборудования UE 110 находится в состоянии RRC_CONNECTED.
Поскольку рассматриваемое оборудование UE 110 находится в состоянии RRC_CONNECTED относительно станции BS 170A в сети TN, можно предположить, что это оборудование UE 110 выполнило процедуру первоначального доступа. В качестве части процедуры первоначального доступа ожидается, что рассматриваемое оборудование UE 110 приняло параметры первоначальной конфигурации, относящиеся к измерениям мобильности, от станции BS 170A из сети TN. Это оборудование UE 110 может использовать параметры первоначальной конфигурации при обнаружении и измерении опорных сигналов мобильности от других станций BS 170A сети TN.
Параметры первоначальной конфигурации могут быть переданы станцией BS 170A из сети TN оборудованию UE 110 с использованием, например, сигнализации более высокого уровня. Эта сигнализация может быть в форме наборов ресурсов и ресурсов, предоставляемых для каждой подсистемы. Иными словами, наборы ресурсов и ресурсы могут быть предоставлены для подсистемы 120A в сети TN, а также наборы ресурсов и ресурсы могут быть предоставлены для подсистемы 120B в сети NTN.
Каждая конфигурация ресурсов для использования при измерениях мобильности может нести такую информацию, как идентификаторы ресурсов, расположение ресурсов по времени/частоте, периодичность измерений, генерация последовательности и т.п. Для каждого ресурса или каждого набора ресурсов может быть предоставлена информация о подсистеме, например, тип подсистемы (наземная, неназемная) и идентификатор подсистемы. В качестве альтернативы ресурсы и наборы ресурсов могут быть конфигурированы специально для каждой подсистемы. Пример 700 конфигурации ресурсов мобильности, предоставляемой посредством сигнализации более высокого уровня, приведен на фиг. 7.
Фиг. 6 иллюстрирует, в виде диаграммы прохождения сигналов, обмен сообщениями и сигналами связи между оборудованием UE 110, станцией BS 170A в сети TN и тремя базовыми станциями 170B сети NTN, показанными на фиг. 4, при предварительном условии, что рассматриваемая единица оборудования UE 110 находится в состоянии RRC_CONNECTED.
Первоначально станция BS 170A сети TN передает (этап 602), одной или нескольким базовым станциям 170B в сети NTN, сообщение SwitchRequest, указывающее, что оборудование UE 110 собирается переключиться в подсистему NTN. Станция BS 170A сети TN затем принимает (этап 604) от одной или нескольких базовых станций 170B сети NTN сообщение SwitchRequestAcknowledge.
После этого станция BS 170A сети TN передает (этап 606) оборудованию UE 110 специфичную для устройства сигнализацию управления RRC, такую как сообщение RRCReconfiguration. Эта специфичная для устройства сигнализация управления RRC может содержать параметры конфигурации, такие как индикация точной регулировки опережения TA, индикация доплеровского сдвига, специализированный информационный элемент (Information Element (IE)) конфигурации канала RACH, траектория или некоторые спутниковые эфемериды для станций BS 170B в сети NTN и новый идентификатор C-RNTI. Оборудование UE 110 принимает (этап 608) специфичную для устройства сигнализацию управления RRC и может сохранять информацию, содержащуюся в этой сигнализации, в запоминающем устройстве 208 оборудования UE.
Оборудование UE 110 может затем передать (этап 610) преамбулу в адрес каждой из трех базовых станций 170B сети NTN. В частности, при передаче (этап 610) луча, несущего преамбулу, в направлении конкретной одной из базовых станций 170B сети NTN, оборудование UE 110 может использовать индикацию точной регулировки опережения TA и индикацию доплеровского сдвига, специфичную для этой конкретной из базовых станций 170B в сети NTN, каковая (индикация) включена в указанную специфичную для устройства сигнализацию управления RRC. В отличие от иллюстрируемого на фиг. 5 случая, соответствующего оборудованию UE 110, находящемуся в состоянии RRC_IDLE или в состоянии RRC_INACTIVE, вместо того чтобы оборудование UE 110 выбрало (этап 510) преамбулу, это оборудование UE 110 принимает преамбулу от станции BS 170A сети TN в составе специфичной для устройства сигнализации управления RRC, принятой на этапе 608. Вообще, в случае, иллюстрируемом на фиг. 5, число базовых станций 170B сети NTN, в адрес которых оборудование UE 110 передает (step 610) преамбулу, является опцией.
Оборудование UE 110 может вычислить точный временный идентификатор сети радиосвязи (“UE_RA_RNTI”) на основе времени передачи (этап 610) каждой преамбулы. В дополнение к этому, каждая станция BS 170B сети NTN вычисляет собственный конкретный временный идентификатор сети радиосвязи (“gNB_RA_RNTI”) на основе времени приема преамбулы по каналу PRACH.
В ответ на прием передачи преамбулы (этап 610), каждая из базовых станций 170B сети NTN в качестве опции передает сигнал обратной связи в адрес станции BS 170A в сети TN. Эта станция BS 170A в сети TN после этого принимает (этап 612) сигнал обратной связи от каждой из базовых станций 170B сети NTN, передавших сигналы обратной связи. Этот сигнал обратной связи содержит индикацию измеренного качества сигнала преамбулы, принятой от оборудования UE 110 каждой станцией 170B сети NTN.
Станция BS 170A в сети TN затем выбирает (этап 614) одну из базовых станций 170B сети NTN. Этот выбор (этап 614) может быть основан на сравнении измеренного качества принятого сигнала преамбулы, содержащегося в сигнале обратной связи, от каждой из базовых станций 170B сети NTN, для которой был принят сигнал обратной связи. После выбора (этап 614) конкретной станции BS 170B сети NTN, станция BS 170A сети NTN передает (этап 616) индикацию, в адрес этой конкретной станции BS 170B сети NTN, где эта индикация специфицирует, что была выбрана именно эта конкретная станция BS 170B сети NTN.
В ответ на прием указанной индикации эта конкретная станция BS 170B сети NTN передает сообщение RAR оборудованию UE 110. После приема (этап 618) сообщения RAR оборудование UE 110 декодирует это сообщение RAR с использованием значения идентификатора RA_RNTI. Оборудование UE 110 может определить значение идентификатора RA_RNTI путем определения разности между значением идентификатора для оборудования UE и значением идентификатора для станции BS, т.е. RA_RNTI = UE_RA_RNTI – gNB_RA_RNTI. Это оборудование UE 110 может затем передать (этап 620) подтверждение (квитанцию) в адрес выбранной станции BS 170B сети NTN. Это подтверждение может иметь форму сообщения RRCReconfigurationComplete.
Можно показать, что результатом использования потока сигналов, иллюстрируемого на фиг. 6, может быть плавная мобильность между подсистемами для единиц оборудования UE 110, находящихся в состоянии RRC_CONNECTED. Такие единицы оборудования UE 110 могут быть, предложенным способом, переведены из одной подсистемы в другую подсистему кажущимся бесшовным образом, так что пользователь не ощущает никаких прерываний связи.
Обычно, мобильностью между подсистемами управляет станция BS 170A сети TN. Эта станция BS 170A сети TN управляет тем, на связь с какой из станций BS 170B сети NTN потенциально может переключиться рассматриваемая единица оборудования UE 110. Соответственно этой единице оборудования UE 110 нет необходимости расходовать время и/или процессорные мощности на обнаружение радиоканалов и измерение найденных радиоканалов от подсистем.
Приведенные выше аспекты настоящего изобретения подходят к управлению мобильностью в интегрированных сетях TN и NTN путем создания рамочной структуры, где станция BS 170A в сети TN может способствовать переходу единицы оборудования UE 110, находящейся в состоянии RRC_CONNECTED, из сети TN в сеть NTN, уменьшая при этом задержки переключения. Объем усилий по свипированию луча в системе связи на основе лучей также уменьшается, поскольку этому оборудованию UE 110 нет необходимости принимать блоки SSB от станций BS 170B из подсистемы NTN. Действительно, оборудование UE 110 может опираться на информацию, передаваемую в режиме широкого вещания станцией BS 170A из сети TN, чтобы непосредственно формировать диаграмму направленности (луч) для передач преамбулы (этап 610) в направлении определенного подмножества станций BS 170B в сети NTN.
Фиг. 8 иллюстрирует сценарий, в котором станция BS 170A в сети TN имеет зону 800A обслуживания сети TN. Фиг. 8 иллюстрирует, что станция BS 170B сети NTN имеет зону 800B обслуживания сети NTN. Пример оборудования UE 110 показан на фиг. 8 как движущийся из зоны 800B обслуживания сети NTN в зону 800A обслуживания сети TN.
Фиг. 9 иллюстрирует, в виде диаграммы прохождения сигналов, обмен сигналами и сообщениями между оборудованием UE 110, станцией BS 170A сети TN и станцией BS 170B сети NTN, как показано на фиг. 8, при предварительном условии, что оборудование UE 110 находится в состоянии RRC_IDLE или в состоянии RRC_INACTIVE.
Когда оборудование UE 110 находится в состоянии RRC_IDLE или в состоянии RRC_INACTIVE, станция BS 170B сети NTN передает (этап 902), этому оборудованию UE 110, извещение 804. Это извещение 804 рассчитано для информирования оборудования UE 110 о том, что это оборудование UE 110 собирается войти в зону 800A обслуживания сети станции BS 170A сети NTN. Извещение 804 может быть передано (этап 902) в форме пейджингового сообщения. Приему извещения 804 (в пейджинговом сообщении) может предшествовать прием канала PDCCH (не показан), скремблированного с использованием общего пейджингового идентификатора. Этот общий пейджинговый идентификатор может, например, принять форму пейджингового временного идентификатора сети радиосвязи (paging radio network temporary identifier (P-RNTI)). Канал PDCCH может передать планировочную информацию для канала PDSCH, несущего извещение 804 (в пейджинговом сообщении).
После приема (этап 904) извещения 804, оборудование UE 110 может ответить на это извещение 804 путем активизации процедуры повторного выбора соты или первоначального выбора соты. Такая процедура повторного выбора соты или первоначального выбора соты может содержать осуществление измерений сигналов, принимаемых от разных станций BS 170 сети TN, чтобы определить соты-кандидаты сети TN (зоны обслуживания сети TN).
Вспомним, что в системе LTE положение первичного синхросигнала (Primary Synchronization Signal (PSS)) и вторичного синхросигнала (Secondary Synchronization Signal (SSS)) в частотной области фиксировано относительно центральной частоты несущей. В системе 5G NR, на основе частотного диапазона, определяют набор возможных частотных позиций блоков SSB и называют этот набор синхронизационным растром. Оборудование UE 110 может ограничить поиск блоков SSB несколькими частотами из этого растра.
Оборудование UE 110 может принять (этап 906) определяющий соту в сети TN блок SSB (CD-SSB) 806, ассоциированный с зоной 800A обслуживания в сети TN, где находится станция BS 170A сети TN. Понятно, что частота, на которой блок CD-SSB 806 принимается оборудованием UE 110, должна находиться среди совокупности частот синхронизационного растра сети TN, поддерживаемого оборудованием UE 110. Это оборудование UE 110 может определить, что блок CD-SSB 806 имеет мощность RSRP, превосходящую на предварительно заданное пороговое значение мощность RSRP текущего блока CD-SSB в сети NTN (не показан), принятого от станции BS 170B сети NTN.
Кроме того, оборудование UE может принять (этап 910), от станции BS 170A сети TN, сообщение 810 с системной информацией. Это сообщение 810 с системной информацией может быть реализовано в виде блока системной информации (system information block (SIB1)) относительно сети TN. Примечательно, что станция BS 170A сети TN передает в режиме широкого вещания блок SIB или блок SIB1 810 всем единицам оборудования UE 110, находящимся в зоне 800A обслуживания в сети TN. Принятый блок SIB1 810 из сети содержит информацию относительно доступа к соте и, в частности, информацию о наземной сети мобильной связи общего пользования (Public Land Mobile Network (PLMN)). Известно, что информация о сети PLMN содержит параметр кода зоны отслеживания, параметр кода зоны сети RAN и параметр идентификатора соты. Параметр кода зоны отслеживания обозначает код конкретной зоны отслеживания, которой принадлежит сота, обозначенная параметром идентификатора соты. Параметр кода зоны сети RAN используется для идентификации зоны сети RAN в пределах объема зоны отслеживания. Параметр идентификатора соты используется для идентификации соты в сети PLMN.
Приему блока SIB1 810 из сети TN может предшествовать прием канала PDCCH, скремблированного с использованием общего идентификатора системной информации. Канал PDCCH может передавать планировочную информацию для канала PDSCH, несущего блок SIB1 810 из сети TN. Общий идентификатор системной информации может представлять собой временный идентификатор сети радиосвязи и системной информации (system information radio network temporary identifier (SI-RNTI)).
Поскольку в контексте фиг. 9 оборудование UE 110 находится в состоянии RRC_IDLE или в состоянии RRC_INACTIVE, взаимодействие может закончиться, временно, с приемом (этап 910) блока SIB1 810 из сети TN. Оборудование UE 110 может, в будущем, перейти в состояние RRC_CONNECTED путем согласования соединения со станцией BS 120A в сети TN с использованием хорошо известной процедуры установления соединения.
Фиг. 10 иллюстрирует, в виде диаграммы прохождения сигналов, обмен сигналами и сообщениями между оборудованием UE 110, станцией BS 170A в сети TN и базовой станцией 170B в сети NTN, как показано на фиг. 8, при предварительном условии, что оборудование UE 110 находится в состоянии RRC_CONNECTED.
Когда оборудование UE 110 находится в состоянии RRC_CONNECTED, станция BS 170B сети NTN передает (этап 1002) конфигурационное сообщение оборудованию UE 110. Это конфигурационное сообщение может указывать внутричастотные измерения и межчастотные измерения, которые оборудование UE 110 должно выполнить в отношении мобильности в сети TN. После приема (этап 1004) конфигурационного сообщения оборудование UE 110 может выполнить измерения мобильности по блокам SSB и сигналам CSI-RS.
Для сбережения энергии в оборудовании UE 110, станция BS 170B сети NTN может задержать активизацию выполнения измерений мобильности оборудованием UE 110 до тех пор, пока это оборудование UE 110 не подойдет относительно близко к краю зоны 800B обслуживания сети NTN. Конфигурационное сообщение может содержать назначение специализированной преамбулы (т.е. преамбулы для передачи по специализированному каналу PRACH) рассматриваемой единице оборудования UE 110. Соответственно, это оборудование UE 110 может передать (этап 1006) эту специализированную преамбулу, чтобы инициировать бесконфликтное переключение связи способом, аналогичным процедуре, описанной в связи с диаграммой прохождения сигналов, показанной на фиг. 6.
В ответ на прием преамбулы станция BS 170A в сети TN передает сообщение RAR оборудованию UE 110. После приема (этап 1010) сообщения RAR оборудование UE 110 декодирует это сообщение RAR. Это оборудование UE 110 может затем передать (этап 1012) подтверждение (квитанцию) в адрес станции BS 170A в сети TN.
Можно показать, что результатом использования потока сигналов, иллюстрированного на фиг. 10, может быть плавная мобильность при переходе между подсистемами для единиц оборудования UE 110, находящихся в состоянии RRC_CONNECTED. Такие единицы оборудования UE 110 могут переходить из одной подсистемы в другую подсистему кажущимся бесшовным образом, так что пользователь не ощущает никаких прерываний связи.
Обычно, мобильностью между подсистемами управляет станция BS 170B сети NTN. Эта станция BS 170B сети NTN управляет тем, на связь с какой из станций BS 170A сети TN потенциально может переключиться рассматриваемая единица оборудования UE 110. Соответственно этой единице оборудования UE 110 нет необходимости расходовать время и/или процессорные мощности на обнаружение радиоканалов и измерение найденных радиоканалов от подсистем.
Приведенные выше аспекты настоящего изобретения подходят к управлению мобильностью в интегрированных сетях TN и NTN путем создания рамочной структуры, где станция 170B в сети NTN может способствовать переходу единицы оборудования UE 110, находящейся в состоянии RRC_CONNECTED, из сети NTN в сеть TN, уменьшая при этом задержки переключения. Объем усилий по свипированию луча в системе связи на основе лучей также уменьшается, поскольку этому оборудованию UE 110 нет необходимости принимать блоки SSB от станций BS 170A из сети TN. Действительно, оборудование UE 110 может опираться на информацию, принятую (этап 1004) от станции 170B из сети NTN, чтобы непосредственно формировать диаграмму направленности (луч) для передач преамбулы (этап 1006) в направлении станции BS 170A в сети TN.
Фиг. 11 иллюстрирует сценарий, в котором станция BS 170A из сети TN имеет зону обслуживания 1100A обслуживания в сети TN. Фиг. 11 иллюстрирует, что станция BS 170B в сети NTN имеет зону 1100B обслуживания в сети NTN. Пример оборудования UE 110 показан на фиг. 8 как присутствующий в зоне 800B обслуживания в сети NTN и в зоне 800A обслуживания в сети TN.
Поскольку оборудование UE 110 присутствует в зоне 800B обслуживания в сети NTN и в зоне 800A обслуживания в сети TN, различные функции, такие как функции поиска соты и функции первоначального доступа могут использоваться совместно сетью TN и сетью NTN. Даже если зона 1100A обслуживания сети TN и зона 1100B обслуживания сети NTN не накладываются одна на другую (не показано), некоторые функции могут использоваться совместно. Например, оборудованию UE 110 необходимо только осуществить первоначальный доступ и регистрацию в одном соединении. В дополнение к этому, некоторая информация об измерениях может совместно использоваться несколькими соединениями.
Фиг. 12 иллюстрирует, в виде диаграммы прохождения сигналов, обмен сигналами и сообщениями между оборудованием UE 110, станцией BS 170A из сети TN и тремя базовыми станциями 170B сети NTN, как показано на фиг. 11. В сценарии, иллюстрируемом на фиг. 11, может считаться, что оборудование UE 110 уже поддерживает некоторые соединения с наземной подсистемой 120A и с неназемной подсистемой 120B. Однако состояние соединения оборудования UE 110 с каждой подсистемой не определено. Действительно, здесь есть стимул определить новое состояние соединения управления RRC для использования в будущих интегрированных сетях связи.
Оборудование UE 110 может активизировать существующее соединение со станцией BS 170B в сети NTN на основе команды, принятой от станции BS 170A из сети TN. Эта станция BS 170A из сети TN может передать (этап 1202) команду активизации оборудованию UE 110. В одном из примеров команда активизации может быть принята (этап 1204) в форме сигнализации управления RRC, специфичной для оборудования UE 110. В других примерах команда активизации может быть принята (этап 1204) в форме команды MAC CE по каналу PDSCH или через информацию управления нисходящей линией (downlink control information (DCI)) по каналу PDCCH. После приема (этап 1204) команды активизации оборудование UE 110 может осуществлять связь (этап 1206) со станцией BS 170B в сети NTN через активизированное соединение. Выигрыш от этой команды активизации состоит в ускорении получения оборудованием UE 110 доступа к неназемной подсистеме 120B и сбережении энергии в оборудовании UE 110.
Оборудование UE 110 может динамически переключаться между поддержанием активного соединения со станцией BS 170A из сети TN и поддержанием активного соединения со станцией BS 170B в сети NTN в зависимости от результатов измерения мощности RSRP. Согласно аспектам настоящего изобретения, оборудование UE 110 может отдать приоритет активному соединению со станцией BS 170A из сети TN. Такое присвоение приоритета может быть осуществлено путем создания смещения порогового уровня мощности RSRP в пользу соединения оборудования UE 110 со станцией BS 170A из сети TN. Оборудование UE 110 может быть переключено от связи со станцией BS 170A из сети TN к связи со станцией BS 170B в сети NTN посредством станции BS 170A из сети TN в соответствии с некоторыми критериями, такими как балансировка нагрузки, энергосбережение и т.п.
Можно показать, что результатом использования потока сигналов, иллюстрированного на фиг. 12, может быть плавная мобильность при переходе между подсистемами для единиц оборудования UE 110, находящихся в состоянии RRC_IDLE, состоянии RRC_INACTIVE или состоянии RRC_CONNECTED. Такие единицы оборудования UE 110 могут переходить из одной подсистемы в другую подсистему кажущимся бесшовным образом, так что пользователь не ощущает никаких прерываний связи.
Обычно, мобильностью между подсистемами управляет станция BS 170B сети NTN. Эта станция BS 170B сети NTN управляет тем, на связь с какой из станций BS 170A сети TN потенциально может переключиться рассматриваемая единица оборудования UE 110. Соответственно этой единице оборудования UE 110 нет необходимости расходовать время и/или процессорные мощности на обнаружение радиоканалов от подсистем и измерение найденных радиоканалов.
Следует понимать, что один или несколько этапов вариантов способов, предлагаемых здесь, могут быть осуществлены соответствующими модулями. Например, данные могут быть переданы передающим устройством или передающим модулем. Данные могут быть приняты приемным устройством или приемным модулем. Данные может обрабатывать процессорное устройство или процессорный модуль. Соответствующие устройства/модули могут быть аппаратными, программными или представлять собой комбинацию аппаратуры и программ. Например, одно или несколько устройств/модулей может представлять собой интегральную схему, такую как программируемая пользователем вентильная матрица (field programmable gate array (FPGA)) или специализируемая интегральная схема (application-specific integrated circuit (ASIC)). Должно быть понятно, что, если модули являются программными, они могут быть вызваны процессором целиком или частично по необходимости, индивидуально или совместно для обработки, в одном или нескольких случаях, как требуется, и сами эти модули могут содержать команды для дальнейшего развертывания и реализации.
Хотя в иллюстрируемых вариантах показана комбинация признаков, не все эти признаки нужно комбинировать для реализации преимуществ различных вариантов настоящего изобретения. Другими словами, система или способ, построенные согласно какому-либо варианту настоящего изобретения, не обязательно должны содержать все признаки, показанные на каком-либо одном чертеже, или все части, упрощенно показанные на чертежах. Более того, выбранные признаки одного примера варианта можно комбинировать с выбранными признаками других примеров вариантов.
Хотя настоящее изобретение было описано со ссылками на иллюстративные варианты, это описание не следует толковать в ограничительном смысле. После прочтения описания специалистам в рассматриваемой области станут очевидны различные модификации и комбинации иллюстративных вариантов, равно как другие варианты настоящего описания. Поэтому прилагаемая формула изобретения предназначена охватывать любые такие модификации или варианты.
Изобретение относятся к управлению мобильностью пользовательского оборудования между несколькими подсистемами устройств сети беспроводной связи. Технический результат заключается в возможности пользовательским устройствам устанавливать соединения с сетями наземной связи (TN) и сетями неназемной связи (NTN), в частности для событий переключения между сетью TN и сетью NTN. Для этого предусмотрены этапы, на которых: передают, от первого устройства, сообщение второму устройству, причем одно из первого устройства и второго устройства является неназемным устройством, а другое из первого устройства и второго устройства является наземным устройством; и предоставляют, пользовательскому оборудованию, параметры конфигурации, относящиеся к доступу пользовательского оборудования ко второму устройству, при этом на этапе предоставления широковещательно передают сигнализацию об общей конфигурации. 4 н. и 9 з.п. ф-лы, 12 ил.
1. Способ управления мобильностью пользовательского оборудования в сети радиодоступа, содержащий этапы, на которых:
передают, от первого устройства, сообщение второму устройству, причем одно из первого устройства и второго устройства является неназемным устройством, а другое из первого устройства и второго устройства является наземным устройством; и
предоставляют, пользовательскому оборудованию, параметры конфигурации, относящиеся к доступу пользовательского оборудования ко второму устройству,
при этом на этапе предоставления широковещательно передают сигнализацию об общей конфигурации.
2. Способ по п. 1, дополнительно содержащий этап, на котором принимают подтверждение получения сообщения.
3. Способ по п. 1, в котором пользовательское оборудование находится в состоянии RRC_IDLE или в состоянии RRC_INACTIVE.
4. Способ по п. 3, в котором параметры конфигурации содержат одно или более из информации об общем опережении синхронизации, информации о доплеровском сдвиге, информации о конфигурации канала произвольного доступа, информации о местонахождении второго устройства, информации о спутниковых эфемеридах и информации о траектории спутника.
5. Способ по любому из пп. 1-4, в котором на этапе предоставления передают сигнализацию управления радиоресурсами, специфичную для пользовательского оборудования.
6. Способ по п. 5, в котором пользовательское оборудование находится в состоянии RRC_CONNECTED.
7. Способ по п. 6, в котором параметры конфигурации содержат одно или более из информации о точном опережении синхронизации, информации о доплеровском сдвиге, информации о конфигурации канала произвольного доступа, информации о преамбуле, специфичной для пользовательского оборудования, информации о спутниковых эфемеридах и информации о траектории спутника.
8. Способ по п. 6 или 7, дополнительно содержащий этап, на котором предоставляют пользовательскому оборудованию временный идентификатор соты в сети радиосвязи.
9. Способ по любому из пп. 1-8, дополнительно содержащий этап, на котором принимают, от второго устройства, обратную связь на основе сигнала, принятого вторым устройством от пользовательского оборудования.
10. Способ по п. 9, дополнительно содержащий этапы, на которых
принимают, от еще одного устройства, обратную связь на основе сигнала, принятого указанным еще одним устройством от пользовательского оборудования;
выбирают, из второго устройства и указанного еще одного устройства, на основе принятой обратной связи, выбранное устройство; и
передают, выбранному устройству, индикацию, указывающую, что выбранное устройство было выбрано.
11. Первое устройство в сети радиодоступа, являющееся неназемным устройством или наземным устройством, содержащее:
запоминающее устройство, хранящее команды; и
процессор, конфигурируемый посредством выполнения команд для осуществления способа по любому из пп. 1-10.
12. Процессор, конфигурированный посредством выполнения команд, хранящихся на читаемом компьютером носителе, для осуществления способа по любому из пп. 1-10.
13. Считываемый компьютером носитель, хранящий команды, которые при исполнении процессором вызывают осуществление процессором способа по любому из пп. 1-10.
| US 2021119861 A1, 22.04.2021 | |||
| WO 2020221014 A1, 05.11.2020 | |||
| US 20210068013 A1, 04.03.2021 | |||
| СИСТЕМЫ, УСТРОЙСТВА И СПОСОБЫ ДЛЯ ДОЛГОСРОЧНОГО РАЗВИТИЯ И ВЗАИМОДЕЙСТВИЯ В БЕСПРОВОДНОЙ ЛОКАЛЬНОЙ ЗОНЕ | 2015 |
|
RU2644389C1 |
Авторы
Даты
2025-03-24—Публикация
2021-04-28—Подача