ВСТРОЕННОЕ УСТРОЙСТВО УДЕРЖИВАНИЯ ВОЗДУШНЫХ ПУЗЫРЬКОВ ДЛЯ УСТАНОВКИ НА ПУТЯХ СЛЕДОВАНИЯ ТЕКУЧЕЙ СРЕДЫ АНГИОГРАФИЧЕСКОГО ИНЪЕКТОРА Российский патент 2025 года по МПК A61M5/00 A61M5/145 A61M5/36 

Описание патента на изобретение RU2837029C1

Перекрестная ссылка на предварительную заявку

Настоящая заявка испрашивает приоритет согласно предварительной заявке на патент США №62/705250, поданной 18 июня 2020 года, описание которой включено посредством ссылки в полном объеме.

УРОВЕНЬ ТЕХНИКИ

Область техники

Настоящее описание в основном относится к инъекторным системам для текучей среды и соответствующим элементам пути следования текучей среды для инъекции медицинских текучих сред под высоким давлением. Конкретнее, настоящее описание раскрывает систему доставки текучей среды, имеющую по меньшей мере одно устройство удерживания воздушных пузырьков. Другие варианты осуществления относятся к особенностям устройств удерживания воздушных пузырьков, подходящих для применения в процедурах инъекции текучей среды.

Обзор уровня техники

Во многих медицинских диагностических и терапевтических процедурах медицинский работник, например врач, вводит пациенту одну или более медицинских текучих сред. Для применении в таких процедурах, как сердечно-сосудистая ангиография (ССА), компьютерная томография (КТ), ультразвук, магнитно-резонансная томография (МРТ), позитронно-эмиссионная томография (ПЭТ) и других процедурах визуализации был разработан ряд шприцев, приводимых в действие инъектором, и механизированных инъекторов текучей среды для инъекций медицинских текучих сред под давлением, таких как контрастный раствор (часто называемый просто "контраст"), промывочный агент, такой как физраствор или лактат Рингера, и других медицинских текучих сред. В целом, эти инъекторы текучей среды предназначены для доставки заданного количества текучей среды при заданном давлении и/или скорости потока.

Как правило, инъекторы текучей среды имеют по меньшей мере один приводной элемент, такой как поршень, который связан со шприцем, например через соединение с плунжером или цепляющим элементом на проксимальной концевой стенке шприца. Шприц может включать жесткий цилиндр, в котором плунжер шприца подвижно размещен внутри цилиндра. Приводные элементы приводят плунжеры в движение в проксимальном и/или дистальном направлении относительно продольной оси цилиндра для всасывания текучей среды или подачи текучей среды из цилиндра шприца. В некоторых случаях, например при ангиографии, медицинские текучие среды вводят непосредственно в артериальную систему при давлении текучей среды до 1200 пси.

Во время определенных инъекционных процедур при таком высоком давлении текучей среды, когда текучую среды вводят непосредственно в сердечную систему, необходимо, чтобы вместе с медицинской текучей средой не вводился воздух, так как это может нанести вред пациенту. Таким образом, необходимы новые способы и устройства для предотвращения непреднамеренного введения воздуха во время процедуры инъекции текучей среды под высоким давлением. Кроме того, при давлении до 1200 пси во время некоторых сердечно-сосудистых инъекций воздух в пути следования текучей среды сжимается; однако, если инъекция остановлена при обнаружении воздуха, объем воздуха может быстро увеличиться из-за сброса давления. Кроме того, сброс давления в системе при прекращении инъекции может привести к продолжению протекания текучей среды, поскольку в отсутствие давления соответствующий объем текучей среды высвобождается. Таким образом, системы для инъекции текучей среды под высоким давлением должны учитывать эти явления для предотвращения непреднамеренной инъекции воздуха.

КРАТКОЕ ОПИСАНИЕ ИЗОБРЕТЕНИЯ

В связи с вышесказанным, существует потребность в устройствах, системах и методах для предотвращения попадания воздуха в организм пациента во время инъекционной процедуры. Варианты осуществления настоящего изобретения относятся к устройству удерживания воздушных пузырьков, расположенному на пути следования текучей среды инъекторной системы для текучей среды. Устройство включает корпус, внутреннюю камеру, имеющую вогнутую внутреннюю оболочку, образованную внутри корпуса, входной канал для текучей среды, находящийся в сообщении по текучей среде с внутренней камерой, причем входной канал для текучей среды, заходит в камеру по касательной к вогнутой внутренней оболочке, и выходной канал для текучей среды, находящийся в сообщении по текучей среде с внутренней камерой, причем выходной канал для текучей среды отстоит от входного канала для текучей среды так, что текучая среда, поступающая во внутреннюю камеру через входной канал для текучей среды, направлен в сторону, противоположную выходному каналу для текучей среды. Внутренняя камера выполнена с возможностью создания внутреннего вихря текучей среды в инъекционной текучей среде, поступающей во внутреннюю камеру из входного канала для текучей среды, при этом внутренний вихрь текучей среды по меньшей мере временно удерживает один или более воздушных пузырьков в текучей среде во внутреннем вихре текучей среды и задерживает прохождение одного или более воздушных пузырьков в выходной канал для текучей среды.

В некоторых вариантах осуществления изобретения выходной канал для текучей среды отходит от внутренней камеры в направлении, перпендикулярном потоку текучей среды во внутренней камере.

В некоторых вариантах осуществления изобретения по меньшей мере часть выходного канала для текучей среды имеет площадь поперечного сечения больше, чем площадь поперечного сечения входного канала для текучей среды, чтобы уменьшить скорость текучей среды в выходном канале для текучей среды по сравнению со скоростью текучей среды во входном канале для текучей среды.

В некоторых вариантах осуществления изобретения выходной канал для текучей среды проходит по существу параллельно входному каналу для текучей среды. В некоторых вариантах осуществления внутренняя камера по меньшей мере частично сферическая или полусферическая.

В некоторых вариантах осуществления изобретения устройство дополнительно включает углубление, отходящее радиально наружу от внутренней камеры.

В некоторых вариантах осуществления изобретения устройство дополнительно включает клапан в сообщении по текучей среде с внутренней камерой для выпуска воздуха, скопившегося во внутренней камере.

В некоторых вариантах осуществления изобретения корпус включает первую секцию корпуса, включающую входной канал для текучей среды и выходной канал для текучей среды, и вторую секцию корпуса, включающую по меньшей мере часть внутренней камеры. Одна из секций, включающих первую секцию корпуса и вторую секцию корпуса, включает фланец для приема другой секции из указанных секций корпуса, включающих первую секцию корпуса и вторую секцию корпуса.

В некоторых вариантах осуществления изобретения корпус включает по меньшей мере одно ребро жесткости, выступающее радиально наружу от выходного канала для текучей среды.

В некоторых вариантах осуществления изобретения устройство дополнительно включает экран, расположенный в выходном канале для текучей среды так, что текучая среда, вытекающая из внутренней камеры, проходит через экран.

В некоторых вариантах осуществления изобретения корпус включает светопроходающий материал, выполненный с возможностью освещения воздушных пузырьков во внутренней камере.

В некоторых вариантах осуществления изобретения корпус включает соединительную лапку, выполненную с возможностью крепления к корпусу инъектора инъекторной системы для текучей среды.

В некоторых вариантах осуществления изобретения устройство дополнительно включает регулируемый клапан для изменения площади поперечного сечения по меньшей мере одного из каналов, включающих входной канал для текучей среды и выходной канал для текучей среды.

Другой вариант осуществления настоящего изобретения относится к устройству для удерживания воздушных пузырьков, расположенному на пути следования текучей среды инъекторной системы для текучей среды. Устройство включает корпус, образующий внутреннюю камеру, входной канал для текучей среды, находящийся в сообщении по текучей среде с внутренней камерой, выходной канал для текучей среды, находящийся в сообщении по текучей среде с внутренней камерой, и удлинительную трубку, находящуюся в сообщении по текучей среде с входным каналом для текучей среды и проходящую во внутреннюю камеру. Удлинительная трубка включает конец, отстоящий от выходного канала для текучей среды на столько, что текучая среда, протекающая во внутреннюю камеру через удлинительную трубку, направлена в сторону, противоположную выходному каналу для текучей среды.

В некоторых вариантах осуществления изобретения устройство дополнительно включает экран, разделяющий внутреннюю камеру на входную часть и выходную часть. Экран включает по меньшей мере одно отверстие, обеспечивающее связь текучей среды между входной частью и выходной частью. Текучая среда, поступающая во внутреннюю камеру из удлинительной трубки, должна течь через по меньшей мере одно отверстие экрана, чтобы достичь выходного канала для текучей среды.

В некоторых вариантах осуществления первая часть экрана, прилегающая к концу удлинительной трубки, непроницаема для текучей среды, а вторая часть экрана, прилегающая к выходному каналу для текучей среды, включает по меньшей мере одно отверстие. В некоторых вариантах осуществления изобретения экран включает воронку, образующую по меньшей мере одно отверстие, причем воронка сужается от максимальной площади поперечного сечения на границе с входной частью внутренней камеры до минимального поперечника, выступающего в выходную часть внутренней камеры.

В некоторых вариантах осуществления изобретения экран включает колпачок, по меньшей мере частично загораживающий по меньшей мере одно отверстие, так что текучая среда должна обтекать колпачок, чтобы пройти через по меньшей мере одно отверстие. В некоторых вариантах осуществления изобретения экран включает сетку. В некоторых вариантах осуществления изобретения по меньшей мере одно отверстие представляет собой два или более отверстий, расположенных по дуге.

В некоторых вариантах осуществления изобретения корпус включает первую секцию корпуса, включающую фланец, выполненный с возможностью приема экрана, и вторую секцию корпуса, принимаемую внутрь фланца первой секции корпуса для захвата экрана между первой секцией корпуса и второй секцией корпуса.

В некоторых вариантах осуществления изобретения входной канал для текучей среды изменяется от меньшей площади поперечного сечения к большей площади поперечного сечения в направлении потока текучей среды через входной канал для текучей среды для уменьшения скорости потока текучей среды, протекающего через входной канал для текучей среды.

В некоторых вариантах осуществления удлинительная трубка проходит параллельно внутренней оболочке внутренней камеры. В некоторых вариантах осуществления изобретения выходной канал для текучей среды проходит под острым углом по отношению к входному каналу для текучей среды.

В некоторых вариантах осуществления изобретения корпус включает светопроходающий материал, выполненный с возможностью освещения воздушных пузырьков во внутренней камере.

В некоторых вариантах осуществления корпус включает соединительную лапку, выполненную с возможностью крепления к корпусу инъектора инъекторной системы для текучей среды.

В некоторых вариантах осуществления изобретения устройство дополнительно включает регулируемый клапан для изменения площади поперечного сечения по меньшей мере одного из каналов, включающих входной канал для текучей среды и выходной канал для текучей среды.

Другие варианты осуществления настоящего изобретения относятся к инъекторной системе для текучей среды, включающей по меньшей мере один контейнер для текучей среды, выполненный с возможностью инъекции медицинской текучей среды, и по меньшей мере одно устройство удерживания пузырьков, находящееся в сообщении по текучей среде с по меньшей мере одним контейнером для текучей среды. По меньшей мере одно устройство удерживания пузырьков включает корпус, образующий внутреннюю камеру, входной канал для текучей среды, находящийся в сообщении по текучей среде с внутренней камерой, и выходной канал для текучей среды, находящийся в сообщении по текучей среде с внутренней камерой, причем выходной канал для текучей среды расположен на расстоянии от входного канала для текучей среды, так что текучая среда, поступающая во внутреннюю камеру через входной канал для текучей среды, направлена в сторону от выходного канала для текучей среды. Инъекторная система для текучей среды дополнительно включает по меньшей мере один детектор воздуха, выполненный с возможностью обнаружения одного или более воздушных пузырьков в канале для текучей среды, соединяющем по меньшей мере один контейнер для текучей среды с по меньшей мере одним устройством удерживания пузырьков, и по меньшей мере один запорный клапан, расположенный дальше от по меньшей мере одного устройства удерживания пузырьков и выполненный с возможностью перемещения из открытого положения в закрытое положение в ответ на обнаружение детектором воздуха одного или более воздушных пузырьков в канале для текучей среды. Внутренняя камера выполнена с возможностью создания внутреннего вихря текучей среды в инъекционной текучей среде, поступающей во внутреннюю камеру из входного канала для текучей среды, и при этом внутренний вихрь текучей среды по меньшей мере временно удерживает один или более воздушных пузырьков в текучей среде во внутреннем вихре текучей среды и задерживает прохождение одного или более воздушных пузырьков к выходному каналу для текучей среды. В настоящем документе описаны особенности различных вариантов осуществления устройства удерживания пузырьков, подходящего для применения с инъекторными системами для текучей среды.

В некоторых вариантах осуществления изобретения устройство удерживания пузырьков выполнено с возможностью перехода между положением инъекции, в котором выходной канал для текучей среды проходит по существу вертикально вниз от внутренней камеры, так что плавучесть воздушных пузырьков во внутренней камере дополнительно побуждает один или более воздушных пузырьков оставаться в удерживаемом состоянии во внутреннем вихре текучей среды во внутренней камере, и положением заправки, в котором выходной канал для текучей среды проходит по существу вертикально вверх от камеры, так что плавучесть воздушных пузырьков во внутренней камере побуждает пузырьки воздуха вытекать из внутреннего вихря текучей среды через выходной канал для текучей среды.

В некоторых вариантах осуществления система дополнительно включает регулируемый клапан для изменения площади поперечного сечения по меньшей мере одного из входного канала для текучей среды и выходного канала для текучей среды.

Далее описаны признаки или примеры настоящего изобретения в следующих нумерованных пунктах:

Пункт 1. Устройство для удерживания воздушных пузырьков, расположенное на пути следования текучей среды инъекторной системы для текучей среды, причем устройство включает: корпус; внутреннюю камеру, имеющую вогнутую внутреннюю оболочку, образованную внутри корпуса; входной канал для текучей среды, находящийся в сообщении по текучей среде с внутренней камерой, причем входной канал для текучей среды заходит в камеру по касательной к вогнутой внутренней оболочке; и выходной канал для текучей среды, находящийся в сообщении по текучей среде с внутренней камерой, причем выходной канал для текучей среды отстоит от входного канала для текучей среды так, что текучая среда, поступающая во внутреннюю камеру через входной канал для текучей среды, направлена в сторону от выходного канала для текучей среды, при этом внутренняя камера выполнена с возможностью создания внутреннего вихря текучей среды в инъекционной текучей среде, поступающей во внутреннюю камеру из входного канала для текучей среды, и при этом внутренний вихрь текучей среды по меньшей мере временно удерживает один или более воздушных пузырьков в текучей среде во внутреннем вихре текучей среды и задерживает прохождение одного или более воздушных пузырьков к выходному каналу для текучей среды.

Пункт 2. Устройство по п. 1, в котором выходной канал для текучей среды отходит от внутренней камеры в направлении, перпендикулярном траектории потока текучей среды во внутренней камере.

Пункт 3. Устройство по п. 1 или 2, в котором по меньшей мере часть выходного канала для текучей среды имеет площадь поперечного сечения большую, чем площадь поперечного сечения входного канала для текучей среды, чтобы уменьшить скорость текучей среды в выходном канале для текучей среды по сравнению со скоростью текучей среды во входном канале для текучей среды.

Пункт 4. Устройство по любому из пп. 1-3, в котором выходной канал для текучей среды проходит по существу параллельно входному канал для текучей среды

У-

Пункт 5. Устройство по любому из пп. 14, в котором внутренняя камера по меньшей мере частично сферическая или полусферическая.

Пункт 6. Устройство по любому из пп. 1-5, дополнительно включающее углубление, отходящее радиально наружу от внутренней камеры.

Пункт 7. Устройство по любому из пп. 1-6, дополнительно включающее клапан, находящийся в сообщении по текучей среде с внутренней камерой для выпуска воздуха, скопившегося во внутренней камере.

Пункт 8. Устройство по любому из пп. 1-7, в котором корпус включает: первую секцию корпуса, включающую входной канал для текучей среды и выходной канал для текучей среды, и вторую секцию корпуса, включающую по меньшей мере часть внутренней камеры, в которой одна из секций, включающих первую секцию корпуса и вторую секцию корпуса, включает фланец для приема другой секции из указанных секций, включающих первую секцию корпуса и вторую секцию корпуса.

Пункт 9. Устройство по любому из пп. 1-8, в котором корпус включает по меньшей мере одно усиливающее ребро, проходящее радиально наружу от выходного канала для текучей среды.

Пункт 10. Устройство по любому из пп. 19, дополнительно включающее экран, расположенный в выходном канале для текучей среды таким образом, что текучая среда, вытекающая из внутренней камеры, проходит через экран.

Пункт 11. Устройство по любому из пп. 1-10, в котором корпус включает светопроходающий материал, выполненный с возможностью освещения воздушных пузырьков во внутренней камере.

Пункт 12. Устройство по любому из пп. 1-11, в котором корпус включает соединительную лапку, выполненную с возможностью крепления к корпусу инъектора инъекторной системы для текучей среды.

Пункт 13. Устройство по любому из пп. 1-12, дополнительно включающее регулируемый клапан для изменения площади поперечного сечения по меньшей мере одного из каналов, включающих входной канал для текучей среды и выходной канал для текучей среды.

Пункт 14. Устройство для удерживания воздушных пузырьков, расположенное на пути следования текучей среды инъекторной системы для текучей среды, включающее: корпус, образующий внутреннюю камеру; входной канал для текучей среды, находящийся в сообщении по текучей среде с внутренней камерой; выходной канал для текучей среды, находящийся в сообщении по текучей среде с внутренней камерой; и удлинительную трубку, находящуюся в сообщении по текучей среде с входным каналом для текучей среды и проходящую во внутреннюю камеру, причем удлинительная трубка включает конец, отстоящий от выходного канала для текучей среды так, что текучая среда, протекающая во внутреннюю камеру через удлинительную трубку, направлена в сторону от выходного канала для текучей среды.

Пункт 15. Устройство по п. 14, дополнительно включающее экран, разделяющий внутреннюю камеру на входную часть и выходную часть, при этом экран включает по меньшей мере одно отверстие, обеспечивающее связь текучей среды между входной частью и выходной частью, и при этом текучая среда, втекающая во внутреннюю камеру из удлинительной трубки, должна течь через по меньшей мере одно отверстие экрана, чтобы достичь выходного канала для текучей среды.

Пункт 16. Устройство по п. 14 или 15, в котором первая часть экрана, прилегающая к концу удлинительной трубки, непроницаема для текучей среды, и в котором вторая часть экрана, прилегающая к выходному каналу для текучей среды, включает по меньшей мере одно отверстие.

Пункт 17. Устройство по любому из пп. 14-16, в котором экран включает воронку, образующую по меньшей мере одно отверстие, причем воронка сужается от максимальной площади поперечного сечения на границе с входной частью внутренней камеры до минимального поперечника, выступающего в выходную часть внутренней камеры.

Пункт 18. Устройство по любому из пп. 14-17, в котором экран включает колпачок, по меньшей мере частично загораживающий по меньшей мере одно отверстие, так что текучая среда должна обтекать колпачок, чтобы течь через по меньшей мере одно отверстие.

Пункт 19. Устройство по любому из пп. 14-18, в котором экран включает сетку.

Пункт 20. Устройство по любому из пп. 14-19, в котором по меньшей мере одно отверстие представляет собой два или более отверстий, расположенных по дуге.

Пункт 21. Устройство по любому из пп. 14-20, в котором корпус включает: первую секцию корпуса, включающую фланец, выполненный с возможностью приема экрана; и вторую секцию корпуса, принятую во фланец первой секции корпуса для захвата экрана между первой секцией корпуса и второй секцией корпуса.

Пункт 22. Устройство по любому из пп. 14-21, в котором входной канал для текучей среды сужается от меньшей площади поперечного сечения к большей площади поперечного сечения в направлении потока текучей среды через входной канал для текучей среды для уменьшения скорости потока текучей среды, протекающего через входной канал для текучей среды.

Пункт 23. Устройство по любому из пп. 14-22, в котором удлинительная трубка проходит параллельно внутренней оболочке внутренней камеры.

Пункт 24. Устройство по любому из пп. 14-23, в котором выходной канал для текучей среды проходит под острым углом относительно входного канала для текучей среды.

Пункт 25. Устройство по любому из пп. 14-24, в котором корпус включает светопроходающий материал, выполненный с возможностью освещения воздушных пузырьков во внутренней камере.

Пункт 26. Устройство по любому из пп. 14-25, в котором корпус включает соединительную лапку, выполненную с возможностью крепления к корпусу инъектора инъекторной системы для текучей среды.

Пункт 27. Устройство по любому из пп. 14-26, дополнительно включающее регулируемый клапан для изменения площади поперечного сечения по меньшей мере одного из каналов, включающих входной канал для текучей среды и выходной канал для текучей среды.

Пункт 28. Иинъекторная система для текучей среды, включающая: по меньшей мере один контейнер для текучей среды, выполненный с возможностью инъекции медицинской текучей среды; по меньшей мере одно устройство удерживания пузырьков, находящееся в сообщении по текучей среде с по меньшей мере одним контейнером для текучей среды; по меньшей мере одно устройство для удерживания пузырьков, включающее: корпус, образующий внутреннюю камеру; входной канал для текучей среды, находящийся в сообщении по текучей среде с внутренней камерой; и выходной канал для текучей среды, находящийся в сообщении по текучей среде с внутренней камерой, причем выходной канал для текучей среды отстоит от входного канала для текучей среды так, что текучая среда, поступающая во внутреннюю камеру через входной канал для текучей среды, направлена в сторону от выходного канала для текучей среды; по меньшей мере один детектор воздуха, выполненный с возможностью обнаружения одного или более воздушных пузырьков в канале для текучей среды, соединяющем по меньшей мере один контейнер для текучей среды с по меньшей мере одним устройством удерживания пузырьков; и по меньшей мере один запорный клапан, расположенный дальше по потоку от по меньшей мере одного устройства удерживания пузырьков и выполненный с возможностью перемещения из открытого положения в закрытое положение в ответ на обнаружение детектором воздуха одного или более воздушных пузырьков в канале для текучей среды, при этом внутренняя камера выполнена с возможностью создания внутреннего вихря текучей среды в инъекционной текучей среде, поступающей во внутреннюю камеру из входного канала для текучей среды, и при этом внутренний вихрь текучей среды по меньшей мере временно удерживает один или более воздушных пузырьков в текучей среде во внутреннем вихре и задерживает прохождение одного или более воздушных пузырьков к выходному каналу для текучей среды.

Пункт 29. Инъекторная система для текучей среды по п. 28, в которой устройство удерживания пузырьков выполнено с возможностью перехода между: положением инъекции, в котором выходной канал для текучей среды проходит по существу вертикально вниз от внутренней камеры так, что плавучесть воздушных пузырьков во внутренней камере дополнительно побуждает один или более воздушных пузырьков оставаться в удерживаемом состоянии во внутреннем вихре текучей среды во внутренней камере; и положением заправки, в котором выходной канал для текучей среды проходит по существу вертикально вверх от камеры так, что плавучесть воздушных пузырьков во внутренней камере побуждает пузырьки воздуха вытекать из внутреннего вихря текучей среды через выходной канал для текучей среды.

Пункт 30. Инъекторная система для текучей среды по п. 28 или 29, в которой внутренняя камера включает по меньшей мере одну вогнутую внутреннюю оболочку, при этом входной канал для текучей среды входит во внутреннюю камеру по касательной к вогнутой внутренней оболочке.

Пункт 31. Инъекторная система для текучей среды по любому из пп. 28-30, в которой выходной канал для текучей среды проходит от внутренней камеры в направлении, по существу перпендикулярном каналу потока текучей среды во внутреннем вихре текучей среды во внутренней камере.

Пункт 32. Инъекторная система для текучей среды по любому из пп. 28-31, в которой по меньшей мере часть выходного канала для текучей среды имеет площадь поперечного сечения больше, чем площадь поперечного сечения входного канала для текучей среды, чтобы уменьшить скорость текучей среды в выходном канале для текучей среды относительно скорости текучей среды во входном канале для текучей среды.

Пункт 33. Инъекторная система для текучей среды по любому из пп. 28-32, в которой выходной канал для текучей среды проходит по существу параллельно входному каналу для текучей среды.

Пункт 34. Инъекторная система для текучей среды по любому из пп. 28-33, в которой внутренняя камера по меньшей мере частично сферическая или полусферическая.

Пункт 35. Инъекторная система для текучей среды по любому из пп. 28-34, в которой устройство для удерживания пузырьков дополнительно включает углубление, отходящее радиально наружу от внутренней камеры в направлении, по существу противоположном выходному каналу для текучей среды.

Пункт 36. Инъекторная система для текучей среды по любому из пп. 28-35, дополнительно включающая клапан, расположенный в углублении и находящийся в сообщении по текучей среде с внутренней камерой для выпуска воздуха, скопившегося в углублении.

Пункт 37. Инъекторная система для текучей среды по любому из пп. 28-36, в которой корпус устройства удерживания пузырьков включает: первую секцию корпуса, содержащую по меньшей мере один из каналов, включающих входной канал для текучей среды и выходной канал для текучей среды; и вторую секцию корпуса, содержащую по меньшей мере часть внутренней камеры, при этом одна из секций, включающих первую секцию корпуса и вторую секцию корпуса, включает фланец для приема другой секции из указанных секций, включающих первую секцию корпуса и вторую секцию корпуса.

Пункт 38. Инъекторная система для текучей среды по любому из пп. 28-37, в которой корпус устройства удерживания пузырьков включает по меньшей мере одно усиливающее ребро, проходящее радиально наружу от выходного канала для текучей среды.

Пункт 39. Инъекторная система для текучей среды по любому из пп. 28-38, в которой устройство удерживания пузырьков дополнительно включает экран, расположенный проксимально выходному каналу для текучей среды так, что текучая среда, вытекающая из внутренней камеры, проходит через экран.

Пункт 40. Инъекторная система для текучей среды по любому из пп. 28-39, в которой один или более из одного или более воздушных пузырьков временно прилипает к поверхности экрана по мере прохождения текучей среды через экран.

Пункт 41. Инъекторная система для текучей среды по любому из пп. 28-40, в которой экран включает гидрофильное покрытие по меньшей мере на части поверхности экрана.

Пункт 42. Инъекторная система для текучей среды по любому из пп. 28-41, в которой устройство удерживания пузырьков дополнительно включает удлинительную трубку, находящуюся в сообщении по текучей среде с входным каналом для текучей среды и проходящую во внутреннюю камеру, причем удлинительная трубка включает конец, отстоящий от выходного канала для текучей среды, так что текучая среда, протекающая во внутреннюю камеру через удлинительную трубку, направлена в сторону от выходного канала для текучей среды.

Пункт 43. Инъекторная система для текучей среды по любому из пп. 28-42, в которой экран делит внутреннюю камеру на входную часть и выходную часть, в которой экран включает по меньшей мере одно отверстие, обеспечивающее связь текучей среды между входной частью и выходной частью, и в которой текучая среда, поступающая во внутреннюю камеру из входного канала для текучей среды, должна течь через по меньшей мере одно отверстие экрана, чтобы достичь выходного канала для текучей среды.

Пункт 44. Инъекторная система для текучей среды по любому из пп. 28-43, в которой первая часть экрана, прилегающая к концу удлинительной трубки, непроницаема для текучей среды, и в которой вторая часть экрана, прилегающая к выходному каналу для текучей среды, включает по меньшей мере одно отверстие.

Пункт 45. Инъекторная система для текучей среды по любому из пп. 28-44, в которой экран включает воронку, образующую по меньшей мере одно отверстие, причем воронка сужается от максимальной площади поперечного сечения на границе с входной частью внутренней камеры до минимального поперечника, выступающего в выходную часть внутренней камеры.

Пункт 46. Инъекторная система для текучей среды по любому из пп. 28-45, в которой экран включает колпачок, по меньшей мере частично загораживающий по меньшей мере одно отверстие, так что текучая среда должна обтекать колпачок, чтобы течь через по меньшей мере одно отверстие.

Пункт 47. Инъекторная система для текучей среды по любому из пп. 28-46, в которой экран включает сетку.

Пункт 48. Инъекторная система для текучей среды по любому из пп. 28-47, в которой по меньшей мере одно отверстие представляет собой два или более отверстий, расположенных по дуге.

Пункт 49. Инъекторная система для текучей среды по любому из пп. 28-48, в которой устройство удерживания пузырьков задерживает прохождение одного или более воздушных пузырьков к выходному каналу для текучей среды по меньшей мере на 100 миллисекунд.

Пункт 50. Инъекторная система для текучей среды по любому из пп. 28-49, в которой корпус включает: первую секцию корпуса, включающую фланец, выполненный с возможностью приема экрана; вторую секцию корпуса, принимаемую внутрь фланца первой секции корпуса для захвата экрана между первой секцией корпуса и второй секцией корпуса.

Пункт 51. Инъекторная система для текучей среды по любому из пп. 28-50, в которой входной канал для текучей среды сужается от меньшей площади поперечного сечения к большей площади поперечного сечения в направлении потока текучей среды через входной канал для уменьшения скорости потока текучей среды, протекающей через входной канал для текучей среды.

Пункт 52. Инъекторная система для текучей среды по любому из пп. 28-51, в которой удлинительная трубка проходит параллельно внутренней оболочке внутренней камеры.

Пункт 53. Инъекторная система для текучей среды по любому из пп. 28-52, в которой выходной канал для текучей среды проходит под острым углом относительно входного канала для текучей среды.

Пункт 54. Инъекторная система для текучей среды по любому из пп. 28-53, в которой корпус устройства удерживания пузырьков включает светопроходающий материал, выполненный с возможностью освещения воздушных пузырьков во внутренней камере.

Пункт 55. Инъекторная система для текучей среды по любому из пп. 28-54, в которой корпус устройства удерживания пузырьков включает соединительную лапку, выполненную с возможностью крепления к корпусу инъектора инъекторной системы для текучей среды.

Пункт 56. Инъекторная система для текучей среды по любому из пп. 28-55, дополнительно включающая регулируемый клапан для изменения площади поперечного сечения по меньшей мере одного из каналов, включающих входной канал для текучей среды и выходной канал для текучей среды.

Дополнительные подробности и преимущества различных примеров, подробно описанных в настоящем документе, станут понятны при рассмотрении следующего далее подробного описания различных примеров в сочетании с прилагаемыми чертежами.

КРАТКОЕ ОПИСАНИЕ ЧЕРТЕЖЕЙ

На фиг. 1 представлен вид в перспективе инъекторной системы для текучей среды в соответствии с одним из вариантов осуществления настоящего изобретения.

На фиг. 2 представлен схематический вид инъекторной системы для текучей среды в соответствии с одним из вариантов осуществления настоящего изобретения.

На фиг. 3 представлен вид в перспективе устройства удерживания воздушных пузырьков в соответствии с одним из вариантов осуществления настоящего изобретения.

На фиг. 4 представлен вид сбоку в разрезе устройства удерживания воздушных пузырьков по фиг. 3 в положении инъекции.

На фиг. 5 представлен вид сбоку в разрезе устройства удерживания воздушных пузырьков по фиг. 3 в загрузочном положении.

На фиг. 6 представлен вид сбоку в разрезе устройства удерживания воздушных пузырьков в соответствии с одним из вариантов осуществления настоящего изобретения.

На фиг. 7 представлен вид в перспективе устройства удерживания воздушных пузырьков в соответствии с одним из вариантов осуществления настоящего изобретения.

На фиг. 8 представлен вид сбоку в разрезе устройства удерживания воздушных пузырьков по фиг. 7 в положении инъекции.

На фиг. 9 представлен вид в перспективе устройства удерживания воздушных пузырьков в соответствии с одним из вариантов осуществления настоящего изобретения.

На фиг. 10 представлен вид сбоку в разрезе устройства удерживания воздушных пузырьков по фиг. 9 в первом временном интервале протокола инъекции.

На фиг. 11 представлен вид сбоку в разрезе устройства удерживания воздушных пузырьков по фиг. 9 во втором временном интервале протокола инъекции.

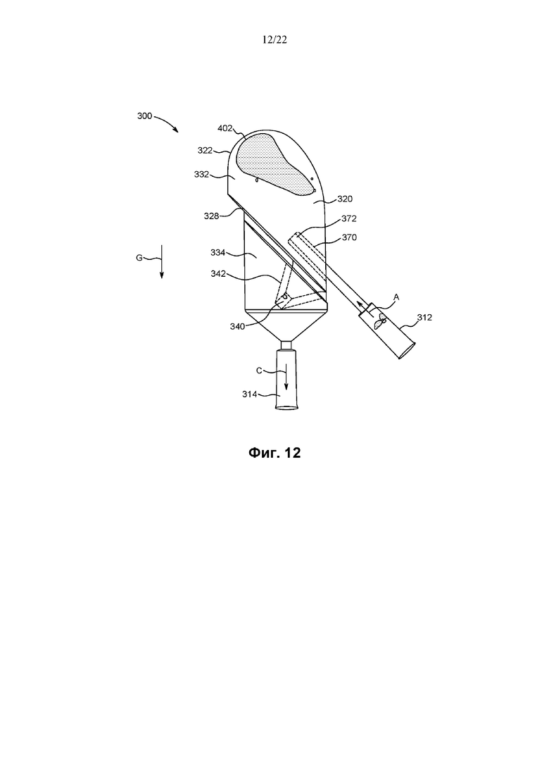
На фиг. 12 представлен вид сбоку в разрезе устройства удерживания воздушных пузырьков по фиг. 9 в третьем временном интервале протокола инъекции.

На фиг. 13 представлен вид сбоку в разрезе устройства удерживания воздушных пузырьков по фиг. 9 в четвертом временном интервале протокола инъекции.

На фиг. 14 представлен вид сбоку в разрезе устройства удерживания воздушных пузырьков по фиг. 9 в положении заправки.

На фиг. 15 представлен вид сбоку в разрезе устройства удерживания воздушных пузырьков в соответствии с одним из вариантов осуществления настоящего изобретения.

На фиг. 16 представлен вид в перспективе устройства удерживания воздушных пузырьков по фиг. 15.

На фиг. 17 представлен вид сбоку в разрезе устройства удерживания воздушных пузырьков в соответствии с одним из вариантов осуществления настоящего изобретения.

На фиг. 18 представлен вид в перспективе в разрезе устройства удерживания воздушных пузырьков по фиг. 17.

На фиг. 19 представлен вид в перспективе экрана устройства удерживания воздушных пузырьков в соответствии с одним из вариантов осуществления настоящего изобретения.

На фиг. 20 представлен вид в перспективе экрана устройства удерживания воздушных пузырьков в соответствии с одним из вариантов осуществления настоящего изобретения.

На фиг. 21 представлен вид в перспективе экрана устройства удерживания воздушных пузырьков в соответствии с одним из вариантов осуществления настоящего изобретения.

На фиг. 22 представлен вид в перспективе экрана устройства удерживания воздушных пузырьков в соответствии с одним из вариантов осуществления настоящего изобретения.

На фиг. 23 представлен вид в перспективе экрана устройства удерживания воздушных пузырьков в соответствии с одним из вариантов осуществления настоящего изобретения.

На фиг. 24 представлен вид спереди экрана устройства удерживания воздушных пузырьков в соответствии с одним из вариантов осуществления настоящего изобретения.

На фиг. 25 представлен вид в перспективе устройства для удерживания воздушных пузырьков в соответствии с одним из вариантов осуществления настоящего изобретения.

Ссылаясь на чертежи, на которых одинаковые ссылочные номера обозначают одинаковые детали на всех вышеуказанных видах, настоящее изобретение в целом направлено на встроенное устройство удерживания воздушных пузырьков для применения с инъекторной системой для текучей среды.

ПОДРОБНОЕ ОПИСАНИЕ

Применительно к данному описанию здесь и далее термины "верхний", "нижний", "правый", "левый", "вертикальный", "горизонтальный", "верхний", "нижний", "поперечный", "продольный" и производные от них устанавливают такие связи в описании изобретения, какие представлены на чертежах. Термины, характеризующие положение или направление, такие как "левый", "правый", "внутренний", "внешний", "выше", "ниже" и тому подобные, не следует рассматривать как ограничивающие, поскольку изобретение может принимать различные альтернативные ориентации.

В контексте настоящего документа, формы единственного числа "a", "an" и "the" включают множественное число, если контекст явно не диктует иное. Все числа, используемые в описании и формуле изобретения, следует понимать как видоизмененные во всех случаях термином "около". Термины "приблизительно", "около" и "в основном" означают диапазон плюс-минус десять процентов от указанного значения.

В контексте настоящего документа, термин "по меньшей мере один из" является синонимом термина "один или более из". Например, фраза "по меньшей мере одно из А,В и С" означает любое одно из А,В и С или любую комбинацию любых двух или более А,В и С. Например, "по меньшей мере один из А,В и С" включает один или более из одного лишь А; или один или более из одного лишь В; или один или более из одного лишь С; или один или более из А и один или более из В; или один или более из А и один или более из С; или один или более из В и один или более из С; или один или более из всех А,В и С. Аналогично, в контексте настоящего документа, термин "по меньшей мере два из" является синонимом "два или более из". Например, фраза "по меньшей мере два из D, Е и F" означает любую комбинацию любых двух или более из D, Е и F. Например, "по меньшей мере два из D, Е и F" включает один или более из D и один или более из Е; или один или более из D и один или более из F; или один или более из Е и один или более из F; или один или более из всех D, Е и F.

Следует также понимать, что конкретные устройства и процессы, показанные на прилагаемых чертежах и описанные далее, являются просто примерами для раскрытия изобретения. Следовательно, конкретные размеры и другие физические характеристики, относящиеся к примерам, раскрытым в настоящем документе, не должны рассматриваться как ограничительные.

При применении в отношении компонента системы для текучей среды, такого как контейнер для текучей среды, шприц, устройство удерживания воздуха или линия текучей среды термин "дистальный" относится к части указанного компонента, ближайшей к пациенту. При применении в отношении компонента системы для текучей среды, такого как контейнер для текучей среды, шприц, устройство удерживания воздуха или линия текучей среды термин "проксимальный" относится к части указанного компонента, ближайшей к инъектору инъекторной системы (т.е. части указанного компонента, наиболее удаленной от пациента). При применении в отношении компонента системы для текучей среды, такого как контейнер для текучей среды, шприц, устройство удерживания воздуха или линия текучей среды термин "ближе по течению" относится к направлению от пациента к инъектору инъекторной системы. Например, если первый компонент упоминается как находящийся "ближе по течению" второго компонента, то первый компонент расположен ближе к инъектору, чем второй компонент к инъектору. При применении в отношении компонента системы для текучей среды, такого как контейнер для текучей среды, шприц, устройство удерживания воздуха или линия текучей среды термин "дальше по течению" относится к направлению к пациенту от инъектора системы подачи текучей среды. Например, если первый компонент упоминается как находящийся "дальше по течению" второго компонента, первый компонент расположен ближе к пациенту, чем второй компонент к пациенту.

В настоящем документе термины "емкость" и "сопротивление" используются как взаимозаменяемые для обозначения объемного расширения компонентов инъектора, таких как контейнеры для текучей среды, шприцы, линии текучей среды и/или другие компоненты системы доставки текучей среды в результате давления текучей среды на такие компоненты. Емкость и сопротивление могут быть вызваны высоким инъекционным давлением, которое может составлять порядка 1200 psi в некоторых ангиографических процедурах, и могут привести к тому, что объем текучей среды, удерживаемый в части компонента, превысит необходимое количество, выбранное для инъекционной процедуры. Кроме того, емкость различных компонентов может, если она не учитывается должным образом, негативно повлиять на точность датчиков давления инъекторной системы, поскольку объемное расширение компонентов может вызвать искусственное падение измеряемого давления этих компонентов.

Термины "первый", "второй" и т.п.не предназначены для обозначения какого-либо конкретного порядка или хронологии, а относятся к различным условиям, свойствам или элементам. Все документы, упомянутые в настоящем документе, "включены посредством ссылки" во всей их полноте. Термин "по меньшей мере" является синонимом "больше или равно". Термин "не более чем" является синонимом "меньше или равно".

Следует понимать, что описание может предполагать альтернативные варианты и последовательности этапов, за исключением случаев, когда явно указано обратное. Также следует понимать, что конкретные устройства и процессы, проиллюстрированные на прилагаемых чертежах и описанные далее, являются просто примерами вариантов осуществления изобретения. Следовательно, конкретные размеры и другие физические характеристики, относящиеся к примерам, раскрытым в настоящем документе, не должны рассматриваться как ограничивающие.

Хотя описанные здесь системы и устройства относятся к ангиографической (сердечно сосудистой) инъекционной системе, другие протоколы инъекции под давлением, такие как компьютерная томография (КТ), ультразвук, позитронно-эмиссионная томография (ПЭТ) и магнитно-резонансная томография (МРТ), также могут включать различные варианты осуществления, описанные здесь, для предотвращения введения воздуха.

Ссылаясь на чертежи, на которых одинаковые ссылочные номера обозначают одинаковые части на нескольких видах, настоящее изобретение в целом направлено на инъекторные системы для текучей среды и устройства для удерживания воздушных пузырьков для задержки движения одного или более воздушных пузырьков по линии текучей среды к пациенту и предотвращения доставки одного или более пузырьков воздуха, которые могут случайно возникнуть во время инъекционной процедуры.

На фиг. 1 показан вариант осуществления двухшприцевой ангиографической инъекторной системы 2000. Ангиографическая инъекторная система 2000 выполнена с возможностью инъекции двух медицинских текучих сред через канал 210А первой текучей среды, например визуализирующего контрастного вещества для ангиографической инъекционной процедуры, и канал 210В второй текучей среды для промывочной текучей среды, например физраствора или лактата Рингера. Двухшприцевая ангиографическая инъекторная система 2000 может включать корпус 12 инъектора, имеющий два шприцевых порта 15, выполненных с возможностью подключения двух шприцев 10А, 10В. В некоторых вариантах осуществления шприцы 10А, 10В могут быть закреплены внутри соответствующих напорных оболочек 17А, 17В, например, для предотвращения вызванного давлением разбухания и возможного разрыва шприцев 10А, 10В.

Инъекторная система для текучей среды 2000 может также включать по меньшей мере один графический интерфейс пользователя (GUI) 11, при помощи которого оператор может просматривать и контролировать состояние инъекционной процедуры. GUI 11 может находиться в функциональной связи с контроллером 900 (см. фиг. 2), который посылает и принимает команды между GUI 11 и инъекторной системой для текучей среды 2000. GUI 11 может быть расположен на корпусе 12 инъектора или может быть установлен на расстоянии от корпуса 12 инъектора.

Двухшприцевая ангиографическая инъекторная система 2000 может также включать по меньшей мере один ближе расположенный детектор 200 воздуха, связанный с путями 210А,В следования текучей среды, для обнаружения одного или более пузырьков воздуха в пределах заключенной в трубку области 250 обнаружения воздуха на пути 210А следования первой текучей среды и на пути 210В следования второй текучей среды. Заключенная в трубку область 250 обнаружения воздуха, например, может быть сопряжена с проксимальной или ближе расположенной частью пути 210А следования первой текучей среды и пути 210В следования второй текучей среды. В некоторых вариантах осуществления по меньшей мере один детектор 200 воздуха может представлять собой единый модуль, имеющий по меньшей мере один датчик, функционально связанный с каждым из путей, включающих путь 210А следования первой текучей среды и путь 210В следования второй текучей среды. В некоторых вариантах осуществления изобретения по меньшей мере один детектор 200 воздуха может включать по меньшей мере два отдельных модуля, каждый из которых функционально связан с одним из путей, включающих путь 210А следования первой текучей среды и путь 210В следования второй текучей среды. По меньшей мере один детектор 200 воздуха может находиться в функциональной связи с контроллером 900 (см. фиг. 2), так что контроллер 900 может принимать сигналы от по меньшей мере одного детектора 200 воздуха, указывающего обнаружение одного или более воздушных пузырьков в одном из путей или в обоих путях, включающих путь 210А следования первой текучей среды и путь 210В следования второй текучей среды. После приема сигнала (сигналов) контроллер 900 может послать сигнал или команду инъекторной системе для текучей среды 2000 для остановки процесса инъекции текучей среды, например путем закрытия одного или более запорных клапанов (см. фиг. 2, 215А, 215В и/или 390), расположенных после по меньшей мере одного детектора воздуха 200 для предотвращения введения обнаруженного пузырька воздуха пациенту. По меньшей мере один детектор 200 воздуха может включать ультразвуковой датчик, оптический датчик или другое подходящее конструктивное исполнение датчиков, выполненное с возможностью обнаружения одного или более воздушных пузырьков в пределах канала прохождения текучей среды.

По той же фиг. 1 двухшприцевая ангиографическая инъекторная система 2000 может также включать контейнеры 19А и 19В компонентов текучей среды для заполнения и пополнения соответствующих шприцев 10А, 10В визуализирующим контрастным веществом и промывочной текучей средой соответственно. Контейнеры 19А и 19В для компонентов текучей среды могут раздельно находиться в сообщении по текучей среде со шприцами 10А и 10В через соответствующие пути 216А и 216В следования компонентов текучей среды и клапаны 215А и 215В компонентов текучей среды.

Дополнительные подробности и примеры подходящих инъекторных систем с неограниченным питанием, включая шприцы, напорные оболочки и механизмы удерживания напорной оболочки, трубки, запорные клапаны, контроллеры и детекторы воздуха, описаны в патентах США №№. 5,383,858; 7,553,294; 7,666,169; 8,945,051; 10,022,493; и 10,507,319, а также в международных заявках РСТ №№ PCT/U S2013/061275; PCT/US 2013/061275; PCT/US 2018/034613; PCT/US 2020/049885; PCT/US 2021/035273; и PCT/US 2021/029963, описание которых настоящим полностью включено посредством ссылки. Хотя инъекционная система для текучей среды 2000 описана в данном документе в контексте двухшприцевого ангиографического (ССА) инъектора, следует понимать, что инъекторная система для текучей среды 2000 может быть адаптирована для конфигураций с одним или несколькими шприцами для любой инъекционной процедуры (например, КТ, ПЭТ, МРТ, УЗИ и т.д.).

На фиг. 2 показана схема инъекторной системы для текучей среды 2000 по фиг. 1. Инъекторная система 2000 включает поршень 13А, 13В, сопряженный соответственно с каждым из шприцев 10А, 10В и соответствующих им напорных оболочек 17А, 17В (см. фиг. 1). Каждый из поршней 13А, 13В выполнен с возможностью приведения в движение соответствующего плунжера 14А, 14В внутри цилиндра соответствующего шприца 10А, 10В. Контроллер 900 функционально связан с инъекторной системой 2000, например для активации поршней 13А, 13В, для возвратно-поступательного перемещения плунжеров 14А, 14В в шприцах 10А, 10В и тем самым выполнения и остановки инъекторной процедуры. В частности, контроллер 900 может включать по меньшей мере один процессор, запрограммированный или сконфигурированный с возможностью приведения в действие поршней 13А, 13В и различных других компонентов инъекторной системы 2000, таких как один или более запорных клапанов, как описано в настоящем документе, для забора и доставки медицинских текучих сред в соответствии с запрограммированным протоколом инъекционной процедуры. Контроллер 900 может включать машиночитаемый носитель, такой как память, на котором может храниться один протокол или более для выполнения инъекции по меньшей мере одним процессором.

Контроллер 900 может быть запрограммирован или сконфигурирован с возможностью выполнения операции заполнения, во время которой поршень 13А, 13В, сопряженный с шприцем 10А, 10В, отводится к проксимальному концу шприца 10А, 10В для всасывания инъекционной текучей среды F (например визуализирующего контрастного вещества и промывочной текучей среды) в шприц 10А, 10В из контейнеров 19А, 19В для компонентов текучей среды. Во время такой операции заполнения контроллер 900 может быть запрограммирован или сконфигурирован с возможностью выборочного приведения в действие клапанов 215 А и 215В компонентов текучей среды для установления сообщения по текучей среде между соответствующими шприцами 10А, 10В и контейнерами 19А, 19В для компонентов текучей среды через пути 216А и 216В следования компонентов текучей среды для управления заполнением шприцев 10А, 10В подходящей инъекционной текучей средой F. По завершении операции заправки и опционально подготовительной операции для удаления воздуха из шприцев 10А, 10В и различных вариантов осуществления устройств для удерживания пузырьков, описанных в данном документе, (например, путем прокачки любого такого воздуха обратно в контейнеры 19А, 19В для компонентов текучей среды или через заливную трубку), контроллер 900 может быть запрограммирован или сконфигурирован с возможностью выборочного приведения в действие клапанов 215А и 215В компонентов текучей среды для прерывания сообщения по текучей среде между соответствующими шприцами 10А, 10В и контейнерами 19А, 19В для компонентов текучей среды через пути 216А и 216В следования компонентов текучей среды.

После операции наполнения и заправки контроллер 900 может быть запрограммирован или сконфигурирован с возможностью осуществления операции доставки, во время которой поршень 13А, 13В, сопряженный с одним или обоими шприцами 10А, 10В, перемещается в направлении дистального конца шприца для введения инъекционной текучей среды F в путь 210А следования первой текучей среды и путь 210В следования второй текучей среды. Контроллер 900 может быть запрограммирован или сконфигурирован с возможностью выборочного приведения в действие клапанов 215А и 215В компонентов текучей среды для установления сообщения по текучей среде между шприцами 10А, 10В и пациентом через пути 210А, 210В следования текучей среды. Путь 210А следования первой текучей среды и путь 210В следования второй текучей среды в конечном итоге объединяют в линию текучей среды 210С пациента, которая находится в сообщении по текучей среде с сосудистой системой пациента. Согласно различным вариантам осуществления изобретения, путь 210А следования первой текучей среды и путь 210В следования второй текучей среды могут быть объединены в смешивающем текучие среды соединителе, который обеспечивает турбулентное смешивание первой текучей среды и второй текучей среды, например смешивающий соединитель для текучей среды, описанный в международных заявках РСТ №№ PCT/US 2021/019507 и PCT/US 2014/026324, описания которых включены в настоящий документ посредством ссылки.

Контроллер 900 может находиться в функциональной связи с по меньшей мере одним детектором 200 воздуха таким образом, чтобы контроллер 900 мог остановить приведение в действие поршней 13А, 13В в ответ на обнаружение детектором 200 воздуха наличия одного или более воздушных пузырьков по меньшей мере в одном из путей, включающих путь 210А следования первой текучей среды и путь 210В следования второй текучей среды. Контроллер 900 может также находиться в функциональной связи с по меньшей мере одним автоматизированным запорным клапаном 390, расположенным дальше по потоку, так что контроллер 900 может привести в действие по меньшей мере один запорный клапан 390, расположенный дальше по потоку, чтобы остановить поток текучей среды через по меньшей мере один запорный клапан 390 в сосудистую систему пациента. По меньшей мере один расположенный дальше по потоку запорный клапан 390 может быть приведен в движение контроллером 900 между различными положениями, такими как открытое положение, в котором медицинская текучая среда может течь к пациенту, закрытое положение, в котором поток текучей среды к пациенту предотвращен, и положение гемодинамического мониторинга, в котором сосудистая система пациента находится в сообщении по текучей среде с датчиком давления и изолирована от шприцев 10А, 10В. В некоторых вариантах осуществления изобретения расположенный дальше по потоку запорный клапан 390 может представлять собой запорный кран, пережимной клапан или аналогичный. В некоторых вариантах осуществления изобретения расположенные дальше по потоку запорные клапаны 390 могут быть сопряжены с каждым из путей 210А и 210В следования текучей среды и могут быть расположены до того места, где путь 210А следования первой текучей среды и путь 210В следования второй текучей среды объединены в линию текучей среды 2ЮС пациента. Подходящие примеры запорных клапанов и конфигураций запорный клапан/канал для текучей среды описаны в международной заявке РСТ №PCT/US2021/029963. Во время нормальной операции доставки контроллер 900 может быть запрограммирован или сконфигурирован с возможностью перемещения расположенного дальше по потоку запорного клапана 390 в открытое положение для установления сообщения по текучей среде между пациентом и путями 210А, 210В следования текучей среды. Контроллер 900 может быть запрограммирован или сконфигурирован с возможностью перемещения расположенного далее по потоку запорного клапана 390 в закрытое положение в ответ на обнаружение воздуха по меньшей мере одним воздушным детектором 200. Движение поршней 13А, 13В также может быть остановлено в ответ на обнаружение воздуха по меньшей мере одним воздушным детектором 200. В положении остановки расположенный дальше по потоку запорный клапан 390 изолирует пациента от путей 210А, 210В следования текучей среды, тем самым предотвращая попадание воздуха пациенту.

По фиг. 2 в некоторых вариантах осуществления изобретения каждый из путей, включающих путь 210А следования первой текучей среды и путь 210В следования второй текучей среды, может включать устройство 300 для удерживания воздушных пузырьков, выполненное с возможностью по меньшей мере временной остановки или задержки одного или более воздушных пузырьков, проходящих через пути 210A, 210В следования текучей среды. Каждое устройство 300 для удерживания воздушных пузырьков может быть расположено соосно соответствующим путям 210А, 210В следования текучей среды между по меньшей мере одним датчиком 200 воздуха и расположенным дальше по потоку запорным клапаном 390, так что весь поток текучей среды через пути 210А, 210В следования текучей среды должен пройти через по меньшей мере одно устройство 300 для удерживания воздушных пузырьков, чтобы достичь пациента.

В некоторых вариантах осуществления контроллер 900 может быть запрограммирован или сконфигурирован с возможностью перемещения клапанов 215А, 215В компонентов текучей среды и/или расположенного дальше по потоку запорного клапана 390 в закрытое положение в ответ на обнаружение одного или более воздушных пузырьков по меньшей мере одним детектором 200 воздуха вместе с одновременной остановкой поршней 13А, 13В. В отсутствие устройств 300 для удерживания воздушных пузырьков один или более воздушных пузырьков, обнаруженных по меньшей мере одним детектором 200 воздуха, смогут переместиться по путям 210А, 210В следования компонентов текучей среды с достаточной скоростью, чтобы пройти за клапаны 215А, 215В и расположенный дальше по течению запорный клапан 390 до того, как клапаны 215А, 215В компонентов текучей среды и/или расположенный дальше по потоку запорный клапан 390 достигнут закрытого положения. Например, во время инъекционной ССА-процедуры под высоким давлением (например, 1200 пси), инъекторной системе 2000 может потребоваться от 60 миллисекунд до 90 миллисекунд, например в одном варианте осуществления приблизительно 80 миллисекунд, чтобы остановить инъекционную процедуру после того, как пузырек воздуха попадет в область обнаружения по меньшей мере одного детектора 200 воздуха. Время, необходимое для остановки инъекционной процедуры, может включать: время, необходимое для того, чтобы по меньшей мере один детектор 200 воздуха сообщил контроллеру 900 об обнаружении пузырька воздуха, время, необходимое контроллеру 900 для связи с клапанами 215А, 215В компонентов текучей среды и/или расположенным далее по потоку запорным клапаном 390, и время, необходимое клапанам 215А, 215В компонентов текучей среды и/или запорному клапану 390 для перехода из открытого положения в закрытое положение. При инъекциях под высоким давлением (например, 1200 пси), типичных для инъекционных ССА-процедур, пузырек воздуха может переместиться от 2,8 мл до 3,6 мл объема пути 210А, 210В следования текучей среды за время от 60 миллисекунд до 90 миллисекунд между обнаружением пузырька воздуха и закрытием клапанов 215 А, 215В компонентов текучей среды и/или расположенного дальше по потоку запорного клапана 390. Например, при давлении приблизительно 1200 пси пузырек воздуха может пройти расстояние, соответствующее 3,2 мл за 80 миллисекунд при скорости потока 30 мл/сек в трубке с диаметром 0,072 дюйма. Расстояние, эквивалентное объему 3,2 мл для такого варианта осуществления, может составлять около 4 футов длины трубки, пройденных за 80 миллисекунд. Таким образом, даже при быстрой реакции по меньшей мере одного детектора 200 воздуха, контроллера 900 и клапанов 215А, 215В компонентов текучей среды и/или расположенного дальше по потоку запорного клапана 390, пузырек воздуха может пройти значительное расстояние, потенциально попав в организм пациента, прежде чем клапаны 215А, 215В компонентов текучей среды и/или расположенный дальше по потоку запорный клапан 390 будут закрыты. Кроме того, из-за сжимаемости газа по сравнению с жидкостью, объем воздушного пузырька может значительно уменьшиться при инъекции под высоким давлением. Только остановка потока текучей среды путем остановки поршней 13А, 13В снижает давление в системе, позволяя воздушному пузырьку увеличиться в объеме. Из-за увеличенного объема воздушный пузырек может переместиться дальше по каналу для текучей среды за пределы клапанов 215А, 215В компонентов текучей среды и/или расположенного дальше запорного клапана 390 до того, как эти клапаны будут закрыты.

Варианты осуществления устройств 300 удерживания воздушных пузырьков настоящего изобретения выполнены с возможностью по меньшей мере временной задержки потока воздушных пузырьков на путях 210А, 210В следования текучих сред таким образом, чтобы у контроллера 900 было достаточно времени для перемещения клапанов 215А, 215В компонентов текучей среды и/или расположенного дальше запорного клапана 390 в закрытое положение до того, как воздушные пузырьки достигнут клапанов 215А, 215В компонентов текучей среды и/или запорного клапана 390. Как указано в данном документе, во время процедуры сердечно-сосудистой инъекции под высоким давлением (например, 1200 пси) системе 2000 может потребоваться от 60 миллисекунд до 90 миллисекунд, например в одном варианте осуществления около 80 миллисекунд, чтобы закрыть клапаны 215 А, 215В компонентов текучей среды и/или расположенный дальше по течению клапан 390 в ответ на обнаружение пузырька воздуха на путях 210А, 210В следования текучей среды по меньшей мере одним детектором 200 воздуха. Варианты осуществления устройств 300 удерживания воздушных пузырьков могут быть выполнены с возможностью задержки потока воздушных пузырьков по меньшей мере на 60-90 миллисекунд, например, в одном варианте осуществления по меньшей мере на 80 миллисекунд, так что клапаны 215А, 215В компонентов текучей среды и/или расположенный дальше запорный клапан 390 могут быть переведены в закрытое положение до того, как воздушный пузырек достигнет клапанов 215А, 215В компонентов текучей среды и/или расположенного дальше запорного клапана 390. Таким образом, воздушный пузырек не может пройти дальше по потоку от клапанов 215А, 215В компонентов текучей среды и/или расположенного дальше запорного клапана 390 и попасть в пациента. В некоторых вариантах осуществления контроллер 900 запрограммирован или сконфигурирован с возможностью перемещения одного или обоих клапанов 215А, 215В компонентов текучей среды в закрытое положение в ответ на обнаружение воздушного пузырька на путях 210А, 210В следования текучей среды по меньшей мере одним воздушным детектором 200. В некоторых вариантах осуществления изобретения контроллер 900 запрограммирован или сконфигурирован с возможностью перемещения расположенного дальше запорного клапана 390 в закрытое положение в ответ на обнаружение по меньшей мере одним воздушным детектором 200 пузырька воздуха на путях 210А, 210В следования текучей среды. В некоторых вариантах осуществления изобретения контроллер 900 запрограммирован или сконфигурирован с возможностью перемещения одного или обоих клапанов 215 А, 215В компонентов текучей среды и расположенного дальше запорного клапана 390 в закрытое положение в ответ на обнаружение по меньшей мере одним воздушным детектором 200 пузырька воздуха на путях 210А, 210В следования текучей среды.

На фиг. 3-25 показаны особенности различных вариантов осуществления устройства 300 удерживания воздушных пузырьков в соответствии с настоящим изобретением. В общем, варианты осуществления устройства 300 удерживания воздушных пузырьков включают корпус 310, образующий внутреннюю камеру 320. Внутренняя камера 320 находится в сообщении по текучей среде с входным каналом для текучей среды 312 и выходным каналом для текучей среды 314. Входной канал для текучей среды 312 и выходной канал для текучей среды 314 могут быть выполнены с возможностью сообщения по текучей среде с соответствующими путями 210А, 210В следования текучей среды инъекторной системы для текучей среды 2000. По меньшей мере одно устройство 300 удерживания воздушных пузырьков может быть соединено с соответствующим путем 210A, 210В следования текучей среды так, что инъекционная текучая среда, введенная из соответствующего шприца 10А, 10В, поступает во входной канал для текучей среды 312, проходит через внутреннюю камеру 320 и выходит из выходного канала для текучей среды 314. Устройство 300 удерживания воздушных пузырьков расположено на каждом из путей 210А, 210В следования текучей среды после по меньшей мере одного детектора 200 воздуха и до запорного клапана 390 и, в некоторых вариантах осуществления, до клапанов 215А, 215В компонентов текучей среды. Таким образом, воздушный пузырек по меньшей мере временно удерживается в устройстве 300 для удерживания воздушных пузырьков в течение времени, позволяющего переместить расположенный после него запорный клапан 390 и/или клапаны 215А, 215В компонентов текучей среды в закрытое положение и остановить инъекционную процедуру. В некоторых вариантах осуществления устройство 300 для удерживания воздушных пузырьков может быть выполнено с возможностью задерживания прохождения одного или более воздушных пузырьков из входного канала для текучей среды 312 в выходной канал для текучей среды 314 по меньшей мере на 100 миллисекунд.

Входной канал для текучей среды 312 может быть ориентирован относительно внутренней камеры 320 так, что поток текучей среды во внутреннюю камеру 320 создает внутренний вихрь инъекционной текучей среды, поступающей во внутреннюю камеру 320. В некоторых вариантах осуществления изобретения входной канал для текучей среды 312 может быть ориентирован так, что инъекционная текучая среда из выходного канала для текучей среды 314 поступает во внутреннюю камеру 320 по касательной к вогнутой или полусферической внутренней оболочке 322 внутренней камеры 320, тем самым побуждая инъекционную текучую среду течь вдоль внутренней оболочки 322 для создания вихревого движения текучей среды. Внутреннее вихревое движение текучей среды обеспечивает временное удерживание в вихре текучей среды во внутренней камере 320 одного или более воздушных пузырьков, которые могут присутствовать в инъекционной текучей среде, тем самым по меньшей мере временно задерживая прохождение одного или более воздушных пузырьков в выходной канал для текучей среды 314 и из устройства 300 удерживания воздушных пузырьков. Внутренний вихрь текучей среды может образовать в целом круговую или другую непрерывную траекторию потока по вогнутой или полусферической внутренней оболочке 322 внутренней камеры 320, что приводит к временной задержке одного или более воздушных пузырьков в инъекционной текучей среде в вихре текучей среды. Кроме того, вихрь текучей среды может привести к объединению одного или более пузырьков воздуха в меньшее количество более крупных пузырьков воздуха, например, путем столкновения и коалесценции мелких пузырьков воздуха. Вогнутая или полусферическая внутренняя поверхность 322 стенки может минимизировать силы сдвига на одном или нескольких пузырьках воздуха и, таким образом, предотвратить разделение пузырька воздуха на более мелкие пузырьки воздуха в вихре.

В различных вариантах осуществления внутренняя камера 320 может иметь объем (т.е. количество текучей среды), достаточный для задержки пузырька объемом до 0,5 миллилитра (мл). В таких вариантах осуществления внутренняя камера 320 может иметь объем (т.е. количество текучей среды) от 2 мл до 10 мл, в некоторых вариантах осуществления от 2,8 мл до 3,6 мл, в некоторых вариантах осуществления около 3,2 мл и в некоторых вариантах осуществления около 5,4 мл. В варианте осуществления, показанном на фиг. 3-6, внутренняя камера 320 может иметь объем (т.е. количество текучей среды) приблизительно 6,77 мл для задержки пузырька объемом до около 0,5 мл. В варианте осуществления, показанном на фиг. 7-8, внутренняя камера 320 может иметь объем (т.е. количество текучей среды) приблизительно 7,00 мл для задержки пузырька до приблизительно 0,5 мл. В некоторых вариантах осуществления изобретения объем внутренней камеры 320 может быть соответственно увеличен для задержки пузырьков, имеющих больший объем, чем 0,5 мл.

В различных вариантах осуществления, показанных на фиг. 3-25, выходной канал для текучей среды 314 может быть ориентирован относительно внутренней камеры 320 таким образом, чтобы предотвратить свободное движение одного или более воздушных пузырьков, удержанных во внутреннем вихре текучей среды, к выходному каналу для текучей среды 314. Например, выходной канал для текучей среды 314 может быть ориентирован так, что путь потока текучей среды, задаваемый вихрем текучей среды, направлен в сторону, противоположную выходному каналу для текучей среды 314, или так, что текучая среда, протекающая во внутренней камере 320, должна изменить направление, чтобы попасть в выходной канал для текучей среды 314 (см., например, фиг. 14). В некоторых вариантах осуществления изобретения выходной канал для текучей среды 314 может проходить по существу перпендикулярно внутренней оболочке 322 внутренней камеры 320 так, что поток текучей среды в вихревом потоке проходит поперек просвета 315 выходного канала для текучей среды 314 (см., например, фиг. 4). Выходной канал для текучей среды 314 может быть расположен так, что в положении инъекции устройства 300 для удерживания воздушных пузырьков выходной канал для текучей среды 314 по меньшей мере частично проходит вниз от внутренней камеры 320. Поскольку воздух обладает плавучестью относительно инъекционной текучей среды во внутренней камере 320, любые пузырьки воздуха, присутствующие во внутренней камере 320, из-за своей относительной плавучести всплывают или мигрируют к верхней части внутренней камеры 320 в сторону, противоположную выходному каналу для текучей среды 314. Кроме того, при такой конфигурации устройства 300 для удерживания воздушных пузырьков, устройство 300 для удерживания воздушных пузырьков может быть перемещено (например повернуто) из положения инъекции в положение заправки, в котором выходной канал для текучей среды 314 по меньшей мере частично выступает вверх из внутренней камеры 320 (см. фиг. 5). В положении заправки, во время процесса заправки для удаления воздуха из пути следования текучей среды перед началом процедуры инъекции текучей среды, пузырьки воздуха, находящиеся во внутренней камере 320, всплывают к выходному каналу для текучей среды 314, чтобы под воздействием потока заправляемой текучей среды пузырьки воздуха могли быть удалены через выходной канал для текучей среды 314 с дистального конца соответствующего пути 210А, 210В следования текучей среды.

На фиг. 3-5, в частности, показан вариант осуществления устройства 300 для удаления воздушных пузырьков. Корпус 310 может быть сформирован из первой секции 302 корпуса и второй секции 304 корпуса. Формирование корпуса 310 из нескольких секций может облегчить изготовление путем литья под давлением для формирования различных элементов устройства 300 для удерживания воздушных пузырьков. Устройство 300 для удерживания воздушных пузырьков может быть изготовлено из любого подходящего материала медицинского класса, например полимерного материала медицинского класса, который способен выдерживать высокое давление текучей среды внутри устройства 300 для удерживания воздушных пузырьков. Первая секция 302 корпуса может включать по меньшей мере один из каналов: входной канал для текучей среды 312 и выходной канал 314. В варианте осуществления, показанном на фиг. 3-5, первая секция 302 корпуса включает как входной канал для текучей среды 312, так и выходной канал для текучей среды 314. Входной канал для текучей среды 312 и выходной канал для текучей среды 314 могут проходить по существу параллельно друг другу. Внутренняя камера 320 может быть образована первой секцией 302 корпуса и второй секцией 304 корпуса. В варианте осуществления, показанном на фиг. 3-5, каждая из секций, включающих первую секцию 302 корпуса и вторую секцию 304 корпуса, частично образуют внутреннюю камеру 320. Как показано на фиг. 4 и 5, первая секция 302 корпуса включает фланец 306, выполненный с возможностью приема концевого элемента 308, например кромки, второй секции корпуса 304. В некоторых вариантах осуществления фланец 306 может быть предусмотрен на второй секции корпуса 304, а концевой элемент 308 может быть предусмотрен на первой секции корпуса 302. Первая секция корпуса 302 и вторая секция корпуса 304 могут быть соединены с помощью адгезива, лазерной сварки, ультразвуковой сварки или аналогичным образом. Корпус 310 может включать одно или более ребер 324, 325 жесткости, расположенных в различных местах для обеспечения поддержки от высокого давления текучей среды внутри корпуса 310. В некоторых процедурах ангиографии (ССА) давление текучей среды может достичь около 1200 пси. В некоторых вариантах осуществления множество ребер 324 жесткости могут выступать радиально от по меньшей мере части входного канала для текучей среды 312, первой секции 302 корпуса, второй секции 304 корпуса и выходного канала для текучей среды 314. В некоторых вариантах осуществления изобретения по меньшей мере одно ребро 325 жесткости может проходить параллельно входному каналу для текучей среды 312 и/или выходному каналу для текучей среды 314. В некоторых вариантах осуществления изобретения соединительная лапка 360 может дополнительно служить укрепляющим элементом для входного канала для текучей среды 312.

По фиг. 3-5 внутренняя камера 320 может иметь вогнутую, полусферическую внутреннюю поверхность 322 стенки для того, чтобы побудить инъекционную текучую среду, поступающую во внутреннюю камеру 320, течь во внутреннем вихре текучей среды, обозначенном на фиг. 4 вихревым потоком В. В некоторых вариантах осуществления внутренняя поверхность 322 стенки внутренней камеры 320, образуемая второй секцией 304 корпуса, может быть по существу полусферической или куполообразной. Как показано на фиг. 4, где устройство 300 для удерживания воздушных пузырьков показано в положении инъекции, входной канал для текучей среды 312 может проходить во внутреннюю камеру 320 по касательной к внутренней оболочке 322 для создания внутреннего вихря текучей среды. Входной канал для текучей среды 312 может иметь просвет 313 во внутренней камере 320 такой, что инъекционная текучая среда, протекающая во внутреннюю камеру 320 в направлении А, сливается с инъекционной текучей средой во внутренней камере 320, протекающей по траектории вихревого потока текучей среды В. Таким образом, инъекционная текучая среда, протекающая во внутреннюю камеру 320 из входного канала для текучей среды 312, попадает во внутренний вихрь текучей среды по существу в том же направлении, что и вихревой поток В, для поддержки вихря текучей среды. Таким образом, вихревой поток текучей среды В непрерывно течет во внутренней камере 320 до тех пор, пока инъекционная текучая среда продолжает поступать во внутреннюю камеру 320 из входного канала для текучей среды 312. Внутренняя стенка 322 может быть сформирована так, чтобы вызвать рециркуляцию инъекционной текучей среды в вихревой поток В.

По фиг. 4 выходной канал для текучей среды 314 может выходить из внутренней камеры 320 практически перпендикулярно внутренней оболочке 322 и вихревому потоку текучей среды В, так что вихревой поток текучей среды В проходит перпендикуллярно просвету 315 выходного канала для текучей среды 314. Таким образом, по меньшей мере часть инъекционной текучей среды в вихревом потоке В протекает за просвет 315 и обратно к просвету 313 входного канала для текучей среды 312 для поддержки вихря текучей среды.

По фиг. 4 внутренний вихрь текучей среды может удерживать один или более воздушных пузырьков 400 во внутренней камере 320 во время инъекционной процедуры, выполняемой инъекторной системой для текучей среды 2000. Когда инъекционная текучая среда вводится во внутреннюю камеру 320 через входной канал для текучей среды 312 любые пузырьки воздуха 400, присутствующие в поступающем инъекционной текучей среде, мигрируют к область низкого давления LP, образованную внутренним вихрем текучей среды в центре вихревого потока текучей среды В. Инъекционная текучая среда, протекающая в вихревом потоке текучей среды В, образует границу, которая по меньшей мере временно приостанавливает один или несколько воздушных пузырьков 400 в области низкого давления и по меньшей мере временно задерживает прохождение одного или более воздушных пузырьков 400 к выходному каналу для текучей среды 314. Один или несколько воздушных пузырьков 400, взвешенных в области низкого давления LP, могут коалесцировать, образуя один или более крупных воздушных пузырьков 402. Внутренняя стенка 322 может быть сформирована таким образом, чтобы вызвать рециркуляцию инъекционной текучей среды в вихревом потоке В и привести один или более воздушных пузырьков 400 в более плотное формирование в вихревом потоке В. Тем не менее, в процессе инъекции один или более крупных воздушных пузырьков 402 могут быть раздроблены или измельчены динамическими силами текучей среды на более мелкие пузырьки 404, которые могут мигрировать за пределы вихревого потока В.

По той же фиг. 4 в положении инъекции корпус 310 ориентирован таким образом, что выходной канал для текучей среды 314 проходит по существу вертикально вниз от внутренней камеры 320. Таким образом, направление потока С инъекционной текучей среды, вытекающей из внутренней камеры 320, в основном совпадает с направлением силы тяжести G. Поскольку воздух обладает плавучестью относительно инъекционной текучей среды, плавучесть воздушных пузырьков 400, 402 во внутренней камере 320 побуждает один или более воздушных пузырьков 400, 402 подниматься против направления силы тяжести G к верхней области внутренней камеры 320, и поэтому пузырьки воздуха 400, 402 остаются в удерживаемом состоянии во внутреннем вихре текучей среды во внутренней камере 320 в течение более длительного периода времени. Кроме того, даже взвешенные пузырьки 404 воздуха, которые пересекают границу, образованную вихревым потоком текучей среды В, под действием плавучести стремятся течь в направлении, противоположном направлению силы тяжести G, и таким образом еще больше задерживаются от перемещения через выходной канал для текучей среды 314.

В некоторых вариантах осуществления изобретения по меньшей мере часть выходного канала для текучей среды 314 может иметь диаметр поперечного сечения Do больше, чем диаметр поперечного сечения Di входного канала 312. Больший диаметр Do выходного канала для текучей среды 314 может уменьшить в выходном канале для текучей среды 314 скорость текучей среды, выходящей из внутренней камеры 320. Уменьшение скорости потока, следовательно, уменьшает силу сопротивления пузырьков 404 за пределами границы, образованной вихревым потоком текучей среды В, так что плавучесть пузырьков 404 может привести к преодолению сил сопротивления, заставляя пузырьки 404 двигаться к выходному каналу для текучей среды 314. В результате пузырьки 404 могут быть по меньшей мере временно задержаны от вытекания из выходного канала для текучей среды 314.

По той же фиг. 4 в некоторых вариантах осуществления изобретения диаметр Di входного канала для текучей среды 312 может быть выбран для управления скоростью потока инъекционной текучей среды, включая содержащиеся в ней воздушные пузырьки 400, во внутреннюю камеру 320. В частности, уменьшение диаметра Di увеличивает скорость потока. Диаметр Di входного канала для текучей среды 312 может быть выбран для получения относительно высокой скорости потока, что приводит к измельчению одного или более воздушных пузырьков 400. В некоторых вариантах осуществления диаметр Di входного канала для текучей среды 312 может быть около 3,7 мм (0,145 дюйма).

По фиг. 5 устройство 300 для удерживания воздушных пузырьков показано в положении заправки для выполнения операции заправки или продувки, при которой текучая среда вводится для заправки/прочистки устройства 300 для удерживания воздушных пузырьков и соответствующих путей 210А, 210В следования текучей среды перед процедурой инъекции для удаления воздуха из устройства 300 удерживания воздушных пузырьков и соответствующих путей 210А, 210В следования текучей среды. В положении заправки корпус 310 ориентирован так, что входной канал для текучей среды 312 и выходной канал для текучей среды 314 проходят по существу вертикально вверх от внутренней камеры 320. Таким образом, направление А потока инъекционной текучей среды, поступающей во внутреннюю камеру 320 через входной канал для текучей среды 312, по существу совпадает с направлением силы тяжести G. Диаметр Di входного канала для текучей среды 312 может быть достаточно мал, чтобы скорость потока текучей среды во входном канале для текучей среды 312 могла переносить пузырьки 400 воздуха против направления плавучести воздушных пузырьков 400. То есть, скорость потока через диаметр Di создает достаточную силу сопротивления для одного или более пузырьков 400, чтобы преодолеть плавучесть воздушных пузырьков 400 и втянуть их во внутреннюю камеру 320. В результате один или более пузырьков 400 переносятся инъекционной текучей средой во внутреннюю камеру 320.

В положении заправки выходной канал для текучей среды 314 также проходит по существу вертикально вверх от внутренней камеры 320, так что направление С потока инъекционной текучей среды, вытекающей из внутренней камеры 320, по существу противоположно направлению силы тяжести G. Плавучесть воздушных пузырьков 400 во внутренней камере 320 побуждает пузырьки воздуха 400, 402 всплывать вверх из внутреннего вихря текучей среды через выходной канал для текучей среды 314, действуя совместно с сопротивлением, связанным с потоком текучей среды, и тем самым очищая устройство 300 для удерживания воздушных пузырьков от воздушных пузырьков 400.

По фиг. 3-5 устройство 300 для удерживания воздушных пузырьков может включать соединительную лапку 360, отходящую от корпуса 300. Соединительная лапка 360 может быть выполнена с возможностью соединения с корпусом 12 инъектора или другим элементом, связанным с проточным каналом или инъектором (см. фиг. 1-2). В частности, соединительная лапка 360 может быть выполнена с возможностью взаимодействия с приводом, связанным с контроллером 900 (см. фиг. 2) инъекторной системы для текучей среды 2000. Контроллер 900 может быть запрограммирован или сконфигурирован с возможностью поворота устройства 300 для удерживания воздушных пузырьков между положением инъекции и положением заправки посредством соединительной лапки 360 в соответствии с протоколом инъекции. В альтернативном исполнении соединительная лапка 360 может быть выполнена с возможностью крепления к инъекторной системе для текучей среды в положении инъекции или заправки и может быть выполнена с возможностью ручного поворота пользователем устройства 300 для удерживания воздушных пузырьков между положением инъекции и положением заправки посредством соединительной лапки 360, например в ответ на подсказку системы на графическом интерфейсе пользователя, чтобы подготовить инъектор текучей среды к процедуре инъекции текучей среды.

На фиг. 6 показан вариант осуществления устройства 300 удерживания воздушных пузырьков. Вариант устройства для удерживания воздушных пузырьков, показанный на фиг. 6, может быть по существу аналогичен варианту, показанному на фиг. 3-5, и ниже будут рассмотрены только различия между ними. Вариант устройства 300 для удерживания воздушных пузырьков, показанный на фиг. 6, может включать клапан 350 для продувки воздуха на корпусе 310, находящемся в сообщении по текучей среде с внутренней камерой 320. В частности, клапан 350 для продувки воздуха может находиться в сообщении по текучей среде с самой верхней областью внутренней камеры 320. Клапан 350 для продувки воздуха может быть применен для удаления воздуха, скопившегося во внутренней камере 320, особенно после завершения процедуры инъекции при использовании многопациентной установки для проведения нескольких последовательных инъекций с использованием многопациентного одноразового набора и одноразового набора для одного пациента. Клапан 350 для продувки воздуха может быть установлен в закрытое положение во время выполнения процедуры инъекции так, что любые пузырьки воздуха 400, 402, присутствующие в инъекционной текучей среде, удерживаются во внутренней камере 320 таким же образом, как описано на фиг. 3-5. По завершении процедуры инъекции и перед началом следующей процедуры инъекции внутренний вихрь текучей среды и вихревой поток В (показанного на фиг. 4) рассеиваются из-за отсутствия потока текучей среды во внутренней камере 320. Таким образом, вихревой поток В (показанный на фиг. 4) больше не представляет собой границу потока для одного или более коалесцированных воздушных пузырьков 402, удержанных во внутренней камере 320. Таким образом, один или более коалесцированных воздушных пузырьков 402 могут под действием выталкивающей силы всплыть в самую верхнюю область внутренней камеры 320, прилегающую к клапану 350 продувки воздуха. Клапан 350 продувки воздуха может быть переведен в открытое положение либо вручную оператором либо автоматически контроллером 900, так что один или более пузырьков коалесцированного воздуха 402 могут вытекать из внутренней камеры 320 через клапан 350 продувки воздуха, например с небольшим потоком текучей среды в камеру для замещения объема очищенного текучей средой воздуха. В некоторых вариантах осуществления изобретения выход клапана 350 продувки воздуха может быть соединен с источником вакуума, таким как ручной шприц (не показан), чтобы помочь удалить один или более коалесцированных воздушных пузырьков 402 из внутренней камеры 320. После удаления одного или более коалесцированных воздушных пузырьков 402 из внутренней камеры 320 клапан 350 продувки воздуха может быть возвращен в закрытое положение для подготовки к последующей процедуре инъекции. Клапан 350 продувки воздуха может представлять собой запорный кран, зажимной клапан или т.п.

По фиг. 6 в некоторых вариантах осуществления устройство 300 удерживания воздушных пузырьков может включать регулируемый клапан 352, связанный с входным каналом для текучей среды 312 и/или регулируемый клапан 354, связанный с выходным каналом для текучей среды 314. Регулируемый клапан 352 может быть настроен на изменение площади поперечного сечения входного канала для текучей среды 312, а регулируемый клапан 354 может быть настроен на изменение площади поперечного сечения выходного канала для текучей среды 314. Уменьшение площади поперечного сечения входного канала для текучей среды 312 и/или выходного канала для текучей среды 314 увеличивает скорость потока, тогда как увеличение площади поперечного сечения входного канала для текучей среды 312 и/или выходного канала для текучей среды 314 уменьшает скорость потока. В некоторых вариантах осуществления изобретения может быть желательно увеличить площадь поперечного сечения входного канала для текучей среды 312, тем самым уменьшая скорость потока через входной каналл для текучей среды 312, поскольку уменьшенная скорость потока может с меньшей вероятностью вытеснить пузырьки воздуха, прилипшие к поверхностям входного канала для текучей среды 312. В некоторых вариантах осуществления изобретения может быть желательно увеличить площадь поперечного сечения выходного канала для текучей среды 314, тем самым уменьшив скорость потока через выходной канал для текучей среды 314, поскольку уменьшенная скорость потока может с меньшей вероятностью переносить пузырьки воздуха из вихря 402 текучей среды через выходной канал для текучей среды 314. Регулируемые клапаны 352, 354 могут представлять собой задвижки, запорные клапаны или аналогичные.

На фиг. 7-8 показан вариант осуществления устройства 300 удерживания воздушных пузырьков. Вариант осуществления устройства 300 для удерживания воздушных пузырьков, показанный на фиг. 7-8, может быть по существу аналогичен вариантам осуществления, показанным на фиг. 3-6, и ниже будут рассмотрены только различия. Вариант осуществления устройства 300 для удерживания воздушных пузырьков, показанный на фиг. 7-8, может включать углубление 326, образованное во внутренней оболочке 322 и отходящее радиально наружу от самой верхней области внутренней камеры 320, расположенной по существу напротив выходного канала для текучей среды 314. Углубление 326 может принимать и удерживать один или более воздушных пузырьков 408. Подробнее, углубление 326 может быть приспособлено для приема и удерживания одного или более воздушных пузырьков 408 в форме микропузырьков, образующихся при газовыделении медицинской текучей среды. В некоторых вариантах осуществления изобретения в углублении 326 может быть размещен клапан 350 для продувки воздуха, описанный по фиг. 6, чтобы один или более воздушных пузырьков 408, скопившихся в углублении 326, могли быть удалены из углубления 326.

На фиг. 9-14 показан вариант осуществления устройства 300 удерживания воздушных пузырьков. Вариант осуществления устройства 300 для удерживания воздушных пузырьков, показанный на фиг. 9-14, может включать несколько общих признаков и компонентов с вариантами осуществления, показанными на фиг. 3-8, и любые элементы, не описанные конкретно по фиг. 9-14, понимаются по существу аналогичными элементам вариантов осуществления, показанных на фиг. 3-8. В варианте осуществления устройства 300 для удерживания воздушных пузырьков, показанном на фиг. 9-14, корпус 310 включает экран 328, разделяющий внутреннюю камеру 320 на входную часть 332 и выходную часть 334. Различные варианты осуществления экрана 328 описаны в данном документе по фиг. 9-14. Экран 328 может быть расположен проксимально выходному каналу для текучей среды 314. Экран 328 может включать по меньшей мере одно отверстие 340, обеспечивающее сообщение по текучей среде между входным участком 332 и выходным участком 334. Инъекционная текучая среда, поступающая во внутреннюю камеру 320 из входного канала для текучей среды 312 должна впоследствии проходить через по меньшей мере одно отверстие 340 экрана 328, чтобы достичь выходного канала для текучей среды 314. В некоторых вариантах осуществления экран 328 может включать по меньшей мере одно воронкообразное отверстие 342, образующее по меньшей мере одно отверстие 340. Воронка 342 может сужаться от максимальной площади поперечного сечения рядом с входным участком 332 внутренней камеры 320 до минимального поперечника, выступающего в выходную часть 334 внутренней камеры 320. В некоторых вариантах осуществления изобретения по меньшей мере часть экрана 328 может иметь гидрофильное покрытие, которое побуждает пузырьки воздуха в инъекционной текучей среде прилипать к экрану 328 и по меньшей мере временно задерживать поток таких воздушных пузырьков в направлении выходного канала для текучей среды 314.

По тем же фиг. 9-14 устройство 300 удерживания воздушных пузырьков может дополнительно включать удлинительную трубку 370, находящуюся в сообщении по текучей среде с входным каналом для текучей среды 312 и проходящую от нее во внутреннюю камеру 320. Удлинительная трубка 370 может включать конец 372, отстоящий от оси потока выходного канала для текучей среды 314, так что инъекционная текучая среда, поступающая во внутреннюю камеру 320 через удлинительную трубку 370, направлена в сторону от выходного канала для текучей среды 314. В некоторых вариантах осуществления удлинительная трубка 370 может проходить дальше по меньшей мере одного отверстия 340 в экране 328, в результате чего инъекционная текучая среда, втекающая во внутреннюю камеру 320 из входного канала для текучей среды 312, попадает в вихревой поток В до достижения по меньшей мере одного отверстия 340. Входная часть 332 внутренней камеры 320 может быть по меньшей мере частично полусферическим или куполообразным, где вихревой поток В течет вдоль внутренней оболочки 322 внутренней камеры 320.

По тем же фиг. 9-14 входной канал для текучей среды 312 и удлинительная трубка 370 могут быть ориентированы под острым углом относительно выходного канала для текучей среды 314 так, что инъекционная текучая среда, поступающая во внутреннюю камеру 320 из удлинительной трубки 370, направлена в сторону от просвета 315 выходного канала для текучей среды 314.

На фиг. 10-13 показана последовательность, демонстрирующая вариант осуществления эффекта удерживания пузырьков во внутренней камере 320 во время выполнения инъекционной процедуры. По фиг. 10 текучая среда для инъекций может течь в направлении А через входной канал для текучей среды 312 и удлинительную трубку 370 во внутреннюю камеру 320. Один или более воздушных пузырьков 400 могут перемещаться вместе с инъекционной текучей средой во внутреннюю камеру 320. Ориентация удлинительной трубки 370 направляет инъекционную текучую среду и один или более пузырьков 400 в вихревой поток В. Кроме того, плавучесть одного или более пузырьков 400 относительно инъекционной текучей среды препятствует прохождению одного или более воздушных пузырьков через по меньшей мере одно отверстие 340 в экране 328 к выходному каналу для текучей среды 314.

По фиг. 11 по мере того, как инъекционная текучая среда течет в вихревом потоке В, один или более воздушных пузырьков 400 могут мигрировать к области низкого давления LP в центре вихревого потока В, тем самым становясь по меньшей мере временно удержанными во внутренней камере 320. Далее, один или более воздушных пузырьков 400 могут коалесцировать в один или более коалесцированных воздушных пузырьков 402 большего объема в области низкого давления LP, в то время как инъекционная текучая среда и дополнительные воздушные пузырьки 400 продолжают поступать во внутреннюю камеру 320 через удлинительную трубку 370 (см. фиг. 12).

На фиг. 13 показано устройство 300 для удерживания воздушных пузырьков после прекращения потока текучей среды во внутреннюю камеру 320, например, после завершения инъекционной процедуры. Поскольку во внутреннюю камеру 320 не поступает новый инъекционная текучая среда для поддержки внутреннего вихря текучей среды, вихревой поток В (показанный на фиг. 9-12) рассеивается и больше не представляет собой границу потока для одного или более коалесцированных воздушных пузырьков 402, удерживаемых во внутренней камере 320. Таким образом, один или более коалесцированных воздушных пузырьков 402 могут всплыть в верхнюю область внутренней камеры 320 за счет плавучести одного или более коалесцированных воздушных пузырьков 402 относительно инъекционной текучей среды В некоторых вариантах осуществления изобретения устройство 300 для удерживания воздушных пузырьков может включать клапан 350 для продувки воздуха (по существу, как описано в данном документе по фиг. 7), находящийся в сообщении по текучей среде с самой верхней областью внутренней камеры 320 для облегчения удаления одного или более коалесцированных воздушных пузырьков 402 из внутренней камеры 320, например, между двумя инъекционными процедурами, когда используется последовательность инъекций для нескольких пациентов.

По фиг. 9-14 устройство 300 для удерживания воздушных пузырьков можно повернуть приблизительно на 180° из положения инъекции, показанного на фиг. 10-13, в положение заправки, показанное на на фиг. 14. В положении инъекции выходной канал для текучей среды 314 проходит по существу вертикально вниз от внутренней камеры 320. Таким образом, направление С инъекционной текучей среды, вытекающей из внутренней камеры 320, в основном совпадает с направлением силы тяжести G. Поскольку воздух обладает плавучестью относительно инъекционной текучей среды, плавучесть воздушных пузырьков 400, 402 во внутренней камере 320 побуждает один или более воздушных пузырьков 400, 402 всплывать против направления силы тяжести G к верхней области внутренней камеры 320, и поэтому пузырьки воздуха стремятся остаться в удерживаемом состоянии во внутреннем вихре текучей среды во внутренней камере 320. Кроме того, даже пузырьки воздуха, которые пересекают границу, образованную вихревым потоком текучей среды В, вынуждены течь против направления силы тяжести G и через экран 328 и, таким образом, еще больше задерживаются от достижения выходного канала для текучей среды 314.

В положении заправки, показанном на фиг. 14, выходной канал для текучей среды 314 простирается по существу вертикально вверх от внутренней камеры 320 таким образом, что направление потока С инъекционной текучей среды, вытекающей из внутренней камеры 320, по существу противоположно направлению силы тяжести G. Плавучесть воздушных пузырьков 400, 402 во внутренней камере 320 вынуждает пузырьки воздуха 400, 402 выходить из камеры 320 через выходной канал для текучей среды 314, тем самым очищая устройство 300 для удерживания воздушных пузырьков от воздуха.

По фиг. 9 устройство 300 для удерживания воздушных пузырьков может включать соединительную лапку 360, отходящую от корпуса 300. Соединительная лапка 360 может быть выполнена с возможностью соединения с корпусом 12 инъектора или другим элементом, связанным с проточным каналом или инъекторной системой 2000 (см. фиг. 12). В частности, соединительная лапка 360 может быть выполнена с возможностью взаимодействия с приводом, находящимся в связи с контроллером 900 (см. фиг. 2) инъекторной системы для текучей среды 2000. Контроллер 900 может быть запрограммирован или сконфигурирован с возможностью поворота устройства 300 для удерживания воздушных пузырьков между положением инъекции и положением заправки посредством соединительной лапки 360 в соответствии с протоколом инъекции. В альтернативном исполнении соединительная лапка 360 может быть выполнена с возможностью крепления к инъекторной системе для текучей среды в положении инъекции или заправки и может быть выполнена с возможностью ручного поворота пользователем устройства 300 для удерживания воздушных пузырьков между положением инъекции и положением заправки посредством соединительной лапки 360, например, в ответ на подсказку системы на графическом интерфейсе 11, чтобы подготовить инъектор текучей среды к процедуре инъекции текучей среды.

На фиг. 15 и 16 показан вариант осуществления устройства 300 для удерживания воздушных пузырьков. Вариант осуществления устройства 300 для удерживания воздушных пузырьков, показанный на фиг. 15 и 16, может включать множество общих признаков и компонентов с различными вариантами осуществления, показанными на фиг. 3-13, и любые элементы, специально не описанные по фиг. 15 и 16, считаются по существу аналогичными элементам любого из вариантов осуществления по фиг. 3-13. В варианте осуществления устройства 300 для удерживания воздушных пузырьков, показанном на фиг. 15 и 16, корпус 310 может быть сформирован на первой секции 302 корпуса и второй секции 304 корпуса, из которых первая секция корпуса 302 включает входной канал для текучей среды 312, удлинительную трубку 370 и выходной канал для текучей среды 314. Входной канал для текучей среды 312 может проходить под острым углом относительно выходного канала для текучей среды 314. Вторая секция 304 корпуса может быть полусферической или куполообразной, так что вихревой поток В проходит вдоль внутренней оболочки 322 внутренней камеры 320 круговым или иным непрерывным образом. Первая секция 302 корпуса может включать фланец 308, выполненный с возможностью приема концевого элемента 308, например кромки, второй секции 304 корпуса. В некоторых вариантах осуществления фланец 306 может быть предусмотрен на второй секции 304 корпуса, а концевой элемент 308 может быть предусмотрен на первой секции 302 корпуса. Первая секция 302 корпуса и вторая секция 304 корпуса могут быть соединены посредством адгезива, лазерной сварки, ультразвуковой сварки или аналогичного.

По фиг. 15 и 16 удлинительная трубка 370 может проходить дальше просвета 315 выходного канала для текучей среды 314 так, что инъекционная текучая среда, поступающая во внутреннюю камеру 320, направляется в вихревой поток В дальше от выходного канала для текучей среды 314. Как и в вариантах осуществления, показанных на фиг. 3-13 вихревой поток В создает границу, которая по меньшей мере временно задерживает прохождение одного или более воздушных пузырьков 400, удерживаемых во внутренней камере 320, к выходному каналу для текучей среды 314. В некоторых вариантах осуществления отверстие 315 выходного канала для текучей среды 314 может быть расположен относительно удлинительной трубки 370, например под удлинительной трубкой 370, так что удлинительная трубка 370 создает препятствие для потока текучей среды и/или воздушных пузырьков 400, текущих к выходному каналу для текучей среды 314.

В некоторых вариантах осуществления внутренний диаметр входного канала для текучей среды 312 может убывать так, что проксимальная площадь Ар поперечного сечения восходящего входного канала для текучей среды 312 меньше дистальной площади Ad поперечного сечения нисходящего входного канала 3 для текучей среды 12. В некоторых вариантах осуществления проксимальная площадь Ар поперечного сечения может быть по существу круглой, а дистальная площадь поперечного сечения Ad может быть по существу эллиптической или овальной. В некоторых вариантах осуществления изобретения за счет увеличения площади Ad поперечного сечения в нижнем течении относительно площади Ар поперечного сечения в верхнем течении скорость потока текучей среды (например, от около 0,1 мл/с до 30 мл/с) во входном канале для текучей среды 312 может замедлиться, что позволяет пузырькам 410 воздуха во входном канале для текучей среды 312 прилипать к боковой стенке 317 большей площади Ad, поперечного сечения, например, за счет поверхностного натяжения. Снижение скорости потока текучей среды во входном канале для текучей среды 312 в результате увеличения площади Ad дистального поперечного сечения может быть недостаточным для немедленного отрыва прилипших воздушных пузырьков 410 от боковой стенки 317. Другими словами, сила прилипания воздушных пузырьков 410 к боковой стенке 317 может быть больше, чем сила, действующая на воздушные пузырьки 410 со стороны инъекционной текучей среды, протекающей через дистальную область Ad поперечного сечения. Таким образом, воздушные пузырьки 410 по меньшей мере временно задерживаются при втекании во внутреннюю камеру 320 и следовательно задерживается вытекание текучей среды через выходной канал для текучей среды 314. В некоторых вариантах осуществления изобретения увеличенная дистальная площадь Ad поперечного сечения входного канала для текучей среды 312 может предоставить возможность инъекционной текучей среде течь вокруг воздушных пузырьков 410, прилипших к боковой поверхности 317, а не втекать в воздушные пузырьки 410, прилипшие к боковой поверхности 317, и потенциально извлекать их. В некоторых вариантах осуществления увеличенная дистальная площадь Ad поперечного сечения входного канала для текучей среды 312 может позволить воздушным пузырькам 410 прилипать к боковой поверхности 317 по меньшей мере частично за пределами основного канала инъекционного потока текучей среды через входной канал для текучей среды 312. В некоторых вариантах осуществления внутренняя поверхность входного канала для текучей среды 312 может быть выполнена с возможностью привлечения и прилипания воздушных пузырьков, например, посредством обработки поверхности, нанесенной на боковину 317. Такие особенности, касающиеся различных площадей поперечного сечения входного канала для текучей среды 312, также применимы к другим вариантам осуществления устройства 300 для удерживания воздушных пузырьков, описанным в настоящем документе.

По фиг. 15 и 16 устройство 300 для удерживания воздушных пузырьков можно повернуть приблизительно на 180° из положения инъекции, показанного на фиг. 15, в положение заправки, аналогичное фиг. 5 или 14. В положении инъекции выходной канал для текучей среды 314 проходит по существу вертикально вниз от внутренней камеры 320. Таким образом, направление С потока инъекционной текучей среды, вытекающего из внутренней камеры 320, в основном совпадает с направлением силы тяжести G. Поскольку воздух обладает плавучестью относительно инъекционной текучей среды, плавучесть воздушных пузырьков 400, 402 во внутренней камере 320 побуждает один или более воздушных пузырьков 400, 402 всплывать против направления силы тяжести G к верхней области внутренней камеры 320, и поэтому пузырьки воздуха 400, 402 остаются в удерживаемом состоянии во внутреннем вихре текучей среды во внутренней камере 320. Кроме того, даже пузырьки воздуха, которые пересекают границу, образованную вихревым потоком В текучей среды, вынуждены течь против направления силы тяжести G и через экран 328 и, таким образом, еще больше задерживаются от достижения выходного канала для текучей среды 314.

В положении заправки выходной канал для текучей среды 314 проходит по существу вертикально вверх от внутренней камеры 320 таким образом, что направление С потока инъекционной текучей среды, вытекающей из внутренней камеры 320, по существу противоположно направлению силы тяжести G. Плавучесть воздушных пузырьков 400, 402 во внутренней камере 320 побуждает пузырьки воздуха 400, 402 вытекать из камеры 320 через выходной канал для текучей среды 314, тем самым очищая устройство 300 для удерживания воздушных пузырьков от воздуха.

По фиг. 15 и 16 устройство 300 для удерживания воздушных пузырьков может включать соединительную лапку 360, отходящую от корпуса 300. Соединительная лапка 360 может быть выполнена с возможностью соединения с корпусом 12 инъектора или другим элементом, связанным с поточным каналом или инъекторной системой 2000 (см. фиг. 12). В частности, соединительная лапка 360 может быть выполнена с возможностью взаимодействия с приводом, находящимся в связи с контроллером 900 (см. фиг. 2) инъекторной системы для текучей среды 2000. Контроллер 900 может быть запрограммирован или сконфигурирован с возможностью поворота устройства 300 для удерживания воздушных пузырьков между положением инъекции и положением заправки посредством соединительной лапки 360 в соответствии с протоколом инъекции. В альтернативном исполнении соединительная лапка 360 может быть выполнена с возможностью крепления к инъекторной системе текучей среды в положении инъекции или заправки и может быть выполнена с возможностью поворота пользователем вручную устройства 300 удерживания воздушных пузырьков между положением инъекции и положением заправки посредством соединительной лапки 360, например в ответ на подсказку системы на графическом интерфейсе 11, чтобы подготовить инъектор текучей среды к процедуре инъекции текучей среды.

На фиг. 17-18 показан один из вариантов осуществления устройства 300 удерживания воздушных пузырьков. Вариант осуществления устройства 300 удерживания воздушных пузырьков, показанный на фиг. 17-18 может включать множество общих признаков и компонентов с различными вариантами осуществления, показанными на фиг. 3-16, и в частности на фиг. 9-14, и любые элементы, не описанные конкретно по фиг. 17-18, считаются по существу аналогичными элементам любого из вариантов осуществления по фиг. 3-16. В варианте осуществления устройства 300 удерживания воздушных пузырьков, показанного на фиг. 17-18, корпус 310 может быть образован первой секцией 302 корпуса и второй секцией 304 корпуса, из которых первая секция 302 корпуса включает входной канал для текучей среды 312, удлинительную трубку 370 и выходной канал для текучей среды 314. Входной канал для текучей среды 312 может проходить под острым углом относительно выходного канала для текучей среды 314. Вторая секция 304 корпуса может быть полусферической или куполообразной, так что вихревой поток В текучей среды проходит вдоль внутренней оболочки 322 внутренней камеры 320 круговым или иным непрерывным образом. Первая секция 302 корпуса может включать фланец 306, выполненный с возможностью приема концевого элемента 308, например кромки, второй секции 304 корпуса. В некоторых вариантах осуществления фланец 306 может быть предусмотрен на второй секции 304 корпуса, а концевой элемент 308 может быть предусмотрен на первой секции 302 корпуса. Первая секция 302 корпуса и вторая секция 304 корпуса могут быть соединены посредством адгезива, лазерной сварки, ультразвуковой сварки или аналогичного.

По фиг. 17-18 между первой секцией 302 корпуса и второй секцией 304 корпуса может быть установлен экран 328. В некоторых вариантах осуществления экран 328 может войти внутрь фланца 306, так что концевой элемент 308 удерживает экран 328 в положении между первой секцией 302 корпуса и второй секцией 304 корпуса. Экран 328 может разделять внутреннюю камеру 320 на входную часть 332 и выходную часть 334. Экран 328 может включать по меньшей мере одно отверстие 340 (как показано на фиг. 19-24), обеспечивающее связь текучей среды между входной частью 332 и выходной частью 334. Инъекционная текучая среда, втекающая во внутреннюю камеру 320 из входного канала для текучей среды 312, должна впоследствии протечь через по меньшей мере одно отверстие 340 экрана 328, чтобы достичь выходной части 334 и выходного канала для текучей среды 314. В некоторых вариантах осуществления экран 328 может иметь гидрофильное покрытие, которое побуждает воздушные пузырьки 400 в инъекционной текучей среде прилипать к экрану 328, например, путем увеличения поверхностного натяжения или адгезии между ними, и тем самым по меньшей мере временно задерживая поток таких прилипших воздушных пузырьков 400 в направлении выходного канала для текучей среды 314. Удлинительная трубка 370 может быть расположена во внутренней камере 320 так, чтобы инъекционная текучая среда, поступающая во внутреннюю камеру, была направлен к вихревому потоку В и в сторону от одного или более отверстий 340 экрана 328. Например, одно или несколько отверстий 340 экрана 328 могут быть расположены на части экрана 328 проксимальнее дистального выхода удлинительной трубки 370.

На фиг. 19-24 показаны различные варианты экрана 328, которые подходят для применения в вариантах осуществления устройств 300 удерживания воздушных пузырьков, описанных в данном документе по фиг. 9-13 и 17-18. По фиг. 19 экран 328 может включать множество отверстий 340, распределенных по экрану 328 по существу равномерно.

Далее по фиг. 20-24 экран 328 может включать сплошную часть 380, непроницаемую для текучей среды и воздуха, и одно или более отверстий 340, расположенных под сплошной частью 380, например расположенных на части экрана 328 проксимальнее дистального выхода удлинительной трубки 370 в собранном состоянии. Экран 328 может быть расположен в устройстве 300 удерживания воздушных пузырьков так, что сплошная часть 380 прилегает к удлинительной трубке 370. Таким образом, инъекционная текучая среда, поступающая во внутреннюю камеру 320 через удлинительную трубку 370, должна попасть в вихревой поток В и циркулировать во внутренней камере 320 по меньшей мере один раз, прежде чем достигнет одного или более отверстий 340. В варианте осуществления, показанном на фиг. 20, сплошная часть 380 занимает примерно половину экрана 328, а одно или более отверстий 340 занимают примерно половину экрана 328. В варианте осуществления, показанном на фиг. 21, сплошная часть 380 занимает большую часть экрана 328, чем одно или более отверстий 340. В некоторых вариантах осуществления изобретения одно или более отверстий 340 могут быть расположены по любой схеме, например в виде сетки, дуги или линии. В некоторых вариантах осуществления изобретения одно или более отверстий 340 могут быть неравномерно распределены по экрану 328.

В варианте осуществления, показанном на фиг. 22, экран 328 включает единственное отверстие 340, смещенное от центральной линии CL экрана 328. Сплошная часть 380 занимает оставшуюся часть экрана 328. Смещение отверстия 340 от центральной линии CL экрана 328 может вынудить воздушные пузырьки во внутренней камере 320 (см. фиг. 17-18) изменить направление, чтобы достичь и пройти через отверстие 340, тем самым еще больше задерживая поток воздушных пузырьков, выходящих из устройств 300 удерживания воздушных пузырьков.

По фиг. 23 экран 328 может включать по меньшей мере одну воронку 342, образующую по меньшей мере одно отверстие 340. Воронка 342 может сужаться от максимальной площади поперечного сечения у входной части 332 внутренней камеры 320 до минимального поперечника, выступающего в выходную часть 334 внутренней камеры 320 (см. фиг. 9-14 и 17-18).

По фиг. 24 в некоторых вариантах осуществления экрана 328 каждое из одного или более отверстий 340 может быть частично закрыто колпачком 344. Каждый колпачок 344 может быть выведен от экрана 328 во входную часть 332 внутренней камеры 320 (см. фиг. 17-18) и против направления потока текучей среды так, что текучая среда и любые связанные с ней воздушные пузырьки во входной части 332 вынуждены обтекать колпачок 344, чтобы пройти через соответствующее отверстие 340. В некоторых вариантах осуществления изобретения колпачки 344 могут быть выполнены так, чтобы воздушные пузырьки прилипали к колпачкам 344, например, посредством поверхностного натяжения, чтобы задержать поток воздушных пузырьков из входной части 332.

Во всех вариантах осуществления экрана 328, показанных на фиг. 19-24, экран 328 может иметь гидрофильное покрытие, которое приводит к прилипанию воздушных пузырьков в инъекционной текучей среде к экрану 328 и тем самым по меньшей мере временно задерживает поток таких воздушных пузырьков в направлении выходного канала для текучей среды 314. В различных вариантах осуществления другие поверхности внутренней камеры 320 могут быть по меньшей мере частично покрыты гидрофильным покрытием. Кроме того, любая часть экрана 328 или его различные элементы могут быть выполнены с возможностью прилипания воздушных пузырьков к экрану 328, например, за счет поверхностного натяжения, чтобы задержать поток воздушных пузырьков через одно или несколько отверстий 340. В некоторых вариантах осуществления экран 328 может быть сеткой, например, из материала, который легко прилипает к поверхности воздушных пузырьков.

Согласно некоторым вариантам осуществления изобретения, перепад давления текучей среды в экране 328 может быть практически нулевым, так что не происходит значительного изменения скорости текучей среды у экрана 328, что может привести к перемещению воздушных пузырьков, прилипших к экрану 328. Вместо этого инъекционная текучая среда может свободно протекать через другие отверстия 340 или пути в экране вместо того, чтобы вытеснять воздушные пузырьки, прилипшие к экрану 328. Например, объем входной части 332 (см. фиг. 17-18) перед экраном 328 может быть практически таким же, как объем выходной части 334 (см. фиг. 17-18) непосредственно перед экраном 328, так что значительного изменения давления текучей среды из-за ограничения пути потока не происходит.

Следует понимать, что признаки различных вариантов осуществления экрана 328, показанных на фиг. 19-24, могут быть объединены друг с другом и все еще попадают в объем притязяний настоящего изобретения.

По фиг. 25 различные варианты осуществления устройства 300 удерживания воздушных пузырьков могут включать в себя цилиндрический корпус 310, от которого отходят входной канал для текучей среды 312 и выходной канал для текучей среды 314. Впускной канал для текучей среды 312 и выходной канал для текучей среды 314 могут находиться в соединении по текучей среде с противоположными концами внутренней камеры 320. Когда инъекционная текучая среда вводится во внутреннюю камеру 320 через входной канал для текучей среды 312 в направлении, по существу касательном к дуге цилиндрического корпуса 310, образуется внутренний вихрь текучей среды в виде спирального или винтового вихревого потока В, протекающего по внутренней стенке 322 внутренней камеры 320. Один или более воздушных пузырьков 400, переносимых инъекционной текучей средой, мигрируют к области низкого давления LP в центре вихревого потока В. Инъекционная текучая среда в вихревом потоке В образует границу по меньшей мере временно препятствующую протеканию одного или более воздушных пузырьков 400 к выходному каналу для текучей среды 314. Длина спиралевидного или винтового вихревого потока В может быть пропорциональна высоте корпуса 310. Поэтому высота корпуса 310 может быть пропорциональна времени, на которое поток воздушных пузырьков 400 задерживается во внутренней камере 320. Таким образом, увеличение цилиндрической высоты корпуса 310 может привести к увеличению времени задержки одного или более воздушных пузырьков 400 в спиральном вихревом потоке В.

По фиг. 25 устройство 300 удерживания воздушных пузырьков может быть повернуто из положения инъекции в положение заправки контроллером 900 (см. фиг. 2) или вручную пользователем. В положении инъекции, показанном на фиг. 25, устройство 300 для удерживания воздушных пузырьков может быть ориентировано так, чтобы выходной канал для текучей среды 314 был расположен ниже входного канала для текучей среды 312. Таким образом, плавучесть одного или более воздушных пузырьков 400 во внутренней камере 320 вынуждает один или более воздушных пузырьков 400 всплыть вверх во внутренней камере 320 против направления силы тяжести G и направления вихревого потока В и в сторону от выходного канала для текучей среды 314.

В положении заправки устройство 300 удерживания воздушных пузырьков может быть ориентировано таким образом, чтобы выходной канал для текучей среды 314 был расположен выше входного канала для текучей среды 312, например, путем поворота устройства 300 для удерживания воздушных пузырьков примерно на 180° вокруг боковой оси. Таким образом, плавучесть одного или более воздушных пузырьков 400 во внутренней камере 320 вынуждает один или более воздушных пузырьков 400 всплывать вверх во внутренней камере 120 по направлению к выходному каналу для текучей среды 314, тем самым очищая внутреннюю камеру 320 от воздуха под действием потока загрузочной текучей среды.

Устройство 300 удерживания воздушных пузырьков может включать соединительную лапку 360, отходящую от корпуса 300. Соединительная лапка 360 может быть выполнена с возможностью соединения с корпусом 12 инъектора или другим элементом, связанным с проточным каналом или инъекторной системой 2000 (см. фиг. 1-2). В частности, соединительная лапка 360 может быть выполнена с возможностью взаимодействия с приводом, находящимся в связи с контроллером 900 (см. фиг. 2) инъекторной системы для текучей среды 2000. Контроллер 900 может быть запрограммирован или сконфигурирован с возможностью поворота устройства 300 удерживания воздушных пузырьков между положением инъекции и положением заправки через соединительную лапку 360 в соответствии с протоколом инъекции. В альтернативном исполнении соединительная лапка 360 может быть выполнена с возможностью крепления к инъекторной системе для текучей среды в положении инъекции или заправки и может быть настроена под пользователя, чтобы вручную поворачивать устройство 300 удерживания воздушных пузырьков между положением инъекции и положением заправки через соединительную лапку 360, например, в ответ на подсказку системы на графическом интерфейсе 11, чтобы подготовить инъектор текучей среды к инъекционной процедуре.

В некоторых вариантах осуществления изобретения дистальная поверхность корпуса 300 может включать выступ 384, выходящий вверх во внутреннюю камеру 320. Выступ 384 может иметь примерно куполообразную, коническую и/или гауссову поверхность. Выступ 384 может выступать на любую высоту в пределах внутренней камеры 320. В некоторых вариантах осуществления изобретения выступ 384 может выступать до половины высоты внутренней камеры 320. Выступ 384 может препятствовать движению одного или более воздушных пузырьков 400 к отверстию 315 выходного канала для текучей среды 314, поскольку он находится в области низкого давления LP вихря текучей среды и препятствует движению одного или более воздушных пузырьков 400 в области низкого давления LP вниз мимо выступа 384 к выходному каналу для текучей среды 314. Таким образом, выступ 384 дополнительно удерживает один или более воздушных пузырьков 400 во внутренней камере 320 вместе с взвесью пузырьков, обеспечиваемой вихрем текучей среды.

В некоторых вариантах осуществления изобретения корпус 300 может включать куполообразное или коническое углубление 326, отходящее от проксимальной поверхности внутренней камеры 320, аналогичное по функции углублению 326 на фиг. 7-8. Углубление 326 может принимать и удерживать один или более воздушных пузырьков 400, всплывающих вверх во внутренней камере 320 под действием плавучести, для удаления одного или более воздушных пузырьков 400 из вихревого потока В. Углубление 326 также может быть приспособлено для приема и удерживания одного или более воздушных пузырьков в форме микропузырьков, образующихся при газовыделении медицинской текучей среды. В некоторых вариантах осуществления изобретения клапан 350 для продувки воздуха, описанный по фиг. 6, может быть расположен на корпусе 300 в сообщении по текучей среде с углублением 326 так, что один или более воздушных пузырьков 400, скопившихся в углублении 326, могут быть удалены из углубления 326, как описано в данном документе.

Во всех описанных здесь вариантах осуществления устройства 300 удерживания воздушных пузырьков корпус 310 может быть по меньшей мере частично выполнен из прозрачного или полупрозрачного светопропускающего материала, такого как поликарбонат, который может действовать как световод. Направляя источник света на корпус 310, один или более пузырьков 400, 402, 404, 406, 408 могут быть освещены таким образом, чтобы оператор мог легче определить наличие воздушных пузырьков в устройстве 300 удерживания воздушных пузырьков.

Следует понимать, что признаки различных вариантов осуществления устройства 300 удерживания воздушных пузырьков, показанных на фиг. 3-25, могут быть объединены друг с другом и все равно попадают в объем настоящего изобретения.

Хотя в предыдущем описании были приведены различные примеры настоящего изобретения, специалисты в данной области техники могут вносить изменения и дополнения в эти примеры, не отступая от объема и сущности изобретения. Например, следует понимать, что признаки различных вариантов осуществления, описанных в настоящем документе, могут быть адаптированы к другим вариантам осуществления, описанным в настоящем документе. Соответственно, приведенное выше описание является иллюстративным, а не ограничительным. Изобретение, описанное выше, задается прилагаемой формулой изобретения, и все изменения к изобретению, которые подпадают под смысл и диапазон эквивалентности формулы изобретения, должны быть приняты в пределах их объема.

Похожие патенты RU2837029C1

название год авторы номер документа
РЕГУЛИРОВАНИЕ ПОТОКА ТЕКУЧЕЙ СРЕДЫ С ИСПОЛЬЗОВАНИЕМ КАНАЛОВ 2012
  • Чжао Лиан
  • Дикстра Джейсон Д.
  • Фрипп Майкл Линли
RU2568206C1
УСТРОЙСТВО И СПОСОБ ОБРАЗОВАНИЯ НАПРАВЛЕННЫХ ВБОК СТРУЙ ТЕКУЧИХ СРЕД 2008
  • Хашиш Мохамед
  • Крейген Стив
  • Шуман Брюс
  • Улльрих Экхардт
  • Орова Джено
RU2470763C2
ДИАГНОСТИКА ПРОЦЕССА 2004
  • Браун Грегори С.
  • Пелузо Маркос
  • Каршниа Роберт Дж.
RU2324171C2
КЛАПАННОЕ УСТРОЙСТВО ДЛЯ ПРЕДОТВРАЩЕНИЯ ЗАГРЯЗНЕНИЯ ТЕКУЧЕЙ СРЕДЫ В РЕГУЛЯТОРЕ РАСХОДА ТЕКУЧЕЙ СРЕДЫ 2012
  • Клиффорд Джейсон Д.
  • Крамер Марк Уортон
RU2602026C2
ОЦЕНКА ПАРАМЕТРОВ ПРОДУКТИВНОГО ПЛАСТА ПРИ БУРЕНИИ 2006
  • Вильяреаль Стивен Дж.
  • Цигленек Райнхарт
  • Стакер Майкл Дж.
  • Дуонг Кханх
RU2416720C2
ИНЪЕКЦИОННОЕ УСТРОЙСТВО ДЛЯ СУБРЕТИНАЛЬНОЙ ДОСТАВКИ ТЕРАПЕВТИЧЕСКОГО СРЕДСТВА 2017
  • Прайс Дэниэл В.
  • Оберкиргер Брендан Дж.
  • Ли Джеймс Г.
  • Денлингер Клинтон
  • Пренгер Дэниэл Дж.
  • Кинг Джеффри
  • Алэнд Скотт
  • Цай Марк К.
  • Кин Майкл Ф.
  • Кхан Исаак Дж.
  • Ко Бенджамин Л.
  • Мейер Томас Э.
  • Тернер Денис П.
RU2740842C2
ДРОССЕЛИРУЮЩИЙ КЛАПАН И СПОСОБ УВЕЛИЧЕНИЯ РАЗМЕРОВ КАПЕЛЕК ЖИДКОСТИ В ПРОТЕКАЮЩЕМ ЧЕРЕЗ НЕГО ПОТОКЕ ТЕКУЧЕЙ СРЕДЫ 2005
  • Беттинг Марко
RU2386911C2
БАРАБАН ЦЕНТРИФУГИ ДЛЯ ПЛАЗМАФЕРЕЗА 2019
  • Коритко, Тэйлор
RU2766722C1
АППАРАТ И СПОСОБ ДЛЯ АЭРАЦИИ ПИЩЕВОГО ПРОДУКТА 2016
  • Клавье, Люи
  • Шевалье, Жан-Франсуа
  • Марсийа, Рафаэль
RU2718649C2
ТЕПЛОИЗОЛИРОВАННАЯ ТОПЛИВНАЯ ФОРСУНКА ДЛЯ ГАЗОТУРБИННОГО ДВИГАТЕЛЯ 2015
  • Рустоми Бехруз Н.
  • Гилла Питер Джозеф
  • Пайпер Джеймс Скотт
  • Бандару Рамарао Венкат
RU2696158C2

Иллюстрации к изобретению RU 2 837 029 C1

Реферат патента 2025 года ВСТРОЕННОЕ УСТРОЙСТВО УДЕРЖИВАНИЯ ВОЗДУШНЫХ ПУЗЫРЬКОВ ДЛЯ УСТАНОВКИ НА ПУТЯХ СЛЕДОВАНИЯ ТЕКУЧЕЙ СРЕДЫ АНГИОГРАФИЧЕСКОГО ИНЪЕКТОРА

Группа изобретений относится к медицинской технике. Устройство для удерживания воздушных пузырьков, расположенное на пути следования текучей среды в инъекторной системе для текучей среды, включает корпус, внутреннюю камеру, имеющую вогнутую, полусферическую внутреннюю оболочку, образованную в корпусе, причем внутренняя камера по меньшей мере частично является сферической или полусферической, входной канал для текучей среды, находящийся в сообщении по текучей среде с внутренней камерой, причем входной канал для текучей среды заходит в внутреннюю камеру по касательной к вогнутой, полусферической внутренней оболочке, и выходной канал для текучей среды, находящийся в сообщении по текучей среде с внутренней камерой, причем выходной канал для текучей среды отстоит от входного канала для текучей среды так, что инъекционная текучая среда, втекающая во внутреннюю камеру через входной канал для текучей среды, направлена в сторону от выходного канала для текучей среды. Внутренняя камера выполнена с возможностью создания внутреннего вихря текучей среды в инъекционной текучей среде, поступающей во внутреннюю камеру из входного канала для текучей среды. Внутренний вихрь текучей среды образует круговой вихревый поток текучей среды вдоль вогнутой или полусферической внутренней оболочки. Круговой вихревый поток текучей среды проходит поперек через отверстие выходного канала для текучей среды. Внутренний вихрь текучей среды по меньшей мере временно удерживает по меньшей мере один воздушный пузырек в области низкого давления в инъекционной текучей среде в центре кругового вихревого потока текучей среды и задерживает прохождение по меньшей мере одного воздушного пузырька к выходному каналу. Раскрыта инъекторная система для текучей среды. Технический результат состоит в предотвращении попадания воздуха в организм пациента во время инъекционной процедуры. 2 н. и 19 з.п. ф-лы, 25 ил.

Формула изобретения RU 2 837 029 C1

1. Устройство для удерживания воздушных пузырьков, расположенное на пути следования текучей среды в инъекторной системе для текучей среды, включающее:

корпус;

внутреннюю камеру, имеющую вогнутую, полусферическую внутреннюю оболочку, образованную в корпусе, причем внутренняя камера по меньшей мере частично является сферической или полусферической;

входной канал для текучей среды, находящийся в сообщении по текучей среде с внутренней камерой, причем входной канал для текучей среды заходит в внутреннюю камеру по касательной к вогнутой, полусферической внутренней оболочке; и

выходной канал для текучей среды, находящийся в сообщении по текучей среде с внутренней камерой, причем выходной канал для текучей среды отстоит от входного канала для текучей среды так, что инъекционная текучая среда, втекающая во внутреннюю камеру через входной канал для текучей среды, направлена в сторону от выходного канала для текучей среды,

причем внутренняя камера выполнена с возможностью создания внутреннего вихря текучей среды в инъекционной текучей среде, поступающей во внутреннюю камеру из входного канала для текучей среды, и причем внутренний вихрь текучей среды образует круговой вихревый поток (В) текучей среды вдоль вогнутой или полусферической внутренней оболочки, причем круговой вихревый поток (В) текучей среды проходит поперек через отверстие выходного канала для текучей среды, и причем внутренний вихрь текучей среды по меньшей мере временно удерживает по меньшей мере один воздушный пузырек в области низкого давления в инъекционной текучей среде в центре кругового вихревого потока (В) текучей среды и задерживает прохождение по меньшей мере одного воздушного пузырька к выходному флюидопроводному каналу.

2. Устройство по п. 1, отличающееся тем, что выходной канал для текучей среды выходит из внутренней камеры в направлении, перпендикулярном круговому вихревому потоку (В) текучей среды во внутренней камере.

3. Устройство по п. 1, отличающееся тем, что по меньшей мере часть выходного канала для текучей среды имеет площадь поперечного сечения большую, чем площадь поперечного сечения входного канала для текучей среды для уменьшения скорости текучей среды в выходном канале для текучей среды по сравнению со скоростью текучей среды во входном канале для текучей среды.

4. Устройство по п. 1, отличающееся тем, что выходной канал для текучей среды проходит у параллельно входного канала для текучей среды.

5. Устройство по п. 1, отличающееся тем, что корпус включает:

первую секцию корпуса, включающую входной канал для текучей среды и выходной канал для текучей среды;

вторую секцию корпуса, включающую по меньшей мере часть внутренней камеры,

причем одна из секций, включающих первую секцию корпуса и вторую секцию корпуса, включает фланец для приема концевого элемента другой секции из указанных секций, включающих первую секцию корпуса и вторую секцию корпуса.

6. Устройство по п. 5, отличающееся тем, что корпус включает по меньшей мере одно ребро жесткости, выступающее радиально наружу от по меньшей мере части входного канала для текучей среды, выходного канала для текучей среды, второй секции корпуса или первой секции корпуса.

7. Устройство по п. 1, отличающееся тем, что дополнительно включает экран, расположенный в выходном канале для текучей среды таким образом, что текучая среда, вытекающая из внутренней камеры, проходит через экран.

8. Устройство по п. 1, отличающееся тем, что корпус включает светопропускающий материал, выполненный с возможностью освещения по меньшей мере одного воздушного пузырька во внутренней камере.

9. Устройство по п. 1, отличающееся тем, что дополнительно включает: удлинительную трубку, находящуюся в сообщении по текучей среде с входным каналом для текучей среды и входящую во внутреннюю камеру, причем удлинительная трубка включает конец, отстоящий от выходного канала для текучей среды так, что текучая среда, втекающая во внутреннюю камеру через удлинительную трубку, направлена в сторону от выходного канала для текучей среды.

10. Устройство по п. 9, отличающееся тем, что дополнительно включает экран, разделяющий внутреннюю камеру на входную часть и выходную часть,

причем экран включает по меньшей мере одно отверстие, обеспечивающее сообщение по текучей среде между входной частью и выходной частью, и

причем текучая среда, втекающая во внутреннюю камеру из удлинительной трубки, проходит через по меньшей мере одно отверстие экрана, чтобы достичь выходной канал для текучей среды.

11. Устройство по п. 10, отличающееся тем, что первая часть экрана, прилегающая к концу удлинительной трубки, непроницаема для текучей среды, и в котором вторая часть экрана, прилегающая к выходному каналу для текучей среды, включает по меньшей мере одно отверстие.

12. Устройство по п. 9, отличающееся тем, что корпус включает:

первую секцию корпуса, включающую фланец, выполненный с возможностью приема экрана; и

вторую секцию корпуса, имеющую концевой элемент, расположенный внутри фланца первой секции корпуса для захвата экрана между первой секцией корпуса и второй секцией корпуса.

13. Устройство по п. 9, отличающееся тем, что входной канал для текучей среды имеет площадь поперечного сечения, изменяющуюся от меньшей к большей площади в направлении потока текучей среды через входной канал для текучей среды для уменьшения скорости потока текучей среды, протекающего через входной канал для текучей среды.

14. Устройство по п. 9, отличающееся тем, что удлинительная трубка проходит параллельно внутренней оболочке внутренней камеры.

15. Устройство по п. 9, отличающееся тем, что корпус включает светопропускающий материал, выполненный с возможностью освещения по меньшей мере одного воздушного пузырька во внутренней камере.

16. Инъекторная система для текучей среды, включающая:

по меньшей мере один контейнер для текучей среды, выполненный с возможностью инъекции медицинской текучей среды;

по меньшей мере одно устройство для удерживания пузырьков, находящееся в сообщении по текучей среде с по меньшей мере одним контейнером для текучей среды, причем по меньшей мере одно устройство удерживания пузырьков включает:

корпус, образующий внутреннюю камеру, причем внутренняя камера имеет вогнутую, полусферическую внутреннюю оболочку, и причем внутренняя камера по меньшей мере частично сферическая или полусферическая;

входной канал для текучей среды, находящийся в сообщении по текучей среде с внутренней камерой, причем входной канал для текучей среды заходит в внутреннюю камеру по касательной к вогнутой, полусферической внутренней оболочке;

выходной канал для текучей среды, находящийся в сообщении по текучей среде с внутренней камерой, причем выходной канал для текучей среды отстоит от входного канала для текучей среды так, что инъекционная текучая среда, втекающая во внутреннюю камеру через входной канал для текучей среды, направлена в сторону от выходного канала для текучей среды;

по меньшей мере один расположенный выше по потоку детектор воздуха, выполненный с возможностью обнаружения одного или более воздушных пузырьков в трубке области обнаружения воздуха, соединяющей по меньшей мере один контейнер для текучей среды с по меньшей мере одним устройством для удерживания пузырьков; и

по меньшей мере один запорный клапан, расположенный дальше по потоку от по меньшей мере одного устройства удерживания пузырьков и выполненный с возможностью перехода из открытого положения в закрытое положение в ответ на обнаружение по меньшей мере одним расположенным выше по потоку детектором воздуха одного или более воздушных пузырьков в трубке области обнаружения воздуха,

причем внутренняя камера выполнена с возможностью создания внутреннего вихря текучей среды в инъекционной текучей среде, входящей во внутреннюю камеру из входного канала для текучей среды, и причем внутренний вихрь текучей среды образует круговой вихревый поток (В) текучей среды вдоль вогнутой или полусферической внутренней оболочки, причем круговой вихревый поток (В) текучей среды проходит поперек через отверстие выходного канала для текучей среды, и причем внутренний вихрь текучей среды по меньшей мере временно удерживает по меньшей мере один воздушный пузырек в области низкого давления в инъекционной текучей среде в центре кругового вихревого потока (В) текучей среды и задерживает прохождение по меньшей мере одного воздушного пузырька к выходному каналу для текучей среды.

17. Инъекторная система по п. 16, отличающаяся тем, что по меньшей мере одно устройство удерживания пузырьков выполнено с возможностью перехода между:

положением инъекции, в котором выходной канал для текучей среды проходит вертикально вниз от внутренней камеры так, что плавучесть по меньшей мере одного воздушного пузырька во внутренней камере дополнительно побуждает по меньшей мере один воздушный пузырек оставаться в удерживаемом состоянии во внутреннем вихре текучей среды во внутренней камере, и

положением заливки, в котором выходной канал для текучей среды проходит вертикально вверх от внутренней камеры так, что плавучесть по меньшей мере одного воздушного пузырька во внутренней камере побуждает по меньшей мере один воздушный пузырек вытекать из внутреннего вихря текучей среды через выходной канал для текучей среды.

18. Инъекторная система по п. 16, отличающаяся тем, что входной канал для текучей среды заходит во внутреннюю камеру по касательной к по меньшей мере одной вогнутой, полусферической внутренней оболочке.

19. Инъекторная система по п. 16, отличающаяся тем, что выходной канал для текучей среды выходит из внутренней камеры в направлении, перпендикулярном круговому вихревому потоку (В) текучей среды во внутреннем вихре текучей среды во внутренней камере.

20. Инъекторная система по п. 16, отличающаяся тем, что выходной канал для текучей среды проходит параллельно входному каналу для текучей среды.

21. Инъекторная система по п. 16, отличающаяся тем, что внутренняя камера по меньшей мере частично выполнена сферической или полусферической.

Документы, цитированные в отчете о поиске Патент 2025 года RU2837029C1

US 20180280630 A1, 04.10.2018
US 20170232173 A1, 17.08.2017
WO 2008153831 A2, 18.12.2008
CN 103917269 A, 09.07.2014
Шприц 1980
  • Голубев Юрий Кузьмич
  • Дороев Юрий Михайлович
SU904714A1

RU 2 837 029 C1

Авторы

Кован, Кевин

Дедиг, Джеймс

Спон, Майкл

Хаури, Джон

Убер, Артур, Iii

Даты

2025-03-25Публикация

2021-06-16Подача