Область техники, к которой относится изобретение
[0001] Настоящее изобретение относится к вращающейся электрической машине.
Настоящая заявка испрашивает приоритет на основании заявки на патент Японии №2022-053591, поданной в Японии 29 марта 2022 года, содержание которой включено в настоящий документ путем ссылки.
Описание предшествующего уровня техники
[0002] Традиционно, например, была известна вращающаяся электрическая машина, описанная в патентном документе 1 ниже.
Список библиографических ссылок
Патентный документ
[0003] [Патентный документ 1] Непрошедшая экспертизу заявка на патент Японии, первая публикация №2018-198534.
Сущность изобретения
Проблемы, разрешаемые изобретением
[0004] Поскольку синхронный двигатель с внутренними постоянными магнитами (IPMSM) этого типа работает с использованием магнитного потока постоянного магнита, в области работы на высоких скоростях требуется высокое напряжение из-за влияния противоэлектродвижущей силы магнита. Следовательно, путем увеличения угла опережения и использования режима ослабления поля магнитный поток магнита компенсируется магнитным потоком поля для снижения напряжения.
Однако, когда двигатель работает в области угла опережения, превышающей оптимальный угол опережения, крутящий момент быстро уменьшается.
Таким образом, когда выполняется операция ослабления поля, как описано выше, выходной крутящий момент может уменьшаться, например, когда двигатель работает в области, где угол опережения слишком велик, чтобы превышать оптимальный угол опережения.
[0005] Настоящее изобретение было создано в связи с вышеуказанными обстоятельствами, и его задачей является улучшение крутящего момента по отношению к напряжению.
Средство решения проблемы
[0006] <1> Вращающаяся электрическая машина согласно аспекту настоящего изобретения представляет собой вращающуюся электрическую машину, включающую в себя: статор, имеющий кольцевую форму; и ротор, который расположен в статоре, причем ротор включает в себя: сердечник ротора; и множество комплектов постоянных магнитов, встроенных в сердечник ротора, причем каждый комплект постоянных магнитов образует один магнитный полюс, причем множество комплектов постоянных магнитов расположено в сердечнике ротора по окружности сердечника ротора, причем сердечник ротора включает в себя: первый барьер для потока, предусмотренный с обеих сторон в направлении вращения ротора относительно каждого комплекта постоянных магнитов; и первый мостик, расположенный снаружи сердечника ротора в радиальном направлении относительно первого барьера для потока, причем первый мостик включает в себя: передний мостик, расположенный спереди в направлении вращения ротора; и задний мостик, расположенный сзади в направлении вращения ротора, и в котором, когда переднее опорное местоположение, которое является опорным местоположением переднего мостика, является точкой пересечения передней воображаемой линии, проходящей через центральную ось сердечника ротора и передний конец каждого комплекта постоянных магнитов, и внешней окружной поверхности сердечника ротора на виде сверху, на котором ротор рассматривается с осевого направления, а заднее опорное местоположение, которое является опорным местоположением заднего мостика, является точкой пересечения задней воображаемой линии, проходящей через центральную ось сердечника ротора и задний конец каждого комплекта постоянных магнитов, и внешней окружной поверхности сердечника ротора на виде сверху, по меньшей мере в одном комплекте постоянных магнитов из множества комплектов постоянных магнитов передний конец заднего мостика расположен в положении, смещенном от заднего опорного местоположения к передней части на θf (радиан) по центральному углу относительно центральной оси, а задний конец переднего мостика расположен в положении, смещенном от переднего опорного местоположения к передней части на 0 (радиан) или более и θf (радиан) или менее по центральному углу относительно центральной оси.
θf удовлетворяет приведенным ниже формулам (1) и (2).
0 < θf ≤ (θa/8)... (1)
θa = 2π/(Nslot)... (2)
Здесь Nslot в формуле (2) означает количество пазов статора. Кроме того, один комплект постоянных магнитов включает в себя один или более постоянных магнитов. Кроме того, задний конец переднего мостика и передний конец заднего мостика - это участки мостиков, где происходит магнитное насыщение магнитного потока, генерируемого каждым комплектом постоянных магнитов. Другими словами, задний конец переднего мостика и передний конец заднего мостика - это участки мостиков, где магнитный поток начинает переходить от ротора к статору.
[0007] <2> Вращающаяся электрическая машина согласно <1> может иметь конструкцию, в которой по меньшей мере в одном из множества комплектов постоянных магнитов задний конец переднего мостика расположен в переднем опорном местоположении, а передний конец заднего мостика расположен в положении, смещенном от заднего опорного местоположения к передней части на θa/12 (радиан) по центральному углу вокруг центральной оси.
[0008] <3> Вращающаяся электрическая машина согласно <1> или <2> может быть выполнена таким образом, что два постоянных магнита образуют комплект, образующий один магнитный полюс, причем каждый комплект постоянных магнитов включает в себя передний магнит, расположенный спереди, и задний магнит, расположенный сзади, причем передний магнит и задний магнит расположены V-образно, выступая внутрь в радиальном направлении на виде сверху, передний мостик расположен перед передним магнитом, задний мостик расположен позади заднего магнита, и на виде сверху передняя воображаемая линия проходит через центральную ось и передний конец переднего магнита, а задняя воображаемая линия проходит через центральную ось и задний конец заднего магнита.
[0009] Изобретатель настоящей заявки обнаружил, что окружное положение заднего конца переднего мостика и окружное положение переднего конца заднего мостика, другими словами, начальное положение первого мостика, влияет на величину оптимального угла опережения.
Поэтому изобретатель настоящей заявки интенсивно изучил окружное положение заднего конца переднего мостика и окружное положение переднего конца заднего мостика в единицах θa (радиан) по центральному углу, соответствующему шагу зубьев статора, и обнаружил, что при установке, как описано выше, может быть выведен высокий крутящий момент при одновременном использовании эффекта снижения напряжения при увеличенном угле опережения.
Обратите внимание, что магнитное насыщение происходит в начальном положении первого мостика в процессе передачи магнитного потока, генерируемого в магнитном полюсе, образованном одним комплектом постоянных магнитов в сердечнике ротора. Затем магнитный поток течет от внутренней части к внешней части сердечника ротора и передается на зубцы статора. Следовательно, начальное положение первого мостика является начальной точкой, с которой магнитный поток передается на статор. Тот факт, что начальное положение первого мостика является такой начальной точкой, считается связанным с тем, что начальное положение первого мостика влияет на величину оптимального угла опережения.
Преимущества изобретения
[0010] Согласно настоящему изобретению, возможно увеличение крутящего момента относительно напряжения.
Краткое описание чертежа(-ей)
[0011] Фиг. 1 - схема, иллюстрирующая вращающуюся электрическую машину в соответствии с вариантом осуществления настоящего изобретения; на чертеже представлен вид сверху с частичным поперечным сечением.
Фиг. 2 - увеличенный вид сверху статора и ротора, входящих в состав вращающейся электрической машины, показанной на фиг. 1.
Фиг. 3 - увеличенный вид сверху ротора, входящего в состав вращающейся электрической машины, показанной на фиг. 1.
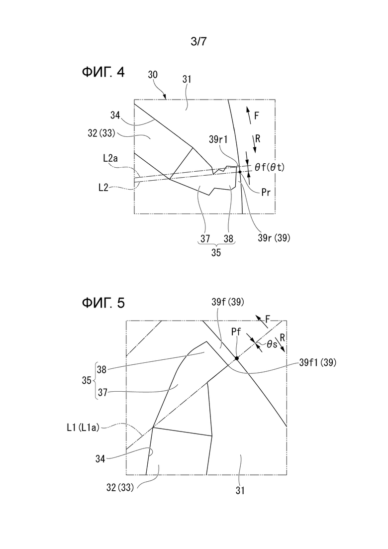
Фиг. 4 - увеличенный вид сверху участка IV, показанного на фиг. 3.
Фиг. 5 - увеличенный вид сверху участка V, показанного на фиг. 3.
Фиг. 6 - схема, показывающая вращающуюся электрическую машину, проиллюстрированную на фиг. 1, представляющая собой увеличенный вид сверху, иллюстрирующий состояние, в котором задний конец переднего мостика и передний конец заднего мостика ротора расположены в соответствующих опорных местоположениях.
Фиг. 7 - схема, показывающая вращающуюся электрическую машину, показанную на фиг. 1, представляющая собой увеличенный вид сверху, иллюстрирующий состояние, в котором задний конец переднего мостика и передний конец заднего мостика ротора смещены вперед по сравнению с положениями, показанными на фиг. 5.
Фиг. 8 - схема, показывающая вращающуюся электрическую машину, показанную на фиг. 1, представляющая собой увеличенный вид сверху, иллюстрирующий состояние, в котором задний конец переднего мостика и передний конец заднего мостика ротора смещены вперед по сравнению с положениями, показанными на фиг. 6.
Фиг. 9 - схема, показывающая вращающуюся электрическую машину, показанную на фиг. 1, представляющая собой увеличенный вид сверху, иллюстрирующий состояние, в котором задний конец переднего мостика и передний конец заднего мостика ротора смещены вперед по сравнению с положениями, показанными на фиг. 7.
Фиг. 10 - схема, показывающая вращающуюся электрическую машину, показанную на фиг. 1, представляющая собой увеличенный вид сверху, иллюстрирующий состояние, в котором задний конец переднего мостика и передний конец заднего мостика ротора смещены вперед по сравнению с положениями, показанными на фиг. 5.
Фиг. 11 - схема, показывающая магнитный поток во вращающейся электрической машине в соответствии с вариантом осуществления настоящего изобретения.
Вариант(-ы) осуществления изобретения
[0012] Ниже вращающаяся электрическая машина в соответствии с вариантом осуществления настоящего изобретения будет описана со ссылкой на фиг. 1-11. Вращающаяся электрическая машина представляет собой электромотор, в частности электромотор переменного тока, более конкретно синхронный электромотор, и еще более конкретно электромотор с возбуждением от постоянных магнитов. Этот тип электромотора надлежащим образом приспосабливается, например, для электротранспортного средства.
[0013] Как показано на фиг. 1 и 2, вращающаяся электрическая машина 10 включает в себя статор 20, ротор 30, корпус 50 и вал 60 вращения. Статор 20 и ротор 30 размещены в корпусе 50. Статор 20 закреплен на корпусе 50. Вращающаяся электрическая машина 10 относится к типу с внутренним ротором, в котором ротор 30 расположен внутри статора 20.
[0014] Следует отметить, что в данном варианте осуществления вращающаяся электрическая машина 10 представляет собой трехфазный электромотор переменного тока с 8 полюсами и 24 пазами. Однако, например, число полюсов, число пазов, число фаз и т.д. могут быть изменены соответствующим образом.
Кроме того, во вращающейся электрической машине 10 оси статора 20 и ротора 30 расположены на одной общей оси. Далее эта общая ось обозначается как центральная ось O (центральная ось ротора 30). Направление центральной оси O (осевое направление сердечника 31 ротора, которое будет описано ниже) называется осевым направлением, направление, перпендикулярное центральной оси O (радиальное направление сердечника 31 ротора, которое будет описано ниже), называется радиальным направлением, а направление, идущее по окружности вокруг центральной оси O (окружное направление сердечника 31 ротора, которое будет описано ниже), называется окружным направлением.
[0015] Статор 20 включает в себя сердечник 21 статора и обмотку, которая не показана.
Сердечник 21 статора включает в себя спинку 22 сердечника (ярмо), имеющую цилиндрическую форму (круглую форму), и множество зубцов 23.
[0016] Спинка 22 сердечника имеет кольцевую форму на виде сверху, на котором вращающаяся электрическая машина 10 рассматривается в осевом направлении.
Множество зубцов 23 выступают внутрь в радиальном направлении от спинки 22 сердечника (к центральной оси O спинки 22 сердечника вдоль радиального направления). Множество зубцов 23 расположены на равных расстояниях друг от друга по окружности. В данном варианте осуществления 24 зубца 23 расположены через каждые 15 градусов центрального угла относительно центральной оси O. Множество зубцов 23 имеют одинаковую форму и одинаковый размер. Между зубцами 23, соседними по окружности, образован паз 24.
Обмотка намотана вокруг зубцов 23. Обмотка может быть намотана концентрическим способом или распределенным способом.
[0017] Как показано на фиг. 3, ротор 30 расположен внутри статора 20 (сердечника 21 статора) в радиальном направлении. Ротор 30 включает в себя сердечник 31 ротора и множество постоянных магнитов 32.
Сердечник 31 ротора выполнен в виде цилиндра (круглой формы), расположенного соосно со статором 20. Вал 60 вращения расположен в сердечнике 31 ротора. Вал 60 вращения закреплен на сердечнике 31 ротора таким образом, чтобы вращаться вместе с сердечником 31 ротора.
Множество постоянных магнитов 32 закреплено на сердечнике 31 ротора. В данном варианте осуществления один комплект из двух постоянных магнитов 32 образует один магнитный полюс 33. Множество пар постоянных магнитов 32 расположены на равных расстояниях друг от друга по окружности. В данном варианте осуществления 8 комплектов (всего 16) постоянных магнитов 32 расположены через каждые 45 градусов центрального угла относительно центральной оси O.
[0018] Вращающаяся электрическая машина 10 представляет собой двигатель с внутренними магнитами. В сердечнике 31 ротора образовано множество сквозных отверстий 34, проходящих через сердечник 31 ротора в осевом направлении. Множество сквозных отверстий 34 выполнено с возможностью размещения множества постоянных магнитов 32. Каждый из постоянных магнитов 32 закреплен на сердечнике 31 ротора в состоянии, когда он расположен в соответствующем сквозном отверстии 34. Каждый из постоянных магнитов 32 может быть закреплен на сердечнике 31 ротора, например, путем приклеивания наружной поверхности постоянного магнита 32 к внутренней поверхности сквозного отверстия 34 с помощью клея.
[0019] Следует отметить, что в качестве сердечника 21 статора и сердечника 31 ротора может использоваться пластинчатый сердечник. Пластинчатый сердечник образован путем укладки множества листов электротехнической стали. Листы электротехнической стали скрепляются друг с другом, например, путем расклинивания, склеивания, сварки и т.д.
Каждый из листов электротехнической стали, образующих сердечник 21 статора и сердечник 31 ротора, получают, например, путем штамповки листа электротехнической стали, служащего основным металлом. В качестве листа электротехнической стали можно использовать известный лист электротехнической стали. Химический состав электротехнической стали особо не ограничен. В данном варианте осуществления в качестве листа электротехнической стали используется лист неориентированной электротехнической стали. В качестве листа неориентированной электротехнической стали может использоваться полоса неориентированной электротехнической стали по JIS C 2552:2014. Тем не менее, в качестве листа электротехнической стали, лист электротехнической стали с ориентированным зерном может приспосабливаться вместо листа неориентированной электротехнической стали. В качестве листа электротехнической стали с ориентированным зерном, может приспосабливаться полоса ориентированной электротехнической стали по JIS C 2553:2012.
[0020] На обе поверхности листа электротехнической стали нанесены изоляционные покрытия для улучшения обрабатываемости листа электротехнической стали и уменьшения потерь на вихревые токи в пластинчатом сердечнике. В качестве вещества, составляющего изоляционное покрытие, можно использовать, например, (1) неорганическое соединение, (2) органическую смолу и (3) смесь неорганического соединения и органической смолы. В качестве примеров неорганического соединения можно привести (1) комплекс дихромата и борной кислоты и (2) комплекс фосфата и диоксида кремния. В качестве примеров органической смолы можно привести эпоксидную смолу, акриловую смолу, акрилстирольную смолу, полиэфирную смолу, кремнийорганическую смолу и фторсодержащую смолу.
[0021] Ниже будет приведено подробное описание ротора 30.
Как показано на фиг. 3, постоянные магниты 32 встроены в сердечник 31 ротора, причем два магнита образуют пару, образуя один магнитный полюс 33, как описано выше. Несколько пар (8 пар в показанном примере) постоянных магнитов 32 расположены в сердечнике 31 ротора по окружности. В показанном примере постоянный магнит 32 имеет форму прямоугольного параллелепипеда. Постоянный магнит 32 имеет прямоугольную форму на виде сверху.
[0022] Пара постоянных магнитов 32 расположена V-образно, выступая внутрь в радиальном направлении на виде сверху. Пара постоянных магнитов 32 расположена зеркально-симметрично относительно d-оси A на виде сверху. d-ось A проходит через центральную ось O и центр окружности каждого магнитного полюса 33 на виде сверху. Сквозные отверстия 34, в которых расположена пара постоянных магнитов 32, также расположены в целом зеркально-симметрично относительно d-оси A.
[0023] Сквозное отверстие 34 больше, чем постоянный магнит 32, с обеих сторон: со стороны q-оси B и со стороны d-оси A на виде сверху. Q-ось B проходит через центральную ось O и между двумя магнитными полюсами 33, соседними по окружности, на виде сверху. Q-ось B проходит через центр окружности между двумя магнитными полюсами 33 на виде сверху. Q-ось B и d-ось A магнитно и электрически ортогональны друг другу. Участки сквозного отверстия 34, расположенные со стороны q-оси B и со стороны d-оси A относительно постоянного магнита 32, представляют собой барьеры 35 и 36 для потока соответственно. Другими словами, барьеры 35 и 36 для потока расположены на обоих концах постоянных магнитов 32 со стороны q-оси B и со стороны d-оси A. Барьеры 35 и 36 для потока представляют собой магнитные зазоры, проходящие через сердечник 31 ротора в осевом направлении. Барьеры 35 и 36 для потока уменьшают магнитный поток магнита (далее также именуемый обратным магнитным потоком) от постоянного магнита 32, возвращающегося в ротор 30, и изменяют путь поступления магнитного потока магнита от постоянного магнита 32 к статору 20. В результате магнитный поток постоянного магнита 32 (далее просто магнитный поток магнита) эффективно передается на статор 20, и создается высокий крутящий момент. Можно также сказать, что барьеры 35 и 36 для потока направляют магнитный поток магнита к статору 20.
[0024] Ротор 30 включает в себя первый барьер 35 для потока и второй барьер 36 для потока в качестве барьеров 35 и 36 для потока. Первый барьер 35 для потока и второй барьер 36 для потока охватывают постоянный магнит 32 с обоих концов. Это способствует эффективной передаче магнитного потока магнита на статор 20.
Первый барьер 35 для потока расположен со стороны q-оси B, ближайшей к одному постоянному магниту 32. Первые барьеры 35 для потока расположены с обеих наружных сторон пары постоянных магнитов 32 в окружном направлении (направлении вращения). Второй барьер 36 для потока расположен со стороны d-оси A, ближайшей к одному постоянному магниту 32. Он расположен по центру в окружном направлении (направлении вращения) пары постоянных магнитов 32.
[0025] Первый барьер 35 для потока простирается радиально наружу от сердечника 31 ротора от торцевой поверхности со стороны q-оси B, ближайшей к одному постоянному магниту 32. Первый барьер 35 для потока включает в себя первое пространство 37 и второе пространство 38. В первом пространстве 37 открыта торцевая поверхность со стороны q-оси B, ближайшей к одному постоянному магниту 32. Первое пространство 37 простирается к стороне q-оси B, ближайшей к одному постоянному магниту 32, на виде сверху. Первое пространство 37 имеет треугольную форму, выступающую в сторону q-оси B на виде сверху. Ширина первого пространства 37 в радиальном направлении уменьшается к стороне q-оси B, ближайшей к одному постоянному магниту 32. Второе пространство 38 сообщается с первым пространством 37. По меньшей мере часть второго пространства 38 расположена радиально снаружи от первого пространства 37. На виде сверху второе пространство 38 имеет прямоугольную форму. На виде сверху площадь второго пространства 38 меньше площади первого пространства 37.
[0026] Первый мостик 39 расположен радиально снаружи от первого барьера 35 для потока. Первый мостик 39 является частью сердечника 31 ротора. Первый мостик 39 представляет собой участок сердечника 31 ротора, который расположен радиально снаружи от первого барьера 35 для потока. При наличии первого мостика 39 сопротивление сердечника 31 ротора центробежным силам улучшается по сравнению со случаем, когда первый мостик 39 отсутствует. Первый мостик 39 обеспечивает динамическую прочность на внешней периферии сердечника 31 ротора. Когда радиальная ширина первого мостика 39 достаточно мала, магнитный поток, проходящий через первый мостик 39, предотвращается за счет магнитного насыщения, и предотвращается обратный поток магнитного потока.
[0027] Ширина (размер в радиальном направлении) первого мостика 39 локально меньше ширины обоих участков сердечника 31 ротора, соседствующих с первым мостиком 39 по окружности.
Следует отметить, что длина (размер в окружном направлении) и ширина первого мостика 39 выбираются соответствующим образом в зависимости от скорости вращения и формы вращающейся электрической машины 10. Например, ширина первого мостика 39 меньше ширины обоих участков сердечника 31 ротора, соседствующих с первым мостиком 39 по окружности, но не обязательно локально меньше. Например, ширина первого мостика 39 может быть постоянно меньше ширины обоих участков сердечника 31 ротора, соседствующих с первым мостиком 39 по окружности. В этом случае, например, во внешнем окружном участке сердечника 31 ротора первый мостик 39 может представлять собой участок, радиальный размер (ширина) которого составляет 1% или менее от наружного диаметра сердечника 31 ротора. Кроме того, форма, размер и т.д. первого барьера 35 для потока не ограничиваются аспектами, описанными в данном варианте осуществления.
[0028] Второй барьер 36 для потока включает в себя первое пространство 37, в котором открыта торцевая поверхность со стороны d-оси A, ближайшей к одному постоянному магниту 32. Первое пространство 37 простирается к стороне d-оси A, ближайшей к одному постоянному магниту 32, на виде сверху. Второй мостик 40 расположен между двумя вторыми барьерами 36 для потока, образующими пару в каждом магнитном полюсе 33. Второй мостик 40 длиннее в радиальном направлении, чем в окружном. Второй мостик 40 вызывает магнитное насыщение во втором мостике 40 и препятствует образованию магнитной цепи. Второй мостик 40 расположен на d-оси A.
[0029] Далее передняя часть по направлению вращения (окружному направлению) вращающейся электрической машины 10 для краткости называется передней частью F, а задняя часть по направлению вращения для краткости называется задней частью R. Следует отметить, что в случае вращающейся электрической машины 10, вращающейся в обоих направлениях вокруг центральной оси O, под направлением вращения понимается направление вращения, в котором вращающаяся электрическая машина 10 вращается преимущественным образом. Кроме того, в показанном примере направление против часовой стрелки при взгляде на плоскость чертежа называется передней частью F, а направление по часовой стрелке называется задней частью R.
[0030] Пара постоянных магнитов 32 включает в себя передний магнит 32f и задний магнит 32r. Передний магнит 32f расположен со стороны передней части F относительно заднего магнита 32r.
Два первых мостика 39, входящие в состав одного магнитного полюса 33, включают в себя передний мостик 39f и задний мостик 39r. Передний мостик 39f расположен относительно переднего магнита 32f. Передний мостик 39f расположен со стороны передней части F (со стороны q-оси B) и радиально снаружи относительно переднего магнита 32f. Передний мостик 39f расположен радиально снаружи от первого барьера 35 для потока, расположенного со стороны передней части F, из пары первых барьеров 35 для потока. Задний мостик 39r расположен относительно заднего магнита 32r. Задний мостик 39r расположен со стороны задней части R (со стороны q-оси B) и радиально снаружи относительно заднего магнита 32r. Задний мостик 39r расположен радиально снаружи от первого барьера 35 для потока, расположенного со стороны задней части R, из пары первых барьеров 35 для потока.
[0031] Опорное местоположение относительно переднего мостика 39f определяется как переднее опорное местоположение Pf, а опорное местоположение относительно заднего мостика 39r определяется как заднее опорное местоположение Pr, как описано ниже. Переднее опорное местоположение Pf представляет собой точку пересечения передней воображаемой линии L1, проходящей через центральную ось O и передний конец по окружности переднего магнита 32f со стороны передней части F, и внешней окружной поверхности сердечника 31 ротора на виде сверху. Заднее опорное местоположение Pr представляет собой точку пересечения задней воображаемой линии L2, проходящей через центральную ось O и задний конец по окружности заднего магнита 32r со стороны задней части R, и внешней окружной поверхности сердечника 31 ротора на виде сверху.
[0032] Затем, в данном варианте осуществления, как показано на фиг. 3 и 4, передний конец 39r1 заднего мостика 39r, расположенный на самой передней стороне F, смещен от заднего опорного местоположения Pr в сторону передней части F на угол θf (радиан) по центральному углу относительно центральной оси O. Задний конец 39f1 переднего мостика 39f, расположенный на самой задней стороне R, расположен в позиции, смещенной от переднего опорного местоположения Pf в сторону передней части F на угол 0 (радиан) или более и θf (радиан) или менее по центральному углу относительно центральной оси O.
Однако, θf удовлетворяет приведенным ниже формулам (1) и (2).
0 < θf ≤ (θa/8)... (1)
θa = 2π/(Nslot)... (2)
где Nslot в формуле (2) означает количество пазов статора 20.
θf предпочтительно составляет (θa/16) < θf < (5θa/48) (формула (3)).
Задний конец 39f1 переднего мостика 39f, расположенный на самой задней стороне R, предпочтительно расположен в позиции, смещенной от переднего опорного местоположения Pf в сторону передней части F на угол 0 (радиан) или более и θa/48 (радиан) или менее по центральному углу относительно центральной оси O.
[0033] Кроме того, в данном варианте осуществления, как показано на фиг. 5, задний конец 39f1 переднего мостика 39f расположен в переднем опорном местоположении Pf. Как показано на фиг. 4, передний конец 39r1 заднего мостика 39r расположен в положении, смещенном от заднего опорного местоположения Pr в сторону передней части F на угол θa/12 (радиан) по центральному углу относительно центральной оси O.
[0034] Здесь задний конец 39f1 переднего мостика 39f и передний конец 39r1 заднего мостика 39r являются участками мостиков 39, где происходит магнитное насыщение магнитного потока, генерируемого каждым комплектом постоянных магнитов 32. Другими словами, задний конец 39f1 переднего мостика 39f и передний конец 39r1 заднего мостика 39r являются участками мостиков 39, где магнитный поток начинает переходить от ротора 30 к статору 20. Задний конец 39f1 переднего мостика 39f и передний конец 39r1 заднего мостика 39r являются точками начала магнитного насыщения каждого мостика 39. Точка начала магнитного насыщения в переднем мостике 39f представляет собой положение торцевого участка по окружности со стороны задней части R от точки начала магнитного насыщения заднего конца 39f1. Точка начала магнитного насыщения в заднем мостике 39r представляет собой положение торцевого участка по окружности со стороны передней части F от точки начала магнитного насыщения переднего конца 39r1. Точка начала магнитного насыщения - это точка, где расстояние между передним мостиком 39f и задним мостиком 39r и внешней окружностью сердечника 31 ротора является наименьшим. Точка начала магнитного насыщения мостика 39 может быть определена как точка, где абсолютное значение плотности магнитного потока, полученное, например, путем анализа электромагнитного поля, превышает плотность магнитного потока насыщения магнитного материала, используемого для сердечника ротора. Вместо анализа электромагнитного поля можно провести эксперимент с использованием реального объекта. Точка начала магнитного насыщения может быть определена любым одним или несколькими из описанных выше способов.
Задний конец 39f1 переднего мостика 39f и передний конец 39r1 заднего мостика 39r являются границей первого мостика 39 относительно участка, отличного от первого мостика 39. Задний конец 39f1 переднего мостика 39f и передний конец 39r1 заднего мостика 39r определяются как области, соединяющие первый барьер 35 для потока сердечника 31 ротора и внешнюю окружность сердечника 31 ротора с кратчайшим расстоянием в радиальном направлении. Передний конец 39r1 заднего мостика 39r и задний конец 39f1 переднего мостика 39f являются частичными областями на воображаемой линии, проходящей через первый барьер 35 для потока и центральную ось O.
На фиг. 11 схематично показан магнитный поток во вращающейся электрической машине в соответствии с настоящим вариантом осуществления. Стрелки A1 и A2 на фиг. 11 обозначают направление магнитного потока. Стрелка A1 указывает примерное направление магнитного потока. Стрелка A2 указывает вектор плотности магнитного потока в каждой точке. Как показано на фиг. 11, в переднем мостике 39f магнитный поток проходит через статор 20 в заднем конце 39f1 переднего мостика 39f. В заднем мостике 39r количество магнитного потока, входящего со стороны магнитного полюса 33, изменяется в зависимости от положения переднего конца 39r1 заднего мостика 39r.
[0035] Например, когда ширина (размер в радиальном направлении) на конце со стороны задней части R в участке (далее называемом первым участком) сердечника 31 ротора, радиально заключенном между первым барьером 35 магнитного потока со стороны передней части F и наружной окружной поверхностью сердечника 31 ротора, достаточно мала, задний конец 39f1 переднего мостика 39f может быть концом со стороны задней части R. В этом случае первый участок становится передним мостиком 39f по всей длине (длине в окружном направлении) первого барьера 35 магнитного потока. В этом случае со стороны передней части F заднего конца 39f1 переднего мостика 39f ширина переднего мостика 39f может быть меньше или больше ширины заднего конца 39f1. Другими словами, если задний конец 39f1 переднего мостика 39f является точкой начала магнитного насыщения, то участок переднего мостика 39f, расположенный спереди относительно заднего конца 39f1, может быть больше или меньше, чем задний конец 39f1, в радиальном направлении.
Кроме того, если ширина конца со стороны передней части F в участке (далее именуемом вторым участком) сердечника 31 ротора, радиально зажатом между первым барьером 35 для потока со стороны задней части R и внешней окружностью сердечника 31 ротора, достаточно мала, то передний конец 39r1 заднего мостика 39r может совпадать с концом передней части F. В этом случае второй участок становится задним мостиком 39r по всей длине (длине в окружном направлении) первого барьера 35 для потока. В этом случае со стороны задней части R переднего конца 39r1 заднего мостика 39r ширина заднего мостика 39r может быть меньше или больше, чем передний конец 39r1.
[0036] Кроме того, например, если ширина конца первого участка со стороны задней части R недостаточно мала, то задний конец 39f1 переднего мостика 39f может представлять собой область, расположенную на самой задней стороне R в пределах области, где ширина первого участка достаточно мала. В этом случае часть первого участка служит передним мостиком 39f, а задний конец 39f1 переднего мостика 39f расположен со стороны передней части F относительно конца первого участка со стороны задней части R в окружном направлении.
Кроме того, если ширина конца второго участка со стороны передней части F недостаточно мала, то передний конец 39r1 заднего мостика 39r может представлять собой область, расположенную на самой передней стороне F в пределах области, где ширина второго участка достаточно мала. В этом случае часть второго участка служит передним мостиком 39f, а передний конец 39r1 заднего мостика 39r расположен со стороны задней части R относительно конца второго участка со стороны передней части F в окружном направлении.
[0037] Следует отметить, что в любом из вышеперечисленных случаев тот факт, что ширина первого и второго участков является достаточно малой, может означать, например, что ширина составляет 1% или менее от наружного диаметра сердечника 31 ротора. Кроме того, тот факт, что ширина первого и второго участков является достаточно малой, может означать, что ширина составляет, например, 0,3 мм или менее. Кроме того, чтобы определить задний конец 39f1 переднего мостика 39f и передний конец 39r1 заднего мостика 39r, можно воспроизвести вращающуюся электрическую машину 10 в программном обеспечении и выполнить анализ электромагнитного поля.
[0038] Здесь центральный угол между задним концом 39f1 переднего мостика 39f и передним опорным местоположением Pf - это центральный угол относительно центральной оси O между воображаемой линией L1a, относительно переднего мостика 39f, и передней воображаемой линией L1. Воображаемая линия L1a - это воображаемая линия, проходящая через задний конец 39f1 переднего мостика 39f и центральную ось O. Следует отметить, что то, что центральный угол относительно заднего конца 39f1 переднего мостика 39f и переднего опорного местоположения Pf равен 0 (радиан), другими словами, задний конец 39f1 переднего мостика 39f расположен в переднем опорном местоположении Pf, означает, что воображаемая линия L1a и передняя воображаемая линия L1 совпадают друг с другом. Следует отметить, что когда угол между передней воображаемой линией L1 и воображаемой линией L1a равен θs, выполняется условие 0 ≤ θs ≤ θf, а в данном варианте осуществления θs=0.
[0039] Кроме того, центральный угол между передним концом 39r1 заднего мостика 39r и задним опорным местоположением Pr - это центральный угол относительно центральной оси O между воображаемой линией L2a, связанной с задним мостиком 39r, и задней воображаемой линией L2. Воображаемая линия L2a - это воображаемая линия, проходящая через передний конец 39r1 заднего мостика 39r и центральную ось O. Следует отметить, что когда угол между задней воображаемой линией L2 и воображаемой линией L2a равен θt, выполняется условие 0 < θt ≤ (θa/8), а в данном варианте осуществления θt=(θa/12).
[0040] Изобретатель настоящей заявки обнаружил, что окружное положение заднего конца 39f1 переднего мостика 39f и окружное положение переднего конца 39r1 заднего мостика 39r, другими словами, начальное положение первого мостика 39, влияет на величину оптимального угла опережения.
[0041] Этот вывод был получен в ходе процесса, описанного ниже.
Изобретатель настоящей заявки проанализировал оптимизацию формы сердечника 31 ротора. Этот анализ основан на содержании, описанном в непрошедшей экспертизу заявке на патент Японии, первая публикация № 2021-114099. Изобретатель настоящей заявки выполнил анализ несколько раз, исходя из множества различных углов опережения. Можно сказать, что форма сердечника 31 ротора в результате каждого анализа является оптимальной формой в соответствии с углами опережения, взятыми за основу.
[0042] Изобретатель настоящей заявки подтвердил результат каждого анализа и обнаружил, что положение первого барьера 35 магнитного потока (барьеры 35 и 36 для магнитного потока, расположенные со стороны q-оси B относительно постоянного магнита 32) смещается в окружном направлении в соответствии с углами опережения, взятыми за основу. И наоборот, при смещении первого барьера 35 магнитного потока в окружном направлении оптимальный угол опережения изменяется.
[0043] Поэтому изобретатель настоящей заявки провел новый анализ, описанный ниже. В этом анализе окружное положение первого мостика 39 изменялось от положения 0 до положения 3, показанных на фиг. 6-9, а затем определялся оптимальный угол опережения для каждой формы.
[0044] Следует отметить, что положение 0 - это ротор 30A, показанный на фиг. 6, положение 1 - это ротор 30B, показанный на фиг. 7, положение 2 - это ротор 30C, показанный на фиг. 8, а положение 3 - это ротор 30D, показанный на фиг. 9. В положении 0 задний конец 39f1 переднего мостика 39f расположен в переднем опорном местоположении Pf, а передний конец 39r1 заднего мостика 39r расположен в заднем опорном местоположении Pr. Окружное положение заднего конца 39f1 переднего мостика 39f и окружное положение переднего конца 39r1 заднего мостика 39r смещены в сторону передней части F на 0,65 градуса (что соответствует электрическому углу 2,5 градуса в четырехполюсном двигателе, как и в данном варианте осуществления) от положения 0 к положению 3 как для переднего мостика 39f, так и для заднего мостика 39r. На фиг. 6 и последующих чертежах описание воображаемых линий L1a и L2a опущено.
В таблице 1 ниже приведены результаты анализа.
[0045] Таблица 1
[0046] Как видно из Таблицы 1, подтверждено, что оптимальный угол опережения увеличивается при смещении окружного положения заднего конца 39f1 переднего мостика 39f и окружного положения переднего конца 39r1 заднего мостика 39r в сторону передней части F. Следует отметить, что оптимальный угол опережения увеличивается на 0,25 градуса от положения 0 к положению 3. Этот угол совпадает с электрическим углом. Таким образом, подтверждено, что угол смещения положения первого мостика 39 соответствует изменению оптимального угла опережения.
[0047] Поэтому изобретатель настоящей заявки интенсивно изучил окружное положение заднего конца 39f1 переднего мостика 39f и окружное положение переднего конца 39r1 заднего мостика 39r в единицах θa (радиан) по центральному углу, соответствующему шагу зубьев 23 статора 20, и обнаружил, что при установке, как описано выше, может быть выведен высокий крутящий момент при одновременном использовании эффекта снижения напряжения при увеличенном угле опережения.
[0048] Этот вывод был получен в ходе процесса, описанного ниже.
Изобретатель настоящей заявки провел новый анализ. Целевой вращающейся электрической машиной 10 является вращающаяся электрическая машина 10, включающая в себя роторы 30, 30A и 30E, показанные на фиг. 3, 6 и 10. Во вращающейся электрической машине 10, поскольку количество пазов равно 24, как описано выше, θa=15 градусов. Во вращающейся электрической машине 10 анализ проводился, исходя из формы, в которой положение первого мостика 39 было смещено в сторону вращения передней части F на 0,625 градуса (т.е. на (θa/24) градусов), и оценивалось значение крутящего момента/напряжения. Следует отметить, что в роторе 30, показанном на фиг. 3, задний конец 39f1 переднего мостика 39f расположен в переднем опорном местоположении Pf, а передний конец 39r1 заднего мостика 39r смещен в сторону передней части F на 1,25° относительно заднего опорного местоположения Pr. В роторе 30E, показанном на фиг. 10, задний конец 39f1 переднего мостика 39f смещен в сторону передней части F на 0,625° относительно переднего опорного местоположения Pf, а передний конец 39r1 заднего мостика 39r смещен в сторону передней части F на 0,625° относительно заднего опорного местоположения Pr.
[0049] Условия анализа приведены в Таблице 2, а в качестве значения напряжения использовалось абсолютное максимальное значение. Результаты анализа приведены в Таблице 3. Следует отметить, что в Таблице 3 результаты как для переднего мостика 39f, так и для заднего мостика 39r нормализованы с углом смещения 0 градусов в качестве опорного значения 100.
[0050] Таблица 2
[0051] Таблица 3
[0052] Как указано в ячейках, обведенных жирной рамкой (с серым фоном) в Таблице 3, подтверждено, что это значение больше, чем опорное, в диапазоне, в котором угол смещения заднего мостика 39r больше 0 и равен или меньше 1,875 градуса (т.е. (θa/8) градусов), а угол смещения переднего мостика 39f не превышает угла смещения заднего мостика 39r. Кроме того, в случае, когда угол смещения заднего мостика 39r составляет 1,25 градуса (т.е. (θa/12) градусов), а угол смещения переднего мостика 39f равен 0 градусов, подтверждено, что это значение является максимальным.
Обратите внимание, что угол перемещения измерялся с помощью моделирования. В частности, измерение проводилось по координатам узловых точек, входящих в участок мостика на имитационной модели.
[0053] Следует отметить, что магнитное насыщение происходит в начальном положении первого мостика 39 в процессе передачи магнитного потока, генерируемого в магнитном полюсе 33, образованном парой постоянных магнитов 32 в сердечнике 31 ротора. Затем магнитный поток течет изнутри наружу сердечника 31 ротора и передается на зубья 23 статора 20. Следовательно, начальное положение первого мостика 39 является точкой, с которой магнитный поток передается на статор 20. Тот факт, что начальное положение первого мостика 39 является такой начальной точкой, считается связанным с тем, что начальное положение первого мостика 39 влияет на величину оптимального угла опережения.
[0054] Следует отметить, что объем настоящего изобретения не ограничен только вышеописанным вариантом осуществления, и различные модификации могут вноситься без отступления от сущности настоящего изобретения.
[0055] Форма статора 20 не ограничивается только формами, описанными в варианте осуществления. В частности, размеры наружного диаметра и внутреннего диаметра сердечника 21 статора, толщина ламинирования, количество пазов, размерное соотношение между окружным направлением и радиальным направлением зубьев 23, размерное соотношение между зубом 23 и спинкой 22 сердечника в радиальном направлении и т.п. могут быть выбраны произвольно в зависимости от желаемых характеристик вращающейся электрической машины 10.
[0056] Форма ротора 30 не ограничивается только формами, описанными в варианте осуществления. В частности, размеры наружного диаметра и внутреннего диаметра сердечника 31 ротора, толщина ламинирования, количество полюсов и т.п. могут быть выбраны произвольно в зависимости от желаемых характеристик вращающейся электрической машины 10.
[0057] В вышеуказанном варианте осуществления и сердечник 21 статора, и сердечник 31 ротора представляют собой шихтованный сердечники, но они не обязательно должны быть шихтованными.
В конструкции может отсутствовать второй барьер 36 для магнитного потока.
[0058] В вышеуказанном варианте осуществления один магнитный полюс 33 включает в себя два постоянных магнита 32. Однако настоящее изобретение этим не ограничивается. Например, один магнитный полюс 33 может включать в себя один постоянный магнит 32, три постоянных магнита 32 или четыре или более постоянных магнитов 32. В качестве одного комплекта постоянных магнитов 32 может быть принята другая форма, включающая один или более постоянных магнитов 32.
Например, когда один комплект постоянных магнитов 32 представляет собой один постоянный магнит 32, этот один постоянный магнит 32 может иметь прямоугольную форму, вытянутую в направлении, перпендикулярном d-оси A на виде сверху.
Например, в случае, когда один комплект постоянных магнитов 32 представляет собой три постоянных магнита 32, и эти три постоянных магнита 32 расположены в окружном направлении, можно принять описанное ниже расположение. В этом случае постоянный магнит 32, расположенный по центру в окружном направлении, может иметь прямоугольную форму, вытянутую в направлении, перпендикулярном d-оси A на виде сверху. Кроме того, в этом случае два постоянных магнита 32, расположенные по обе стороны в окружном направлении, могут расходиться радиально наружу от стороны d-оси A к стороне q-оси B на виде сверху.
[0059] Кроме того, можно соответствующим образом заменять составные элементы варианта осуществления известными составными элементами, не отступая от сущности настоящего изобретения, и вышеописанные примеры модификаций могут быть соответствующим образом скомбинированы друг с другом.
Область промышленного применения
[0060] Согласно настоящему изобретению, возможно увеличение крутящего момента относительно напряжения. Следовательно, промышленная применимость является значительной.
Краткое описание ссылок с номерами
[0061] 10 Вращающаяся электрическая машина
20 Статор
21 Сердечник статора
22 Спинка сердечника
23 Зубец
24 Паз
30 Ротор
30A Ротор
30B Ротор
30C Ротор
30D Ротор
30E Ротор
31 Сердечник ротора
32 Постоянный магнит
32f Передний магнит
32r Задний магнит
33 Магнитный полюс
34 Сквозное отверстие
35 Первый барьер для магнитного потока
36 Второй барьер для магнитного потока
37 Первое пространство
38 Второе пространство
39 Первый мостик
39f Передний мостик
39f1 Задний конец
39r Задний мостик
39r1 Передний конец
40 Второй мостик
45 Центральный угол
50 Корпус
60 Вал вращения
F Передняя часть
L1 Передняя воображаемая линия
L1a Воображаемая линия
L2 Задняя воображаемая линия
L2a Воображаемая линия
O Центральная ось
Pf Переднее опорное местоположение
Pr Заднее опорное местоположение
R Задняя часть
| название | год | авторы | номер документа |
|---|---|---|---|
| ВРАЩАЮЩАЯСЯ ЭЛЕКТРИЧЕСКАЯ МАШИНА | 2023 |
|
RU2838376C2 |
| СЕРДЕЧНИК РОТОРА, РОТОР И ВРАЩАЮЩАЯСЯ ЭЛЕКТРИЧЕСКАЯ МАШИНА | 2022 |
|
RU2840350C2 |
| ВРАЩАЮЩАЯСЯ ЭЛЕКТРИЧЕСКАЯ МАШИНА И СТАТОР ВРАЩАЮЩЕЙСЯ ЭЛЕКТРИЧЕСКОЙ МАШИНЫ | 2016 |
|
RU2641722C1 |
| РОТОР ВРАЩАЮЩЕЙСЯ ЭЛЕКТРИЧЕСКОЙ МАШИНЫ | 2010 |
|
RU2543526C2 |
| ЭЛЕКТРОДВИГАТЕЛЬ С ИНТЕНСИВНЫМ МАГНИТНЫМ ПОТОКОМ | 2005 |
|
RU2336622C2 |
| ВЕТРОВАЯ СИСТЕМА ГЕНЕРИРОВАНИЯ ЭЛЕКТРОЭНЕРГИИ, СИСТЕМА ПОСТОЯННЫХ МАГНИТОВ И ПРЕОБРАЗОВАТЕЛЬ ЭЛЕКТРОЭНЕРГИИ В МЕХАНИЧЕСКУЮ СИЛУ | 2004 |
|
RU2383778C2 |
| СТИРАЛЬНАЯ МАШИНА | 2012 |
|
RU2575860C2 |
| ЭЛЕКТРОНАСОС С ДВИГАТЕЛЕМ НА ПОСТОЯННЫХ МАГНИТАХ | 2012 |
|
RU2533795C2 |
| САМОВЫРАВНИВАЮЩИЙСЯ ПРИВОД С ВИРТУАЛЬНЫМ ЭЛЛИПСОМ | 2018 |
|
RU2753017C1 |
| СТИРАЛЬНАЯ МАШИНА | 2012 |
|
RU2563773C1 |
Изобретение относится к области электротехники. Технический результат – увеличение крутящего момента. Вращающаяся электрическая машина содержит статор и ротор, содержащий сердечник и множество встроенных в сердечник комплектов постоянных магнитов, образующих полюса. Сердечник ротора включает в себя барьеры магнитного потока и мостики. Если переднее опорное местоположение (Pf) - это точка пересечения передней воображаемой линии (L1), проходящей через центральную ось (O) сердечника и передний конец переднего магнита, с внешней окружной поверхностью сердечника на виде сверху, а заднее опорное местоположение (Pr) - это точка пересечения задней воображаемой линии (L2), проходящей через центральную ось (O) сердечника и задний конец заднего магнита, с внешней окружной поверхностью сердечника на виде сверху, то передний конец заднего мостика (39r) расположен в позиции, смещенной от заднего опорного местоположения (Pr) вперед (F) на угол θf радиан по центральному углу относительно центральной оси (O), а задний конец (39f1) переднего мостика (39f) расположен в позиции, смещенной от переднего опорного местоположения (Pf) вперед (F) на угол от 0 радиан или более до θf радиан или менее по центральному углу относительно центральной оси (O). При этом θf удовлетворяет формулам: 0 < θf ≤ (θa/8), θa = 2π/(Nslot). 2 з.п. ф-лы, 11 ил.
1. Вращающаяся электрическая машина, содержащая:
статор, имеющий кольцеобразную форму; и
ротор, расположенный в статоре,
причем
ротор включает в себя:
сердечник ротора; и
множество комплектов постоянных магнитов, встроенных в сердечник ротора, причем каждый комплект постоянных магнитов образует один магнитный полюс, множество комплектов постоянных магнитов расположено в сердечнике ротора в окружном направлении сердечника ротора,
сердечник ротора включает в себя:
первый барьер для магнитного потока, предусмотренный с обеих сторон в направлении вращения ротора относительно каждого комплекта постоянных магнитов; и
первый мостик, предусмотренный снаружи сердечника ротора в радиальном направлении относительно первого барьера для магнитного потока, и
первый мостик включает в себя:
передний мостик, предусмотренный спереди в направлении вращения ротора; и
задний мостик, предусмотренный сзади в направлении вращения ротора, и
при этом если переднее опорное местоположение, являющееся опорным местоположением переднего мостика, представляет собой точку пересечения передней воображаемой линии, проходящей через центральную ось сердечника ротора и передний конец каждого комплекта постоянных магнитов, и внешней окружной поверхности сердечника ротора на виде сверху, на котором ротор рассматривается в осевом направлении, а заднее опорное местоположение, являющееся опорным местоположением заднего мостика, представляет собой точку пересечения задней воображаемой линии, проходящей через центральную ось сердечника ротора и задний конец каждого комплекта постоянных магнитов, и внешней окружной поверхности сердечника ротора на виде сверху,
то по меньшей мере в одном комплекте постоянных магнитов из множества комплектов постоянных магнитов
передний конец заднего мостика расположен в позиции, смещенной от заднего опорного местоположения вперед на θf радиан по центральному углу относительно центральной оси, и
задний конец переднего мостика расположен в позиции, смещенной от переднего опорного местоположения вперед на угол от 0 радиан или более до θf радиан или менее по центральному углу относительно центральной оси,
где θf удовлетворяет формулам (1) и (2), описанным ниже:
0 < θf ≤ (θa/8)... (1),
θa=2π/(Nslot)... (2),
где Nslot в формуле (2), описанной выше, означает количество пазов статора.
2. Вращающаяся электрическая машина по п. 1, причем
по меньшей мере в одном из множества комплектов постоянных магнитов
задний конец переднего мостика расположен в переднем опорном местоположении и
передний конец заднего мостика расположен в позиции, смещенной от заднего опорного местоположения вперед на θa/12 радиан по центральному углу относительно центральной оси.
3. Вращающаяся электрическая машина по п. 1 или 2, причем
два постоянных магнита образуют комплект, образующий один магнитный полюс,
каждый комплект постоянных магнитов включает в себя передний магнит, расположенный спереди, и задний магнит, расположенный сзади, причем передний магнит и задний магнит расположены V-образно, выступая внутрь в радиальном направлении на виде сверху,
передний мостик предусмотрен перед передним магнитом,
задний мостик предусмотрен позади заднего магнита, и
на виде сверху передняя воображаемая линия проходит через центральную ось и передний конец переднего магнита, а задняя воображаемая линия проходит через центральную ось и задний конец заднего магнита.
| РОТОР ДЛЯ ЭЛЕКТРИЧЕСКОЙ ВРАЩАЮЩЕЙСЯ МАШИНЫ | 2018 |
|
RU2685244C1 |
| JP 2019161795 A, 19.09.2019 | |||
| JP 2017093099 A, 25.05.2017 | |||
| US 2014125182 A1, 08.05.2014 | |||
| JP 2017050965 A, 09.03.2017. | |||
Авторы
Даты
2025-03-25—Публикация
2023-03-20—Подача