Область техники, к которой относится изобретение
Предлагаемое техническое решение относится к замещению жидких сред газообразными в емкостях большого объема, в частности в подземных резервуарах, создаваемых в растворимых породах, и может быть использовано в газовой промышленности при эксплуатации подземных резервуаров в каменной соли и других растворимых породах.
Уровень техники
Известен способ заполнения газом подземного резервуара в каменной соли, при котором закачку газа производят с потоком закачиваемого рассола при использовании компрессора низкого давления. [В.А. Мазуров. Подземные газонефтехранилища в отложениях каменной соли. М., Недра, 1982.212 с., стр. 154-156].
Указанный способ значительно увеличивает продолжительность закачки газа, и, кроме того, требует применения компрессора низкого давления, который затем не используется при эксплуатации подземного хранилища, что ведет к увеличению капитальных и эксплуатационных затрат.
Наиболее близким по технической сущности и достигаемому результату по отношению к заявленному способу является способ первоначального заполнения подземного резервуара, созданного в отложениях растворимых пород, с использованием компрессора низкой производительности. Данный способ включает закачку газа в подземную емкость при одновременном вытеснении содержащегося в ней рассола [Первоначальная закачка газа в подземные резервуары, созданные в каменной соли. Журнал "Газовая промышленность" №8, опубл. август 2009 г., стр. 13-15, авторы: Ю.М. Богданов, Е.А. Корнилова, Г.В. Мокроусов].
Недостаток упомянутого выше способа заключается в необходимости применения компрессора низкой производительности, который в дальнейшем, после ввода в эксплуатацию подземного резервуара, не используется в период закачки хранимого газа, что повышает капитальные затраты эксплуатации подземного хранилища в целом.
Техническая задача, решаемая при разработке предлагаемого способа, заключается в снижении эксплуатационных и капитальных затрат в процессе закачки газа в подземный резервуар при одновременном вытеснении рассола. Достигаемый технический результат при решении указанной задачи выражается в повышении энергоэффективности процесса первоначального заполнения вводимого в эксплуатацию подземного резервуара сжатым газом за счет использования аккумулированной энергии сжатого газа при самопроизвольном вытеснении рассола, происходящем с понижением давления внутри подземного резервуара.
Раскрытие сущности изобретения
Сущность предлагаемого технического решения состоит в том, что в процессе закачки хранимого газа предварительно создают газовую подушку, обеспечивающую стабильную работу газоперекачивающего агрегата, затем закачку газа с вытеснением рассола ведут поэтапно до достижения на каждом этапе закачки значения максимально допустимого давления в подземном резервуаре, определяемого величиной гидроразрыва горных пород, а между этапами закачки продолжают отбор рассола до минимальной величины давления газа в подземном резервуаре, определяемой условиями обеспечения непрерывности отбора рассола, при этом этапы закачки газа с одновременным вытеснением рассола и отбора рассола без закачки газа ведут до полного замещения рассола в подземном резервуаре.
Предпочтительным вариантом при наличии двух и более ранее созданных подземных резервуаров, заполненных рассолом, является одновременное создание газовых подушек в каждом из них.
Предлагаемый способ предназначается для первичного заполнения впервые вводимого в эксплуатацию подземного резервуара, созданного в растворимых породах.
Предусмотренная циклическая закачка газа обусловлена, с одной стороны, существующими ограничениями в производительности отбора рассола, а с другой - высокой мощностью используемого компрессора, необходимой при дальнейшей эксплуатации этого же резервуара, заполненного газом. Приближение к максимально допустимой величине давления в подземном резервуаре на каждом этапе закачки газа с одновременным вытеснением рассола и стремление к минимальной величине давления в подземном резервуаре в период прекращения закачки газа и продолжающемся отборе рассола (в промежутках между этапами закачки газа) обусловлены увеличением ресурса используемого газоперекачивающего оборудования. Для реализации процесса первоначального заполнения подземного резервуара в растворимых породах с одновременным вытеснением рассола существует необходимость снижения производительности компрессора в процессе закачки газа, обусловленная тем, что, с учетом ограничения производительности отбора рассола из резервуара, производительность агрегата превышает необходимую в несколько раз. Максимальный расход рассола ограничивается предельной скоростью движения рассола по колонне, которая зависит от диаметра колонны и длины свободновисящего конца трубы в резервуаре. Для реализации ограничения производительности закачки газа существуют четыре основных способа: уменьшение частоты вращения вала компрессора, уменьшение давления на входе в компрессор, изменение геометрических характеристик компрессора и байпасирование закачиваемого компрессором газа через установку низкотемпературной сепарации газа на вход нагнетательного трубопровода компрессора. Первые три способа ограничения производительности зависят от технических особенностей компрессора и не обеспечивают необходимое снижение производительности закачки газа. В данном случае избыток газа байпасируется мимо скважины подземного резервуара в течение времени создания газовой подушки. Процесс создания газовой подушки диктуется необходимостью ограничения производительности закачки газа в подземный резервуар, что в свою очередь обусловлено ограничением производительности отбора рассола. На первом этапе необходимо поддерживать давление в подземном резервуаре, обеспечивающее непрерывное вытеснение рассола с заданной производительностью. Его величина имеет три составляющие: гидравлические потери по длине колонны труб технологической скважины для вытеснения рассола, заданное выходное давление рассола (необходимо для дальнейшего движения рассола на линии его утилизации) и давление столба рассола в подвесной колонне труб подземного резервуара. Последняя составляющая увеличивается по мере перемещения границы раздела сред при вытеснении рассола.
После создания газовой подушки необходимость ограничения производительности закачки газа отпадает, т.к. обеспечивается условие минимального времени работы газовой турбины при работе компрессора на самом эффективном режиме.
Краткое описание графических материалов
Сущность предлагаемого изобретения поясняется чертежами.
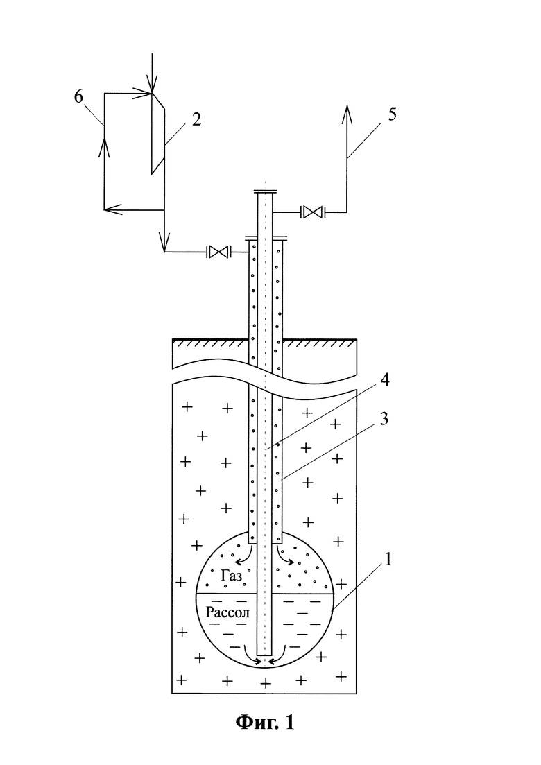
На фиг.1 представлена принципиальная схема осуществления способа первоначального заполнения газом подземного резервуара в отложениях растворимых пород.
Изображение на фиг.1 включает подземный резервуар 1, в который компрессором 2 закачивают газ по межтрубному пространству технологической скважины 3 и отбирают рассол по центральной подвесной колонне 4, который направляется в линию утилизации 5. Производительность закачки хранимого газа регулируют перепуском части газа через линию байпаса 6.
На фиг.2 изображена графическая зависимость циклического изменения давления газа в подземном резервуаре от времени. Цикл состоит из этапа увеличения и последующего этапа уменьшения давления газа в подземном резервуаре. На этапе увеличения давления производится закачка газа в подземный резервуар с одновременным вытеснением рассола. Изменение величины давления газа происходит от минимального давления Pmin, определяемого из условия непрерывности отбора рассола, до максимального давления Pmax, определяемого давлением гидроразрыва горных пород. На этапе уменьшения давления производится отбор рассола без закачки газа под действием энергии сжатого газа от Pmax до Pmin. Далее описанный выше цикл повторяют до полного замещения рассола газом в подземном резервуаре.
Осуществление изобретения
На начальном этапе процесса закачки газа в подземный резервуар 1 с одновременным вытеснением рассола создают газовую подушку. В качестве газовой подушки выступает незначительный объем газа, закачанного в подземный резервуар с низкой производительностью. Низкая производительность закачки газа в подземный резервуар на начальном этапе обусловлена малым расходом отбора рассола. Производительность закачки газа регулируют перепуском части газа через линию байпаса 6. После создания газовой подушки закачку газа в подземный резервуар 1 производят компрессором 2 по межтрубному пространству технологической скважины 3 без ограничения производительности и отбирают рассол по центральной подвесной колонне технологической скважины 4 до момента достижения давления газа в подземном резервуаре максимальной величины. Далее закачку газа останавливают и продолжают процесс отбора рассола под действием давления газа. Процесс отбора рассола без закачки газа продолжается до достижения давления в подземном резервуаре минимальной величины. Рассол передают в линию утилизации 5, после чего описанные выше процессы циклически повторяют до полного замещения рассола в подземном резервуаре газом.
Способ реализован на одном из подземных хранилищ природного газа. Первоначально была создана газовая подушка путем закачки газа в подземный резервуар в течение 12 часов компрессором, работающим с номинальной производительностью, с перепуском части газа через линию байпаса. Рассол вытеснялся из подземного резервуара со средним расходом 100 м3/час. При достижении максимально допустимого давления газа на устье подземного резервуара Pmax равным 18 МПа, подача газа прекращена. Отбор рассола продолжался за счет энергии сжатого газа до достижения его давления на устье Pmin равным 12 МПа. Затем закачка газа компрессором возобновлена в номинальном режиме и прекращена с достижением максимального давления газа на устье Pmax, после чего рассол отбирался за счет энергии сжатого газа. Процессы циклической закачки газа при постоянном отборе рассола повторялись до полного отбора рассола.
При наличии двух и более ранее созданных, заполненных рассолом, подземных резервуаров газовую подушку создают в них одновременно. В качестве газовой подушки выступает незначительный объем газа, закачанного в несколько подземных резервуаров с низкой производительностью. Реализация предлагаемого способа эксплуатации подземного резервуара позволяет существенно повысить энергоэффективность процесса первоначального заполнения за счет уменьшения времени работы газоперекачивающего агрегата и, соответственно, топливных затрат.
| название | год | авторы | номер документа |
|---|---|---|---|
| Способ первоначального заполнения газом подземного резервуара в каменной соли | 2024 |
|
RU2839335C1 |
| СПОСОБ ЭКСПЛУАТАЦИИ ПОДЗЕМНОГО ХРАНИЛИЩА ВЫСОКОВЯЗКИХ НЕФТЕПРОДУКТОВ | 1990 |
|
RU2093444C1 |
| СПОСОБ УВЕЛИЧЕНИЯ ПОЛЕЗНОГО ОБЪЕМА ПОДЗЕМНОГО РЕЗЕРВУАРА, СОЗДАННОГО В РАСТВОРИМЫХ ПОРОДАХ ЧЕРЕЗ БУРОВУЮ СКВАЖИНУ | 2007 |
|
RU2384505C2 |
| СПОСОБ СОЗДАНИЯ И ЭКСПЛУАТАЦИИ ПОДЗЕМНОГО ХРАНИЛИЩА ГАЗА В ОТЛОЖЕНИЯХ КАМЕННОЙ СОЛИ | 2018 |
|
RU2707478C1 |
| СПОСОБ ПОДАЧИ ГАЗООБРАЗНОГО НЕРАСТВОРИТЕЛЯ ПРИ СООРУЖЕНИИ ПОДЗЕМНЫХ РЕЗЕРВУАРОВ В РАСТВОРИМЫХ ПОРОДАХ | 1997 |
|
RU2141440C1 |
| СПОСОБ ЛИКВИДАЦИИ ПОДЗЕМНЫХ ХРАНИЛИЩ ПЛАСТОВОГО УГЛЕВОДОРОДНОГО СЫРЬЯ С РЕЗЕРВУАРАМИ, СООРУЖАЕМЫМИ В КАМЕННОЙ СОЛИ И ДРУГИХ ГОРНЫХ ПОРОДАХ, В ТОМ ЧИСЛЕ МНОГОЛЕТНЕМЕРЗЛЫХ, А ТАКЖЕ В ПРИРОДНООБРАЗУЮЩИХСЯ КАРСТОВЫХ ПУСТОТАХ | 2018 |
|
RU2746918C2 |
| СПОСОБ ОБРУШЕНИЯ ПРОПЛАСТКА НЕРАСТВОРИМЫХ ПОРОД ПРИ СТРОИТЕЛЬСТВЕ ПОДЗЕМНОГО РЕЗЕРВУАРА В РАСТВОРИМЫХ СОЛЯХ ЧЕРЕЗ СКВАЖИНУ | 1998 |
|
RU2166081C2 |
| СПОСОБ ЭКСПЛУАТАЦИИ ПОДЗЕМНЫХ ХРАНИЛИЩ ГАЗОВ В ОТЛОЖЕНИЯХ РАСТВОРИМЫХ ПОРОД | 2001 |
|
RU2211179C1 |
| Способ сооружения двухъярусного подземного резервуара в пласте каменной соли | 2023 |
|
RU2812756C1 |
| Система и способ эксплуатации подземных хранилищ газа | 2022 |
|
RU2804039C1 |
Особенностью способа первоначального заполнения газом подземного резервуара в отложениях растворимых пород, включающего закачку газа через технологическую скважину в подземный резервуар с одновременным вытеснением рассола по скважине, является цикличная работа газового компрессора. Между циклами работы компрессора замещение рассола осуществляется за счет энергии сжатого в подземном резервуаре газа. На начальном этапе закачки газа создают газовую подушку, обеспечивающую стабильную работу газоперекачивающего агрегата. После создания газовой подушки закачку газа с вытеснением рассола ведут поэтапно. На каждом этапе закачки достигается значения максимально допустимого давления газа в подземном резервуаре. Величина этого давления определяется из условия гидроразрыва горных пород. Между этапами закачки продолжают отбор рассола из технологической скважины до минимально допустимой величины давления газа в подземном резервуаре. Величину минимально допустимого давления определяют из условия обеспечения непрерывности отбора рассола. Циклы повторяют до полного замещения рассола газом. Данный способ эксплуатации обеспечивает значительное снижение энергозатрат. 2 з.п. ф-лы, 2 ил.
1. Способ первоначального заполнения газом подземного резервуара в отложениях растворимых пород, включающий закачку газа в подземный резервуар через межтрубное пространство технологической скважины с одновременным вытеснением рассола через центральную подвесную колонну технологической скважины, отличающийся тем, что в процессе закачки хранимого газа первоначально создают газовую подушку, обеспечивающую стабильную работу газоперекачивающего агрегата, затем закачку газа с вытеснением рассола ведут поэтапно до достижения на каждом этапе закачки значения максимально допустимого давления, определяемого величиной гидроразрыва горных пород, а между этапами закачки продолжают отбор рассола из технологической скважины до минимально допустимой величины давления газа в подземном резервуаре, определяемой условиями обеспечения непрерывности отбора рассола, при этом этапы закачки газа с одновременным вытеснением рассола и отбора рассола без закачки газа ведут до полного замещения рассола в подземном резервуаре.
2. Способ по п. 1 отличающийся тем, что в процессе создания газовой подушки интенсивность процесса закачки газа в подземный резервуар ограничивают производительностью отбора рассола путем байпасирования закачиваемого газа с подачей его на вход газоперекачивающего агрегата.
3. Способ по п. 1 отличающийся тем, что при наличии двух и более ранее созданных заполненных рассолом подземных резервуаров газовую подушку создают в них одновременно.
| СПОСОБ СОЗДАНИЯ И ЭКСПЛУАТАЦИИ ПОДЗЕМНОГО ХРАНИЛИЩА ГАЗА В ОТЛОЖЕНИЯХ КАМЕННОЙ СОЛИ | 2018 |
|
RU2707478C1 |
| СПОСОБ ЭКСПЛУАТАЦИИ ПОДЗЕМНЫХ ХРАНИЛИЩ ГАЗОВ В ОТЛОЖЕНИЯХ РАСТВОРИМЫХ ПОРОД | 2001 |
|
RU2211179C1 |
| СПОСОБ СОЗДАНИЯ ПОДЗЕМНЫХ ХРАНИЛИЩ ГАЗОВ В ОТЛОЖЕНИЯХ РАСТВОРИМЫХ ПОРОД | 2003 |
|
RU2246437C1 |
| Способ сооружения подземного тоннельного резервуара в пласте каменной соли ограниченной мощности | 2021 |
|
RU2754232C1 |
| СПОСОБ СОЗДАНИЯ ПОДЗЕМНОГО РЕЗЕРВУАРА В КАМЕННОЙ СОЛИ И УСТРОЙСТВО ДЛЯ ЕГО ОСУЩЕСТВЛЕНИЯ | 2003 |
|
RU2260116C1 |
| WO 2013176878 A1, 28.11.2013. | |||
Авторы
Даты
2025-04-04—Публикация
2024-09-06—Подача