Область техники, к которой относится изобретение
Предлагаемое техническое решение относится к эксплуатации подземных резервуаров в каменной соли и может быть использовано в нефтяной, газовой и химической промышленности.
Уровень техники
Известен способ заполнения газом подземного резервуара в каменной соли, при котором закачку газа производят с потоком закачиваемого рассола при использовании компрессора низкого давления [В.А. Мазуров. Подземные газонефтехранилища в отложениях каменной соли. М., Недра, 1982.212 с. Стр. 154-156].
Указанный способ характеризуется значительной продолжительностью закачки газа, а для его осуществления требуется использовать две подвесные колонны, спускаемые в подземный резервуар. Кроме того, указанный способ требует применения компрессора низкого давления, который затем не используется при эксплуатации подземного хранилища, что ведет к увеличению капитальных и эксплуатационных затрат.
Известен способ первоначального заполнения подземного резервуара в каменной соли с использованием компрессора низкой производительности. Данный способ включает закачку газа в подземную емкость по межтрубному пространству эксплуатационной и подвесной колонн при одновременном вытеснении содержащегося в ней рассола по подвесной колонне [Первоначальная закачка газа в подземные резервуары, созданные в каменной соли. Журнал "Газовая промышленность" №8, опубл. август 2009 г., стр. 13, авторы: Ю.М. Богданов, Е.А. Корнилова, Г.В. Мокроусов]. Недостаток упомянутого выше способа заключается в необходимости применения компрессора низкой производительности, который в дальнейшем, после ввода в эксплуатацию подземного резервуара, не используется при эксплуатации подземного хранилища, что повышает капитальные и эксплуатационные затраты.
Наиболее близким по технической сущности и достигаемому результату по отношению к заявленному способу является способ первоначального заполнения подземного резервуара, созданного в отложениях каменной соли по патенту [RU 2707478 С1]. В указанном способе в подземный резервуар, заполненный рассолом, спускают подвесную колонну с гидравлическим пакером, циркуляционным клапаном и клапаном-отсекателем (устройством, состоящим из втулки с посадочным седлом, на которое садится посадочная пробка), устанавливают фонтанную арматуру и обвязывают устье скважины шлейфами с учетом возможности направления потока газа как через межтрубное пространство между наружной стенкой подвесной колонны и внутренней стенкой эксплуатационной колонны, так и внутреннее пространство подвесной колонны, закачивают газ в межтрубье эксплуатационной и подвесной колонн и выпускают рассол по подвесной колонне, заполняют резервуар газом, прекращают подачу газа, раскрывают пакер и изолируют межтрубное пространство, раскрывают циркуляционный клапан.
Недостатком указанного способа является значительная продолжительность закачки газа в случае ограниченной производительности закачки газа через межтрубье эксплуатационной и подвесной колонн и, вследствие этого, малого расхода при выпуске рассола.
Техническая задача, решаемая при применении предлагаемого способа, заключается в уменьшения продолжительности первоначального заполнения подземного резервуара газом за счет увеличения расхода при выпуске рассола, поскольку пропускная способность (площадь) подвесной колонны значительно больше кольцевого пространства между подвесной колонной и эксплуатационной колонной. Достигаемый технический результат при решении указанной задачи выражается в повышении эффективности процесса первоначального заполнения вводимого в эксплуатацию подземного резервуара сжатым газом за счет ускорения ввода его в эксплуатацию путем использования аккумулированной энергии сжатого газа при самопроизвольном вытеснении рассола через подвесную колонну, происходящем с понижением давления внутри подземного резервуара.
Раскрытие сущности изобретения
Сущность предлагаемого технического решения состоит в следующем. При снижении производительности закачки газа через межтрубье эксплуатационной и подвесной колонн производительность выпуска рассола может уменьшиться до величины меньшей, чем требуется для своевременного ввода резервуара в эксплуатацию.
Причиной снижения производительности закачки газа является уменьшение площади проходного поперечного сечения межтрубья эксплуатационной и подвесной колонн. Уменьшение сечения происходит вследствие сочетания разных факторов: скопления в области расположения пакера осыпающихся с внутренней стенки эксплуатационной колонны соляных и иных отложений, стекания масла и образования газовых гидратов. Минимальная продолжительность первоначального заполнения обеспечивается при максимально возможном расходе рассола, который ограничивается предельной скоростью движения рассола по подвесной колонне, зависящей от диаметра колонны и длины свободновисящего конца трубы в резервуаре.
Для поддержания требуемой скорости вытеснения рассола необходимо поддерживать величину давления газа в подземном резервуаре в диапазоне от максимально допустимой до минимальной, обеспечивающей непрерывное вытеснение рассола с заданной производительностью. Эта величина складывается из трех составляющих: гидравлических потерь при движении рассола и газа по подвесной колонне труб и межтрубному пространству, используемой для вытеснения рассола, заданного выходного давления рассола (необходимо для дальнейшего движения рассола на линии его утилизации) и давления столба рассола в подвесной колонне труб. Последняя составляющая увеличивается по мере перемещения границы раздела сред при вытеснении рассола. Предпочтительно вытеснять рассол с максимально возможным расходом для ускорения ввода подземного резервуара в эксплуатацию. При невозможности закачки газа в подземный резервуар через межтрубье эксплуатационной и подвесной колонн с необходимой производительностью закачку ведут через подвесную колонну, при этом подачу газа через межтрубье прекращают. Процессы закачки газа и вытеснения рассола ведут поэтапно: на первом этапе закачивают газ через подвесную колонну до достижения максимально допустимого давления в подземном резервуаре, а на втором этапе после прекращения закачки газа ведут отбор рассола до минимальной величины давления газа в подземном резервуаре, определяемой условиями обеспечения непрерывности отбора рассола с заданной производительностью. Далее описанный выше цикл повторяют до полного замещения рассола газом в подземном резервуаре.
Пакер раскрывают и изолируют межтрубное пространство эксплуатационной и подвесной колонн по следующим вариантам, зависящим от технических и технологических факторов: после окончания закачки газа через межтрубье или после полного вытеснения рассола из подземного резервуара. Раскрытие пакера после окончания закачки газа через межтрубье обеспечивает большую надежность изоляции межтрубного пространства, т.к. пакер раскрывается при меньшем внешнем давлении.
Затем раскрывают циркуляционный клапан, после чего подземный резервуар готов к эксплуатации.
Краткое описание графических материалов
Сущность предлагаемого изобретения поясняется чертежом.
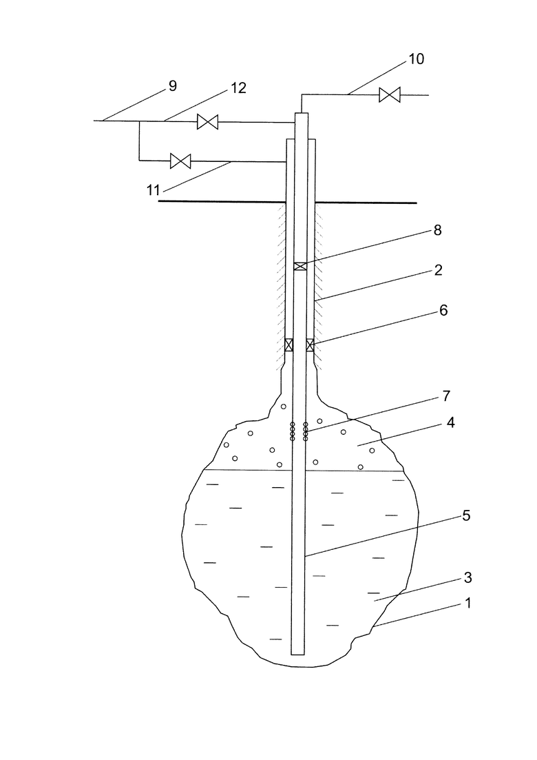
На чертеже представлена принципиальная схема осуществления способа первоначального заполнения газом подземного резервуара в каменной соли, соответствующая окончанию закачки газа через межтрубье эксплуатационной и подвесной колонн.
Изображение на чертеже включает подземный резервуар с выработкой-емкостью, заполненной рассолом и газом, и скважиной с зацементированной на всю глубину эксплуатационной колонной с колонной головкой. На устье скважины установлена фонтанная арматура для газовой эксплуатации. В скважину спущена подвесная колонна с гидравлическим пакером, циркуляционным клапаном и клапаном-отсекателем. Фонтанная арматура обвязана с газовым шлейфом, имеющим отводы для подачи газа в межтрубное пространство между наружной стенкой подвесной колонны и внутренней стенкой эксплуатационной колонны и через подвесную колонну, а также с линией утилизации рассола. В подземный резервуар закачивают газ, вытесняя рассол в линию утилизации.
На чертеже используются следующие обозначения:
1 - подземный резервуар;
2 - эксплуатационная колонна, зацементированная на всю глубину;
3 - рассол;
4 - газ;
5 - подвесная колонна;
6 - гидравлический пакер;
7 - циркуляционный клапан;
8 - клапан-отсекатель;
9 - газовый шлейф;
10 - линия утилизации рассола;
11 - отвод для подачи газа в межтрубье эксплуатационной и подвесной колонн;
12 - отвод для подачи газа в подвесную колонну.
Осуществление изобретения
Способ осуществляется следующим образом.
Исходное состояние подземного резервуара 1 следующее: ствол скважины подземного резервуара закреплен зацементированной эксплуатационной колонной 2 с колонной головкой. Подземный резервуар полностью заполнен рассолом 3, образовавшимся за период создания резервуара. На устье скважины устанавливают фонтанную арматуру для газовой эксплуатации. В подземный резервуар спускают подвесную колонну 5 с установленным в ней гидравлическим пакером 6, циркуляционным клапаном 7 и установочным клапаном-отсекателем 8. После спуска подвесной колонны гидравлический пакер 6 располагается выше башмака эксплуатационной колонны, циркуляционный клапан 7 - ниже башмака эксплуатационной колонны, а установочный клапан-отсекатель 8 - между циркуляционным клапаном и башмаком подвесной колонны. Фонтанную арматуру обвязывают таким образом, чтобы обеспечить закачку и выпуск газа в газовый шлейф 9 и выдачу рассола в линию его утилизации 10. Обвязку устья газовыми шлейфами обустраивают с учетом возможности направления потока газа как через межтрубное пространство между наружной стенкой подвесной колонны 5 и внутренней стенкой эксплуатационной колонны 2 по отводу 11, так и через внутреннее пространство подвесной колонны 5 по отводу 12.
Затем закачивают газ в межтрубное пространство между эксплуатационной колонной 2 и подвесной колонной 5, вытесняя рассол по подвесной колонне 5 в линию его утилизации 10.
При снижении производительности закачки газа через межтрубье эксплуатационной 2 и подвесной 5 колонн и снижении вследствие этого расхода рассола при выпуске до величины меньшей, чем требуется для своевременного ввода резервуара в эксплуатацию, закачку газа прекращают и перекрывают отвод 11 для подачи газа в межтрубье. Затем перекрывают линию выдачу рассола 10.
Далее через газовый шлейф 9 и отвод 12 закачивают газ в подвесную колонну 5. Доводят давление газа до максимально допустимого на устье подземного резервуара. Величина максимально допустимого давления определяется по результатам испытания подземного резервуара. При закачке давление в резервуаре повышается, а сжатый газ 4 занимает определенный объем выработке-емкости. Затем прекращают закачку газа, выпускают газ из подвесной колонны 5 (при этом происходит поднятие зеркала рассола в подвесной колонне до устья) в газовый шлейф 9 и перекрывают отвод 12.
После этого открывают линию выдачи рассола 10 и под действием энергии сжатого газа 4 выпускают рассол с определенным расходом. Максимальный расход рассола ограничивается предельной скоростью движения рассола по колонне, которая зависит от диаметра колонны и длины свободновисящего конца трубы в резервуаре. При снижении давления газа в резервуаре расход рассола падает. При минимальном давлении на устье, обеспечивающем непрерывный выпуск рассола с заданным расходом, линию выдачи рассола 10 перекрывают.
Например, при объеме выработки-емкости 400 тыс. м3 и глубине расположения резервуара 1000 м максимально допустимое давление газа на устье составляет 18,0 МПа. Минимальное давление, обеспечивающее непрерывный выпуск рассола с заданным максимально допустимым расходом 150 м3/час зависит от положения границы раздела газа 4 и рассола 3 в выработке-емкости и меняется от 12,8 МПа при начале выпуска рассола до 14 МПа перед полным опорожнением резервуара от рассола.
Затем открывают газовый шлейф 9 и закачивают газ до максимально допустимого на устье, и описанный выше цикл повторяют до полного замещения рассола газом в подземном резервуаре. При каждом следующем цикле количество рассола 3 в резервуаре уменьшается и растет геометрический объем, занимаемый газом 4.
После полного вытеснения рассола газом закачку газа прекращают. После этого раскрывают пакер 6 следующим образом. Спускают в подвесную колонну на геофизическом кабеле геофизический инструмент (шар), который садится в установочное «седло» в нижней части пакера, повышают давление в подвесной колонне 5 за счет чего раскрывается пакер 6, изолируя межтрубное пространство между эксплуатационной 2 и подвесной колоннами 5 от выработки-емкости подземного резервуара 1. Затем инструмент извлекают и спускают инструмент с другим диаметром до посадки его в «седло» в циркуляционном клапане 7. После чего повышают давление в подвесной колонне, вследствие чего открываются циркуляционные окна, и подвесная колонна заполняется через них газом. Если имеются необходимые технические и технологические условия, пакер 6 раскрывают после прекращения закачки газа через межтрубье эксплуатационной 2 и подвесной колонн 5.
Эксплуатацию подземного резервуара в качестве объекта хранения газа (закачка и отбор) производят по подвесной колонне 5 и газовому шлейфу 9.
| название | год | авторы | номер документа |
|---|---|---|---|
| СПОСОБ СОЗДАНИЯ И ЭКСПЛУАТАЦИИ ПОДЗЕМНОГО ХРАНИЛИЩА ГАЗА В ОТЛОЖЕНИЯХ КАМЕННОЙ СОЛИ | 2018 |
|
RU2707478C1 |
| Способ первоначального заполнения газом подземного резервуара в отложениях растворимых пород | 2024 |
|
RU2837774C1 |
| Система и способ эксплуатации подземных хранилищ газа | 2022 |
|
RU2804039C1 |
| СПОСОБ РЕМОНТА СКВАЖИН ПОДЗЕМНЫХ РЕЗЕРВУАРОВ | 2001 |
|
RU2211300C1 |
| СПОСОБ ЭКСПЛУАТАЦИИ ПОДЗЕМНЫХ ХРАНИЛИЩ ГАЗОВ В ОТЛОЖЕНИЯХ РАСТВОРИМЫХ ПОРОД | 2001 |
|
RU2211179C1 |
| СПОСОБ ВТОРИЧНОГО ЦЕМЕНТИРОВАНИЯ ТЕХНОЛОГИЧЕСКИХ СКВАЖИН ПОДЗЕМНЫХ РЕЗЕРВУАРОВ РАЗЛИЧНОГО НАЗНАЧЕНИЯ | 2012 |
|
RU2485283C1 |
| Способ установки моста в скважине | 1989 |
|
SU1778046A1 |
| СПОСОБ УВЕЛИЧЕНИЯ ПОЛЕЗНОГО ОБЪЕМА ПОДЗЕМНОГО РЕЗЕРВУАРА, СОЗДАННОГО В РАСТВОРИМЫХ ПОРОДАХ ЧЕРЕЗ БУРОВУЮ СКВАЖИНУ | 2007 |
|
RU2384505C2 |
| Способ сооружения двухъярусного подземного резервуара в пласте каменной соли | 2023 |
|
RU2812756C1 |
| СПОСОБ ХРАНЕНИЯ ПРИРОДНОГО ГАЗА В ПОДЗЕМНОМ РЕЗЕРВУАРЕ, СООРУЖЕННОМ В ВЕЧНОЙ МЕРЗЛОТЕ | 2012 |
|
RU2529928C2 |
Особенностью способа первоначального заполнения газом подземного резервуара в каменной соли, включающего закачку газа в подземный резервуар и вытеснение рассола через скважину, является поочередная закачка газа и выпуск рассола через подвесную колонну. Между циклами закачки газа выпуск рассола осуществляется за счет энергии сжатого в подземном резервуаре газа. Закачка газа в подземный резервуар через подвесную колонну производится в случае невозможности закачки газа через межтрубье эксплуатационной и подвесной колонн с заданной производительностью и снижения вследствие этого расхода рассола при выпуске. Газ закачивают через подвесную колонну до максимально допустимого давления в подземном резервуаре, а рассол выпускают до минимального давления газа, обеспечивающего непрерывный выпуск рассола с заданным расходом. Повышается эффективность процесса первоначального заполнения подземного резервуара сжатым газом за счет ускорения ввода его в эксплуатацию. 2 з.п. ф-лы, 1 ил.
1. Способ первоначального заполнения газом подземного резервуара в каменной соли, при котором в подземный резервуар, снабженный зацементированной эксплуатационной колонной и заполненный рассолом, спускают подвесную колонну с гидравлическим пакером, циркуляционным клапаном и клапаном-отсекателем, устанавливают фонтанную арматуру и обвязывают устье скважины газовым шлейфом с возможностью направления потока газа через межтрубное пространство между наружной стенкой подвесной колонны и внутренней стенкой эксплуатационной колонны и внутреннее пространство подвесной колонны, закачивают газ в межтрубье эксплуатационной и подвесной колонн и вытесняют рассол по подвесной колонне, заполняют резервуар газом, раскрывают пакер, раскрывают циркуляционный клапан, отличающийся тем, что при снижении производительности закачки газа через межтрубье и снижении вследствие этого расхода вытесняемого рассола закачку газа прекращают, перекрывают подачу газа в межтрубье и выдачу рассола, закачивают газ через подвесную колонну до максимально допустимого давления в подземном резервуаре, выпускают рассол до минимального давления газа, обеспечивающего непрерывный выпуск рассола с заданным расходом, вновь ведут закачку газа и выпуск рассола поочередно до полного выпуска рассола.
2. Способ по п. 1, отличающийся тем, что пакер раскрывают после прекращения подачи газа в межтрубье.
3. Способ по п. 1, отличающийся тем, что величину минимального давления газа принимают равной обеспечивающей непрерывный выпуск рассола с максимально возможным расходом.
| СПОСОБ СОЗДАНИЯ И ЭКСПЛУАТАЦИИ ПОДЗЕМНОГО ХРАНИЛИЩА ГАЗА В ОТЛОЖЕНИЯХ КАМЕННОЙ СОЛИ | 2018 |
|
RU2707478C1 |
| RU 2055006 C1, 27.02.1996 | |||
| СПОСОБ ЗАКАНЧИВАНИЯ И ЭКСПЛУАТАЦИИ СКВАЖИНЫ ПОДЗЕМНОГО ХРАНИЛИЩА ГАЗА В ВОДОНОСНОМ ПЛАСТЕ НЕОДНОРОДНОГО ЛИТОЛОГИЧЕСКОГО СТРОЕНИЯ | 2013 |
|
RU2533465C1 |
| US 20110206459 A1, 25.08.2011. | |||
Авторы
Даты
2025-04-29—Публикация
2024-11-22—Подача