ОБЛАСТЬ ТЕХНИКИ
[0001] Настоящее изобретение относится к конструкции, обеспечивающей внутреннее пространство, и способу производства такой конструкции путем соединения множества элементов.
УРОВЕНЬ ТЕХНИКИ
[0002] Традиционные конструкции, обеспечивающие жилое помещение, включают конструкции, которые могут быть собраны путем объединения деталей из экструдированного пенополистирола или армированного волокном пластика (FRP). Например, в патентной литературе 1 раскрыт сборный купол, установленный на бетонной фундаментной плите в качестве такой конструкции.
Список литературы
Патентная литература
[0003] [PTL 1] Международная публикация № WO 2004/005633
РАСКРЫТИЕ СУЩНОСТИ ИЗОБРЕТЕНИЯ
ТЕХНИЧЕСКАЯ ПРОБЛЕМА
[0004] Настоящее изобретение направлено на получение конструкции, которая может плавать на воде, в качестве конструкции, которая обеспечивает внутреннее пространство, и получение способа производства такой конструкции.
Решение проблемы
[0005] Настоящим изобретением предложены, например, следующие пункты.
Пункт 1
Конструкция, содержащая:
по меньшей мере один потолочный элемент;
по меньшей мере четыре стеновых элемента; и
по меньшей мере один элемент пола;
при этом каждый из по меньшей мере четырех стеновых элементов имеет:
первую соединительную кромку, соединенную с по меньшей мере одним потолочным элементом;
вторую соединительную кромку, соединенную с по меньшей мере одним элементом пола;
третью соединительную кромку, соединенную с одним из по меньшей мере четырех стеновых элементов, смежных с каждым из по меньшей мере четырех стеновых элементов; и
четвертую соединительную кромку, соединенную с другим из по меньшей мере четырех стеновых элементов, смежных с каждым из по меньшей мере четырех стеновых элементов;
при этом каждый из по меньшей мере одного потолочного элемента, по меньшей мере четырех стеновых элементов и по меньшей мере одного элемента пола выполнен из пены.
Пункт 2
Конструкция по пункт 1, в которой
по меньшей мере один потолочный элемент содержит первый потолочный элемент и второй потолочный элемент, причем каждый из первого потолочного элемента и второго потолочного элемента содержит первую соединительную кромку, вторую соединительную кромку, третью соединительную кромку и четвертую соединительную кромку,
по меньшей мере четыре стеновых элемента содержат первый стеновой элемент, второй стеновой элемент, третий стеновой элемент и четвертый стеновой элемент,
по меньшей мере один элемент пола содержит первый элемент пола и второй элемент пола, причем каждый из первого элемента пола и второго элемента пола содержит первую соединительную кромку, вторую соединительную кромку, третью соединительную кромку и четвертую соединительную кромку,
первая соединительная кромка первого стенового элемента соединена с первой соединительной кромкой первого потолочного элемента, вторая соединительная кромка первого стенового элемента соединена с первой соединительной кромкой первого элемента пола, третья соединительная кромка первого стенового элемента соединена с четвертой соединительной кромкой третьего стенового элемента, и четвертая соединительная кромка первого стенового элемента соединена с третьей соединительной кромкой четвертого стенового элемента,
первая соединительная кромка второго стенового элемента соединена со второй соединительной кромкой второго потолочного элемента, вторая соединительная кромка второго стенового элемента соединена со второй соединительной кромкой второго элемента пола, третья соединительная кромка второго стенового элемента соединена с четвертой соединительной кромкой четвертого стенового элемента, и четвертая соединительная кромка второго стенового элемента соединена с третьей соединительной кромкой третьего стенового элемента,
первая соединительная кромка третьего стенового элемента соединена с третьей соединительной кромкой первого потолочного элемента и третьей соединительной кромкой второго потолочного элемента, и вторая соединительная кромка третьего стенового элемента соединена с третьей соединительной кромкой первого элемента пола и третьей соединительной кромкой второго элемента пола,
первая соединительная кромка четвертого стенового элемента соединена с четвертой соединительной кромкой первого потолочного элемента и четвертой соединительной кромкой второго потолочного элемента, и вторая соединительная кромка четвертого стенового элемента соединена с четвертой соединительной кромкой первого элемента пола и четвертой соединительной кромкой второго элемента пола,
вторая соединительная кромка первого потолочного элемента соединена с первой соединительной кромкой второго потолочного элемента, и
вторая соединительная кромка первого элемента пола соединена с первой соединительной кромкой второго элемента пола.
Пункт 3
Расширяемая конструкция, содержащая:
множество потолочных элементов;
по меньшей мере один потолочный элемент для расширения;
множество стеновых элементов;
множество элементов пола; и
по меньшей мере один элемент пола для расширения;
при этом по меньшей мере один потолочный элемент для расширения присоединен между двумя из множества потолочных элементов для формирования расширенного потолочного участка,
при этом по меньшей мере один элемент пола для расширения присоединен между двумя из множества элементов пола для формирования расширенного участка пола,
при этом расширенный потолочный участок соединен с расширенным участком пола множеством стеновых элементов, и
при этом каждый элемент выполнен из пены.
Пункт 4
Конструкция по пункту 3, в которой
каждый из множества элементов пола имеет четыре соединительных кромки, причем три из четырех соединительных кромок каждого из множества элементов пола имеют форму, соединенную с множеством стеновых элементов, и
каждый из по меньшей мере одного элемента пола для расширения имеет четыре соединительные кромки, причем две из четырех соединительных кромок каждого из по меньшей мере одного элемента пола для расширения имеют форму, соединенную с множеством стеновых элементов.
Пункт 5
Конструкция по пункту 3 или 4, в которой
каждый из множества потолочных элементов имеет четыре соединительных кромки, причем три из четырех соединительных кромок каждого из множества потолочных элементов имеют форму, соединенную с множеством стеновых элементов, и
каждый из по меньшей мере одного потолочного элемента для расширения имеет четыре соединительные кромки, причем две из четырех соединительных кромок каждого из по меньшей мере одного потолочного элемента для расширения имеют форму, соединенную с множеством стеновых элементов.
Пункт 6
Конструкция по любому из пунктов 1-5, в которой отношение площади основания (м2) конструкции к массе самой конструкции (кг) составляет от 1:30 до 1:80.
Пункт 7
Конструкция по любому из пунктов 1-6, дополнительно содержащая покрытие, при этом покрытие выполнено с возможностью по меньшей мере покрывать каждый соединительный участок множества элементов, составляющих конструкцию.
Пункт 8
Конструкция по пункту 7, в которой покрытие сформировано таким образом, чтобы покрывать всю внешнюю поверхность конструкции.
Пункт 9
Конструкция по любому из пунктов 1-6, в которой каждый из множества элементов, составляющих конструкцию, содержит покрытие, которое покрывает само себя.
Пункт 10
Конструкция по любому из пунктов 7-9, в которой материал покрытия по меньшей мере имеет свойство водонепроницаемости.
Пункт 11
Конструкция по любому из пунктов 1-10, в которой элемент пола имеет первую часть, составляющую пол конструкции, и вторую часть, составляющую часть стены конструкции, причем первая часть и вторая часть сформированы как единое целое.
Пункт 12
Конструкция по пункту 11, в которой стена имеет первое отверстие, причем первое отверстие окружено потолочным элементом, стеновыми элементами и элементом пола.
Пункт 13
Конструкция по пункту 11 или 12, в которой стена имеет второе отверстие, причем второе отверстие окружено потолочным элементом и стеновыми элементами.
Пункт 14
Конструкция по любому из пунктов 1-13, причем конструкция дополнительно содержит внешний элемент пола, составляющий внешнюю палубу снаружи элемента пола конструкции, при этом внешний элемент пола соединен с элементом пола.
Пункт 15
Конструкция по любому из пунктов 1-14, в которой
потолочный элемент выполнен из первой пены, имеющей первый коэффициент расширения,
стеновые элементы выполнены из второй пены, имеющей второй коэффициент расширения,
элемент пола выполнен из третьей пены, имеющей третий коэффициент расширения, и
третий коэффициент расширения меньше первого коэффициента расширения и второго коэффициента расширения.
Пункт 16
Конструкция по любому из пунктов 1-15, в которой пена содержит пенополистирол.
Пункт 17
Способ производства конструкции, содержащий:
обеспечение наличия по меньшей мере одного потолочного элемента, по меньшей мере четырех стеновых элементов и по меньшей мере одного элемента пола, причем каждый элемент выполнен из пены;
соединение по меньшей мере четырех стеновых элементов с по меньшей мере одним потолочным элементом и по меньшей мере одним элементом пола, при этом каждый из по меньшей мере четырех стеновых элементов имеет по меньшей мере четыре соединительные кромки, причем по меньшей мере четыре соединительные кромки содержат первую соединительную кромку, соединенную с по меньшей мере одним потолочным элементом, вторую соединительную кромку, соединенную с по меньшей мере одним элементом пола, третью соединительную кромку, соединенную с одним из по меньшей мере четырех стеновых элементов, смежных с каждым из по меньшей мере четырех стеновых элементов, и четвертую соединительную кромку, соединенную с другим одним из по меньшей мере четырех стеновых элементов, смежных с каждым из по меньшей мере четырех стеновых элементов; и
нанесение покрытия, чтобы по меньшей мере покрыть соединительные участки каждого соединенного элемента.
Пункт 18
Способ производства конструкции, содержащий:
обеспечение наличия множества потолочных элементов, по меньшей мере одного потолочного элемента для расширения, множества стеновых элементов, множества элементов пола и по меньшей мере одного элемента пола для расширения, причем каждый элемент выполнен из пены;
присоединение по меньшей мере одного потолочного элемента для расширения между двумя из множества потолочных элементов для формирования расширенного потолочного участка;
присоединение по меньшей мере одного элемента пола для расширения между двумя из множества элементов пола для формирования расширенного участка пола;
соединение множества стеновых элементов с расширенным потолочным участком и участком пола; и
нанесение покрытия, чтобы по меньшей мере покрыть соединительные участки каждого соединенного элемента.
ПОЛЕЗНЫЕ ЭФФЕКТЫ ИЗОБРЕТЕНИЯ
[0006] Настоящее изобретение позволяет получить конструкцию, которая может плавать на воде, в качестве конструкции, которая обеспечивает внутреннее пространство, и получить способ производства такой конструкции.
КРАТКОЕ ОПИСАНИЕ ЧЕРТЕЖЕЙ
[0007] Фиг. 1 - чертеж, схематически иллюстрирующий конструкцию согласно изобретению, на котором показано расположение двух потолочных элементов, четырех стеновых элементов и двух элементов пола в конструкции, а также позиционное соотношение первой и четвертой соединительной кромки в каждом элементе.
Фиг. 2 - вид в перспективе для описания структуры 100 в соответствии с Вариантом 1 изобретения.
Фиг. 3 - вид в плане для описания передних и задних стеновых элементов конструкции 100 с фиг. 2.
Фиг. 4 - вид в плане для описания левого и правого стеновых элементов конструкции 100 с фиг. 2.
Фиг. 5 - вид в плане для описания передних и задних потолочных элементов конструкции 100 с фиг. 2.
Фиг. 6 - вид в плане для описания передних и задних элементов пола конструкции 100 с фиг. 2.
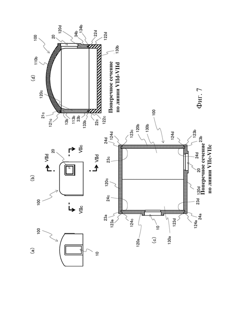
Фиг. 7 - чертеж для описания конкретной структуры конструкции 100 с фиг. 2. На фигуре показана структура поперечного сечения, перпендикулярная направлению Z с фиг. 2, и структура поперечного сечения, перпендикулярная направлению X с фигуры 2 в конструкции 100.
Фиг. 8 - чертеж для описания конкретной структуры конструкции 100 с фиг. 2. На фигуре показана структура поперечного сечения, перпендикулярная направлению Y с фиг. 2 в конструкции 100.
Фиг. 9 - чертеж для описания конструкции 100а, которая представляет собой Пример 1 Модификации конструкции 100 с фиг. 2.
Фиг. 10 - вид в перспективе для описания способа сборки конструкции 100 с фиг. 2, в порядке этапов производства.
Фиг. 10а - вид в перспективе, показывающий сравнение конструкции 100 с фиг. 2 в собранном состоянии с составными элементами конструкции 100 в компактно уложенном состоянии.
Фиг. 10b - вид в перспективе, показывающий составные элементы конструкции 100, которые компактно уложены и загружены на прицеп.
Фиг. 11 - вид в перспективе для описания конструкции 100b, которая представляет собой Пример 2 Модификации 2 конструкции 100 с фиг. 2. На фигуре показан способ сборки конструкции 100b.
Фиг. 12 - вид в перспективе, показывающий применение конструкции 100b, собранной способом с фиг. 11, в качестве жилья на воде.
Фиг. 13 - вид в перспективе для описания конструкции 200 в соответствии с Вариантом 2 осуществления изобретения.
Фиг. 14 - вид в плане для описания левого и правого стеновых элементов конструкции 200 с фиг. 13.
Фиг. 15 - вид в плане для описания потолочного элемента для расширения конструкции 200 с фиг. 13.
Фиг. 16 - вид в плане для описания элемента пола для расширения конструкции 200 с фиг. 13.
Фиг. 17 - чертеж для описания конкретной структуры конструкции 200 с фиг. 13. На фигуре показана структура поперечного сечения, перпендикулярная направлению Z с фиг. 13, и структура поперечного сечения, перпендикулярная направлению X с фиг. 13 в конструкции 200.
Фиг. 18 - чертеж для описания конкретной структуры конструкции 200 с фиг. 13. На фигуре показана структура поперечного сечения, перпендикулярная направлению Y с фиг. 13 в конструкции 200.
Фиг. 19 - чертеж для описания конструкции 200а, которая представляет собой пример модификации структуры 200 с фиг. 13.
Фиг. 20 - вид в перспективе, показывающий пример планировки множества конструкций, полученный путем комбинации множества нерасширяемых конструкций (конструкция с фиг. 2) 100 и множества расширяемых конструкций (конструкция с фиг. 13) 200.
Фиг. 21 - схематический чертеж для описания множества нерасширяемых конструкций и множества расширяемых конструкций, которые расположены с обеих сторон причала, пришвартованного у набережной, и применяются в качестве курортного объекта.
Фиг. 22 - изображение произведенной конструкции из Примеров, когда она фактически плавает на воде.
ОПИСАНИЕ ВАРИАНТОВ ОСУЩЕСТВЛЕНИЯ ИЗОБРЕТЕНИЯ
[0008] В данном тексте ʺоколоʺ относится к диапазону ±10% от числа, которое указано после ʺоколоʺ.
[0009] Первая конструкция изобретения
Технической проблемой, решаемой первой конструкцией изобретения, является получение конструкции, которая может плавать на воде, с обеспечением внутреннего пространства. Вышеупомянутая техническая проблема решается путем создания конструкции, содержащей:
по меньшей мере один потолочный элемент;
по меньшей мере четыре стеновых элемента; и
по меньшей мере один элемент пола;
при этом каждый из по меньшей мере четырех стеновых элементов имеет:
первую соединительную кромку, соединенную с по меньшей мере одним потолочным элементом;
вторую соединительную кромку, соединенную с по меньшей мере одним элементом пола;
третью соединительную кромку, соединенную с одним из по меньшей мере четырех стеновых элементов, смежных с каждым из по меньшей мере четырех стеновых элементов; и
четвертую соединительную кромку, соединенную с другим из по меньшей мере четырех стеновых элементов, смежных с каждым из по меньшей мере четырех стеновых элементов;
при этом каждый из по меньшей мере одного потолочного элемента, по меньшей мере четырех стеновых элементов и по меньшей мере одного элемента пола выполнен из пены.
[0010] Такая первая конструкция согласно изобретению, которая имеет по меньшей мере один потолочный элемент, по меньшей мере четыре стеновых элемента и по меньшей мере один элемент пола, причем каждый элемент выполнен из пены и имеет соединительные кромки, соединенные со смежным элементом, не имеет конкретных ограничений с точки зрения других конфигураций.
[0011] При этом конструкция является расширяемой. Размеры конструкции могут быть легко расширены в направлении длины двух противоположных стеновых элементов из четырех стеновых элементов в этой конструкции.
В частности, размеры боковых стенок конструкции могут быть расширены путем замены двух противоположных стеновых элементов из четырех стеновых элементов стеновыми элементами большей длины или путем добавления стеновых элементов одинаковой формы к каждому из двух противоположных стеновых элементов. При расширении размеров боковых стенок конструкции размеры потолка и пола конструкции могут быть расширены путем замены каждого из потолочного элемента и элемента пола элементом большего размера или путем добавления потолочного элемента и элемента пола той же формы, что и потолочный элемент и элемент пола таким же образом, при замене и добавлении стеновых элементов.
[0012] Фиг. 1 - чертеж, схематически иллюстрирующий конструкцию согласно изобретению, показывающий расположение двух потолочных элементов, четырех стеновых элементов и двух элементов пола в конструкции, а также позиционное соотношение первой и четвертой соединительной кромки в каждом элементе.
[0013] При этом пунктирный стеновой элемент представляет собой первый стеновой элемент (передний стеновой элемент) 120а, а стеновые элементы, расположенные на задней стороне, левой стороне и правой стороне первого стенового элемента на чертеже с фиг. 1 представляют собой по порядку со второго по четвертый стеновые элементы 120b-120d. Для потолочных элементов два потолочных элемента, расположенных спереди и сзади на схеме, представляют собой первый потолочный элемент (передний потолочный элемент) 110а и второй потолочный элемент (задний потолочный элемент) 110b, соответственно. Для элементов пола, два элемента пола, расположенных спереди и сзади на чертеже, представляют собой первый элемент 130а (передний элемент пола) и второй элемент 130b пола (задний элемент пола), соответственно.
[0014] Четыре соединительных кромки каждого стенового элемента представляют собой с первой по четвертую соединительную кромку 1-4 в порядке сверху, снизу, слева и справа по отношению к каждому стеновому элементу. Четыре соединительных кромки каждого потолочного элемента представляют собой с первой по четвертую соединительную кромку 1-4 в порядке ближняя сторона, дальняя сторона, левая сторона и правая сторона на диаграмме с фиг. 1 в каждом потолочном элементе. Четыре соединительных кромки каждого элемента пола представляют собой с первой по четвертую соединительные кромки 1-4 в порядке ближняя сторона, дальняя сторона, левая сторона и права сторона на диаграмме с фиг. 1 в каждом элементе пола.
[0015] В одном примере осуществления по меньшей мере один потолочный элемент может содержать первый потолочный элемент 110а и второй потолочный элемент 110b, по меньшей мере четыре стеновых элемента могут содержать первый стеновой элемент 120а и четвертый стеновой элемент 120d, и по меньшей мере один элемент пола может содержать первый элемент 130а пола и второй элемент 130b пола.
[0016] В другом варианте осуществления изобретения каждый из первого потолочного элемента 110а и второго потолочного элемента 110b может содержать с первой соединительной кромки 1 по четвертую соединительную кромку 4, каждый с первого стенового элемента 120 по четвертый стеновой элемент 120d может содержать с первой соединительной кромки 1 по четвертую соединительную кромку 4, и каждый из первого элемента 130а пола и второго элемента 130b пола может содержать с первой соединительной кромки 1 по четвертую соединительную кромку 4.
[0017] Таким образом, первая соединительная кромка 1 первого стенового элемента 120а может быть соединена с первой соединительной кромкой 1 первого потолочного элемента 110а, вторая соединительная кромка 2 первого стенового элемента 120а может быть соединена с первой соединительной кромкой 1 первого элемента 130а пола, третья соединительная кромка 3 первого стенового элемента 120а может быть соединена с четвертой соединительной кромкой 4 третьего стенового элемента 120с, а четвертая соединительная кромка 4 первого стенового элемента 120а может быть соединена с третьей соединительной кромкой 3 четвертого стенового элемента 120d.
[0018] При этом первая соединительная кромка 1 второго стенового элемента 120b может быть соединена со второй соединительной кромкой 2 второго потолочного элемента 110b, вторая соединительная кромка 2 второго стенового элемента 120b может быть соединена со второй соединительной кромкой 2 второго элемента 130b пола, третья соединительная кромка 3 второго стенового элемента 120b может быть соединена с четвертой соединительной кромкой 4 четвертого стенового элемента 120d, а четвертая соединительная кромка 4 второго стенового элемента 120b может быть соединена с третьей соединительной кромкой 3 третьего стенового элемента 120с.
[0019] При этом первая соединительная кромка 1 третьего стенового элемента 120с может быть соединена с третьей соединительной кромкой 3 первого потолочного элемента 110а и третьей соединительной кромкой 3 второго потолочного элемента 110b, а вторая соединительная кромка 2 третьего стенового элемента 120с может быть соединена с третьей соединительной кромкой 3 первого элемента 130а пола и третьей соединительной кромкой 3 второго элемента 130b пола.
[0020] Первая соединительная кромка 1 четвертого стенового элемента 120d может быть соединена с четвертой соединительной кромкой 4 первого потолочного элемента 110а и четвертой соединительной кромкой 4 второго потолочного элемента 110b, а вторая соединительная кромка 2 четвертого стенового элемента 120d может быть соединена с четвертой соединительной кромкой 4 первого элемента 110а пола и четвертой соединительной кромкой 4 второго элемента 130b пола.
[0021] При этом вторая соединительная кромка 2 первого элемента 110а пола может быть соединена с первой соединительной кромкой 1 второго элемента 110b пола, а вторая соединительная кромка 2 первого элемента 130а пола может быть соединена с первой соединительной кромкой 1 второго элемента 130b пола.
[0022] Таким образом, не только потолок и стены, но также пол и донная поверхность конструкции состоят из пены в первой конструкции согласно изобретению. Первая конструкция согласно изобретению не требует рамы или каркаса, отличных от потолочного элемента, стеновых элементов и элемента пола. Таким образом, каждая часть, кроме окна и двери, может быть образована пеной. С учетом вышеизложенного, первая конструкция согласно изобретению имеет малый вес и способна плавать на воде.
[0023] Например, конструкция, которая может плавать на воде, может плавать на воде, поддерживая заданный вес в дополнение к собственному весу конструкции. Например, конструкция может плавать на воде, поддерживая от около 100 кг до около 500 кг веса на единицу площади (1 м2) донной поверхности. Отношение площади основания конструкции к массе, которая может поддерживаться в дополнение к ее собственной массе (площадь основания (м2): масса (кг)), составляет, например, от 1:60 до 1:800, предпочтительно от 1:100 до 1:500 и более предпочтительно от 1:100 до 1:200.
[0024] Например, если конструкция согласно изобретению может выдерживать вес около 100 кг на единицу площади (1 м2) в дополнение к собственному весу (то есть, площадь основания (м2): вес (кг)=1:100), конструкция будет способна выдерживать вес одного взрослого или, например, мебели, которую может держать человек (около 100 кг или менее) на 1 м2. Например, если конструкция согласно изобретению может выдерживать вес от около 100 кг до около 200 кг на единицу площади (1 м2) в дополнение к собственному весу (то есть, площадь основания (м2): вес (кг)=от 1:100 до 1:200), два взрослых (от около 100 кг до около 200 кг) или вес тяжелой мебели в сочетании с ее содержимым (от около 100 кг до около 200 кг) могут быть удобно размещены на поверхности пола площадью 1 м2. Это позволяет использовать конструкцию в качестве жилого помещения на воде.
[0025] Конструкция создает выталкивающую силу, равную погруженному объему. Например, конструкция может создавать выталкивающую силу около 150 кг на единицу площади (1 м2) путем погружения на толщину дна (около 150 мм) и достигать поддерживаемого веса около 150 кг на единицу площади (т.е. площадь основания (м2): общий вес (кг)=1:150).
[0026] Например, если предполагается, что площадь донной поверхности конструкции составляет около 16 м2 (около 4 м × около 4 м), выталкивающая сила около 2400 кг создается погружением около 150 мм.
[0027] Эмпирическая оценка изобретателя веса простого дома, состоящего из пены (площадь основания около 10 м2), составляет около 600 кг.С учетом вышеизложенного, вес конструкции с площадью основания около 16 м2 будет составлять около 1000 кг (≈ (около 600/около 10) × около 16), так что вес, который может поддерживаться конструкцией в дополнение к ее собственному весу, составляет около 2400 кг около 1000 кг, что составляет около 1400 кг. Таким образом, вес на единицу площади (1 м2), который может поддерживаться конструкцией в дополнение к ее собственному весу, составляет около 100 кг (≈ 1400/16) (т.е. площадь основания (м2): вес (кг)=от 1:80 до 1:100).
[0028] Если элемент пола конструкции имеет вайнскот, предусмотренный по окружности элемента пола, конструкция может утапливаться на высоту вайнскота, поскольку вода не будет проникать в конструкцию из-за присутствия вайнскота вплоть до высоты вайнскота. Другими словами, конструкция может иметь максимальный поддерживаемый вес, соответствующий высоте вайнскота. Если, например, высота вайнскота составляет около 500 мм, можно поддерживать вес около 500 кг на единицу площади (1 м2) (т.е. площадь основания (м2): общий вес (кг)=1:500).
[0029] Это означает, что выталкивающая сила составляет около 8000 кг (около 500 кг х около 16 м2) для конструкции с площадью основания около 16 м2 (около 4 м × около 4 м). Принимая, что собственный вес конструкции составляет около 1000 кг, конструкция может выдержать вес около 7000 кг после вычета собственного веса, который составляет около 400 кг на единицу площади (1 м2) (около 7000 кг/около 16 м2) (т.е. площадь основания (м2): вес (кг)=от 1:400 до 1:500).
[0030] Высота вайнскота сама по себе может быть высотой, при которой размер толщины элемента пола плюс высота вайнскота составляет около 500 мм или более (около 350 мм или более). Например, если толщина элемента пола составляет около 150 мм, высота вайнскота может составлять около 350 мм или более, например, около 650 мм.
[0031] Конструкция имеет вес, который может обеспечивать свойство плавучести на воде. Например, конструкция имеет массу, при которой она может плавать на воде, поддерживая массу от около 100 кг до около 500 кг на единицу площади (1 м2) донной поверхности в дополнение к своей собственной массе. Отношение площади основания конструкции к собственному весу конструкции (площадь основания (м2): собственный вес (кг)) составляет, например, от 1:30 до 1:80, предпочтительно от 1:40 до 1:70 и более предпочтительно от 1:50 до 1:65 с учетом простого дома, описанного выше (около 10 м2 /около 600 кг).
[0032] Например, выталкивающая сила около 150 кг на единицу площади (1 м2) может быть создана путем погружения на толщину дна (около 150 мм), как описано выше. Таким образом, если, например, площадь основания (м2): собственный вес (кг)=1:30, конструкция может выдерживать вес около 120 кг в дополнение к собственному весу. Если площадь основания (м2): собственный вес (кг)=1:80, конструкция может выдержать вес около 70 кг в дополнение к собственному весу.
[0033] При этом проникновение воды и влаги с поверхности, поддерживающей конструкцию (например, грунта, поверхности воды или тому подобного), может быть предотвращена свойством водонепроницаемости и влагостойкости пены. Это затрудняет проникновение воды, если, например, первая конструкция согласно изобретению установлена на воде. Если, например, первая конструкция по изобретению установлена на суше, дно не нужно поднимать фундаментом или блоком из бетона или тому подобным. В частности, первая конструкция согласно изобретению может быть установлена без фундамента или приподнятого дна, так что конструкция имеет техническое преимущество в том, что она может быть установлена в местах в различных состояниях. Первая конструкция согласно изобретению может быть установлена даже, например, на лугу, песке, мерзлом грунте и т.п.
[0034] Первая конструкция согласно изобретению выполнена таким образом, что элемент пола разделен на передний элемент пола 130а и задний элемент пола 130b, а потолочный элемент разделен на передний потолочный элемент 110а и задний потолочный элемент 110b, при этом каждый из левого стенового элемента 120с и правого стенового элемента 120d установлен между элементом пола и потолочным элементом и простирается через передний элемент 130а пола и задний элемент 130 пола и передний потолочный элемент 110а и задний потолочный элемент 110b. Таким образом, первая конструкция имеет структуру, в которой элемент пола и потолочный элемент, разделенные на два элемента, усилены левым стеновым элементом 120с и правым стеновым элементом 120d.
[0035] Вторая конструкция изобретения
Технической проблемой, решаемой второй конструкцией изобретения, является получение конструкции, которая может плавать на воде, с обеспечением внутреннего пространства. Вышеупомянутая техническая проблема решается путем создания расширяемой конструкции, содержащей:
множество потолочных элементов;
по меньшей мере один потолочный элемент для расширения;
множество стеновых элементов;
множество элементов пола; и
по меньшей мере один элемент пола для расширения;
при этом по меньшей мере один потолочный элемент для расширения присоединен между двумя из множества потолочных элементов для формирования расширенного потолочного участка,
при этом по меньшей мере один элемент пола для расширения присоединен между двумя из множества элементов пола для формирования расширенного участка пола,
при этом расширенный потолочный участок соединен с расширенным участком пола множеством стеновых элементов, и
при этом каждый элемент выполнен из пены.
[0036] Таким образом, вторая конструкция согласно изобретению, которая является расширяемой и имеет множество потолочных элементов, множество стеновых элементов и множество элементов пола, а также по меньшей мере один потолочный элемент для расширения и по меньшей мере один элемент пола для расширения, при этом каждый элемент выполнен из пены, при этом расширенный потолочный участок сформирован по меньшей мере одним потолочным элементом для расширения, присоединенным между двумя потолочными элементами, причем расширенный участок пола сформирован по меньшей мере одним элементом пола для расширения, присоединенным между двумя элементами пола, при этом расширенный потолочный участок и расширенный участок пола соединены с множеством стеновых элементов, конкретно не ограничена с точки зрения других конфигураций.
[0037] В одном приведенном в качестве примера варианте осуществления второй конструкции каждый из множества элементов пола может иметь четыре соединительных кромки, причем три из четырех соединительных кромок каждого из элементов пола могут иметь форму, соединенную с множеством стеновых элементов, и каждый из по меньшей мере одного элемента пола для расширения может иметь четыре соединительные кромки, причем две из четырех соединительных кромок каждого из элементов пола для расширения могут иметь форму, соединенную с множеством стеновых элементов.
[0038] В одном варианте осуществления второй конструкции каждый из множества потолочных элементов может иметь четыре соединительные кромки, причем три из четырех соединительных кромок каждого из потолочных элементов могут иметь форму, соединенную с множеством стеновых элементов, и каждый из по меньшей мере одного потолочного элемента для расширения может иметь четыре соединительных кромки, причем две из четырех соединительных кромок каждого из потолочных элементов для расширения могут иметь форму, соединенную с множеством стеновых элементов.
[0039] При этом первая конструкция или вторая конструкция может иметь покрытие, покрывающее каждый соединительный участок множества элементов, составляющих конструкцию. Это позволяет повысить прочность соединительных участков. При этом покрытие может быть сформировано так, чтобы покрывать всю внешнюю поверхность конструкции. Это позволяет улучшить общую структурную прочность конструкции.
[0040] Предпочтительно материал вышеупомянутого покрытия обладает по меньшей мере водонепроницаемостью. Благодаря свойству водонепроницаемости материала покрытия может быть предотвращено проникновение дождевой воды или тому подобного из соединительного участка каждого элемента. При плавании на воде может быть предотвращено проникновение воды из соединительного участка каждого элемента.
[0041] В качестве альтернативы, каждый элемент из множества элементов, составляющих первую конструкцию или вторую конструкцию, может содержать покрытие, которое покрывает его самого. Это может повысить прочность каждого из множества элементов и, следовательно, общую прочность конструкции. В таком случае соединительный участок каждого элемента может быть покрыт уплотняющим материалом. Это может повысить прочность соединительного участка. Водонепроницаемый уплотнительный материал может предотвращать проникновение дождевой воды или тому подобного из соединительного участка каждого элемента. При плавании на воде может быть предотвращено проникновение воды из соединительного участка каждого элемента.
[0042] В первой конструкции или второй конструкции элемент пола предпочтительно имеет первую часть (участок щита пола), составляющую пол конструкции, и вторую часть (вайнскот), составляющую часть стены конструкции, причем первая часть и вторая часть сформированы как единое целое. В таком случае между полом и стеной конструкции нет соединительного участка (стыка), и можно избежать проникновения воды снизу через стык (например, проникновения воды снизу при плавании на воде или проникновения влаги снизу при установке на суше).
[0043] В другом варианте стена первой конструкции или второй конструкции может иметь первое отверстие, причем первое отверстие может быть окружено потолочным элементом, стеновыми элементами и элементом пола. При этом стена может иметь второе отверстие, причем второе отверстие может быть окружено потолочным элементом и стеновыми элементами. Однако первое отверстие и второе отверстие могут быть включены внутрь стенового элемента вместо того, чтобы быть окруженными потолочным элементом и стеновыми элементами.
[0044] Первая конструкция или вторая конструкция предпочтительно дополнительно содержит внешний элемент пола, составляющий внешнюю палубу, расположенную снаружи элемента пола конструкции, при этом внешний элемент пола соединен с элементом пола. В таком случае пол первой конструкции или второй конструкции может быть расширен в виде палубной части с внешним элементом пола. Палубная часть может не только увеличить площадь пола, но и увеличить выталкивающую силу конструкции.
[0045] В первой конструкции или второй конструкции каждый из потолочного элемента, стеновых элементов и элемента пола выполнен из пены, причем коэффициент расширения пены, составляющей элемент пола, предпочтительно меньше, чем коэффициент расширения пены, составляющей потолочный элемент, и коэффициент расширения пены, составляющей стеновые элементы. Коэффициент расширения пены элемента пола меньше коэффициентов расширения пены потолочного элемента и стеновых элементов позволяет увеличить плотность элемента пола так, что она выше, чем плотности потолочного элемента и стеновых элементов, и понизить центр тяжести конструкции, с улучшением таким образом устойчивости конструкции при установке на суше или при плавании на воде.
[0046] Таким образом, пена, составляющая потолочный элемент, стеновые элементы и элемент пола, может содержать пенопласт, такой как пенополистирол. Для пены материал полимера не ограничен и может быть любым, при условии вспенивания исходного полимерного материала. Примеры пенопласта, отличные от пенополистирол а, включают пенополипропилен, пенополиуретан, пенополиолефин и тому подобное.
[0047] При этом вышеупомянутый материал покрытия обладает свойством водонепроницаемости, однако материал покрытия может быть негорючим, поскольку определенная степень негорючих свойств требуется по закону (Закон о строительных стандартах в Японии) для наружной части конструкций, используемых в качестве места проживания в зависимости от страны.
[0048] Предусмотрено, что конструкция может не соответствовать строительным нормам только с негорючим покрытием, в зависимости от страны. В таком случае требуется обработка для придания свойства негорючести наружной поверхности конструкции после сборки конструкции на месте.
[0049] Обработка для придания негорючего свойства включает, например, обработку для выдувания полимерного раствора на поверхность собранной конструкции. Также возможна обработка для нанесения негорючей панели или стальной пластины (например, стальной пластины Galvalume®) на поверхность собранной конструкции и т.п.
[0050] Поскольку первая конструкция 100 или вторая конструкция 200 имеет коробчатую конфигурацию путем объединения элемента пола, элементов стены и потолочного элемента, конструкция имеет дно. Таким образом, конструкция может быть установлена просто путем размещения конструкции на любой примерно горизонтальной площадке, подобно грузовому контейнеру, даже без фундамента. Место установки первой конструкции 100 или второй конструкции 200 может находиться в любом состоянии, если площадка находится примерно горизонтально. Первая конструкция 100 или вторая конструкция 200 могут быть установлены даже, например, на лугу, песке, мерзлом грунте и т.п.
[0051] В то время как некоторые страны требуют бетонного фундамента по закону, как в Японии (Закон о строительных стандартах), для сооружений, используемых в качестве места проживания, некоторые страны юридически разрешают сооружения, используемые в качестве места проживания, которые просто размещаются или закрепляются на земле с помощью удерживающего устройства, такого как металлический зажим. Преимущество конструкции, то есть конструкция может быть установлена путем простого размещения конструкции с учетом наличия дна, будет сильной стороной в таких странах.
[0052] Способ сборки первой конструкции согласно изобретению
Способ сборки первой конструкции согласно изобретению должен содержать только по меньшей мере следующие два этапа, то есть первый этап и второй этап.
[0053] Первый этап представляет собой этап обеспечения наличия по меньшей мере одного потолочного элемента, по меньшей мере четырех стеновых элементов и по меньшей мере одного элемента пола. При этом каждый элемент выполнен из пены.
[0054] Второй этап представляет собой этап соединения по меньшей мере четырех стеновых элементов с по меньшей мере одним потолочным элементом и по меньшей мере одним элементом пола. При этом каждый из по меньшей мере четырех стеновых элементов имеет по меньшей мере четыре соединительные кромки, причем по меньшей мере четыре соединительные кромки содержат первую соединительную кромку, соединенную с по меньшей мере одним потолочным элементом, вторую соединительную кромку, соединенную с по меньшей мере одним элементом пола, третью соединительную кромку, соединенную с одним из по меньшей мере четырех стеновых элементов, смежных с каждым из по меньшей мере четырех стеновых элементов, и четвертую соединительную кромку, соединенную с другим одним из по меньшей мере четырех стеновых элементов, смежных с каждым из по меньшей мере четырех стеновых элементов.
[0055] Способ сборки первой конструкции согласно изобретению может содержать, например, следующий третий этап.
[0056] Третий этап представляет собой этап нанесения покрытия, чтобы покрыть по меньшей мере соединительные участки каждого соединенного элемента.
[0057] С учетом вышеизложенного, первая конструкция согласно изобретению может содержать покрытие, покрывающее соединительные участки каждого соединенного элемента. В качестве материала покрытия может быть выбран любой материал в соответствии с задачей. Предпочтительно выбирают материал со свойством водонепроницаемости или высокой прочностью. Например, прочность соединительного участка может быть улучшена путем нанесения покрытия. Свойство водонепроницаемости материала покрытия может предотвращать проникновение дождевой воды или тому подобного из соединительного участка каждого элемента. Проникновение воды из соединительного участка каждого элемента также может быть предотвращено при плавании на воде.
Конкретные примеры материала покрытия включают, но не ограничиваются ими, водонепроницаемую уретановую смолу. Примеры материала покрытия включают полиуриевую смолу со свойством водонепроницаемости и высокой прочностью.
[0058] Способ сборки второй конструкции согласно изобретению
Способ сборки второй конструкции согласно изобретению должен содержать только по меньшей мере следующие четыре этапа, то есть этапы с первого по четвертый.
[0059] Первый этап представляет собой этап обеспечения наличия множества потолочных элементов, по меньшей мере одного потолочного элемента для расширения, множества стеновых элементов, множества элементов пола и по меньшей мере одного элемента пола для расширения. При этом каждый элемент выполнен из пены.
[0060] Второй этап представляет собой этап присоединения по меньшей мере одного потолочного элемента для расширения между двумя из множества потолочных элементов для формирования расширенного потолочного участка.
[0061] Третий этап представляет собой этап присоединения по меньшей мере одного элемента пола для расширения между двумя из множества элементов пола для формирования расширенного участка пола.
[0062] Четвертый этап представляет собой этап соединения множества стеновых элементов с расширенным потолочным участком и участком пола.
[0063] Способ сборки второй конструкции согласно изобретению может содержать, например, следующий пятый этап.
[0064] Пятый этап представляет собой этап нанесения покрытия, чтобы по меньшей мере покрыть соединительные участки каждого соединенного элемента.
[0065] С учетом вышеизложенного, вторая конструкция согласно изобретению может содержать покрытие, покрывающее соединительные участки каждого соединенного элемента, чем повышается прочность и водонепроницаемость соединительных участков. Вышеупомянутый материал покрытия предпочтительно имеет по меньшей мере свойство водонепроницаемости. Свойство водонепроницаемости материала покрытия может предотвращать проникновение дождевой воды или тому подобного из соединительного участка каждого элемента. Проникновение воды из соединительного участка каждого элемента также может быть предотвращено при плавании на воде.
[0066] Таким образом, первая конструкция согласно изобретению, которая имеет по меньшей мере один потолочный элемент, по меньшей мере четыре стеновых элемента и по меньшей мере один элемент пола, причем каждый элемент выполнен из пены и имеет соединительные кромки, соединенные со смежным элементом, конкретно не ограничена с точки зрения других конфигураций. В следующем Варианте 1 описана первая конструкция, имеющая два потолочных элемента, четыре стеновых элемента и два элемента пола.
[0067] Вторая конструкция согласно изобретению, которая является расширяемой и имеет множество потолочных элементов, множество стеновых элементов и множество элементов пола, а также по меньшей мере один потолочный элемент для расширения и по меньшей мере один элемент пола для расширения, причем каждый элемент выполнен из пены, при этом расширенный потолочный участок сформирован присоединением по меньшей мере одного потолочного элемента для расширения между двумя потолочными элементами, причем расширенный участок пола сформирован присоединением по меньшей мере одного элемента пола для расширения между двумя элементами пола, при этом расширенный потолочный участок и расширенный участок пола соединены с множеством стеновых элементов, конкретно не ограничена с точки зрения других конфигураций. Следующий Вариант 2 описывает вторую конструкцию, имеющую два потолочных элемента, шесть стеновых элементов и два элемента пола, а также два потолочных элемента для расширения и два элемента пола для расширения.
[0068] Варианты осуществления изобретения описаны ниже со ссылкой на чертежи.
[0069] Вариант 1
Фиг. 2 представляет собой чертеж для описания конструкции 100 согласно Варианту 1. На фиг. 2(а) показан внешний вид конструкции 100. На фиг. 2(b) показан контур составляющих элементов в конструкции 100, показанной на фиг. 2(а). На фиг. 2(с) показана конструкция 100 с фиг. 2(а), разделенная на отдельные составляющие элементы.
[0070] Вход/выход 10 и окно 20 сформированы на стене конструкции (первой конструкции) 100 с фиг. 2. При этом конструкция 100 имеет два потолочных элемента, четыре стеновых элемента и два элемента пола.
[0071] Двумя потолочными элементами являются передний потолочный элемент (первый потолочный элемент) 110а на ближней стороне чертежа с фиг. 2(c) и задний потолочный элемент (второй потолочный элемент) 110b на дальней стороне чертежа с фиг. 2(c).
[0072] Четырьмя стеновыми элементами являются передний стеновой элемент 120а (первый стеновой элемент), задний стеновой элемент 120b (второй стеновой элемент), левый стеновой элемент 120с (третий стеновой элемент) и правый стеновой элемент 120d (четвертый стеновой элемент). Передний стеновой элемент 120а представляет собой стеновой элемент, расположенный спереди, если смотреть на конструкцию 100 с направления X с фиг. 2(a). Левый стеновой элемент 120с и правый стеновой элемент 120d расположены соответственно на левой и правой сторонах переднего стенового элемента 120а. Задний стеновой элемент 120b представляет собой стеновой элемент, который расположен на задней стороне конструкции 100, если смотреть на конструкцию 100 с направления X с фиг. 2(a).
[0073] Двумя элементами пола являются передний элемент 130а пола (первый элемент пола) на ближней стороне чертежа с фиг. 2(c) и задний элемент 130b пола (второй элемент пола) на дальней стороне чертежа с фиг. 2(c).
[0074] При этом каждый элемент выполнен из пены, такой как пенополистирол (экструдированный пенополистирол), и коэффициент расширения элементов пола меньше, чем коэффициенты расширения стеновых элементов и потолочных элементов.
[0075] В частности, для экструдированного пенополистирола исходный пенный материал, как правило, вспенивают при коэффициенте расширения примерно в 5 раз (жесткий с небольшим количеством воздушных слоев) до 90 раз (мягкий с большим количеством воздушных слоев). Коэффициент расширения обычного термобокса примерно в 60 раз выше по отношению к исходному пенному материалу.
[0076] Например, для каждого элемента конструкции используют пену с соотношением (коэффициентом расширения) от около 10-кратного до около 60-кратного по отношению к исходному пенному материалу. Если, например, коэффициент расширения нижнего участка (элементы пола) конструкции составляет от примерно 20 до примерно 30 раз, коэффициент расширения верхнего участка конструкции (стеновые элементы и потолочные элементы) устанавливается как примерно в 40 раз.
[0077] Сравниваются коэффициенты расширения нижнего участка (элементы пола) конструкции и верхнего участка (стеновые элементы и потолочные элементы) конструкции. Коэффициент расширения верхнего участка (стеновые элементы и потолочные элементы) составляет от примерно 1,5 до примерно 4 раз от коэффициента расширения нижнего участка (элементы пола) и, в частности, от примерно 1,5 до примерно 2 раз от коэффициента расширения нижнего участка (элементы пола).
[0078] При этом слишком низкий коэффициент расширения пены имеет преимущество в увеличении прочности пены, однако пена будет тяжелее, поскольку требуется большое количество исходного пенного материала. Это невыгодно для транспортировки элементов и приводит к более высокой стоимости и сложности обработки. При этом, степень содержания воздуха в элементах будет низкой, то есть теплоизоляционная способность будет ниже.
[0079] Напротив, слишком высокий коэффициент расширения пены имеет такие преимущества, как улучшенная теплоизоляционная способность пены и более низкая стоимость, однако влечет за собой такие негативные последствия, как более низкая прочность и долговечность пены.
Таким образом, необходимо использовать пену с оптимальным коэффициентом расширения для каждого элемента, составляющего конструкцию, учитывая преимущества и недостатки.
[0080] Конструкция (первая конструкция) 100 может плавать на воде за счет формирования двух потолочных элементов, четырех стеновых элементов и двух элементов пола из пены.
[0081] В таком случае материал каждой части, составляющей конструкцию, является одинаковым, так что одна и та же связующая сила действует на оба связанных элемента.
[0082] Если материалы отличаются между связываемыми элементами, такими как дерево и пена, сталь и пена, или кирпич и пена, часто материалы не могут быть соединены с использованием только клея. Даже если материалы могут быть соединены клеем, весьма вероятно, что один из элементов легко оторвется.
[0083] Например, клей, который является оптимальным для пены, не обязательно является оптимальным для древесины. В таком случае будет существовать разница в связующих силах из-за клея между двумя связываемыми элементами. Такая разница в связующих силах влияет на прочность или долговечность конструкции. Если материалы различаются между элементами, составляющими конструкции, на прочность, долговечность и т.п.также может влиять покрытие, нанесенное на поверхность каждого элемента, составляющего конструкцию.
В качестве пены, составляющей каждый участок конструкции, пенополистирол представляет собой материал, который не легко разрушается и сохраняется в течение очень длительного периода времени, если на него не влияет такой ухудшающий фактор как вода, ультрафиолетовое излучение, химическое вещество или высокая температура. Влияние таких ухудшающих факторов может быть предотвращено покрытием.
[0084] Конкретная конструкция каждого элемента описана ниже.
[0085] Сначала описаны стеновые элементы с первого по четвертый.
[0086] На фиг. 3 показан вид сверху для описания передних и задних стеновых элементов конструкции 100 с фиг. 2. На фиг. 3(а) показана внешняя поверхность переднего стенового элемента 120а, расположенного на ближней стороне чертежа с фиг. 2(c). На фиг. 3(b) показана внешняя поверхность заднего стенового элемента 120b, расположенного на дальней стороне чертежа с фиг. 2(с).
[0087] Первый стеновой элемент (передний стеновой элемент) 120а
Передний стеновой элемент 120а состоит из пары передних стеновых элементов, то есть левого фрагмента 120а1 переднего стенового элемента и правого фрагмента 120а2 переднего стенового элемента. Верхние кромки левого фрагмента 120а1 переднего стенового элемента и правого фрагмента 120а2 переднего стенового элемента являются первой соединительной кромкой 121а, соединенную с передним потолочным элементом 110а. На торцевой поверхности верхней кромки сформирован линейный выступ 21а. Донные кромки левого фрагмента 120а1 переднего стенового элемента и правого фрагмента 120а2 переднего стенового элемента представляют собой вторую соединительную кромку 122а, соединенную с передним элементом 130а пола. На торцевой поверхности донной кромки сформирована линейная канавка 22а.
[0088] Левая кромка левого фрагмента 120а1 переднего стенового элемента представляет собой третью соединительную кромку 123а, соединенную с левым стеновым элементом 120 с. На торцевой поверхности левой кромки сформирован линейный выступ 23а. Входная рама 10а вдоль отверстия, образующего вход/выход 10, сформирована на правой боковой кромке левого фрагмента 120а1 переднего стенового элемента.
[0089] Правая кромка правого фрагмента 120а2 переднего стенового элемента представляет собой четвертую соединительную кромку 124а, соединенную с правым стеновым элементом 120d. На торцевой поверхности правой кромки сформирован линейный выступ 24а. Входная рама 10а вдоль отверстия, образующего вход/выход 10, сформирована на левой боковой кромке правого фрагмента 120а2 переднего стенового элемента.
[0090] Передний стеновой элемент 120а имеет высоту около 1,5 м и ширину около 4 м, при этом размер входа/выхода 10 имеет высоту около 2 м и ширину около 1 м. Однако размер переднего стенового элемента 120а этим не ограничивается. Любой размер, при условии возможности перевозки транспортным средством, таким как грузовик, и переноски людьми, не представляет какой-либо практической проблемы.
[0091] Второй стеновой элемент (задний стеновой элемент) 120b
Верхняя боковая кромка заднего стенового элемента 120b является второй соединительной кромкой 121b, соединенной с задним потолочным элементом 110b. На торцевой поверхности верхней кромки сформирован линейный выступ 21b.
[0092] Нижняя кромка заднего стенового элемента 120b является второй соединительной кромкой 122b, соединенной с задним элементом 130b пола. На торцевой поверхности донной кромки сформирована линейная канавка 22b.
[0093] Левая кромка заднего стенового элемента 120b является третьей соединительной кромкой 123b, соединенной с правым стеновым элементом 120d. На торцевой поверхности левой кромки сформирован линейный выступ 23b.
[0094] Правая кромка заднего стенового элемента 120b является четвертой соединительной кромкой 124b, соединенной с левым стеновым элементом 120с. На торцевой поверхности правой кромки сформирован линейный выступ 24b.
[0095] Задний стеновой элемент 120b имеет ту же высоту (около 1,5 м) и ширину (около 4 м), что и передний стеновой элемент 120а.
[0096] На фиг. 4 показан вид в плане для описания бокового стенового элемента конструкции 100, показанной на фиг. 2. На фиг. 4(a) показана внешняя поверхность бокового стенового элемента 120с (левый стеновой элемент, расположенного на левой стороне чертежа с фиг. 2(с). На фиг. 4(b) показана внешняя поверхность элемента 120d бокового стенового элемента (правый стеновой элемент), расположенного на правой стороне чертежа с фиг. 2(c).
[0097] Третий стеновой элемент (левый стеновой элемент) 120с
Верхняя кромка левого стенового элемента 120с является первой соединительной кромкой 121 с, соединенной с передним потолочным элементом 110а и задним потолочным элементом 110b. На торцевой поверхности верхней кромки сформирован линейный выступ 21с.
[0098] Нижняя кромка левого стенового элемента 120с является второй соединительной кромкой 122с, соединенной с передним элементом 130а пола и задним элементом 130b пола. На торцевой поверхности донной кромки сформирована линейная канавка 22с.
[0099] Левая кромка левого стенового элемента 120с является третьей соединительной кромкой 123с, соединенной с задним стеновым элементом 120b. На внутренней поверхности левой кромки сформирована линейная канавка 23с.
[0100] Правая кромка левого стенового элемента 120с является четвертой соединительной кромкой 124с, соединенной с передним стеновым элементом 120а. На внутренней поверхности правой кромки сформирована линейная канавка 23с.
[0101] Левый стеновой элемент 120с имеет высоту около 1,5 м и длину около 4 м. Однако размеры левого стенового элемента 120с этим не ограничиваются. Любой размер, при условии возможности перевозки транспортным средством, таким как грузовик, и переноски людьми, не представляет какой-либо практической проблемы.
[0102] Четвертый стеновой элемент (правый стеновой элемент) 120d
Верхняя кромка правого стенового элемента 120d является первой соединительной кромкой 121d, которая соединена с передним потолочным элементом 110а и задним потолочным элементом 110b. На торцевой поверхности верхней кромки сформирован линейный выступ 21d. Оконная рама 20а сформирована вдоль надрезанного участка, который будет являться окном на правом стеновом элементе 120d.
[0103] Донная кромка правого стенового элемента 120d является второй соединительной кромкой 122d, соединенной с передним элементом 130а пола и задним элементом 130b пола. На торцевой поверхности донной кромки сформирована линейная канавка 22d.
[0104] Левая кромка правого стенового элемента 120d является третьей соединительной кромкой 123d, соединенной с передним стеновым элементом 120а. На внутренней поверхности левой кромки сформирована линейная канавка 23d.
[0105] Правая кромка правого стенового элемента 120d является четвертой соединительной кромкой 124d, соединенной с задним стеновым элементом 120b. На внутренней поверхности правой кромки сформирована линейная канавка 24d.
[0106] Правый стеновой элемент 120d имеет такую же высоту около 1,5 м и длину около 4 м, как и левый стеновой элемент 120с. Надрезанная часть для формирования окна имеет размеры около 900 мм в высоту и около 1000 мм в ширину. Однако размеры надрезанной части для формирования окна определяются размером окна и могут свободно определяться в пределах диапазона высоты и длины правого стенового элемента 120d.
[0107] На фиг. 5 показан вид в плане для описания потолочных элементов конструкции 100 с фиг. 2. На фиг. 5(a) показана конструкция переднего потолочного элемента 110а, расположенного на ближней стороне чертежа с фиг. 2(с), если смотреть сверху. На фиг. 5(b) показана конструкция заднего потолочного элемента 110b, расположенного на дальней стороне чертежа с фиг. 2(c), если смотреть сверху.
[0108] Первый потолочный элемент (передний потолочный элемент) 110а
Передняя кромка переднего потолочного элемента 110а является первой соединительной кромкой 111а, соединенной с передним стеновым элементом 120а. На нижней боковой поверхности передней кромки сформирована линейная канавка 11а.
[0109] Задняя кромка переднего потолочного элемента 110а является второй соединительной кромкой 112а, соединенной с задним потолочным элементом 110b. На торцевой поверхности задней кромки сформирован линейный выступ 12b.
[0110] Левая кромка переднего потолочного элемента 110а является третьей соединительной кромкой 113а, соединенной с левым стеновым элементом 120с. На нижней боковой поверхности левой кромки сформирована линейная канавка 13а.
[0111] Правая кромка переднего потолочного элемента 110а является четвертой соединительной кромкой 114а, соединенной с правым стеновым элементом 120d. На нижней боковой поверхности правой кромки сформирована линейная канавка 14а.
[0112] Передний потолочный элемент 110а имеет ширину около 4 м и длину (размер в направлении глубины) около 2 м. Однако размер не ограничивается этим. Любой размер, при условии возможности перевозки транспортным средством, таким как грузовик, не представляет какой-либо практической проблемы.
[0113] Второй потолочный элемент (задний потолочный элемент) 110b
Передняя кромка заднего потолочного элемента 110b является первой соединительной кромкой 111b, соединенной с передним потолочным элементом 110а. На торцевой поверхности передней кромки сформирована линейная канавка 11b.
[0114] Задняя кромка заднего потолочного элемента 110b является второй соединительной кромкой 112b, соединенной с задним стеновым элементом 120b. На нижней боковой поверхности задней кромки сформирована линейная канавка 12b.
[0115] Левая кромка заднего потолочного элемента 110b является третьей соединительной кромкой 113b, соединенной с левым стеновым элементом 120с. На нижней боковой поверхности левой кромки сформирована линейная канавка 13b.
[0116] Правая кромка заднего потолочного элемента 110b является четвертой соединительной кромкой 114b, соединенной с правым стеновым элементом 120d. На нижней боковой поверхности правой кромки сформирована линейная канавка 14b.
[0117] На фиг. 6 показан вид в плане для описания элементов пола конструкции 100 с фиг. 2. На фиг. 6(а) показана конструкция переднего 130а, расположенного на ближней стороне чертежа с фиг. 2(с), если смотреть сверху. На фиг. 6(b) показана конструкция заднего элемента 130b пола, расположенного на дальней стороне чертежа с фиг. 2(c), если смотреть сверху.
[0118] Первый элемент пола (передний элемент пола 130а)
Передний элемент 130а пола имеет прямоугольный щит 103а пола и С-образный вайнскот 3а, поднятый для окружения щита 103а пола от передней кромки, левой кромки и правой кромки щита пола. Щит 103а пола и вайнскот 3а сформированы как единое целое без стыка.
[0119] Верхняя кромка участка передней кромки вайнскота 3а представляет собой первую соединительную кромку 131а, соединенную с передним стеновым элементом 120а. Линейный выступ 31а сформирован для расположения на обеих сторонах надрезанного участка, формирующего вход/выход 10 на верхней кромке.
[0120] Таким образом, надрезанный участок, формирующий вход/выход 10, представляет собой участок, надрезанный с верхнего торца вайнскота 3а. На входе/выходе 10 высота вайнскота 3а ниже по сравнению с другими частями (частями, где вход/выход 10 не предусмотрен), или вайнскот 3а полностью удален. По этой причине вход/выход 10 может быть путем, по которому вода может проникать, когда конструкция 100 установлена на воде. Например, вход/выход 10 может быть выполнен таким образом, что глубина надрезанного участка, формирующего вход/выход 10, может быть как можно более мелкой, или такой надрезанный участок не сформирован, или может быть предусмотрен барьер, который блокирует по меньшей мере часть надрезанного участка. Это может предотвращать проникновение воды из входа/выхода 10. В качестве альтернативы, на части переднего элемента 130а пола, где сформирован вход/выход 10, может быть предусмотрен барьер для предотвращения проникновения воды на вайнскот 3а, в отличие от формирования надрезанного участка на вайнскоте 3а.
[0121] В любом случае предпочтительно обеспечить высоту по меньшей мере от около 20 см до около 30 см от нижней поверхности переднего элемента 130а пола на участке переднего элемента 130а пола, где сформирован вход/выход 10, в качестве высоты вайнскота 3а, когда сформирован надрезанный участок 3а, высоту барьера, когда надрезанный участок 3а заблокирован барьером, высоту вайнскота 3а, когда надрезанный участок не сформирован на нем, или общую высоту вайнскота 3а и сформированного на нем участка барьера.
Задняя кромка переднего элемента 130а пола является второй соединительной кромкой 132а, соединенной с задним элементом 130b пола. На торцевой поверхности задней боковой кромки сформирована линейная канавка 32а. В частности, вторая соединительная кромка 132а переднего элемента 130а пола состоит из задней кромки щита 103а пола и задней кромки вайнскота 3а. Линейная канавка 32а сформирована так, чтобы простираться на торцевую поверхность задней кромки щита 103а пола и торцевую поверхность задней кромки вайнскота 3а.
[0122] При этом верхняя кромка левого бокового участка вайнскота 3а является третьей соединительной кромкой 133а, соединенной с левым стеновым элементом 120с. На верхней кромке сформирован линейный выступ 33а.
[0123] Верхняя кромка правого бокового участка вайнскота 3а является четвертой соединительной кромкой 134а, соединенной с правым стеновым элементом 120d. На верхней кромке сформирован линейный выступ 34а.
[0124] Элемент пола имеет ширину около 4 м и длину (размер в направлении глубины) около 2 м. Высота вайнскота составляет около 650 мм.
[0125] Однако размеры (ширина и длина) элемента 130а пола этим не ограничиваются. Любой размер, при условии возможности перевозки транспортным средством, таким как грузовик, и переноски людьми, не представляет какой-либо практической проблемы. Хотя высота вайнскота не ограничена, высота составляет не более 800 мм, потому что погрузка будет сложной при транспортировке, если вайнскот слишком высок. Если высота вайнскота слишком низкая на входе/выходе, риск проникновения воды выше уровня пола при затоплении увеличивается, поэтому необходимо обеспечить высоту не менее 200 мм.
[0126] Второй элемент пола (задний элемент пола 130b)
Передний элемент 130а пола имеет прямоугольный щит 103а пола и С-образный вайнскот 3а, поднятый для окружения щита 103а пола от передней кромки, левой кромки и правой кромки щита пола. Щит 103а пола и вайнскот 3а сформированы как единое целое без стыка.
[0127] Передняя кромка заднего элемента 130b пола является первой соединительной кромкой 131b, соединенной с передним элементом 130а пола. На торцевой поверхности передней боковой кромки сформирован линейный выступ 31b. В частности, первая соединительная кромка 131b заднего элемента 130b пола состоит из передней кромки щита 103b пола и передней кромки вайнскота 31b. Линейный выступ 31b сформирован так, чтобы перекрывать торцевую поверхность передней кромки щита 103b пола и торцевую поверхность передней кромки вайнскота 3b.
[0128] Верхняя кромка участка задней кромки вайнскота 3b является второй соединительной кромкой 132b, соединенной с задним стеновым элементом 120b. На торцевой поверхности задней боковой кромки сформирован линейный выступ 32b.
[0129] Верхняя кромка левого бокового участка вайнскота 3b является третьей соединительной кромкой 133b, соединенной с левым стеновым элементом 120с. На верхней кромке сформирован линейный выступ 33b.
[0130] Верхняя кромка правого бокового участка вайнскота 3b является четвертой соединительной кромкой 134b, соединенной с правым стеновым элементом 120d. На верхней кромке сформирован линейный выступ 34b.
[0131] Размеры заднего элемента 130b заднего пола такие же, как и размеры переднего элемента 130а пола.
[0132] Структура конструкции 100, собранной с каждым из элементов, описанных выше, теперь описывается с использованием вида в поперечном сечении.
[0133] На фиг. 7 представлен чертеж для описания конкретной структуры конструкции 100, показанной на фиг. 2(а). Фиг. 7(а) - вид сбоку, показывающий структуру конструкции 100, показанной на фиг. 2(а), если смотреть с направления X. Фиг. 7(b) - вид сбоку, показывающий структуру конструкции 100, показанной на фиг. 2(а), если смотреть с направления Y. На фиг. 7(c) представлен вид в поперечном сечении по линии VIIc-VIIc с фиг. 7(b). На фиг. 7(d) представлен вид в поперечном сечении по линии VIId-VIId с фиг. 7(b).
[0134] На фиг. 7(с) показано, что смежные стеновые элементы из четырех стеновых элементов соединены друг с другом на противоположных соединительных кромках.
[0135] В частности, третья соединительная кромка 123а переднего стенового элемента 120а соединена с четвертой соединительной кромкой 124с левого стенового элемента 120с, а линейный выступ 23а, сформированный на торцевой поверхности третьей соединительной кромки 123а, смонтирован с линейной канавкой 24с, сформированной на внутренней поверхности четвертой соединительной кромки 124с.
[0136] Четвертая соединительная кромка 124а переднего стенового элемента 120а соединена с третьей соединительной кромкой 123d правого стенового элемента 120d, а линейный выступ 24а, сформированный на торцевой поверхности четвертой соединительной кромки 124а, смонтирован с линейной канавкой 23d, сформированной на внутренней поверхности третьей соединительной кромки 123d.
[0137] Третья соединительная кромка 123b заднего стенового элемента 120b соединена с четвертой соединительной кромкой 124d правого стенового элемента 120d, а линейный выступ 23b, сформированный на торцевой поверхности третьей соединительной кромки 123b, смонтирован с линейной канавкой 24d, сформированной на внутренней поверхности четвертой соединительной кромки 124d.
[0138] Четвертая соединительная кромка 124b заднего стенового элемента 120b соединена с третьей соединительной кромкой 123с левого стенового элемента 120с, а линейный выступ 24b, сформированный на торцевой поверхности четвертой соединительной кромки 124b, смонтирован с линейной канавкой 23с, сформированной на внутренней поверхности третьей соединительной кромки 123b.
[0139] На фиг. 7(d) показано, что левый стеновой элемент 120с и правый стеновой элемент 120d соединены с задним потолочным элементом 110b и задним элементом 130b пола.
[0140] В частности, первая соединительная кромка 121с левого стенового элемента 120с соединена с третьей соединительной кромкой 113b заднего потолочного элемента 110b, и линейный выступ 21с, сформированный на торцевой поверхности первой соединительной кромки 121с, смонтирован с линейной канавкой 13b, сформированной на торцевой поверхности третьей соединительной кромки 113b.
[0141] Вторая соединительная кромка 122с левого стенового элемента 120с соединена с третьей соединительной кромкой 133b заднего элемента 130b пола, а линейная канавка 22с, сформированная на торцевой поверхности второй соединительной кромки 122с, монтируется с линейным выступом 33b, сформированным на торцевой поверхности третьей соединительной кромки 133b.
[0142] Вторая соединительная кромка 122d правого стенового элемента 120d соединена с четвертой соединительной кромкой 134b заднего элемента 130b пола, а линейная канавка 22d, сформированная на торцевой поверхности второй соединительной кромки 122d, монтируется линейным выступом 134b, сформированным на торцевой поверхности четвертой соединительной кромки 134b.
[0143] На фиг. 8 представлен чертеж для описания конкретной структуры конструкции 100 с фиг. 2. На фиг. 8(a) показан вид в плане, показывающий структуру конструкции 100 с фиг. 2(а), если смотреть с направления Z. Фиг. 8(b) представляет собой вид в поперечном сечении по линии VIIIb-VIIIb с фиг. 8(a).
[0144] На фиг. 8(b) показано соединенное состояние переднего потолочного элемента 110а и заднего потолочного элемента 110b, соединенное состояние переднего элемента 130а пола и заднего элемента 130b пола, соединенное состояние переднего стенового элемента 120а и переднего элемента 130а пола и соединенное состояние заднего стенового элемента 120b и заднего потолочного элемента 110b и заднего элемента 130b пола.
[0145] В частности, вторая соединительная кромка 122а переднего стенового элемента 120а соединена с первой соединительной кромкой 131а переднего элемента 130а пола, а линейная канавка 22а, сформированная на торцевой поверхности второй соединительной кромки 122а монтируется с линейным выступом 31а, сформированным на торцевой поверхности первой соединительной кромки 131а.
[0146] Первая соединительная кромка 121b заднего стенового элемента 120b соединена со второй соединительной кромкой 112b заднего потолочного элемента 110b, а линейный выступ 21b, сформированный на торцевой поверхности первой соединительной кромки 121b монтируется с линейной канавкой 12b, сформированной на торцевой поверхности второй соединительной кромки 112b.
[0147] Вторая соединительная кромка 122b заднего стенового 120b соединена со второй соединительной кромкой 132b заднего элемента 130b пола, а линейная канавка 22b, сформированная на торцевой поверхности второй соединительной кромки 122b, монтируется с линейным выступом 32b сформированным на торцевой поверхности второй соединительной кромки 132b.
[0148] Вторая соединительная кромка 112а переднего потолочного элемента 110а соединена с первой соединительной кромкой 111b заднего потолочного элемента 110b, а линейный выступ 12а, сформированный на торцевой поверхности второй соединительной кромки 112а монтируется с линейной канавкой 11b, сформированной на торцевой поверхности первой соединительной кромки 111b.
[0149] Вторая соединительная кромка 132а переднего элемента 130а пола соединена с первой соединительной кромкой 131b заднего элемента 130b пола, а линейная канавка 32а, сформированная на торцевой поверхности второй соединительной кромки 132а монтируется с линейным выступом 31b, сформированным на торцевой поверхности первой соединительной кромки 131b заднего элемента 130b пола.
[0150] Как показано на фиг. 7 и 8, смежные элементы из множества элементов, составляющих конструкцию 100 по Варианту 1, соединяются путем монтажа линейного выступа, сформированного на одной из противоположных соединительных кромок смежных элементов, с линейной канавкой, сформированной на другой противоположной соединительной кромке смежных элементов. При этом соединительные кромки соседних элементов соединены клеем. Клей может представлять собой любой клей, способный связывать пену. Примеры клея включают, но не ограничиваются ими, однокомпонентные клеи на основе уретановой смолы. Можно использовать любой клей, не содержащий растворителя, который растворяет пену. Однокомпонентные клеи предпочтительнее клеев с двухкомпонентной смесью, поскольку однокомпонентные клеи в подавляющем большинстве случаев выгодны с точки зрения времени обработки при нанесении клея на широкую соединенную поверхность, такую как поверхность каждого участка конструкции.
[0151] Форма соединительного участка не ограничивается вышеупомянутыми линейными выступами и линейными канавками. Соединительный участок может иметь любую другую форму.
[0152] Пример модификации Варианта 1
В конструкции 100 по Варианту 1, описанному выше, используются стеновые элементы с размером (длина в направлении глубины конструкции 100), который простирается на передние и задние потолочные элементы (или передние и задние элементы пола) как левый и правый стеновые элементы (левый стеновой элемент 120с и правый стеновой элемент 120d), однако размер стеновых элементов, используемых в конструкции 100 по Варианту 1 не ограничен размером, который простирается на передние и задние потолочные элементы (или передние и задние элементы пола).
[0153] На фиг. 9 представлен чертеж для описания конструкции 100а, которая представляет собой Пример 1 модификации конструкции 100 с фиг. 2(a). На фиг. 9(а) показана структура конструкции 100а в поперечном сечении, соответствующем виду в поперечном сечении по линии VIIIb-VIIIb с фиг. 8(а). На фиг. 9(b) показана структура структуры 100а в поперечном сечении по линии VIIc-VIIc с фиг. 7(c).
[0154] В конструкции 100а в Примере 1 модификации левый стеновой элемент 120с конструкции 100 по Варианту 1 заменен двумя короткими левыми стеновыми элементами 120с1 и 120с2, полученными путем разделения левого стенового элемента 120с на две части по линии разделения вдоль направления ширины (направления вверх и вниз на чертеже с фиг. 9(b)), а правый стеновой элемент 120d в конструкции 100 по Варианту 1 заменен двумя короткими правыми стеновыми элементами 120d1 и 120d2, полученными путем разделения правого стенового элемента 120d на две части по вышеуказанной линии разделения. Длины (размер в направлении глубины) короткого левого стенового элемента 120с1 и короткого правого стенового элемента 120d1 равны размеру в направлении глубины как у переднего потолочного элемента 110а, а длины (размер в направлении глубины) короткого левого стенового элемента 120с2 и короткого правого стенового элемента 120d2 равны размеру в направлении глубины заднего потолочного элемента 110b.
[0155] Далее описан способ сборки конструкции 100 путем объединения двух потолочных элементов, четырех стеновых элементов и двух элементов пола, подробно описанных выше.
[0156] Фиг. 10 представляет собой вид в перспективе для описания способа сборки конструкции 100 с фиг. 2, в порядке этапов производства. На фиг. 10(a) показано расположение множества составных элементов при сборке конструкции 100. На фиг. 10(b) показано множество соединенных составных элементов. На фиг. 10(c) показано множество соединенных составных элементов, на которые было нанесено покрытие.
[0157] Во-первых, передний потолочный элемент 110а и задний потолочный элемент 110b берутся в качестве двух потолочных элементов. Передний стеновой элемент 120а, задний стеновой элемент 120b, левый стеновой элемент 120с и правый стеновой элемент 120d берутся в качестве четырех стеновых элементов. Передний элемент 130а пола и задний элемент 130b пола берутся в качестве двух элементов пола. Каждый элемент выполнен из пены.
[0158] Вторая соединительная кромка 132а переднего элемента 130а пола затем соединяется с первой соединительной кромкой 131b заднего элемента 130b пола.
[0159] Затем вторая соединительная кромка 122а переднего стенового элемента 120а соединяется с первой соединительной кромкой 131а переднего элемента 130а пола, а вторая соединительная кромка 122b заднего стенового элемента 120b соединяется со второй соединительной кромкой 132b заднего элемента 130b пола.
[0160] Например, вторая соединительная кромка 122с левого стенового элемента 120с затем соединяется, чтобы простираться на третью соединительную кромку 133а переднего элемента130а пола и третью соединительную кромку 133b заднего элемента 130b пола. При этом третья соединительная кромка 123с левого стенового элемента 120с соединена с четвертой соединительной кромкой 124b заднего стенового элемента 120b, а четвертая соединительная кромка 124с левого стенового элемента 120с соединена с третьей соединительной кромкой 123а переднего стенового элемента 120а.
[0161] Затем вторая соединительная кромка 122d правого стенового элемента 120d соединяется так, чтобы простираться на четвертую соединительную кромку 134а переднего элемента 130 пола и четвертую соединительную кромку 134b заднего элемента 130b пола. При этом третья соединительная кромка 123d правого стенового элемента 120d соединена с четвертой соединительной кромкой 124а переднего стенового элемента 120, а четвертая соединительная кромка 124d правого стенового элемента 120d соединена с третьей соединительной кромкой 123b заднего стенового элемента 120b.
[0162] Затем передний потолочный элемент 110а помещается на передний стеновой элемент 120а, левый стеновой элемент 120с и правый стеновой элемент 120d для соединения первой соединительной кромки 111а переднего потолочного элемента 110а с первой соединительной кромкой 121а переднего стенового элемента 120а, соединения третьего соединительной кромки 113а переднего стенового элемента 110а с первой соединительной кромкой 121с левого стенового элемента 120с и соединения четвертой соединительной кромки 114а переднего потолочного элемента 110а с первой соединительной кромкой 121d правого стенового элемента 120d.
[0163] Затем задний потолочный элемент 110b помещают на задний стеновой элемент 120b, левый стеновой элемент 120с и правый стеновой элемент 120d, чтобы соединить первую соединительную кромку 111b заднего потолочного элемента 110b со второй соединительной кромкой 112а переднего потолочного элемента 110а, соединить третью соединительную кромку 113b заднего потолочного элемента 110b с первой соединительной кромкой 121с левого стенового элемента 120с и соединить четвертую соединительную кромку 114b заднего потолочного элемента 110b с первой соединительной кромкой 121d правого стенового элемента 120d и, наконец, соединить вторую соединительную кромку 112b заднего потолочного элемента 110b с первой соединительной кромкой 121b заднего стенового элемента 120b.
[0164] При этом, когда соединительная кромка каждого элемента соединяется с соединительной кромкой другого противоположного элемента, на противоположные соединительные кромки наносят клей, и монтируют линейный выступ одной из противоположных соединительных кромок с линейной канавкой другой противоположной соединительной кромки.
[0165] Таким образом может быть собрана конструкция 100, показанная на фиг. 10(b).
[0166] Конструкция 100 с незаметными соединениями составляющих элементов как показано на фиг. 10(c) может быть затем получена путем нанесения покрытия на поверхность собранной конструкции 100 с использованием уретановой смолы или тому подобного и нанесения финишной краски.
[0167] Поскольку конструкция 100 по Варианту 1 может быть собрана таким образом путем объединения двух потолочных элементов 110а и 110b, четырех стеновых элементов 120a-120d и двух элементов 130а и 130b пола, конструкция может транспортироваться в предварительно собранном состоянии конструкции, то есть в состоянии отдельных составных элементов, которые легко транспортируются вместе. В частности, конструкция 100 имеет преимущество в обеспечении возможности транспортировки конструкции 100 в компактной форме. Способ транспортировки специально описан ниже.
[0168] Фиг. 10а - вид в перспективе, показывающий сравнение конструкции 100 с фиг. 2 в собранном состоянии с составными элементами конструкции 100 в компактно уложенном состоянии. На фиг. 10а(а) показаны отдельные составляющие элементы конструкции 100. На фиг. 10а(b) показаны приведенные в качестве примера размеры наружной формы собранной конструкции 100. На фиг. 10а(с) показаны примерные размеры наружной формы отдельных составных элементов конструкции 100, которые компактно уложены.
[0169] При этом конструкция 100, полученная путем сборки шести составляющих элементов 110а, 110b и 120a-120d и 130а и 130b (см. фиг. 10А(а)), имеет размеры ширины (W=около 4,0 м), глубины (D=около 4,0 м) и высоты (Н=около 2,9 м), как показано на фиг. 10А(b).
[0170] Напротив, штабель Р100, полученный путем компактной укладки шести составляющих элементов 110а, 110b и 120a-120d и 130а и 130b (см. фиг. 10а(а)), имеет размеры ширины (W1=около 4,0 м), глубины (D1=около 2,5 м) и высоты (H1=около 3,3 м), как показано на фиг. 10а(с).
В штабеле Р100 пара элементов 130а и 130b пола поднята в противоположном состоянии так, чтобы длинная сторона была в боковом направлении. Четыре передних, задних, левых и правых стеновых элемента 120а-120d установлены между элементами 130а и 130b пола, а передние и задние потолочные элементы 110а и 110b уложены друг над другом и расположены на паре элементов 130а и 130b пола.
[0171] Размер D1 в направлении глубины донной поверхности штабеля Р100 короче, чем размер D в направлении глубины собранной конструкции 100, за счет укладки составляющих элементов конструкции 100 таким образом, что облегчает их погрузку на платформу грузового транспортного средства, такого как грузовик или прицеп.
[0172] Фиг. 10b - вид в перспективе, показывающий составные элементы конструкции 100, которые компактно уложены и загружены на прицеп.
[0173] Площадь основания (W1 × D1) штабеля Р100 (см. фиг. 10а(с)), полученная путем укладки составляющих элементов конструкции 100, уменьшается по сравнению с площадью основания (W × D) собранной конструкции 100. Таким образом, штабель может транспортироваться на прицепе или тому подобном, как показано на фиг. 10b. При транспортировке на прицепе штабель Р100 может быть закреплен на прицепе, например, лентой Pb, изготовленной из полимерного волокна, углеродного волокна или тому подобного.
[0174] В такой конструкции 100 согласно Варианту 1 передний элемент 130а пола и задний элемент 130b пола получаются путем формирования как единого целого щитов 103а и 103b пола с вайнскотами 3а и 3b, окружающими их по периферии, с использованием пены, такой как пенополистирол. Таким образом, отсутствует соединительный участок (стык) между полом и стенами сооружения. Следовательно, можно избежать проникновения воды снизу через стык (например, проникновения воды снизу при плавании на воде или проникновения влаги снизу при установке на суше). При установке, например, на суше, в случае затопления может быть предотвращено проникновение воды выше уровня пола.
[0175] Конструкция 100 построена таким образом, что сама конструкция плавает на воде. Даже если вода по какой-то причине проникает внутрь конструкции 100, сама конструкция 100 функционирует как буй, так что конструкция не погружается в воду. Даже в случае затопления и т.д. ущерб от затопления может быть сведен к минимуму за счет плавания на воде, как описано выше.
[0176] Поскольку конструкция 100 имеет коробчатую форму за счет объединения элементов пола, стеновых элементов и потолочных элементов, конструкция может быть установлена просто путем размещения на примерно горизонтальном участке без фундамента, как в грузовом контейнере. При этом каждый из элементов пола, стеновых элементов и потолочных элементов может быть заменен на элементы, имеющие конструкцию для формирования окна, двери (вход/выход), вентиляционного отверстия или тому подобного. Таким образом, могут быть свободно выбраны планировка и расположение входа/выхода и окна.
[0177] Поскольку конструкция 100 может быть собрана путем объединения двух потолочных элементов 110а и 110b, четырех стеновых элементов 120a-120d и двух элементов 130а и 130b пола, конструкция 100 может транспортироваться в состоянии предварительной сборки конструкции, то есть в состоянии, когда ее составные элемент компактно уложены, так что конструкцию легко транспортировать.
[0178] Способ сборки конструкции 100 по Варианту 1 не ограничивается порядком, описанным выше. Способ позволяет производить сборку из двух элементов пола, сборку из четырех стеновых элементов и сборку из двух потолочных элементов заранее, затем поместить сборку из четырех стеновых элементов на сборку из двух элементов пола и соединить сборки, и, наконец, поместить сборку потолочных элементов на сборку стеновых элементов и соединить сборку потолочных элементов со сборкой стеновых элементов.
[0179] При этом конструкция с палубой может быть произведена с использованием одного или более (например, двух) элементов пола в дополнение к элементам пола конструкции 100 по Варианту 1.
[0180] На фиг. 11 показан вид в перспективе для описания Примера 2 модификации конструкции 100 с фиг. 2. На фигуре показан способ сборки конструкции 100b с палубой, которая подходит, например, для проживания на воде.
[0181] Как показано на фиг. 11, два дополнительных элемента 130С и 130D пола подготовлены для палубы в дополнение к переднему элементу 130А пола и заднему элементу 130В пола в качестве элементов пола.
[0182] Как показано на фиг. 10(a), конструкция 100 сформирована как сборка из двух элементов пола, четырех стеновых элементов и двух потолочных элементов. Как показано на фиг. 11, дополнительный элемент 130с пола затем прикрепляется на передней стороне переднего элемента 130а пола конструкции 100, и дополнительный элемент 130d пола прикрепляется так, чтобы простираться на передний элемент 130а пола и задний элемент 130b пола на правой боковой поверхности конструкции 100.
[0183] Это позволяет получить конструкцию 100b с палубой.
[0184] На фиг. 12 показан вид в перспективе, иллюстрирующий применение конструкции 100b с палубой, собранной способом с фиг. 11, в качестве жилья на воде.
[0185] Поскольку конструкция 100b с палубой имеет большую выталкивающую силу как конструкция, конструкция подходит в качестве жилья для проживания на воде, например, на море или озере. Например, конструкция 100b с палубой может плавать и применяться в качестве жилья на берегу вблизи суши, как показано на фиг. 12. Палубная часть может также использоваться в качестве временного хранилища груза при выгрузке груза, перевозимого баржей или тому подобным, или при погрузке груза на баржу.
[0186] Место, где применима конструкция согласно изобретению, не ограничивается водой, как описано выше. Конструкция согласно изобретению также может быть установлена на суше. Конструкция согласно изобретению предпочтительно устанавливается, например, в области, подверженной затоплению, области с потенциалом погружения под воду или тому подобное, поскольку пользователь может извлечь выгоду из преимущества его способности плавать на воде (например, отсутствует проникновение воды, или имеется устойчивость к погружению под воду) при установке в такой области. В качестве альтернативы, конструкция согласно изобретению предпочтительно устанавливается, например, в области, которая требует перемещения всей постройки (например, пастбища или тому подобного), поскольку пользователь может извлечь выгоду из преимущества свойства легкого веса (например, вся конструкция может быть перемещена). Площадка для установки конструкции согласно изобретению может находиться в любом состоянии, при условии, что площадка находится примерно горизонтально. Конструкция согласно изобретению может быть установлена даже, например, на лугу, песке, мерзлом грунте и т.п.
[0187] Конструкция 100 по Варианту 1, описанная выше, обеспечивает жилое помещение стандартизированного размера. При этом потолочная часть конструкции 100 сформирована соединением передних и задних элементов потолка, и элемент пола конструкции 100 получен соединением передних и задних элементов пола. Таким образом, простое жилое помещение может быть расширено путем вставления потолочного элемента для расширения между передними и задними потолочными элементами и вставления элемента пола для расширения между передними и задними элементами пола. Расширенная конструкция, произведенная в результате расширения конструкции 100 по Варианту 1, описана ниже как Вариант 2.
[0188] Вариант 2
Фиг. 13 представляет собой чертеж для описания конструкции 200 согласно Варианту 2. На фиг. 13(a) показан внешний вид конструкции 200. На фиг. 13(b) показан контур составляющих элементов в конструкции 200 с фиг. 13(a). На фиг. 13(c) показана конструкция 200 с фиг. 13(a), разделенная на отдельные составляющие элементы.
[0189] Конструкция (вторая конструкция) 200 с фиг. 13 представляет собой расширяемую конструкцию. Входы/выходы 10 и 30 и окно 20 сформированы на стене конструкции 200. При этом конструкция 200 имеет четыре потолочных элемента, шесть стеновых элементов и четыре элемента пола. Вход/выход 10 и окно 20 такие же, как и в первой конструкции 100 с фиг. 1, но вход/выход 30 представляет собой вход/выход, расположенный на боковой поверхности второй конструкции 200, в отличие от входа/выхода 10, расположенного на передней поверхности второй конструкции 200. Когда вторая конструкция 200 расширяется в направлении (направление Y на фиг. 13), ортогональном продольному направлению (направление X), вход/выход используется для соединения жилых помещений между второй конструкцией и смежной конструкцией.
[0190] Четыре потолочных элемента представляют собой передний потолочный элемент (первый потолочный элемент) 210а, задний потолочный элемент (второй потолочный элемент) 210b и два потолочных элемента для расширения (третий и четвертый потолочные элементы) 210с и 210d.
[0191] При этом передний потолочный элемент 210а расположен на ближней стороне чертежа с фиг. 13(c), а задний потолочный элемент 210b расположен на дальной стороне чертежа с фиг. 13(c). Два потолочных элемента 210с и 210d для расширения расположены между передним потолочным элементом 210а и задним потолочным элементом 210b.|Один из двух потолочных элементов для расширения, третий потолочный элемент 210с, представляет собой передний потолочный элемент 210с для расширения, смежный с передним потолочным элементом 210а, а другой из двух потолочных элементов для расширения, четвертый потолочный элемент 210d, представляет собой задний потолочный элемент 210d для расширения, смежный с задним потолочным элементом 210b.
[0192] Шесть стеновых элементов представляют собой передний стеновой элемент (первый стеновой элемент) 220а, задний стеновой элемент (второй стеновой элемент) 220b, левый передний стеновой элемент (третий стеновой элемент) 220с, правый передний стеновой элемент (четвертый стеновой элемент) 220d, левый задний стеновой элемент (пятый стеновой элемент) 220е и правый задний стеновой элемент (шестой стеновой элемент) 220f.
[0193] При этом передний стеновой элемент 220а представляет собой стеновой элемент, расположенный спереди, когда конструкция 100 рассматривается с направления X с фиг. 13(a). Задний стеновой элемент 220b представляет собой стеновой элемент, расположенный на задней стороне конструкции 100, когда конструкция 100 рассматривается с направления А с фиг. 13(a). Левый передний стеновой элемент 220с расположен на ближней и левой стороне чертежа с фиг. 13(c). Правый передний стеновой элемент 220d расположен на ближней и правой стороне чертежа с фиг. 13(c). Левый задний стеновой элемент 220е расположен на дальней и левой стороне чертежа с фиг. 13(c). Правый задний стеновой элемент (шестой стеновой элемент) 220f расположен на дальней и правой стороне чертежа с фиг. 13(c).
[0194] Четыре элемента пола представляют собой передний элемент 230а пола (первый элемент пола), задний элемент 230b пола (второй элемент пола) и два элемента пола для расширения (третий и четвертый элементы пола) 230с и 230d.
[0195] При этом передний элемент 230а пола расположен на ближней стороне чертежа с фиг. 13(c). Задний элемент 230b пола расположен на дальней стороне чертежа с фиг. 13(c). Два элемента пола 230с и 230d для расширения расположены между передним элементом 230а пола и задним элементом 230b пола. Один из двух элементов пола для расширения, третий элемент 230с пола, представляет собой передний элемент пола для расширения, смежный с передним элементом 230а пола, а другой из двух потолочных элементов для расширения, четвертый потолочный элемент 230d, представляет собой задний элемент пола для расширения, смежный с задним элементом 230b пола.
[0196] При этом каждый элемент выполнен из пены, такой как пенополистирол. Коэффициент расширения элементов пола меньше коэффициентов расширения стеновых элементов и потолочных элементов.
[0197] В частности, коэффициент расширения элементов пола в конструкции 200 по Варианту 2 является таким же, как коэффициент расширения элементов пола в конструкции 100 по Варианту 1.
[0198] При этом коэффициенты расширения стеновых элементов и потолочных элементов в конструкции 200 по Варианту 2 являются такими же, как коэффициенты расширения стеновых элементов и потолочных элементов в конструкции 100 по Варианту 1.
[0199] Конструкция (вторая конструкция) 200 может плавать на воде с помощью каждого из четырех потолочных элементов, шести стеновых элементов и четырех элементов пола, выполненных из пены.
[0200] Конкретная конструкция каждого элемента описана ниже.
[0201] Сначала описаны с первого по шестой стеновые элементы.
[0202] Первый стеновой элемент (передний стеновой элемент 220а) и второй стеновой элемент (задний стеновой элемент 220b)
Передний стеновой элемент 220а и задний стеновой элемент 220b имеют такую же конструкцию, как передний стеновой элемент 120а и задний стеновой элемент 120b в конструкции 100 по Варианту 1, соответственно. При этом левый передний стеновой элемент 220с и левый задний стеновой элемент 220е имеют конструкцию, которая частично отличается от левого стенового элемента 120с в конструкции 100 по Варианту 1, а правый передний стеновой элемент 220d и правый задний стеновой элемент 220f имеют конструкцию, которая частично отличается от правого стенового элемента 120d в конструкции 100 по Варианту 1.
[0203] На фиг. 14 показан вид в плане для описания боковых стеновых элементов конструкции 200 с фиг. 13. На фиг. 14(a) показана внешняя поверхность стенового элемента (левого переднего стенового элемента) 120с, расположенного на левой и передней стороне чертежа с фиг. 13(c). На фиг. 14(b) показана внешняя поверхность стенового элемента (правый стеновой элемент) 120d, расположенного на правой и передней стороне чертежа с фиг. 13(c).
[0204] Третий стеновой элемент (левый передний стеновой элемент 220с)
Как показано на фиг. 14(a), левый передний стеновой элемент 220с имеет линейный выступ 53с, сформированный на торцевой поверхности третьей соединительной кромки 123с вместо линейной канавки 23с, сформированной на внутренней поверхности третьей соединительной кромки 123с левого стенового элемента 120с в конструкции 100 по Варианту 1.
[0205] Четвертый стеновой элемент (правый передний стеновой элемент 220d)
Как показано на фиг. 14(b), правый передний стеновой элемент 220d имеет линейную канавку 54d, сформированную на торцевой поверхности четвертой соединительной кромки 124d вместо линейной канавки 24d, сформированной на внутренней поверхности четвертой соединительной кромки 124d правого стенового элемента 120d в конструкции 100 по Варианту 1.
[0206] Пятый стеновой элемент (левый задний стеновой элемент 220е)
Левый задний стеновой элемент 220е имеет такую же конструкцию, как и правый передний стеновой элемент 220d с фиг. 14(b) и выполнен таким образом, что линейная канавка четвертой соединительной кромки левого заднего стенового элемента 220е монтируется с линейным выступом 53с третьей соединительной кромки 123с левого переднего стенового элемента 220с.
[0207] Шестой стеновой элемент (правый задний стеновой элемент 220f)
Правый задний стеновой элемент 220f снабжен отверстием для формирования входа/выхода 30, которое является таким же, как вход/выход 10 в элементе 220а переднего стенового элемента, на левом переднем стеновом элементе 220с, и выполнен таким образом, что линейный выступ третьей соединительной кромки правого заднего стенового элемента 220f монтируется с линейной канавкой 54d четвертой соединительной кромки 124d правого переднего стенового элемента 220d.
[0208] На фиг. 15 показан вид в плане для описания потолочного элемента конструкции 200 с фиг. 13. На фиг. 15(a) показана конструкция второго потолочного элемента с ближней стороны чертежа с фиг. 13(c) (передний потолочный элемент 210с для расширения), если смотреть сверху.
[0209] Первый потолочный элемент (передний потолочный элемент 210а) и второй потолочный элемент (задний потолочный элемент 210b)
Передний потолочный элемент 210а и задний потолочный элемент 210b в конструкции 200 имеют такую же конструкцию, как передний потолочный элемент 110а и задний потолочный элемент 110b в конструкции 100 по Варианту 1, соответственно.
[0210] Третий потолочный элемент (передний потолочный элемент 210с для расширения) и четвертый потолочный элемент (задний потолочный элемент 210d для расширения)
Передний потолочный элемент 210с для расширения в конструкции 200 содержит вторую соединительную кромку 212b с той же изогнутой формой, что и первая соединительная кромка 111b вместо второй соединительной кромки 112b заднего потолочного элемента 110b в конструкции 100 по Варианту 1, и имеет линейный выступ 42b, сформированный на торцевой поверхности второй соединительной кромки 212b переднего потолочного элемента 210с для расширения в конструкции 200 по Варианту 2 вместо линейной канавки 12b, сформированной на нижней поверхности второй соединительной кромки 112b заднего потолочного элемента 110b по Варианту 1.
[0211] Задний потолочный элемент 210d для расширения имеет такую же конструкцию, как и передний потолочный 210с элемент для расширения, кроме того, что на нем сформировано отверстие 40 воздушной вентиляции.
[0212] На фиг. 16 показан вид в плане для описания элемента пола конструкции 200 с фиг. 13, показывающий конструкцию переднего элемента пола 230с для расширения, расположенную во втором месте с ближней стороны чертежа с фиг. 13(c), если смотреть сверху.
[0213] Первый элемент пола (передний элемент 230а пола) и второй элемент пола (задний элемент 230b пола)
Передний элемент 230а пола и задний элемент 230b пола в конструкции 200 имеют такую же конструкцию, как передний элемент 130а пола и задний элемент 130b пола в конструкции 100 по Варианту 1.
[0214] Передний элемент 230с пола для расширения имеет прямоугольный щит 203с пола и пару фрагментов 3с вайнскота, которые подняты так, чтобы быть напротив друг друга через щит 203с пола с левой боковой кромки и правой боковой кромки щита пола. Щит 103а пола и вайнскот 3а сформированы как единое целое без стыка.
[0215] Передняя кромка фрагмента 3с вайнскота и передняя кромка щита 203с пола представляют собой первую соединительную кромку 231с, соединенную с передним элементом 230а пола. На торцевой поверхности первой соединительной кромки 231с сформирован линейный выступ 61с.
[0216] Задняя кромка фрагмента 3с вайнскота и задняя кромка щита 203с пола представляют собой вторую соединительную кромку 232b, соединенную с задним элементом 210d пола для расширения. На торцевой поверхности второй соединительной кромки 232b сформирована линейная канавка 62с.
[0217] Задний элемент 210d пола для расширения имеет такую же конструкцию, что и передний элемент 210с пола для расширения.
[0218] Структура конструкции 200, собранной с каждым элементом, описанным выше, описана далее с использованием поперечного сечения.
[0219] На фиг. 17 представлен чертеж для специального описания конструкции 200 с фиг. 13(a). Фиг. 17(a) представляет собой вид сбоку, показывающий структуру конструкции 200 с фиг. 13(a), если смотреть с направления X. Фиг. 17(b) представляет собой вид сбоку, показывающий структуру конструкции 200 с фиг. 13(a), если смотреть с направления Y. Фиг. 17(c) представляет собой вид в поперечном сечении по линии XVIIc-XVIIc с фиг. 17(b). Фиг. 17(d) представляет собой вид в поперечном сечении по линии XVIId-XVIId с фиг. 17(b).
[0220] На фиг. 17(c) показано, что смежные стеновые элементы шести стеновых элементов соединены друг с другом на противоположных соединительных кромках.
[0221] В частности, левый передний стеновой элемент 220с и левый задний стеновой элемент 220е соединены на их соединительных кромках, а левый стеновой элемент, состоящий из левого переднего стенового элемента 220с и левого стенового заднего элемента 220е, соединен с передним стеновым элементом 220а и задним стеновым элементом 220b таким же образом, как левый стеновой элемент 120с в конструкции 100 по Варианту 1.
[0222] Правый передний стеновой элемент 220d и левый задний стеновой элемент 220f соединены на их соединительных кромках, а правый стеновой элемент, состоящий из правого переднего стенового элемента 220d и правого заднего стенового элемента 220f, соединен с передним стеновым элементом 220а и задним стеновым элементом 220b таким же образом, как правый стеновой элемент 120d в конструкции 100 по Варианту 1.
[0223] На фиг. 17(d) показано, что левый задний стеновой элемент 220е и правый задний стеновой элемент 220f соединены с задним элементом пола 210d для расширения.
[0224] На фиг. 18 представлен чертеж для специального описания конструкции 200 с фиг. 13(a). На фиг. 18(a) показан вид в плане, показывающий структуру конструкции 200 с фиг. 13(a), если смотреть с направления Z. Фиг. 18(b) представляет собой вид в поперечном сечении по линии XVIIIb-XVIIIb с фиг. 18(a).
[0225] На фиг. 18(b) показан передний потолочный элемент 210а, передний потолочный элемент 210с для расширения, задний потолочный элемент 210d для расширения и задний потолочный элемент 210b, где соединены смежные элементы, и передний элемент 230а пола, передний элемент 230с пола для расширения, задний элемент 230d пола для расширения и задний элемент 230b пола, где соединены смежные элементы.
[0226] На фиг. 18(b) показано, что каждый из переднего стенового элемента 220а, левого переднего стенового элемента 220с, левого заднего стенового элемента 220е и заднего стенового элемента 220b соединен с одним из четырех смежных потолочных элементов и с одним из четырех смежных элементов пола.
[0227] Пример модификации Варианта 2
Конструкция 200 по Варианту 2, описанному выше, использует стеновые элементы с размером (длиной в направлении глубины конструкции 200), который простирается на два смежных потолочных элемента и два смежных напольных элемента в качестве левого и правого стеновых элементов (левый передний стеновой элемент 220с, левый задний стеновой элемент 220е, правый передний стеновой элемент 220d и правый задний стеновой элемент 220f), однако размер боковых стенных элементов (левый и правый стеновые элементы), используемых в конструкции 200 по Варианту 2, не ограничивается размером, который простирается на два смежных потолочных элемента и два смежных элемента пола.
[0228] На фиг. 19 представлен чертеж для описания конструкции 200а, которая является примером модификации конструкции 200 с фиг. 13(a). На фиг. 19(a) показана структура конструкции 200а в поперечном сечении, соответствующем поперечному сечению по линии XVIIIb-XVIIIb с фиг. 18(b). На фиг. 19(b) показана структура конструкции 200а в поперечном сечении, соответствующем поперечному сечению по XVIIc-XVIIc с фиг. 17(c).
[0229] Конструкция 200а в этом Примере модификации заменяет левый передний стеновой элемент 220с двумя короткими левыми стеновыми элементами 220с1 и 220с2, заменяет левый задний стеновой элемент 220е двумя короткими левыми стеновыми элементами 220е1 и 220е2, заменяет правый передний стеновой элемент 220d двумя короткими левыми стеновыми элементами 220d1 и 220d2 и заменяет правый задний стеновой элемент 220f двумя короткими левыми стеновыми элементами 220f1 и 220f2 в конструкции 200 по Варианту 2.
[0230] Два коротких левых стеновых элемента 220с1 и 220с2 получают путем разделения на два левого переднего стенового элемента 220с в конструкции 200 по Варианту 2. Два коротких левых стеновых элемента 220е1 и 220е2 получают путем разделения на два левого заднего стенового элемента 220е в конструкции 200 по Варианту 2. Два коротких левых стеновых элемента 120d1 и 120d2 получают путем разделения на два правого переднего стенового элемента 220d в конструкции 200 по Варианту 2. Два коротких левых стеновых элемента 120f1 и 120f2 получают путем разделения на два правого переднего стенового элемента 220f в конструкции 200 по Варианту 2.
[0231] Уменьшая таким образом размер (длину в направлении глубины конструкции) стенового элемента, расположенного на боковой поверхности конструкции 200, размер расширения в конструкции 200 может быть отрегулирован как малая единица измерения. При этом могут быть согласованы размеры множества стеновых элементов. Это позволяет облегчить обращение с множеством стеновых элементов и повысить эффективность транспортировки.
[0232] Способ сборки конструкции 200 по Варианту 2 является таким же, как и способ сборки конструкции 100 по Варианту 1.
[0233] Например, элементы пола 230с и 230d для расширения сначала размещаются между передним элементом 230а пола и задним элементом 230b пола и соединяются с ними для производства части пола конструкции 200.
[0234] Затем передний стеновой элемент 220а и задний стеновой элемент 220b располагаются на части пола и соединяются с передним стеновым элементом 230а и задним стеновым элементом 230b. Кроме того, каждый из левого переднего стенового элемента 220с, левого заднего стенового элемента 220е, правого переднего стенового элемента 220d и правого заднего стенового элемента 220f располагается на части пола и соединяется с соответствующим элементом пола из четырех элементов пола, и смежные стеновые элементы из шести стеновых элементов, расположенных так, чтобы окружать элемент пола, соединятся друг с другом.
[0235] Затем каждый из четырех потолочных элементов располагают на стеновых элементах и соединяют с противоположным стеновым элементом из шести стеновых элементов, и соединяют друг с другом смежные потолочные элементы четырех потолочных элементов. Эти элементы соединяются с помощью клея и монтажа линейного выступа, сформированного на одной из противоположных соединительных кромок, с линейной канавкой, сформированной на другой противоположной соединительной кромке.
[0236] В дополнение к эффекту конструкции 100 по Варианту 1, размер расширенной конструкции 200 по Варианту 2 может таким образом быть свободно расширен в направлении глубины, например, теоретически до 10 метров с использованием потолочных элементов 210с и 210d для расширения и элементов пола 230с и 230d для расширения. Это позволяет создать длинную постройку с более широким внутренним пространством без разделения по сравнению, например, с множеством связанных конструкций 100. При этом жилые помещения, которые совместимы с различными применениями, могут быть сформированы с использованием комбинации конструкции, которая не является расширяемой (нерасширяемая конструкция) 100, описанной в Варианте 1, и расширяемой конструкции 200 из Варианта 2.
[0237] Фиг. 20 представляет собой вид в перспективе, иллюстрирующий пример планировки конструкций, полученной путем объединения множества нерасширяемых конструкций 100 и множества расширяемых конструкций 200. Фиг. 21 - схематический чертеж для описания множества нерасширяемых конструкций и множества расширяемых конструкций, которые расположены по обе стороны причала, пришвартованного у набережной, и применяются в качестве курортного объекта.
[0238] Например, с помощью расширяемой конструкции 200 и множества нерасширяемых конструкций 100, как показано на фиг. 20, жилое помещение, соединяющее множество нерасширяемых конструкций 100, может быть сформировано с расширяемой конструкцией 200, причем планировка жилого помещения, которое может быть материализована с конструкцией 100, может быть расширена для повышения степени свободы проектирования жилого помещение с использованием конструкции 100.
[0239] Когда множество нерасширяемых конструкций и множество расширяемых конструкций расположены по обе стороны причала, пришвартованного у набережной, и применяются в качестве курортного объекта как показано на фиг. 21, масштаб как объекта размещения может быть выбран между объектом для небольшого количества людей, обеспечиваемым нерасширяемой конструкцией, и объектом для большого количества людей, обеспечиваемым расширяемой конструкцией, в зависимости от количества клиентов.
[0240] Хотя в приведенном выше примере описано применение конструкции для жилищных целей, применение конструкции не ограничивается жилищным применением. Например, конструкция может быть использована для предотвращения стихийных бедствий. Поскольку конструкция может плавать на воде, конструкция применима, например, в качестве средства эвакуации, которое будет легко погружаться под воду во время затопления.
[0241] Как описано выше, настоящее изобретение иллюстрируется на примере применения предпочтительных вариантов его осуществления. Однако настоящее изобретение не следует толковать как ограниченное такими вариантами осуществления. Следует понимать, что объем охраны настоящего изобретения следует интерпретировать исключительно на основе формулы изобретения. Следует понимать, что эквивалентный объем может быть реализован специалистами в данной области техники на основе описаний настоящего изобретения и общих знаний из конкретных описаний в предпочтительных вариантах осуществления изобретения. Также следует понимать, что любые цитируемые здесь ссылки должны быть включены в настоящий документ посредством ссылки таким же образом, как специально раскрытое здесь содержание.
Примеры
[0242] В этом Примере конструкция была произведена путем сборки элементов из пенополистирола. В качестве элементов, составляющих конструкцию, использовались два потолочных элемента, четыре стеновых элемента и два элемента пола. В качестве элементов пола были использовали элементы пола, имеющие вайнскот. Соединительный участок каждого элемента соединяли, используя клей из уретановой смолы. После сборки вся конструкция была покрыта материалом из уретановой смолы.
[0243] Произведенная конструкция имела площадь основания около 2,5 м × около 4,5 м, высоту около 2,6 м и вес около 500 кг. Таким образом, внутри конструкции было сформировано пространство, в которое может войти человек. Отношение площади основания произведенной конструкции к собственному весу конструкции составляло площадь основания (м2): собственный вес (кг)=около 1:45.
[0244] Произведенная конструкция была спущена на воду. Когда люди действительно входили внутрь, конструкция комфортно плавала по воде, без проникновения воды или погружения даже после размещения четырех взрослых.
[0245] На фиг. 22 показано изображение произведенной конструкции, когда она фактически плавает на воде. На фиг. 22(а) показано изображение внешнего вида произведенной конструкции. Фиг. 22(b) является изображением области вблизи входа/выхода произведенной конструкции. На фиг. 22(c) показано изображение области вблизи пола произведенной конструкции. Как показано на фиг. 22, часть входа/выхода была заблокирована барьером для предотвращения проникновения воды из входа/выхода в произведенную конструкцию. Барьер также был изготовлен из пеноматериала.
ПРОМЫШЛЕННАЯ ПРИМЕНИМОСТЬ
[0246] Настоящее изобретение применимо в качестве изобретения, в котором может быть получена конструкция, которая может плавать на воде в качестве конструкции, обеспечивающей внутреннее пространство.
Перечень ссылочных обозначений
[0247]
10, 30 Вход /выход
11а, 11b, 12b, 13а, 13b, 14а, 14b, 22a~22d, 23с, 23d, 24с, 24d, 32а, 62с линейная канавка (линейное углубление)
12а, 21a-21d, 23а, 23b, 24а, 24b, 31а, 31b, 32b, 33а, 33b, 34а, 34b, 42b, 61с линейный выступ (линейный выпуклый участок)
20 участок окна
40 отверстие воздушной вентиляции
100, 100а, 100b, 200, 200а конструкция
110а, 210а передний потолочный элемент (первый потолочный элемент)
110b, 210b задний потолочный элемент (второй потолочный элемент)
111а, 111b, 121a-121d, 131а, 131b первая соединительная кромка
112а, 112b, 122а-122d, 132а, 132b вторая соединительная кромка
113А, 113В, 123A-123D, 133А, 133В третья соединительная кромка
114а, 114b, 124a-124d, 134а, 134b четвертая соединительная кромка
120а, 220а передний стеновой элемент (первый стеновой элемент)
120а1 левый фрагмент переднего стенового элемента
120а2 правый фрагмент переднего стенового элемента
120b, 220b задний стеновой элемент (второй стеновой элемент)
120с левый стеновой элемент (третий стеновой элемент)
120c1, 120с2, 220c1, 220с2, 220е1, 220е2 короткий левый стеновой элемент
120d правый стеновой элемент (четвертый стеновой элемент)
120d1, 120d2, 220d1, 220d2, 220f1, 220f2 короткий правый стеновой элемент
130а, 230а передний элемент пола (первый элемент пола)
130b, 230b задний элемент пола (второй элемент пола)
130с, 130d элемент пола
210с, 210d потолочный элемент для расширения
220с левый передний стеновой элемент
220е левый задний стеновой элемент
220d правый передний стеновой элемент
220f правый задний стеновой элемент
230с, 230d элемент пола для расширения
Изобретение относится к конструкции, обеспечивающей внутреннее пространство, и способу производства такой конструкции путем соединения множества элементов. Техническим результатом является создание конструкции, обеспечивающей внутреннее пространство, которая может плавать на воде. Технический результат достигается тем, что конструкция, обеспечивающая внутреннее пространство, содержит по меньшей мере один потолочный элемент; по меньшей мере четыре стеновых элемента и по меньшей мере один элемент пола; при этом каждый из по меньшей мере четырех стеновых элементов имеет первую соединительную кромку, соединенную с по меньшей мере одним потолочным элементом; вторую соединительную кромку, соединенную с по меньшей мере одним элементом пола; третью соединительную кромку, соединенную с одним из по меньшей мере четырех стеновых элементов, смежных с каждым из по меньшей мере четырех стеновых элементов; и четвертую соединительную кромку, соединенную с другим из по меньшей мере четырех стеновых элементов, смежных с каждым из по меньшей мере четырех стеновых элементов; при этом каждый из по меньшей мере одного потолочного элемента, по меньшей мере четырех стеновых элементов и по меньшей мере одного элемента пола выполнен из пены, причем по меньшей мере один элемент пола имеет первую часть, составляющую пол конструкции, и вторую часть, составляющую часть стены конструкции, и первая часть и вторая часть сформированы как единое целое. Также технический результат достигается другими вариантами выполнения конструкции, обеспечивающими внутреннее пространство, а также технический результат достигается вариантами способа производства такой конструкции, обеспечивающей внутреннее пространство. 9 н. и 11 з.п. ф-лы, 22 ил.
1. Конструкция, обеспечивающая внутреннее пространство, содержащая:
по меньшей мере один потолочный элемент;
по меньшей мере четыре стеновых элемента; и
по меньшей мере один элемент пола;
при этом каждый из по меньшей мере четырех стеновых элементов имеет:
первую соединительную кромку, соединенную с по меньшей мере одним потолочным элементом;
вторую соединительную кромку, соединенную с по меньшей мере одним элементом пола;
третью соединительную кромку, соединенную с одним из по меньшей мере четырех стеновых элементов, смежных с каждым из по меньшей мере четырех стеновых элементов; и
четвертую соединительную кромку, соединенную с другим из по меньшей мере четырех стеновых элементов, смежных с каждым из по меньшей мере четырех стеновых элементов;
при этом каждый из по меньшей мере одного потолочного элемента, по меньшей мере четырех стеновых элементов и по меньшей мере одного элемента пола выполнен из пены,
причем по меньшей мере один элемент пола имеет первую часть, составляющую пол конструкции, и вторую часть, составляющую часть стены конструкции, и первая часть и вторая часть сформированы как единое целое.
2. Конструкция, обеспечивающая внутреннее пространство, содержащая:
по меньшей мере один потолочный элемент;
по меньшей мере четыре стеновых элемента; и
по меньшей мере один элемент пола;
при этом каждый из по меньшей мере четырех стеновых элементов имеет:
первую соединительную кромку, соединенную с по меньшей мере одним потолочным элементом;
вторую соединительную кромку, соединенную с по меньшей мере одним элементом пола;
третью соединительную кромку, соединенную с одним из по меньшей мере четырех стеновых элементов, смежных с каждым из по меньшей мере четырех стеновых элементов; и
четвертую соединительную кромку, соединенную с другим из по меньшей мере четырех стеновых элементов, смежных с каждым из по меньшей мере четырех стеновых элементов;
при этом каждый из по меньшей мере одного потолочного элемента, по меньшей мере четырех стеновых элементов и по меньшей мере одного элемента пола выполнен из пены,
при этом по меньшей мере один потолочный элемент выполнен из первой пены, имеющей первый коэффициент расширения,
по меньшей мере четыре стеновых элемента выполнены из второй пены, имеющей второй коэффициент расширения,
по меньшей мере один элемент пола выполнен из третьей пены, имеющей третий коэффициент расширения, и
третий коэффициент расширения меньше первого коэффициента расширения и второго коэффициента расширения.
3. Конструкция, обеспечивающая внутреннее пространство, содержащая:
по меньшей мере один потолочный элемент;
по меньшей мере четыре стеновых элемента; и
по меньшей мере один элемент пола;
при этом каждый из по меньшей мере четырех стеновых элементов имеет:
первую соединительную кромку, соединенную с по меньшей мере одним потолочным элементом;
вторую соединительную кромку, соединенную с по меньшей мере одним элементом пола;
третью соединительную кромку, соединенную с одним из по меньшей мере четырех стеновых элементов, смежных с каждым из по меньшей мере четырех стеновых элементов; и
четвертую соединительную кромку, соединенную с другим из по меньшей мере четырех стеновых элементов, смежных с каждым из по меньшей мере четырех стеновых элементов;
при этом каждый из по меньшей мере одного потолочного элемента, по меньшей мере четырех стеновых элементов и по меньшей мере одного элемента пола выполнен из пены,
при этом по меньшей мере один потолочный элемент содержит первый потолочный элемент и второй потолочный элемент, и каждый из первого потолочного элемента и второго потолочного элемента содержит первую соединительную кромку, вторую соединительную кромку, третью соединительную кромку и четвертую соединительную кромку,
по меньшей мере четыре стеновых элемента содержат первый стеновой элемент, второй стеновой элемент, третий стеновой элемент и четвертый стеновой элемент,
по меньшей мере один элемент пола содержит первый элемент пола и второй элемент пола, и каждый из первого элемента пола и второго элемента пола содержит первую соединительную кромку, вторую соединительную кромку, третью соединительную кромку и четвертую соединительную кромку,
первая соединительная кромка первого стенового элемента соединена с первой соединительной кромкой первого потолочного элемента, вторая соединительная кромка первого стенового элемента соединена с первой соединительной кромкой первого элемента пола, третья соединительная кромка первого стенового элемента соединена с четвертой соединительной кромкой третьего стенового элемента, и четвертая соединительная кромка первого стенового элемента соединена с третьей соединительной кромкой четвертого стенового элемента,
первая соединительная кромка второго стенового элемента соединена со второй соединительной кромкой второго потолочного элемента, вторая соединительная кромка второго стенового элемента соединена со второй соединительной кромкой второго элемента пола, третья соединительная кромка второго стенового элемента соединена с четвертой соединительной кромкой четвертого стенового элемента, и четвертая соединительная кромка второго стенового элемента соединена с третьей соединительной кромкой третьего стенового элемента,
первая соединительная кромка третьего стенового элемента соединена с третьей соединительной кромкой первого потолочного элемента и третьей соединительной кромкой второго потолочного элемента, и вторая соединительная кромка третьего стенового элемента соединена с третьей соединительной кромкой первого элемента пола и третьей соединительной кромкой второго элемента пола,
первая соединительная кромка четвертого стенового элемента соединена с четвертой соединительной кромкой первого потолочного элемента и четвертой соединительной кромкой второго потолочного элемента, и вторая соединительная кромка четвертого стенового элемента соединена с четвертой соединительной кромкой первого элемента пола и четвертой соединительной кромкой второго элемента пола,
вторая соединительная кромка первого потолочного элемента соединена с первой соединительной кромкой второго потолочного элемента, и
вторая соединительная кромка первого элемента пола соединена с первой соединительной кромкой второго элемента пола.
4. Расширяемая конструкция, обеспечивающая внутреннее пространство, содержащая:
множество потолочных элементов;
по меньшей мере один потолочный элемент для расширения;
множество стеновых элементов;
множество элементов пола; и
по меньшей мере один элемент пола для расширения;
при этом по меньшей мере один потолочный элемент для расширения присоединен между двумя из множества потолочных элементов для формирования расширенного потолочного участка,
при этом по меньшей мере один элемент пола для расширения присоединен между двумя из множества элементов пола для формирования расширенного участка пола,
при этом расширенный потолочный участок соединен с расширенным участком пола множеством стеновых элементов,
при этом каждый элемент выполнен из пены,
причем множество элементов пола и по меньшей мере один элемент пола для расширения имеют первую часть, составляющую пол конструкции, и вторую часть, составляющую часть стены конструкции, и первая часть и вторая часть сформированы как единое целое.
5. Расширяемая конструкция, обеспечивающая внутреннее пространство, содержащая:
множество потолочных элементов;
по меньшей мере один потолочный элемент для расширения;
множество стеновых элементов;
множество элементов пола; и
по меньшей мере один элемент пола для расширения;
при этом по меньшей мере один потолочный элемент для расширения присоединен между двумя из множества потолочных элементов для формирования расширенного потолочного участка,
при этом по меньшей мере один элемент пола для расширения присоединен между двумя из множества элементов пола для формирования расширенного участка пола,
при этом расширенный потолочный участок соединен с расширенным участком пола множеством стеновых элементов,
при этом каждый элемент выполнен из пены,
при этом множество потолочных элементов и по меньшей мере один потолочный элемент для расширения выполнены из первой пены, имеющей первый коэффициент расширения,
множество стеновых элементов выполнены из второй пены, имеющей второй коэффициент расширения,
множество элементов пола и по меньшей мере один элемент пола для расширения выполнены из третьей пены, имеющей третий коэффициент расширения, и
третий коэффициент расширения меньше первого коэффициента расширения и второго коэффициента расширения.
6. Конструкция по п. 4 или 5, в которой
каждый из множества элементов пола имеет четыре соединительные кромки, причем три из четырех соединительных кромок каждого из множества элементов пола имеют форму, соединенную с множеством стеновых элементов, и
каждый из по меньшей мере одного элемента пола для расширения имеет четыре соединительные кромки, причем две из четырех соединительных кромок каждого из по меньшей мере одного элемента пола для расширения имеют форму, соединенную с множеством стеновых элементов.
7. Конструкция по любому из пп. 4-6, в которой
каждый из множества потолочных элементов имеет четыре соединительные кромки, причем три из четырех соединительных кромок каждого из множества потолочных элементов имеют форму, соединенную с множеством стеновых элементов, и
каждый из по меньшей мере одного потолочного элемента для расширения имеет четыре соединительные кромки, и две из четырех соединительных кромок каждого из по меньшей мере одного потолочного элемента для расширения имеют форму, соединенную с множеством стеновых элементов.
8. Конструкция по любому из пп. 1-7, в которой отношение площади основания (м2) конструкции к массе самой конструкции (кг) составляет от 1:30 до 1:80.
9. Конструкция по любому из пп. 1-8, дополнительно содержащая покрытие, причем покрытие выполнено с возможностью по меньшей мере покрывать каждый соединительный участок множества элементов, составляющих конструкцию.
10. Конструкция по п. 7, в которой покрытие сформировано так, чтобы покрывать всю внешнюю поверхность конструкции.
11. Конструкция по любому из пп. 1-8, в которой каждый элемент из множества элементов, составляющих конструкцию, содержит покрывающее элемент покрытие.
12. Конструкция по любому из пп. 9-11, в которой материал покрытия по меньшей мере имеет свойство водонепроницаемости.
13. Конструкция по п. 1 или 4, в которой стена имеет первое отверстие, причем первое отверстие окружено потолочным элементом, стеновыми элементами и элементом пола.
14. Конструкция по любому из пп. 1, 4 или 13, в которой стена имеет второе отверстие, причем второе отверстие окружено потолочным элементом и стеновыми элементами.
15. Конструкция по любому из пп. 1-14, причем конструкция дополнительно содержит внешний элемент пола, составляющий внешнюю палубу снаружи элемента пола конструкции, и внешний элемент пола соединен с элементом пола.
16. Конструкция по любому из пп. 1-15, в которой пена содержит пенополистирол.
17. Способ производства конструкции, обеспечивающей внутреннее пространство содержащий:
обеспечение наличия по меньшей мере одного потолочного элемента, по меньшей мере четырех стеновых элементов и по меньшей мере одного элемента пола, причем каждый элемент выполнен из пены;
соединение по меньшей мере четырех стеновых элементов с по меньшей мере одним потолочным элементом и по меньшей мере одним элементом пола, при этом каждый из по меньшей мере четырех стеновых элементов имеет по меньшей мере четыре соединительные кромки, причем по меньшей мере четыре соединительные кромки содержат первую соединительную кромку, соединенную с по меньшей мере одним потолочным элементом, вторую соединительную кромку, соединенную с по меньшей мере одним элементом пола, третью соединительную кромку, соединенную с одним из по меньшей мере четырех стеновых элементов, смежных с каждым из по меньшей мере четырех стеновых элементов, и четвертую соединительную кромку, соединенную с другим одним из по меньшей мере четырех стеновых элементов, смежных с каждым из по меньшей мере четырех стеновых элементов; и
нанесение покрытия, чтобы по меньшей мере покрыть соединительные участки каждого соединенного элемента,
при этом по меньшей мере один элемент пола имеет первую часть, составляющую пол конструкции, и вторую часть, составляющую часть стены конструкции, причем первая часть и вторая часть сформированы как единое целое.
18. Способ производства конструкции, обеспечивающей внутреннее пространство, содержащий:
обеспечение наличия по меньшей мере одного потолочного элемента, по меньшей мере четырех стеновых элементов и по меньшей мере одного элемента пола, причем каждый элемент выполнен из пены;
соединение по меньшей мере четырех стеновых элементов с по меньшей мере одним потолочным элементом и по меньшей мере одним элементом пола, при этом каждый из по меньшей мере четырех стеновых элементов имеет по меньшей мере четыре соединительные кромки, причем по меньшей мере четыре соединительные кромки содержат первую соединительную кромку, соединенную с по меньшей мере одним потолочным элементом, вторую соединительную кромку, соединенную с по меньшей мере одним элементом пола, третью соединительную кромку, соединенную с одним из по меньшей мере четырех стеновых элементов, смежных с каждым из по меньшей мере четырех стеновых элементов, и четвертую соединительную кромку, соединенную с другим одним из по меньшей мере четырех стеновых элементов, смежных с каждым из по меньшей мере четырех стеновых элементов; и
нанесение покрытия, чтобы по меньшей мере покрыть соединительные участки каждого соединенного элемента,
при этом по меньшей мере один потолочный элемент выполнен из первой пены, имеющей первый коэффициент расширения,
по меньшей мере четыре стеновых элемента выполнены из второй пены, имеющей второй коэффициент расширения,
по меньшей мере один элемент пола выполнен из третьей пены, имеющей третий коэффициент расширения, и
третий коэффициент расширения меньше первого коэффициента расширения и второго коэффициента расширения.
19. Способ производства конструкции, обеспечивающей внутреннее пространство, содержащий:
обеспечение наличия множества потолочных элементов, по меньшей мере одного потолочного элемента для расширения, множества стеновых элементов, множества элементов пола и по меньшей мере одного элемента пола для расширения, причем каждый элемент выполнен из пены;
присоединение по меньшей мере одного потолочного элемента для расширения между двумя из множества потолочных элементов для формирования расширенного потолочного участка;
присоединение по меньшей мере одного элемента пола для расширения между двумя из множества элементов пола для формирования расширенного участка пола;
соединение множества стеновых элементов с расширенным потолочным участком и участком пола; и
нанесение покрытия, чтобы по меньшей мере покрыть соединительные участки каждого соединенного элемента,
при этом множество элементов пола и по меньшей мере один элемент пола для расширения имеют первую часть, составляющую пол конструкции, и вторую часть, составляющую часть стены конструкции, причем первая часть и вторая часть сформированы как единое целое.
20. Способ производства конструкции, обеспечивающей внутреннее пространство, содержащий:
обеспечение наличия множества потолочных элементов, по меньшей мере одного потолочного элемента для расширения, множества стеновых элементов, множества элементов пола и по меньшей мере одного элемента пола для расширения, причем каждый элемент выполнен из пены;
присоединение по меньшей мере одного потолочного элемента для расширения между двумя из множества потолочных элементов для формирования расширенного потолочного участка;
присоединение по меньшей мере одного элемента пола для расширения между двумя из множества элементов пола для формирования расширенного участка пола;
соединение множества стеновых элементов с расширенным потолочным участком и участком пола; и
нанесение покрытия, чтобы по меньшей мере покрыть соединительные участки каждого соединенного элемента,
при этом множество потолочных элементов и по меньшей мере один потолочный элемент для расширения выполнены из первой пены, имеющей первый коэффициент расширения,
множество стеновых элементов выполнены из второй пены, имеющей второй коэффициент расширения,
множество элементов пола и по меньшей мере один элемент пола для расширения выполнены из третьей пены, имеющей третий коэффициент расширения, и
третий коэффициент расширения меньше первого коэффициента расширения и второго коэффициента расширения.
| JP 4513032 B2, 28.07.2010 | |||
| JP 5787628 B2, 30.09.2015 | |||
| US 2018347176 A1, 06.12.2018 | |||
| СКРЕБОК ЦЕНТРАТОР-ПРОТЕКТОР | 2014 |
|
RU2553806C1 |
| ПОВОРОТНАЯ РЕГУЛИРУЮЩАЯ ДИАФРАГМА ТЕПЛОФИКАЦИОННОЙ ПАРОВОЙ ТУРБИНЫ | 2012 |
|
RU2504664C9 |
| US 2016202707 A1, 14.07.2016 | |||
| 0 |
|
SU191530A1 | |
Авторы
Даты
2025-04-07—Публикация
2021-10-27—Подача