ССЫЛКА НА РОДСТВЕННЫЕ ЗАЯВКИ
[0001] Настоящая заявка испрашивает приоритет предварительной заявки США №63/229 719, поданной 5 августа 2021 г., которая включена в настоящий документ по ссылке в полном объеме.
КРАТКОЕ ОПИСАНИЕ ЧЕРТЕЖЕЙ
[0002] Примеры нескольких различных вариантов осуществления настоящего изобретения описываются в настоящем документе со ссылкой на чертежи.
[0003] На фиг. 1А и фиг. 1В показаны примеры сетей мобильной связи, в которых могут быть реализованы варианты осуществления настоящего изобретения.
[0004] На фиг. 2А и фиг. 2В показаны стеки протоколов, соответственно, плоскости пользователя и плоскости управления системы нового радио (NR, New Radio).
[0005] На фиг. 3 показан пример услуг, предоставляемых между разными уровнями стека протоколов плоскости пользователя NR, представленного на фиг. 2А.
[0006] На фиг. 4А показан пример нисходящего потока данных через стек протоколов плоскости пользователя NR, представленный на фиг. 2А.
[0007] На фиг. 4В показан пример формата подзаголовка MAC в блоке данных MAC PDU.
[0008] На фиг. 5А и фиг. 5В показано соотношение между логическими, транспортными и физическими каналами, соответственно, нисходящего и восходящего направлений.
[0009] На фиг. 6 представлен пример диаграммы переходов состояний сигнализации RRC для пользовательского оборудования UE.
[0010] На фиг. 7 показан пример конфигурации кадра NR, в который сгруппированы символы OFDM.
[0011] На фиг. 8 показан пример конфигурации слота во временной и частотной областях для несущей NR.
[0012] На фиг. 9 показан пример использования полосы частот при трех сконфигурированных BWP для несущей NR.
[0013] На фиг. 10А показаны три конфигурации агрегации несущих с двумя компонентными несущими.
[0014] На фиг. 10В показан пример возможной конфигурации агрегированных сот в одной или нескольких группах каналов PUCCH.
[0015] На фиг. 11А показан пример структуры и расположения блока SS/PBCH.
[0016] На фиг. 11В показан пример сигналов CSI-RS, которые отображены на временную и частотную области.
[0017] На фиг. 12А и фиг. 12В показаны примеры трех процедур управления лучами, соответственно, нисходящего и восходящего направлений.
[0018] На фиг. 13А, фиг. 13В и фиг. 13С показаны, соответственно, четырехэтапная конкурентная процедура произвольного доступа, двухэтапная бесконкурентная процедура произвольного доступа и еще одна двухэтапная процедура произвольного доступа.
[0019] На фиг. 14А показан пример конфигурации набора CORESET для части полосы частот.
[0020] На фиг. 14В показан пример отображения CCE-to-REG для передачи информации DCI в наборе CORESET и обработки каналов PDCCH.
[0021] На фиг. 15 показан пример беспроводного устройства, взаимодействующего с базовой станцией.
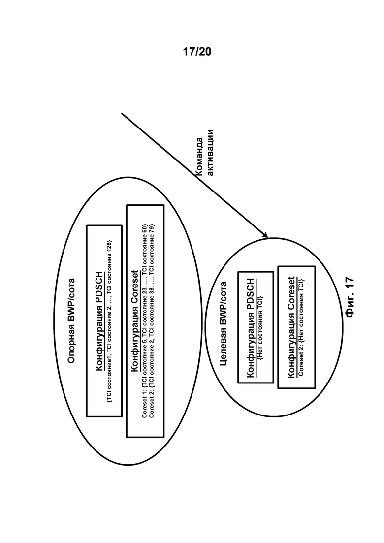
[0022] На фиг. 16А, фиг. 16В, фиг. 16С и фиг. 16D показаны примеры структур для передачи в восходящем и нисходящем каналах.
[0023] На фиг. 17 показан пример активации состояния TCI согласно одному из вариантов осуществления настоящего изобретения.
[0024] На фиг. 18 показан пример блок-схемы алгоритма активации состояния TCI согласно одному из вариантов осуществления настоящего изобретения.
[0025] На фиг. 19 показан пример блок-схемы алгоритма деактивации соты согласно одному из вариантов осуществления настоящего изобретения.
[0026] На фиг. 20 показан пример блок-схемы алгоритма деактивации соты согласно одному из вариантов осуществления настоящего изобретения.
ПОДРОБНОЕ ОПИСАНИЕ
[0027] Различные варианты осуществления настоящего изобретения представлены в виде примеров возможной реализации заявленных технических решений и/или практического применения заявленных технических решений в различных условиях и сценариях. Специалистам в соответствующей области техники должно быть очевидно, что их форма и детали могут быть изменены без нарушения объема изобретения. После ознакомления с описанием специалисту в соответствующей области будет понятно, как реализовывать альтернативные варианты осуществления изобретения. Настоящие варианты осуществления не могут ограничиваться ни одним из описанных примеров. Варианты осуществления настоящего изобретения описываются со ссылками на сопроводительные чертежи. Ограничения, свойства и/или элементы описываемых вариантов осуществления могут быть объединены для получения других вариантов осуществления в рамках объема настоящего изобретения. Все иллюстрации, демонстрирующие функции и преимущества, представлены только для примера. Предложенная архитектура обладает достаточной гибкостью и возможностью конфигурирования, чтобы ее можно было использовать не только в том виде, в котором она представлена. Например, действия, указанные в какой-либо блок-схеме, можно выполнять в другом порядке либо использовать эти действия лишь по выбору в некоторых вариантах осуществления.
[0028] Варианты осуществления могут быть сконфигурированы таким образом, чтобы функционировать по мере необходимости. Предложенный механизм может быть реализован при соответствии определенным критериям, например, в беспроводном устройстве, базовой станции, радиосреде, сети, комбинации перечисленных выше и/или подобных им объектов. Критерии могут зависеть, по меньшей мере частично, от конфигурации беспроводного устройства или сетевого узла, объема трафика, начальной настройки системы, размера пакета, характеристик трафика, комбинации перечисленных выше и/или подобных им факторов. В случае выполнения одного или нескольких критериев могут применяться различные варианты осуществления. Поэтому можно реализовать варианты осуществления, которые выборочно реализуют предложенные протоколы.
[0029] Базовая станция может взаимодействовать со множеством беспроводных устройств. Беспроводные устройства и/или базовые станции могут поддерживать несколько технологий и/или множество версий одной и той же технологии. Беспроводные устройства могут обладать некоторыми особыми возможностями в зависимости от категории и/или возможностей беспроводного устройства. Когда в настоящем изобретении говорится о базовой станции, взаимодействующей с множеством беспроводных устройств, то в настоящем изобретении может идти речь о подмножестве всех беспроводных устройств в зоне покрытия. Например, в настоящем изобретении может идти речь о множестве беспроводных устройств данной версии систем LTE или 5G с определенными возможностями и в определенном секторе базовой станции. Множество беспроводных устройств в настоящем изобретении может относиться к выбранному множеству беспроводных устройств и/или подмножеству всех беспроводных устройств в зоне покрытия, которые работают в соответствии с предложенными способами, и/или другим подобным устройствам. В зоне покрытия может быть множество базовых станций или множество беспроводных устройств, которые могут быть несовместимы с предложенными способами, например, такие беспроводные устройства или базовые станции могут функционировать на основе более старых версий технологий LTE или 5G.
[0030] В настоящем описании термин «один» и другие подобные выражения следует понимать как «по меньшей мере один» и «один или большее количество». Аналогичным образом, любой термин во множественном числе следует понимать как «по меньшей мере один» и «один или большее количество». В настоящем описании выражение «может» следует понимать как «может, например». Иными словами, выражение «может» указывает на то, что фраза, следующая за выражением «может», представляет собой пример одной из множества подходящих возможностей, которые могут или не могут использоваться в одном или большем количестве различных вариантов осуществления изобретения. Выражения «включает в себя» и «состоит из» в настоящем документе перечисляют один или большее количество компонентов описываемого элемента. Выражение «включает в себя» взаимозаменяемо с выражением «содержит» и не исключает возможность включения в описываемый элемент неперечисленных компонентов. Напротив, выражение «состоит из» в настоящем документе определяет полный перечень из одного или нескольких компонентов описываемого элемента. Выражение «на основании» в настоящем документе следует понимать как «по меньшей мере частично на основании», а не, например, «исключительно на основании». Выражение «и/или» в настоящем документе означает любую возможную комбинацию перечисленных элементов. Например, выражение «А, В и/или С» может означать комбинации А; В; С; А и В; А и С; В и С; или А, В и С.
[0031] Если А и В - множества и каждый элемент множества А является элементом множества В, то множество А называется подмножеством множества В. В этой спецификации рассматриваются только непустые множества и подмножества. Например, возможными подмножествами множества В={cell1, cell2} являются: {cell1}, {cell2} и {cell1, cell2}. Выражение «на основании» (или аналогичное выражение «по меньшей мере на основании») указывает на то, что фраза, следующая за выражением «на основании», представляет собой пример одной из множества подходящих возможностей, которые могут или не могут использоваться в одном или нескольких различных вариантах осуществления изобретения. Выражение «если/при/в ответ на» (или аналогичное выражение «по меньшей мере если/при/в ответ на») указывает на то, что фраза, следующая за выражением «если/при/в ответ на», представляет собой пример одной из множества подходящих возможностей, которые могут или не могут использоваться в одном или нескольких различных вариантах осуществления изобретения. Выражение «в зависимости от» (или аналогичное выражение «по меньшей мере в зависимости от») указывает на то, что фраза, следующая за термином «в зависимости от», представляет собой пример одной из множества подходящих возможностей, которые могут или не могут использоваться в одном или нескольких различных вариантах осуществления изобретения. Выражение «с применением/с использованием» (или аналогичное выражение «по меньшей мере с применением/с использованием») указывает на то, что фраза, следующая за выражением «с применением/с использованием», представляет собой пример одной из множества подходящих возможностей, которые могут или не могут использоваться в одном или нескольких различных вариантах осуществления изобретения.
[0032] Термин «сконфигурирован» может относиться к возможностям устройства независимо от того, находится ли оно в рабочем или нерабочем состоянии. Термин «сконфигурирован» может относиться к определенным настройкам устройства, которые влияют на его рабочие характеристики независимо от того, находится ли устройство в рабочем или нерабочем состоянии. Иными словами, чтобы наделить устройство определенными характеристиками, в устройстве могут быть «сконфигурированы» аппаратные средства, программное обеспечение, микропрограммное обеспечение, регистры, значения памяти и т.п.независимо от того, находится ли устройство в рабочем или нерабочем состоянии. Такие выражения, как «управляющее сообщение, которое должно вызвать в устройстве», могут означать, что управляющее сообщение содержит параметры, которые могут использоваться для конфигурирования определенных характеристик или могут быть использоваться для реализации определенных действий в устройстве, независимо от того, находится ли устройство в рабочем или нерабочем состоянии.
[0033] В настоящем описании параметры (или, как их еще называют, поля или информационные элементы (Information Elements, IE)) могут включать в себя один или большее количество информационных объектов, а один информационный объект может включать в себя один или большее количество других объектов. Например, пусть параметр (IE) N включает в себя параметр (IE) М, параметр (IE) М включает в себя параметр (IE) K, а параметр (IE) K включает в себя параметр (IE) J. Тогда, например, N включает в себя K, а N включает в себя J. В одном из вариантов осуществления, когда одно или большее количество сообщений включают в себя множество параметров, подразумевается, что параметр из этого множества параметров находится по меньшей мере в одном из этих сообщений, но не должен находиться в каждом из этих сообщений.
[0034] Многие представленные характеристики описываются как необязательные с использованием выражения «может» или круглых скобок. Для краткости и наглядности в настоящем описании не указываются в явном виде все возможные варианты, которые можно получить при выборе характеристик из набора необязательных характеристик. Настоящее описание должно рассматриваться как явное представление всех таких вариантов. Например, система, описанная как обладающая тремя необязательными характеристиками, может быть реализована семью способами, а именно: только с одной из трех возможных характеристик, с любыми двумя из трех возможных характеристик или сразу с тремя возможными характеристиками.
[0035] Многие элементы, представленные в описанных вариантах осуществления, могут быть реализованы в виде модулей. Модуль определяется здесь как элемент, выполняющий определенную функцию и имеющий определенный интерфейс с другими элементами. Модули, описанные в настоящем изобретении, могут быть реализованы аппаратными средствами, программным обеспечением в сочетании с аппаратными средствами, микропрограммным обеспечением, wetware (например, комбинацией аппаратных средств с биологическим элементом) или их сочетанием, которые могут быть эквивалентны по поведению. Например, модули могут быть реализованы в виде программной процедуры, написанной на компьютерном языке, сконфигурированном для выполнения аппаратным устройством (например, С, С++, Fortran, Java, Basic, Matlab или аналогичном), или программы моделирования/симуляции, такой как Simulink, Stateflow, GNU Octave или LabVIEWMathScript. Модули могут быть реализованы с помощью физического оборудования, включающего в себя дискретное или программируемое аналоговое, цифровое и/или квантовое оборудование. Примерами программируемых аппаратных средств могут служить компьютеры, микроконтроллеры, микропроцессоры, интегральные схемы специального назначения (ASIC, Application-Specific Integrated Circuits), полевые программируемые логические интегральные схемы (FPGA, Field Programmable Gate Arrays), сложные программируемые логические устройства (CPLD, Complex Programmable Logic Devices). Компьютеры, микроконтроллеры и микропроцессоры программируются с помощью таких языков, как ассемблер, С, С++ и им подобных. FPGA, ASIC и CPLD часто программируются с помощью языков описания оборудования (HDL, Hardware Description Language), таких как язык описания оборудования VHSIC (VHDL) или Verilog, которые конфигурируют в программируемом устройстве соединения между внутренними аппаратными модулями меньшей функциональности. Указанные технологии часто используются в комбинации для получения результата в виде функционального модуля.
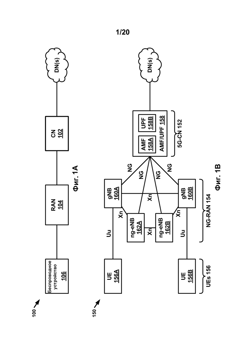
[0036] На фиг. 1А показан пример сети мобильной связи, 100, в которой могут быть реализованы варианты осуществления настоящего изобретения. Сеть мобильной связи 100 может быть, например, наземной мобильной сетью общего пользования (PLMN, Public Land Mobile Network), управляемой оператором связи. Как показано на фиг. 1А, мобильная сеть связи 100 включает в себя опорную сеть (CN, Core Network) 102, сеть радиодоступа (RAN, Radio Access Network) 104 и беспроводное устройство 106.
[0037] Опорная сеть CN 102 может предоставлять беспроводному устройству 106 интерфейс для подключения к одной или нескольким сетям передачи данных (DN, Data Network), в том числе общедоступным сетям DN (например, Интернет), частным сетям DN и/или внутренним сетям DN оператора. В рамках функциональности интерфейса опорная сеть CN 102 может устанавливать сквозные соединения между беспроводным устройством 106 и одной или несколькими сетями данных DN, выполнять аутентификацию беспроводного устройства 106 и обеспечивать функции зарядки.
[0038] Сеть доступа RAN 104 может подключать опорную сеть CN 102 к беспроводному устройству 106 по радиосвязи через радиоинтерфейс. В рамках осуществления радиосвязи сеть доступа RAN 104 может обеспечивать протоколы планирования, управления радиоресурсами и повторной передачи. Направление связи по радиоинтерфейсу от сети доступа RAN 104 к беспроводному устройству 106 называют нисходящим, а направление связи по радиоинтерфейсу от беспроводного устройства 106 к сети RAN 104 - восходящим. Передача данных в нисходящем направлении может быть отделена от передачи в восходящем направлении с использованием технологии дуплексирования с частотным разделением (FDD, Frequency Division Duplexing), дуплексирования с временным разделением (TDD, Time Division Duplexing) и/или некоторой комбинации этих двух технологий дуплексирования.
[0039] Термин «беспроводное устройство» в настоящем описании может употребляться для обозначения и включения в себя любого мобильного или стационарного (немобильного) устройства, для которого требуется или может использоваться беспроводная связь. Например, беспроводным устройством может быть телефон, смартфон, планшет, компьютер, ноутбук, датчик, счетчик, носимое устройство, устройство Интернета вещей (IoT, Internet of Things), устройство автодорожной инфраструктуры (RSU, Road Side Unit), ретрансляционный узел, автомобиль и/или любая их комбинация. Термин «беспроводное устройство» также включает в себя другие термины, в том числе пользовательское оборудование (UE, User Equipment), пользовательский терминал (UT, User Terminal), терминал доступа (AT, Access Terminal), мобильная станция, телефонная трубка, устройство беспроводной передачи и приема (WTRU, Wireless Transmit and Receive Unit) и/или устройство беспроводной связи.
[0040] Сеть доступа RAN 104 может включать в себя одну или большее количество базовых станций (не показаны на рисунке). Термин «базовая станция» в настоящем описании может использоваться для обозначения узла В (Node В, относящегося к стандартам UMTS и/или 3G), усовершенствованного узла В (eNB, Evolved Node В, относящегося к стандартам Е-UTRA и/или 4G), удаленного радиомодуля (RRH, Remote Radio Head), блока обработки сигналов основной полосы, соединенного с одним или несколькими модулями RRH, узла репитера или ретранслятора, используемого для расширения зоны покрытия узла-донора, узла eNB следующего поколения (ng-eNB, next generation eNB), узла Generation Node В (gNB, относящегося к стандартам NR и/или 5G), точки доступа (АР, Access Point, относящейся, например, к WiFi или любому другому подходящему стандарту беспроводной связи) и/или любой их комбинации. Базовая станция может включать в себя по меньшей мере один центральный модуль gNB (gNB-CU, gNB Central Unit) и по меньшей мере один распределенный модуль gNB (gNB-DU, gNB Distributed Unit).
[0041] Базовая станция, входящая в состав сети доступа RAN 104, может включать в себя один или большее количество наборов антенн для связи с беспроводным устройством 106 по радиоинтерфейсу. Например, одна или большее количество базовых станций могут включать в себя три набора антенн для управления, соответственно, тремя сотами (или секторами). Размер соты может определяться расстоянием, на котором приемник (например, приемник базовой станции) может успешно принимать сигналы от передатчика (например, передатчика беспроводного устройства), работающего в этой соте. В совокупности соты базовых станций могут обеспечивать радиопокрытие для беспроводного устройства 106 на обширной географической территории, чтобы поддерживать мобильность беспроводного устройства.
[0042] Помимо сайтов с тремя секторами возможны и другие варианты реализации базовых станций. Например, одна или большее количество базовых станций в сети доступа RAN 104 могут быть реализованы в виде сайта с количеством секторов больше или меньше трех. Одна или большее количество базовых станций в сети доступа RAN 104 могут быть реализованы в виде точки доступа, в виде блока обработки сигналов основной полосы, связанного с несколькими удаленными радиомодулями (RRH), и/или в виде узла репитера или ретранслятора, используемого для расширения зоны покрытия узла-донора. Блок обработки сигналов основной полосы, подключенный к модулю RRH, может быть частью централизованной или облачной архитектуры сети RAN, при этом блок обработки сигналов основной полосы может быть либо сосредоточен в пуле блоков обработки сигналов основной полосы, либо существовать в виртуальной форме. Узел репитера может усиливать и ретранслировать радиосигнал, принятый от узла-донора. Узел ретранслятора может выполнять функции, аналогичные или подобные функциям узла репитера, но может также декодировать радиосигнал, принятый от узла-донора, чтобы устранить шумы перед усилением и ретрансляцией радиосигнала.
[0043] Сеть доступа RAN 104 может развертываться как однородная сеть базовых станций макросот с одинаковыми диаграммами направленности антенн и одинаковой мощностью передачи высокого уровня. Сеть RAN 104 может развертываться как гетерогенная сеть. В гетерогенных сетях базовые станции малых сот могут использоваться для создания небольших зон покрытия, например зон, которые перекрываются со сравнительно большими зонами покрытия, создаваемыми базовыми станциями макросот. Небольшие зоны покрытия могут создаваться в областях с большим трафиком данных (так называемых «горячих точках») или в областях со слабым покрытием макросот. Примеры базовых станций малых сот включают в себя, в порядке уменьшения зоны покрытия, базовые станции микросот, базовые станции пикосот и базовые станции фемтосот или домашние базовые станции.
[0044] В 1998 году для проведения глобальной стандартизации спецификаций сетей мобильной связи, подобных сети мобильной связи 100, представленной на фиг. 1А, был создан Проект партнерства третьего поколения (3GPP, Third-Generation Partnership Project). На сегодняшний день проект 3GPP выпустил спецификации для трех поколений мобильных сетей: сеть третьего поколения (3G), известная как универсальная система мобильных телекоммуникаций (UMTS, Universal Mobile Telecommunications System), сеть четвертого поколения (4G), известная как система долговременного развития (LTE, Long-Term Evolution), и сеть пятого поколения (5G), известная как система 5G (5GS, 5G System). Варианты осуществления настоящего изобретения описываются применительно к сети доступа RAN системы 5G проекта 3GPP, называемой RAN следующего поколения (NG-RAN, Next-Generation RAN). Варианты осуществления могут применяться к сетям RAN других сетей мобильной связи, таких как сеть RAN 104 на фиг. 1А, сети RAN сетей более ранних поколений 3G и 4G, а также будущие сети, спецификации которых еще находятся в разработке (например, сеть 6G 3GPP). В сети NG-RAN реализуется технология радиодоступа 5G, известная как новое радио (NR), а также может быть предусмотрена возможность реализации технологии радиодоступа 4G или других технологий радиодоступа, включая технологии радиодоступа, не относящиеся к проекту 3GPP.
[0045] На фиг. 1В показан другой пример сети мобильной связи, 150, в которой могут быть реализованы варианты осуществления настоящего изобретения. Сеть мобильной связи 150 может быть, например, сетью PLMN, управляемой оператором связи. Как показано на фиг. 1В, сеть мобильной связи 150 включает в себя опорную сеть 5G (5G-CN) 152, сеть доступа NG-RAN 154 и устройства UE 156А и 156В (совместно обозначаемые как UE 156). Эти компоненты могут реализовываться и работать таким же или подобным образом, как и соответствующие компоненты, описанные в отношении фиг. 1А.
[0046] Опорная сеть 5G-CN 152 предоставляет устройствам UE 156 интерфейс для подключения к одной или нескольким сетям DN, в том числе общедоступным сетям DN (например, Интернет), частным сетям DN и/или внутренним сетям DN оператора. В рамках функциональности интерфейса опорная сеть 5G-CN 152 может устанавливать сквозные соединения между устройствами UE 156 и одной или несколькими сетями данных DN, выполнять аутентификацию устройств UE 156 и обеспечивать функции зарядки. В отличие от опорной сети CN системы 4G 3GPP, сеть 5G-CN 152 может опираться на архитектуру, основанную на услугах. Это означает, что архитектура узлов, образующих сеть 5G-CN 152, может быть определена в виде сетевых функций, которые предлагают услуги через интерфейсы с другими сетевыми функциями. Сетевые функции 5G-CN-152 могут быть реализованы различными способами, в том числе как сетевые элементы на выделенном или совместно используемом оборудовании, как экземпляры программного обеспечения, работающие на выделенном или совместно используемом оборудовании, или как виртуализированные функции, реализованные на платформе (например, облачной платформе).
[0047] Как показано на фиг. 1В, сеть 5G-CN 152 включает в себя функцию управления доступом и мобильностью (AMF, Access and Mobility management Function) 158A и функцию плоскости пользователя (UPF, User Plane Function) 158В, которые для удобства показаны на фиг. 1В как единый компонент AMF/UPF 158. Узел UPF 158 В может служить шлюзом между сетью NG-RAN 154 и одной или большим количеством сетей DN. Узел UPF 158В может выполнять такие функции, как маршрутизация и пересылка пакетов, проверка пакетов и применение правил политики плоскости пользователя, создание отчетов об использовании трафика, классификация потока восходящего данных для поддержки маршрутизации потоков трафика к одному или большему количеству сетей DN, обеспечение качества обслуживания (QoS, Quality of Service) для плоскости пользователя (например, фильтрация пакетов, организация шлюза, обеспечение скорости передачи данных по восходящему/нисходящему каналу и проверка трафика восходящего канала), буферизация пакетов нисходящего трафика и инициирование уведомления о данных нисходящего трафика. Узел UPF 158В может служить опорной точкой для мобильности вне/внутри технологии радиодоступа (RAT), точкой подключения сеанса блоков данных внешнего протокола (или пакета) (PDU, Protocol/Packet Data Unit) к одной или большему количеству сетей DN и/или точкой разветвления для поддержки многозадачного сеанса PDU. Устройства UE 156 могут быть сконфигурированы таким образом, чтобы получать услуги в рамках сеанса PDU, который представляет собой логическое соединение между устройством UE и сетью DN.
[0048] Узел AMF 158А может выполнять такие функции, как обработка сигнализации в слое вне доступа (NAS, Non-Access Stratum), обеспечение безопасности сигнализации NAS, управление безопасностью в слое доступа (AS, Access Stratum), сигнализация между узлами сети CN для обеспечения мобильности между сетями доступа 3GPP, обеспечение доступности UE в режиме ожидания (например, управление повторной передачей поискового вызова и ее выполнение), управление областью регистрации, поддержка внутрисистемной и межсистемной мобильности, аутентификация доступа, авторизация доступа, включая проверку прав роуминга, управление мобильностью (подписка и политики), поддержка сетевых срезов и/или выбор функции управления сеансами (SMF, Session Management Function). Под NAS могут пониматься функциональные возможности на участке между сетью CN и устройством UE, а под AS - функциональные возможности на участке между устройством UE и сетью RAN.
[0049] Сеть 5G-CN 152 может включать в себя одну или большее количество дополнительных сетевых функций, которые не показаны на фиг. 1В по соображениям наглядности. Например, сеть 5G-CN 152 может включать в себя одну или большее количество следующих функций: функцию управления сеансами (SMF), функцию сетевого репозитория NR (NRF, Network Repository Function), функцию управления политиками (PCF, Policy Control Function), функцию внешнего взаимодействия (NEF, Network Exposure Function), функцию унифицированного управления данными (UDM, Unified Data Management), функцию приложения (AF, Application Function) и/или функцию сервера аутентификации (AUSF, Authentication Server Function).
[0050] Сеть доступа NG-RAN 154 может подключить опорную сеть 5G-CN 152 к устройствам UE 156 по радиосвязи через радиоинтерфейс.Сеть NG-RAN 154 может включать в себя один или большее количество узлов gNB, изображенных как gNB 160А и gNB 160В (совместно gNB 160) и/или один или большее количество узлов ng-eNB, изображенных как ng-eNB 162А и ng-eNB 162В (совместно обозначаемые как ng-eNB 162). Узлы gNB 160 и ng-eNB 162 в общем случае могут называться базовыми станциями. Базовые станции gNB 160 и ng-eNB 162 могут включать в себя один или большее количество наборов антенн для связи с устройствами UE 156 по радиоинтерфейсу. Например, одна или большее количество базовых станций gNB 160 и/или одна или большее количество базовых станций ng-eNBs 162 могут включать в себя три набора антенн для управления, соответственно, тремя сотами (или секторами). В совокупности соты базовых станций gNB 160 и ng-eNB 162 могут обеспечивать радиопокрытие для устройств UE 156 на обширной географической территории, чтобы поддерживать мобильность UE.
[0051] Как показано на фиг. 1В, базовые станции gNB 160 и/или ng-eNB 162 могут подключаться к сети 5G-CN 152 через интерфейс NG, а к другим базовым станциям - через интерфейс Xn. Интерфейсы NG и Xn могут быть организованы с помощью прямых физических соединений и/или непрямых соединений через базовую транспортную сеть, например, транспортную сеть интернет-протокола (IP, Internet Protocol). Базовые станции gNB 160 и/или ng-eNB 162 могут быть подключены к устройствам UE 156 через интерфейс Uu. Например, как показано на фиг. 1В, базовая станция gNB 160А может быть подключена к устройству UE 156А через интерфейс Uu. Интерфейсы NG, Xn и Uu связаны со стеком протоколов. Стеки протоколов, связанные с интерфейсами, могут использоваться сетевыми элементами на фиг. 1В для обмена данными и сообщениями сигнализации и могут включать в себя две плоскости: плоскость пользователя и плоскость управления. Плоскость пользователя может обрабатывать данные, предназначенные пользователю. Плоскость управления может обрабатывать сообщения сигнализации, предназначенные сетевым элементам.
[0052] Базовые станции gNB 160 и/или ng-eNB 162 могут быть подключены к одному или большему количеству узлов AMF/UPF сети 5G-CN 152, например, к узлу AMF/UPF 158, через один или большее количество интерфейсов NG. Например, базовая станция gNB 160А может быть подключена к узлу UPF 158В в AMF/UPF 158 через интерфейс NG плоскости пользователя (NG-U, NG-User plane). Интерфейс NG-U может обеспечивать доставку (например, негарантированную доставку) блоков PDU плоскости пользователя между базовой станцией gNB 160А и узлом UPF 158В. Базовая станция gNB 160А может быть подключена к узлу AMF 158В через интерфейс NG плоскости управления (NG-C, NG-Control plane). Интерфейс NG-C может обеспечивать, например, функции управления интерфейсом NG, управления контекстом UE, управления мобильностью UE, транспортировки сообщений NAS, поискового вызова, управления сеансами PDU, а также переноса конфигурации и/или передачи предупреждающих сообщений.
[0053] Базовые станции gNB 160 могут обеспечивать обработку протоколов плоскости пользователя и плоскости управления NR для устройств UE 156 через интерфейс Uu. Например, базовая станция gNB 160А может обеспечивать обработку протоколов плоскости пользователя и плоскости управления NR для устройства UE 156А через интерфейс Uu, связанный с первым стеком протоколов. Базовые станции ng-eNB 162 могут обеспечивать обработку протоколов плоскости пользователя и плоскости управления усовершенствованного наземного радиодоступа UMTS (E-UTRA, Evolved UMTS Terrestrial Radio Access) для устройств UE 156 через интерфейс Uu, где E-UTRA относится к технологии радиодоступа 4G 3GPP. Например, базовая станция ng-eNB 162 В может обеспечивать обработку протоколов плоскости пользователя и плоскости управления E-UTRA для устройства UE 156А через интерфейс Uu, связанный со вторым стеком протоколов.
[0054] Сеть 5G-CN 152 была описана как сконфигурированная таким образом, чтобы поддерживать радиодоступ NR и 4G. Специалистам в соответствующей области техники должно быть понятно, что сеть NR может подключаться к опорной сети 4G в режиме, известном как «неавтономный». В неавтономном режиме работы опорная сеть 4G используется для обеспечения (или по меньшей мере поддержки) функций плоскости управления (например, начального доступа, мобильности и поискового вызова). Хотя на фиг. 1В показан только один узел AMF/UPF 158, одна базовая станция gNB или ng-eNB может быть подключена к нескольким узлам AMF/UPF для обеспечения избыточности и/или распределения нагрузки между несколькими узлами AMF/UPF.
[0055] Как уже было отмечено, интерфейс (например, интерфейсы Uu, Xn и NG) между сетевыми элементами на фиг. 1В может быть связан со стеком протоколов, который сетевые элементы используют для обмена данными и сообщениями сигнализации. Стек протоколов может включать в себя две плоскости: плоскость пользователя и плоскость управления. Плоскость пользователя может обрабатывать данные, предназначенные пользователю, а плоскость управления может обрабатывать сообщения сигнализации, предназначенные сетевым элементам.
[0056] На фиг. 2А и фиг. 2В показаны примеры стеков протоколов, соответственно, плоскости пользователя NR и плоскости управления NR для интерфейса Uu, который находится между устройством UE 210 и базовой станцией gNB 220. Стеки протоколов, показанные на фиг. 2А и фиг. 2В, могут быть аналогичны или подобны тем, которые используются для интерфейса Uu между, например, устройством UE 156А и базовой станцией gNB 160А, показанными на фиг. 1В.
[0057] На фиг. 2А показан стек протоколов плоскости пользователя NR, включающий в себя пять уровней, реализованных в устройстве UE 210 и базовой станции gNB 220. В нижней части стека протоколов физические уровни (PHY) 211 и 221 могут предоставлять транспортные услуги более высоким уровням стека протоколов и могут соответствовать уровню 1 модели взаимодействия открытых систем (OSI, Open Systems Interconnection). Следующие четыре протокола, расположенные над уровнями PHY 211 и 221, включают в себя уровни управления доступом к среде (MAC, Media Access Control) 212 и 222, уровни управления радиолинией (RLC, Radio Link Control) 213 и 223, уровни протокола конвергенции пакетных данных (PDCP, Packet Data Convergence Protocol) 214 и 224 и уровни протокола адаптации сервисных данных (SDAP, Service Data Adaptation Protocol) 215 и 225. Вместе эти четыре протокола могут образовывать уровень 2 или канальный уровень модели OSI.
[0058] На фиг. 3 показан пример услуг, предоставляемых между разными уровнями стека протоколов плоскости пользователя NR. Начиная с верхней части фиг. 2А и фиг. 3, протоколы SDAP 215 и 225 могут выполнять обработку потоков QoS. Устройства UE 210 могут получать услуги в рамках сеанса PDU, который представляет собой логическое соединение между устройством UE 210 и сетью DN. В сеансе PDU может присутствовать один или большее количество потоков QoS. Узел UPF сети CN (например, UPF 158В) может сопоставлять IP-пакеты с одним или большим количеством потоков QoS сеанса PDU в зависимости от требований к QoS (например, в отношении задержки, скорости передачи данных и/или коэффициента ошибок). Протоколы SDAP 215 и 225 могут сопоставлять один или большее количество потоков QoS с одним или большим количеством радиоканалов передачи данных и отменять такое отображение. Отображение или отмена отображения между потоками QoS и радиоканалами передачи данных может быть определено протоколом SDAP 225 в базовой станции gNB 220. Протокол SDAP 215 в устройстве UE 210 может быть информирован о соответствии между потоками QoS и радиоканалами передачи данных путем получения рефлективного отображения или управляющей сигнализации от базовой станции gNB 220. В случае рефлективного отображения протокол SDAP 225 на базовой станции gNB 220 может помечать пакеты, передаваемые в нисходящем канале, индикатором потока QoS (QFI, QoS Flow Indicator), который может отслеживаться протоколом SDAP 215 в устройстве UE 210, чтобы определить соответствие/несоответствие между потоками QoS и радиоканалами передачи данных.
[0059] Протоколы PDCP 214 и 224 могут выполнять функции компрессии/декомпрессии заголовков для уменьшения объема данных, которые нужно передавать по радиоинтерфейсу, шифрования/дешифрования для предотвращения несанкционированного декодирования данных, передаваемых по радиоинтерфейсу, и защиты целостности (чтобы гарантировать поступление управляющих сообщений из предусмотренных для этого источников). Протоколы PDCP 214 и 224 могут выполнять повторную передачу недоставленных пакетов, последовательную доставку и переупорядочивание пакетов, а также удаление пакетов, полученных в двух экземплярах, например, в результате хэндовера в пределах базовой станции. Протоколы PDCP 214 и 224 могут выполнять дублирование пакетов, чтобы повысить вероятность их получения, а в приемнике удалять дубликаты пакетов. Дублирование пакетов может быть полезно для служб, требующих высокой надежности.
[0060] Хотя это и не показано на фиг. 3, протоколы PDCP 214 и 224 могут выполнять отображение/отмену отображения между разделенными радиоканалами и каналами RLC в сценарии двойного подключения. Двойное подключение - это технология, которая позволяет устройству UE подключаться к двум сотам или, в более общем случае, к двум группам сот: главной группе сот (MCG, Master Cell Group) и вторичной группе сот (SCG, Secondary Cell Group). Разделение канала - это ситуация, когда один радиоканал, например, один из радиоканалов, предоставляемых протоколами PDCP 214 и 224 в качестве услуги для протоколов SDAP 215 и 225, обрабатывается группами ячеек в режиме двойного подключения. Протоколы PDCP 214 и 224 могут сопоставлять/отменять отображение разделенного радиоканала между каналами RLC, принадлежащими группам ячеек.
[0061] Протоколы PvLC 213 и 223 могут выполнять сегментацию, повторную передачу с помощью автоматического запроса повторной передачи (ARQ, Automatic Repeat Request) и удаление дубликатов данных, полученных, соответственно, от уровней MAC 212 и 222. Протоколы RLC 213 и 223 могут поддерживать три режима передачи: прозрачный режим (ТМ, Transparent Mode); режим без подтверждения (UM, Unacknowledged Mode); и режим с подтверждением (AM, Acknowledged Mode). В зависимости от режима передачи, в котором работает протокол RLC, он может выполнять одну или большее количество из перечисленных функций. Конфигурация протокола RLC может быть задана для каждого логического канала и не зависит от пространственно-временной структуры (нумерологии) и/или интервала времени передачи (TTI, Transmission Time Interval). Как показано на фиг. 3, протоколы RLC 213 и 223 могут предоставлять каналы RLC в качестве услуги для, соответственно, протоколов PDCP 214 и 224.
[0062] Протоколы MAC 212 и 222 могут выполнять мультиплексирование/демультиплексирование логических каналов и/или установление соответствия между логическими каналами и транспортными каналами. Мультиплексирование/демультиплексирование может включать в себя мультиплексирование/демультиплексирование блоков данных, принадлежащих одному или большему количеству логических каналов, в транспортные блоки (ТВ, Transport Block) или из них, доставляемые на уровни PHY 211 и 221 или от них. Протокол MAC 222 может быть сконфигурирован таким образом, чтобы выполнять планирование, передавать информацию о планировании и обрабатывать приоритеты между устройствами UE путем динамического планирования. Планирование может выполняться в базовой станции gNB 220 (в случае протокола MAC 222) для нисходящего и восходящего направлений. Протоколы MAC 212 и 222 могут быть сконфигурированы таким образом, чтобы выполнять коррекцию ошибок с помощью гибридного автоматического запроса повторения передачи (HARQ, Hybrid Automatic Repeat Request) (например, по одному объекту HARQ на несущую в случае агрегации несущих (СА, Carrier Aggregation)), обработку приоритетов между логическими каналами устройства UE 210 средствами приоритизации логических каналов и/или выравнивание. Протоколы MAC 212 и 222 могут поддерживать один или большее количество вариантов пространственно-временной структуры и/или временных характеристик передачи. В одном из примеров ограничения на отображение в приоритизации логических каналов могут определять, какая пространственно-временная структура и/или какие временные характеристики передачи доступны логическому каналу. Как показано на фиг. 3, протоколы MAC 212 и 222 могут предоставлять логические каналы в качестве услуги для протоколов RLC 213 и 223.
[0063] Протоколы PHY 211 и 221 могут сопоставлять транспортные каналы с физическими каналами и выполнять функции обработки цифровых и аналоговых сигналов для передачи и приема информации по радиоинтерфейсу. Эти функции обработки цифровых и аналоговых сигналов могут включать в себя, например, кодирование/декодирование и модуляцию/демодуляцию. Протоколы PHY 211 и 221 могут выполнять отображение на несколько антенн. Как показано на фиг. 3, протоколы PHY 211 и 221 могут предоставлять один или большее количество транспортных каналов в качестве услуги для протоколов MAC 212 и 222.
[0064] На фиг. 4А показан пример нисходящего потока данных через стек протоколов плоскости пользователя NR. На фиг. 4А показан нисходящий поток данных трех IP-пакетов (n, n+1 и m) через стек протоколов плоскости пользователя NR для создания двух блоков ТВ в базовой станции gNB 220. Восходящий поток данных через стек протоколов плоскости пользователя NR может быть подобен нисходящему потоку данных, изображенному на фиг. 4А.
[0065] Нисходящий поток данных на фиг. 4А начинается в момент, когда протокол SDAP 225 принимает три IP-пакета от одного или большего количества потоков QoS и распределяет эти три пакета по радиоканалам. На фиг. 4А протокол SDAP 225 связывает IP-пакеты n и n+1 с первым радиоканалом 402, а IP-пакет m - со вторым радиоканалом 404. К IP-пакету добавляется заголовок SDAP (на фиг. 4А обозначен буквой Н). Блок данных, передаваемый от вышестоящего протокола или к нему называется блоком служебных данных (SDU, Service Data Unit) нижестоящего протокола, а блок данных, передаваемый нижестоящему протоколу или от него, называется блоком данных протокола (PDU, Protocol Data Unit) вышестоящего протокола. Как показано на фиг. 4А, блок данных от протокола SDAP 225 представляет собой блок SDU нижестоящего протокола PDCP 224 и является блоком PDU протокола SDAP 225.
[0066] Остальные уровни протоколов на фиг. 4А могут выполнять свои функции (например, в соответствии с фиг. 3), добавлять соответствующие заголовки и передавать соответствующие выходные данные на следующий нижестоящий уровень. Например, протокол PDCP 224 может выполнять сжатие и шифрование IP-заголовков и передавать результат в протокол RLC 223. Протокол RLC 223 может опционально выполнять сегментацию (например, как показано для IP-пакета m на фиг. 4А) и передавать выходные данные в протокол MAC 222. Протокол MAC 222 может мультиплексировать несколько блоков PDU протокола RLC и присоединять к блоку RLC PDU подзаголовок MAC, чтобы сформировать транспортный блок. В системе NR подзаголовки MAC могут распределяться по блоку MAC PDU, как показано на фиг. 4А. В сети LTE подзаголовки MAC могут быть сосредоточены в начале блока MAC PDU. Структура блока MAC PDU в системе NR может сократить время обработки и связанную с ней задержку, поскольку подзаголовки блока MAC PDU можно обрабатывать до того, как блок MAC PDU будет собран полностью.
[0067] На фиг. 4В показан пример формата подзаголовка MAC в блоке MAC PDU. Подзаголовок MAC включает в себя: поле SDU length для указания длины (например, в байтах) блока MAC SDU, которому соответствует подзаголовок MAC; поле логического идентификатора канала LCID (Logical Channel Identifier) для идентификации логического канала, из которого получен блок MAC SDU, чтобы помочь процессу демультиплексирования; флаг F для указания размера поля SDU length; и поле зарезервированного бита R для использования в будущем.
[0068] На фиг. 4В дополнительно показаны управляющие элементы СЕ (Control Elements) протокола MAC, вставляемые в блок PDU MAC протоколом MAC, например MAC 223 или MAC 222. Например, на фиг. 4В показаны два элемента MAC СЕ, вставленные в блок MAC PDU. Элементы MAC СЕ могут помещаться в начало блока MAC PDU для передачи по нисходящему каналу (как показано на фиг. 4В) и в конец блока MAC PDU для передачи по восходящему каналу. Элементы MAC СЕ могут использоваться для внутриполосной управляющей сигнализации. Примерами элементов MAC СЕ могут служить: элементы MAC СЕ, связанные с планированием, например, отчеты о состоянии буфера и отчеты о резерве мощности; элементы MAC СЕ активации/деактивации, например для активации/деактивации обнаружения дублирования в протоколе PDCP, передачи информации о состоянии канала (CSI, Channel State Information), передачи опорных сигналов зондирования (SRS, Sounding Reference Signal) и предварительно сконфигурированных компонентов; элементы MAC СЕ, связанные с прерывистым приемом (DRX, Discontinuous Reception); элементы MAC СЕ, связанные с компенсацией задержки; и элементы MAC СЕ, связанные с произвольным доступом. Перед элементом MAC СЕ может находиться подзаголовок MAC в формате, подобном описанному для блоков MAC SDU, который можно идентифицировать с помощью зарезервированного значения в поле LCID, указывающего тип управляющей информации, включенной в элемент MAC СЕ.
[0069] До описания стека протоколов плоскости управления NR сначала описываются логические, транспортные и физические каналы, а также соответствие между типами каналов. Для выполнения функций, связанных с описываемым ниже стеком протоколов плоскости управления системы NR, может использоваться один или большее количество каналов.
[0070] На фиг. 5А и фиг. 5В показано соответствие между логическими, транспортными и физическими каналами, соответственно, для нисходящего и восходящего направлений. Информация передается по каналам между уровнями RLC, MAC и PHY стека протоколов NR. Логический канал может использоваться между уровнями RLC и MAC и может быть отнесен к каналу управления, по которому передается управляющая и конфигурационная информация в плоскости управления NR, или к каналу трафика, по которому передаются данные в плоскости пользователя NR. Логический канал может быть выделенным логическим каналом, предназначенным для конкретного устройства UE, или общим логическим каналом, который может использоваться более чем одним устройством UE. Логический канал также может определяться в зависимости от типа информации, которая по нему передается. В набор логических каналов, определенных в системе NR, входят, например:
- канал управления поисковым вызовом (РССН, Paging Control CHannel) для передачи поисковых сообщений, используемых для вызова устройства UE, местоположение которого сети неизвестно на уровне соты;
- широковещательный канал управления (ВССН, Broadcast Control CHannel) для передачи системных информационных сообщений в виде главного информационного блока (МГВ, Master Information Block) и нескольких системных информационных блоков (SIB, System Information Block), где системные информационные сообщения могут использоваться устройствами UE для получения информации о том, как сконфигурирована сота и как в ней работать;
- общий канал управления (СССН, Common Control CHannel) для передачи управляющих сообщений с произвольным доступом;
- выделенный канал управления (DCCH, Dedicated Control CHannel) для передачи управляющих сообщений конкретному устройству UE или от него для конфигурирования устройства UE; и
- выделенный канал трафика (DTCH, Dedicated Trafic CHannel) для передачи данных пользователя конкретному устройству UE или от него.
[0071] Транспортные каналы используются между уровнями MAC и PHY и могут определяться в зависимости от способа передачи по радиоинтерфейсу информации, которую они переносят.В набор транспортных каналов, определенных в системе NR, входят, например:
- канал поискового вызова (РСН, Paging CHannel) для передачи сообщений поискового вызова, полученных из канала РССН;
- широковещательный канал (ВСН, Broadcasting CHannel) для передачи блока MIB из канала ВССН;
- нисходящий канал общего доступа (DL-SCH, Downlink Shared CHannel) для передачи в нисходящем направлении данных и сообщений сигнализации, включая блоки SIB из канала ВССН;
- восходящий канал общего доступа (UL-SCH, Uplink Shared CHannel) для передачи в восходящем направлении данных и сообщений сигнализации; и
- канал произвольного доступа (RACH, Random Access CHannel), позволяющий устройству UE связываться с сетью без предварительного планирования.
[0072] Для передачи информации между уровнями обработки в пределах уровня PHY могут использоваться физические каналы. В физическом канале может быть соответствующий набор временных и частотных ресурсов для передачи информации одного или большего количества транспортных каналов. Протокол PHY может генерировать управляющую информацию для поддержки работы PHY на низком уровне и предоставлять управляющую информацию нижним уровням PHY по физическим каналам управления, известным как каналы управления L1/L2. В набор физических каналов и физических каналов управления, определенных в системе NR, входят, например:
- физический широковещательный канал (РВСН, Physical Broadcasting CHannel) для передачи блока MIB из канала ВСН;
- физический нисходящий канал общего доступа (PDSCH, Physical Downlink Shared CHannel) для передачи в нисходящем направлении данных и сообщений сигнализации из канала DL-SCH, включая сообщения поискового вызова из канала РСН;
- физический нисходящий канал управления (PDCCH, Physical Downlink Control CHannel) для передачи нисходящей управляющей информации (DC1, Downlink Control Information), которая может включать в себя команды планирования ресурсов нисходящего канала, выделенные ресурсы восходящего канала и команды управления мощностью восходящего канала;
- восходящий физический канал общего доступа (PUSCH, Physical Uplink Shared CHannel) для передачи в восходящем направлении данных и, в некоторых случаях, восходящей управляющей информации (UCI, Uplink Control Information), как описано ниже;
- физический восходящий канал управления (PUCCH, Physical Uplink Control CHannel) для передачи информации UCI, которая может включать в себя подтверждения запросов HARQ, индикаторы качества канала (CQI, Channel Quality Indicator), индикаторы матрицы предварительного кодирования (PMI, Pre-Coding Matrix Indicators), индикаторы ранга (RI, Rank Indicator) и запросы планирования (SR, Scheduling Request); и
- физический канал произвольного доступа (PRACH, Physical Random Access CHannel) для осуществления произвольного доступа.
[0073] Подобно физическим каналам управления, физический уровень генерирует физические сигналы для поддержки работы физического протокола на низком уровне. Как показано на фиг. 5А и фиг. 5В, сигналы физического уровня, определенные в системе NR, включают в себя: первичные сигналы синхронизации (PSS, Primary Synchronization Signal), вторичные сигналы синхронизации (SSS, Secondary Synchronization Signal), опорные сигналы информации о состоянии канала (CSI-RS, Channel State Information Reference Signal), опорные сигналы демодуляции (DMRS, DeModulation Reference Signal), опорные сигналы зондирования (SRS) и опорные сигналы фазового слежения (PT-RS, Phase-Tracking Reference Signal). Ниже эти сигналы физического уровня будут описаны более подробно.
[0074] На фиг. 2В показан пример стека протоколов плоскости управления NR. Как показано на фиг. 2В, в стеке протоколов плоскости управления NR могут использоваться те же или подобные первые четыре уровня протоколов, что и в типовом стеке протоколов плоскости пользователя NR. Эти четыре уровня протоколов включают в себя уровни PHY 211 и 221, MAC 212 и 222, RLC 213 и 223, а также PDCP 214 и 224. Вместо протоколов SDAP 215 и 225 в верхней части стека протоколов плоскости пользователя NR, в верхней части стека протоколов плоскости управления NR присутствуют протоколы управления радиоресурсами (RRC, Radio Resources Control) 216 и 226 и протоколы NAS 217 и 237.
[0075] Протоколы NAS 217 и 237 могут обеспечивать функции плоскости управления между устройством UE 210 и узлом AMF 230 (например, AMF 158А) или, в более общем случае, между устройством UE 210 и сетью CN. Протоколы NAS 217 и 237 могут обеспечивать функции плоскости управления между устройством UE 210 и узлом AMF 230 с помощью сообщений сигнализации, называемых сообщениями NAS. Между устройством UE 210 и узлом AMF 230 нет прямого пути, по которому могут передаваться сообщения NAS. Сообщения NAS могут передаваться с помощью слоя AS интерфейсов Uu и NG. Протоколы NAS 217 и 237 могут обеспечивать функции плоскости управления, в том числе аутентификацию, безопасность, установку соединения, управление мобильностью и управление сеансами.
[0076] Протоколы RRC 216 и 226 могут обеспечивать функции плоскости управления между устройством UE 210 и базовой станцией gNB 220 или, в более общем случае, между устройством UE 210 и сетью RAN. Протоколы RRC 216 и 226 могут обеспечивать функции плоскости управления между устройством UE 210 и базовой станцией gNB 220 с помощью сообщений сигнализации, называемых сообщениями RRC. Сообщения RRC могут передаваться между устройством UE 210 и сетью RAN с помощью сигнальных радиоканалов и тех же или подобных уровней протоколов PDCP, RLC, MAC и PHY. Протокол MAC может мультиплексировать данные плоскости управления и плоскости пользователя в один и тот же транспортный блок (ТВ). Протоколы RRC 216 и 226 могут обеспечивать функции плоскости управления, в частности: широковещательную передачу системной информации, связанной со слоями AS и NAS; поисковый вызов, инициированный сетями CN или RAN; установление, поддержание и разрыв соединения RRC между устройством UE 210 и сетью RAN; функции безопасности, включая управление ключами; установление, конфигурирование, поддержание и разрыв радиоканалов сигнализации и данных; функции мобильности; функции управления QoS; формирование отчетности об измерениях устройств UE и управление отчетностью; обнаружение сбоев радиолинии и восстановление после сбоев (RLF, Radio Link Failure); и/или передачу сообщений NAS. В рамках установления соединения RRC протоколы RRC 216 и 226 могут сформировать контекст RRC, который может включать в себя конфигурирование параметров для связи между устройством UE 210 и сетью RAN.
[0077] На фиг. 6 представлен пример диаграммы переходов состояний сигнализации RRC для пользовательского оборудования UE. Устройство UE может быть таким же, как беспроводное устройство 106, изображенное на фиг. 1А, устройство UE 210, изображенное на фиг. 2А и фиг. 2В, или любое другое беспроводное устройство, описанное в настоящем изобретении, или подобным им. Как показано на фиг. 6, устройство UE может находиться по меньшей мере в одном из трех состояний RRC: RRC connected (подключено) 602 (например, RRC_CONNECTED), RRC idle (в ожидании) 604 (например, RRC_IDLE) и RRC inactive (неактивно) 606 (например, RRC_INACTIVE).
[0078] В состоянии RRC connected 602 у устройства UE есть созданный контекст RRC и оно может находиться по меньшей мере в одном соединении RRC с базовой станцией. Базовая станция может быть подобна одной или большему количеству базовых станций, входящих в сеть RAN 104, изображенную на фиг. 1А, одной из базовых станций gNB 160 или ng-eNB 162, изображенных на фиг. 1В, базовой станции gNB 220, изображенной на фиг. 2А и фиг. 2В, или любой другой базовой станции, описываемой в настоящем изобретении. Базовая станция, с которой соединено устройство UE, может иметь контекст RRC для этого устройства. В контексте RRC, именуемом контекстом устройства UE, могут присутствовать параметры для осуществления связи между устройством UE и базовой станцией. Эти параметры могут включать в себя, например: один или большее количество контекстов AS; один или большее количество параметров конфигурации радиолинии; информацию о конфигурации радиоканалов (например, относящуюся к радиоканалу для передачи данных, радиоканалу для сигнализации, логическому каналу, потоку QoS и/или сеансу PDU); информацию о безопасности; и/или информацию о конфигурации уровней PHY, MAC, RLC, PDCP и/или SDAP. В состоянии RRC connected 602, мобильностью устройства UE может управлять сеть RAN (например, RAN 104 или NG-RAN 154). Устройство UE может измерять уровни сигналов (например, уровни опорных сигналов) от обслуживающей соты и соседних сот и передавать результаты этих измерений базовой станции, обслуживающей это устройство. На основании полученных данных базовая станция, обслуживающая устройство UE, может запрашивать хэндовер на соту одной из соседних базовых станций. Из состояния RRC connected 602 устройство перейти в состояние RRC idle 604 в результате процедуры разрыва соединения 608 или в состояние RRC inactive 606 в результате процедуры деактивации соединения 610.
[0079] В режиме ожидания RRC idle 604 контекст RRC для устройства UE установлен быть не может.В состоянии RRC idle 604 устройство UE не может поддерживать соединение RRC с базовой станцией. В состоянии RRC idle 604, устройство UE большую часть времени может находиться в спящем режиме (например, для экономии заряда батареи). Устройство UE может периодически выходить из спящего режима (например, один раз за каждый цикл прерывистого приема), чтобы отслеживать поисковые вызовы от сети RAN. Управлять мобильностью устройство UE может с помощью процедуры, известной как повторный выбор соты. Переход из состояния RRC idle 604 в состояние RRC connected 602 может осуществляться в результате процедуры установления соединения 612, которая может включать в себя процедуру произвольного доступа, более подробно рассматриваемую ниже.
[0080] В состоянии RRC inactive 606 ранее сформированный контекст RRC сохраняется как в устройстве UE, так и на базовой станции. Благодаря этому возможен быстрый переход в состояние RRC connected 602 с меньшим объемом сигнализации по сравнению с переходом в состояние RRC connected 602 из состояния RRC idle 604. В состоянии RRC inactive 606 устройство UE может находиться в спящем режиме, а мобильность UE может обеспечиваться посредством повторного выбора соты. Переход из состояния RRC inactive 606 в состояние RRC connected 602 может осуществляться в результате процедуры возобновления соединения 614, а в состояние RRC idle 604 - в результате процедуры разрыва соединения 616, которая может быть аналогичной или подобной процедуре разрыва соединения 608.
[0081] Состояние RRC может быть связано с механизмом управления мобильностью. В состояниях RRC idle 604 и RRC inactive 606 управление мобильностью осуществляется устройством UE посредством повторного выбора соты. Задача управления мобильностью в состояниях RRC idle 604 и RRC inactive 606 состоит в том, чтобы позволить сети уведомить устройство UE о каком-либо событии с помощью сообщения поискового вызова, не транслируя это сообщение в широковещательном режиме по всей сети мобильной связи. Механизм управления мобильностью, который используется в состояниях RRC idle 604 и RRC inactive 606, может позволить сети отслеживать устройство UE на уровне группы сот, чтобы сообщение поискового вызова могло быть направлено в соты той группы, где в данный момент находится устройство UE, а не по всей сети мобильной связи. Механизмы управления мобильностью для состояний RRC idle 604 и RRC inactive 606 позволяют отслеживать устройство UE на уровне групп сот. Это может быть реализовано с использованием различных степеней группирования. Например, может использоваться три уровня группирования сот: отдельные соты; соты в зоне сети RAN, определяемой идентификатором зоны RAN (RAI, RAN Area Identifier); и соты в группе зон RAN, именуемой зоной слежения и определяемой идентификатором зоны отслеживания (TAI, Tracking Area Identifier).
[0082] Зоны отслеживания могут использоваться для отслеживания устройства UE на уровне сети CN. Сеть CN (например, CN 102 или 5G-CN 152) может предоставлять устройству UE перечень идентификаторов TAI, связанных с областью регистрации устройства UE. Если в результате повторного выбора соты устройство UE перемещается в соту, связанную с индикатором TAI, не включенным в перечень TAI, связанных с областью регистрации UE, устройство UE может выполнить обновление регистрации в сети CN, чтобы сеть CN могла обновить местоположение UE и предоставить устройству новую область регистрации UE.
[0083] Зоны RAN могут использоваться для отслеживания устройства UE на уровне сети RAN. Устройству UE в состоянии RRC inactive 606 может быть назначена зона уведомления RAN. Зона уведомления RAN может включать в себя один или большее количество идентификаторов сот, перечень идентификаторов RAI или ТАГ В одном из примеров базовая станция может принадлежать одной или большему количеству зон уведомления RAN. В одном из примеров сота может принадлежать одной или большему количеству зон уведомления RAN. Если в результате повторного выбора соты устройство UE перемещается в соту, не включенную в зону уведомления RAN, назначенную для этого устройства, устройство UE может выполнить обновление зоны уведомления в RAN, чтобы обновить зону уведомления RAN устройства UE.
[0084] Базовая станция, в которой хранится контекст RRC для устройства UE, либо последняя базовая станция, обслуживающая UE, может называться якорной базовой станцией. Якорная базовая станция может поддерживать контекст RRC для устройства UE по меньшей мере в течение периода времени, когда устройство UE находится в зоне уведомления RAN якорной базовой станции и/или в течение периода времени, когда устройство UE находится в состоянии RRC inactive 606.
[0085] Базовая станция gNB, например, gNB 160 на фиг. 1В, может быть разбита на две части: центральный модуль (gNB-CU) и один или большее количество распределенных модулей (gNB-DU). Модуль gNB-CU может быть связан с одним или большим количеством модулей gNB-DU через интерфейс F1. Модуль gNB-CU может включать в себя протоколы RRC, PDCP и SDAP. Модуль gNB-DU может включать в себя протоколы RLC, MAC и PHY.
[0086] В системе NR физические сигналы и физические каналы (представленные на фиг. 5А и фиг. 5В) могут быть сопоставлены с символами ортогонального мультиплексирования с частотным разделением (OFDM, Orthogonal Frequency Divisional Multiplexing). OFDM -это многоканальная схема связи, в которой данные передаются по F ортогональным поднесущим (или тонам). Перед передачей данные могут быть отображены на последовательность сложных символов (например, символы М-квадратурной амплитудной модуляции (M-QAM, M-Quadrature Amplitude Modulation) или М-фазовой манипуляции (M-PSK, M-Phase Shift Keying)), называемых исходными символами, и разделены на F параллельных потоков символов. F параллельных потоков символов можно рассматривать, как будто они находятся в частотной области, и использовать в качестве входных данных для блока инверсного быстрого преобразования Фурье (IFFT, Inverse Fast Fourier Transform), которое переводит их во временную область. Блок IFFT может единовременно принимать F исходных символов, по одному из каждого из F параллельных потоков символов, и использовать каждый исходный символ для модуляции амплитуды и фазы одной из F синусоидальных базовых функций, соответствующих F ортогональным поднесущим. На выходе блока IFFT может быть F отсчетов во временной области, которые представляют собой совокупность F ортогональных поднесущих. F отсчетов временной области могут образовывать один символ OFDM. После некоторой обработки (например, добавления циклического префикса) и повышающего преобразования, символ OFDM, созданный блоком IFFT, может передаваться по радиоинтерфейсу на несущей частоте. Перед обработкой в блоке IFFT F параллельных потоков символов могут быть объединены с помощью блока FFT. В результате этой операции формируются символы OFDM с предварительным кодированием на основе дискретного преобразования Фурье (DFT, Discrete Fourier Transform), которые могут использоваться устройствами UE в восходящем канале для снижения отношения пиковой мощности к средней (PAPR, Peak То Average Power Ratio). Для восстановления данных, связанных с исходными символами, в приемнике может выполняться обратная обработка символа OFDM с помощью блока FFT.
[0087] На фиг. 7 показан пример конфигурации кадра NR, в который сгруппированы символы OFDM. Кадр NR может быть идентифицирован по системному номеру кадра (SFN, System Frame Number). Номер SFN может повторяться каждые 1024 кадра. Как показано на рисунке, один кадр NR может иметь длительность 10 мс и включать в себя 10 подкадров длительностью по 1 мс. Подкадр может быть разбит на слоты, которые включают в себя, например, по 14 символов OFDM на слот.
[0088] Длительность слота может зависеть от пространственно-временной структуры, используемой для символов OFDM этого слота. В системе NR поддерживается гибкая пространственно-временная структура, позволяющая адаптировать различные варианты развертывания сот (например, от соты с частотой несущей ниже 1 ГГц до сот с частотой несущей в диапазоне миллиметровых волн). Пространственно-временная структура (нумерология) может быть определена исходя из разноса поднесущих и длительности циклического префикса. Для пространственно-временной структуры в системе NR разнос поднесущих может увеличиваться пропорционально степени двойки относительно базового разноса поднесущих, равного 15 кГц, а длительность циклического префикса может уменьшаться пропорционально степени двойки относительно базовой длительности циклического префикса, равной 4,7 мкс. Например, система NR определяет пространственно-временные структуры со следующими комбинациями разноса поднесущих и длительности циклического префикса: 15 кГц/4,7 мкс; 30 кГц/2,3 мкс; 60 кГц/1,2 мкс; 120 кГц/0,59 мкс; и 240 кГц/0,29 мкс.
[0089] В слоте может быть фиксированное количество символов OFDM (например, 14 символов OFDM). Пространственно-временная структура с большим разносом поднесущих характеризуется меньшей длительностью слота и, соответственно, большим количеством слотов в каждом подкадре. На фиг. 7 показана такая структура передачи с длительностью слота и количеством слотов на подкадр, зависимая от пространственно-временной структуры (для наглядности на фиг. 7 не показана пространственно-временная структура с разносом поднесущих 240 кГц). В системе NR подкадр может использоваться в качестве независимого от пространственно-временной структуры временного эталона, а слот - как единица, на основе которой происходит планирование передачи по восходящему и нисходящему каналам. Чтобы обеспечить низкую задержку, в системе NR интервал планирования может быть не привязан к длительности слота, начинаться с любого символа OFDM и длиться столько символов, сколько необходимо для передачи. Такие частичные передачи слотов могут именоваться мини-слотами или подслотами.
[0090] На фиг. 8 показан пример конфигурации слота во временной и частотной областях для несущей NR. Слот включает в себя элементы ресурсов (RE, Resource Element) и блоки ресурсов (RB, Resource Block). Элемент RE - это наименьший физический ресурс в системе NR. Элемент RE занимает один символ OFDM во временной области и одну поднесущую в частотной области, как показано на фиг. 8. Блок RB занимает двенадцать последовательных элементов RE в частотной области, как показано на фиг. 8. Несущая NR может быть ограничена шириной 275 блоков RB или 275×12=3300 поднесущих. Если используется такое ограничение, то несущая NR может быть ограничена значениями 50, 100, 200 и 400 МГц для значений разноса поднесущих, соответственно, 15, 30, 60 и 120 кГц, где полоса частот 400 МГц может быть установлена на основании ограничения полосы частот 400 МГц для каждой несущей.
[0091] На фиг. 8 показана единая пространственно-временная структура, используемая во всей полосе частот несущей NR. В других вариантах конфигурации на одной и той же несущей может поддерживаться несколько пространственно-временных структур.
[0092] NR может поддерживать широкие полосы частот несущей (например, до 400 МГц при разносе поднесущих 120 кГц). Не все устройства UE могут быть способны принимать всю полосу частот несущей (например, из-за аппаратных ограничений). Кроме того, прием всей полосы частот несущей может быть чрезмерным с точки зрения энергопотребления устройства UE. В одном из примеров, чтобы снизить энергопотребление и/или достичь других целей, устройство UE может адаптировать размер принимаемой полосы частот в зависимости от объема трафика, который UE планирует принимать. Это называется адаптацией полосы частот.
[0093] Для поддержки устройств UE, которые не в состоянии принимать полную полосу частот несущей, и для поддержки адаптации полосы частот в системе NR определены части полосы частот (BWP, Bandwidth Part). В одном из примеров BWP может быть определена подмножеством смежных блоков RB на несущей. Устройство UE может быть сконфигурировано (например, на уровне RRC) с одним или большим количеством нисходящих BWP и одним или большим количеством восходящих BWP на обслуживающую соту (например, до четырех нисходящих BWP и до четырех восходящих BWP на обслуживающую соту). В конкретный момент времени для обслуживающей соты могут быть активны одна или большее количество сконфигурированных BWP. Эти одна или большее количество BWP могут называться активными BWP обслуживающей соты. Когда обслуживающая сота сконфигурирована таким образом, чтобы иметь вторичную восходящую несущую, обслуживающая сота может иметь одну или большее количество первых активных BWP в восходящей несущей и одну или большее количество вторых активных BWP во вторичной восходящей несущей.
[0094] Для непарных спектров нисходящая BWP из набора сконфигурированных нисходящих BWP может быть привязана к восходящей BWP из набора сконфигурированных восходящих BWP, если индексы нисходящей BWP и восходящей BWP совпадают. Для непарных спектров устройство UE может ожидать, что центральная частота нисходящей BWP совпадает с центральной частотой восходящей BWP.
[0095] Для нисходящей BWP в наборе сконфигурированных нисходящих BWP в первичной соте (PCell, Primary Cell) базовая станция может сконфигурировать устройство UE с одним или большим количеством наборов управляющих ресурсов (CORESET) по меньшей мере для одного пространства поиска. Пространство поиска - это набор местоположений во временной и частотной областях, в которых устройство UE может найти управляющую информацию. Пространство поиска может относиться к конкретному устройству UE или быть общим пространством поиска (потенциально доступным для использования множеством устройств UE). Например, базовая станция может сконфигурировать устройство UE с общим пространством поиска в соте PCell или в первичной вторичной соте (PSCell, Primary Secondary Cell), в активной нисходящей BWP.
[0096] Для восходящей BWP в наборе сконфигурированных восходящих BWP базовая станция BS может сконфигурировать устройство UE с одним или большим количеством наборов ресурсов для передачи по одному или большему количеству каналов PUCCH. Устройство UE может принимать нисходящие сигналы (например, каналы PDCCH или PDSCH) в нисходящей BWP в соответствии со сконфигурированной пространственно-временной структурой (например, разносом поднесущих и длительностью циклического префикса) для нисходящей BWP. Устройство UE может передавать восходящие сигналы (например, каналы PUCCH или PUSCH) в восходящей BWP в соответствии со сконфигурированной пространственно-временной структурой (например, разносом поднесущих и длительностью циклического префикса) для восходящей BWP.
[0097] Один или большее количество полей индикатора BWP могут содержаться в нисходящей управляющей информации (DCI). Значение поля индикатора BWP может указывать, какая BWP из набора сконфигурированных BWP является активной нисходящей BWP для одного или большего количества приемов по нисходящему каналу. Значение одного или большего количества полей индикатора BWP может указывать на активную восходящую BWP для одной или большего количества передач по восходящему каналу.
[0098] Базовая станция может конфигурировать UE полустатически с нисходящей BWP по умолчанию в наборе сконфигурированных нисходящих BWP, связанных с сотой PCell. Если базовая станция не предоставляет устройству UE нисходящую BWP по умолчанию, нисходящей BWP по умолчанию может быть начальная активная нисходящая BWP. Устройство UE может определить, какая BWP является начальной активной нисходящей BWP, на основании конфигурации CORESET, полученной по каналу РВСН.
[0099] Базовая станция может сконфигурировать устройство UE со значением таймера отсутствия активности BWP для соты PCell. Устройство UE может запускать или перезапускать таймер отсутствия активности BWP в любое подходящее время. Например, устройство UE может запускать или перезапускать таймер отсутствия активности BWP (а), когда устройство UE обнаруживает информацию DCI, указывающую на активную нисходящую BWP, отличную от нисходящей BWP по умолчанию, для операции с парными спектрами; или (б) когда устройство UE обнаруживает информацию DCI, указывающую на активную нисходящую BWP или активную восходящую BWP, отличную от нисходящей BWP или восходящей BWP по умолчанию, для операции с непарными спектрами. Если устройство UE не обнаруживает информацию DCI в течение определенного интервала времени (например, 1 мс или 0,5 мс), устройство UE может запустить таймер отсутствия активности BWP (например, увеличивая таймер с нуля до значения таймера отсутствия активности BWP или уменьшая таймер с значения таймера отсутствия активности BWP до нуля). По истечении таймера отсутствия активности BWP устройство UE может переключиться с активной нисходящей BWP на нисходящую BWP по умолчанию.
[0100] В одном из примеров базовая станция может полустатически конфигурировать устройство UE с одной или большим количеством BWP. Устройство UE может переключать активную BWP с первой BWP на вторую BWP при приеме информации DCI, указывающей на вторую BWP как на активную BWP, и/или по истечении таймера отсутствия активности BWP (например, если вторая BWP является BWP по умолчанию).
[0101] Переключение нисходящей и восходящей BWP (где под переключением BWP понимается переключение с активной в данный момент BWP на неактивную BWP) в парных спектрах может выполняться независимо. В непарных спектрах переключение нисходящей и восходящей BWP может осуществляться одновременно. Переключение между сконфигурированными частями BWP может происходить на основании сигнализации RRC, информации DCI, по истечении таймера отсутствия активности BWP и/или в результате инициирования произвольного доступа.
[0102] На фиг. 9 показан пример использования полосы частот при трех сконфигурированных BWP для несущей NR. Устройство UE, в котором сконфигурированы три BWP, может переключаться с одной BWP на другую в момент переключения. В примере, показанном на фиг. 9, BWP включают в себя: BWP 902 с полосой частот 40 МГц и разносом поднесущих 15 кГц; BWP 904 с полосой частот 10 МГц и разносом поднесущих 15 кГц; и BWP 906 с полосой частот 20 МГц и разносом поднесущих 60 кГц. BWP 902 может быть начальной активной BWP, a BWP 904 может быть BWP по умолчанию. Устройство UE может переключаться между частями BWP в моменты переключения. В примере на фиг. 9 устройство UE может переключаться с BWP 902 на BWP 904 в момент переключения 908. Переключение в момент переключения 908 может происходить по любой приемлемой причине, например, по истечении таймера отсутствия активности BWP (указывающего на переключение на BWP по умолчанию) и/или при получении информации DCI, указывающей на BWP 904 в качестве активной BWP. Устройство UE может переключаться в момент переключения 910 с активной BWP 904 на BWP 906 при получении информации DCI, указывающей на BWP 906 в качестве активной BWP. Устройство UE может переключаться в момент переключения 912 с активной BWP 906 на BWP 904 по истечении таймера отсутствия активности BWP и/или при получении информации DCI, указывающей на BWP 904 в качестве активной BWP. Устройство UE может переключаться в момент переключения 914 с активной BWP 904 на BWP 902 при получении информации DCI, указывающей на BWP 902 в качестве активной BWP.
[0103] Если устройство UE сконфигурировано для работы во вторичной соте с использованием нисходящей BWP по умолчанию в наборе сконфигурированных нисходящих BWP и значением таймера, то процедуры UE для переключения BWP во вторичной соте могут быть аналогичными или подобными процедурам первичной соты. Например, устройство UE может использовать значение таймера и нисходящую BWP по умолчанию для вторичной соты аналогичным или подобным образом, как если бы UE использовало эти значения для первичной соты.
[0104] Чтобы обеспечить более высокую скорость передачи данных, две или большее количество несущих могут быть агрегированы и передаваться одновременно на одно и то же устройство UE или от него с помощью агрегирования несущих (СА, Carrier Aggregation). Агрегированные несущие в СА могут именоваться компонентными несущими (СС, Component Carrier). При использовании режима СА для устройства UE существует несколько обслуживающих сот, по одной на каждую несущую СС. Компонентные несущие могут быть сконфигурированы в частотной области в трех вариантах.
[0105] На фиг. 10А показаны три конфигурации режима СА с двумя несущими СС. Во внутриполосной смежной конфигурации 1002 две несущих СС агрегированы в одной и той же полосе частот (полоса частот А) и расположены внутри этой полосы частот непосредственно рядом друг с другом. Во внутриполосной несмежной конфигурации 1004 две несущих СС агрегированы в одной и той же полосе частот (полоса частот А) и расположены внутри этой полосы частот с зазором между ними. В межполосной конфигурации 1006 две несущие СС расположены в разных частотных диапазонах (частотный диапазон А и частотный диапазон В).
[0106] В одном из примеров может быть агрегировано до 32 несущих СС. Агрегированные несущие СС могут иметь одинаковые или разные полосы частот, разнос поднесущих и/или схемы дуплексирования (TDD или FDD). В обслуживающей соте устройства UE, в котором используется режим СА, может быть нисходящая несущая СС. В схеме FDD для обслуживающей соты могут быть дополнительно сконфигурированы одна или несколько восходящих несущих СС. Возможность агрегировать больше нисходящих несущих, чем восходящих, может быть полезна, например, если нисходящий трафик устройства UE превышает восходящий трафик.
[0107] В режиме СА одна из агрегированных сот для устройства UE может именоваться первичной сотой (PCell, Primary Cell). Сота PCell может быть обслуживающей сотой, к которой устройство UE подключается первоначально при установлении, восстановлении и/или хэндовере соединения RRC. Сота PCell может предоставить устройству UE информацию о мобильности NAS и входные данные безопасности. Устройства UE могут иметь разные соты PCell. Нисходящая несущая, соответствующая соте PCell, может именоваться нисходящей первичной несущей СС (DL РСС, Downlink Primary СС). Восходящая несущая, соответствующая соте PCell, может именоваться восходящей первичной несущей СС (UL РСС, Uplink Primary СС). Другие агрегированные соты для устройства UE могут именоваться вторичными сотами (SCells, Secondary Cell). В одном из примеров соты SCell могут быть сконфигурированы после того, как для устройства UE сконфигурирована сота PCell. Например, сота SCell может быть сконфигурирована с помощью процедуры реконфигурации соединения RRC. Нисходящая несущая, соответствующая соте SCell, может именоваться нисходящей вторичной несущей СС (DL SCC, Downlink Secondary СС). Восходящая несущая, соответствующая соте SCell, может именоваться восходящей вторичной несущей СС (UL SCC, Uplink Secondary СС).
[0108] Сконфигурированные соты SCell для устройства UE могут активироваться и деактивироваться, в зависимости, например, от трафика и состояния канала. Деактивация соты SCell может означать, что в соте SCell остановлены прием каналов PDCCH и PDSCH и передача канала PUSCH, сигналов SRS и CQI. Сконфигурированные соты SCell могут активироваться и деактивироваться с помощью элемента MAC СЕ с учетом фиг. 4В. Например, элемент MAC СЕ может использовать битовую карту (например, по одному биту на соту SCell), чтобы указывать, какие соты SCell (например, в подмножестве сконфигурированных сот SCell) активированы или деактивированы для устройства UE. Сконфигурированные соты SCell могут деактивироваться по истечении таймера деактивации SCell (например, один таймер деактивации SCell для каждой соты Scell).
[0109] Нисходящая управляющая информация, например, назначения планирования и выделения ресурсов для соты могут передаваться в соту, соответствующую назначениям и выделенным ресурсам, что называется самопланированием. Информация DCI для соты может передаваться в другую соту, что называется перекрестным планированием несущих. Восходящая управляющая информация (например, подтверждения HARQ и информация обратной связи о состоянии канала, такая как сообщения CQI, PMI и/или RI) для агрегированных ячеек может передаваться в канале PUCCH соты PCell. При большом количестве агрегированных нисходящих несущих СС канал PUCCH соты PCell может быть перегружен. Соты могут быть разбиты на несколько групп PUCCH.
[0110] На фиг. 10В показан пример возможной конфигурации агрегированных сот в одной или нескольких группах каналов PUCCH. Группа PUCCH 1010 и группа PUCCH 1050 могут включать в себя, соответственно, одну или несколько нисходящих несущих СС. В примере на фиг. 10В группа PUCCH 1010 включает в себя три нисходящих несущих СС: PCell 1011, SCell 1012 и SCell 1013. В настоящем примере группа PUCCH 1050 включает в себя три нисходящих несущих СС: PCell 1051, SCell 1052 и SCell 1053. Одна или большее количество восходящих несущих СС могут быть сконфигурированы как PCell 1021, SCell 1022 и SCell 1023. Одна или большее количество других восходящих несущих СС могут быть сконфигурированы как первичная сота Scell (PSCell) 1061, SCell 1062 и SCell 1063. Восходящая управляющая информация (UCI, Uplink Control Information), связанная с нисходящими несущими СС группы PUCCH 1010, обозначенная как UCI 1031, UCI 1032 и UCI 1033, может передаваться на восходящей несущей PCell 1021. Восходящая управляющая информация (UCI, Uplink Control Information), связанная с нисходящими несущими СС группы PUCCH 1050, обозначенная как UCI 1071, UCI 1072 и UCI 1073, может передаваться на восходящей несущей PCell 1061. В одном из примеров, если агрегированные соты, изображенные на фиг. 10 В, не разбиты на группу PUCCH 1010 и группу PUCCH 1050, одна восходящая несущая PCell, предназначенная для передачи информации UCI, относящейся к нисходящим несущим СС, может быть перегружена. Разделение передачи информации UCI между несущими PCell 1021 и PSCell 1061 позволяет предотвратить перегрузку.
[0111] Соте, включающей в себя нисходящую несущую и, возможно, восходящую несущую, может быть присвоен идентификатор физической соты и индекс соты. Идентификатор физической соты или индекс соты может идентифицировать нисходящую и/или восходящую несущую соты, например, в зависимости от контекста, в котором используется идентификатор физической соты. Идентификатор физической соты может быть определен с помощью сигнала синхронизации, передаваемого на нисходящей компонентной несущей. Индекс соты может быть определен с помощью сообщений RRC. В настоящем изобретении идентификатор физической соты может именоваться идентификатором несущей, а индекс соты может именоваться индексом несущей. Например, когда описание ссылается на первый идентификатор физической соты для первой нисходящей несущей, то это может означать, что первый идентификатор физической соты относится к соте, включающей в себя первую нисходящую несущую. Аналогичная или подобная концепция может применяться, например, к активации несущей. Когда в описании указано, что активируется первая несущая, спецификация может означать, что активируется сота, включающая в себя первую несущую.
[0112] В режиме СА структура уровня PHY с множеством несущих может быть открыта для уровня MAC. В одном из примеров в обслуживающей соте могут действовать объекты HARQ. Для каждого назначения/выделения ресурса в обслуживающей соте может быть создан транспортный блок. Транспортный блок и потенциальные повторные передачи транспортного блока в режиме HARQ могут быть сопоставлены с обслуживающей сотой.
[0113] В нисходящем направлении базовая станция может передавать устройству UE (например, в одноадресном, многоадресном и/или широковещательном режимах) один или большее количество опорных сигналов (RS, Reference Signal) (например, PSS, SSS, CSI-RS, DMRS и/или PT-RS), как показано на фиг. 5А) В восходящем направлении устройство UE может передавать базовой станции один или большее количество сигналов RS (например, DMRS, PT-RS и/или SRS, как показано на фиг. 5В). Сигналы PSS и SSS могут передаваться базовой станцией и использоваться устройством UE для синхронизации UE с базовой станцией. Сигналы PSS и SSS могут передаваться в блоке сигнала синхронизации (SS, Synchronization Signal) / физического широковещательного канала (РВСН), который включает в себя сигналы PSS, SSS и РВСН. Базовая станция может периодически передавать пакет блоков SS/PBCH.
[0114] На фиг. 11А показан пример структуры и расположения блока SS/PBCH. Пакет блоков SS/PBCH может включать в себя один или большее количество блоков SS/PBCH (например, 4 блока SS/PBCH, как показано на фиг. 11А). Пакеты могут передаваться периодически (например, каждые 2 кадра или 20 мс). Пакет может быть ограничен полукадром (например, первым полукадром длительностью 5 мс). Следует понимать, что фиг. 11А является одним из возможных примеров и что эти параметры (количество блоков SS/PBCH в пакете, периодичность пакетов, положение пакета в кадре) могут конфигурироваться, например, в зависимости от: частоты несущей соты, в которой передается блок SS/PBCH; пространственно-временной структуры или разноса поднесущих в соте; конфигурации сети (например, с помощью сигнализации RRC); или любого другого приемлемого фактора. В одном из примеров устройство UE может определять разнос поднесущих для блока SS/PBCH на основании контролируемой частоты несущей, если только радиосеть не сконфигурирует устройство UE для использования другого разноса поднесущих.
[0115] Блок SS/PBCH может занимать одно или большее количество символов OFDM во временной области (например, 4 символа OFDM, как показано в примере на фиг. 11А) и может занимать одну или большее количество поднесущих в частотной области (например, 240 смежных поднесущих). У сигналов PSS, SSS и РВСН может быть общая центральная частота. Сигнал PSS может передаваться первым и занимать, например, один символ OFDM и 127 поднесущих. Сигнал SSS может передаваться после PSS (например, на два символа позже) и может занимать один символ OFDM и 127 поднесущих. Сигнал РВСН может передаваться после PSS (например, в следующих трех символах OFDM) и занимать 240 поднесущих.
[0116] Устройству UE не может быть известно местоположение блока SS/PBCH во временной и частотной областях (например, если устройство UE ищет соту). Чтобы найти и выбрать соту, устройство UE может отслеживать несущую в поиске сигнала PSS. Например, UE может отслеживать местоположение частоты в пределах несущей. Если сигнал PSS не обнаружен в течение определенного времени (например, 20 мс), то устройство UE может выполнить поиск PSS на другой частоте в пределах несущей, как указано в растре синхронизации. Если сигнал PSS обнаружен в определенном месте во временной и частотной областях, то, основываясь на известной структуре блока SS/PBCH, устройство UE может определить, соответственно, местоположение сигналов SSS и РВСН. Блок SS/PBCH может быть блоком SS, определяющим ячейку (CD-SSB, Cell-Defining SS Block). В одном из примеров первичная сота может быть связана с блоком CD-SSB. Блок CD-SSB может быть расположен в растре синхронизации. В одном из примеров выбор/поиск и/или повторный выбор соты может быть основан на блоке CD-SSB.
[0117] Блок SS/PBCH может использоваться устройством UE для определения одного или большего количества параметров соты. Например, устройство UE может определять идентификатор физической соты (PCI, Physical Cell Identifier) на основании последовательностей сигналов, соответственно, PSS и SSS. Устройство UE может определять местоположение границы кадра соты на основании местоположения блока SS/PBCH. Например, блок SS/PBCH может указывать на то, что он передан в соответствии с шаблоном передачи, в котором блок SS/PBCH находится на известном расстоянии от границы кадра.
[0118] В канале РВСН может использоваться модуляция QPSK и прямая коррекция ошибок (FEC, Forward Error Correction). В коррекции FEC может использоваться полярное кодирование. Один или большее количество символов, занимаемых каналом РВСН, могут переносить один или большее количество сигналов DMRS для демодуляции канала РВСН. Канал РВСН может включать в себя указание текущего системного номера кадра (SFN) соты и/или временной индекс блока SS/PBCH. Эти параметры могут облегчить временную синхронизацию устройства UE с базовой станцией. Канал РВСН может включать в себя главный информационный блок (MIB), используемый для предоставления устройству UE одного или большего количества параметров. Блок MIB может использоваться устройством UE для поиска остаточной минимальной системной информации (RMSI, Remaining Minimum System Information), связанной с сотой. Информация RMSI может включать в себя системный информационный блок типа 1 (SIB1, System Information Block Type 1). Блок SIB1 может содержать информацию, которая необходима устройству UE для доступа к соте. Устройство UE может использовать один или большее количество параметров блока MIB для мониторинга канала PDCCH, который может использоваться для планирования канала PDSCH. Канал PDSCH может включать в себя блок SIB1. Блок SIB1 можно декодировать с помощью параметров, указанных в блоке MIB. Канал РВСН может указывать на отсутствие блока SIB1. Если канал РВСН указывает на отсутствие блока SIB1, устройству UE может быть указана частота. Устройство UE может искать блок SS/PBCH на частоте, которая ему указана.
[0119] Устройство UE может считать, что один или большее количество блоков SS/PBCH, передаваемых с одним и тем же индексом блока SS/PBCH, являются квазисовмещенными (QCL, Quasi Co-Located) (например, имеют одинаковый или схожий доплеровский разброс, доплеровский сдвиг, среднее усиление, среднюю задержку и/или пространственные параметры Rx). Устройство UE не может предполагать режим QCL при передаче блоков SS/PBCH с различными индексами.
[0120] Блоки SS/PBCH (например, в пределах полукадра) могут передаваться в пространственных направлениях (например, с помощью различных лучей, охватывающих зону покрытия соты). В одном из примеров первый блок SS/PBCH может передаваться в первом пространственном направлении с помощью первого луча, а второй блок SS/PBCH может передаваться во втором пространственном направлении с помощью второго луча.
[0121] В одном из примеров базовая станция может передавать множество блоков SS/PBCH в пределах частотного диапазона несущей. В одном из примеров первый индикатор PCI первого блока SS/PBCH среди множества блоков SS/PBCH может отличаться от второго индикатора PCI второго блока SS/PBCH среди множества блоков SS/PBCH. Индикаторы PCI блоков SS/PBCH, передаваемых на разных частотах, могут быть разными или одинаковыми.
[0122] Сигнал CSI-RS может передаваться базовой станцией и использоваться устройством UE для получения информации о состоянии канала (CSI). Базовая станция может конфигурировать устройство UE с одним или большим количеством сигналов CSI-RS для оценки канала или любых других подходящих целей. Базовая станция может сконфигурировать UE с одним или большим количеством одинаковых или схожих сигналов CSI-RS. Устройство UE может измерять один или большее количество сигналов CSI-RS. Устройство UE может оценивать состояние нисходящего канала и/или генерировать отчет CSI на основании измерений одного или большего количества нисходящих сигналов CSI-RS. Устройство UE может предоставлять базовой станции отчет CSI. Базовая станция может использовать обратную связь от устройства UE (например, оценку состояния нисходящего канала), чтобы провести адаптацию линии связи.
[0123] Базовая станция может полустатически конфигурировать устройство UE для работы с одним или большим количеством наборов ресурсов CSI-RS. Ресурс CSI-RS может быть связан с местоположением во временной и частотной областях и периодичностью. Базовая станция может выборочно активировать и/или деактивировать ресурсы CSI-RS. Базовая станция может сообщать устройству UE, что ресурс CSI-RS в наборе ресурсов CSI-RS активирован и/или деактивирован.
[0124] Базовая станция может конфигурировать устройство UE таким образом, чтобы оно сообщало об измерениях CSI. Базовая станция может конфигурировать устройство UE таким образом, чтобы оно предоставляло отчеты CSI периодически, время от времени или полупериодически. Для предоставления периодических отчетов CSI в устройстве UE может быть сконфигурировано время и/или периодичность множества отчетов CSI. В случае непериодических отчетов CSI базовая станция может запрашивать отчет CSI. Например, базовая станция может запросить устройство UE провести измерения сконфигурированного ресурса CSI-RS и предоставить отчет CSI, относящийся к измерениям. Для предоставления полупостоянных отчетов CSI базовая станция может сконфигурировать в устройстве UE периодическую передачу и выборочно активировать или деактивировать периодическую отчетность. Базовая станция может конфигурировать устройство UE для работы с набором ресурсов CSI-RS и отчетами CSI с помощью сигнализации RRC.
[0125] Конфигурация CSI-RS может включать в себя один или большее количество параметров, определяющих, например, до 32 антенных портов. Устройство UE может конфигурироваться таким образом, чтобы использовать одинаковые символы OFDM для нисходящего сигнала CSI-RS и набора управляющих ресурсов (CORESET), когда нисходящий CSI-RS и набор CORESET пространственно квазисовмещены, а элементы ресурсов, связанные с нисходящим сигналом CSI-RS, находятся вне блоков физических ресурсов (PRB, Physical Resource Block), сконфигурированных для набора CORESET. Устройство UE может конфигурироваться таким образом, чтобы использовать одинаковые символы OFDM для нисходящего сигнала CSI-RS и блоков SS/PBCH, когда нисходящий сигнал CSI-RS и блоки SS/PBCH пространственно квазисовмещены, а элементы ресурсов, связанные с нисходящим сигналом CSI-RS, находятся вне блоков PRB, сконфигурированных для блоков SS/PBCH.
[0126] Нисходящие сигналы DMRS могут передаваться базовой станцией и использоваться устройством UE для оценки канала. Например, нисходящий сигнал DMRS может использоваться для когерентной демодуляции одного или большего количества нисходящих физических каналов (например, PDSCH). В сети NR может поддерживаться один или большее количество переменных и/или конфигурируемых шаблонов DMRS для демодуляции данных. По меньшей мере одна конфигурация нисходящего сигнала DMRS может поддерживать шаблон DMRS с размещением в начале кадра. Шаблон DMRS с размещением в начале кадра может быть сопоставлен с одним или большим количеством символов OFDM (например, с одним или двумя соседними символами OFDM). Базовая станция может полустатически конфигурировать устройство UE для работы с определенным (например, максимальным) количеством символов DMRS с размещением в начале кадра для канала PDSCH. Конфигурация DMRS может поддерживать один или большее количество портов DMRS. Например, в сценарии однопользовательского MIMO конфигурация DMRS может поддерживать до восьми портов ортогональных нисходящих DMRS на одно устройство UE. В сценарии многопользовательского MIMO конфигурация DMRS может поддерживать до четырех портов ортогональных нисходящих DMRS на одно устройство UE. Радиосеть может поддерживать (например, по меньшей мере для СР-OFDM) общую структуру для нисходящих и восходящих сигналов DMRS, при этом местоположение DMRS, шаблон DMRS и/или последовательность скремблирования могут быть одинаковыми либо разными. Базовая станция может передавать нисходящий сигнал DMRS и соответствующий канал PDSCH, с использованием одной и той же матрицы предварительного кодирования. Устройство UE может использовать один или большее количество нисходящих сигналов DMRS для когерентной демодуляции/оценки канала PDSCH.
[0127] В одном из примеров передатчик (например, базовая станция) может использовать матрицы предварительного кодирования для части полосы частот. Например, передатчик может использовать первую матрицу предварительного кодирования для первой полосы частот и вторую матрицу предварительного кодирования для второй полосы частот. Первая матрица предварительного кодирования и вторая матрица предварительного кодирования могут быть разными на основании того факта, что первая полоса частот отличается от второй полосы частот. Устройство UE может считать, что для набора блоков PRB используется одна и та же матрица предварительного кодирования. Набор блоков PRB может обозначаться как группа блоков ресурсов предварительного кодирования (PRG, Precoding Resource block Group).
[0128] В канале PDSCH может быть один или большее количество слоев. Устройство UE может предполагать, что по меньшей в одном или большем количестве слоев канала PDSCH присутствует по меньшей мере один символ с сигналом DMRS. В более высоком слое может быть сконфигурировано до трех сигналов DMRS для канала PDSCH.
[0129] Нисходящие сигналы PT-RS могут передаваться базовой станцией и использоваться устройством UE для компенсации фазового шума. Наличие или отсутствие нисходящего сигнала PT-RS может зависеть от конфигурации протокола RRC. Наличие и/или шаблон нисходящего сигнала PT-RS может конфигурироваться для конкретного устройства UE с использованием комбинации сигнализации RRC и/или связи с одним или большим количеством параметров, используемых для других целей (например, схема модуляции и кодирования (MCS, Modulation and Coding Scheme)), которые могут указываться посредством информации DCI. Если сигнал сконфигурирован, динамическое присутствие нисходящего сигнала PT-RS может быть связано с одним или большим количеством параметров информации DCI, включая по меньшей мере схему MCS. Сеть NR может поддерживать множество плотностей сигналов PT-RS, определенных во временной и/или частотной областях. При наличии, плотность в частотной области может быть связана по меньшей мере с одной конфигурацией планируемой полосы частот. Устройство UE может использовать одно и то же предварительное кодирование для порта DMRS и порта PT-RS. В запланированном ресурсе количество портов PT-RS может быть меньше, чем количество портов DMRS. Нисходящий сигнал PT-RS может быть ограничен запланированной длительностью времени/частоты для устройства UE. Нисходящий сигнал PT-RS может передаваться в виде символов для облегчения отслеживания фазы в приемнике.
[0130] Устройство UE может передавать восходящий сигнал DMRS на базовую станцию для оценки канала. Например, базовая станция может использовать восходящий сигнал DMRS для когерентной демодуляции одного или большего количества восходящих физических каналов. Например, устройство UE может передавать восходящий сигнал DMRS с каналами PUSCH и/или PUCCH. Восходящий сигнал DM-RS может занимать диапазон частот, подобный диапазону частот, связанных с соответствующим физическим каналом. Базовая станция может сконфигурировать устройство UE таким образом, чтобы оно работало с одной или большим числом конфигураций восходящих сигналов DMRS. По меньшей мере одна конфигурация сигнала DMRS может поддерживать шаблон DMRS с размещением в начале кадра. DMRS с размещением в начале кадра может быть сопоставлен с одним или большим количеством символов OFDM (например, с одним или двумя соседними символами OFDM). Один или большее количество восходящих сигналов DMRS могут конфигурироваться таким образом, чтобы передаваться с одним или большим количеством символов каналов PUSCH и/или PUCCH. Базовая станция может полустатически конфигурировать устройство UE с количеством (например, максимальным) символов DMRS для каналов PUSCH и/или PUCCH, которые устройство UE может использовать для планирования односимвольного сигнала DMRS и/или двухсимвольного сигнала DMRS. Сеть NR может поддерживать (например, для мультиплексирования с ортогональным частотным разделением каналов с циклическим префиксом (CP-OFDM, Cyclic Prefix Orthogonal Frequency Division Multiplexing)) общую структуру для нисходящих и восходящих сигналов DMRS, при этом местоположение DMRS, шаблон DMRS и/или последовательность скремблирования DMRS могут быть одинаковыми либо разными.
[0131] В канале PUSCH может быть один или большее количество слоев, при этом устройство UE может передавать по меньшей мере один символ с сигналом DMRS, присутствующем в одном из слоев одного или большего количества слоев канала PUSCH. В одном из примеров в более высоком слое может быть сконфигурировано до трех сигналов DMRS для канала PUSCH.
[0132] Восходящий сигнал PT-RS (который может использоваться базовой станцией для отслеживания фазы и/или компенсации фазового шума) может или не может присутствовать в зависимости от конфигурации протокола RRC устройства UE. Наличие и/или шаблон восходящего сигнала PT-RS может конфигурироваться для конкретного устройства UE с использованием комбинации сигнализации RRC и/или одного или большего количества параметров, используемых для других целей (например, схема модуляции и кодирования (MCS)), которые могут быть указаны посредством информации DCI. Если сигнал сконфигурирован, динамическое присутствие восходящего сигнала PT-RS может быть связано с одним или большим количеством параметров информации DCI, включая по меньшей мере схему MCS. Сеть NR может поддерживать множество плотностей восходящих сигналов PT-RS, определенных во временной/частотной областях. При наличии, плотность в частотной области может быть связана по меньшей мере с одной конфигурацией планируемой полосы частот. Устройство UE может использовать одно и то же предварительное кодирование для порта DMRS и порта PT-RS. В запланированном ресурсе количество портов PT-RS может быть меньше, чем количество портов DMRS. Например, восходящий сигнал PT-RS может быть ограничен запланированной длительностью времени/частоты для устройства UE.
[0133] Сигнал SRS может передаваться устройством UE на базовую станцию для оценки состояния канала, чтобы поддержать планирование на основе восходящего канала и/или адаптацию линии. Сигнал SRS, передаваемый устройством UE, может позволить базовой станции оценить состояние восходящего канала на одной или большем количестве частот. Планировщик базовой станции может использовать оценку состояния восходящего канала для назначения одного или большего количества блоков ресурсов для передачи от устройства UE по восходящему каналу PUSCH. Базовая станция может полустатически конфигурировать устройство UE для работы с одним или большим количеством наборов ресурсов SRS. Что касается набора ресурсов SRS, то базовая станция может конфигурировать устройство UE для работы с одним или большим количеством ресурсов SRS. Применимость набора ресурсов SRS может конфигурироваться параметром верхнего уровня (например, протокола RRC). Например, когда параметр верхнего уровня указывает на управление лучами, ресурс SRS в наборе ресурсов SRS из одного или большего количества наборов ресурсов SRS (например, с одинаковым/подобным поведением во временной области, периодическим, апериодическим и/или т.п.) может быть передан в определенный момент времени (например, одновременно). Устройство UE может передавать один или большее количество ресурсов SRS в наборах ресурсов SRS. Сеть NR может поддерживать передачу сигналов SRS в апериодическом, периодическом и/или полупостоянном режимах. Устройство UE может передавать ресурсы SRS в зависимости от одного или большего количества типов инициирования, при этом один или большее количество типов инициирования могут включать в себя сигнализацию верхнего уровня (например, RRC) и/или один или большее количество форматов DCI. В одном из примеров устройство UE может использовать по меньшей мере один формат DCI для выбора по меньшей мере одного из одного или большего количества сконфигурированных наборов ресурсов SRS. Тип инициирования SRS 0 может относиться к сигналу SRS, инициированному на основании сигнализации более высокого уровня. Тип инициирования SRS 1 может относиться к сигналу SRS, инициированному на основании одного или большего количества форматов DCI. В одном из примеров, когда канал PUSCH и сигнал SRS передаются в одном и том же слоте, устройство UE может конфигурироваться таким образом, чтобы передавать сигнал SRS после передачи канала PUSCH и соответствующего восходящего сигнала DMRS.
[0134] Базовая станция может полустатически конфигурировать устройство UE с одним или большим количеством параметров конфигурации SRS, указывающих по меньшей мере на одно из следующего: идентификатор конфигурации ресурса SRS; количество портов SRS; поведение конфигурации ресурса SRS во временной области (например, указание на периодическую, полупостоянную или апериодическую передачу SRS); периодичность на уровне слота, мини-слота и/или подкадра; смещение периодического и/или апериодического ресурса SRS; количество символов OFDM в ресурсе SRS; начальный символ OFDM ресурса SRS; полоса частот SRS; полосу частот перескока частоты; циклический сдвиг; и/или идентификатор последовательности SRS.
[0135] Антенный порт определяется таким образом, чтобы канал, по которому передается символ через антенный порт, мог оцениваться по каналу, в котором передается другой символ через тот же антенный порт. Если первый и второй символы передаются через один и тот же антенный порт, приемник может оценивать канал (например, коэффициент затухания, многолучевую задержку и/или т.п.) для передачи второго символа через антенный порт на основании канала для передачи первого символа через антенный порт. Первый антенный порт и второй антенный порт могут называться квазисовмещенными (QCLed), если одно или большее количество обобщенных свойств канала, по которому передается первый символ через первый антенный порт, могут оцениваться по каналу, в котором передается второй символ через второй антенный порт. В число одного или большего количества обобщенных свойств может входить по меньшей мере одно из следующих: разброс задержек; доплеровское распределение; доплеровский разброс; средний коэффициент усиления; средняя задержка; и/или пространственные параметры приема (Rx).
[0136] Для каналов, в которых применяется формирование лучей, требуется управление лучами. Управление лучами может включать в себя измерение луча, выбор луча и указание луча. Луч может быть связан с одним или большим количеством опорных сигналов. Например, луч может идентифицироваться по одному или большему количеству опорных сигналов, сформированных в виде луча. Устройство UE может измерять нисходящий луч на основании нисходящих опорных сигналов (например, опорного сигнала информации о состоянии канала (CSI-RS)) и генерировать отчет об измерении луча. Устройство UE может выполнить процедуру измерения нисходящего луча после установления соединения RRC с базовой станцией.
[0137] На фиг. 11В показан пример опорных сигналов информации о состоянии канала (CSI-RS), которые отображаются на временную и частотную области. Квадрат, показанный на фиг. 11В, может занимать блок ресурсов (RB) в пределах полосы частот соты. Базовая станция может передавать одно или большее количество сообщений RRC, содержащих параметры конфигурации ресурсов CSI-RS, указывающие на один или большее количество сигналов CSI-RS. Для конфигурации ресурса CSI-RS сигнализацией верхнего уровня (например, RRC и/или MAC) может быть сконфигурирован один или большее количество следующих параметров: идентификатор конфигурации ресурса CSI-RS, количество портов CSI-RS, конфигурация CSI-RS (например, расположение символов и элементов ресурсов (RE) в подкадре), конфигурация подкадра CSI-RS (например, расположение, смещение и периодичность подкадров в кадре радиоканала), параметр мощности CSI-RS, параметр последовательности CSI-RS, параметр типа мультиплексирования с кодовым разделением (CDM), плотность частот, гребенка передачи, параметры квазисовмещения (QCL) (например, QCL-scramblingidentity, crs-portscount, mbsfn-subframeconfiglist, csi-rs-configZPid, qcl-csi-rs-configNZPid) и/или другие параметры радиоресурса.
[0138] Три луча, показанные на фиг. 11В, могут быть сконфигурированы для устройства UE в индивидуальной конфигурации. На фиг. 11В показаны три луча (луч 1, луч 2 и луч 3), но можно конфигурировать большее или меньшее количество лучей. Луч 1 может быть связан с сигналом CSI-RS 1101, который может передаваться на одной или большем количестве поднесущих в блоке RB первого символа. Луч 2 может быть связан с сигналом CSI-RS 1102, который может передаваться на одной или большем количестве поднесущих в блоке RB второго символа. Луч 3 может быть связан с сигналом CSI-RS 1103, который может передаваться на одной или большем количестве поднесущих в блоке RB третьего символа. Применяя мультиплексирование с разделением частот (FDM), базовая станция может использовать в одном и том же блоке RB другие поднесущие (например, те из них, которые не используются для передачи сигнала CSI-RS 1101) для передачи других сигналов CSI-RS, связанных с лучом для другого устройства UE. Благодаря технологии мультиплексирования во временной области (TDM) лучи, используемые для устройства UE, могут конфигурироваться таким образом, чтобы использовать символы лучей других устройств UE.
[0139] Сигналы CSI-RS, подобные тем, что показаны на фиг. 11В (например, CSI-RS 1101, 1102, 1103), могут передаваться базовой станцией и использоваться устройством UE для одного или большего количества измерений. Например, устройство UE может измерять мощность принимаемого опорного сигнала (RSRP, Reference Signal Received Power) сконфигурированных ресурсов CSI-RS. Базовая станция может конфигурировать в устройстве UE конфигурацию отчетности, а устройство UE может сообщать сети об измерениях параметра RSRP (например, через одну или большее количество базовых станций) в соответствии с конфигурацией отчетности. В одном из примеров базовая станция может на основе полученных результатов измерений определять одно или большее количество состояний индикации конфигурации передачи (TCI, Transmission Configuration Indication), включающих в себя количество опорных сигналов. В одном из примеров базовая станция может указывать устройству UE одно или большее количество состояний TCI (например, с помощью сигнализации RRC, MAC СЕ и/или DCI). Устройство UE может принимать нисходящий сигнал с лучом приема (Rx), определенным на основании одного или большего количества состояний TCI. В одном из примеров устройство UE может или не может поддерживать функцию соответствия лучей. Если устройство UE поддерживает функцию соответствия лучей, UE может определить фильтр пространственной области для луча передачи (Тх) на основе фильтра пространственной области для соответствующего луча Rx. Если устройство UE не поддерживает функцию соответствия лучей, оно может выполнять процедуру выбора восходящего луча, чтобы определять фильтр пространственной области для луча Тх. Устройство UE может выполнять процедуру выбора восходящего луча на основании одного или большего количества ресурсов опорного сигнала зондирования (SRS), сконфигурированных для устройства UE базовой станцией. Базовая станция может выбирать и указывать восходящие лучи для устройства UE на основании измерений одного или большего количества ресурсов SRS, передаваемых устройством UE.
[0140] В процедуре управления лучами устройство UE может оценивать (например, измерять) качество канала одной или большего количества пар лучей, причем пара лучей включает в себя луч передачи, передаваемый базовой станцией, и луч приема, принимаемый устройством UE. На основании этой оценки устройство UE может передавать отчет об измерении луча с указанием одного или большего количества параметров качества пары лучей, включающих в себя, например, один или большее количество идентификаторов луча (например, индекс луча, индекс опорного сигнала или т.п.), мощность RSRP, индикатор матрицы предварительного кодирования (PMI), индикатор качества канала (CQI) и/или индикатор ранга (RI).
[0141] На фиг. 12А представлены примеры трех процедур управления нисходящими лучами: Р1, Р2 и Р3. Процедура Р1 может позволить устройству UE измерять лучи передачи (Тх) точки передачи/приема (TRP) (или нескольких точек TRP), например, для поддержки выбора одного или большего количества лучей Тх базовой станции и/или лучей Rx устройства UE (показаны в виде овалов, соответственно, в верхней и нижней строках процедуры Р1). Формирование лучей в точке TRP может включать в себя переключение лучей Тх в рамках набора лучей (показано в верхних строках процедур Р1 и Р2 в виде овалов, вращающихся против часовой стрелки и обозначенных пунктирной стрелкой). Формирование лучей в устройстве UE может включать в себя переключение лучей Rx в рамках набора лучей (показано в нижних строках процедур Р1 и Р3 в виде овалов, вращающихся по часовой стрелке и обозначенных пунктирной стрелкой). Процедура Р2 может использоваться, чтобы обеспечить устройство UE возможностью измерения лучей Тх точки TRP (показанных в верхней строке процедуры Р2 в виде овалов, вращающихся против часовой стрелки и обозначенных пунктирной стрелкой). Устройство UE и/или базовая станция могут выполнять процедуру Р2, используя меньший набор лучей, чем тот, что используется в процедуре Р1, или используя более узкие лучи, чем те, что используются в процедуре Р1. Это может называться оптимизацией луча. Устройство UE может выполнять процедуру Р3 для определения луча Rx, используя один и тот же луч Тх на базовой станции и вращая луч Rx на устройстве UE.
[0142] На фиг. 12А представлены примеры трех процедур управления восходящими лучами: U1, U2 и U3. Процедура U1 может использоваться для того, чтобы базовая станция могла измерять лучи Тх устройства UE, например для поддержки выбора одного или большего количества лучей Тх устройства UE и/или лучей Rx базовой станции (показаны в виде овалов, соответственно, в верхней и нижней строках процедуры U1). Формирование лучей в устройстве UE может включать в себя переключение лучей Тх в рамках набора лучей (показано в нижних строках процедур U1 и U3 в виде овалов, вращающихся по часовой стрелке и обозначенных пунктирной стрелкой). Формирование лучей на базовой станции может включать в себя переключение лучей Rx в рамках набора лучей (показано в верхних строках процедур U1 и U2 в виде овалов, вращающихся против часовой стрелки и обозначенных пунктирной стрелкой). Процедура U2 может использоваться для того, чтобы базовая станция могла регулировать свой луч Rx, когда устройство UE использует фиксированный луч Тх. Устройство UE и/или базовая станция могут выполнять процедуру U2, используя меньший набор лучей, чем тот, что используется в процедуре Р1, или используя более узкие лучи, чем те, что используются в процедуре Р1. Это может называться оптимизацией луча. Устройство UE может выполнять процедуру U3 для настройки своего луча Тх, если базовая станция использует фиксированный луч Rx.
[0143] Устройство UE может инициировать процедуру восстановления связи после сбоя луча (BFR) при обнаружении сбоя луча. Устройство UE может передать запрос на выполнение операции BFR (например, преамбулу, UCI, SR, MAC СЕ и/или т.п.) в связи с инициированием процедуры BFR. Устройство UE может обнаружить сбой луча, определив неудовлетворительное качество пары лучей в связанном с ними канале управления неудовлетворительное (например, превышение порогового значения коэффициента ошибок, уменьшение мощности принимаемого сигнала ниже порогового уровня, истечение таймера и т.п.).
[0144] Устройство UE может измерять качество пары лучей, используя один или большее количество опорных сигналов (RS), включающих в себя один или большее количество блоков SS/PBCH, один или большее количество ресурсов CSI-RS и/или один или большее количество опорных сигналов демодуляции (DMRS). Качество пары лучей может быть определено на основании одного или большего количества показателей среди коэффициента ошибок блока (BLER, BLock Error Rate), значения RSRP, отношения сигнал/помехи + шум (SINR, Signal to Interference plus Noise Ratio), значения качества приема опорного сигнала (RSRQ, Reference Signal Received Quality) и/или значения CSI, измеренного на ресурсах RS. Базовая станция может указывать, что ресурс RS квазисовмещен (QCLed) с одним или большим количеством ресурсов DM-RS канала (например, канал управления, канал данных общего доступа и/или т.п.). Ресурс RS и один или большее количество сигналов DMRS канала могут быть квазисовмещены, когда характеристики канала (например, доплеровский сдвиг, доплеровский разброс, средняя задержка, разброс задержек, пространственный параметр Rx, затухание и/или т.п.) при передаче через ресурс RS к устройству UE подобны или аналогичны характеристикам канала при передаче по каналу к устройству UE.
[0145] Сеть (например, базовая станция gNB и/или ng-eNB сети) и/или устройство UE могут инициировать процедуру произвольного доступа. Устройство UE в состояниях RRC_IDLE и/или RRC_INACTIVE может инициировать процедуру произвольного доступа, чтобы запросить установление соединения с сетью. Устройство UE может инициировать процедуру произвольного доступа из состояния RRC_CONNECTED. Устройство UE может инициировать процедуру произвольного доступа для запроса ресурсов восходящего направления (например, для передачи запроса SR в восходящем направлении при отсутствии доступного ресурса PUCCH) и/или получения синхронизации восходящего направления (например, когда восходящее направление находится в статусе несинхронизированного). Устройство UE может инициировать процедуру произвольного доступа, чтобы запросить один или большее количество системных информационных блоков (SIB) (например, другую системную информацию, такую как SIB2, SIB3 и т.п.). Устройство UE может инициировать процедуру произвольного доступа для запроса восстановления связи после сбоя луча. Сеть может инициировать процедуру произвольного доступа для выполнения хэндовера и/или для установления временной синхронизации при добавлении соты SCell.
[0146] На фиг. 13А показана четырехэтапная конкурентная процедура произвольного доступа. Перед инициированием процедуры базовая станция может передавать устройству UE сообщение конфигурации 1310. Процедура, показанная на фиг. 13А, включает в себя передачу четырех сообщений: Msg 1 1311, Msg2 1312, Msg 3 1313 и Msg4 1314. Сообщение Msg 1 1311 может включать в себя преамбулу (или преамбулу произвольного доступа) и/или называться ею. Сообщение Msg 2 1312 может включать ответ со произвольного доступа (RAR, Random Access Responce) или называться им.
[0147] Сообщение конфигурации 1310 может передаваться, например, с помощью одного или большего количества сообщений RRC. Одно или большее количество сообщений RRC могут указывать устройству UE один или большее количество параметров канала произвольного доступа (RACH). Один или большее количество параметров канала RACH могут включать в себя по меньшей мере одни из следующих параметров: общие параметры для одной или большего количества процедур произвольного доступа (например, RACH-configGeneral); параметры для конкретной соты (например, RACH-ConfigCommon); и/или специализированные параметры (например, RACH-configDedicated). Базовая станция может передавать одно или большее количество сообщений RRC одному или нескольким устройствам UE в широковещательном или многоадресном режиме. Один или большее количество сообщений RRC могут быть специфическими для конкретного устройства UE (например, выделенные сообщения RRC, передаваемые устройству UE, находящемуся в состоянии RRC_CONNECTED и/или в состоянии RRC_INACTIVE). На основании одного или большего количества параметров RACH устройство UE может определять частотно-временной ресурс и/или мощность передачи в восходящем направлении для передачи сообщений Msg 1 1311 и/или Msg 3 1313. Основываясь на одном или большем количестве параметров канала RACH, устройство UE может определять время приема и нисходящий канал для приема сообщений Msg 2 1312 и Msg 4 1314.
[0148] Один или большее количество параметров RACH, включенных в сообщение конфигурации 1310, могут указывать один или большее количество временных интервалов физического канала RACH (PRACH), доступных для передачи сообщения Msg 1 1311. Один или большее количество временных интервалов канала PRACH могут быть определены заранее. Один или большее количество параметров канала RACH могут указывать один или большее количество доступных наборов одного или большего количества временных интервалов канала PRACH (например, prach-ConfigIndex). Один или большее количество параметров RACH могут указывать на связь между (а) одним или большим количеством временных интервалов канала PRACH и (b) одним или большим количеством опорных сигналов. Один или большее количество параметров RACH могут указывать на связь между (а) одним или большим количеством преамбул и (b) одним или большим количеством опорных сигналов. Один или большее количество опорных сигналов могут представлять собой блоки SS/PBCH и/или сигналы CSI-RS. Например, один или большее количество параметров RACH могут указывать количество блоков SS/PBCH, привязанных к временному интервалу канала PRACH, и/или количество преамбул, привязанных к блокам SS/PBCH.
[0149] Один или большее количество параметров RACH, включенных в сообщение конфигурации 1310, могут использоваться для определения мощности передачи сообщений Msg 1 1311 и/или Msg 3 1313 по восходящему каналу. Например, один или большее количество параметров RACH могут указывать опорную мощность для передачи преамбулы (например, целевую мощность приема и/или начальную мощность передачи преамбулы). Один или большее количество параметров RACH могут указывать на одно или большее количество смещений мощности. Например, один или большее количество параметров RACH могут указывать: шаг нарастания мощности; смещение мощности между блоком SSB и сигналом CSI-RS; смещение мощности между передачей сообщений Msg 1 1311 и Msg 3 1313; и/или значение смещения мощности между группами преамбул. Один или большее количество параметров RACH могут указывать один или большее количество порогов, на основании которых устройство UE может определить по меньшей мере один опорный сигнал (например, блок SSB и/или сигнал CSI-RS) и/или восходящую несущую (например, обычную восходящую несущую (NUL, Normal Uplink) и/или дополнительную восходящую несущую (SUL, Supplemental UpLink)).
[0150] Сообщение Msg 1 1311 может включать в себя одну или большее количество передач преамбул (например, передачу преамбулы и одну или большее количество повторных передач преамбул). Сообщение RRC может использоваться для конфигурирования одной или большего количества групп преамбул (например, группы А и/или группы В). Группа преамбул может включать в себя одну или большее количество преамбул. Устройство UE может определять группу преамбул на основании измерения потерь в тракте и/или размера сообщения Msg 3 1313. Устройство UE может измерять мощность RSRP одного или большего количества опорных сигналов (например, блоков SSB и/или сигналов CSI-RS) и определять по меньшей мере один опорный сигнал, мощность RSRP которого превышает пороговое значение RSRP (например, rsrp-ThresholdSSB и/или rsrp-ThresholdCSI-RS). Устройство UE может выбирать по меньшей мере одну преамбулу, связанную с одним или большим количеством опорных сигналов и/или выбранной группой преамбул, например, если связь между одним или большим количеством преамбул и по меньшей мере одним опорным сигналом сконфигурирована сообщением RRC.
[0151] Устройство UE может определять преамбулу на основании одного или большего количества параметров RACH, включенных в сообщение конфигурации 1310. Например, устройство UE может определять преамбулу на основании измерения потерь в тракте, измерения мощности RSRP и/или размера сообщения Msg 3 1313. В другом примере один или большее количество параметров RACH могут указывать: формат преамбулы; максимальное количество передач преамбулы; и/или одно или большее количество пороговых значений для определения одной или большего количества групп преамбул (например, группы А или группы В). Базовая станция может использовать один или большее количество параметров RACH для конфигурирования в устройстве UE связи между одной или большим количеством преамбул и одним или большим количеством опорных сигналов (например, блоками SSB и/или сигналами CSI-RS). Если такая связь сконфигурирована, устройство UE на основании этой связи может определять преамбулу для включения в сообщение Msg 1 1311. Сообщение Msg 1 1311 может передаваться на базовую станцию в одном или большем количестве временных интервалов канала PRACH. Устройство UE может использовать один или большее количество опорных сигналов (например, блоки SSB и/или каналы CSI-RS) для выбора преамбулы и для определения временного интервала канала PRACH. Один или большее количество параметров RACH (например, ra-ssb-OccasionMskIndex и/или ra-OccasionList) могут указывать на связь между временными интервалами канала PRACH и одним или большим количеством опорных сигналов.
[0152] Устройство UE может выполнять повторную передачу преамбулы, если после передачи преамбулы не получен ответ. Устройство UE может увеличивать мощность передачи по восходящему каналу при повторной передаче преамбулы. Устройство UE может выбирать начальную мощность передачи преамбулы на основании измерения потерь в тракте и/или целевой мощности приема преамбулы, сконфигурированной сетью. Устройство UE может принимать решение о необходимости повторной передачи преамбулы и увеличивать мощность передачи в восходящем канале. Устройство UE может получать один или большее количество параметров RACH (например, PREAMBLE_POWER_RAMPING_STEP), указывающих шаг нарастания мощности для повторной передачи преамбулы. Шаг нарастания может представлять собой величину приращения мощности передачи в восходящем канале для повторной передачи. Устройство UE может наращивать мощность передачи в восходящем канале, если оно определяет, что опорный сигнал (например, блок SSB и/или сигнал CSI-RS) совпадает с сигналом при предыдущей передаче преамбулы. Устройство UE может подсчитывать количество передач и/или повторных передач преамбулы (например, PREAMBLE_TRANSMISSION_COUNTER). Устройство UE может определять, что процедура произвольного доступа завершилась неудачно, например, если количество передач преамбулы превышает пороговое значение, сконфигурированное одним или большим количеством параметров RACH (например, preambleTransMax).
[0153] Сообщение Msg 2 1312, принимаемое устройством UE, может включать в себя ответ RAR. В некоторых сценариях сообщение Msg 2 1312 может включать в себя несколько ответов RAR, соответствующих нескольким устройствам UE. Сообщение Msg 2 1312 может приниматься после передачи сообщения Msg 1 1311 или в ответ на нее. Сообщение Msg 2 1312 может планироваться в канале DL-SCH и указываться в канале PDCCH с помощью индикатора RNTI произвольного доступа (RA-RNTI). Сообщение Msg 2 1312 может указывать на то, что сообщение Msg 11311 получено базовой станцией. Сообщение Msg 2 1312 может включать в себя команду временной синхронизации, которая может использоваться устройством UE для корректировки времени передачи UE, планирования ресурса для передачи сообщения Msg 3 1313 и/или временного идентификатора соты RNTI (TC-RNTI). После передачи преамбулы устройство UE может открыть временное окно (например, ra-ResponseWindow) для отслеживания сообщения Msg 2 1312 в канале PDCCH. Устройство UE может определять время открытия окна в зависимости от временного интервала канала PRACH, который устройство UE использует для передачи преамбулы. Например, устройство UE может открыть временное окно через один или большее количество символов после последнего символа преамбулы (например, при первом временном интервале канала PDCCH после окончания передачи преамбулы). Один или большее количество символов могут быть определены в зависимости от пространственно-временной структуры. Канал PDCCH может находиться в общем пространстве поиска (например, в общем пространстве поиска Type1-PDCCH), сконфигурированном сообщением RRC. Устройство UE может идентифицировать ответ RAR по временному идентификатору радиосети (RNTI). Идентификатор RNTI может использоваться в зависимости от одного или большего количества событий, инициирующих процедуру произвольного доступа. Устройство UE может использовать идентификатор RNTI произвольного доступа (RA-RNTI, Random Access RNTI). Идентификатор RA-RNTI может быть связан с временными интервалами канала PRACH, в которых устройство UE передает преамбулу. Например, устройство UE может определять идентификатор RA-RNTI на основании следующих параметров временных интервалов канала PRACH: индекса символа OFDM; индекса слота; индекса частотной области; и/или индикатора восходящей несущей. Индикатор RA-RNTI может выглядеть следующим образом: RA-RNTI=1+s_id+14×t_id+14×80×f_id+14×80×8×ul_carrier_id где s_id может быть индексом первого символа OFDM временного интервала PRACH (например, 0≤s_id<14), t_id может быть индексом первого слота временного интервала PRACH в системном кадре (например, 0≤t_id<80), f_id может быть индексом временного интервала PRACH в частотной области (например, 0≤f_id<8), a ul_carrier_id может быть восходящей несущей, используемой для передачи преамбулы (например, 0 для несущей NUL и 1 для несущей SUL). Устройство UE может передавать сообщение Msg 3 1313 в ответ на успешное получение сообщения Msg 2 1312 (например, используя ресурсы, определенные в сообщении Msg 2 1312). Сообщение Msg 3 1313 может использоваться для разрешения конфликтов, например, в конкурентной процедуре произвольного доступа, показанной на фиг. 13А. В некоторых сценариях множество устройств UE могут передавать базовой станции одну и ту же преамбулу, а базовая станция может предоставлять ответ RAR, соответствующий устройству UE. Если множество устройств UE интерпретируют ответ RAR как относящийся к ним, могут возникнуть конфликты. Разрешение конфликтов (например, с помощью сообщений Msg 3 1313 и Msg 4 1314) может использоваться для того, чтобы повысить вероятность ситуации, когда устройство UE не будет ошибочно использовать идентификатор другого устройства UE. Чтобы разрешить конфликт, устройство UE может включать в сообщение Msg 3 1313 идентификатор устройства (например, идентификатор C-RNTI, если он назначен, идентификатор TC-RNTI, включенный в сообщение Msg 2 1312, и/или любой другой подходящий идентификатор).
[0154] Сообщение Msg 4 1314 может приниматься после передачи сообщения Msg 3 1313 или в ответ на нее. Если идентификатор C-RNTI включен в сообщение Msg 3 1313, базовая станция обратится к устройству UE по каналу PDCCH, используя идентификатор C-RNTI. Если в канале PDCCH обнаружен уникальный идентификатор C-RNTI устройства UE, процедура произвольного доступа признается успешно выполненной. Если идентификатор TC-RNTI включен в сообщение Msg 3 1313 (например, если устройство UE находится в состоянии RRC_IDLE или иным образом не подключено к базовой станции), сообщение Msg 4 1314 будет получено по каналу DL-SCH, связанному с идентификатором TC-RNTI. Если блок MAC PDU успешно декодирован и включает в себя элемент MAC СЕ идентификатора разрешения конфликтов устройства UE, который совпадает или иным образом соответствует блоку СССН SDU, отправленному (например, переданному) в сообщении Msg 3 1313, то устройство UE может определить, что конфликт успешно разрешен, и/или устройство UE может определить, что процедура произвольного доступа успешно выполнена.
[0155] Устройство UE может быть сконфигурировано таким образом, чтобы иметь дополнительную восходящую несущую (SUL) и обычную восходящую несущую (NUL). На восходящей несущей может поддерживаться начальный доступ (например, процедура произвольного доступа). Например, базовая станция может конфигурировать устройство UE с двумя отдельными конфигурациями канала RACH: одна для несущей SUL, а другая для несущей NUL. Для организации произвольного доступа в соте, где сконфигурирована несущая SUL, сеть может указать, какую несущую следует использовать (NUL или SUL). Устройство UE может определить несущую SUL, например, если измеренное качество одного или большего количества опорных сигналов ниже порогового значения при широковещательной передаче. Передача в восходящем направлении в рамках процедуры произвольного доступа (например, сообщений Msg 1 1311 и/или Msg 3 1313) может продолжаться на выбранной несущей. Устройство UE может переключать восходящую несущую во время процедуры произвольного доступа (например, между сообщением Msg 1 1311 и сообщением Msg 3 1313) в одном или большем количестве случаев. Например, устройство UE может определять и/или переключать восходящую несущую для сообщения Msg 1 1311 и/или сообщения Msg 3 1313 на основании оценки чистоты канала (например, прослушивания перед передачей).
[0156] На фиг. 13В показана двухэтапная бесконкурентная процедура произвольного доступа. Подобно четырехэтапной конкурентной процедуре произвольного доступа, показанной на фиг. 13А, базовая станция до инициирования процедуры может передавать устройству UE сообщение конфигурации 1320. Сообщение конфигурации 1320 может быть в некоторых отношениях аналогично сообщению конфигурации 1310. Процедура, показанная на фиг. 13В, включает в себя передачу двух сообщений: Msg 1 1321 и, Msg 2 1322. Сообщения Msg 1 1321 и Msg 2 1322 могут быть в некоторых отношениях аналогичны, соответственно, сообщениям Msg 1 1311 и Msg 2 1312, показанным на фиг. 13А. Как видно из фиг. 13А и 13В, бесконкурентная процедура произвольного доступа не может включать в себя сообщения, аналогичные сообщениям Msg 3 1313 и/или Msg 4 1314.
[0157] Бесконкурентная процедура произвольного доступа, показанная на фиг. 13В, может быть инициирована для восстановления связи сбоя луча, другого запроса SI, добавления соты SCell и/или хэндовера. Например, базовая станция может указывать или назначать устройству UE преамбулу, которая должна использоваться для передачи сообщения Msg 1 1321. Устройство UE может принимать от базовой станции указание на преамбулу по каналу PDCCH и/или в сигнализации RRC (например, ra-PreambleIndex).
[0158] После передачи преамбулы устройство UE может открыть временное окно (например, ra-ResponseWindow) для отслеживания ответа RAR в канале PDCCH. В случае запроса восстановления связи после сбоя луча базовая станция может конфигурировать для устройства UE отдельное временное окно и/или отдельный канал PDCCH в пространстве поиска, указанном в сообщении RRC (например, recoverySearchSpaceId). Устройство UE может отслеживать передачу в канале PDCCH в пространстве поиска по идентификатору RNTI соты (C-RNTI). В бесконкурентной процедуре произвольного доступа, показанной на фиг. 13В, устройство UE может определять, что процедура произвольного доступа успешно выполнена, после передачи сообщения Msg 1 1321 и приема соответствующего сообщения Msg 2 1322 или в ответ на них. Устройство UE может определять, что процедура произвольного доступа успешно выполнена, если, например, передача в канале PDCCH адресована идентификатору C-RNTI. Устройство UE может определять, что процедура произвольного доступа успешно выполнена, если, например, устройство UE получает ответ RAR, содержащий идентификатор преамбулы, соответствующий преамбуле, переданной устройством UE, и/или ответ RAR включает в себя подблок MAC PDU с идентификатором преамбулы. Устройство UE может определить ответ как признак подтверждения запроса SI.
[0159] На фиг. 13С показана еще одна двухэтапная процедура произвольного доступа. Подобно процедурам произвольного доступа, показанным на фиг. 13А и 13В, базовая станция до инициирования процедуры может передавать устройству UE сообщение конфигурации 1330. Сообщение конфигурации 1330 может быть в некоторых отношениях аналогично сообщению конфигурации 1310 и/или сообщению конфигурации 1320. Процедура, показанная на фиг. 13С, включает в себя передачу двух сообщений: Msg А 1311 и Msg В 1332.
[0160] Сообщение Msg А 1331 может передаваться устройством UE в восходящем направлении. Сообщение Msg А 1331 может включать в себя одну или большее количество передач преамбулы 1341 и/или одну или большее количество передач транспортного блока 1342. Содержимое транспортного блока 1342 может быть подобно и/или эквивалентно содержимому сообщения Msg 3 1313, показанного на фиг. 13А. Транспортный блок 1342 может включать в себя информацию UCI (например, SR, HARQ ACK/NACK и/или т.п.). Устройство UE может получать сообщение Msg В 1332 после передачи сообщения Msg А 1331 или в ответ на нее. Содержимое сообщения Msg В 1332 может быть подобно и/или эквивалентно содержимому сообщения Msg 2 1312 (например, ответ RAR), показанного на фиг. 13А и 13В, и/или сообщения Msg 4 1314, показанного на фиг. 13А.
[0161] Устройство UE может инициировать двухэтапную процедуру произвольного доступа, приведенную на фиг. 13С, для лицензируемого и/или нелицензируемого спектра. На основании одного или большего количества факторов устройство UE может определять, следует ли инициировать двухэтапную процедуру произвольного доступа. Одним или большим количеством факторов могут быть следующие: используемая технология радиодоступа (например, LTE, NR и/или т.п.); наличие или отсутствие у устройства UE действительной зоны отслеживания ТА; размер соты; состояние RRC устройства UE; тип спектра (например, лицензируемый или нелицензируемый); и/или любые другие применимые факторы.
[0162] На основании параметров канала RACH двухэтапной процедуры произвольного доступа, включенных в сообщение конфигурации 1330, устройство UE может определять радиоресурс и/или мощность передачи в восходящем направлении для преамбулы 1341 и/или транспортного блока 1342, включенных в сообщение Msg А 1331. Параметры канала RACH могут определять схемы модуляции и кодирования (MCS), частотно-временной ресурс и/или управление мощностью для преамбулы 1341 и/или транспортного блока 1342. Частотно-временной ресурс для передачи преамбулы 1341 (например, канал PRACH) и частотно-временной ресурс для передачи транспортного блока 1342 (например, канал PUSCH) могут быть мультиплексироваться с использованием технологий FDM, TDM и/или CDM. Параметры канала RACH могут позволить устройству UE определять время приема и нисходящий канал для мониторинга и/или приема сообщения Msg В 1332.
[0163] Транспортный блок 1342 может включать в себя данные (например, данные, чувствительные к задержке), идентификатор устройства UE, информацию безопасности и/или информацию об устройстве (например, международный идентификатор мобильного абонента (IMSI, International Mobile Subscriber Identity)). Базовая станция может передавать сообщение Msg В 1332 в ответ на сообщение Msg А 1331. Сообщение Msg В 1332 может включать в себя по меньшей мере одно из следующего: идентификатор преамбулы; команду компенсации задержки; команду управления мощностью; выделенный ресурс восходящего канала (например, назначение радиоресурса и/или MCS); идентификатор устройства UE для разрешения конфликтов; и/или идентификатор RNTI (например, C-RNTI или TC-RNTI). Устройство UE может определять, что двухэтапная процедура произвольного доступа успешно выполнена, если: идентификатор преамбулы в сообщении Msg В 1332 соответствует преамбуле, переданной устройством UE; и/или идентификатор устройства UE в сообщении Msg В 1332 совпадает с идентификатором устройства UE в сообщении Msg А 1331 (например, в транспортном блоке 1342).
[0164] Устройство UE и базовая станция могут обмениваться управляющей сигнализацией. Управляющая сигнализация может называться управляющей сигнализацией L1/L2 и может инициироваться на уровне PHY (например, уровень 1) и/или на уровне MAC (например, уровень 2). Управляющая сигнализация может включать в себя нисходящую управляющую сигнализацию, передаваемую от базовой станции к устройству UE, и/или восходящую управляющую сигнализацию, передаваемую от устройства UE к базовой станции. [0165] Нисходящая управляющая сигнализация может включать в себя: информацию о назначениях планирования нисходящего канала; информацию о планировании восходящего канала с указанием выделенных радиоресурсов восходящего канала и/или формата транспорта; информацию о формате слота; указание приоритета; команду управления мощностью; и/или любую другую применимую сигнализацию. Устройство UE может принимать нисходящую управляющую сигнализацию в полезной нагрузке, передаваемой базовой станцией по физическому нисходящему каналу управления (PDCCH). Полезная нагрузка, передаваемая в канале PDCCH, может называться нисходящей управляющей информацией (DCI). В некоторых сценариях канал PDCCH может быть групповым общим каналом PDCCH (GC-PDCCH, Group Common PDCCH), который является общим для группы устройств UE.
[0166] Базовая станция может включать в информацию DCI один или большее количество битов четности циклической проверки избыточности (CRC, Cyclic Redundancy Check), чтобы облегчить обнаружение ошибок передачи. Когда информация DCI предназначена для устройства UE (или группы устройств UE), базовая станция может скремблировать биты четности CRC с идентификатором устройства UE (или идентификатором группы устройств UE). Скремблирование битов четности CRC с идентификатором может включать в себя операцию сложения по модулю 2 (или операцию исключающего ИЛИ) над значениями идентификатора и битов четности CRC. Идентификатор может представлять собой 16-битовое значение временного идентификатора радиосети (RNTI).
[0167] Информацию DCI можно использовать для разных целей. О ее назначении может свидетельствовать тип идентификатора RNTI, используемый для скремблирования битов четности CRC. Например, информация DCI с битами четности CRC, скремблированными с идентификатором RNTI поискового вызова (P-RNTI, Paging RNTI), может содержать информацию поискового вызова и/или уведомление об изменении системной информации. Идентификатор P-RNTI может быть заранее определен как FFFE в шестнадцатеричном формате. Информация DCI с битами четности CRC, скремблированными с идентификатором RNTI системной информации (SI-RNTI, System Information RNTI), может указывать на широковещательную передачу системной информации. Идентификатор SI-RNTI может быть заранее определен как FFFF в шестнадцатеричном формате. Информация DCI с битами четности CRC, скремблированными с идентификатором RNTI произвольного доступа (RA-RNTI, Random Access RNTI), может содержать ответ произвольного доступа (RAR). Информация DCI с битами четности CRC, скремблированными с идентификатором RNTI соты (C-RNTI), может указывать на динамически планируемую одноадресную передачу и/или инициирование случайного доступа по заказу канала PDCCH. Информация DCI с битами четности CRC, скремблированными с временным идентификатором RNTI соты (TC-RNTI), может указывать на разрешение конфликта (например, сообщение Msg 3, аналогичное сообщению Msg 3 1313, показанному на фиг. 13А). Другие идентификаторы RNTI, сконфигурированные для устройства UE базовой станцией, могут включать в себя RNTI конфигурированного планирования (CS-RNTI, Configured Scheduling RNTI), RNTI управления мощностью передачи в канале PUCCH (TPC-PUCCH-RNTI, Transmit Power Control-PUCCH RNTI), RNTI управления мощностью передачи в канале PUSCH (ТРС-PUSCH-RNTI, Transmit Power Control-PUSCH RNTI), RNTI управления мощностью передачи сигнала SRS (TPC-SRS-RNTI, Transmit Power Control-SRS RNTI), RNTI прерывания (INT-RNTI, Interruption RNTI), RNTI индикации формата слота (SFI-RNTI, Slot Format Indication), RNTI полупостоянной информации CSI (SP-CSI-RNTI, Semi-Persistent CSI RNTI), RNTI схемы модуляции и кодирования соты (MCS-C-RNTI, Modulation and Coding Scheme Cell RNTI) и/или тому подобные.
[0168] В зависимости от назначения и/или содержания информации DCI базовая станция может передавать информацию DCI в одном или большем количестве форматов DCI. Например, для планирования канала PUSCH в соте может использоваться формат DCI 0_0. Формат DCI 0_0 может быть резервным форматом информации DCI (например, в случае компактной полезной нагрузки DCI). Формат DCI 0_1 может использоваться для планирования канала PUSCH в соте (например, в случае большей полезной нагрузки DCI по сравнению с форматом DCI 0_0). Формат DCI 1_0 может использоваться для планирования канала PDSCH в соте. Формат DCI 1_0 может быть резервным форматом информации DCI (например, в случае компактной полезной нагрузки DCI). Формат DCI 1_1 может использоваться для планирования канала PDSCH в соте (например, в случае большей полезной нагрузки DCI по сравнению с форматом DCI 1_0). Формат DCI 2_0 может использоваться для указания формата слота группе устройств UE. Формат DCI 2_1 может использоваться для уведомления группы устройств UE о блоке физических ресурсов и/или символе OFDM, относительно которых устройство UE может предполагать, что их передача не предназначена для данного устройства UE. Формат DCI 2_2 может использоваться для передачи команды управления мощностью передачи (ТРС, Transmission Power Control) для каналов PUCCH или PUSCH. Формат DCI 2_3 может использоваться для передачи группы команд ТРС для передачи сигналов SRS одним или большим количеством устройств UE. Формат(ы) DCI для новых функций могут быть определены в будущих версиях. Форматы DCI могут отличаться по размеру сообщений DCI, а могут иметь один и тот же размер сообщений DCI.
[0169] После скремблирования информации DCI с идентификатором RNTI базовая станция может обрабатывать информацию DCI путем кодирования канала (например, полярного кодирования), согласования скорости, скремблирования и/или модуляции QPSK. Базовая станция может сопоставлять кодированную и модулированную информацию DCI с элементами ресурсов, используемыми и/или конфигурируемыми для канала PDCCH. В зависимости от объема полезной нагрузки DCI и/или зоны покрытия базовой станции базовая станция может передавать информацию DCI по каналу PDCCH, занимая определенное количество смежных элементов канала управления (ССЕ, Control Channel Element). Количество смежных элементов ССЕ (называемое уровнем агрегирования) может составлять 1, 2, 4, 8, 16 и/или любое другое приемлемое число. Элемент ССЕ может состоять из некоторого количества (например, 6) групп элементов ресурсов (REG, Resource-Element Group). Группа REG может включать в себя блок ресурсов в символе OFDM. Соответствие кодированной и модулированной информации DCI элементам ресурсов может основываться на отображении элементов ССЕ и групп REG (например, отображение CCE-to-REG).
[0170] На фиг. 14А показан пример конфигурации набора CORESET для части полосы частот. Базовая станция может передавать информацию DCI по каналу PDCCH в одном или большем количестве наборов ресурсов управления (CORESET, Control Resource Set). Набор CORESET может включать в себя частотно-временной ресурс, в котором устройство UE будет пытаться декодировать информацию DCI, используя одно или большее количество пространств поиска. Базовая станция может конфигурировать набор CORESET в частотно-временной области. В примере на фиг. 14А первый набор CORESET 1401 и второй набор CORESET 1402 появляются в первом символе слота. Первый набор CORESET 1401 перекрывается со вторым набором CORESET 1402 в частотной области. Третий набор CORESET 1403 появляется в третьем символе слота. Четвертый набор CORESET 1404 появляется в седьмом символе слота. Наборы CORESET могут иметь различное количество блоков ресурсов в частотной области.
[0171] На фиг. 14В показан пример отображения CCE-to-REG для передачи информации DCI в наборе CORESET и обработки каналов PDCCH. Отображение CCE-to-REG может быть с перемежением (например, для обеспечения частотного разнесения) или без перемежения (например, для облегчения управления помехами и/или частотно-селективной передачи каналов управления). Базовая станция может выполнять различные или одинаковые отображения CCE-to-REG для разных наборов CORESET. Набор CORESET может быть связан с отображением CCE-to-REG посредством конфигурации RRC. Набор CORESET может конфигурироваться с параметром квазисовмещения (QCL) антенного порта. Параметр QCL антенного порта в наборе CORESET может указывать информацию QCL опорного сигнала демодуляции (DMRS) для приема канала PDCCH.
[0172] Базовая станция может передавать устройству UE сообщения RRC, включающие в себя параметры конфигурации одного или большего количества наборов CORESET и одного или большего количества наборов пространств поиска. Параметры конфигурации могут указывать на связь между набором пространства поиска и набором CORESET. Набор пространств поиска может включать в себя набор кандидатов для канала PDCCH, формируемых элементами ССЕ на данном уровне агрегирования. Параметры конфигурации могут указывать: количество кандидатов для канала PDCCH, подлежащих мониторингу для каждого уровня агрегирования; периодичность мониторинга канала PDCCH и шаблон мониторинга канала PDCCH; один или большее количество форматов DCI, подлежащих мониторингу устройством UE; и/или является ли набор пространств поиска общим набором пространств поиска или набором пространств поиска для конкретного устройства UE. Набор элементов ССЕ в общем наборе пространств поиска может быть определен заранее и известен устройству UE. Набор элементов ССЕ в наборе пространств поиска для конкретного устройства UE может быть сконфигурирован на основе идентификационных данных устройства UE (например, идентификатора С-RNTI).
[0173] Как показано на фиг. 14В, устройство UE может определять частотно-временной ресурс для набора CORESET на основании сообщений RRC. Устройство UE может определять отображение CCE-to-REG (например, с перемежением или без перемежения, и/или параметры отображения) для набора CORESET на основании параметров конфигурации набора CORESET. Устройство UE может определять количество (например, не более 10) наборов пространств поиска, сконфигурированных в наборе CORESET, на основании сообщений RRC. Устройство UE может отслеживать набор кандидатов для канала PDCCH в соответствии с параметрами конфигурации набора пространств поиска. Устройство UE может осуществлять мониторинг набора кандидатов для канала PDCCH в одном или большем количестве наборов CORESET для обнаружения одного или нескольких информационных сообщений DCI. Мониторинг может включать в себя декодирование одного или большего количества кандидатов для канала PDCCH из набора кандидатов для канала PDCCH в соответствии с отслеживаемыми форматами информации DCI. Мониторинг может включать в себя декодирование содержимого DCI одного или большего количества кандидатов для канала PDCCH с возможными (или сконфигурированными) местоположениями канала PDCCH, возможными (или сконфигурированными) форматами канала PDCCH (например, количество элементов ССЕ, количество кандидатов для канала PDCCH в общих пространствах поиска и/или количество кандидатов для канала PDCCH в пространствах поиска для конкретного устройства UE) и возможными (или сконфигурированными) форматами информации DCI. Такое декодирование может называться слепым декодированием. Устройство UE может определять информацию DCI как действительную для устройства UE по результатам проверки CRC (например, по соответствию скремблированных битов четности битов CRC информации DCI значению идентификатора RNTI). Устройство UE может обрабатывать данные, содержащиеся в информации DCI (например, назначение планирования, выделение ресурсов восходящего канала, управление мощностью, указание формата слота, приоритет в нисходящем канале и/или другие подобные данные).
[0174] Устройство UE может передавать восходящую управляющую сигнализацию (например, восходящую управляющую информацию (UCI, Uplink Control Information)) на базовую станцию. Восходящая управляющая сигнализация может включать в себя подтверждения гибридных автоматических запросов повторной передачи (HARQ) для принятых транспортных блоков по каналу DL-SCH. Устройство UE может передавать подтверждения HARQ после приема транспортного блока по каналу DL-SCH. Восходящая управляющая сигнализация может включать в себя информацию о состоянии канала (CSI), указывающую на качество физического нисходящего канала. Устройство UE может передавать информацию CSI базовой станции. Базовая станция, основываясь на полученной информации CSI, может определять параметры формата передачи (например, схемы с несколькими антеннами и формированием лучей) для передачи в нисходящем направлении. Восходящая управляющая сигнализация может включать в себя запросы планирования (SR). Устройство UE может передавать запрос SR, указывающий, что данные восходящего направления доступны для передачи на базовую станцию. Устройство UE может передавать информацию UCI (например, подтверждения HARQ (HARQ-ACK), отчет CSI, запрос SR и т.п.) по физическому восходящему каналу управления (PUCCH) или физическому восходящему каналу общего доступа (PUSCH). Устройство UE может передавать восходящую управляющую сигнализацию по каналу PUCCH, используя один из нескольких форматов PUCCH.
[0175] Для канала PUCCH может существовать пять форматов и устройство UE может определять формат канала PUCCH в зависимости от размера информации UCI (например, количества символов восходящего канала для передачи UCI и количества битов UCI). Формат 0 канала PUCCH может занимать один или два символа OFDM и может включать в себя два или меньшее количество битов. Устройство UE может передавать информацию UCI в ресурсе канала PUCCH с использованием формата 0, если передача занимает один или два символа, а количество информационных битов подтверждения HARQ-ACK с положительным или отрицательным запросом SR (биты HARQ-ACK/SR) составляет один или два. Формат 1 канала PUCCH может занимать от четырех до четырнадцати символов OFDM и может включать в себя два или меньшее количество битов. Устройство UE может использовать формат 1 канала PUCCH, если передача занимает четыре или большее количество символов, а количество битов HARQ-ACK/SR составляет один или два. Формат 2 канала PUCCH может занимать один или два символа OFDM и может включать в себя больше двух битов. Устройство UE может использовать формат 2 канала PUCCH, если передача занимает один или два символа, а количество битов UCI составляет два или более. Формат 3 канала PUCCH может занимать от четырех до четырнадцати символов OFDM и может включать в себя более двух битов. Устройство UE может использовать формат 3 канала PUCCH, если передача занимает четыре или большее количество символов, количество битов UCI составляет два или более, а ресурс канала PUCCH не включает в себя ортогональный код покрытия. Формат 4 канала PUCCH может занимать от четырех до четырнадцати символов OFDM и может включать в себя более двух битов. Устройство UE может использовать формат 4 канала PUCCH, если передача занимает четыре или большее количество символов, количество битов UCI составляет два или более, а ресурс канала PUCCH включает в себя ортогональный код покрытия.
[0176] Базовая станция может передавать устройству UE параметры конфигурации для множества наборов ресурсов PUCCH с помощью, например, сообщения PvRC. Множество наборов ресурсов PUCCH (например, до четырех наборов) может быть сконфигурировано в восходящей BWP соты. Набор ресурсов PUCCH может быть сконфигурирован с индексом набора ресурсов PUCCH, множеством ресурсов PUCCH, причем ресурс PUCCH может идентифицироваться по идентификатору ресурса PUCCH (например, pucch-Resourceid), и/или количеством (например, максимальным количеством) информационных битов UCI, которые устройство UE может передавать, используя один из множества ресурсов PUCCH в наборе ресурсов PUCCH. Если в устройстве UE сконфигурировано множество наборов ресурсов PUCCH, то устройство UE может выбирать один из множества наборов ресурсов PUCCH на основании общей длины информационных битов UCI (например, HARQ-ACK, SR и/или CSI). Если общая длина информационных битов UCI составляет два или меньшее количество битов, устройство UE может выбирать первый набор ресурсов PUCCH с индексом набора ресурсов PUCCH равным 0. Если общая длина информационных битов UCI больше двух битов и меньше первого сконфигурированного значения или равна ему, устройство UE может выбирать второй набор ресурсов PUCCH с индексом набора ресурсов PUCCH равным 1. Если общая длина информационных битов UCI больше первого сконфигурированного значения и меньше второго сконфигурированного значения или равна ему, устройство UE может выбирать третий набор ресурсов PUCCH с индексом набора ресурсов PUCCH равным 2. Если общая длина информационных битов UCI больше второго сконфигурированного значения и меньше третьего значения или равна ему (например, 1406), устройство UE может выбирать четвертый набор ресурсов PUCCH с индексом набора ресурсов PUCCH равным 3.
[0177] После определения набора ресурсов PUCCH из множества наборов ресурсов PUCCH устройство UE может определять ресурс PUCCH из набора ресурсов PUCCH для передачи информации UCI (HARQ-ACK, CSI и/или SR). Устройство UE может определять ресурс PUCCH на основании индикатора ресурса PUCCH в информации DCI (например, в формате DCI 1_0 или DCI 1_1), полученной по каналу PDCCH. Трехбитовый индикатор ресурса PUCCH в информации DCI может указывать один из восьми ресурсов PUCCH в наборе ресурсов PUCCH. На основании индикатора ресурса PUCCH устройство UE может передавать информацию UCI (HARQ-ACK, CSI и/или SR), используя ресурс PUCCH, указанный индикатором ресурса PUCCH в информации DCI.
[0178] На фиг. 15 показан пример беспроводного устройства 1502, взаимодействующего с базовой станцией 1504 в соответствии с вариантами осуществления настоящего изобретения. Беспроводное устройство 1502 и базовая станция 1504 могут быть частями сети мобильной связи, например, сети мобильной связи 100, изображенной на фиг. 1А, сети мобильной связи 150, изображенной на фиг. 1В, или любой другой сети связи. На фиг. 15 показаны только одно беспроводное устройство 1502 и одна базовая станция 1504, но следует понимать, что сеть мобильной связи может включать в себя более одного устройства UE и/или более одной базовой станции в такой же или аналогичной конфигурации, как показанные на фиг. 15.
[0179] Базовая станция 1504 может подключить беспроводное устройство 1502 к опорной сети (не показана) посредством радиосвязи через радиоинтерфейс 1506. Направление связи от базовой станции 1504 к беспроводному устройству 1502 по радиоинтерфейсу 1506 называют нисходящим, а направление связи от беспроводного устройства 1502 к базовой станции по радиоинтерфейсу - восходящим. Передача данных в нисходящем направлении может быть отделена от передачи в восходящем направлении с использованием технологии FDD, TDD и/или некоторой комбинации этих двух технологий дуплексирования.
[0180] Данные, которые должны передаваться от базовой станции 1504 в нисходящем направлении беспроводному устройству 1502, могут быть переданы в систему обработки 1508 базовой станции 1504. Данные могут поступать в систему обработки 1508, например, из опорной сети. Данные, которые должны передаваться базовой станции 1504 от беспроводного устройства 1502, могут быть переданы в систему обработки 1518 беспроводного устройства 1502. Система обработки 1508 и система обработки 1518 могут реализовывать функции уровней 3 и 2 модели OSI для обработки данных в целях передачи. Уровень 2 может включать в себя уровень SDAP, уровень PDCP, уровень RLC и уровень MAC, например, как показано на фиг. 2А, фиг. 2В, фиг. 3 и фиг. 4А. Уровень 3 может включать в себя уровень RRC, как показано на фиг. 2В.
[0181] После обработки в системе обработки 1508 данные, которые должны быть переданы беспроводному устройству 1502, могут быть направлены в систему обработки передачи 1510 базовой станции 1504. После обработки в системе обработки 1518 данные, которые должны быть переданы базовой станции 1504, могут быть направлены в систему обработки передачи 1520 беспроводного устройства 1502. Система обработки передачи 1510 и система обработки передачи 1520 могут реализовывать функции уровня 1 модели OSI. Уровень 1 может включать в себя уровень PHY, как показано на фиг. 2А, фиг. 2В, фиг. 3 и фиг. 4А. Для обработки передачи уровень PHY может выполнять, например, кодирование транспортных каналов с прямой коррекцией ошибок, перемежение, согласование скоростей, отображение транспортных каналов и физических каналов, модуляцию физического канала, обработку для систем с несколькими входами и несколькими выходами (MIMO, Multiple-Input Multiple-Output) или с несколькими антеннами и/или тому подобные функции.
[0182] На базовой станции 1504 система обработки приема 1512 может осуществлять прием данных восходящего направления от беспроводного устройства 1502. В беспроводном устройстве 1502 система обработки приема 1522 может осуществлять прием данных нисходящего направления от базовой станции 1504. Система обработки приема 1512 и система обработки приема 1522 могут реализовывать функции уровня 1 модели OSI. Уровень 1 может включать в себя уровень PHY, как показано на фиг. 2А, фиг. 2В, фиг. 3 и фиг. 4А. Для обработки приема уровень PHY может выполнять, например, обнаружение ошибок, декодирование с прямой коррекцией ошибок, обратное перемежение, отмену связи транспортных каналов и физических каналов, демодуляцию физических каналов, обработку для систем с несколькими входами и несколькими выходами (MIMO, Multiple-Input Multiple-Output) или с несколькими антеннами и/или тому подобные функции.
[0183] Как показано на фиг. 15, беспроводное устройство 1502 и базовая станция 1504 могут включать в себя множество антенн. Множество антенн могут использоваться для реализации одной или большего количества технологий MIMO или множественных антенн, таких как пространственное мультиплексирование (например, однопользовательская система MIMO или многопользовательская система MIMO), разнесенные передача/прием и/или формирование лучей. В других примерах беспроводное устройство 1502 и/или базовая станция 1504 могут использовать единственную антенну.
[0184] Система обработки 1508 и система обработки 1518 могут быть связаны, соответственно, с памятью 1514 и памятью 1524. Память 1514 и память 1524 (например, один или большее количество машиночитаемых носителей информации) могут хранить инструкции или код компьютерных программ, которые могут исполняться системой обработки 1508 и/или системой обработки 1518 для осуществления одной или большего количества функций, обсуждаемых в настоящей заявке. Хотя это не показано на фиг. 15, система обработки передачи 1510, система обработки передачи 1520, система обработки приема 1512 и/или система обработки приема 1522 могут быть соединены с памятью (например, одним или большим количеством машиночитаемых носителей информации), где хранятся инструкции или код компьютерных программ, которые могут быть исполняться для осуществления одной или большего количества соответствующих функций.
[0185] Система обработки 1508 и/или система обработки 1518 могут включать в себя один или большее количество контроллеров и/или один или большее количество процессоров. Один или большее количество контроллеров и/или один или большее количество процессоров могут включать в себя, например, процессор общего назначения, цифровой сигнальный процессор (DSP, Digital Signal Processor), микроконтроллер, интегральную схему специального назначения (ASIC), полевую программируемую логическую интегральную схему (FPGA) и/или другое программируемое логическое устройство, дискретные вентили и/или транзисторную логику, дискретные аппаратные компоненты, модули на печатных платах или любую их комбинацию. Система обработки 1508 и/или система обработки 1518 могут выполнять по меньшей мере одну из функций кодирования/обработки сигналов, обработки данных, управления питанием, обработки ввода/вывода и/или осуществлять любую другую функцию, которая может обеспечить работу беспроводного устройства 1502 и базовой станции 1504 в беспроводной среде.
[0186] Система обработки 1508 и/или система обработки 1518 могут быть подключены, соответственно, к одному или большему количеству периферийных устройств 1516 и одному или большему количеству периферийных устройств 1526. Одно или большее количество периферийных устройств 1516 и одно или большее количество периферийных устройств 1526 могут включать в себя программное и/или аппаратное обеспечение, обеспечивающее свойства и/или функции, например, динамика, микрофона, клавиатуры, дисплея, сенсорной панели, источника питания, спутникового трансивера, порта универсальной последовательной шины (USB, Universal Serial Bus), гарнитуры громкой связи, радиоприемника с частотной модуляцией (FM, Frequency Modulated), медиаплеера, интернет-браузера, электронного блока управления (например, для транспортного средства) и/или одного или большего количества датчиков (например, акселерометра, гироскопа, датчика температуры, радара, лидара, ультразвукового датчика, датчика освещенности, камеры и/или других подобных устройств). Система обработки 1508 и/или система обработки 1518 могут принимать пользовательские входные данные от одного или большего количества периферийных устройств 1516 и/или одного или большего количества периферийных устройств 1526 и/или передавать им пользовательские выходные данные. Система обработки 1518 в беспроводном устройстве 1502 может получать электроэнергию от источника питания и/или может быть сконфигурирована таким образом, чтобы распределять электропитание между другими компонентами беспроводного устройства 1502. Источник питания может включать в себя один или большее количество источников электроэнергии, например, аккумулятор, солнечный элемент, топливный элемент или любую их комбинацию. Система обработки 1508 и/или система обработки 1518 могут быть подключены, соответственно, к комплекту микросхем GPS 1517 и комплекту микросхем GPS 1527. Комплект микросхем GPS 1517 и комплект микросхем GPS 1527 могут быть сконфигурированы таким образом, чтобы предоставлять информацию о географическом местоположении, соответственно, беспроводного устройства 1502 и базовой станции 1504.
[0187] На фиг. 16А показан пример структуры для передачи данных в восходящем направлении. Сигнал основной полосы, представляющий физический восходящий канал общего доступа, может выполнять одну или большее количество функций. Одна или большее количество функций могут включать в себя по меньшей мере одну из следующих функций: скремблирование; модуляцию скремблированных битов для формирования комплексных символов; отображение комплексных символов модуляции с одним или большим количеством уровней передачи; предварительное кодирование с преобразованием для формирования комплексных символов; предварительное кодирование комплексных символов; отображение предварительно закодированных комплексных символов с элементами ресурса; формирование комплексного сигнала во временной области с одной несущей и множественным доступом с частотным разделением (SC-FDMA, Single Carrier-Frequency Division Multiple Access) или CP-OFDM для порта антенны и/или иные подобные функции. В одном из примеров, если предварительное кодирование с преобразованием включено, для передачи данных в восходящем направлении может генерироваться сигнал SC-FDMA. В одном из примеров, если предварительное кодирование с преобразованием не включено, для передачи данных в восходящем направлении может генерироваться сигнал CP-OFDM, как показано на фиг. 16А. Эти функции показаны в качестве примера, и предполагается, что в различных вариантах осуществления могут быть реализованы другие механизмы.
[0188] На фиг. 16B показан пример структуры для модуляции и переноса сигнала основной полосы на несущую частоту. Сигнал основной полосы может представлять собой комплексный сигнал основной полосы SC-FDMA или CP-OFDM для антенного порта и/или комплексный сигнал основной полосы физического канала произвольного доступа (PRACH). Перед передачей может применяться фильтрация.
[0189] На фиг. 16С показан пример структуры для передачи данных в нисходящем направлении. Сигнал основной полосы, представляющий физический нисходящий канал, может выполнять одну или большее количество функций. Одна или большее количество функций могут включать в себя: скремблирование кодированных битов в кодовое слово для передачи по физическому каналу; модуляцию скремблированных битов для формирования комплексных символов модуляции; отображение комплексных символов модуляции с одним или несколькими уровнями передачи; предварительное кодирование комплексных символов модуляции на уровне передачи в антенные порты; отображение комплексных символов модуляции для антенного порта с элементами ресурсов; формирование во временной области комплексного сигнала OFDM для антенного порта и/или тому подобные функции. Эти функции показаны в качестве примера, и предполагается, что в различных вариантах осуществления могут быть реализованы другие механизмы.
[0190] На фиг. 16D показан другой пример структуры для модуляции и переноса сигнала основной полосы на несущую частоту. Сигнал основной полосы может быть комплексным сигналом основной полосы OFDM для порта антенны. Перед передачей может применяться фильтрация.
[0191] Беспроводное устройство может принимать от базовой станции одно или большее количество сообщений (например, сообщений RRC), содержащих параметры конфигурации множества сот (например, первичной соты, вторичной соты). Беспроводное устройство может взаимодействовать по меньшей мере с одной базовой станцией (например, с двумя или большим количеством базовых станций при двойном подключении) через множество сот. Одно или большее количество сообщений (например, как часть параметров конфигурации) могут включать в себя параметры физического уровня и уровней MAC, RLC, PCDP, SDAP, RRC для конфигурирования беспроводного устройства. Например, параметры конфигурации могут включать в себя параметры для конфигурирования каналов физического и MAC-уровня, радиоканалов и т.д. Например, параметры конфигурации могут включать в себя параметры, указывающие значения таймеров для физического уровня, уровней MAC, RLC, PCDP, SDAP, RRC уровней и/или каналов связи.
[0192] Таймер может начинать работать сразу после запуска и продолжать работать до тех пор, пока он не будет остановлен или пока он не истечет. Таймер можно запускать, если он не работает, или перезапускать, если он работает. Таймер может быть связан с некоторым значением (например, таймер может запускаться или перезапускаться с определенного значения или может запускаться с нуля и истекать по достижении заданного значения). Длительность работы таймера не может изменяться до тех пор, пока таймер не будет остановлен или не истечет (например, из-за переключения BWP). Таймер может использоваться для измерения временного интервала/окна для какого-либо процесса. Когда в спецификации упоминается реализация и процедура, связанные с одним или большим количеством таймеров, то следует понимать, что существует множество способов реализации одного или большего количества таймеров. Например, следует понимать, что при измерении интервала времени/окна могут использоваться один или большее количество из множества способов реализации таймера. Например, таймер окна ответа произвольного доступа может использоваться при измерении временного окна для приема ответа произвольного доступа. В одном из примеров вместо запуска и истечения таймера окна ответа произвольного доступа можно использовать разницу во времени между двумя временными метками. При перезапуске таймера процесс измерения временного окна может быть перезапущен. Для перезапуска измерения временного окна могут быть предусмотрены другие примеры реализации.
[0193] Беспроводное устройство может получать, например, от базовой станции, одно или большее количество сообщений, включающих в себя один или большее количество параметров конфигурации. Один или большее количество параметров конфигурации могут указывать для первой соты (или первой BWP первой соты) множество состояний TCI (или лучей передачи/приема). Один или большее количество параметров конфигурации не могут указывать для второй соты (или второй BWP второй соты) по меньшей мере одно состояние TCI (или лучи передачи/приема). Один или большее количество параметров конфигурации могут не указывать для второй соты (или второй BWP второй соты) ни одного состояния TCI. Один или большее количество параметров конфигурации могут указывать для второй соты первую соту как опорную соту. Вторая сота может быть целевой сотой. Один или большее количество параметров конфигурации могут указывать для второй BWP второй соты первую BWP первой соты как опорную BWP опорной соты. Вторая сота может быть целевой сотой. Вторая BWP может быть целевой BWP.
[0194] Беспроводное устройство может передавать/принимать во второй соте (или целевой соте) нисходящий/восходящий сигнал (например, при приеме по каналам PDCCH/PDSCH, передаче CSI-RS, блоков SS/PBCH, PUSCH/PUCCH/SRS и т.п.) с использованием (или на основании) по меньшей мере одного состояния TCI из множества состояний TCI первой соты (или опорной соты). Беспроводное устройство может осуществлять передачу/прием во второй BWP второй соты (или целевой BWP целевой соты) в нисходящем или восходящем направлениях с использованием (или на основании) по меньшей мере одного состояния TCI из множества состояний TCI первой BWP первой соты (или опорной BWP опорной соты).
[0195] В одном из примеров беспроводное устройство может деактивировать опорную ячейку (или опорную BWP). В одном из вариантов реализации существующих технологий беспроводное устройство не может использовать для передачи/приема в целевой соте состояние TCI из множества состояний TCI опорной соты, например, в связи с деактивацией опорной соты. Это не может быть эффективно, так как беспроводное устройство не сможет использовать ресурсы, сконфигурированные в целевой соте.
[0196] Варианты осуществления изобретения улучшают управление лучами в опорной соте. В одном из вариантов осуществления беспроводное устройство может деактивировать целевую соту (или целевую BWP) в связи с деактивацией опорной соты (или опорной BWP). В одном из вариантов осуществления беспроводное устройство может поддерживать опорную соту (или опорную BWP) в активном/активированном состоянии до тех пор, пока активна/активирована целевая сота (или целевая BWP). Беспроводное устройство может, например, запускать/перезапускать таймер деактивации SCell для опорной соты в зависимости от запуска/перезапуска таймера деактивации SCell для целевой соты. Беспроводное устройство может, например, запускать/перезапускать таймер отсутствия активности BWP опорной соты/BWP в зависимости от запуска/перезапуска таймера отсутствия активности BWP целевой соты/BWP. В одном из примеров базовая станция не может конфигурировать таймер деактивации SCell для опорной соты. Примеры осуществления изобретения повышают эффективность использования ресурсов.
[0197] На фиг. 17 показан пример активации состояния TCI согласно одному из вариантов осуществления настоящего изобретения.
[0198] В одном из примеров беспроводное устройство может получать одно или большее количество сообщений. В одном из примеров беспроводное устройство может получать одно или большее количество сообщений от базовой станции. Одно или большее количество сообщений может содержать один или большее количество параметров конфигурации. В одном из примеров один или большее количество параметров конфигурации могут быть параметрами конфигурации PvRC. В одном из примеров один или большее количество параметров конфигурации могут быть параметрами изменения конфигурации RRC.
[0199] В одном из примеров один или большее количество параметров конфигурации могут относиться к одной или большему количеству сот.
[0200] Одна или большее количество сот может включать в себя соту. Сота может быть, например, обслуживающей сотой. В одном из примеров по меньшей мере один параметр конфигурации из одного или большего количества параметров конфигурации может относиться к соте. В одном из примеров сота может быть первичной сотой (PCell). В одном из примеров сота может быть вторичной сотой (SCell). Сота может быть вторичной сотой, сконфигурированной с каналом PUCCH (например, сота PUCCH SCell). В одном из примеров сота может быть нелицензируемой сотой, например, работающей в нелицензируемом диапазоне. В одном из примеров сота может быть лицензируемой сотой, например, работающей в лицензируемом диапазоне. В одном из примеров сота может работать в первом частотном диапазоне (FR1, Frequency Range). Диапазон FR1 может включать в себя, например, полосы частот ниже 6 ГГц. В одном из примеров сота может работать во втором частотном диапазоне (FR2). Диапазон FR2 может включать в себя, например, полосы частот от 24 до 52,6 ГГц. В одном из примеров сота может работать в третьем частотном диапазоне (FR3). Диапазон FR3 может включать в себя, например, полосы частот от 52,6 до 71 ГГц. Диапазон FR3 может включать в себя, например, полосы частот начиная с 52,6 ГГц.
[0201] В одном из примеров беспроводное устройство может выполнять передачу в соте в восходящем направлении (например, PUSCH, PUCCH, SRS) в первый момент времени и на первой частоте. Беспроводное устройство может выполнять передачу в соте в нисходящем направлении (например, PDCCH, PDSCH) во второй момент времени и на второй частоте. В одном из примеров сота может работать в режиме дуплексирования с временным разделением (TDD). В режиме TDD первая частота и вторая частота могут совпадать. В режиме TDD первый момент времени и второй момент времени могут различаться. В одном из примеров сота может работать в режиме дуплексирования с частотным разделением (FDD). В режиме FDD первая частота и вторая частота могут различаться. В режиме FDD первый момент времени и второй момент времени могут совпадать.
[0202] В одном из примеров беспроводное устройство может находиться в состоянии RRC connected. В одном из примеров беспроводное устройство может находиться в состоянии RRC idle. В одном из примеров беспроводное устройство может находиться в состоянии RRC inactive.
[0203] В одном из примеров сота может включать в себя множество BWP. Множество BWP может включать в себя одну или большее количество восходящих BWP, включающих в себя восходящую BWP соты. Множество BWP может включать в себя одну или большее количество нисходящих BWP, включающих в себя нисходящую BWP соты.
[0204] В одном из примеров BWP из множества BWP может находиться в активном либо неактивном состоянии. В одном из примеров, в активном состоянии нисходящей BWP из одной или большего количества нисходящих BWP беспроводное устройство может контролировать нисходящий канал/сигнал (например, PDCCH, DCI, CSI-RS, PDSCH) в нисходящей BWP. В одном из примеров, в активном состоянии одной нисходящей BWP из одной или большего количества нисходящих BWP беспроводное устройство может принимать канал PDSCH в нисходящей BWP. В одном из примеров, в неактивном состоянии нисходящей BWP из одной или большего количества нисходящих BWP беспроводное устройство не может контролировать нисходящий канал/сигнал (например, PDCCH, DCI, CSI-RS, PDSCH) в нисходящей BWP. В одном из примеров, в неактивном состоянии нисходящей BWP из одной или большего количества нисходящих BWP беспроводное устройство может прекратить контролировать (или принимать) нисходящий канал/сигнал (например, PDCCH, DCI, CSI-RS, PDSCH) в нисходящей BWP. В одном из примеров, в неактивном состоянии нисходящей BWP из одной или большего количества нисходящих BWP беспроводное устройство не может принимать канал PDSCH в нисходящей BWP. В неактивном состоянии нисходящей BWP из одной или большего количества нисходящих BWP беспроводное устройство может прекратить принимать канал PDSCH в нисходящей BWP.
[0205] В одном из примеров, в активном состоянии восходящей BWP из одной или большего количества восходящих BWP беспроводное устройство может передавать восходящий канал/сигнал (например, PUCCH, преамбулу, PUSCH, PRACH, SRS и т.п.) в восходящей BWP. В одном из примеров, в неактивном состоянии восходящей BWP из одной или большего количества восходящих BWP беспроводное устройство не может передавать восходящий канал/сигнал (например, PUCCH, преамбулу, PUSCH, PRACH, SRS и т.п.) в восходящей BWP.
[0206] В одном из примеров беспроводное устройство может активировать нисходящую BWP из одной или большего количества нисходящих BWP соты. В одном из примеров активация нисходящей BWP может включать в себя установку беспроводным устройством нисходящей BWP в качестве активной нисходящей BWP соты (или переключение на нее). В одном из примеров активация нисходящей BWP может включать в себя установку беспроводным устройством нисходящей BWP в активное состояние. В одном из примеров активация нисходящей BWP может включать в себя переключение нисходящей BWP из неактивного состояния в активное состояние.
[0207] В одном из примеров беспроводное устройство может активировать восходящую BWP из одной или большего количества восходящих BWP соты. В одном из примеров активация восходящей BWP может включать в себя установку беспроводным устройством восходящей BWP в качестве активной восходящей BWP соты (или переключение на нее). В одном из примеров активация восходящей BWP может включать в себя установку беспроводным устройством восходящей BWP в активное состояние. В одном из примеров активация восходящей BWP может включать в себя переключение восходящей BWP из неактивного состояния в активное состояние.
[0208] В одном из примеров один или большее количество параметров конфигурации могут относиться к (активной) нисходящей BWP соты. В одном из примеров по меньшей мере один параметр конфигурации из одного или большего количества параметров конфигурации может относиться к нисходящей BWP соты.
[0209] В одном из примеров один или большее количество параметров конфигурации могут относиться к (активной) восходящей BWP соты. В одном из примеров по меньшей мере один параметр конфигурации из одного или большего количества параметров конфигурации могут относиться к восходящей BWP соты.
[0210] Один или большее количество параметров конфигурации могут указывать разнос поднесущих (или пространственно-временную структуру) для нисходящей BWP.
[0211] Один или большее количество параметров конфигурации могут указывать разнос поднесущих (или пространственно-временную структуру) для восходящей BWP.
[0212] Значение разноса поднесущих (нисходящей BWP и/или восходящей BWP) может быть, например, 15 кГц (mu=0) или указываться таковым. Значение разноса поднесущих может быть, например, 30 кГц (mu=1) или указываться таковым. Значение разноса поднесущих может быть, например, 60 кГц (mu=2) или указываться таковым. Значение разноса поднесущих может быть, например, 120 кГц (mu=3) или указываться таковым. Значение разноса поднесущих может быть, например, 240 кГц (mu=4) или указываться таковым. Значение разноса поднесущих может быть, например, 480 кГц (mu=5) или указываться таковым. Значение разноса поднесущих может быть, например, 960 кГц (mu=6) или указываться таковым. Например, в диапазоне FR3 может быть действительным/применимым значение 480 кГц. Например, в диапазоне FR3 может быть действительным/применимым значение 960 кГц. Например, в диапазоне FR3 может быть действительным/применимым значение 240 кГц. Например, в диапазоне FR3 может быть действительным/применимым значение 120 кГц.
[0213] Одна или большее количество сот могут включать в себя опорную соту и целевую соту.
[0214] В одном из примеров один или большее количество параметров конфигурации могут указывать множество состояний TCI (например, предоставляемых параметром более высокого уровня tci-StatesToAddModList и/или tci-States-ToReleaseList в PDSCH_Config, PUSCH_Config, PUCCH_Config и т.д.). Один или большее количество параметров конфигурации могут указывать множество состояний TCI для опорной BWP опорной соты (например, опорная BWP/сота на фиг. 17) Опорная BWP может быть, например, опорной нисходящей BWP. Опорная BWP может быть, например, опорной восходящей BWP. Один или большее количество параметров конфигурации могут включать в себя один или большее количество параметров конфигурации канала PDSCH для опорной BWP опорной соты (например, конфигурация канала PDSCH на фиг. 17). Один или большее количество параметров конфигурации канала PDSCH могут указывать множество состояний TCI (например, состояние TCI 1, состояние TCI 2, … состояние TCI 128 на фиг. 17).
[0215] Например, множество состояний TCI могут предназначаться для (декодирования) передачи/приема по каналу PDSCH в опорной соте. Один или большее количество параметров конфигурации могут указывать множество состояний TCI для декодирования передачи/приема по каналу PDSCH в опорной BWP опорной соты.
[0216] Например, множество состояний TCI могут использоваться для передачи восходящих сигналов (например, UCI, PUSCH, SRS, PUCCH, транспортный блок, SR, CSI, HARQ-ACK) посредством ресурса восходящего направления (например, ресурс PUSCH, ресурс PUCCH, ресурс SRS) опорной соты. Один или большее количество параметров конфигурации могут указывать множество состояний TCI для передачи восходящих сигналов посредством ресурса восходящего направления опорной BWP опорной соты.
[0217] В одном из примеров множество состояний TCI может быть множеством нисходящих состояний TCI или включать в себя такое множество. Беспроводное устройство может использовать множество нисходящих состояний TCI для приема/декодирования транспортных блоков (или передачи/приема по каналу PDSCH). Беспроводное устройство может использовать множество нисходящих состояний TCI, например, для приема/декодирования транспортных блоков (или передачи/приема по каналу PDSCH), запланированных для опорной BWP опорной соты. Беспроводное устройство может использовать множество нисходящих состояний TCI, например, для приема нисходящих сигналов (например, PDSCH, PDCCH, DCI, транспортных блоков и т.п.) в опорной BWP опорной соты. Это может уменьшить объем данных сигнализации. Один или большее количество параметров конфигурации не могут указывать по меньшей мере одно состояние TCI для целевой BWP. Беспроводное устройство может использовать множество состояний TCI опорной BWP для передачи/приема в целевой BWP/соте.
[0218] В одном из примеров множество состояний TCI может быть множеством восходящих состояний TCI или включать в себя такое множество. Беспроводное устройство может использовать множество восходящих состояний TCI для передачи транспортных блоков (или передачи по каналу PUSCH). Беспроводное устройство может использовать множество восходящих состояний TCI, например, для передачи транспортных блоков (или передачи по каналу PUSCH), запланированных для опорной BWP опорной соты. Беспроводное устройство может использовать множество восходящих состояний TCI, например, для передачи восходящих сигналов (например, PUSCH, PUCCH, UCI, транспортных блоков, SRS и т.п.) в опорной BWP опорной соты.
[0219] В одном из примеров множество состояний TCI может быть множеством общих/совместных состояний TCI или включать в себя такое множество. Беспроводное устройство может использовать множество общих/совместных состояний TCI, например, для приема нисходящих сигналов (например, PDSCH, PDCCH, DCI, транспортных блоков и т.п.) в опорной BWP опорной соты. Беспроводное устройство может использовать множество общих/совместных состояний TCI, например, для передачи восходящих сигналов (например, PUSCH, PUCCH, UCI, транспортных блоков, SRS и т.п.) в опорной BWP опорной соты.
[0220] В одном из примеров опорная BWP может быть активной. Беспроводное устройство может активировать опорную BWP в качестве активной BWP опорной соты. В одном из примеров опорная BWP может быть деактивированной/неактивной. Беспроводное устройство может деактивировать опорную BWP.
[0221] В одном из примеров один или большее количество параметров конфигурации могут указывать один или большее количество первых наборов управляющих ресурсов (coreset). Один или большее количество параметров конфигурации могут указывать один или большее количество первых наборов coreset, например, для опорной BWP опорной соты. Опорная BWP может включать в себя один или большее количество первых наборов coreset. Один или большее количество параметров конфигурации могут указывать один или большее количество первых наборов coreset, например, для опорной соты. Опорная сота может включать в себя один или большее количество первых наборов coreset. Например, один или большее количество первых наборов coreset представляют собой наборы Coreset 1 и Coreset 2 опорной BWP/соты на фиг. 17.
[0222] В одном из примеров один или большее количество параметров конфигурации могут указывать один или большее количество индексов/идентификаторов/индикаторов первого набора coreset (например, предоставляемых параметром более высокого уровня ControlResourceSetId) для одного или большего количества первых наборов coreset. В одном из примеров каждый набор coreset из одного или большего количества первых наборов coreset может быть идентифицирован/указан соответствующим индексом набора coreset из одного или большего количества индексов первых наборов coreset. В одном из примеров первый набор coreset из одного или большего количества первых наборов coreset может быть идентифицирован индексом первого набора coreset из одного или большего количества индексов первых наборов coreset. Второй набор coreset из одного или большего количества первых наборов coreset может быть идентифицирован индексом второго набора coreset из одного или большего количества индексов первых наборов coreset.
[0223] Для каждого набора coreset из одного или нескольких первых наборов coreset один или большее количество параметров конфигурации могут указывать одно или несколько соответствующих состояний TCI из множества состояний TCI (например, предоставляемых параметром более высокого уровня/RRC tci-StatesPDCCH-ToAddList и tci-StatesPDCCH-ToReleaseList в параметре controlResourceSet (или конфигурация Coreset на фиг. 17)) Например, один или большее количество параметров конфигурации могут указывать для первого набора coreset (например, набора Coreset 1 на фиг. 17) из одного или большего количества первых наборов coreset одно или большее количество первых состояний TCI (например, состояние TCI 5, состояние TCI 23, …, состояние TCI 60) из множества состояний TCI. Один или большее количество параметров конфигурации могут указывать для второго набора coreset (например, набора Coreset 2 на фиг. 17) из одного или большего количества первых наборов coreset одно или большее количество вторых состояний TCI (например, состояние TCI 2, состояние TCI 38, …, состояние TCI 79) из множества состояний TCI.
[0224] В одном из примеров один или большее количество параметров конфигурации не могут указывать для целевой BWP целевой соты (например, целевая BWP/сота на фиг. 17), по меньшей мере, одно состояние TCI. Один или большее количество параметров конфигурации могут не указывать для целевой BWP целевой соты ни одного состояния TCI.
[0225] Целевая BWP может быть, например, целевой нисходящей BWP. Целевая BWP может быть, например, целевой восходящей BWP. Один или большее количество параметров конфигурации могут включать в себя один или большее количество параметров конфигурации канала PDSCH для целевой BWP целевой соты (например, конфигурация канала PDSCH на фиг. 17). Один или большее количество параметров конфигурации канала PDSCH не могут указывать для целевой BWP по меньшей мере одно состояние TCI (например, отсутствие состояния TCI на фиг. 17).
[0226] В одном из примеров один или большее количество параметров конфигурации могут указывать один или большее количество вторых наборов управляющих ресурсов (coreset). Один или большее количество параметров конфигурации могут указывать один или большее количество вторых наборов coreset, например, для целевой BWP целевой соты. Целевая BWP может включать в себя один или большее количество вторых наборов coreset. Один или большее количество параметров конфигурации может указывать один или большее количество вторых наборов coreset, например, для целевой соты. Целевая сота может включать в себя один или большее количество вторых наборов coreset. Например, один или большее количество вторых наборов coreset - это набор Coreset 2 целевой BWP/соты на фиг. 17.
[0227] В одном из примеров один или большее количество параметров конфигурации могут указывать один или большее количество индексов/идентификаторов/индикаторов второго набора coreset (например, предоставляемых параметром более высокого уровня ControlResourceSetId) для одного или большего количества вторых наборов coreset. В одном из примеров каждый набор coreset из одного или большего количества вторых наборов coreset может быть идентифицирован/указан соответствующим индексом набора coreset из одного или большего количества индексов вторых наборов coreset. В одном из примеров первый набор coreset из одного или большего количества вторых наборов coreset может быть идентифицирован индексом первого набора coreset из одного или большего количества индексов вторых наборов coreset. Второй набор coreset из одного или большего количества вторых наборов coreset может быть идентифицирован индексом второго набора coreset из одного или большего количества индексов вторых наборов coreset.
[0228] Один или большее количество параметров конфигурации не могут указывать для каждого набора coreset из одного или большего количества вторых наборов coreset по меньшей мере одно состояние TCI. Один или большее количество параметров конфигурации могут не указывать для каждого набора coreset из одного или большего количества вторых наборов coreset ни одного состояния TCI. Например, один или большее количество параметров конфигурации не могут указывать для набора coreset (например, набор Coreset 2 на фиг. 17) из одного или большего количества вторых наборов coreset по меньшей мере одно состояние (например, отсутствие состояния TCI на фиг. 17).
[0229] Например, один или большее количество параметров конфигурации могут указывать для целевой BWP целевой соты опорную BWP опорной соты. Например, один или большее количество параметров конфигурации могут указывать для целевой соты опорную соту. Один или большее количество параметров конфигурации канала PDSCH целевой BWP целевой соты могут указывать опорную BWP опорной соты. Один или большее количество параметров конфигурации канала PDSCH целевой BWP могут включать в себя индекс/идентификатор/индикатор, идентифицирующий/указывающий опорную BWP. Один или большее количество параметров конфигурации могут указывать индекс опорной BWP. Один или большее количество параметров конфигурации канала PDSCH целевой BWP могут включать в себя индекс/идентификатор/индикатор обслуживающей соты, идентифицирующий/указывающий опорную соту. Один или большее количество параметров конфигурации могут указывать индекс обслуживающей соты для опорной соты.
[0230] Беспроводное устройство может использовать множество состояний TCI, сконфигурированных для опорной BWP опорной соты, для передачи/приема в целевой BWP целевой соты. Беспроводное устройство может принимать в целевой BWP целевой соты нисходящий сигнал (например, при передаче по каналам PDSCH/PDCCH, CSI-RS, блок SS/PBCH, DCI и т.п.) на основании по меньшей мере одного состояния TCI из множества состояний TCI, сконфигурированных для опорной BWP опорной соты. Беспроводное устройство может передавать в целевой BWP целевой соты восходящий сигнал (например, при передаче PDCCH/PDSCH/SRS и т.п.) на основании по меньшей мере одного состояния TCI из множества состояний TCI, сконфигурированных для опорной BWP опорной соты.
[0231] Беспроводное устройство может принимать команду активации (например, МАС-СЕ, DCI). Команда активации (например, команда активации на фиг. 17) может включать в себя одно или большее количество полей.
[0232] В первом поле из одного или большего количества полей может находиться индекс состояния TCI.
[0233] Во втором поле из одного или большего количества полей может находиться индекс набора coreset.
[0234] В третьем поле из одного или большего количества полей может находиться индекс обслуживающей соты.
[0235] В одном из примеров индекс набора coreset (или второе поле) может быть отличным от нуля. В одном из примеров индекс набора coreset (или второе поле) может быть равным нулю.
[0236] В одном из примеров индекс обслуживающей соты (или третье поле) может указывать/идентифицировать целевую соту.
[0237] Индекс набора coreset (или второе поле) может указывать/идентифицировать набор coreset в целевой соте, на которую указывает индекс обслуживающей соты (или третье поле). Индекс набора coreset (или второе поле) может указывать/идентифицировать набор coreset в целевой соте, например, на основании индекса обслуживающей соты (или третьего поля), указывающего целевую соту. Целевая BWP целевой соты может включать в себя набор coreset. Один или большее количество вторых наборов coreset целевой BWP могут включать в себя набор coreset. Один или большее количество параметров конфигурации могут указывать индекс набора coreset. Один или большее количество индексов вторых наборов coreset могут включать в себя индекс набора coreset.
[0238] Беспроводное устройство может применять состояние TCI, указываемое/идентифицируемое индексом состояния TCI (или первым полем), к набору coreset целевой соты (или целевой BWP целевой соты).
[0239] В одном из примеров множество состояний TCI опорной BWP может включать в себя состояние TCI, указываемое/идентифицируемое индексом состояния TCI (или первым полем). Индекс состояния TCI может указывать состояние TCI среди множества состояний TCI. Индекс состояния TCI может указывать состояние TCI среди множества состояний TCI опорной BWP, например, на основании команды активации, указывающей целевую соту (или целевую BWP). Индекс состояния TCI может указывать состояние TCI среди множества состояний TCI опорной BWP, например, на основании целевой BWP, включающей в себя набор coreset, указываемый командой активации. Индекс состояния TCI может указывать состояние TCI среди множества состояний TCI опорной BWP, например, на основании одного или большего количества параметров конфигурации, указывающих опорную BWP для целевой BWP.
[0240] В одном из примеров один или большее количество параметров конфигурации могут указывать для второго набора coreset опорной соты (или опорной BWP опорной соты) одно или несколько состояний TCI из множества состояний TCI (например, предоставляемых параметром более высокого уровня/PvRC tci-StatesPDCCH-ToAddList и tci-StatesPDCCH-ToReleaseList). Одно или большее количество состояний TCI второго набора coreset могут включать в себя состояние TCI, указываемое/идентифицируемое индексом состояния TCI (или первым полем). Индекс состояния TCI может указывать состояние TCI среди одного или большего количества состояний TCI. Индекс состояния TCI может указывать состояние TCI среди одного или большего количества состояний TCI второго набора coreset опорной BWP, например, на основании команды активации, указывающей целевую соту (или целевую BWP). Индекс состояния TCI может указывать состояние TCI среди одного или большего количества состояний TCI второго набора coreset опорной BWP, например, на основании целевой BWP, включающей в себя набор coreset, указываемый командой активации. Индекс состояния TCI может указывать состояние TCI среди одного или большего количества состояний TCI второго набора coreset опорной BWP, например, на основании одного или большего количества параметров конфигурации, указывающих опорную BWP для целевой BWP.
[0241] В одном из примеров индекс (или второе поле) набора coreset целевой BWP может быть таким же, как индекс второго набора coreset опорной BWP. В одном из примеров один или большее количество параметров конфигурации могут указывать одинаковое количество наборов coreset в целевой BWP и опорной BWP. Базовая станция может обеспечить одинаковое количество наборов coreset в целевой BWP и опорной BWP. Количество наборов coreset из одного или большего количества первых наборов coreset и количество наборов coreset из одного или большего количества вторых наборов coreset могут совпадать.
[0242] В одном из примеров индекс второго набора coreset может быть самым низким/самым высоким среди индексов одного или большего количества вторых наборов coreset в опорной BWP.
[0243] Один или большее количество параметров конфигурации могут указывать индекс второго набора coreset.
[0244] Второй набор coreset может быть связан (или сопоставлен) по меньшей мере с одним набором пространств поиска. По меньшей мере один набор пространств поиска может быть, например, по меньшей мере одним набором общих пространств поиска (CSS, Common Search Space). По меньшей мере один набор пространств поиска может быть, например, по меньшей мере одним набором пространств поиска, не выделенным для конкретного устройства UE (не специфическим для конкретного устройства UE). По меньшей мере один набор пространств поиска может быть, например, по меньшей мере одним набором пространств поиска (CSS), специфическим для конкретного устройства UE.
[0245] В одном из примеров индекс обслуживающей соты (или третье поле) может указывать/идентифицировать опорную соту.
[0246] Индекс набора coreset (или второе поле) может указывать/идентифицировать набор coreset в опорной соте, на которую указывает индекс обслуживающей соты (или третье поле). Индекс набора coreset (или второе поле) может указывать/идентифицировать набор coreset в опорной соте, например, на основании индекса обслуживающей соты (или третьего поля), указывающего опорную соту. Опорная BWP опорной соты может включать в себя набор coreset. Один или большее количество первых наборов coreset опорной BWP могут включать в себя набор coreset. Один или большее количество параметров конфигурации могут указывать индекс набора coreset. Один или большее количество индексов первых наборов coreset могут включать в себя индекс набора coreset.
[0247] Один или большее количество параметров конфигурации могут указывать для набора coreset опорной соты (или опорной BWP опорной соты) одно или несколько состояний TCI из множества состояний TCI (например, предоставляемых параметром более высокого уровня/RRC tci-StatesPDCCH-ToAddList и tci-StatesPDCCH-ToReleaseList).
[0248] Беспроводное устройство может применять состояние TCI, указываемое/идентифицируемое индексом состояния TCI (или первым полем), к набору coreset опорной соты (или опорной BWP опорной соты). Один или большее количество состояний TCI набора coreset может включать в себя состояние TCI. Индекс состояния TCI может указывать состояние TCI среди одного или большего количества состояний TCI. Индекс состояния TCI может указывать состояние TCI среди одного или большего количества состояний TCI набора coreset, например, на основании команды активации, указывающей опорную соту (или опорную BWP). Индекс состояния TCI может указывать состояние TCI среди одного или большего количества состояний TCI набора coreset, например, на основании опорной BWP (или опорной соты), включающей в себя набор coreset, указываемый командой активации. Индекс состояния TCI может указывать состояние TCI среди одного или большего количества состояний TCI набора coreset, например, на основании одного или большего количества параметров конфигурации, не указывающих целевую BWP для опорной BWP.
[0249] В одном из примеров применение состояния TCI к набору coreset может включать в себя мониторинг передачи по каналу PDCCH в наборе coreset на основании состояния TCI. В одном из примеров применение состояния TCI к набору coreset может включать в себя мониторинг передачи информации DCI по каналу PDCCH в наборе coreset на основании состояния TCI. По меньшей мере один антенный порт DMRS для передачи по каналу PDCCH может быть квазисовмещен с опорным сигналом (например, CSI-RS, TRS, блок SS/PBCH), указываемым состоянием TCI. По меньшей мере один антенный порт DMRS для передачи по каналу PDCCH может быть квазисовмещен с учетом типа квазисовмещения (например, QCL-TypeA, QCL-TypeB, QCL-TypeC, QCL-TypeD), указываемого состоянием TCI. По меньшей мере один антенный порт DMRS для передачи по каналу PDCCH информации DCI может быть квазисовмещен с опорным сигналом (например, CSI-RS, TRS, блок SS/PBCH), указываемым состоянием TCI.
[0250] В одном из примеров применение состояния TCI к набору coreset может включать в себя прием передачи по каналу PDCCH посредством набора coreset на основании состояния TCI. Беспроводное устройство может осуществлять прием передачи по каналу PDCCH посредством набора coreset на основании опорного сигнала, указываемого состоянием TCI. Беспроводное устройство может принимать передачу по каналу PDCCH посредством набора coreset с помощью приемного луча, который является тем же, что и приемный луч, используемый для приема опорного сигнала.
[0251] На фиг. 18 показан пример блок-схемы алгоритма активации состояния TCI согласно одному из вариантов осуществления настоящего изобретения.
[0252] В одном из примеров, беспроводное устройство может получать, например, от базовой станции, одно или большее количество сообщений, включающих в себя один или большее количество параметров конфигурации. Один или большее количество параметров конфигурации могут указывать множество состояний TCI для опорной BWP опорной соты. Один или большее количество параметров конфигурации могут указывать опорную BWP опорной соты для целевой BWP целевой соты.
[0253] Беспроводное устройство может принимать команду активации (например, МАС-СЕ, DCI). Команда активации может включать в себя индекс состояния TCI. Команда активации может содержать индекс набора управляющих ресурсов (coreset). Команда активации может включать в себя индекс обслуживающей соты.
[0254] Индекс обслуживающей соты может идентифицировать/указывать, например, целевую соту. Беспроводное устройство может применять к набору coreset состояние TCI, идентифицируемое/указываемое индексом состояния TCI. Одно или большее количество состояний TCI опорной BWP может включать в себя состояние TCI. Индекс состояния TCI может указывать состояние TCI среди множества состояний TCI. Целевая BWP может включать в себя набор coreset. Набор coreset может быть указан/идентифицирован индексом набора coreset.
[0255] Индекс обслуживающей соты может идентифицировать/указывать, например, опорную соту. Индекс набора coreset может указывать/идентифицировать набор coreset в опорной соте, например, на основании индекса обслуживающей соты, указывающего/идентифицирующего опорную соту. Один или большее количество параметров конфигурации могут указывать для набора coreset одно или большее количество состояний TCI среди множества состояний TCI. Беспроводное устройство может применять к набору coreset состояние TCI, идентифицируемое/указываемое индексом состояния TCI. Один или большее количество состояний TCI набора coreset может включать в себя состояние TCI. Индекс состояния TCI может указывать состояние TCI среди одного или большего количества состояний TCI набора coreset. Опорная BWP может включать в себя набор coreset.
[0256] На фиг. 19 и фиг. 20 показан пример блок-схемы алгоритма деактивации соты согласно одному из вариантов осуществления настоящего изобретения.
[0257] На фиг. 19 беспроводное устройство может деактивировать опорную соту. Беспроводное устройство может деактивировать опорную соту, например, по истечении таймера деактивации SCell. (например, sCellDeactivationTimer). Один или большее количество параметров конфигурации могут указывать таймер деактивации SCell для опорной соты. Беспроводное устройство может деактивировать опорную соту, например, на основании приема команды (например, МАС-СЕ, SCell Activation/Deactivation MAC СЕ), указывающей на деактивацию опорной соты.
[0258] Беспроводное устройство может деактивировать целевую соту, например, на основании деактивации опорной соты.
[0259] На фиг. 19 беспроводное устройство может деактивировать опорную BWP. Беспроводное устройство может деактивировать опорную BWP, например, по истечении таймера отсутствия активности BWP. Один или большее количество параметров конфигурации могут указывать таймер отсутствия активности BWP для опорной соты (или для опорной BWP). Беспроводное устройство может деактивировать опорную соту, например, на основании приема команды (например, RRC, DCI, MAC-СЕ СЕ), указывающей вторую BWP опорной соты. Вторая BWP может отличаться от опорной BWP опорной соты. Беспроводное устройство может переключаться с опорной BWP на вторую BWP. Беспроводное устройство может активировать вторую BWP в качестве активной BWP опорной соты. Беспроводное устройство может деактивировать опорную BWP на основании переключения с опорной BWP на вторую BWP.
[0260] Беспроводное устройство может деактивировать целевую BWP, например, на основании деактивации опорной BWP. Беспроводное устройство может переключаться с целевой BWP на третью BWP целевой соты. Вторая BWP опорной соты может быть опорной BWP для третьей BWP целевой соты. Беспроводное устройство может переключаться с целевой BWP на третью BWP целевой соты, например, на основании переключения с опорной BWP на вторую BWP опорной соты. Один или большее количество параметров конфигурации могут указывать вторую BWP опорной соты для третьей BWP целевой соты.
[0261] На фиг. 20 беспроводное устройство может запускать (или перезапускать) таймер деактивации SCell целевой соты. Один или большее количество параметров конфигурации могут указывать таймер деактивации SCell для целевой соты. Беспроводное устройство может запускать (или перезапускать) таймер деактивации SCell целевой соты, например, на основании приема информации DCI, указывающей выделение/назначение нисходящего ресурса или выделение/назначение восходящего ресурса. Беспроводное устройство может осуществлять прием транспортного блока (или передачи по каналу PDSCH), когда информация DCI указывает выделение/назначение нисходящего ресурса. Выделение/назначение нисходящего ресурса может указывать один или большее количество ресурсов для приема транспортного блока. Беспроводное устройство может осуществлять передачу транспортного блока (или передачу по каналу PUSCH), когда информация DCI указывает выделение/назначение восходящего ресурса. Выделение/назначение восходящего ресурса может указывать один или большее количество ресурсов для передачи транспортного блока. Беспроводное устройство может осуществлять прием информации DCI, например, в целевой соте. Беспроводное устройство может осуществлять прием информации DCI, например, в соте планирования целевой соты. Выделение/назначение нисходящего ресурса или выделение/назначение восходящего ресурса могут относиться к целевой соте. Беспроводное устройство может запускать (или перезапускать) таймер деактивации SCell целевой соты, например, на основании приема блока MAC-PDU (или транспортного блока, или передачи по каналу PDSCH) для сконфигурированного назначения/выделения нисходящего ресурса (например, передачи SPS PDSCH). Беспроводное устройство может запускать (или перезапускать) таймер деактивации SCell целевой соты, например, на основании передачи блока MAC-PDU (или транспортного блока, или передачи по каналу PUSCH) для сконфигурированного назначения/выделения восходящего ресурса (например, например, сконфигурированный восходящий ресурс Туре-1, сконфигурированный восходящий ресурс Туре-2).
[0262] Беспроводное устройство может запускать (перезапускать) таймер деактивации SCell опорной соты, например, на основании запуска (или перезапуска) таймера деактивации SCell целевой соты.
[0263] На фиг. 20 беспроводное устройство может запускать (или перезапускать) таймер отсутствия активности BWP целевой соты (или целевой BWP целевой соты). Один или большее количество параметров конфигурации могут указывать таймер отсутствия активности BWP для целевой соты (или целевой BWP целевой соты). Беспроводное устройство может запускать (или перезапускать) таймер отсутствия активности BWP целевой соты (или целевой BWP целевой соты), например, на основании приема информации DCI, указывающей выделение/назначение нисходящего ресурса или выделение/назначение восходящего ресурса. Беспроводное устройство может осуществлять прием транспортного блока (или передачи по каналу PDSCH), когда информация DCI указывает выделение/назначение нисходящего ресурса. Выделение/назначение нисходящего ресурса может указывать один или большее количество ресурсов для приема транспортного блока. Беспроводное устройство может осуществлять передачу транспортного блока (или передачу по каналу PUSCH), когда информация DCI указывает выделение/назначение восходящего ресурса. Выделение/назначение восходящего ресурса может указывать один или большее количество ресурсов для передачи транспортного блока. Беспроводное устройство может осуществлять прием информации DCI, например, в целевой соте (или целевой BWP целевой соты). Беспроводное устройство может осуществлять прием информации DCI, например, в соте планирования целевой соты (или целевой BWP целевой соты). Выделение/назначение нисходящего ресурса или выделение/назначение восходящего ресурса могут относиться к целевой соте (или целевой BWP целевой соты). Беспроводное устройство может запускать (или перезапускать) таймер отсутствия активности BWP целевой соты (или целевой BWP целевой соты), например, на основании приема блока MAC-PDU (или транспортного блока, или передачи по каналу PDSCH) для сконфигурированного назначения/выделения нисходящего ресурса (например, передачи SPS PDSCH). Беспроводное устройство может запускать (или перезапускать) таймер отсутствия активности BWP целевой соты (или целевой BWP целевой соты), например, на основании передачи блока MAC-PDU (или транспортного блока, или передачи по каналу PUSCH) для сконфигурированного назначения/выделения восходящего ресурса (например, например, сконфигурированный восходящий ресурс Туре-1, сконфигурированный восходящий ресурс Туре-2).
[0264] Беспроводное устройство может запускать (или перезапускать) таймер отсутствия BWP опорной соты (или опорной BWP опорной соты), например, на основании запуска (или перезапуска) таймера отсутствия активности BWP целевой соты (или целевой BWP целевой соты).
[0265] В одном из примеров один или большее количество параметров конфигурации не могут указывать таймер деактивации SCell опорной соты. Один или большее количество параметров конфигурации не могут указывать таймер деактивации SCell опорной соты, например, на основании одного или большего количества параметров конфигурации, указывающих опорную соту для целевой соты. Один или большее количество параметров конфигурации не могут указывать таймер деактивации SCell опорной соты, например, на основании того факта, что опорная сота является опорной сотой для целевой соты. Беспроводное устройство может деактивировать опорную соту, например, на основании приема команды (например, МАС-СЕ, SCell Activation/Deactivation MAC СЕ), указывающей на деактивацию опорной соты.
[0266] В одном из примеров один или большее количество параметров конфигурации не могут указывать опорную BWP (или опорную соту, или опорную BWP опорной соты) для целевой BWP целевой соты. Один или большее количество параметров конфигурации канала PDSCH целевой соты не могут указывать опорную BWP (или опорную соту, или опорную BWP опорной соты) для целевой BWP целевой соты. Беспроводное устройство может определять опорную BWP по умолчанию (или опорную соту по умолчанию, или опорную BWP опорной соты по умолчанию), например, на основании одного или большего количества параметров конфигурации, не указывающих опорную BWP для целевой BWP целевой соты.
[0267] В одном из примеров один или большее количество параметров конфигурации могут указывать для каждой соты из одной или большего количества сот по меньшей мере одно соответствующее состояние TCI (например, предоставляемое параметром более высокого уровня tci-StatesToAddModList и/или tci-States-ToReleaseList в PDSCH_Config, PUSCH_Config, PUCCH_Config и т.д.). В одном из примеров один или большее количество параметров конфигурации могут указывать по меньшей мере одно первое состояние TCI для первой соты из одной или большего количества сот. Один или большее количество параметров конфигурации могут указывать по меньшей мере одно второе состояние TCI для второй соты из одной или большего количества сот. Одна или большее количество сот могут быть, например, активными. Беспроводное устройство может, например, активировать одну или большее количество сот (или каждую соту из одной или большего количества сот).
[0268] Один или большее количество параметров конфигурации могут указывать один или большее количество индексов обслуживающих сот для одной или большего количества сот. Каждая сота из одного или большего количества сот может быть идентифицирована/указана соответствующим индексом обслуживающей соты из одного или большего количества индексов обслуживающих сот.
[0269] В одном из примеров опорная сота по умолчанию может быть идентифицирована/указана индексом соты, который является самым низким/самым высоким среди одного или большего количества индексов обслуживающей соты одной или большего количества сот. Индекс обслуживающей соты для опорной соты по умолчанию может быть самым низким/самым высоким среди одного или большего количества индексов обслуживающей соты для одной или большего количества сот. Одна или большее количество сот могут включать в себя опорную соту. Один или большее количество индексов обслуживающей соты могут включать в себя индекс обслуживающей соты для опорной соты по умолчанию.
[0270] В одном из примеров опорная сота по умолчанию может включать в себя одну или большее количество BWP. Одна или большее количество BWP могут быть, например, одной или большим количеством нисходящих BWP. Одна или большее количество BWP могут быть, например, одной или большим количеством восходящих BWP. Один или большее количество параметров конфигурации могут указывать один или большее количество индексов для одной или большего количества BWP. Один или большее количество параметров конфигурации могут указывать для каждой BWP из одной или большего количества BWP соответствующий индекс из одного или большего количества индексов BWP.
[0271] Одна или большее количество BWP опорной соты по умолчанию могут включать в себя опорную BWP по умолчанию. Опорная BWP по умолчанию может быть, например, активной BWP опорной соты по умолчанию. Опорная BWP по умолчанию может быть, например, текущей активной BWP опорной соты по умолчанию. Опорная BWP по умолчанию может, например, идентифицироваться/указываться индексом BWP, который является самым низким/самым высоким из одного или большего количества индексов одной или большего количества BWP. Один или большее количество индексов BWP могут включать в себя индекс опорной BWP по умолчанию.
[0272] Беспроводное устройство может принимать/передавать в целевой BWP целевой соты восходящий/нисходящий сигнал (например, передача PDSCH/PDCCH, CSI-RS, блок SS/PBCH, DCI, передача PUSCH/PUCCH/SRS и т.п.) на основании по меньшей мере одного состояния TCI из множества состояний TCI, сконфигурированных для опорной BWP по умолчанию опорной соты по умолчанию.
| название | год | авторы | номер документа |
|---|---|---|---|
| ТЕРМИНАЛ И СПОСОБ РАДИОСВЯЗИ | 2019 |
|
RU2795833C1 |
| Прием ответа произвольного доступа | 2020 |
|
RU2785977C1 |
| ТЕРМИНАЛ И СПОСОБ РАДИОСВЯЗИ | 2020 |
|
RU2824788C1 |
| ТЕРМИНАЛ И СПОСОБ РАДИОСВЯЗИ | 2019 |
|
RU2795931C1 |
| ПОЛЬЗОВАТЕЛЬСКИЙ ТЕРМИНАЛ И СПОСОБ РАДИОСВЯЗИ | 2019 |
|
RU2792878C1 |
| СПОСОБ И ОБОРУДОВАНИЕ ДЛЯ ПЕРЕДАЧИ ИЛИ ПРИЕМА ДАННЫХ С ИСПОЛЬЗОВАНИЕМ СОВМЕСТНОЙ СВЯЗИ В СИСТЕМЕ БЕСПРОВОДНОЙ СВЯЗИ | 2021 |
|
RU2832174C1 |
| ОБОРУДОВАНИЕ ПОЛЬЗОВАТЕЛЯ, БАЗОВЫЕ СТАНЦИИ И СПОСОБЫ | 2018 |
|
RU2763158C2 |
| ОБОРУДОВАНИЕ ПОЛЬЗОВАТЕЛЯ, БАЗОВЫЕ СТАНЦИИ И СПОСОБЫ | 2019 |
|
RU2771959C2 |
| ПОЛЬЗОВАТЕЛЬСКИЙ ТЕРМИНАЛ И БАЗОВАЯ СТАНЦИЯ | 2018 |
|
RU2764228C1 |
| ПОЛЬЗОВАТЕЛЬСКИЙ ТЕРМИНАЛ И СПОСОБ РАДИОСВЯЗИ | 2018 |
|
RU2778100C1 |
Изобретение относится к сетям мобильной связи. Технический результат изобретения заключается в возможности точно выделять терминалу ресурсы частотной области и ресурсы временной области, тем самым улучшая использование спектра и снижая энергопотребление терминала. Беспроводное устройство принимает один или большее количество параметров конфигурации целевой соты, указывающих состояния индикатора конфигурации передачи (TCI) опорной соты для использования беспроводным устройством при приеме нисходящих сигналов в целевой соте. В случае деактивации опорной соты беспроводное устройство может деактивировать целевую соту. 7 н. и 17 з.п. ф-лы, 33 ил.
1. Способ приема параметров конфигурации целевой соты, выполняемый беспроводным устройством и включающий в себя:
прием одного или более сообщений, содержащих один или более параметров конфигурации, указывающих:
опорную часть полосы частот (BWP) опорной соты для целевой BWP целевой соты; и
одно или более состояние индикатора конфигурации передачи (TCI) для опорной BWP опорной соты;
прием команды активации, причем команда активации содержит:
индекс состояния TCI,
индекс набора управляющих ресурсов (CORESET) и
индекс обслуживающей соты, идентифицирующий целевую соту; и
применение состояния TCI, из одного или более состояний TCI опорной BWP, идентифицированного индексом состояния TCI, к CORESET целевой BWP, идентифицированному индексом CORESET.
2. Способ приема параметров конфигурации целевой соты, выполняемый беспроводным устройством и включающий в себя:
прием одного или более параметров конфигурации, указывающих опорную часть полосы частот (BWP) опорной соты для целевой BWP целевой соты; и
применение состояния индикатора конфигурации передачи (TCI), из одного или более состояний TCI опорной BWP, к набору управляющих ресурсов (CORESET) целевой BWP.
3. Способ по п.2, в котором один или более параметров конфигурации также указывают одно или более состояние TCI для опорной BWP опорной соты.
4. Способ по п.2 или 3, также содержащий прием команды активации, причем команда активации содержит по меньшей мере одно из следующего:
индекс состояния TCI, связанный с упомянутым состоянием TCI,
индекс CORESET упомянутого CORESET и
индекс обслуживающей соты, идентифицирующий целевую соту.
5. Способ по п.4, в котором
команда активации идентифицирует состояние TCI,
команда активации идентифицирует CORESET.
6. Способ по п.5, в котором один или более параметров конфигурации не указывают никаких состояний TCI для целевой BWP целевой соты.
7. Способ по п.6, в котором один или более параметров конфигурации содержат один или более параметров конфигурации физического нисходящего канала общего доступа (PDSCH) опорной BWP опорной соты, и один или более параметров конфигурации PDSCH указывают одно или более состояний TCI.
8. Способ по п.7, в котором один или более параметров конфигурации содержат один или более параметров конфигурации PDSCH целевой BWP целевой соты, и один или более параметров конфигурации PDSCH указывают опорную BWP опорной соты.
9. Способ по п.8, в котором один или более параметров конфигурации PDSCH содержат по меньшей мере одно из:
индекса BWP опорной BWP и
индекса соты опорной соты.
10. Способ по п.9, в котором индекс CORESET не равен нулю.
11. Способ по п.10, в котором применение состояния TCI к CORESET содержит мониторинг физического нисходящего канала управления (PDCCH), на наличие нисходящей управляющей информации (DCI), в наборе CORESET на основании состояния TCI.
12. Способ по п.11, в котором по меньшей мере один антенный порт опорного сигнала демодуляции (DMRS) PDCCH, переносящего DCI, квазисовмещен с опорным сигналом, указываемым состоянием TCI.
13. Способ по п.12, также содержащий прием, посредством CORESET, DCI на основании состояния TCI.
14. Способ по п.13, в котором один или более параметров конфигурации указывают, для второго CORESET опорной BWP, по меньшей мере одно состояние TCI из одного или более состояний TCI.
15. Способ по п.14, также содержащий:
прием второй команды активации, содержащей:
второй индекс состояния TCI,
второй индекс CORESET и
второй индекс обслуживающей соты, идентифицирующий опорную соту, и
применение второго состояния TCI, из по меньшей мере одного состояния TCI второго CORESET, идентифицированного вторым индексом состояния TCI, ко второму CORESET опорной BWP, идентифицированному вторым индексом CORESET.
16. Способ по п.15, в котором:
по меньшей мере одно состояние TCI второго CORESET в опорной BWP содержит состояние TCI, и один или более параметров конфигурации указывают, для второго CORESET, по меньшей мере одно состояние TCI, при этом одно или более состояний TCI содержат по меньшей мере одно состояние TCI.
17. Способ по п.16, в котором второй индекс CORESET второго CORESET является таким же, как индекс CORESET.
18. Способ по п.17, в котором второй индекс CORESET второго CORESET является самым низким или самым высоким среди одного или более индексов CORESET одного или более CORESET в опорной BWP.
19. Способ по п.18, в котором второй CORESET связан по меньшей мере с одним набором общих пространств поиска.
20. Беспроводное устройство связи, включающее в себя:
один или большее количество процессоров; и
память, хранящую инструкции, которые при исполнении одним или большим количеством процессоров заставляют беспроводное устройство выполнять способ по любому из пп.1-19.
21. Способ передачи параметров конфигурации целевой соты, выполняемый базовой станцией и включающий в себя:
передачу беспроводному устройству одного или более сообщений, содержащих один или более параметров конфигурации, указывающих:
опорную часть полосы частот (BWP) опорной соты для целевой BWP целевой соты; и
одно или более состояние индикатора конфигурации передачи (TCI) для опорной BWP опорной соты;
передачу команды активации, причем команда активации содержит:
индекс состояния TCI,
индекс набора управляющих ресурсов (CORESET) и
индекс обслуживающей соты, идентифицирующий целевую соту; и
применение состояния TCI, из одного или более состояний TCI опорной BWP, идентифицированного индексом состояния TCI, к CORESET целевой BWP, идентифицированному индексом CORESET.
22. Способ передачи параметров конфигурации целевой соты, выполняемый базовой станцией и включающий в себя:
передачу беспроводному устройству одного или более параметров конфигурации, указывающих опорную часть полосы частот (BWP) опорной соты для целевой BWP целевой соты; и
применение состояния индикатора конфигурации передачи (TCI), из одного или более состояний TCI опорной BWP, к набору управляющих ресурсов (CORESET) целевой BWP.
23. Базовая станция, включающая в себя:
один или большее количество процессоров; и
память, хранящую инструкции, которые при исполнении одним или большим количеством процессоров заставляют базовую станцию выполнять способ по п.21 или 22.
24. Система связи, содержащая:
базовую станцию, включающую один или более первых процессоров и первую память, хранящую инструкции, которые при исполнении одним или более первых процессоров заставляют базовую станцию:
передавать один или более параметров конфигурации, указывающих опорную часть полосы частот (BWP) опорной соты для целевой BWP целевой соты; и
применять состояние индикатора конфигурации передачи (TCI), из одного или более состояний TCI опорной BWP, к набору управляющих ресурсов (CORESET) целевой BWP; и
беспроводное устройство, включающее один или более вторых процессоров и вторую память, хранящую инструкции, которые при исполнении одним или более вторых процессоров заставляют беспроводное устройство:
принимать от базовой станции один или более параметров конфигурации и
применять состояние TCI, из одного или более состояний TCI опорной BWP, к CORESET целевой BWP.
| US 2019296805 A1, 26.09.2019 | |||
| WO 2021011442 A1, 21.01.2021 | |||
| СИСТЕМА И СПОСОБ ДЛЯ РАБОТЫ С ЧАСТЬЮ ШИРИНЫ ПОЛОСЫ | 2019 |
|
RU2747272C1 |
| WO 2019001523 A1, 03.01.2019 | |||
| WO 2019195528 A1, 10.10.2019. | |||
Авторы
Даты
2025-04-14—Публикация
2022-08-02—Подача