Изобретение относится к нефтегазодобывающей промышленности, в частности к устройству для обслуживания устьевого сальника нефтегазодобывающей скважины.
Известно устройство для набивки устьевого сальника нефтегазодобывающей скважины (патент RU № 2202032, МПК Е21В 33/03, опубл. 10.04.2003 Бюл. № 10), укомплектованное бойком, выполненным в виде снабженного парой боковых ручек, расположенных на одном уровне друг напротив друга, цилиндрического бруска с открытым продольным зевом, причем оно включает шарнирно-рычажный плоский механизм в виде симметричного относительно центральной диагонали четырехугольника, на продолжении центральной диагонали за шарниром с одной стороны установлена ручка, направление движения которой совпадает с центральной диагональю четырехугольника, а с другой стороны свободные концы сторон четырехугольника снабжены образующими цилиндр полувтулками, внутренняя поверхность которых состоит из верхней конусной и нижней установочной частей, выполненных согласно диаметру сальниковой полости устьевого сальника и наружному диаметру его корпуса соответственно, при этом открытый продольный зев цилиндрического бруска выполнен под устьевой шток, а его наружный диаметр выполнен в соответствии с диаметром сальниковой полости.
Недостатками данного устройства являются узкая область применения из-за возможности использования только для набивки устьевым сальником сальника устьевых герметизаторов, сложность изготовления и, как следствие, низкая надежность из-за наличия большого количества подвижных, подгоняемых к друг другу деталей и необходимость применения только мускульной силы обслуживающего персонала для обслуживания сальников.
Известно также устройство для извлечения уплотнительных элементов из устьевого сальника (патент RU № 2809390, МПК Е21В 33/03, В25В 27/14, опубл. 11.12.2023 Бюл. № 35), включающее разрезную трубу с продольным пазом под устьевой шток и зацепом на нижнем конце, две ручки, закрепленные на наружной поверхности трубы радиально и разнонаправленно, причем снаружи трубы установлен цилиндрический полый корпус с продольным пазом под устьевой шток, с двух сторон от которого выполнены сквозные, открытые сверху винтовые проточки под ручки трубы, а зацеп на нижнем конце трубы изготовлен в виде двух диаметрально противоположных заостренных книзу игл длиной 2-3 см, загнутых к оси трубы под углом 30-40°, при этом корпус снизу оснащен элементом соединения с устьевым сальником.
Недостатками данного устройства являются узкая область применения из-за возможности использования только для извлечения устьевого сальника из устьевых герметизаторов и необходимость применения только мускульной силы и массы обслуживающего персонала для обслуживания сальников.
Наиболее близким по технической сущности является устройство для замены устьевого сальника (патент RU № 2201494, МПК Е21В 33/03, опубл. 27.03.2003 Бюл. № 9) нефтегазодобывающей скважины, состоящего из сальниковых колец, размещенных в сальниковой полости между устьевым штоком и корпусом устьевого сальника, включающее съемник, изготовленный из металлического стержня с рабочим концом, причем рабочий конец металлического стержня содержит установленные на одном конце его корпуса наборы из внутренних и наружных расположенных по зонам зацепления съемников, у которых зубообразные насечки направлены соответственно по внутреннему и наружному диаметрам сальникового кольца и имеют вид наконечника рыболовного крючка, на другом конце его корпуса предусмотрена головка, выполненная в виде буртика в соответствии с диаметром сальниковой полости, на промежуточном участке между головкой и наборами съемников на корпусе установлен ударник с возможностью ограниченного возвратно-поступательного движения, причем на устройстве предусмотрен общий открытый боковой паз под устьевой шток.
Недостатками данного устройства являются низкая надежность из-за наличия внутренних и наружных расположенных по зонам зацепления (двойных) съемников, которые из-за небольшой толщины самих сальников необходимо изготавливать тонкими, склонными, как следствие, к поломке при транспортировке и/или силовом воздействии при работе, а также необходимость применения только мускульной силы обслуживающего персонала для обслуживания сальников или ударника, силовое воздействие которого не контролируемо м зависит от опыта работы обслуживающего персонала (человеческий фактор).
Техническим результатом предполагаемого изобретения является создание конструкции устройства для замены устьевого сальника, обеспечивающего надежность за счет использования только наружных утолщённых съемников и облегчающего съем и установку сальников за счет использования рычагов для исключения при этом человеческого фактора.
Техническим решением является устройство для замены устьевого сальника нефтегазодобывающей скважины, состоящего из сальниковых колец, размещенных в сальниковой полости между устьевым штоком и корпусом устьевого сальника, включающее полый корпус и соединенные с ним стержни с рабочим концом, у которых зубообразные насечки направлены по наружному диаметру сальникового кольца, имеющие вид наконечника рыболовного крючка, и упоры выполненные с возможностью взаимодействия с соответствующими устьевыми сальниковыми кольцами при установке.
Новым является то, что стержни выше рабочего конца снабжены утолщением с наружной резьбой, а упоры выполнены в виде полых колпачков, одевающихся на рабочие концы при установке сальниковых колец и транспортировке с внутренней резьбой под наружную резьбу соответствующего стрежня, при этом полый корпус изготовлен в виде двух шарнирно соединенных половинок, выполненный с возможностью охвата снаружи корпуса устьевого сальника и фиксации на нем, каждая половинка полого корпуса сверху оснащена парными выступами с установленной между ними осью под соответствующий рычаг с шарнирным соединением внутри, причем стержни соединены с полым корпусом через шарнирное соединение рычага.
На фиг. 1 изображен общий вид устройства для замены устьевого сальника без упоров.
На фиг. 2 изображен вид сбоку устройства для замены устьевого сальника.
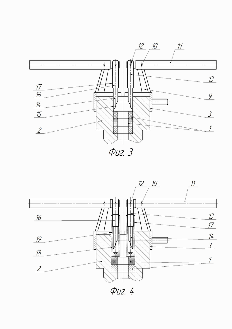
На фиг. 3 изображен продольный разрез устройства для замены устьевого сальника без упоров на корпусе устьевого сальника для извлечения.
На фиг. 4 изображен продольный разрез устройства для замены устьевого сальника с упорами на корпусе устьевого сальника для установки.
Устройство для замены устьевого сальника нефтегазодобывающей скважины (не показана), состоящего из сальниковых колец 1 (фиг. 3 и 4), размещенных в сальниковой полости между устьевым штоком (не показан) и корпусом 2 устьевого сальника, включает в себя полый корпус 3 (фиг. 1), состоящий половинок 4 и 5, соединенных при помощи шарнира 6 для охвата снаружи корпус 2 (фиг. 3 и 4) устьевого сальника и фиксации на нем, например, при помощи резьбового соединения 7 (фиг. 2) с эксцентриком 8, простого резьбового соединения (не показан), накидной скобы (не показана) ли т.п. Каждая половинка 4 (фиг. 1) и 5 полого корпуса 3 сверху оснащена парными выступами 9 с установленной между ними осью 10 под соответствующий рычаг 11, оснащенный внутри шарнирным соединением 12 под соответствующий толстый и прочный стержень 13 с рабочим концом 14. Каждый рабочий конец 14 снизу снабжен зубообразными насечками 15, направленными по наружному диаметру сальникового кольца 1 (фиг. 3), имеющие вид наконечника рыболовного крючка. Стержни 13 выше рабочего конца 14 снабжены утолщением 16 с наружной резьбой 17, а упоры выполнены в виде полых колпачков 18 (фиг. 4), одевающихся на рабочие концы 14 при установке сальниковых колец 1 и транспортировке с внутренней резьбой 19 под наружную резьбу 17 соответствующего утолщения 16 соответствующего стрежня 13.
Устройство для замены устьевого сальника работает следующим образом.
Во время эксплуатации нефтегазодобывающей скважины возможет выход устьевого сальника из строя (нарушение герметизации) с просачиванием скважинной жидкости на устье этой скважины. Для замены колец 1 (фиг. 3) устьевого сальника к нефтегазодобывающей скважине доставляют устройство для замены устьевого сальника. С корпуса 2 устьевого сальника поднимают по штоку и фиксируют сверху крышки, упоры и т.п. (не показаны), прижимающие и фиксирующие кольца 1 в корпусе 2. Со стержней 13 (фиг. 4) при помощи резьб 17 и 19 скручивают колпачки 18, защищающие стержни 13 с рабочими концами 14 от повреждений при транспортировке. Половинки 4 (фиг. 1) и 5 полого корпуса 3 при помощи шарнира 6 раздвигают и после охвата корпуса 2 (фиг. 3) сжимают и фиксируют на корпуса 2, например, при помощи резьбового соединения 7 (фиг. 2) с эксцентриком 8. Рычаги 11 (фиг. 3) поднимают вверх, обеспечивая через ось 10, установленную на парных выступах 9, и шарнирного соединения 12 опускание стержней 13 вниз и взаимодействие их рабочих концов 14 с зубообразными насечками 15 с наружным диаметром верхнего сальникового кольца 1. При этом отжимая рабочим концом 14 сальниковое кольцо 1 внутрь от стенок корпуса 2 и зацепляя его снаружи зубообразными насечками 15, имеющего вид наконечника рыболовного крючка. После чего опуская рычаги 11 вниз и, как следствие, поднимая стержни 13 вверх из корпуса 2, извлекают верхнее сальниковое кольцо 1. Последовательным поднятием и опусканием рычагов 11 аналогичным описанному выше способом последовательно извлекают из корпуса 2 остальные сальниковые кольца 1.
Для установки новых сальниковых колец 1 в корпус 2 половинки 4 (фиг. 1) и 5 полого корпуса 3 при помощи шарнира 6 раздвигают, предварительно разъединяя, например, при помощи резьбового соединения 7 (фиг. 2) с эксцентриком 8, и снимают с корпуса 2 (фиг. 3). На резьбы 17 утолщений 16 стержней 13 накручивают при помощи резьбы 19 соответствующие колпачки 18, играющие роль упоров. Половинки 4 (фиг. 1) и 5 полого корпуса 3 при помощи шарнира 6 раздвигают и после охвата корпуса 2 (фиг. 4) сжимают и фиксируют на корпуса 2, например, при помощи резьбового соединения 7 (фиг. 2) с эксцентриком 8. Рычаги 11 (фиг. 4) опускают вниз, обеспечивая через ось 10, установленную на парных выступах 9, и шарнирного соединения 12 поднятие стержней 13 вверх и освобождая доступ внутрь корпуса 2, в которое вставляют нижнее сальниковое кольцо 1. После чего поднимая рычаги 11 вниз и, как следствие, опуская вниз стержни 13 с колпачками 18, которые взаимодействуя с сальниковым кольцом 1, проталкивают его внутрь корпуса 2 до установки в посадочное место, что определяется резким увеличением прикладываемой нагрузки на рычагах 11. Опуская рычаги вниз, опять освобождают доступ внутрь корпуса 2, в которое вставляют следующее сальниковое кольцо 1. Последовательным опусканием и поднятием рычагов 11 аналогичным описанному выше способом последовательно устанавливают в корпус 2 все необходимые сальниковые кольца 1.
Так как рычаги 11 (фиг. 3 и 4) за счет разницы плеч изнутри и снаружи осей 10 усиливают прилагаемую силу для ввода стержней 13 в корпус с сальниковыми кольцами 1 (фиг. 3) и извлечения их из корпуса 2, а также при установке сальниковых колец 1 (фиг. 4) в корпус 2, то это значительно упрощает работу обслуживающему персоналу.
После проведения работ половинки 4 (фиг. 1) и 5 полого корпуса 3 при помощи шарнира 6 раздвигают, предварительно разъединяя, например, при помощи резьбового соединения 7 (фиг. 2) с эксцентриком 8, и снимают с корпуса 2 (фиг. 4). После чего устройство для замены сальника готово к транспортировке к другой нефтегазодобывающей скважине.
На корпус 2 устьевого сальника опускают по штоку и фиксируют крышки, упоры и т.п. (не показаны), прижимающие и фиксирующие кольца 1 в корпусе 2, обеспечивая работоспособность устьевого сальника.
Предлагаемое устройство для замены устьевого сальника обеспечивает надежность за счет использования только наружных утолщённых стержней-съемников, облегчает съем и установку сальников за счет использования рычагов, исключая при этом человеческого фактор.
| название | год | авторы | номер документа |
|---|---|---|---|
| УСТРОЙСТВО ДЛЯ ЗАМЕНЫ УСТЬЕВОГО САЛЬНИКА | 2001 |
|
RU2201494C2 |
| Устройство для извлечения уплотнительных элементов из устьевого сальника | 2023 |
|
RU2809390C1 |
| УСТРОЙСТВО ДЛЯ ИЗВЛЕЧЕНИЯ УПЛОТНИТЕЛЬНЫХ ЭЛЕМЕНТОВ ИЗ УСТЬЕВОГО САЛЬНИКА | 2017 |
|
RU2648385C1 |
| ИНСТРУМЕНТ ДЛЯ ИЗВЛЕЧЕНИЯ И НАБИВКИ САЛЬНИКОВ В УСТЬЕВОЙ САЛЬНИК УСТЬЕВОЙ АРМАТУРЫ СКВАЖИНЫ | 2016 |
|
RU2630008C1 |
| ЭЛЕВАТОР ДЛЯ НАБИВКИ УСТЬЕВОГО САЛЬНИКА | 2001 |
|
RU2209924C1 |
| ЭЛЕВАТОР ДЛЯ НАБИВКИ УСТЬЕВОГО САЛЬНИКА | 2000 |
|
RU2173762C1 |
| Способ герметизации устья скважины, эксплуатирующейся установкой скважинного штангового насоса с подъёмом продукции по эксплуатационной колонне, и герметизирующее устройство сальника устьевого самоустанавливающегося для герметизации устья при замене сальниковых уплотнителей | 2021 |
|
RU2769792C1 |
| УСТРОЙСТВО ДЛЯ НАБИВКИ УСТЬЕВОГО САЛЬНИКА | 2001 |
|
RU2202032C1 |
| ТЕРМОИЗОЛИРОВАННАЯ КОЛОННА | 1996 |
|
RU2133324C1 |
| УСТРОЙСТВО ДОЗИРОВАНИЯ РЕАГЕНТА В СКВАЖИНУ С ПРИВОДОМ ОТ СТАНКА-КАЧАЛКИ | 2010 |
|
RU2433249C1 |
Изобретение относится к нефтегазодобывающей промышленности, в частности к устройству для обслуживания устьевого сальника нефтегазодобывающей скважины. Устройство для замены устьевого сальника нефтегазодобывающей скважины включает полый корпус и соединенные с ним стержни с рабочим концом, у которых зубообразные насечки направлены по наружному диаметру сальникового кольца, имеющие вид наконечника рыболовного крючка, и упоры, выполненные с возможностью взаимодействия с соответствующими устьевыми сальниковыми кольцами при установке. Стержни выше рабочего конца снабжены утолщением с наружной резьбой. Упоры выполнены в виде полых колпачков, одевающихся на рабочие концы при установке сальниковых колец и транспортировке с внутренней резьбой под наружную резьбу соответствующего стрежня. Полый корпус изготовлен в виде двух шарнирно соединенных половинок, выполненных с возможностью охвата снаружи корпуса устьевого сальника и фиксации на нем. Каждая половинка полого корпуса сверху оснащена парными выступами с установленной между ними осью под соответствующий рычаг с шарнирным соединением внутри. Стержни соединены с полым корпусом через шарнирное соединение рычага. Технический результат заключается в обеспечении надежности за счет использования только наружных утолщённых стержней-съемников, облегчении съема и установки сальников за счет использования рычагов, исключая при этом человеческий фактор. 4 ил.
Устройство для замены устьевого сальника нефтегазодобывающей скважины, состоящего из сальниковых колец, размещенных в сальниковой полости между устьевым штоком и корпусом устьевого сальника, включающее полый корпус и соединенные с ним стержни с рабочим концом, у которых зубообразные насечки направлены по наружному диаметру сальникового кольца, имеющие вид наконечника рыболовного крючка, и упоры, выполненные с возможностью взаимодействия с соответствующими устьевыми сальниковыми кольцами при установке, отличающееся тем, что стержни выше рабочего конца снабжены утолщением с наружной резьбой, а упоры выполнены в виде полых колпачков, одевающихся на рабочие концы при установке сальниковых колец и транспортировке с внутренней резьбой под наружную резьбу соответствующего стрежня, при этом полый корпус изготовлен в виде двух шарнирно соединенных половинок, выполненных с возможностью охвата снаружи корпуса устьевого сальника и фиксации на нем, каждая половинка полого корпуса сверху оснащена парными выступами с установленной между ними осью под соответствующий рычаг с шарнирным соединением внутри, причем стержни соединены с полым корпусом через шарнирное соединение рычага.
| УСТРОЙСТВО ДЛЯ НАБИВКИ УСТЬЕВОГО САЛЬНИКА | 2001 |
|
RU2202032C1 |
| Устройство для извлечения уплотнительных элементов из устьевого сальника | 2023 |
|
RU2809390C1 |
| УСТРОЙСТВО ДЛЯ ЗАМЕНЫ УСТЬЕВОГО САЛЬНИКА | 2001 |
|
RU2201494C2 |
| Устройство для извлечения уплотнительных элементов устьевого сальника полированного штока глубинного насоса | 1990 |
|
SU1765357A1 |
| ИНСТРУМЕНТ ДЛЯ ИЗВЛЕЧЕНИЯ И НАБИВКИ САЛЬНИКОВ В УСТЬЕВОЙ САЛЬНИК УСТЬЕВОЙ АРМАТУРЫ СКВАЖИНЫ | 2016 |
|
RU2630008C1 |
| CN 212406645 U, 01.2021 | |||
| Линейка для разметки изолиний, в частности горизонталей | 1937 |
|
SU54612A1 |
Авторы
Даты
2025-04-14—Публикация
2025-02-12—Подача