ОБЛАСТЬ ТЕХНИКИ
[0001] Настоящее изобретение относится к области коммуникационных технологий, в частности к способу, устройству для перевыбора соты и носителю данных.
УРОВЕНЬ ТЕХНИКИ
[0002] В соответствующей технике связи терминалу необходимо выполнять перевыбор соты, чтобы находиться в соте с более высоким приоритетом или лучшим качеством сигнала. В соответствующем процессе перевыбора соты целевая сота для перевыбора определяется на основе условия перевыбора. Например, перевыбор соты выполняется на основе критерия S и критерия R.
[0003] После определения целевой соты терминал может дополнительно определить, является ли данная сота подходящей сотой. Если определенная целевая сота является подходящей сотой, терминал выполняет перевыбор целевой соты. Если определенная целевая сота не является подходящей сотой, определяется, следует ли выполнять перевыбор целевой соты впоследствии на основе протокола. Например, ограничение перевыбора может быть применено в отношении целевой соты, и перевыбор целевой соты не выполняется. Альтернативно, может быть выполнен перевыбор целевой соты, если она не подвергается ограничению перевыбора.
[0004] Кроме того, соответствующая технология связи предлагает технологию сетевых слайсов. Технология сетевых слайсов может обеспечить полную сквозную виртуальную сеть для конкретных пользователей. Путем разделения сетевых ресурсов на несколько сетевых слайсов, пользователям с различными требованиями к услугам (такими как задержка, надежность, пропускная способность, изоляция и другие функции) могут быть предоставлены дифференцированные услуги.
[0005] Следовательно, то, как реализовать перевыбор соты на основе сетевого слайса, является направлением, которое в настоящее время требует дальнейших исследований.
СУЩНОСТЬ ИЗОБРЕТЕНИЯ
[0006] Чтобы преодолеть проблемы, существующие в предшествующем уровне техники, настоящее изобретение предлагает способ, устройство и носитель данных для перевыбора соты.
[0007] Согласно первому аспекту вариантов осуществления настоящего изобретения предлагается способ перевыбора соты, который выполняется терминалом и включает в себя: определение того, что целевая сота не поддерживает один или более сетевых слайсов терминала; и определение, следует ли выполнять перевыбор целевой соты и/или соты с той же частотой, что и у целевой соты.
[0008] В варианте осуществления определение того, следует ли выполнять перевыбор целевой соты и/или соты с той же частотой, что и у целевой соты, включает в себя: определение того, следует ли применять первое ограничение перевыбора в отношении целевой соты и/или соты с той же самой частотой, что и у целевой соты.
[0009] В варианте осуществления определение того, применять ли первое ограничение перевыбора в отношении целевой соты и/или соты с той же частотой, что и у целевой соты, включает в себя: определение того, что следует применять первое ограничение перевыбора в отношении целевой соты и/или соты с той же частотой, что и у целевой соты; и определение того, что не следует выполнять перевыбор целевой соты и/или соты с той же частотой, что и у целевой соты.
[0010] В варианте осуществления определение того, применять ли первое ограничение перевыбора в отношении целевой соты и/или соты с той же частотой, что и у целевой соты, включает в себя: определение того, что не следует применять первое ограничение перевыбора в отношении целевой соты и/или соты с той же частотой, что и у целевой соты; определение того, что следует выполнять перевыбор целевой соты и/или соты с той же частотой, что и у целевой соты.
[0011] В варианте осуществления первое ограничение перевыбора включает в себя по меньшей мере одно из следующего: прекращение использование целевой соты в качестве соты-кандидата; прекращение использования целевой соты в качестве соты-кандидата; прекращение использования соты с той же частотой, что и у целевой соты, в качестве соты-кандидата; снижение приоритета целевой соты; снижение приоритета соты с той же частотой, что и у целевой соты; и снижение приоритета частотной точки, соответствующей целевой соте.
[0012] В варианте осуществления определение того, применять ли первое ограничение перевыбора в отношении целевой соты и/или соты с той же частотой, что и у целевой соты, включает в себя: прием первой информации индикации, отправленной сетевым устройством, при этом первая информация индикации сконфигурирована для указания того, следует ли выполнять перевыбор целевой соты и/или соты с той же частотой, что и у целевой соты; и определение того, следует ли применять первое ограничение перевыбора для целевой соты и/или соты с той же частотой, что и у целевой соты, в соответствии с первой информацией индикации.
[0013] В варианте осуществления первое ограничение перевыбора соответствует первому параметру, и первый параметр включает в себя по меньшей мере одно из следующего: параметр времени для применения первого ограничения перевыбора в отношении целевой соты и/или соты с той же частотой, что и у целевой соты; количество раз перевыбора, при котором первое ограничение перевыбора применяется в отношении целевой соты и/или соты с той же частотой, что и у целевой соты.
[0014] В варианте осуществления способ дополнительно включает в себя: определение того, что условие снятия первого ограничения перевыбора удовлетворено; и определение того, снимать ли первое ограничение перевыбора, применяемое в отношении целевой соты и/или соты с той же частотой, что и у целевой соты.
[0015] В варианте осуществления определение того, снимать ли первое ограничение перевыбора, применяемое в отношении целевой соты и/или соты с той же частотой, что и у целевой соты, включает в себя: повторное определение того, удовлетворено ли условие первого ограничения перевыбора, при этом условие первого ограничения перевыбора включает в себя отсутствие поддержки целевой сотой одного или более сетевых слайсов терминала; определение того, что условие первого ограничения перевыбора не удовлетворено; и снятие первого ограничения перевыбора, применяемого в отношении целевой соты и/или соты с той же частотой, что и у целевой соты.
[0016] В варианте осуществления условия снятия первого ограничения перевыбора включает в себя по меньшей мере одно из следующего: терминал возвращается к процессу перевыбора соты, который не основан на одном или более сетевых слайсов; терминал выполняет перевыбор соты на основе других сетевых слайсов, отличных от текущего сетевого слайса, для перевыбора соты; терминал принимает указание обновления системного сообщения; терминал входит в состояние произвольного выбора соты; терминал принимает вторую информацию индикации, при этом вторая информация индикации указывает, снимать ли применяемое первое ограничение перевыбора; сота с самым высоким рейтингом изменяется; терминал выходит из зоны отслеживания, где находится терминал; терминал выходит из зоны регистрации, где находится терминал; терминал принимает сообщение о перенаправлении, при этом сообщение о перенаправлении включает в себя частотную точку, для которой ограничение перевыбора было снято; и наземная мобильная сеть общего пользования, выбранная терминалом, изменяется.
[0017] В варианте осуществления вторая информация индикации также определяет, что информация о слайсах терминала изменяется; или вторая информация индикации также указывает, что следует снять первое ограничение перевыбора.
[0018] В варианте осуществления информация о слайсах терминала включает в себя по меньшей мере одно из следующего: список сетевых слайсов, поддерживаемых терминалом; список частотных точек, соответствующих сетевым слайсам, поддерживаемым терминалом; список приоритетов частотных точек, соответствующих сетевым слайсам, поддерживаемым терминалом; и приоритеты сетевых слайсов, поддерживаемых терминалом.
[0019] В варианте осуществления определение того, что целевая сота не поддерживает один или более сетевых слайсов терминала, включает в себя: прием информации о слайсах, поддерживаемой или не поддерживаемой целевой сотой; и определение того, что целевая сота не поддерживает один или более сетевых слайсов терминала.
[0020] Согласно второму аспекту вариантов осуществления настоящего изобретения предложен способ перевыбора соты, который выполняется сетевым устройством и включает в себя: отправку первой информации индикации на терминал, при этом первая информация индикации сконфигурирована для указания того, следует ли выполнять перевыбор целевой соты и/или соты с той же частотой, что и у целевой соты, при этом целевая сота не поддерживает один или более сетевых слайсов терминала.
[0021] В варианте осуществления первая информация индикации дополнительно сконфигурирована для указания того, применяет ли терминал первое ограничение перевыбора в отношении целевой соты и/или соты с той же частотой, что и у целевой соты.
[0022] В варианте осуществления первая информация индикации сконфигурирована для указания терминалу не выполнять перевыбор целевой соты и/или соты с той же частотой, что и у целевой соты, когда терминал применяет первое ограничение перевыбора.
[0023] В варианте осуществления первая информация индикации сконфигурирована для указания терминалу выполнять перевыбор целевой соты и/или соты с той же частотой, что и у целевой соты, когда терминал не применяет первое ограничение перевыбора.
[0024] В варианте осуществления первое ограничение перевыбора включает в себя по меньшей мере одно из следующего: прекращение использования целевой соты в качестве соты-кандидата; прекращение использования соты с той же частотой, что и у целевой соты, в качестве соты-кандидата; снижение приоритета целевой соты; снижение приоритета соты с той же частотой, что и у целевой соты; и снижение приоритета частотной точки, соответствующей целевой соте.
[0025] В варианте осуществления первое ограничение перевыбора соответствует первому параметру, и первый параметр включает в себя по меньшей мере одно из следующего: параметр времени для применения первого ограничения перевыбора в отношении целевой соты и/или соты с той же частотой, что и у целевой соты; и количество раз перевыбора, при котором первое ограничение перевыбора применяется в отношении целевой соты и/или соты с той же частотой, что и у целевой соты.
[0026] В варианте осуществления способ дополнительно включает в себя: отправку второй информации индикации на терминал, при этом вторая информация индикации указывает, следует ли снять применяемое первое ограничение перевыбора.
[0027] В варианте осуществления вторая информация индикации также определяет, что информация о слайсах терминала изменяется; или вторая информация индикации также указывает, что следует снять первое ограничение перевыбора.
[0028] В варианте осуществления способ дополнительно включает в себя: отправку информации о слайсах, поддерживаемой или не поддерживаемой целевой сотой.
[0029] Согласно третьему аспекту вариантов осуществления настоящего изобретения предлагается устройство для перевыбора соты, включающее в себя: блок обработки, выполненный с возможностью определения того, что целевая сота не поддерживает один или более сетевых слайсов терминала. Блок обработки дополнительно выполнен с возможностью определения того, следует ли выполнять перевыбор целевой соты и/или соты с той же частотой, что и у целевой соты.
[0030] В варианте осуществления блок обработки выполнен с возможностью определения того, следует ли применять первое ограничение перевыбора в отношении целевой соты и/или соты с той же частотой, что и у целевой соты.
[0031] В варианте осуществления блок обработки выполнен с возможностью определения того, что следует применять первое ограничение перевыбора в отношении целевой соты и/или соты с той же частотой, что и у целевой соты; и определения того, что не следует выполнять перевыбор целевой соты и/или соты с той же частотой, что и у целевой соты.
[0032] В варианте осуществления блок обработки выполнен с возможностью определения того, что не следует применять первое ограничение перевыбора в отношении целевой соты и/или соты с той же частотой, что и у целевой соты; и определения того, что следует выполнять перевыбор целевой соты и/или соты с той же частотой, что и у целевой соты.
[0033] В варианте осуществления первое ограничение перевыбора включает в себя по меньшей мере одно из следующего: прекращение использования целевой соты в качестве соты-кандидата; прекращение использования соты с той же частотой, что и у целевой соты, в качестве соты-кандидата; снижение приоритета целевой соты; снижение приоритета соты с той же частотой, что и у целевой соты; снижение приоритета частотной точки, соответствующей целевой соте.
[0034] В варианте осуществления блок обработки выполнен с возможностью приема первой информации индикации, отправленной сетевым устройством, при этом первая информация индикации сконфигурирована для указания того, следует ли выполнять перевыбор целевой соты и/или соты с той же частотой, что и у целевой соты; определения того, следует ли применять первое ограничение перевыбора в отношении целевой соты и/или соты с той же частотой, что и у целевой соты, в соответствии с первой информацией индикации.
[0035] В варианте осуществления первое ограничение перевыбора соответствует первому параметру, и первый параметр включает в себя по меньшей мере одно из следующего: параметр времени для применения первого ограничения перевыбора в отношении целевой соты и/или соты с той же частотой, что и у целевой соты; и количество раз перевыбора, при котором первое ограничение перевыбора применяется в отношении целевой соты и/или соты с той же частотой, что и у целевой соты.
[0036] В варианте осуществления блок обработки выполнен с возможностью определения того, что условие снятия первого ограничения перевыбора удовлетворено, и определения того, следует ли снимать первое ограничение перевыбора, применяемое в отношении целевой соты и/или соты с той же частотой, что и у целевой соты.
[0037] В варианте осуществления блок обработки выполнен с возможностью: повторного определения того, удовлетворено ли условие первого ограничения перевыбора, при этом условие первого ограничения перевыбора включает в себя отсутствие поддержки целевой сотой одного или более сетевых слайсов терминала; определение того, что условие первого ограничения перевыбора не удовлетворено; снятие первого ограничение перевыбора, применяемое в отношении целевой соты и/или соты с той же частотой, что и у целевой соты.
[0038] В варианте осуществления условие снятия первого ограничения перевыбора включает в себя по меньшей мере одно из следующего: терминал возвращается к процессу перевыбора соты, который не основан на одном или более сетевых слайсах; терминал выполняет перевыбор соты на основе других сетевых слайсов, отличных от текущего сетевого слайса, для перевыбора соты; терминал принимает указание обновления системного сообщения; терминал входит в состояние произвольного выбора соты; терминал принимает вторую информацию индикации, при этом вторая информация индикации указывает, снимать ли применяемое первое ограничение перевыбора; сота с самым высоким рейтингом меняется; терминал выходит из зоны отслеживания, где находится терминал; терминал выходит из зоны регистрации, где находится терминал; терминал принимает сообщение о перенаправлении, при этом сообщение о перенаправлении включает в себя частотные точки, для которых ограничение перевыбора было снято; и наземная мобильная сеть общего пользования, выбранная терминалом, изменяется.
[0039] В варианте осуществления вторая информация индикации также определяет, что информация о слайсах терминала изменяется; или вторая информация индикации также указывает, что следует снять первое ограничение перевыбора.
[0040] В варианте осуществления информация о слайсах терминала включает в себя по меньшей мере одно из следующего: список сетевых слайсов, поддерживаемых терминалом; список частотных точек, соответствующих сетевым слайсам, поддерживаемым терминалом; список приоритетов частотных точек, соответствующих сетевым слайсам, поддерживаемым терминалом; приоритеты сетевых слайсов, поддерживаемых терминалом.
[0041] В варианте осуществления блок обработки выполнен с возможностью приема информации о слайсах, поддерживаемой или не поддерживаемой целевой сотой, и определения того, что целевая сота не поддерживает один или более сетевых слайсов терминала.
[0042] Согласно четвертому аспекту вариантов осуществления настоящего изобретения предложено устройство для перевыбора соты, включающее в себя: блок отправки, выполненный с возможностью отправки первой информации индикации на терминал, при этом первая информация индикации сконфигурирована для указания того, следует ли выполнять перевыбор целевой соты и/или соты с той же частотой, что и у целевой соты, при этом целевая сота не поддерживает один или более сетевых слайсов терминала.
[0043] В варианте осуществления первая информация индикации дополнительно сконфигурирована для указания того, применяет ли терминал первое ограничение перевыбора в отношении целевой соты и/или соты с той же частотой, что и у целевой соты.
[0044] В варианте осуществления первая информация индикации сконфигурирована для указания терминалу не выполнять перевыбор целевой соты и/или соты с той же частотой, что и у целевой соты, когда терминал применяет первое ограничение перевыбора.
[0045] В варианте осуществления первая информация индикации сконфигурирована для указания терминалу выполнять перевыбор целевой соты и/или соты с той же частотой, что и у целевой соты, когда терминал не применяет первое ограничение перевыбора.
[0046] В варианте осуществления первое ограничение перевыбора включает в себя по меньшей мере одно из следующего: прекращение использования целевой соты в качестве соты-кандидата; прекращение использования соты с той же частотой, что и у целевой соты, в качестве соты-кандидата; снижение приоритета целевой соты; снижение приоритета соты с той же частотой, что и у целевой соты; снижение приоритета частотной точки, соответствующей целевой соте.
[0047] В варианте осуществления первое ограничение перевыбора соответствует первому параметру, и первый параметр включает в себя по меньшей мере одно из следующего: параметр времени для применения первого ограничения перевыбора в отношении целевой соты и/или соты с той же частотой, что и у целевой соты; и количество раз перевыбора, при котором первое ограничение перевыбора применяется в отношении целевой соты и/или соты с той же частотой, что и у целевой соты.
[0048] В варианте осуществления блок отправки дополнительно выполнен с возможностью отправки второй информации индикации на терминал, а вторая информация индикации указывает, снимать ли применяемое первое ограничение перевыбора.
[0049] В варианте осуществления вторая информация индикации также определяет, что информация о слайсах терминала изменяется; или вторая информация индикации также указывает, что следует снять первое ограничение перевыбора.
[0050] В варианте осуществления блок отправки дополнительно выполнен с возможностью отправки информации о слайсах, поддерживаемой или не поддерживаемой целевой сотой.
[0051] Согласно пятому аспекту вариантов осуществления настоящего изобретения предложено устройство связи, включающее в себя: процессор; и память для хранения инструкций, исполняемых процессором. Процессор выполнен с возможностью выполнения способа перевыбора соты, описанного в первом аспекте или любом из вариантов осуществления первого аспекта.
[0052] Согласно шестому аспекту вариантов осуществления настоящего изобретения предложено устройство связи, включающее в себя: процессор; и память для хранения инструкций, исполняемых процессором. Процессор выполнен с возможностью выполнения способа перевыбора соты, описанного во втором аспекте или любом из вариантов осуществления второго аспекта.
[0053] Согласно седьмому аспекту вариантов осуществления настоящего изобретения предложен носитель данных, на котором хранятся инструкции. Когда инструкции на носителе данных выполняются процессором терминала, терминал имеет возможность выполнять способ перевыбора соты, описанный в первом аспекте или любом из вариантов осуществления первого аспекта.
[0054] Согласно восьмому аспекту вариантов осуществления настоящего изобретения предложен носитель данных, на котором хранятся инструкции. Когда инструкции на носителе данных выполняются процессором сетевого устройства, сетевое устройство имеет возможность выполнять способ перевыбора соты, описанный во втором аспекте или любом из вариантов осуществления второго аспекта.
[0055] Техническое решение, предложенные вариантами осуществления настоящего изобретения, может включать в себя следующие полезные эффекты: когда терминал определяет, что целевая сота не поддерживает один или более сетевых слайсов терминала, определяется, следует ли выполнять перевыбор целевой соты и/или соты с той же частотой, что и у целевой соты, таким образом реализуя решение по перевыбору соты на основе слайсов в сцене, для которой целевая сота не может быть доступна, поскольку она не поддерживает слайсы терминала.
[0056] Следует понимать, что как предшествующее общее описание, так и последующее подробное описание являются только иллюстративными и пояснительными и не ограничивают настоящее изобретение.
КРАТКОЕ ОПИСАНИЕ ЧЕРТЕЖЕЙ
[0057] Прилагаемые чертежи, которые включены в настоящее описание и составляют его часть, иллюстрируют варианты осуществления, соответствующие настоящему изобретению, и вместе с описанием служат для объяснения принципов настоящего изобретения.
[0058] Фиг. 1 представляет собой схему архитектуры системы беспроводной связи согласно иллюстративному варианту осуществления.
[0059] Фиг. 2 представляет собой блок-схему способа перевыбора соты согласно иллюстративному варианту осуществления.
[0060] Фиг. 3 представляет собой блок-схему способа перевыбора соты согласно иллюстративному варианту осуществления.
[0061] Фиг. 4 представляет собой блок-схему способа перевыбора соты согласно иллюстративному варианту осуществления.
[0062] Фиг. 3 представляет собой блок-схему способа перевыбора соты согласно иллюстративному варианту осуществления.
[0063] Фиг. 6 представляет собой блок-схему способа перевыбора соты согласно иллюстративному варианту осуществления.
[0064] Фиг. 7 представляет собой блок-схему способа перевыбора соты согласно иллюстративному варианту осуществления.
[0065] Фиг. 8 представляет собой блок-схему способа перевыбора соты согласно иллюстративному варианту осуществления.
[0066] Фиг. 9 представляет собой блок-схему устройства для перевыбора соты согласно иллюстративному варианту осуществления.
[0067] Фиг. 10 представляет собой блок-схему устройства для перевыбора соты согласно иллюстративному варианту осуществления.
[0068] Фиг. 11 представляет собой блок-схему устройства для перевыбора соты согласно иллюстративному варианту осуществления.
[0069] Фиг. 12 представляет собой блок-схему устройства для перевыбора соты согласно иллюстративному варианту осуществления.
ПОДРОБНОЕ ОПИСАНИЕ
[0070] Теперь будет сделана подробная ссылка на иллюстративные варианты осуществления, примеры которых проиллюстрированы на прилагаемых чертежах. Когда последующее описание относится к чертежам, если не указано иное, одинаковые номера на разных чертежах обозначают одинаковые или подобные элементы. Варианты реализации, описанные в следующих иллюстративных примерах, не представляют все варианты реализации, соответствующие настоящему изобретению. Скорее, они являются просто примерами устройств и способов, соответствующих некоторым аспектам настоящего изобретения, как подробно описано в прилагаемой формуле изобретения.
[0071] Способ перевыбора соты, предложенный вариантами осуществления настоящего изобретения, может быть применен к системе беспроводной связи, показанной на фиг. 1. Ссылаясь на фиг. 1, система беспроводной связи включает в себя терминал и сетевое устройство. Информация отправляется и принимается между терминалом и сетевым устройством через беспроводные ресурсы.
[0072] Понятно, что система беспроводной связи, показанная на фиг. 1, является лишь схематической иллюстрацией, и система беспроводной связи может также включать в себя другие сетевые устройства, такие как устройства базовой сети, устройства беспроводной ретрансляции и устройства беспроводной транзитной связи, которые не показаны на фиг. 1. Варианты осуществления настоящего изобретения не ограничивают количество сетевых устройств и терминалов, вовлеченных в систему беспроводной связи.
[0073] Кроме того, можно понять, что система беспроводной связи согласно вариантам осуществления настоящего изобретения представляет собой сеть, обеспечивающую функции беспроводной связи. Система беспроводной связи может использовать различные технологии связи, такие как множественный доступ с кодовым разделением каналов (code division multiple access, CDMA), широкополосный множественный доступ с кодовым разделением каналов (wideband code division multiple access, WCDMA), множественный доступ с временным разделением каналов (time division multiple access, TDMA), множественный доступ с частотным разделением каналов (frequency division multiple access, FDMA), ортогональный множественный доступ с частотным разделением каналов (orthogonal frequency-division multiple access, OFDMA), FDMA с одной несущей (single carrier FDMA, SC-FDMA), множественный доступ с контролем несущей и предотвращением коллизий. В зависимости от пропускной способности, скорости, задержек и других факторов различных сетей сети можно разделить на сети 2-го поколения (2G), сети 3-го поколения (3G), сети 4-го поколения (4G) или сети будущего развития, такие как сеть 5-го поколения (5G), которую также можно назвать новым радио (New Radio, NR). Для удобства описания сеть беспроводной связи иногда упоминается как сеть в настоящем раскрытии.
[0074] Кроме того, сетевое устройство, задействованное в настоящем изобретении, также может называться сетевым устройством беспроводного доступа. Сетевое устройство беспроводного доступа может быть базовой станцией, развитым узлом В, домашней базовой станцией, точкой доступа (access point, АР) в системе беспроводной связи (WIFI), узлом беспроводной ретрансляции, узлом беспроводной транзитной связи, точкой передачи (transmission point, TP) или точкой передачи и приема (transmission and reception point, TRP) и т.д., и это также может быть gNB в системе NR, или это также может быть компонентом или частью устройства, составляющего базовую станцию. Если речь идет о системе связи автомобильной сети (V2X), сетевое устройство также может быть устройством, установленным на транспортном средстве. Следует понимать, что в вариантах осуществления настоящего изобретения нет ограничений на конкретную технологию и конкретную форму устройства, принимаемую сетевым устройством.
[0075] Кроме того, терминал, задействованный в настоящем изобретении, также может называться терминальным устройством, пользовательским оборудованием (user equipment, UE), мобильной станцией (mobile station MS), мобильным терминалом (mobile terminal, MT) и т.д., который представляет собой устройство, которое обеспечивает возможность голосовой связи и/или передачи данных пользователям. Например, терминал может представлять собой карманное устройство с функцией беспроводного соединения, устройство, устанавливаемое на транспортном средстве и т.д. В настоящее время примерами терминалов являются: мобильные телефоны, карманные персональные компьютеры (pocket personal computer, РРС), карманные компьютеры, персональные цифровые помощники (personal digital assistant, PDA), ноутбуки, планшетные компьютеры, носимые устройства или устройства, устанавливаемые на автомобиле. Кроме того, когда речь идет о системе связи автомобильной сети (V2X), терминальное устройство также может быть устройством, установленным на транспортном средстве. Следует понимать, что варианты осуществления настоящего изобретения не ограничивают конкретную технологию и конкретную форму устройства, используемую терминалом.
[0076] Во время связи между терминалом и сетевым устройством будет выполнен выбор или перевыбор соты. Варианты осуществления настоящего изобретения в основном применимы к процессу пере выбора соты. Когда терминал находится в состоянии ожидания или неактивном состоянии, перевыбор соты должен выполняться постоянно, чтобы находиться в соте с более высоким приоритетом или лучшим качеством сигнала. Установив различные приоритеты частоты, сетевое устройство может контролировать пребывание терминала. Терминал выберет соту с лучшим качеством сигнала в определенной частотной точке, чтобы обеспечить более качественные услуги.
[0077] В предшествующем уровне техники перевыбор соты можно разделить на перевыбор соты с одинаковой частотой и перевыбор соты с разной частотой. Перевыбор соты с одинаковой частотой в основном используется для решения проблемы покрытия беспроводной сети, тогда как перевыбор соты с другой частотой может использоваться как для решения проблемы покрытия беспроводной сети, так и для балансировки нагрузки. В протоколе 38.304 критерии перевыбора соты с разной частотой в основном включают в себя следующее.
[0078] Терминал получает приоритет частоты посредством широковещательной передачи системных сообщений или выпуска сообщений посредством управления радиоресурсами (RRC) и выполняет перевыбор соты на основе приоритета частоты. Перевыбор соты на основе приоритета частоты в основном включает в себя перевыбор соты с высоким приоритетом частоты, перевыбор соты с равным приоритетом частоты и перевыбор соты с низким приоритетом частоты. Критерии перевыбора соты с разными приоритетами частоты будут объяснены ниже.
[0079] Для перевыбора соты с высоким приоритетом частоты, если терминал находится в текущей обслуживающей соте более 1 с, и существует сота с частотными точками с высоким приоритетом, которая соответствует Srxlev > ThreshX, HighP или Squal > ThreshX, HighQ в пределах установленного времени (TreselectionRAT), терминал выполнит перевыбор соты с высоким приоритетом частоты. Srxlev - это уровень выбора соты, a Squal - качество выбора соты. ThreshX, HighP - порог уровня соты с высоким приоритетом частотных точек, a ThreshX, HighQ - порог качества соты с высоким приоритетом частотных точек. Для перевыбора соты с низким приоритетом частоты, когда терминал находится в текущей обслуживающей соте более 1 с, если текущая обслуживающая сота соответствует Srxlev < ThreshServing, LowP и существует сота с низким приоритетом частоты, которая соответствует Srxlev > ThreshX, LowP в TreselectionRAT, терминал выполнит перевыбор соты с низким приоритетом частоты. Или, если текущая обслуживающая сота удовлетворяет Squal < ThreshServing, LowQ и существует сота с низким приоритетом частоты, которая удовлетворяет Squal > ThreshX, LowQ в TreselectionRAT, терминал выполнит перевыбор соты с низким приоритетом частоты. ThreshServing, LowP - порог уровня обслуживающей соты, перевыбранной на соту с низким приоритетом частотных точек, ThreshX, LowP - порог уровня соты с низким приоритетом частотных точек, ThreshServing, LowQ - порог качества обслуживающей соты, перевыбранной на соту с низким приоритетом частотных точек, а ThreshX, LowQ - порог качества соты с низким приоритетом частотных точек.
[0080] Для перевыбора соты с равным приоритетом частоты, аналогично критериям перевыбора соты с одинаковой частотой, все соты с одинаковым приоритетом частоты сортируются в соответствии с критерием R, и выбирается сота с самым высоким рейтингом в соответствии с критерием R. Критерий R в основном относится к: Rs=Qmeas,s+Qhyst-Qoffsettemp, Rn=Qmeas,n-Qoffset-Qoffsettemp.
[0081] Rs представляет собой значение R обслуживающей соты, Rn представляет собой значение R соседней соты, Qmeas,s представляет собой значение измерения принимаемой мощности опорного сигнала (Reference Signal Received Power, RSRP) обслуживающей соты, Qmeas,n представляет собой значение измерения RSRP соседней соты, Qhyst - значение гистерезиса перевыбора соты, Qoffsettemp - значение временного смещения, a Qoffset - значение смещения.
[0082] Кроме того, если имеется множество сот, которые удовлетворяют условию перевыбора, терминал сортирует все соты, которые соответствуют критерию S и удовлетворяют условиям перевыбора в соответствии с критерием R, и выбирает соту с самым высоким рейтингом, и сота с высоким приоритетом частоты имеет более высокий рейтинг, чем сота с низким приоритетом.
[0083] Если сота с самым высоким рейтингом не является подходящей сотой, терминал не будет учитывать эту соту или эту соту и все соты с той же частотой, что и эта сота, при выполнении перевыбора соты в течение 300 с или максимум 300 с. Критерий S в основном относится Srxlev > 0 и Squal > 0. Srxlev - это уровень выбора соты, a Squal - качество выбора соты. Сота, выбранная или перевыбранная терминалом, должна соответствовать критерию S.
[0084] В предшествующем уровне техники в процессе перевыбора соты терминал определяет перевыбранную целевую соту на основе условия перевыбора и критерия R, считывает блок служебной информации (Master Information Block, MIB) и блок 1 системной информации (System Information Block, SIB1) целевой соты и оценивает, является ли целевая сота подходящей сотой, на основе параметров в MIB и SIB1. Если целевая сота является подходящей сотой, терминал выполнит перевыбор целевой соты. Если целевая сота не является подходящей сотой, последующее поведение определяется в соответствии с протоколом. Это последующее поведение можно понимать как определение того, что ограничение перевыбора осуществляется в отношении целевой соты и/или других сот с той же частотой, и ограничение перевыбора в основном включает в себя следующее:
[0085] (1) Поскольку сообщение MIB блока служебной информации (MIB) не может быть получено, сота рассматривается как запрещенная сота, и эта сота может быть исключена из сот-кандидатов на перевыбор на срок до 300 с. Если другие соты с той же частотой удовлетворяют условию перевыбора, терминал может перевыбрать другие соты.
[0086] (2) Если целевая сота указана или рассматривается как запрещенная сота по причинам, отличным от невозможности получить сообщение MIB, сота исключается из сот-кандидатов на перевыбор на 300 с, и определяется, разрешить ли другим сотам с той же частотой быть перевыбранными на основе указания в сообщении MIB. Если другим сотам с той же частотой разрешен перевыбор, терминал может выполнить перевыбор других сот с той же частотой. Когда другим сотам с той же частотой не разрешен перевыбор, если они являются сотами разрешенного диапазона частот или наземная мобильная сеть общего пользования (public land mobile network, PLMN) сот соответствует условию, перевыбор других сот с той же частотой будет запрещен на 300 с. В противном случае терминал может выполнить перевыбор других сот с той же частотой.
[0087] (3) Поскольку PLMN, область отслеживания (tracking area, ТА) и CAG не отвечают требованиям, терминал исключает эту соту и все соты с той же частотой из сот-кандидатов на перевыбор не более чем на 300 с.
[0088] Кроме того, в предшествующем уровне техники ограничение перевыбора также может быть снято для целевой соты. Например, для вышеуказанного ограничения перевыбора (1) и (2), если изменяется сота с самым высоким рейтингом, ограничение перевыбора снимается. Для вышеупомянутого ограничения перевыбора (3), если терминал входит в какое-либо состояние выбора соты, ограничение перевыбора снимается. В качестве другого примера, если сетевое устройство управляет терминалом для перенаправления на определенную частотную точку, ограничение перевыбора снимается для соты с этой частотной точкой.
[0089] Кроме того, технология сетевых слайсов предлагается в предшествующих технологиях связи. Технология сетевых слайсов может обеспечить полную сквозную виртуальную сеть для конкретных пользователей. Разделив сетевые ресурсы на множество сетевых слайсов, пользователям с различными требованиями к услугам (таким как задержка, надежность, пропускная способность, изоляция и другие функции) могут быть предоставлены дифференцированные услуги.
[0090] Сетевое устройство может сконфигурировать сетевой слайс, поддерживаемый или неподдерживаемый целевой сотой, для реализации перевыбора соты на основе сетевого слайса. Однако решение по перевыбору соты на основе сетевого слайса не было реализовано в предшествующем уровне техники.
[0091] Ввиду этого вариант осуществления настоящего изобретения предлагает способ перевыбора соты, и решение о перевыборе соты на основе сетевого слайса реализуется в способе перевыбора соты. В решении о перевыборе соты, основанном на сетевом слайсе, терминал может определять сетевой слайс терминала, сетевой слайс терминала может включать в себя один или более сетевых слайсов, поддерживаемых терминалом. Множество сетевых слайсов, поддерживаемых терминалом, также можно понимать как группу сетевых слайсов, поддерживаемую терминалом. То есть варианты осуществления настоящего изобретения предлагают основанный на слайсах перевыбор соты на основе сетевого слайса или группы сетевых слайсов терминала.
[0092] Следует отметить, что сетевой слайс терминала, задействованный в следующих вариантах осуществления настоящего изобретения, можно понимать как сетевой слайс, используемый терминалом при определении приоритета перевыбора и выполнении перевыбора соты. Один или более сетевых слайсов могут использоваться, когда терминал выполняет перевыбор соты.
[0093] Например, сетевыми слайсами, поддерживаемыми терминалом, являются слайс 1 и слайс 2. В процессе перевыбора соты, выполняемом терминалом на основе приоритета частоты, соответствующего слайсу 1, сетевым слайсом терминала является слайс 1. В процесс перевыбора соты, выполняемом терминалом на основе приоритета частоты, соответствующего слайсу 2, сетевым слайсом терминала является слайс 2. В процессе перевыбора соты, выполняемом терминалом на основе приоритетов частоты, определенных слайсом 1 и слайсом 2, сетевыми слайсами терминала являются слайс 1 и слайс 2.
[0094] Следует отметить, что вариант осуществления настоящего изобретения является лишь иллюстративным описанием, и способ определения сетевого слайса терминала в настоящем изобретении не ограничивается этим.
[0095] В вариантах осуществления настоящего изобретения терминал может принять решение о перевыборе соты на основе приоритета частоты в предшествующем уровне техники, чтобы определить, является ли целевая сота подходящей сотой. Если целевая сота является подходящей сотой, терминал может определить, следует ли выполнять перевыбор целевой соты и/или соты с той же частотой, что и у целевой соты, на основе информации о слайсах целевой соты и сетевого слайса или группы слайсов терминала.
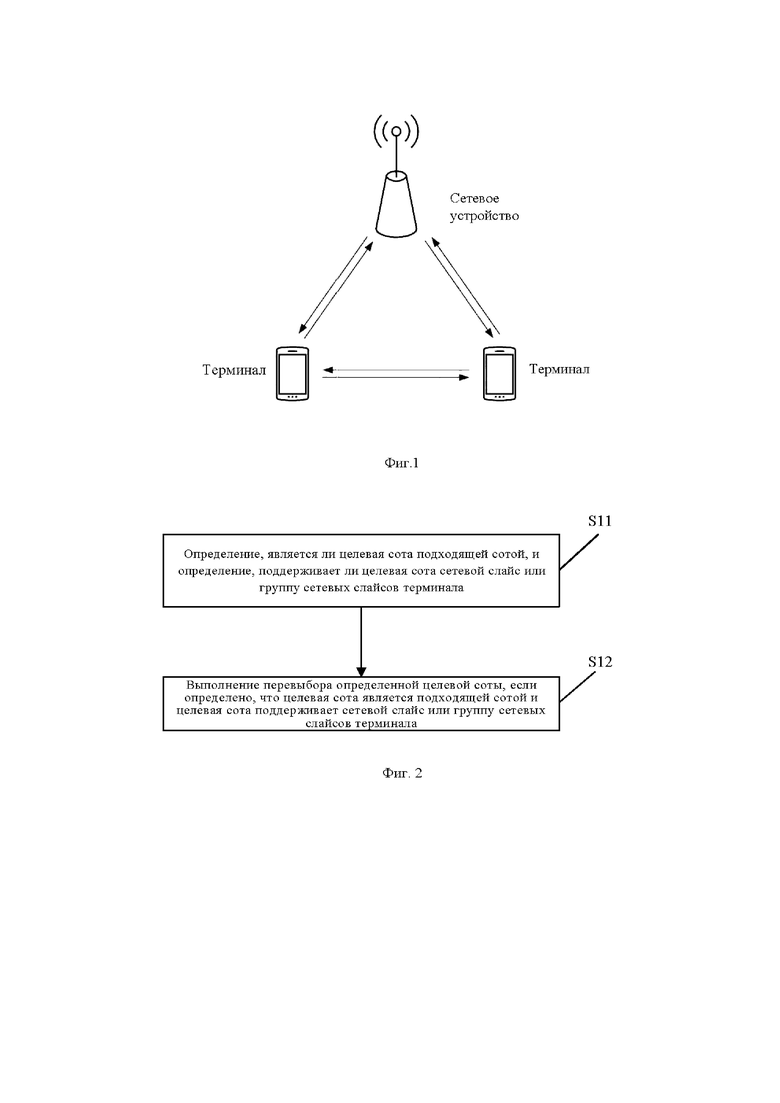
[0096] Фиг. 2 представляет собой блок-схему способа перевыбора соты согласно иллюстративному варианту осуществления. Как показано на фиг. 2, способ перевыбора соты выполняется терминалом и включает в себя следующие этапы.
[0097] На этапе S11 определяют, является ли целевая сота подходящей сотой и поддерживает ли целевая сота сетевой слайс или группу сетевых слайсов терминала.
[0098] На этапе S12, если определено, что целевая сота является подходящей сотой, и целевая сота поддерживает сетевой слайс или группу сетевых слайсов терминала, терминал выполняет перевыбор определенной целевой соты.
[0099] В варианте осуществления целевая сота, участвующая в варианте осуществления настоящего изобретения, представляет собой целевую соту, определенную в процессе перевыбора соты на основе приоритета частоты.
[00100] В другом варианте осуществления сетевой слайс связан с приоритетом частоты, и процесс перевыбора соты выполняется на основе приоритета частоты для определения целевой соты.
[00101] В вариантах осуществления настоящего изобретения сетевой слайс или группа сетевых слайсов терминала может определяться информацией о слайсах для сетевого слайса, поддерживаемая терминалом, например, списком сетевых слайсов, поддерживаемым терминалом. В примере сетевой слайс или группа сетевых слайсов терминала, используемые для перевыбора соты в варианте осуществления настоящего изобретения, могут быть одним или несколькими сетевыми слайсами в списке сетевых слайсов, поддерживаемом терминалом.
[00102] Информация о слайсах сетевого слайса, поддерживаемая терминалом, может быть идентификатором сетевого слайса, идентификатором группы сетевых слайсов или другими идентификаторами, которые не ограничены вариантами осуществления настоящего изобретения.
[00103] Определяется, поддерживает ли целевая сота сетевой слайс или группу сетевых слайсов терминала, так что перевыбор соты на основе сетевого слайса может выполняться на основе информации о слайсах целевой соты. Информация о слайсах целевой соты включает в себя информацию о слайсах сетевого слайса, поддерживаемую целевой сотой, или информацию о слайсах сетевого слайса, не поддерживаемую целевой сотой.
[00104] Кроме того, информация о слайсах сетевого слайса, поддерживаемая или не поддерживаемая целевой сотой, может быть предоставлена терминалу сетевым устройством. Информация о слайсах сетевого слайса, поддерживаемая или не поддерживаемая целевой сотой, может предоставляться сетевым устройством на основе системной информации целевой соты, или на основе системной информации обслуживающей соты, или на основе собственной сигнализации. Терминал определяет информацию о слайсах сетевого слайса, поддерживаемую или не поддерживаемую целевой сотой, на основе по меньшей мере одного из системной информации целевой соты или системной информации обслуживающей соты, или собственной сигнализации.
[00105] В вариантах осуществления настоящего изобретения информация о слайсах сетевого слайса, поддерживаемая или не поддерживаемая целевой сотой, может быть идентификатором сетевого слайса, идентификатором группы сетевых слайсов или другими идентификаторами, которые не ограничены вариантами осуществления, настоящего изобретения здесь.
[00106] В способе перевыбора соты, предложенном вариантами осуществления настоящего изобретения, после того, как определено, что целевая сота не является подходящей сотой и/или целевая сота не поддерживает сетевой слайс или группу сетевых слайсов терминала, дополнительно определяется, следует ли выполнять перевыбор целевой соты и/или соты с той же частотой, что и у целевой соты.
[00107] В варианте осуществления, когда определено, что целевая сота не поддерживает сетевой слайс или группу сетевых слайсов терминала, определяется, следует ли выполнять перевыбор целевой соты и/или соты с той же частотой, что и у целевой соты.
[00108] Фиг. 3 представляет собой блок-схему способа перевыбора соты согласно иллюстративному варианту осуществления. Как показано на фиг. 3, способ перевыбора соты выполняется терминалом и включает в себя следующие этапы.
[00109] На этапе S21 определяют, что целевая сота не поддерживает один или более сетевых слайсов терминала.
[00110] На этапе S22 определяют, следует ли выполнять перевыбор целевой соты и/или соты с той же частотой, что и у целевой соты.
[00111] Целевая сота, участвующая в вариантах осуществления настоящего изобретения, представляет собой целевую соту, определенную в процессе перевыбора соты на основе приоритета частоты. Например, целевая сота является целевой сотой, определенной в процессе перевыбора соты на основе приоритета частоты, связанного со слайсом.
[00112] В вариантах осуществления настоящего изобретения терминал принимает информацию о слайсах сетевого слайса, поддерживаемую или не поддерживаемую целевой сотой. Терминал определяет, что целевая сота не поддерживает один или более сетевых слайсов терминала, что может быть определено на основе информации о слайсах сетевого слайса, поддерживаемой или не поддерживаемой целевой сотой. Информация о слайсах сетевого слайса, поддерживаемая или не поддерживаемая целевой сотой, может быть идентификатором сетевого слайса, идентификатором группы сетевых слайсов или другими идентификаторами. Один или более сетевых слайсов терминала можно понимать как сетевой слайс или группу сетевых слайсов, определенную на основе информации сетевого слайса, поддерживаемой терминалом. Например, один или более сетевых слайсов терминала могут быть одним или несколькими сетевыми слайсами в списке сетевых слайсов, поддерживаемом терминалом.
[00113] В примере предполагается, что сетевой слайс, поддерживаемый целевой сотой, включает в себя Слайс 1, Слайс 2 и Слайс 3. Один сетевой слайс терминала включает в себя Слайс 4, или множество сетевых слайсов терминала включают в себя {Слайс 4, Слайс 5, Слайс 6}. Тогда целевая сота не поддерживает один или более сетевых слайсов терминала.
[00114] В вариантах осуществления настоящего изобретения, в случае, если определено, что целевая сота не поддерживает один или более сетевых слайсов терминала, может быть дополнительно определено, следует ли выполнять перевыбор целевой соты и/или соты с той же частоте, что и целевая сота.
[00115] В реализации вариантов осуществления настоящего изобретения определение того, следует ли выполнять перевыбор целевой соты и/или соты с той же частотой, что и у целевой соты, может выполняться путем определения того, следует ли выполнять ограничение перевыбора в отношении целевой соты и/или соты с той же частотой, что и у целевой соты.
[00116] Для удобства описания ограничение перевыбора, выполняемое в случае, когда один или более сетевых слайсов терминала не поддерживаются для целевой соты в вариантах осуществления настоящего изобретения, будет называться первым ограничением перевыбора. Ограничение перевыбора целевой соты в случае, когда целевая сота не соответствует подходящей соте в предшествующем уровне техники, называется вторым ограничением перевыбора. Например, второе ограничение перевыбора может быть ограничением перевыбора, вовлеченным в традиционный процесс перевыбора соты.
[00117] Первое ограничение перевыбора, используемое в варианте осуществления настоящего изобретения, включает в себя по меньшей мере одно из следующего:
[00118] (1) Прекращение использования целевой соты в качестве соты-кандидата;
[00119] (2) Прекращение использования соты с той же частотой, что и у целевой соты, в качестве соты-кандидата;
[00120] (3) Снижение приоритета целевой соты;
[00121] (4) Снижение приоритета соты с той же частотой, что и у целевой соты;
[00122] (5) Снижение приоритета частотной точки, соответствующей целевой соте.
[00123] Фиг. 4 представляет собой блок-схему способа перевыбора соты согласно иллюстративному варианту осуществления. Как показано на фиг. 4, способ перевыбора соты выполняется терминалом и включает в себя следующие этапы.
[00124] На этапе S31 определяют, что целевая сота не поддерживает один или более сетевых слайсов терминала.
[00125] В вариантах осуществления настоящего изобретения целевая сота представляет собой целевую соту, определенную в процессе перевыбора соты на основе приоритета частоты. Например, целевая сота является целевой сотой, определенной в процессе перевыбора соты на основе приоритета частоты, связанного со слайсом. Терминал может определить, что целевая сота не поддерживает один или более сетевых слайсов терминала, на основе информации о слайсах сетевого слайса, поддерживаемой или не поддерживаемой целевой сотой.
[00126] На этапе S32 определяют, следует ли применять первое ограничение перевыбора в отношении целевой соты и/или соты с той же частотой, что и у целевой соты.
[00127] В вариантах осуществления настоящего изобретения, в случае, если определено, что целевая сота не поддерживает один или более сетевых слайсов терминала, может быть дополнительно определено, следует ли применять первое ограничение перевыбора в отношении целевой соты и/или соты с той же частотой, что и у целевой соты.
[00128] В вариантах осуществления настоящего изобретения, с одной стороны, в случае, если определено, что следует применять первое ограничение перевыбора в отношении целевой соты и/или соты с той же частотой, что и у целевой соты, определяется, что не будет выполнен перевыбор целевой соты и/или соты с той же частотой, что и у целевой соты. С другой стороны, в случае, если определено, что не следует применять первое ограничение перевыбора в отношении целевой соты и/или соты с той же частотой, что и у целевой соты, определяется, что будет выполнен перевыбор целевой соты и/или соты с той же частотой, что и у целевой соты.
[00129] В реализации вариантов осуществления настоящего изобретения терминал может определять, следует ли применять первое ограничение перевыбора в отношении целевой соты и/или соты с той же частотой, что и у целевой соты, на основе предоставления протокола. В другой реализации вариантов осуществления настоящего изобретения терминал может также принимать информацию индикации, отправленную сетевым устройством, и определять, следует ли применять первое ограничение перевыбора для целевой соты и/или соты с той же частотой, что и у целевой соты, на основе информации индикации, отправленной сетевым устройством.
[00130] В вариантах осуществления настоящего изобретения для удобства описания информация индикации для указания того, следует ли применять первое ограничение перевыбора в отношении целевой соты и/или соты с той же частотой, что и у целевой соты, может называться первой информацией индикации. Первая информация индикации используется для указания того следует ли выполнять перевыбор целевой соты и/или соты с той же частотой, что и у целевой соты.
[00131] Первая информация индикации может включать в себя широковещательное системное сообщение или может также включать в себя собственную сигнализацию.
[00132] На основании содержимого, введенного в первое ограничение перевыбора, первое ограничение перевыбора, задействованное в вариантах осуществления настоящего изобретения, может включать в себя следующие примеры.
[00133] Пример 1: протокол предусматривает прекращение использования целевой соты в качестве соты-кандидата.
[00134] Пример 2: протокол предусматривает прекращение использования целевой соты и других сот с той же частотой, что и соты-кандидаты.
[00135] Пример 3: протокол предусматривает прекращение использования целевой соты в качестве соты-кандидата и указание того, следует ли прекратить использование других сот с той же частотой, что и соты-кандидаты, посредством первой информации индикации.
[00136] Пример 4: протокол предусматривает снижение приоритета целевой соты.
[00137] Пример 5: протокол предусматривает снижение приоритета частотной точки целевой соты.
[00138] Пример 6: сетевое устройство отправляет первую информацию индикации, чтобы указать, что следует прекратить использование целевой соты в качестве соты-кандидата.
[00139] Пример 7: сетевое устройство отправляет первую информацию индикации, чтобы указать, что следует прекратить использование целевой соты и других сот с той же частотой, что и соты-кандидаты.
[00140] Пример 8: сетевое устройство отправляет первую информацию индикации, чтобы указать, что следует снизить приоритет целевой соты.
[00141] Пример 9: сетевое устройство отправляет первую информацию индикации, чтобы указать, что следует снизить приоритета частотной точки целевой соты.
[00142] Можно понимать, что снижение приоритета целевой соты, или снижение приоритета соты с той же частотой, что и у целевой соты, или снижение приоритета частотной точки, соответствующей целевой соте, в вариантах осуществления настоящего изобретения можно понимать как снижение приоритета целевой соты, приоритета соты с той же частотой, что и у целевой соты, или приоритета частотной точки, соответствующей целевой соте, на N уровней, где N представляет собой положительное целое число, например, N равно 1 или может быть другим значением. В примере, в вариантах осуществления настоящего изобретения приоритет целевой соты, приоритет соты с той же частотой, что и у целевой соты, или приоритет частотной точки, соответствующей целевой соте, может быть снижен до самого низкого уровня приоритета, то есть минимизируя возможности того, что целевая сота, сота с той же частотой, что и у целевой соты, или частотная точка, соответствующая целевой соте, станет сотой-кандидатом.
[00143] Кроме того, можно понимать, что примеры, относящиеся к первому ограничению перевыбора, упомянутому выше, в вариантах осуществления настоящего изобретения описаны только иллюстративно, и варианты осуществления настоящего изобретения не ограничиваются этим и могут также включать в себя другие примеры или комбинации примеров. Например, варианты осуществления настоящего изобретения могут включать в себя пример, в котором приоритет соты с той же частотой, что и у целевой соты, индивидуально снижается для применения первого ограничения перевыбора для соты с той же частотой, что и у целевой соты.
[00144] В вариантах осуществления настоящего изобретения, при определении того, следует ли применять первое ограничение перевыбора в отношении целевой соты и/или соты с той же частотой, что и у целевой соты, если протокол предусматривает или первая информация индикации указывает, что следует прекратить использование целевой соты и/или соты с той же частотой, что и у целевой соты, в качестве соты-кандидата, можно определить, что следует применять первое ограничение перевыбора в отношении целевой соты и/или соты с той же частотой, что и у целевой соты. Или, если протокол предусматривает, или первая информация индикации указывает, что следует снизить приоритет целевой соты и/или приоритет соты с той же частотой, что и у целевой соты, может быть определено, что следует применять первое ограничение перевыбора в отношении целевой соты и/или соты с той же частотой, что и у целевой соты. Если протоколом не предусмотрено, что следует прекратить использование целевой соты и/или соты с той же частотой, что и у целевой соты, в качестве соты-кандидата, а также не предусмотрено, что следует снизить приоритет целевой соты и/или приоритета соты с той же частотой, что и у целевой соты, и первая информация индикации не указывает, что следует прекратить использование целевой соты и/или соты с той же частотой, что и у целевой соты, в качестве соты-кандидата, а также не указывает, что следует снизить приоритет целевой соты и приоритета соты с той же частотой, что и у целевой соты, то можно определить, что первое ограничение перевыбора не должно выполняться в отношении целевой соты и/или соты с той же частотой, что и у целевой соты.
[00145] В вариантах осуществления настоящего изобретения выполнение/невыполнение первого ограничения перевыбора в отношении целевой соты и/или соты с той же частотой, что и у целевой соты, можно понимать как процесс перевыбора соты, основанный на слайсе терминала, то есть ограничение перевыбора является ограничением для каждого слайса. В одном примере терминал выполняет перевыбор соты на основе слайса 1. Если перевыбор определенной частоты/соты прекращен из-за того, что он не поддерживает слайс 1, ограничение применяется только к процессу перевыбора соты на основе слайса 1. Когда терминал выполняет перевыбор соты на основе слайса 2, терминал игнорирует все ограничения перевыбора при перевыборе соты на основе других слайсов (слайс 1).
[00146] В реализации вариантов осуществления настоящего изобретения первое ограничение перевыбора, задействованное в вышеупомянутых вариантах осуществления, может быть сконфигурировано с помощью соответствующего параметра, который в дальнейшем будет называться первым параметром. Первый параметр может включать в себя по меньшей мере одно из следующего: параметр времени для применения первого ограничения перевыбора в отношении целевой соты и/или соты с той же частотой, что и у целевой соты, и/или количество раз перевыбора, при котором первое ограничение перевыбора применяется в отношении целевой соты и/или соты с той же частотой, что и у целевой соты. То есть, в случае, если определено, что следует выполнить первое ограничение перевыбора в отношении целевой соты и/или соты с той же частотой, что и у целевой соты, первое ограничение перевыбора применяется в отношении целевой соты и/или соты с той же частотой, что и у целевой соты, в течение времени, заданного вышеуказанным параметром времени, и/или в течение количества раз перевыбора, заданного параметром перевыбора.
[00147] В вариантах осуществления настоящего изобретения первый параметр, соответствующий первому ограничению перевыбора, может определяться на основе сообщения системы обслуживающей соты терминала или может также определяться на основе собственной сигнализации, или также может определяться на основе протокола.
[00148] В реализации вариантов осуществления настоящего изобретения параметр времени для применения первого ограничения перевыбора в отношении целевой соты и/или соты с той же частотой, что и у целевой соты, включает в себя время для применения первого ограничения перевыбора в отношении целевой соты и/или соты с той же частотой, что и у целевой соты. Например, если время, указанное параметром времени, составляет 300 с, параметр времени для применения первого ограничения перевыбора в отношении целевой соты и/или соты с той же частотой, что и у целевой соты, может включать в себя прекращение использования целевой соты и/или соты с той же частотой, что и у целевой соты, в качестве соты-кандидата в течение 300 с. То есть терминал прекращает использовать целевую соту и/или соту с той же частотой, что и у целевой соты, в качестве соты-кандидата в течение 300 с.
[00149] В другой реализации вариантов осуществления настоящего изобретения параметр времени для применения первого ограничения перевыбора в отношении целевой соты и/или соты с той же частотой, что и у целевой соты, включает в себя максимальное время для применения первого ограничения перевыбора в отношении целевой соты и/или соты с той же частотой, что и у целевой соты. Например, максимальное время составляет 300 с, и параметр времени для применения первого ограничения перевыбора в отношении целевой соты и/или соты с той же частотой, что и у целевой соты, может включать в себя максимальное время для прекращения использования целевой соты и/или соты с той же частотой, что и у целевой соты, в качестве соты-кандидата, равное 300 с. То есть терминал может определить время, меньшее или равное 300 с, и прекратить использование целевой соты и/или соты с той же частотой, что и у целевой соты, в качестве соты-кандидата в течение определенного времени.
[00150] В реализации вариантов осуществления настоящего изобретения количество раз перевыбора, при котором первое ограничение перевыбора применяется в отношении целевой соты и/или соты с той же частотой, что и у целевой соты, включает в себя количество раз применения первого ограничения перевыбора в отношении целевой соты и/или соты с той же частотой, что и у целевой соты. Например, если это количество раз перевыбора равно М, то прекращают использование целевой соты и/или соты с той же частотой, что и у целевой соты, в качестве соты-кандидата в течение М раз перевыбора. То есть терминал не может использовать целевую соту и/или соту с той же частотой, что и у целевой соты, в качестве соты-кандидата в процессе выполнения М раз перевыбора.
[00151] В другой реализации вариантов осуществления настоящего изобретения количество раз перевыбора, при котором первое ограничение перевыбора применяется в отношении целевой соты и/или соты с той же частотой, что и у целевой соты, включает в себя максимальное количество раз перевыбора, при котором первое ограничение перевыбора применяется в отношении целевой соты и/или соты с той же частотой, что и у целевой соты. Например, максимальное количество раз перевыбора равно М, и максимальное количество раз перевыбора, при котором целевая сота и/или сота с той же частотой, что и у целевой соты, не могут использоваться в качестве соты-кандидата, равно М. То есть терминал может определить количество раз перевыбора, меньшее или равное М, и прекратить использовать целевую соту и/или соту с той же частотой, что и у целевой соты, в качестве соты-кандидата в течение определенного количества раз перевыбора. Например, целевая сота и/или сота с той же частотой, что и у целевой соты, на которую распространяется первое ограничение перевыбора, не может быть использована в качестве соты-кандидата в течение N раз перевыбора. N меньше или равно М.
[00152] В одном примере сетевое устройство конфигурирует информацию индикации с помощью широковещательного системного сообщения или собственной сигнализации, и терминал принимает информацию индикации и определяет, следует ли выполнять перевыбор других сот с той же частотой на основе этой информации индикации. Если перевыбор других сот с той же частотой разрешен, только перевыбор текущей целевой соты будет остановлен в течение периода времени (300 с) или определенного количества раз перевыбора соты. Если перевыбор других сот с той же частотой не разрешен, перевыбор текущей целевой соты и всех сот с той же частотой будет остановлен в течение определенного периода времени (300 с) или определенного количества раз перевыбора соты.
[00153] Способ перевыбора соты, предложенный вариантами осуществления настоящего изобретения, также предлагает решение для снятия ограничения перевыбора в случае, если целевая сота не поддерживает один или более сетевых слайсов терминала, то есть предлагается решение для снятия первого ограничения перевыбора в отношении целевой соты и/или соты с той же частотой, что и у целевой соты.
[00154] Фиг. 5 представляет собой блок-схему способа перевыбора соты согласно иллюстративному варианту осуществления. Как показано на фиг. 5, способ перевыбора соты выполняется терминалом и включает в себя следующие этапы.
[00155] На этапе S41 определяют, следует ли снять первое ограничение перевыбора, применяемое в отношении целевой соты и/или соты с той же частотой, что и у целевой соты.
[00156] Целевая сота, участвующая в вариантах осуществления настоящего изобретения, представляет собой целевую соту, определенную в процессе перевыбора соты на основе приоритета частоты. Например, целевая сота является целевой сотой, определенной в процессе перевыбора соты на основе приоритета частоты, связанного со слайсом.
[00157] В реализации варианта осуществления настоящего изобретения определяется, следует ли снимать первое ограничение перевыбора, применяемое в отношении целевой соты и/или соты с той же частотой, что и у целевой соты, на основе условия снятия первого ограничения перевыбора.
[00158] Условие снятия первого ограничения перевыбора, задействованное в вариантах осуществления настоящего изобретения, может включать в себя по меньшей мере одно из следующего.
[00159] А: Терминал возвращается к процессу перевыбора соты, который не основан на одном или более сетевых слайсах терминала.
[00160] Например, когда терминал возвращается к прежнему процессу перевыбора соты, подразумевается, что условие снятия первого ограничения перевыбора удовлетворено.
[00161] В: Терминал выполняет перевыбор соты на основе других сетевых слайсов, отличных от текущего сетевого слайса для перевыбора соты.
[00162] Например, когда терминал переключается с перевыбора соты на основе слайса 1 на перевыбор соты на основе слайса 2, понятно, что условие снятия первого ограничения перевыбора удовлетворено.
[00163] С: Терминал принимает указание обновления системного сообщения.
[00164] Пример 1: когда терминал принимает указание обновления системного сообщения, определяется, что условие снятия первого ограничения перевыбора удовлетворено.
[00165] Пример 2: когда терминал принимает индикацию обновления системного сообщения, системное сообщение повторно считывается, определяется, что информация о слайсах, поддерживаемая или не поддерживаемая сотой, обновлена, и определяется, что условие снятия первого ограничение перевыбора выполнено.
[00166] D: Терминал входит в состояние произвольного выбора соты.
[00167] Например, когда терминал входит в состояние произвольного выбора соты, определяется, что условие снятия первого ограничения перевыбора удовлетворено.
[00168] Е: Терминал принимает информацию индикации (в дальнейшем называемую второй информацией индикации) для определения снятия первого ограничения перевыбора.
[00169] Вторая информация индикации используется для указания того, снять ли первое ограничение перевыбора. Вторая информация индикации включает в себя по меньшей мере одно из системного широковещательного сообщения, собственной сигнализации и информации индикации, отправленной уровнем отсутствия доступа (non-access, NAS) терминала на уровень доступа (access, AS) терминала.
[00170] Кроме того, в вариантах осуществления настоящего изобретения, с одной стороны, вторая информация индикации может непосредственно указывать, что первое ограничение перевыбора снято, а с другой стороны, вторая информация индикации также может быть сообщением для определения того, что информация о слайсах терминала изменяется. Информация о слайсах терминала включает в себя по меньшей мере одно из следующего: сетевые слайсы, поддерживаемые терминалом; список частотных точек, соответствующих сетевым слайсам, поддерживаемым терминалом; список приоритетов частотных точек, соответствующих сетевым слайсам, поддерживаемым терминалом; и приоритеты сетевых слайсов, поддерживаемых терминалом.
[00171] Например, терминал принимает вторую информацию индикации, указывающую на снятие ограничения, от сетевого устройства через широковещательное системное сообщение или собственную сигнализацию, и определяет, что условие снятия первого ограничения перевыбора удовлетворено. В качестве другого примера уровень AS терминала принимает информацию индикации уровня NAS терминала, и определяется, что условие снятия первого ограничения перевыбора удовлетворено.
[00172] Информация индикации уровня NAS может использоваться для указания информации о слайсах терминала, и уровень AS терминала определяет, что информация о слайсах терминала изменяется на основе информации индикации, тем самым определяя, что условие снятия первого ограничения перевыбора удовлетворено.
[00173] F: Сота с самым высоким рангом изменяется.
[00174] Ранжирование, используемое в вариантах осуществления настоящего изобретения, можно понимать как ранжирование соты на основе критерия R.
[00175] Например, терминал определяет, что сота с самым высоким рангом изменяется, и определяет, что условие снятия первого ограничения перевыбора удовлетворено.
[00176] G: Терминал выходит из зоны отслеживания, где он находится.
[00177] Например, терминал определяет, что нужно выйти из зоны отслеживания, где он находится, и определяет, что условие снятия первого ограничения перевыбора удовлетворено.
[00178] Н: Терминал выходит из зоны регистрации, где он находится.
[00179] Например, терминал определяет, что нужно выйти из зоны регистрации, где он находится, и определяет, что условие снятия первого ограничения перевыбора удовлетворено.
[00180] I: Терминал принимает сообщение о перенаправлении, которое включает в себя частотную точку, в отношении которой было снято ограничение перевыбора.
[00181] Например, если сетевое устройство управляет терминалом для перенаправления в определенную частотную точку, и эта частотная точка является частотной точкой, в отношении которой было снято ограничение перевыбора, то определяется, что условие первого ограничения перевыбора удовлетворено.
[00182] J: PLMN, выбранная терминалом, изменяется.
[00183] Например, если терминал выбирает другую PLMN, отличную от текущей PLMN, определяется, что условие снятия первого ограничения перевыбора удовлетворено.
[00184] K: Терминал определяет, что разрешенная вспомогательная информация выбора сетевого слайса (network slice selection assistance information, NSSAI) изменяется.
[00185] В реализации вариантов осуществления настоящего изобретения первое ограничение перевыбора для целевой соты и/или соты с той же частотой, что и у целевой соты, может быть непосредственно снято в случае, если определено, что условие снятия первого ограничения перевыбора выполнено.
[00186] В другой реализации вариантов осуществления настоящего изобретения может быть дополнительно определено, снимать ли первое ограничение перевыбора, применяемое в отношении целевой соты и/или соты с той же частотой, что и у целевой соты, в случае, если определено что условие снятия первого ограничения перевыбора выполнено.
[00187] В примере варианты осуществления настоящего изобретения могут дополнительно определять, снимать ли первое ограничение перевыбора, применяемое в отношении целевой соты и/или соты с той же частотой, что и у целевой соты, на основе протокола, в случае, если определяется, что условие снятия первого ограничения перевыбора выполнено. Например, на основании протокола определяется, что следует снять первое ограничение перевыбора, применяемое в отношении целевой соты и/или соты с той же частотой, что и у целевой соты. Или на основании протокола определяется, что не следует снимать первое ограничение перевыбора, применяемое в отношении целевой соты и/или соты с той же частотой, что и у целевой соты.
[00188] В другом примере варианты осуществления настоящего изобретения могут дополнительно определять, следует ли снять первое ограничение перевыбора, применяемое в отношении целевой соты и/или соты с той же частотой, что и у целевой соты, на основе информации индикации, отправленной сетевым устройством в случае, если определено, что условие снятия первого ограничения перевыбора выполнено. Например, если терминал принимает вторую информацию индикации для определения того, что следует снять первое ограничение перевыбора, определяется, что следует снять первое ограничение перевыбора, применяемого в отношении целевой соты и/или соты с той же частотой, что и у целевой соты.
[00189] В еще одном примере, при определении того, что условие снятия первого ограничения перевыбора удовлетворено в вариантах осуществления настоящего изобретения, терминал может дополнительно повторно определить, удовлетворяет ли целевая сота и/или сота с той же частотой, что и у целевой соты, по-прежнему условию первого ограничения перевыбора на основе условия применения первого ограничения перевыбора, чтобы определить, снимать ли первое ограничение перевыбора, применяемое в отношении целевой соты и/или соты с той же частотой, что и у целевой соты.
[00190] Первое ограничение перевыбора включает в себя то, что целевая сота не поддерживает один или более сетевых слайсов терминала.
[00191] В вариантах осуществления настоящего изобретения, когда определено, что условие снятия первого ограничения перевыбора выполнено, и определено, что условие первого ограничения перевыбора не выполнено, то может быть снято первое ограничение перевыбора в отношении целевой соты и/или соты с той же частотой, что и у целевой соты. Когда определено, что условие первого ограничения перевыбора удовлетворено, определяют, что первое ограничение перевыбора не снимается с целевой соты и/или соты с той же частотой, что и у целевой соты.
[00192] В способе перевыбора соты, предложенном вариантами осуществления настоящего изобретения, в случае, если первое ограничение перевыбора применяется в отношении целевой соты и/или соты с той же частотой, что и у целевой соты, можно дополнительно определить, следует ли снимать первое ограничение перевыбора, применяемого в отношении целевой соты и/или соты с той же частотой, что и у целевой соты.
[00193] В примере терминал определяет, что целевая сота не поддерживает один или более сетевых слайсов терминала, и определяет, что следует выполнить первое ограничение перевыбора в отношении целевой соты и/или соты с той же частотой, что и у целевой соты. Определяется, удовлетворено ли условие снятия первого ограничения перевыбора. В случае, если определено, что условие снятия первого ограничения перевыбора удовлетворено, определяется, снимать ли первое ограничение перевыбора, применяемое в отношении целевой соты и/или соты с той же частотой, что и у целевой соты. В случае, если определено, что условие снятия первого ограничения перевыбора не удовлетворено, нет необходимости выполнять решение о том, снимать ли первое ограничение перевыбора, применяемое в отношении целевой соты и/или соты с той же частотой, что и целевая, клетка.
[00194] В вариантах осуществления настоящего изобретения, в случае, если терминал определяет, что целевая сота не поддерживает один или более сетевых слайсов терминала, и определяет, что следует выполнить первое ограничение перевыбора в отношении целевой соты и/или соты с той же частотой, что и у целевой соты, процесс выполнения определения того, следует ли снять первое ограничение перевыбора, выполняемый в отношении целевой соты и/или соты с той же частотой, что и у целевой соты, может относиться к соответствующему описанию в приведенных выше вариантах осуществления, и не будет здесь подробно описываться.
[00195] В другом способе перевыбора соты, предложенном вариантами осуществления настоящего изобретения, когда определено, что целевая сота не является подходящей сотой, может быть дополнительно определено, следует ли выполнять перевыбор целевой соты и/или соты с той же частотой, что и у целевой соты.
[00196] Фиг. 6 представляет собой блок-схему способа перевыбора соты согласно иллюстративному варианту осуществления. Как показано на фиг. 6, способ перевыбора соты выполняется терминалом и включает в себя следующие этапы.
[00197] На этапе S51 определяют, что целевая сота не является подходящей сотой. [00198] На этапе S52 определяют, следует ли выполнять перевыбор целевой соты и/или соты с той же частотой, что и у целевой соты.
[00199] В вариантах осуществления настоящего изобретения определение того, что целевая сота не является подходящей сотой, может быть основано на определении подходящей соты в стандарте TS38.304. Когда целевая сота не соответствует определению подходящей соты, можно определить, что целевая сота не является подходящей сотой. Определение подходящей соты в текущем стандарте TS38.304 включает в себя следующее.
[00200] 1. Для терминала с режимом доступа к автономной закрытой сети (standalone non-public network, SNPN), если удовлетворяются следующие условия, сота считается подходящей сотой.
[00201] А: Сота является частью выбранной PLMN, или зарегистрированной PLMN, или PLMN в эквивалентном списке PLMN, и PLMN удовлетворяет требованиям, чтобы PLMN-ID этой PLMN транслировался сотой, которая не связана с идентификатором закрытой группы доступа (closed access group identifier, CAG-ID), и одиночный индикатор CAG (только CAG) для PLMN в терминале отсутствуют или неверен. Разрешенный список CAG для PLMN в терминале включает в себя CAG-ID, транслируемый сотой для PLMN.
[00202] В: Критерии выбора соты соблюдены.
[00203] С: Согласно последней информации, предоставленной NAS, установлено, что сота не запрещена, и зона отслеживания, к которой принадлежит сота, не принадлежит к части списка «запрещенных в роуминге зон отслеживания». Список принадлежит PLMN, отвечающей вышеуказанному пункту А.
[00204] 2. Для терминала, работающего в режиме доступа SNPN, сота считается подходящей сотой, если удовлетворяются следующие условия.
[00205] А: Сота является частью SNPN, выбранной терминалом, или зарегистрированной SNPN.
[00206] В: Критерии выбора соты соблюдены.
[00207] С: Согласно последней информации, предоставленной NAS, установлено, что сота не запрещена, и зона отслеживания, к которой принадлежит сота, не является частью списка «запрещенных в роуминге зон отслеживания». Список принадлежит выбранной SNPN или зарегистрированной SNPN терминала.
[00208] В вариантах осуществления настоящего изобретения, в случае, если определено, что целевая сота не является подходящей сотой, может быть дополнительно определено, следует ли выполнять перевыбор соты в отношении целевой соты и/или соты с той же частотой, что и у целевой соты. В случае, если определено, что целевая сота не является подходящей сотой, определение того, следует ли выполнять перевыбор соты в отношении целевой соты и/или соты с той же частотой, что и у целевой соты, может быть выполнено путем определения того, следует ли выполнять второе ограничение перевыбора целевой соты и/или соты с той же частотой, что и у целевой соты.
[00209] Второе ограничение перевыбора, используемое в вариантах осуществления настоящего изобретения, представляет собой ограничение перевыбора, применяемое в отношении целевой соты в случае, если целевая сота не соответствует подходящей соте в предшествующем уровне техники, что, таким образом, здесь подробно не описывается.
[00210] В вариантах осуществления настоящего изобретения, с одной стороны, в случае, если определено, что второе ограничение перевыбора применяется в отношении целевой соты и/или соты с той же частотой, что и у целевой соты, определяется, что не будет выполнен перевыбор целевой соты и/или соты с той же частотой, что и у целевой соты. С другой стороны, в случае, если определено, что второе ограничение перевыбора не применяется в отношении целевой соты и/или соты с той же частотой, что и у целевой соты, определяется, что будет выполнен перевыбор целевой соты и/или соты с той же частотой, что и у целевой соты.
[00211] Кроме того, в случае, если второе ограничение перевыбора применяется в отношении целевой соты и/или соты с той же частотой, что и у целевой соты, в вариантах осуществления настоящего изобретения, может быть дополнительно определено, следует ли снять второе ограничение перевыбора, выполняемое для целевой соты и/или соты с той же частотой, что и у целевой соты.
[00212] В вариантах осуществления настоящего изобретения второе ограничение перевыбора, применяемое в отношении целевой соты и/или соты с той же частотой, что и у целевой соты, может быть снято на основании условия снятия второго ограничения перевыбора. Условие снятия второго ограничения перевыбора является условием для снятия ограничения перевыбора, применяемого в отношении целевой соты и/или соты с той же частотой, что и у целевой соты, в случае, если целевая сота не соответствует подходящей соте в предшествующем уровне техники, что, таким образом, здесь подробно не описывается.
[00213] На основании вышеописанных вариантов осуществления в способе перевыбора соты, предложенном вариантами осуществления настоящего изобретения, терминал может определить, поддерживает ли целевая сота один или более сетевых слайсов терминала, а также может определить, является ли целевая сота подходящей сотой, и выполнить первое ограничение перевыбора и/или второе ограничение перевыбора в отношении целевой соты и/или соты с той же частотой, что и у целевой соты, на основе соответствующего результата определения. Если определено, что целевая сота поддерживает один или более сетевых слайсов терминала, и целевая сота является подходящей сотой, терминал выполняет перевыбор целевой соты. Процесс реализации может относиться к описанию соответствующего варианта осуществления на фиг. 2. Если определено, что целевая сота не поддерживает один или более сетевых слайсов терминала и/или целевая сота не является подходящей сотой, ограничение перевыбора, применяемое в отношении целевой соты и/или соты с той же частотой, что и у целевой соты, может включать в себя следующие примеры.
[00214] Пример 1: Сначала определяется, поддерживает ли целевая сота один или более сетевых слайсов терминала. Если определено, что целевая сота не поддерживает один или более сетевых слайсов терминала, выполняется первое ограничение перевыбора для целевой соты и/или соты с той же частотой, что и у целевой соты. Если определено, что целевая сота поддерживает один или более сетевых слайсов терминала, дополнительно определяется, является ли целевая сота подходящей сотой. Если определено, что целевая сота не является подходящей сотой, выполняется второе ограничение перевыбора в отношении целевой соты и/или соты с той же частотой, что и у целевой соты.
[00215] Пример 2: Сначала определяется, является ли целевая сота подходящей сотой. Если определено, что целевая сота не является подходящей сотой, выполняется второе ограничение перевыбора в отношении целевой соты и/или соты с той же частотой, что и у целевой соты. Если определено, что целевая сота является подходящей сотой, дополнительно определяется, поддерживает ли целевая сота один или более сетевых слайсов терминала. Если определено, что целевая сота не поддерживает один или более сетевых слайсов терминала, выполняется первое ограничение перевыбора для целевой соты и/или соты с той же частотой, что и у целевой соты.
[00216] Пример 3: Процессы определения того, поддерживает ли целевая сота один или более сетевых слайсов терминала и является ли целевая сота подходящей сотой, выполняются параллельно. Если определено, что целевая сота не поддерживает один или более сетевых слайсов терминала, выполняется первое ограничение перевыбора для целевой соты и/или соты с той же частотой, что и у целевой соты. Если определено, что целевая сота не является подходящей сотой, выполняется второе ограничение перевыбора в отношении целевой соты и/или соты с той же частотой, что и у целевой соты. Если определено, что целевая сота не поддерживает один или более сетевых слайсов терминала, и определено, что целевая сота не является подходящей сотой, определяется, что следует выполнить первое ограничение перевыбора и/или второе ограничение перевыбора в отношении целевой соты и/или соты с той же частотой, что и у целевой соты, на основании протокола или информации индикации, отправленной сетевым устройством.
[00217] В способе перевыбора соты, предложенном в вариантах осуществления настоящего изобретения, можно определить, снимать ли первое ограничение перевыбора и/или второе ограничение перевыбора, применяемое в отношении целевой соты и/или соты с той же частотой, что и у целевой соты. Например, определение того, снимать ли первое ограничение перевыбора и/или второе ограничение перевыбора, применяемое в отношении целевой соты и/или соты с той же частотой, что и у целевой соты, может включать в себя следующие примеры.
[00218] Пример 1: Определяется, снимать ли первое ограничение перевыбора, применяемое в отношении целевой соты и/или соты с той же частотой, что и у целевой соты, в соответствии с условием снятия первого ограничения перевыбора. И/или определяется, снять ли второе ограничение перевыбора для целевой соты и/или соты с той же частотой, что и у целевой соты, в соответствии со условием снятия второго ограничения перевыбора.
[00219] Пример 2: На основании протокола или информации индикации, отправленной сетевым устройством, определяется, что следует снять ограничение перевыбора, применяемое в отношении целевой соты и/или соты с той же частотой, что и у целевой соты, согласно условию снятия первого ограничения перевыбора и/или условию снятия второго ограничения перевыбора.
[00220] Пример 3: Терминал повторно определяет, удовлетворены ли условие первого ограничения перевыбора и/или условие второго ограничения перевыбора. Если условие первого ограничения перевыбора больше не удовлетворяется, первое ограничение перевыбора, применяемое в отношении целевой соты и/или соты с той же частотой, что и у целевой соты, снимается. Если условие второго ограничения перевыбора больше не удовлетворяется, второе ограничение перевыбора, применяемое в отношении целевой соты и/или соты с той же частотой, что и у целевой соты, снимается.
[00221] Кроме того, в способе перевыбора соты, предложенном вариантами осуществления настоящего изобретения, терминал может дополнительно определить, следует ли снять первое ограничение перевыбора и/или второе ограничение перевыбора, применяемое в отношении целевой соты и/или соты с той же частоте, что и целевая сота, в случае, если определено, что целевая сота не поддерживает один или более сетевых слайсов терминала, и/или целевая сота не является подходящей сотой, и первое ограничение перевыбора и/или второе ограничение перевыбора применяется в отношении целевой соты и/или соты с той же частотой, что и у целевой соты. Например, могут быть использованы следующие примеры.
[00222] Пример 1: Если определено, что целевая сота не поддерживает один или более сетевых слайсов терминала, и первое ограничение перевыбора применяется в отношении целевой соты и/или соты с той же частотой, что и у целевой соты, определяется, следует ли снимать первое ограничение перевыбора, применяемое в отношении целевой соты и/или соты с той же частотой, что и у целевой соты, в соответствии с условием снятия первого ограничения перевыбора. Если определено, что целевая сота не является подходящей сотой, и второе ограничение перевыбора применяется в отношении целевой соты и/или соты с той же частотой, что и у целевой соты, определяется, следует ли снимать второе ограничение перевыбора в отношении целевой соты и/или соты с той же частотой, что и у целевой соты, в соответствии с условием снятия второго ограничения перевыбора.
[00223] Пример 2: В случае, если определено, что целевая сота не поддерживает один или более сетевых слайсов терминала, и/или целевая сота не является подходящей сотой, и первое ограничение перевыбора и/или второе ограничение перевыбора применяется в отношении целевой соты и/или соты с той же частотой, что и у целевой соты, определяется, что следует снять ограничение перевыбора, применяемое в отношении целевой соты и/или соты с той же частотой, что и у целевой соты, в соответствии с условием снятия первого ограничения перевыбора и/или условием снятия второго ограничения перевыбора на основе протокола или информации индикации, отправленной сетевым устройством.
[00224] Пример 3: В случае, если определено, что целевая сота не поддерживает один или более сетевых слайсов терминала, и/или что целевая сота не является подходящей сотой, и первое ограничение перевыбора и/или второе ограничение перевыбора применяется в отношении целевой соты и/или соты с той же частотой, что и у целевой соты, терминал повторно определяет, удовлетворены ли условие первого ограничения перевыбора и/или условие второго ограничения перевыбора. Если условие первого ограничения перевыбора больше не удовлетворяется, первое ограничение перевыбора, применяемое в отношении целевой соты и/или соты с той же частотой, что и у целевой соты, снимается. Если второе условие ограничения перевыбора больше не удовлетворяется, второе ограничение перевыбора, применяемое в отношении целевой соты и/или соты с той же частотой, что и у целевой соты, снимается.
[00225] В способе перевыбора соты, предложенном вариантами осуществления настоящего изобретения, в случае, если целевая сота, соответствующая терминалу, поддерживает один или более сетевых слайсов терминала, а целевая сота является подходящей сотой, терминал выполняет перевыбор целевой соты. В случае, если целевая сота терминала не поддерживает один или более сетевых слайсов терминала и/или целевая сота терминала не является подходящей сотой, можно дополнительно определить, следует ли выполнять перевыбор целевой соты и/или соты с той же частотой, что и у целевой соты. Кроме того, посредством настоящего изобретения реализуется решение по ограничению перевыбора и снятию ограничения в отношении целевой соты или других сот с той же частотой, если к целевой соте невозможно получить доступ, поскольку она не поддерживает сетевой слайс терминала, в процессе перевыбора соты на основе сетевого слайса.
[00226] На основе той же концепции варианты осуществления настоящего изобретения также предлагают способ перевыбора соты, выполняемый сетевым устройством.
[00227] Фиг. 7 представляет собой блок-схему способа перевыбора соты согласно иллюстративному варианту осуществления, который может быть выполнен отдельно или в сочетании с другими вариантами осуществления. Как показано на фиг. 7, способ перевыбора соты выполняется сетевым устройством и включает в себя следующие этапы.
[00228] На этапе S61 первую информацию индикации отправляют на терминал.
[00229] Первая информация индикации используется для указания того, следует ли выполнять перевыбор целевой соты и/или соты с той же частотой, что и у целевой соты. Целевая сота не поддерживает один или более сетевых слайсов терминала.
[00230] Целевая сота, задействованная в вариантах осуществления настоящего изобретения, представляет собой целевую соту, определенную в процессе перевыбора соты на основе приоритета частоты. Например, целевая сота является целевой сотой, определенной в процессе перевыбора соты на основе приоритета частоты, связанного со слайсом.
[00231] В варианте осуществления первая информация индикации также используется для указания того применяет ли терминал первое ограничение перевыбора в отношении целевой соты и/или соты с той же частотой, что и у целевой соты.
[00232] С одной стороны, первая информация индикации специально используется для указания терминалу не выполнять перевыбор целевой соты и/или соты с той же частотой, что и у целевой соты, при применении первого ограничения перевыбора. С другой стороны, первая информация индикации специально используется для указания терминалу выполнять перевыбор целевой соты и/или соты с той же частотой, что и у целевой соты, когда не выполняется первое ограничение перевыбора.
[00233] В варианте осуществления первое ограничение перевыбора, используемое в вариантах осуществления настоящего изобретения, включает в себя по меньшей мере одно из следующего:
[00234] (1) Прекращение использования целевой соты в качестве соты-кандидата;
[00235] (2) Прекращение использования соты с той же частотой, что и у целевой соты, в качестве соты-кандидата;
[00236] (3) Снижение приоритета целевой соты;
[00237] (4) Снижение приоритета соты с той же частотой, что и у целевой соты;
[00238] (5) Снижение приоритета частотной точки, соответствующей целевой соте.
[00239] На основании содержания первого ограничения перевыбора, первое ограничение перевыбора, входящее в варианты осуществления настоящего изобретения, может включать в себя следующие примеры.
[00240] Пример 1: Сетевое устройство отправляет первую информацию индикации, чтобы указать на прекращение использования целевой соты в качестве соты-кандидата.
[00241] Пример 2: Сетевое устройство отправляет первую информацию индикации, чтобы указать на прекращение использования целевой соты и других сот с той же частотой, что и соты-кандидаты.
[00242] Пример 3: Сетевое устройство отправляет первую информацию индикации, чтобы указать на снижение приоритета целевой соты.
[00243] Пример 4: Сетевое устройство отправляет первую информацию индикации, чтобы указать на снижение приоритета частотной точки целевой соты.
[00244] В вариантах осуществления настоящего изобретения снижение приоритета целевой соты, или снижение приоритета соты с той же частотой, что и у целевой соты, или снижение приоритета частотной точки, соответствующей целевой соте, может пониматься как снижение приоритета целевой соты, приоритета соты с той же частотой, что и у целевой соты, или приоритета частотной точки, соответствующей целевой соте, на N уровней, где N - целое положительное число, например, N равно 1 или другим значениям. В примере, в вариантах осуществления настоящего изобретения приоритет целевой соты, приоритет соты с той же частотой, что и у целевой соты, или приоритет частотной точки, соответствующей целевой соте, может быть снижен до самого низкого уровня приоритета, то есть минимизируя возможности того, что целевая сота, сота с той же частотой, что и у целевой соты, или частотная точка, соответствующая целевой соте, станет сотой-кандидатом.
[00245] В примере, первая информация индикации в вариантах осуществления настоящего изобретения может использоваться для указания того, следует ли прекратить использование других сот с той же частотой, что и соты-кандидаты, чтобы указать, выполняет ли терминал перевыбор соты в отношении целевой соты и/или соты с той же частотой, что и у целевой соты.
[00246] Первая информация индикации представляет собой широковещательное системное сообщение или собственную сигнализацию.
[00247] В реализации варианты осуществления настоящего изобретения могут конфигурировать соответствующий первый параметр для первого ограничения перевыбора. Первый параметр включает в себя по меньшей мере одно из следующего: параметр времени для применения первого ограничения перевыбора в отношении целевой соты и/или соты с той же частотой, что и у целевой соты, и/или количество раз перевыбора, при котором первое ограничение перевыбора применяется в отношении целевой соты и/или соты с той же частотой, что и у целевой соты.
[00248] Первый параметр может включать в себя параметр времени для применения первого ограничения перевыбора в отношении целевой соты и/или соты с той же частотой, что и у целевой соты, и/или количество раз перевыбора, при котором первое ограничение перевыбора применяется в отношении целевой соты и/или соты с той же частотой, что и у целевой соты. То есть, в случае, если определено, что следует выполнить первое ограничение перевыбора в отношении целевой соты и/или соты с той же частотой, что и у целевой соты, первое ограничение перевыбора применяется в отношении целевой соты и/или соты с той же частотой, что и у целевой соты, в течение времени, заданного вышеуказанным параметром времени, и/или в течение количества раз перевыбора, заданного параметром перевыбора.
[00249] Фиг. 8 представляет собой блок-схему способа перевыбора соты согласно иллюстративному варианту осуществления, и способ перевыбора соты может быть выполнен отдельно или в сочетании с другими вариантами осуществления. Как показано на фиг. 8, способ перевыбора соты выполняется сетевым устройством и включает в себя следующие этапы.
[00250] На этапе S71 вторую информацию индикации отправляют на терминал, и вторая информация индикации используется для указания того, снимает ли терминал первое ограничение перевыбора для целевой соты и/или соты с той же частотой, что и у целевой соты.
[00251] В варианте осуществления вторая информация индикации включает в себя по меньшей мере одно из следующего: системное широковещательное сообщение; собственная сигнализация; и информация индикации, отправленная уровнем отсутствия доступа к терминалу на уровень доступа к терминалу.
[00252] В варианте осуществления вторая информация индикации также используется для определения того, что информация о слайсах терминала изменяется; или вторая информация индикации также используется для указания того, что следует снять первое ограничение перевыбора.
[00253] Варианты осуществления настоящего изобретения также предлагают способ перевыбора соты. В способе перевыбора соты сетевое устройство отправляет первую информацию индикации и вторую информацию индикации на терминал. Первая информация индикации используется для указания того, выполняет ли терминал перевыбор соты в отношении целевой соты и/или соты с той же частотой, что и у целевой соты, в случае, если целевая сота не поддерживает один или более сетевых слайсов терминала. Вторая информация индикации используется для указания того, снимает ли терминал первое ограничение перевыбора, применяемое в отношении целевой соты и/или соты с той же частотой, что и у целевой соты.
[00254] В варианте осуществления, в способе перевыбора соты, предложенном вариантами осуществления настоящего изобретения, сетевое устройство может также отправлять информацию о слайсах, поддерживаемую или не поддерживаемую целевой сотой, на терминал, так что терминал может определить, что целевая сота не поддерживает один или более сетевых слайсов терминала на основании информации о слайсах сетевого слайса, поддерживаемой или не поддерживаемой целевой сотой.
[00255] Целевая сота, участвующая в вариантах осуществления настоящего изобретения, представляет собой целевую соту, определенную в процессе перевыбора соты на основе приоритета частоты. Например, целевая сота является целевой сотой, определенной в процессе перевыбора соты на основе приоритета частоты, связанного со слайсом.
[00256] Информация о слайсах сетевого слайса, поддерживаемая или не поддерживаемая целевой сотой, может быть идентификатором сетевого слайса, идентификатором группы сетевых слайсов или другими идентификаторами.
[00257] Можно понять, что в способе перевыбора соты, выполняемом сетевым устройством, предложенном в вариантах осуществления настоящего изобретения, сетевое устройство отправляет соответствующую информацию о параметрах для реализации перевыбора соты на основе сетевого слайса, такую как первую информацию индикации, вторую информацию индикации и информацию о слайсах, поддерживаемую или не поддерживаемую целевой сотой, таким образом, осознавая, что дополнительно определяется, следует ли выполнять перевыбор целевой соты и/или соты с той же частотой, что и у целевой соты, в случае, если целевая сота терминала не поддерживает один или более сетевых слайсов терминала, и/или целевая сота терминала не является подходящей сотой. Кроме того, посредством настоящего изобретения реализуется решение по ограничению перевыбора и снятию ограничения целевой соты или других сот с той же частотой, если к целевой соте невозможно получить доступ, поскольку она не поддерживает сетевой слайс терминала, в процессе перевыбора соты на основе сетевого слайса. В решении по реализации перевыбора соты сетевым устройством та же или подобная часть, что и в решении по реализации перевыбора соты терминалом, здесь не будет описываться, и можно сделать ссылку на соответствующие описания вышеприведенных вариантов осуществления.
[00258] Можно понять, что способ перевыбора соты, предложенный в вариантах осуществления настоящего изобретения, также применим к процессу реализации перевыбора соты посредством взаимодействия между терминалом и сетевым устройством. В процессе реализации перевыбора соты посредством взаимодействия между терминалом и сетевым устройством, каждое из терминала и сетевого устройства имеет функции, используемые в вышеописанных вариантах осуществления, поэтому процесс реализации перевыбора соты посредством взаимодействия между терминалом и сетевым устройством может обратиться к соответствующим описаниям вышеприведенных вариантов осуществления, которые не будут здесь подробно описываться.
[00259] Следует отметить, что специалисты в данной области техники могут понять, что приведенные выше различные реализации/примеры вариантов осуществления настоящего изобретения могут использоваться вместе с вышеуказанными вариантами осуществления или независимо. Независимо от того, используется ли он отдельно или в сочетании с вышеописанными вариантами осуществления, принцип реализации аналогичен. В вариантах осуществления настоящего изобретения некоторые варианты осуществления описаны как реализации, используемые вместе. Специалисты в данной области техники могут понять, что такое иллюстративное описание не является ограничением вариантов осуществления настоящего изобретения.
[00260] На основе той же концепции варианты осуществления настоящего изобретения также предлагают устройство для перевыбора соты.
[00261] Понятно, что устройство для перевыбора соты, предложенное вариантами осуществления настоящего изобретения, включает в себя соответствующие аппаратные структуры и/или программные модули для выполнения различных функций, чтобы реализовать вышеупомянутые функции. Объединив блоки и этапы алгоритма различных примеров, раскрытых в вариантах осуществления настоящего изобретения, варианты осуществления настоящего изобретения могут быть реализованы в форме аппаратных средств или комбинации аппаратных средств и компьютерного программного обеспечения. Выполняется ли определенная функция аппаратными средствами или посредством компьютерного программного обеспечения, управляющего аппаратными средствами, зависит от конкретного применения и условий конструктивного ограничения технического решения. Специалисты в данной области техники могут использовать разные способы для реализации описанной функции для каждого конкретного применения, при этом такую реализацию не следует рассматривать за пределами технического решения вариантов осуществления настоящего изобретения.
[00262] Фиг. 9 представляет собой блок-схему устройства для перевыбора соты согласно иллюстративному варианту осуществления. Ссылаясь на фиг. 9, устройство 100 для перевыбора соты включает в себя блок 101 обработки.
[00263] Блок 101 обработки выполнен с возможностью определения того, что целевая сота не поддерживает один или более сетевых слайсов терминала, и определения того, следует ли выполнять перевыбор целевой соты и/или соты с той же частотой, что и у целевой соты.
[00264] В варианте осуществления блок 101 обработки выполнен с возможностью определения того, следует ли применять первое ограничение перевыбора в отношении целевой соты и/или соты с той же частотой, что и у целевой соты.
[00265] В варианте осуществления, блок 101 обработки выполнен с возможностью определения того, что следует применять первое ограничение перевыбора в отношении целевой соты и/или соты с той же частотой, что и у целевой соты, и определения того, что не следует выполнять перевыбор целевой соты и/или соты сота с той же частотой, что и у целевой соты.
[00266] В варианте осуществления, блок 101 обработки выполнен с возможностью определения того, что не следует применять первое ограничение перевыбора в отношении целевой соты и/или соты с той же частотой, что и у целевой соты, и определения того, что следует выполнять перевыбор целевой соты и/или соты сота с той же частотой, что и у целевой соты.
[00267] В варианте осуществления первое ограничение перевыбора включает в себя по меньшей мере одно из следующего: прекращение использования целевой соты в качестве соты-кандидата; прекращение использования соты с той же частотой, что и у целевой соты, в качестве соты-кандидата; снижение приоритета целевой соты; снижение приоритета соты с той же частотой, что и у целевой соты; снижение приоритета частотной точки, соответствующей целевой соте.
[00268] В варианте осуществления, блок 101 обработки выполнен с возможностью приема первой информации индикации, отправленной сетевым устройством, и первая информация индикации используется для указания того, выполняется ли перевыбор целевой соты и/или соты с той же частотой, что и у целевой соты. Согласно первой информации индикации определяется, следует ли применять первое ограничение перевыбора в отношении целевой соты и/или соты с той же частотой, что и у целевой соты.
[00269] В варианте осуществления первое ограничение перевыбора соответствует первому параметру, и первый параметр включает в себя по меньшей мере одно из следующего: параметр времени для применения первого ограничения перевыбора в отношении целевой соты и/или соты с той же частотой, что и у целевой соты, и количество раз перевыбора, при котором первое ограничение перевыбора применяется в отношении целевой соты и/или соты с той же частотой, что и у целевой соты.
[00270] В варианте осуществления, блок 101 обработки дополнительно выполнен с возможностью определения того, что условие снятия первого ограничения перевыбора удовлетворено, и определения того, следует ли снимать первое ограничение перевыбора, применяемое в отношении целевой соты и/или соты с той же частотой, что и у целевой соты.
[00271] В варианте осуществления блок 101 обработки выполнен с возможностью повторного определения того, удовлетворено ли условие первого ограничения перевыбора, и условие первого ограничения перевыбора включает в себя отсутствие поддержки целевой сотой одного или более сетевых слайсов терминала. Определяется, что условие первого ограничения перевыбора не удовлетворено. Первое ограничение перевыбора, применяемое в отношении целевой соты и/или соты с той же частотой, что и у целевой соты, снимается.
[00272] В варианте осуществления условие снятия первого ограничения перевыбора включает в себя по меньшей мере одно из следующего.
[00273] Терминал возвращается к процессу перевыбора соты, который не основан на одном или более сетевых слайсах. Терминал выполняет перевыбор соты на основе других сетевых слайсов, отличных от текущего сетевого слайса для перевыбора соты. Терминал принимает указание обновления системного сообщения. Терминал входит в состояние произвольного выбора соты. Терминал принимает вторую информацию индикации, и вторая информация индикации используется для указания того, снять ли первое ограничение перевыбора. Меняется сота с самым высоким рейтингом. Терминал выходит из зоны слежения, где он находится. Терминал выходит из зоны регистрации, где он находится. Терминал принимает сообщение о перенаправлении, и сообщение о перенаправлении включает в себя частотную точку, для которой ограничение перевыбора было снято. Наземная мобильная сеть общего пользования, выбранная терминалом, изменяется.
[00274] В варианте осуществления вторая информация индикации также используется для определения того, что информация о слайсах терминала изменяется. Или вторая информация индикации также используется для указания того, что следует снять первое ограничение перевыбора.
[00275] В варианте осуществления информация о слайсах терминала включает в себя по меньшей мере одно из следующего: список сетевых слайсов, поддерживаемых терминалом; список частотных точек, соответствующих сетевым слайсам, поддерживаемым терминалом; список приоритетов частотных точек, соответствующих сетевым слайсам, поддерживаемым терминалом; и приоритеты сетевых слайсов, поддерживаемых терминалом.
[00276] В варианте осуществления блок 101 обработки выполнен с возможностью приема информации о слайсах, поддерживаемой или не поддерживаемой целевой сотой, и определения того, что целевая сота не поддерживает один или более сетевых слайсов терминала.
[00277] Фиг. 10 представляет собой блок-схему устройства для перевыбора соты согласно иллюстративному варианту осуществления. Ссылаясь на фиг. 10, устройство 200 для перевыбора соты включает в себя блок 201 отправки.
[00278] Блок 201 отправки выполнен с возможностью отправки первой информации индикации на терминал, и первая информация индикации используется для указания того, следует ли выполнять перевыбор целевой соты и/или соты с той же частотой, что и у целевой соты, где целевая сота не поддерживает один или более сетевых слайсов терминала.
[00279] В варианте осуществления первая информация индикации также используется для указания, применяет ли терминал первое ограничение перевыбора в отношении целевой соты и/или соты с той же частотой, что и у целевой соты.
[00280] В варианте осуществления первая информация индикации специально используется для указания терминалу не выполнять перевыбор целевой соты и/или соты с той же частотой, что и у целевой соты, при применении первого ограничения перевыбора.
[00281] В варианте осуществления первая информация индикации специально используется для указания терминалу выполнять перевыбор целевой соты и/или соты с той же частотой, что и у целевой соты, когда не выполняется первое ограничение перевыбора.
[00282] В варианте осуществления первое ограничение перевыбора включает в себя по меньшей мере одно из следующего: прекращение использования целевой соты в качестве соты-кандидата; прекращение использования соты с той же частотой, что и у целевой соты, в качестве соты-кандидата; снижение приоритета целевой соты; снижение приоритета соты с той же частотой, что и у целевой соты; снижение приоритета частотной точки, соответствующей целевой соте.
[00283] В варианте осуществления первое ограничение перевыбора соответствует первому параметру, и первый параметр включает в себя по меньшей мере одно из следующего: параметр времени применения первого ограничения перевыбора в отношении целевой соты и/или соты с той же частотой, что и у целевой соты, и количество раз перевыбора, при котором первое ограничение перевыбора применяется в отношении целевой соты и/или соты с той же частотой, что и у целевой соты.
[00284] В варианте осуществления модуль 201 отправки дополнительно выполнен с возможностью отправки второй информации индикации на терминал, и вторая информация индикации используется для указания того, следует ли снимать первое ограничение перевыбора.
[00285] В варианте осуществления вторая информация индикации также используется для определения того, что информация о слайсах терминала изменяется. Или вторая информация индикации также используется для указания того, что следует снять первое ограничение перевыбора.
[00286] В варианте осуществления модуль 201 отправки дополнительно выполнен с возможностью отправки информации о слайсах, поддерживаемой или не поддерживаемой целевой сотой.
[00287] Что касается устройств в вышеупомянутых вариантах осуществления, конкретный способ, которым каждый модуль выполняет операции, был подробно описан в вариантах осуществления соответствующего способа, который не будет подробно описываться здесь.
[00288] Фиг. 11 представляет собой блок-схему устройства для перевыбора соты согласно иллюстративному варианту осуществления. Например, устройство 300 может быть представлено в виде терминала, который может представлять собой мобильный телефон, компьютер, терминал цифрового вещания, устройство обмена сообщениями, игровую консоль, планшетное устройство, медицинское устройство, фитнес-устройство, персональный компьютер, цифровой помощник и тому подобное.
[00289] Ссылаясь на фиг. 11, устройство 300 может включать в себя один или более из следующих компонентов: компонент 302 обработки, память 304, компонент 306 питания, мультимедийный компонент 308, аудиокомпонент 310, интерфейс 312 ввода/вывода (I/O), измерительный компонент 314 и компонент 316 связи.
[00290] Компонент 302 обработки обычно управляет всей работой устройства 300, такой как операции, связанные с отображением, телефонным вызовом, передачей данных, работой камеры и операцией записи. Компонент 302 обработки может включать в себя один или более процессоров 320 для выполнения инструкций для выполнения всех или части этапов способа, описанного выше. Кроме того, компонент 302 обработки может включать в себя один или более модулей для облегчения взаимодействия между компонентом 302 обработки и другими компонентами. Например, компонент 302 обработки может включать в себя мультимедийный модуль для облегчения взаимодействия между мультимедийным компонентом 308 и компонентом 302 обработки.
[00291] Память 304 выполнена с возможностью хранения различных типов данных для поддержки операций на устройстве 300. Примеры этих данных включают в себя инструкции для любого приложения или способа, работающего на устройстве 300, контактные данные, данные телефонной книги, сообщения, изображения, видео и т.д. Память 304 может быть реализована в виде энергозависимого или энергонезависимого запоминающего устройства любого типа или их комбинации, например статического оперативного запоминающего устройства (static random access memory, SRAM), электрически стираемого программируемого постоянного запоминающего устройства (electrically erasable programmable read-only memory, EEPROM), стираемого программируемого постоянного запоминающего устройства, (erasable programmable read-only memory, EPROM), программируемого постоянного запоминающего устройства (programmable read-only memory, PROM), постоянного запоминающего устройства (read-only memory, ROM), магнитной памяти, флэш-памяти, магнитного диска или оптического диска.
[00292] Компонент 306 питания обеспечивает питание различных компонентов устройства 300. Компонент 306 питания может включать в себя систему управления питанием, один или более источников питания и другие компоненты, связанные с генерацией, управлением и распределением мощности для устройства 300.
[00293] Мультимедийный компонент 308 включает в себя экран, который обеспечивает интерфейс вывода между устройством 300 и пользователем. В некоторых вариантах реализации экран может включать в себя жидкокристаллический дисплей (liquid crystal display, LCD) и сенсорную панель (touch panel, TP). Если экран включает в себя сенсорную панель, экран может быть реализован как сенсорный экран для приема входного сигнала от пользователя. Сенсорная панель включает в себя один или более сенсорных датчиков для распознавания прикосновения, скольжения и жестов на сенсорной панели. Датчик касания может не только определять границу действия касания или скольжения, но также определять продолжительность и давление, связанные с операцией касания или скольжения. В некоторых вариантах реализации мультимедийный компонент 308 включает в себя переднюю камеру и/или заднюю камеру. Когда устройство 300 находится в рабочем режиме, таком как режим съемки или режим видео, передняя камера и/или задняя камера могут принимать внешние мультимедийные данные. Каждая передняя и задняя камеры могут представлять собой систему с фиксированным оптическим объективом или иметь фокусное расстояние и возможность оптического зума.
[00294] Аудиокомпонент 310 выполнен с возможностью вывода и/или ввода аудиосигналов. Например, аудиокомпонент 310 включает в себя микрофон (microphone, MIC), который выполнен с возможностью приема внешних аудиосигналов, когда устройство 300 находится в рабочем режиме, таком как режим вызова, режим записи и режим распознавания голоса. Принятый аудиосигнал может быть дополнительно сохранен в памяти 304 или передан через компонент 316 связи. В некоторых вариантах реализации аудиокомпонент 310 дополнительно включает в себя динамик для вывода аудиосигналов.
[00295] Интерфейс 312 ввода-вывода обеспечивает интерфейс между компонентом 302 обработки и модулями периферийного интерфейса, а модули периферийного интерфейса могут представлять собой клавиатуры, колесики управления, кнопки и т.д. Эти кнопки могут включать в себя, помимо прочего, кнопку «Домой», кнопку громкости, кнопку «Пуск» и кнопку блокировки.
[00296] Измерительный компонент 314 включает в себя один или более датчиков для обеспечения различных аспектов оценки состояния устройства 300. Например, измерительный компонент 314 может обнаруживать открытое/закрытое состояние устройства 300, относительное расположение компонентов, таких как дисплей и клавиатура устройства 300, изменение положения устройства 300 или компонента устройства 300, наличие или отсутствие контакта пользователя с устройством 300, ориентацию или ускорение/замедление устройства 300 и изменение температуры устройства 300. Измерительный компонент 314 может включать в себя датчик приближения, выполненный с возможностью обнаружения присутствия близлежащего объекта без какого-либо физического контакта. Измерительный компонент 314 может также включать в себя оптический датчик, такой как датчик изображения на технологии КМОП (CMOS) или прибора с зарядной связью (charge coupled device, CCD), для использования в приложениях формирования изображений. В некоторых вариантах реализации измерительный компонент 314 может дополнительно включать в себя датчик ускорения, гироскопический датчик, магнитный датчик, датчик давления или датчик температуры.
[00297] Компонент 316 связи выполнен с возможностью облегчения проводной или беспроводной связи между устройством 300 и другими устройствами. Устройство 300 может получить доступ к беспроводной сети в соответствии со стандартом связи, например Wi-Fi, 2G или 3G, или их комбинацией. В иллюстративном варианте осуществления компонент 316 связи принимает широковещательный сигнал или информацию, связанную с широковещательной передачей, от внешней системы управления широковещательной передачей через широковещательный канал. В иллюстративном варианте осуществления компонент 316 связи дополнительно включает в себя модуль связи ближнего радиуса действия (near field communication, NFC) для облегчения связи на малом расстоянии. Например, модуль NFC может быть реализован в соответствии с технологией радиочастотной идентификации (radio frequency identification, RFID), технологией инфракрасной ассоциации данных (infrared data association, IrDA), сверхширокополосной (ultra-wideband UWB) технологией, технологией Bluetooth (ВТ) и другими технологиями.
[00298] В иллюстративном варианте осуществления устройство 300 может быть реализовано посредством одной или более специализированных интегральных схем (application specific integrated circuit, ASIC), процессоров цифровых сигналов (digital signal processor, DSP), устройства цифровой обработки сигналов (digital signal processing device, DSPD), программируемых логических устройств (programmable logic device, PLD), программируемых пользователем вентильных матриц (field programmable gate array, FPGA), контроллеров, микроконтроллеров, микропроцессоров или других электронных элементов для выполнения вышеуказанных способов.
[00299] В иллюстративном варианте осуществления также предложен энергонезависимый машиночитаемый носитель информации, включающий в себя инструкции, такой как память 304, включающая в себя инструкции, и вышеуказанные инструкции могут выполняться процессором 320 устройства 300 для выполнения вышеуказанных способов. Например, энергонезависимым машиночитаемым носителем информации может быть ПЗУ (read only memory, ROM), оперативное запоминающее устройство (ОЗУ, random access memory, RAM), CD-ROM, магнитная лента, дискета, оптическое устройство хранения данных и т.д.
[00300] Фиг. 12 представляет собой блок-схему устройства 400 для перевыбора соты согласно иллюстративному варианту осуществления. Например, устройство 400 может быть предложено как сетевое устройство, такое как базовая станция. Ссылаясь на фиг. 12, устройство 400 включает в себя компонент 422 обработки, который дополнительно включает в себя один или более процессоров, и ресурсы памяти, представленные памятью 432 для хранения инструкций, таких как прикладные программы, исполняемые компонентом 422 обработки. Прикладная программа хранящиеся в памяти 432, может включать в себя один или более модулей, каждый из которых соответствует набору инструкций. Кроме того, компонент 422 обработки выполнен с возможностью выполнения инструкций для выполнения вышеуказанных способов.
[00301] Устройство 400 также может включать в себя компонент 426 питания, выполненный с возможностью выполнения управления питанием устройства 400, проводной или беспроводной сетевой интерфейс 450, выполненный с возможностью подключения устройства 400 к сети, и интерфейс 458 ввода/вывода (I/O). Устройство 400 может работать в соответствии с операционной системой, хранящейся в памяти 432, такой как Windows ServerTM, Mac OS XTM, UnixTM, LinuxTM, FreeBSDTM и т.п.
[00302] В иллюстративном варианте осуществления также предложен энергонезависимый машиночитаемый носитель данных, включающий в себя инструкции, такой как память 432, содержащая инструкции, и вышеуказанные инструкции могут выполняться компонентом 422 обработки устройства 400 для выполнения вышеперечисленных способов. Например, энергонезависимым машиночитаемым носителем информации может быть ПЗУ, оперативное запоминающее устройство (ОЗУ), CD-ROM, магнитная лента, дискета, оптическое устройство хранения данных и т.д.
[00303] Кроме того, можно понимать, что «множество» в настоящем изобретении относится к двум или более чем двум, а другие количественные показатели аналогичны. «И/или», описывающее отношения связанных объектов, означает, что может быть три вида отношений. Например, А и/или В могут означать три случая, то есть А существует отдельно, А и В существуют вместе и В существует отдельно. Символ «/» обычно означает, что связанные первый и последний объекты имеют отношение «или». Формы единственного числа также включают формы множественного числа, если только контекст явно не выражает другое значение.
[00304] Далее понятно, что термины «первый» и «второй» используются для описания различной информации, при этом данная информация не должна ограничиваться этими терминами. Эти термины используются только для того, чтобы отличить однотипную информацию друг от друга и не указывают на определенный порядок или важность. На самом деле выражения «первый» и «второй» могут использоваться как взаимозаменяемые. Например, в рамках настоящего изобретения, первая информация также может называться второй информацией, и аналогичным образом вторая информация также может называться первой информацией.
[00305] Кроме того, можно понимать, что хотя операции описаны в определенном порядке на чертежах в вариантах осуществления настоящего изобретения, это не следует понимать как требование, чтобы эти операции выполнялись в определенном порядке или показанном последовательном порядке, или что все показанные операции должны быть выполнены для получения желаемых результатов. В определенных обстоятельствах многозадачность и параллельная обработка могут оказаться полезными.
[00306] Другие варианты осуществления настоящего изобретения легко станут понятны специалистам в данной области техники после рассмотрения описания и практического применения содержания, раскрытого в настоящем документе. Заявка предназначена для охвата любых изменений, применений или адаптаций настоящего изобретения, которые следуют общим принципам настоящего изобретения и включают в себя обычные или общепринятые технические средства предшествующего уровня техники, которые не раскрыты в настоящем изобретении. Описание и примеры следует рассматривать только как иллюстративные, при этом истинный объем и суть настоящего изобретения указываются следующей формулой изобретения.
[00307] Следует понимать, что настоящее изобретение не ограничивается точной конструкцией, описанной выше и показанной на чертежах, и различные модификации и изменения могут быть сделаны в рамках его объема. Объем настоящего изобретения ограничен только объемом прилагаемой формулы изобретения.
Изобретение относится к области беспроводной связи. Техническим результатом является обеспечение перевыбора соты на основе слайсов для ситуации, в которой целевая сота не может быть доступна, поскольку она не поддерживает слайсы терминала. Способ включает в себя: прием от сетевого устройства первой информации индикации, которая сконфигурирована для указания, следует ли выполнять перевыбор целевой соты и/или соты с той же частотой, что и у целевой соты; определение того, что целевая сота не поддерживает один или более сетевых слайсов терминала; и определение, следует ли применять ограничение перевыбора в отношении целевой соты и/или соты с той же частотой, что и у целевой соты. 6 н. и 11 з.п. ф-лы, 12 ил.
1. Способ перевыбора соты, выполняемый терминалом, включающий в себя:
прием от сетевого устройства первой информации индикации, которая сконфигурирована для указания, следует ли выполнять перевыбор целевой соты и/или соты с той же частотой, что и у целевой соты;
определение того, что целевая сота не поддерживает один или более сетевых слайсов терминала; и
определение, следует ли применять ограничение перевыбора в отношении целевой соты и/или соты с той же частотой, что и у целевой соты.
2. Способ по п.1, в котором ограничение перевыбора содержит:
снижение приоритета частотной точки, соответствующей целевой соте.
3. Способ по п.1 или 2, в котором ограничение перевыбора соответствует параметру времени для применения ограничения перевыбора в отношении целевой соты и/или соты с той же частотой, что и у целевой соты.
4. Способ по п.1 или 2, который дополнительно включает в себя:
определение того, что условие снятия ограничения перевыбора удовлетворено; и
определение, следует ли снимать ограничение перевыбора, применяемое в отношении целевой соты и/или соты с той же частотой, что и у целевой соты.
5. Способ по п.4, в котором условие снятия ограничения перевыбора содержит следующее:
терминал принимает вторую информацию индикации, при этом вторая информация индикации указывает, снимать ли применяемое ограничение перевыбора.
6. Способ по п.5, в котором вторая информация индикации также определяет, что информация о слайсах терминала изменилась.
7. Способ по п.6, в котором информация о слайсах терминала содержит по меньшей мере одно из следующего:
список сетевых слайсов, поддерживаемых терминалом; и
приоритеты сетевых слайсов, поддерживаемых терминалом.
8. Способ перевыбора соты, выполняемый сетевым устройством, включающий в себя:
отправку первой информации индикации на терминал, при этом первая информация индикации сконфигурирована для указания, следует ли выполнять перевыбор целевой соты и/или соты с той же частотой, что и у целевой соты, при этом целевая сота не поддерживает один или более сетевых слайсов терминала,
причем первая информация индикации дополнительно сконфигурирована для указания, следует ли терминалу применять ограничение перевыбора в отношении целевой соты и/или соты с той же частотой, что и у целевой соты.
9. Способ по п.8, в котором ограничение перевыбора содержит:
снижение приоритета частотной точки, соответствующей целевой соте.
10. Способ по п.8 или 9, в котором ограничение перевыбора соответствует параметру времени для применения ограничения перевыбора в отношении целевой соты и/или соты с той же частотой, что и у целевой соты.
11. Способ по п.8 или 9, который дополнительно включает в себя:
отправку второй информации индикации на терминал, при этом вторая информация индикации указывает, снимать ли применяемое ограничение перевыбора.
12. Способ по п.11, в котором вторая информация индикации также определяет, что информация о слайсах терминала изменилась.
13. Способ по п.12, в котором информация о слайсах терминала содержит по меньшей мере одно из следующего:
список сетевых слайсов, поддерживаемых терминалом; и
приоритеты сетевых слайсов, поддерживаемых терминалом.
14. Терминал, содержащий:
процессор; и
память для хранения инструкций, исполняемых процессором,
при этом процессор выполнен с возможностью выполнения способа по любому из пп. 1-7.
15. Сетевое устройство, содержащее:
процессор; и
память для хранения инструкций, исполняемых процессором,
при этом процессор выполнен с возможностью выполнения способа по любому из пп. 8-13.
16. Носитель данных, на котором хранятся инструкции, при выполнении которых процессором терминала терминал способен выполнять способ перевыбора соты по любому из пп.1-7.
17. Носитель данных, на котором хранятся инструкции, при выполнении которых процессором сетевого устройства сетевое устройство способно выполнять способ перевыбора соты по любому из пп.8-13.
| US 20210037455 A1, 04.02.2021 | |||
| Xiaomi, "Considerations on slice based cell reselection", 3GPP TSG-RAN WG2 Meeting #115 electronic, R2-2107243, Online, August 09th-27th, 2021 | |||
| WO 2019095798 A1, 23.05.2019 | |||
| CN 111149387 A, 12.05.2020 | |||
| WO 2021159307 A1, 19.08.2021 | |||
| WO 2021143900 A1, 22.07.2021 | |||
| СПОСОБ УПРАВЛЕНИЯ МОБИЛЬНОСТЬЮ, ПОЛЬЗОВАТЕЛЬСКОЕ ОБОРУДОВАНИЕ И БАЗОВАЯ СТАНЦИЯ | 2016 |
|
RU2721232C2 |
Авторы
Даты
2025-04-16—Публикация
2021-09-08—Подача