Изобретение относится к средствам индивидуальной защиты органов дыхания, в частности, к изолирующе-фильтрующим дыхательным аппаратам с изолирующей частью на химически связанном кислороде, предназначенным для защиты органов дыхания в аварийной ситуации и в непригодной для дыхания атмосфере.
Полная изоляция органов дыхания пользователя от внешней атмосферы и подача дыхательной смеси, насыщенной кислородом на вдох с одновременным поглощением выдыхаемых углекислого газа и паров воды в регенеративном патроне, позволяет использовать изолирующие дыхательные аппараты (ИДА) в атмосфере с низким содержанием кислорода или при полном его отсутствии и с неизвестным газовым составом. В то же время ИДА имеют более высокие значения сопротивления дыханию (около 75 мм вод. ст.и выше при легочной вентиляции 35 дм3/мин) при эксплуатации по сравнению с фильтрующими дыхательными аппаратами, а также более высокую температуру вдыхаемой газовой дыхательной смеси (далее - ГДС), около 50°С - 60°С. Время защитного действия ИДА ограничено временем работы регенеративного патрона с химически связанным кислородом.
Фильтрующие средства индивидуальной защиты органов дыхания (респираторы, противогазы) более комфортны для пользователя: имеют более низкие значения сопротивления дыханию (около 20 мм вод.ст. при легочной вентиляции 35 дм3/мин) и температуры воздуха на вдохе (как правило, близкую к атмосферной). В то же время их использование ограничено при неизвестном составе в атмосфере веществ, от которых используемые фильтрующие элементы должны очищать загрязненный воздух, и невозможно при недостатке кислорода для дыхания в окружающей среде.
Известен изолирующий дыхательный аппарат по патенту РФ №2324513 МПК А62В 7/08. Изобретение относится к изолирующим дыхательным аппаратам на химически связанном кислороде, предназначенным для защиты органов дыхания в аварийной ситуации. Изолирующий дыхательный аппарат на химически связанном кислороде содержит узел изоляции органов дыхания, регенеративный патрон, дыхательный мешок с клапаном избыточного давления и пусковое устройство, содержащее пусковой брикет, ампулу с инициирующей жидкостью и механизм разрушения ампулы, связанный гибкой связью с элементом конструкции, а именно с дыхательным мешком. Ампула выполнена из пленки, армированной металлической фольгой, механизм разрушения выполнен в виде капроновой нити, проходящей через полость ампулы, снабженной надрезом в месте пропуска капроновой нити. Выполнение ампулы из пленки, армированной металлической фольгой, обеспечивает уменьшение усилия на ее разрушение, так как армированные пленки характеризуются минимальным усилием на разрыв из-за отсутствия в них упругих деформаций. Выполнение механизма разрушения ампулы в виде капроновой нити, проходящей через полость ампулы и связанной с дыхательным мешком, обеспечивает упрощение запуска дыхательного аппарата в работу. При распрямлении складок дыхательного мешка под действием натяжения его нижней части, либо при заполнении внутреннего объема дыхательного мешка выдыхаемым воздухом, происходит натяжение капроновой нити. При натяжении капроновой нити разрушается по всей длине стенка ампулы, обращенная к пусковому составу. Инициирующая жидкость, вытекая из ампулы, смачивает гидрофильную оболочку, которая затем отдает влагу регенеративному продукту. Это обеспечивает упрощение конструкции и улучшение условий применения дыхательного аппарата.
Известен изолирующий дыхательный аппарат по патенту РФ №2333777 МПК А62 В 7/08. Изобретение относится к изолирующим дыхательным аппаратам на химически связанном кислороде. Изолирующий дыхательный аппарат содержит регенеративный патрон с патрубками вдоха и выдоха, дыхательный мешок, клапан избыточного давления с подпружиненным штоком, клапанную коробку с клапанами вдоха и выдоха и патрубками, лицевую часть, гофрированные трубки, соединяющие лицевую часть с одним из верхних патрубков клапанной коробки, а другой патрубок клапанной коробки, снабженный клапаном выдоха, - с патрубком выдоха регенеративного патрона. В одном из патрубков клапанной коробки смонтирован клапан избыточного давления, а в другом патрубке - клапан вдоха. Дыхательный мешок, подсоединенный к патрубку клапанной коробки, не содержащему клапан избыточного давления, соединен с подпружиненным штоком клапана избыточного давления посредством гибкой тяги, проходящей через эластичную мембрану с обеспечением ее герметичности. Изобретение обеспечивает улучшение эксплуатационных характеристик дыхательного аппарата за счет повышения его надежности.
Известен патент РФ №2372120 МПК А62В 7/10 «Портативная воздухоочистительная система, использующая фильтры, закрытые кожухом». Воздухоочистительная система предназначена для использования в респираторных аппаратах. Раскрыт электроприводной воздухоочистительный респиратор, включающий в себя: кожух закрытого исполнения респиратора, ограничивающий единое непрерывное замкнутое внутреннее пространство; входной воздуховод, имеющий впускные отверстия и распределительную часть, которая направляет воздух из окружающей среды внутрь кожуха; несколько фильтрующих коробок, расположенных внутри кожуха; нагнетатель, который нагнетает воздух, по меньшей мере, через одно впускное отверстие внутрь кожуха, и направляет воздух через фильтрующие коробки для получения очищенного воздуха, пригодного для дыхания. Клапан управляет потоком воздуха из окружающей среды, поступающим через входной воздуховод. Затвор для текучей среды, расположенный в воздушном канале между впускным отверстием и фильтрующими коробками, предотвращает попадание жидкостей в фильтрующие коробки. Кожух закрытого исполнения респиратора упрочнен и выполнен с возможностью обеспечения защиты для фильтрующих коробок от пламени и тепла во время их использования. Рециркуляционный клапан направляет отфильтрованный воздух обратно внутрь кожуха. Изобретение обеспечивает увеличение времени использования респиратора.
Известен патент РФ №2301094 МПК А62В 18/00, А62В 18/08 «Противогаз». Противогаз включает лицевую часть, первое средство герметизации, пригодное для образования уплотнения на лице пользователя таким образом, чтобы сформировать первую полость между первым средством герметизации, лицевой частью противогаза и участком лица пользователя, включающим глаза, рот и нос. Противогаз включает второе средство герметизации, пригодное для образования уплотнения на лице пользователя таким образом, чтобы сформировать вторую полость, при этом вторая полость образуется между вторыми средством герметизации, первым средством герметизации, частью лица пользователя и, по желанию, лицевой частью противогаза. Противогаз включает воздухозаборник для пропускания вдыхаемого воздуха в первую полость, воздуховыпускное отверстие для пропускания выдыхаемого воздуха из первой полости и средство подачи воздуха под давлением, пригодное для подачи воздуха под давлением во вторую полость, так что при обычной работе воздух вдыхается и выдыхается исключительно через первую полость и, таким образом, практически не существует разницы давления между окружающей атмосферой и второй полостью, что позволяет окружающему воздуху поступать во вторую полость. Уплотнительный элемент включает первую и вторую части, соединенные третьей частью, пригодной для подсоединения к поверхности противогаза. Уплотнительный элемент включает газовый вход, который при использовании обеспечивает поступление газа под давлением в полость, первая и вторая части имеют такую форму, что при использовании противогаза создание положительного давления в полости не вызывает нарушения уплотнения. При использовании изобретения обеспечивается универсальность противогаза для разных пользователей, простота и дешевизна изготовления, герметичность конструкции.
Известен патент США №20120138059 МПК А62В 7/02, А62В 18/02, в котором описана автономная дыхательная система, принятая за прототип, работающая в изолирующем и фильтрующем режимах. В автономном - изолирующем - режиме работы газ для дыхания доставляется пользователю из автономного источника. Во втором режиме работы - фильтрующем, всасывающее устройство подает окружающий воздух в фильтр, удаляющий из него загрязняющие вещества, после чего очищенный воздух доставляется пользователю. Основным недостатком автономной системы ее сложная конструкция, в том числе использование в качестве автономного источника дыхательной смеси сжатого воздуха (или кислорода) из баллонов, что приводит к увеличению массы изделия и снижению его надежности из-за повышения вероятности отказа одного из многочисленных составных элементов (средств измерения давления, регуляторов давления), а также к необходимости регулярного технического обслуживания, проверки и поверки баллонов, что усложняет эксплуатацию системы в целом, в том числе в зоне заражения токсичными химическими веществами и бактериальными агентами.
Известен патент РФ № 185934, МПК А62В 7/08, А62В 7/10 «Дыхательный аппарат», принятый в качестве наиболее близкого аналога заявляемого изобретения, в котором дыхательный аппарат содержит лицевую часть с панорамным очковым узлом с подмасочником, узел регенерации с пусковым приспособлением, фильтр, распределительный узел, клапаны вдоха и выдоха, шланги соединительные. Лицевая часть соединена с регенеративным патроном и фильтром через распределительный узел с помощью шлангов вдоха и выдоха, а шланг выдоха включает в себя клапан выдоха и соединен с подмасочником, шланг вдоха присоединен к лицевой части в области смотрового стекла. В дыхательном аппарате обеспечивается возможность работы в зараженной атмосфере в двух режимах защиты - фильтрующем и изолирующем. Недостатком дыхательного аппарата по патенту РФ № 185934 является переусложненность конструкции, обусловленная наличием двух отдельных шлангов вдоха и выдоха, в одном из которых размещён клапан, а также исполнением дыхательного мешка замкнутой (кольцевой) формы, что увеличивает трудоемкость изготовления дыхательного мешка и расход материала при раскрое. Помимо этого, в процессе эксплуатации возможно сдавливание (обжатие) дыхательного мешка другими частями дыхательного аппарата, что снижает надежность аппарата. Другим недостатком является снижение углов обзора за счёт присоединения шланга вдоха к лицевой части в области смотрового окна, что в целом ухудшает эргономические характеристики.
Задачей изобретения является создание изолирующе-фильтрующего дыхательного аппарата с изолирующей частью на химически связанном кислороде для защиты органов дыхания пользователя от воздействия высокотоксичных химических веществ, в том числе специального назначения, а также обеспечивающим дыхание в атмосфере с недостатком или полным отсутствием кислорода.
Технический результат при использовании изобретения заключается в повышении уровня техники - расширении арсенала технических средств (номенклатурного состава типажей технических средств) индивидуальной защиты органов дыхания человека, а именно в создании изолирующе-фильтрующего дыхательного аппарата с изолирующей частью на химически связанном кислороде для защиты органов дыхания пользователя от воздействия высокотоксичных химических веществ, в том числе специального назначения.
Технический результат при использовании изобретения заключается в расширении области применения изолирующе-фильтрующего дыхательного аппарата и улучшении эксплуатационных характеристик дыхательного аппарата.
Технический результат при использовании изобретения заключается в повышении надежности защиты человека при пребывании в загрязненной атмосфере, а также с недостатком кислорода.
Технический результат достигается тем, что в изолирующе-фильтрующем дыхательном аппарате, размещенная в корпусе футляра фильтрующе-поглощающая система (ФПС), включающая две фильтрующе-поглощающие коробки с сорбентом-катализатором и противоаэрозольным фильтром, согласно изобретению, соединена посредством переключателя режимов работы, состоящего из рычага и соединенных между собой патрубками коллектора, узла подключения ФПС и узла подключения создающего подпор внешнего фильтрвентиляционного устройства, с установленной в том же корпусе футляра изолирующей системой, включающей снабженный пусковым устройством с ампулой с инициирующей жидкостью и двумя патрубками регенеративный патрон с размещенными в нем регенеративным продуктом на основе надпероксида калия и пусковым брикетом, присоединенный к регенеративному патрону через патрубок дыхательный мешок, оснащенный клапаном избыточного давления, и с воздуховодной трубкой, сообщающейся через теплообменник с подмасочным пространством лицевой части, представляющей собой полную лицевую маску с панорамным смотровым окном и двумя переговорными устройствами, оснащенную узлом выдоха двухклапанного типа, включающим корпус, уплотнитель, опору, решетку, крышку узла выдоха, вставку седловины клапана выдоха, седловину клапана выдоха и два лепестка клапана выдоха.
Воздуховодная трубка может быть снабжена чехлом из огнезащитной ткани.
Панорамное смотровое окно может иметь три глухих отверстия в центральной части со стороны, обращенной к лицу пользователя, для монтажа приспособления для крепления средств коррекции зрения.
Панорамное смотровое окно может иметь со стороны, обращенной к лицу пользователя, на боковых частях по одному отверстию для установки упоров, предназначенных для монтажа пленки защитной.
Корпус лицевой части может быть снабжен по месту расположения панорамного смотрового окна щелевыми элементами, предназначенными для монтажа экрана защитного.
Крышка корпуса футляра может иметь отверстие с заглушкой по месту расположения кольца пускового устройства регенеративного патрона для обеспечения возможности самостоятельного ручного запуска аппарата в изолирующем режиме.
Размещение ФПС и изолирующей системы в одном корпусе футляра изолирующе-фильтрующего дыхательного аппарата, соединение ФПС посредством переключателя режимов работы с изолирующей системой и с воздуховодной трубкой, сообщающейся через теплообменник с подмасочным пространством лицевой части, конструктивное выполнение переключателя режимов работы в виде рычага и соединенных между собой патрубками коллектора, узла подключения ФПС и узла подключения создающего подпор внешнего фильтрвентиляционного устройства, исполнение изолирующей системы в виде снабженного пусковым устройством с ампулой с инициирующей жидкостью и двумя патрубками регенеративного патрона с размещенными в нем регенеративным продуктом на основе надпероксида калия и пусковым брикетом, с присоединенным к регенеративному патрону через патрубок дыхательным мешком, оснащенным клапаном избыточного давления, а также оснащение лицевой части, выполненной в виде полной лицевой маски с панорамным смотровым окном и двумя переговорными устройствами, узлом выдоха двухклапанного типа, включающим корпус, уплотнитель, опору, решетку, крышку узла выдоха, вставку седловины клапана выдоха, седловину клапана выдоха и два лепестка клапана выдоха, обеспечивает:
- повышение уровня техники - расширение арсенала технических средств (номенклатурного состава типажей технических средств) посредством создания изолирующе-фильтрующего дыхательного аппарата с качественно новыми тактико-техническими характеристиками, в том числе за счет использования в качестве источника кислорода в изолирующем режиме системы на химически связанном кислороде, при использовании которой обеспечение пользователя кислородом происходит за счет работы регенеративного патрона, заключающейся в поглощении выдыхаемых человеком углекислого газа и паров воды регенеративным продуктом с одновременным выделением кислорода, направляемого на вдох пользователю;
- упрощение конструкции изолирующе-фильтрующего дыхательного аппарата и снижение затрат на его эксплуатацию за счет возможности многократного использования элементов аппарата, за исключением регенеративного патрона и фильтрующе-поглощающих коробок однократного применения, и снижение затрат на его обслуживание за счет простоты замены регенеративного патрона и фильтрующе-поглощающих коробок после эксплуатации;
- повышение времени защитного действия аппарата в автономном (изолирующем) режиме за счет предусмотренной конструкцией аппарата возможности использования сменных регенеративных патронов и фильтрующе-поглощающих коробок;
- расширение эксплуатационных возможностей аппарата и увеличение комфортности дыхания за счет конструкции узла выдоха, а также конструкции переключателя режимов работы, обеспечивающей возможность переключения из фильтрующего в изолирующий режим и обратно, а также за счет возможности подключения создающего подпор внешнего фильтрвентиляционного устройства;
- повышение надежности защиты человека при пребывании в загрязненной атмосфере, а также в атмосфере с недостатком кислорода, за счет предусмотренной конструкцией аппарата возможности переключения из фильтрующего в изолирующий режим и обратно без нарушения герметичности контура дыхания (без отсоединения от аппарата органов дыхания пользователя) самостоятельно пользователем без посторонней помощи;
- увеличение надежности работы аппарата за счет конструктивного размещения ФПС и изолирующей системы в едином жестком корпусе футляра, обеспечивающим защиту компонентов аппарата от негативных механических (ударных, вибрационных) воздействий при эксплуатации, жесткое крепление элементов аппарата внутри корпуса, в том числе фиксацию дыхательного мешка, исключающую его обжатие при эксплуатации, и гибких элементов дыхательных коммуникаций, исключающую их перекручивание;
- увеличение комфортности эксплуатации за счет изготовления футляра аппарата в виде носимого ранца с подвесной системой, оснащения лицевой части двумя переговорными устройствами, снижения температуры ГДС, поступающей на вдох при работе в изолирующем режиме за счет использования теплообменника.
Оснащение воздуховодной трубки чехлом из огнезащитной ткани прорезиненной 361/61 по ТУ 1051629-84 улучшает эксплуатационные характеристики аппарата.
Выполнение панорамного смотрового окна с тремя глухими отверстиями в центральной части со стороны, обращенной к лицу пользователя, обеспечивает монтаж приспособления для крепления средств коррекции зрения, что улучшает эксплуатационные характеристики.
Выполнение панорамного смотрового окна с отверстиями со стороны, обращенной к лицу пользователя, на боковых частях по одному с каждой стороны, обеспечивает установку упоров для монтажа пленки защитной, предназначенной для предотвращения запотевания внутренней поверхности панорамного смотрового окна лицевой части при использовании изделия.
Снабжение корпуса лицевой части по месту расположения панорамного смотрового окна щелевыми элементами обеспечивает монтаж экрана защитного, предназначенного для защиты панорамного смотрового окна от механических повреждений и от прямого воздействия агрессивных химических веществ.
Выполнение крышки футляра с отверстием с заглушкой по месту расположения кольца пускового устройства регенеративного патрона увеличивает надежность аппарата за счет конструктивно предусмотренной возможности самостоятельного ручного запуска регенеративного патрона при нештатной ситуации.
Сущность изобретения поясняется фиг. 1-23, на которых:
фиг. 1 - общий вид изолирующе-фильтрующего дыхательного аппарата, крышка футляра не показана;
фиг. 2 - общий вид изолирующего дыхательного аппарата в футляре, вид сбоку;
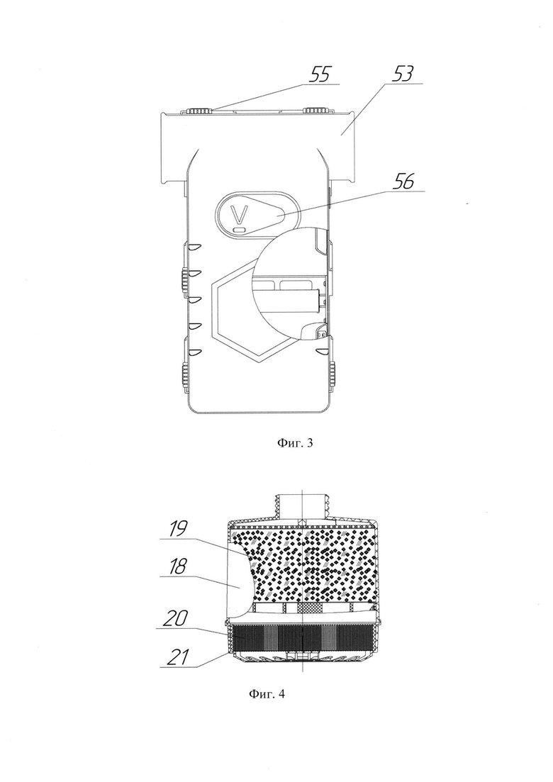
фиг. 3 - общий вид изолирующего дыхательного аппарата в футляре, вид спереди;
фиг. 4 - фильтрующе-поглощающая коробка, в разрезе;
фиг. 5 - переключатель режимов работы, в разрезе;
фиг. 6 - положение рычага переключателя режимов работы в положении «изолирующий»;
фиг. 7 - положение рычага переключателя режимов работы в положении «фильтрующий»;
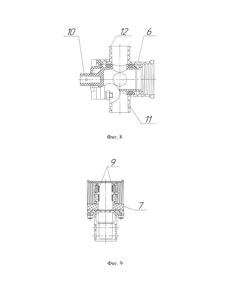
фиг. 8 - коллектор, в разрезе;
фиг. 9 - узел подключения ФПС, в разрезе;
фиг. 10 - узел подключения создающего подпор внешнего фильтрвентиляционного устройства, в разрезе;
фиг. 11 - регенеративный патрон, в разрезе;
фиг. 12 - дыхательный мешок, вид сбоку;
фиг. 13 - дыхательный мешок, вид спереди;
фиг. 14 - сечение В-В фиг. 13;
фиг. 15 - сечение А-А фиг. 1;
фиг. 16 - корпус лицевой части с панорамным смотровым окном, вид спереди;
фиг. 17 - сечение Б-Б фиг. 16;
фиг. 18 - экран защитный, вид спереди, вид сбоку;
фиг. 19 - приспособление для крепления средств коррекции зрения, общий вид;
фиг. 20 - панорамное смотровое окно;
фиг. 21 - узел выдоха, в разрезе;
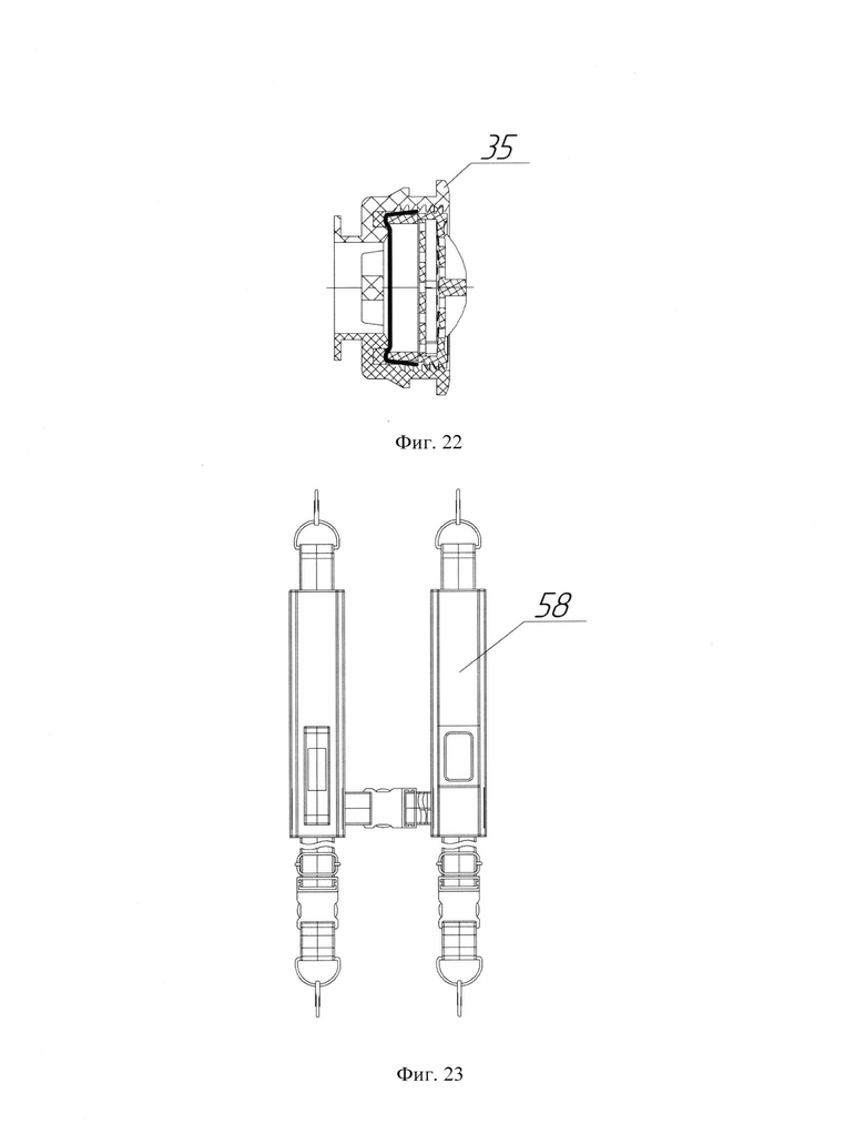
фиг. 22 - переговорное устройство, в разрезе;
фиг.23 - подвесная система, общий вид.
Перечень позиций, указанных на чертежах:
1 - корпус футляра;
2 - воздуховодная трубка;
3 - лицевая часть;
4 - переключатель режимов работы;
5 - рычаг;
6 - коллектор:
7 - узел подключения ФПС;
8 - узел подключения создающего подпор внешнего фильтрвентиляционного устройства;
9. лепесток вдоха;
1 -. сердечник;
11. патрубок для присоединения регенеративного патрона;
12 - патрубок для присоединения узла подключения ФПС;
13 - корпус узла подключения создающего подпор внешнего фильтрвентиляционного устройства;
14 - манжета клапана;
15 - пружина;
16 - колпачок предохранительный;
17 - ось клапана;
18 - фильтрующе-поглощающая коробка;
19 - сорбент-катализатор;
20 - противоаэрозольный фильтр;
21 - щелевое отверстие;
22 - регенеративный патрон;
23 - ремень;
24 - регенеративный продукт;
25 - пусковой брикет;
26 - пусковое устройство;
27 - кольцо;
28 - ампула с инициирующей жидкостью;
29 - патрубок дыхательного мешка;
30 - дыхательный мешок;
31 - клапан избыточного давления;
32 - теплообменник;
33 - подмасочник;
34 - панорамное смотровое окно;
35 - переговорное устройство;
36 - узел выдоха;
37 - корпус узла выдоха;
38 - уплотнитель;
39 - опора;
40 - решетка;
41 - крышка узла выдоха;
42 - вставка седловины клапана выдоха;
43 - седловина клапана выдоха;
44 - лепесток клапана выдоха;
45 - корпус лицевой части;
46 - наголовник;
47 - теплообменный элемент;
48 - щелевой элемент;
49 - экран защитный;
50 - приспособление для крепления средств коррекции зрения;
51 - упор;
52 - пленка защитная;
53 - крышка футляра;
54 - воздухозаборная решетка;
55 - фиксатор;
56 - заглушка;
57 - крепление;
58 - подвесная система;
59 - гайка для присоединения переключателя режимов работы;
60 - гайка для присоединения дыхательного мешка.
Изолирующе-фильтрующий дыхательный аппарат состоит из ФПС и изолирующей системы, жестко зафиксированных в корпусе футляра 1 и соединенных между собой и с воздуховодной трубкой 2, сообщающейся с лицевой частью 3, посредством переключателя режимов работы 4, состоящего из рычага 5, коллектора 6, узла подключения ФПС 7 и узла подключения создающего подпор внешнего фильтрвентиляционного устройства 8, соединенных между собой патрубками. Воздуховодная трубка 2 снабжена чехлом из огнезащитной ткани (ткань прорезиненная 361/61 по ТУ 1051629-84). Лицевая часть 3 предназначена для защиты органов дыхания, глаз, кожных покровов лица от ТХВ, БА и КРТ, открытого пламени, а также служит для направления ГДС к органам дыхания или от них при вдохе и выдохе пользователя, соответственно. Переключатель режимов работы 4 предназначен для переключения аппарата либо в фильтрующий, либо в изолирующий режимы работы без нарушения герметичности аппарата. Узел подключения ФПС 7 имеет клапанную систему, при этом на линии симметрично выполненного двухстороннего резьбового присоединения ФПС установлены лепестки вдоха 9, обеспечивающие движение ГДС в заданном направлении. Коллектор 6 предназначен для перенаправления потоков вдыхаемой и выдыхаемой ГДС при переводе аппарата из одного режима защиты в другой посредством поворота рычага 5. Коллектор имеет сердечник 10, обеспечивающий перекрытие потоков ГДС, патрубок для присоединения изолирующей системы 11, патрубок для узла присоединения ФПС 12 и внутреннюю резьбу для закрепления воздуховодной трубки 2. Узел подключения создающего подпор внешнего фильтрвентиляционного устройства 8 имеет клапанную систему и предназначен для реализации возможности подключения аппарата к создающему подпор внешнему портативному устройству очистки подаваемого воздуха. При подключении создающего подпор внешнего портативного устройства очистки воздуха, ответная часть его присоединительного устройства вворачивается в корпус узла подключения создающего подпор внешнего фильтрвентиляционного устройства 13, при этом происходит смещение манжеты клапана 14 и открытие воздушного канала в корпусе узла подключения создающего подпор внешнего фильтрвентиляционного устройства 13. При извлечении создающего подпор внешнего портативного устройства очистки воздуха из корпуса узла для его подключения 13 пружина 15 возвращает манжету клапана 14 в исходное положение, запирая при этом воздушный канал. Колпачок предохранительный 16 обеспечивает защиту от случайного нажатия на ось клапана 17 (предотвращает внеэксплуатационное срабатывание) и препятствует загрязнению внутренней части узла подключения создающего подпор внешнего фильтрвентиляционного устройства. ФПС реализована в виде двух фильтрующе-поглощающих коробок 18, заполненных сорбентом-катализатором 19 и имеющих противоаэрозольный фильтр 20. С торцевой стороны фильтрующе-поглощающих коробок 18 выполнены сквозные щелевые отверстия 21, обеспечивающие доступ воздуха. Фильтрующе-поглощающие коробки 18 присоединяются к узлу подключения ФПС 7 посредством резьбового соединения. Изолирующая система включает регенеративный патрон 22, закрепленный в корпусе футляра 1 ремнем 23, с размещенными в нем регенеративным продуктом 24 на основе надпероксида калия и пусковым брикетом 25, оснащенный пусковым устройством 26 с кольцом 27 и ампулой с инициирующей жидкостью 28, с присоединенным к нему через гайку 60 и патрубок 29 дыхательным мешком 30, оснащенным клапаном избыточного давления 31. Регенеративный патрон 22 присоединен с помощью гайки 59 к патрубку 11 коллектора 6. К коллектору 6 резьбовым соединением присоединена воздуховодная трубка 2, сообщающаяся через теплообменник 32 с подмасочником 33 лицевой части 3, представляющей собой полную лицевую маску с панорамным смотровым окном 34 и двумя переговорными устройствами 35, оснащенную узлом выдоха 36 двухклапанного типа, включающим корпус узла выдоха 37, уплотнитель 38, опору 39, решетку 40, крышку узла выдоха 41, вставку седловины клапана выдоха 42, седловину клапана выдоха 43 и два лепестка клапана выдоха 44. Лицевая часть 3 состоит из соединенных между собой корпуса лицевой части 45 и панорамного смотрового окна 34 и снабжена наголовником 46. В центральной части корпуса лицевой части 45 имеется отверстие, предназначенное для монтажа узла выдоха 36. В нижней части корпуса лицевой части 45 имеется отверстие, предназначенное для установки теплообменника 32, включающего теплообменный элемент 47. В боковых частях корпуса лицевой части 45 имеются два отверстия для установки переговорных устройств 35. По бокам смотровой области расположены щелевые элементы 48, предназначенные для монтажа экрана защитного 49. Панорамное смотровое окно 34 оптически прозрачно и имеет в центральной части со стороны, обращенной к лицу пользователя, три глухих отверстия для монтажа приспособления для крепления средств коррекции зрения 50, а на боковых частях по одному сквозному отверстию для установки упоров 51, предназначенных для монтажа пленки защитной 52. Корпус футляра 1 закрывается крышкой футляра 53, снабженной воздухозаборными решетками 54 для обеспечения доступа воздуха при работе аппарата в фильтрующем режиме, при этом крышка футляра 53 закрепляется сдвижными фиксаторами 55. Крышка футляра 53 снабжена сквозным отверстием (не обозначено) по месту кольца 27 пускового устройства 26 регенеративного патрона 22, предназначенным для обеспечения возможности запуска регенеративного патрона 22 в ручном режиме, закрывающимся заглушкой 56, а также креплениями 57 для присоединения подвесной системы 58, предназначенной для ношения аппарата.
Изолирующе-фильтрующий дыхательный аппарат работает следующим образом.
В фильтрующем и фильтровентиляционном режимах принцип работы аппарата основан на очистке вдыхаемого из окружающей среды воздуха и удалении выдыхаемой ГДС в окружающую среду.
При работе аппарата в фильтрующем режиме положение рычага 5 переключателя режимов работы 4 устанавливается в горизонтальное положение в режим «фильтрующий», как показано на фиг. 7 (установлен по умолчанию). При этом за счет конструкции сердечника 10 внутри коллектора 6 происходит открытие канала, связывающего фильтрующе-поглощающие коробки 18 через узел подключения ФПС 7 с лицевой частью 3 и узел подключения создающего подпор внешнего фильтрвентиляционного устройства 8 с лицевой частью 3, одновременно закрывается канал, связывающий регенеративный патрон 22 с лицевой частью 3, отсекая тем самым изолирующую систему аппарата. Крышка узла выдоха 41 на лицевой части 3 поворачивается по часовой стрелке до упора в положение «фильтрующий», тем самым передавая вращательное движение уплотнителю 38, который перемещением в направлении вращения открывает канал в корпусе узла выдоха 37, по которому выдыхаемый пользователем воздух удаляется из пространства подмасочника 33 лицевой части 3 в окружающую среду. При вдохе пользователя атмосферный воздух через воздухозаборные решетки 54 проходит сквозь щелевые отверстия 21, подвергается очистке в фильтрующе-поглощающих коробках 18, лепестки вдоха 9 узла подключения ФПС 7 открываются и пропускают очищенный воздух по патрубку для узла присоединения ФПС 12 в коллектор 6, откуда очищенный воздух по воздуховодной трубке 2 поступает в подмасочное пространство лицевой части 3 на вдох пользователю.
При работе в фильтрвентиляционном режиме положения рычага 5 и крышки узла выдоха 41 устанавливают аналогично работе в фильтрующем режиме, кроме того открывают колпачок предохранительный 16 и к узлу подключения создающего подпор внешнего фильтрвентиляционного устройства 8 подсоединяют внешнее портативное устройство очистки подаваемого воздуха с ответным резьбовым соединением. При этом очищенный воздух поступает в коллектор 6 с подпором, тем самым обеспечивая закрытое положение лепестков вдоха 9 и исключая подсос атмосферного воздуха в контур дыхания через ФПС. Очищенный воздух направляется на вдох пользователю по воздуховодной трубке 2 в подмасочное пространство лицевой части 3. Выдох осуществляется аналогично фильтрующему режиму через узел выдоха 36.
Принцип работы аппарата в изолирующем режиме основан на создании и поддержании в замкнутом дыхательном контуре необходимых для жизнедеятельности пользователя объема и концентраций компонентов ГДС в течение времени защитного действия.
При работе в изолирующем режиме (или для перевода в изолирующий режим) крышку узла выдоха 41 поворачивают против часовой стрелки до упора в положение «изолирующий», тем самым перекрывая канал выдоха, рычаг 5 устанавливают в вертикальное положение (поворачивают на 90°) в режим «изолирующий», как показано на фиг. 6. При этом внутри коллектора 6 происходит закрытие канала, связывающего ФПС с лицевой частью 3 и узел подключения создающего подпор внешнего фильтрвентиляционного устройства 8 с лицевой частью 3, при этом одновременно открывается канал, связывающий регенеративный патрон 22 с лицевой частью 3. Также при переводе рычага 5 в режим «изолирующий» происходит автоматический запуск регенеративного патрона 22: кольцо 27 выдергивает чеку из пускового устройства 26, обеспечивая его срабатывание, инициирующая жидкость из ампулы с инициирующей жидкостью 28 попадает на пусковой брикет 25, из которого в ходе химической реакции происходит выделение кислорода, необходимого для дыхания в первые минуты использования аппарата в изолирующем режиме. Пусковой брикет 25 также обеспечивает выделение достаточного количества влаги и тепла, необходимых для обеспечения оптимальных условий стабильной работы регенеративного продукта 24, особенно при низких температурах окружающей среды. Движение потока ГДС при работе в изолирующем режиме осуществляется по «маятниковой» схеме. Выдыхаемая ГДС проходит из лицевой части 3 по воздуховодной трубке 2 в переключатель режимов работы 4, далее через патрубок для присоединения регенеративного патрона 11 в регенеративный патрон 22, в котором поглощается диоксид углерода и влага и выделяется кислород в объеме, пропорциональном объему поглощенных веществ. Из регенеративного патрона 22 через патрубок дыхательного мешка 29 ГДС поступает в дыхательный мешок 30. Избыток ГДС из дыхательного мешка 30 при выдохе стравливается через клапан избыточного давления 31. При вдохе обогащенная кислородом ГДС из дыхательного мешка 30 вторично поступает в регенеративный патрон 22, где дополнительно очищается от диоксида углерода, и, через переключатель режимов работы 4 и воз духоводную трубку 2, возвращается в подмасочное пространство лицевой части 3 на вдох пользователю. Процесс поглощения диоксида углерода и влаги регенеративным продуктом 24 сопровождается выделением тепла, вследствие чего при работе происходит нагрев проходящей через регенеративный патрон 22 ГДС. Для обеспечения снижения температуры вдыхаемой ГДС конструкцией предусмотрен теплообменник 32, работающий по принципу рекуператора тепла. При вдохе тепло, содержащееся во вдыхаемой ГДС, частично поглощается теплообменным элементом 47 теплообменника 32, что позволяет снизить ее температуру. При выдохе накопленное теплообменным элементом 47 тепло передается ГДС и возвращается в регенеративный патрон 22, что существенно улучшает работоспособность регенеративного продукта 24.
Изобретение обеспечивает расширение арсенала технических средств (номенклатурного состава типажей технических средств) для защиты органов дыхания, а также обладает высокими эксплуатационными характеристиками и надежностью за счет использования в изолирующем режиме системы на химически связанном кислороде, а также конструкции переключателя режимов работы и узла выдоха, обеспечивающей возможность переключения из фильтрующего в изолирующий режим и обратно без нарушения герметичности контура дыхания (без отсоединения от аппарата органов дыхания пользователя) самостоятельно пользователем без посторонней помощи, и за счет возможности подключения создающего подпор внешнего фильтрвентиляционного устройства.
| название | год | авторы | номер документа |
|---|---|---|---|
| ИЗОЛИРУЮЩИЙ ДЫХАТЕЛЬНЫЙ АППАРАТ | 2015 |
|
RU2610572C2 |
| ИЗОЛИРУЮЩИЙ ДЫХАТЕЛЬНЫЙ АППАРАТ | 2014 |
|
RU2568572C1 |
| ИЗОЛИРУЮЩИЙ ДЫХАТЕЛЬНЫЙ АППАРАТ | 1992 |
|
RU2067884C1 |
| ИЗОЛИРУЮЩИЙ ДЫХАТЕЛЬНЫЙ АППАРАТ | 2005 |
|
RU2320384C2 |
| ИЗОЛИРУЮЩИЙ ДЫХАТЕЛЬНЫЙ АППАРАТ | 2015 |
|
RU2605075C2 |
| ИЗОЛИРУЮЩИЙ ДЫХАТЕЛЬНЫЙ АППАРАТ | 2010 |
|
RU2428232C1 |
| ИЗОЛИРУЮЩИЙ ДЫХАТЕЛЬНЫЙ АППАРАТ | 2015 |
|
RU2604291C2 |
| УНИВЕРСАЛЬНЫЙ МОДУЛЬ ДЛЯ ОБЕСПЕЧЕНИЯ РАБОТЫ ФИЛЬТРУЮЩЕГО ПРОТИВОГАЗА В ИЗОЛИРУЮЩЕМ РЕЖИМЕ | 2023 |
|
RU2830855C1 |
| ИЗОЛИРУЮЩИЙ ДЫХАТЕЛЬНЫЙ АППАРАТ | 2005 |
|
RU2323753C2 |
| ИЗОЛИРУЮЩИЙ ДЫХАТЕЛЬНЫЙ АППАРАТ | 2005 |
|
RU2319526C2 |
Изобретение относится к средствам индивидуальной защиты органов дыхания, предназначенным для использования в аварийной ситуации и в непригодной для дыхания атмосфере. Изолирующе-фильтрующий дыхательный аппарат содержит размещенную в корпусе футляра фильтрующе-поглощающую систему (ФПС), включающую две фильтрующе-поглощающие коробки с сорбентом-катализатором и противоаэрозольным фильтром, причем ФПС соединена посредством переключателя режимов работы, состоящего из рычага и соединенных между собой патрубками коллектора, узла подключения ФПС и узла подключения создающего подпор внешнего фильтрвентиляционного устройства, с установленной в том же корпусе футляра изолирующей системой, включающей снабженный пусковым устройством с ампулой с инициирующей жидкостью и двумя патрубками регенеративный патрон с размещенными в нем регенеративным продуктом на основе надпероксида калия и пусковым брикетом, присоединенный к регенеративному патрону через патрубок дыхательный мешок, оснащенный клапаном избыточного давления, и с воздуховодной трубкой, сообщающейся через теплообменник с подмасочным пространством лицевой части, представляющей собой полную лицевую маску с панорамным смотровым окном и двумя переговорными устройствами, оснащенную узлом выдоха двухклапанного типа, включающим корпус, уплотнитель, опору, решетку, крышку узла выдоха, вставку седловины клапана выдоха, седловину клапана выдоха и два лепестка клапана выдоха. Технический результат заключается в расширении арсенала технических средств защиты органов дыхания, обеспечении высоких эксплуатационных характеристик, надежности, возможности увеличения времени защитного действия за счет использования сменных элементов, возможности переключения режимов работы пользователем без выключения аппарата. 5 з.п. ф-лы, 23 ил.
1. Изолирующе-фильтрующий дыхательный аппарат, содержащий размещенную в корпусе футляра фильтрующе-поглощающую систему (ФПС), включающую две фильтрующе-поглощающие коробки с сорбентом-катализатором и противоаэрозольным фильтром, отличающийся тем, что ФПС соединена посредством переключателя режимов работы, состоящего из рычага и соединенных между собой патрубками коллектора, узла подключения ФПС и узла подключения создающего подпор внешнего фильтрвентиляционного устройства, с установленной в том же корпусе футляра изолирующей системой, включающей снабженный пусковым устройством с ампулой с инициирующей жидкостью и двумя патрубками регенеративный патрон с размещенными в нем регенеративным продуктом на основе надпероксида калия и пусковым брикетом, присоединенный к регенеративному патрону через патрубок дыхательный мешок, оснащенный клапаном избыточного давления, и с воздуховодной трубкой, сообщающейся через теплообменник с подмасочным пространством лицевой части, представляющей собой полную лицевую маску с панорамным смотровым окном и двумя переговорными устройствами, оснащенную узлом выдоха двухклапанного типа, включающим корпус, уплотнитель, опору, решетку, крышку узла выдоха, вставку седловины клапана выдоха, седловину клапана выдоха и два лепестка клапана выдоха.
2. Изолирующе-фильтрующий дыхательный аппарат по п. 1, отличающийся тем, что воздуховодная трубка снабжена чехлом из огнезащитной ткани.
3. Изолирующе-фильтрующий дыхательный аппарат по п. 1, отличающийся тем, что панорамное смотровое окно выполнено с тремя глухими отверстиями в центральной части со стороны, обращенной к лицу пользователя, обеспечивающими монтаж приспособления для крепления средств коррекции зрения.
4. Изолирующе-фильтрующий дыхательный аппарат по п. 1, отличающийся тем, что панорамное смотровое окно имеет со стороны, обращенной к лицу пользователя, на боковых частях по одному отверстию, обеспечивающему установку упоров для монтажа пленки защитной.
5. Изолирующе-фильтрующий дыхательный аппарат по п. 1, отличающийся тем, что корпус лицевой части снабжен по месту расположения панорамного смотрового окна щелевыми элементами, обеспечивающими монтаж экрана защитного.
6. Изолирующе-фильтрующий дыхательный аппарат по п. 1, отличающийся тем, что крышка корпуса футляра имеет отверстие с заглушкой по месту расположения кольца пускового устройства регенеративного патрона.
| СПОСОБ ПОЛУЧЕНИЯ дивиниловых или диэтиловых | 0 |
|
SU185934A1 |
| US 20120138059 A1, 07.06.2012 | |||
| WO 2006108041 A1, 12.10.2006 | |||
| US 20060191533 A1, 31.08.2006 | |||
| WO 2019099500 A2, 23.05.2019 | |||
| WO 2013103343 A1, 11.07.2013 | |||
| WO 2011143485 A2, 17.11.2011 | |||
| ИЗОЛИРУЮЩИЙ ДЫХАТЕЛЬНЫЙ АППАРАТ | 2006 |
|
RU2324513C1 |
Авторы
Даты
2025-04-18—Публикация
2023-11-27—Подача