Область техники, к которой относится изобретение
[1] Различные варианты осуществления раскрытия относятся к электронному устройству, включающему в себя микрофонный модуль.
Уровень техники
[2] Благодаря развитию информационной и коммуникационной технологии и полупроводниковой технологии, различные функции встраиваются в единое переносное электронное устройство. Например, электронное устройство может реализовывать не только функцию связи, но также функцию развлечения, такую как игры, мультимедийную функцию, такую как воспроизведение музыки/видео, функцию связи и безопасности, такую как мобильный банкинг, управление расписанием, и функцию электронного билета. Такие электронные устройства являются настолько миниатюризированными, что пользователи могут удобно носить их.
Подробное описание изобретения
Техническая задача
[3] Дизайн электронных устройств исследуется, чтобы улучшать эстетику электронных устройств.
[4] Электронное устройство (например, переносной терминал) может включать в себя микрофонный модуль, и микрофонный модуль может получать внешний звук через микрофонное отверстие, сформированное в корпусе. Однако, когда микрофонное отверстие располагается отдельно в корпусе, или когда микрофонное отверстие располагается в окошке камеры или декоративном элементе камеры, эстетика может быть снижена. Кроме того, когда микрофонное отверстие располагается в окошке камеры или декоративном элементе камеры, соединительный элемент (например, стопорное кольцо) для электрического соединения между микрофонным модулем и главной печатной платой требуется, и давление может быть приложено к задней пластине посредством соединительного элемента.
[5] Согласно различным вариантам осуществления раскрытия, электронное устройство, использующее внутреннее пространство, расположенное между элементом вспышки и задней пластиной, в качестве микрофонного канала, может быть предоставлено.
[6] Однако, проблемы, которые должны быть решены в раскрытии, не ограничиваются вышеупомянутой проблемой и могут быть расширены различными способами без отступления от духа и рамок раскрытия.
Техническое решение
[7] Согласно различным вариантам осуществления раскрытия, электронное устройство включает в себя заднюю пластину, включающую в себя первое сквозное отверстие, элемент вспышки, по меньшей мере частично расположенный в первом сквозном отверстии и включающий в себя линзу вспышки и опорную конструкцию, размещающую линзу вспышки, при этом опорная конструкция включает в себя второе сквозное отверстие, обращенное к задней пластине, опорный элемент, поддерживающий элемент вспышки и включающий в себя третье сквозное отверстие, обращенное по меньшей мере к части второго сквозного отверстия, и микрофонный модуль, расположенный под опорным элементом и покрывающий третье сквозное отверстие.
[8] Согласно различным вариантам осуществления раскрытия, электронное устройство включает в себя заднюю пластину, включающую в себя первое сквозное отверстие, элемент вспышки, включающий в себя опорную конструкцию, включающую в себя второе сквозное отверстие, обращенное к задней пластине, и выступающую конструкцию, протягивающуюся от опорной конструкции и по меньшей мере частично расположенную в первом сквозном отверстии, опорный элемент поддерживает элемент вспышки и включает в себя третье сквозное отверстие, обращенное к по меньшей мере части второго сквозного отверстия, печатную плату, соединенную с опорным элементом и включающую в себя четвертое сквозное отверстие, обращенное к третьему сквозному отверстию, и микрофонный модуль, размещенный на печатной плате и покрывающий второе сквозное отверстие, третье сквозное отверстие и четвертое сквозное отверстие.
Преимущества изобретения
[9] Согласно различным вариантам осуществления раскрытия, электронное устройство может использовать внутреннее пространство и сквозное отверстие, расположенное между элементом вспышки и задней пластиной, в качестве микрофонного канала. Вследствие отсутствия отдельного микрофонного отверстия, раскрытого на задней пластине, эстетика электронного устройства может быть повышена, и стоимость производства и время производства электронного устройства могут быть уменьшены.
[10] Согласно различным вариантам осуществления раскрытия, микрофонный модуль может быть размещен на печатной плате с помощью уплотнительного элемента. Поскольку соединительный элемент, обеспечивающий давление на заднюю пластину, исключается, подъем задней пластины может быть предотвращен или уменьшен.
Краткое описание чертежей
[11] Фиг. 1 является блок-схемой, иллюстрирующей электронное устройство в сетевом окружении согласно различным вариантам осуществления раскрытия.
[12] Фиг. 2 является передним видом в перспективе, иллюстрирующим электронное устройство согласно различным вариантам осуществления раскрытия.
[13] Фиг. 3 является задним видом в перспективе, иллюстрирующим электронное устройство согласно различным вариантам осуществления раскрытия.
[14] Фиг. 4 является покомпонентным видом в перспективе, иллюстрирующим электронное устройство согласно различным вариантам осуществления раскрытия.
[15] Фиг. 5A является передним видом, иллюстрирующим заднюю пластину с элементом вспышки, прикрепленным к ней, согласно различным вариантам осуществления раскрытия, а фиг. 5B является задним видом, иллюстрирующим заднюю пластину с элементом вспышки, присоединенным к ней, согласно различным вариантам осуществления раскрытия.
[16] Фиг. 6 является покомпонентным видом в перспективе, иллюстрирующим электронное устройство, включающее в себя заднюю пластину и опорный элемент согласно различным вариантам осуществления раскрытия.
[17] Фиг. 7 является видом в поперечном сечении, иллюстрирующим электронное устройство согласно варианту осуществления раскрытия.
[18] Фиг. 8 является схемой, иллюстрирующей соединительную конструкцию между опорным элементом и печатной платой согласно различным вариантам осуществления раскрытия.
[19] Фиг. 9 является видом в поперечном сечении, иллюстрирующим электронное устройство согласно варианту осуществления раскрытия.
[20] Фиг. 10 является схемой, иллюстрирующей конструкцию, в которой микрофонный модуль размещается на опорном элементе согласно варианту осуществления раскрытия.
[21] Фиг. 11A является передним видом, иллюстрирующим элемент вспышки согласно различным вариантам осуществления раскрытия, а фиг. 11B является задним видом, иллюстрирующим элемент вспышки согласно различным вариантам осуществления раскрытия.
[22] Фиг. 12 является видом в перспективе, иллюстрирующим элемент вспышки, включающий в себя канавкообразную конструкцию согласно различным вариантам осуществления раскрытия.
[23] Фиг. 13 является видом в перспективе, иллюстрирующим элемент вспышки, включающий в себя выпуклую конструкцию согласно различным вариантам осуществления раскрытия.
[24] Фиг. 14 является видом в поперечном сечении, взятом по линии A-A' на фиг. 12.
[25] Фиг. 15 является видом в поперечном сечении, взятом по плоскости B-B' на фиг. 13.
Оптимальный режим осуществления изобретения
[26] Фиг. 1 является блок-схемой, иллюстрирующей электронное устройство в сетевом окружении согласно различным вариантам осуществления.
[27] Обращаясь к фиг. 1, электронное устройство 101 в сетевом окружении 100 может связываться с электронным устройством 102 через первую сеть 198 (например, сеть беспроводной связи малого радиуса действия) или по меньшей мере одно из электронного устройства 104 или сервера 108 через вторую сеть 199 (например, сеть беспроводной связи большого радиуса действия). Согласно варианту осуществления, электронное устройство 101 может связываться с электронным устройством 104 через сервер 108. Согласно варианту осуществления, электронное устройство 101 может включать в себя процессор 120, память 130, модуль 150 ввода, модуль 155 вывода звука, модуль 160 отображения, аудиомодуль 170, модуль 176 датчиков, интерфейс 177, соединительную клемму 178, тактильный модуль 179, модуль 180 камеры, модуль 188 управления мощностью, аккумуляторную батарею 189, модуль 190 связи, модуль идентификации абонента (SIM) 196 или модуль 197 антенны. В некотором варианте осуществления по меньшей мере один из компонентов (например, соединительная клемма 178) может быть пропущен в электронном устройстве 101, или один или более других компонентов могут быть добавлены в электронное устройство 101. В некотором варианте осуществления некоторые из компонентов (например, модуль 176 датчиков, модуль 180 камеры или антенный модуль 197) могут быть реализованы как единый компонент (например, модуль 160 отображения). Процессор 120 может исполнять, например, программное обеспечение (например, программу 140), чтобы управлять по меньшей мере одним другим компонентом (например, компонентом аппаратных средств или программного обеспечения) электронного устройства 101, соединенным с процессором 120, и может выполнять различную обработку данных или вычисление. Согласно одному примерному варианту осуществления по меньшей мере как часть обработки данных или вычисления, процессор 120 может сохранять команду или данные, принятые от другого компонента (например, модуля 176 датчика или модуля 190 связи) в энергозависимую память 132, обрабатывать команду или данные, сохраненные в энергозависимой памяти 132 и сохранять результирующие данные в энергонезависимой памяти 134. Согласно варианту осуществления, процессор 120 может включать в себя главный процессор 121 (например, центральный процессор (CPU) или прикладной процессор (AP)) и вспомогательный процессор 123 (например, графический процессор (GPU), процессор нейронной обработки (NPU), процессор сигнала изображения (ISP), процессор концентратора датчиков или процессор связи (CP)), который функционирует независимо, или совместно, с главным процессором 121. Например, когда электронное устройство 101 включает в себя главный процессор 121 и вспомогательный процессор 123, вспомогательный процессор 123 может быть приспособлен для потребления меньшей мощности, чем главный процессор 121, или быть специфичным для определенной функции. Вспомогательный процессор 123 может быть реализован отдельно от основного процессора 121 или как его часть.
[28] Вспомогательный процессор 123 может управлять по меньшей мере некоторыми из функций или состояний, относящихся к по меньшей мере одному компоненту (например, модулю 160 отображения, модулю 176 датчика или модулю 190 связи) среди компонентов электронного устройства 101, вместо главного процессора 121, в то время как главный процессор 121 находится в неактивном (например, спящем) состоянии, или вместе с главным процессором 121, в то время как главный процессор 121 находится в активном состоянии (например, исполняет приложение). Согласно варианту осуществления, вспомогательный процессор 123 (например, процессор сигналов изображения или процессор связи) может быть реализован как часть другого компонента (например, модуля 180 камеры или модуля 190 связи), функционально связанного с вспомогательным процессором 123. Согласно варианту осуществления, вспомогательный процессор 123 (например, нейронный процессор) может включать в себя аппаратную структуру, специфицированную для обработки модели искусственного интеллекта. Модель искусственного интеллекта может быть сформирована посредством машинного обучения. Такое обучение может быть выполнено, например, электронным устройством 101, где искусственный интеллект выполняется, или посредством отдельного сервера (например, сервера 108). Обучающие алгоритмы могут включать в себя, но не только, например, управляемое обучение, неуправляемое обучение, полууправляемое обучение или обучение с подкреплением. Модель искусственного интеллекта может включать в себя множество слоев искусственной нейронной сети. Искусственная нейронная сеть может быть глубокой нейронной сетью (DNN), сверточной нейронной сетью (CNN), рекуррентной нейронной сетью (RNN), ограниченной машиной Больцмана (RBM), глубокой сетью доверия (DBN), двухсторонней рекуррентной глубокой нейронной сетью (BRDNN), глубокой Q-сетью или сочетанием двух или более из них, но не только. Модель искусственного интеллекта может, дополнительно или альтернативно, включать в себя структуру программного обеспечения, отличную от аппаратной структуры.
[29] Память 130 может сохранять различные данные, используемые по меньшей мере посредством одного компонента (например, процессора 120 или модуля 176 датчиков) электронного устройства 101. Различные данные могут включать в себя, например, программное обеспечение (например, программу 140) и входные данные или выходные данные для команды, связанной с ним. Память 130 может включать в себя энергозависимую память 132 или энергонезависимую память 134.
[30] Программа 140 может храниться в памяти 130 как программное обеспечение и может включать, например, операционную систему (ОС) 142, промежуточное программное обеспечение 144 или приложение 146.
[31] Модуль 150 ввода может принимать команду или данные, которые должны использоваться посредством другого компонента (например, процессора 120) электронного устройства 101, снаружи (например, от пользователя) электронного устройства 101. Модуль 150 ввода может включать в себя, например, микрофон, мышь, клавиатуру, клавишу (например, кнопку) или цифровую ручку (например, перо стилуса).
[32] Модуль 155 звукового вывода может выводить звуковые сигналы за пределы электронного устройства 101. Модуль 155 звукового вывода может включать в себя, например, динамик или приемник. Динамик может быть использован для общих целей, таких как воспроизведение мультимедиа или воспроизведение записи. Приемник может быть использован для приема входящих вызовов. Согласно варианту осуществления приемник может быть реализован отдельно от динамика или как его часть.
[33] Модуль 160 отображения может визуально предоставлять информацию наружу (например, пользователю) из электронного устройства 101. Модуль 160 отображения может включать в себя, например, дисплей, голографическое устройство или проектор и схему управления, чтобы управлять соответствующими одним из дисплеев, голографического устройства и проектора. Согласно варианту осуществления, модуль 160 отображения может включать в себя датчик касания, приспособленный для обнаружения прикосновения, или датчик давления, приспособленный для измерения интенсивности силы, возникающей при прикосновении.
[34] Аудиомодуль 170 может преобразовывать звук в электрический сигнал и наоборот. Согласно варианту осуществления, аудиомодуль 170 может получать звук через модуль 150 ввода или выводить звук через модуль 155 вывода звука или наушник внешнего электронного устройства (например, электронное устройство 102) непосредственно (например, проводным образом) или беспроводным образом соединенного с электронным устройством 101.
[35] Модуль 176 датчика может обнаруживать рабочее состояние (например, мощность или температуру) электронного устройства 101 или окружающее состояние (например, состояние пользователя), внешнее по отношению к электронному устройству 101, и затем формировать электрический сигнал или значение данных, соответствующее обнаруженному состоянию. Согласно варианту осуществления, модуль 176 датчиков может включать в себя, например, датчик жестов, гироскопический датчик, датчик атмосферного давления, магнитный датчик, датчик ускорения, датчик захвата, датчик приближения, датчик цвета, инфракрасный (IR) датчик, биометрический датчик, датчик температуры, датчик влажности или датчик освещенности.
[36] Интерфейс 177 может поддерживать один или более точно определенных протоколов, которые должны использоваться для электронного устройства 101, которое должно быть соединено с внешним электронным устройством (например, электронным устройством 102) непосредственно (например, проводным образом) или беспроводным образом. Согласно варианту осуществления, интерфейс 177 может включать в себя, например, мультимедийный интерфейс высокой четкости (HDMI), интерфейс универсальной последовательной шины (USB), интерфейс защищенной цифровой (SD) карты или аудиоинтерфейс.
[37] Соединительный контактный вывод 178 может включать в себя соединитель, через который электронное устройство 101 может быть физически соединено с внешним электронным устройством (например, электронным устройством 102). Согласно варианту осуществления, соединительный контактный вывод 178 может включать в себя, например, HDMI-разъем, USB-разъем, разъем для SD-карт или аудиоразъем (например, разъем наушников).
[38] Тактильный модуль 179 может преобразовывать электрический сигнал в механическое возбуждающее воздействие (например, вибрацию или перемещение) или электрическое возбуждающее воздействие, которое может быть распознано пользователем через его чувство осязания или кинестетическое чувство. Согласно варианту осуществления, тактильный модуль 179 может включать в себя, например, двигатель, пьезоэлектрический элемент или электрический стимулятор.
[39] Модуль 180 камеры может захватывать неподвижное изображение или движущиеся изображения. Согласно варианту осуществления, модуль 180 камеры может включать в себя одну или более линз, датчиков изображения, процессоров сигналов изображения или вспышек.
[40] Модуль 188 управления мощностью может управлять мощностью, подаваемой в электронное устройство 101. Согласно одному варианту осуществления, модуль 188 управления мощностью может реализовываться по меньшей мере как часть, например, интегральной схемы управления мощностью (PMIC).
[41] Аккумулятор 189 может подавать мощность в по меньшей мере один компонент электронного устройства 101. Согласно варианту осуществления, аккумулятор 189 может включать в себя, например, первичный элемент, который не является перезаряжаемым, вторичный элемент, который является перезаряжаемым, или топливный элемент.
[42] Модуль 190 связи может поддерживать установление прямого (например, проводного) канала связи или беспроводного канала связи между электронным устройством 101 и внешним электронным устройством (например, электронным устройством 102, электронным устройством 104 или сервером 108) и выполнение связи через установленный канал связи. Модуль 190 связи может включать в себя один или более процессоров связи, которые функционируют независимо от процессора 120 (например, прикладного процессора (AP)) и поддерживают прямую (например, проводную) связь или беспроводную связь. Согласно варианту осуществления, модуль 190 связи может включать в себя модуль 192 беспроводной связи (например, модуль сотовой связи, модуль беспроводной связи малого радиуса действия или модуль связи глобальной навигационной спутниковой системы (GNSS)) или модуль 194 проводной связи (например, модуль связи по локальной вычислительной сети (LAN) или модуль связи по линии электропитания (PLC)). Соответствующий модуль из этих модулей связи может связываться с внешним электронным устройством через первую сеть 198 (например, сеть связи малого радиуса действия, такую как Bluetooth™, прямое соединение с беспроводной достоверностью (Wi-Fi) или по стандарту Ассоциации по инфракрасной технологии передачи данных (IrDA)) или вторую сеть 199 (например, сеть связи большого радиуса действия, такую как сотовая сеть, сеть 5G, сеть связи нового поколения, Интернет или компьютерная сеть (например, LAN или глобальная вычислительная сеть (WAN)). Эти различные типы модулей связи могут быть реализованы как единый компонент (например, единая микросхема) или могут быть реализованы как множество компонентов (например, множество микросхем), отдельных друг от друга. Модуль 192 беспроводной связи может идентифицировать и аутентифицировать электронное устройство 101 в сети связи, такой как первая сеть 198 или вторая сеть 199, с помощью информации об абоненте (например, международной идентификации мобильного абонента (IMSI)), сохраненной в модуле 196 идентификации абонента.
[43] Модуль 192 беспроводной связи может поддерживать 5G-сеть, после 4G-сети, и технологию связи следующего поколения, например, технологию доступа новой радиосвязи (NR). Технология NR-доступа может поддерживать улучшенный мобильный широкополосный доступ (eMBB), потоковые связи машинного типа (mMTC) или сверхнадежные и имеющие низкое значение задержки связи (URLLC). Модуль 192 беспроводной связи может поддерживать высокочастотный диапазон (например, диапазон миллиметровых волн), чтобы добиваться, например, высокой скорости передачи данных. Модуль 192 беспроводной связи может поддерживать различные технологии для обеспечения производительности в высокочастотном диапазоне, такие как, например, формирование пучка, массовый многоканальный ввод и многоканальный вывод (массовый MIMO), полноразмерный MIMO (FD-MIMO), антенная решетка, формирование аналогового пучка, или крупномасштабная антенна. Модуль 192 беспроводной связи может поддерживать различные требования, специфицированные в электронном устройстве 101, внешнем электронном устройстве (например, электронном устройстве 104) или сетевой системе (например, второй сети 199). Согласно варианту осуществления, модуль 192 беспроводной связи может поддерживать пиковую скорость передачи данных (например, 20 Гбит/с или более) для реализации eMBB, покрытия потерь (например, 164 дБ или менее) для реализации mMTC, или задержку U-плоскости (например, 0,5 мс или менее для каждой нисходящей линии связи (DL) и восходящей линии связи (UL), или время прохождения сигнала туда-обратно 1 мс или менее) для реализации URLLC.
[44] Антенный модуль 197 может передавать или принимать сигнал или мощность к или от внешней стороны (например, внешнего электронного устройства) электронного устройства 101. Согласно варианту осуществления, антенный модуль 197 может включать в себя антенну, включающую в себя излучающий узел, состоящий из проводящего материала или проводящего рисунка, сформированного внутри или на подложке (например, печатной плате (PCB)). Согласно варианту осуществления, антенный модуль 197 может включать в себя множество антенн (например, антенные решетки). В таком случае по меньшей мере одна антенна, подходящая для схемы связи, используемой в сети связи, такой как первая сеть 198 или вторая сеть 199, может быть выбрана, например, модулем 190 связи (например, модулем 192 беспроводной связи) из множества антенн. Затем сигнал или мощность могут передаваться или приниматься между модулем 190 связи и внешним электронным устройством через выбранную по меньшей мере одну антенну. Согласно варианту осуществления, другой компонент (например, радиочастотная интегральная схема (RFIC)), отличный от излучающего элемента, может быть дополнительно сформирован как часть антенного модуля 197.
[45] Согласно различным вариантам осуществления, антенный модуль 197 может формировать антенный модуль миллиметрового диапазона волн. Согласно варианту осуществления, антенный модуль миллиметрового диапазона может включать в себя печатную плату, RFIC, размещенную на первой поверхности (например, нижней поверхности) печатной платы или рядом с первой поверхностью и приспособленную для поддержки точно определенного высокочастотного диапазона (например, миллиметрового диапазона волн), и множество антенн (например, антенную решетку), размещенных на второй поверхности (например, верхней или боковой поверхности) печатной платы, или рядом со второй поверхностью и приспособленных для передачи или приема сигналов точно определенного высокочастотного диапазона.
[46] По меньшей мере некоторые из вышеописанных компонентов могут быть соединены взаимно и обмениваться сигналами (например, командами или данными) между собой по схеме связи между периферийными устройствами (например, шине, вводу и выводу общего назначения (GPIO), последовательному периферийному интерфейсу (SPI) или мобильному промышленному интерфейсу процессора (MIPI)).
[47] Согласно варианту осуществления команды или данные могут передаваться или приниматься между электронным устройством 101 и внешним электронным устройством 104 через сервер 108, связанный со второй сетью 199. Каждое из электронных устройств 102 или 104 может быть устройством того же типа, что и электронное устройство 101, или другого типа. Согласно варианту осуществления, все или некоторые операции, которые должны выполняться на электронном устройстве 101, могут выполняться на одном или более внешних электронных устройствах 102, 104 или 108. Например, если электронное устройство 101 должно выполнять функцию или услугу автоматически или в ответ на запрос от пользователя или другого устройства, электронное устройство 101 вместо или в дополнение к выполнению функции или услуги, может запросить одно или более внешних электронных устройств для выполнения хотя бы части функции или услуги. Одно или более внешних электронных устройств, принимающих запрос, могут выполнять по меньшей мере часть запрашиваемой функции или услуги либо дополнительной функции или дополнительной услуги, связанной с запросом, и передавать результат выполнения в электронное устройство 101. Электронное устройство 101 может предоставлять результат, с или без последующей обработки результата, в качестве по меньшей мере части отклика на запрос. С этой целью могут использоваться облачные вычисления, распределенные вычисления, мобильные граничные вычисления (MEC) или вычислительная технология клиент-сервер, например. Электронное устройство 101 может предоставлять службы со сверхнизкой задержкой с помощью, например, распределенного вычисления или мобильного периферийного вычисления. В варианте осуществления внешнее электронное устройство 104 может включать в себя устройство Интернета вещей (IoT). Сервер 108 может быть интеллектуальным сервером, использующим машинное обучение и/или нейронную сеть. Согласно варианту осуществления, внешнее электронное устройство 104 или сервер 108 могут быть включены во вторую сеть 199. Электронное устройство 101 может быть применено к интеллектуальным службам (например, умный дом, умный город, умный автомобиль или здравоохранение) на основе технологии связи 5G или связанной с IoT технологии.
[48] Электронное устройство согласно различным вариантам осуществления может быть одним из различных типов электронных устройств. Электронные устройства могут включать в себя, например, переносное устройство связи (например, смартфон), компьютерное устройство, переносное мультимедийное устройство, переносное медицинское устройство, камеру, носимое устройство или бытовой прибор. Согласно варианту осуществления раскрытия, электронные устройства не ограничиваются описанными выше.
[49] Следует понимать, что различные варианты осуществления раскрытия и термины, используемые в нем, не предназначены для ограничения технологических особенностей, изложенных в данном документе, конкретными вариантами осуществления и включают в себя различные изменения, эквиваленты или замены для соответствующего варианта осуществления. Относительно описания чертежей, аналогичные ссылки с номерами могут использоваться для того, чтобы ссылаться на аналогичные или связанные элементы. Следует понимать, что форма единственного числа существительного, соответствующего пункту, может включать в себя один или более элементов, если релевантный контекст явно не указывает иное. При использовании в данном документе, каждая из таких фраз, как "A или B", "по меньшей мере одно из A и B", "по меньшей мере одно из A или B", "A, B или C", "по меньшей мере одно из A, B и C" и "по меньшей мере одно из A, B или C", может включать в себя что-либо одно или все возможные комбинации пунктов, перечисляемых вместе в соответствующей одной из фраз. Когда используются в данном документе, такие термины как "1-й" и "2-й" или "первый" и "второй" могут использоваться, чтобы просто различать соответствующий компонент от другого, и не ограничивают компоненты в другом аспекте (например, важности или порядке). Следует понимать, что, если выполняется ссылка на элемент (например, первый элемент), с или без помощи термина "функционально" или "с возможностью связи", как "связанный с", "присоединенный к", "соединенный с" или "подключенный к" другому элементу (например, второму элементу), это означает, что элемент может быть соединен с другим элементом непосредственно (например, проводным образом), беспроводным образом или через третий элемент.
[50] Когда используется в раскрытии, термин "модуль" может включать в себя блок, реализованный в аппаратных средствах, программном обеспечении или микропрограммном обеспечении, и может использоваться взаимозаменяемо с другими терминами, например, "логика", "логический блок", "часть" или "схема". Модуль может представлять собой единый составной компонент или минимальный блок или его часть, приспособленные для выполнения одной или более функций. Например, согласно варианту осуществления, модуль может быть реализован в виде специализированной интегральной схемы (ASIC).
[51] Согласно различным вариантам осуществления, каждый компонент (например, модуль или программа) описанных выше компонентов может включать в себя один объект или несколько объектов, и некоторые из нескольких объектов могут быть отдельно расположены в разных компонентах. Согласно различным вариантам осуществления, один или более из описанных выше компонентов могут быть опущены, или могут быть добавлены один или более других компонентов. Альтернативно или дополнительно, множество компонентов (например, модулей или программ) может быть объединено в один компонент. В таком случае, согласно различным вариантам осуществления, интегрированный компонент может по-прежнему выполнять одну или более функций каждого из множества компонентов таким же или аналогичным образом, как они выполнялись соответствующим одним из множества компонентов перед интеграцией. Согласно различным вариантам осуществления, операции, выполняемые модулем, программой или другим компонентом, могут выполняться последовательно, параллельно, многократно или эвристически, или одна или более операций могут выполняться в другом порядке или пропускаться, или могут быть добавлены другие операции.
[52] Фиг. 2 является передним видом в перспективе, иллюстрирующим электронное устройство согласно различным вариантам осуществления раскрытия. Фиг. 3 является задним видом в перспективе, иллюстрирующим электронное устройство согласно различным вариантам осуществления раскрытия.
[53] Обращаясь к фиг. 2 и 3, электронное устройство 101 согласно варианту осуществления может включать в себя корпус 210, который включает в себя переднюю поверхность 210A, заднюю поверхность 210B и боковую поверхность 210C, окружающую пространство между передней поверхностью 210A и задней поверхностью 210B. В варианте осуществления (не показан) корпус 210 может ссылаться на конструкцию, которая формирует часть передней поверхности 210A на фиг. 2, задней поверхности 210B на фиг. 3 и боковой поверхности 210C. Согласно варианту осуществления по меньшей мере часть передней поверхности 210A может быть сформирована посредством передней пластины 202 (например, стеклянной пластины или полимерной пластины, включающей в себя различные покрывающие слои), которая по меньшей мере частично является, по существу, прозрачной. Задняя поверхность 210B может быть сформирована посредством задней пластины 211. Задняя пластина 211 может быть сформирована, например, из стекла, керамики, полимера, металла (например, титана (Ti), нержавеющей стали (STS) или магния (Mg)), или сочетания по меньшей мере двух из этих материалов. Боковая поверхность 210C может быть соединена с передней пластиной 202 и задней пластиной 211 и быть сформирована посредством боковой обрамляющей конструкции (или "бокового элемента") 218, включающей в себя металл и/или полимер. В некотором варианте осуществления задняя пластина 211 и боковая обрамляющая конструкция 218 могут быть сформированы как единое целое и включать в себя одинаковый материал (например, стекло, металлический материал, такой как алюминий, или керамику). В варианте осуществления передняя поверхность 210A и/или передняя пластина 202 могут быть интерпретированы как часть дисплея 220. Согласно варианту осуществления, корпус 210 может включать в себя переднюю пластину 202 и заднюю пластину 211.
[54] Согласно варианту осуществления, электронное устройство 101 может включать в себя по меньшей мере одно из дисплея 220, аудиомодулей 203, 207 и 214 (например, аудиомодуль 170 на фиг. 1), модуля датчиков (например, модуль 176 датчиков на фиг. 1), модулей 205 и 206 камер (например, модуль 180 камеры на фиг. 1), кнопочных устройств 217 ввода (например, модуль 150 ввода на фиг. 1) или отверстий 208 и 209 разъемов (например, соединительная клемма 178 на фиг. 1). В некотором варианте осуществления электронное устройство 101 может не быть снабжено по меньшей мере одним (например, отверстием 209 разъема) из компонентов или дополнительно включать в себя другие компоненты.
[55] Согласно варианту осуществления, дисплей 220 может быть визуально выставлен напоказ, например, через существенный участок передней пластины 202. В некотором варианте осуществления по меньшей мере часть дисплея 220 может быть выставлена напоказ через переднюю пластину 202, формирующую переднюю поверхность 210A. Согласно варианту осуществления, дисплей 220 может быть гибким дисплеем или складным дисплеем.
[56] Согласно варианту осуществления, поверхность (или передняя пластина 202) корпуса 210 может включать в себя область просмотра, сформированную посредством визуального раскрытия дисплея 220. Например, область просмотра может включать в себя переднюю поверхность 210A.
[57] В варианте осуществления (не показан) электронное устройство 101 может включать в себя углубление или отверстие, сформированное в части области просмотра (например, передней поверхности 210A) дисплея 220, и включать в себя по меньшей мере один из аудиомодуля 214, модуля датчиков (не показан), светоизлучающего элемента (не показан) или модуля 205 камеры, который является совмещенным с углублением или отверстием. В варианте осуществления (не показан) электронное устройство 101 может включать в себя по меньшей мере один из аудиомодуля 214, модуля датчиков (не показан), модуля 205 камеры, датчика отпечатка пальца (не показан) или светоизлучающего элемента (не показан) на задней поверхности области просмотра дисплея 220.
[58] В варианте осуществления (не показан) дисплей 220 может быть объединен или размещен рядом со схемой обнаружения касания, датчиком давления, который измеряет интенсивность (давление) касания, и/или цифровым кодером, который обнаруживает сенсорное перо на основе магнитного поля.
[59] В некотором варианте осуществления по меньшей мере некоторые из кнопочных устройств 217 ввода могут быть размещены в боковой обрамляющей конструкции 218.
[60] Согласно варианту осуществления, аудиомодули 203, 207 и 214 могут включать в себя, например, микрофонное отверстие 203 и отверстия 207 и 214 для динамиков. Микрофон для получения внешнего звука может быть размещен в микрофонном отверстии 203, и, в некотором варианте осуществления, множество микрофонов могут быть размещены, чтобы обнаруживать направление звука. Отверстия 207 и 214 для динамиков могут включать в себя отверстие 207 для внешнего динамика и отверстие 214 приемника для вызовов. В некотором варианте осуществления, отверстия 207 и 214 для динамиков и микрофонное отверстие 203 могут быть реализованы как единое отверстие, или динамик (например, пьезодинамик) может содержаться без отверстий 207 и 214 для динамиков.
[61] Согласно варианту осуществления, модуль датчиков (не показан) может обнаруживать внутреннее рабочее состояние или внешнее окружающее состояние электронного устройства 101 и формировать электрический сигнал или значение данных, соответствующее обнаруженному состоянию. Модуль датчиков (не показан) может включать в себя, например, модуль первого датчика (не показан) (например, датчик приближения) и/или модуль второго датчика (не показан) (например, датчик отпечатка пальца), размещенные на передней поверхности 210a. Модуль датчиков (не показан) может включать в себя, например, модуль третьего датчика (не показан) (например, датчик пульсометра (HRM)) и/или модуль четвертого датчика (не показан) (например, датчик отпечатка пальца), размещенные на задней поверхности 210B. В некотором варианте осуществления (не показан), датчик отпечатка пальца может быть размещен на задней поверхности 210b, также как на передней поверхности 210a (например, дисплее 220). Электронное устройство 101 может дополнительно включать в себя модуль датчиков (не показан), например, по меньшей мере один из датчика жестов, гиродатчика, датчика барометрического давления, магнитного датчика, датчика ускорения, датчика захвата, датчика приближения, датчика цвета, инфракрасного (IR) датчика, биометрического датчика, датчика температуры, датчика влажности или датчика освещенности (не показан).
[62] Согласно варианту осуществления, модули 205 и 206 камер могут включать в себя, например, передний модуль 205 камеры, размещенный на передней поверхности 210A электронного устройства 101, и задний модуль 206 камеры и/или вспышку 204, размещенные на задней поверхности 210B электронного устройства 101. Каждый из модулей 205 и 206 камер может включать в себя один или более объективов, датчик изображения и/или сигнальный процессор изображения. Вспышка 204 может включать в себя, например, светоизлучающий диод (LED) или ксеноновую лампу. В некотором варианте осуществления два или более объективов (инфракрасная камера, широкоугольный объектив и фотографический телеобъектив) и датчики изображения могут быть размещены на одной поверхности электронного устройства 101.
[63] Согласно варианту осуществления, кнопочные устройства 217 ввода могут быть размещены на боковой поверхности 210C корпуса 210. В варианте осуществления электронное устройство 101 может не включать в себя некоторые или какие-либо из вышеуказанных кнопочных устройств 217 ввода, и кнопочные устройства 217 ввода, которые не содержатся, могут быть реализованы в других формах, таких как программные кнопки на дисплее 220.
[64] Согласно варианту осуществления, светоизлучающий элемент (не показан) может быть размещен, например, на передней поверхности 210A корпуса 210. Светоизлучающий элемент (не показан) может предоставлять, например, информацию о состоянии электронного устройства 101 в форме световой сигнализации. В варианте осуществления светоизлучающий элемент (не показан) может предоставлять, например, источник света, взаимодействующий с функционированием переднего модуля 205 камеры. Светоизлучающий элемент (не показан) может включать в себя, например, LED, IR LED и/или ксеноновую лампу.
[65] Согласно варианту осуществления, отверстия 208 и 209 разъемов могут включать в себя первое отверстие 208 разъема, которое может размещать разъем (например, разъем универсальной последовательной шины (USB)) для передачи и получения мощности и/или данных к и от внешнего электронного устройства и разъем (например, штекер наушников) для передачи и приема аудиосигнала к и от внешнего электронного устройства, и/или второе отверстие 209 разъема для размещения запоминающего устройства (Например, карты модуля идентификации абонента (SIM)). Согласно варианту осуществления, первое отверстие 208 разъема и/или второе отверстие 209 разъема может быть опущено.
[66] Фиг. 4 является покомпонентным видом в перспективе, иллюстрирующим электронное устройство согласно различным вариантам осуществления раскрытия.
[67] Обращаясь к фиг. 4, электронное устройство 101 может включать в себя заднюю пластину 211, первый опорный элемент 230, второй опорный элемент 240 и печатную плату (PCB) 250.
[68] Согласно различным вариантам осуществления, задняя пластина 211 может формировать по меньшей мере часть внешнего облика электронного устройства 101. Например, задняя пластина 211 может формировать заднюю поверхность (например, заднюю поверхность 210B на фиг. 2) и/или боковую поверхность (например, боковую поверхность 210C на фиг. 2) электронного устройства 101.
[69] Согласно различным вариантам осуществления, первый опорный элемент 230 может быть размещен в корпусе (например, корпусе 210 на фиг. 2). Согласно варианту осуществления, первый опорный элемент 230 может быть размещен под задней пластиной 211 (например, в +Z направлении). Например, первый опорный элемент 230 может быть размещен между задней пластиной 211 и вторым опорным элементом 240. Согласно варианту осуществления, первый опорный элемент 230 может размещать электронный компонент (например, аудиомодуль 170 на фиг. 1).
[70] Согласно различным вариантам осуществления, второй опорный элемент 240 может поддерживать компоненты электронного устройства 101. Например, компонент (например, PCB 250) или аккумулятор (например, аккумулятор 189 на фиг. 1) электронного устройства 101 может быть установлен на втором опорном элементе 240. Согласно варианту осуществления, дисплей (например, дисплей 220 на фиг. 2) может быть размещен на одной поверхности первого опорного элемента 240, а PCB 250 может быть размещена на другой поверхности первого опорного элемента 240. Второй опорный элемент 240 может формировать по меньшей мере часть боковой поверхности (например, боковой поверхности 210C на фиг. 2). Согласно варианту осуществления, второй опорный элемент 240 может быть изготовлен из металлического материала и/или неметаллического (например, полимерного) материала.
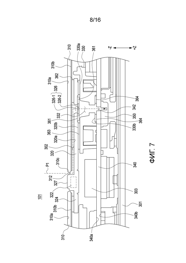
[71] Согласно различным вариантам осуществления, PCB 250 может быть размещен на втором опорном элементе 240. Согласно варианту осуществления по меньшей мере часть PCB 250 может быть размещена между первым опорным элементом 230 и вторым опорным элементом 240. Согласно варианту осуществления, PCB 250 может размещать процессор (например, процессор 120 на фиг. 1), память (например, память 130 на фиг. 1) и/или интерфейс (например, интерфейс 177 на фиг. 1).
[72] Фиг. 5A является передним видом, иллюстрирующим заднюю пластину с элементом вспышки, прикрепленным к ней, согласно различным вариантам осуществления раскрытия, а фиг. 5B является задним видом, иллюстрирующим заднюю пластину с элементом вспышки, присоединенным к ней, согласно различным вариантам осуществления раскрытия.
[73] Обращаясь к фиг. 5A и 5B, электронное устройство 101 может включать в себя заднюю пластину 310 и элемент 320 вспышки, прикрепленный к задней пластине 310. Конфигурации задней пластины 310 и элемента 320 вспышки на фиг. 5A и 5B могут быть целиком или частично такими же, что и конфигурации задней пластины 211 и вспышки 204 на фиг. 3.
[74] Согласно различным вариантам осуществления, задняя пластина 310 может включать в себя первое сквозное отверстие 312. Согласно варианту осуществления, задняя пластина 310 может включать в себя первую поверхность 310a, раскрытую наружу электронного устройства 101, и вторую поверхность 310b напротив первой поверхности 310a. Первое сквозное отверстие 312 может быть отверстием, проходящим сквозь по меньшей мере часть между первой поверхностью 310a и второй поверхностью 310b. Согласно варианту осуществления, первое сквозное отверстие 312 может размещать по меньшей мере часть элемента 320 вспышки.
[75] Согласно различным вариантам осуществления, задняя пластина 310 может включать в себя по меньшей мере одно отверстие 314 для камеры. Согласно варианту осуществления по меньшей мере одно отверстие 314 для камеры может быть расположено, чтобы соответствовать модулю камеры (например, модулю 206 камеры на фиг. 3). Согласно варианту осуществления, отверстие 314 для камеры может быть отверстием, проходящим сквозь по меньшей мере часть между первой поверхностью 310a и второй поверхностью 310b задней пластины 310. Согласно варианту осуществления, первое сквозное отверстие 312 может быть разнесено с интервалом от по меньшей мере одного отверстия 314 для камеры. Согласно варианту осуществления по меньшей мере часть модуля камеры (например, модуля 180 камеры на фиг. 1) может быть визуально раскрыта наружу электронного устройства 101 через отверстие 314 для камеры.
[76] Согласно различным вариантам осуществления, элемент 320 вспышки может испускать свет наружу электронного устройства 101. Например, элемент 320 вспышки может включать в себя линзу 322 вспышки и опорную конструкцию 324, размещающую линзу 322 вспышки. Согласно варианту осуществления, линза 322 вспышки может быть LED или ксеноновой лампой. Согласно варианту осуществления, линза 322 вспышки может быть электрически соединена с аккумулятором (например, аккумулятором 189 на фиг. 1) и/или процессором (например, процессором 120 на фиг. 1). Согласно варианту осуществления, опорная конструкция 324 может размещать линзу 322 вспышки. Опорная конструкция 324 может быть интерпретирована как корпус или кожух элемента 320 вспышки. Согласно варианту осуществления, опорная конструкция 324 может быть обращена к части (например, второй поверхности 310b) задней пластины 310.
[77] Согласно различным вариантам осуществления по меньшей мере часть элемента 320 вспышки может быть размещена внутри первого сквозного отверстия 312. Например по меньшей мере часть элемента 320 вспышки может быть визуально раскрыта наружу электронного устройства 101 через первое сквозное отверстие 312. Согласно варианту осуществления, свет, сформированный линзой 322 вспышки элемента 320 вспышки, может быть передан наружу из электронного устройства 101 через первое сквозное отверстие 312. Согласно варианту осуществления, элемент 320 вспышки может быть размещен под задней пластиной 310 (например, в +Z направлении). Например, элемент 320 вспышки может быть размещен на второй поверхности 310b задней пластины 310. Согласно варианту осуществления, элемент 320 вспышки может не перекрываться с модулем камеры (например, модулем 180 камеры на фиг. 1) для получения внешнего изображения через отверстие 314 для камеры или окошко камеры (не показано) для защиты модуля камеры, в направлении толщины (например, направлении Z-оси).
[78] Фиг. 6 является покомпонентным видом в перспективе, иллюстрирующим электронное устройство, включающее в себя заднюю пластину и опорный элемент согласно различным вариантам осуществления раскрытия. Фиг. 7 является видом в поперечном сечении, иллюстрирующим электронное устройство согласно варианту осуществления раскрытия.
[79] Обращаясь к фиг. 6 и 7, электронное устройство 101 может включать в себя дисплей 301, заднюю пластину 310, элемент 320 вспышки, опорный элемент 330, PCB 340 и микрофонный модуль 350. Конфигурации дисплея 301, задней пластины 310, элемента 320 вспышки, опорного элемента 330 и PCB 340 на фиг. 6 и/или 7 могут быть целиком или частично такими же, что и конфигурации дисплея 220, задней пластины 310, элемента 320 вспышки, первого опорного элемента 230 и PCB 250 на фиг. 2, фиг. 4, фиг. 5A и/или фиг. 5B.
[80] Согласно различным вариантам осуществления, задняя пластина 310 может окружать по меньшей мере часть элемента 320 вспышки. Например, задняя пластина 310 может включать в себя седьмую поверхность 310c, окружающую по меньшей мере часть (например, выступающую конструкцию 327) элемента 320 вспышки. Согласно варианту осуществления, седьмая поверхность 310c может окружать по меньшей мере часть между первой поверхностью 310a и второй поверхностью 310b задней пластины 310. Согласно варианту осуществления, седьмая поверхность 310c может формировать первое сквозное отверстие 312. Например, по меньшей мере часть пространства, окруженного седьмой поверхностью 310c, может быть интерпретирована как первое сквозное отверстие 312.
[81] Согласно различным вариантам осуществления, элемент 320 вспышки может быть разнесен с интервалом от задней пластины 310. Согласно варианту осуществления, опорная конструкция 324 элемента 320 вспышки может включать в себя третью поверхность 320a, обращенную ко второй поверхности 310b задней пластины 310, и четвертую поверхность 320b напротив третьей поверхности 320a. Третья поверхность 320a может быть разнесена с интервалом от второй поверхности 310b задней пластины 310. Согласно варианту осуществления, элемент 320 вспышки может включать в себя выступающую конструкцию 327, протягивающуюся или выступающую от третьей поверхности 320a опорной конструкции 324. По меньшей мере часть выступающей конструкции 327 может быть обращена к седьмой поверхности 310c задней пластины 310, являясь разнесенной с интервалом от седьмой поверхности 310c. Согласно варианту осуществления, зазор или промежуток между третьей поверхностью 320a и второй поверхностью 310b и/или зазор или промежуток между седьмой поверхностью 310c и выступающей конструкцией 327 могут быть интерпретированы как внутреннее пространство 302 электронного устройства 101. Например, по меньшей мере часть внутреннего пространства 302 может быть расположена между второй поверхностью 310b и третьей поверхностью 320a. Согласно варианту осуществления по меньшей мере часть звука или вибрации, передаваемой снаружи электронного устройства 101, может передаваться микрофонному модулю 350 через внутреннее пространство 302, расположенное между задней пластиной 310 и элементом 320 вспышки задней пластины 310.
[82] Согласно различным вариантам осуществления, опорная конструкция 324 элемента 320 вспышки может включать в себя второе сквозное отверстие 326. Согласно варианту осуществления, второе сквозное отверстие 326 может проходить сквозь третью и четвертую поверхности 320a и 320b. Согласно варианту осуществления, второе сквозное отверстие 326 может быть обращено к задней пластине 310. Например, второе сквозное отверстие 326 может быть соединено с внутренним пространством 302, и звук или вибрация, передаваемая снаружи электронного устройства 101, может передаваться микрофонному модулю 350 через внутреннее пространство 302 и второе сквозное отверстие 326.
[83] Согласно различным вариантам осуществления, опорная конструкция 324 элемента 320 вспышки может включать в себя второе сквозное отверстие 326. Согласно варианту осуществления, второе сквозное отверстие 326 может проходить сквозь третью и четвертую поверхности 320a и 320b. Согласно варианту осуществления, второе сквозное отверстие 326 может быть обращено к задней пластине 310. Например, второе сквозное отверстие 326 может быть соединено с внутренним пространством 302, и звук или вибрация, передаваемая снаружи электронного устройства 101, может передаваться микрофонному модулю 350 через внутреннее пространство 302 и второе сквозное отверстие 326.
[84] Согласно различным вариантам осуществления по меньшей мере часть второго сквозного отверстия 326 может быть канавкой или углублением. Например, второе сквозное отверстие 326 может включать в себя первый участок 326-1 и второй участок 326-2. Согласно варианту осуществления, первый участок 326-1 может протягиваться от внутреннего пространства 302 и быть сформирован на третьей поверхности 320a. Согласно варианту осуществления, второй участок 326-2 может протягиваться от первого участка 326-1 до четвертой поверхности 320b элемента 320 вспышки. Согласно варианту осуществления, первый водонепроницаемый элемент 361 может быть прикреплен на втором участке 362-2. Например, первый водонепроницаемый элемент 361 может быть прикреплен на канавке, сформированной посредством второго участка 326-2.
[85] Согласно различным вариантам осуществления, опорный элемент 330 может поддерживать элемент 320 вспышки. Например, элемент 320 вспышки может быть присоединен к опорному элементу 330 с помощью уплотнительного элемента (например, первого уплотнительного элемента 363). Согласно варианту осуществления, опорный элемент 330 может включать в себя восьмую поверхность 330a, обращенную к четвертой поверхности 320b элемента 320 вспышки, и девятую поверхность 330b напротив восьмой поверхности 330a.
[86] Согласно различным вариантам осуществления, опорный элемент 330 может включать в себя третье сквозное отверстие 332. Согласно варианту осуществления, третье сквозное отверстие 332 может быть обращено к по меньшей мере части второго сквозного отверстия 326. Например, внешний звук или вибрация электронного устройства 101 могут передаваться третьему сквозному отверстию 332 через внутреннее пространство 302 и второе сквозное отверстие 326. Согласно варианту осуществления, третье сквозное отверстие 332 может проходить сквозь по меньшей мере часть между восьмой поверхностью 330a и девятой поверхностью 330b.
[87] Согласно различным вариантам осуществления, PCB 340 может включать в себя четвертое сквозное отверстие 342. Согласно варианту осуществления по меньшей мере часть четвертого сквозного отверстия 342 может быть обращена к по меньшей мере части третьего сквозного отверстия 332. Например, внешний звук или вибрация электронного устройства 101 может передаваться четвертому сквозному отверстию 342 через внутреннее пространство 302, второе сквозное отверстие 326 и третье сквозное отверстие 332. Согласно варианту осуществления, PCB 340 может включать в себя пятую поверхность 340a, обращенную к опорному элементу 330, и шестую поверхность 340b напротив пятой поверхности 340a. Согласно варианту осуществления, четвертое сквозное отверстие 342 может проходить сквозь по меньшей мере часть между пятой поверхностью 340a и шестой поверхностью 340b. Согласно варианту осуществления, PCB 340 может быть соединена с опорным элементом 330. Например, PCB 340 может быть соединена с опорным элементом 330 через второй уплотнительный элемент 364. Согласно варианту осуществления, PCB 340 может быть размещена под опорным элементом 330 (например, в +Z направлении). Например, PCB 340 может быть размещена на девятой поверхности 330b опорного элемента 330.
[88] Согласно различным вариантам осуществления, PCB 340 может размещать по меньшей мере один электронный компонент 303. Например, PCB 340 может размещать микрофонный модуль 350. Согласно варианту осуществления, микрофонный модуль 350 может быть размещен на шестой поверхности 340b PCB 340.
[89] Согласно различным вариантам осуществления, микрофонный модуль 350 может получать звук снаружи электронного устройства 101. Например, микрофонный модуль 350 может получать звук, передаваемый по первому пути P1. Первый путь P1 может быть интерпретирован как внутреннее пространство 302, второе сквозное отверстие 326, третье сквозное отверстие 332 и четвертое сквозное отверстие 342. Согласно варианту осуществления, первый путь P1 может быть интерпретирован как микрофонный канал. Согласно варианту осуществления, микрофонный модуль 350 может покрывать второе сквозное отверстие 326, третье сквозное отверстие 332 и/или четвертое сквозное отверстие 342. Например, микрофонный модуль 350 может перекрываться с по меньшей мере частью второго сквозного отверстия 326, третьего сквозного отверстия 332 и/или четвертого сквозного отверстия 342. Конфигурация микрофонного модуля 350 может быть целиком или частично такой же, что и конфигурация аудиомодуля 170 на фиг. 1.
[90] Согласно различным вариантам осуществления, электронное устройство 101 может включать в себя первый водонепроницаемый элемент 361. Согласно варианту осуществления, первый водонепроницаемый элемент 361 может уменьшать или препятствовать привнесению влаги или постороннего материала через второе сквозное отверстие 326 внутрь электронного устройства 101. Согласно варианту осуществления, первый водонепроницаемый элемент 361 может быть прикреплен под элементом 320 вспышки (например, в +Z направлении). Например, первый водонепроницаемый элемент 361 может быть размещен на втором участке 326-2 элемента 320 вспышки и покрывать второе сквозное отверстие 326. Согласно варианту осуществления по меньшей мере часть первого водонепроницаемого элемента 361 может перекрываться со вторым сквозным отверстием 326. Согласно варианту осуществления по меньшей мере часть первого водонепроницаемого элемента 361 может включать в себя множество сквозных отверстий. Например, по меньшей мере часть первого водонепроницаемого элемента 361 может быть сформирована в форме сетки.
[91] Согласно различным вариантам осуществления, электронное устройство 101 может включать в себя второй водонепроницаемый элемент 362. Согласно варианту осуществления, второй водонепроницаемый элемент 362 может уменьшать или предотвращать привнесение влаги или постороннего материала в зазор (например, внутреннее пространство 302) между задней пластиной 310 и элементом 320 вспышки. Согласно варианту осуществления, второй водонепроницаемый элемент 362 может быть размещен между задней пластиной 310 и элементом 320 вспышки. Например, второй водонепроницаемый элемент 362 может быть размещен между второй поверхностью 310b задней пластины 310 и третьей поверхностью 320a элемента 320 вспышки. Согласно варианту осуществления, второй водонепроницаемый элемент 362 может быть водонепроницаемой лентой. Согласно варианту осуществления, второй водонепроницаемый элемент 362 может быть сформирован в форме замкнутого контура. Например, второй водонепроницаемый элемент 362 может окружать по меньшей мере часть первого пути P1 и уменьшать или предотвращать утечку звука или вибрации, передаваемой снаружи электронного устройства 101 микрофонному модулю 350. Согласно варианту осуществления, второй водонепроницаемый элемент 362 может уменьшать или предотвращать передачу света, создаваемого линзой 322 вспышки, внутрь электронного устройства 101. Например, второй водонепроницаемый элемент 362 может поглощать по меньшей мере часть света, создаваемого линзой 322 вспышки элемента 320 вспышки.
[92] Согласно различным вариантам осуществления, электронное устройство 101 может включать в себя первый уплотнительный элемент 363. Согласно варианту осуществления, первый уплотнительный элемент 363 может соединять элемент 320 вспышки и опорный элемент 330 друг с другом. Например, первый уплотнительный элемент 363 может быть клейкой лентой или клеем. Согласно варианту осуществления, первый уплотнительный элемент 363 может быть размещен между элементом 320 вспышки и опорным элементом 330. Например, первый уплотнительный элемент 363 может быть размещен между четвертой поверхностью 320b элемента 320 вспышки и восьмой поверхностью 330a опорного элемента 330. Согласно варианту осуществления, первый уплотнительный элемент 363 может уменьшать или предотвращать утечку звука или вибрации, передаваемой микрофонному модулю 350. Например, первый уплотнительный элемент 363 может уменьшать или предотвращать утечку звука или вибрации из пространства между элементом 320 вспышки и опорным элементом 330. Согласно варианту осуществления, первый уплотнительный элемент 363 может быть сформирован в форме замкнутого контура.
[93] Согласно различным вариантам осуществления, электронное устройство 101 может включать в себя второй уплотнительный элемент 364. Согласно варианту осуществления, второй уплотнительный элемент 364 может уменьшать или предотвращать утечку звука или вибрации, передаваемой микрофонному модулю 350. Например, второй уплотнительный элемент 364 может уменьшать или предотвращать утечку звука или вибрации из пространства между опорным элементом 330 и PCB 340. Согласно варианту осуществления, второй уплотнительный элемент 364 может быть размещен между опорным элементом 330 и PCB 340. Например, второй уплотнительный элемент 364 может быть размещен между девятой поверхностью 330b опорного элемента 330 и пятой поверхностью 340a PCB 340. Согласно варианту осуществления, второй уплотнительный элемент 364 может быть сформирован в форме замкнутого контура. Согласно варианту осуществления, второй уплотнительный элемент 364 может включать в себя вспененный материал. Например, второй уплотнительный элемент 364 может быть губкой.
[94] Фиг. 8 является схемой, иллюстрирующей соединительную конструкцию между опорным элементом и PCB согласно различным вариантам осуществления раскрытия.
[95] Обращаясь к фиг. 8, электронное устройство 101 может включать в себя по меньшей мере одну крепежную конструкцию 304 для присоединения опорного элемента 330 к PCB (например, PCB 340 на фиг. 7). Конфигурация опорного элемента 330 на фиг. 8 может быть целиком или частично такой же, что и конфигурация первого опорного элемента 230 на фиг. 4.
[96] Согласно различным вариантам осуществления, крепежная конструкция 304 может соединять опорный элемент 330 с PCB (например, PCB 340 на фиг. 7). Например, крепежная конструкция 304 может соединять опорный элемент 330 с PCB 340, вместе с первым уплотнительным элементом 363 (например, первым уплотнительным элементом 363 на фиг. 7). Согласно варианту осуществления, опорный элемент 330 может быть прикреплен к PCB 340 с помощью крепежной конструкции 304 и уменьшать или предотвращать утечку звука между опорным элементом 330 и PCB 340, вызванную отталкивающей силой второго уплотнительного элемента (например, второго уплотнительного элемента 364 на фиг. 7). Согласно варианту осуществления, крепежная конструкция 304 может быть присоединена к опорному элементу 330 (например, первому опорному элементу 230 на фиг. 4), PCB 340 и второму опорному элементу (например, второму опорному элементу 240 на фиг. 4). Например, опорный элемент 330 и PCB 340 могут быть присоединены ко второму опорному элементу 240 через крепежную конструкцию 304. Согласно варианту осуществления, крепежная конструкция 304 может быть штокообразной конструкцией или винтовой конструкцией. Согласно варианту осуществления, опорный элемент 330 может включать в себя восьмую поверхность 330a (например, восьмую поверхность 330a на фиг. 7), на которой располагается первый уплотнительный элемент 363.
[97] Фиг. 9 является видом в поперечном сечении, иллюстрирующим электронное устройство согласно варианту осуществления раскрытия. Фиг. 10 является схемой, иллюстрирующей конструкцию, в которой микрофонный модуль размещается на опорном элементе согласно варианту осуществления раскрытия.
[98] Обращаясь к фиг. 9 и 10, электронное устройство 101 может включать в себя дисплей 301, заднюю пластину 310, элемент 320 вспышки, опорный элемент 330, PCB 340, микрофонный модуль 350, первый водонепроницаемый элемент 361, второй водонепроницаемый элемент 362 и первый уплотнительный элемент 363. Конфигурации дисплея 301, задней пластины 310, элемент 320 вспышки, опорного элемента 330, PCB 340, микрофонного модуля 350, первого водонепроницаемого элемента 361, второго водонепроницаемого элемента 362 и первого уплотнительного элемента 363 на фиг. 9 и 10 могут быть целиком или частично такими же, что и конфигурации дисплея 301, задней пластины 310, элемента 320 вспышки, опорного элемента 330, PCB 340, микрофонного модуля 350, первого водонепроницаемого элемента 361, второго водонепроницаемого элемента 362 и первого уплотнительного элемента 363 на фиг. 7.
[99] Согласно различным вариантам осуществления, электронное устройство 101 может включать в себя гибкую печатную плату (FPCB) 370. Согласно варианту осуществления, FPCB 370 может включать в себя пятое сквозное отверстие 372, обращенное к по меньшей мере части третьего сквозного отверстия 332. Например, звук или вибрация снаружи электронного устройства 101 может передаваться пятому сквозному отверстию 372 через внутреннее пространство 302, второе сквозное отверстие 326 и третье сквозное отверстие 332. Согласно варианту осуществления, FPCB 370 может быть присоединена к опорному элементу 330 через второй уплотнительный элемент 374. Согласно варианту осуществления, второй уплотнительный элемент 374 может быть размещен на десятой поверхности 330c опорного элемента 330.
[100] Согласно различным вариантам осуществления, FPCB 370 может размещать электронные компоненты (например, микрофонный модуль 350 и/или модуль 305 динамика). Согласно варианту осуществления по меньшей мере часть FPCB 370 может быть размещена между микрофонным модулем 350 и опорным элементом 330. Согласно варианту осуществления, FPCB 370 может быть электрически соединена с электронным компонентом 303, размещенным на PCB 340. Например, FPCB 370 может включать в себя конструкцию 376 разъема для подключения к PCB 340.
[101] Согласно различным вариантам осуществления, микрофонный модуль 350 может получать звук снаружи электронного устройства 101. Например, микрофонный модуль 350 может получать звук, передаваемый по второму пути P2. Второй путь P2 может быть интерпретирован как внутреннее пространство 302, второе сквозное отверстие 326, третье сквозное отверстие 332 и пятое сквозное отверстие 372. Согласно варианту осуществления, второй путь P2 может быть интерпретирован как микрофонный канал. Согласно варианту осуществления, микрофонный модуль 350 может быть размещен под FPCB 370 (например, в +Z направлении). Согласно варианту осуществления, длина второго пути P2 может быть меньше длины первого пути (например, первого пути P1 на фиг. 7). На основе длины пути, по которому микрофонный модуль 350 получает звук, резонансная частота электронного устройства 101 и/или громкость звука, получаемого микрофонным модулем 350, может быть изменена. Например, диапазон резонансных частот электронного устройства 101, включающего в себя микрофонный модуль 350, размещенный под опорным элементом 330 (например, в +Z направлении) с помощью FPCB 370 (например, фиг. 9), и/или громкость звука, привносимого в микрофонный модуль 350, может быть больше диапазона резонансных частот электронного устройства 101 (например, фиг. 7), включающего в себя микрофонный модуль 350, размещенный под опорным элементом 330 (например, в +Z направлении), и/или громкости звука, привносимого в микрофонный модуль 350.
[102] Фиг. 11A является передним видом, иллюстрирующим элемент вспышки согласно различным вариантам осуществления раскрытия, а фиг. 11B является задним видом, иллюстрирующим элемент вспышки согласно различным вариантам осуществления раскрытия.
[103] Обращаясь к фиг. 11A и 11B, элемент 320 вспышки может включать в себя линзу 322 вспышки и опорную конструкцию 324. Конфигурация элемента 320 вспышки на фиг. 11A и 11B может быть целиком или частично такой же, что и конфигурация элемента 320 вспышки на фиг. 5A и 5B.
[104] Согласно различным вариантам осуществления, элемент 320 вспышки может включать в себя первую область 321, обращенную ко второму водонепроницаемому элементу (например, второму водонепроницаемому элементу 362 на фиг. 6). Первая область 321 может быть по меньшей мере частью третьей поверхности 320a элемента 320 вспышки. Согласно варианту осуществления, первая область 321 может окружать по меньшей мере часть линзы 322 вспышки.
[105] Согласно различным вариантам осуществления по меньшей мере часть звука или вибрации, привносимой через внутреннее пространство 302 (например, внутреннее пространство 302 на фиг. 7) между линзой 322 вспышки и первой областью 321, может передаваться в первый участок 326-1. Согласно варианту осуществления по меньшей мере часть звука или вибрации, передаваемой в первый участок 326-1, может передаваться во второй участок 326-2. Согласно варианту осуществления, площадь поперечного сечения второго участка 326-2 может быть больше площади поперечного сечения первого участка 326-1. Например, вторая длина l2 второго участка 326-2 может быть больше первой длины l1 первого участка 326-1.
[106] Согласно различным вариантам осуществления, элемент 320 вспышки может включать в себя вторую область 323, обращенную к первому водонепроницаемому элементу (например, первому водонепроницаемому элементу 363 на фиг. 6). Вторая область 323 может быть по меньшей мере частью четвертой поверхности 320b элемента 320 вспышки. Согласно варианту осуществления, вторая область 323 может окружать по меньшей мере часть второго участка 326-2.
[107] Согласно различным вариантам осуществления, элемент 320 вспышки может включать в себя третью область 325, обращенную к первому водонепроницаемому элементу (например, первому водонепроницаемому элементу 361 на фиг. 6). Согласно варианту осуществления, третья область 325 может формировать по меньшей мере часть второго участка 326-2. Согласно варианту осуществления, третья область 325 может быть практически параллельной второй области 323.
[108] Фиг. 12 является видом в перспективе, иллюстрирующим элемент вспышки, включающий в себя канавкообразную конструкцию согласно различным вариантам осуществления раскрытия, а фиг. 13 является видом в перспективе, иллюстрирующим элемент вспышки, включающий в себя выступающую конструкцию согласно различным вариантам осуществления раскрытия. Фиг. 14 является видом в поперечном сечении, взятом по линии A-A' на фиг. 12, а фиг. 15 является видом в поперечном сечении, взятом по плоскости B-B' на фиг. 13.
[109] Обращаясь к фиг. 12-15, элемент 320 вспышки может включать в себя выступающую конструкцию 327, протягивающуюся от опорной конструкции 324. Согласно варианту осуществления, выступающая конструкция 327 может быть интерпретирована как частичная область элемента 320 вспышки, окруженная первым сквозным отверстием (например, первым сквозным отверстием 312 на фиг. 7) задней пластины (например, задней пластины 310 на фиг. 7). Согласно варианту осуществления по меньшей мере часть выступающей конструкции 327 может быть визуально раскрыта наружу электронного устройства (например, электронного устройства 101 на фиг. 7). Например, свет, создаваемый линзой 322 вспышки, может проходить через выступающую конструкцию 327 и излучается наружу из электронного устройства 101. Конфигурация элемента 320 вспышки на фиг. 12-15 может быть целиком или частично такой же, что и конфигурация элемента 320 вспышки на фиг. 7.
[110] Согласно различным вариантам осуществления (например, фиг. 12 и 14), элемент 320 вспышки может включать в себя по меньшей мере одну канавкообразную конструкцию 328, сформированную в выступающей конструкции 327. Согласно варианту осуществления, канавкообразная конструкция 328 может увеличивать объем воздуха, привносимого в микрофонный модуль (например, микрофонный модуль 350 на фиг. 7). Например, объем внутреннего пространства (например, внутреннего пространства 302 на фиг. 7) между задней пластиной (например, задней пластиной 310 на фиг. 7) и элементом 320 вспышки может быть увеличен посредством канавкообразной конструкции 328, и количество (объем и/или масса) воздуха, передаваемого ко второму сквозному отверстию 326 через внутреннее пространство 302, может быть увеличено. Согласно варианту осуществления, канавкообразная конструкция 328 может направлять воздух снаружи электронного устройства 101 ко второму сквозному отверстию 326. Например, канавкообразная конструкция 328 может быть расположена на выступающей конструкции 327 в направлении второго сквозного отверстия 326.
[111] Согласно различным вариантам осуществления (например, фиг. 13 и 15), элемент 320 вспышки может включать в себя по меньшей мере одну выпуклую конструкцию 329, сформированную на выступающей конструкции 327. Согласно варианту осуществления, выпуклая конструкция 329 может выступать по направлению к части (например, седьмой поверхности 310c на фиг. 7) задней пластины (например, задней пластины 310 на фиг. 7). Согласно варианту осуществления, выпуклая конструкция 329 может увеличивать количество воздуха, привносимого внутрь микрофонного модуля 350. Например, часть выступающей конструкции 327, в которой выпуклая конструкция 329 не сформирована, может быть интерпретирована как канавкообразная конструкция 328. Согласно варианту осуществления, выпуклая конструкция 329 может направлять соединение или сопряжение между элементом 320 вспышки и задней пластиной 310. Например, задняя пластина (например, задняя пластина 310 на фиг. 7) может включать в себя канавку (не показана), соответствующую выпуклой конструкции 329, и выпуклая конструкция 329 может быть вставлена в канавку. Согласно варианту осуществления, элемент 320 вспышки может не включать в себя канавкообразную конструкцию 328 и/или выпуклую конструкцию 329.
[112] Согласно различным вариантам осуществления раскрытия, электронное устройство (например, электронное устройство 101 на фиг. 2) может включать в себя заднюю пластину (например, заднюю пластину 310 на фиг. 5A), включающую в себя первое сквозное отверстие (например, первое сквозное отверстие 312 на фиг. 5A), элемент вспышки (например, элемент 320 вспышки на фиг. 7), по меньшей мере частично расположенный в первом сквозном отверстии и включающий в себя линзу вспышки (например, линзу 322 вспышки на фиг. 11A), и опорную конструкцию (например, опорную конструкцию 324 на фиг. 11A), размещающую линзу вспышки, при этом опорная конструкция включает в себя второе сквозное отверстие (например, второе сквозное отверстие 326 на фиг. 7), обращенное к задней пластине, опорный элемент (например, первый опорный элемент 230 на фиг. 4 или опорный элемент 330 на фиг. 6), поддерживающий элемент вспышки и включающий в себя третье сквозное отверстие (например, третье сквозное отверстие 332 на фиг. 7), обращенное к по меньшей мере части второго сквозного отверстия, и микрофонный модуль (например, микрофонный модуль 350 на фиг. 7), расположенный под опорным элементом и покрывающий третье сквозное отверстие.
[113] Согласно различным вариантам осуществления, задняя пластина может включать в себя первую поверхность (например, первую поверхность 310a на фиг. 7), раскрытую наружу электронного устройства, и вторую поверхность (например, вторую поверхность 310b на фиг. 7) напротив первой поверхности, опорная конструкция элемента вспышки может включать в себя третью поверхность (например, третью поверхность 320a на фиг 7), обращенную ко второй поверхности, и четвертую поверхность (например, четвертую поверхность 320b на фиг. 7) напротив третьей поверхности, и второе сквозное отверстие может проходить сквозь по меньшей мере часть между третьей поверхностью и четвертой поверхностью.
[114] Согласно различным вариантам осуществления по меньшей мере часть микрофонного модуля может быть сконфигурирована, чтобы получать звук снаружи электронного устройства через внутреннее пространство (например, внутреннее пространство 302 на фиг. 7), по меньшей мере частично расположенное между второй поверхностью и третьей поверхностью, и второе сквозное отверстие.
[115] Согласно различным вариантам осуществления, электронное устройство может дополнительно включать в себя PCB (например, PCB 340 на фиг. 7), размещающую по меньшей мере один электронный компонент и расположенную под опорным элементом.
[116] Согласно различным вариантам осуществления, PCB может включать в себя пятую поверхность (например, пятую поверхность 340a на фиг. 7), обращенную к опорному элементу, шестую поверхность (например, шестую поверхность 340b на фиг. 7) напротив пятой поверхности, и четвертое сквозное отверстие, (например, четвертое сквозное отверстие 342 на фиг. 7), проходящее между пятой поверхностью и шестой поверхностью и обращенное к третьему сквозному отверстию, и микрофонный модуль может покрывать четвертое сквозное отверстие и быть расположенным на шестой поверхности.
[117] Согласно различным вариантам осуществления, электронное устройство может дополнительно включать в себя второй уплотнительный элемент (например, второй уплотнительный элемент 364 на фиг. 7), размещенный межу опорным элементом и PCB.
[118] Согласно различным вариантам осуществления, электронное устройство может дополнительно включать в себя FPCB (например, FPCB 370 на фиг. 9), присоединенную к опорному элементу и включающую в себя пятое сквозное отверстие (например, пятое сквозное отверстие 372 на фиг. 9), обращенное к третьему сквозному отверстию, и микрофонный модуль может покрывать пятое сквозное отверстие и размещаться под FPCB.
[119] Согласно различным вариантам осуществления, задняя пластина может включать в себя седьмую поверхность (например, седьмую поверхность 310c на фиг. 7), окружающую по меньшей мере часть элемента вспышки, и элемент вспышки может включать в себя выступающую конструкцию (например, выступающую конструкцию 327 на фиг. 7), протягивающуюся от опорной конструкции и обращенную к седьмой поверхности.
[120] Согласно различным вариантам осуществления, элемент вспышки может включать в себя по меньшей мере одну из по меньшей мере одной канавкообразной конструкции (например, канавкообразной конструкции 328 на фиг. 12), сформированной на выступающей конструкции, или по меньшей мере одной выпуклой конструкции (например, выпуклой конструкции 329 на фиг. 13), выступающей из выступающей конструкции в направлении седьмой поверхности.
[121] Согласно различным вариантам осуществления, электронное устройство может дополнительно включать в себя по меньшей мере одну крепежную конструкцию (например, крепежную конструкцию 304 на фиг. 8), соединяющую опорный элемент и PCB друг с другом.
[122] Согласно различным вариантам осуществления, электронное устройство может дополнительно включать в себя первый водонепроницаемый элемент (например, первый водонепроницаемый элемент 361 на фиг. 7), размещенный под элементом вспышки и покрывающий второе сквозное отверстие.
[123] Согласно различным вариантам осуществления, второе сквозное отверстие может включать в себя первый участок (например, первый участок 326-1 на фиг. 7), протягивающийся из внутреннего пространства, и второй участок (например, второй участок 326-2 на фиг. 7), протягивающийся от первого участка и имеющий первый водонепроницаемый элемент, прикрепленный к нему, и площадь поперечного сечения второго участка может быть больше площади поперечного сечения первого участка. Согласно различным вариантам осуществления, электронное устройство может дополнительно включать в себя второй водонепроницаемый элемент (например, второй водонепроницаемый элемент 362 на фиг. 7), размещенный между элементом вспышки и задней пластиной.
[124] Согласно различным вариантам осуществления, электронное устройство может дополнительно включать в себя первый уплотнительный элемент (например, первый уплотнительный элемент 363 на фиг. 7), размещенный межу элементом вспышки и опорным элементом.
[125] Согласно различным вариантам осуществления, задняя пластина может включать в себя по меньшей мере одно отверстие для камеры (например, отверстие 341 для камеры на фиг. 5A), разнесенное с интервалом от первого сквозного отверстия, и электронное устройство может дополнительно включать в себя модуль камеры (например, модуль 180 камеры на фиг. 1), по меньшей мере частично выставленный напоказ визуально наружу электронного устройства через по меньшей мере одно отверстие для камеры.
[126] Согласно различным вариантам осуществления раскрытия, электронное устройство (например, электронное устройство 101 на фиг. 2) может включать в себя заднюю пластину (например, заднюю пластину 310 на фиг. 5A), включающую в себя первое сквозное отверстие (например, первое сквозное отверстие 312 на фиг. 5A), элемент вспышки (например, элемент 320 вспышки на фиг. 7), включающий в себя опорную конструкцию (например, опорную конструкцию 324 на фиг. 11A), включающую в себя второе сквозное отверстие (например, второе сквозное отверстие 326 на фиг. 7), обращенное к корпусу, и выступающую конструкцию (например, выступающую конструкцию 327 на фиг. 7), протягивающуюся от опорной конструкции и, по меньшей мере частично расположенную в первом сквозном отверстии, опорный элемент (например, опорный элемент 330 на фиг. 7), поддерживающий элемент вспышки и включающий в себя третье сквозное отверстие (например, третье сквозное отверстие 332 на фиг. 7), обращенное к по меньшей мере части второго сквозного отверстия, PCB (например, PCB 340 на фиг. 7), включающую в себя четвертое сквозное отверстие (например, четвертое сквозное отверстие 342 на фиг. 7), обращенное к третьему сквозному отверстию, и микрофонный модуль (например, микрофонный модуль 350 на фиг. 7), размещенный на PCB и покрывающий второе сквозное отверстие, третье сквозное отверстие и четвертое сквозное отверстие.
[127] Согласно различным вариантам осуществления, задняя пластина может включать в себя первую поверхность (например, первую поверхность 310a на фиг. 7), раскрытую наружу электронного устройства, и вторую поверхность (например, вторую поверхность 310b на фиг. 7) напротив первой поверхности, опорная конструкция элемента вспышки может включать в себя третью поверхность (например, третью поверхность 320a на фиг 7), обращенную ко второй поверхности, и четвертую поверхность (например, четвертую поверхность 320b на фиг. 7) напротив третьей поверхности, и второе сквозное отверстие может проходить сквозь по меньшей мере часть между третьей поверхностью и четвертой поверхностью.
[128] Согласно различным вариантам осуществления по меньшей мере часть микрофонного модуля может быть сконфигурирована, чтобы получать звук снаружи электронного устройства через внутреннее пространство (например, внутреннее пространство 302 на фиг. 7), по меньшей мере частично расположенное между второй поверхностью и третьей поверхностью, второе сквозное отверстие, третье сквозное отверстие и четвертое сквозное отверстие.
[129] Согласно различным вариантам осуществления, электронное устройство может дополнительно включать в себя второй уплотнительный элемент (например, второй уплотнительный элемент 364 на фиг. 7), размещенный межу опорным элементом и PCB.
[130] Согласно различным вариантам осуществления, задняя пластина может включать в себя седьмую поверхность (например, седьмую поверхность 310c на фиг. 7), окружающую по меньшей мере часть выступающей конструкции, и элемент вспышки может включать в себя по меньшей мере одну из по меньшей мере одной канавкообразной конструкции (например, канавкообразной конструкции 328 на фиг. 12), сформированной на выступающей конструкции, или по меньшей мере одной выпуклой конструкции (например, выпуклой конструкции 329 на фиг. 13), выступающей из выступающей конструкции в направлении седьмой поверхности.
[131] Вышеописанное электронное устройство, включающее в себя микрофонный модуль согласно раскрытию, не ограничивается вышеупомянутыми вариантами осуществления и чертежами, и специалистам в области техники будет очевидно, что множество замен, модификаций и вариаций могут быть выполнены в пределах технической области применения раскрытия.
| название | год | авторы | номер документа |
|---|---|---|---|
| ЭЛЕКТРОННОЕ УСТРОЙСТВО БЕСПРОВОДНОЙ СВЯЗИ (ВАРИАНТЫ) | 2020 |
|
RU2815618C2 |
| ЭЛЕКТРОННОЕ УСТРОЙСТВО, ВКЛЮЧАЮЩЕЕ В СЕБЯ АНТЕННУ И ТЕПЛОРАССЕИВАЮЩУЮ КОНСТРУКЦИЮ | 2020 |
|
RU2811572C2 |
| АНТЕННА И ЭЛЕКТРОННОЕ УСТРОЙСТВО, СОДЕРЖАЩЕЕ ЕЕ | 2020 |
|
RU2789661C1 |
| ЭЛЕКТРОННОЕ УСТРОЙСТВО ДЛЯ УСТОЙЧИВОГО ЭЛЕКТРИЧЕСКОГО СОЕДИНЕНИЯ | 2022 |
|
RU2819418C2 |
| СКЛАДНОЕ ЭЛЕКТРОННОЕ УСТРОЙСТВО, ВКЛЮЧАЮЩЕЕ ШАРНИРНЫЙ УЗЕЛ | 2021 |
|
RU2801113C1 |
| ЭЛЕКТРОННОЕ УСТРОЙСТВО, ВКЛЮЧАЮЩЕЕ В СЕБЯ ТЕПЛОРАССЕИВАЮЩУЮ КОНСТРУКЦИЮ | 2022 |
|
RU2819788C2 |
| СКЛАДНОЕ ЭЛЕКТРОННОЕ УСТРОЙСТВО, ВКЛЮЧАЮЩЕЕ В СЕБЯ ШАРНИРНЫЙ УЗЕЛ | 2021 |
|
RU2817388C2 |
| СКЛАДНОЕ УСТРОЙСТВО | 2020 |
|
RU2795111C2 |
| ЛИНЗОВЫЙ УЗЕЛ И ЭЛЕКТРОННОЕ УСТРОЙСТВО, СОДЕРЖАЩЕЕ ЕГО | 2023 |
|
RU2836688C2 |
| СКЛАДНОЕ УСТРОЙСТВО | 2020 |
|
RU2782976C1 |
Изобретение относится к акустике. Электронное устройство для приема звука через микрофонное отверстие содержит: заднюю пластину, включающую в себя первую поверхность, раскрытую наружу электронного устройства, вторую поверхность напротив первой поверхности и первое сквозное отверстие; элемент вспышки, частично расположенный в первом сквозном отверстии и включающий в себя линзу вспышки и опорную конструкцию, размещающую линзу вспышки и включающую в себя второе сквозное отверстие, обращенное ко второй поверхности, расположенную на расстоянии от второй поверхности; опорный элемент, поддерживающий элемент вспышки и включающий в себя третье сквозное отверстие, обращенное к по меньшей мере части второго сквозного отверстия; микрофонный модуль, расположенный под опорным элементом и выполненный с возможностью получения звука снаружи электронного устройства через первое сквозное отверстие, внутреннее пространство, расположенное между второй поверхностью и опорной конструкцией, второе сквозное отверстие и третье сквозное отверстие. Технический результат - повышение качества принимаемого звука. 13 з.п. ф-лы, 15 ил. 
1. Электронное устройство для приема звука через микрофонное отверстие, содержащее:
заднюю пластину, включающую в себя первую поверхность, раскрытую наружу электронного устройства, вторую поверхность напротив первой поверхности и первое сквозное отверстие;
элемент вспышки, частично расположенный в первом сквозном отверстии и включающий в себя
линзу вспышки и
опорную конструкцию, размещающую линзу вспышки и включающую в себя второе сквозное отверстие, обращенное ко второй поверхности, и расположенную на расстоянии от второй поверхности;
опорный элемент, поддерживающий элемент вспышки и включающий в себя третье сквозное отверстие, обращенное к по меньшей мере части второго сквозного отверстия; и
микрофонный модуль, расположенный под опорным элементом и выполненный с возможностью получения звука снаружи электронного устройства через первое сквозное отверстие, внутреннее пространство, расположенное между второй поверхностью и опорной конструкцией, второе сквозное отверстие и третье сквозное отверстие.
2. Электронное устройство по п. 1,
при этом опорная конструкция элемента вспышки включает в себя третью поверхность, обращенную ко второй поверхности, и четвертую поверхность напротив третьей поверхности, и
при этом второе сквозное отверстие проходит сквозь по меньшей мере часть опорной конструкции элемента вспышки между третьей поверхностью и четвертой поверхностью.
3. Электронное устройство по п. 1, дополнительно содержащее печатную плату, размещающую по меньшей мере один электронный компонент и размещенную под опорным элементом.
4. Электронное устройство по п. 3, при этом печатная плата включает в себя пятую поверхность, обращенную к опорному элементу, шестую поверхность напротив пятой поверхности и четвертое сквозное отверстие, проходящее между пятой поверхностью и шестой поверхностью и обращенное к третьему сквозному отверстию, и
при этом микрофонный модуль покрывает четвертое сквозное отверстие и размещен на шестой поверхности.
5. Электронное устройство по п. 4, дополнительно содержащее второй уплотнительный элемент, размещенный между опорным элементом и печатной платой.
6. Электронное устройство по п. 3, дополнительно содержащее гибкую печатную плату, присоединенную к опорному элементу и включающую в себя пятое сквозное отверстие, обращенное к третьему сквозному отверстию,
при этом микрофонный модуль покрывает пятое сквозное отверстие и размещен под гибкой печатной платой.
7. Электронное устройство по п. 3, дополнительно содержащее по меньшей мере одну крепежную конструкцию, соединяющую опорный элемент и печатную плату друг с другом.
8. Электронное устройство по п. 1, при этом задняя пластина включает в себя седьмую поверхность, окружающую по меньшей мере часть элемента вспышки, и
при этом элемент вспышки включает в себя выступающую конструкцию, протягивающуюся от опорной конструкции и обращенную к седьмой поверхности.
9. Электронное устройство по п. 8, при этом элемент вспышки включает в себя по меньшей мере одну из по меньшей мере одной канавкообразной конструкции, сформированной на выступающей конструкции, или по меньшей мере одной выпуклой конструкции, выступающей из выступающей конструкции в направлении седьмой поверхности.
10. Электронное устройство по п. 2, дополнительно содержащее первый водонепроницаемый элемент, размещенный под элементом вспышки и покрывающий второе сквозное отверстие.
11. Электронное устройство по п. 10, при этом второе сквозное отверстие включает в себя первый участок, продолжающийся от внутреннего пространства между второй поверхностью и третьей поверхностью, и второй участок, продолжающийся от первого участка и имеющий первый водонепроницаемый элемент, прикрепленный к нему, и
при этом площадь поперечного сечения второго участка больше площади поперечного сечения первого участка.
12. Электронное устройство по п. 1, дополнительно содержащее второй водонепроницаемый элемент, размещенный между элементом вспышки и задней пластиной.
13. Электронное устройство по п. 1, дополнительно содержащее первый уплотнительный элемент, размещенный между элементом вспышки и опорным элементом.
14. Электронное устройство по п. 1, при этом задняя пластина включает в себя по меньшей мере одно отверстие для камеры, разнесенное с интервалом от первого сквозного отверстия, и
при этом электронное устройство дополнительно содержит модуль камеры, по меньшей мере частично раскрытый визуально наружу электронного устройства через по меньшей мере одно отверстие для камеры.
| US 2018241861 A, 23.08.2018 | |||
| WO 2019050560 A1, 14.03.2019 | |||
| CN 106019771 A, 12.10.2016 | |||
| CN 210297765 U, 10.04.2020 | |||
| CN 210137345 A, 10.03.2020. |
Авторы
Даты
2025-04-21—Публикация
2021-12-16—Подача