ОБЛАСТЬ ТЕХНИКИ
Настоящее изобретение в целом относится к окрашиванию волос и в частности, но не исключительно, к устройствам, наборам и способам, пригодным для нанесения композиций для окрашивания волос на волосы, в особенности на волосы человека.
ПЕРЕКРЕСТНАЯ ССЫЛКА НА РОДСТВЕННЫЕ ЗАЯВКИ
Настоящая патентная заявка испрашивает приоритет по и относится к предварительной патентной заявке США с серийным номером 63/036109, поданной 8 июня 2020 г., которая полностью включена в настоящую заявку посредством ссылки.
УРОВЕНЬ ТЕХНИКИ
Зачастую существует необходимость в нанесении композиций для окрашивания волос на волосы, в особенности на волосы человека. Одной конкретной потребностью является окрашивание седых волос, естественным образом растущих, например, у пожилых людей.
Известны устройства и способы нанесения композиций для окрашивания волос на волосы, см., например: патенты США: 5,289,835; 6,513,534 и 7,055,528; заявки на патенты США: 2003/0217438; 2005/0092340; 2006/0054178; 2007/0157942; 2012/0192893; 2015/0053227; 2016/0022010 и публикации патентных заявок PCT: WO 2004/073448 и WO 2004/087036.
Существующие устройства и способы нанесения композиций для окрашивания волос обладают недостатками.
Было бы полезным иметь устройство и/или способ нанесения композиций для окрашивания волос на волосы, обладающие одним или более преимуществами по сравнению с известными устройствами и способами.
РАСКРЫТИЕ СУЩНОСТИ ИЗОБРЕТЕНИЯ
Некоторые варианты реализации настоящего изобретения относятся к устройствам, наборам и способам, пригодным для нанесения композиций для окрашивания волос на волосы, в особенности на волосы человека.
Согласно одному аспекту некоторых вариантов реализации настоящего изобретения, обеспечены устройства для нанесения, наборы и способы, пригодные для нанесения композиции для окрашивания волос на корни волос, растущих из кожи головы человека, по существу согласно настоящему описанию.
Согласно одному аспекту настоящего изобретения, обеспечено устройство для нанесения композиции для окрашивания волос, содержащее: корпус устройства, содержащий: первый резервуар, содержащий первый поршень, причем первый резервуар выполнен с возможностью приема первой части композиции для окрашивания волос; второй резервуар, содержащий второй поршень, причем второй резервуар выполнен с возможностью приема второй части композиции для окрашивания волос; и выдачной механизм, связанный с первым поршнем и со вторым поршнем, причем выдачной механизм выполнен с возможностью герметичного перемещения первого поршня внутри первого резервуара и второго поршня внутри второго резервуара; и колпачок для нанесения, содержащий: смесительный механизм и множество выступающих зубцов, причем колпачок для нанесения выполнен с возможностью обратимого соединения с корпусом устройства таким образом, что в положении, в котором колпачок для нанесения соединен с корпусом устройства, первый резервуар и второй резервуар герметизированы относительно окружающей среды, за исключением каналов множества выступающих зубцов, сообщающихся по текучей среде с первым резервуаром и вторым резервуаром посредством смесительного механизма, и при этом выдачной механизм при его активации выполнен с возможностью перемещения первого поршня и второго поршня в направлении множества выступающих зубцов с обеспечением смешивания первой части композиции для окрашивания волос со второй частью композиции для окрашивания волос с образованием смешанной композиции для окрашивания волос, подлежащей выдаче через множество выступающих зубцов.
Выдачной механизм может содержать первое зубчатое колесо, имеющее внутреннюю резьбу и внешние зубцы и установленное под первым поршнем; второе зубчатое колесо, имеющее внутреннюю резьбу и внешние зубцы и установленное под вторым поршнем; третье зубчатое колесо, имеющее внешние зубцы и установленное между первым зубчатым колесом и вторым зубчатым колесом и находящееся в контакте с ними; и двигатель, причем первый поршень соединен с первым резьбовым валом, а второй поршень соединен со вторым резьбовым валом таким образом, что внешняя резьба первого резьбового вала находится в зацеплении с внутренней резьбой первого зубчатого колеса, а внешняя резьба второго резьбового вала находится в зацеплении с внутренней резьбой второго зубчатого колеса, причем внешние зубцы третьего зубчатого колеса находятся в зацеплении с внешними зубцами первого и второго зубчатых колес, и при этом двигатель выполнен с возможностью вращения третьего зубчатого колеса с обеспечением вращения первого и второго зубчатых колес с обеспечением перемещения первого и второго поршней.
Первый резервуар может сообщаться по текучей среде со смесительным механизмом посредством первого отверстия, а второй резервуар может сообщаться по текучей среде со смесительным механизмом посредством второго отверстия, причем смесительный механизм может содержать статический смеситель, установленный в канале, причем канал выполнен с возможностью приема первой части композиции для окрашивания волос и второй части композиции для окрашивания волос на одном конце канала и обеспечения смешанной композиции для окрашивания волос на другом конце канала.
Выдачной механизм может содержать: первый набор передаточных колес, содержащий первое передаточное колесо и второе передаточное колесо; второй набор передаточных колес, содержащий третье передаточное колесо и четвертое передаточное колесо; и по меньшей мере один двигатель, причем первый поршень соединен с первым гибким ведущим тросиком, а второй поршень соединен со вторым гибким ведущим тросиком таким образом, что первый гибкий ведущий тросик проходит между первым передаточным колесом и вторым передаточным колесом и находится в контакте с ними, а второй гибкий ведущий тросик проходит между третьим передаточным колесом и четвертым передаточным колесом и находится в контакте с ними, и при этом по меньшей мере один двигатель выполнен с возможностью вращения первого, второго, третьего и четвертого передаточных колес с обеспечением перемещения первого и второго поршней.
Выдачной механизм может содержать первое зубчатое колесо, имеющее внешние зубцы и установленное под первым поршнем; второе зубчатое колесо, имеющее внешние зубцы и установленное под вторым поршнем; третье зубчатое колесо, имеющее внешние зубцы и установленное между первым зубчатым колесом и вторым зубчатым колесом и находящееся в контакте с ними; и двигатель, причем первое зубчатое колесо соединено с первым резьбовым валом, а второе зубчатое колесо соединено со вторым резьбовым валом, причем первый поршень установлен вокруг первого резьбового вала, а второй поршень установлен вокруг второго резьбового вала таким образом, что внешняя резьба первого резьбового вала находится в зацеплении с внутренней резьбой первого поршня, а внешняя резьба второго резьбового вала находится в зацеплении с внутренней резьбой второго поршня, причем внешние зубцы третьего зубчатого колеса находятся в зацеплении с внешними зубцами первого и второго зубчатых колес, и при этом двигатель выполнен с возможностью вращения третьего зубчатого колеса с обеспечением вращения первого и второго зубчатых колес с обеспечением перемещения первого и второго поршней.
Первый резервуар может быть выполнен с возможностью приема первой части композиции для окрашивания волос в первой капсуле, и при этом второй резервуар может быть выполнен с возможностью приема второй части композиции для окрашивания волос во второй капсуле.
Согласно другому аспекту настоящего изобретения, обеспечена капсула для композиции для окрашивания волос, содержащая: первый резервуар, содержащий первую часть композиции для окрашивания волос; и второй резервуар, содержащий вторую часть композиции для окрашивания волос.
Согласно другому аспекту настоящего изобретения, обеспечена капсула для композиции для окрашивания волос, содержащая: первый резервуар, содержащий: первый поршень, установленный на нижнем конце первого резервуара, и первую часть композиции для окрашивания волос; второй резервуар, содержащий: второй поршень, установленный на нижнем конце второго резервуара, и вторую часть композиции для окрашивания волос, причем первый и второй поршни выполнены с возможностью перемещения с обеспечением выталкивания первой части композиции для окрашивания волос из первого резервуара и второй части композиции для окрашивания волос из второго резервуара.
Капсула для композиции для окрашивания волос также может содержать: первое отверстие под первым поршнем; и второе отверстие под вторым поршнем, причем первое и второе отверстия выполнены с возможностью обеспечения контакта с первым и вторым поршнями.
Капсула для композиции для окрашивания волос также может содержать съемную крышку.
Первый резервуар также может содержать: первый резьбовой вал, проходящий от нижнего конца до верхнего конца первого резервуара, причем первый поршень установлен вокруг первого резьбового вала и содержит внутреннюю резьбу таким образом, что внешняя резьба первого резьбового вала находится в зацеплении с внутренней резьбой первого поршня, и при этом второй резервуар также содержит: второй резьбовой вал, проходящий от нижнего конца до верхнего конца второго резервуара, причем второй поршень установлен вокруг второго резьбового вала и содержит внутреннюю резьбу таким образом, что внешняя резьба второго резьбового вала находится в зацеплении с внутренней резьбой второго поршня.
Согласно другому аспекту настоящего изобретения, обеспечена капсула для композиции для окрашивания волос, содержащая: первый резервуар, содержащий: первый поршень, имеющий внутреннюю резьбу и установленный на нижнем конце первого резервуара вокруг первого резьбового вала, проходящего от нижнего конца до верхнего конца первого резервуара таким образом, что внешняя резьба первого резьбового находится в зацеплении с внутренней резьбой первого поршня; и первую часть композиции для окрашивания волос; второй резервуар, содержащий: второй поршень, имеющий внутреннюю резьбу и установленный на нижнем конце второго резервуара вокруг второго резьбового стержня, проходящего от нижнего конца до верхнего конца второго резервуара таким образом, что внешняя резьба второго резьбового стержня находится в зацеплении с внутренней резьбой второго поршня; и вторую часть композиции для окрашивания волос, причем первый и второй поршни выполнены с возможностью перемещения с обеспечением выталкивания первой части композиции для окрашивания волос из первого резервуара и второй части композиции для окрашивания волос из второго резервуара.
Согласно другому аспекту настоящего изобретения, обеспечено устройство для нанесения композиции для окрашивания волос, содержащее: корпус устройства, содержащий: первый резервуар, выполненный с возможностью приема капсулы для композиции для окрашивания волос, причем капсула содержит: второй резервуар, содержащий первую часть композиции для окрашивания волос; и третий резервуар, содержащий вторую часть композиции для окрашивания волос; и выдачной механизм, выполненный с возможностью выдачи первой части композиции для окрашивания волос и второй части композиции для окрашивания волос из капсулы; и колпачок для нанесения, содержащий: смесительный механизм и множество выступающих зубцов, причем колпачок для нанесения выполнен с возможностью обратимого соединения с корпусом устройства таким образом, что в положении, в котором колпачок для нанесения соединен с корпусом устройства, первый резервуар герметизирован относительно окружающей среды, за исключением каналов множества выступающих зубцов, сообщающихся по текучей среде с первым резервуаром посредством смесительного механизма, и при этом выдачной механизм при его активации выполнен с возможностью выдачи композиции для окрашивания волос из капсулы в направлении множества выступающих зубцов с обеспечением смешивания первой части композиции для окрашивания волос со второй частью композиции для окрашивания волос с образованием смешанной композиции для окрашивания волос, подлежащего выдаче посредством множества выступающих зубцов.
Выдачной механизм может содержать: первый набор передаточных колес, содержащий первое передаточное колесо и второе передаточное колесо; первый гибкий ведущий тросик, проходящий между первым передаточным колесом и вторым передаточным колесом и находящийся в контакте с ними; первую подъемную часть, соединенную с верхним концом первого гибкого ведущего тросика; второй набор передаточных колес, содержащий третье передаточное колесо и четвертое передаточное колесо; второй гибкий ведущий тросик, проходящий между третьим передаточным колесом и четвертым передаточным колесом и находящийся в контакте с ними; вторую подъемную часть, соединенную с верхним концом второго гибкого ведущего тросика; и по меньшей мере один двигатель.
Второй резервуар также может содержать первый поршень, установленный на нижнем конце второго резервуара, причем третий резервуар также содержит второй поршень, установленный на нижнем конце третьего резервуара, причем первая подъемная часть выполнена с возможностью нахождения в контакте с первым поршнем, а вторая подъемная часть выполнена с возможностью нахождения в контакте со вторым поршнем, когда капсула введена в первый резервуар; и при этом по меньшей мере один двигатель выполнен с возможностью вращения первого, второго, третьего и четвертого передаточных колес с обеспечением перемещения первого и второго поршней.
Выдачной механизм может содержать: первую заглубленную шестерню, имеющую внешние зубцы и установленную под вторым резервуаром; вторую заглубленную шестерню, имеющую внешние зубцы и установленную под третьим резервуаром; зубчатое колесо, имеющее внешние зубцы и установленное между первой заглубленной шестерней и второй заглубленной шестерней и находящееся в контакте с ними таким образом, что внешние зубцы зубчатого колеса находятся в зацеплении с внешними зубцами первой заглубленной шестерни и внешними зубцами второй заглубленной шестерни; и двигатель.
Второй резервуар также может содержать: первый резьбовой вал, проходящий от нижнего конца до верхнего конца второго резервуара; первую шестерню, соединенную с первым резьбовым валом и выступающую от нижнего конца второго резервуара; и первый поршень, установленный вокруг первого резьбового вала и содержащий внутреннюю резьбу таким образом, что внешняя резьба первого резьбового вала находится в зацеплении с внутренней резьбой первого поршня, причем третий резервуар также содержит: второй резьбовой вал, проходящий от нижнего конца до верхнего конца третьего резервуара; вторую шестерню, соединенную со вторым резьбовым валом и выступающую от нижнего конца третьего резервуара; и второй поршень, установленный вокруг второго резьбового вала и содержащий внутреннюю резьбу таким образом, что внешняя резьба второго резьбового вала находится в зацеплении с внутренней резьбой второго поршня, причем первая шестерня выполнена с возможностью нахождения в контакте с первой заглубленной шестерней, а вторая шестерня выполнена с возможностью нахождения в контакте со второй заглубленной шестерней, когда капсула введена в первый резервуар, и при этом двигатель выполнен с возможностью вращения зубчатого колеса с обеспечением вращения первой и второй заглубленных шестерней с обеспечением перемещения первого и второго поршней.
Согласно другому аспекту настоящего изобретения, обеспечен одноразовый колпачок для нанесения, содержащий: множество выступающих зубцов и смесительный механизм, содержащий: статический смеситель, установленный в канале, причем канал выполнен с возможностью приема первой части композиции для окрашивания волос и второй части композиции для окрашивания волос на одном конце канала и обеспечения смешанной композиции для окрашивания волос на другом конце канала.
Согласно другому аспекту настоящего изобретения, обеспечено устройство для нанесения композиции для окрашивания волос, содержащее: корпус устройства, содержащий: резервуар, содержащий поршень, причем резервуар выполнен с возможностью приема первой части и второй части композиции для окрашивания волос; и выдачной механизм, связанный с поршнем, причем выдачной механизм выполнен с возможностью герметичного перемещения поршня внутри резервуара; смесительный колпачок, содержащий: крыльчатку, установленную на внутренней стороне смесительного колпачка; стержень, соединенный с крыльчаткой на одном конце стержня и с шестерней, установленной на внешней стороне смесительного колпачка, на другом конце стержня; и колпачок для нанесения, содержащий множество выступающих зубцов, причем смесительный колпачок выполнен с возможностью обратимого соединения с корпусом устройства таким образом, что в положении, в котором смесительный колпачок соединен с корпусом устройства, резервуар герметизирован относительно окружающей среды, а крыльчатка выполнена с возможностью смешивания первой части и второй части композиции для окрашивания волос с образованием смешанной композиции для окрашивания волос, причем колпачок для нанесения выполнен с возможностью обратимого соединения с корпусом устройства таким образом, что в положении, в котором колпачок для нанесения соединен с корпусом устройства, резервуар герметизирован относительно окружающей среды, за исключением каналов множества выступающих зубьев, сообщающихся по текучей среде с резервуаром; и при этом выдачной механизм при его активации выполнен с возможностью перемещения поршня в направлении множества выступающих зубцов с обеспечением проталкивания смешанной композиции для окрашивания волос, подлежащей выдаче через множество выступающих зубцов.
Согласно другому аспекту настоящего изобретения, обеспечено устройство для нанесения композиции для окрашивания волос, содержащее: корпус устройства, содержащий: резервуар, содержащий поршень, причем резервуар выполнен с возможностью приема первой части и второй части композиции для окрашивания волос; механизм для перемешивания; и выдачной механизм, связанный с поршнем, причем выдачной механизм выполнен с возможностью герметичного перемещения поршня внутри резервуара; и колпачок для нанесения, содержащий множество выступающих зубцов, причем механизм для перемешивания выполнен с возможностью смешивания первой части и второй части композиции для окрашивания волос с образованием смешанной композиции для окрашивания волос, причем колпачок для нанесения выполнен с возможностью обратимого соединения с корпусом устройства таким образом, что в положении, в котором колпачок для нанесения соединен с корпусом устройства, резервуар герметизирован относительно окружающей среды, за исключением каналов множества выступающих зубьев, сообщающихся по текучей среде с резервуаром; и при этом выдачной механизм при его активации выполнен с возможностью перемещения поршня в направлении множества выступающих зубцов с обеспечением проталкивания смешанной композиции для окрашивания волос, подлежащей выдаче через множество выступающих зубцов.
Механизм для перемешивания может содержать: крыльчатку и вал, соединенный с крыльчаткой на одном конце вала и с шестерней, установленной на внешней нижней стороне корпуса устройства, на другом конце вала, причем шестерня выполнена с возможностью вращения с обеспечением вращения крыльчатки и с обеспечением возможности смешивания первой части и второй части композиции для окрашивания волос с образованием смешанной композиции для окрашивания волос.
Механизм для перемешивания может содержать: крыльчатку и вал, соединенный с крыльчаткой на одном конце вала и с двигателем на другом конце вала, причем двигатель выполнен с возможностью вращения вала с обеспечением вращения крыльчатки и с обеспечением возможности смешивания первой части и второй части композиции для окрашивания волос с образованием смешанной композиции для окрашивания волос.
Крыльчатка может представлять собой складную крыльчатку, имеющую по меньшей мере два состояния, каждое из которых имеет отличающиеся размеры по высоте: состояние перемешивания, имеющее размер по высоте для несложенного состояния; и сложенное состояние, имеющее размер по высоте для сложенного состояния, который меньше, чем размер по высоте для несложенного состояния.
Шестерня может быть выполнена с возможностью обратимого соединения с внешним смесительным двигателем таким образом, что когда шестерня соединена с внешним смесительным двигателем, внешний смесительный двигатель приводится в действие для вращения крыльчатки.
Согласно другому аспекту настоящего изобретения, обеспечен набор, содержащий: устройство для нанесения согласно вышеприведенному описанию и стыковочную станцию.
Согласно другому аспекту настоящего изобретения, обеспечен набор, содержащий: устройство для нанесения согласно вышеприведенному описанию; и стыковочную станцию, содержащую смесительный двигатель, причем устройство для нанесения и стыковочная станция выполнены с возможностью взаимного обратимого соединения с обеспечением соединенного состояния, и в соединенном состоянии работа смесительного двигателя приводит к смешиванию текучего содержимого резервуара.
Стыковочная станция может быть выполнена с возможностью по меньшей мере одного из: удержания устройства для нанесения в вертикальном положении; зарядки компонента для накопления энергии устройства для нанесения; выполнения функции блока управления для по меньшей мере одной функции устройства для нанесения; и взвешивания содержимого резервуара.
Любое из устройств для нанесения, раскрытых в вышеприведенном описании, содержащее два отдельных резервуара, может также содержать колпачок, выполненный с возможностью герметизации первого резервуара и второго резервуара.
КРАТКОЕ ОПИСАНИЕ ЧЕРТЕЖЕЙ
Для лучшего понимания настоящего изобретения и для демонстрации принципов его реализации ниже исключительно в качестве примера приведена ссылка на сопутствующие чертежи.
В том, что касается детальных чертежей, следует подчеркнуть, что конкретные детали приведены в качестве примера и исключительно в целях иллюстративного рассмотрения предпочтительных вариантов реализации настоящего изобретения, и представлены в целях обеспечения наиболее полезного и понятного описания принципов и концептуальных аспектов настоящего изобретения. В этой связи не предприняты попытки отображения структурных деталей изобретения более подробно, чем это необходимо для фундаментального понимания изобретения, причем описание в совокупности с чертежами обеспечивает понимание специалисту в области техники как несколько форм изобретения могут быть воплощены на практике. На сопроводительных чертежах:
на ФИГ. 1A схематично изображен вид сбоку варианта реализации устройства для нанесения согласно идеям настоящего документа;
на ФИГ. 1B схематично изображен вид сбоку в сечении варианта реализации устройства для нанесения согласно идеям настоящего документа;
на ФИГ. 2A схематично изображен вид сбоку варианта реализации стыковочной станции согласно идеям настоящего документа;
на ФИГ. 2B схематично изображен вид сбоку в сечении варианта реализации стыковочной станции согласно идеям настоящего документа;
на ФИГ. 3 изображен вид сбоку головы человека, готовой к нанесению на волосы композиции для окрашивания волос;
на ФИГ. 4 схематично изображен вид сбоку в сечении варианта реализации устройства для нанесения согласно идеям настоящего документа;
на ФИГ. 5A схематично изображен вид сбоку в сечении варианта реализации устройства для нанесения согласно идеям настоящего документа;
на ФИГ. 5B схематично изображен вид сбоку варианта реализации стыковочной станции согласно идеям настоящего документа;
НА ФИГ. 5C схематично изображен вид сбоку в сечении варианта реализации стыковочной станции согласно идеям настоящего документа;
на ФИГ. 6А схематично изображен вариант реализации набора, включающего в себя устройство для нанесения и соответствующую стыковочную станцию согласно идеям настоящего документа;
на ФИГ. 6B показан покомпонентный вид по ФИГ. 6A;
на ФИГ. 6C показан покомпонентный вид устройства 610 для нанесения ;
на ФИГ. 6D показан вид сбоку в сечении узла 610A в виде гильзы;
на ФИГ. 6E показано сечение в перспективе узла 610A в виде гильзы;
на ФИГ. 6F показан вид снизу в перспективе колпачка 610B для нанесения;
на ФИГ. 6G показан покомпонентный вид по ФИГ. 6F;
на ФИГ. 6H показан покомпонентный вид сверху в перспективе колпачка 610B для нанесения;
на ФИГ. 6I показан вид снизу колпачка 610B для нанесения;
на ФИГ. 7 схематично изображен вид сбоку варианта реализации устройства для нанесения согласно идеям настоящего документа;
на ФИГ. 8 схематично изображен вид сбоку варианта реализации устройства для нанесения согласно идеям настоящего документа;
на ФИГ. 9 схематично изображен вид сбоку варианта реализации устройства для нанесения и капсулы согласно идеям настоящего документа; и
на ФИГ. 10 схематично изображен вид сбоку варианта реализации устройства для нанесения и капсулы согласно идеям настоящего документа.
ОСУЩЕСТВЛЕНИЕ ИЗОБРЕТЕНИЯ
Некоторые варианты реализации настоящего изобретения относятся к устройствам, наборам и способам, пригодным для нанесения композиций для окрашивания волос на волосы, в особенности на волосы человека.
Принципы, области применения и варианты реализации идей изобретения могут быть лучше поняты со ссылкой на сопутствующее описание и примеры. После ознакомления с описанием и примерами, предоставленными в настоящем документе, специалист в данной области техники сможет реализовать идеи изобретения без чрезмерных усилий или экспериментирования.
Перед тем, как приступить к подробному объяснению по меньшей мере одного варианта реализации изобретения, следует отметить, что изобретение не обязательно ограничено в своем применении деталями конструкции и расположением компонентов и/или способами, изложенными в настоящем документе. Изобретение предусматривает возможность использования других вариантов реализации или может быть применено на практике или осуществлено различными способами. Формулировка и терминология, используемые в настоящем документе, приведены в описательных целях и не должны считаться ограничивающими.
На момент написания наиболее распространенные способы окрашивания волос основывались на нанесении на волосы хинон-иминовых красителей, причем указанные способы реализованы с использованием набора для окрашивания волос, содержащего два компонента: раствор для окрашивания и проявитель. Два компонента набора для окрашивания волос смешивают друг с другом для получения композиции для окрашивания волос, наносимого на окрашиваемые волосы. Композицию оставляют в контакте с волосами в течение определенного промежутка времени (обычно 30-45 минут), в течение которого молекулы красителя задерживаются внутри стержней волос. По завершении указанного промежутка времени волосы ополаскивают и/или промывают для удаления остатков композиции для окрашивания волос.
Наносить подобную композицию для окрашивания волос на волосы, растущие из кожи головы, в особенности на волосы, растущие из собственной кожи головы пользователя, довольно сложно. Довольно сложно наносить подобную композицию исключительно на стержни волос вблизи кожи головы, и, как правило, весь стержень волоса должен контактировать с композицией для окрашивания волос, который при контакте повреждает волосы, оставляя их вялыми и безжизненными. Как отмечено во введении, разработаны различные устройства и способы нанесения на волосы композиций для окрашивания волос, но все подобные устройства и способы обладают одним или более недостатками.
Некоторые варианты реализации принципов в настоящем документе относятся к устройствам, наборам и способам, пригодным для нанесения композиции для окрашивания волос на волосы, в особенности на нижнюю часть стержней волос, растущих из кожи головы человека (обычно называемую "корнями", причем данный термин может быть использован в нижеприведенном описании), лишенным некоторых недостатков известных устройств и способов.
В нижеприведенном описании и на сопутствующих чертежах описаны конкретные варианты реализации ряда устройств согласно идеям настоящего документа устройств для нанесения и стыковочных станций, пригодных для нанесения композиции для окрашивания волос на волосы, в особенности на корни волос человека. Устройство для нанесения и стыковочная станция в совокупности представляют собой вариант реализации набора согласно идеям настоящего документа. Использование любого из устройства для нанесения или стыковочной станции по отдельности или обоих указанных двух устройств в совокупности представляет собой вариант реализации способа согласно идеям настоящего документа.
На ФИГ. 1A схематично показан вид сбоку, а на ФИГ. 1B схематично показано сечение на виде сбоку устройства 10 для нанесения в соответствии с вариантами реализации настоящего изобретения.
Устройство 10 для нанесения изображено с тремя отдельными узлами: узлом 12 в виде гильзы, смесительным колпачком 14 и колпачком 16 для нанесения.
Узел 12 в виде гильзы представляет собой корпус устройства 10 и включает в себя дальнюю часть 18 с дальним концом 20 и ближнюю часть 22. Дальняя часть 18 по существу представляет собой цилиндрическую стенку, задающую цилиндрический резервуар 24 для композиции (показан на ФИГ. 1B) с осью 26. Следует понимать, что устройство 10 не ограничено цилиндрической формой. В устройстве 10 ось резервуара и ось корпуса коаксиальны и, следовательно, в совокупности изображены в виде оси 26. Резервуар 24 открыт на дальнем конце 20, а его ближний конец задан дальней поверхностью поршня 28, предназначенного для герметичного плавного перемещения назад и вперед в осевом направлении внутри резервуара 24. Размеры дальней части 18 выбраны таким образом, что резервуар 24 имеет требуемый максимальный объем в положении, в котором поршень 28 находится в наиболее близком положении. Например, объем составляет от 110 мл до 150 мл. Предпочтительно, узел 12 в виде гильзы выполнен водоустойчивым; другими словами, промывка устройства (в особенности резервуара) проточной водой не повреждает узел 12 в виде гильзы или любой из его компонентов. В некоторых вариантах реализации узел 12 в виде гильзы является водонепроницаемым; другими словами, не получает повреждений при погружении в пресную воду глубиной 1 метр на 1 час.
Смесительный колпачок 14 и колпачок 16 для нанесения выполнены с возможностью обратимого соединения с дальним концом 20 узла 12 в виде гильзы. Например, внешняя поверхность дальнего конца 20 узла 12 в виде гильзы может включать в себя по меньшей мере один охватывающий элемент 30 соединителя с поворотным замком, а внутренние части смесительного колпачка 14 и колпачка 16 для нанесения могут включать в себя соответствующие охватываемые элементы 32 соединителя с поворотным замком. В несоединенном состоянии ближний конец 34 смесительного колпачка 14 или колпачка 16 для нанесения размещают поверх дальнего конца 20 узла 12 в виде гильзы таким образом, что охватывающие и охватываемые элементы 30 и 32 стыкуются, а затем их неподвижно фиксируют путем поворота. В результате, резервуар 24 герметизирован для предотвращения утечки вязкой текучей среды, такой как композиция для окрашивания волос, из резервуара 24 на стыке между дальним концом 20 и кромками смесительного колпачка 14 или колпачка 16 для нанесения.
Следует понимать, что настоящее изобретение не ограничено охватываемыми и охватывающими элементами, и может быть использован любой подходящий способ соединения смесительного колпачка 14 или колпачка 16 для нанесения с узлом 12 в виде гильзы.
Ближняя часть 22 узла 12 в виде гильзы включает в себя компоненты, необходимые для работы устройства 10, включая по меньшей мере некоторые из поршневого вала 36, приводящего в движение поршень двигателя 38, прикладной контроллер 40, который может включать в себя динамик, отображающее устройство, пользовательский интерфейс 42, перезаряжаемый накопитель 44 энергии и индуктивное зарядное устройство 46.
Следует понимать, что ближняя часть 22 не ограничена содержанием вышеописанных конкретных компонентов и может включать в себя по меньшей мере средства перемещения поршня (приводящие в движение поршень средства или выдачной механизм), контроллер 40, средства для управления устройством 10 (средства управления устройством), перезаряжаемый накопитель 44 энергии и средства для зарядки перезаряжаемого накопителя энергии (средства зарядки).
Следует также понимать, что настоящее изобретение не ограничено точными местоположениями компонентов.
Ближняя часть 22 узла 12 в виде гильзы выполнена за одно целое с дальней частью 18 и представляет собой ручку устройства 10; другими словами, имеет форму и размеры, позволяющие ей выполнять функцию ручки для использования одной рукой пользователем-человеком. В ходе использования устройства 10 человек захватывает ближнюю часть 22 рукой таким образом, что рука окружает ближнюю часть 22 и ось 26. В других вариантах реализации устройства согласно идеям настоящего документа ближняя часть имеет другие формы и/или сечения. Длина ближней части узла в виде гильзы устройства согласно идеям настоящего документа обычно задана на основании необходимости выполнения функции ручки и необходимости обеспечения размера, достаточного для размещения в ней требуемых компонентов. Например, в устройстве 10 длина узла 12 в виде гильзы задана, помимо прочего, длиной поршневого вала 36.
Отображающее устройство/пользовательский интерфейс 42 может представлять собой стандартный сенсорный экран, известный из уровня техники, и используется для предоставления пользовательских команд прикладному контроллеру 40 и для визуального отображения пользователю информации от прикладного контроллера 40. Прикладной контроллер 40 может представлять собой цифровой контроллер (например, печатную монтажную плату), известный в области бытовой техники и микровычислений, и может быть выполнен с возможностью приема пользовательских команд посредством отображающего устройства/пользовательского интерфейса 42, предоставления информации и обратной связи пользователю посредством отображающего устройства/пользовательского интерфейса 42 и управления другими компонентами устройства 10 для нанесения, например, работой приводящего в движение поршень двигателя 38 для перемещения поршня 28 в дальнем и ближнем направлениях. В зависимости от конкретного варианта реализации некоторые конкретные задачи, с возможностью выполнения которых выполнен контроллер 40, могут при необходимости включать в себя одно или более из:
включения или выключения устройства 10;
приема пользовательской инструкции о перемещении поршня 28 назад (в ближнем направлении для увеличения объема резервуара 24) до максимальной степени;
приема пользовательской инструкции о перемещении поршня 28 вперед (в дальнем направлении для уменьшения объема резервуара 24) до максимальной степени;
приема пользовательской инструкции о перемещении поршня 28 вперед с заданной и/или выбранной пользователем скоростью, что подходит для выдачи композиции для окрашивания волос, содержащейся в резервуаре 24;
приостановления перемещения поршня 28;
использования отображающего устройства/пользовательского интерфейса 42 и/или сопутствующего динамика для извещения пользователя о количестве композиции в резервуаре 24;
отображения , что накопитель 44 энергии заряжается или полностью заряжен;
отображения, что накопитель 44 энергии недостаточно заряжен для полного нанесения содержимого резервуара для композиции (в некоторых вариантах реализации прикладной контроллер 40 выполнен таким образом, что в случае, если накопитель 44 энергии недостаточно заряжен для полного нанесения содержимого резервуара 24 для композиции, поршень 28 не может быть перемещен для выдачи композиции для окрашивания волос, что позволяет избежать случая, в котором пользователь имеет лишь частично окрашенные волосы).
Смесительный колпачок
В некоторых вариантах реализации устройство для нанесения согласно идеям настоящего документа снабжено смесительным колпачком 14, выполненным с возможностью предпочтительно обратимого соединения с узлом 12 в виде гильзы устройства 10 для нанесения. В некоторых подобных вариантах реализации, в положении, в котором смесительный колпачок 14 не соединен с узлом 12 в виде гильзы, обеспечен доступ к резервуару 24, что позволяет добавлять компоненты композиции для окрашивания волос в резервуар. В некоторых подобных вариантах реализации, в положении, в котором смесительный колпачок соединен с узлом 12 в виде гильзы, композиция, находящаяся в резервуаре 24, может быть смешана.
В устройстве 10 смесительный колпачок 14 содержит ближний конец 34, ближнюю поверхность 48, дальнюю поверхность 50 и ось 52. На ближней поверхности 48 видна крыльчатка 54, представляющая собой перемешивающий компонент устройства 10. На дальней поверхности 50 показан зацепляющий компонент, представленный шестерней 56. Крыльчатка 54 и шестерня 56 взаимно соединены посредством стержня 58, выполняющего функцию перемешивающего вала устройства 10, проходящего от дальней поверхности 50 до ближней поверхности 48 через смесительный колпачок 14. Стержень 58 герметично установлен с возможностью вращения в смесительном колпачке 14 коаксиально с осью 52, что позволяет обеспечить коаксиальное вращение крыльчатки 54, шестерни 56 и стержня 58, но предотвращает утечку текучей среды, такой как композиция для окрашивания волос, проходящей от ближней поверхности 48 до дальней поверхности 50 по длине стержня 58.
Колпачок для нанесения
Устройство для нанесения согласно идеям настоящего документа снабжено колпачком 16 для нанесения, предпочтительно выполненным с возможностью соединения, более предпочтительно с возможностью обратимого соединения, с узлом 12 в виде гильзы устройства 10 для нанесения. В некоторых подобных вариантах реализации, в положении, в котором колпачок 16 для нанесения не соединен с узлом 12 в виде гильзы, обеспечен доступ к резервуару 24, что позволяет добавлять компоненты композиции для окрашивания волос в резервуар.
В устройстве 10 колпачок 16 для нанесения включает в себя ближний конец 34, ближнюю поверхность 60, дальний конец 62, ось 64 и множество копланарных удлиненных зубцов 66 для нанесения, выступающих по существу в осевом направлении (в некоторых вариантах реализации в пределах 30°, в пределах 25°, в пределах 20°, в пределах 15°, в пределах 5° от параллели и даже параллельно оси 64 и оси 26 резервуара в положении, в котором колпачок 16 для нанесения соединен с узлом 12 в виде гильзы). Колпачок 16 для нанесения, показанный на чертеже, включает в себя восемь зубцов 66. В некоторых предпочтительных вариантах реализации устройство согласно идеям настоящего документа может содержать по меньшей мере 3 зубца (с обеспечением достаточной выдачи композиции для окрашивания волос) и не более 10 зубцов (что позволяет избежать излишнего сопротивления при проталкивании зубцов через волосы и гарантировать, что все зубцы остаются в контакте с кожей головы, см. ниже). Соответственно, в некоторых предпочтительных вариантах реализации устройство согласно идеям настоящего документа содержит 3, 4, 5, 6, 7, 8, 9 или 10 зубцов. Тем не менее, следует понимать, что настоящее изобретение не ограничено диапазоном от 3 до 10 зубцов.
Каждый зубец 66 является полым и включает в себя канал 68 для композиции, обеспечивающий сообщение по текучей среде от ближней поверхности 60 через дальний наконечник 70 зубцов 66. Дальние наконечники 70 зубцов 66 не оставляют царапин, поскольку они закруглены, и имеют диаметр не менее 2 мм и не более 4 мм. В предпочтительных вариантах реализации диаметр составляет не более 3,5 мм и даже не более 3 мм. Следует понимать, что настоящее изобретение не ограничено указанными значениями диаметра.
Форма поперечного сечения канала 68 для композиции на дальнем наконечнике 70 зубцов 66 представляет собой любую подходящую форму, предпочтительно круглую. Размер поперечного сечения канала 68 для композиции на дистальном наконечнике 70 зубцов 66 представляет собой любой подходящий размер, в некоторых вариантах реализации составляющий от 1 мм до 2 мм.
Длина зубцов 66 обычно составляет не менее 2 см, предпочтительно не менее 2,5 см, и не более 8 см, более предпочтительно не более 6 см. Зубцы 66 выполнены слегка упруго эластичными по оси, т.е. усилие, вручную прилагаемое к стороне дальнего наконечника 70 перпендикулярно осевому направлению, в то время как колпачок 16 для нанесения удерживается в неподвижном состоянии, что приводит к изгибу зубца таким образом, что наконечник смещается на расстояние до 3 мм. Специалист в области техники может изготовить колпачок для нанесения, такой как колпачок 16, с зубцами 66, имеющими требуемые свойства, без изобретательских усилий с использованием стандартных способов (например, литья под давлением) и с использованием стандартных материалов, таких как полипропилен.
Расстояние между двумя соседними зубцами 66, измеренное от центра двух соседних наконечников, составляет от 4 мм до 8 мм, более предпочтительно не менее 5 мм и не более 7 мм. В предпочтительных вариантах реализации каналы 68 для композиции выполнены таким образом, что текучая среда, такая как композиция для окрашивания волос, проходящая по каналу 68 зубца 66 от ближней поверхности 60, выходит из соответствующего дальнего наконечника 70 в направлении, параллельном оси 64.
Стыковочная станция
Некоторые варианты реализации принципов по настоящему изобретению относятся к стыковочной станции. В некоторых вариантах реализации устройство для нанесения согласно идеям настоящего документа используют в совокупности со стыковочной станцией или обеспечивают в совокупности со стыковочной станцией в качестве двух компонентов набора для окрашивания волос. В частности, в некоторых предпочтительных вариантах реализации стыковочная станция согласно идеям настоящего документа представляет собой держатель для стабильного удержания узла в виде гильзы дальнего конца устройства для нанесения. При удержании узла в виде гильзы посредством держателя композиция для окрашивания волос или ее компоненты могут быть добавлены в резервуар для композиции, если резервуар для композиции открыт, например, для устройства 10 для нанесения, смесительный колпачок 14 и колпачок 16 для нанесения не прикреплены к узлу 12 в виде гильзы, вследствие чего резервуар 24 открыт на дальнем конце 20. В некоторых вариантах реализации, при удержании узла в виде гильзы посредством держателя, смесительный колпачок может быть соединен с дальним концом устройства для нанесения для герметизации резервуара. В некоторых вариантах реализации стыковочная станция выполнена с возможностью смешивания содержимого резервуара узла в виде гильзы при соединении с ним колпачка для смешивания.
На ФИГ. 2A схематично показан вид сбоку, а на ФИГ. 2B схематично показано сечение на виде сбоку стыковочной станции 80 для использования в совокупности с устройством 10 для нанесения в соответствии с вариантами реализации настоящего изобретения.
Стыковочная станция 80 содержит корпус 82, основание 84, полость 86 и отверстие 88 в полость напротив основания 84. При размещении основания 84 стыковочной станции 80 на плоской поверхности, такой как стол, отверстие 88 направлено кверху. Стыковочная станция 80 также содержит заглубленную перемешивающую шестерню 90 на дне полости 86. Внутри корпуса 82 также расположен смесительный двигатель 92, выполненный с возможностью вращения перемешивающей шестерни 90 при активации двигателя, переключателя 96 включения/выключения, источника 98 питания и индуктивного зарядного устройства 100. Следует понимать, что настоящее изобретение не ограничено индуктивным зарядным устройством, и любое подходящее зарядное устройство может быть использовано при проведении необходимых модификаций. Например, физический соединитель может соединять зарядное устройство с устройством 10.
Полость 86 и отверстие 88 в совокупности образуют держатель стыковочной станции 80, по размерам и форме выполненный с возможностью стабильного удержания узла 12 в виде гильзы таким образом, что дальний конец 20 ориентирован кверху или книзу в положении, в котором к нему прикреплен смесительный колпачок 14. В частности, диаметры отверстия 88 и полости 86 лишь незначительно превышают диаметр смесительного колпачка 14, а глубина полости 86 незначительно превышает длину ближней части 22.
Стыковочная станция 80 выполнена таким образом, что в положении, в котором переключатель 96 включения/выключения установлен в положение "включено", а устройство 10 для нанесения с прикрепленным смесительным колпачком 14 удерживается в полости 86, смесительный двигатель 92 начинает работу по повороту перемешивающей шестерни 90 в течение заданного промежутка времени, например, 30 секунд, с сопутствующим вращением шестерни 56, вращающей крыльчатку 54, перемешивающую композицию внутри резервуара 24.
Применение устройства 10 для нанесения и стыковочной станции 80 для окрашивания волос
Согласно вариантам реализации настоящего изобретения, при подготовке к нанесению композиции для окрашивания волос волосы субъекта, которые подлежат окрашиванию, завязывают в один или более хвостов для сбора стержней волос и обнажениям кожи головы и корней волос, например, в два хвоста вдоль центральной линии головы, см. ФИГ. 3: первый хвост 102, проходящий назад от волос, собранных с задней части головы, и центрированный вокруг макушки головы, и второй хвост 104, проходящий вперед от волос, собранных с передней части головы.
Для использования стыковочную станцию 80 размещают на поверхности (например, на столе).
Отображающее устройство/пользовательский интерфейс 42 узла 12 в виде гильзы используют для выдачи прикладному контроллеру 40 команды для активации двигателя 38 для приведения поршня 28 в наиболее ближнее положение, в котором резервуар 24 имеет наибольший объем.
Узел 12 в виде гильзы размещают в полости 86 стыковочной станции 80 через отверстие 88 таким образом, что ближняя часть 22 полностью размещена внутри полости 86, а ближняя часть дальней части 18 находится в контакте со стенками отверстия 88. В результате узел 12 в виде гильзы стабильно удерживают, а дальний конец 20 обращен кверху таким образом, что ось 26 почти перпендикулярна поверхности. Таким образом, зарядное устройство 46 узла 12 в виде гильзы и зарядное устройство 100 взаимно расположены таким образом, что накопитель 44 энергии узла 12 в виде гильзы заряжается от источника 98 питания стыковочной станции 80.
В положении, в котором дальний конец 20 открыт, два компонента композиции для окрашивания волос добавляют путем заливки в резервуар 24, а смесительный колпачок 14 прикрепляют к дальнему концу 20 согласно вышеприведенному описанию. Узел 12 в виде гильзы и смесительный колпачок 14 удаляют заодно со стыковочной станции 80, переворачивают и затем помещают обратно в полость 86 стыковочной станции 80 (смесительным колпачком 14 вперед) таким образом, что шестерня 56 смесительного колпачка 14 находится в зацеплении с перемешивающей шестерней 90 стыковочной станции 80, а узел 12 в виде гильзы стабильно удерживают в положении, в котором ближний конец обращен кверху, а ось 26 перпендикулярна поверхности. В результате стержень 58 и крыльчатка 54 смесительного колпачка 14 соединены со смесительным двигателем 92 посредством зацепления шестерни 56 с перемешивающей шестерней 90.
Пользователь использует переключатель 96 включения/выключения для активации смесительного двигателя 92 для вращения перемешивающей шестерни 90, вращающей шестерню 56, стержень 58 и крыльчатку 54. Вращение крыльчатки 54 обеспечено с продолжительностью и интенсивностью, достаточными для обеспечения достаточного перемешивания содержимого резервуара 24, представляющего собой композицию для окрашивания волос.
Затем узел 12 в виде гильзы и смесительный колпачок 14 удаляют заодно со стыковочной станции 80, переворачивают, и узел 12 в виде гильзы размещают в полости 86 через отверстие 88 таким образом, что ближняя часть 22 полностью размещена внутри полости 86, а ближняя часть дальней части 18 находится в контакте со стенками отверстия 88 таким образом, что узел 12 в виде гильзы стабильно удерживается, дальний конец 20 обращен кверху, а ось 26 почти перпендикулярна поверхности. Таким образом, зарядное устройство 46 узла 12 в виде гильзы и зарядное устройство 100 вновь взаимно расположены таким образом, что накопитель 44 энергии узла 12 в виде гильзы заряжается от источника 98 питания стыковочной станции 80.
Смесительный колпачок 14 отсоединяют от узла 12 в виде гильзы и промывают или утилизируют.
Колпачок 16 для нанесения прикрепляют к дальнему концу 20 согласно вышеприведенному описанию. Узел 12 в виде гильзы и колпачок 16 для нанесения удаляют заодно со стыковочной станции 80 и пользователь удерживает их путем захвата ближней части 22 своей рукой.
Пользователь использует отображающее устройство/пользовательский интерфейс 42 устройства 10 для нанесения для активации прикладного контроллера 40 для активации двигателя 38 для дистального перемещения поршня 28 для удаления любого воздуха, захваченного в резервуаре 24 и, при необходимости, в каналах 68 зубцов 66. В некоторых вариантах реализации указанный процесс выполняется вручную, например, пользователем, визуально отслеживающим момент, когда композиция достигает наконечников зубцов 66. В других вариантах реализации увеличение сопротивления дистальному перемещению поршня 28 определяется контроллером 40, указывая, что весь объем воздуха был удален, и на то, что началось вытеснение композиции для окрашивания волос в каналы 68.
Затем пользователь использует отображающее устройство /пользовательский интерфейс 42 устройства 10 для нанесения для активации прикладного контроллера 40 для активации двигателя 38 для перемещения поршня 28 в дистальном направлении для вытеснения композиции для окрашивания волос из резервуара 24 в каналы 68 и наружу через дальние наконечники 70 зубцов 66 со скоростью (предпочтительно, выбранной пользователем скоростью), подходящей для окрашивания волос.
В ходе вытеснения композиции через дальние наконечники 70 зубцов 66 пользователь перемещает устройство 10 и колпачок 16 для нанесения в дистальном направлении, параллельном оси 26, сохраняя при этом дальние наконечники 70 в касательном контакте (обычно под углом не более 45°, предпочтительно не более 30°) с кожей головы.
Нецарапающие закругленные дальние наконечники 70 выполняют плавное перемещение по коже головы и не царапают, и не причиняют дискомфорта коже головы. Согласно вариантам реализации настоящего изобретения, зубцы выполнены гибкими, что позволяет выравнивать зубцы 70 таким образом, что они соответствуют кривизне поверхности головы, в результате чего все зубцы 70 находятся в контакте с кожей головы. Важно отметить, что композицию для окрашивания волос непрерывно выводят из дальних наконечников 70 зубцов 66 и выталкивают в любую из боковых сторон дальнего наконечника вследствие эффекта "снегоуборочной машины". Без ограничения какой-либо одной теорией, в настоящее время принято, что при надлежащей ширине дальнего наконечника и межзубцовом расстоянии (согласно вышеприведенному описанию со ссылкой на колпачок 16 для нанесения устройства 10), вывод композиции вдоль стержней волос вблизи кожи головы из дального наконечника вкупе с указанным эффектом снегоуборочной машины приводит к высокоэффективному нанесению композиции на участки стержней волос, близких к коже головы, которые подлежат окрашиванию путем нанесения композиции для окрашивания волос.
Пользователь продолжает наносить композицию согласно вышеприведенному описанию в течение любого требуемого промежутка времени. При достижении резервуаром 24 состояния, в котором он пуст на 25%, 50%, 75% и 95%, прикладной контроллер 40 при необходимости может использовать динамик для подачи предупреждающего сигнала (или любого другого визуального индикатора, такого как светодиодный дисплей, отображающий положение поршня и, следовательно, объем материала для окрашивания волос, остающегося в резервуаре 24).
В случае наличия остатка композиции для окрашивания волос в резервуаре 24 по завершении процесса нанесения пользователь может использовать рабочие средства устройства для активации контроллера 40, который активирует поршень 28 для удаления остаточной композиции, и композицию утилизируют, например, в раковину. В качестве альтернативы, по завершении процесса нанесения, пользователь может отделить колпачок 16 для нанесения от узла 12 в виде гильзы и промыть указанные два узла, включая вымывание избыточной композиции из резервуара 24 с помощью воды.
Согласно вариантам реализации настоящего изобретения, смесительный колпачок 14 может быть промыт или утилизирован, и колпачок 16 для нанесения может также быть промыт или утилизирован.
Резервуар 24, дальний конец 20 и дальнюю поверхность поршня 28 узла 12 в виде гильзы промывают и помещают в стыковочную станцию 80 для сушки и/или перезарядки, и/или хранения.
Пользователь обычным образом оставляет композицию на волосах в течение требуемого промежутка времени. В некоторых вариантах реализации прикладной контроллер 40 выполняет функцию таймера и указывает на момент истечения требуемого промежутка времени.
По истечении требуемого промежутка времени волосы промывают и/или моют с удалением избыточной композиции.
На ФИГ. 4 схематично показано сечение на виде сбоку другого устройства 106 для нанесения в соответствии с вариантами реализации настоящего изобретения. Во многих аспектах и деталях устройство 106 для нанесения является аналогичным или идентичным вышеописанному устройству 10 для нанесения. Некоторые из различий между устройством 10 и устройством 106 раскрыты в нижеприведенном описании.
На ФИГ. 4 устройство 106 для нанесения изображено с двумя узлами, выполненными с возможностью обратимого соединения: узлом 108 в виде гильзы и колпачком 16 для нанесения.
В дополнение к компонентам, аналогичным или идентичным компонентам, вышеописанным в контексте узла 12 в виде гильзы устройства 10, узел 108 в виде гильзы включает в себя шестерню 56, поворотный вал 112, функционально связанный с шестерней 56, и складную крыльчатку 114, выполняющий функцию перемешивающего компонента устройства 106.
Поворотный вал 112 представляет собой удлиненный цилиндр (например, выполненный из нержавеющей стали), установленный с возможностью вращения внутри вала 36 поршня соосно с ним. Шестерня 56 прикреплена к ближнему концу вала 112, а крыльчатка 114 прикреплена к дальнему концу вала 112 таким образом, что она проходит от дальней поверхности поршня 28 в резервуар 24 и расположена внутри резервуара 24.
Подобно шестерне 56 смесительного колпачка 14 устройства 10, шестерня 56 устройства 106 выполнена с возможностью соединения с соответствующей перемешивающей шестерней, такой как перемешивающая шестерня 90 надлежащим образом сконфигурированной стыковочной станции, такой как стыковочная станция 80, изображенная на ФИГ. 2A и 2B.
Крыльчатка 114 имеет форму, подходящую для перемешивания текучей среды, такой как композиция для окрашивания волос, удерживаемой в резервуаре 24 для композиции, при его вращении. Согласно вариантам реализации настоящего изобретения, крыльчатка 114 может представлять собой складную крыльчатку, имеющий по меньшей мере два состояния: несложенное состояние перемешивания и сложенное состояние. В несложенном состоянии перемешивания складная крыльчатка 114 имеет размер по высоте для несложенного состояния вдоль оси 26, и в указанном состоянии форма складной крыльчатки 114 пригодна для перемешивания текучей среды, такой как композиция для окрашивания волос, удерживаемой в резервуаре 24 для композиции, при вращении складной крыльчатки114. В сложенном состоянии складная крыльчатка 114 имеет размер по высоте для сложенного состояния вдоль оси 26, который меньше, чем размер по высоте для несложенного состояния. Переход из несложенного состояния перемешивания в сложенное состояние осуществляют, например, путем приложения усилия в проксимальном направлении к дальнему концу 116 складной крыльчатки 114. Переход из сложенного состояния в несложенное состояние перемешивания осуществляют, например, вследствие собственной упругости складной крыльчатки 114 или при вращении складной крыльчатки 114 через поворотный вал 112, например, в результате центробежной силы, вызванной вращением, или усилия, прилагаемого текучей средой внутри резервуара 24 к складной крыльчатке 114 при вращении складной крыльчатки 114.
В некоторых вариантах реализации складная крыльчатка выполнена из силиконового каучука, и обычно имеет форму, сходную с формой лопастей смесителя коммерческого погружного блендера, но выполнен с возможностью упругой деформации до принятия им тонкой плоской формы при приложении усилия в дистальном направлении. Соответственно, в некоторых вариантах реализации складной перемешивающий компонент, такой как складная крыльчатка 114, по меньшей мере частично выполнен из материала, обладающего достаточной гибкостью и эластичностью (такого как силиконовый каучук), в результате чего перемешивающий компонент переходит в сложенное состояние при приложении усилия, например, при прижатии крыльчатки к ближней поверхности 60 колпачка 16 для нанесения. Дополнительно или в качестве альтернативы, в некоторых вариантах реализации складной перемешивающий компонент содержит по меньшей мере один шарнир, в результате чего перемешивающий компонент переходит в сложенное состояние при приложении усилия, например, при прижатии крыльчатки к ближней поверхности 60 колпачка 16 для нанесения, путем вращения вокруг такого шарнира.
При использовании устройства 106 узел 108 в виде гильзы размещают внутри полости 86 соответствующего ближнего конца стыковочной станции 80, сначала в положении, в котором поршень 36 находится в наиболее дальнем положении таким образом, что шестерня 56 находится в зацеплении с перемешивающей шестерней 90 стыковочной станции 80. Предшественники композиции для волос размещают внутри резервуара 24 для композиции, а колпачок 16 для нанесения прикрепляют к узлу 108 в виде гильзы согласно вышеприведенному описанию.
При активации стыковочной станции 80 перемешивающая шестерня 90 вращает шестерню 56, вращающую вал 112, вращающий крыльчатку 114. В случае, если крыльчатка выполнена складной, в результате отсутствия существенного усилия, прилагаемого к дальнему концу 116, складная крыльчатка находится в несложенном состоянии и перемешивает содержимое резервуара 24 для композиции с образованием композиции для окрашивания волос.
Затем композицию для окрашивания волос наносят на волосы согласно вышеприведенному описанию. В период, близкий к завершению процесса нанесения композиции для окрашивания волос, поршень 28 приближается к ближней поверхности 60 колпачка 16 для нанесения таким образом, что дальний конец 116 складной крыльчатки 114 контактирует с ближней поверхностью 60. Дальнейшее дистальное продвижение поршня 28 двигателем 38 создает усилие на дальнем конце 116 складной крыльчатки 114, в результате чего складная крыльчатка 114 начинает складываться в проксимальном направлении из несложенного состояния перемешивания с высотой несложенной крыльчатки в сложенное состояние с высотой сложенной крыльчатки. В результате обеспечено нанесение большей части, если не всего объема композиции для окрашивания волос, удерживаемой в резервуаре 24 для композиции.
Дополнительный вариант реализации набора согласно идеям настоящего документа, содержащего устройство 120 для нанесения и стыковочную станцию 122, изображен на ФИГ. 5:
На ФИГ. 5А схематично показано сечение на виде сбоку другого устройства 120 для нанесения;
На ФИГ. 5B схематично показан вид сбоку другой стыковочной станции 122; и
На ФИГ. 5C схематически показано сечение на виде сбоку стыковочной станции 122.
Во многих аспектах и деталях устройство 120 для нанесения является аналогичным или идентичным вышеописанным устройствам 10 и 106 для нанесения. Некоторые из различий между устройством 120 и устройствами 10 и 106 раскрыты в нижеприведенном описании. Во многих аспектах и деталях стыковочная станция 122 является аналогичной или идентичной вышеописанной стыковочной станции 80. Некоторые из различий между стыковочной станцией 122 и стыковочной станцией 80 раскрыты в нижеприведенном описании.
На ФИГ. 5A устройство 120 для нанесения изображено в сечении на виде сбоку с двумя узлами, выполненными с возможностью обратимого соединения: узлом 124 в виде гильзы и колпачком 16 для нанесения. Узел 124 в виде гильзы включает в себя дальнюю часть 18, задающую резервуар 24 для композиции, и ближнюю часть 22, представляющую собой ручку устройства 120.
Согласно вариантам реализации настоящего изобретения, узел 124 в виде гильзы может содержать подпружиненную кнопку 126 активации, обычно смещенную во внешнее положение, но кнопка также может быть вжата во внутреннее положение путем приложения усилия посредством пальцев или рук пользователя. В положении, в котором колпачок 16 для нанесения прикреплен к узлу 124 в виде гильзы, а кнопка 126 находится во внутреннем положении, двигатель 38 приводит в движение поршень 28 в дистальном направлении для выдачи композиции, удерживаемой в резервуаре 24 для нанесения, через зубцы 66 колпачка 16 для нанесения. При высвобождении кнопки 126 из внутреннего положения она возвращается во внешнее положение, и двигатель 38 на короткий период времени меняет направление на обратное, а затем останавливается. В результате поршень 28 незначительно отводится в проксимальном направлении. В результате, высвобождение кнопки 126 приводит к немедленной приостановке выдачи композиции через зубцы 66. В соответствии с положением кнопки 126 прикладной контроллер 40 осуществляет активацию приводящего в движение поршень двигателя 38 . Следует понимать, что могут быть использованы кнопки активации других видов, и настоящее изобретение не ограничено подпружиненной кнопкой активации.
Светодиодную матрицу 128, состоящую из выполненных с возможностью индивидуальной активации светодиодов, например, из 4 светодиодов, используют для указания объема композиции, удерживаемой в резервуаре для композиции: например, все светящиеся светодиоды указывают, что резервуар 24 для композиции полностью заполнен, меньшее число светящихся светодиодов указывает, что резервуар 24 для композиции заполнен частично, например, при заполнении на 75%, 50%, 25%, 12,5% один светодиод мигает каждые 2 секунды, при заполнении на 6% один светодиод мигает раз в секунду, а мигание всех светодиодов несколько раз может указывать на тот факт, что резервуар 24 для композиции пуст. Активация светодиодной матрицы 128 осуществляется прикладным контроллером 40. Устройство 120 включает в себя смесительный двигатель 130 с поворотным валом 132, имеющим зубчатую шестерню 134 на его дальнем конце в качестве компонентов узла 124 в виде гильзы. В положении, в котором поршень 28 находится в наиболее проксимальном положении (как изображено на ФИГ. 5A), шестерня 134 расположена внутри просвета полого вала 136, а зубцы шестерни 134 находятся в зацеплении с внутренними зубцами, расположенными внутри просвета полого вала 136. В положении, в котором устройство 120 соединено со стыковочной станцией 122, смесительный двигатель 130 может быть активирован с обеспечением вращения, в результате чего он вращает вал 132, шестерню 134, полый вал 136 и складная крыльчатка 114. В частности, в изображенном варианте реализации смесительный двигатель 130 питается непосредственно от стыковочной станции 122, а не от аккумуляторных батарей (накопителя 44 энергии) устройства 120. В альтернативных вариантах реализации смесительный двигатель 130 при необходимости или исключительно питается от встроенного компонента накопления энергии узла 124 в виде гильзы.
Стыковочная станция 122 схематично изображена на ФИГ. 5B (сечение сбоку) и ФИГ. 5C (вид сбоку).
На ФИГ. 5B показаны корпус 82, основание 84, полость 86, отверстие 88, источник 98 питания, индуктивное зарядное устройство 100 и контроллер 124 стыковочной станции, активирующий все функции и компоненты стыковочной станции 122. Согласно вышеприведенному описанию, настоящее изобретение не ограничено индуктивным зарядным устройством, и любое подходящее зарядное устройство может быть использовано при проведении необходимых модификаций. Например, физический соединитель может соединять зарядное устройство с устройством 120.
На ФИГ. 5C показан примерный внешний вид стыковочной станции 122, содержащей две кнопки 142 и 144 и два индикаторных светодиода 146 и 148.
Кнопка 142 активации перемешивания при нажатии приводит к активации контроллером 124 смесительного двигателя 130 устройства 120, соединенного со стыковочной станцией 122. Указанного действия достигают, например, вследствие того, что при нажатии кнопки 142 контроллер 124 модулирует мощность, передаваемую от индуктивного зарядного устройства 100 стыковочной станции 122 на индуктивное зарядное устройство 46 узла 124 в виде гильзы, модуляцию которого определяет контроллер 40 узла 124 в виде гильзы.
Кнопка 144 сброса при нажатии обеспечивает подачу контроллером 124 команды устройству 120, соединенному со стыковочной станцией 122, на приведение поршня 28 в наиболее проксимальное положение. Указанное действие может быть достигнуто, например, путем модуляции передаваемой мощности согласно вышеприведенному описанию. В качестве альтернативы или дополнительно, в некоторых вариантах реализации на узле (12, 108, 124, 610A, 710, 810, 910 и 1010, которые будут подробно описаны ниже) в виде гильзы выполнена кнопка сброса, выполняющая функции, идентичные функциям кнопки 144 сброса.
Светодиод 146 индикатора зарядки мигает, когда устройство 120 соединено со стыковочной станцией 122 и заряжается посредством индуктивного зарядного устройства 46 (или, в некоторых вариантах реализации, зарядного устройства прямого контакта), и перестает мигать и горит постоянно, когда аккумуляторы устройства 120 заряжены в достаточной степени для выдачи всего содержимого резервуара для композиции устройства 120.
Светодиод 148 индикатора питания горит, когда стыковочная станция 122 подключена к источнику электроэнергии.
В альтернативном варианте реализации стыковочная станция включает в себя одну кнопку с двумя встроенными светодиодами: красным светодиодом и зеленым светодиодом. В положении, в котором устройство для нанесения размещено в стыковочной станции, заряжается, и в накопителе энергии устройства для нанесения недостаточно заряда для выдачи всего содержимого резервуара, красный светодиод мигает. При нажатии кнопки ничего не происходит. В положении, в котором накопитель энергии устройства для нанесения заряжен в степени, достаточной для выдачи всего содержимого резервуара, красный светодиод гаснет и зажигается зеленый светодиод. В положении, в котором зеленый светодиод горит, нажатие кнопки приводит к активации механизма перемешивания для перемешивания содержимого резервуара.
Согласно варианту реализации настоящего изобретения, любое из вышеописанных устройств 10, 106 и 120 для нанесения может быть выполнено с возможностью для приема или охвата внутри резервуара 24 картриджа или капсулы с композицией для окрашивания волос.
В случае с устройством 10 капсула может представлять собой, например, сжимаемую или разрушаемую капсулу, разделенную на две полости, каждая из которых содержит отличную часть композиции для окрашивания волос, например, пероксид и красящую пасту. Пользователь может разрушить перегородку между полостями с последующим встряхиванием капсулы для равномерного смешивания композиции для окрашивания волос. Затем капсула может быть введена в резервуар 24, и устройство может работать согласно вышеприведенному описанию. При проталкивании поршня 28 в направлении зубцов капсула разрушается с обеспечением проталкивания композиции для окрашивания волос в направлении зубцов.
В случае с устройствами 106 и 120 капсула может представлять собой, например, сжимаемую или разрушаемую капсулу, разделенную на две полости, каждая из которых содержит отличную часть композиции для окрашивания волос. В положении, в котором капсула введена в резервуар 24, перегородка между полостями может быть разрушена посредством крыльчатки 114, находящейся в контакте с нижней стороной капсулы для равномерного смешивания композиции для окрашивания волос. Затем устройство может работать согласно вышеприведенному описанию. При проталкивании поршня 28 в направлении зубцов композицию для окрашивания волос проталкивают в направлении зубцов. Следует понимать, что вышеописанные капсулы приведены исключительно в качестве примера, и может быть использована любая капсула, обеспечивающая возможность смешивания композиции для окрашивания волос и её доставки через зубцы. Корпус капсулы, верхняя сторона и нижняя сторона могут быть выполнены, например, из разрушаемого материала, складного материала, растворимого материала и т.д. Верхняя и/или нижняя стороны капсул могут быть покрыты съемной крышкой, например, крышкой из фольги, обеспечивающей возможность открытия капсулы перед ее введением в резервуар 24. Следует понимать, что капсула может быть введена в резервуар 24 в положении, в котором отверстие резервуара обращено кверху, или в положении, в котором отверстие резервуара обращено книзу, после чего пользователь переворачивает резервуар вместе с капсулой.
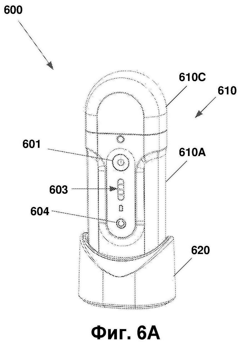
Дополнительный вариант реализации набора 600 согласно идеям настоящего документа, содержащего устройство 610 для нанесения и стыковочную станцию 620, изображен на ФИГ. 6:
На ФИГ. 6А показан вид спереди другого набора 600 для нанесения, содержащего другую стыковочную станцию 620; и другое устройство 610 для нанесения, содержащее узел 610А в виде гильзы, колпачок 610В для нанесения и чашу 610С. Следует понимать, что устройство 610 для нанесения не ограничено вариантом, в котором оно содержит чашу 610С.
На ФИГ. 6B показан покомпонентный вид по ФИГ. 6A.
На фиг. 6C показан покомпонентный вид устройства 610 для нанесения с двумя узлами, выполненными с возможностью обратимого соединения: узлом 610A в виде гильзы и колпачком 610B для нанесения. Узел 610A в виде гильзы включает в себя два отдельных резервуара 630A и 630B.
Во многих аспектах и деталях устройство 610 для нанесения является аналогичным или идентичным вышеописанным устройствам 10, 106 и 120 для нанесения. Некоторые из различий между устройством 610 и устройствами 10, 106 и 120 раскрыты в нижеприведенном описании. Во многих аспектах и деталях стыковочная станция 620 является аналогичной или идентичной вышеописанной стыковочной станции 122. Некоторые из различий между стыковочной станцией 620 и стыковочной станцией 122 раскрыты в нижеприведенном описании.
На ФИГ. 6D показан вид сбоку в сечении узла 610A в виде гильзы.
На ФИГ. 6E показан вид в перспективе в сечении узла 610A в виде гильзы.
Узел 610A в виде гильзы содержит два отдельных резервуара 630A и 630B, каждый из которых содержит поршень 640A и 640B, соответственно, предназначенный для проталкивания содержимого, удерживаемого в резервуарах 630A и 630B, в направлении зубцов 602 для нанесения колпачка 610B для нанесения. Согласно примерному варианту реализации по ФИГ. 6D и 6E, каждый поршень 640A и 640B взаимно соединен с резьбовым стержнем 641A и 642B, соответственно, и каждый поршень проходит через зубчатое колесо 643A и 644B, соответственно таким образом, что внешняя резьба каждого резьбового стержня 641A и 642B находится в зацеплении с внутренней резьбой соответствующего зубчатого колеса 643A и 644B. Зубчатые колеса 643A и 644B выполнены без возможности перемещения кверху и книзу и выполнены исключительно с возможностью вращения и, таким образом, при вращении зубчатых колес в одном направлении поршни перемещаются кверху, а при вращении зубчатых колес в обратном направлении поршни перемещаются книзу. Согласно вариантам реализации настоящего изобретения, каждый резьбовой стержень 641A и 642B может быть обеспечен ведущим каналом или штифтом, обеспечивающим возможность перемещения поршней 640A и 640B кверху и книзу, но не обеспечивающим возможность вращения.
Узел 610A в виде гильзы также содержит зубчатое колесо 650, установленное между зубчатыми колесами 643A и 644B находящееся в контакте с ними таким образом, что зубцы зубчатого колеса 650 находятся в зацеплении с зубцами зубчатых колес 643A и 644B; и двигатель 660, предназначенный для вращения зубчатого колеса 650, вращающего зубчатые колеса 643A и 644B с обеспечением перемещения поршней 640A и 640B. Узел 610A в виде гильзы также может содержать компоненты, необходимые для работы устройства 610, включая по меньшей мере некоторые из (не показаны) прикладного контроллера, который может включать в себя динамик, дисплей, пользовательский интерфейс, перезаряжаемый накопитель энергии и зарядное устройство.
Согласно ФИГ. 6A, в соответствии с вариантами реализации настоящего изобретения, узел 610A в виде гильзы может содержать подпружиненную кнопку 601 активации, обычно смещенную во внешнее положение, но кнопка также может быть вжата во внутреннее положение путем приложения усилия посредством пальцев или рук пользователя. В положении, в котором колпачок 610B для нанесения прикреплен к узлу 610A в виде гильзы, а кнопка 601 находится во внутреннем положении, двигатель 660 приводит в действие зубчатое колесо 650, приводящее зубчатые колеса 643A и 644B с обеспечением перемещения поршней 640A и 640B в дистальном направлении для выдачи содержимого, удерживаемого в резервуарах 630A и 630B, через зубцы 602 колпачка 610B для нанесения. При высвобождении кнопки 601 из внутреннего положения она возвращается во внешнее положение, и двигатель 660 на короткий период времени меняет направление на обратное, а затем останавливается. В результате поршни 640А и 640В незначительно отводятся в проксимальном направлении и происходит немедленная приостановка выдачи композиции через зубцы 66 (отведение). В соответствии с положением кнопки 601 прикладной контроллер осуществляет активацию приводящего в движение поршень двигателя 660. Следует понимать, что могут быть использованы кнопки активации других видов, и настоящее изобретение не ограничено подпружиненной кнопкой активации.
Светодиодную матрицу 603, состоящую из выполненных с возможностью индивидуальной активации светодиодов, например, из 4 светодиодов, используют для указания на объем содержимого, удерживаемого в резервуарах для композиции: например, все светящиеся светодиоды указывают, что резервуары 630A и 630B для композиции полностью заполнены, меньшее число светящихся светодиодов указывает, что резервуары 630A и 630B для композиции заполнены частично, например, при заполнении на 75%, 50%, 25%, 12,5% один светодиод мигает, при заполнении на 6% один светодиод мигает быстрее, а мигание всех светодиодов несколько раз может указывать, что резервуары 630A и 630B для композиции пусты. Активация светодиодной матрицы 603 осуществляется прикладным контроллером. Согласно вариантам реализации настоящего изобретения, узел 610A в виде гильзы также может содержать кнопку 604 сброса, работающую согласно вышеприведенному описанию.
На ФИГ. 6F показан вид снизу в перспективе колпачка 610B для нанесения.
На ФИГ. 6G показан покомпонентный вид по ФИГ. 6F.
На ФИГ. 6H показан покомпонентный вид сверху в перспективе колпачка 610B для нанесения.
На ФИГ. 6I показан вид снизу колпачка 610B для нанесения.
Колпачок 610B для нанесения содержит два колпачка 611B и 612B, предназначенные для герметизации резервуаров 630A и 630B, соответственно, каждый из которых содержит отверстие 613B и 614B, через которое содержимое каждого резервуара 630A и 630B может проходить в направлении зубцов 602. В приведенном в качестве примера варианте реализации по ФИГ. 6F колпачок 610B для нанесения предназначен для обратимого соединения с узлом 610A в виде гильзы посредством штифтов 615. Следует понимать, что настоящее изобретение не ограничивается соединением колпачка 610B для нанесения с узлом 610A в виде гильзы посредством штифтов 615, и может быть использован любой подходящий способ, такой как скручивание, винтовое соединение, соединение зажимом или любой другой подходящий способ, известный из уровня техники.
Со ссылкой на ФИГ. 6G, 6H и 6I, колпачок 610B для нанесения также содержит статический смеситель 670, установленный в канале 671, установленном между частью 665 и зубцами 602 для нанесения. Канал 671 герметизирован и сообщается по текучей среде с отверстиями 613B и 614B на одном конце и сообщается по текучей среде с зубцами 602 на другом конце. При проталкивании поршнями 640A и 640B содержимого резервуаров 630A и 630B в направлении зубцов 602 содержимое каждого резервуара проходит через его соответствующее отверстие 613B и 614B и проходит на вход канала 671, обозначенный ссылочными обозначениями 671A и 671B. При прохождении содержимого обоих резервуаров через статический смеситель 670 содержимое смешивают с образованием однородной композиции на другой стороне (выходе) канала 671, обозначенной ссылочным обозначением 671C и связанной с зубцами 602. Однородная композиция заполняет удлиненное пространство 671D, расположенное под зубцами, в результате чего композицию проталкивают через зубцы 602 лишь в положении, в котором пространство 671D заполнено однородной композицией, для равномерного вывода через все зубцы. Следует понимать, что пространство 671D не ограничено удлиненной формой и не обязательно должно быть заполненным. В качестве альтернативы могут быть использованы другие способы обеспечения равномерного вывода композиции через зубцы.
Как отмечено выше согласно вариантам реализации настоящего изобретения, каждое из вышеописанных устройств для нанесения может быть выполнено с возможностью приема картриджа или капсулы с композицией для окрашивания волос. В подобном случае каждый резервуар 630A и 630B может быть выполнен с возможностью приема капсулы с отличной частью композиции для окрашивания волос. Следовательно, вместо заливания материалов непосредственно в резервуар 630A и 630B, пользователь вводит две капсулы, каждая из которых содержит отличную часть композиции для окрашивания волос, и устройство может работать согласно вышеприведенному описанию или с незначительными модификациями.
Согласно вариантам реализации настоящего изобретения, узел 610A в виде гильзы вместо двух отдельных резервуаров 630A и 630B может содержать один резервуар, выполненный с возможностью приема капсулы. В подобном варианте реализации пользователь может вводить соответствующую капсулу в указанный резервуар, и устройство может работать согласно вышеприведенному описанию или с незначительными модификациями. Соответствующая капсула может содержать два отдельных резервуара, каждый из которых содержит отличную часть композиции для окрашивания волос таким образом, что каждый резервуар установлен над поршнем. Указанная капсула также может содержать верхнюю крышку, которая может быть удалена пользователем или разорвана под действием усилия, прилагаемого содержимым каждого резервуара при проталкивании содержимого поршнями в направлении зубцов; и нижнюю крышку, которая может быть удалена пользователем или разорвана под действием усилия, прилагаемого поршнями.
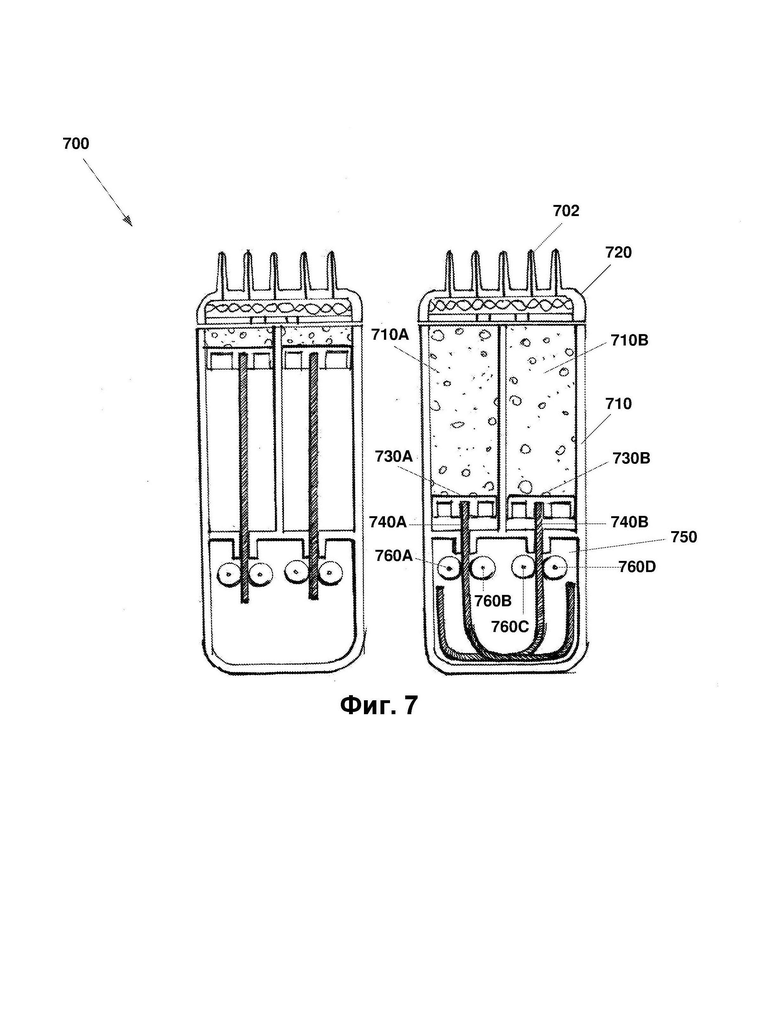
Дополнительный вариант реализации устройства для нанесения согласно идеям настоящего документа представляет собой устройство для нанесения по ФИГ. 7:
На ФИГ. 7 показано сечение на виде сбоку другого устройства 700 для нанесения, содержащего два узла, выполненные с возможностью обратимого соединения: узел 710 в виде гильзы и колпачок 720 для нанесения.
Узел 710 в виде гильзы включает в себя два отдельных резервуара 710A И 710B, каждый из которых выполнен с возможностью приема отличной части композиции для окрашивания волос.
Во многих аспектах и деталях устройство 700 для нанесения является аналогичным или идентичным вышеописанным устройствам 10, 106, 120 и 610 для нанесения. Некоторые из различий между устройством 700 и устройствами 10, 106, 120 и 610 раскрыты в нижеприведенном описании. Во многих аспектах и деталях стыковочная станция (не показана) устройства 700 для нанесения является аналогичной или идентичной вышеописанным стыковочным станциям 122 и 620. Во многих аспектах и деталях колпачок 720 для нанесения является аналогичным или идентичным вышеописанному колпачку 610B для нанесения.
Узел 710 в виде гильзы содержит два отдельных резервуара 710A и 710B, каждый из которых содержит поршень 730A и 730B, соответственно, предназначенный для проталкивания содержимого, удерживаемого в резервуарах 710A и 710B, в направлении зубцов 702 для нанесения колпачка 720 для нанесения. Согласно примерному варианту реализации, каждый поршень соединен с гибким ведущим тросиком 740A и 740B, каждый из которых проходит через дно соответствующего резервуара в нижнюю полость 750 узла 710 в виде гильзы и через приводной механизм (выдачной механизм). Приводной механизм может представлять собой любой приводной механизм, выполненный с возможностью приведения в движение гибких ведущих тросиков 740A и 740B с обеспечением проталкивания поршней в направлении зубцов 702, что обеспечивает выведение композиции для окрашивания волос, содержащейся в резервуарах 710A и 710B, через зубцы 702. В данном примерном варианте осуществления каждый приводной механизм содержит два передаточных колеса, одни из которых обозначены ссылочными обозначениями 760A и 760B, а другие - ссылочными обозначениями 760C и 760D, приводимых в движение двигателем (не показан) таким образом, что для приведения поршней в движение по направлению к зубцам передаточные колеса 760A и 760C вращаются против часовой стрелки, а передаточные колеса 760B и 760D вращаются по часовой стрелке.
Узел 710 в виде гильзы также может содержать компоненты, необходимые для работы устройства 700, включая по меньшей мере некоторые из (не показаны) прикладного контроллера, который может включать в себя динамик, отображающее устройство, пользовательский интерфейс, перезаряжаемый накопитель энергии и зарядное устройство.
Согласно вариантам реализации настоящего изобретения, узел 710 в виде гильзы может содержать подпружиненную кнопку активации и кнопку сброса (не показаны), работающие согласно вышеприведенному описанию.
Дополнительный вариант реализации устройства для нанесения согласно идеям настоящего документа представляет собой устройство для нанесения по ФИГ. 8:
На ФИГ. 8 показано сечение на виде сбоку другого устройства 800 для нанесения, содержащего два узла, выполненные с возможностью обратимого соединения: узел 810 в виде гильзы и колпачок 820 для нанесения.
Узел 810 в виде гильзы включает в себя два отдельных резервуара 810A И 810B, каждый из которых выполнен с возможностью приема отличной части композиции для окрашивания волос.
Во многих аспектах и деталях устройство 800 для нанесения является аналогичным или идентичным вышеописанным устройствам 10, 106, 120, 610 и 700 для нанесения. Некоторые из различий между устройством 800 и устройствами 10, 106, 120, 610 и 700 раскрыты в нижеприведенном описании. Во многих аспектах и деталях стыковочная станция (не показана) устройства 800 для нанесения является аналогичной или идентичной вышеописанным стыковочным станциям 122 и 620. Во многих аспектах и деталях колпачок 820 для нанесения является аналогичным или идентичным вышеописанному колпачку 610B для нанесения.
Узел 810 в виде гильзы содержит два отдельных резервуара 810A и 810B, каждый из которых содержит поршень 830A и 830B, соответственно, предназначенный для проталкивания содержимого, удерживаемого в резервуарах 810A и 810B, в направлении зубцов 802 для нанесения колпачка 820 для нанесения. Согласно примерному варианту реализации каждый поршень установлен вокруг поворотного резьбового вала 840A и 840B, соответственно, таким образом, что внешняя резьба каждого резьбового вала 840A и 840B находится в зацеплении с внутренней резьбой соответствующего поршня 830A и 830B. Каждый из поворотных резьбовых валов 840A и 840B проходит через дно соответствующего резервуара в нижнюю полость 850 узла 810 в виде гильзы и взаимно соединен с приводным механизмом. В данном примерном варианте реализации каждый поворотный резьбовой вал 840A и 840B взаимно соединен с зубчатым колесом 860A и 860B, соответственно, таким образом, что при перемещении зубчатых колес в одном направлении поршни перемещаются кверху, а при перемещении зубчатых колес в другом направлении поршни перемещаются книзу. Согласно вариантам реализации настоящего изобретения, перемещение каждого поршня 830A и 830B может быть обеспечено ведущим каналом или штифтом, установленным внутри соответствующего резервуара каждого поршня с обеспечением возможности перемещения поршней 830A и 830B кверху и книзу, но без обеспечения возможности вращения.
Приводной механизм может представлять собой любой приводной механизм, выполненный с возможностью вращения зубчатых колес 860A и 860B с обеспечением вращения валов 840A и 840B и с обеспечением проталкивания поршней в направлении зубцов 802, что обеспечивает выведение композиции для окрашивания волос, содержащейся в резервуарах 810A и 810B, через зубцы 802. В данном примерном варианте реализации приводной механизм содержит зубчатое колесо 870, установленное между зубчатыми колесами 860A и 860B и находящееся в контакте с ними таким образом, что зубцы зубчатого колеса 870 находятся в зацеплении с зубцами зубчатых колес 860A и 860B; и двигатель 880, предназначенный для вращения зубчатого колеса 870, вращающего зубчатые колеса 860A и 860B с обеспечением перемещения поршней 830A и 830B.
Узел 810 в виде гильзы также может содержать компоненты, необходимые для работы устройства 800, включая по меньшей мере некоторые из (не показаны) прикладного контроллера, который может включать в себя динамик, отображающее устройство, пользовательский интерфейс, перезаряжаемый накопитель энергии и зарядное устройство. Согласно вариантам реализации настоящего изобретения, узел 810 в виде гильзы может содержать подпружиненную кнопку активации и кнопку сброса (не показаны), работающие согласно вышеприведенному описанию.
Дополнительный вариант реализации устройства для нанесения согласно идеям настоящего документа представляет собой устройство для нанесения по ФИГ. 9:
На ФИГ. 9 показано сечение на виде сбоку другого устройства 900 для нанесения, содержащего два узла, выполненные с возможностью обратимого соединения: узел 910 в виде гильзы и колпачок 920 для нанесения.
Узел 910 в виде гильзы включает в себя резервуар 910A, выполненный с возможностью приема капсулы или картриджа 915 с композицией для окрашивания волос.
Во многих аспектах и деталях устройство 900 для нанесения является аналогичным или идентичным вышеописанным устройствам 10, 106, 120, 610, 700 и 800 для нанесения. Некоторые из различий между устройством 900 и устройствами 10, 106, 120, 610, 700 и 800 раскрыты в нижеприведенном описании. Во многих аспектах и деталях стыковочная станция (не показана) устройства 900 для нанесения является аналогичной или идентичной вышеописанным стыковочным станциям 122 и 620. Во многих аспектах и деталях колпачок 920 для нанесения является аналогичным или идентичным вышеописанному колпачку 610B для нанесения.
Узел 910 в виде гильзы содержит резервуар 910A, содержащий две подъемные части 930A и 930B, предназначенные для толкания поршней 915C и 915D, соответственно, с соответствующим проталкиванием содержимого, удерживаемого в капсуле 915, в направлении зубцов 902 для нанесения колпачка 920 для нанесения. Согласно примерному варианту реализации, каждая подъемная часть соединена с гибким ведущим тросиком 940A и 940B, каждый из которых проходит через дно резервуара 910A в нижнюю полость 950 узла 910 в виде гильзы и в приводной механизм. Приводной механизм может представлять собой любой приводной механизм, выполненный с возможностью приведения в движение гибких ведущих тросиков 940A и 940B с обеспечением перемещения поршней 915C и 915D в направлении зубцов 902, что обеспечивает выведение композиции для окрашивания волос, содержащегося в резервуарах 915A и 915B, через зубцы 902. В данном примерном варианте осуществления каждый приводной механизм содержит два передаточных колеса, одни из которых обозначены ссылочными обозначениями 960A и 960B, а другие - ссылочными обозначениями 960C и 960D, приводимых двигателем (не показан) таким образом, что для приведения подъемных частей в движение по направлению к зубцам передаточные колеса 960A и 960C вращаются против часовой стрелки, а передаточные колеса 960B и 960D вращаются по часовой стрелке.
Узел 910 в виде гильзы также может содержать компоненты, необходимые для работы устройства 900, включая по меньшей мере некоторые из (не показаны) прикладного контроллера, который может включать в себя динамик, отображающее устройство, пользовательский интерфейс, перезаряжаемый накопитель энергии и зарядное устройство.
Согласно вариантам реализации настоящего изобретения, узел 910 в виде гильзы может содержать подпружиненную кнопку активации и кнопку сброса (не показаны), работающие как рассмотрено выше.
Как упомянуто выше, устройство 900 выполнено с возможностью приема капсулы 915. Капсула 915 содержит два отдельных резервуара 915A и 915B, каждый из которых выполнен с возможностью содержания в нем отличной части композиции для окрашивания волос. Каждый из резервуаров 915A и 915B содержит поршень 915C и 915D, соответственно, выполненные с возможностью перемещения кверху внутри соответствующего отсека резервуара. Дно капсулы 915 содержит два отверстия 915E и 915F, предназначенные для обеспечения возможности контакта поршней 915C и 915D с подъемными частями 930A и 930B, соответственно, при введении капсулы 915 в резервуар 910A. Капсула 915 также предназначена для обеспечения возможности вывода композиции для окрашивания волос, содержащейся в резервуарах 915A и 915B, через верхнюю сторону капсулы в направлении зубцов 902. В проиллюстрированном примерном варианте реализации капсула 915 также содержит крышку 970, например, выполненную из фольги, предназначенную для удаления пользователем перед введением капсулы 915 в устройство 900 для нанесения. Следует понимать, что капсула 915 не ограничена крышкой из фольги, и крышка не обязательно предназначена для полного удаления. В качестве альтернативы крышка может быть изготовлена из любого материала; крышка может быть предназначена для открытия лишь в сочетании с вышеописанными отверстиями 613B и 614B; крышка может быть предназначена для открытия лишь в сочетании с вышеописанными колпачками 611B и 612B; крышка может быть изготовлена из разрушаемого материала и т.д.
На ФИГ. 10 показано сечение на виде сбоку другого устройства 1000 для нанесения, содержащего два агрегата, выполненные с возможностью обратимого соединения: узел 1010 в виде гильзы и колпачок 1020 для нанесения.
Узел 1010 в виде гильзы включает в себя резервуар 1010A, предназначенный приема капсулы или картриджа 1015 с композицией для окрашивания волос.
Во многих аспектах и деталях устройство 1000 для нанесения является аналогичным или идентичным вышеописанным устройствам 10, 106, 120, 610, 700, 800 и 900 для нанесения. Некоторые из различий между устройством 1000 и устройствами 10, 106, 120, 610, 700, 800 и 900 раскрыты в нижеприведенном описании. Во многих аспектах и деталях стыковочная станция (не показана) устройства 1000 для нанесения является аналогичной или идентичной вышеописанным стыковочным станциям 122 и 620. Во многих аспектах и деталях колпачок 1020 для нанесения является аналогичным или идентичным вышеописанному колпачку 610B для нанесения.
Как упомянуто выше, устройство 1000 предназначено приема капсулы 1015. Капсула 1015 содержит два отдельных резервуара 1015A и 1015B, каждый из которых предназначен для содержания в нем отличной части композиции для окрашивания волос. Каждый из резервуаров 1015A и 1015B содержит поршень 1015C и 1015D, соответственно, предназначенные для перемещения кверху внутри соответствующего резервуара. Согласно примерному варианту реализации каждый поршень 1015C и 1015D установлен вокруг поворотного резьбового вала 1040A и 1040B, соответственно, таким образом, что внешняя резьба каждого резьбового вала 1040A и 1040B находится в зацеплении с внутренней резьбой соответствующего поршня 1015C и 1015D. Каждый из поворотных резьбовых валов 1040A и 1040B проходит через дно соответствующего отсека и взаимно соединен с шестернями 1030A и 1030B, соответственно. Дно резервуара 1010A содержит два отверстия 1015E и 1015F, предназначенные для обеспечения возможности контакта шестерен 1030A и 1030B с приводным механизмом, установленным в нижней полости 1050 узла 1010 в виде гильзы, при введении капсулы 1015 в резервуар 1010A. Приводной механизм может представлять собой любой приводной механизм, выполненный с возможностью вращения шестерен 1030A и 1030B с обеспечением вращения валов 1040A и 1040B и с обеспечением проталкивания поршней в направлении зубцов 1002, что обеспечивает выведение композиции для окрашивания волос, содержащегося в резервуарах 1015A и 1015B, через верхнюю сторону капсулы в направлении зубцов 802. Согласно примерному варианту реализации, приводной механизм содержит две заглубленные шестерни 1060A и 1060B, установленные в полости 1050 под отверстиями 1015E и 1015F, зубчатое колесо 1070, установленное между заглубленными шестернями 1060A и 1060B и находящееся в контакте с ними таким образом, что зубцы зубчатого колеса 1070 находятся в зацеплении с внешними зубцами заглубленных шестерен 1060A и 1060B; и двигатель 1080, предназначенный для вращения зубчатого колеса 1070, вращающего шестерни 1060A и 1060B с обеспечением перемещения поршней 1015C и 1015D. В положении, в котором капсула 1015 введена в резервуар 1010A, каждая шестерня 1030A и 1030B находится в зацеплении с соответствующей заглубленной шестерней 1060A и 1060B таким образом, что при вращении заглубленных шестерен 1060A и 1060B шестерни 1030A и 1030B вращаются с обеспечением перемещения поршней 1015C и 1015D в направлении зубцов 1002. В показанном примерном варианте реализации капсула 1015 также содержит крышку 1090, например, выполненную из фольги, предназначенную для удаления пользователем перед введением капсулы 1015 в устройство 1000 для нанесения. Следует понимать, что капсула 1015 не ограничена крышкой из фольги, и крышка не обязательно предназначена для полного удаления. В качестве альтернативы крышка может быть изготовлена из любого материала; крышка может быть предназначена для открытия лишь в сочетании с вышеописанными отверстиями 613B и 614B; крышка может быть предназначена для открытия лишь в сочетании с вышеописанными колпачками 611B и 612B; крышка также может быть изготовлена из разрушаемого материала и т.д. Согласно вариантам реализации настоящего изобретения, перемещение каждого поршня 1015C и 1015D может быть обеспечено ведущим каналом или штифтом, установленным внутри соответствующего резервуара каждого поршня с обеспечением возможности перемещения поршней 1015 C и 1015 D кверху и книзу, но без обеспечения возможности вращения.
Узел 1010 в виде гильзы также может содержать компоненты, необходимые для работы устройства 1000, включая по меньшей мере некоторые из (не показаны) прикладного контроллера, который может включать в себя динамик, отображающее устройство, пользовательский интерфейс, перезаряжаемый накопитель энергии и зарядное устройство.
Согласно вариантам реализации настоящего изобретения, узел 1010 в виде гильзы может содержать подпружиненную кнопку активации и кнопку сброса (не показаны), работающие согласно вышеприведенному описанию.
Следует понимать, что любой из вышеописанных вариантов реализации может требовать решений вопроса герметизации. Например, уплотнение между резервуарами и чашами для нанесения, уплотнение между поршнями и резервуарами, уплотнение между верхней частью и нижней частью узлов в виде гильзы, уплотнение между частями, проходящими из одной полости в другую, и в целом любое уплотнение, необходимое для предотвращения утечки, связанной с частями, находящимися в контакте по меньшей мере с частью композиции для окрашивания волос. Следует отметить, что настоящее изобретение охватывает подобные решения вопроса герметизации. Примерные решения вопроса герметизации без ограничения могут включать в себя уплотнительные кольца, резину, прокладки или любое другое решение вопроса герметизации, известное в данной области техники.
Следует также понимать, что вышеописанные узлы в виде гильзы предпочтительно являются водоустойчивыми, т.е. промывка устройства (в особенности резервуаров или отсеков) проточной водой не повреждает узлы в виде гильзы или любые из их компонентов.
Согласно вариантам реализации настоящего изобретения, каждая из вышеописанных капсул может содержать колпачок 610B для нанесения, соединенный с ней с образованием единого блока. В подобном случае капсула вкупе с колпачком для нанесения выполнена одноразовой, и пользователю необходимо лишь ввести новую капсулу в узел в виде гильзы для обеспечения работы устройства.
Согласно вариантам реализации настоящего изобретения, любой из вышеописанных наборов также может содержать промывочный отсек, предназначенный для соединения с колпачком 610B для нанесения, в результате чего для очистки колпачка для нанесения пользователь заполняет промывочный отсек чистящей текучей средой, например, водой, присоединяет отсек к колпачку и сжимает отсек с обеспечением пропускания чистящей текучей среды через зубцы и очистки колпачка, включая статический смеситель и зубцы.
Согласно вариантам реализации настоящего изобретения, колпачок 610B для нанесения может быть одноразовым, в результате чего любой из вышеописанных наборов может содержать лишь узел в виде гильзы, узел в виде гильзы и стыковочную станцию или узел в виде гильзы, стыковочную станцию и по меньшей мере один одноразовый колпачок для нанесения.
Следует понимать, что настоящее изобретение не ограничено вышеописанными конструкциями капсул, и может быть использована любая подходящая капсула, содержащая два отдельных отсека, каждый из которых содержит отличную часть композиции для окрашивания волос; и могут быть использованы средства вытеснения содержимого, удерживаемого в каждом отсеке из капсулы.
Следует также понимать, что настоящее изобретение не ограничено вышеописанными приводными механизмами, и может быть использован любой приводной механизм, выполненный с возможностью обеспечения приведения в движение поршней капсулы, например, телескопический приводной механизм.
Следует также понимать, что любой из связанных с поршнем компонентов, включая механизм для приведения в движение соответствующего поршня, описанный в сочетании с любой из вышеуказанных капсул, может быть реализован в узле 610A в виде гильзы.
Следует также понимать, что любой из вышеописанных узлов в виде гильзы представляет собой корпус устройства.
Некоторые из вышеописанных колпачков для нанесения включают в себя смесительный механизм и следует понимать, что настоящее изобретение не ограничено статическим смесителем или статическим перемешиванием, и может быть использован любой подходящий смесительный механизм.
Выполненные с возможностью обратимого соединения узлы, составляющие устройство для нанесения согласно идеям настоящего документа, могут быть выполнены с возможностью обратимого соединения любым подходящим способом. В изображенных выше примерных вариантах реализации изобретения узел 12 в виде гильзы и смесительный колпачок 14 или колпачок 16 для нанесения могут быть выполнены с возможностью обратимого соединения посредством поворотного замка. Другие подходящие конфигурации включают в себя, например, сопряженные винтовые резьбы на узле в виде гильзы/ колпачке.
Устройство для нанесения согласно идеям настоящего документа может иметь любую подходящую ручку согласно вышеприведенному описанию. Вышеописанное устройство 10 для нанесения содержит ближнюю часть 22 узла 12 в виде гильзы, представляющую собой ручку устройства 10, имеющую форму цилиндра с параллельными стенками диаметром 6 см. В некоторых вариантах реализации подобная ручка имеет другой диаметр, например, от 4 см до 6 см, или от 4,5 см до 6 см, или даже от 4 см до 5 см, или другую форму. Как упомянуто выше, узел 12 в виде гильзы, представляющий собой ручку устройства 10, не ограничен цилиндрической формой и может иметь любую форму.
Устройство для нанесения и/или стыковочная станция согласно идеям настоящего документа могут содержать любой подходящий пользовательский интерфейс для приема пользовательских команд и предоставления информации пользователю. В вышеописанных примерных вариантах реализации устройства для нанесения включают в себя динамик для предоставления пользователю звуковой информации. В другом варианте или дополнительно, некоторые варианты реализации устройства включают в себя другие предоставляющие информацию компоненты, например, некоторые варианты реализации содержат вибрирующий компонент (например, включая пьезоэлектрическую вибрирующую часть, известную в области мобильной телефонии) для предоставления пользователю тактильной информации. В некоторых из вышеописанных со ссылкой на чертежи вариантов реализации любое из вышеописанных устройств для нанесения может включать в себя отображающее устройство/пользовательский интерфейс 42, такой как сенсорный экран, известный в области цифровых устройств ввода/вывода. В некоторых вариантах реализации другие компоненты отображающего устройства и/или другие компоненты ввода (например, физические кнопки, ручки и круговые шкалы) могут быть использованы для реализации представленных в настоящем документе принципов, что описано, например, со ссылкой на устройство 120.
В вышеописанных вариантах реализации максимальное перемещение любого из поршней в проксимальном направлении выполняются при получении команды от пользователя. В некоторых предпочтительных вариантах реализации для простоты использования устройство выполнено таким образом, что при отсутствии команды в течение заданного времени (например, 5 минут, 10 минут, 15 минут), что указывает на то, что устройство не используют, поршень автоматически перемещают в проксимальном направлении на максимальное расстояние.
Следует понимать, что любой из вышеописанных поршней может быть предназначен для перемещения кверху во время работы и книзу в исходное положение по завершении процесса, при возврате устройства в исходное положение, перед выключением устройства и т.д.
В некоторых вариантах реализации, во время использования или непосредственно перед использованием, контроллер и другие электронные компоненты устройства для нанесения выполнены с возможностью готовности к немедленному использованию, но при отсутствии команды в течение заданного времени (например, 10 минут, 20 минут, 30 минут, 60 минут), что указывает на то, что немедленное использование устройства маловероятно, контроллер и/или другие компоненты переходят в состояние "ожидания" с низким энергопотреблением.
В вышеприведенном описании описано, как устройства для нанесения выполнены так, что при необходимости фактического нанесения композиции приводной механизм работает непрерывно для непрерывного приведения в движение по меньшей мере одного поршня в дистальном направлении. При необходимости приостановки нанесения, даже временной, устройство для нанесения выполнено с возможностью автоматического кратковременного приведения в действие приводного механизма в обратном направлении для отведения по меньшей мере одного поршня в проксимальном направлении на небольшое расстояние. В результате обеспечена немедленная приостановка выдачи композиции через зубцы, который в противном случае мог бы протекать или просачиваться из дистальных наконечников зубцов.
В вышеописанных со ссылкой на чертежи вариантах реализации устройства для нанесения включают в себя перезаряжаемые аккумуляторные батареи в качестве накопителя 44 энергии, заряжаемые посредством индуктивного зарядного устройства 46. В некоторых вариантах реализации зарядку подобного накопителя энергии осуществляют посредством проводного зарядного устройства (прямой контакт). В некоторых вариантах реализации устройство для нанесения включает в себя неперезаряжаемые сменные аккумуляторные батареи, например, батареи типа AA или AAA.
В некоторых из вариантов реализации, описанных выше со ссылкой на некоторые из чертежей, ось резервуара и оси зубцов параллельны оси корпуса. В некоторых вариантах реализации ось резервуара и оси зубцов находятся под углом в пределах 30°, в пределах 25°, в пределах 20°, в пределах 15°, в пределах 10°, в пределах 5° от параллели и даже параллельно оси корпуса (согласно описанным вариантам реализации).
Как отмечено выше, зубцы устройства для нанесения предпочтительно выполнены нецарапающими, т.е. при проталкивании вдоль кожи головы должны быть выполнены таким образом, что они не причиняют какого-либо физического повреждения или раздражения кожи головы. В предпочтительных вариантах реализации дистальные наконечники зубцов выполнены закругленными.
В вышеописанных со ссылкой на чертежи вариантах реализации устройства для нанесения содержат восемь полых зубцов для нанесения композиции для окрашивания волос. В некоторых вариантах реализации устройство для нанесения согласно идеям настоящего документа имеет 3, 4, 5, 6, 7, 8, 9 или 10 зубцов, причем через ствол каждого из зубцов проходит канал для композиции, обеспечивающий сообщение по текучей среде по меньшей мере от одного резервуара для композиции к дальнему наконечнику зубца. Соответственно, в предпочтительных вариантах реализации устройство согласно идеям настоящего документа имеет 3, 4, 5, 6, 7 или 8 зубцов.
Размер поперечного сечения проходящих через зубцы каналов представляет собой любой подходящий размер и обычно по меньшей мере частично зависит от вязкости композиции для окрашивания волос и/или компонентов композиции для окрашивания волос, предназначенной для удержания в резервуаре для композиции. Тем не менее, с учетом вязкости известных композиций для окрашивания волос, в некоторых вариантах реализации размер поперечного сечения проходящих через зубцы каналов эквивалентен размеру круга, имеющего диаметр от 1 мм до 2 мм.
В вышеописанном со ссылкой на чертежи варианте реализации отмечено, что расстояние между любыми двумя соседними зубцами, измеренное от центра двух соседних наконечников, составляет от 4 мм до 8 мм, более предпочтительно не менее 5 мм и не более 7 мм. Конкретное значение расстояния между зубцами не является произвольным, но было неожиданно обнаружено, что оно обеспечивает превосходные результаты при перемещении устройства для нанесения в соответствии с идеями настоящего документа, среди прочего, в результате отсутствия чрезмерного сопротивления продвижению зубцов через волосы (которое могло бы иметь место при размещении зубцов ближе друг к другу) и достаточного покрытия композицией для окрашивания волос части стержней волос, приближенных к коже головы (указанное покрытие могло бы быть недостаточным при размещении зубцов дальше друг от друга).
Как отмечено выше, в настоящее время считается, что достижение эффекта "снегоуборочной машины" имеет решающее значение для эффективного распределения композиции для окрашивания волос. Одним из факторов для достижения указанного эффекта является то, что дальние наконечники зубцов не являются заостренными и острыми, а имеют более закругленную форму, обладающую дополнительным преимуществом, заключающимся в избегании дискомфорта для кожи головы пользователя. В некоторых предпочтительных вариантах реализации зубцы имеют закругленные дистальные наконечники и имеют диаметр вблизи дальнего конца не менее 2 мм и не более 4 мм. В предпочтительных вариантах реализации диаметр составляет не более 3,5 мм и даже не более 3 мм.
Длина зубцов представляет собой любую подходящую длину, предпочтительно достаточную для прохождения под волосами, но не излишне большую, которая может привести к неудобствам при использовании устройства. Было обнаружено, что для более коротких волос предпочтительная длина зубцов составляет от 2,5 см до 3,5 см, а для длинных волос предпочтительная длина зубцов составляет от 3,5 см до 8 см, более предпочтительно от 3,5 см до 6 см.
Как видно из ФИГ. 1A, 1B, 4, 5A, 6B и 7-10, дальний конец колпачка для нанесения выполнен не плоским, а вогнутым. Было обнаружено, что вогнутый дальний конец колпачка для нанесения является предпочтительным для уменьшения вероятности контакта дальнего конца с кожей головы.
Следует понимать, что любой из вышеописанных приводных механизмов также может быть назван выдачным механизмом.
Следует понимать, что вышеописанные части композиции для окрашивания волос могут представлять собой окрашивающий раствор и проявитель или любые другие части, включенные в композицию для окрашивания волос.
Следует также понимать, что в отделенном друг от друга состоянии указанные части выполнены с возможностью долгосрочного хранения. Только после смешивания указанных частей период времени для их использования ограничен.
Следовательно, согласно вариантам реализации настоящего изобретения, любое из устройств, описанных в контексте ФИГ. 6-10, может содержать крышку или колпачок.
Вследствие того, что в каждом из устройств две части композиции для окрашивания волос хранят отдельно, крышка устройства может покрывать резервуары вместо колпачка для нанесения или в дополнение к нему для обеспечения возможности дальнейшего использования.
В вышеописанных со ссылкой на чертежи вариантах реализации смесительный колпачок и колпачок для нанесения выполнены с возможностью обратимого соединения с узлом в виде гильзы, и устройство для нанесения выполнено с возможностью по меньшей мере частичного повторного использования. В некоторых вариантах реализации устройство для нанесения выполнено предпочтительно одноразовым и снабжено резервуаром для композиции, предварительно заполненным компонентами композиции для окрашивания волос. В ходе использования пользователь управляет устройством для комбинирования и смешивания отдельных компонентов композиции для окрашивания волос с образованием композиции для окрашивания волос в резервуаре, а затем активирует устройство по существу согласно вышеприведенному описанию. В вышеописанном варианте реализации смесительный двигатель 92 для смешивания композиции для окрашивания волос, размещенной в резервуаре 24, представляет собой компонент стыковочной станции 80. В результате стыковочная станция 80 не только выполняет функцию удобного держателя для облегчения работы с устройством 10 для нанесения, в особенности для заполнения резервуара 24 компонентами композиции для окрашивания волос, но также сохраняет небольшой вес, в некоторых вариантах осуществления не более 350 г, при полном заполнении композицией для окрашивания волос. В некоторых альтернативных вариантах реализации смесительный двигатель представляет собой компонент узла в виде гильзы согласно описанию со ссылкой на ФИГ. 5A, 5B и 5C. В некоторых альтернативных вариантах реализации компоненты композиции для окрашивания волос смешивают в ходе использования согласно описанию со ссылкой на ФИГ. 6-10.
В некоторых вариантах реализации стыковочная станция, такая как стыковочная станция 80, 122 или 620, включает в себя весы, указывающие (например, на отображающем устройстве стыковочной станции) на вес объекта, удерживаемого держателем стыковочной станции. При расчете веса узла в виде гильзы, удерживаемого указанным образом, в качестве веса тары, подобная стыковочная станция может указывать на количество материала, добавляемого в резервуар, что позволяет пользователю (в особенности специалисту по уходу за волосами) добавлять требуемое количество компонентов композиции для окрашивания волос (например, пропорционально больше или меньше проявителя для достижения большей или меньшей степени подъема).
В некоторых вариантах реализации устройство согласно идеям настоящего документа содержит камеру, выполненную с возможностью захвата видеоизображений области вокруг дальних наконечников зубцов для нанесения и передачи указанных изображений на подходящее устройство для отображения изображений. Передача изображения может быть осуществлена посредством любой подходящей технологии, например, Bluetooth®. Устройство отображения изображений может представлять собой любое подходящее устройство отображения, например, смартфон, планшетный компьютер, персональный компьютер или экран дисплея любого вида.
Как отмечено выше, в некоторых вариантах реализации устройство имеет заданную и/или выбранную пользователем скорость выдачи композиции для окрашивания волос, удерживаемого в резервуаре или капсуле. В некоторых вариантах реализации устройство включает в себя датчик для определения момента контакта зубцов для нанесения с кожей головы (например, датчик обнаруживает усилие, приложенное к наконечникам зубцов), и выдачу композиции для окрашивания волос из резервуара осуществляют лишь в случае, если датчик указывает на наличие контакта зубцов с кожей головы. В некоторых вариантах реализации устройство включает в себя датчик (например, акселерометр, известный в области смартфонов) для определения скорости, с которой зубцы перемещают вдоль кожи головы, и скорость выдачи композиции для окрашивания волос из резервуара также зависит от определенной датчиком скорости. В некоторых вариантах реализации дальние зубцы могут быть немного длиннее, чем остальные зубцы, и устройство может быть предназначено для работы лишь при наличии контакта указанных более длинных зубцов с кожей головы.
Если не указано иное, все технические и/или научные термины, использованные в настоящем документе, имеют значения, совпадающие с общепринятыми среди специалистов в данной области техники, к которой относится настоящее изобретение. В случае противоречия настоящее описание, включая определения, будет иметь преимущественную силу.
Используемые в настоящем документе термины "поршень" и "плунжер" (используемые в приоритетных документах) являются синонимами и относятся к механическому компоненту, описанному в настоящем документе и выполняющему функцию, аналогичную функции поршня (плунжера) шприца.
В настоящем документе термины "содержащий", "включающий", "имеющий" и их грамматические варианты следует считать указывающими на указанные признаки, целые числа, этапы или компоненты, но не исключающими добавления одного или более дополнительных признаков, целых чисел, этапов, компонентов или их групп. Указанные термины охватывают термины "состоящий из" и "состоящий по существу из".
В настоящем документе формы единственного числа означают "по меньшей мере один" или "один или более", если из контекста явно не следует иное.
В настоящем документе, если числовому значению предшествует термин "примерно", термин "приблизительно" предназначен для указания значения +/-10%.
В настоящем документе выражение в виде "A и/или B" означает выбор из группы, состоящей из (A), (B) или (A и B). В настоящем документе выражение в виде "по меньшей мере один из A, B и C" означает выбор из группы, состоящей из (A), (B), (C), (A и B), (A и C), (B и C) или (A и B и C).
Следует понимать, что некоторые признаки изобретения, для ясности описанные в контексте отдельных вариантов реализации, также могут быть обеспечены в совокупности в одном варианте реализации. Напротив, различные признаки изобретения, для краткости описанные в контексте одного варианта реализации, также могут быть обеспечены по отдельности или в любой подходящей подкомбинации, или в любой подходящей комбинации в любом другом описанном варианте реализации изобретения. Некоторые признаки, описанные в контексте различных вариантов реализации, не следует считать существенными признаками указанных вариантов реализации при условии, что указанный вариант реализации не является неработоспособным без указанных элементов.
Несмотря на то, что изобретение было описано в сочетании с конкретными вариантами его реализации, очевидно, что множество альтернатив, модификаций и вариантов будет очевидно специалисту в данной области техники. Соответственно, настоящее описание следует считать охватывающим все подобные альтернативы, модификации, эквиваленты и варианты, находящиеся в пределах объема настоящего изобретения.
Цитирование или идентификация любой ссылки в настоящей заявке не должны толковаться как признание того, что подобная ссылка представляет собой уровень техники для настоящего изобретения.
Заголовки разделов в настоящем документе использованы для облегчения понимания описания и их не следует считать обязательно ограничивающими.
Специалисту в данной области техники будет очевидно, что настоящее изобретение не ограничено конкретными вышеприведенными изображениями и описанием. Скорее, объем настоящего изобретения определен прилагаемой формулой изобретения и включает в себя комбинации и подкомбинации различных признаков, раскрытых в вышеприведенном описании, а также их варианты и модификации, очевидные для специалистов в данной области техники при прочтении предшествующего описания.
| название | год | авторы | номер документа |
|---|---|---|---|
| СИСТЕМА ДЛЯ УХОДА ЗА ПОЛОСТЬЮ РТА | 2010 |
|
RU2520062C2 |
| СИСТЕМА ДЛЯ УХОДА ЗА ПОЛОСТЬЮ РТА | 2010 |
|
RU2555674C2 |
| Устройство для сбора, транспортировки и хранения биомолекул из биологического образца | 2015 |
|
RU2696484C2 |
| ОДНОРАЗОВАЯ УПАКОВКА ДЛЯ ЛЕТУЧЕЙ ЖИДКОСТИ | 2001 |
|
RU2257320C2 |
| СПОСОБ И УСТРОЙСТВО ДЛЯ ВЫСВОБОЖДЕНИЯ ПАРФЮМЕРНОГО СРЕДСТВА ИЛИ АРОМАТИЗАТОРА | 2006 |
|
RU2469933C2 |
| СИСТЕМЫ ДЛЯ ИНДИВИДУАЛЬНОГО ОКРАШИВАНИЯ | 2012 |
|
RU2636531C2 |
| ВЫДАЧНОЙ КОНТЕЙНЕР | 1999 |
|
RU2199256C2 |
| КОМБИНИРОВАННЫЙ ПИШУЩИЙ ИНСТРУМЕНТ | 2004 |
|
RU2350475C2 |
| БЫСТРО ДИСПЕРГИРУЮЩИЕСЯ ТАБЛЕТКИ С ЖЕЛАТИНОВЫМ ПОКРЫТИЕМ | 2005 |
|
RU2367413C2 |
| СПОСОБ ЛЕЧЕНИЯ АКНЕ УСТРОЙСТВОМ ДЛЯ ПРОКАЛЫВАНИЯ РОГОВОГО СЛОЯ | 2006 |
|
RU2414257C2 |
Устройство для нанесения композиции для окрашивания волос, содержащее корпус устройства, содержащий первый резервуар, содержащий первый поршень, причем первый резервуар выполнен с возможностью приема первой части композиции для окрашивания волос; второй резервуар, содержащий второй поршень, причем второй резервуар выполнен с возможностью приема второй части композиции для окрашивания волос; и выдачной механизм, связанный с первым поршнем и со вторым поршнем, причем выдачной механизм выполнен с возможностью герметичного перемещения первого поршня внутри первого резервуара и второго поршня внутри второго резервуара; и колпачок для нанесения, содержащий смесительный механизм и множество выступающих зубцов, причем колпачок для нанесения выполнен с возможностью обратимого соединения с корпусом устройства таким образом, что в положении, в котором колпачок для нанесения соединен с корпусом устройства, первый резервуар и второй резервуар герметизированы относительно окружающей среды, за исключением каналов множества выступающих зубцов, сообщающихся по текучей среде с первым резервуаром и вторым резервуаром посредством смесительного механизма, и при этом выдачной механизм при его активации выполнен с возможностью перемещения первого поршня и второго поршня в направлении множества выступающих зубцов с обеспечением смешивания первой части композиции для окрашивания волос со второй частью композиции для окрашивания волос с образованием смешанной композиции для окрашивания волос, подлежащей выдаче через множество выступающих зубцов. 4 н. и 13 з.п. ф-лы, 22 ил.
1. Устройство для нанесения композиции для окрашивания волос, содержащее:
- корпус устройства, содержащий:
первый резервуар, содержащий первый поршень, причем первый резервуар выполнен с возможностью приема первой части композиции для окрашивания волос;
второй резервуар, содержащий второй поршень, причем второй резервуар выполнен с возможностью приема второй части композиции для окрашивания волос; и
электрический выдачной механизм, связанный с указанным первым поршнем и с указанным вторым поршнем, причем выдачной механизм при активации выполнен с возможностью герметичного перемещения указанного первого поршня внутри указанного первого резервуара и указанного второго поршня внутри указанного второго резервуара; и
- колпачок для нанесения композиции для окрашивания волос, содержащий:
смесительный механизм;
вмещающее пространство, сообщающееся по текучей среде с указанным смесительным механизмом; и
множество выступающих зубцов, каждый из которых сообщается по текучей среде с указанным вмещающим пространством;
причем указанный колпачок для нанесения выполнен с возможностью обратимого соединения с указанным корпусом устройства таким образом, что в положении, в котором указанный колпачок для нанесения соединен с указанным корпусом устройства, указанный первый резервуар и указанный второй резервуар герметизированы относительно окружающей среды, за исключением каналов указанного множества выступающих зубцов, сообщающихся по текучей среде с указанным первым резервуаром и указанным вторым резервуаром посредством указанного смесительного механизма и указанного вмещающего пространства; и
при этом указанный электрический выдачной механизм при его активации выполнен с возможностью перемещения указанного первого поршня и указанного второго поршня в направлении указанного множества выступающих зубцов с обеспечением смешивания указанной первой части указанной композиции для окрашивания волос с указанной второй частью указанной композиции для окрашивания волос с образованием смешанной композиции для окрашивания волос, подлежащей выдаче через указанное множество выступающих зубцов, когда указанное вмещающее пространство полностью заполнено, с обеспечением возможности равномерной выдачи указанной смешанной композиции для окрашивания волос посредством указанного множества выступающих зубцов.
2. Устройство для нанесения по п. 1, в котором указанный выдачной механизм содержит:
первое зубчатое колесо, имеющее внутреннюю резьбу и внешние зубцы и установленное под указанным первым поршнем;
второе зубчатое колесо, имеющее внутреннюю резьбу и внешние зубцы и размещенное под указанным вторым поршнем;
третье зубчатое колесо, имеющее внешние зубцы и размещенное между указанным первым зубчатым колесом и указанным вторым зубчатым колесом, и находящееся в контакте с ними; и
двигатель;
причем указанный первый поршень соединен с первым резьбовым валом, а указанный второй поршень соединен со вторым резьбовым валом таким образом, что внешняя резьба указанного первого резьбового вала находится в зацеплении с внутренней резьбой указанного первого зубчатого колеса, а внешняя резьба указанного второго резьбового вала находится в зацеплении с внутренней резьбой указанного второго зубчатого колеса;
причем указанные внешние зубцы указанного третьего зубчатого колеса находятся в зацеплении с указанными внешними зубцами указанных первого и второго зубчатых колес; и
при этом указанный двигатель выполнен с возможностью вращения указанного третьего зубчатого колеса с обеспечением вращения указанных первого и второго зубчатых колес с обеспечением перемещения указанных первого и второго поршней.
3. Устройство для нанесения по п. 1, в котором указанный первый резервуар сообщается по текучей среде с указанным смесительным механизмом посредством первого отверстия, а указанный второй резервуар сообщается по текучей среде с указанным смесительным механизмом посредством второго отверстия;
причем указанный смесительный механизм содержит статический смеситель, размещенный в канале, и при этом указанный канал выполнен с возможностью приема указанной первой части указанной композиции для окрашивания волос и указанной второй части указанной композиции для окрашивания волос на одном конце канала и обеспечения смешанной композиции для окрашивания волос на другом конце канала.
4. Устройство для нанесения по п. 1, в котором указанный выдачной механизм содержит:
первый набор передаточных колес, содержащий первое передаточное колесо и второе передаточное колесо;
второй набор передаточных колес, содержащий третье передаточное колесо и четвертое передаточное колесо; и
по меньшей мере один двигатель;
причем указанный первый поршень соединен с первым гибким ведущим тросиком, а указанный второй поршень соединен со вторым гибким ведущим тросиком таким образом, что указанный первый гибкий ведущий тросик проходит между указанным первым передаточным колесом и указанным вторым передаточным колесом и находится в контакте с ними, а указанный второй гибкий ведущий тросик проходит между указанным третьим передаточным колесом и указанным четвертым передаточным колесом и находится в контакте с ними; и
при этом указанный по меньшей мере один двигатель выполнен с возможностью вращения указанных первого, второго, третьего и четвертого передаточных колес с обеспечением перемещения указанных первого и второго поршней.
5. Устройство для нанесения по п. 1, в котором указанный выдачной механизм содержит:
первое зубчатое колесо, имеющее внешние зубцы и размещенное под указанным первым поршнем;
второе зубчатое колесо, имеющее внешние зубцы и размещенное под указанным вторым поршнем;
третье зубчатое колесо, имеющее внешние зубцы и размещенное между указанным первым зубчатым колесом и указанным вторым зубчатым колесом, и находящееся в контакте с ними; и
двигатель;
причем указанное первое зубчатое колесо соединено с первым резьбовым валом, а указанное второе зубчатое колесо соединено со вторым резьбовым валом;
причем указанный первый поршень установлен вокруг указанного первого резьбового вала, а указанный второй поршень установлен вокруг указанного второго резьбового вала таким образом, что внешняя резьба указанного первого резьбового вала находится в зацеплении с внутренней резьбой указанного первого поршня, а внешняя резьба указанного второго резьбового вала находится в зацеплении с внутренней резьбой указанного второго поршня;
причем указанные внешние зубцы указанного третьего зубчатого колеса находятся в зацеплении с указанными внешними зубцами указанных первого и второго зубчатых колес; и
при этом указанный двигатель выполнен с возможностью вращения указанного третьего зубчатого колеса с обеспечением вращения указанных первого и второго зубчатых колес с обеспечением перемещения указанных первого и второго поршней.
6. Устройство для нанесения по п. 1, в котором указанный первый резервуар выполнен с возможностью приема указанной первой части композиции для окрашивания волос в первой капсуле, и при этом указанный второй резервуар выполнен с возможностью приема указанной второй части композиции для окрашивания волос во второй капсуле.
7. Устройство для нанесения композиции для окрашивания волос, содержащее:
- корпус устройства, содержащий:
первый резервуар, выполненный с возможностью приема капсулы для композиции для окрашивания волос, причем указанная капсула содержит:
второй резервуар, содержащий первую часть композиции для окрашивания волос; и
третий резервуар, содержащий вторую часть композиции для окрашивания волос; и
электрический выдачной механизм, при активации выполненный с возможностью выдачи указанной первой части указанной композиции для окрашивания волос и указанной второй части указанной композиции для окрашивания волос из указанной капсулы; и
- колпачок для нанесения композиции для окрашивания волос, содержащий:
смесительный механизм;
вмещающее пространство, сообщающееся по текучей среде с указанным смесительным механизмом; и
множество выступающих зубцов, каждый из которых сообщается по текучей среде с указанным вмещающим пространством;
причем указанный колпачок для нанесения выполнен с возможностью обратимого соединения с указанным корпусом устройства таким образом, что в положении, в котором указанный колпачок для нанесения соединен с указанным корпусом устройства, указанный первый резервуар герметизирован относительно окружающей среды, за исключением каналов указанного множества выступающих зубцов, сообщающихся по текучей среде с указанным первым резервуаром посредством указанного смесительного механизма и указанного вмещающего пространства, и при этом указанный электрический выдачной механизм при его активации выполнен с возможностью выдачи указанной композиции для окрашивания волос из указанной капсулы в направлении указанного множества выступающих зубцов с обеспечением смешивания указанной первой части указанной композиции для окрашивания волос с указанной второй частью указанной композиции для окрашивания волос с образованием смешанной композиции для окрашивания волос, подлежащей выдаче через указанное множество выступающих зубцов, когда указанное вмещающее пространство полностью заполнено, с обеспечением возможности равномерной выдачи указанной смешанной композиции для окрашивания волос посредством указанного множества выступающих зубцов.
8. Устройство для нанесения по п. 7, в котором указанный выдачной механизм содержит:
первый набор передаточных колес, содержащий первое передаточное колесо и второе передаточное колесо;
первый гибкий ведущий тросик, проходящий между указанным первым передаточным колесом и указанным вторым передаточным колесом и находящийся в контакте с ними;
первую подъемную часть, соединенную с верхним концом указанного первого гибкого ведущего тросика;
второй набор передаточных колес, содержащий третье передаточное колесо и четвертое передаточное колесо;
второй гибкий ведущий тросик, проходящий между указанным третьим передаточным колесом и указанным четвертым передаточным колесом и находящийся в контакте с ними;
вторую подъемную часть, соединенную с верхним концом указанного второго гибкого ведущего тросика;
и
по меньшей мере один двигатель.
9. Устройство для нанесения по п. 8, в котором указанный второй резервуар также содержит первый поршень, размещенный на нижнем конце указанного второго резервуара;
причем указанный третий резервуар также содержит второй поршень, размещенный на нижнем конце указанного третьего резервуара;
причем указанная первая подъемная часть выполнена с возможностью нахождения в контакте с указанным первым поршнем, а указанная вторая подъемная часть выполнена с возможностью нахождения в контакте с указанным вторым поршнем, когда указанная капсула введена в указанный первый резервуар; и при этом указанный по меньшей мере один двигатель выполнен с возможностью вращения указанных первого, второго, третьего и четвертого передаточных колес с обеспечением перемещения указанных первого и второго поршней.
10. Устройство для нанесения по п. 7, в котором указанный выдачной механизм содержит:
первую заглубленную шестерню, имеющую внешние зубцы и размещенную под указанным вторым резервуаром;
вторую заглубленную шестерню, имеющую внешние зубцы и размещенную под указанным третьим резервуаром;
зубчатое колесо, имеющее внешние зубцы и размещенное между указанной первой заглубленной шестерней и указанной второй заглубленной шестерней, и находящееся в контакте с ними таким образом, что указанные внешние зубцы указанного зубчатого колеса находятся в зацеплении с указанными внешними зубцами указанной первой заглубленной шестерни и указанными внешними зубцами указанной второй заглубленной шестерни; и
двигатель.
11. Устройство для нанесения по п. 10, в котором указанный второй резервуар также содержит:
первый резьбовой вал, проходящий от нижнего конца до верхнего конца указанного второго резервуара;
первую шестерню, соединенную с указанным первым резьбовым валом и выступающую из нижнего конца указанного второго резервуара; и
первый поршень, установленный вокруг указанного первого резьбового вала и содержащий внутреннюю резьбу таким образом, что внешняя резьба указанного первого резьбового вала находится в зацеплении с внутренней резьбой указанного первого поршня;
причем указанный третий резервуар также содержит:
второй резьбовой вал, проходящий от нижнего конца до верхнего конца указанного третьего резервуара;
вторую шестерню, соединенную с указанным вторым резьбовым валом и выступающую из нижнего конца указанного третьего резервуара; и
второй поршень, установленный вокруг указанного второго резьбового вала и содержащий внутреннюю резьбу таким образом, что внешняя резьба указанного второго резьбового вала находится в зацеплении с внутренней резьбой указанного второго поршня;
причем указанная первая шестерня выполнена с возможностью нахождения в контакте с указанной первой заглубленной шестерней, а указанная вторая шестерня выполнена с возможностью нахождения в контакте с указанной второй заглубленной шестерней, когда указанная капсула введена в указанный первый резервуар; и
при этом указанный двигатель выполнен с возможностью вращения указанного зубчатого колеса с обеспечением вращения указанных первой и второй заглубленных шестерен с обеспечением перемещения указанных первого и второго поршней.
12. Устройство для нанесения композиции для окрашивания волос, содержащее:
- корпус устройства, содержащий:
резервуар, содержащий поршень, причем указанный резервуар выполнен с возможностью приема первой части и второй части композиции для окрашивания волос;
и
электрический выдачной механизм, связанный с указанным поршнем, причем указанный выдачной механизм при активации выполнен с возможностью герметичного перемещения указанного поршня внутри указанного резервуара;
- смесительный колпачок, содержащий:
крыльчатку, размещенную на внутренней стороне указанного смесительного колпачка;
стержень, соединенный с указанной крыльчаткой на одном конце стержня и с шестерней, установленной на внешней стороне указанного смесительного колпачка, на другом конце стержня; и
- колпачок для нанесения композиции для окрашивания волос, содержащий множество выступающих зубцов;
причем указанный смесительный колпачок выполнен с возможностью обратимого соединения с указанным корпусом устройства таким образом, что в положении, в котором указанный смесительный колпачок соединен с указанным корпусом устройства, указанный резервуар герметизирован относительно окружающей среды, а указанная крыльчатка выполнена с возможностью смешивания указанной первой части и указанной второй части указанной композиции для окрашивания волос с образованием смешанной композиции для окрашивания волос;
причем указанная шестерня выполнена с возможностью обратимого соединения со смесительным двигателем, тем самым обеспечивая возможность вращения указанной крыльчатки и смешивания указанной первой части и указанной второй части указанной композиции для окрашивания волос;
причем указанный колпачок для нанесения выполнен с возможностью обратимого соединения с указанным корпусом устройства таким образом, что в положении, в котором указанный колпачок для нанесения соединен с указанным корпусом устройства, указанный резервуар герметизирован относительно окружающей среды, за исключением каналов указанного множества выступающих зубьев, сообщающихся по текучей среде с указанным резервуаром; и
при этом указанный выдачной механизм при его активации выполнен с возможностью перемещения указанного поршня в направлении указанного множества выступающих зубцов с обеспечением проталкивания указанной смешанной композиции для окрашивания волос, подлежащей равномерной выдаче через указанное множество выступающих зубцов.
13. Устройство для нанесения композиции для окрашивания волос, содержащее:
- корпус устройства, содержащий:
резервуар, содержащий поршень, причем указанный резервуар выполнен с возможностью приема первой части и второй части композиции для окрашивания волос;
механизм перемешивания, содержащий складную крыльчатку; и
электрический выдачной механизм, связанный с указанным поршнем, причем указанный выдачной механизм при активации выполнен с возможностью герметичного перемещения указанного поршня внутри указанного резервуара; и
- колпачок для нанесения композиции для окрашивания волос, содержащий множество выступающих зубцов;
причем указанный механизм перемешивания выполнен с возможностью смешивания указанной первой части и указанной второй части указанной композиции для окрашивания волос с образованием смешанной композиции для окрашивания волос;
причем указанный колпачок для нанесения выполнен с возможностью обратимого соединения с указанным корпусом устройства таким образом, что в положении, в котором указанный колпачок для нанесения соединен с указанным корпусом устройства, указанный резервуар герметизирован относительно окружающей среды, за исключением каналов указанного множества выступающих зубьев, сообщающихся по текучей среде с указанным резервуаром; и
при этом указанный выдачной механизм при его активации выполнен с возможностью перемещения указанного поршня в направлении указанного множества выступающих зубцов с обеспечением проталкивания указанной смешанной композиции для окрашивания волос, подлежащей равномерной выдаче через указанное множество выступающих зубцов.
14. Устройство для нанесения по п. 13, в котором указанный механизм перемешивания также содержит:
вал, соединенный с указанной крыльчаткой на одном конце вала и с шестерней, установленной на внешней нижней стороне указанного корпуса устройства, на другом конце вала;
причем указанная шестерня выполнена с возможностью вращения с обеспечением вращения указанной крыльчатки и с обеспечением возможности смешивания указанной первой части и указанной второй части указанной композиции для окрашивания волос с образованием смешанной композиции для окрашивания волос.
15. Устройство для нанесения по п. 13, в котором указанный механизм перемешивания также содержит:
вал, соединенный с указанной крыльчаткой на одном конце вала и с двигателем на другом конце вала;
причем указанный двигатель выполнен с возможностью вращения указанного вала с обеспечением вращения указанной крыльчатки и с обеспечением возможности смешивания указанной первой части и указанной второй части указанной композиции для окрашивания волос с образованием смешанной композиции для окрашивания волос.
16. Устройство для нанесения по п. 13, в котором указанная складная крыльчатка имеет по меньшей мере два состояния, в каждом из которых она имеет отличающиеся размеры по высоте:
состояние перемешивания, имеющее размер по высоте для несложенного состояния; и
сложенное состояние, имеющее размер по высоте для сложенного состояния, который меньше, чем указанный размер по высоте для несложенного состояния.
17. Устройство для нанесения по 14, в котором указанная шестерня выполнена с возможностью обратимого соединения с внешним смесительным двигателем таким образом, что, когда указанная шестерня соединена с указанным внешним смесительным двигателем, указанный внешний смесительный двигатель приводится в действие для вращения указанной крыльчатки.
| CN 201260466 Y, 24.06.2009 | |||
| US 7568486 B2, 04.08.2009 | |||
| KR 101762262 B1, 31.07.2017 | |||
| US 6357450 B1, 19.03.2002 | |||
| KR 20180006008 A, 17.01.2018 | |||
| US 4323085 A1, 06.04.1982 | |||
| Усилитель считывания | 1984 |
|
SU1203593A1 |
| US 6513534 B1, 04.02.2003 | |||
| УСТРОЙСТВО ДЛЯ НАНЕСЕНИЯ СРЕДСТВА ПО УХОДУ ЗА ВОЛОСАМИ | 2007 |
|
RU2378965C2 |
Авторы
Даты
2025-04-22—Публикация
2021-06-07—Подача