Группа изобретений относится к области лазерной техники, варианты исполнения которой способны работать автономно без внешних источников электроэнергии и позволяют эффективно преобразовывать энергию детонации топливоокислительной смеси в энергию лазерного излучения с выработкой дополнительной электроэнергии для собственных нужд.
Из уровня техники Л [1-5] известен газовый СO2-лазер - газодинамический лазер с тепловой накачкой при охлаждении СO2 газа в сопле Лаваля - квантовый генератор источником когерентного монохроматического электромагнитного излучения с длинами волн в диапазоне 9,4-11,2 мкм. Обычно состоит из трех основных элементов: непрозрачное зеркало - оптический резонатор - полупрозрачное зеркало. Известны различные типы и конструкции газодинамических лазеров на основе рабочего газа СO2 или смеси газов СO2 и N2 и Не.
Из уровня техники Л [1-5] также известна модуляция добротности оптического резонатора (англ. Q-switching) - метод, применяемый для получения импульсного режима работы лазера. При использовании модуляции добротности лазер работает в импульсном режиме. Основная идея метода состоит в том, что во время накачки намеренно «ухудшают» свойства оптического резонатора, не давая, таким образом, лазеру излучать. Благодаря этому мощность не расходуется на излучение и удается получить высокий уровень инверсной населенности энергетических уровней активной среды. Далее свойства резонатора быстро «улучшают», и вся накопленная энергия реализуется в виде короткого, мощного импульса, например, с использованием зеркал - одно из зеркал резонатора делают подвижным (например, вращающимся относительно оси, перпендикулярной оси лазера). В моменты, когда вращающееся зеркало не параллельно неподвижному зеркалу, добротность резонатора низкая, и излучения нет, когда же зеркала становятся точно параллельно друг другу, добротность резонатора резко повышается, и лазер начинает излучать.
Из уровня техники Л [1-5] также известен Модулятор излучения лазера, например, когда используют вместо полупрозрачного зеркала модулятор с изменяемой щелью.
Однако из уровня техники не известен Детонационный газовый лазер, использующий для работы энергию высокоэффективного быстрого (взрывного) детонационного горения или детонации топливоокислительной смеси непосредственно в замкнутом герметичном объеме оптического резонатора лазера для создания когерентного монохроматического электромагнитного излучения, варианты исполнения которого используют также модуляцию добротности оптического резонатора или модулятор излучения лазера.
Также из уровня техники не известна Детонационная лазерно-энергетическая установка, в составе которой, как минимум, два Детонационных газовых лазера, использующих для работы энергию высокоэффективного быстрого (взрывного) детонационного горения или детонации топливоокислительной смеси непосредственно в замкнутом герметичном объеме оптического резонатора лазера для создания когерентного монохроматического электромагнитного излучения, варианты исполнения которых используют также модуляцию добротности оптического резонатора и/или модулятор излучения лазеров, и при этом направления излучения всех лазеров направлены в одну точку.
Таким образом, присутствует актуальной задача создания Детонационного газового лазера, использующего для работы энергию высокоэффективного быстрого (взрывного) детонационного горения или детонации топливоокислительной смеси непосредственно в замкнутом герметичном объеме оптического резонатора лазера для создания когерентного монохроматического электромагнитного излучения, варианты исполнения которого используют также модуляцию добротности оптического резонатора или модулятор излучения лазера, а также создания Детонационной лазерно-энергетической установки, в составе которой, как минимум, два Детонационных газовых лазера, использующих для работы энергию высокоэффективного быстрого (взрывного) детонационного горения или детонации топливоокислительной смеси непосредственно в замкнутом герметичном объеме оптического резонатора лазера для создания когерентного монохроматического электромагнитного излучения, варианты исполнения которых используют также модуляцию добротности оптического резонатора и/или модулятор излучения лазеров, и при этом направления излучения всех лазеров направлены в одну точку.
Задачей достижения технического результата, на который направлено заявленное изобретение, является создание Детонационного газового лазера, использующего для работы энергию высокоэффективного быстрого (взрывного) детонационного горения или детонации топливоокислительной смеси непосредственно в замкнутом герметичном объеме оптического резонатора лазера для создания когерентного монохроматического электромагнитного излучения, варианты исполнения которого используют также модуляцию добротности оптического резонатора или модулятор излучения лазера, а также создание Детонационной лазерно-энергетической установки, в составе которой, как минимум, два Детонационных газовых лазера, использующих для работы энергию высокоэффективного быстрого (взрывного) детонационного горения или детонации топливоокислительной смеси непосредственно в замкнутом герметичном объеме оптического резонатора лазера для создания когерентного монохроматического электромагнитного излучения, варианты исполнения которых используют также модуляцию добротности оптического резонатора и/или модулятор излучения лазеров, и при этом направления излучения всех лазеров направлены в одну точку.
Указанная задача (достижение технического результата) решается тем, что предложен Детонационный газовый лазер по пункту 1 формулы изобретения.
Указанная задача (достижение технического результата) решается тем, что предложен Детонационный газовый лазер по пункту 2 формулы изобретения.
Указанная задача (достижение технического результата) решается тем, что предложена Детонационная лазерно-энергетическая установки по пункту 3 формулы изобретения.
Указанная задача (достижение технического результата) решается тем, что предложена Детонационная лазерно-энергетическая установки по пункту 4 формулы изобретения.
Указанная задача (достижение технического результата) решается тем, что предложена Детонационная лазерно-энергетическая установки по пункту 5 формулы изобретения.
Технический результат достигается также в способе функционирования Детонационного газового лазера по пункту 6 формулы изобретения.
Технический результат достигается также в способе функционирования Детонационного газового лазера по пункту 7 формулы изобретения.
Технический результат достигается также в способе функционирования Детонационной лазерно-энергетической установки по пункту 8 формулы изобретения.
Сущность изобретения поясняется чертежами Фиг. 1-11.
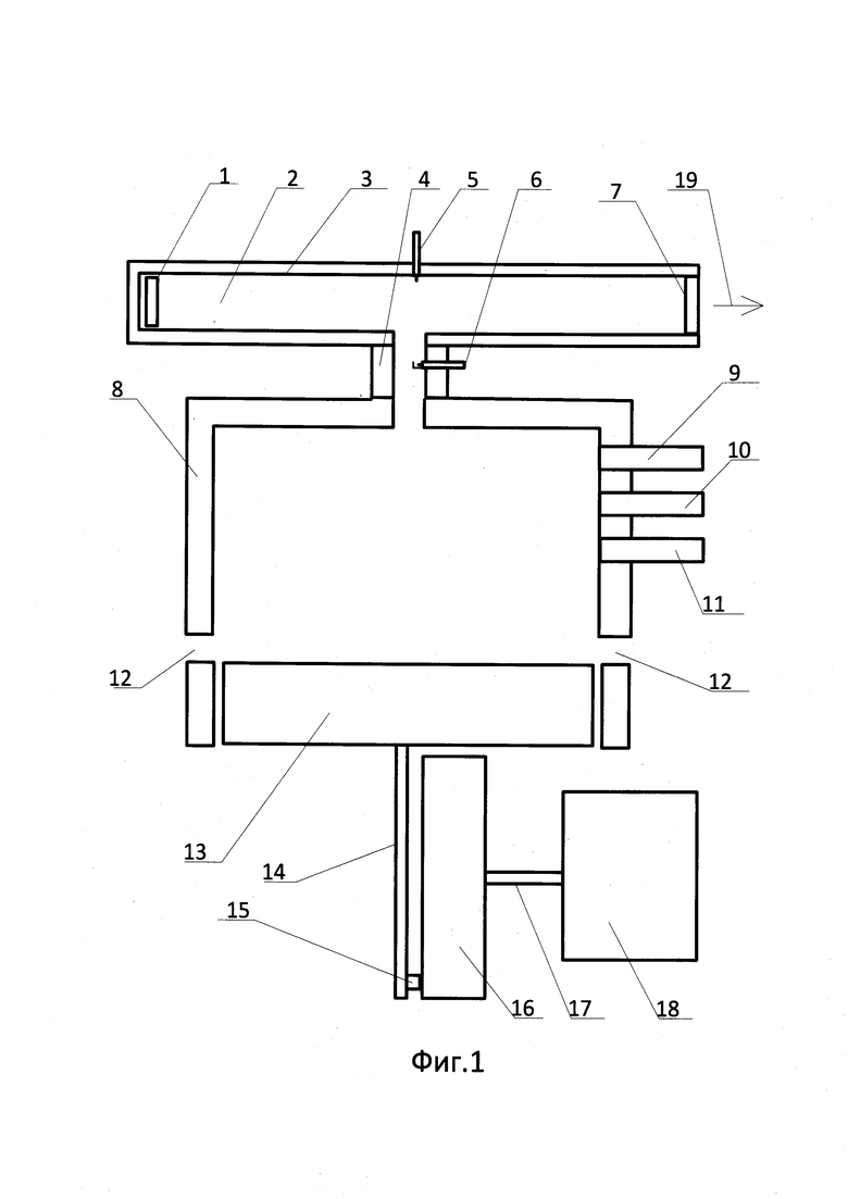
На чертеже Фиг. 1 представлена функциональная схема одного из вариантов исполнения Детонационного газового лазера (далее - ДГЛ) по пункту 1 формулы, например, с одним, рабочим цилиндром, верхняя часть которого герметично соединена с внутренней полостью оптического резонатора, например, через одну детонационную трубку в составе поршневого двигателя внутреннего сгорания двухтактного типа, где 1 - модулятор добротности в виде непрозрачного зеркала, имеющего возможность поворота относительно оси, перпендикулярной к продольной оси оптического резонатора, 2 - внутренний объем оптического резонатора, 3 - оптический резонатор, в виде полого, герметичного непрозрачного зеркального цилиндра, 4 - детонационная трубка, 5 - высоковольтный электрод электрического разрядника, 6 - двухэлектродная электрическая свеча зажигания, 7 - полупрозрачное зеркало, 8 - рабочий цилиндр поршневого двигателя внутреннего сгорания (ДВС) двухтактного типа, 9 - форсунка дозированной подачи углеродсодержащего топлива, 10 - форсунка дозированной подачи окислителя, 11 - форсунка дополнительной дозированной подачи азота и гелия, 12 - выхлопные окна для отвода выхлопных газов, 13 - поршень в положении нижней мертвой точки (НМТ) внутри цилиндра поршневого двигателя внутреннего сгорания двухтактного типа, 14 - шатун кривошипно-шатунного механизма, 15 - шарнир соединения кривошипно-шатунного механизма с маховиком, 16 - маховик, 17 - выходной вал маховика, 18 - обратимая электромашина, 19 - направление излучения ДГЛ, а первичный источник энергии, например, в виде электрохимического аккумулятора и блок управления ДГЛ (на чертеже не показаны). Общая система охлаждения поршневого двигателя внутреннего сгорания двухтактного типа, блок управления, первичный источник энергии и/или внешний источник энергии (на чертеже не показаны).
На чертеже Фиг. 2 показано положение поршня 13, перекрывающее выхлопные окна 12 для отвода выхлопных газов внутри цилиндра поршневого двигателя внутреннего сгорания двухтактного типа и на чертеже Фиг. 3 показано положение поршня 13 в верхней мертвой точке (ВМТ) внутри цилиндра 8 поршневого двигателя внутреннего сгорания двухтактного типа.
На чертеже Фиг. 4 показан вариант исполнения детали оптического резонатора и детонационной трубки, выполненных из высокопрочного и жаростойкого материала, где 1 - модулятор добротности в виде непрозрачного зеркала, имеющего возможность поворота относительно оси, перпендикулярной к продольной оси оптического резонатора (механизм поворота модулятора добротности относительно оси, перпендикулярной к продольной оси оптического резонатора на эскизе не показан), 7 - полупрозрачное зеркало.
На чертеже Фиг. 5 представлена предпочтительная схема механизма поворота модулятора добротности 1 относительно оси, перпендикулярной к продольной оси оптического резонатора 3 в положении режима высокой добротности, где: 1 - модулятор добротности в виде непрозрачного зеркала, имеющего возможность поворота в положении режима высокой добротности, 20 - металлический корпус из магнитного металла, на котором закреплен модулятор добротности 1, 21 - металлические поворотные оси, на которых металлический корпус 20 имеет возможность поворота относительно оси, перпендикулярной к продольной оси оптического резонатора, 22 - возвратная пружина механизма поворота модулятора добротности, 23 - соленоид электромагнита, 24 - магнитный сердечник соленоида электромагнита, 25 - магнитопровод электромагнита для замыкания магнитного потока по цепи: магнитный сердечник соленоида электромагнита 24, металлический корпус из магнитного металла, на котором закреплен модулятор добротности 20, металлические поворотные оси 21 и дополнительный магнитопровод электромагнита с другой стороны соленоида электромагнита 23.
На чертеже Фиг. 6 представлена предпочтительная схема механизма поворота модулятора добротности 1 относительно оси, не перпендикулярной к продольной оси оптического резонатора 3 в положении режима низкой добротности, когда управляющее напряжение с соленоида электромагнита 23 снято и возвратная пружина механизма поворота модулятора добротности удерживает модулятор добротности 1 не перпендикулярно относительно продольной оси оптического резонатора, магнитопровод электромагнита 25 на эскизе не показан.
На чертеже Фиг. 7 показаны детали варианта исполнения оптического резонатора 3 с модулятором излучения лазера с изменяемой щелью и детонационной трубки выполненных из высокопрочного и жаростойкого материала и включенные в общую систему охлаждения поршневого двигателя внутреннего сгорания двухтактного типа (на чертежах не показана). Блок управления, первичный источник энергии и/или внешний источник энергии на чертежах также не показаны, где 25 - непрозрачное зеркало, 26 - прозрачное стекло, 27 - модулятор излучения лазера с изменяемой щелью, установленный с наружной стороны прозрачного стекла 26 оптического резонатора 3, выполненный, например, в виде пластины непрозрачного зеркала, перекрывающем полностью площадь прозрачного стекла 26 своей стороной непрозрачного зеркала в режиме закрытой щели, и имеющий возможность переключения положения в режим открытой щели.
На чертеже Фиг. 8 представлена предпочтительная схема механизма модулятора излучения лазера с изменяемой щелью, установленного с наружной стороны прозрачного стекла оптического резонатора 3 в режиме закрытой щели, исключающем генерацию когерентного излучения в оптическом резонаторе, когда снято управляющее напряжение с соленоида электромагнита и изменяемая щель модулятора излучения лазера закрыта относительно оптической оси, где: 26 - прозрачное стекло, 27 - модулятор излучения лазера с изменяемой щелью в виде пластины непрозрачного зеркала, перекрывающем полностью площадь прозрачного стекла 26, жестко соединенной с подвижным сердечником электромагнита, 28 - изменяемая щель модулятора излучения лазера 27, выполненная например, в виде круглого отверстия, размер которого может определяться опытным путем для каждого конкретного размера оптического резонатора 3, 29 - соленоид электромагнита, 30 - подвижный сердечник электромагнита жестко соединенный с модулятором излучения лазера с изменяемой щелью 27, 31 - возвратная пружина механизма перемещения модулятора излучения лазера с изменяемой щелью 27, 32 - упорная пластина возвратной пружины 31.
На чертеже Фиг. 9 представлена предпочтительная схема механизма модулятора излучения лазера с изменяемой щелью, установленного с наружной стороны прозрачного стекла 26 оптического резонатора 3 в режиме открытой изменяемой щели 28, при генерации когерентного излучения в оптическом резонаторе 3, когда управляющее напряжение подано на соленоид электромагнита 29 при выдвинутом положении подвижного сердечника электромагнита 30 и сжатой возвратной пружины 31, где: 19 - направление излучения ДГЛ при генерации когерентного излучения в оптическом резонаторе 3.
На чертежах Фиг. 10 представлена функциональная схема одного из множества вариантов исполнения ДГЛ повышенной мощности, например, уже с тремя рабочими цилиндрами 8, верхняя часть каждого из которых герметично соединена с внутренней полостью оптического резонатора 2 через, например, две детонационные трубки 4.
На чертежах Фиг. 11 представлена функциональная схема одного из множества вариантов исполнения Детонационной лазерно-энергетической установки (ДЛЭУ), повышенной мощности, например, уже с четырьмя ДГЛ в составе ДЛЭУ, когда поршневые двигатели внутреннего сгорания двухтактного типа каждого ДГЛ соединяют через кривошипно-шатунный механизм с общим маховиком, таким образом, чтобы излучения всех ДГЛ в составе ДЛЭУ были одновременными, либо с определенным фазовым сдвигом, но направления излучения всех оптических резонаторов ДГЛ направлены в одну точку, например, с помощью фокусирующих призм (на эскизе не показаны).
Работа варианта Детонационного газового лазера (далее - ДГЛ) по пункту 1 формулы изобретения происходит следующим образом: при положении модулятора добротности 1 в режиме низкой добротности Фиг. 6, исключающем генерацию когерентного излучения в оптическом резонаторе 2, включают обратимую электромашину 18 в стартерном двигательном режиме, тем самым, приводя во вращение маховик 16, который через шарнир соединения 15 и шатун 14 кривошипно-шатунного механизма приводят в движение поршень 13 в направлении верхней мертвой точки (ВМТ) внутри цилиндра 8 поршневого двигателя внутреннего сгорания двухтактного типа. При положении поршня 13, перекрывающего выхлопные окна 12 для отвода выхлопных газов Фиг. 1, блок управления ДГЛ включает форсунку дозированной подачи углеродсодержащего топлива 9, например метана, очищенного природного газа, форсунку дозированной подачи окислителя 10, например сжатого воздуха, содержащего 21% кислорода и 78% азота, а также форсунку дозированной подачи другого вещества 11, например, гелия для формирования определенной газовой среды внутри оптического резонатора, применяемой для газовых лазеров. Сформированная и хорошо перемешанная таким образом газовая смесь сжимается далее при движении поршня 13, где за 10-15 градусов до ВМТ на электрическую свечу зажигания 6 подается серия высоковольтных искровых разрядов, инициирующих (взрывное) детонационное горение в детонационной трубке 4 в соответствии с Л [7]. В качестве углеродсодержащего топлива предпочтительно использование газов метан или этан, а также спиртов метанола или этанола для исключения загрязнения зеркальных покрытий внутри оптического резонатора ДГЛ. Таким образом, используя «раннее» зажигание предварительно сжатой топливоокислительной смеси углеродсодержащего топлива с воздухом (или с кислородом с возможной дополнительной дозированной подачей азота и гелия), при детонационном горении которой, при положении поршня за 10-15 градусов до ВМТ, образуется парогазовая смесь паров воды, углекислого газа, азота и гелия в качестве рабочей среды внутри оптического резонатора ДГЛ, энергетическая накачка которой формируется при световой вспышке (электромагнитном излучении), резком повышении температуры и давления, а также детонационной волне продуктов детонационного горения предварительно сжатой топливоокислительной смеси углеродсодержащего топлива и окислителя при положении модулятора добротности в режиме низкой добротности, исключающем генерацию когерентного излучения в оптическом резонаторе 2. При этом осуществляют также с помощью высоковольтных электрических разрядов в период хода поршня за 10-15 градусов до ВМТ, используя двухэлектродную электрическую свечу зажигания, разряды между электродами которой в этом режиме сначала создают предварительную ионизацию в области анода свечи зажигания, на анод которой затем уже осуществляются мощные разряды от высоковольтного электрода 5 электрического разрядника. При достижении хода поршня 13 в ВМТ Фиг. 3, по команде блока управления с подачей управляющего напряжения на соленоид 23 Фиг. 5, модулятор добротности 1 из режима низкой добротности Фиг. 6 переключается в режим высокой добротности Фиг. 5 с созданием импульсной генерации когерентного излучения 19 в оптическом резонаторе 2 в режиме работы ДГЛ, как газодинамического углекислотного лазера с тепловой накачкой и с охлаждением СO2 газа при расширении выхлопных газов в цилиндре поршневого двигателя внутреннего сгорания двухтактного типа через детонационную трубку 4, как в сопле Лаваля. При достижении поршнем 13 положения НМТ и свободном выходе выхлопных газов через выхлопные окна 12 по команде блока управления модулятор добротности 1 переводится в режим низкой добротности Фиг. 6, и цикл работы ДГЛ повторяется с использованием обратимой электромашины 18 не только в начальном стартерном двигательном режиме работы обратимой электромашины 18 при включении ДГЛ в работу, но и в генераторном режиме для подзарядки первичного источника энергии и/или внешнего источника энергии, что позволяет получать дополнительно электроэнергию, которая может использоваться на покрытие собственных нужд ДГЛ, например, на работу компрессора сжатого воздуха (на чертежах не показан) и т.п.
Алгоритм работы варианта Детонационного газового лазера (ДГЛ) по пункту 2 формулы изобретения аналогичен вышеописанному с той лишь разницей, что вместо модулятора добротности 1 создание условия для импульсной генерации когерентного излучения 19 в оптическом резонаторе 2 происходит с использованием модулятора излучения лазера с изменяемой щелью, установленного с наружной стороны прозрачного стекла оптического резонатора 3 по чертежам Фиг. 7, Фиг. 8, и Фиг. 9. То есть работа варианта Детонационного газового лазера (далее - ДГЛ), по пункту 2 формулы изобретения происходит следующим образом: при положении модулятора излучения лазера 27 с изменяемой щелью, Фиг. 7 и Фиг. 8, исключающем генерацию когерентного излучения в оптическом резонаторе 2, когда напротив непрозрачного зеркала 25 находится модулятор излучения лазера 27 с изменяемой щелью, установленный с наружной стороны прозрачного стекла 26 оптического резонатора 3, выполненный, например, в виде пластины непрозрачного зеркала, перекрывающей полностью площадь прозрачного стекла 26 своей стороной непрозрачного зеркала в режиме закрытой щели, включают обратимую электромашину 18 в стартерном двигательном режиме, тем самым приводя во вращение маховик 16, который через шарнир соединения 15 и шатун 14 кривошипно-шатунного механизма приводят в движение поршень 13 в направлении верхней мертвой точки (ВМТ) внутри цилиндра 8 поршневого двигателя внутреннего сгорания двухтактного типа. При положении поршня 13, перекрывающего выхлопные окна 12 для отвода выхлопных газов Фиг. 1, блок управления ДГЛ включает форсунку дозированной подачи углеродсодержащего топлива 9, например метана, очищенного природного газа, форсунку дозированной подачи окислителя 10, например сжатого воздуха, содержащего 21% кислорода и 78% азота, а также форсунку дозированной подачи другого вещества 11, например, гелия для формирования определенной газовой среды внутри оптического резонатора, применяемой для газовых лазеров. Сформированная и хорошо перемешанная таким образом газовая смесь сжимается далее при движении поршня 13, где за 10-15 градусов до ВМТ на электрическую свечу зажигания 6 подается серия высоковольтных искровых разрядов, инициирующих (взрывное) детонационное горение в детонационной трубке 4 в соответствии с Л [7]. В качестве углеродсодержащего топлива предпочтительно использование газов метан или этан, а также спиртов метанола или этанола для исключения загрязнения зеркальных покрытий внутри оптического резонатора ДГЛ. Таким образом, используя «раннее» зажигание предварительно сжатой топливоокислительной смеси углеродсодержащего топлива с воздухом (или с кислородом с возможной дополнительной дозированной подачей азота и гелия), при детонационном горении которой, при положении поршня за 10-15 градусов до ВМТ, образуется парогазовая смесь паров воды, углекислого газа, азота и гелия в качестве рабочего среды внутри оптического резонатора ДГЛ, энергетическая накачка которой формируется при световой вспышке (электромагнитном излучении), резком повышении температуры и давления, а также детонационной волне продуктов детонационного горения предварительно сжатой топливоокислительной смеси углеродсодержащего топлива и окислителя. При этом осуществляют также с помощью высоковольтных электрических разрядов в период хода поршня за 10-15 градусов до ВМТ, используя двухэлектродную электрическую свечу зажигания, разряды которой в этом режиме сначала создают предварительную ионизацию в области анода свечи зажигания. При достижении хода поршня 13 в ВМТ Фиг. 3, по команде блока управления с подачей управляющего напряжения на соленоид 29, модулятор излучения лазера 27 с изменяемой щелью, переводится из положения с закрытой щелью по Фиг. 7 и Фиг. 8, исключающей генерацию когерентного излучения в оптическом резонаторе 2, в положение с открытой щелью по Фиг. 9 с созданием импульсной генерации когерентного излучения 19 в оптическом резонаторе 2 в режиме работы ДГЛ, как газодинамического углекислотного лазера с тепловой накачкой и с охлаждением СO2 газа при расширении выхлопных газов в цилиндре поршневого двигателя внутреннего сгорания двухтактного типа через детонационную трубку 4, как в сопле Лаваля. При достижении поршнем 13 положения НМТ и свободном выходе выхлопных газов через выхлопные окна 12 по команде блока управления модулятор добротности 1 переводится в режим низкой добротности Фиг. 6, и цикл работы ДГЛ повторяется с использованием обратимой электромашины 18 не только в начальном стартерном двигательном режиме работы обратимой электромашины 18 при включении ДГЛ в работу, но и в генераторном режиме для подзарядки первичного источника энергии и/или внешнего источника энергии, что позволяет получать дополнительно электроэнергию, которая может использоваться на покрытие собственных нужд ДГЛ, например, на работу компрессора сжатого воздуха (на чертежах не показан) и т.п.
Практический расчет концентраций всех газов для конкретного рабочего объема поршневого двигателя внутреннего сгорания двухтактного типа ДГЛ, при котором возможно полное сгорание метана в кислороде воздуха, может быть произведен на основе известной концентрации кислорода в 21% в составе воздуха, а также известной из уровня техники информации, что детонационное горение возникает при объемном взрыве, представляющем собой неконтролируемое выделение большого запаса энергии газовой или аэрозольной смеси горючих веществ и окислителя, заполняющих ограниченное пространство, при определенном соотношении горючего и окислителя и наличия инициирующего импульса, например, для смеси природного газа с воздухом в пределах доли природного газа 3,80-17,0% создаются именно условия для образования объемного детонационного взрыва в соответствии с Л [6-8].
Для увеличения мощности ДГЛ могут быть использованы ДГЛ с несколькими рабочими цилиндрами 8, например, с тремя рабочими цилиндрами 8, верхняя часть каждого из которых герметично соединена с внутренней полостью оптического резонатора 2 через, например, две детонационные трубки 4 по Фиг. 10 и алгоритм работы вариантов ДГЛ аналогичен вышеописанным.
Также для увеличения общей мощности лазерного излучения целесообразно использовать Детонационную лазерно-энергетическую установку (ДЛЭУК), содержащую, например, четыре ДГЛ, объединенных одним выходным валом Фиг. 11, а направления излучения всех оптических резонаторов лазеров направлены в одну точку, например с помощью фокусирующих призм (на эскизе не показаны).
Таким образом, использование группы изобретений позволяет наряду с традиционными конструкциями лазеров получить новый высокоэффективный тип лазера, который может работать автономно без подвода энергии извне, используя только энергию высокоэффективного быстрого (взрывного) детонационного горения или детонации топливоокислительной смеси углеродсодержащего топлива (например, газы метан, этан и/или спирты: метиловый, этиловый и т.д.) и окислителя (например, кислород или воздух) и возможной дополнительной дозированной подачи другого вещества, используемого в рабочей среде оптического резонатора газовых лазеров, например, смеси газов СO2, N2 и Не.
Техническим результатом, обеспечиваемым приведенной совокупностью признаков, является создание Детонационного газового лазера, использующего для работы энергию высокоэффективного быстрого (взрывного) детонационного горения или детонации топливоокислительной смеси непосредственно в замкнутом герметичном объеме оптического резонатора лазера для создания когерентного монохроматического электромагнитного излучения, варианты исполнения которого используют также модуляцию добротности оптического резонатора или модулятор излучения лазера, а также создание Детонационной лазерно-энергетической установки, в составе которой как минимум два Детонационных газовых лазера, использующих для работы энергию высокоэффективного быстрого (взрывного) детонационного горения или детонации топливоокислительной смеси непосредственно в замкнутом герметичном объеме оптического резонатора лазера для создания когерентного монохроматического электромагнитного излучения, варианты исполнения которых используют также модуляцию добротности оптического резонатора и/или модулятор излучения лазеров, и при этом направления излучения всех лазеров направлены в одну точку.
Литература:
1. Харанжсвский Е.В., Кривилев М.Д. Физика лазеров, лазерные технологии и методы математического моделирования лазерного воздействия на вещество. Учебное пособие. Под общей редакцией П.К. Галенко. Ижевск: Изд-во "Удмуртский университет", 2011, 187 с.
2. Конюхов В.К., Прохоров А.М., Второе начало термодинамики и квантовые генераторы с тепловым возбуждением, "УФН", 1976, т. 119, с. 541.
3. Лосев С.А., Газодинамические лазеры, М., 1977.
4. Андерсон Д., Газодинамические лазеры: введение, пер. с англ., М., 1979.
5. Бирюков А.С., Щеглов В.А., Газовые лазеры на каскадных переходах линейных трехатомных молекул, "Квантовая электроника", 1981, т. 8, с. 2371.
6. А.А. Васильев. Особенности применения детонации в двигательных установках, с. 129, 141-145.
7. Инициирование газовой детонации электрическими разрядами / Импульсные Детонационные Двигатели. Под редакцией д.ф.м.н. С.М. Фролова. ТОРУС-ПРЕСС, 2006, М., с. 235-254.
8. Ф.А. Быковский и др. Инициирование детонации в потоках водородно-воздушных смесей, с. 521-539 / Импульсные Детонационные Двигатели. Под редакцией д.ф.м.н. С.М. Фролова. ТОРУС-ПРЕСС, М., 2006).
 
		
		 
		
		 
		
		 
		
         
         
            Группа изобретений относится к области лазерной техники. Детонационный газовый лазер (ДГЛ) основан на использовании энергии высокоэффективного быстрого детонационного горения или детонации топливо-окислительной смеси в замкнутом герметичном объеме оптического резонатора лазера для создания лазерного излучения. Содержит блок управления, источник энергии, оптический резонатор в виде полого, герметичного непрозрачного зеркального цилиндра, внутри оптического резонатора установлен модулятор добротности и полупрозрачное зеркало, выполненные из высокопрочного и жаростойкого материала, внутренняя полость оптического резонатора является камерой детонационного горения сжатой топливоокислительной смеси, которая подается поршневым двигателем внутреннего сгорания двухтактного типа, содержащим рабочий цилиндр, герметично соединен с внутренней полостью резонатора через детонационную трубку со свечой зажигания и раздельными форсунками подачи топлива, азота, гелия и окислителя, в нижней части цилиндра расположены выхлопные окна, поршень соединен через кривошипно-шатунный механизм с маховиком, подключенным к обратимой электромашине. Технический результат – реализация детонационного лазера. 8 н.п. ф-лы, 11 ил.
1. Детонационный газовый лазер, характеризующийся тем, что содержит блок управления, первичный источник энергии и/или внешний источник энергии, оптический резонатор в виде полого, герметичного непрозрачного зеркального цилиндра, имеющего герметичную неподвижную торцевую поверхность с одной стороны, и перед которой внутри оптического резонатора установлен модулятор добротности в виде непрозрачного зеркала, имеющего возможность поворота относительно оси, перпендикулярной к продольной оси оптического резонатора, а другая торцевая поверхность зеркального цилиндра представляет собой полупрозрачное зеркало, жестко закрепленное внутри полого, герметичного непрозрачного зеркального цилиндра перпендикулярно к продольной оси оптического резонатора, выполненные из высокопрочного и жаростойкого материала, и при этом внутренняя полость оптического резонатора является камерой детонационного горения предварительно сжатой топливоокислительной смеси, которая подается поршневым двигателем внутреннего сгорания двухтактного типа, содержащим, как минимум, один рабочий цилиндр, верхняя часть которого герметично соединена с внутренней полостью оптического резонатора через, как минимум, одну детонационную трубку, содержащую двухэлектродную электрическую свечу зажигания, и также в верхней части цилиндра установлены раздельные форсунки дозированной подачи углеродсодержащего топлива, форсунка дополнительной дозированной подачи азота и гелия и форсунка дозированной подачи окислителя, а в нижней части этого цилиндра расположены выхлопные окна для отвода выхлопных газов, а поршень внутри цилиндра этого поршневого двигателя внутреннего сгорания двухтактного типа соединен через кривошипно-шатунный механизм с маховиком, выходной вал которого подключен к обратимой электромашине, и при этом поршневой двигатель внутреннего сгорания двухтактного типа и оптический резонатор, который является камерой детонационного горения, имеют общую систему охлаждения, а внутри оптического резонатора над детонационной трубкой, содержащей двухэлектродную электрическую свечу зажигания, установлен высоковольтный электрод электрического разрядника.
2. Детонационный газовый лазер, характеризующийся тем, что содержит блок управления, первичный источник энергии и/или внешний источник энергии, оптический резонатор в виде полого, герметичного непрозрачного зеркального цилиндра, у которого одна торцевая поверхность представляет собой непрозрачное зеркало, а другая торцевая поверхность представляет собой прозрачное стекло, выполненные из высокопрочного и жаростойкого материала, и при этом внутренняя полость оптического резонатора является камерой детонационного горения предварительно сжатой топливоокислительной смеси, которая подается поршневым двигателем внутреннего сгорания двухтактного типа, содержащим, как минимум, один рабочий цилиндр, верхняя часть которого герметично соединена с внутренней полостью оптического резонатора через, как минимум, одну детонационную трубку, содержащую двухэлектродную электрическую свечу зажигания, и также в верхней части цилиндра установлены раздельные форсунки дозированной подачи углеродсодержащего топлива, форсунка дополнительной дозированной подачи азота и гелия и форсунка дозированной подачи окислителя, а в нижней части этого цилиндра расположены выхлопные окна для отвода выхлопных газов, а поршень внутри цилиндра этого поршневого двигателя внутреннего сгорания двухтактного типа соединен через кривошипно-шатунный механизм с маховиком, выходной вал которого подключен к обратимой электромашине, и при этом поршневой двигатель внутреннего сгорания двухтактного типа и оптический резонатор, который является камерой детонационного горения, имеют общую систему охлаждения, а с наружной стороны прозрачного стекла оптического резонатора установлен модулятор излучения лазера с изменяемой щелью, и внутри оптического резонатора над детонационной трубкой, содержащей двухэлектродную электрическую свечу зажигания, установлен высоковольтный электрод электрического разрядника.
3. Детонационная лазерно-энергетическая установка, характеризующаяся тем, что содержит, как минимум, два детонационных газовых лазера по п. 1, объединенных одним выходным валом, а направления излучения всех оптических резонаторов лазеров направлены в одну точку.
4. Детонационная лазерно-энергетическая установка, характеризующаяся тем, что содержит, как минимум, два детонационных газовых лазера по п. 2, объединенных одним выходным валом, а направления излучения всех оптических резонаторов лазеров направлены в одну точку.
5. Детонационная лазерно-энергетическая установка, характеризующаяся тем, что содержит, как минимум, один детонационный газовый лазер по п. 1 и, как минимум, один детонационный газовый лазер по п. 2, объединенные одним выходным валом, а направления излучения всех оптических резонаторов лазеров направлены в одну точку.
6. Способ функционирования детонационного газового лазера (далее - ДГЛ) по п. 1, заключающийся в том, что при работе ДГЛ в поршневом двигателе внутреннего сгорания двухтактного типа используют «раннее» зажигание предварительно сжатой топливоокислительной смеси углеродсодержащего топлива с воздухом или кислородом с возможной дополнительной дозированной подачей азота и гелия, при детонационном горении которой, при положении поршня за 10-15 градусов до ВМТ, образуется парогазовая смесь паров воды, углекислого газа, азота и гелия в качестве рабочего тела внутри оптического резонатора ДГЛ, энергетическая накачка которого формируется при световой вспышке (электромагнитном излучении), резком повышении температуры и давления, а также детонационной волне продуктов детонационного горения предварительно сжатой топливоокислительной смеси углеродсодержащего топлива и окислителя при положении модулятора добротности в режиме низкой добротности, исключающем генерацию когерентного излучения в оптическом резонаторе, а при достижении хода поршня в ВМТ, по команде блока управления, модулятор добротности переключается в режим высокой добротности с созданием импульсной генерации когерентного излучения в оптическом резонаторе в режиме работы ДГЛ как газодинамического углекислотного лазера с тепловой накачкой и с охлаждением СO2 газа при расширении выхлопных газов в цилиндре поршневого двигателя внутреннего сгорания двухтактного типа через детонационную трубку, как в сопле Лаваля, а при достижении поршнем положения НМТ и свободном выходе выхлопных газов через выхлопные окна, по команде блока управления, модулятор добротности переводится в режим низкой добротности, и цикл работы ДГЛ повторяется с использованием обратимой электромашины в генераторном режиме для подзарядки первичного источника энергии и/или внешнего источника энергии, а также начального стартерного двигательного режима работы обратимой электромашины при включении ДГЛ в работу.
7. Способ функционирования детонационного газового лазера (далее - ДГЛ) по п. 2, заключающийся в том, что при работе ДГЛ в поршневом двигателе внутреннего сгорания двухтактного типа используют «раннее» зажигание предварительно сжатой топливоокислительной смеси углеродсодержащего топлива с воздухом или кислородом с возможной дополнительной дозированной подачей азота и гелия, при детонационном горении которой, при положении поршня за 10-15 градусов до ВМТ, образуется парогазовая смесь паров воды, углекислого газа, азота и гелия в качестве рабочего тела внутри оптического резонатора ДГЛ, энергетическая накачка которого формируется при световой вспышке (электромагнитном излучении), резком повышении температуры и давления, а также детонационной волне продуктов детонационного горения предварительно сжатой топливоокислительной смеси углеродсодержащего топлива и окислителя при положении модулятора излучения лазера с изменяемой щелью в режиме закрытой щели, исключающем генерацию когерентного излучения в оптическом резонаторе, а при достижении хода поршня в ВМТ, по команде блока управления, модулятор излучения лазера с изменяемой щелью переключается в режим открытой щели, с созданием импульсной генерации когерентного излучения в оптическом резонаторе в режиме работы ДГЛ как газодинамического углекислотного лазера с тепловой накачкой и с охлаждением СO2 газа при расширении выхлопных газов в цилиндре поршневого двигателя внутреннего сгорания двухтактного типа, через детонационную трубку, как в сопле Лаваля, а при достижении поршнем положения НМТ и свободном выходе выхлопных газов через выхлопные окна, по команде блока управления, модулятор излучения лазера с изменяемой щелью переключается в режим закрытой щели, и цикл работы ДГЛ повторяется с использованием обратимой электромашины в генераторном режиме для подзарядки первичного источника энергии и/или внешнего источника энергии, а также начального стартерного двигательного режима работы обратимой электромашины при включении ДГЛ в работу.
8. Способ функционирования детонационной лазерно-энергетической установки (далее - ДЛЭУ) по любому из пп. 3-5, заключающийся в том, что при использовании от двух и более ДГЛ в составе ДЛЭУ поршневые двигатели внутреннего сгорания двухтактного типа каждого ДГЛ соединяют через кривошипно-шатунный механизм с общим маховиком таким образом, чтобы излучения всех ДГЛ в составе ДЛЭУ были одновременными либо с определенным фазовым сдвигом.
| ГАЗОДИНАМИЧЕСКИЙ ЛАЗЕР | 2019 | 
 | RU2730098C1 | 
| Способ генерации излучения газодинамического лазера интегрированного в единую конструкцию газотурбинного двигателя и газотурбинный двигатель для его осуществления | 2018 | 
 | RU2702921C1 | 
| Способ получения тиатрикарбоцианиновых красителей | 1959 | 
 | SU126206A1 | 
| ГАЗОДИНАМИЧЕСКИЙ ТРАКТ НЕПРЕРЫВНОГО ХИМИЧЕСКОГО ЛАЗЕРА С АКТИВНЫМ ДИФФУЗОРОМ В СИСТЕМЕ ВОССТАНОВЛЕНИЯ ДАВЛЕНИЯ | 2009 | 
 | RU2408960C1 | 
| US 4553243 A1, 12.11.1985 | |||
| WO 2020194516 A1, 01.10.2020. | |||
Авторы
Даты
2025-04-22—Публикация
2024-06-05—Подача