БУР ДЛЯ ВЫСАЖИВАНИЯ РАССАДЫ НА УЧАСТКИ С ПЛЕНОЧНЫМ ПОКРЫТИЕМ Российский патент 2025 года по МПК A01C5/02 E21B3/00 

Описание патента на изобретение RU2838944C2

Изобретение относится к области сельского хозяйства и может быть применено в садоводстве. Выращивание овощных и ягодных культур на участках с пленочным покрытием (спанбонд, агроткань) решает проблемы борьбы с сорняками и с теми болезнями, которые передаются через контакты фрагментов надземной части растений с землей.

Известны устройства для высаживания рассады на пленочное покрытие (патенты РФ №№2791706, 2792778).

Недостатком известных устройств является то, что при их использовании грунт из скважины попадает на покрытие и загрязняет его.

Это происходит из-за того, что объем разрыхленного грунта больше объема монолитного грунта и в начальные моменты бурения посадочной скважины он выдавливается на покрытие.

Наиболее близким к предлагаемому устройству является устройство по заявке на изобретение №RU 2023134032. Недостатком этого устройства является не достаточно жесткая конструкция ножа для срезки корней по стенкам скважины.

Также при бурении посадочных скважин известными устройствами возникает необходимость выполнения неприятной, грязной и занимающей время работы по очистке шнека от грунта.

Известные устройства не позволяют контролировать момент полного заполнения шнека грунтом.

Задача, на решение которой направлено данное изобретение, заключается в повышении надежности конструкции предлагаемого устройства и в создании более благоприятных условий его использования.

Технический результат достигается тем, что в устройстве используется другая конструкция ножа для срезания корней и в устройство добавлены узел очистки шнека и устройство контроля заполнения шнека грунтом.

Технический результат достигается тем, что в буре, содержащем несущую трубу, на нижнем конце которой установлен двухзаходный шнек, а к верхнему концу прикреплен трубопроводный фитинг в виде креста, к верхнему отводу которого прикреплен узел очистки шнека, к боковым отводам фитинга прикреплена рукоятка вращения; направляющий стержень круглого сечения с контргайкой и дистанционной трубкой, нижний конец стержня заточен на конус, закрепленные на фронтальных краях шнека с помощью болтовых соединений отрезки сменных 19 мм трапецеидальных лезвий для технических ножей с отверстиями, например, VIRA 831505 таким образом, чтобы режущие края лезвий опережали по ходу вращения шнека его режущие кромки, обсадную трубу с упорами для ног оператора и салфетку из нейлоновой ткани размером 75×75 см, к углам которой прикреплены утяжеляющие детали, в качестве ножа для срезки корней по стенкам скважины используется сменное 19 мм трапецеидальное лезвие для технических ножей, закрепленное на несущей детали, вырезанной из полок металлического уголка 50×10 мм. Из широкой полки вырезана трапеция ABCD, стороны АВ и CD параллельны оси бура, сторона ВС параллельна линии угла подъема внешних краев шнековых спиралей и совпадает с линией контакта полок уголка и с длинной стороной примыкающего к ней прямоугольного лепестка BCEF имеющего ширину 10 мм и расположенного на узкой полке уголка; расстояние между сторонами АВ и CD равно 20 мм, сторона АВ равна 32 мм, сторона DC=41+(20tgα) мм,

где tgα - тангенс угла подъема внешних краев шнековых спиралей.

Не используемая для срезки корней часть сменного лезвия прижата к широкой полке защитным лепестком из нержавеющей стали; контур лепестка совпадает с трапецией ABCD, режущий край лезвия направлен в сторону рабочего хода шнека, а нижняя половина режущего края лезвия выходит за рамки трапеции; лезвие прикреплено к несущей детали с помощью болтовых соединений, проходящих через совпадающие с вырезами и отверстиями в лезвии отверстия в широкой полке и в защитном лепестке; узкая полка детали с помощью двух болтовых соединений прикреплена к внешнему краю первого снизу витка шнека так, чтобы открытая часть лезвия ножа была ниже режущего края шнека и нож не выходил за пределы образующей поверхности внешних краев спиралей шнека. Края АВ широкой полки уголка и защитного лепестка заточены по профилю прямоугольного треугольника. Лезвие собранного ножа обернуто фум лентой.

В комплект устройства входит обсадная труба внутренний диаметр которой на 2-4 мм больше внешнего диаметра шнека, а высота равна 1/3 высоты шнека. К внешней поверхности обсадной трубы прикреплены 2 упора для ног оператора в виде монтажных уголков нижний край которых находится на 4 см выше нижнего края обсадной трубы и салфетка из нейлоновой ткани размером 75×75 см, в центре которой сделано отверстие, диаметр которого меньше внешнего диаметра обсадной трубы на 20 мм; салфетка прикреплена к обсадной трубе пластмассовой стяжкой так, чтобы салфетка прилегала к нижним поверхностям упоров для ног оператора; к углам салфетки прикреплены утяжеляющие детали в виде металлических дисков или квадратных отрезков, небходимые для фиксации положения салфетки на пленочном покрытии в ветреную погоду.

Узел очистки шнека от грунта состоит из трубопроводного фитинга типа крест в верхний отвод которого ввинчен отрезок внутренней трубы длиной 16 см, на который свободно посажен отрезок внешней трубы длиной 12 см так, что эти трубы образуют подшипник скольжения. На верхний конец внутренней трубы плотно посажены 2 плоских кольца с зазором между ними порядка 25-28 мм. Вместе с внутренней трубой эти кольца образуют катушку к барабану которой прикреплено начало плоского ремня, к началу и к концу последнего витка намотанного на барабан катушки ремня прикреплены 2 магнита, а к концу ремня прикреплено кольцо.

Устройство контроля заполнения шнека грунтом состоит из прикрепленного к верхней части несущей трубы фонарика и покрашенных светоотражающей краской верхних поверхностей шнековых спиралей.

На фиг. 1 показан общий вид устройства.

Устройство состоит из несущей трубы 1 на нижней части которой установлен двухзаходный шнек 4, а к верхнему концу прикреплен трубопроводный фитинг 2 типа крест, к боковым отводам фитинга прикреплена рукоятка вращения бура 3, к нижнему торцу трубы 1 прикреплен направляющий стержень круглого сечения 5, нижний конец стержня заточен на конус. Контргайка 6 обеспечивает жесткое крепление стержня 5 к трубе 1. На фронтальных поверхностях шнека установлены два отрезка 7 сменных 19 мм трапецеидальных лезвий для технических ножей с отверстиями, например, типа VIRA 831505. Они прикреплены к шнеку с помощью болтовых соединений, проходящих через совпадающие с вырезами и отверстиями в лезвии отверстия в фронтальных краях шнековых спиралей отверстия 8 таким образом, чтобы режущие края лезвий опережали по ходу вращения шнека его режущие кромки 9. Установленная между контргайкой 6 и нижним торцом несущей трубы 1 дистанционная трубка 10 необходима для обеспечения свободного доступа к контргайке 6. Лезвие ножа для срезки корней 11 закреплено на несущей детали 12, вырезанной из полок металлического уголка 50×10 мм и прикрепленной к внешнему краю первого снизу витка шнековой спирали болтовыми соединениями проходящими через 2 отверстия 13 в узкой полке уголка и в спирали. Нож устанавливается по отношению к шнеку таким образом, чтобы он не выходил за образующую поверхность внешних краев спирали шнека и открытая часть его лезвия была ниже режущих краев спиралей шнека 9.

В комплект устройства входит обсадная труба 14 внутренний диаметр которой на 2-4 мм больше внешнего диаметра шнека, а высота равна 1/3 высоты шнека. К внешней поверхности обсадной трубы 14 прикреплены 2 упора для ног оператора 15 в виде монтажных уголков, нижний край которых находится на 4 см выше нижнего края обсадной трубы 14 и салфетка из нейлоновой ткани 16 размером 75×75 см, в центре которой сделано отверстие, диаметр которого меньше внешнего диаметра обсадной трубы на 20 мм; салфетка прикреплена к обсадной трубе пластмассовой стяжкой 17 так, чтобы салфетка прилегала к нижним поверхностям упоров 15. К углам салфетки прикреплены утяжеляющие детали в виде металлических дисков или квадратных отрезков, необходимые для фиксации положения салфетки на пленочном покрытии в ветреную погоду; на фиг. 1 они не показаны.

На фиг. 2 показана развертка несущей детали 12 ножа для срезки корней по стенкам скважины. Здесь 13 - отверстия для крепления несущей детали 12 к внешнему краю спирали шнека, 18 - отверстия для крепления сменного 19 мм лезвия для технических ножей 11.

В состав устройства также входит узел очистки шнека от грунта 19. Он прикреплен к верхнему отводу фитинга 2 (фиг. 1).

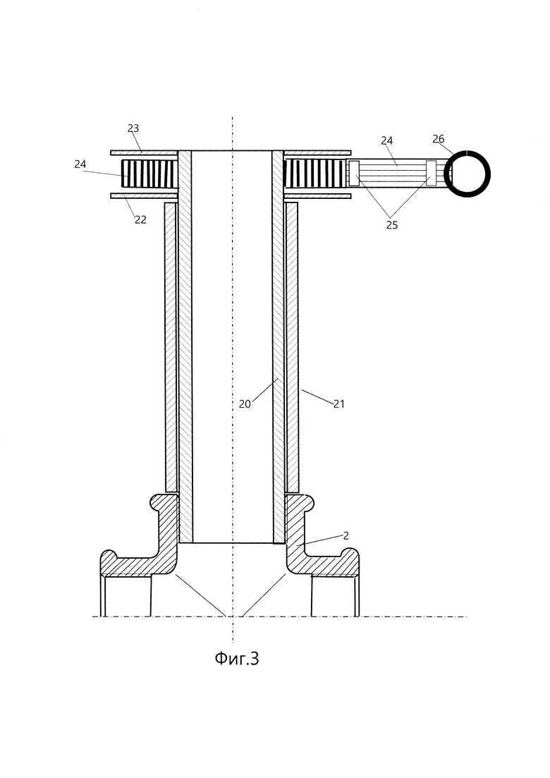
Устройство узла очистки шнека показано на фиг. 3.

Узел очистки шнека от грунта состоит из трубопроводного фитинга 2 типа крест в верхний отвод которого ввинчен отрезок внутренней трубы 20 длиной 16 см, на который свободно посажен отрезок внешней трубы 21 длиной 12 см так, что эти трубы образуют подшипник скольжения. На верхний конец внутренней трубы плотно посажены 2 плоских кольца 22 и 23 с зазором между ними порядка 25-28 мм. Вместе с внутренней трубой эти кольца образуют катушку, к барабану которой прикреплено начало плоского ремня 24. К началу и к концу последнего витка намотанного на барабан катушки ремня 24 прикреплены 2 магнита 25, к концу ремня 24 прикреплено кольцо 26.

Устройство контроля заполнения шнека грунтом состоит из прикрепленного к верхней части несущей трубы 1 фонарика 27 (фиг. 1) и покрашенных светоотражающей краской верхних поверхностей шнековых спиралей.

Устройство используется следующим образом.

Оператор поворачивает обсадную трубу 14 так, чтобы упоры 15 были в верхнем положении и зажимает сложившуюся салфетку 16 ладонью левой руки. Затем труба 14 поворачивается на 180° вокруг горизонтальной оси и ее нижний край устанавливается на устье скважины так, чтобы секторы крестового разреза на покрытии охватывали трубу 14 снаружи. Салфетку 16 расстилают по поверхности пленочного покрытия. Оператор ставит ноги на упоры 15, опускает бур внутрь обсадной трубы 14 и придавливает его к земле до упора. Далее бурение скважины выполняется обычным способом. Момент полного заполнения шнека грунтом определяется оператором по пропаданию видимости верхних светоотражающих краев шнека.

При подъеме бура из скважины его переносят в емкость (ведро) для выбуренного грунта и устанавливают нижний конец направляющего стержня 5 на дно. Затем оператор, удерживая левой рукой трубу 21, правой рукой берет кольцо 26 и тянет его в направлении от оси бура. Бур начинает вращаться и центробежные силы очищают шнек от грунта за 2-3 сек. После вытягивания ремня 26 на полную длину его надо намотать на катушку до его застегивания магнитами 25.

После окончания бурения посадочной скважины в нее через обсадную трубу засыпается новый грунт (чернозем, компост, или перемешанный с удобрениями выбуренный грунт), затем углы салфетки 16 поднимают и захватывают их ладонью левой руки, трубу 14 с салфеткой 16 перемещают в место, где их можно освободить от грунта, который, благодаря данному устройству, не попал на пленочное покрытие.

В подготовленную таким образом посадочную скважину высаживают рассаду.

Похожие патенты RU2838944C2

название год авторы номер документа
Садовый бур для высадки рассады на спанбонд 2023
  • Беренштейн Борис Шаевич
RU2825674C2
Шнековый бур для высадки рассады на пленочное покрытие 2023
  • Беренштейн Борис Шаевич
RU2803244C2
Шнековый бур для высадки рассады на пленочное покрытие 2022
  • Беренштейн Борис Шаевич
RU2791706C2
Садовый бур для высадки рассады на пленочное покрытие 2023
  • Беренштейн Борис Шаевич
RU2812111C2
Шнековый бур для высадки рассады на плёночное покрытие 2021
  • Беренштейн Борис Шаевич
RU2792778C2
ОРУДИЕ ДЛЯ ПОДЕЛКИ ИСКУССТВЕННЫХ ВОДОСБОРОВ 2006
  • Зволинский Вячеслав Петрович
  • Салдаев Александр Макарович
RU2309570C1
ОРУДИЕ ДЛЯ ПОДЕЛКИ ИСКУССТВЕННЫХ ВОДОСБОРОВ 2005
  • Корпушов Сергей Александрович
  • Петров Владимир Иванович
  • Салдаев Александр Макарович
  • Терюков Александр Гаврилович
RU2306689C1
ОРУДИЕ ДЛЯ ПОДЕЛКИ ИСКУССТВЕННЫХ ВОДОСБОРОВ 2006
  • Корпушов Сергей Александрович
  • Кулик Константин Николаевич
  • Петров Владимир Иванович
  • Салдаев Александр Макарович
  • Терюков Александр Гаврилович
RU2310309C1
ШНЕКОВЫЙ БЫТОВОЙ БУР КОНСТРУКЦИИ ЗЕМЛЯКОВА Н.В. 2003
  • Земляков Н.В.
RU2236546C1
Профилировщик 1987
  • Лещенко Виктор Прокофьевич
  • Козлов Борис Сергеевич
  • Нелипа Виталий Павлович
  • Колязин Аркадий Федорович
  • Кугель Аркадий Яковлевич
SU1535949A1

Иллюстрации к изобретению RU 2 838 944 C2

Реферат патента 2025 года БУР ДЛЯ ВЫСАЖИВАНИЯ РАССАДЫ НА УЧАСТКИ С ПЛЕНОЧНЫМ ПОКРЫТИЕМ

Изобретение относится к области сельского хозяйства. Бур содержит несущую трубу, на нижнем конце которой установлен двухзаходный шнек, а к верхнему концу прикреплен трубопроводный фитинг в виде креста, к верхнему отводу которого прикреплен узел очистки шнека. К боковым отводам фитинга прикреплена рукоятка вращения бура. Бур содержит направляющий стержень круглого сечения с контргайкой и дистанционной трубкой, нижний конец стержня заточен на конус, закрепленные на фронтальных краях шнека с помощью болтовых соединений отрезки сменных 19-мм трапецеидальных лезвий для технических ножей с отверстиями, обсадную трубу с упорами для ног оператора и салфетку из нейлоновой ткани размером 75×75 см, к углам которой прикреплены утяжеляющие детали. В качестве ножа для срезки корней по стенкам скважины используется сменное 19-мм трапецеидальное лезвие для технических ножей, закрепленное на несущей детали, вырезанной из полок металлического уголка 50×10 мм. Из широкой полки уголка вырезана трапеция ABCD, стороны АВ и CD параллельны оси бура, сторона ВС параллельна линии угла подъема внешних краев шнековых спиралей и совпадает с линией контакта полок уголка и с длинной стороной примыкающего к ней прямоугольного лепестка BCEF, имеющего ширину 10 мм и расположенного на узкой полке уголка. Расстояние между сторонами АВ и CD равно 20 мм, сторона АВ равна 32 мм, сторона DC=41+(20 tgα) мм, где α - угол подъема внешних краев шнековых спиралей. Не используемая для срезки корней часть сменного лезвия прижата к широкой полке несущей детали защитным лепестком из нержавеющей стали. Контур лепестка совпадает с трапецией ABCD. Режущий край лезвия направлен в сторону рабочего хода шнека. Нижняя половина режущего края лезвия выходит за рамки трапеции. Лезвие прикреплено к несущей детали с помощью болтовых соединений, проходящих через совпадающие с вырезами и отверстиями в лезвии отверстия в широкой полке несущей детали и в защитном лепестке. Узкая полка детали с помощью двух болтовых соединений прикреплена к внешнему краю первого снизу витка шнека так, чтобы открытая часть лезвия ножа была ниже режущего края шнека и нож не выходил за пределы образующей поверхности внешних краев спиралей шнека. Края АВ широкой полки несущей детали и защитного лепестка заточены по профилю прямоугольного треугольника. Лезвие собранного ножа обернуто фум-лентой. В комплект устройства входит обсадная труба, внутренний диаметр которой на 2-4 мм больше внешнего диаметра шнека, а высота равна 1/3 высоты шнека. К внешней поверхности обсадной трубы прикреплены два упора для ног оператора в виде монтажных уголков, нижний край которых находится на 4 см выше нижнего края обсадной трубы, и салфетка из нейлоновой ткани размером 75×75 см, в центре которой сделано отверстие, диаметр которого меньше внешнего диаметра обсадной трубы на 20 мм. Салфетка прикреплена к обсадной трубе пластмассовой стяжкой так, чтобы салфетка прилегала к нижним поверхностям упоров для ног оператора. К углам салфетки прикреплены утяжеляющие детали в виде металлических дисков или квадратных отрезков, необходимые для фиксации положения салфетки на пленочном покрытии в ветреную погоду. Узел очистки шнека от грунта состоит из трубопроводного фитинга типа крест, в верхний отвод которого ввинчен отрезок внутренней трубы длиной 16 см, на который свободно посажен отрезок внешней трубы длиной 12 см так, что эти трубы образуют подшипник скольжения. На верхний конец внутренней трубы плотно посажены два плоских кольца с зазором между ними 25-28 мм. Вместе с внутренней трубой эти кольца образуют катушку, к барабану которой прикреплено начало плоского ремня, к началу и к концу последнего витка, намотанного на барабан катушки ремня, прикреплены два магнита, а к концу ремня прикреплено кольцо. Устройство контроля заполнения шнека грунтом состоит из прикрепленного к верхней части несущей трубы фонарика и покрашенных светоотражающей краской верхних поверхностей шнековых спиралей. Обеспечивается повышение надежности конструкции, создание благоприятных условий использования устройства. 3 ил.

Формула изобретения RU 2 838 944 C2

Бур для высаживания рассады на участки с пленочным покрытием, характеризующийся тем, что содержит несущую трубу, на нижнем конце которой установлен двухзаходный шнек, а к верхнему концу прикреплен трубопроводный фитинг в виде креста, к верхнему отводу которого прикреплен узел очистки шнека, к боковым отводам фитинга прикреплена рукоятка вращения бура; направляющий стержень круглого сечения с контргайкой и дистанционной трубкой, нижний конец стержня заточен на конус, закрепленные на фронтальных краях шнека с помощью болтовых соединений отрезки сменных 19 мм трапецеидальных лезвий для технических ножей с отверстиями, обсадную трубу с упорами для ног оператора и салфетку из нейлоновой ткани размером 75×75 см, к углам которой прикреплены утяжеляющие детали, в качестве ножа для срезки корней по стенкам скважины используется сменное 19-мм трапецеидальное лезвие для технических ножей, закрепленное на несущей детали, вырезанной из полок металлического уголка 50×10 мм; из широкой полки уголка вырезана трапеция ABCD, стороны АВ и CD параллельны оси бура, сторона ВС параллельна линии угла подъема внешних краев шнековых спиралей и совпадает с линией контакта полок уголка и с длинной стороной примыкающего к ней прямоугольного лепестка BCEF, имеющего ширину 10 мм и расположенного на узкой полке уголка; расстояние между сторонами АВ и CD равно 20 мм, сторона АВ равна 32 мм, сторона DC=41+(20 tgα) мм, где α - угол подъема внешних краев шнековых спиралей; не используемая для срезки корней часть сменного лезвия прижата к широкой полке несущей детали защитным лепестком из нержавеющей стали; контур лепестка совпадает с трапецией ABCD, режущий край лезвия направлен в сторону рабочего хода шнека, нижняя половина режущего края лезвия выходит за рамки трапеции; лезвие прикреплено к несущей детали с помощью болтовых соединений, проходящих через совпадающие с вырезами и отверстиями в лезвии отверстия в широкой полке несущей детали и в защитном лепестке; узкая полка детали с помощью двух болтовых соединений прикреплена к внешнему краю первого снизу витка шнека так, чтобы открытая часть лезвия ножа была ниже режущего края шнека и нож не выходил за пределы образующей поверхности внешних краев спиралей шнека; края АВ широкой полки несущей детали и защитного лепестка заточены по профилю прямоугольного треугольника; лезвие собранного ножа обернуто фум-лентой; в комплект устройства входит обсадная труба, внутренний диаметр которой на 2-4 мм больше внешнего диаметра шнека, а высота равна 1/3 высоты шнека; к внешней поверхности обсадной трубы прикреплены два упора для ног оператора в виде монтажных уголков, нижний край которых находится на 4 см выше нижнего края обсадной трубы, и салфетка из нейлоновой ткани размером 75×75 см, в центре которой сделано отверстие, диаметр которого меньше внешнего диаметра обсадной трубы на 20 мм; салфетка прикреплена к обсадной трубе пластмассовой стяжкой так, чтобы салфетка прилегала к нижним поверхностям упоров для ног оператора; к углам салфетки прикреплены утяжеляющие детали в виде металлических дисков или квадратных отрезков, необходимые для фиксации положения салфетки на пленочном покрытии в ветреную погоду; узел очистки шнека от грунта состоит из трубопроводного фитинга типа крест, в верхний отвод которого ввинчен отрезок внутренней трубы длиной 16 см, на который свободно посажен отрезок внешней трубы длиной 12 см так, что эти трубы образуют подшипник скольжения; на верхний конец внутренней трубы плотно посажены два плоских кольца с зазором между ними 25-28 мм; вместе с внутренней трубой эти кольца образуют катушку, к барабану которой прикреплено начало плоского ремня, к началу и к концу последнего витка, намотанного на барабан катушки ремня, прикреплены два магнита, а к концу ремня прикреплено кольцо; устройство контроля заполнения шнека грунтом состоит из прикрепленного к верхней части несущей трубы фонарика и покрашенных светоотражающей краской верхних поверхностей шнековых спиралей.

Документы, цитированные в отчете о поиске Патент 2025 года RU2838944C2

Садовый бур для высадки рассады на спанбонд 2023
  • Беренштейн Борис Шаевич
RU2825674C2
Шнековый бур для высадки рассады на плёночное покрытие 2021
  • Беренштейн Борис Шаевич
RU2792778C2
Комплексный ручной садовый бур 2019
  • Иванщиков Юрий Васильевич
  • Макушев Андрей Евгеньевич
  • Доброхотов Юрий Николаевич
  • Пушкаренко Николай Николаевич
RU2730065C1
JPS5520830 U, 09.02.1980.

RU 2 838 944 C2

Авторы

Беренштейн Борис Шаевич

Даты

2025-04-24Публикация

2024-10-02Подача